Скачать Методические указания по проектированию рекультивации нарушенных земель на действующих и проектируемых предприятиях Минуглепрома СССР (I редакция)Дата актуализации: 01.01.2021 |
| Статус: | справочные материалы, мп, тпр |
| Название рус.: | Методические указания по проектированию рекультивации нарушенных земель на действующих и проектируемых предприятиях Минуглепрома СССР (I редакция) |
| Дата добавления в базу: | 01.01.2018 |
| Дата актуализации: | 01.01.2021 |
| Область применения: | Документ содержит комплекс нормативно-справочных материалов, необходимых при проектировании технической и биологической рекультивации нарушенных земель, на действующих и проектируемых предприятиях и разработан с целью обеспечения повышения качества проектной документации на основе современных достижений научно-технического прогресса и передового опыта предприятий |
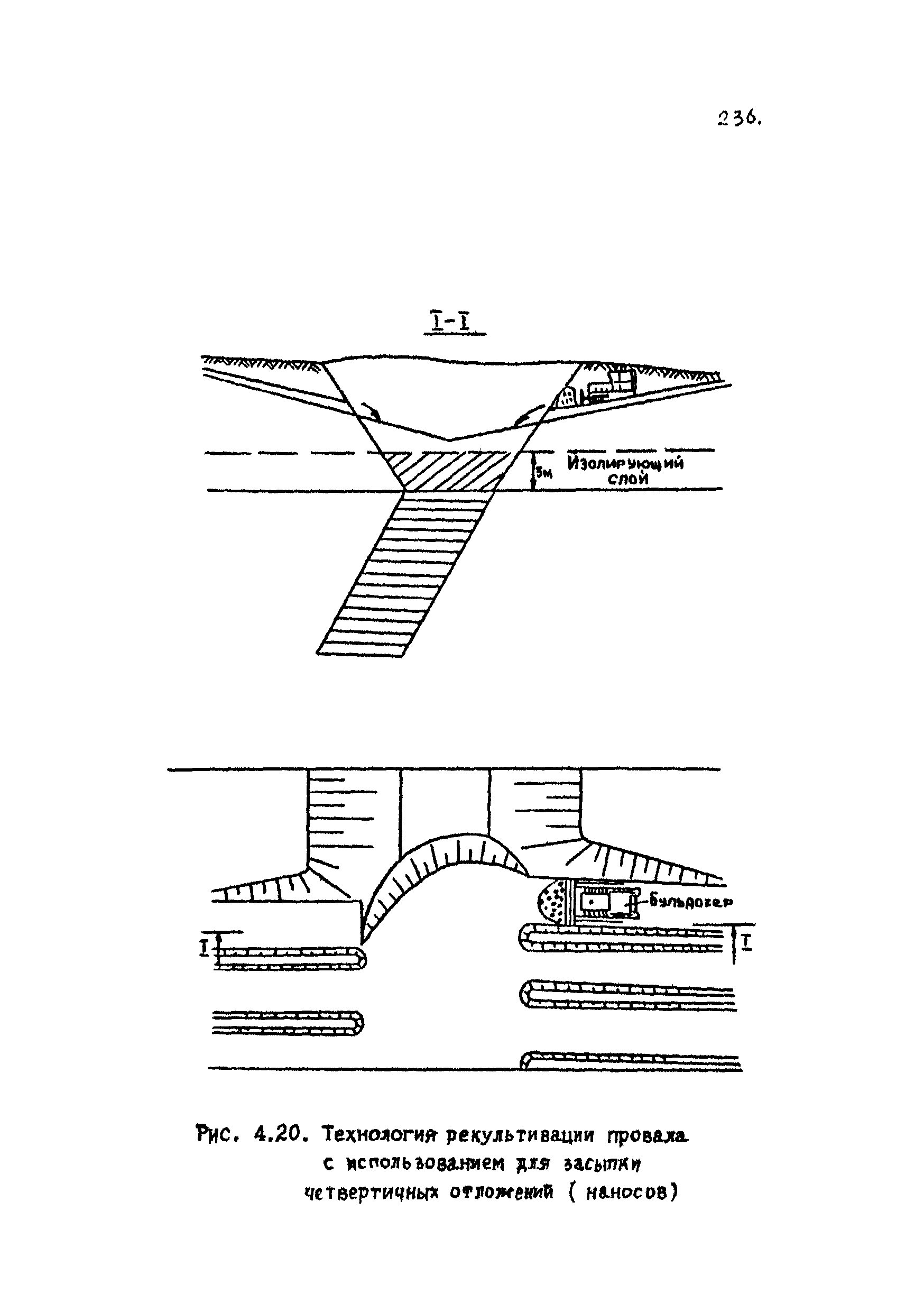
| Оглавление: | Введение 1 Общие положения 1.1 Основные принципы формирования горно-промышленных ландшафтов 1.2 Требовании к технологии горных работ с учётом последующей рекультивации 1.3 Технологические нормативы рекультивации нарушенных земель для основных угольных бассейнов страны 1.4 Состав проектно-сметной документации и порядок ее разработки 1.5 Исходные данные, порядок их подготовки и представления 1.6 Согласование и утверждение проектно—сметной документации 2 Проектирование технического этапа рекультивации при открытых разработках 2.1 Технология снятия и нанесения плодородного слоя 2.2 Формирование рекультивационного слоя при сельскохозяйственном направлении рекультивации 2.3 Формирование рекультивационного слоя при лесохозяйственном направлении рекультивации 2.4 Технология рекультивации внутренних и внешних отвалов 2.5 Планировочные работы 2.6 Технологии выполаживания и террасирования откосов 2.7 Регулирование водного режима 2.8 Рекультивация карьерных выемок 2.9 Подготовка отвалов под строительство 2.10 Формирование технологических комплексов средств механизации для выполнения технического этапа 2.11 Инженерная подготовка рекультивируемых земель 2.12 Автомобильные дороги для рекультивации нарушенных земель 3 Проектирование биологической рекультивации при открытых разработках 3.1 Сельскохозяйственное направление рекультивации 3.2 Лесохозяйственное направление рекультивации 3.3 Санитарно-гигиеническое направление рекультивации 3.4 Рекреационное направление рекультивации 3.5 Водохозяйственное направление рекультивации 3.6 Формирование технологических комплексов средств механизации 4 Проектирование рекультивации земель, нарушенных при подземной добыче угля 4.1 Нарушенные и нарушаемые земли 4.2 Общие положения 4.3 Требования к технологии технической рекультивации 4.4 Технология технического этапа 4.5 Устройство подъездных дорог 4.6 Нарезка въездных полутраншей и траншей 4.7 Снятие вершин конических и хребтовых отвалов 4.8 Понижение отвалов 4.9 Выполаживание откосов 4.10 Тушение отвалов 4.11 Нарезка террас, микротеррас 4.12 Формирование плоских породных отвалов 4.13 Рекультивация ило- и шламохранилищ 4.14 Рекультивация подрабатываемых нарушенных земель 4.15 Формирование технологических комплексов средств механизации 5 Проектирование биологической рекультивации при подземной добыче угля 5.1 Озеленение террикоников 5.2 Освоение нарушенных шахтных полей 5.3 Формирование технологических комплексов средств механизации Приложение 1. Перечень основных нормативных документов, используемых при проектировании Приложение 2. Перечень госстандартов по рекультивации нарушенных земель Приложение 3. Расчетные формулы для определения боковой поверхности, объема и приращения площади Приложение 4. Перечень машин и оборудования для рекультивации земель, нарушенных разрезами, шахтами и ОФ Приложение 5. Проект пруда Приложение 6. Схемы тушения и профилактики самовозгорания породных отвалов Приложение 7. Методика определения основных свойств пород и их смесей Приложение 8. Методика определения объемов нагретых, перегоревших и неперегоревших пород |
| Разработан: | ГИЗР Минсельхоза СССР Центргипрошахт Минуглепрома СССР НИИОГР ВНИИОСуголь |
| Утверждён: | ВНИИОСуголь |
| Нормативные ссылки: |
|





































































































































































































































































































