Скачать Руководство по расчету башенных копров угольных и рудных шахт

Дата актуализации: 01.01.2021

Руководство по расчету башенных копров угольных и рудных шахт

Статус:справочные материалы, мп, тпр
Название рус.:Руководство по расчету башенных копров угольных и рудных шахт
Дата добавления в базу:01.01.2019
Дата актуализации:01.01.2021
Область применения:Руководство содержит основные положения расчета строительных конструкций и оснований башенных копров угольных и горнорудных шахт и материалы, связанные с их спецификой. Руководство предназначено для инженерно-технических работников проектных и строительных организаций
Оглавление:1 Общие положения
2 Расчет конструкций башенных копров
   Статический расчет
   Общие указания
   Нагрузки и воздействия
   Расчетные схемы
   Расчет перекрытий
   Расчет несущих стен
   Расчет элементов каркаса
   Динамический расчет
   Общие указания
   Динамические нагрузки
   Расчетные схемы, частоты и формы собственных колебаний
   Перемещения и внутренние усилия
3 Расчет оснований башенных копров
   Выбор глубины заложения фундамента
   Определение размеров подошвы фундамента в плане
   Определение нормативного давления на грунт
   Определение крена башенного копра
   Определение деформационных характеристик основания
   Определение осадки башенного копра
   Определение отпора грунта основания
4 Расчет теплопотерь помещений башенных копров
Приложение I. Программа "Ползучесть"
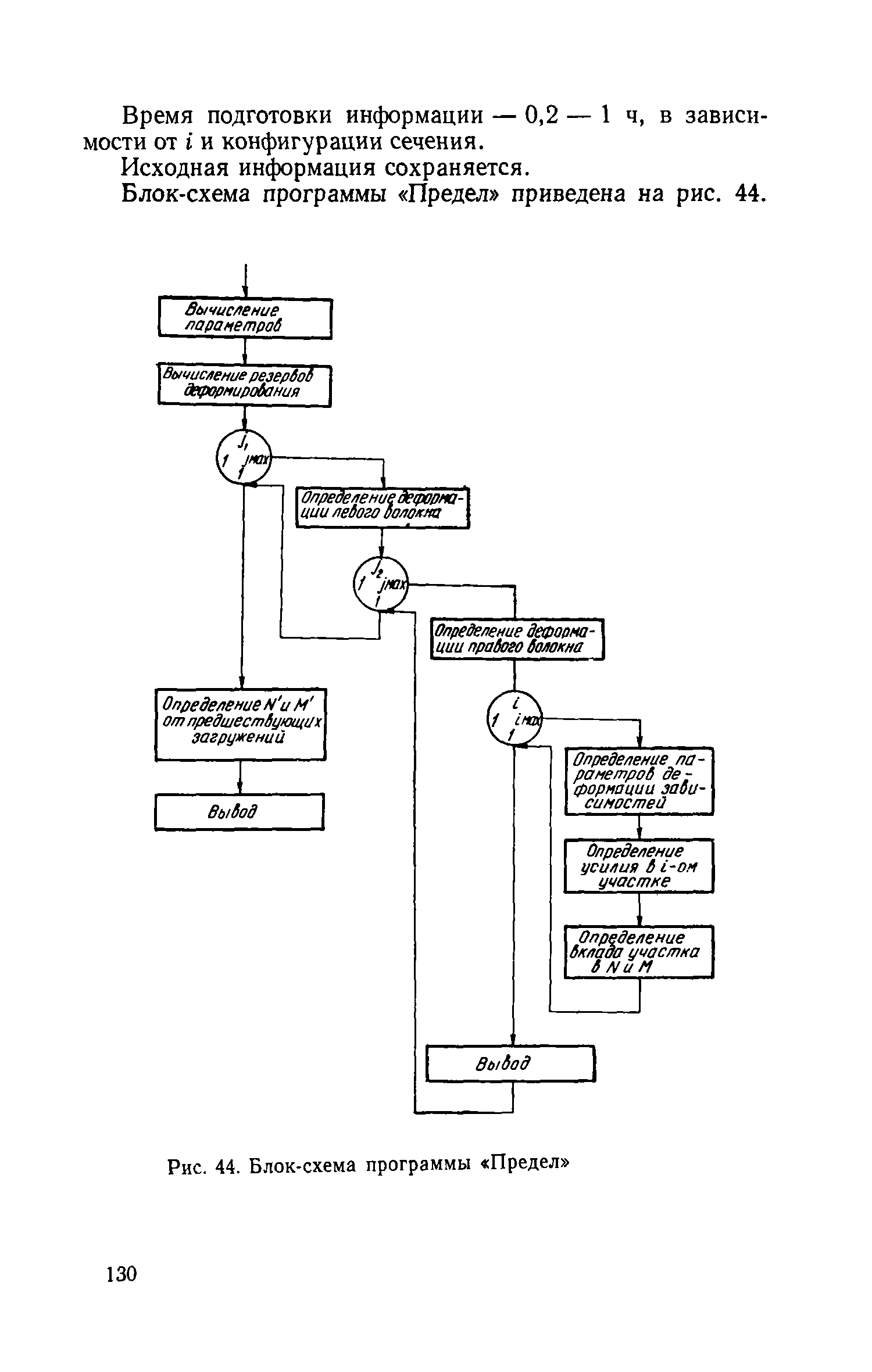
Приложение II. Программа "Предел"
Разработан: Донецкий Промстройниипроект
Донецкий политехнический институт
ССО УССР
Макеевский инженерно-строительный институт МВ и ССО УССР
Утверждён: Донецкий ПромстройНИИпроект Госстроя СССР
Издан: Стройиздат (1975 г. )
Список изменений:
Нормативные ссылки:

Текстовое изменение опечатки

опечатки