Скачать Руководство по проектированию свайных фундаментов на подрабатываемых территорияхДата актуализации: 01.01.2021 |
| Статус: | справочные материалы, мп, тпр |
| Название рус.: | Руководство по проектированию свайных фундаментов на подрабатываемых территориях |
| Дата добавления в базу: | 01.02.2020 |
| Дата актуализации: | 01.01.2021 |
| Область применения: | Руководство содержит специфические требования, предъявляемые к проектированию свайных фундаментов зданий и сооружений, строящихся на территориях, подверженных влиянию горных выработок |
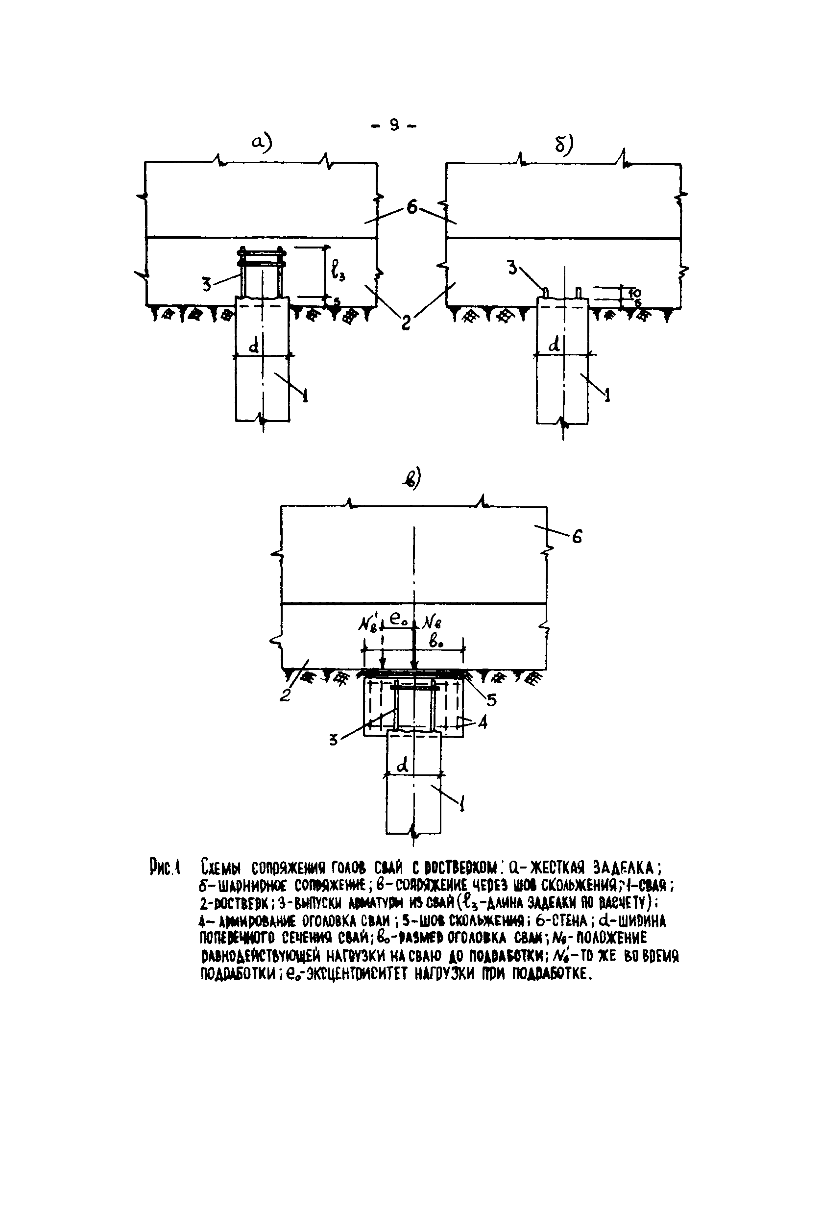
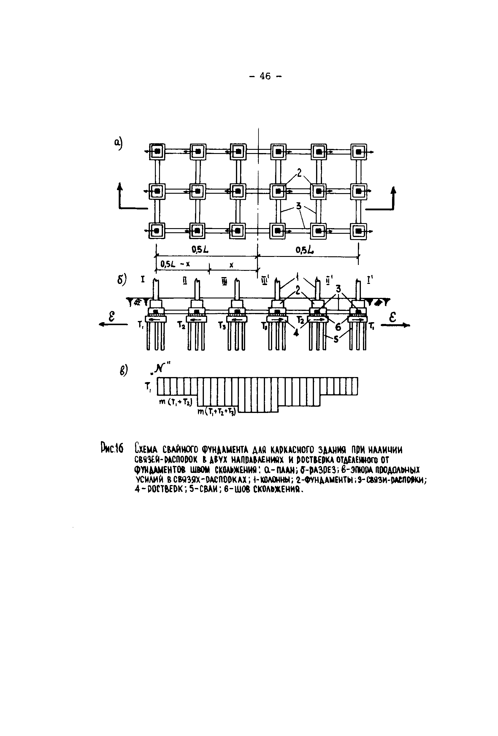
| Оглавление: | Введение 1 Основные положения и область применения свайных фундаментов 2 Исходные данные для проектирования свайных фундаментов 3 Типы свай и их сопряжение с ростверком 4 Основные указания по расчету свайных фундаментов 5 Расчет свай по грунту на вертикальные нагрузки 6. Расчет дополнительных вертикальных нагрузок на сваи при воздействии искривления основания 7. Расчет свай на воздействие горизонтальных деформаций при подработке 8. Расчет ростверка с учетом дополнительных усилий от подработки 9. Проектирование свайных фундаментов на подрабатываемых территориях Приложение 1. Расчет свай с высоким ростверком на горизонтальные перемещения грунта, возникающие при подработке территории Приложение 2. Примеры расчета |
| Разработан: | ВНИМИ Гипроград Госстроя УССР НИИ оснований и подземных сооружений Донецкпроект Госстроя Украинской ССР ДонпромстройНИИпроект Южгипрошахт |
| Утверждён: | Промстройниипроект Госстроя СССР ВНИМИ |
| Нормативные ссылки: |
|



























































































