Скачать Сборник директивных материалов Главтехуправления Минэнерго СССР. Электротехническая частьДата актуализации: 01.01.2021 |
| Статус: | справочные материалы, мп, тпр |
| Название рус.: | Сборник директивных материалов Главтехуправления Минэнерго СССР. Электротехническая часть |
| Дата добавления в базу: | 01.02.2020 |
| Дата актуализации: | 01.01.2021 |
| Область применения: | Сборник содержит действующие руководящие (обязательные) материалы Главтехуправления Минэнерго СССР по электротехнической части. Требования сборника обязательны для персонала всех организаций и предприятий Минэнерго СССР, выполняющих работы непосредственно на электростанциях и в электрических сетях, а также работы относящиеся к этим объектам. |
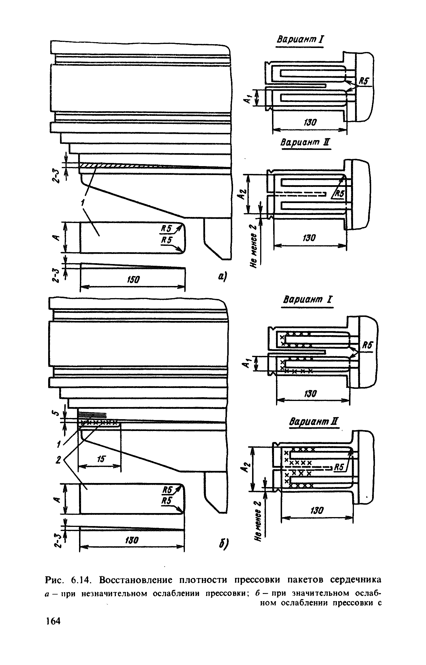
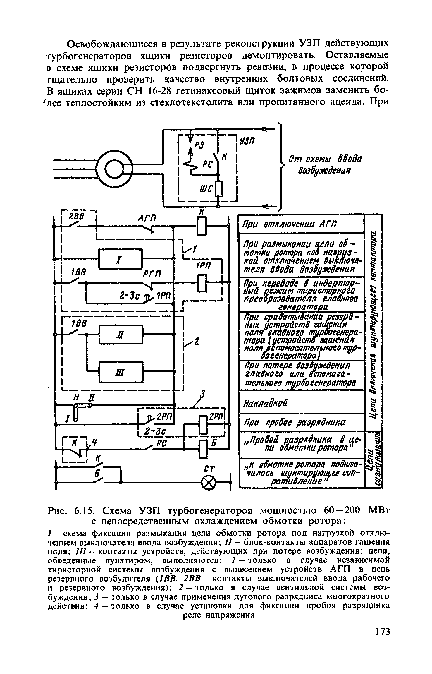
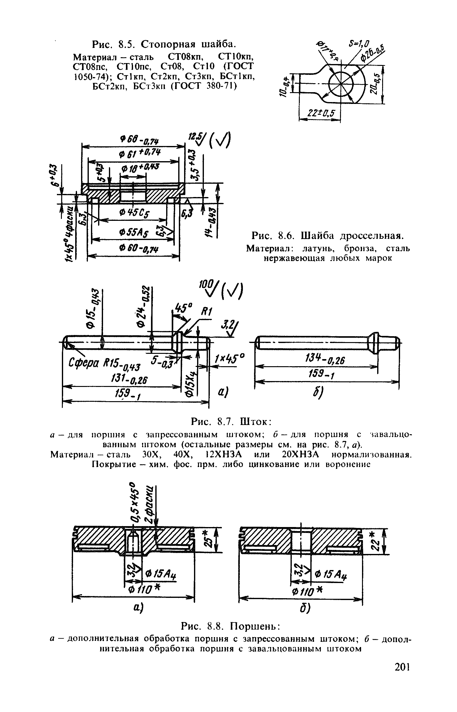
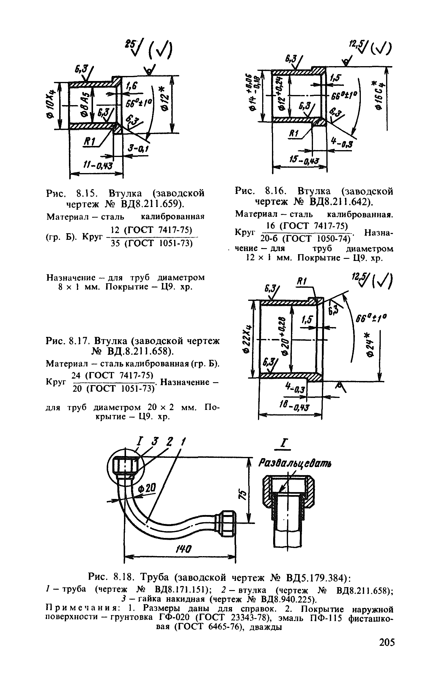
| Оглавление: | Раздел 1. О применении Сборника Раздел 2. Общие вопросы 2.1. О разграничении области применения правил и указаний Министерства путей сообщения и «Правил устройства электроустановок» [Р № Э-5/80/НТС-7] 2.2. О порядке выполнения «Инструкции по системному расчету компенсации реактивной мощности в электрических сетях» [Р № Э-3/81] 2.3. Об уточнении отдельных пунктов приложения № 5 к постановлению Государственного комитета Совета Министров СССР по вопросам труда и заработной платы и Секретариата ВЦСПС № 237/7 от 22 февраля 1960 г. 2.4. Об изменении «Норм испытания электрооборудования» (изд. 5-е. М.: Атомиздат, 1978) [Р № Э-4/82] 2.5. О разработке схем и объектов внешнего электроснабжения магистральных нефте- и газопроводов 2.6. О внесении изменений в «Правила технической эксплуатации электрических станций и сетей» (изд. 13-е, М.: Энергия, 1977) [Р № Э-1/79, Р № Э-4/81] 2.7. О внесении изменений в «Инструкцию по эксплуатации оперативных блокировок безопасности в распределительных устройствах высокого напряжения» [Р № Э-4/80] 2.8. Об использовании руководящих документов по защите электроустановок от перенапряжений [Р № Э-12/78) 2.9. О схемах внешнего электроснабжения тяговых подстанций Раздел 3. Энергетические системы (надежность и устойчивость) 3.1. О мерах по предотвращению и ликвидации системных аварий, которые могут возникнуть вследствие нарушения устойчивости 3.2. О применении быстродействующей автоматики отключения части нагрузки потребителей для обеспечения устойчивости энергосистем 3.3. О мерах по предотвращению опасного снижения частоты в энергосистемах при внезапном дефиците активной мощности [ЭЦ № Э-3/81, ПЦ № Ц-05-82 (Э)] 3.4. О разгрузке блочных тепловых электростанций при действии противоаварийной автоматики 3.5. О предотвращении и ограничении развития системных аварий автоматическим изменением мощности блочных тепловых электростанций 3.6. О мерах по предотвращению неправильных действий устройств автоматического регулирования мощности агрегатов тепловых электростанций [ЭЦ № Э-5/78 и Т-5/78] 3.7. О мерах по восстановлению работы энергосистемы при потере значительной части генерирующей мощности 3.8. О предотвращении разноса паровых турбин при возникновении аварийных избытков мощности в энергосистемах с преобладанием гидроэлектростанций 3.9. О мерах по повышению надежности параллельной работы ведомственных электростанций с электростанциями энергосистемы 3.10. О повышении надежности работы электроустановок потребителей в случае кратковременных снижений напряжения Раздел 4. Защита и электроавтоматика 4.1. О выполнении схем и панелей дифференциальной токовой защиты шин и УРОВ ПО кВ и выше и порядке переключения в их цепях 4.2. О предотвращении ошибок при включении и проверках дифференциальных защит трансформаторов (автотрансформаторов) 4.3. О защитах на шиносоединительных и секционных выключателях на напряжение 35 кВ и выше 4.4. О мерах по предотвращению развития аварий, связанных с недостаточно эффективным дальним резервированием релейной защиты 4.5. О предотвращении ложной работы реле РТЗ-50 из-за его повышенной чувствительности к высшим гармоническим составляющим тока замыкания на землю 4.6. О выполнении схем запрета АПВ 4.7. Об уменьшении времени срабатывания релейной защиты, устройств АПВ и автоматического включения резервного питания 4.8. О временном выводе из действия устройств РЗА при операциях в их токовых цепях при схемах с двумя выключателями на присоединение 4.9. О применении подменных панелей релейной защиты на линиях электропередачи 4.10. О повышении надежности работы сетей постоянного оперативного тока 4.11. Об исключении отказов функционирования релейной защиты вследствие увеличения кратности токов короткого замыкания 4.12. О мероприятиях по предотвращению выхода из строя высокочастотных каналов релейной защиты из-за пробоя разрядников и сваривания электродов в фильтре присоединения 4.13. О запрещении применения проводов с горючей изоляцией для монтажа панелей, щитов и пультов 4.14. Об эксплуатационных проверках устройств АВР на тепловых электростанциях 4.15. О предотвращении ложного срабатывания релейной защиты при электросварочных работах на подстанциях 4.16. О резервировании питания нагрузки трансформаторов напряжения, присоединенных к линиям электропередачи 4.17. О применении блок-реле сопротивления КРС-2 для защиты от симметричных коротких замыканий и потери возбуждения турбогенераторов мощностью 160 МВт и выше [Р № Э-2/78] 4.18. О сокращении трудозатрат на ввод в эксплуатацию автоматических выключателей серии АП-50 (исполнения М, Т и МТ) (Р № Э-9/78] 4.19. Об автоматическом делении шин 110 - 220 кВ электростанций при наличии незаземленных нейтралей обмоток трансформаторов блоков [Р № Э-14/79] 4.20. О предотвращении ложных отключений линейных выключателей в случае ошибочных операций с испытательными блоками при переводе защит ДФЗ и ДЗЛ на обходной выключатель [ЭЦ № Э-4/79] 4.21. О заземлении вторичных цепей трансформаторов напряжения, используемых для автоматических регуляторов возбуждения генераторов [ЭЦ № Э-5/79] 4.22. Об ускорении токовой защиты нулевой последовательности на стороне ВН блоков генератор - трансформатор при неполнофазных отключениях выключателей, общих для этих блоков и ВЛ [ПЦ № Э-6/79] 4.23. О замене конденсаторов в приемопередатчике ВЧТО-М [ЭЦ № Э-1/80] 4.24. О повышении помехозащищенности передатчиком аппаратуры высокочастотного телеотключения АНКА [ЭЦ № Э-2/80] 4.25. Об использовании трехфазного токового реле в защите ЭПЗ-1636-67 [ЭЦ № Э-7/80] Раздел 5. Собственные нужды 5.1. Об электрических схемах автоматического пуска аварийных масляных электронасосов турбоагрегатов тепловых электростанций 5.2. О самозапуске электроприводов собственных нужд тепловых электростанций Приложение 5.1. Рекомендации по обеспечению восстановления режимов основного оборудования после кратковременных перерывов электроснабжения собственных нужд электростанций 5.3. О режиме пуска питательных насосов с опорожненной гидромуфтой с последующим ее заполнением 5.4. О повышении надежности управления основными агрегатами действующих тепловых электростанций Раздел 6. Электрические машины и их возбуждение 6.1. О модернизации системы вентиляции турбогенераторов ТВВ-320-2 и ТВВ-165-2 и использовании перегрузок по току ротора турбогенераторов ТВВ-165-2 после их реконструкции [Р № Э-9/81] 6.2. О повышении надежности аварийного маслоснабжения опорных подшипников турбогенераторов ТГВ-300 и ТВВ-320-2 6.3. О предотвращении повреждения обмоток роторов турбогенераторов ТГВ-300, ТВВ-320-2, ТВВ-500-2 и ТВВ-800-2 [ЭЦ № Э-3/79] 6.4. О повышении надежности электродвигателей шаровых мельниц 6.5. О модернизации крепления обмоток статоров электродвигателей серии АТД мощностью 3200 - 8000 кВт 6.6. О повышении надежности системы охлаждения турбогенераторов мощностью 300 МВт и выше, имеющих замкнутый контур газо-охладителей [ПЦ № Э-5/76, Р № Э-10/79) 6.7. О реконструкции крепления крышек щеточного аппарата турбогенераторов серии ТВВ, ТВФ и ТВМ [ПЦ №-4/79] 6.8. О предотвращении повреждений лопаток осевого вентилятора турбогенераторов, ТГВ-500, ТГВ-200 и ТГВ-200М [ПЦ № Э-3/80] 6.9. Об удалении литейных и прочих дефектов на стальных лопатках пропеллерных вентиляторов турбогенераторов серий ТВ2, ТВФ и ТВВ [ЭЦ № Э-1/81] Приложение 6.1. Временная инструкция по контролю и исправлению дефектов на лопатках пропеллерных вентиляторов турбогенераторов серий ТВ2, ТВФ и ТВВ Приложение 6.2. Технологические указания о скреплении шлифовальных кругов с оправкой 6.10. О повышении надежности крепления диффузоров к наружным щитам турбогенераторов серий ТВФ и ТВВ 6.11. О предотвращении повреждения точки ротора турбогенераторов ТВ2-150-2 и ТВ2-100-2 6.12. О повышении надежности шпоночного узла торцевых уплотнений турбогенераторов с водородным охлаждением 6.13. О повышении надежности маслоснабжения торцевых уплотнений вала турбогенераторов с водородным охлаждением 60 - 300 МВт 6.14. О предохранительных клапанах на демпферных баках в системе масляных уплотнений турбогенераторов 6.15. О номинальной производительности электролизных установок с электролизерами СЭУ-4М 6.16. О предотвращении коррозионного разрушения газовых каналов в электролизерах СЭУ-10 и СЭУ-20 6.17. О периодичности и методике испытаний предохранительных клапанов электролизных установок и ресиверов с водородом 6.18. О мерах по повышению эксплуатационной надежности турбогенераторов ТГВ-200 и ТГВ-200М [Р № Э-17/79] 6.19. О мероприятиях по предотвращению ионизационного разрушения изоляции обмоток статоров гидрогенераторов [Р № Э-7/81] Приложение 6.3. Рекомендации по обследованию изоляции гидрогенераторов в целях выявления ионизационных разрушений Приложение 6.4. Методика выявления стержней с наибольшими ионизационными разрушениями изоляции в обмотках статоров генераторов с микалентной компаундированной изоляцией путем измерения частичных разрядов Приложение 6.5. Способ продления срока службы обмотки статора гидрогенератора методом пропитки разрушенной изоляции термореактивным компаундом без выемки стержней из пазов 6.20. О повышении надежности работы статоров турбогенераторов ТГВ-300 [ПЦ № Э-1/79, ЭЦ № Э-6/74, Р № Э-11/79, Р № Э-17/79] Приложение 6.6. Рекомендации по усилению крепления соединительных шин турбогенераторов ТГВ-300 Приложение 6.7. Рекомендации по сварке меди неплавящимся вольфрамовым электродом в среде защитных газов 6.21. Об установлении контроля за состоянием изоляции между охлаждающими трубками и элементарными проводниками стержней обмоток статоров турбогенераторов ТГВ-200 и ТГВ-300 6.22. О предотвращении истирания и обрывов элементарных проводников головок стержней обмотки статора турбогенераторов ТГВ-200 и ТГВ-300 Приложение 6.8. Рекомендации завода «Электротяжмаш» по ремонту и реконструкции головок лобовых частей обмоток статоров турбогенераторов ТГВ-300 6.23. О проведении вибрационных испытаний мощных синхронных генераторов [Р № Э-1/80] 6.24. Об учете требований к маневренным характеристикам действующих турбогенераторов серий ТВВ и ТГВ мощностью 165, 200 и 300 МВт при планировании ремонтов [Р № Э-9/80] Приложение 6.9. Требования к маневренным характеристикам действующих турбогенераторов серий ТВВ и ТГВ мощностью 165, 200 и 300 МВт 6.25. О предотвращении истирания изоляции стержней обмотки статора турбогенераторов ТВФ-120-2 завода «Сибэлектротяжмаш» [ПЦ № Э-7/79] 6.26. О предотвращении повреждений бандажных колец роторов турбогенераторов вследствие коррозионного растрескивания [ПЦ № Э-4/80] Приложение 6.10. Правила снятия и профилактического осмотра бандажных колец и вспомогательных элементов бандажного узла турбогенераторов, находящихся в эксплуатации Приложение 6.11. Правила нанесения алкидно-кремнийорганической эмали АКО-3 на бандажные кольца и вспомогательные элементы бандажного узла турбогенераторов 6.27. О контроле состояния прессовки зубцов сердечника статора гидрогенераторов [ЭЦ № Э-8/80, Р № 3-1/83] Приложение 6.12. Программа эксплуатационного контроля состояния прессовки зубцовой зоны сердечника статора гидрогенераторов Приложение 6.13. Порядок осмотра и профилактического ремонта крайних пакетов сердечника статора гидрогенераторов Приложение 6.14. Порядок восстановления плотности посадки стержней обмотки на выходе из паза 6.28. О выполнении устройств автоматического гашения поля высокочастотных возбудителей и защиты от междуполюсных КЗ в цепях возбуждения турбогенераторов серии ТВВ 6.29. О маховиках агрегатов резервных электромашинных возбудителей турбогенераторов 150 - 500 МВт 6.30. Об испытаниях цепей возбуждения при вращении ротора турбогенератора от валоповоротного устройства 6.31. О схемах независимого тиристорного возбуждения турбогенераторов мощностью 160 - 800 МВт 6.32. О повышении эффективности работы систем регулирования возбуждения генераторов мощностью 150 МВт и выше [ЭЦ № Э-2/79] 6.33. О защите от перенапряжений обмотки ротора турбогенераторов мощностью 60 - 200 МВт с непосредственным охлаждением [ЭЦ № Э-6/78, Р № Э-3/80] 6.34. О порядке представления информации о работе систем возбуждения [Р № Э-7/80] Приложение 6.15. Формуляр технических данных системы возбуждения, заполняемый при первичной посылке информации 6.35. О предотвращении утечки водорода из турбогенераторов и повышения надежности их комплектных экранированных токопроводов [ЭЦ № Ц-01-82(Э)] Приложение 6.16. Указания по выполнению схемы отбора воздуха на анализ и подачи инертного газа в токопроводы и картеры опорных подшипников Приложение 6.17. Методика проверки автоматических газоанализаторов ТП-1116МУ4 с помощью контрольных газовых смесей (по материалам ПЭО Донбассэнерго) Раздел 7. Трансформаторы 7.1. Об устранении недостатков в трансформаторах на напряжение 110 кВ и выше и их ремонтах 7.2. О повышении надежности работы электронасосов системы охлаждения ДЦ и Ц трансформаторов 7.3. Об эксплуатации трансформаторов ТДЦ-125000/110 [ЭЦ № Э-1/78, Р № Э-3/79] 7.4. Об устранении дефектов системы «дыхания» некоторых трансформаторов 7.5. О предотвращении повреждений устройств РПН SDV1 производства Германской Демократической Республики и PC-3, РС-4 производства Народной Республики Болгарии [ПЦ № Э-2/79, ПЦ № Э-5/79] 7.6. Об эксплуатации трансформаторов мощностью до 630 кВxА включительно [Р № Э-6/80] 7.7. Определение пробивного напряжения трансформаторного масла с помощью маслопробойного аппарата со сферическими электродами [ЭЦ № Э-2/78, Р № Э-2/79] 7.8. О допустимых перегрузках трансформаторов серий ТМ и ТМВМ напряжением 6 - 10 кВ мощностью до 630 кВxА, установленных в распределительных электрических сетях [ЭЦ № Ц-02-82(Э)] 7.9. Об области применения и смешении трансформаторных масел [Р № Э-5/79, ЭЦ № Э-4/78] Раздел 8. Выключатели и приводы 8.1. Схемы управления воздушными выключателями 8.2. О повышении надежности блок-контактов воздушных выключателей ВВ-330Б и ВВ-500Б [ЭЦ № Э-4/81] 8.3. О предупреждении попадания влаги во внутренние полости опорной изоляции воздушных выключателей ВВ-500, ВВМ-500 8.4. О повышении надежности воздушных выключателей серий ВВБ, ВВД и ВВУ [ЭЦ № Ц-10-82(Э)] 8.5. О правилах устройства и эксплуатации компрессорных установок 8.6. О коммутационном ресурсе выключателей ВМП-10 [ЭЦ № Э-1/79] 8.7. Об испытании выключателей высокого напряжения с пружинными приводами ПП-67 (ПП-67К) на включающую способность 8.8. О предупреждении отказов масляных выключателей ВМГ-10 8.9. О предотвращении повреждений выключателей серии ВЭМ-6 Приложение 8.1. Модернизация выключателей серии ВЭМ-6 Приложение 8.2. Проверка работы привода ПЭ-22 8.10. О модернизации пневматической схемы управления воздушных выключателей ВВН-110-6, ВВН-154-8, ВВН-220-10 и ВВН-220-15 Приложение 8.3. Модернизация пневматического привода воздушных выключателей ВВН-110-6, ВВН-154-8, ВВН-220-10, ВВН-220-15 8.11. О допустимых скоростях восстановления напряжения для модернизированных выключателей [ЭЦ № Э-7/78] 8.12. О применении выключателей ММО-110-1250-20У1 8.13. Порядок обслуживания резервуаров выключателей [ЭЦ № Ц-07-82(Э)] 8.14. О допустимых давлениях сжатого воздуха в воздухосборниках 8.15. Проверка работоспособности воздушных выключателей в цикле ВО (включение на КЗ) 8.16. Масла и консистентные смазки для выключателей 8.17. О запрещении демонтажа блок-контактов блокировки от многократных включений масляных баковых выключателей 35 - 220 кВ ПО Уралэлектротяжмаш 8.18. О применении выпрямительных устройств для выключателей ВТД-35-630-10, МКП-ИОМ и У-220-10 8.19. О повышении надежности масляных выключателей 35 кВ в условиях гололеда 8.20. О предотвращении аварий с масляными выключателями МГ-10 и МГ-20 8.21. Ограничение использования выключателей ВВН-35-1 и ВВН-35-2 238 8.22. О комплектах деталей для модернизации выключателей [ЭЦ № Ц-06-82(Э)] Приложение 8.4. Перечень мероприятий по модернизации выключателей 8.23. О повышении надежности приводов ШПЭ-44 [ЭЦ № Ц-03-82 (Э)] Приложение 8.5. Технические мероприятия по повышению надежности приводов ШПЭ-44 8.24. О повышении надежности воздушных выключателей ВВ-500Б и ВВ-330Б [ЭЦ № Ц-09-82(Э)] Приложение 8.6. Мероприятия по изменению конструкции клапанов управления воздушных выключателей ВВ-500Б и ВВ-330Б Раздел 9. Аппаратура распределительных устройств электростанций и подстанций 9.1. О применении в электроустановках напряжением выше 1000 В стационарных заземляющих ножей и их блокировании [Р № Э-11/81-ТБ-2/81] 9.2. Об отключении и включении отделителями и разъединителями ненагруженных трансформаторов, автотрансформаторов, линий электропередачи и систем шин 9.3. О применении подстанций с емкостными делителями напряжения 9.4. О применении сдвоенных реакторов серии РБАС в цепях питания собственных нужд электростанций 9.5. О введении временных норм на напряжения прикосновения для распределительных устройств и трансформаторных подстанций напряжением выше 1000 В с эффективным заземлением нейтрали 9.6. О предупреждении аварий из-за повреждения опорно-стержневых изоляторов напряжением 35 и 110 кВ Приложение 9.1. Методика механических испытаний опорно-стержневых изоляторов на изгиб Приложение 9.2. Указания по монтажу, отбраковке и восстановительному ремонту опорно-стержневых изоляторов 9.7. О повышении надежности работы разъединителей наружной установки с медно-алюминиевыми контактами, выполненными методом холодной сварки 9.8. О размещении фаз ошиновки в шкафах КРУ 6 - 10 кВ [Р № Э-4/79] 9.9. О применении в ОРУ 330 кВ средств защиты обслуживающего персонала от воздействия электрического поля [Р № Э-10/80] Раздел 10. Воздушные линии электропередачи 10.1. Об оформлении с Министерством путей сообщения условий прохождения линий электропередачи по железнодорожным мостам 10.2. Об установке (нанесении) плакатов на опоры воздушных линий электропередачи в местах их пересечения и сближения с кабельными линиями связи 10.3. О пересечении воздушных линий электропередачи между собой 10.4. О повышении надежности ВЛ 6 - 10 кВ на опорах с железобетонными стойками [Р № Э-20/79) 10.5. Об определении критерия (признака) потери работоспособности (разрушения) крюков и штырей воздушных линий электропередачи [Р № Э-14/78] 10.6. О применении полиэтиленовых колпачков для монтажа штыревых изоляторов воздушных линий электропередачи Раздел 11. Кабельные линии 11.1. О предотвращении коррозионного разрушения алюминиевых оболочек кабелей в местах, примыкающих к соединительным муфтам, расположенным в земле 11.2. Об опрессовке соединений алюминиевых жил силовых кабелей 11.3. О применении эпоксидных соединительных муфт усовершенствованной конструкции типа СЭпу 11.4. Об усилении контроля за состоянием абонентских силовых кабелей, проложенных в кабельных сооружениях энергосистем 11.5. О применении силовых кабелей с пластмассовой изоляцией на напряжение 6 и 10 кВ 11.6. Об ограничении применения концевых заделок в резиновых перчатках и поливинилхлоридных заделок 11.7. О защите соединительных муфт 6 - 10 кВ, монтируемых в колодцах, туннелях, каналах, коллекторах и на кабельных эстакадах 11.8. Об использовании кабелей с пластмассовой (поливинилхлоридной или полиэтиленовой) изоляцией на напряжение до 1 кВ [Р № Э-8/78] 11.9. О применении кабелей марки ААШв для прокладки в туннелях и каналах электростанций и подстанций [Р № Э-4/78] Приложение 11.1. Ремонт поливинилхлоридной оболочки 11.10. О прокладке силовых и контрольных кабелей в непроходных металлических коробах блочного исполнения внутри и вне зданий электростанций 11.11. О переводе кабельных линий 6 кВ на напряжение 10 кВ [Р № Э-8/81] Приложение 11.2. Определение степени старения и износа изоляции 290 Приложение 11.3. Рекомендации по составу проекта перевода кабельных линий 6 кВ на напряжение 10 кВ 11.12. О применении концевых заделок внутренней установки из само-слипающихся лент на напряжение 1 - 10 кВ марки КВсл [ЭЦ № Ц-08-82(Э)] Перечень действующих решений и, циркуляров Главтехуправлеиия, не включенных в настоящий Сборник директивных материалов |
| Утверждён: | 22.12.1982 Министерство энергетики и электрификации СССР (USSR Ministry of Energy and Electrical Power ) |
| Издан: | Энергоатомиздат (1985 г. ) |
| Заменяет собой: |
|
| Нормативные ссылки: |
|















































































































































































































































































































