Скачать ГОСТ 20245-95 Гидроприводы объемные. Гидроаппараты. Правила приемки и методы испытанийДата актуализации: 01.01.2021
|
| Обозначение: | ГОСТ 20245-95 |
| Обозначение англ: | GOST 20245-95 |
| Статус: | применяется в еаэс |
| Название рус.: | Гидроприводы объемные. Гидроаппараты. Правила приемки и методы испытаний |
| Название англ.: | Hydraulic fluid power. Hydraulic valves. Acceptance and test methods |
| Дата добавления в базу: | 01.02.2020 |
| Дата актуализации: | 01.01.2021 |
| Дата введения: | 01.01.1997 |
| Область применения: | Стандарт распространяется на гидроаппараты для объемных гидроприводов. Номенклатура гидроаппаратов определена в ГОСТ 16517. Стандарт устанавливает правила приемки и методы контроля готовой продукции при проведении приемо-сдаточных, периодических и типовых испытаний. Методы испытаний гидроаппаратов, не вошедших в номенклатуру изделий, охваченных настоящим стандартом, а также методы испытаний для показателей, проверка которых не предусмотрена настоящим стандартом, устанавливают в стандартах или технических условиях на конкретные гидроаппараты. Стандарт не распространяется на гидроаппараты с пропорциональным управлением и сервоуправлением, а также на логические гидроаппараты. |
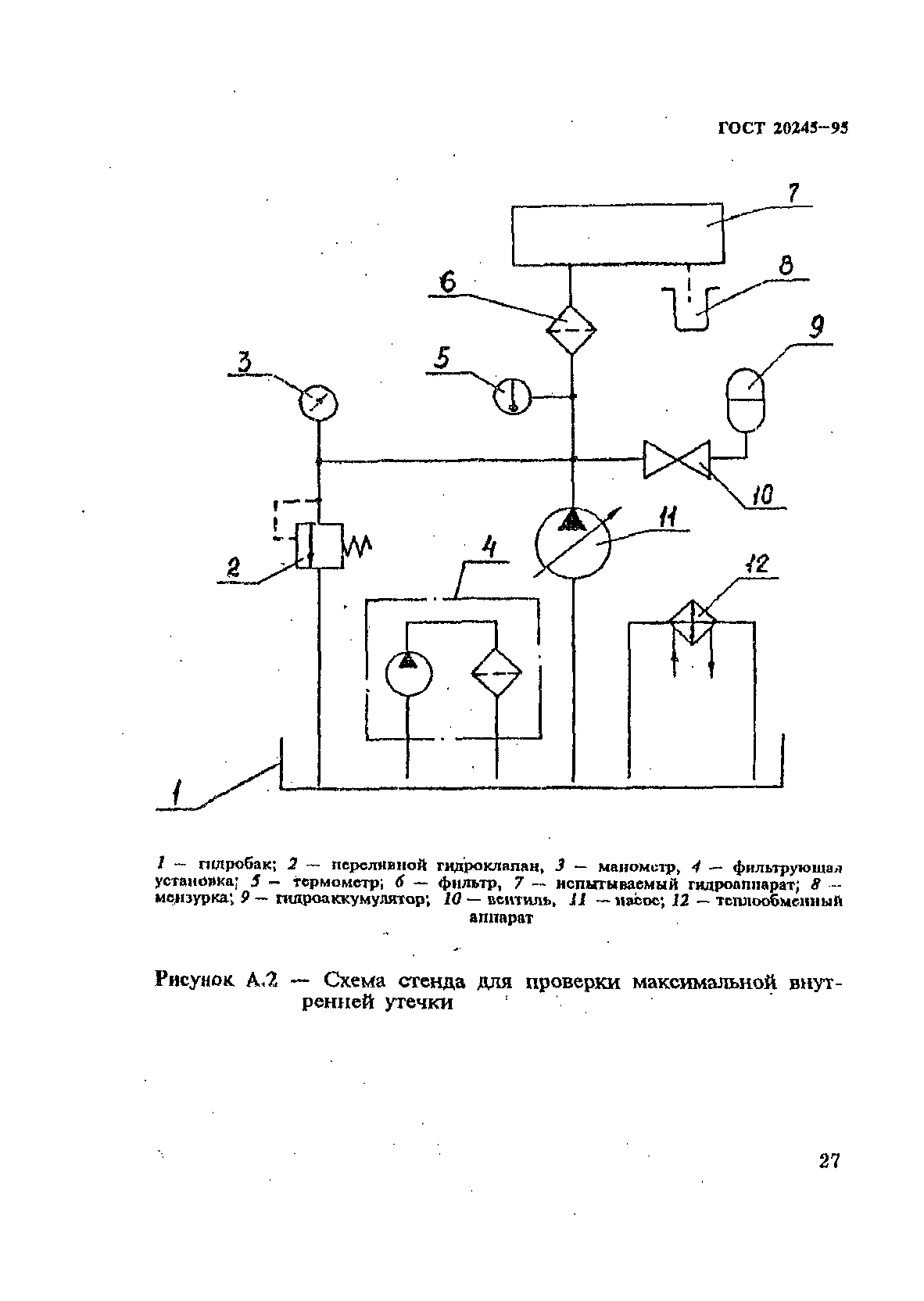
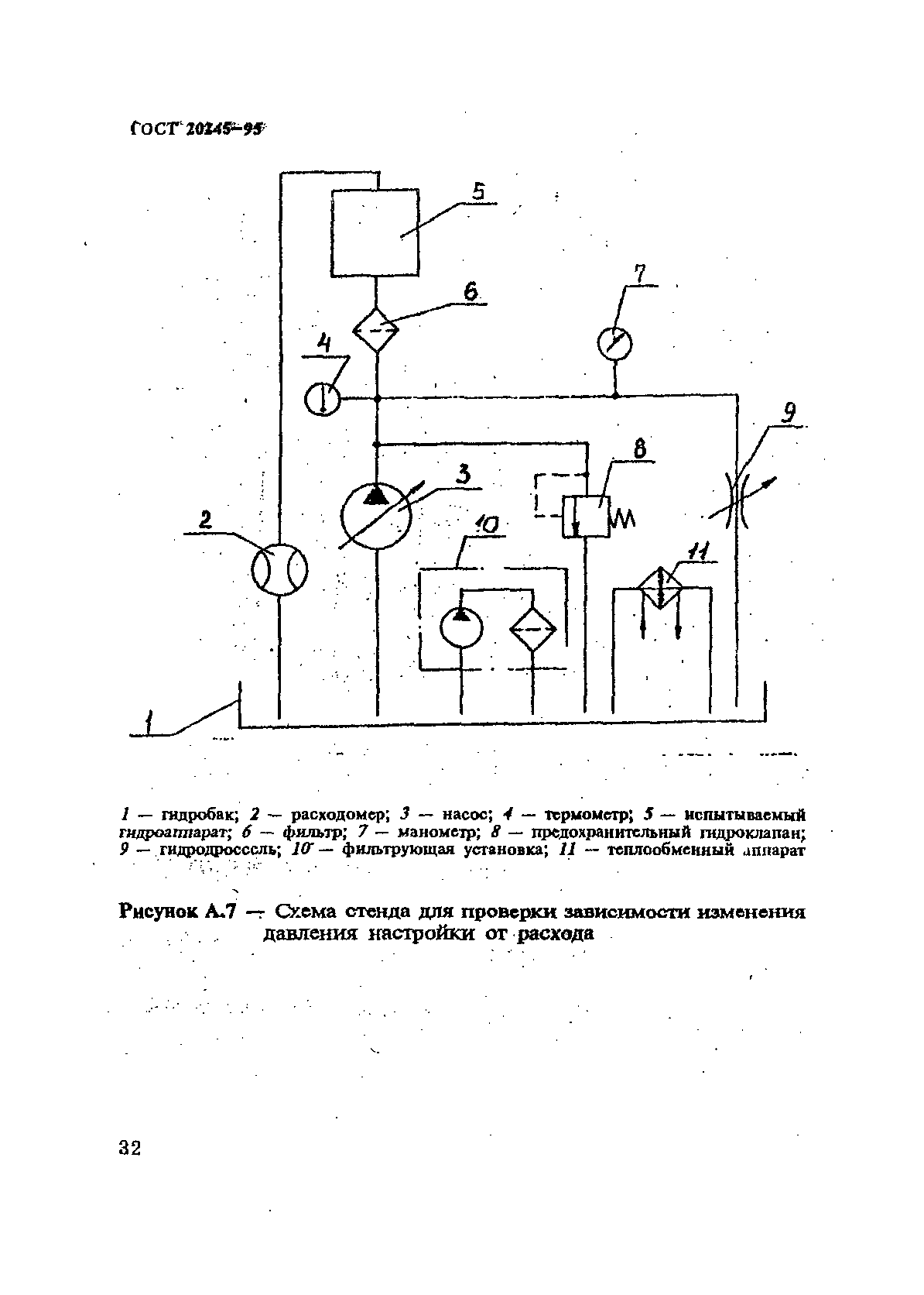
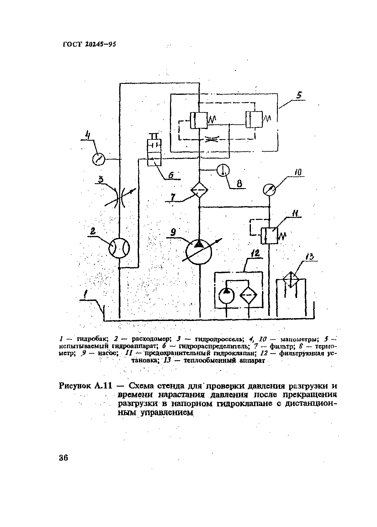
| Оглавление: | 1 Область применения 2 Нормативные ссылки 3 Определения 4 Правила приемки 5 Методы испытаний 6 Оформление результатов испытаний Приложение А (рекомендуемое) Схемы стендов т типовые формы диаграмм проверок гидроаппаратов |
| Разработан: | НИИ-Гидропривод МТК 76 Гидроприводы объемные, пневмоприводы и смазочные системы |
| Утверждён: | 26.04.1995 Межгосударственный Совет по стандартизации, метрологии и сертификации (Inter-Governmental Council on Standardization, Metrology, and Certification 7) 30.12.1995 Белстандарт (13) |
| Издан: | БелГИССиздат (1996 г. ) |
| Заменяет собой: | |
| Нормативные ссылки: |
|

















































