Скачать Руководство по проектированию строительных предприятий для защиты эксплуатируемых одноэтажных производственных зданий от влияния горных выработок

Дата актуализации: 01.01.2021

Руководство по проектированию строительных предприятий для защиты эксплуатируемых одноэтажных производственных зданий от влияния горных выработок

Статус:справочные материалы, мп, тпр
Название рус.:Руководство по проектированию строительных предприятий для защиты эксплуатируемых одноэтажных производственных зданий от влияния горных выработок
Дата добавления в базу:01.02.2020
Дата актуализации:01.01.2021
Область применения:Руководство предназначается для инженерно-технических работников проектных, производственных и научно-исследовательских организаций, занимающихся вопросами проектирования, строительства и эксплуатации зданий и сооружений на подрабатываемых территориях.
Оглавление:1. Общие положения и исходные данные
2. Определение необходимости проектирования строительных мероприятий для защиты одноэтажных производственных зданий от влияния горных выработок
3. Статический расчет конструкций зданий
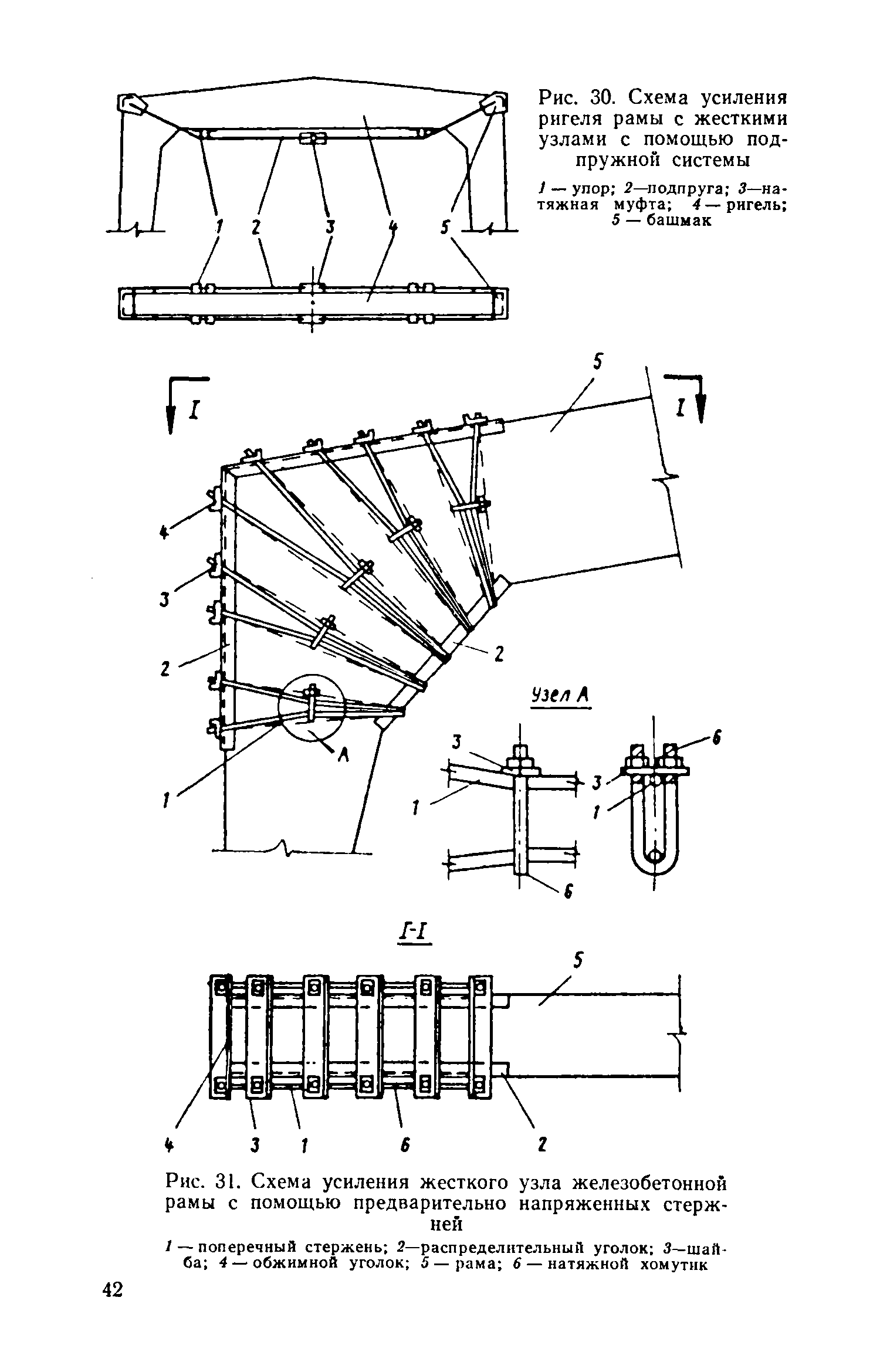
4. Строительные мероприятия для защиты одноэтажных производственных зданий
Приложение 1. Таблицы схем, графиков и формул для расчета рам на воздействие деформаций их оснований
Приложение 2. Примеры определения основных неизвестных перемещений и сил для некоторых типов рам
Приложение 3. Таблицы схем, графиков и формул для расчета рам на постоянные и временные нагрузки
Разработан: Донецкий Промстройниипроект
Издан: Издательство литературы по строительству (1970 г. )
Нормативные ссылки: