Скачать Методика контроля конических резьбовых и гладких калибров-пробок и калибров-колец для проверки соединений с коническими трапецеидальными (упорными) резьбамиДата актуализации: 01.01.2021 |
| Статус: | справочные материалы, мп, тпр |
| Название рус.: | Методика контроля конических резьбовых и гладких калибров-пробок и калибров-колец для проверки соединений с коническими трапецеидальными (упорными) резьбами |
| Дата добавления в базу: | 01.02.2020 |
| Дата актуализации: | 01.01.2021 |
| Область применения: | Методика распространяется на конические резьбовые и гладкие калибры по ГОСТ 22634-17, ГОСТ 25575-83, ГОСТ 25576-83, спец. 5В АРI и другие типы калибров для контроля трапецеидальных резьб и регламентирует средства и методы проверки конических резьбовых и гладких калибров, предназначенных для контроля соединений с коническими трапецеидальными (упорными) резьбами труб нефтяного сортамента (бурильные трубы с высаженными концами и коническими стабилизирующими поясками - ВК и НК и замков к ним - ЗШК и ЗУК по ГОСТ 631-75, обсадные трубы и муфты к ним - ОТТМ по ГОСТ 632-80, обсадные безмуфтовые трубы ОГ1м по ТУ, обсадные трубы с упорной резьбой (Батресс) по спец. 5В АРI, насосно-компрессорные трубы и муфты к ним по ГОСТ 633-80) и другие виды инструмента с трапецеидальной резьбой |
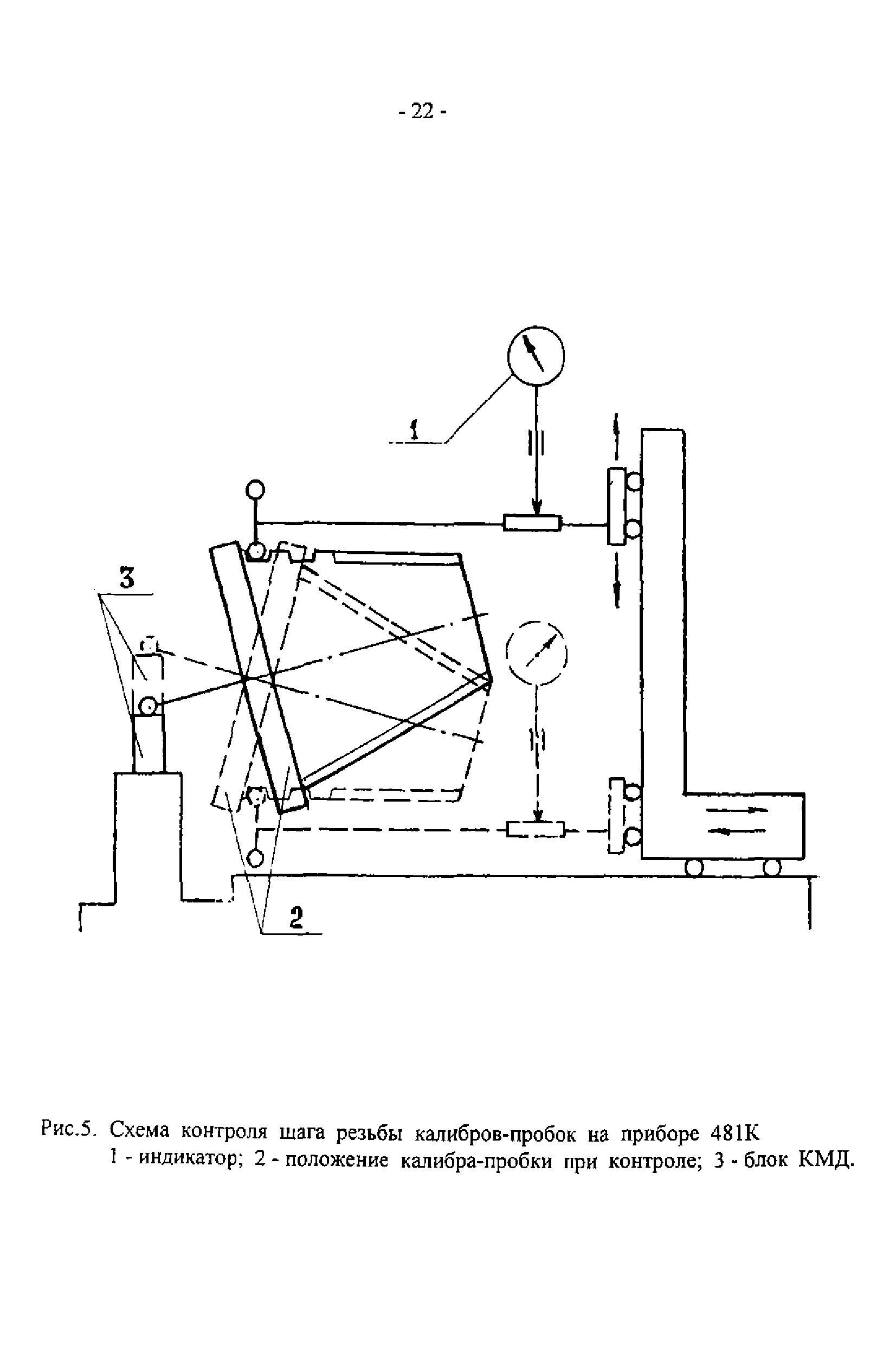
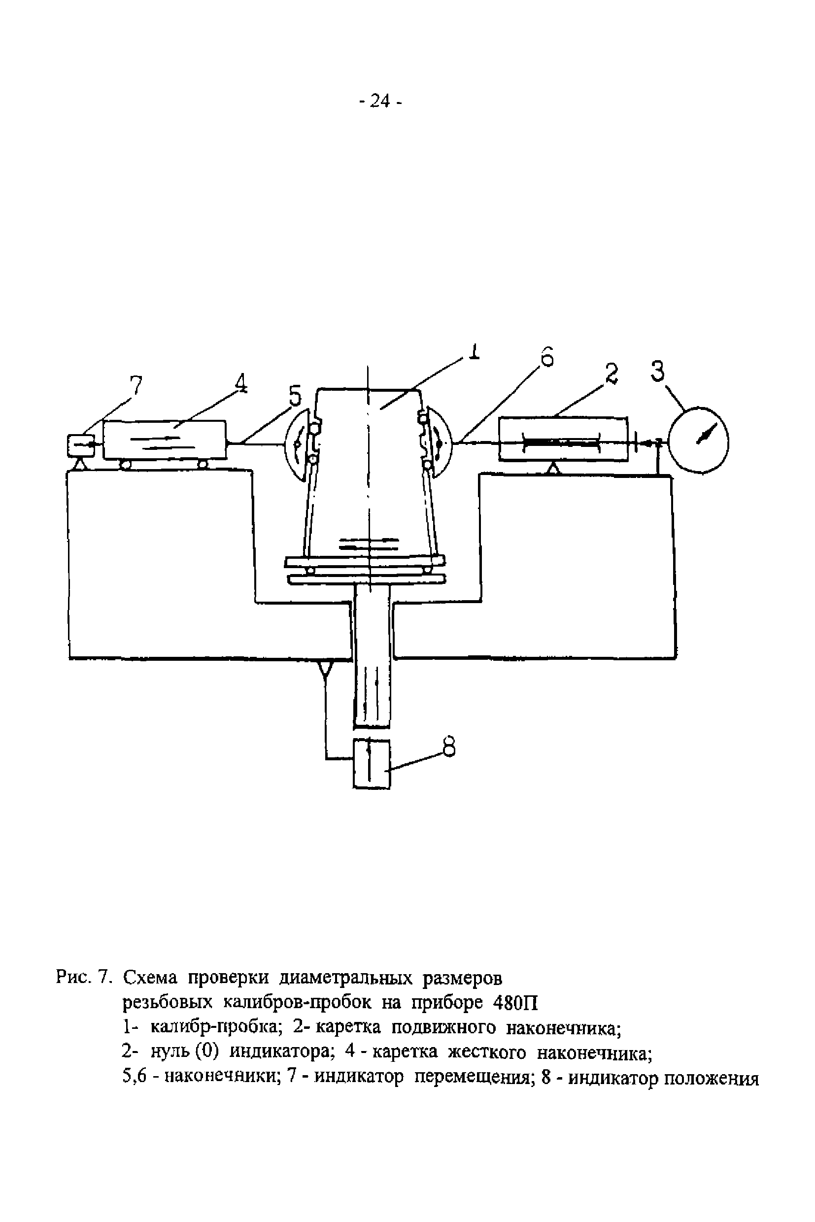
| Оглавление: | 1 Операции и средства контроля 2 Условия проверки 3 Проведение проверки |
| Разработан: | ВНИИБТ ОАО НПО Буровая техника |
| Принят: | 17.12.1998 Госгортехнадзор России (Russian Federation Gosgortekhnadzor 10-03/678) 13.01.1999 ОАО Газпром (Gazprom OAO 25-3-14/6) 13.11.1998 ОАО НИИизмерения (408/402) 16.11.1998 ЗАО Резьбовые и специальные калибры (16/98) |
| Нормативные ссылки: |
|



































