Скачать ТУ 6-10-741-79 Эмали ПФ-167 различных цветов

Дата актуализации: 01.01.2021

ТУ 6-10-741-79

Эмали ПФ-167 различных цветов

Обозначение: ТУ 6-10-741-79
Обозначение англ: TU 6-10-741-79
Статус:истек срок действия
Название рус.:Эмали ПФ-167 различных цветов
Дата добавления в базу:01.02.2020
Дата актуализации:01.01.2021
Дата введения:01.12.1979
Дата окончания срока действия:01.01.1994
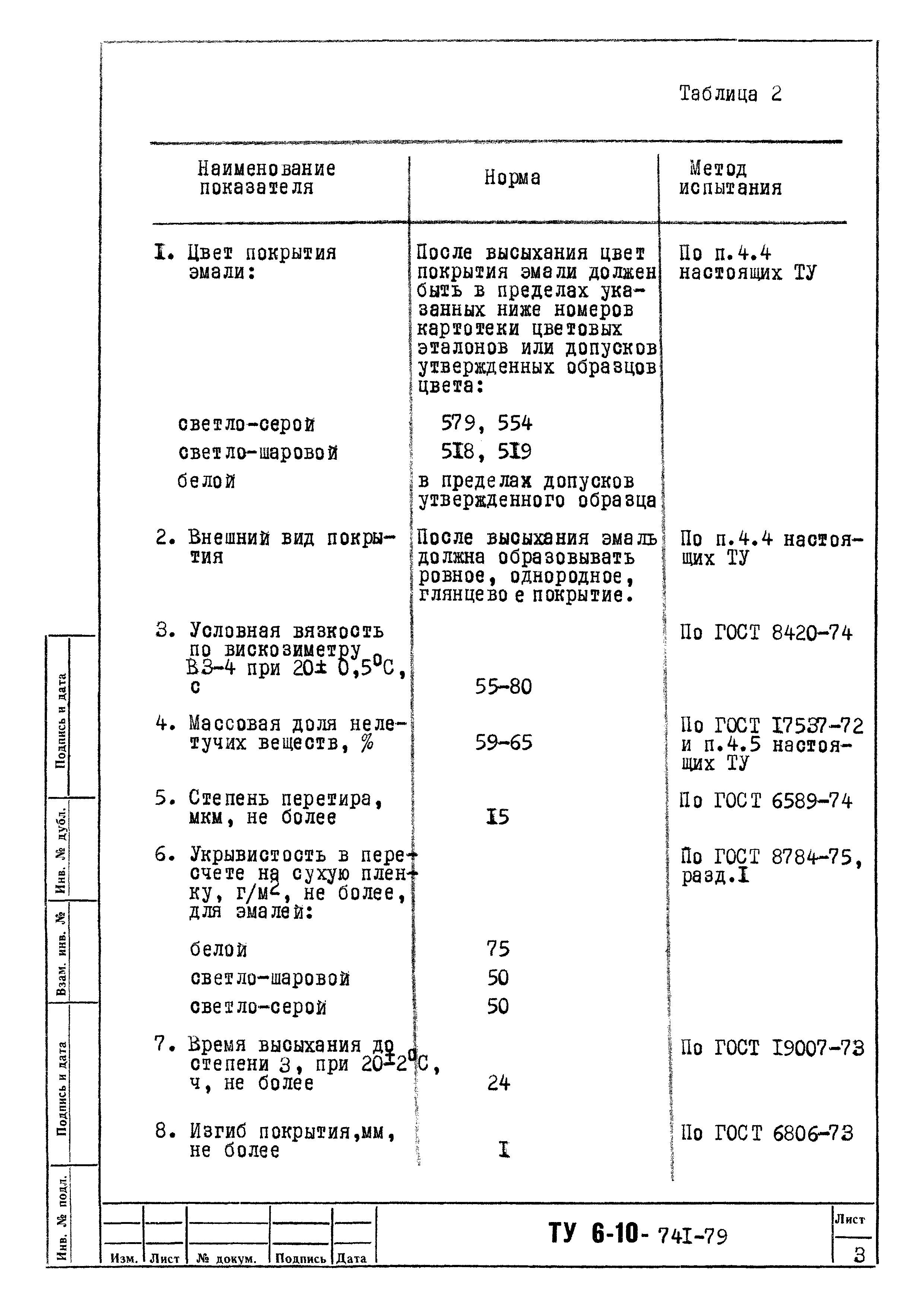
Область применения:Технические условия распространяются на эмали ПФ-167 белого, светло-серого и светло-шарового цветов, представляющие собой суспензию пигментов в пентафталевом лаке (ТУ 6-10-612-76).
Оглавление:1 Технические требования
2 Требования безопасности
3 Правила приемки
4 Методы испытаний
5 Упаковка, маркировка, транспортирование и хранение
6 Указание по применению
7 Гарантии изготовителя
Разработан: ЛНПО Пигмент
Утверждён:27.08.1979 Союзкраска
Принят:21.08.1979 ЦК профсоюза рабочих химической и нефтехимической промышленности (Central Committee of the Labor Union of Chemical and Petrochemical Industry Workers 02-06-802/ПВ)
11.06.1979 ЦНИИМФ
Главкультбытторг Министерства торговли СССР
Ленинградская оптовая контора Росглавкоопхозторг
04.07.1979 Лениградское областное Управление по качеству товаров и торговле по РСФСР
Список изменений:
Заменяет собой:
  • ТУ 6-10-741-74
Нормативные ссылки:
ТУ 6-10-741-79ТУ 6-10-741-79ТУ 6-10-741-79ТУ 6-10-741-79ТУ 6-10-741-79ТУ 6-10-741-79ТУ 6-10-741-79ТУ 6-10-741-79ТУ 6-10-741-79ТУ 6-10-741-79ТУ 6-10-741-79ТУ 6-10-741-79ТУ 6-10-741-79ТУ 6-10-741-79ТУ 6-10-741-79ТУ 6-10-741-79ТУ 6-10-741-79ТУ 6-10-741-79ТУ 6-10-741-79ТУ 6-10-741-79ТУ 6-10-741-79ТУ 6-10-741-79ТУ 6-10-741-79ТУ 6-10-741-79ТУ 6-10-741-79ТУ 6-10-741-79ТУ 6-10-741-79ТУ 6-10-741-79ТУ 6-10-741-79ТУ 6-10-741-79ТУ 6-10-741-79ТУ 6-10-741-79ТУ 6-10-741-79

Текстовое изменение № 1 от 15.09.1980

№ 1№ 1

Текстовое изменение № 2 от 01.06.1984

№ 2№ 2№ 2№ 2№ 2№ 2№ 2№ 2№ 2

Текстовое изменение № 3

№ 3№ 3№ 3№ 3№ 3№ 3

Текстовое изменение № 4

№ 4№ 4