Скачать Рекомендации по усилению и реконструкции дефектных железобетонных фундаментов под машины с динамическими нагрузками (материалы для проектирования)Дата актуализации: 01.01.2021
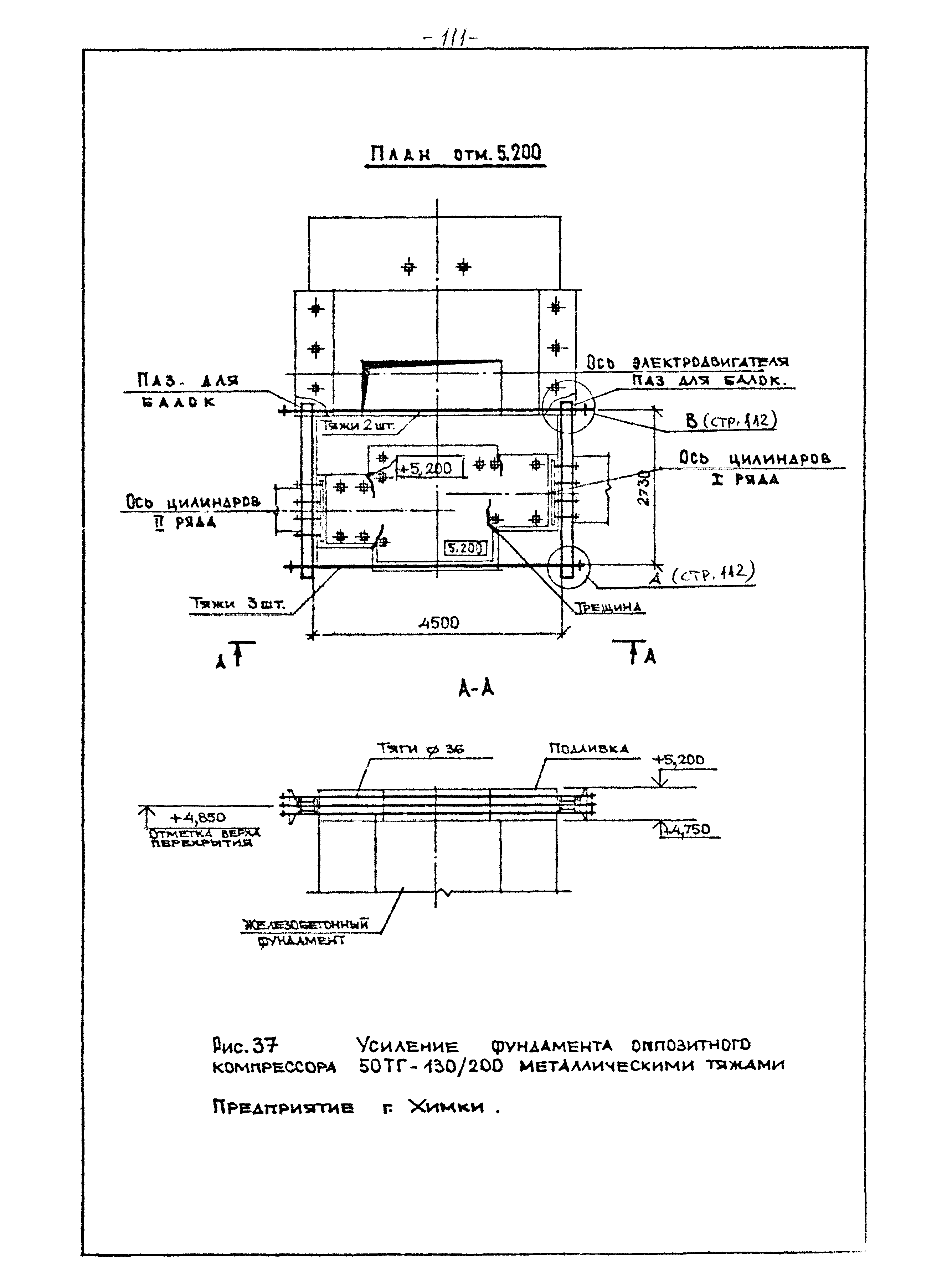
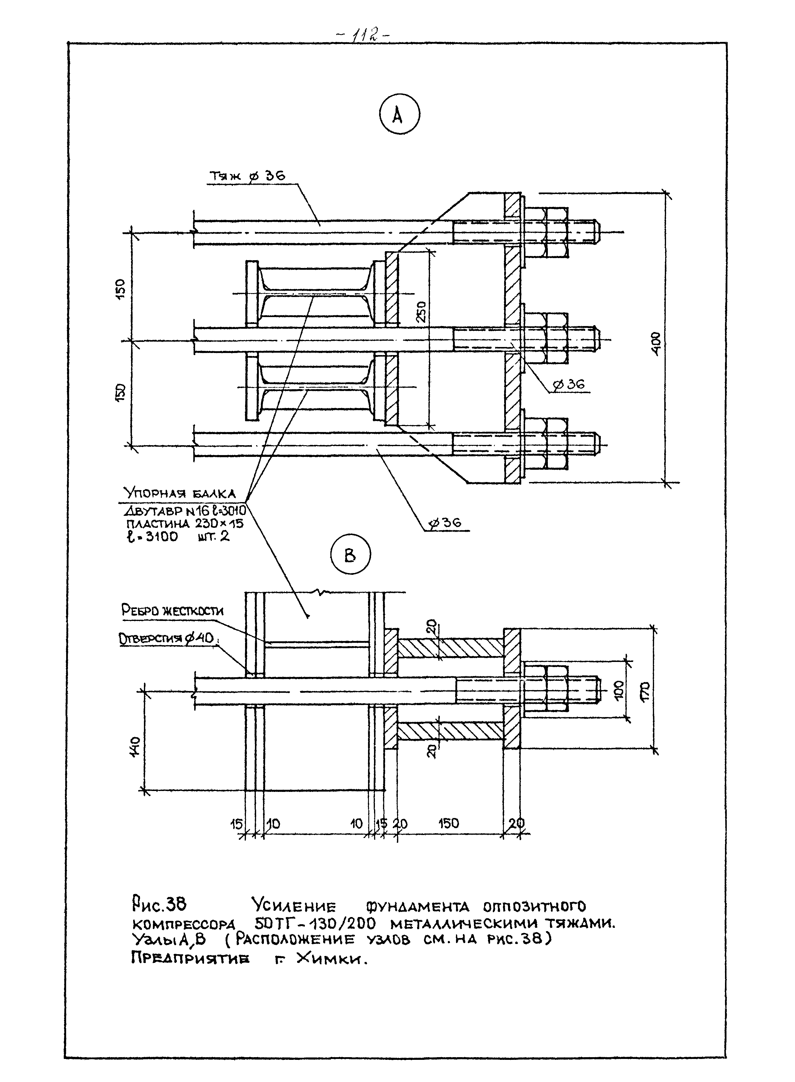
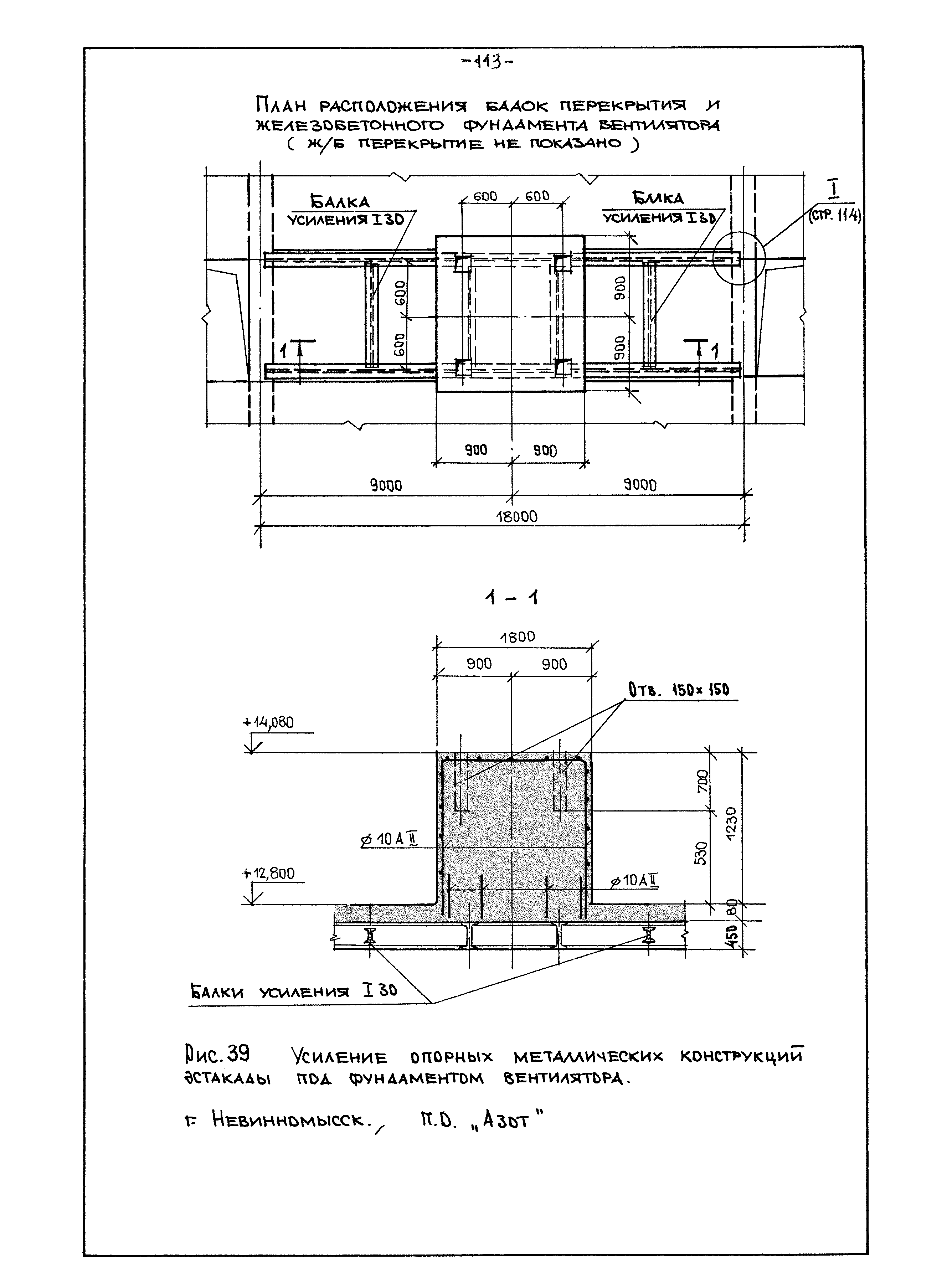
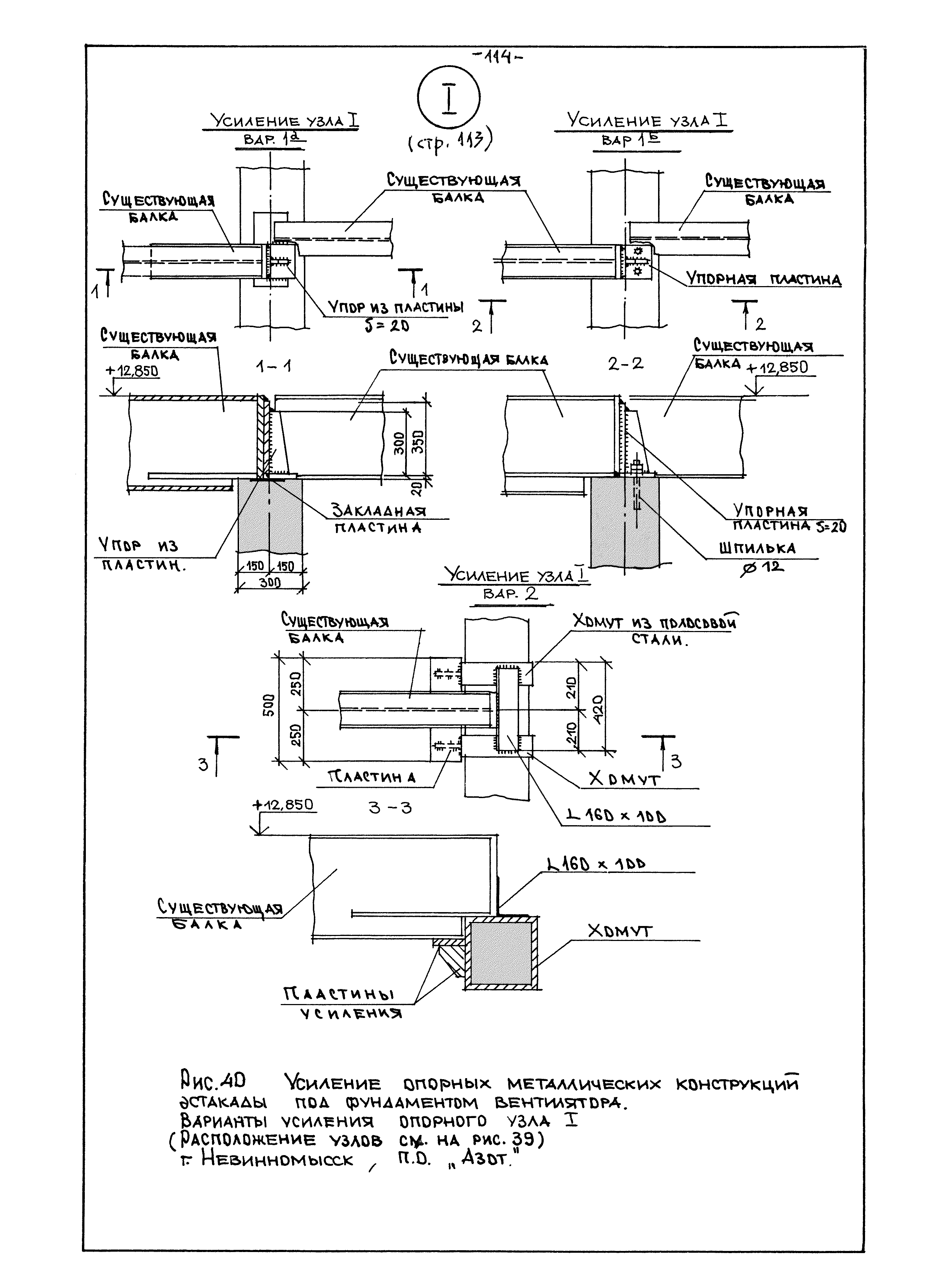
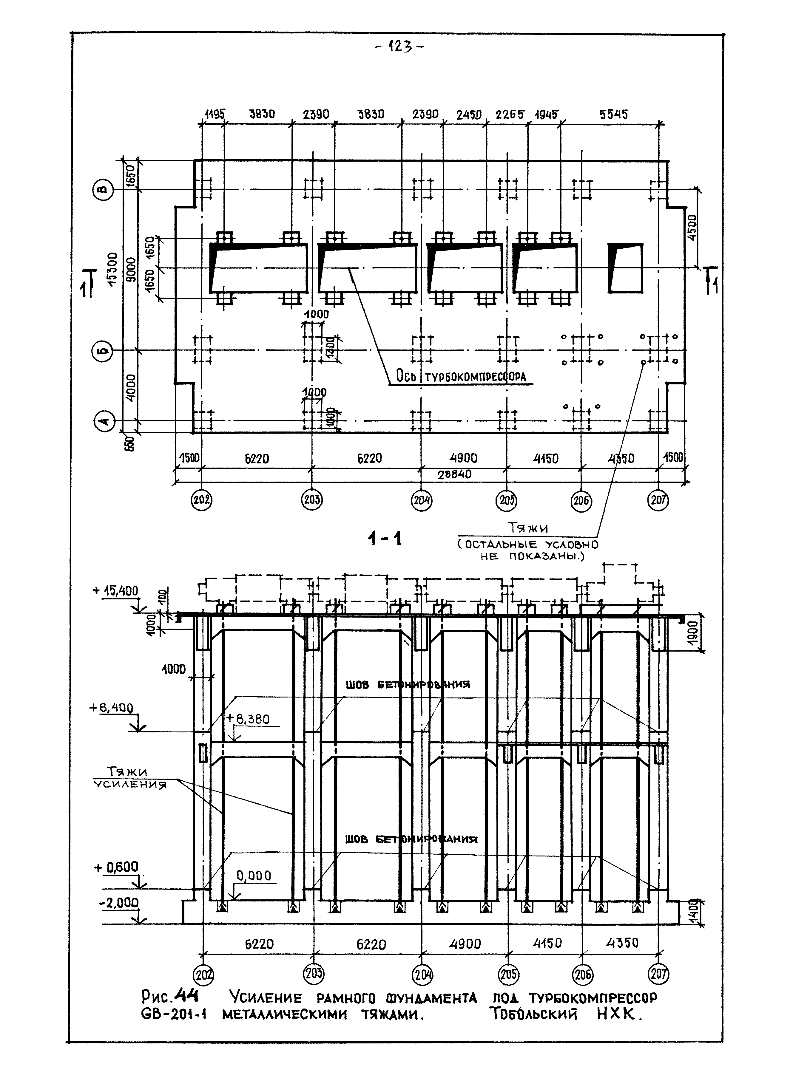
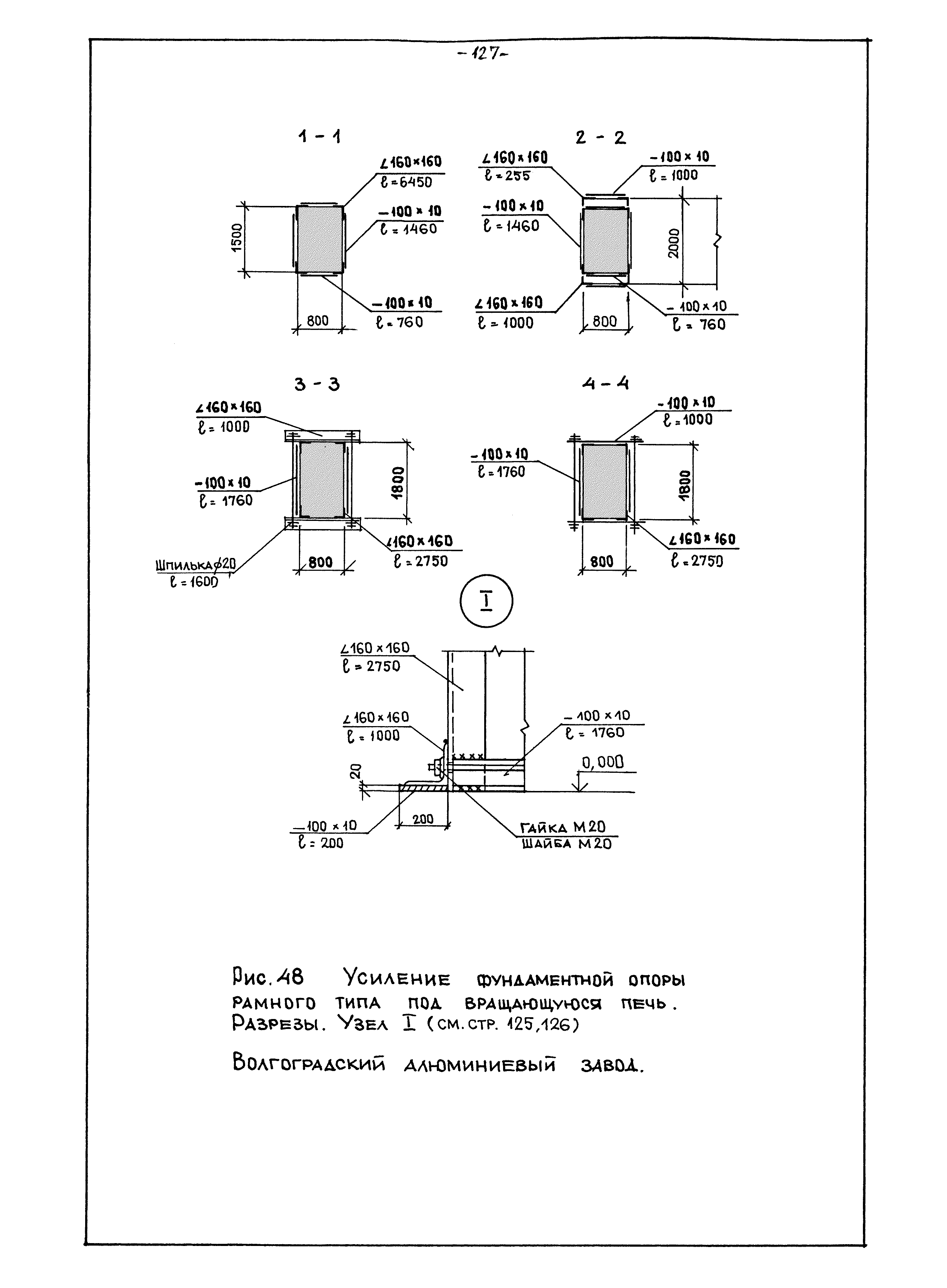
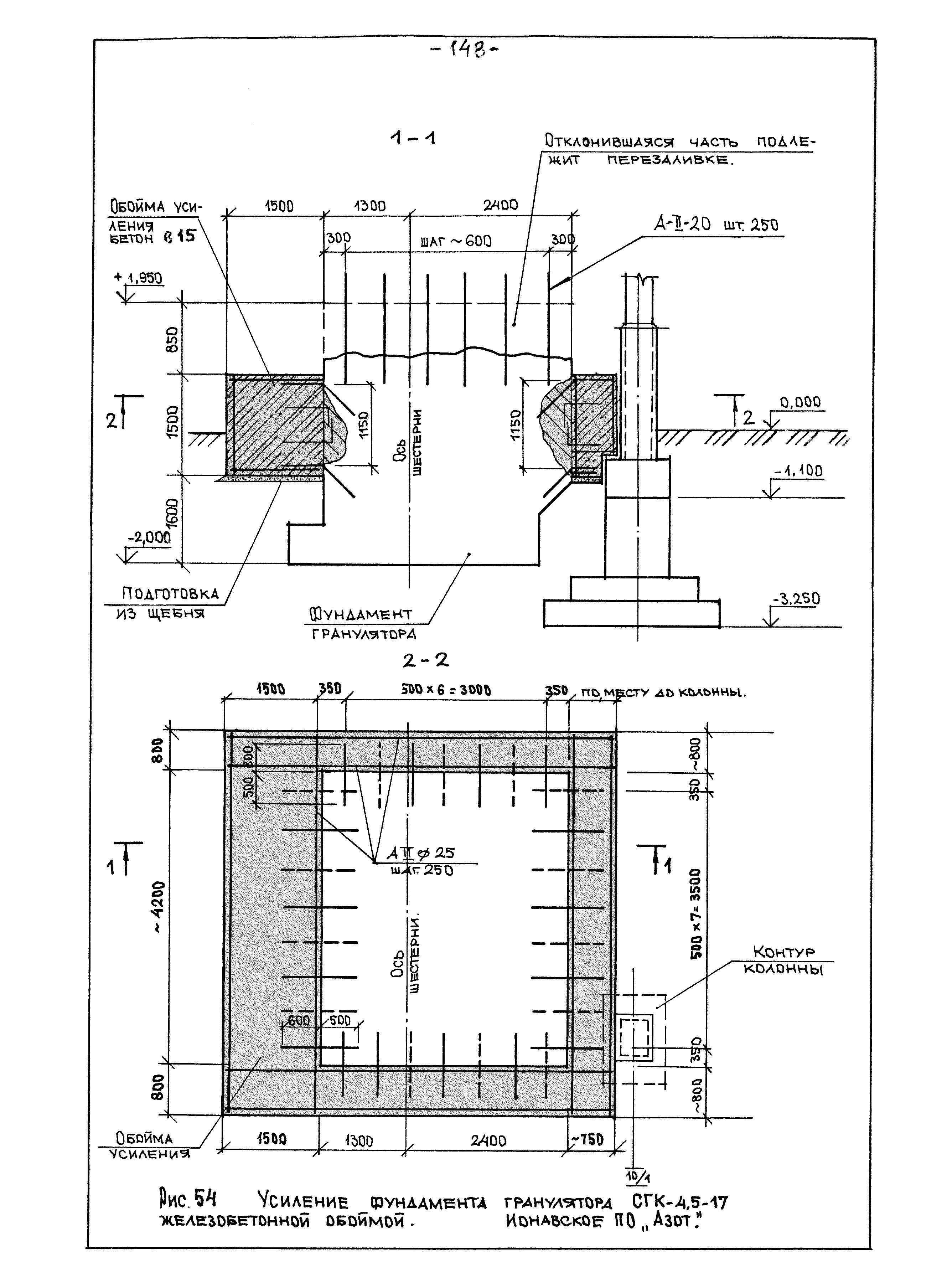
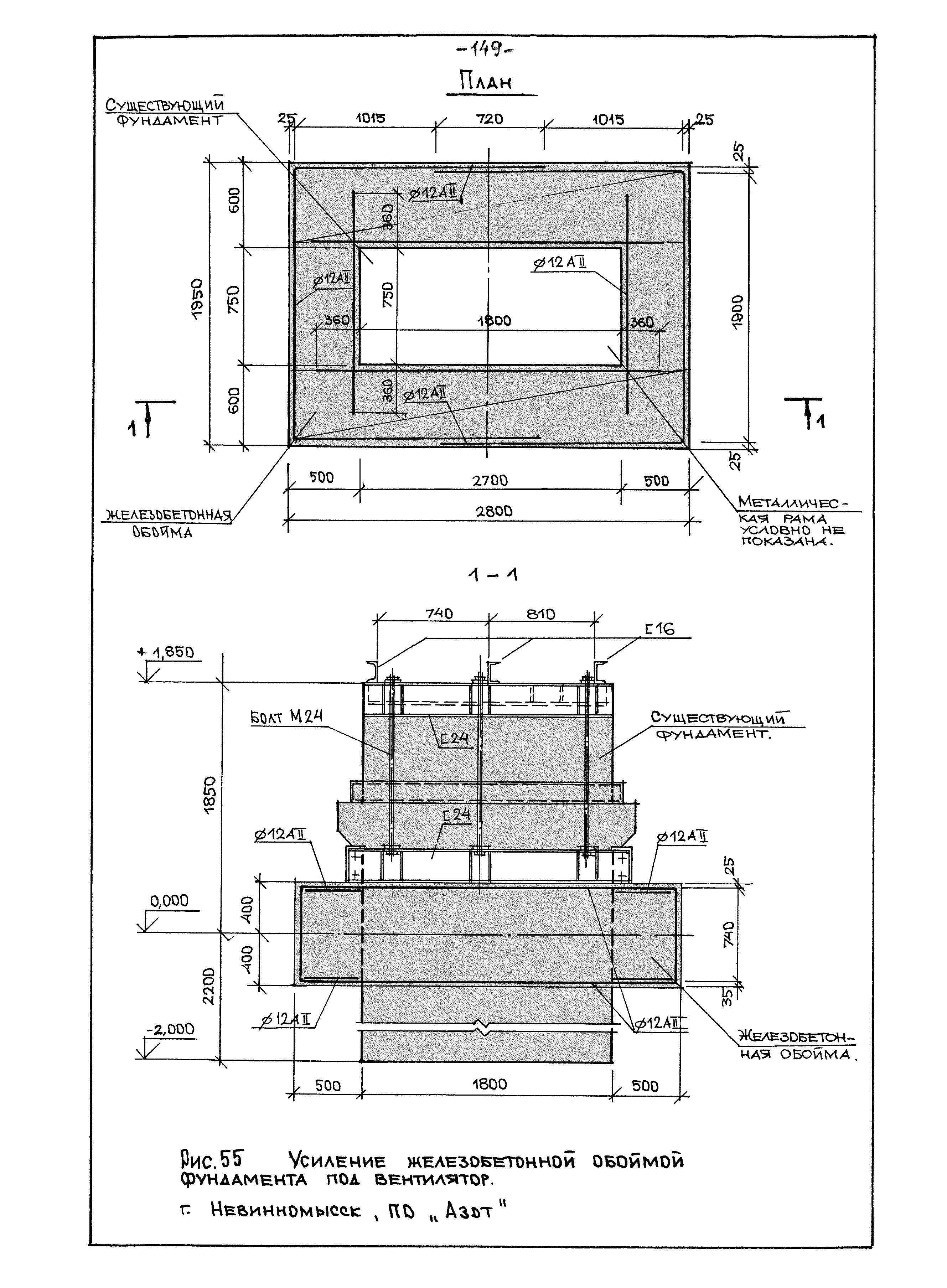
Рекомендации по усилению и реконструкции дефектных железобетонных фундаментов под машины с динамическими нагрузками (материалы для проектирования)| Статус: | информационный документ | | Название рус.: | Рекомендации по усилению и реконструкции дефектных железобетонных фундаментов под машины с динамическими нагрузками (материалы для проектирования) | | Дата добавления в базу: | 01.02.2020 | | Дата актуализации: | 01.01.2021 | | Область применения: | В документе приведены сведения о проведении визуальных и инструментальных обследованиях, предшествующих ремонтным работам, рассмотрены основные причины образования дефектов при строительстве и эксплуатации фундаментов и установленных на них машин, а также характер развития трещин фундаментов в процессе эксплуатации. Рассмотрены типы усилений фундаментов по функциональным, конструктивным свойствам, методические указания по комплексу работ при усилении, экономическая целесообразность проведения усилений. | | Оглавление: | Раздел I. Общие данные 1 Общие положения, цены и результаты работы. Классификация разрушений фундаментов 2 Основные причины образования трещин и дефектов 3 Характер развития трещин в фундаментах машин с динамическими нагрузками 4 Классификация усилений по функциональным и конструктивным свойствам 4.1 Функциональные свойства усилений 4.2. Конструктивные свойства усилений 5 Методические указания по комплексу работы при усилении дефектных фундаментов 6 Экономическая целесообразность проведения усиления и реконструкции фундаментов Раздел II. Рекомендации по заделке трещин фундаментов машин эпоксидными клеевыми составами 1 Дефекты фундаментов, для которых рекомендуется склеивание 2 Свойства и компоненты клеевых составов 2.1 Физико—механические свойства клеев 2.2 Компоненты клеевых составов 2.3 Рекомендуемые клеевые составы 3 Подготовительные работы 3.1 Обработка поверхности вдоль трещины 3.2 Восстановление поврежденной арматуры 3.3 Высверливание отверстий под штуцеры 3.4 Штуцеры и их заделка в шпурах 3.5 Контроль установленных штуцеров 3.6 Поверхностная герметизация трещин 4 Инъецирование трещины 4.1 Проведение работ по инъецированию 4.2 Ведение технической документации 4.3 Влияние вибраций на процесс отверждения клея 4.4 Техника безопасности Раздел III. Рекомендации по усилению дефектных фундаментов с применением металлоконструкций 1 Основные положения 2 Усиление массивных фундаментов 2.1 Фундаменты стенчатые подвального типа а) усиление фундаментов металлическими тросами б) усиление фундаментов металлическими тяжами в) усиление фундаментов обоймой с металлическими тяжами (бандажом) г) усиление фундаментов жесткой металлической обоймой 2.2 Фундаменты с массивной верхней частью подвального типа 2.3 Фундаменты монолитные, установленные на эстакадах 3 Усиление рамных фундаментов 3.1 Монолитные и сборно—монолитные рамные фундаменты 3.2 Фундаментные опоры рамного типа Раздел IV. Рекомендации по усилению дефектных фундаментов с применением железобетона 1 Основные положения 1.1 Типы усилений, их особенности, требования к усилениям 1.2 Способы увеличения величины связи между старым и укладываемым бетоном 1.3 Указания по расчету и конструированию железобетонных усилений 2 Проектные решения железобетонных усилений 2.1 Железобетонные обоймы по внешнему и внутреннему контуру фундаментов 2.2 Железобетонные усиления в виде набетонок Приложение 1. Литература Приложения 2. Пример расчета усиления фундамента компрессора IГ—266/320 обоймой с металлическими тяжами Приложение 3. а) Порядок производства работ по усилению фундаментной опоры вращающейся печи железобетонной обоймой от отметки —0.8 м до отметки — 2.0 м б) Порядок производства работ по усилению фундаментной опоры вращающейся печи железобетонной обоймой от отметки — 1.2 м до отметки 3.95 м Приложение 4. Примеры расчетов технико—экономических показателей эффективности предлагаемых способов усиления и реконструкции дефектных фундаментов | | Разработан: | ГПИ Фундаментпроект Санкт-Петербургское отделение
| | Нормативные ссылки: | |
                                                                                                                                                                                                
|