Скачать ГОСТ Р 58463-2019 Автоматизированные системы управления освещением автомобильных дорог и тоннелей. Требования к регулированию освещенияДата актуализации: 01.01.2021
|
| Обозначение: | ГОСТ Р 58463-2019 |
| Обозначение англ: | GOST R 58463-2019 |
| Статус: | введен впервые |
| Название рус.: | Автоматизированные системы управления освещением автомобильных дорог и тоннелей. Требования к регулированию освещения |
| Название англ.: | Roads and tunnels lighting automatic control systems. Requirements for lighting control |
| Дата добавления в базу: | 01.02.2020 |
| Дата актуализации: | 01.01.2021 |
| Дата введения: | 01.01.2020 |
| Область применения: | Стандарт распространяется на автоматизированные системы регулирования освещения автомобильных дорог и тоннелей. Стандарт не распространяется на аварийное освещение тоннелей, а также на мониторинг освещения дорог и тоннелей. |
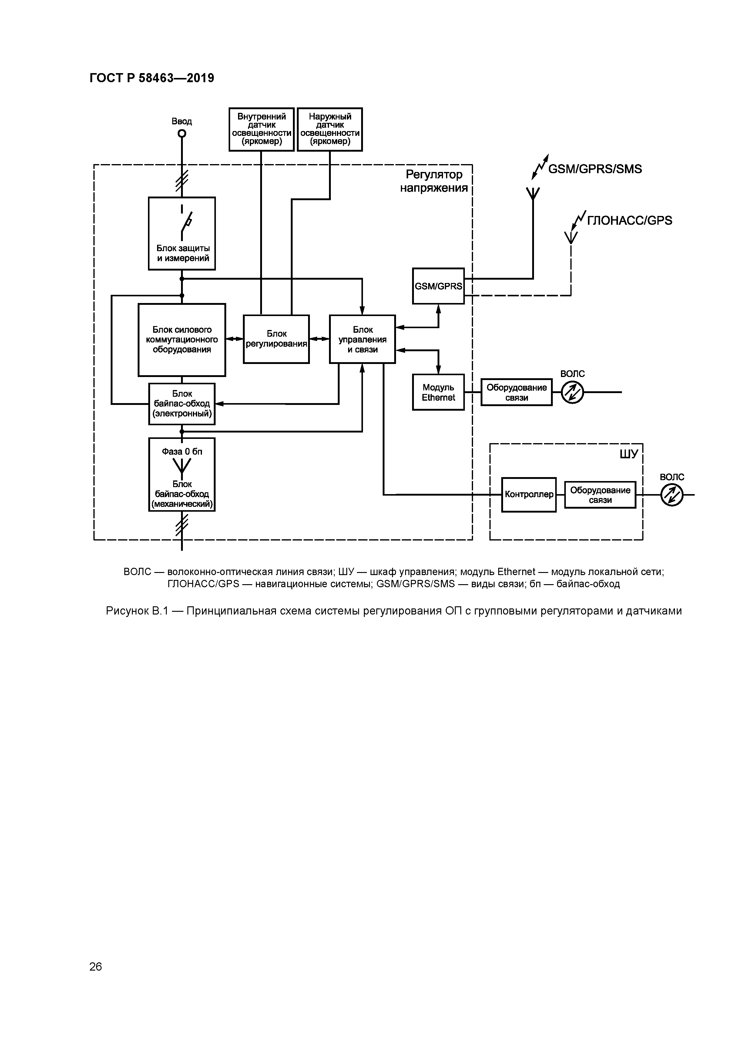
| Оглавление: | 1 Область применения 2 Нормативные ссылки 3 Термины, определения и сокращения 4 Параметры регулирования освещения дорог 5 Параметры регулирования освещения тоннелей 6 Требования к регулированию освещения дорог и тоннелей 7 Структура автоматизированных систем регулирования освещения Приложение А (справочное) Функциональные требования к групповым и индивидуальным регуляторам Приложение Б (справочное) Принципиальные схемы включения групповых регуляторов в пунктах питания Приложение В (справочное) Пример принципиальной схемы системы регулирования осветительных приборов с групповыми регуляторами и датчиками Приложение Г (справочное) Примеры значимых элементов и параметров осветительных установок, которые учитывают при работе систем регулирования освещения |
| Разработан: | ООО ВНИСИ |
| Утверждён: | 31.07.2019 Федеральное агентство по техническому регулированию и метрологии (438-ст) |
| Издан: | Стандартинформ (2019 г. ) |
| Нормативные ссылки: |
|


































