Скачать Инструкция по проектированию электропитающих устройств узлов связиДата актуализации: 01.01.2021 |
| Статус: | справочные материалы, мп, тпр |
| Название рус.: | Инструкция по проектированию электропитающих устройств узлов связи |
| Дата добавления в базу: | 01.01.2021 |
| Дата актуализации: | 01.01.2021 |
| Область применения: | Инструкция содержит нормы и требования на проектирование строительства (реконструкции, расширения) электропитающих установок узлов связи шахт, разрезов, обогатительных фабрик, предприятий, производственных объединений по добыче угля (сланца) Минуглепрома СССР. Инструкция не распространяется на проектирование электропитающих установок узлов связи, эксплуатируемых Министерством связи СССР. |
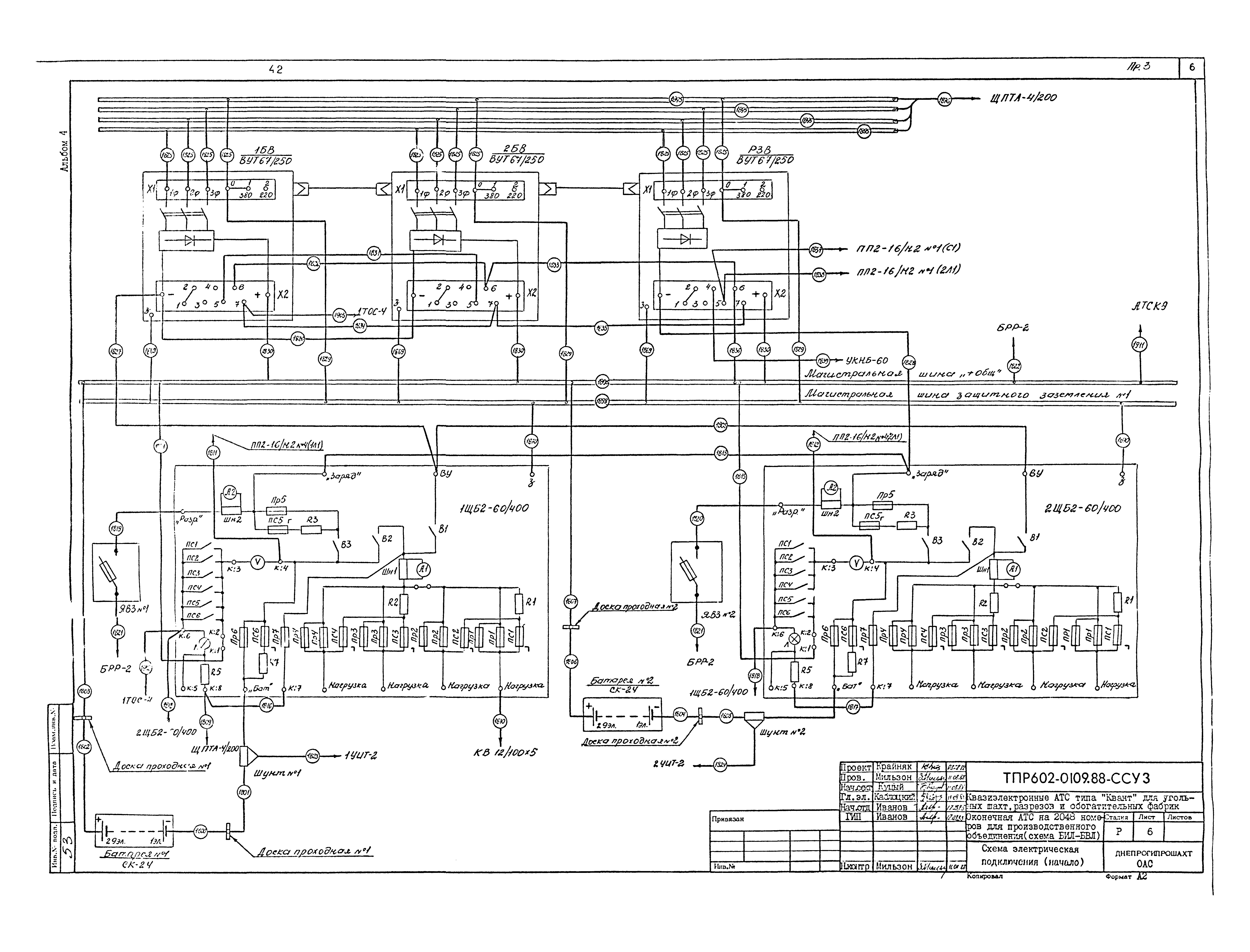
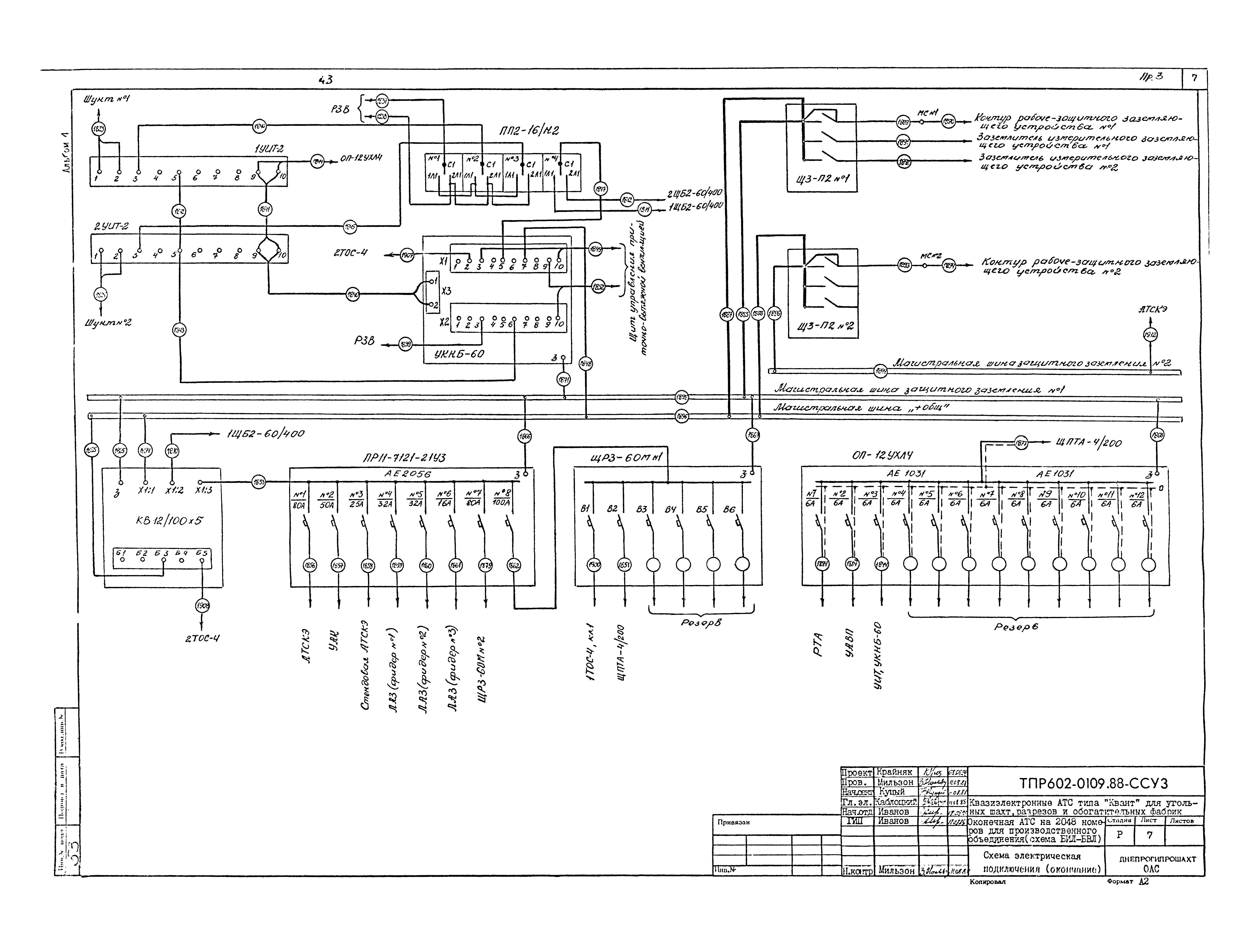
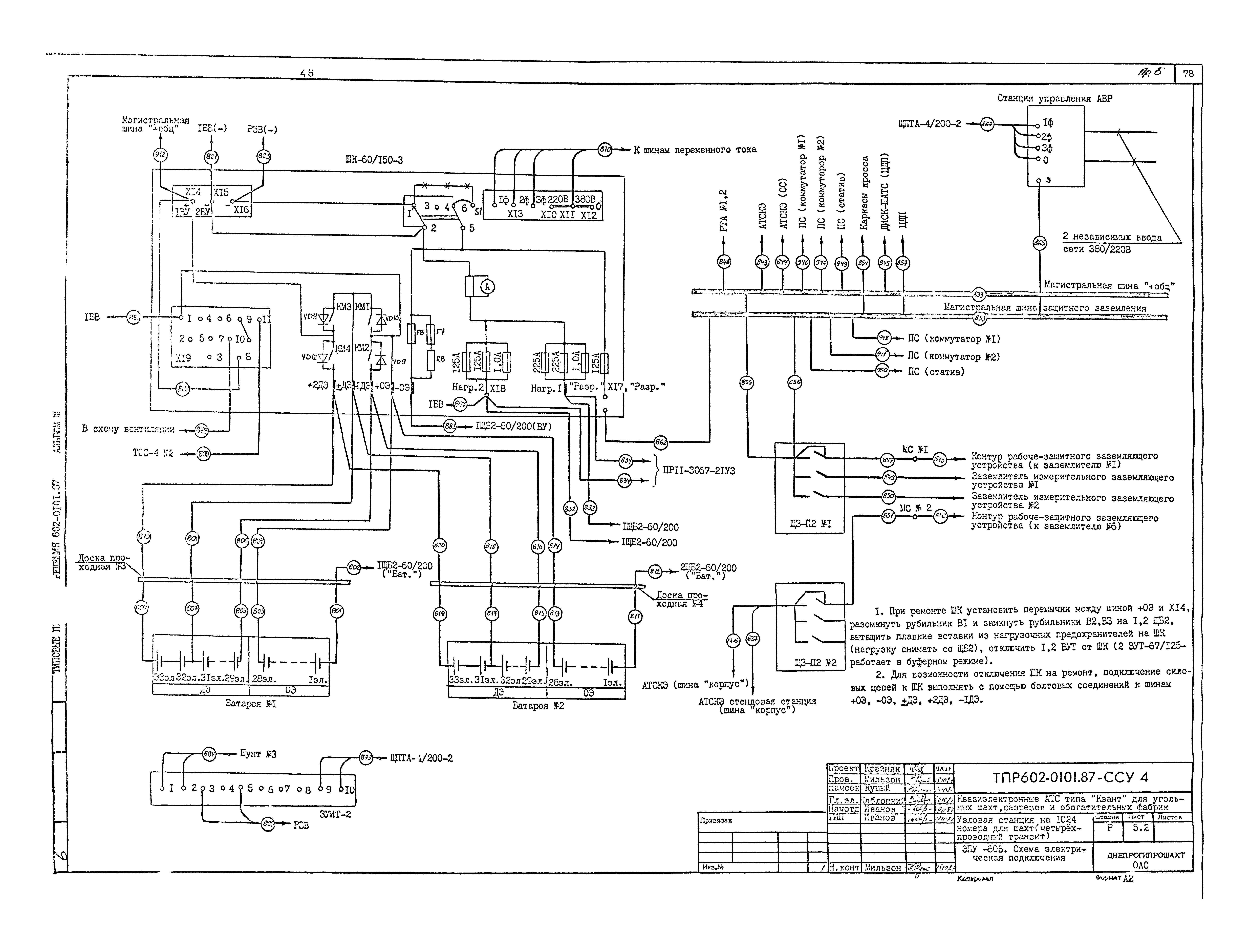
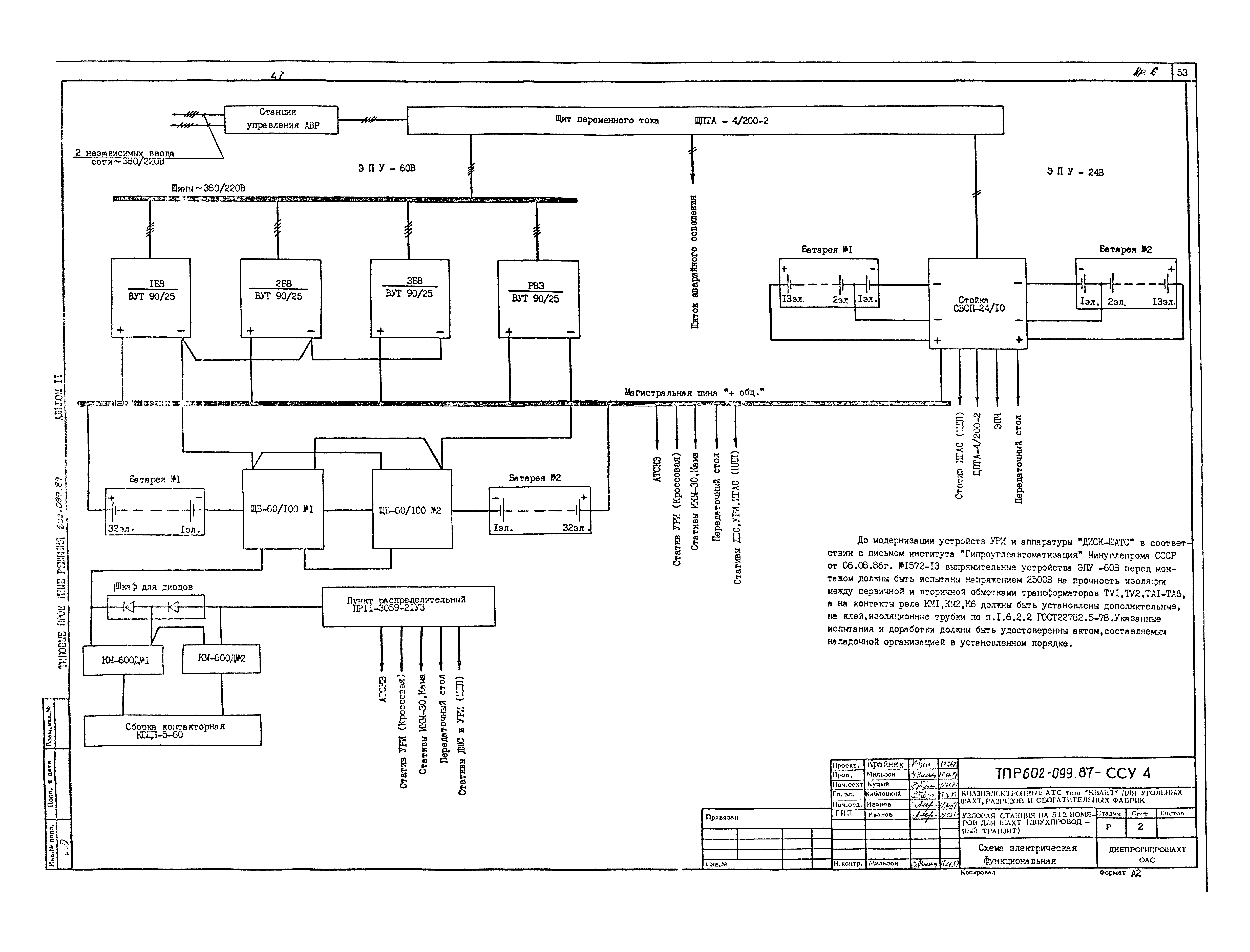
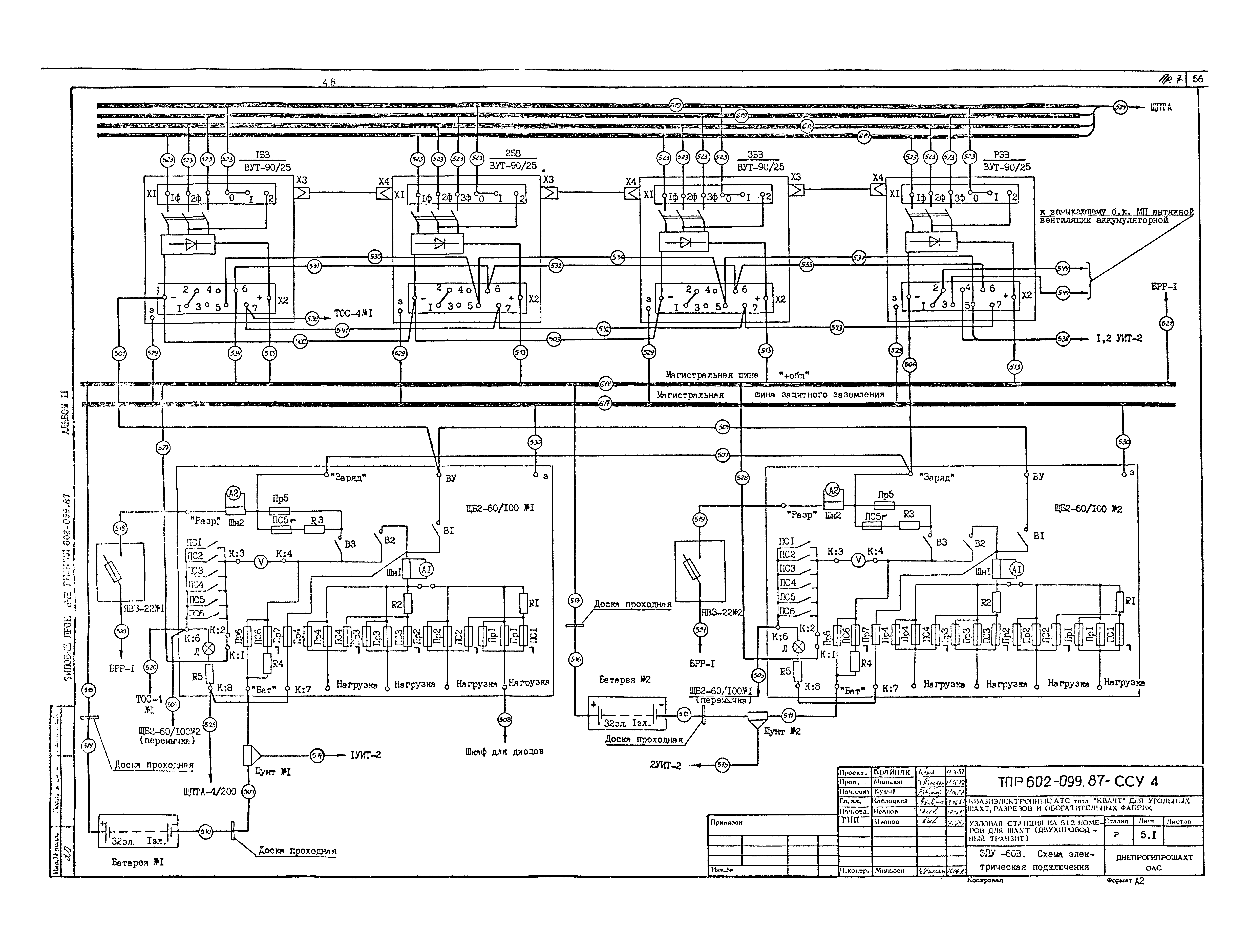
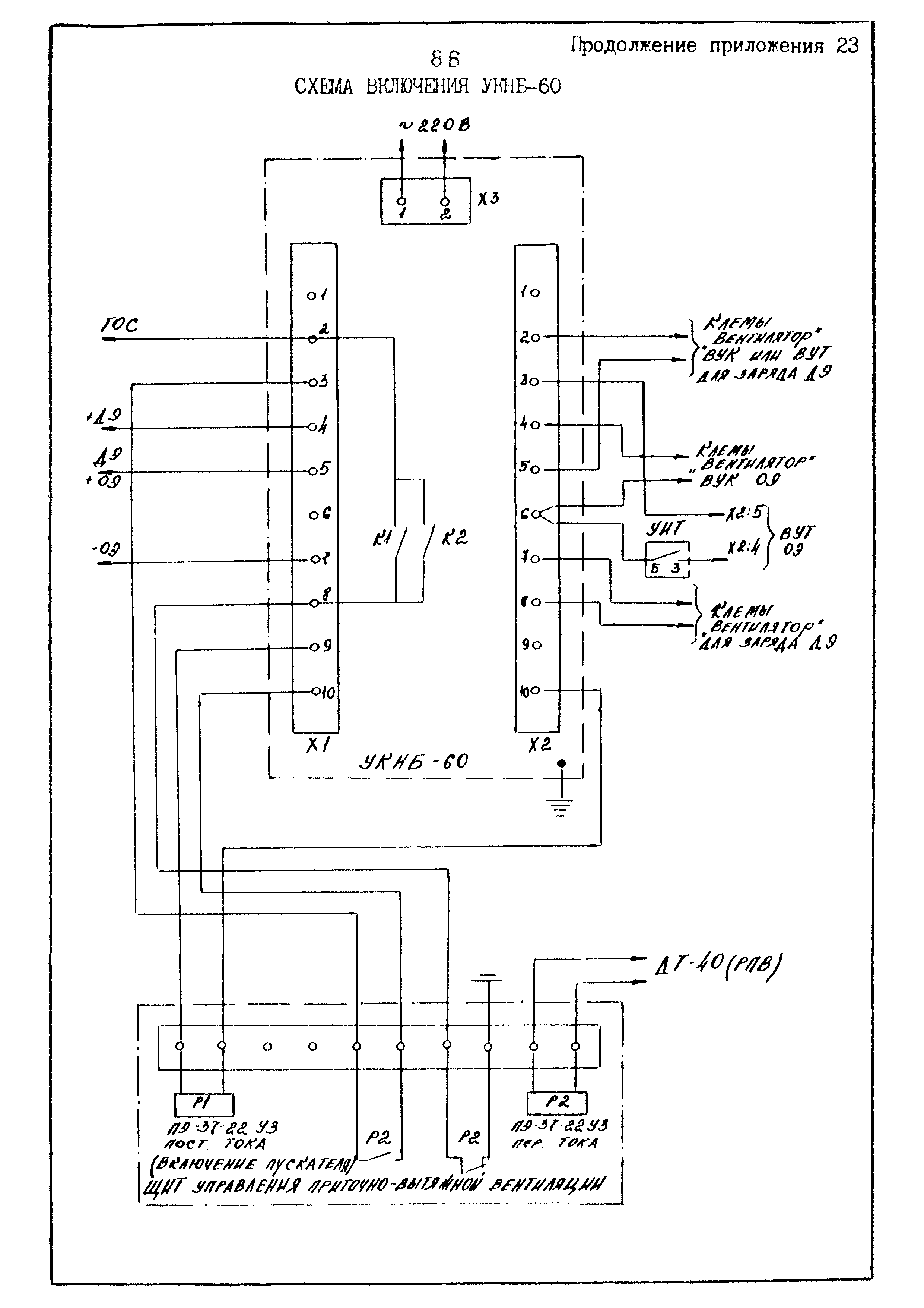
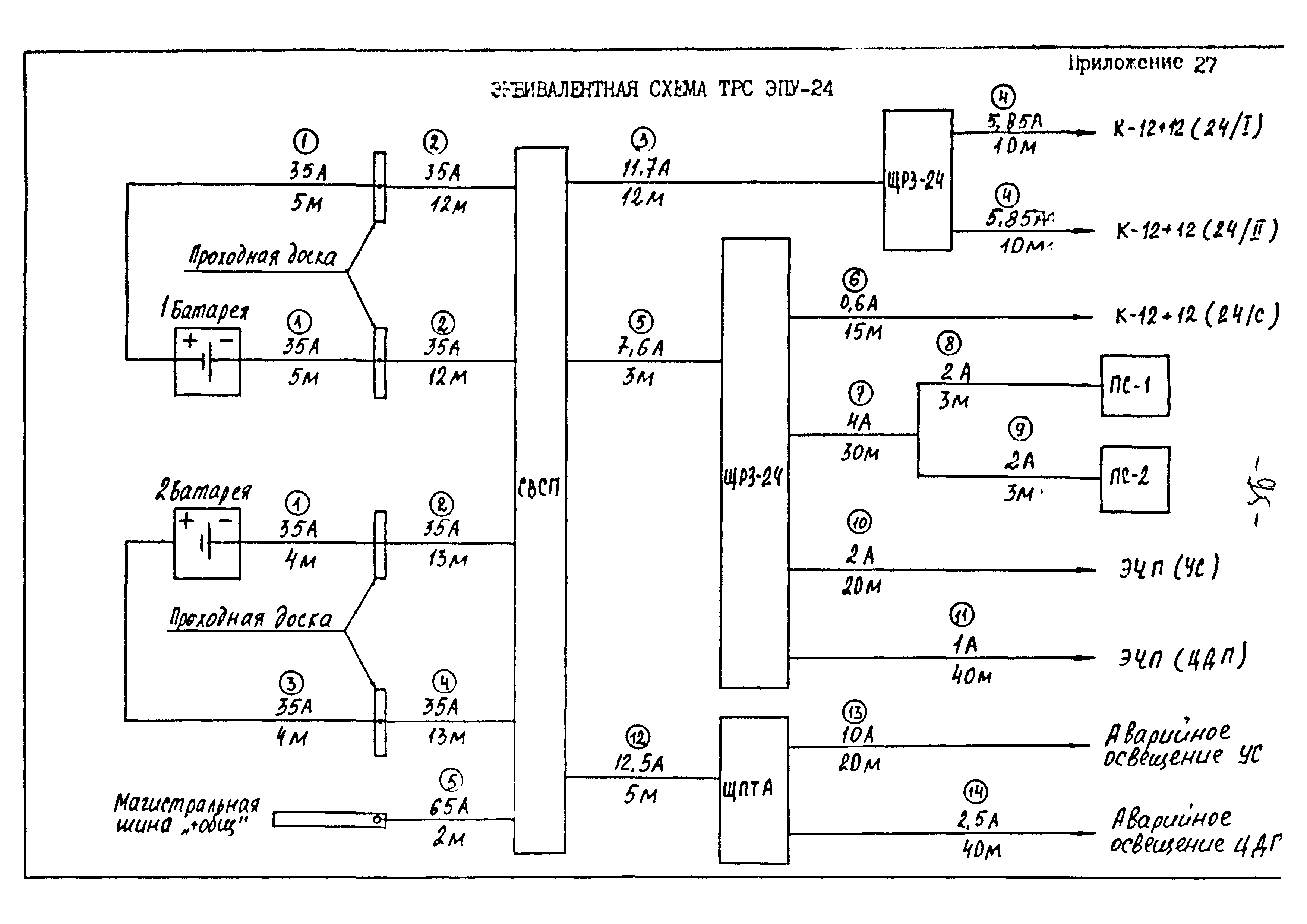
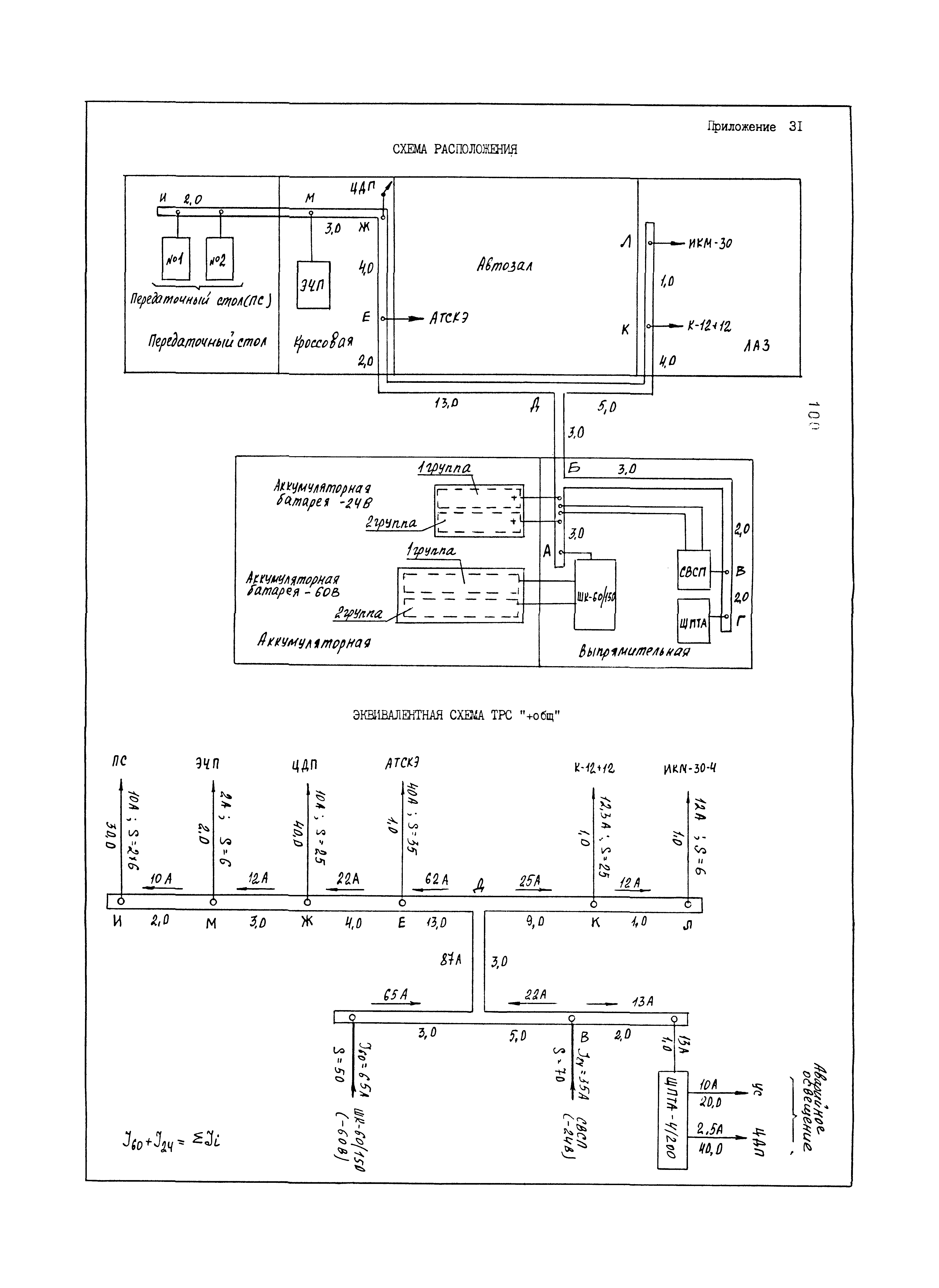
| Оглавление: | 1. Общие положения 2. Нормативные требования к ЭПУ 3. Технология проектирования 4. Выбор схемы построения и расчет ЭПУ 5. Проектирование токораспределительной сети (ТРС) 6. Требования к помещениям ЭПУ 6.1. Архитектурно-строительная часть 6.2. Требования к отоплению и вентиляции 6.3. Требования к водопроводу и канализации 6.4. Требования к электроснабжению и электроосвещению 7. Металлоконструкции 8. Заземляющие устройства 9. Пример расчета ЭПУ 9.1 Расчет ЭПУ 9.2. Расчет ТРС 10. Состав и содержание проектной документации Приложение 1 Перечень действующих нормативных документов, которым следует руководствоваться при проектировании ЭПУ Приложение 2 Функциональная схема автоматизированной ЭПУ-60В с несекционированной аккумуляторной батареей и конверторами Приложение 3 Схема подключения автоматизированной ЭПУ-60В с несекционированной аккумуляторной батареей и конверторами Приложение 4 Функциональная схема автоматизированной ЭПУ-60В с секционированной аккумуляторной батареей и шкафом коммутации ШК и неавтоматизированной ЭПУ-24 с несекционированной аккумуляторной батареей Приложение 5 Схема подключения автоматизированной ЭПУ-60В с секционированной аккумуляторной батареей и шкафом коммутации Приложение 6 Функциональная схема автоматизированных ЭПУ-60В с несекционированной аккумуляторной батареей и нелинейными сопротивлениями для регулирования напряжения на выходе ЭПУ-24 с секционированной аккумуляторной батареей, выпрямительными устройствами ВСП и коммутирующими устройствами Приложение 7 Схема подключения автоматизированной ЭПУ-60В с несекционированной аккумуляторной батареей и нелинейными сопротивлениями для регулирования напряжения на выходе ЭПУ Приложение 8 Функциональная схема неавтоматизированной ЭПУ-24В с секционированной аккумуляторной батареей, выпрямительными устройствами ВСП и коммутирующими устройствами Приложение 9 Схема подключение неавтоматизированной ЭПУ-24В с несекционированными аккумуляторными батареями Приложение 10 Технические данные конвекторов Приложение 11 Технические данные потребителей Приложение 12 Технические характеристики аккумуляторов типа СК ГОСТ 825-73 Приложение 13 Электрические характеристики аккумуляторов Приложение 14 Выпрямительные устройства Приложение 15 Технические данные шкафов управления с АВР Приложение 16 Техническая характеристика батарейных щитов щБ2 Приложение 17 Техническая характеристика щита переменного тока ЩПТА-4/200-2 Приложение 18 Техническая характеристика щитов ЩРЗ Приложение 19 Техническая характеристика стоек САРН Приложение 20 Техническая характеристика контактных сборок КСЩП Приложение 21 Блоки резисторов типа БРР Приложение 22 Устройства индикации тока УИТ Приложение 23 Техническая характеристика УКНБ Приложение 24 Техническая характеристика табло сигнализации ТОС-4 Приложение 25 Типовые чертежи шкафов для диодов Приложение 26 Эквивалентная схема ТРС ЭПУ-60 Приложение 27 Эквивалентная схема ТРС ЭПУ-24 Приложение 28 Таблица моментов тока для алюминиевой и медной проводки Приложение 29 Таблица моментов тока для алюминиевых шин Приложение 30 Схем расположения заземляющих устройств Приложение 31 Схема расположения и эквивалентная схема ТРС |
| Разработан: | Днепрогипрошахт |
| Утверждён: | Министерство угольной промышленности СССР (USSR Ministry of the Coal Industry ) |
| Нормативные ссылки: |
|


































































































