Скачать Руководство по организации и технологии строительства центральных обогатительных фабрикДата актуализации: 01.01.2021 |
| Статус: | справочные материалы, мп, тпр |
| Название рус.: | Руководство по организации и технологии строительства центральных обогатительных фабрик |
| Дата добавления в базу: | 01.01.2021 |
| Дата актуализации: | 01.01.2021 |
| Область применения: | Руководство предназначено для работников шахтостроительных, научно-исследовательских и проектных организаций угольной и горнорудной промышленности, а также может быть использовано для студентов высших и средних учебных заведений |
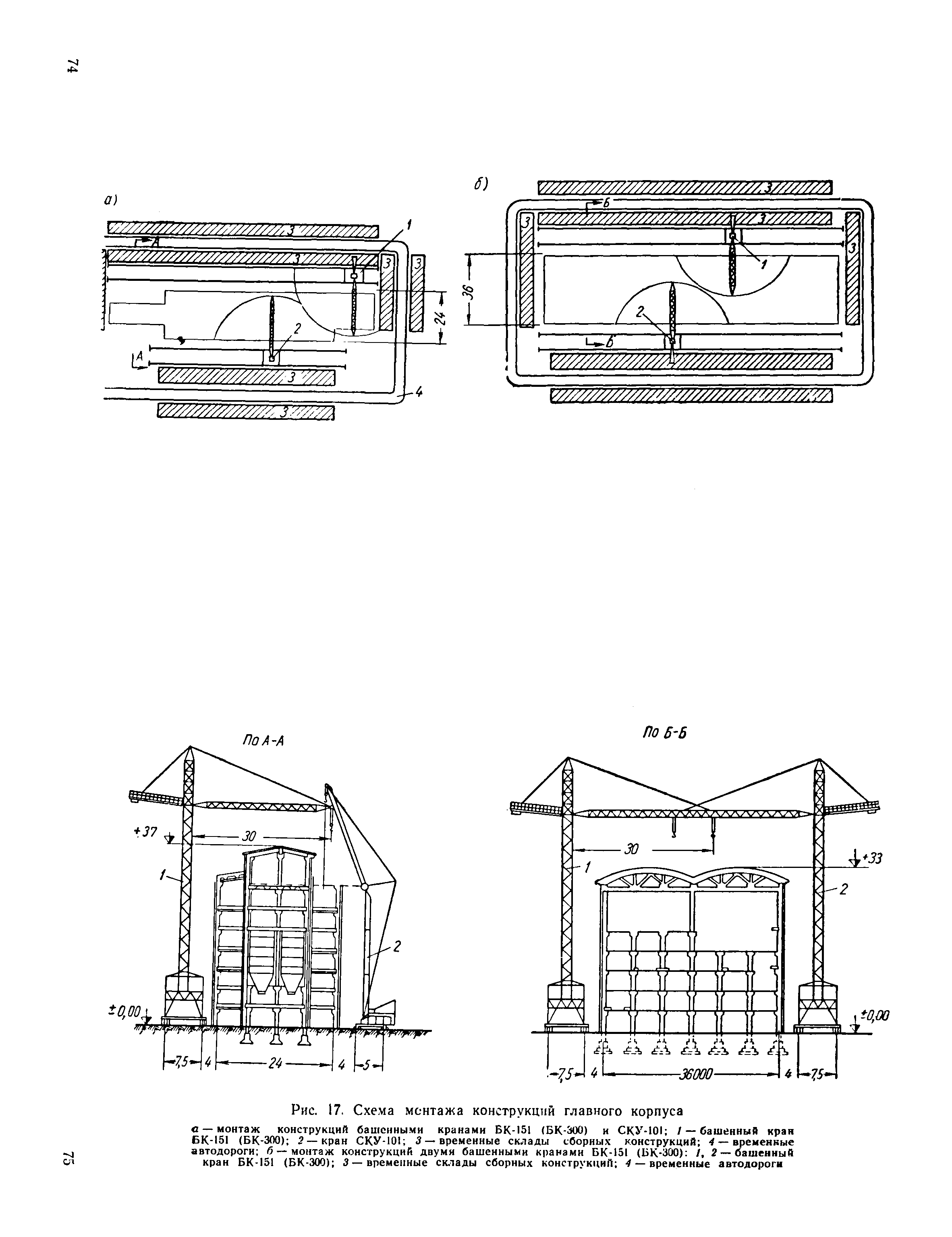
| Оглавление: | Раздел 1. Состав, объем и очередность работ Общие положения Подготовительный период Основной период Пусковой комплекс Очередность строительства Нормы продолжительности строительства ЦОФ и отдельных промышленных зданий и сооружений Строительный генеральный план промышленной площадки Раздел 2. Проектирование поточного строительства Раздел 3. Технология производства строительно-монтажных работ Водоотлив и искусственное понижение уровня грунтовых вод Земляные работы Бетонные и железобетонные работы Монтажные работы Раздел 4. Монтаж технологического оборудования |
| Разработан: | Донецкий Промстройниипроект |
| Утверждён: | Госстрой СССР |
| Нормативные ссылки: |
|






























































































