Скачать Инструкция по очистке фильтроэлементов и фильтропакетов в условиях эксплуатации и ремонта авиационной техники № 63 (в редакции 5)Дата актуализации: 01.01.2021
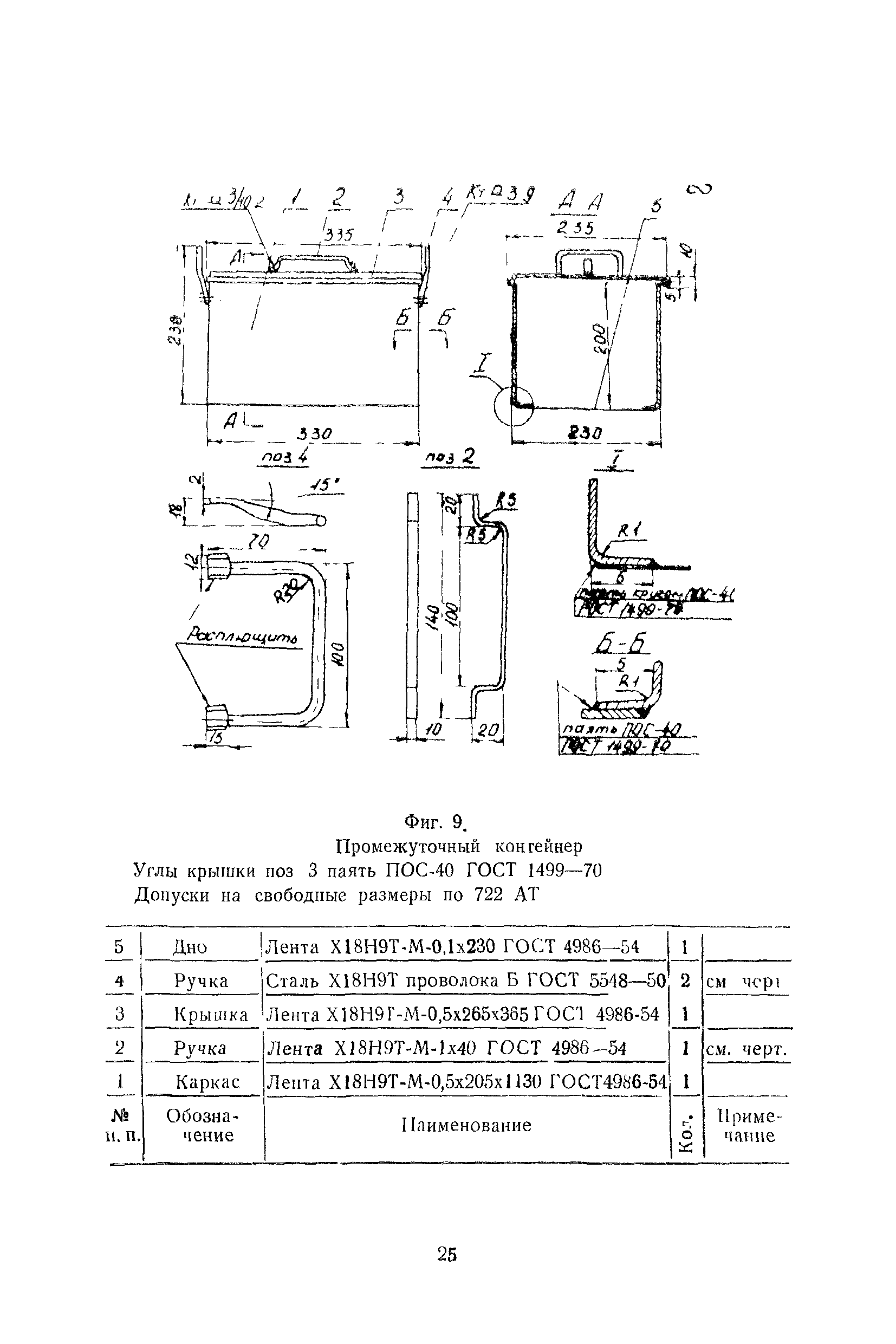
Инструкция по очистке фильтроэлементов и фильтропакетов в условиях эксплуатации и ремонта авиационной техники № 63 (в редакции 5)| Статус: | справочные материалы, мп, тпр | | Название рус.: | Инструкция по очистке фильтроэлементов и фильтропакетов в условиях эксплуатации и ремонта авиационной техники № 63 (в редакции 5) | | Дата добавления в базу: | 01.01.2021 | | Дата актуализации: | 01.01.2021 | | Область применения: | В инструкции изложены усовершенствованная технология очистки фильтроэлементов и фильтропакетов гидравлической, топливной и масляной систем ЛА, перечень рекомендуемого оборудования и современных технических моющих средств | | Оглавление: | Введение Общие положения 1 Характеристика загрязнений, образующихся на поверхности фильтроэлементов и фильтропакетов 1.1 Классификация загрязнений 1.2 Структура и состав загрязнений 2 Рекомендуемые технические моющие средства 3 Технологическое оборудование 3.1 Установки для ультразвуковой очистки 3.2 Установка для очистки фильтроэлементов и фильтропакетов методом реверсивной прокачки 4 Операции технологического процесса очистки фильтроэлементов и фильтропакетов 4.1 Описание технологических операций 4.2 Отмочка в горячем моющем растворе 4.3 Ультразвуковая очистка 4.4 Сушка фильтроэлементов и фильтропакетов 4.5 Проверка герметичности 4.6 Контроль качества очистки и консервация 5 Технологические рекомендации по приготовлению, контролю и корректированию водных растворов моющих средств 6 Технологические рекомендации по очистке и утилизации отработанных водных растворов моющих средств 6.1 Процесс ультрафильтрации 6.2 Ультрафильтрационные установки 6.3 Рекомендации по применению ультрафильтрационных установок 6.4 Перспективы применения ультрафильтрационных установок 7 Техника безопасности при очистке фильтроэлементов и фильтропакетов 7.1 Правила техники безопасности при работе с моющими средствами 7.2 Правила техники безопасности при работе на ультразвуковом оборудовании 8 Общие технические требования к участку очистки фильтроэлементов и фильтропакетов 9 Общие требования по противопожарной безопасности Литература Приложение 1. Журнал регистрации параметров состояния фильтрозлементов и фильтропакетов на участке очистки Приложение 2. Рекомендации по транспортировке и хранению фильтров Приложение 3. Перечень рекомендованных моющих средств, спецжидкостей и химикатов, применяемых при очистке Приложение 4. Перечень основного и вспомогательного оборудования, применяемого для очистки фильтроэлементов и фильтропакетов Приложение 5. Коэффициент увеличения герметичности для рабочих жидкостей Приложение 6. Зависимость времени заполнения внутреннего объема чистых ФЭ от температуры рабочей жидкости, изготовленных из сеток Приложение 7. Перечень типовых фильтроэлементов и фильтропакетов, применяющихся в гидравлической, топливной и масляной системах авиационной техники Приложение 8. Технология ремонта топливных и гидравлических фильтров, изготовленных из сеток | | Утверждён: | 20.12.1991 Министерство гражданской авиации СССР (USSR Ministry of Civil Aviation 423/У)
| | Издан: | Издательство Воздушный транспорт (1992 г. )
| | Заменяет собой: | |
                                                                                                        
|