Скачать Инструкция № 63 по ультразвуковой очистке фильтроэлементов и фильтропакетов ( редакция 4)Дата актуализации: 01.01.2021 |
| Статус: | заменен |
| Название рус.: | Инструкция № 63 по ультразвуковой очистке фильтроэлементов и фильтропакетов ( редакция 4) |
| Дата добавления в базу: | 01.01.2021 |
| Дата актуализации: | 01.01.2021 |
| Область применения: | Инструкция № 63 (4-я редакция) предназначена для руководства при ультразвуковой очистке фильтроэлементов и фильтропакетов |
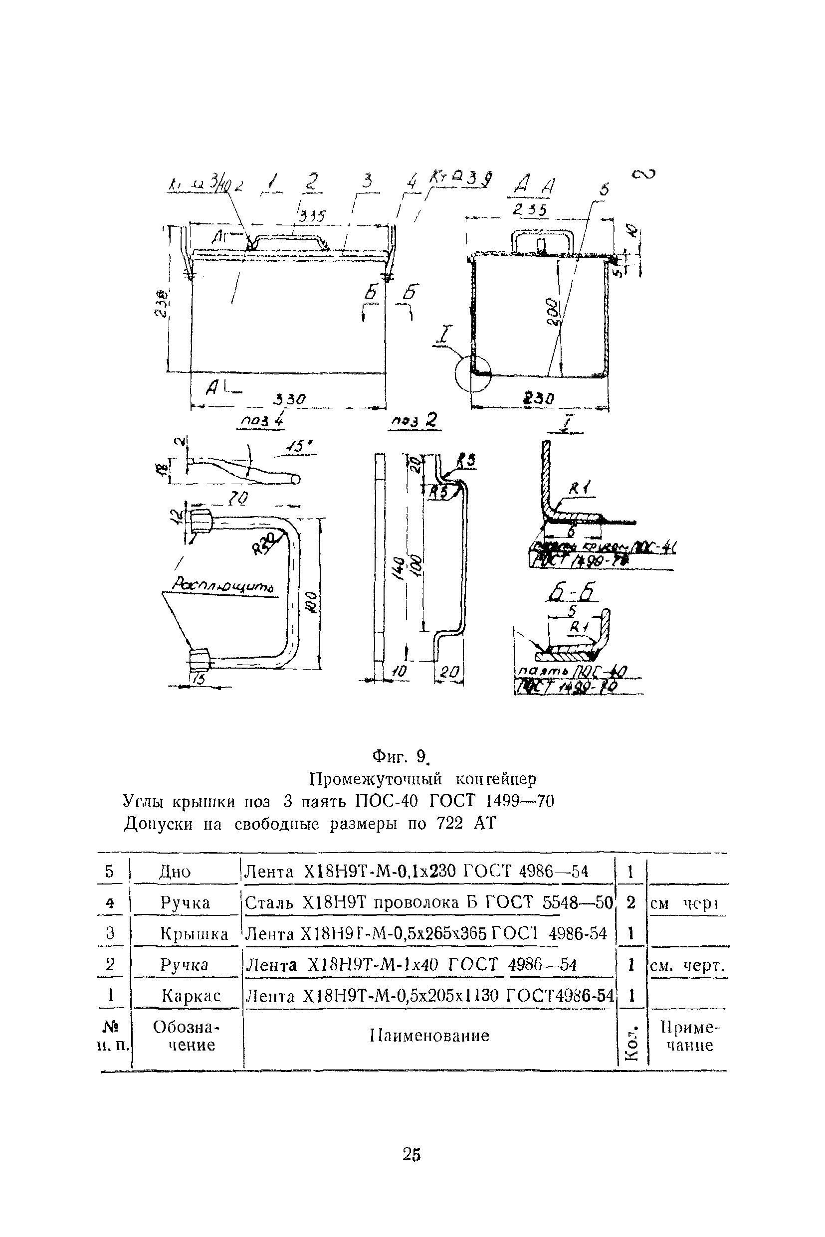
| Оглавление: | Глава 1. Общие сведения Глава 2. Технологическое оборудование. Перечень и технические данные Глава 3. Размещение и монтаж оборудования Глава 4. Расположение фильтроэлементов в ультразвуковои ванне Глава 5. Материалы для ультразвуковой очистки Глава 6. Подготовка оборудования и фильтроэлементов к ультразвуковой очистке Глава 7. Технология ультразвуковой очистки сетчатых фильтроэлементов Глава 8. Технология ультразвуковой очистки фильтропакетов из материала Х18Н15-ПМ на ультразвуковых установках стационарного типа Глава 9. Текущее обслуживание технологического оборудования участка ультразвуковой очистки Глава 10. Проверка качества ультразвуковой очистки фильтроэлементов при помощи прибора ПКФ Глава 11. Проверка герметичности фильтрующих элементов и фильтропакетов топливных, гидравлических и воздушных фильтров Глава 12. Техника безопасности при ультразвуковои очистке Глава 13. Требования по противопожарной безопасности Приложение 1. Зависимость времени заполнения по прибору ПКФ от температуры рабочей жидкости Приложение 2. Зависимость времени заполнения по прибору ПКФ от температуры рабочей жидкости для чистых пятимикромных фильтропакетов из материала Х18Н15 ПМ |
| Утверждён: | Министерство гражданской авиации СССР (USSR Ministry of Civil Aviation ) |
| Заменяет собой: |
|
| Нормативные ссылки: |
|









































