Скачать РД 39-3-221-79 Инструкция по защите от коррозии нефтепромыслового оборудования при помощи ингибиторов типов И-А, И-ДДата актуализации: 01.01.2021
|
| Обозначение: | РД 39-3-221-79 |
| Обозначение англ: | RD 39-3-221-79 |
| Статус: | введен впервые |
| Название рус.: | Инструкция по защите от коррозии нефтепромыслового оборудования при помощи ингибиторов типов И-А, И-Д |
| Дата добавления в базу: | 01.01.2021 |
| Дата актуализации: | 01.01.2021 |
| Дата введения: | 01.12.1979 |
| Область применения: | В инструкции содержится технология применения ингибиторов для защиты от коррозии нефтепромыслового оборудования, разработанная на основании лабораторных исследований, опытно—промышленных испытаний и результатов промышленного использования ингибиторов коррозии |
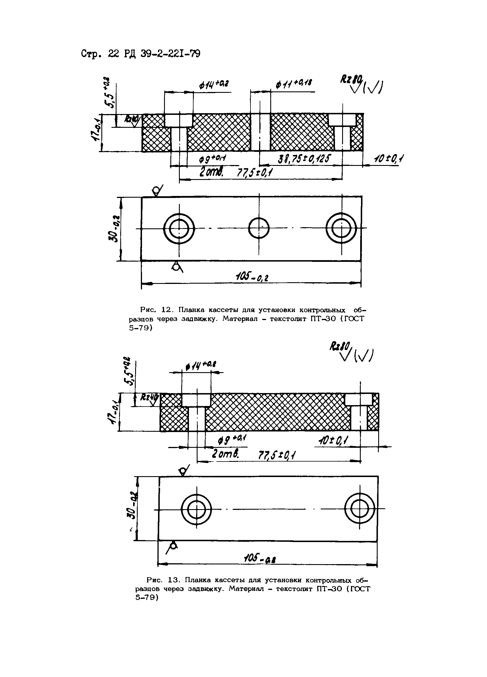
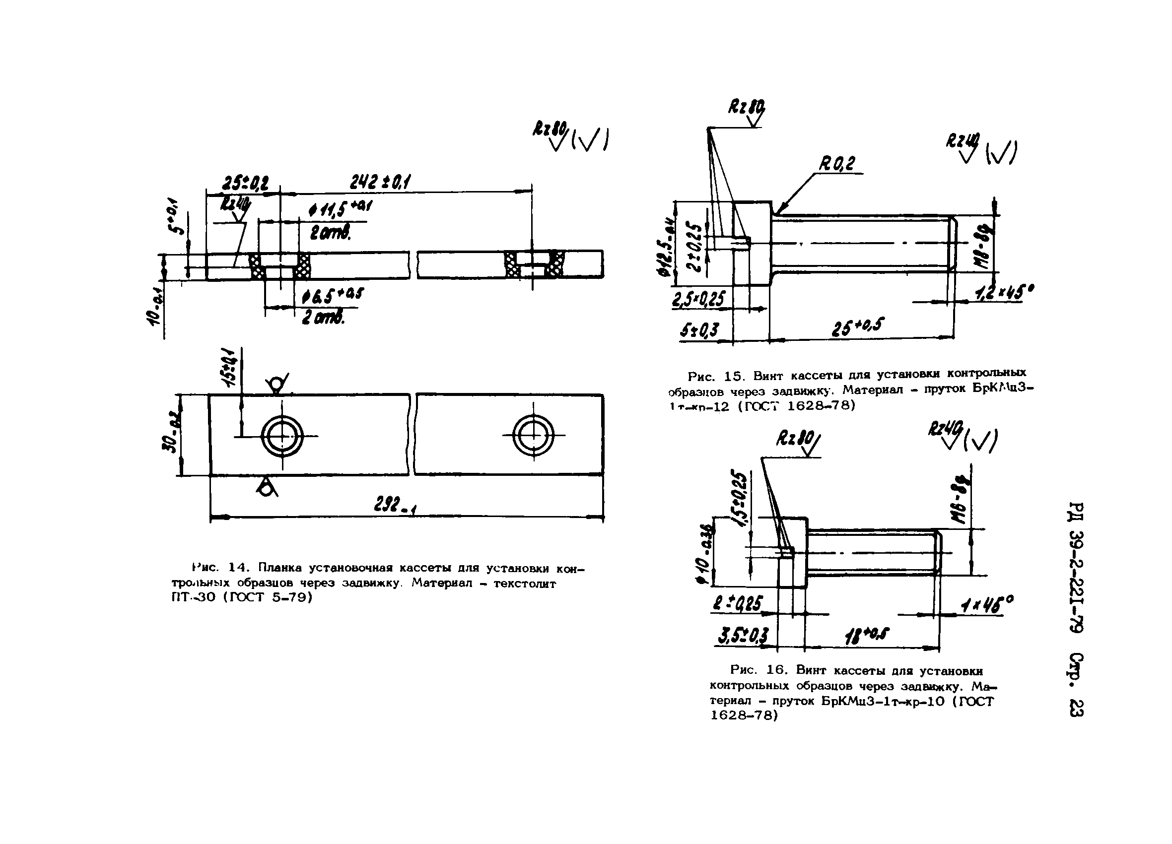
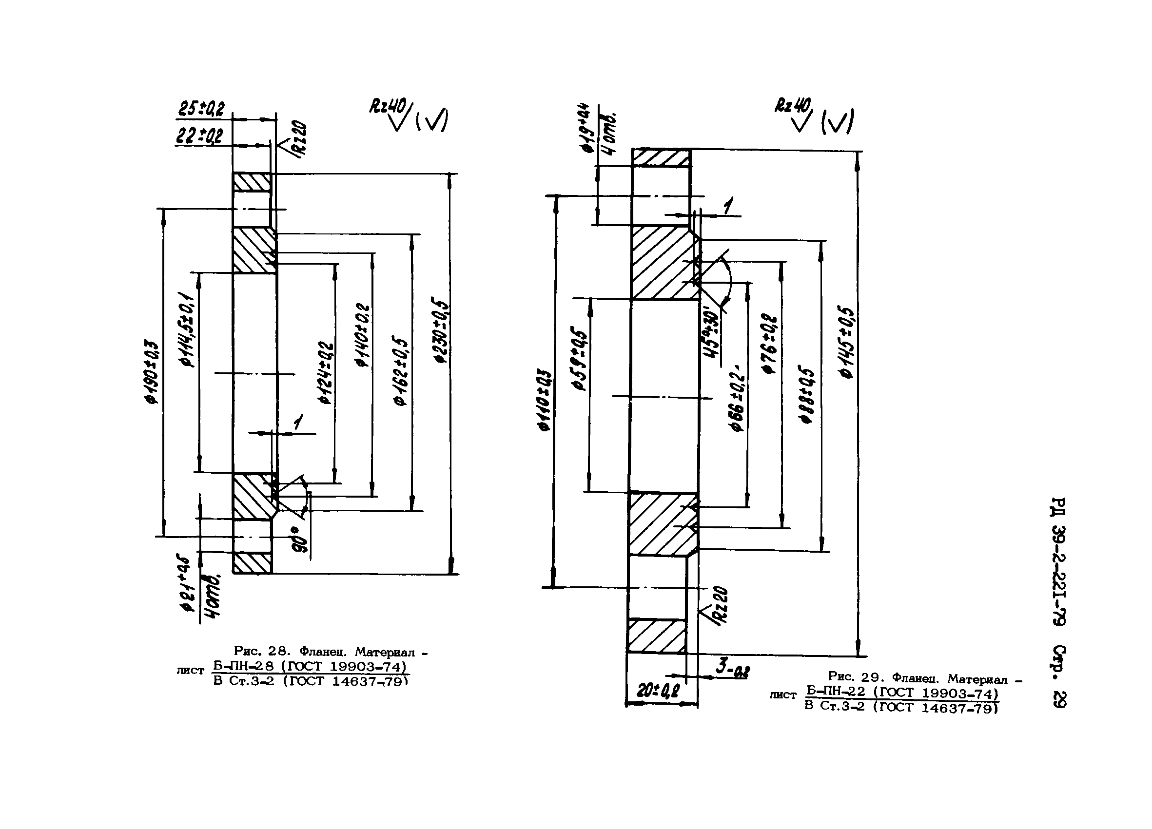
| Оглавление: | 1 Общие положения 2 Подготовка коррозионных образцов—свидетелей к промысловым испытаниям 3 Конструкции байпасов, катушек и кассет для коррозионных испытаний 4 Установка для закачки ингибиторов 5 Технология для закачки ингибиторов Наземные коммуникации Глубинное оборудование Приложение 1. Схемы и конструкции оборудования для закачки ингибиторов Приложение 2. Временная инструкция по технике безопасности при работе с ингибиторами коррозии И-I-А, И-2-А, И-I-В, И-I-Е, И-4-Д и других на основе высших пиридиновых оснований Приложение 3. Журнал учета закачек ингибиторов коррозии в НГДУ |
| Разработан: | ВНИИТнефть НИИМСК |
| Утверждён: | 31.07.1979 Министерство нефтяной промышленности |
| Принят: | ВНИИСПТнефть (VNIISPTneft ) НИИМСК Объединение Куйбышевнефть |
| Издан: | ВНИИОЭНГ (1982 г. ) |
| Нормативные ссылки: |
|














































