Скачать ГОСТ Р 54400-2020 Дороги автомобильные общего пользования. Смеси литые асфальтобетонные дорожные горячие и асфальтобетон литой дорожный. Методы испытаний

Дата актуализации: 01.01.2021

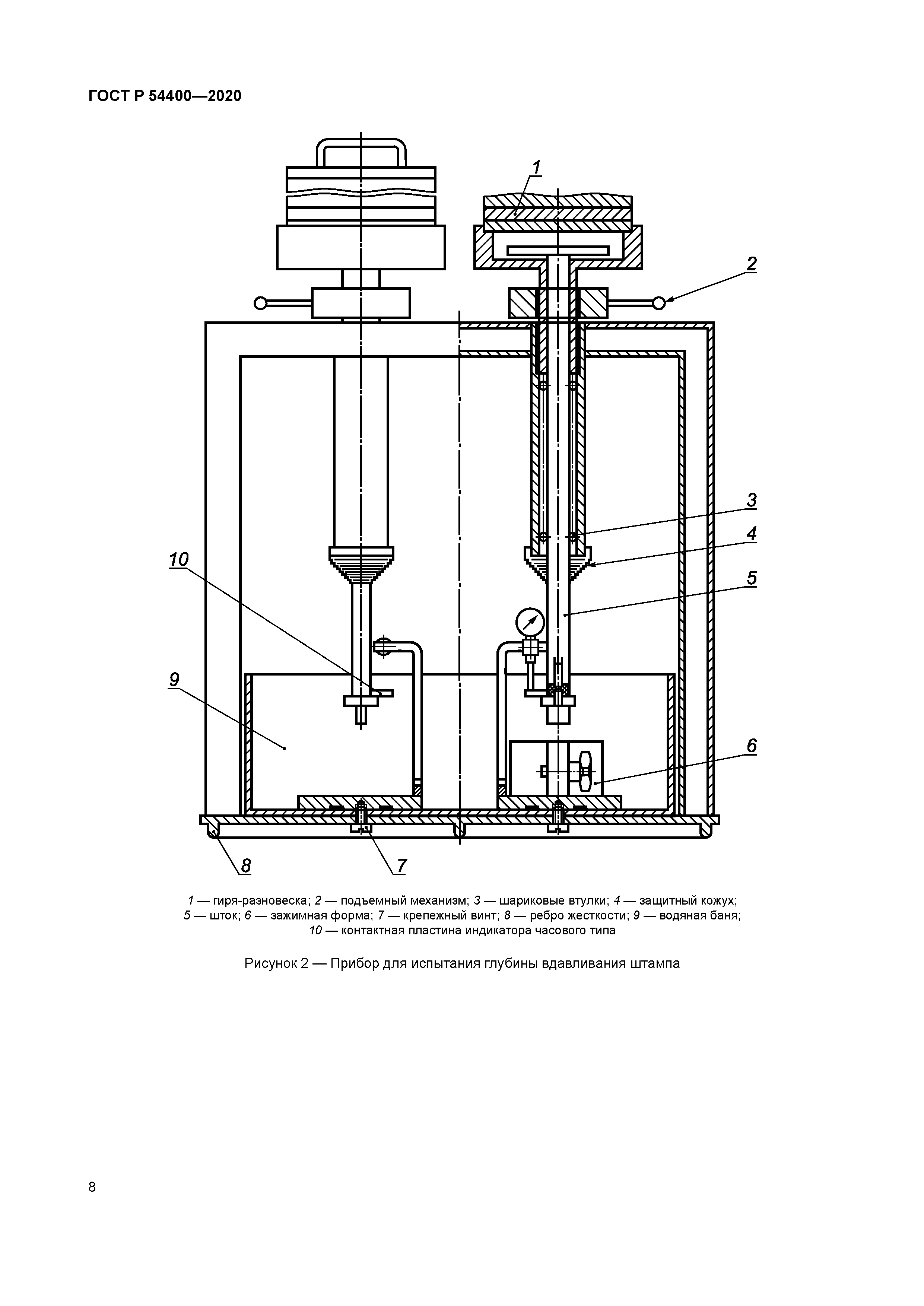
ГОСТ Р 54400-2020

Дороги автомобильные общего пользования. Смеси литые асфальтобетонные дорожные горячие и асфальтобетон литой дорожный. Методы испытаний

Обозначение: ГОСТ Р 54400-2020
Обозначение англ: GOST R 54400-2020
Статус:взамен
Название рус.:Дороги автомобильные общего пользования. Смеси литые асфальтобетонные дорожные горячие и асфальтобетон литой дорожный. Методы испытаний
Название англ.:Automobile roads of general use. Hot mastic asphalt mixtures and mastic asphalt concrete for road pavement. Test methods
Дата добавления в базу:01.01.2021
Дата актуализации:01.01.2021
Дата введения:01.06.2020
Область применения:Стандарт распространяется на смеси литые асфальтобетонные дорожные горячие (далее - смеси литые) и на асфальтобетон литой дорожный (далее - асфальтобетон литой), применяемые для устройства покрытий автомобильных дорог общего пользования, мостовых сооружений, тоннелей, а также для производства ямочного ремонта, и устанавливает методы испытаний смесей литых и асфальтобетона литого.
Оглавление:1 Область применения
2 Нормативные ссылки
3 Термины и применения
4 Требования к средствам измерений, вспомогательным устройствам и материалы
5 Требования безопасности и охраны окружающей среды
6 Требования к условиям испытаний
7 Отбор проб
8 Приготовление литой асфальтобетонной смеси в лабораторных условиях
9 Контрольные образцы смеси литой и асфальтобетона
10 Изготовление образцов
11 Методы испытаний
12 Оформление результатов испытаний
13 Контроль точности результата испытания
Разработан: ООО ИТЦ
Утверждён:27.03.2020 Росстандарт (155-ст)
Список изменений:
Заменяет собой:
Нормативные ссылки:
ГОСТ Р 54400-2020ГОСТ Р 54400-2020ГОСТ Р 54400-2020ГОСТ Р 54400-2020ГОСТ Р 54400-2020ГОСТ Р 54400-2020ГОСТ Р 54400-2020ГОСТ Р 54400-2020ГОСТ Р 54400-2020ГОСТ Р 54400-2020ГОСТ Р 54400-2020ГОСТ Р 54400-2020ГОСТ Р 54400-2020ГОСТ Р 54400-2020ГОСТ Р 54400-2020ГОСТ Р 54400-2020