Скачать ГОСТ Р 58890-2020 Формы стальные для изготовления железобетонных изделий. Проемообразователи и вкладыши. КонструкцияДата актуализации: 01.01.2021
|
| Обозначение: | ГОСТ Р 58890-2020 |
| Обозначение англ: | GOST R 58890-2020 |
| Статус: | введен впервые |
| Название рус.: | Формы стальные для изготовления железобетонных изделий. Проемообразователи и вкладыши. Конструкция |
| Название англ.: | Steel moulds for precasting reinforced concrete products. Opening formers and inserts. Design |
| Дата добавления в базу: | 01.01.2021 |
| Дата актуализации: | 01.01.2021 |
| Дата введения: | 01.09.2020 |
| Область применения: | Стандарт распространяется на сварные проемообразователи и вкладыши стальных форм для изготовления железобетонных изделий по ГОСТ 25781 и элементы их крепления к форме и устанавливает требования к конструкции основных стандартизируемых сборочных единиц и деталей. Стандарт не распространяется на проемообразователи и вкладыши, изготовляемые из стальных, чугунных и алюминиевых отливок и полимерных материалов, а также на устройства, образующие в изделии каналы для электропроводки, и элементы архитектурного назначения. |
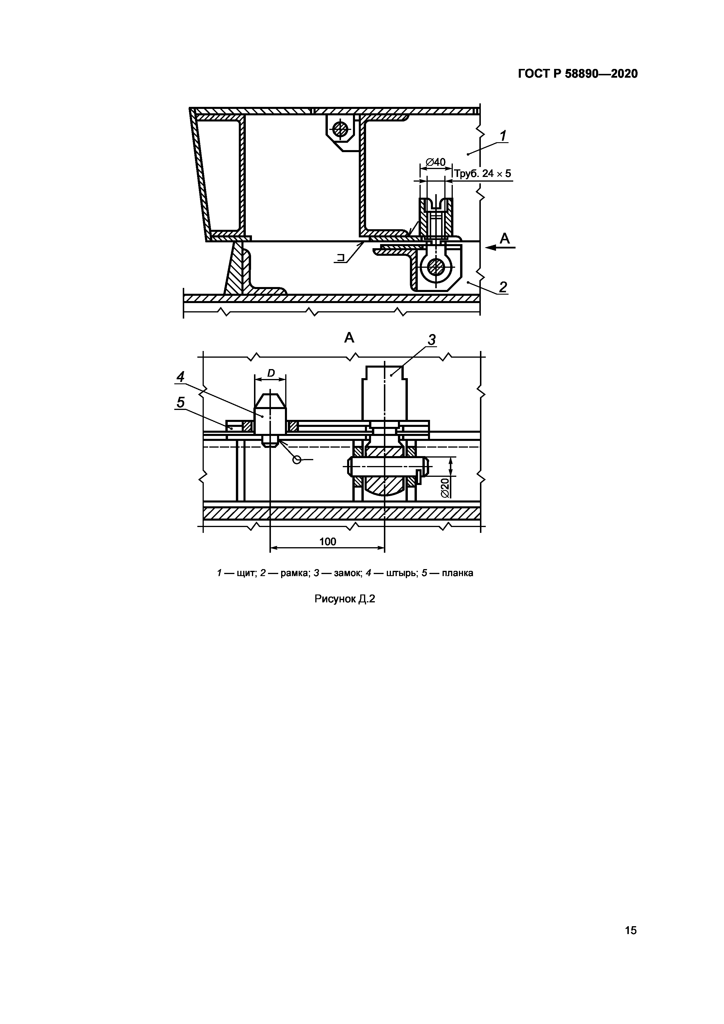
| Оглавление: | 1 Область применения 2 Нормативные ссылки 3 Термины и определения 4 Технические требования Приложение А (справочное) Примеры конструкций проемообразователей и вкладышей Приложение Б (справочное) Конструкция каркаса проемообразователей и вкладышей Приложение В (справочное) Установка стационарных проемообразователей и вкладышей в форме Приложение Г (справочное) Установка съемных проемообразователей и вкладышей в форме Приложение Д (справочное) Установка щита проемообразователя |
| Разработан: | НИИЖБ им. А.А. Гвоздева АО НИЦ Строительство |
| Утверждён: | 23.06.2020 Федеральное агентство по техническому регулированию и метрологии (286-ст) |
| Издан: | Стандартинформ (2020 г. ) |
| Нормативные ссылки: |
|


















