Скачать ГОСТ Р 58891-2020 Элементы профильные для фасадных теплоизоляционных композиционных систем с наружными штукатурными слоями. Технические условияДата актуализации: 01.01.2021
|
| Обозначение: | ГОСТ Р 58891-2020 |
| Обозначение англ: | GOST R 58891-2020 |
| Статус: | введен впервые |
| Название рус.: | Элементы профильные для фасадных теплоизоляционных композиционных систем с наружными штукатурными слоями. Технические условия |
| Название англ.: | Reinforcing and shape ending elements for facade's thermal insulation composite systems with external mortar layers. Specifications |
| Дата добавления в базу: | 01.01.2021 |
| Дата актуализации: | 01.01.2021 |
| Дата введения: | 01.09.2020 |
| Область применения: | Стандарт распространяется на профильные элементы (профили), выпускаемые промышленным способом, применяемые в качестве элементов усиления в составе фасадных теплоизоляционных композиционных систем с наружными штукатурными слоями (СФТК) и примыкания к изделиям и конструкциям в местах завершения СФТК при строительстве, реконструкции, ремонте зданий и сооружений. Стандарт устанавливает технические требования, методы контроля, правила приемки профильных элементов, готовых к монтажу. |
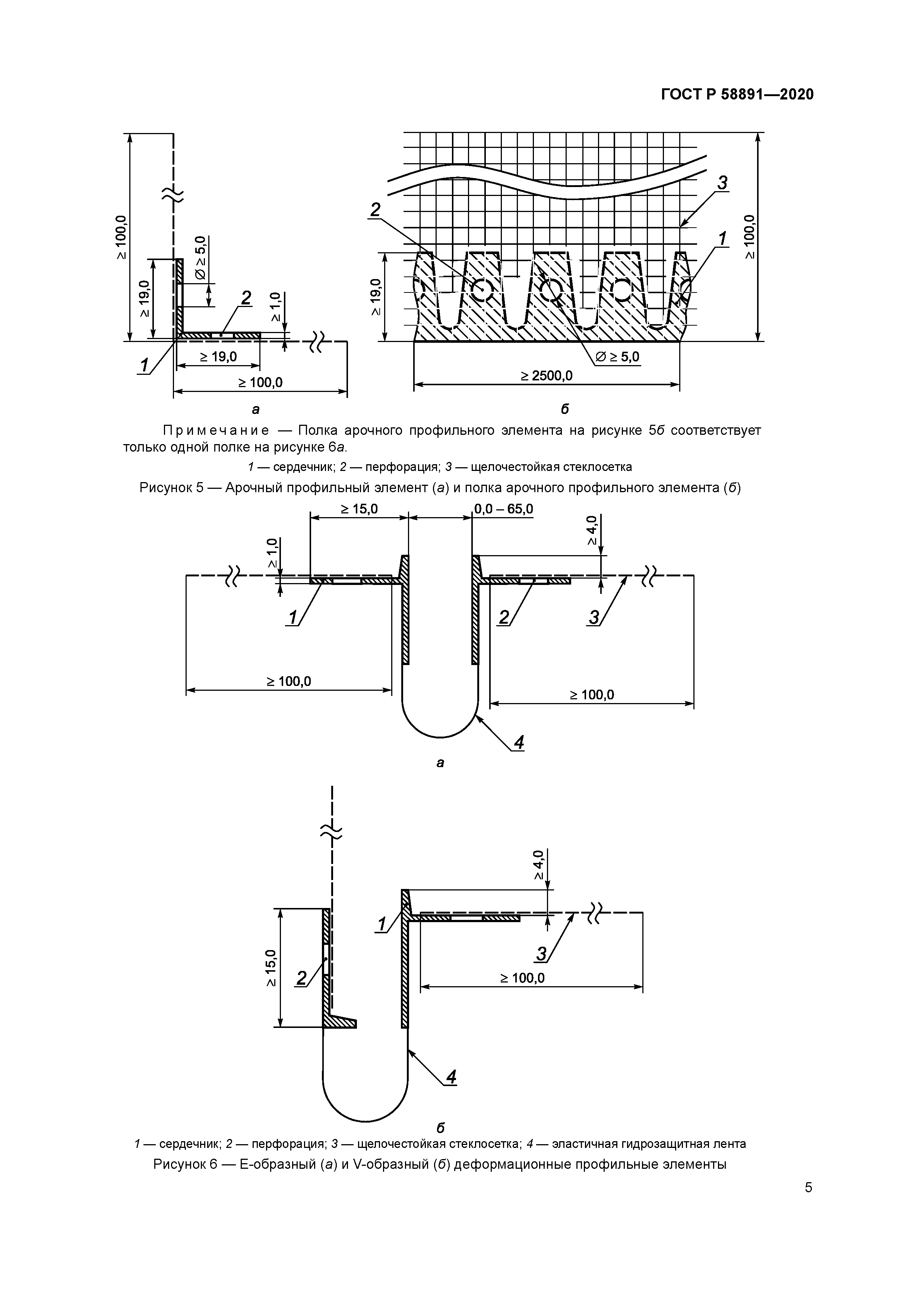
| Оглавление: | 1 Область применения 2 Нормативные ссылки 3 Термины и определения 4 Классификация и поперечные сечения профильных элементов 5 Общие технические требования 6 Требования безопасности 7 Правила приемки 8 Методы испытаний 9 Транспортирование и хранение 10 Указания по монтажу и эксплуатации 11 Гарантии изготовителя Библиография |
| Разработан: | Ассоциация АНФАС ООО НИЦ Строительных технологий и материалов |
| Утверждён: | 23.06.2020 Федеральное агентство по техническому регулированию и метрологии (287-ст) |
| Издан: | Стандартинформ (2020 г. ) |
| Нормативные ссылки: |
|














