Скачать ГОСТ Р 58878-2020 Системы сточные судовые. Правила проектированияДата актуализации: 01.01.2021
|
| Обозначение: | ГОСТ Р 58878-2020 |
| Обозначение англ: | GOST R 58878-2020 |
| Статус: | введен впервые |
| Название рус.: | Системы сточные судовые. Правила проектирования |
| Название англ.: | Ship sewage systems. Design rules |
| Дата добавления в базу: | 01.01.2021 |
| Дата актуализации: | 01.01.2021 |
| Дата введения: | 01.11.2020 |
| Область применения: | Стандарт распространяется на сточные системы морских судов, судов внутреннего и смешанного (река — море) плавания и морских/речных сооружений. Стандарт устанавливает правила проектирования сточных судовых систем, предназначенных для удаления сточных и хозяйственно-бытовых вод из судовых помещений, а также загрязненных вод с открытых палуб, из грузовых трюмов и плавательных бассейнов. |
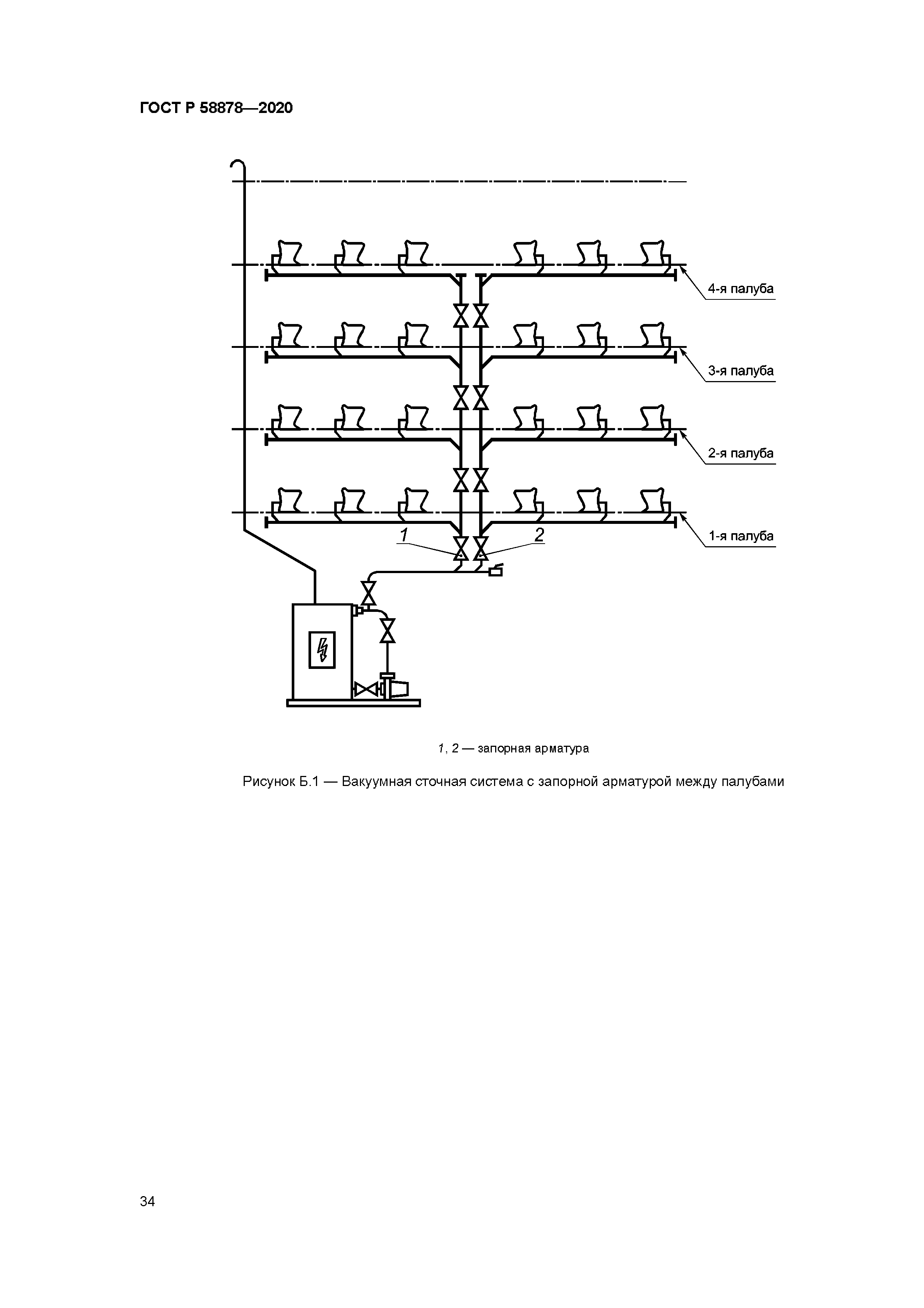
| Оглавление: | 1 Область применения 2 Нормативные ссылки 3 Термины и определения 4 Общие правила проектирования 4.1 Удаляемая загрязненная вода 4.2 Количество сточных и хозяйственно-бытовых вод 4.3 Шум и запах 4.4 Гигиенические требования 4.5 Материалы и защита от коррозии 4.6Требованияктермостойкости 4.7 Требования к изготовлению труб 4.8 Прокладка трубопроводов 4.9 Отличительные и предупреждающие знаки 4.10 дополнительные требования, относящиеся к пассажирским и другим судам, в символе класса которых предусмотрен знак деления на отсеки 4.11 Сборная, промежуточная и шламовая цистерны 4.12 Установка для обработки сточных вод 4.13 Воздушные трубы 4.14 Требования к трубопроводам для удаления сточных вод и к расположению бортовых выпускных отверстий 4.15 Условные графические обозначения в схемах сточных систем 5 Гравитационная сточная система 5.1 Общие требования 5.2 Определение номинальных диаметров трубопроводов 5.3 Трубы 6 Вакуумная сточная система 6.1 Описание работы вакуумной сточной системы 6.2 Рабочее давление в вакуумной сточной системе 6.3 Сточное оборудование 6.4 Трубы 6.5 Прокладка трубопроводов 6.6 Номинальные диаметры трубопроводов 6.7 Вакуумные сточные системы с несколькими вакуумными унитазами и вакуумными клапанами 6.8 Главный коллектор 6.9 Вакуумная установка 6.10 Указания по очистке трубопроводов вакуумной сточной системы 6.11 Методы испытаний вакуумной сточной системы 7 Отливные трубопроводы 7.1 Отливные трубопроводы загрязненных вод 7.2 Откачка из оборудования для хранения загрязненных вод 7.3 Байпасный трубопровод 7.4 Слив из закрытых помещений непосредственно за борт 7.5 Отливные отверстия 7.6 Трубы отливных трубопроводов 8 Осушение палуб, грузовых помещений и плавательных бассейнов 8.1 Осушение открытых палуб, проницаемых помещений и рубок 8.2 Осушение грузовых трюмов, расположенных на палубах переборок пассажирских судов, а также на палубах надводного борта и палубах для колесной техники грузовых судов 8.3 Осушение плавательных бассейнов 8.4 Отверстия сливных трубопроводов в обшивке судна Приложение А (справочное) Условные графические обозначения в схемах Приложение Б (справочное) Пример указаний по очистке трубопроводов для включения в техническое описание и инструкцию по эксплуатации вакуумной сточной системы Приложение В (рекомендуемое) Методы испытаний вакуумной сточной системы Приложение Г (справочное) Скорость водоотлива Библиография |
| Разработан: | НИИ Лот ФГУП Крыловский государственный научный центр |
| Утверждён: | 25.06.2020 Федеральное агентство по техническому регулированию и метрологии (298-ст) |
| Издан: | Стандартинформ (2020 г. ) |
| Нормативные ссылки: |
|













































