Система нормативных документов в строительстве
ПРОЕКТИРОВАНИЕ И СТРОИТЕЛЬСТВО ГАЗОПРОВОДОВ ИЗ ПОЛИЭТИЛЕНОВЫХ ТРУБ ДИАМЕТРОМ до 300 мм
СП 42-101-96
|
Российская
инжиниринговая АО "ВНИИСТ" |
АО "ГипроНИИГАЗ" |
ПРИКАЗ
"14" мая 1996г. "4" июля 1996г.
№_____43___ №_____966-2___
г. Москва г. Саратов
Утвердить и ввести в действие с 1 августа 1996г. Свод правил "Проектирование и строительство газопроводов из полиэтиленовых труб диаметром до 300 мм", согласованный Госгортехнадзором России (письмо № I4-04/204 от 09.10.95г.) и Главгосэкспертизой России (письмо № 24-2-1/5-130-П от 04.03.96г.) и одобренный Минстроем России (письмо № 13/213 от 09.04.96г.).

Система нормативных документов в строительстве
ПРОЕКТИРОВАНИЕ И СТРОИТЕЛЬСТВО ГАЗОПРОВОДОВ ИЗ ПОЛИЭТИЛЕНОВЫХ ТРУБ ДИАМЕТРОМ до 300 мм
1. Разработаны АО "ВНИИОТ" и АО "ГипроНИИгаз" АО "Росгазификация".
2. Согласованы:
Госгортехнадзором России, письмо № 14-04/204 от 09.10.96г.
Главгосэкспертизой России, письмо № 24-2-1-5-I30-II от 04.03.96г.
АО "Росгазификация", письмо № 17-181 от 06.03.96г.
РАО "Роснефтегазстрой", письмо № 06-3-5/6 от 09.02.96г.
3. Одобрены Минстроем России, письмо № 13/213 от 09.04.96г.
4. Приняты приказом № 43 от 14 мая 1996г. (АО "ВНИИСТ") и приказом № 966-2 от 4 июля 1996г. (АО "ГипроНИИгаз).
Свод правил разработали специалисты:
АО "ВНИИСТ": Аникин Е.А., Виндт В.Ф., Габелая Р.Д., Зайцев К.И., Рождественский В.В., ЧернийВ.П.;
АО "ГипроНИИгаз": Голик В.Г., Каргин В.В., Кайгородов Г.К., Ставская Т.В.
При использовании Свода правил следует учитывать изменения строительных норм и правил, государственных стандартов, утвержденных в установленном порядке.
СОДЕРЖАНИЕ
Свод правил (СП) "Проектирование и строительство газопроводов из полиэтиленовых труб диаметром до 300 мм" устанавливает рекомендуемые положения в соответствии со СНиП 10-01-94, содержит извлечения из СНиП 2.04.08-87 и СНиП 3.05.02-88*, а также из других нормативных документов, относящиеся к вопросам проектирования и строительства полиэтиленовых газопроводов.
Основным назначением СП является внедрение в практику проектирования и строительства современных технических решений, связанных с выбором труб и соединительных деталей, устройством разъемных и неразъемных соединений полиэтиленовых и стальных труб, монтажом запорной арматуры, особенностями реконструкции (восстановления) подземных стальных изношенных газопроводов методом протяжки в них полиэтиленовых труб и др.
При возникновении вопросов по трактовке положений настоящего СП или СНиП, разъяснения по ним должны даваться организациями-разработчиками этих документов.
Свод правил содержит многовариантные технические решения выполнения требований строительных норм и других нормативных документов, позволяющие выбирать оптимальные варианты, исходя из конкретных условий строительства.
Термины в буквенные обозначения величин, принятые в настоящем СП, приведены в Приложении 1.
Проектирование и строительство газопроводов из полиэтиленовых труб диаметром до 300 мм
Design and construction of polyethylene gas pipeline up to 300 mm in diameter
Дата введения 1996-01-08
1.1. Настоящий СП определяет правила проектирования и строительства новых и реконструируемых газопроводов из полиэтиленовых труб диаметром до 300 мм и давлением до 0,6 МПа, ветхих стальных газопроводов давлением до 0,3 МПа, восстанавливаемых методом протяжки в них полиэтиленовых труб, транспортирующих природные газы газовых и газонефтяных месторождений, отвечающие требованиям ГОСТ 5542-87, не содержащие ароматических и хлорированных углеводородов, и газовоздушные смеси, не содержащие указанных углеводородов.
1.2. При проектировании и строительстве систем газоснабжения с использованием полиэтиленовых труб, кроме требований СНиП 2.04.08-87, СНиП 3.05.02-88* и "Правил безопасности в газовом хозяйстве", следует руководствоваться указаниями других нормативных документов, утвержденных в установленном порядке, и настоящего СП.
Перечень действующих нормативных документов, рекомендуемых к использованию при проектировании газопроводов из полиэтиленовых труб, приведен в Приложении 2.
1.3. Полиэтиленовые трубы следует предусматривать:
для строительства газопроводов на территориях городов и сельских поселений (давление газа до 0,3 МПа);
для строительства межпоселковых газопроводов (давление газа до 0,6 МПа);
для реконструкции (восстановления) подземных стальных изношенных газопроводов (давление газа до 0,3 МПа).
Применение полиэтиленовых труб предпочтительно в условиях высокой коррозионной агрессивности грунтов, при наличии блуждающих токов, а также для транспортировки попутных сернистых газов.
1.4. В проектах на прокладку межпоселковых газопроводов необходимо предусматривать решения по охране окружающей среды в соответствии с требованиями СНиП 2.05.06-85, приведенными в Приложении 3.
1.5. Прокладка газопроводов из полиэтиленовых труб не допускается:
в районах с расчетной температурой наружного воздуха ниже минус 45°С;
на подрабатываемых и закарстованых территориях;
в грунтах II типа просадочности на территории городов и сельских поселений;
надземно, наземно, внутри зданий, а также в тоннелях, коллекторах и каналах;
в районах с сейсмичностью свыше 6 баллов на территории городов и сельских поселений из труб ПЭ 63 (ПНД) мерной длины.
Допускается прокладка полиэтиленовых газопроводов на территории городов и сельских поселений, расположенных в районах с сейсмичностью свыше 6 баллов, при условии применения длинномерных труб из ПЭ 80 (ПСП), соединяемых муфтами с закладными нагревателями.
2.1. Проектирование системы газоснабжения с использованием полиэтиленовых труб должно выполняться на основе утвержденных схем газоснабжения областей, городов и сельских поселений, а при их отсутствии - на основе схем (проектов) районной планировки и генеральных планов населенных пунктов.
2.2. Проектирование газопроводов из полиэтиленовых труб должно вестись в соответствии с ГОСТ 21.610-85 (с масштабом по горизонтали не более 1:8000) и СНиП 2.04.08-87.
2.3. Инженерно-геологические изыскания для проектирования полиэтиленовых газопроводов должны осуществляться с учетом прогноза возможных изменений (в процессе строительства и эксплуатации) гидрогеологических и физико-механических характеристик грунтов. Характеристики грунтов, на которые даются ссылки, приведены в Приложении 4.
2.4. минимальные расстояния по горизонтали в свету от полиэтиленовых газопроводов до зданий и сооружений должны приниматься по табл. 1 (согласно требованиям СНиП 2.07.01-89 и СНиП 2.04.08-87).
Для случаев, приведенных в СНиП 2.07.01-89, допускается уменьшать до 60% эти расстояния, при условии, что на участках сближения по 5 м для газопроводов среднего давления и по 2 м для газопроводов низкого давления в каждую сторону от них будет выполнено одно из следующих требований:
применение длинномерных труб без соединений;
использование труб мерной длины, соединенных муфтами с закладными нагревателями;
прокладка труб мерной длины в стальном футляре;
замена на стальные трубы, соответствующие требованиям СНиП 2.04.08-87.
Допускается прокладка газопроводов вдоль края земляного полотна внутри поселковых автодорог (прокладка на глубине не менее 1,5 м от верха трубы) при согласовании с органами Госгортехнадзора.
Минимальные расстояния по вертикали в свету при пересечении полиэтиленовыми газопроводами подземных сооружений и коммуникаций, а также по горизонтали при транзитном прохождении газопроводов рядом с подземными сооружениями и коммуникациями следует принимать не менее величин, указанных в табл. 1.
Минимальные расстояния между подземными коммуникациями (извлечение из СНиП 2.07.01-89)
|
Сооружения и коммуникации |
Расстояния по вертикали в свету, м, при пересечении |
Расстояния по горизонтали до подземных полиэтиленовых газопроводов, м, при давлении, МПа |
||
|
до 0,005 |
от 0,005 до 0,3 |
от 0,3 до 0,6 |
||
|
1 |
2 |
3 |
4 |
5 |
|
Водопровод |
0,2 |
1,0 |
1,0 |
1,5 |
|
Канализация бытовая |
0,2 |
1,0 |
1,5 |
2,0 |
|
Водосток, дренажи и дождевая канализация |
0,2 |
1,0 |
1,5 |
2,0 |
|
Канал теплосети |
0,2 |
1,0 |
2,0 |
2,0 |
|
Бесканальная тепловая сеть |
0,5 |
1,0 |
1,0 |
1,5 |
|
Газопроводы давлением до 0,6 МПа |
0,5 |
0,5 |
0,5 |
0,5 |
|
Электрокабель, телефонный бронированный кабель |
0,5 |
1,0 |
1,0 |
1,0 |
|
Электрокабель маслонаполненный 110-220 кВ |
1,0 |
1,0 |
1,0 |
1,0 |
|
Каналы, тоннели |
0,5 |
2,0 |
2,0 |
2,0 |
|
Фундаменты зданий и сооружений, путепроводов и тоннелей |
- |
2,0 |
4.0 |
7,0 |
|
Ограждения опор контактной сети и связи |
- |
1,0 |
1,0 |
1,0 |
|
Ось крайнего пути железной дороги колеи 1520 мм |
- |
3,8 |
4,8 |
7,8* |
|
Ось крайнего пути железных дорог колеи 750 мм и трамвая |
- |
2,8 |
2,8 |
3,8 |
|
Бортовой камень улицы, дороги |
- |
1,5 |
1,5 |
2,5 |
|
Наружная бровка кювета или подошва насыпи дороги (улицы) |
- |
1,0 |
1,0 |
1,0 |
|
Фундаменты опор воздушных линий электропередачи напряжением |
||||
|
до 1,0 кВ и выше: |
- |
1,0 |
1,0 |
1,0 |
|
свыше 1 до 35 кВ |
- |
5,0 |
5,0 |
5,0 |
|
свыше 35 до 110 кВ и выше |
- |
10,0 |
10,0 |
10,5 |
|
Ось ствола дерева |
- |
1,5 |
1,5 |
1,5 |
|
* Указано расстояние, принимаемое в стесненных условиях по согласованию с соответствующими управлениями железных дорог. Расстояния от межпоселковых газопроводов давлением 0,6 МПа до подошвы насыпи и бровки откоса выемки или от крайнего рельса на нулевых отметках железных дорог общей сети следует принимать не менее 50 м, при условии прокладки на этом участке газопровода на глубине не менее 2,0.м. |
||||
Проектное решение относительно пересечения полиэтиленового газопровода с каналом теплосети в каждом конкретном случае должно приниматься с учетом возможности расположения газопровода выше или ниже канала.
2.5. Допускается для присоединения полиэтиленовых труб к стальным осуществлять выход полиэтиленовых труб из земли на высоту не более 0,8м с устройством защитного металлического футляра. Эксплуатация цокольных вводов и надземных выходов может производиться при t° не ниже -40°С.
2.6. При проектировании газопроводов высокого давления, подводящих газ к населенному пункту, использование полиэтиленовых труб должно заканчиваться не менее, чем за 50 м до жилой застройки.
2.7. Допускается предусматривать прокладку в одной траншее двух и более полиэтиленовых или полиэтиленового и стального газопроводов. При этом расстояние между газопроводами следует принимать из условия возможности производства работ по монтажу и ремонту.
Совместная прокладка газопроводов с кабельными линиями не допускается.
2.8. Максимальный уклон газопроводов из полиэтиленовых труб не должен превышать 1:2. Если уклон превышает 1:2, следует проводить планировку трассы до указанного значения или соответствующее заглубление газопровода, обеспечивающее допустимый уклон.
Для газопроводов, прокладываемых на сезонно подтопляемых территориях и на местности с уклоном свыше 1:5 и подверженной эрозии, следует предусматривать проектные решения по предотвращению размыва траншеи (водоотведение, одерновка, каменная наброска, геотекстиль и т.д.).
2.9. Обозначение трассы полиэтиленового газопровода за пределами населенного пункта следует предусматривать:
или путем установки опознавательных знаков, располагаемых на расстоянии не более 500 м друг от друга, а также на поворотах, в местах ответвлений и расположения контрольных трубок,
или при отсутствии постоянных мест привязки путем прокладки вдоль газопровода изолированного алюминиевого или медного провода сечением 2,5-4 мм2, с выходом концов его на поверхность.
Опознавательные знаки следует располагать на расстоянии 1 м от оси газопровода, справа по ходу газа.
Отклонение провода от оси трубы при прокладке не должно превышать 0,3 м.
В случае использования для обозначения трассы газопровода изолированного провода опознавательные знаки допускается устанавливать только в местах вывода провода над поверхностью земли и в местах расположения контрольных трубок.
Вывод провода-спутника над поверхностью земли должен предусматриваться в специальных контрольных точках, располагаемых на расстояниях не более 4,0 км друг от друга (рис. 1).
2.10. Рекомендуемая форма "Общих указаний" к проекту газоснабжения, располагаемая на листе общих данных, приведена в Приложении 5.
Кроме "Общих указаний" на первом листе проекта должен быть изображен ситуационный план газопровода в масштабе с указанием участков, выполненных из полиэтиленовых и стальных труб, а также разбивка трассы по листам проекта.
2.11. В проекте должен учитываться запас труб в размере 2% от общей протяженности газопровода, предназначенный на укладку труб змейкой, проведение входного контроля качества материала труб, сварку допускных стыков, изготовление узлов разъемных соединений, а также аварийный запас, используемый для устранения повреждений полиэтиленовых труб, которые могут произойти в процессе эксплуатации, изготовления ответвлений (врезок) и других нужд.
Рис. 1. Вариант оборудования контрольной точки для вывода провода-спутника
Указывается местонахождение аварийного запаса полиэтиленовых труб (рекомендуется на территории ГРП), отбираемого из 2% запаса, в количестве не менее 3 штук на каждый типоразмер.
При протяженности газопровода до 3 км допускается предусматривать аварийный запас в количестве одной трубы на каждый типоразмер.
При использовании длинномерных труб, труб в бухтах, а также намотанных на барабан, аварийный запас должен составлять не менее 18 м на каждый типоразмер (при протяженности газопровода до 3 км - не менее 6 м).
3.1. При проектировании и строительстве подземных газопроводов на давление до 0,6 МПа следует применять следующие трубы и соединительные детали и варианты их сочетания:
вариант 1:
трубы из полиэтилена низкого давления ПЭ 63 (ПНД) диаметром от 63 до 225 мм, выпускаемые по ГОСТ Р 50838-95* или ТУ 6-19-352-87;
_______________
* с введением в действие ГОСТ Р 50838-95 планируется провести постепенную отмену действия ТУ 6-19-352-87 и ТУ 6-49-04719662-120-94.
детали соединительные из ПЭ 63 (ПНД) (втулки под фланцы, отводы, тройники, переходы) диаметром от 63 до 225 мм, выпускаемые по ТУ 6-19-359-87;
вариант 2:
трубы из полиэтилена средней плотности ПЭ 80 (ПСП) диаметром от 20 до 225 мм, выпускаемые по ГОСТ Р 50838-95 или ТУ 6-49-04719662-120-94;
детали соединительные из ПЭ 80 (ПСП) диаметром от 20 до 225 мм зарубежного производства (до разработки отечественного стандарта на детали соединительные из ПЭ 80 (ПСП) и постановки их на производство).
Возможно применение труб и соединительных деталей из ПЭ 63 (ПНД) или ПЭ 80 (ПСП) зарубежного производство при наличии (у изготовителя или заказчика) разрешения Госгортехнадзора России на применение данной продукции (согласно РД 08-59-94 Госгортехнадзора России).
3.2. Для газопроводов низкого (до 0,005 МПа) и среднего (от 0,005 до 0,3 МПа) давлений следует применять трубы и соединительные детали:
по ТУ 6-19-352-87 и ТУ 6-19-359-87 типа "С" (средний) или "Т" (тяжелый);
по ГОСТ Р 50838-95 или ТУ 6-49-04719662-130-94 типа SDR 17.6 ("С") или SDR 11 ("Т") и соединительные детали, соответствующие выбранному типу труб.
Для газопроводов высокого давления (от 0,3 до 0,6 МПа) применяют трубы и соединительные детали:
по ТУ 6-19-352-87 и ТУ 6-19-359-87 типа "Т";
по ГОСТ Р 50838-95 или ТУ 6-49-04719662-120-94 типа SDR 11 ("Т") и соединительные детали соответствующего типа.
Для газопроводов низкого и среднего давлений допустимо применение в одной системе трубопровода труб и деталей типов SDR 17,6 ("С") и SDR 11 ("Т"). Например, трубы типа SDR 17,6 ("С") могут быть соединены с деталями типа SDR 11 ("Т") и наоборот: детали типа SDR 17.6 ("С") могут быть соединены с трубами типа SDR 11 ("Т").
3.3. Недопустимо соединение между собой труб и деталей, изготовленных из разных видов полиэтилена: ПЭ 63 и ПЭ 80 (ПНД и ПСП).
3.4. Основные размеры и теоретическая масса труб из полиэтилена для газопроводов приведены в Приложении 6.
Длина труб может быть от 5,0 до 12 м.
Трубы диаметром 20-110 мм могут изготовляться длинномерными и поставляться в бухтах или на катушках. Длина труб в бухтах или на катушках определяется по согласованию между заказчиком и поставщиком. При строительстве межпоселковых газопроводов могут применяться как мерные трубы (в отрезках), так и длинномерные.
При строительстве внутрипоселковых газопроводов могут быть применены трубы мерные или длинномерные, но предпочтение должно отдаваться длинномерным трубам.
При восстановлении старых изношенных газопроводов методом протяжки в них полиэтиленовых труб применяют, как правило, длинномерные трубы.
3.5. При строительстве полиэтиленовых газопроводов применяют следующие виды соединительных деталей: втулка под фланец, переход, тройник, отвод 90° (литой), отвод седловой и муфта с закладными нагревателями.
Общие виды, основные размеры и теоретическая масса соединительных деталей из полиэтилена приведены в Приложениях 7 и 8.
3.6. Условное обозначение труб состоит из слова "труба", наименования материала, слова "газ", наружного диаметра и типа трубы, номера стандарта или технических условий.
Пример условного обозначения труб из ПЭ 63 (ПНД), выпускаемых по ГОСТ Р 50838-95: Труба ПЭ 63 ГАЗ SDR 11-110Х10 ГОСТ Р 50838-95.
Пример условного обозначения труб из ПЭ 63 (ПНД), выпускаемых по ТУ 6-19-352-87: Труба ПНД 110 Т ГАЗ ТУ 6-19-352-87.
Пример условного обозначения труб из ПЭ 80 (ПСП), выпускаемых по ГОСТ Р 50838-95: Труба ПЭ 80 ГАЗ SDR 11-110Х10 ГОСТ Р 50838-95
Пример условного обозначения труб из ПЭ 80 (ПСП), выпускаемых по ТУ 6-49-04719662-120-94: Труба ПЭ 80 ГАЗ SDR 11-110Х10 ТУ 6-49-04719662-120-94.
Условное обозначение соединительных деталей из ПНД состоит из наименования вида детали, наименования материала, наружного присоединительного диаметра, типа детали, слова "газ" и номера технических условий.
Пример обозначения втулки под фланец для труб диаметром 110 мм тяжелого типа для газопровода: втулка под фланец ПНД 110 Т ГАЗ ТУ 6-19-359-87.
Пример обозначения перехода с наружными присоединительными диаметрами 225 и 160 мм среднего типа для газопроводов: переход ПНД 225Х160 С ГАЗ ТУ 6-19-359-87.
Пример обозначения отвода с наружными присоединительными диаметрами 63 мм тяжелого типа для газопроводов: отвод 90° ПНД 63 Т ГАЗ ТУ 6-19-359-87.
3.7. Маркировка труб из полиэтилена включает товарный знак предприятия-изготовителя, условное обозначение трубы без слова "труба", дату изготовления (месяц, две последние цифры года).
Для труб из ПСП допускается не маркировать обозначение "SDR". Маркировка соединительных деталей включает товарный знак завода-изготовителя и условное обозначение детали без указания ее вида и слов "ТУ...".
3.8. Гарантийный срок хранения полиэтиленовых труб и соединительных деталей устанавливается техническими условиями на поставку.
3.9. Основные производители полиэтиленовых труб и соединительных деталей приведены в Приложении 9.
4.1. Диаметр полиэтиленовых газопроводов должен определяться в соответствии с результатами гидравлического расчета, выполняемого согласно Приложения 10.
4.2. Заглубление газопроводов до верха трубы при прокладке в грунтах любого типа, кроме сильнопучинистых, должно приниматься не менее 1 м, а для районов с расчетной температурой наружного воздуха ниже минус 40°С (до минус 45°С) - 1,4 м.
Ширина траншеи должна быть не менее dе + 300 мм для труб dе от 63 мм и выше, и не менее 250 мм для труб dе до 50 мм включительно.
Полиэтиленовые трубы могут предусматриваться для строительства газопроводов в сильнопучинистых грунтах при условии прокладки их ниже зоны сезонного промерзания грунта, а также в грунтах II типа просадочности при прокладке их вне территории населенных пунктов, где исключается возможность замачивания основания трубопровода, в т.ч. от подземных вод, в течение всего срока его эксплуатации.
4.3. Прокладка газопровода из полиэтиленовых труб в грунтах с наличием щебня или других каменистых включений, а также в набухающих, скальных грунтах, грунтах I и II типов просадочности должна предусматривать устройство основания под газопровод высотой не менее 10 см из песка или мягкого грунта, не содержащего крупных (более 20 мм) включений, и засыпку таким же песком или грунтом на высоту не менее 20 см. При прокладке газопроводов в средне- и сильнопучинистых грунтах для устройства основания и засыпки следует предусматривать, как правило, только песок.
Во избежание локального замачивания просадочного грунта I типа в местах перелома оси газопровода рекомендуется предусматривать односторонний уклон траншеи для отведения воды.
Решение о прокладке полиэтиленовых газопроводов в грунтах со слабонесущей способностью (в неслежавшихся насыпных грунтах, грунтах с органикой, илистых и т.п.) принимается отдельно в каждом конкретном случае проектной организацией с разработкой мероприятий по усилению дна траншеи.
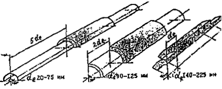
4.4. Повороты линейной части газопровода в горизонтальной и вертикальной плоскостях должны выполняться с использованием литых отводов из полиэтилена заводского изготовления. При отсутствии полиэтиленовых отводов повороты межпоселкового газопровода, а для диаметра 63 мм и менее независимо от места прокладки, допускается выполнять упругим изгибом с радиусом не менее 25 наружных диаметров трубы.
Для газопроводов низкого давления диаметром до 63 мм включительно допускается применение поворотов с радиусом не менее трех наружных диаметров, выполняемых путем изгиба труб в горячем состоянии по технологии, в соответствии с проектом производства работ.
4.5. Полиэтиленовые трубы следует соединять между собой на сварочных установках сваркой встык при толщине стенки труб не менее 5 мм или муфтами с закладными нагревателями, при толщине стенки менее 5 мм только муфтами с закладными нагревателями.
Допускается применение других способов соединения полиэтиленовых труб, в т.ч. фланцевых, в соответствии с требованиями ведомственных нормативных документов, утвержденных в установленном порядке.
4.6. Укладка газопроводов из полиэтиленовых труб при пересечении ими водных преград и на участках с высоким уровнем грунтовых вод должна производиться с использованием мягких пригрузов, укладываемых непосредственно на балластируемый газопровод. Пригрузы должны располагаться между сварными соединениями. В качестве мягких пригрузов рекомендуется использовать тканые мешки, наполненные грунтом, или эластичные покрытия. Для балластировки газопроводов при пересечении ими водных преград могут также использоваться футляры из полиэтиленовых труб большего диаметра с закрепленными на них стандартными чугунными или железобетонными пригрузами, применяемыми при строительстве металлических трубопроводов. При этом концы промежуточного футляра должны выходить на берега водной преграды и закрепляться на них.
На рис. 2 показан пример балластировки газопровода с использованием промежуточного футляра и железобетонных пригрузов. Количество пригрузов и расстояния между ними определяются расчетным путем.
Дополнительной пригрузки газопроводов, прокладываемых на сезонно подтопляемых территориях (при условии укладки труб в сухую траншею), как правило, не требуется.
При проектировании трубопроводов на участках, сложенных грунтами, которые могут перейти в жидкопластичное состояние, при определении выталкивающей силы следует вместо объемного веса воды принимать объемный вес разжиженного грунта, определяемый по данным инженерных изысканий.
4.7. Вводы в здания должны выполняться, как правило, из стальных труб. Расстояние от фундаментов здания до полиэтиленового газопровода, (а также неразъемного соединения) "полиэтилен-сталь" должно быть не менее 1 м для газа низкого давления и 2,0 м - среднего давления.
Рис. 2. Пример балластировки полиэтиленового газопровода.
-
полиэтиленовый газопровод;
-
стальной газопровод;
-
разъемное фланцевое соединение;
-
опора;
-
задвижка;
-
компенсатор.
Рис 3. Схемы размещения запорной арматуры и компенсаторов
При соответствующем обосновании с учетом местных климатических и инженерно-геологических условий и свойств полиэтилена допускается выполнять цокольные вводы полиэтиленовых газопроводов до мест их присоединения к шкафным регуляторным пунктам (далее ШРП) и комбинированным регуляторам давления, с выходом полиэтиленовой трубы на высоту до 0,8 м от поверхности земли при условии заключения ее с узлом соединения в металлический футляр. Конструкция ввода должна содержать технические решения по компенсации температурных и других возможных нагрузок и воздействий на полиэтиленовый ввод. Не рекомендуется предусматривать вводы из полиэтиленовых труб в сильнопучинистых грунтах.
Размещение запорной и другой арматуры на газопроводах
4.8. Запорную и другую арматуру на полиэтиленовых газопроводах следует предусматривать как для стальных газопроводов. Допускается установка полиэтиленовых кранов в грунте (без колодца) при условии размещения их в футляре или другой защитной конструкции.
4.9. Запорная арматура может располагаться подземно и наземно.
Для подземного расположения рекомендуется использовать колодцы, для наземного - специальные площадки, имеющие стационарное ограждение.
При наземном размещении запорной арматуры газовые колодцы могут использоваться для вывода стальных труб над поверхностью земли.
Расположение маховика арматуры рекомендуется предусматривать на высоте не более 1,8 м от уровня дна колодца или площадки обслуживания.
4.10. Присоединение полиэтиленовых газопроводов к запорной арматуре может быть как непосредственное, при помощи узлов разъемных фланцевых соединений, так и через стальные вставки.
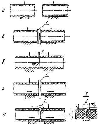
Варианты монтажа и размещения запорной арматуры на полиэтиленовых газопроводах и компенсаторов на стальных газопроводах приведены на рис. 3 и 4.
4.11. Для исключения дополнительных напряжений в узлах разъемных фланцевых и неразъемных соединений "полиэтилен-сталь", под наиболее металлоемкие детали должны предусматриваться опоры.
Переходы газопроводов через естественные и искусственные препятствия
4.12. Переходы газопроводов через железные дороги общей сети и автомобильные дороги I-II категорий, под скоростными дорогами, магистральными улицами и дорогами общегородского значения, а также через водные преграды шириной более 25 м при меженном горизонте и болота III типа должны выполняться из стальных труб.
При пересечении железных дорог переход на стальные трубы должен осуществляться на расстоянии не менее 60 м до и после земляного полотна насыпи, бровки выемки или крайнего рельса на нулевых отметках.
Пересечение газопроводов с железными и автомобильными дорогами следует предусматривать, как правило, под углом 90°.
Характеристики дорог по категориям приведены в Приложении 11.
Подразделение болот на типы приведено в Приложении 12.
4.13. Пересечение болот I и II типов и водных преград шириной до 25 м при меженном горизонте и отсутствии эрозии дна и берегов допускается осуществлять из полиэтиленовых труб. Проектную отметку верха забалластированного газопровода следует принимать на 0,5 м ниже прогнозируемого профиля дна, а на судоходных и сплавных реках - на 1 м, определяемого с учетом возможного размыва русла реки в течение 25 лет эксплуатации.
a) – надземное, с использованием неразъемного соединения "полиэтилен-сталь" усиленного типа; б) – надземное, с использованием разъемного фланцевого соединения; в) - надземное, с использованием колодца; г) – подземное в колодце с использованием разъемного фланцевого соединения и П-образного компенсатора; д) – крышка колодца для надземного размещения запорной арматуры.
Рис. 4. Варианты размещения запорной арматуры
4.14. Переходы газопроводов через подъездные железные дороги промышленных предприятий, автомобильные дороги всех категорий (за исключением оговоренных в п. 4.12), трамвайные пути, под магистральными улицами и дорогами районного и местного значения в черте населенного пункта, а также пересечения с коллекторами, тоннелями и каналами, силовыми и телефонными кабелями, водостоками, водо- и газопроводами, канализацией и тепловыми сетями и места прохода газопроводов через стенки колодцев должны предусматриваться в защитных футлярах в соответствии с требованиями настоящего СП.
Допускается предусматривать на переходах через автомобильные дороги I и II категорий и дороги другого назначения, перечисленные в п. 4.12, полиэтиленовые трубы в стальных футлярах при условии применения длинномерных труб из ПЭ 80 (ПCП) без сварных и других соединений на участках перехода.
4.16. При пересечении полиэтиленовыми газопроводами автомобильных дорог, не имеющих специально устроенного земляного полотна и дорожной одежды (бескатегорийных грунтовых дорог), а также автодорог на территории сельских поселений, включая дороги, имеющие дорожную одежду, допускается прокладывать полиэтиленовые трубы в футлярах из полиэтиленовых или асбестоцементных труб большего диаметра, а также и без защитного футляра (вопрос защиты решается проектной организацией). В последнем случае глубина заложения газопровода в месте пересечения с автомобильными дорогами должна быть не менее 1,5 м до верха трубы. Длина углубленного участка траншеи в месте пересечения должна предусматриваться не менее 5 м в обе стороны от края проезжей части.
Узлы соединений полиэтиленовых и стальных труб.
4.16. Соединения полиэтиленовых и стальных труб предназначены для осуществления перехода газопровода на стальные участки и для присоединения к арматуре и другому оборудованию.
4.17. Узлы соединений могут быть как разъемными (фланцевыми), так в неразъемными (раструбными или нахлесточными, обычного или усиленного типа).
4.18. Разъемные соединения наиболее целесообразно использовать для непосредственного (или через короткие стальные вставки) присоединения к полиэтиленовым трубам запорной арматуры.
Для изготовления разъемных фланцевых соединений применяются фланцы стальные свободные (накидные) по ГОСТ 12822-80, стальные плоские приварные по ГОСТ 12820-80 и полиэтиленовые втулки под фланец из ПЭ 63 (ПНД) или ПЭ 80 (ПСП). Размеры прокладок между фланцами следует принимать по ГОСТ 16180-86.
Размеры и масса стальных фланцев, используемых для изготовления разъемных фланцевых соединений, приведены в Приложении 13.
4.19. Неразъемные соединения "полиэтилен-сталь" усиленного типа должны предусматриваться на газопроводах высокого (до 0,6 МПа) давления, обычного типа - на газопроводах низкого и среднего давлений.
Стальные патрубки узлов неразъемных соединений "полиэтилен-сталь" должны изготавливаться из стальных труб по ГОСТ 10705-80 (группа В) "Технические условия" и ГОСТ 10704-76 "Сортамент", ГОСТ 8731-74 (группы В и Г) "Технические требования" и ГОСТ 87.32-78 "Сортамент", ГОСТ 8733-74 (группы В и Г) "Технические требования" и ГОСТ 8734-75 "Сортамент", а для газопроводов низкого давления dу до 40 мм – также по ГОСТ 3262-75. Допускается использование других бесшовных и прямошовных электросварных труб, отвечающих требованиям СНиП 2.04.06-87.
Толщина стенки стальных патрубков узлов неразъемных соединений должна быть не менее:
3,0 мм при dу до 80 мм;
3,5 мм при dу от 80 до 100 мм;
4,0 мм при dу 125 мм и более.
Общие виды, основные размеры и условное графическое изображение узлов соединений полиэтиленовых и стальных труб приведены в Приложении 15.
4.20. Изготовление узлов неразъемных соединений "полиэтилен-сталь", а также стальных футляров для размещения разъемных и неразъемных соединений должно производиться в условиях производственных баз, участков или специализированных лабораторий.
4.21. Размещение узлов разъемных и неразъемных соединений в зависимости от их конкретного назначения (присоединение к тройникам, запорной арматуре или компенсатору) может производиться как подземно (в колодце), так и надземно в местах выхода полиэтиленовых труб над поверхностью земли в защитном металлическом футляре.
Размещение узлов одиночных соединений "полиэтилен-сталь", монтируемых без дополнительной арматуры (задвижек, вентилей, компенсаторов) может предусматриваться подземно:
разъемных фланцевых соединений - в металлическом загерметизированном футляре;
неразъемных соединений - непосредственно в грунте.
На футляре с разъемным фланцевым соединением должна устанавливаться контрольная трубка в соответствии с п. 4.32 настоящего СП.
4.22. Ответвления на полиэтиленовых газопроводах следует предусматривать:
с помощью соединительных деталей с закладными нагревателями (для труб из ПЭ 80 (ПСП);
с помощью литых соединительных деталей, приспособленных под сварку нагретым инструментом встык (для труб из ПЭ 63 и ПЭ 80);
через стальную вставку (тройник), вмонтированную в газопровод.
Изготовление тройниковых ответвлений при помощи литых соединительных деталей может производиться как на объекте строительства, так и в производственных мастерских строительной организации.
Изготовление тройниковых ответвлений через стальную вставку должно производиться только в условиях производственных мастерских с обязательным проведением пневматических испытаний по нормам СНиП 3.05.02-88 и выдачей сертификата качества (паспорта узла ответвления).
Из сортамента соединительных деталей с закладными нагревателями для изготовления ответвлений могут использоваться тройники и отводы седловые.
Типовые схемы ответвлений, выполненных при помощи неразъемных соединений "полиэтилен-сталь", приведены на рис. 5.
Типовые схемы ответвлений, выполненных при помощи разъемных соединений "полиэтилен-сталь" (с размещением в колодце), приведены на рис. 3.
4.23. Переходы полиэтиленовых труб с одного диаметра на другой следует выполнять при помощи деталей соединительных из полиэтилена по ТУ 6-19-359-87 и другим стандартам на соединительные детали.
Присоединение литых соединительных деталей к полиэтиленовым трубам должно предусматриваться на сварке. В случае применения нескольких литых соединительных деталей из полиэтилена, их соединение между собой должно осуществляться через переходные патрубки длиной не менее 0,5 м.
Характерные узлы соединений полиэтиленовых труб с использованием соединительных деталей приведены на рис. 6.
4.24. К сооружениям на полиэтиленовых газопроводах относятся:
защитные футляры;
колодцы и наземные площадки, служащие для размещения запорной арматуры и компенсаторов;
контрольные трубки, устанавливаемые в местах расположения футляров.
4.25. Концы защитных футляров, устанавливаемых на полиэтиленовых газопроводах, должны выводиться на расстояние не менее:
1) при пересечении трамвайных путей - на 2 м от крайнего рельса;
2) при пересечении подъездных железнодорожных путей промышленных предприятий - на 3 м от крайнего рельса;
3) при пересечении автомобильных дорог III, III-п, IV, IV-п и V категорий - на 3,5 м от края проезжей части и 2 м за пределы подошвы насыпи;
4) при пересечении подземных инженерных сооружений и коммуникаций - на 2 м от их наружных стенок;
5) при пересечении стенок газовых колодцев - на 2 см от наружных стенок колодцев.
Примеры обозначения на листе проекта мест пересечения полиэтиленового газопровода с различными коммуникациями приведены на рис. 7.
4.26. Рекомендуемые диаметры футляров из стальных труб для полиэтиленовых газопроводов при пересечении коммуникаций и размещения соединений приведены в табл. 2.
Рис. 5. Типовые схемы ответвлений
Рис. 6. Узлы соединений полиэтиленовых труб
Рис. 7. Примеры обозначения мест пересечений полиэтиленовых газопроводов с коммуникациями
а - с автомобильной дорогой
б - с каналом тепловой сети
в - с телефонным кабелем связи
Рекомендуемые диаметры футляров из стальных труб, мм
|
dе газопровода |
dе футляра |
Толщина стенки футляра при способе прокладки |
|||
|
для плети газопровода |
для размещения фланцевых разъемных соединений |
для размещения неразъемных соединений |
открытом или горизонтальным бурением |
продавливанием или проколом |
|
|
25 |
57-114 |
- |
57-76 |
3,0 |
4,0 |
|
32 |
57-133 |
- |
57-76 |
3,0 |
4,0 |
|
40 |
76-159 |
- |
76-89 |
4,0 |
5,0 |
|
50 |
89-159 |
- |
102-114 |
4,0 |
5,0 |
|
63 |
114-168 |
219 |
159-168 |
4,0 |
5,0 |
|
110 |
159-219 |
273 |
219 |
5,0 |
6,0 |
|
160 |
219-273 |
325 |
273 |
7,0 |
8,0 |
|
225 |
273-325 |
377 |
325 |
8,0 |
9,0 |
Рекомендуемые диаметры футляров из неметаллических труб для полиэтиленовых газопроводов приведены в табл. 3.
Таблица 3
Рекомендуемые диаметры футляров из неметаллических труб, мм
|
dе газопровода |
dе футляра из полиэтиленовых труб типа "Т" |
dе футляра из асбестоцементных труб |
|
25 |
63 |
- |
|
32 |
63, 110 |
|
|
40 |
110 |
100 |
|
50 |
110 |
100 |
|
63 |
110 |
100 |
|
110 |
160 |
200 |
|
160 |
225 |
250 |
|
225 |
315 |
300 |
4.27. С целью избежания повреждения поверхности полиэтиленовой трубы при протаскивании ее через металлический или асбестоцементный футляр следует предусматривать защиту ее поверхности с помощью колец изготавливаемых из труб того же диаметра, длиной 0,5 dе, путем разрезки их по образующей и установки (после нагрева) на протягиваемую трубу на расстояниях 2-3 м друг от друга и закрепления на трубе липкой синтетической лентой.
4.28. В местах выхода полиэтиленовых труб над поверхностью земли (до высоты 0,8 м) и местах расположения полиэтиленовых цокольных вводов надземные участки полиэтиленовых труб вместе с узлом соединения "полиэтилен-сталь" должны быть заключены в защитные металлические футляры.
При расположении цокольных вводов непосредственно у стен зданий (сооружений) в защитный футляр должен заключаться как вертикальный, так и горизонтальный участки ввода. Расстояние от наружной стены здания до конца горизонтального участка футляра должно быть не менее 1 метра.
В футлярах надземных выходов и цокольных вводов могут размещаться (как разъемные, так и неразъемные узлы соединений "полиэтилен-сталь".
Диаметр футляров принимается по данным табл. 2.
Фланцы узлов разъемных соединений и стальные патрубки узлов неразъемных соединений должны жестко фиксироваться внутри металлических футляров для исключения воздействия на узлы соединений нагрузок от веса кранов, задвижек, температурных деформаций стальных участков и пр.
В целях предохранения наземного полиэтиленового газопровода от механических повреждений внутри металлического защитного футляра должен устанавливаться полиэтиленовый или полипропиленовый патрубок.
Надземный стальной участок газопровода до места присоединения к домовому регулятору давления или ввода в дом, в этом случае должен иметь угловой или П-образный компенсатор (рис. 8). Размеры компенсатора должны определяться расчетом, на основании учета перемещений газопровода (включая надземный и подземный участки) от температурных воздействий и давления газа.
На рис. 8 показаны возможные варианты конструкций футляров для цокольных вводов и надземных выходов полиэтиленовых труб, монтируемых в простых геологических условиях, при отсутствии:
- пучинистых, просадочных, набухающих, неслежавшихся насыпных грунтов;
- подрабатываемых территорий;
- возможности развития опасных геологических процессов (карст, оползни и др.);
- сейсмичности.
Конструкция цокольных вводов и надземных выходов полиэтиленовых труб, монтируемых в сложных геологических условиях, должна определяться специально разработанными техническими решениями, утвержденными в установленном порядке.
4.29. Размеры колодцев, рекомендуемых для полиэтиленовых газопроводов, должны соответствовать типовому проекту 905-7 "Унифицированные колодцы для подземных газопроводов".
Колодцы, предусматриваемые в пучинистых грунтах, должны быть сборными железобетонными или монолитными.
4.30. Контрольные трубки следует предусматривать на одном конце футляров при пересечении газопроводом автомобильных и железных дорог, подземных коллекторов и каналов, водостоков, канализации и тепловых сетей, а также на стальных футлярах в местах выхода полиэтиленовых труб над поверхностью земли и в местах бесколодезного расположения разъемных соединений.
Рис. 8. Конструкция футляров цокольных вводов и надземных выходов
а - выход надземный с узлом разъемного соединения
б - цокольный ввод газопровода среднего давления для подключения шкафного регуляторного пункта
в - цокольный ввод газопровода низкого давления;
1 - стальной газопровод, 2 - металлический футляр, 3 - полиэтиленовый футляр, 4 - полиэтиленовый газопровод, 5 - контрольная трубка, 6 - компенсатор.
При наличии на поверхности земли твердого асфальтового или бетонного покрытия (в частности, на территории населенных пунктов) контрольная трубка должна выводиться под защитное устройство (ковер). Если твердое покрытие отсутствует, контрольная трубка должна выводиться над поверхностью земли на высоту не менее 0,5 м. При этом диаметр контрольной трубки должен быть не менее 32 мм, а ее конец, выступающий над поверхностью земли, плавно изогнут на угол 180°.
Варианты расположения контрольных трубок приведены на рис. 9.
При установке контрольных трубок концы футляров должны быть заделаны пенькой или канатом и загерметизированы раствором низкомолекулярного полиизобутилена или битумом.
Стальные участки на полиэтиленовых газопроводах
4.31. Для стальных участков на полиэтиленовых газопроводах применяются трубы, соответствующие требованиям раздела II СНиП 2.04.08-87*.
4.32. Защита от коррозии стальных участков подземных газопроводов должна выбираться и устанавливаться в соответствии с требованиями СНиП 2.04.08-8*, СНиП 2.05.06-85 и настоящего свода правил, исходя из условий прокладки газопровода, данных о коррозионной агрессивности грунтов, наличия блуждающих токов, требуемого срока службы газопровода.
При прокладке в грунтах с высокой коррозионной агрессивностью стальных участков небольшой протяженности (до 2 м) возможно, исходя из результатов технико-экономических обоснований, вместо устройства катодной поляризации произвести замену на данном участке грунта c высокой коррозионной агрессивностью грунтами с низкой или средней коррозионной агрессивностью (например, засыпка песком).
Рис. 9. Варианты устройства контрольных трубок
а - контрольная трубка над стальным футляром при отсутствии твердого покрытия
б - контрольная трубка над стальным футляром - при наличии твердого покрытия
4.33. Стальные участки узлов неразъемных соединений и другие стальные вставки должны быть покрыты весьма усиленной изоляцией на основе битумных мастик с армирующими слоями. Возможно использование для изоляции стальных вставок липких полимерных лент или других материалов, соответствующих требованиям ГОСТ 9.602-89.
Неразъемные соединения "полиэтилен-сталь" должны укладываться на песчаное основание высотой не менее 10 см и присыпаться слоем песка на высоту не менее 20 см.
4.34. На вводных газопроводах должна предусматриваться установка изолирующих фланцевых соединений или изолирующих муфт (ИМ) из стеклопластика по ТУ 243 РСФСР 3.097-90 или других типов, разрешенных к применению в газовом хозяйстве.
Размещение ИФС и ИМ на вводных газопроводах должно предусматриваться на высоте не более 2,2 м и на расстоянии от дверных и оконных проемов не менее 0,5 м.
5.1. Проект газоснабжения населённого пункта должен обеспечивать рациональное использование полиэтиленовых и стальных труб.
На выбор варианта существенное влияние оказывает характеристика объекта газоснабжения, т.е. планировка населенного пункта, плотность и этажность застройки, объемы потребляемого газа, наличие и характеристика газопотребляющих установок, стоимость труб, оборудования и другие факторы.
При выборе трассы полиэтиленового газопровода необходимо учитывать также расположение в районе трассы тепловых сетей, водоводов и других подземных коммуникаций, проведение ремонтных работ на которых может привести к повреждению полиэтиленовых труб.
Классификация газопроводов населенных пунктов приведена в Приложении 14.
5.2. При выборе схем газоснабжения населенных пунктов возможны следующие варианты применения полиэтиленовых труб:
все подземные распределительные сети низкого давления, включая подземную часть газопроводов-вводов для каждого отдельного потребителя;
все подземные распределительные сети среднего давления с установкой перед каждым потребителем индивидуальных регуляторов давления газа;
все подземные распределительные сети среднего давления с установкой шкафных блочно-комплектных газорегуляторных пунктов на группу потребителей газа и последующим переходом на стальные газопроводы низкого давления.
На рис. 10 приведены примеры использования полиэтиленовых труб для внутрипоселковых газопроводов.
5.3. Соединение стальных и полиэтиленовых участков газопроводов-вводов целесообразно осуществлять при помощи неразъемных соединений "полиэтилен-сталь".
Присоединения ответвлений от распределительных (уличных) газопроводов к индивидуальным потребителям должны предусматриваться при помощи литых соединительных деталей (тройников, отводов), в т.ч. с закладными нагревателями.
Для газопроводов из ПЭ 80 (ПСП) присоединение ответвлений рекомендуется осуществлять при помощи седловых отводов с ЗН.
Для газопроводов из ПЭ 63 (ПНД) присоединение ответвлений может производиться при помощи узлов врезок, самостоятельно изготавливаемых строительными организациями на базе стандартного тройника, врезаемого в газопровод. Изготовление такого тройникового узла врезки и его монтаж должна производиться по специальной технологической карте, утвержденной в установленном порядке, при этом должны быть предусмотрены тщательная подсыпка и уплотнение грунта в местах их расположения.
На рис. 11 приведен общий вид присоединения стального газопровода-ввода низкого давления к распределительному полиэтиленовому газопроводу при помощи тройникового узла врезки.
5.4. Расстояние от вертикальной оси трубопровода цокольного ввода до стены зданий должно устанавливаться с учетом ширины фундаментов; но не менее:
для труб dу 50 мм - 175 мм;
для труб dу 80 мм - 220 мм;
для труб dy 100 мм - 250 мм.
-
полиэтиленовый газопровод;
- стальной
газопровод;
- соединение
"полиэтилен-сталь";
- переход; ПГ-4 - индивидуальный
потребитель газа.
а - пример использования полиэтиленовых труб для внутрипоселкового газопровода среднего давления; б - пример использования полиэтиленовых труб для подземной части внутрипоселкового газопровода низкого давления
Рис. 10. Схемы использования полиэтиленовых труб для строительства внутрипоселковых газопроводов
Рис. 11. Присоединение стального газопровода-ввода к распределительному полиэтиленовому газопроводу при помощи тройникового узла врезки
1 - заглушка, 2 - фреза, 3 - тройник, 4 - переход, 5 – полиэтиленовый патрубок газопровода-ввода, 6 - труба распределительного газопровода, 7 – стальной цокольный ввод, 8 - соединение "полиэтилен-сталь"
5.5. Для предотвращения скапливания конденсата в газопроводных системах низкого давления следует, при необходимости, предусматривать конденсатосборники с уклоном к ним не менее 2%. Если по условиям рельефа местности не может быть создан необходимый уклон, допускается предусматривать прокладку газопровода с изломом в профиле с установкой конденсатосборника в низшей точке (рис. 12).
5.6. Трасса газопровода на территории населенного пункта должна обозначаться в местах поворотов и через каждые 200 м на прямолинейных участках с помощью привязки к зданиям, каменным оградам и т.д.
Расстояние от газопровода до места привязки определяется рабочим проектом. Образец опознавательного знака приведен в Приложении 15.
Для вновь проектируемых участков газопроводов на территории городов, как правило, должны предусматриваться технические решения, предупреждающие при выполнении земляных работ о прохождении на данном участке полиэтиленового газопровода. Например, укладка на расстоянии 0,25 м от верха трубопровода полиэтиленовой сигнальной ленты шириной не менее 0,2 м с несмываемой надписью "Газ". Для участков пересечений со всеми инженерными коммуникациями это требование обязательно. Лента должна быть уложена вдоль газопровода на расстояние не менее 2 м в обе стороны от пересекаемого сооружения.
Рис. 12. Схемы удаления конденсата
1 - фильтр, 2 - газопровод для удаления конденсата, 3 - емкость переходная
6.1. Расчет газопроводов на прочность и устойчивость выполняется только для межпоселковых трубопроводов и его следует вести с учётом нагрузок и воздействий, возникающих при их сооружении, испытании в эксплуатации.
Нагрузки, воздействия и их возможные сочетания необходимо принимать в соответствии с требованиями СНиП 2.01.07-85.
6.2. Нагрузки от собственного веса единицы длины газопровода должна определяться по формуле:
qdw = prdwg(de - t)t, (1)
6.3. Нагрузка от давления грунта на единицу длины газопровода должна определяться по формуле:
qgr = rgrgdeh, (н/м). (2)
6.4. Погонная выталкивающая сила воды, действующая на газопровод, находящийся ниже уровня грунтовых вод, должна определяться по формуле:
,
(н/м). (3)
При возможности перехода обводненного грунтам в, жидко-пластичное состояние при определении выталкивающей силы (3) следует вместо плотности воды принимать плотность разжиженного грунта.
6.5. Рабочее (нормативное) давление транспортируемой среды устанавливается проектом.
6.6. Нормативная погонная нагрузка от веса транспортируемой среды должна определяться по формуле:
,
(н/м). (4)
6.7. Температурный перепад в материале стенок труб следует принимать равным разнице между максимально (или минимально) возможной температурой стенок в процессе эксплуатации и наименьшей (или наибольшей) температурой газопровода непосредственно после его засыпки грунтом (температурой фиксирования расчетной схемы).
Принятые в расчете максимальная и минимальная температуры, при которых допускается фиксирование расчетной схемы, должны указываться в проекте или же должны предусматриваться специальные мероприятия по укладке газопровода, предотвращающие возникновение недопустимых продольных напряжений, обусловленных температурным перепадом.
Расчетные характеристики материалов
6.8. Длительные сопротивления разрушению материала труб R и допускаемые напряжения [s] следует определять по данным, приведенным в ГОСТ Р 50838-95 (ТУ 6-19-352-87 и ТУ 6-49-04719662-120-94) в зависимости от давления газа, принятых в этих ТУ толщин стенок труб и соответствующих коэффициентов запасов прочности.
6.9. Модуль ползучести материала труб принимается с учетом его изменения при длительном действии на газопровод нагрузки и температуры по формуле:
E=gtEo, (МПа). (5)
6.10. Модуль ползучести материала, трубы при растяжении Ео принимается по табл. 4 в зависимости от проектного срока службы газопровода и величины действующих в стенде трубы напряжений.
6.11. Коэффициент, учитывающий влияние температуры на деформационные свойства материала труб gt принимается по табл. 5.
6.12. Коэффициент линейного расширения материала труб следует принимать равным: a=2,2×10-4 (°С)-1; коэффициент Пуассона равным: m=0,43.
Значения модуля ползучести материала труб при растяжении
|
Срок службы, лет |
Модуль ползучести Ео (МПа) в зависимости от величины напряжений |
||||||||
|
Напряжение в стенке трубы МПа |
|||||||||
|
6 |
5 |
4 |
3 |
2,5 |
2 |
1,5 |
1 |
0,5 |
|
|
50 |
- |
100 |
120 |
140 |
150 |
160 |
180 |
200 |
220 |
|
25 |
90 |
110 |
130 |
150 |
160 |
170 |
190 |
210 |
230 |
|
10 |
100 |
120 |
140 |
160 |
170 |
190 |
210 |
230 |
250 |
Значения температурного коэффициента
|
Коэффициент gt при температуре |
|
|
До 20 °С |
30 °С |
|
1,0 |
0,8 |
Определение толщины стенки газопровода
6.13. Толщина стенки газопровода принимается по ГОСТ Р 508-95 (ТУ 6-19-352-87 и ТУ 6-49-04719662-120-94), В зависимости от номинального давления, диаметра газопровода и материала трубы.
Проверка прочности и деформативности газопровода
6.14. Проверка прочности газопровода состоит в соблюдении условий:
sN £ [s] (если sN ³ 0), (МПа); (6)
|sN| £ [s] - se (если sN > 0), (МПа). (7)
6.15. Продольное осевое напряжение находится от всех действующих на газопровод нагрузок и воздействий. В частности, для прямолинейных и упругоизогнутых защемленных грунтом участков газопроводов продольное осевое напряжение определяется по формуле:
sN = -aEDT + mse, (8)
;
(МПа). (9)
6.16. Проверка деформативности газопровода состоит в ограничении продольных фибровых напряжений условиями:
sln £ R (если sln ³ 0), (МПа); (10)
sln £ R - se (если sln < 0), (МПа). (11)
6.17. Продольное фибровое напряжение sln определяется как сумма всех (с учетом их сочетания) нагрузок и воздействий с учетом поперечных и продольных перемещений газопровода. В частности, для прямолинейных и упругоизогнутых участков газопровода, защемленного грунтом, продольное фибровое напряжение определяется по формуле:
;
(МПа). (12)
Обеспечение устойчивости положения газопровода
6.18. Устойчивость положения газопровода, прокладываемого на обводненном участке трассы, следует проверять по условию:
Qa £ Qp / gfl, (н/м). (13)
где: gfl=1,07 - для болот и пойменных участков, не подверженных размыву;
gfl=1,10 - при прокладке через русла рек ниже предельного профиля размыва.
6.19. В частном случае при прокладке газопровода свободным изгибом при равномерной по его длине балластировке величина интенсивности балластировки (погонной нагрузки) - вес на воздухе - определяется по формуле:
;
(н/м). (14)
где gв=0,86 - для железобетонных грузов и мешков с цементно-песчаной смесью;
gв=0,95 - для чугунных грузов.
6.20. Интенсивность нагрузки от упругого отпора при свободном изгибе газопровода в вертикальной плоскости определяется по формулам:
(для
выпуклых кривых), (н/м); (15)
(для
вогнутых кривых), (н/м). (16)
6.21. При балластировке газопроводов грунтом обратной засыпки, закрепляемых путем применения нетканых синтетических материалов (НСМ), должно выполняться неравенство:
qNSM ³ gflqw + qr - qdw; (н/м); (17)
Величину qNSM следует определять по формуле:
, (н/м) (18)
где: k - безразмерный коэффициент, характеризующий призму выпора грунта, принимается численно, равным условному диаметру трубы в м.
6.22. Удельный вес грунта с учетом выталкивающей силы воды следует определять по формуле:
;
(н/м3). (19)
6.23. Все характеристики грунта засыпки следует определять с учетом его разрыхления и обводнения.
6.24. При балластировке газопровода с помощью полимерно-контейнерного балластировочного устройства (ПКБУ) удерживающую способность ПКБУ (с находящимся в нем грунтом) на единицу длины группы ПКБУ следует определять по формуле:
;
(н/м). (20)
При групповой установке ПКБУ в суммарную погонную нагрузку на газопровод, действующую вниз, следует включать вес грунта над ПКБУ и трубопроводом. Эту нагрузку следует определять по формуле:
;
(н/м). (21)
6.25. Проверка обеспечения кольцевой формы сечения подземного газопровода должна выполняться с учетом полной погонной эквивалентности линейной нагрузки Q, приведенной к вертикальной плоскости, проходящей через ось трубы, и вычисляемой по формуле:
;
(н/м). (22)
6.26. Погонная нагрузка на газопровод от давления грунта должна определяться по формулам:
при укладке в траншее:
;
(н/м); (23)
при укладке в насыпи:
Q1=1,2hggrKemB; (н/м). (24)
где h - принимается в зависимости от степени уплотнения засыпки в пределах от 0,85 до 0,95;
Кgr - определяется по табл. 6.
Таблица 6
Коэффициент вертикального давления грунта, Kgr
|
Глубина заложения газопровода, м |
Пески, супеси, суглинок твердый |
Суглинок пластинчатый, глина твердой консистенции |
|
1 |
0,75 |
0,78 |
|
2 |
0,67 |
0,70 |
|
3 |
0,55 |
0,58 |
|
4 |
0,49 |
0,52 |
|
5 |
0,43 |
0,46 |
|
6 |
0,37 |
0,40 |
|
7 |
0,32 |
0,34 |
|
8 |
0,29 |
0,32 |
Коэффициент концентрации давления грунта в насыпи определяется по формуле:
где: Еgr - принимается равным:
для песчаных грунтов - от 8,0 до 16,0 МПа;
для супесей и суглинков - от 2,0 до 6,0 МПа;
для глин - от 1,2 до 2,5 МПа.
6.27. Нагрузка на газопровод от равномерно распределенной нагрузки на поверхности засыпки должна определяться по формуле:
Q2 = 1,4qev КemB; (н/м). (28)
6.28. Нагрузка на основание траншеи от собственного веса газопровода и транспортируемой среды должна определяться по формуле:
Q3 = qdw + qs; (н/м). (29)
6.29. Нагрузка от гидрастатического давления грунтовых вод должна определяться по формуле:
Q4 = qw; (н/м). (30)
6.30. Значения коэффициентов приведения нагрузок принимаются равными:
b1=0,75 - при укладке газопровода на плоское основание;
b1=0,55 - при укладке на спрофилированное основание с углом охвата 2а=70°;
b1=0,50 - то же, 2а=90°;
b1=0,45 - то же, 2а=120°;
b2=b4=I;
b3=0,75 - при укладке на плоское основание;
b3=0,35 - при укладке на спрофилированное основание с углом охвата 2а=70°;
b3=0,30 - то же, 2а=90°;
b3=0,25 - то же, 2а=120°.
6.31. Для обеспечения несущей способности подземного газопровода по условию предельно допустимой величины овализации поперечного сечения трубы (относительно укорочения вертикального диаметра) должно соблюдаться условие:
(31)
где z=1,3 - при укладке на плоское основание;
z=1,2 - при укладке на спрофилированное основание.
(32)
В формуле (32) через Р обозначено внутреннее давление транспортируемой среды (считается положительным) или внешнее равномерное радиальное давление (считается отрицательным), которое может быть атмосферным (при образовании в трубе вакуума) или гидростатическим (при прокладке газопровода ниже уровня грунтовых вод) или давлением грунта.
6.32. Проверку относительного укорочения вертикального диаметра сечения газопровода также необходимо выполнять на стадии его укладки в случае применения балластирующих грузов, опирающихся на верхнюю часть трубопровода. В этом случае должно соблюдаться условие:
(33)
где z - коэффициент, принимаемый в соответствии с п.6.31.
6.33. Подземный газопровод следует также проверять по условию недопущения местной потери устойчивости его стенок:
;
(МПа) (34)
Pw = 10-6PwgHw; (МПа) (35)
6.34. В качестве критической величины внешнего равномерного давления следует принимать меньшее из двух значений, вычисляемых по формулам:
;
(МПа); (36)
Pcr = Phrd + 1,143Pgr; (МПа). (37)
7.1. Реконструкция изношенных подземных стальных газопроводов методом протяжки в них полиэтиленовых труб является альтернативным вариантом восстановления работоспособности газораспределительных сетей. Решение об использовании данного варианта принимается после составления общей схемы реконструкции газовой сети на основании технико-экономического обоснования.
7.2. Метод протяжки полиэтиленовых труб возможно использовать для восстановления работоспособности газопроводных сетей низкого (0,005 МПа), среднего (до 0,3 МПа) и высокого (до 0,6 МПа) давлений.
При реконструкции стальных газопроводов низкого и среднего давлений протянутые в нем полиэтиленовые трубы могут использоваться для подачи газа как низкого, так и среднего давлений. Целесообразность перевода существовавшей газопроводной сети с низкого давления на среднее устанавливается расчетом.
При реконструкции стального газопровода высокого давления методом протяжки в нем полиэтиленовых труб необходим одновременный перевод такого газопровода на низкое или среднее давление, что должно быть подтверждено обеспечением необходимого расхода, а также технической и экономической целесообразностью.
Не допускается использование изношенных газопроводов на участках, где они не отвечают требованиям СНиП 2.04.08-87 (по глубине заложения, расстояниям между зданиями и коммуникациями и пр.). В случае существования таких участков в проекте реконструкции должна быть предусмотрена их перекладка с заменой на новые стальные или полиэтиленовые трубы в соответствии с требованиями СНиП 2.04.08-87.
7.3. Глубина заложения стальных газопроводов, в которых протягиваются полиэтиленовые трубы, должна соответствовать требованиям СНиП 2.04.08-87.
Глубина заложения полиэтиленовых газопроводов до верха трубы в местах их прокладки вне стальных труб и длине этих участков свыше 10 м должна приниматься согласно требованиям п. 4.2.
При длине таких участков до 10 м глубина заложения полиэтиленового газопровода определяется глубиной заложения стальных труб.
7.4. Минимальные расстояния по горизонтали в свету от зданий и сооружений до реконструируемого стального газопровода низкого давления при протяжке в нем полиэтиленового газопровода среднего давления допускается принимать по нормам, предусмотренным СНиП 2.07.01-89 для стальных газопроводов низкого давления. При этом допускается уменьшение до 50% этих расстояний в соответствии со СНиП 2.04.08-87. В этом случае сварные и другие соединения полиэтиленового газопровода и места его открытой прокладки должны располагаться на расстояниях, регламентированных СНиП 2.04.08-87.
7.5. Реконструкция стальных газопроводов должна предусматриваться участками длиной, как правило, не более 150 м.
В зависимости от местных условий прохождения трассы газопровода, принятой технологии реконструкции газопровода, плотности и этажности застройки и пр. допускается увеличение протяженности секций до 500 м при условии применения: длинномерных труб с количеством сварных соединений до 3 шт; труб мерной длины, соединяемых муфтами с закладными нагревателями или сваркой встык, сварные соединения которых проверены физическими методами контроля.
При протяженности секций более 150 м рекомендуется установка сигнализаторов загазованности.
7.6. При пересечении реконструируемого газопровода с различными сооружениями и коммуникациями устройства дополнительных защитных футляров, как правило, не требуется. Роль футляра выполняет существующий стальной газопровод.
7.7. При реконструкции должны использоваться как трубы в отрезках мерной длины, так и длинномерные трубы, причем предпочтение должно отдаваться длинномерным трубам, смотанным в бухты или на барабан. Соединения длинномерных труб (плетей) между собой должны предусматриваться при помощи муфт с закладными нагревателями или, как исключение, сваркой нагретым инструментом встык. В последнем случае требуется обеспечить 100% контроль сварных соединений физическими методами.
В стесненных условиях прокладки, где расстояния по горизонтали в свету могут быть уменьшены до 50% относительно требований СНиП 2.07.01-89, соединение труб осуществляется с помощью муфт с закладными нагревателями или сваркой встык нагретым инструментом труб мерной длины при условии их прокладки в стальном футляре и 100% контролем сварных соединений физическими методами.
7.8. Максимальный наружный диаметр полиэтиленовых труб по отношению к внутреннему диаметру реконструируемого газопровода должен быть меньше:
на 20 мм - при использовании плетей без сварных соединений;
на 40 мм - при использовании плетей, сваренных из отдельных труб.
При наличии на реконструируемых участках крутоизогнутых и гнутых отводов должна быть просчитана возможность прохождения через них узлов неразъемных соединений "полиэтилен-сталь" (при протаскивании этих соединений вместе с полиэтиленовой плетью), а также проведен расчет на непревышение допустимых напряжений в стенке протягиваемых труб (s < [sдоп]).
7.9. При обосновании необходимости реконструкции изношенных подземных стальных газопроводов методом протяжки в них полиэтиленовых труб должны прорабатываться следующие варианты технических решений:
сохранение низкого давления в сети, когда это возможно по условиям потребителей;
полный перевод сетей низкого давления на среднее с установкой регуляторов;
частичный перевод сетей низкого давления на среднее с установкой регуляторов давления.
Выбор варианта реконструкции должен приводиться на основании их технико-экономического сравнения.
Состав и содержание проекта организации строительства кроме общих требований СНиП 3.01.01-85 должны включать:
план газопровода с указанием участков, не подлежащих реконструкции, а также мест присоединения этих участков к реконструированному газопроводу;
решения по защите отрытых котлованов от дождевых вод;
чертежи на отрываемые котлованы с указанием их точных размеров проходящих рядом с ними подземных инженерных сооружений и коммуникаций и привязкой котлованов к постоянным ориентирам;
чертежи на узлы соединений полиэтиленовых и стальных труб, а также схемы установки и монтажа сигнализаторов загазованности;
конструктивные требования по заделке (герметизации) футляров.
В пояснительной записке ПОС разрабатываются мероприятия по обеспечению безостановочной работы предприятий, попадающих в зону реконструкции (обеспечение подъездных путей, устройства байпасов и т.д.). Условия и сроки прекращения подачи газа должны быть установлены проектом и согласованы с руководством предприятий, производственно-жилищных служб и др. заинтересованных организаций.
Приводятся мероприятия по обеспечению пожаро- и взрывобезопасности, а также контроля за безопасной концентрацией газа в местах проведения работ, разработанные в соответствии с требованиями "Правил безопасности в газовом хозяйстве Госгортехнадзора РФ".
7.10. При проработке вопроса реконструкции газопроводов следует учитывать, что рассечение реконструируемого стального газопровода на отдельные участки может привести к нарушению единой системы электрохимической защиты. Поэтому на стадии обоснования инвестиций должен быть перечень мероприятий по защите от коррозии металлических участков газопроводов, футляров и стальных вставок.
Мероприятия по защите от коррозии должны разрабатываться в соответствии с требованиями ГОСТ 9.602-89 и включать кроме общих требований указания по:
1) сохранению, ликвидации или замене установок и устройств электрозащиты и контрольно-измерительных пунктов;
2) необходимости реконструкции трасс дренажных и питающих кабелей, а также пунктов их подключения к подземным сооружениям;
3) порядку налаживания и регулировки систем электрозащиты.
Мероприятия по защите от коррозии должны быть согласованы с организациями, эксплуатирующими соседние и пересекаемые подземные вооружения.
7.11. На стадии обоснования инвестиций и при разработке проекта реконструкции следует определить необходимость одновременного проведения текущего ремонта установок электрохимической защиты, попадающих в зону реконструкции, включающего:
техническое обслуживание установок электрозащиты;
окраску шкафов и других конструктивных элементов;
ремонт токоведущих линий;
устранение неисправностей электрического оборудования и защитных заземлений.
7.12. Состав и детализация проектов производства работ устанавливаются строительной организацией, исходя из протяженности и степени сложности реконструкции. В пояснительной записке ППР определяются сроки выполнения работ, потребность в рабочей силе, арматуре, деталях, материалах и пр.
Строительный генеральный план с указанием схем движения транспорта, мест расположения и ограждения котлованов и сужения автодорог должен быть согласован с местными органами ГАИ. На генеральном плане указываются места расположения временных дорожных указателей.
При разработке ППР определяются последовательность и сроки выполнения всех технологических операций, а при необходимости оставляются технологические карты на выполнение отдельных видов работ.
8.1. Работы по строительству газопроводов из полиэтиленовых труб могут осуществлять организации (фирмы), имеющие разрешение (лицензии) органов Госгортехнадзора России на выполнение этого вида деятельности.
8.2. На строительстве трубопроводов используют следующие организационные схемы выполнения монтажных работ:
трассовую, при которой отдельные трубы доставляются непосредственно на трассу, раскладываются вдоль оси трубопровода, стыкуются и свариваются в нитку (рис. 13);
базовую, при которой трубы сваривают в двух- или трехтрубные секции на трубосварочной базе и вывозят на трассу, где производят их сварку в нитку;
стендовую, при которой одиночные трубы сваривают на трассе в длинномерные плети способом протягивания;
индустриальную, при которой на трассу доставляются длинномерные трубы в бухтах, где их разматывают и сваривают между собой.
Сварку полиэтиленовых труб следует выполнять только на оборудовании, допущенном (имеющем разрешение) к применению Госгортехнадзором России.
8.3. При сооружении трубопроводов в экстремальных природно-климатических условиях в проекте производства работ должны предусматриваться специальные мероприятия, обеспечивающие возможность осуществления сварочных процессов и операций в пределах допустимых температур (см. пп. 10.5; 11.1.2; 11.2.3; 15.1).
Рис. 13. Схемы сварки трубопровода в нитку: а) из одиночных труб с использованием одного центратора (сварочной установки); б) из двухтрубных секций с использованием двух центраторов;
1 - траншея; 2 - отвал грунта; 3 - свариваемый трубопровод; 4 - центратор (сварочная установка); 5 - привариваемая труба; 6 – лежки или инвентарные опоры; 7 - трубы; 8 - устройство для механической обработки торцов труб; 9 - нагревательный инструмент; 10 - передвижная электростанция на базе автомобиля; 11 - дополнительный центратор; 12 – приваренная к трубопроводу секция; 13 - привариваемая секция; 14 - двухтрубная секция.
8.4. При выполнении строительно-монтажных работ нельзя допускать воздействий на трубы непредусмотренных технологическими схемами силовых нагрузок.
8.6. Во избежание попадания в полости трубопровода посторонних предметов, грунта и других загрязнений, открытые торцы плетей трубопровода закрываются временными инвентарными заглушками.
Весь комплекс работ по строительству трубопровода из полиэтиленовых труб для природного газа должен выполняться с соблюдением требований СНиП 3.05.02-88* "Газоснабжение".
9.1. Каждая партия труб и соединительных деталей должна быть снабжена документом (сертификатом) завода-изготовителя (или копией, заверенной владельцем сертификата), подтверждающим их соответствие требованиям технических условий. Сертификат должен содержать наименование и товарный знак предприятия, номер партии, условное обозначение продукции, объем партии (м, шт, кг), результаты испытаний или подтверждение соответствия требованиям стандарта или ТУ, дату выпуска партии.
На поверхности труб и соединительных деталей должна быть маркировка (см. п. 3.7).
9.2. При поступлении партии труб на строительные объекты необходимо произвести входной контроль качества труб и соединительных деталей, целью которого является определение пригодности данной партии для строительства газопроводов. Трубы должны быть скреплены в пакеты или в бухты.
9.3. Входной контроль должен состоять из определения: внешнего вида поверхности и размеров труб и деталей. При возникновении каких-либо сомнений в качестве поступивших на объект строительства полиэтиленовых труб рекомендуется дополнительно проводить выборочные испытания образцов с определением величины, предела текучести при растяжении и относительного удлинения при разрыве. Механические испытания должны выполняться лабораториями строительно-монтажных организаций или по договорам с испытательными центрами.
9.4. Для проведения входного контроля отбирается определенный процент в зависимости от диаметра:
de 225 мм - 2% труб или соединительных деталей от партии
de 160 и 110 мм - 1% -"-
de 63 и 40 мм - 0,5% -"-
de 32 и 20 мм - 0,25% -"-
Количество труб в любом случае должно быть не менее 5 шт.
При использовании труб в бухтах для проведения входного контроля необходимо представить отрезок трубы длиной не менее 2 м, достаточный для изготовления не менее чем 25 образцов.
9.5. По внешнему виду трубы должны иметь гладкую наружную и внутреннюю поверхности. Допускаются незначительные продольные полосы и волнистость, не выводящие толщину стенки за пределы допустимых отклонений (Приложение 6); на поверхности и по торцам труб не допускаются пузыри, а также другие отдельные дефекты по ГОСТ 24105 глубиной более 0,7 мм.
9.6. Внутренние и наружные поверхности соединительных деталей не должны иметь трещин, вздутий, подгаров, раковин, включений и других повреждений. Допускаются незначительные следы от формующего инструмента, следы механической обработки и холодных стыков, выступы от удаленных литников на присоединительных поверхностях не более 0,5 мм, а на других поверхностях - не более 3 мм.
9.7. Внешний вид поверхности труб и деталей определяют визуально без применения увеличительных приборов. Глубину дефектов определяют с помощью индикатора часового типа с ценой деления 0,01 мм.
9.8. Размеры труб и деталей (диаметры, толщины стенок) определяют при температуре (23±5)°С. Перед измерением образцы выдерживают при указанной температуре не менее 2ч.
Измерение наружного диаметра de труб проводят на пяти пробах в трех сечениях каждой пробы на расстоянии не менее 150 мм от торцов.
Измерение наружного диаметра присоединительных концов деталей проводят на каждом из концов не менее пяти деталей на расстоянии 5 мм от торцов.
Для труб и деталей диаметром 160 мм и менее величину de определяют как среднее арифметическое измерений максимального и минимального диаметров в двух взаимно перпендикулярных направлениях в одном сечении. Измерения проводят штангенциркулем ГОСТ 166430 или микрометром ГОСТ 7507-78 типов МТ и МК с погрешностью 0,1 мм.
Для труб и деталей диаметром более 160 мм значение de вычисляют по формуле:
, (38)
где: П - периметр (мм), измеренный рулеткой ГОСТ 7502-80 с погрешностью 0,5 мм;
Т - толщина ленты рулетки (мм), измеренная микрометром с погрешностью 0,01 мм.
9.9. Толщину стенки измеряют стенкомером индикаторным ГОСТ 11951, или микрометром типа МТ ГОСТ 6507-78 с погрешностью до 0,01 мм в четырех равномерно распределенных по окружности точках:
у труб - с обоих концов каждой из труб на расстоянии 10 мм от торца (не менее 5 труб);
у деталей - на каждом присоединительном конце не менее пяти деталей на расстоянии 5 мм от торца (не менее 5 деталей).
9.10. Рассчитанные средние значения dе и каждый из замеров толщины стенки не должны выходить за пределы допускаемых отклонений, регламентированных соответствующими ТУ на трубы и соединительные детали.
9.11. Предел текучести при растяжении (dрт) и относительное удлинение при разрыве (Ерр) определяют для материала труб по ГОСТ 11262-80 на образцах из соответствующего количества проб, отобранных по п. 9.4.
Для труб, поставляемых по ТУ 6-19-352-87 и ТУ 6-49-04719662-120-94, испытания проводят на образцах-лопатках типа 1 ГОСТ 11262-80, при номинальной толщине стенки труб до 6 мм, и типа 2, при номинальной толщине стенки труб свыше 6 мм.
Для труб, поставляемых по ГОСТ Р 50838-95, испытания проводят на образцах-лопатках типа 2 ГОСТ 11262-80.
Для труб наружным диаметром до 20 мм испытания возможно проводить на образцах в виде отрезка трубы длиной 160±5 мм. Для закрепления образца в испытательной машине применяют зажимы соответствующей формы, а внутрь образца с обоих торцов во избежание их смятия вставляют пробки длиной 30 мм из эластичного материала (например, из резины).
Толщина образца-лопатки принимается равной толщине стенки трубы (без устранения кривизны поверхности).
Для изготовления образцов-лопаток из отобранных для испытания труб отрезают патрубки длиной 160+5 мм, из которых штампом-просечкой вырубают или путем механической обработки (фрезерованием) вырезают образцы таким образом, чтобы их продольная ось была параллельна образующей трубы. При толщине стенки труб более 10 мм образцы-лопатки изготовляют только путем механической обработки.
Испытания производят при температуре 23±2°С на разрывных машинах, например, типа 2054-Р5, 2099-Р5, ИР5047-50 и других, обеспечивающих измерение нагрузки с погрешностью не более 1% от измеряемой величины.
Скорость перемещения зажимов, разрывной машины при испытании труб, поставляемых по ТУ 6-19-352-87, составляет 50±5,0 мм/мин для образцов с номинальной толщиной стенки менее 6 мм и 25±2,0 мм/мин – для образцов с номинальной толщиной стенки 6 мм и более.
Для труб, поставляемых по ГОСТ Р 50838-95 и ТУ 6-49-04719662-120-94, величина скорости составляет 100±10,0 мм/мин для образцов с номинальной толщиной стенки до 10 мм и 25±2,0 мм/мин для образцов с номинальной толщиной стенки 10 мм и более.
9.12. За результат испытаний следует принимать:
среднее арифметическое значение предела текучести и минимальное значение относительного удлинения - для труб, поставляемых по ТУ 6-19-352-87;
минимальные значения предела текучести и относительного удлинения - для труб, поставляемых по ГОСТ Р 50838-95 и ТУ 6-49-04719662-120-94.
Предел текучести при растяжении должен быть не менее 15 МПа (152 кгс/см2) для труб из ПЭ 80 (ПСП) по ТУ 6-49-04719662-120-94 и не менее 19 МПа (193 кгс/см2) - для труб из ПЭ 63 (ПНД) по ТУ 6-19-352-87. Относительное удлинение для указанных материалов труб должно быть не менее 350%.
9.13. В случае получения неудовлетворительных результатов хотя бы по одному из показателей (внешнему виду, размерам и механическим свойствам) этот показатель контролируется повторно на удвоенном количестве образцов, взятых из той же партии. В случае вторичного получения неудовлетворительных результатов производят контрольные испытания в присутствии представителя завода-изготовителя данной партии труб (деталей).
9.14. По результатам входного контроля составляют протокол (рекомендуемая форма протокола приведена в Приложении 16), который входит в состав документации, предъявляемой приемочной комиссии при сдаче объекта в эксплуатацию.
9.15. Если истек гарантийный срок хранения труб или соединительных деталей, оговоренный в технических условиях, то заключение о пригодности труб или соединительных деталей для строительства газопроводов может быть выдано либо заводом-изготовителем, либо испытательной лабораторией, аккредитованной органами Госстандарта России, после проведения комплекса испытаний, регламентированных техническими условиями на трубы или детали.
9.16. Входной контроль труб и соединительных деталей зарубежной поставки осуществляют также по п. 9.4 с учетом требований технических условий на поставку.
10.1. Транспортирование и хранение труб и соединительных деталей осуществляют, в соответствии с требованиями технических условий на трубы и соединительные детали, а также положениями настоящего СП.
10.2. Трубы, скрепленные в пакеты, перевозятся автотранспортом, оборудованным платформами и кузовами; расстояние между увязками на пакетах - не более 3 м. Перевозка на плетевозах не допускается.
При перевозке труб автотранспортом длина свешивающихся с кузова машины или платформы концов труб не превышает 1,5 м.
10.3. Узлы трубопроводов доставляют на объекты строительства, как правило, в контейнерах, в которых они надежно закреплены. На контейнеры наносится надпись "Не бросать".
10.4. Трубы при перевозке укладывают на ровную поверхность транспортных средств, предохраняя их от соприкосновения с острыми металлическими деталями.
10.5. Транспортировка, погрузка и разгрузка труб, как правило, производятся при температуре наружного воздуха не ниже -20°C. Допускается погрузку, разгрузку и транспортировку труб в пакетах производить при температурах не ниже -40°С; при этом следует избегать резких рывков, соударений.
10.6. Трубы должны храниться в закрытом помещении или под навесом для исключения воздействия прямых солнечных лучей в горизонтальном положении в один ряд или укладываться в штабели.
Допускается хранение труб на открытых площадках сроком не более 3 месяцев.
10.7. Высота штабеля при предполагаемом сроке хранения свыше двух месяцев не должна превышать 2,0 м. При меньших сроках хранения высота штабеля должна быть не более 3,0 м для труб типа SDR 17,6 (С-ГАЗ) и не более 4,0 м - для труб SDR 11 (Т-ГАЗ).
10.8. Соединительные детали хранят в закрытых складских помещениях при температуре окружающего воздуха от -50°С до +50°С в условиях, исключающих их деформирование, попадания масел и смазок (укладывают в полиэтиленовые мешки), не ближе 1 м от нагревательных приборов.
10.9. Для предохранения штабелей труб от раскатывания крайние трубы необходимо подклинивать. С этой целью можно использовать и другие приемы или средства (упоры-ограждения, сборно-разборные стеллажи и т.п.).
10.10. Трубы при складировании укладывают в "седло" или послойно с прокладками между ярусами (при укладке пакетов). Бухты хранят уложенными в горизонтальном положении.
10.11. Гарантийный срок хранения полиэтиленовых труб определяется техническими условиями.
10.12. При выполнении подъемно-транспортных работ применяют мягкие стропы из полимерных материалов или мягкие монтажные полотенца типа ПМ.
11.0. Неразъемное соединение полиэтиленовых труб между собой и с деталями соединительными осуществляют двумя методами сварки: сваркой встык нагретым инструментом и сваркой при помощи соединительных деталей с закладными нагревателями; разъемное соединение полиэтиленовых труб между собой и полиэтиленовых труб со стальными (или арматурой) осуществляют с помощью фланцев.
11.1. Сварка встык нагретым инструментом
11.1.1. Этим методом сварки, как правило, соединяют трубы и детали с толщиной стенки по торцам более 5 мм, в частности:
трубы из ПЭ 63 (ПНД) по ГОСТ Р 508838 или ТУ 6-19-352-87 между собой и с деталями из ПНД по ТУ 6-19-359-87;
трубы из ПЭ 80 (ПСП) ПО ГОСТ Р 50838-95 ИЛИ ТУ 6-49-04719662-120-9 между собой и с деталями из ПСП (см. Приложения 7, 8).
11.1.2. Сварку труб производят при температуре окружающего воздуха от -15 до +40°С. Место сварки защищают от атмосферных осадков, пыли и песка. При сварке свободный конец трубы или плети закрывают для предотвращения сквозняков внутри свариваемых труб.
11.1.3. Детали соединительные приваривают к трубам или отрезкам труб, как правило, в заготовительных мастерских при температуре окружающего воздуха не ниже -5°С.
11.1.4. Сборку и сварку труб и деталей производят на установках или машинах, приведенных в Приложении 17 и 18.
11.1.5. Технологический процесс соединения труб и деталей сваркой встык включает (рис. 14):
подготовку труб и деталей к сварке (очистка, сборка, центровка, механическая обработка торцов, проверка совпадения торцов и зазора в стыке);
сварку стыка (оплавление, нагрев торцов, удаление нагретого инструмента, осадка стыка, охлаждение соединения).
Рис. 14. Последовательность процесса сборки и сварки встык труб из полиэтилена:
а - центровка и закрепление в зажимах сварочной машины концов свариваемых труб; б - механическая обработка торцов труб с помощью торцовки 1; в - проверка точности совпадения торцов по величине зазора "С"; г - оплавление и нагрев свариваемых поверхностей нагретым инструментом 2; д - осадка стыка до образования сварного соединения (в сечении 1 даны основные геометрические размеры соединения встык, регламентированные п. 11.1.8)
11.1.6. Перед сборкой и сваркой труб, а также соединительных деталей тщательно очищают их полости от грунта, снега, льда, камней и других посторонних предметов.
Концы труб и присоединительные части деталей очищают от всех загрязнений на расстояние не менее 50 мм от торцов.
Очистку концов труб и деталей от пыли и песка производят сухими или увлажненными концами (ветошью) с дальнейшей протиркой насухо. Если концы труб или деталей окажутся загрязненными смазкой, маслом или какими-либо другими жирами, их обезжиривают с помощью спирта, уайт-спирта, ацетона.
Концы труб, сдеформированные или имеющие глубокие (более 4-5 мм) забоины, обрезают.
11.1.7. Сборку, свариваемых труб и деталей, включающую установку, центровку и закрепление свариваемых концов, производят в зажимах центратора установки для сварки.
Концы труб и деталей центруют по наружной поверхности таким образом, чтобы максимальная величина смещения наружных кромок не превышала 10% номинальной толщины стенки свариваемых труб. Подгонку труб при центровке осуществляют, поворотом одной или обеих труб вокруг их оси, установкой опор под трубы на некотором расстоянии, использованием прокладок.
При разнице в толщине стенок свариваемых труб или деталей свыше, 15% от номинальной толщины стенки или более 5 мм на трубе (детали), имеющей большую толщину, делают скос под углом 15±3° к оси трубы до толщины стенки тонкой трубы (детали).
При сварке встык вылет концов труб из зажимов центраторов обычно составляет 15-30 мм, а привариваемых деталей - не менее 5 мм.
11.1.8. Закрепленные и сцентрированные концы труб и деталей перед сваркой подвергают механической обработке - торцеванию с целью выравнивания свариваемых поверхностей непосредственно в сварочной установке.
После механической обработки загрязнение поверхности торцов не допускается. Удаление стружки изнутри трубы или детали производят с помощью кисти, а снятие заусенцев с острых кромок торца - с помощью ножа.
После обработки еще раз проверяют центровку и наличие зазоров в стыке. Между торцами, приведенными в соприкосновение, не должно быть зазоров, превышающих:
0,3 мм - для труб диаметром до 110 мм;
0,5 мм - для труб диаметром свыше 110 до 225 мм включительно.
Зазор измеряют лепестковым щупом (ГОСТ 882-75) с погрешностью 0,05 мм.
11.1.9. Сварка встык нагретым инструментом заключается в нагревании свариваемых торцов труб или деталей до вязкотекучего состояния полиэтилена при непосредственном контакте с нагретым инструментом и последующем соединении торцов под давлением осадки после удаления инструмента.
11.1.10. Основными параметрами процесса сварки встык являются:
температура нагретого инструмента ТН;
продолжительность оплавления tоп и нагрева tн;
давление нагретого инструмента на торцы при оплавлении Роп и нагрева Рн;
продолжительность технологической паузы между окончанием нагрева и началом осадки tп;
давление на торцы при осадке Рос;
время охлаждения сваренного стыка под давлением осадки tохл.
11.1.11. Изменение величины параметров во времени в процессе сварки производят по циклограмме, рис. 15.
11.1.12. Температуру нагретого инструмента выбирают по табл. 8. в зависимости от типа нагревателя и материала труб (ПЭ 63 или ПЭ 80).
Таблица 8
Температура нагретого инструмента (ТН, °С)
|
№ п/п |
Тип нагревателя* |
Для труб из полиэтилена |
|
|
ПЭ 63 (ПНД) |
ПЭ 80 (ПСП) |
||
|
1 |
2 |
3 |
4 |
|
1. |
Теплогенератор электрический с непрерывным автоматическим поддержанием заданной температуры, с антиадгезионным покрытием (ТГ) |
230+10 |
220±10 |
|
2. |
Теплоаккумулятор с периодическим нагревом перед сваркой на газовых горелках инфракрасного из лучения, со съемным антиадгезионным покрытием (ТА) |
250+10 |
230+10 |
|
* При выборе сварочного оборудования предпочтение следует отдавать установкам с нагревательным инструментом типа "Теплогенератор" с электрическим питанием. |
|||
При сварке в условиях повышенных (выше плюс 30°С) или пониженных (ниже минус 5°С) температур окружающего воздуха температуры, приведенные для ТА в табл. 8, следует соответственно понизить или о повысить на 10°С.
11.1.13. Оплавление и нагрев торцов свариваемых труб и деталей осуществляют одновременно (синхронно) посредством их контакта с рабочими поверхностями нагретого инструмента.
Оплавление торцов ведут при давлении Роп=0,15+0,05 МПа (1,5+0,5 кгс/см2) в течение времени tоп, достаточного для образования по всему периметру контактирующих с нагревателем торцов труб валиков расплавленного материала (первичного грата) высотой до 1,0 мм при толщине стенки труб от 5 до 10 мм; 1,5 мм - от 10 до 15 мм; 2,0 мм - от 15 до 23 мм.
После появления первичного грата давление снижают до РН=0,02±0,01 МПа (0,2±0,1 кгс/см2) и торцы нагревают в течение времени tН, которое в зависимости от сортамента (толщины стенки) труб и деталей, температуры окружающего воздуха То и типа нагревателя (ТГ – теплогенератор, ТА – теплоаккумулятор) выбирают по табл. 9.
Допускается давление РН снижать вплоть до нуля при сохранении постоянства контакта торцов труб (деталей) с нагретым инструментом.
11.1.14. Продолжительность технологической паузы, необходимой для удаления нагретого инструмента, выдерживают как можно короткой, но не более 3 с для труб dе 63 мм, 4 с - для труб dе 110 и 160 мм; 5 с - для труб dе 225 мм.
Рис. 15. Циклограмма процесса сварки встык нагретым инструментом труб из полиэтилена:
а) диаграмма изменения во времени t давления на торцах Р и температуры нагретого инструмента ТН;
б) последовательность протекания процесса сварки: 1 - оплавление торцов, 2 - нагрев концов труб, 3 - вывод нагретого инструмента (технологическая пауза), 4, 5 - осадка и охлаждение стыка.
Время нагрева торцов труб (tН, с) из ПДН и ПСП
|
Сортамент свариваемых труб |
Температура окружающего воздуха (То, °С) и тип нагревателей (ТГ, ТА) |
||||||
|
от минус 15 до 0 |
от 0 до плюс 20 |
от плюс 20 до плюс 40 |
|||||
|
ТУ 6-19-352-87 |
ТУ 6-49-04719662-120-94 |
ТГ |
ТА |
ТГ |
ТА |
ТГ |
ТА |
|
ПНД 63Т ГАЗ |
ПСП ГАЗ SDR11 63Х5,8 |
50-60 |
50-60 |
45-50 |
45-50 |
40-45 |
40-45 |
|
ПНД 110С ГАЗ |
ПСП ГАЗ SDR17,6 110Х6,3 |
55-65 |
55-65 |
50-55 |
50-55 |
45-50 |
45-50 |
|
ПНД 110Т ГАЗ |
ПСП ГАЗ SDR11 110Х10,0 |
105-115 |
80-95 |
95-105 |
70-80 |
90-95 |
65-75 |
|
ПНД 160С ГАЗ |
ПСП ГАЗ. SDR17,6 160Х9,1 |
90-105 |
75-90 |
85-90 |
65-75 |
80-85 |
60-70 |
|
ПНД 160Т ГАЗ |
ПСП ГАЗ SDR11 160Х14,6 |
140-155 |
120-135 |
125-140 |
110-125 |
115-125 |
100-115 |
|
ПНД 250 ГАЗ |
ПСП ГАЗ SDR17,6 225Х12,8 |
130-145 |
115-130 |
120-130 |
105-120 |
110-120 |
95-110 |
|
ПНД 225T ГАЗ |
ПСП ГАЗ SDR11 225Х20,5 |
180-200 |
160-180 |
165-180 |
150-165 |
150-165 |
140-155 |
Время нарастания давления осадки (tд, с) для труб из ПНД и ПСП
|
Сортамент свариваемых труб |
Время tд, с |
|
|
ТУ 6-19-352-87 |
ТУ 6-49-04719662-120-94 |
|
|
ПНД 63Т ГАЗ |
ПСП ГАЗ SDR11 63Х5,8 |
3-6 |
|
ПНД 110С ГАЗ |
ПСП ГАЗ SDR17,6 110Х6,3 |
3-7 |
|
ПНД 110Т ГАЗ |
ПСП ГАЗ SDR11 110Х10,0 |
4-8 |
|
ПНД 160С ГАЗ |
ПСП ГАЗ. SDR17,6 160Х9,1 |
4-8 |
|
ПНД 160Т ГАЗ |
ПСП ГАЗ SDR11 160Х14,6 |
5-10 |
|
ПНД 225С ГАЗ |
ПСП ГАЗ SDR17,6 225Х12,8 |
5-10 |
|
ПНД 225Т ГАЗ |
ПСП ГАЗ SDR11 225Х20,5 |
8-14 |
11.1.15. После удаления нагретого инструмента торцы труб и деталей сводят и производят осадку стыка при давлении Рос=0,15+0,05 МПа (1,5+0,5 кгс/см2). Осадку стыка осуществляют плавным увеличением давления до заданного уровня.
Время нарастания давления осадки tд принимается по таблице 10.
11.1.16. Охлаждение стыка производят под давлением осадки в течение времени tохл, величина которого принимается по табл. 11 в зависимости от сортамента (толщины стенки) свариваемых труб и деталей и температуры окружающего воздуха То.
11.1.17. Для повышения точности поддержания заданных давлений (Роп, Рн, Рос) в процессе сварки учитывают потери на трение движущихся частей сварочной установки и перемещаемой при сварке трубы (секции). Для чего перед сваркой каждого стыка производят замер усилия при холостом ходе подвижного зажима центратора установки с закрепленной в нем трубой (секцией), которое суммируют с усилием, необходимым для создания заданных давлений (Роп, Рн, Рос).
11.1.18. При сварке нагретым инструментом рабочие поверхности нагревателя, как правило, должны быть покрыты антиадгезионным слоем из лакоткани или эмульсии на основе фторопласта (Ф-4Д).
11.1.19. маркировку сварных стыков производят сразу же после окончания операции осадки в процессе охлаждения стыка в зажимах центратора сварочной установки. Маркировка (шифр или номер) ставится сварщиком клеймом на горячем расплаве грата в двух диаметральных точках.
для маркировки стыков рекомендуется использовать клейма (шифр) типа ПУ-6 или ПУ-8 ГОСТ 2930-63.
Время охлаждения стыка (tохл, мин, не менее) труб из ПНД и ПСП
|
Сортамент свариваемых труб (деталей) |
Температура окружающего воздуха (То, °С) |
|||
|
ТУ 6-19-352-87 |
ТУ 6-49-04719662-120-94 |
от минус 15 до 0 |
от 0 до плюс 20 |
от плюс 20 до плюс 40 |
|
ПНД 63Т ГАЗ |
ПСП ГАЗ SDR11 63Х5,8 |
4 |
5 |
6 |
|
ПНД 110С ГАЗ |
ПСП ГАЗ SDR17,6 110Х6,3 |
4 |
5 |
6 |
|
ПНД 110Т ГАЗ |
ПСП ГАЗ SDR11 110Х10,0 |
6 |
7 |
9 |
|
ПНД 160С ГАЗ |
ПСП ГАЗ. SDR17,6 160Х9,1 |
5 |
7 |
8 |
|
ПНД 160Т ГАЗ |
ПСП ГАЗ SDR11 160Х14,6 |
9 |
10 |
12 |
|
ПНД 250 ГАЗ |
ПСП ГАЗ SDR17,6 225Х12,8 |
8 |
9 |
11 |
|
ПНД 225T ГАЗ |
ПСП ГАЗ SDR11 225Х20,5 |
12 |
14 |
17 |
11.2. Сварка при помощи соединительных деталей с закладными нагревателями.
11.2.1. Этот метод сварки применяют для соединения труб из ПСП диаметром от 20 до 225 мм, а также для приварки к трубопроводу седловых отводов.
11.2.2. Сварку с помощью муфт с закладными нагревателями производят в случаях:
соединения длинномерных труб (плетей) при прокладке новых газопроводов или восстановления ветхих стальных газопроводов методом протяжки в них полиэтиленовых труб;
соединения труб с толщиной стенки менее 5 мм;
ремонта газопроводов в стесненных условиях.
11.2.3. Сварку полиэтиленовых газопроводов с применением соединительных деталей с закладными нагревателями производят при температуре окружающего воздуха не ниже -50 и не выше +35°С. В случаях необходимости проведения сварки при других температурах работы выполняют в укрытиях (палатки, шатры и т.п.).
Место сварки защищают от воздействия влаги, песка, пыли и т.п.
11.2.4. Технологический процесс соединения труб с помощью муфт с закладными нагревателями включает (рис. 16):
подготовку концов труб (очистка от загрязнений, разметка, механическая обработка - циклевка сварных поверхностей и обезжиривание их);
сборку стыка (установка и закрепление концов свариваемых труб в зажимах центрирующего приспособления с одновременной посадкой муфты, подключение к муфте сварочного аппарата);
сварку (задание программы процесса сварки, пуск процесса сварки, нагрев, охлаждение соединения).
Рис. 16. Соединение труб муфтой с закладным нагревателем:
а - схема подготовки соединяемых элементов; б, в, г - схемы сборки стыка; д - собранный под сварку стык; 1 - труба, 2 - метка посадки муфты и механической обработки поверхности трубы, 3 - муфта, 4 - закладной нагреватель, 5 - клеммы токоподвода, 6 - приспособление для сборки, 7 - токоподводящие провода сварочного аппарата.
11.2.5. Очистку концов труб от загрязнений производят как указано в п. 11.1.6 настоящего СП. Длина очищаемых концов труб должна быть не менее 1,5 длины применяемых для сварки муфт.
Перед механической обработкой на концы свариваемых труб на длину 1/2 длины муфты наносят метки глубины посадки муфты для обозначения зоны обработки.
Механическая обработка концов труб заключается в снятии с поверхности размеченного конца трубы слоя толщиной 0,1-0,2 мм с помощью специальной зачистной оправки или ручной или механизированной цикли, а также снятии фасок для удаления заусенцев.
Свариваемые поверхности труб после циклевки и муфты тщательно обезжиривают путем протирки салфеткой из хлопчатобумажной ткани или впитывающей бумаги, смоченной в спирте, уайт-спирите, ацетоне, или в других специальных рекомендованных составах.
Муфты с закладными нагревателями, поставляемые изготовителем в индивидуальной герметичной упаковке, вскрываемой непосредственно перед сборкой, обезжириванию не подвергают.
Механическую обработку и протирку труб и деталей производят непосредственно перед сборкой и сваркой.
11.2.6. Сборка стыка заключается в посадке муфты на концы свариваемых труб с установкой по ранее нанесенным меткам или по упору сборочного приспособления. Рекомендуется для сборки стыков использовать приспособление (рис. 16 б-г), которое позволяет установить, сцентрировать и закрепить концы свариваемых труб с одновременной посадкой муфты.
Процесс сборки включает:
надевание муфты на конец первой трубы до совмещения торцов муфты и трубы, закрепление, конца трубы в зажиме приспособления (рис. 16 б);
установку в упор в торец первой трубы и закрепление конца второй трубы в зажиме приспособления (рис. 16 в);
надвижение муфты на конец второй трубы на 1/2 длины (муфты до упора в зажим приспособления (рис. 16 г) или до метки, нанесенной на трубу;
подключение к клеммам муфты токоподводящих проводов от сварочного аппарата (рис. 16 д).
При сборке и сварке труб муфтами с закладными нагревателями без применения приспособления стыкуемые трубы должны быть выложены на подкладки, обеспечивающие их соосность и неподвижность в процессе сварки. При этом трубы должны быть собраны вплотную (торец в торец), а муфты установлены по меткам.
Если свариваемые концы труб имеют, повышенную овальность (более 1,5% от dе), то перед сборкой стыка для придания им цилиндрической формы используют инвентарные калибрующие зажимы, которые устанавливают на трубы на удалении 15-30 мм от меток.
Во избежание повреждения закладных нагревателей (проволочных электроспиралей) надевание муфты на конец трубы или введение конца трубы в муфту производят с осторожностью без перекосов и, проворачивания, без больших усилий.
Собранные трубы укладывают прямолинейно без изгиба и провисания; клеммы токоподвода муфты, располагают со свободным доступом.
11.2.7. Сварка при помощи деталей с закладными нагревателями заключается в расплавлении полиэтилена на соединяемых поверхностях муфты (седлового отвода) и труб за счет тепла, выделяемого при протекании электрического тока по заложенным в муфту электрическим спиралям, и последующем естественном охлаждении соединения.
Параметры режимов сварки устанавливают на сварочном аппарате в зависимости от сортамента муфты или считывают со штрихового кода с муфты или магнитной карточки при помощи датчика, что зависит от вида используемых муфт и сварочных аппаратов.
После включения аппарата процесс сварки проходит в автоматическом режиме.
После завершения нагрева трубное соединение можно перемещать не ранее, чем через 10 минут охлаждения.
11.2.8. Приварку к трубам седловых отводов производят в следующей последовательности:
размечают место приварки отвода на трубе;
поверхность трубы в месте, приварки отвода обрабатывают (зачищают) с помощью цикли, а затем обезжиривают, как указано в п. 11.2.5;
привариваемую поверхность отвода, если он поставляется изготовителем в герметичной индивидуальной упаковке, вскрываемой непосредственно перед сборкой, обезжириванию не подвергают;
отвод устанавливают на трубу и механически прикрепляют с помощью специальных зажимов (рис. 17);
если труба в зоне приварки отвода имеет повышенную овальность (более 1,5% от dе), то перед установкой отвода трубе придают правильную геометрическую форму с помощью калибрующих зажимов, укрепляемых на трубе на расстоянии 15-30 мм от меток (зажимы снимают только после сварки и охлаждения соединения);
подключают к контактным клеммам токоподвода сварочные провода;
производят сварку (см п. 11.2.7);
после охлаждения через патрубок приваренного отвода производят сверловку (фрезерование) стенки трубы для соединения внутренних полостей отвода и трубы.
Рис. 17. Соединение отводов седловых с закладными нагревателями с трубой:
а - отвод с седловым нагревателем, б - отвод с кольцевым нагревателем, 1 - труба, 2 – метки посадки отводов и механической обработки поверхности трубы, 3 - отвод, 4 - закладной нагреватель, 5 - полухомут, 6 - винты крепления, F - усилие прижатия отвода при сборке и сварке.
11.2.9. Для выполнения сварки деталей с закладными нагревателями должны использоваться соответствующие им сварочные аппараты* (Приложение 18).
_____________
* В связи с отсутствием в настоящее время выпуска отечественных фитингов с закладными нагревателями и соответствующих им марочных аппаратов в Приложении 23 даны аппараты зарубежного производства.
11.3. Технология соединения полиэтиленовых труб со стальными
11.3.1. Втулки под фланцы и трубы из полиэтилена соединяют между собой сваркой встык нагретым инструментом или при помощи муфт с закладными нагревателями.
11.3.2. При сварке втулок под фланцы с полиэтиленовыми трубами применяют сварочные устройства, оснащенные приспособлениями для центровки и закрепления втулок.
11.3.3. Рекомендуется сборку и сварку втулок под фланцы с трубами производить в условиях мастерских. При этом втулку приваривают к патрубку длиной 0,8-1,0 м (рис. 18).
11.3.4. Перед приваркой готового узла (втулка-патрубок) или отдельной втулки под фланец к трубе на замыкающем участке газопровода следует обязательно предварительно надеть на трубу накидной фланец.
Рис. 18. Фланцевые соединения:
а - полиэтиленовых труб со стальными трубами, арматурой; б - полиэтиленовых труб между собой; 1 - фланец стальной накидной; 2 - втулка под фланец из полиэтилена; 3 - труба из полиэтилена; 4 - фланец стальной трубы, арматуры.
11.3.5. При сборке фланцевых соединений затяжку болтов производят поочередно, завинчивая противоположно расположенные гайки тарированным или динамометрическим ключом с усилием, регламентированным проектом.
Гайки болтов располагают на одной стороне фланцевого соединения.
11.3.6. Неразъемные соединения полиэтиленовых труб со стальными осуществляют с помощью переходников "полиэтилен-сталь", которые изготовляют в заводских условиях или в условиях трубозаготовительных мастерских по технической документации, утвержденной в установленном порядке.
11.3.7. Переходники "полиэтилен-сталь" (см. п. 4.20 Настоящего СП) могут быть изготовлены* методом горячего формования из полиэтиленовых труб в сочетании со стальными трубами с образованием раструбных соединений обычного типа (на давление газа до 0,3 МПа) и усиленного типа с упрочняющей муфтой (на давление газа до 0,6 МПа).
_____________
* Изготовление переходников "полиэтилен-сталь" может быть выполнено по документации АО "ГипроНИИгаз", г.Саратов.
Возможно изготовление переходников методом литья под давлением.
Во всех случаях поступающие на монтаж переходники должны иметь паспорт или сертификат, свидетельствующий об их качестве.
11.3.8. При вварке переходников "полиэтилен-сталь" в трубопровод вначале производят сборку и сварку труб из полиэтилена в соответствии с рекомендациями раздела 11. Затем осуществляют сборку и сварку стыка стальных труб.
Соединение стальных труб производят ручной электродуговой сваркой в соответствии с требованиями раздела 2 СНиП 3.05.02-88.
При подгонке стальных труб в захлесте газовую резку, шлифовку кромки следует производить на конце стального трубопровода, а не стального патрубка переходника.
В процессе подгонки и сборки стыка, постановки прихваток и последующей электродуговой сварки полиэтиленовый патрубок должен быть защищен от брызг металла и шлака.
При электродуговой сварке стыка зона раструбного перехода "полиэтилен-сталь" не должна нагреваться более 50°С.
Контроль качества сварки стыка стальных труб должен осуществляться в соответствии с требованиями раздела 2 СНиП 3.05.02-88.
11.4. Вварка трубной вставки ("катушки") в трубопровод, уложенный в траншею.
11.4.1. В траншее трубные вставки вваривают в следующих случаях:
при замыкании участков строящихся трубопроводов;
при нарушении целостности трубопровода вследствие механических повреждений строительной техникой, грунтовой засыпкой, балластировкой, разрывов по сварным стыкам или телу трубы в процессе испытаний.
11.4.2. Трубные вставки вваривают сваркой встык нагретым инструментом или при помощи муфт с закладными нагревателями. Минимальная длина вставки - 500 мм.
11.4.3. При вварке трубной вставки сваркой нагретым инструментом работы выполняют в следующем порядке:
определяют местонахождение повреждения или дефекта трубопровода;
освобождают от грунтовой (песчаной) присыпки участок трубопровода определенной длины;
уширяют траншею в зоне производства работ и делают приямок для размещения сварочной установки;
очищают, размечают и вырезают поврежденный участок;
от цельной трубы отрезают вставку требуемого размера;
приваривают вставку к первому (с меньшей длиной освобождения) концу трубопровода;
приваривают второй конец трубопровода (с большой длиной освобождения) к вставке с одновременным упругим изгибом трубопровода методом подъема для обеспечения осевого перемещения конца, что необходимо при сварке встык нагретым инструментом.
11.4.4. Освобождение трубопровода от грунтовой присыпки и вварку производят согласно схемы рис. 19.
Общая длина освобождения трубопровода зависит от длины ввариваемой вставки - lв, диаметра свариваемых труб dе, температуры окружающего воздуха То, длины сварочной установки и определяется как сумма:
S = lв + 2х + 2, м
где: 2х - длина освобождения "подвижного" конца трубопровода, определяемая по табл. 12;
2 - слагаемое (в метрах), учитывающее требуемую для закрепления в зажимах сварочной установки длину горизонтальных участков концов трубопровода.
11.4.5. Длина трубной вставки lв должна быть не менее 500 мм и больше длины рассечки трубопровода lв (рис. 19) для труб диаметром: 63 мм - не менее, чем на 10 мм; 110 мм - на 14 мм; 160 мм - на 16 мм; 225 мм - на 20 мм.
11.4.6. Величина требуемого для сварки встык нагретым инструментом осевого перемещения конца трубопровода f (рис. 19) составляет для труб диаметром: 63-110 мм - 50 мм; 160-225 мм включительно - 80 мм.
11.4.7. Длину освобождения трубопровода 2х для труб диаметром 63-225 мм при различных температурах окружающего воздуха и высоту подъема у, требуемую для создания перемещения конца трубопровода, следует принимать по табл. 12.
Рис. 19. Схема освобождения трубопровода от грунтовой присыпки по длине и вварки трубной вставки встык:
а) врезка вставки; 1 - траншея; 2 - неподвижный конец трубопровода; 3 - приямок; 4 - вставка; 5 - сварочная установка; 6 - подвижный конец трубопровода.
11.4.8. Вырезку поврежденного участка трубопровода и отрезку трубной вставки осуществляют по разметке с помощью ручной ножовки, механических труборезов роликового или гильотинного типа и др.
11.4.9. При выполнении сварочных работ должны быть соблюдены требования раздела 11.1 настоящего СП.
При сварке замыкающего стыка в процессе выполнения операций обработки торцов, оплавления и осадки, подъем и опускание изогнутого конца трубопровода должны быть синхронизированы с перемещением подвижной головки сварочной установки.
11.4.10. При вварке трубной вставки при помощи муфт с закладными нагревателями общая последовательность работ на стадии подготовки соответствует п. 11.2.4 настоящего СП.
Освобождение трубопровода от грунтовой присыпки и вварку трубной вставки производят по схемам рис. 20 а, б, в.
11.4.11. Освобождение трубопровода от грунтовой присыпки производят на длине, определяемой суммой длин ввариваемой вставки lв и освобождения концов трубопровода l+l (рис. 20 а).
При вварке вставки с помощью муфт ее длина lв должна быть равна длине рассечки трубопровода lв, но не менее 500 мм.
Длина освобождения конца трубопровода l, зависящая от длины муфты (диаметра трубы) и длины приспособления для сборки, ориентировочно составляет для труб диаметром:
до 63 мм - 0,2 м;
63-110 мм - 0,5 м;
160-225 мм - 1,0 м.
|
Диаметр трубы, мм de |
Температура окружающего воздуха То (°С) |
|||||||||||||||
|
-15 |
-10 |
-5 |
0 |
+10 |
+20 |
+30 |
+40 |
|||||||||
|
2х |
у |
2х |
у |
2х |
у |
2х |
у |
2х |
у |
2х |
у |
2х |
у |
2х |
у |
|
|
.63 |
18 |
1,0 |
18 |
0,9 |
18 |
0,9 |
17 |
0,9 |
16 |
0,9 |
14 |
0,8 |
13 |
0,8 |
11 |
0,8 |
|
110 |
25 |
1,1 |
24 |
1,1 |
24 |
1,1 |
23 |
1,1 |
21 |
1,0 |
19 |
1,0 |
17 |
0,9 |
15 |
0,9 |
|
160 |
33 |
1,6 |
32 |
1,6 |
32 |
1,6 |
31 |
1,6 |
28 |
1,5 |
25 |
1,4 |
23 |
1,4 |
20 |
1,3 |
|
225 |
40 |
1,8 |
39 |
1,8 |
39 |
1,7 |
38 |
1,7 |
34 |
1,7 |
30 |
1,6 |
28 |
1,5 |
25 |
1,4 |
Рис. 20. Схемы освобождения трубопровода в траншее от грунтовой присыпки (а) и последовательности вварки трубной вставки с применением муфт с закладными нагревателями (б, в):
1 - концы трубопровода, 2 - трубная вставка, 3 - муфты, 4 - приспособление для сборки стыков, 5 - метки установки муфт, - длина освобождения концов трубопровода, в - длина вставки.
11.4.12. Вырезку поврежденного участка трубопровода и отрезку трубной вставки производят в соответствии с п. 11.4.8.
11.4.13. Подготовку концов трубопровода и муфт, их сборку и сварку производят, как указано в пп. 11.2.4-11.2.7 настоящего СП.
11.4.14. Установку трубной вставки и муфт в рассечку трубопровода и сварку производят в следующей последовательности (рис. 20 б, в):
на подготовленные к оборке концы трубопровода надевают муфты;
под один из концов трубопровода с муфтой подводят приспособление для сборки, в нем закрепляют конец трубопровода;
в рассечку трубопровода вводят трубную вставку, один конец которой закрепляют в зажиме приспособления;
на оба конца трубной вставки надвигают муфты с установкой их по меткам или по упору (в приспособлении);
к муфте установленной в приспособлении, подключают сварочный аппарат и производят сварку;
после охлаждения первого соединения приспособление устанавливают на второй стык и производят сварку.
11.4.15. Допускается при наличии двух комплектов оснастки (приспособлений и сварочных аппаратов) производить сборку и сварку одновременно двух соединений трубной вставки.
12.1. К производству сварочно-монтажных работ при строительстве полиэтиленовых газопроводов допускаются сварщики, аттестованные:
при сварке встык нагретым инструментом - в соответствии с "Временным порядком аттестации сварщиков полиэтиленовых газопроводов", изложенным в Приложении 2 "Правил безопасности в газовом хозяйстве";
при сварке деталями с закладными нагревателями - в соответствии с дополнением к "Временному порядку аттестации сварщиков полиэтиленовых газопроводов", разработанному с учетом зарубежного опыта и согласованному с Госгортехнадзором России.
12.2. Независимо от наличия удостоверения на право производства работ сварщик должен сварить, в условиях близких к производственным допускные (пробные) стыки (соединения) в случаях:
если сварщик впервые приступает к сварке газопровода или имел перерыв в работе по сварке более 1 месяца;
если изменился материал или сортамент труб (деталей);
если применен новый тип сварочного оборудования.
12.3. Допускные стыки должны изготавливаться из отрезков полиэтиленовых труб длиной не менее 300 мм, сваренных между собой при помощи муфт с закладными нагревателями или нагретым инструментом встык. Количество допускных стыков должно составлять не менее 3 штук.
В случае использования длинномерных труб из ПСП, имеющих на всем протяжении только отдельные муфтовые сварные соединения (как правило, не более 10 шт.), количество допускных стыков может быть уменьшено до одного.
В случае использования на строительном объекте седловых отводов с закладными нагревателями необходимость изготовления из них допускных соединений и последующих испытаний определяется местными органами Госгортехнадзора Российской Федерации.
12.4. Допускные стыки (соединения), сваренные нагретым инструментом встык, подвергают:
а) визуальному контролю (внешнему осмотру) и измерительному контролю геометрических параметров в соответствии с п. 13.5;
б) механическим испытаниям по п. 13.12.
Если в результате визуального и измерительного контроля стыки не удовлетворяют установленным требованиям, то сварщик выполняет сварку повторно. Если при повторном контроле получены неудовлетворительные результаты хотя бы по одному стыку, то сварщик признается не выдержавшим испытания.
Отбор образцов для механических испытаний осуществляют после того, как получены положительные результаты визуального контроля по п. 13.6.
12.5. Для оценки качества сварных соединений, выполненных при помощи муфт и отводов с закладными нагревателями используются следующие методы.
Муфтовые соединения испытываются на сплющивание, а седловые отводы - на отдир (отщепление).
Для испытания муфтовых соединений на сплющивание подготавливаются патрубки с расположенными по центру муфтами. Из каждого патрубка изготавливаются образцы-сегменты путем разрезания патрубка на продольные полосы. Длина патрубков и количество образцов должны соответствовать данным табл. 13 и рис. 21.
Таблица 13
Параметры образцов для испытаний
|
Номинальный диаметр труб, dе мм |
Длина свободной части образца, L, мм, не менее |
Количество образцов из одного патрубка, шт |
Угол сегмента, град |
|
20-75 |
5dе |
2 |
180 |
|
90-125 |
2dе |
4 |
90 |
|
140-225 |
1dе |
8 |
45 |
Изготовление образцов должно производиться не ранее, чем через 6 часов после сварки. Испытания образцов должны производиться после их кондиционирования при (23±2)°С в течение не менее 6 часов. Испытания образцов заключаются в сжатии каждого сегмента по схеме, представленной на рис. 22 с последующим измерением длины трещины в зоне сварки и определением типа разрушения (хрупкий или пластичный).
Сжатие производится до величины, равной двойной толщине стенки трубы. После испытаний для каждого образца определяется процент декогезии Сс по формуле (39):
(39)
где: хd - максимальная длина трещины, появившейся в зоне сварки после испытания, мм;
у - длина зоны сварки в пределах одной трубы, определяемая по расстоянию между крайними витками спирали закладного нагревательного элемента.
Муфтовое соединение считается годным, если значения Сс не превышает величины, установленной техническими условиями на муфты с закладными нагревателями.
12.6. Испытание седловых отводов с закладными нагревателями на отдир производится отделением седлового отвода от полиэтиленовой трубы.
Узел сварного соединения испытывается целиком. Подготовка к испытанию заключается в установке внутрь трубного образца круглой металлической оправки, после чего производится фрезерование боковых частей седлового отвода вдоль всей длины, если седловой отвод представляет собой хомут, обхватывающий трубу по окружности.
В случае когда седловой отвод представляет собой полухомут, фрезерования боковых поверхностей не требуется.
Фрезерование седлового отвода производится не ранее, чем через 6 часов после сварки. Время между фрезерованием и испытанием узла также не должно быть менее 6 часов.
Испытание узла производится в соответствии с рис. 23.
Скорость приложения нагрузки F должна составлять 20±2 мм/мин, если другие скорости не предусмотрены соответствующим стандартом на данный вид испытаний.
Испытание производится до полного отделения седлового отвода от полиэтиленовой трубы. Во время испытания фиксируется характер разрушения.
Результаты испытаний считаются положительными, если разрушение носит вязкий характер со следами "вырыва" материала из поверхности трубы и седлового отвода на 80% площади сварки.
12.7. При неудовлетворительных результатах механических испытаний хотя бы одного стыка сварщик выполняет, сварку удвоенного количества пробных стыков.
Рис. 21. Общий вид образцов - сегментов.
Рис. 22. Схема испытания образцов на сплющивание
F-испытательная нагрузка
а - узел перед испытанием б – испытание узла
Рис. 23. Схема испытания седлового отвода на отдир.
F-испытательная нагрузка
12.8. Если при повторном контроле получены неудовлетворительные результаты хотя бы по одному из дополнительно сваренных стыков при визуальном и измерительном контроле или при механических испытаниях, то сварщик признается не выдержавшим испытания.
12.9. По результатам визуального контроля и механических испытаний допускных стуков оформляется заключение о их качестве, на основании которого сварщик допускается (не допускается) к проведению сварочных работ. Форма заключения дана в "Правилах безопасности в газовом хозяйстве" и СНиП 3.05.02-88.
Для сварных соединений с закладными нагревателями вместо таблицы результатов указывается процент декогезии (при испытании образцов муфтовых соединений на сплющивание) или процент вязкого разрушения (при испытании седловых отводов на отдир).
12.10. Каждому сварщику, допущенному к сварке, присваивается номер или шифр, который служит для регистрации работ в журнале производства работ и для маркировки (клеймения) стыков на газопроводе.
12.11. Сварщик, не выдержавший испытания, может быть допущен к повторным испытаниям только после прохождения дополнительной практики по сварке, но не ранее, чем через один месяц с момента проведения предыдущих испытаний или отстранения его от работы.
13.1. При строительстве полиэтиленовых газопроводов для обеспечения требуемого уровня качества сварки производят:
а) проверку квалификации сварщиков;
б) входной контроль качества применяемых труб и соединительных деталей;
в) технический осмотр сварочных устройств (нагревательного инструмента, сварочного центратора, торцовки, блока питания);
г) систематический операционный контроль качества сборки под сварку и режимов сварки;
д) визуальный контроль (внешний осмотр) сварных соединений и измерительный контроль геометрических параметров;
е) механические испытания сварных соединений;
ж) контроль сварных стыков соединений физическими методами.
13.2. Проверку квалификации сварщиков, а также входной контроль качества труб и соединительных деталей производят в соответствии с разделами 9 и 12 настоящего СП.
13.3. Технический осмотр сварочных устройств производят с целью обеспечения требований к сборке и сварке труб и соединительных деталей.
При техническом осмотре следует проверить:
а) выход нагревательного инструмента на заданную температуру и точность поддержания температуры (с помощью приборов для измерения температуры);
б) целостность антиадгезионного покрытия рабочих поверхностей нагревательного инструмента, а также изоляция электропроводок (визуальным осмотром);
в) работу центратора (зажимов, механизма перемещения подвижной головки, гидравлической системы или динамометра) путем зажатия концов труб, их соединения и сжатия;
г) работу устройства для механической обработки торцов труб.
Результаты проверки должны соответствовать паспортным данным на оборудование.
Технический осмотр следует производить через каждые 10 дней работы с регистрацией результатов проверки в журнале производства работ.
13.4. Операционным контролем предусматривается:
а) проверка качества подготовки концов труб и деталей под сборку и сварку;
б) контроль режимов сварки нагретым инструментом (температуры нагретого инструмента, продолжительности оплавления и технологической паузы, давления при оплавлении и осадке, продолжительности охлаждения соединения) и при помощи деталей с закладными нагревателями (напряжение питания и время сварки). Значения параметров режимов сварки должны отвечать требованиям соответствующих разделов настоящего СП.
Рабочими средствами измерений и контроля режимов сварки являются:
секундомеры или реле времени - для контроля длительности этапов процессов, сварки;
манометры, динамометры и тензометры (измерение давления в гидро- или пневмосистемах установок) - для контроля давления при оплавлении и осадке стыка;
термометры (сопротивления, термоэлектрические, дилатометрические и т.д.) с вторичными показывающими приборами - для контроля температуры нагревательного инструмента;
вольтметры - для контроля напряжения, подаваемого на контакты деталей с закладными нагревателями;
термометры жидкостные - для измерения температуры окружающей среды.
Рекомендуется для контроля и регистрации основных параметров процесса сварки сварочные установки оснащать регистрирующими приборами.
13.5. Визуальный контроль сварных соединений и измерительный контроль геометрических параметров должны производиться в 100%-ном объеме.
13.6. По внешнему виду и размерам сварные стыковые соединения полиэтиленовых труб и соединительных деталей должны удовлетворять следующим требованиям:
а) угол излома продольной оси труб в стыке или оси труб и приваренных к ним соединительных деталей не должен превышать 10°;
б) смещение кромок в стыке не должно превышать 10% от номинальной толщины стенки трубы;
в) вытесненный из стыка материал (грат) должен быть равномерно распределен по периметру стыка, оба валика грата должны быть симметричными;
г) высота валиков h1 и h2 (рис. 24 а) должна соответствовать в зависимости от толщины стенки трубы, приведенные в п. 8.8 СНиП 3.05.02-88*;
д) ширина грата b (рис. 24 б) должна быть не менее 2h (при этом за h принимается среднее значение из h и h2);
е) высота усиления сварного шва К (рис. 24 в, г) должна быть больше нуля (линия сплавления валиков располагается над образующей поверхностью трубы);
ж) поверхность грата должна быть гладкой без визуально выявленных пор и трещин, впадина между валиками грата должна быть видимой;
з) на поверхности грата в двух диаметрально противоположных точках должно быть поставлено клеймо сварщика.
13.7. Грат считается равномерно распределенным по периметру стыка, если минимальная высота валиков грата (h1 или h2), измеренная в любой точке по периметру стыка, отличается от максимальной, измеренной в любой точке, не более чем на 40%.
13.8. Местное расширение грата и уменьшение высоты валиков, обусловленные постановкой клейма, браком не считаются.
13.9. На поверхности грата допускаются отдельные механические повреждения (вмятины, срезы), возникшие при погрузочно-разгрузочных и транспортных операциях, не затрагивающие тело трубы.
13.10. Для геометрии сварного стыкового соединения и шва следует использовать: угломер (ГОСТ 5378-66*) - для измерения угла излома стыка; штангенциркуль ШЦ-1 (ГОСТ 166-80*) - для измерения смещения кромок и размеров грата; приспособление (см. рис. 24 в, г) - для оценки наличия усиления шва (допускается эту оценку делать визуально путем осмотра профиля грата).
13.11. Сварные стыки, не удовлетворяющие требованиям п. 13.6, бракуют.
Стыки, забракованные при визуальном контроле, исправлению не подлежат; они должны быть вырезаны, либо на их место должны быть вварены катушки длиной не менее 500 мм.
13.12. При сварке труб нагретым инструментом встык из строящегося газопровода должны производиться вырезка и испытание контрольных стыков по нормам СНиП 3.05.02-88.
Испытание контрольных стыков при сварке труб деталями с закладными нагревателями допускается не предусматривать.
Контрольные стыки следует вырезать в период производства работ с целью исключения вварки катушек.
13.13. Для механических испытаний из каждого контрольного стыка следует изготовить не менее пяти образцов типа П ГОСТ 11262-80 для испытания на растяжение. Толщина образца должна быть равна толщине стенки трубы t (рис. 25); его механическая обработка не производится.
У всех образцов сварной шов должен быть расположен посередине рабочей части.
13.14. Образцы следует вырезать из участков, равномерно расположенных по всему периметру сварного стыка, путем распиловки стыка на полосы вдоль образующей трубы с последующим фрезерованием полос. Допускается при толщине стенки трубы до 10 мм сварные образцы вырубать штампом-просечкой. Грат со сварного шва не снимают.
Образцы для испытаний вырезают из стыка не ранее, чем через 24 часа после сварки.
13.15. Испытание на осевое растяжение образцов сварного шва следует производить в соответствии с требованиями, приведенными в п. 9.11.
13.16. Сварные стыки полиэтиленовых газопроводов считаются выдержавшими испытания, если не менее 80% вырезанных из каждого стыкового соединения образцов имеют пластичный характер разрушения по основному материалу (вне плоскости сварки) после формирования "шейки" - типичного сужения площади поперечного сечения образца во время растяжения. Остальные образцы могут иметь вязкое разрушение во время формирования "шейки", проходящее по околошовной зоне или пересекающее плоскость сварки. Все образцы должны иметь предел текучести при растяжении не менее 19,0 МПа (193 кгс/см2) для труб из ПЭ 63 (ПНД) и 15,0 МПа (152 кгс/см2) - для труб из ПЭ 80 (ПСП).
Хрупкое разрушение образцов по плоскости сварки недопустимо.
Рис. 24. схема измерения параметров стыкового соединения:
а - высоты валиков грата h1, h2; б – ширины грата в; в, г – величины усиления К (случай "в" – брак, К<0; случай "г" – норма, К>0); 1 – приспособление для визуальной оценки К по зазору
Рис. 25. Образец для испытания сварных стыковых соединений на растяжение
13.17. При хрупком разрушении образцов хотя бы одного контрольного стыка следует произвести испытание удвоенного количества стыков, сваренных данным сварщиком на данном объекте. Если при повторной проверке вновь будет выявлен стык неудовлетворительного качества, то все стыки, сваренные этим сварщиком, бракуют.
13.18. Качество сварных соединений, выполненных сваркой встык нагретым инструментом, проверяют также физическими методами в соответствии с требованиями СНиП 3.05.02-88 по нормам, указанным в табл. 14.
Таблица 14
Нормы контроля стыков физическими методами
|
Вид газопровода |
Давление газа, МПа (кгс/см2) |
Число стыков, подлежащих контролю от общего числа стыков, сваренных каждым сварщиком на объекте, % |
|
1 |
2 |
3 |
|
Подземные газопроводы на территории городов и других населенных мест |
до 0,3 включительно (до 3 включительно) |
100 |
|
Подземные газопроводы на участках прокладки полиэтиленовых труб в футлярах по 5 м в обе стороны от них, а также на участках прохождения их в ветхих стальных газопроводах |
до 0,6 включительно (до 6 включительно) |
100 |
|
Подземные газопроводы, прокладываемые в сильно и среднепучинистых и просадочных грунтах, а также на расстоянии 4 м от общественных зданий с массовым скоплением людей и жилых зданий высотой свыше 5 этажей |
до 0,005 МПа (0,05 включительно) |
25, но не менее одного стыка |
|
Подземные газопроводы, прокладываемые вне населенных пунктов за пределами черты их перспективной застройки |
свыше 0,005 до 0,6 МПа (свыше 0,05 до 6 кгс/см2 включительно) |
20, но не менее одного стыка |
Нормы таблицы 14 в части контроля сварных стыков физическими методами не распространяется на соединения, выполненные с помощью муфт с закладными элементами.
Допускается не производить оценку стыков физическими неразрушающими методами в случае использования для сварки труб автоматизированного сварочного оборудования, осуществляющего запись технологических параметров сварки и их выдачу в протокольной форме.
13.19. Для контроля стыков может быть применен ультразвуковой метод.
13.20. Технологию контроля стыков, применяемую аппаратуру и критерия оценки качества (нормы дефектности) принимают в соответствии с инструкцией, разработанной АО "ГипроНИИгаз".
Примечание. В соответствии с письмом Минстроя России № 13/219 ультразвуковой контроль (УЗК) сварных соединений разрешено не применять до 1 января 1997г. При этом контроль качества сварных соединений должен осуществляться всеми другими методами, регламентированными СНиП 3.05.02-88*.
13.21. Забракованные стыки должны быть вырезаны, участок трубопровода сваривают вновь, либо вместо вырезанных стыков вваривают катушки.
13.22. Результаты испытаний контрольных стыков должны быть оформлены протоколом по форме 6 СНиП 3.05.02-88*.
14.1. Минимальная ширина траншеи по дну должна быть de+300 мм, а максимальные значения ширины траншеи определяются размерами рабочего органа экскаватора или балластирующих конструкций.
14.2. Дно траншеи должно быть тщательно спланировано (например, путем протаскивания клин-бабы, шар-бабы и др.) и очищено от камней, комьев грунта, корней деревьев и др.; в каменистых грунтах перед укладкой трубопровода делается подсыпка из мягкого или мелкогранулированного грунта толщиной 10 см над выступающими гребнями дна, этот грунт не должен содержать масел и других органических примесей.
14.3. В зимний период очистку трассы от снега производят непосредственно перед разработкой траншеи. Длина очищаемого участка трассы определяется в зависимости от производительности комплекса машин и должна соответствовать его выработке за одну-две смены.
14.4. Рытье траншей начинают с низовой стороны для обеспечения возможности удаления грунтовых и атмосферных вод в местах с пониженными отметками.
14.5. Траншея под трубопроводы малых диаметров (20-110 мм) в мягких грунтах может разрабатываться плужными канавокопателями.
14.6. В зимнее время траншея, как правило, в задел не разрабатывается во избежание ее заноса снегом и образования льда. Если в траншее появляется снег или лед, то их необходимо удалить. Укладывать трубопровод на лед или снег запрещается.
14.7. Засыпка траншеи с уложенным газопроводом в твердых грунтах производится в три приема: сначала мягким или мелкогранулированным грунтом засыпаются и трамбуются пазухи одновременно с обеих сторон газопровода, а затем трубопровод присыпается указанным грунтом на 0,2 м; после этого производится окончательная засыпка. При необходимости на присыпку укладывается предупреждающая лента желтого цвета или изолированный провод. На внутрипоселковых газопроводах грунт засыпается слоями и уплотняется механическими или пневматическими трамбовками.
14.8. С целью уменьшения динамического воздействия на трубопровод засыпку траншеи следует производить преимущественно многоковшовым траншеезасыпателем.
14.9. После засыпки трубопровода, проложенного на рекультивируемых землях, над газопроводом устраивают валик, высота которого должна совпадать с ожидаемой величиной осадка грунта засыпки. После засыпки газопровода минеральным грунтом на рекультивируемых землях в летнее время его уплотняют многократными проходами гусеничных тракторов. По уплотненному грунту укладывают, а затем разравнивают ранее снятый плодородный слой.
14.10. Засыпку газопровода, уложенного в мерзлых грунтах, осуществляют как в обычных условиях, при этом сначала делают присыпку газопровода талым мягким грунтом на высоту 20-25 см над образующей трубы. Дальнейшую засыпку газопровода выполняют грунтом с отвала.
14.11. При засыпке мерзлым грунтом над трубопроводом делают грунтовый валик из расчета его осадки после оттаивания.
15.1. Работы по укладке трубопроводов ведут при температуре не ниже -15°С и не выше +30°С.
При укладке трубопроводов при более низкой температуре наружного воздуха необходимо организовать их подогрев до требуемой температуры. Это условие может быть выполнено путем пропуска подогретого воздуха через подготовленный к укладке трубопровод или предварительного подогрева катушек или бухт в специальных тепляках. При этом температура воздуха не должна быть более +60°С.
15.2. При укладке трубопроводов в траншею в жаркий период для предотвращения образования остаточных напряжений в трубопроводе необходимо соблюдать условие, при котором температура трубы не была бы выше +30°С. Это условие может быть выполнено путем укладки трубопровода в наиболее холодное время суток.
15.3. Допустимые радиусы упругого изгиба при монтаже и укладке трубопровода в зависимости от температуры окружающего воздуха определяются по графику, приведенному на рис. 26.
15.4. Перед укладкой трубы подвергаются тщательному осмотру с целью обнаружения трещин, подрезов, рисок и других механических повреждений.
15.5. При прокладке трубопроводов протяженностью 1000 м и более их возможно монтировать готовыми секциями, которые изготавливают в условиях базы, затем их развозят и раскладывают вдоль трассы, где из них изготавливают плети. При небольшой длине трассы монтаж трубопровода целесообразно вести на берме из отдельных труб путем последовательного их наращивания в плеть.
Рис. 26. Зависимость отношения радиуса упругого изгиба трубопровода r к наружному диаметру трубы de от температуры окружающего воздуха Т при монтаже и укладке трубопровода.
15.6. Доставлять трубы или секции на трассу необходимо непосредственно перед производством монтажных работ, во избежание их повреждения посторонними.
Максимальное число раскладываемых по трассе труб (секций) не должно превышать сменную выработку сварочной бригады.
15.7. Укладка в траншею трубопроводов производится не ранее 30 минут после сварки последнего стыка.
15.8. Укладка трубопровода в траншею производится без резких перегибов; не допускается сбрасывание плети на дно траншеи или ее перемещение волоком по дну траншеи.
15.9. Открытые с торцов участки трубопроводов во время производства работ закрывают инвентарными заглушками.
15.10. При укладке трубопроводов в траншею выполняют мероприятия, направленные на снижение напряжений в трубах от температурных изменений в процессе эксплуатации: при температуре свыше +10°С производится укладка трубопровода "змейкой", засыпка трубопровода в наиболее холодное время суток; при температуре окружающего воздуха ниже 0°С засыпку трубопровода производят в самое теплое время суток.
15.11. В зимний период трубопровод укладывают на талый грунт. В случае промерзания дна траншей осуществляют подсыпку дна траншеи мелкогранулированным грунтом. Засыпку трубопровода смерзшимся грунтом необходимо осуществлять только после того, как трубопровод будет присыпан мелкогранулированным грунтом.
15.12. При укладке трубопроводов в скальных и каменистых грунтах и на промороженное дно траншеи для обеспечения защиты трубопровода от механических повреждений при засыпке возможно применять пенополимерные материалы (ППМ).
15.13. Нанесение пенополимерного материала на дно траншеи осуществляется с помощью автономной пеногенерирующей установки, перемещающейся вдоль траншеи и обеспечивающей подачу ППМ по гибкому рукаву. Толщина образуемого на дне траншей слоя пенополимерного материала должна составлять 200-250 мм, плотность материала - 23-25 кг/м3.
15.14. Время выдержки пенополимерного материала (технологический разрыв между нанесением ППМ и укладкой трубопровода) составляет не менее 8 часов. После укладки трубопровод, частично проседая, уплотняет пенополимерный слой, образуя корытообразную постель, предохраняющую поверхность труб от механических повреждений выступающими неровностями дна траншеи.
15.15. Для защиты от механических повреждений при протаскивают через кожух трубопровода на переходах возможно применение диэлектрических центрирующих хомутов.
15.16. В зависимости от условий производства работ и диаметра труб монтаж трубопроводов можно выполнять по различным схемам:
соединение отдельных труб в нитку на дне траншеи;
монтаж трубопровода на берме траншеи из отдельных труб в секции или плети;
монтаж трубопровода на лежках над траншеей.
При укладке трубопровода с бермы траншеи могут быть использованы два метода производства работ: непрерывный и цикличный.
15.17. Непрерывный метод укладки для газопроводов de 160-225 мм предусматривает использование двух грузоподъемных средств (трубоукладчиков), которые безостановочно перемещаются вдоль траншеи в процессе спуска укладываемой плети. В качестве грузозахватной оснастки следует применять троллейные подвески, оснащенные мягкими катками. Высота подъема трубопровода над строительной полосой должна быть в пределах 0,5-0,8 м.
Троллейные подвески могут быть подвешены либо непосредственно на трубоукладчиках, либо с помощью траверс (рис. 27).
Расстояния l1, l2, l3, обозначенные на рис. 27, определяют в зависимости от диаметра укладываемого трубопровода, исходя из данных, приведенных в табл. 15. Данная таблица составлена применительно к условиям, когда длина траверсы lт равна 6 м, а глубина траншей определена как hт=dе+1,0 м. Если глубина траншеи или высоты подъема трубопровода отличаются от принятых выше, то необходимо выполнить уточненный расчет параметров укладки.
При использовании схем "а" и "б" рекомендуется принимать меньшие из расстояний, которые входят в указанные интервалы, при использовании схемы "в" - большие.
Технологические расстояния в схемах укладки трубопроводов из полиэтиленовых труб
|
Обозначение расстояний (пролетов) |
Значения расстояний (м), в зависимости от диаметра трубопровода (мм) |
|||
|
63 и менее |
110 |
160 |
225 |
|
|
l1 |
12-15 |
15-18 |
17-20 |
20-24 |
|
l2 |
8-10 |
10-12 |
12-15 |
14-17 |
|
l3 |
20-23 |
25-28 |
30-34 |
35-40 |
Следует отметить, что толщина стенки труб не оказывает влияния на выбор этих расстояний, т.е. они должны быть одинаковы, что для труб SDR 11 (тип Т), что для труб SDR 17,6 (тип С).
Рис. 27. Схемы укладки трубопроводов с бермы траншеи с применением траверс.
а - с траверсой у головного трубоукладчика;
б - с траверсой у заднего трубоукладчика;
в - с траверсами у обоих трубоукладчиков.
15.18. Цикличный метод укладки трубопроводов может осуществляться либо способом "перехвата" (когда трубоукладчики следуют друг за другом, каждый в своей колее), либо способом "переезда" (когда последний трубоукладчик поочередно объезжает передний трубоукладчик, используя при работе под нагрузкой одну большую колею).
Количество трубоукладчиков в колонне при укладке цикличным методом должно равняться трем: два из них находятся постоянно под нагрузкой, образуя схему с параметрами, приведенными в табл. 15, а один используется для подмены других.
15.19. Укладку трубопроводов диаметром 110 мм и менее рекомендуется производить вручную с использованием ремней, пеньковых или капроновых канатов, брезентовых полотенец. Схема строповки трубопровода при этом должна быть аналогична той, что применяется при механизированной укладке.
15.20. При прокладке трубопроводов в узкой строительной полосе возможно применять на прямых участках способ монтажа трубопровода методом протягивания (рис. 28).
Для этого в начальной точке участка трассы устраивается накопительная площадка и оборудуется сварочный пост, а в конечной точке этого участка устанавливается трактор-тягач или тяговая лебедка. Затем разрабатывается траншея. Для уменьшения коэффициента трения и, следовательно, тягового усилия (что позволяет увеличить длину протягиваемой плети), а также исключения возможных механических повреждений трубопровода на дне траншеи устраивается постель (ложе) из пенополимерных материалов (ППМ), по которой перемещается трубопровод.
15.21. Трубопровод через болота и обводненные участки может укладываться способом протаскивания или сплава.
Рис. 28. Технологическая схема производства СМР методом протягивания.
1 – штабели труб; 2 – трубная плеть; 3 – кран-трубоукладчик; 4 – сварочная установка; 5 – монтажные опоры; 6 – трактор тягач.
Усилие, прилагаемое к трубопроводу во время его протягивания и протаскивания через болота, не должно превышать величин, указанных в табл. 16.
Предельно допустимые значения тяговых усилий
|
Диаметр трубопровода, мм |
Сила натяжения, кг |
|
20-25 |
80 |
|
32-40 |
140 |
|
50 |
330 |
|
63 |
500 |
|
110 |
1500 |
|
160 |
3300 |
|
225 |
6500 |
В случае превышения усилия против указанного, на промежуточном участке траншеи на плавсредствах (понтонах, настилах и т.п.) устанавливают промежуточный тяговый механизм, обеспечивающий снижение общего усилия натяжения до нормального или ниже его.
15.22. При прокладке трубопроводов под дорогами и другими препятствиями применяются общеизвестные бестраншейные методы, включающие прокол, продавливание и горизонтальное бурение.
15.23. В подготовленный стальной футляр протаскивается заранее испытанная, оснащенная центрирующими хомутами плеть с помощью лебедки. На головную часть плети надевается металлический оголовок, который крепят к тяговому тросу.
15.24. При наличии в строительной организации специального оборудования работы по укладке трубопровода могут выполняться методом бестраншейного заглубления (при диаметре труб 20-110 мм).
Кроме того, возможно использование перспективных технологий, основанных на совмещении работ по рытью траншей и укладке трубопроводов (с применением специальных трубозаглубителей).
16.1. Трубы диаметром 20-110 мм, поступающие в бухтах, имеют малый погонный вес и небольшой модуль упругости. Это позволяет совместить процессы рытья траншеи и укладку, отказавшись от укладочной колонны. Для рытья траншеи и укладки трубопровода используются специально оборудованные роторные или цепные траншейные экскаваторы, плужные канавокопатели, а также ножевые щелерезы.
16.2. Роторные и цепные экскаваторы используются в твердых и мерзлых грунтах, плужные канавокопатели и ножевые щелерезы применяются в мягких грунтах.
16.3. Укладка плетей из бухты может производиться и в заранее подготовленную траншею. При этом применяются два способа производства работ: 1) разматывание трубы, с неподвижной бухты и ее укладка в траншею протаскиванием; 2) разматывание трубы с подвижной бухты и ее укладка в траншею путем боковой надвижки.
Первый способ применяется при наличии в траншее или над ней поперечных препятствий. При этом усилия натяжения плети не должны превышать величин, указанных в табл. 16.
16.4. Из бухты в траншею могут укладываться одновременно два трубопровода; при этом разматывание труб осуществляется одновременно с 2-х бухт, установленных по обе стороны траншеи или по одну сторону.
16.5. Примерные размеры бухт приведены в табл. 17. Точные размеры устанавливаются договором (контрактом), заключенным между поставщиком труб и заказчиком.
16.6. Разматывание труб из бухт осуществляют при температуре наружного воздуха не ниже +5°С. Допускается разматывание вести и при более низких температурах, если созданы условия для подогрева труб на катушке до температуры не менее +5°С.
16.7. Перерывы в работе по укладке трубопроводов не допускаются до полной укладки плети из бухты.
Примерные размеры бухт, которые используются при поставке длинномерных полиэтиленовых труб
|
Диаметр труб, мм |
Диаметр бухты, м |
Ширина бухты, м |
Длина намотки труб, м |
|
20-25 |
1,6 |
1,1 |
1200 |
|
32-40 |
2,0 |
1,2 |
1000 |
|
63 |
2,6 |
1,2 |
700 |
|
110 |
3,1 |
1,7 |
400 |
В случае, если плеть трубопровода охладится до предельно допустимой температуры, укладку необходимо приостановить, а бухту с оставшейся трубой вновь подогреть.
Возможен вариант установки специального тепляка, подогреваемого выхлопными газами, или другими методами непосредственно на тяговый трактор укладочной машины, что обеспечит непрерывную укладку труб.
16.8. Скорость разматывания бухты - до 0,8-1,0 км/час.
16.9. Для устройства узких траншей с последующей укладкой трубопровода рекомендуется использовать малогабаритные цепные траншеекопатели, щеленарезные машины.
Для совмещения рытья узких траншей (щелей) и укладки трубопровода могут быть использованы серийные машины с необходимым дооборудованием: дреноукладчик бестраншейный МД-4, экскаваторы-дреноукладчики ЭТЦ-206, ЭТЦ-208В, ЭТЦ-252А, ЭТЦ-165, ЭТЦ-134А (Брянского завода ирригационных машин), экскаватор роторный ЭТР-134А (Московский экспериментальный механический завод).
16.10. Узкие траншеи (щели), разработанные роторными и цепными экскаваторами, щеленарезными и трубозаглубительными машинами, могут быть засыпаны с помощью специального плуга, который осуществляет процесс засыпки непрерывно в сцепе с тягачом землеройно-укладочной машины.
16.11. Ножевые щелерезы применяются для укладки трубопроводов диаметром 20-110 мм бестраншейным способом (трубозаглубление). Ножевой трубозаглубитель состоит из трактора-тягача, ножевого щелереза, кассеты (выполняющей функции устройства по формированию упругого изгиба заданного очертания в зоне укладки) и щелезасыпщика.
Эффективность данного метода укладки может быть повышена (в особенности при работе на относительно плотных грунтах) путем создания предварительной прорези в грунте (пропорки) или проведения работ по его рыхлению.
Пропорку осуществляют либо тракторным рыхлителем, либо трубозаглубителем со снятой кассетой. Эту операцию выполняют однократно или многократно в зависимости от категории грунтов. Многократная пропорка производится поочередно в прямом и обратном направлениях. На предварительной стадии работ отрывают котлован для первоначального заглубления пропорочного инструмента. Во время пропорки нож пропорщика периодически очищают от увлекаемых им за собой корней, камней и т.п.
16.12. В основные работы по трубозаглублению входят:
отрывка котлована для первоначального заглубления рабочего органа трубозаглубителя;
монтаж конической заглушки на конце трубопровода для заправки трубопровода в кассету;
заглубление и выглубление рабочего органа;
очистка рабочего органа;
укладка трубопровода;
отрывка котлована для выглубления рабочего органа.
16.13. Щель после укладки трубопровода засыпают щелезасыпщиком, прицепленным к трубозаглубителю или отдельному трактору.
16.14. В слабых грунтах трубозаглубитель работает без буксировки. При возрастании сопротивления трубозаглубления, когда тяговой силы тягача недостаточно, используют дополнители - тягачи-буксировщики. Буксировщики сцепляются в кильватерном сцепе.
Наиболее экономичным методом является буксировка с помощью тракторной лебедки. При этом трактор с лебедкой якорят либо с помощью якорной платформы, либо бульдозерного отвала.
16.15. Срезку крутых берегов на переходах с уклоном более 1:2 следует производить бульдозером в продольном направлении (по отношению к оси трубопровода) строго для прохода трубозаглубителя. Не допускается устраивать запруды, перемычки на оврагах, балках, ручьях срезанным грунтом. Переезды для трубозаглубителя, устроенные через ручьи, овраги, следует после окончания строительных работ разобрать, произвести рекультивацию всех поврежденных площадей. Земляные валки в местах установки якорей буксировщиков спланировать и рекультивировать. На поливных землях после прохода трубозаглубителей следует немедленно восстанавливать поливные борозды.
16.16. Строительство переходов трубопроводов через естественные и искусственные препятствия можно осуществлять в зависимости от условий строительства следующими способами:
непрерывной ниткой с использованием трубозаглубителя ("сквозной проход");
непрерывной ниткой с укладкой трубозаглубителем в заранее отрытую через переход траншею;
укладкой отдельной плети с бермы траншеи;
укладкой отдельной плети закрытым методом (продавливанием, проколом, горизонтальным бурением).
16.17. Сооружение перехода непрерывной ниткой с использованием трубозаглубителя ("сквозной проход") возможно в следующих условиях:
если сооружаемый трубопровод пересекает существующие коммуникации по верху; при этом следует произвести шурфовку подземной коммуникации под осью строящегося газопровода в точке пересечения для определения допустимого заглубления рабочего органа трубозаглубительной машины;
если верхние строения дороги, железобетонные конструкции оросительных каналов можно временно демонтировать, а насыпь дороги - срезать до уровня "черной" отметки грунта;
если крутые берега оврагов, рвов, балок можно срезать и придать пологие очертания для прохода трубозаглубителя.
16.18. Сооружение трубопроводов непрерывной ниткой с укладкой его трубозаглубителем в заранее отрытую траншею через переход производится при наличии твердых, скальных и щебенистых грунтов, оказывающих большое сопротивление рабочему органу трубозаглубителя. При этом необходимо разрабатывать узкую траншею, позволяющую проход по бермам трубозаглубителя.
16.19. Укладку отдельной плети с бермы траншеи на переходе производят в тех случаях, когда невозможно использовать способы, изложенные в пп. 16.17 и 16.18.
указанный способ используется в том случае, если допускается временно демонтировать дорогу (с устройством объездов), оросительный или мелиоративный канал, подземную коммуникацию.
16.20. Укладка отдельной плети закрытым методом производится в том случае, если невозможно осуществить строительство трубопровода открытым способом. При этом используются традиционные методы горизонтальной проходки защитных кожухов и протаскивание трубной плети.
17.1. Конструкции балластирующих устройств и способы производства работ должны оказывать на трубопровод рассредоточенное и плавное воздействие во избежание возникновения недопустимых деформаций труб.
В зависимости от диаметра трубопровода и характеристики геогидрологических условий могут применяться следующие виды балластировки:
утяжелители из высокоплотных материалов (железобетонные, чугунные);
песок или минеральный грунт, заключенный в плотные оболочки из прочных негниющих полотен (мешки);
минеральный грунт в сочетании с эластичным синтетическим материалом (покрытиями);
анкерные устройства.
17.2. При выборе средств для балластировки следует соблюдать требование, связанное с ограничением предельно допустимого уменьшения диаметра труб по вертикали (несущая способность подземного трубопровода может существенно снизиться, если не принимать во внимание предельно допустимую величину овализации поперечного сечения труб).
Допустимое значение относительного уменьшения вертикального диаметра трубы составляет 5%.
17.3. В качестве утяжелителей могут быть применены железобетонные седловидные или охватывающие пригрузы. В первом случае для предохранения труб от повреждения применяется футеровочный ковер, а во втором случае - силовые пояса, которые изготавливаются из синтетических материалов (капрон, нейлон, обрезиненная ткань и т.п.). Кроме того, утяжелители могут быть изготовлены из отрезков отбракованных пластмассовых труб, заполненных песком или гравием.
17.4. При балластировке минеральным грунтом используются 2-х емкостные защитные контейнеры или незащитные "конверты". В первом случае используются синтетические прочные ткани, во втором случае - нетканый синтетический материал (НСМ) или коврики из резинотканевых материалов. Засыпка "конверта" производится одноковшовым экскаватором или вручную.
17.5. При закреплении трубопровода анкерными устройствами в качестве силовых поясов используются широкие синтетические ленты.
17.6. Ориентировочная величина пригрузки на 1 м трубопровода в зависимости от его диаметра приведена в табл. 18.
Таблица 18
Величина пригрузки трубопроводов из полиэтиленовых труб
|
Диаметр труб, мм |
Масса трубы, 1 м, т |
Площадь поперечного сечения труб, м2 |
Подъемная сила, т/м |
Подъемная сила с учетом массы труб, т/м |
Величина пригрузки на 1 п.м., кг |
|
225 |
0,01 |
0,03 |
0,036 |
0,026 |
26 |
|
160 |
0,007 |
0,02 |
0,024 |
0,017 |
17 |
|
110 |
0,003 |
0,009 |
0,01 |
0,007 |
7 |
|
63 |
0,0006 |
0,002 |
0,0024 |
0,0018 |
2 |
17.7. Утяжелители используются на участках, где трубопровод опирается на основания из минерального грунта; анкерные устройства применяются на участках, где глубина болот превышает глубину заложения трубопровода. Балластировка минеральным грунтом в сочетании с синтетическими материалами применяется на участках с прогнозируемым обводнением и на болотах мелкого заложения (до верха трубопровода) при отсутствии воды в траншее в момент производства работ.
17.8. Навеска утяжелителей на трубопровод производится после откачки воды из траншеи и укладки трубопровода на проектную отметку. Установка утяжелителей непосредственно на плавающую трубную плеть не допускается.
17.9. Установка анкерных тяг в траншее производится до укладки трубопровода; монтаж силовых поясов производится после отлива воды из траншеи и укладки трубопровода на проектную отметку.
17.10. Балластирующие устройства на трубопроводе устанавливаются на равном расстоянии друг от друга; групповая их установка запрещается.
18.1. Очистку полости трубопроводов следует выполнять продувкой воздухом без пропуска очистных, поршней.
18.2. Очистка продувкой осуществляется скоростным потоком (15-20 м/с) воздуха. Протяженность очищаемого участка не должна превышать 3 км.
18.3. Для продувки давление воздуха в ресивере при соотношении объемов ресивера и продуваемого участка 2:1 должно быть равно 0,6 МПа (6 кгс/см2).
Диаметр перепускной (байпасной) линии и полнопроходного крана на ней должен составлять 0,3 от диаметра труб продуваемого участка.
Продувка считается законченной, когда из продувочного патрубка выходит струя незагрязненного воздуха.
18.4. Испытание трубопровода на прочность проводят воздухом после укладки трубопровода в траншею и его присыпки. Испытание на герметичность - после засыпки.
18.5. Способ испытания трубопроводов, границы участков и величины испытательных давлений, а также схема проведения испытаний определяются рабочей документацией и специальной (рабочей) инструкцией. Испытания трубопровода производят при температуре трубопровода не ниже -15°С и не ранее, чем через 24 часа после окончания сварки последнего стыка.
18.6. Величины давлений при испытаниях на прочность и герметичность и их продолжительность принимаются в соответствий со СНиП 3.05.02-88* (см. Приложение 20).
До начала испытаний на герметичность подземные газопроводы после их заполнения воздухом следует выдерживать под испытательным давлением в течение 6 часов, необходимых для выравнивания температуры воздуха в газопроводе с температурой грунта.
18.7. Испытания на прочность и герметичность газопроводов должна производить строительно-монтажная организация в присутствии представителя газового хозяйства. Допускается проведение испытания на прочность без участия представителя газового хозяйства по согласованию с ним.
Результаты испытаний следует оформить записью в строительном паспорте.
18.8. Для проведения испытаний на прочность и герметичность газопровод следует разделить на отдельные участки, ограниченные заглушками или линейной арматурой.
Если строящийся газопровод разделен на несколько испытываемых участков, то монтажные стыки, их соединяющие (сваренные после испытания), должны быть проверены физическими (неразрушающими) методами.
Участки трубопроводов, прокладываемых в футлярах, до укладки на место подвергаются предварительному испытанию на прочность в соответствии с Приложением 20.
18.9. Допускаемое падение давления определяется в соответствии с п. 9.12 СНиП 3.05.02.88*.
18.10. Дефекты, обнаруженные в процессе испытания газопроводов на прочность и герметичность, можно устранять только после снижения давления до атмосферного.
18.11. Трубопровод считается выдержавшим испытание на прочность и проверку на герметичность, если за время испытания трубопровода на прочность труба не разрушилась, а при проверка на герметичность - фактическое падение давления в период испытания не превысит величины, определенной в соответствии с п.18.9.
18.12. Герметизация, концов трубных плетей при продувке и испытаниях производится приваркой заглушек специальных конструкций (см. рис. 29), а компрессорные установки к трубопроводу подключаются через разъемные соединения.
18.13. Для продувки и пневматического испытания газопроводов рекомендуется применять компрессорные установки, указанные в табл. 19.
Таблица 19
Компрессорные установки для продувки и испытания трубопроводов различных диаметров
|
Диаметр трубопровода, мм |
Тип, марка машин (оборудования) |
|
|
Продувка |
Пневмоиспытание |
|
|
20-50 |
СД-15/25 |
СД-15/25 |
|
63-110 |
СД-15/25; ПР-10/8; ПК-10; HB-10; КС-9; ДК-9 |
СД-15/25; ПР-10/8 ПК-10; HB-10; КС-9; ДК-9; ЗИФ-55; СД-9/101 |
|
160-225 |
СД-15/25; ПР-10/8 |
СД-15/25; ПР-10/8 ПК-10; HB-10; КС-9; ДК-9; ЗИФ-55; СД-9/101 |
|
Примечание: марки компрессоров даны по каталогу Львовского машиностроительного завода (Украина). |
||
Рис. 29. Конструктивные схемы заглушек, устанавливаемых на полиэтиленовом газопроводе при испытании на прочность и герметичность:
а - с применением стандартных втулок под фланцы, привариваемых к полиэтиленовой трубе;
б - с применением конических фланцев и формовкой раструба на полиэтиленовой трубе;
в - с применением неразъемных соединений (переходников) полиэтиленовых труб со стальными усиленного типа;
1 - фланец плоский с входным отверстием, 2 - штуцер подвода воздуха; 3 - крепеж (болт, гайка, шайба); 4 - фланец накидной плоский; 5 - втулка под фланец полиэтиленовая; 6 - неразъемное соединение; 7 - фланец глухой плоский; 8 - фланец конический с распорной втулкой и входным отверстием; 9 - фланец конический накидной; 10 - фланец конический с распорной втулкой глухой; 11 - заглушка с отверстием; 12 - патрубок стальной; 13 - заглушка стальная глухая.
19.1. До начала производства работ строительной организации необходимо получить разрешение (ордер) на укрытие газопровода.
Ведение работ осуществляется строительно-монтажными организациями, имеющими лицензию Госгортехнадзора Российской Федерации.
19.2. Реконструкция каждого объекта осуществляется на основе утвержденной рабочей документации и проекта производства работ. Все этапы выполнения работ должны вестись под обязательным контролем представителей организаций, на которые возложены авторский и технический надзор, приемка и эксплуатация реконструированного газопровода.
19.3. До начала реконструкции выполняются мероприятия по подготовке строительного производства в объеме, обеспечивающем осуществление всех работ максимально возможными темпами, включая проведение общей организационно-технической подготовки, подготовки газопровода к реконструкции и оборудования к производству монтажных работ.
19.4. До начала производства работ заказчик должен оформить и передать подрядной строительной организации разрешение на производство реконструкции. Объект реконструкции должен быть зарегистрирован в региональном органе Госгортехнадзора России.
О начале строительства строительно-монтажная организация должна уведомить местный орган Госгортехнадзора не менее, чем за 5 дней до начала реконструкции.
19.5. К началу проведения реконструкции в подрядной организации назначаются приказом лица, ответственные за выполнение газоопасных работ и соблюдение правил техники безопасности.
19.6. Разбивка трассы газопровода производится строительной организацией с уведомлением организаций, эксплуатирующих соседние подземные коммуникации. На трассе должны быть отмечены контуры намечаемых к вскрытию котлованов.
19.7. До начала вскрытия дорожных покрытий и разработки котлованов (приямков) необходимо выполнить следующие мероприятия:
места работ оградить по всему периметру деревянными щитами или металлической сеткой;
на проезжей части выставить предупредительные знаки на расстоянии 5 м со стороны движения транспорта;
установить на ограждении с лобовой стороны на высоте 1,5 м сигнальный красный свет.
19.8. Ширина участков ограждения назначается в зависимости от местных условий (ширины улицы, возможности сужения проезжей части и т.п.), но должна быть не менее:
3,5 м - при глубине траншеи до 1,5 м;
4,5 м - при глубине траншеи более 1,5 м.
Длина ограждения устанавливается проектом производства работ. Возможность сужения проезжей части автодорог должна быть согласована с ГАИ.
Ширина вскрытия дорог, площадей и других территорий с твердыми покрытиями при разработке котлованов принимается:
при бетонном покрытии или асфальтовом покрытии по бетонному основанию - на 10 см больше ширины котлована с каждой стороны;
при других конструкциях дорожных покрытий - на 25 см больше ширины котлована с каждой стороны;
при дорожных покрытиях из сборных железобетонных плит ширина вскрытия должна быть кратной размерам плит.
19.9. При рытье котлованов (приямков) по их краям оставляют свободные проходы шириной не менее 0,5 м.
Материалы дорожных покрытий (булыжник, асфальт, бетон) необходимо складывать отдельно, не засыпая землей, и в дальнейшем вывозить с объекта. Складирование земли следует предусматривать со стороны возможного притока дождевых вод.
Крутизна откосов котлованов при условии естественной влажности грунта и отсутствия грунтовых вод должна приниматься не менее указанной в табл. 20.
Таблица 20
Допустимая крутизна откосов котлованов
|
Грунт |
Крутизна откоса (отношение его высоты к заложению), не более, при глубине выемки, м |
|
|
До 1,5 |
Свыше 1,5 |
|
|
Насыпной естественной влажности (неуплотненный) |
1:0,67 |
1:1 |
|
Песчаный и гравийный |
1:0,5 |
1:1 |
|
Супесь |
1:0,25 |
1:0,67 |
|
Суглинок |
Без откосов |
1:0,5 |
|
Глина |
То же |
1:0,25 |
|
Лес |
То же |
1:0,5 |
При наличии в местах рытья котлованов электрокабелей и кабелей связи выемку грунта следует производить в присутствии представителей организаций, их эксплуатирующих, с соблюдением мер, исключающих возможность повреждения кабелей. Кабели в пределах пересечения после вскрытия должны заключаться в защитные деревянные футляры, подвешиваемые, при необходимости, к деревянному брусу.
19.10. Вскрытые участки стального газопровода должны быть полностью очищены от земли. Расстояние в свету между нижней образующей трубы и дном котлована должно быть не менее 10 см. Выемка нижних слоев грунта и очистка вскрытого газопровода производятся вручную.
19.11. Отсечение реконструируемого участка от основной сети осуществляется после отключения подачи газа путем вырезки катушек, длина которых устанавливается из расчета свободного затягивания полиэтиленовой плети и удобства проведения работ.
Отсечение реконструируемого участка от основной (действующей) сети, переключение на байпас и врезка после реконструкции должны в обязательном порядке выполняться эксплуатационной организацией (владельцем газопровода) в соответствии с разделом 6 "Правил безопасности в газовом хозяйстве".
Отсеченный участок должен быть продут воздухом, а затем должны быть вырезаны катушки. Концы обрезанного стального участка необходимо зачищать для устранения острых кромок, которые могут повредить поверхность полиэтиленовых труб при протягивании.
Реконструируемый участок должен быть прочищен одновременным протягиванием металлического ерша-калибра и эластичного поршня. Одновременно с ними протягивается пробный образец полиэтиленовой трубы длиной не менее 3 м, по которому оценивается гладкость полости металлического трубопровода.
Если на поверхности пробного образца возникают царапины глубиной более 0,7 мм, то процесс очистки следует повторять.
В обрезанные концы рекомендуется устанавливать предохранительные конусы из алюминия или пластмасс, которые являются также направляющими.
Все работы по продувке, вырезке катушек из реконструируемого газопровода и его очистке должны проводиться в строгом соответствии с правилами безопасности при проведении газоопасных работ.
19.12. Перед отключением газа в реконструируемом газопроводе по возможности должно быть обеспечено снабжение газом потребителей, питающихся от отключаемого участка газовой сети. Для этой цели производится расчет схемы временного подключения потребителей при помощи байпаса к ближайшему эксплуатирующемуся участку. Байпас следует изготавливать из металлических труб.
19.13. Технология реконструкции изношенных стальных газопроводов заключается в протягивании внутри них подготовленных плетей из полиэтиленовых труб. Общая схема организации работ приведена на рис. 30.
19.14. Длинномерные трубы, смотанные на барабан, перед протяжкой должны проходить внешний осмотр и испытания пневматическим давлением на прочность по нормам СНиП 3.05.02-88*. Плети, сваренные из труб мерной длины подвергаются также испытаниям на прочность.
19.15. Соединение длинномерных труб из ПЭ 80 (ПСП) между собой следует предусматривать при помощи муфт с закладными нагревателями. При отсутствии труб из ПЭ 80 (ПСП) допускается использовать трубы из ПЭ 63 (ПНД) ТУ6-19-352-87, поставляемые в отрезках мерной длины (6-12 м), при этом предпочтение отдается трубам длиной 10-12 м.
19.16. Соединение труб из ПЭ 63 (ПНД) предусматривается сваркой нагретым инструментом встык.
Рис. 30. Общая схема организации работ.
1 - заглушенные действующие участки газопровода; 2 - реконструируемый участок; 3 - лебедка; 4 - направляющие ролики.
19.17. Для сварки нагретым инструментом встык предпочтительно применение установок, оснащенных электронагревателями с встроенными регуляторами температуры. Стыковые сварные соединения должны проходить 100% неразрушаемый (ультразвуковой) контроль в соответствии с требованиями СНиП 3.05.02-88*.
19.18. Протягивание полиэтиленовых плетей должно осуществляться при помощи специального тягового троса. Для протаскивания тягового троса должны использоваться эластичный (стеклопластиковый, поликарбонатный и др.) стержень, свинчивающиеся металлические штанги или пневмопроходчик.
При использовании стеклопластикового стержня или свинчивающихся штанг, они пропускаются в приемный приямок со стороны входного. К вышедшему концу стержня или штанги прикрепляют тяговый трос, размеченный краской через 1 м. Тяговый трос втягивают во входной приямок обратным порядком.
При использовании пневмопроходчика на конце обрезанного участка стального газопровода монтируются два фланца (стандартный приварной и глухой с отверстием для троса). Пневмопроходчик с прикрепленным тяговым тросом должен вставляться внутрь обрезанного участка и давлением сжатого воздуха проталкиваться с одного конца до другого.
19.19. Подготовленная полиэтиленовая плеть с помощью специального захвата (оголовка) должна закрепляться к концу тягового троса.
Протягивание плети должно производиться путем намотки тягового троса на барабан электролебедки или зацеплением его за колесный трактор, движущийся на самой низкой скорости.
Протягивание полиэтиленовой плети должно производиться плавно, без рывков. Контроль тягового усилия производится по динамометру. Предельные тяговые усилия определяются в зависимости от диаметра труб по табл. 16. Для уменьшения трения троса на выходе из приемного колодца необходимо устанавливать промежуточный ролик.
Концы полиэтиленовой плети должны ограничиваться неразъемными соединениями "полиэтилен-сталь" или втулками под фланец для разъемных соединений или заглушками.
19.20. После протяжки полиэтиленовая плеть, должна проходить испытания на прочность и герметичность по нормам СНиП 3.05.02-88*. Кроме этого все сварные соединения полиэтиленовых труб, независимо от способа сварки, необходимо проверять внешним осмотром.
Испытанная плеть присоединяется к действующим участкам стального газопровода при помощи узлов разъемных или неразъемных соединений "полиэтилен-сталь".
19.21. Герметичность сварных швов на смонтированных узлах соединений "полиэтилен-сталь" проверяется рабочим давлением газа с использованием газоиндикаторов.
19.22. По окончании процесса реконструкции изношенного участка стального газопровода должен быть выполнен комплекс мероприятий по налаживанию и регулировке систем электрозащиты, выполняемых в соответствии с требованиями ГОСТ 9.015-74.
После проведения испытаний на герметичность необходимо произвести следующие работы:
изоляцию стальных участков битумно-резиновой мастикой или полимерной липкой лентой с последующим контролем сплошности покрытия;
заделку концов между полиэтиленовой и стальной трубами;
засыпку котлованов.
19.23. Присыпка открытых участков полиэтиленовых труб в котлованах должна производиться песком на высоту 20-26 см с тщательной подбивкой под трубой и уплотнением пазух. На песчаную присыпку должна укладываться сигнальная предупреждающая полиэтиленовая лента шириной не менее 0,2 м с несмываемой надписью "газ". Дальнейшая засыпка производится из отвала.
19.24. В случае расположения приямков на проезжей части автодорог должна предусматриваться дополнительная защита открытых участков полиэтиленовых труб путем укладки на песчаную засыпку легких железобетонных плит или другими способами, установленными рабочим проектом.
20.1. При изготовлении и монтаже пластмассовых трубопроводов необходимо соблюдать правила техники безопасности и охраны труда, установленные "Правилами безопасности в газовом хозяйстве", СНиП Ш-4-80* "Техника безопасности в строительстве", ВСН 003-88/Миннефтегазстрой, РД 102-011-89 "Охрана труда. Организационно-методические документы", ГОСТ 12.1.004-85, ГОСТ 12.3.009-76*, ГОСТ 12.3.003-86*, "Правилами устройства и безопасности эксплуатации грузоподъемных кранов", "Правилами перевозки грузов автомобильным транспортом".
20.2. К монтажу трубопроводов допускаются лица не моложе 18 лет, предварительно прошедшие медицинское освидетельствование, специальное обучение, вводный инструктаж по технике безопасности, пожарной безопасности и инструктаж непосредственно на рабочем месте, а также сдавшие экзамены специальной комиссии.
20.3. Каждый рабочий, выполняющий работы по соединению труб, должен знать: технологию выполнения работ, специальные инструкции по технике безопасности, тушению пожаров и предотвращению взрывов, правила личной гигиены, способы оказания первой помощи пострадавшим.
20.4. Запрещается допускать к работе лиц с заболеванием верхних дыхательных путей.
20.5. Допуск к производству работ оформляют записью в журнале инструктажа по технике безопасности и личной подписью получившего инструктаж.
20.6. Приступать к монтажу трубопроводов разрешается только при наличии проекта производства работ.
20.7. В отдельных случаях (для несложных объектов монтажа) проект производства работ может быть заменен технологической картой или указаниями по выполнению работ, в которых должны быть предусмотрены вопросы по технике безопасности.
20.8. В местах складирования полиэтиленовых труб, узлов и соединительных деталей запрещается разводить огонь, производить электро- и газосварочные работы и хранить легко воспламеняющиеся вещества.
В местах производства работ по монтажу полиэтиленовых газопроводов во избежание повреждения и возгорания полиэтиленовых труб, узлов, деталей следует проявлять особую осторожность при проведении работ по электрогазосварке и резке металлических конструкций, соблюдая безопасные расстояния и применяя защитные экраны из негорючих материалов.
20.9. Для предотвращения загорания полиэтиленовых труб необходимо предусматривать противопожарные меры, включая обеспечение мест складирования и проведения пожароопасных работ средствами пожаротушения и соблюдение безопасных расстояний от пожароопасных источников.
20.10. При сварке полиэтиленовых труб и деталей, а также при работах, связанных с применением чистящих жидкостей (спирта, уайт-спирита, ацетона и др.), выделяются вредные газы (окись углерода, формальдегид, дивинил) и пары, от которых необходимо защищаться респираторами.
20.11. Концентрация вредных паров, газов и пыли в воздухе рабочей зоны производственных помещений не должна превышать предельно допустимую, установленную требованиями ГОСТ 12.1.005-76 "Воздух рабочей зоны. Общие санитарно-гигиенические требования".
20.12. При нарушении требований пожарной безопасности и длительном воздействии на организм человека газов и паров, выделяющихся при сварке, а также при работе с растворителями, возможно нарушение обмена кислорода, поражение центральной нервной системы.
20.13. При работе с пластмассовыми трубами следует учитывать их упругие свойства. Ненадежное закрепление труб может быть причиной травм.
20.14. Для предупреждения пожара на рабочем месте не допускается скопление стружек (от обработки пластмассовых труб).
20.15. Категорически запрещается нагревать пластмассовые трубы методами, не предусмотренными настоящим СП и другими нормативными документами, утвержденными в установленном порядке, а также применять при сварке открытое пламя, так как это может привести к возгоранию труб и выделению токсичных веществ.
20.16. При осуществлении сварочных работ не следует нагревать полиэтилен выше температур, предусмотренных технологией сварки; разлагаясь при перегреве, они могут выделять вредные газы (см. п. 20.10).
20.17. При применении сварочных установок и других устройств следует руководствоваться техническими описаниями и инструкциями по их эксплуатации.
21.1. Мероприятия по охране окружающей среды выполняются в соответствии с законами Российской Федерации о недрах, земле, об охране животного мира, атмосферного воздуха, памятников истории и культуры, законом о защите окружающей природной среды.
21.2. Природовосстановительные работы считаются завершенными, если:
выполнена рекультивация земель;
очищены участки, загрязненные горюче-смазочными материалами, строительными и бытовыми отходами.
21.3. Ответственность за соблюдение проектных решений по охране окружающей среды несет строительная организация, осуществляющая прокладку трубопровода.
Предоставляемые во временное пользование земельные участки после окончания строительно-монтажных работ должны быть рекультивированы (восстановлены).
21.4. Рекультивации подлежат:
строительная полоса трубопроводов по всей ширине отвода;
карьеры;
береговые участки в местах переходов и сами переходы через реки;
участки, на которых развились эрозионные процессы, овраги.
При укладке трубопровода трубозаглубителями (бестраншейным способом) техническая рекультивация строительной полосы не производится.
21.5. Основной природной особенностью регионов газификации является наличие двух видов сельскохозяйственных земель: это пахотные земли и лесные угодья, а основными неблагоприятными процессами - следствиями строительства являются эрозия (в том числе и ветровая) и заболачивание.
21.6. На эрозионноопасных и оползневых склонах необходимо предусмотреть проведение опережающих противооползневых и противоэрозионных мероприятий, т.е. определить места сооружения водоотводных, дренажных каналов, сточных лотков, водозадерживающих валов.
21.7. На склонах круче 6°, сложенных глинами, суглинками, супесями активизируется водная эрозия, начинается оврагообразование, для прекращения которого необходимо проводить засыпку эрозионных форм остатками грунта и порубочными остатками, сооружать в днищах глубоких эрозионных форм заграждения для задержания твердого стока. Ослабление ветровой эрозии достигается путем покрытия участков слоем торфа толщиной не менее 0,05 м с последующим высевом трав.
21.8. Для закрепления оврагов на эрозионноактивных участках рекомендуется создавать разнообразные гидротехнические сооружения, к которым относятся:
земляные валы и канавы;
перепады;
дамбы-перемычки;
водосбросные сооружения.
21.9. Земляные валы и канавы способствуют полному или частичному зарегулированию поверхностного стока и закреплению вершин и русел оврагов, их необходимо сочетать с восстановлением растительного покрова.
Валики-распылители с продольным уклоном могут быть использованы для предупреждения образования потоков там, где ложе распылителя подвергается постоянной или частичной распашке. Этот тип сооружения представляет собой земляной валик, пересекающий водонаправляющую ложбину под углом около 45° к оси водотока. Высота валиков - 0,3-0,5 м. Вдоль верхнего края валика параллельно ему формируют выемку.
21.10. При засыпке трубопровода бульдозером движения осуществляются в косо-продольном направлении с целью сужения зоны работы бульдозера. При этом бульдозер оснащается косым отвалом.
22.1. Приемка в эксплуатацию газопровода, законченного строительством, производится по правилам, установленным СНиП 3.01.04-87 и СНиП 3.05.02-88 (Приложение 8).
22.2. К началу работы комиссии строительная организация должна представить дополнительно следующую документацию:
схему сварных стыков;
копию удостоверения сварщика полиэтиленовых газопроводов;
заключение об испытании сварных соединений (допускных и контрольных);
паспорта на неразъемные соединения полиэтиленовых труб со стальными.
22.3. Ввод в эксплуатацию газопровода разрешается при наличии у эксплуатирующей организации аварийного запаса труб в количестве, соответствующем требованиям п. 2.10 настоящего СП.
22.4. Акт приемки оформляется по установленной форме. Акт подписывают председатель государственной комиссии, ответственный представитель генерального подрядчика, представитель эксплуатационной организации, представитель Госгортехнадзора и представитель природоохранного ведомства.
(обязательное)
ПЭ 63 - международное обозначение марки полиэтилена с минимальной длительной прочностью 6,3 МПа. Другое обозначение - полиэтилен низкого давления (ПНД) и полиэтилен высокой плотности (ПВП);
ПЭ 80 - международное обозначение марки полиэтилена с минимальной длительной прочностью 8,0 МПа. Другое обозначение - полиэтилен средней плотности (ПСП);
SDR - обозначение типа труб, являющегося отношением номинального наружного диаметра к толщине стенки (dе/t);
SDR 17,6 - обозначение типа труб, используемых на давление газа до 0,3 МПа. Другое обозначение - трубы среднего типа (тип "С");
SDR 11 - обозначение типа труб, используемых на давление газа до 0,6 МПа. Другое обозначение - трубы тяжелого типа (тип "Т").
Сварка нагретым инструментом встык - вид сварки полиэтиленовых труб, при котором трубы соединяются между собой расплавленными торцами. Расплавление торцов происходит в результате их предварительного контакта с нагревательным инструментом, удаляемым затем из зоны сварки. Используется для соединения труб Дн 63 мм и выше.
Сварка при помощи деталей с закладными нагревателями - вид сварки полиэтиленовых труб, при котором трубы соединяются между собой при помощи специальных соединительных деталей (муфт, седловых отводов, реже тройников и переходов), имеющих на внутренней поверхности встроенную электрическую спираль. Получение сварного соединения происходит в результате расплавления полиэтилена на соединенных поверхностях труб и деталей за счет тепла, выделяемого при протекании электрического тока по электрической спирали. Используется для соединения труб dе до 225 мм (включительно).
В - ширина траншеи на уровне верха газопровода, м;
Е - модуль ползучести материала труб при длительном действии нагрузки и температуры, МПа;
Ео - модуль ползучести материала труб при растяжении, МПа;
Еgr - модуль деформации грунта засыпки, МПа;
Нw - высота столба грунтовой воды над верхом трубопровода, м;
I - момент инерции сечения трубы, см4;
К - коэффициент, характеризующий призму выпора грунта;
Кemb - коэффициент концентрации давления грунта в насыпи;
Кgr - коэффициент вертикального давления грунта;
L - размер ПКБУ в направлении поперек оси газопровода, м;
Рcr - предельная (критическая) величина внешнего равномерного радиального давления, МПа;
Рgr - параметр жесткости засыпки, МПа;
Рhrd - параметр жесткости сечения газопровода, МПа;
Рvac - величина возможного вакуума в газопроводе. МПа;
Рw - внешнее гидростатическое давление, МПа;
Q - полная погонная приведенная нагрузка, действующая на газопровод, н/м;
Qa - суммарная погонная нагрузка на газопровод, действующая вверх, н/м;
Qp - суммарная погонная нагрузка на газопровод, действующая вниз, н/м;
Qb - погонная нагрузка на газопровод от веса балластирующего груза, н/м;
Qj - равнодействующие погонных вертикальных нагрузок на газопровод (от давления грунта, равномерно распределенной нагрузки на поверхности засыпки, нагрузки от веса (трубопровода и транспортируемой среды, нагрузки от гидростатического давления грунтовых вод), н/м;
R - длительное сопротивление разрушению материала трубы, МПа;
V - объем одного комплекта ПКБУ, м3;
DТ - температурный перепад, принимаемый положительным при нагревании газопровода, °С;
С - удельное сцепление грунта засыпки, н/м2;
dе, di - наружный и внутренний диаметры газопровода, м;
е - коэффициент пористости грунта засыпки;
g - ускорение свободного падения, м/с2;
gs - удельный вес частиц грунта засыпки, н/м3;
gsb - удельный вес грунта с учетом выталкивающей силы воды, н/м3;
h - расстояние от верха трубы до поверхности земли, м;
hs - расстояние от верха засыпки до оси трубы, м;
l - длина группы ПКБУ, м;
n - количество комплектов ПКБУ в группе;
Р - рабочее (нормативное) давление, МПа;
qb - погонная нагрузка на газопровод от балласта (вес на воздухе), н/м;
qdw - погонная нагрузка от собственного веса газопровода, н/м;
qev - интенсивность равномерно распределенной нагрузки на поверхности грунта, н/м;
qg - погонный вес грунта над ПКБУ, н/м;
qgr - погонная нагрузка от давления грунта, н/м;
qNSM - погонная удерживающая способность грунта обратной засыпки с применением НСМ, н/м;
qPKBU - погонная удерживающая способность ПКБУ с находящимся в нем грунтом, н/м;
qs - погонная нагрузка от веса транспортируемой среды, н/м;
qw - погонная выталкивающая сила воды, действующая на газопровод, н/м;
qr - погонная нагрузка от упругого отпора при свободном изгибе газопровода, н/м;
t - толщина стенки трубы, м;
a - коэффициент линейного расширения материала труб;
b - угол поворота оси газопровода, радианы;
bj - коэффициенты приведения нагрузок;
gb - коэффициент надежности по балласту;
gfl - коэффициент надежности устойчивости положения газопровода против всплытия;
gt - коэффициент, учитывающий влияние температуры на деформационные свойства материала труб;
h - коэффициент учета бокового давления грунта на газопровод;
q - коэффициент учета совместного действия отпора грунта и внутреннего (внешнего) давления;
m - коэффициент Пуассона материала труб;
z - коэффициент учета распределения нагрузки и опорной реакции на газопровод;
r - радиус упругого изгиба оси газопровода, м;
rb - плотность балласта, кг/м3;
rdw - плотность материала трубы, кг/м3;
rs - плотность транспортируемой среды при рабочем давлении, кг/м3;
rw - плотность воды с учетом растворенных в ней солей, кг/м3;
[s] - допускаемое напряжение, МПа;
sln - продольное фибровое напряжение, МПа;
sN - продольное осевое напряжение, МПа;
sq - тангенциальное (кольцевое) напряжение, МПа;
j - угол внутреннего трения грунта засыпки, радианы;
sPT - предел текучести при растяжении, МПа;
epp - относительное удлинение при разрыве, %.
(справочное)
СНиП 11.01-95. Инструкция о составе, порядке разработки, согласования и утверждения проектно-сметной документации на строительство предприятий, зданий и сооружений.
СНиП 1.02.07-87. Инженерные изыскания для строительства.
СНиП 1.06.05-85. Положение об авторском надзоре проектных организаций за строительством предприятий, зданий и сооружений.
СНиП 2.01.01-82. Строительные климатология и геофизика.
СНиП 2.01.07-85. Нагрузки и воздействия.
СНиП П-7-81. Строительство в сейсмических районах.
СНиП 2.04.08-87. Газоснабжение.
СНиП 2.05.02-85. Автомобильные дороги.
СНиП 2.05.06-85. Магистральные трубопроводы.
СНиП 2.07.01-89. Градостроительство. Планировка и застройка городских и сельских поселений.
СНиП 3.01.04-87. Приемка в эксплуатацию законченных строительством объектов. Основные положения.
СНиП 3.05.02-88*. Газоснабжение.
СНиП 3.01.01-85*. Организация строительного производства. Правила безопасности в газовом хозяйстве. Москва, Недра, 1991.
Правила технической эксплуатации и требования безопасности труда в газовом хозяйстве Российской Федерации. С.-Петербург, Недра, 1992.
ГОСТ 50838-95. Трубы из полиэтилена для газопроводов.
ТУ 6-19-352-87. Трубы из полиэтилена низкого давления для газопроводов.
ТУ 6-19-359-87. Детали соединительные из полиэтилена низкого давления для газопроводов.
ТУ 6-49-04719662-120-94. Трубы из полиэтилена средней плотности для газопроводов.
РД 243 РСФСР 3.4-91. Руководство по проектированию и строительству внутрипоселковых газопроводов из полиэтиленовых труб. Саратов, 1991.
РД 3-9-90. Рекомендации по подбору трубопроводной запорной и регулирующей (заслонки) арматуры и компенсаторов для систем газоснабжения объектов. Саратов, 1990.
Альбом технологических карт по строительству газопроводов из полиэтиленовых труб на территории населенных пунктов. Саратов, 1995.
Альбом технологических карт по строительству газопроводов из полиэтиленовых труб. Саратов, 1991.
Технологические карты по бесколодезной прокладке разъемных и неразъемных соединений "полиэтилен-сталь". Саратов, 1991.
Альбом технологических карт по реконструкции стальных газопроводов методом протяжки полиэтиленовых труб. Саратов, 1991.
(обязательное)
1. В проектах на прокладку трубопроводов необходимо предусматривать решения по охране окружающей среды при сооружении трубопроводов и последующей их эксплуатации.
2. При прокладке трубопроводов необходимо предусматривать противоэрозионные мероприятия с использованием местных материалов, а при пересечении подземными трубопроводами крутых склонов, промоин, оросительных каналов и кюветов в местах пересечений - перемычки, предотвращающие проникновение в траншею воды и распределение ее вдоль трубопровода.
3. При прокладке вдольтрассовых проездов на пересечениях через балки, овраги и ручьи следует предусматривать устройство водопропускных сооружений (лотков, труб и т.п.). Поперечное сечение водопропускных сооружений следует определять по максимальному расходу воды повторяемостью один раз в 50 лет.
4. Крепление незатопляемых берегов в местах пересечения подземными трубопроводами следует предусматривать до отметки, возвышающейся не менее чем на 0,5 м над расчетным паводковым горизонтом повторяемостью один раз в 50 лет и на 0,5 м - над высотой вкатывания волн на откос.
На затопляемых берегах кроме откосной части должна укрепляться пойменная часть на участке, прилегающем к откосу, длиной 1-5 м.
Ширина укрепляемой полосы берега определяется проектом в зависимости от геологических и гидрологических условий.
5. При прокладке трубопроводов по опасным в термоэрозионном отношений склонам и вблизи термоабразивных берегов водоемов проектом должны предусматриваться специальные инженерные решения по предотвращению техногенных нарушений и развитию криогенных процессов:
мероприятия по максимальному сохранению растительного покрова;
подсыпка песчано-гравийной смесью;
дренаж и сток вод;
выравнивание и уплотнение грунтового валика над трубопроводом.
6. Требования по охране окружающей среды следует включать в проект отдельным разделом, а в сметах предусматривать необходимые затраты.
7. Требования к рекультивации должны регламентироваться в проекте в виде самостоятельных подразделов.
(справочное)
(извлечение из Пособия по проектированию оснований зданий и сооружений к СНиП 2.02.01-83)
К пучинистым грунтам относятся пылевато-глинистые грунты, пески пылеватые и мелкие, а также крупнообломочные грунты с пылевато-глинистым заполнителем, имеющие к началу промерзания влажность выше определенного уровня.
При проектировании следует учитывать возможность повышения влажности грунта за счет подъема уровня подземных вод, инфильтрации поверхностных вод и экранирования поверхности.
По степени морозоопасности все пучинистые грунты подразделяются на пять групп, приведенных в таблице.
Подразделение грунтов на группы по морозостойкости
|
Наименование грунтов и пределы нормативных значений числа пластичности |
Значение параметра RfX102 для грунта |
||||
|
практически непучинистый f£0,01 |
слабопучинистый 0,01<f£0,035 |
среднепучинистый 0,035<f£0,07 |
Сильнопучинистый 0,07<f£0,12 |
чрезмерно пучинистый f>0,12 |
|
|
1 |
2 |
3 |
4 |
5 |
6 |
|
1. Супесь 0,02<Jp£0,07 |
<0,14 |
0,14-0,49 |
0,49-0,98 |
0,98-1,69 |
>1,69 |
|
2. Супесь 0,02<Jp£0,07 |
<0,09 |
0,09-0,3 |
0,3-0,6 |
0,6-1,03 |
>1,03 |
|
3. Суглинок 0,07<Jp£0,17 |
<0,1 |
0,1-0,35 |
0,35-0,71 |
0,71-1,22 |
>1,22 |
|
4. Суглинок 0,07<Jp£0,13 |
<0,08 |
0,08-0,27 |
0,27-0,54 |
0,54-0,93 |
>0,93 |
|
5. Суглинок 0,13<Jp£0,17 |
<0,07 |
0,07-0,23 |
0,23-0,46 |
0,46-0,79 |
>0,79 |
|
6. Глина Jp<0,17 |
<0,12 |
0,12-0,43 |
0,43-0,86 |
0,86-1,47 |
>1,47 |
Принадлежность глинистого грунта к одной из групп оценивается параметром Rf, определяемым по формуле:
Rf = 0,012(w - 0,1) + [w(w - wcr)2] / (wLw Mo),
где: w, wp, wL - влажности в пределах слоя промерзающего грунта, соответствующие природной, на границах раскатывания и текучести, доли единицы;
wcr - расчетная критическая влажность, ниже значения которой прекращается перераспределение влаги в промерзающем грунте, доли единицы;
Mo - безразмерный коэффициент, численно равный при открытой поверхности промерзающего грунта абсолютному значению среднезимней температуры воздуха.
Крупнообломочные грунты с песчаным заполнителем, а также пески гравелистые, крупные и средние, не содержащие пылевато-глинистых фракций, относятся к непучинистым грунтам при любом положении уровня подземных вод.
К просадочным грунтам относятся грунты, которые при повышении влажности выше определенного уровня дают дополнительные деформации просадки от внешней нагрузки и (или) собственного веса грунта.
Грунтовые условия площадок, сложенных просадочными грунтами, в зависимости от возможности проявления просадки грунтов от собственного веса подразделяются на два типа:
I тип - грунтовые условия, в которых возможна в основном просадка грунтов от внешней нагрузки, а просадка грунтов от собственного веса отсутствует или не превышает 5 см;
II тип - грунтовые условия, в которых помимо просадки грунтов от внешней нагрузки возможна их просадка от собственного веса и размер ее превышает 5 см.
К скальным грунтам относятся грунты с жесткими (кристаллизационными или цементационными) структурными связями и практически несжимаемые при нагрузках.
Скальные грунты, подвергаясь природным процессам выветривания, теряют свою сплошность в залегании, становятся трещиноватыми, а затем разрушаются до кусков различной крупности, промежутки между которыми заполняются мелкозернистыми материалами.
Закарстованные территории характеризуются образованием карстовых деформаций - проводов (деформаций земной поверхности с нарушением сплошности грунтов, образующихся вследствие обрушения толщи грунтов над карстовыми полостями или горными выработками и оседаний и особенностями развития карстовых процессов).
(рекомендуемое)
1. Наименование организации, выдавшей технические условия на проектирование.
2. Давление газа перед распределительным пунктом, МПа.
3. Проектная документация на строительство газопровода из полиэтиленовых труб разработана в соответствии с требованиями СНиП 2.04.08-87, свода правил по проектированию и строительству пластмассовых газопроводов (могут быть указаны и другие нормативные документы).
4. Для монтажа газопровода разрешается использовать трубы (указываются марка материала и, номер ТУ или ГОСТ), имеющие сертификат качества завода-изготовителя.
5. Полиэтиленовые трубы должны храниться в условиях, обеспечивающих их сохранность от повреждений.
6. Не допускается использовать для строительства газопроводов трубы сплющенные, имеющие уменьшение диаметра более, чем на 5% от номинального, и трубы с надрезами и царапинами глубиной более 0,7 мм.
7. Соединение полиэтиленовых труб между собой выполняется (указывается: сваркой нагретым инструментом встык или при помощи деталей с закладными нагревателями).
8. Сварку полиэтиленовых труб следует производить при температуре окружающего воздуха от -15 до +40°С.
Сварка труб при более низких температурах должна производиться в специальных укрытиях (вагончиках, палатках и т.п.).
9. Соединения полиэтиленовых труб со стальными должны предусматриваться неразъемными обычного типа (при давлении транспортируемого газа до 0,3 МПа) или неразъемными усиленного типа и разъемными на втулке под фланец заводского изготовления (при давлении до 0,6 МПа).
При отсутствии втулок заводского изготовления допускается применение разъемных конусных соединений, выполненных по нормалям, приведенным в "Альбоме технологических карт строительства газопроводов из полиэтиленовых труб" (Саратов, 1991г.).
10. Радиус поворота, выполняемого упругим изгибом, межпоселковых газопроводов, для диаметра 63 мм и менее независимо от места прокладки должен быть не менее двадцати пяти диаметров трубы. Для поворотов меньшего радиуса должны использоваться детали (отводы) заводского изготовления.
11. Для подземных газопроводов из полиэтиленовых труб компенсирующих устройств не требуется.
12. К строительству газопровода можно приступать при полном обеспечении трубами и соединительными деталями.
13. По трассе межпоселкового газопровода установить опознавательное железобетонные столбики марки CIA по серии 3.017-1 выпуск 1 или аналогичных конструкций.
Опознавательные знаки устанавливаются на прямых участках газопровода на расстоянии не более 500 м друг от друга, а также на углах поворота, в местах ответвлений, расположения неразъемных соединений "полиэтилен-сталь" и хранения аварийного запаса труб.
14. По трассе внутрипоселкового газопровода выполнить привязку оси газопровода к зданиям.
15. Газопровод в траншее для компенсации температурных удлинений должен сдаваться змейкой в горизонтальной плоскости. Присыпку плети производить летом в самое холодное время суток (рано утром), зимой - самое теплое время суток.
(справочное)
|
Средний наружный диаметр (мм) |
Толщина стенки труб типов, мм |
Теоретическая масса труб, кг/пог.м |
|||||
|
SDR 17,6 (С) |
SDR 11 (Т) |
||||||
|
номинальный |
предельное отклонение |
номинальная |
предельное отклонение |
номинальная |
предельное отклонение |
SDR 17,6 (С) |
SDR 11 (Т) |
|
Трубы из ПЭ 63 (ПНД) по ТУ 6-19-352-87 |
|||||||
|
63 |
+1,1 |
- |
- |
5,8 |
+0,8 |
- |
1,07 |
|
110 |
+1,8 |
6,3 |
+0,9 |
10,0 |
+1,2 |
2,11 |
3,19 |
|
160 |
+2,6 |
9,1 |
+1,2 |
14,6 |
+1,7 |
4,42 |
6,77 |
|
225 |
+2,9 |
12,8 |
+1,5 |
20,5 |
+2,3 |
8,68 |
13,30 |
|
Трубы из ПЭ 80 (ПСП) по ТУ 6-49-04719662-120-94 |
|||||||
|
20 |
+0,3 |
- |
- |
3,0 |
+0,5 |
- |
0,163 |
|
25 |
+0,3 |
- |
- |
3,0 |
+0,5 |
- |
0,211 |
|
32 |
+0,3 |
- |
- |
3,0 |
+0,5 |
- |
0,279 |
|
40 |
+0,4 |
- |
- |
3,7 |
+0,6 |
- |
0,430 |
|
50 |
+0,5 |
- |
- |
4,6 |
+0,7 |
- |
0,666 |
|
63 |
+0,6 |
- |
- |
5,8 |
+0,8 |
- |
1,05 |
|
110 |
+1,0 |
6,3 |
+0,8 |
10,0 |
+1,2 |
2,06 |
3,14 |
|
160 |
+1,5 |
9,1 |
+1,1 |
14,6 |
+1,7 |
4,33 |
6,67 |
|
225 |
+2,1 |
12,8 |
+1,4 |
20,5 |
+2,3 |
8,52 |
13,1 |
(справочное)

1 - втулка под фланец; 2 - тройник равнопроходный; 3 – переход; 4 - отвод 90° (угольник); 5 - муфта с закладным нагревателем; 6 - отвод седловой с закладным нагревателем (нижний полутомут не показан).
Детали 1, 2, 3 и 4 предназначены для сварки встык. Сортимент приведен в Приложении 8.
(справочное)
|
Наименование деталей |
Диаметр соединяемых труб, мм |
ПЭ 63 (ПНД) |
ПЭ 80 (ПСП) |
||||||
|
de, мм |
di, мм |
l, мм |
масса, кг |
de, мм |
di, мм |
l, мм |
масса, кг |
||
|
1 |
2 |
3 |
4 |
5 |
6 |
7 |
8 |
9 |
10 |
|
Переход |
25Х20 |
- |
- |
- |
- |
25 |
0 |
86 |
|
|
32Х20 |
- |
- |
- |
- |
32 |
20 |
105 |
||
|
32Х25 |
- |
- |
- |
- |
32 |
25 |
110 |
||
|
40Х25 |
- |
- |
- |
- |
40 |
25 |
112 |
||
|
40Х32 |
- |
- |
- |
- |
40 |
32 |
111 |
||
|
60Х32 |
- |
- |
- |
- |
50 |
32 |
121 |
||
|
60Х40 |
- |
- |
- |
- |
50 |
40 |
116 |
||
|
63Х32 |
63 |
32 |
90 |
0,056 |
63 |
32 |
136 |
||
|
63Х40 |
63 |
40 |
90 |
0,060 |
63 |
40 |
129 |
||
|
63Х50 |
- |
- |
- |
- |
63 |
50 |
130 |
||
|
110Х63 |
110 |
63 |
69 |
0,20 |
110 |
63 |
170 |
||
|
160Х110 |
160 |
110 |
64 |
0,45 |
160 |
110 |
180 |
||
|
225Х160 |
225 |
160 |
87 |
1,30 |
- |
- |
- |
||
|
Тройник |
40 |
- |
- |
- |
- |
90 |
49 |
177 |
|
|
63 |
60 |
10 |
120 |
0,25 |
117 |
63 |
230 |
||
|
110 |
112 |
12 |
225 |
1,50 |
163 |
87 |
326 |
||
|
160 |
165 |
15 |
330 |
4,00 |
208 |
103 |
419 |
||
|
225 |
240 |
18 |
480 |
10,30 |
- |
- |
- |
||
|
Отвод 90° |
25 |
- |
- |
- |
- |
25 |
40 |
58 |
|
|
32 |
- |
- |
- |
- |
32 |
44 |
65 |
||
|
40 |
- |
- |
- |
- |
40 |
49 |
74 |
||
|
63 |
63 |
31 |
63 |
0,11 |
63 |
63 |
100 |
||
|
110 |
110 |
55 |
110 |
0,57 |
110 |
87 |
147 |
||
|
160 |
160 |
80 |
160 |
1,70 |
160 |
103 |
188 |
||
|
225 |
225 |
112 |
225 |
4,83 |
- |
- |
- |
||
|
Втулка под |
63 |
102 |
73 |
50 |
0,14 |
102 |
75 |
117 |
0,22 |
|
фланец |
110 |
158 |
122 |
80 |
0,55 |
158 |
125 |
136 |
0,72 |
|
160 |
212 |
172 |
80 |
1,10 |
212 |
175 |
179 |
1,46 |
|
|
225 |
268 |
233 |
80 |
1,88 |
268 |
235 |
179 |
3,10 |
|
|
Муфта с ЗН |
20 |
- |
- |
- |
- |
20 |
32 |
72 |
|
|
25 |
- |
- |
- |
- |
25 |
37 |
78 |
||
|
32 |
- |
- |
- |
- |
32 |
46 |
82 |
||
|
40 |
- |
- |
- |
- |
40 |
59 |
80 |
||
|
50 |
- |
- |
- |
- |
50 |
70 |
88 |
||
|
63 |
- |
- |
- |
- |
63 |
79 |
97 |
||
|
110 |
- |
- |
- |
- |
110 |
137 |
119 |
||
|
160 |
- |
- |
- |
- |
160 |
199 |
154 |
||
|
Отвод |
63Х32 |
- |
- |
- |
- |
84 |
32 |
114 |
|
|
седловой с ЗН |
110Х32 |
- |
- |
- |
- |
84 |
32 |
114 |
|
|
110Х63 |
- |
- |
- |
- |
116 |
63 |
184 |
||
|
160Х32 |
- |
- |
- |
- |
84 |
32 |
116 |
||
|
160Х63 |
- |
- |
- |
- |
116 |
63 |
184 |
||
|
Примечание: В связи с отсутствием на момент издания СП отечественных деталей из ПЭ 80 (ПСП) их размеры и масса даны по каталогу фирмы KWH (Финляндия). |
|||||||||
(справочное)
|
Изделие |
Материал и de, мм |
||||||||||||||
|
ПЭ 63 (ПНД) |
ПЭ 80 (ПСП) |
||||||||||||||
|
32 |
40 |
63 |
110 |
160 |
225 |
20 |
25 |
33 |
40 |
50 |
63 |
110 |
160 |
225 |
|
|
Трубы |
|
||||||||||||||
|
|
|||||||||||||||
|
|
|||||||||||||||
|
Переходы |
|
||||||||||||||
|
|
|||||||||||||||
|
Тройники |
|
||||||||||||||
|
|
|||||||||||||||
|
Отводы 90° |
|
||||||||||||||
|
|
|||||||||||||||
|
Втулки под фланец |
|
||||||||||||||
|
|
|||||||||||||||
|
Муфты с ЭН |
|
|
|||||||||||||
|
Отводы седловые |
|
||||||||||||||
|
Соединения "полиэтилен-сталь" |
|
|
|||||||||||||
- ПО
"ОРГСИНТЕЗ", Татарстан, 420051, г. Казань, ул. Беломорская. 1
- АООТ
"ЛЕНОБЛГАЗ-ТОСНО", 193311, г. Санкт-Петербург, уд.Смольного, 3
- АО
"ГИПРОНИИГАЗ", 410730, г. Саратов, пр. Кирова, 54
- ООО
Завод "АНД-ГАЗТРУБПЛАСТ", г. Москва, ул. Генерала Дорохова, 1
- производство
осваивается
(рекомендуемое)
1. Гидравлический расчет газопроводов следует выполнять, как правило, на электронно-вычислительных машинах с использованием оптимального распределения расчетных потерь давления между участками сети.
При невозможности или нецелесообразности выполнения расчета на электронно-вычислительной машине (отсутствие соответствующей программы, отдельные небольшие участки газопроводов и т.п.) гидравлический расчет допускается производить по приведенным ниже формулам или номограммам, составленным по этим формулам.
2. Расчетные потери давления в газопроводах высокого и среднего давлений следует принимать в пределах давления, принятого для газопровода.
Расчетные потери давления в распределительных газопроводах низкого давления следует принимать не более 180 даПа (мм вод.ст.), в т.ч. в уличных и внутриквартальных газопроводах - 120, дворовых и внутренних газопроводах - 60 даПа (мм вод.ст.).
3. Значения расчетной потери давления газа при проектировании газопроводов всех давлений для промышленных, сельскохозяйственных и коммунально-бытовых предприятий принимаются в зависимости от давления газа в месте подключения, с учетом технических характеристик принимаемых к установке, газовых горелок, устройств автоматики безопасности и автоматики регулирования технологического режима тепловых агрегатов.
4. Гидравлический расчет газопроводов среднего и высокого давлений во всей области турбулентного движения газа следует производить по формуле:
где: P1 - максимальное давление газа в начале газопровода, МПа;
Р2 - то же, в конце газопровода, МПа;
l - расчетная длина газопровода постоянного диаметра, м;
di - внутренний диаметр газопровода, см;
q - коэффициент кинематической вязкости газа при температуре 0°С и давлении 0,10132 МПа, м2/с;
Q - расход газа при нормальных условиях (при температуре 0°С и давлении 0,10132 МПа), м3/ч;
n - эквивалентная абсолютная шероховатость внутренней поверхности стенки трубы, принимаемая для полиэтиленовых труб равной 0,002 см;
r - плотность газа при температуре 0°С и давлении 0,10132 МПа, кг/м3.
5. Падение давления в местных сопротивлениях (тройники, запорная арматура и др.) допускается учитывать путем увеличения расчетной длины газопроводов на 5-10%.
6. При выполнении гидравлического расчета газопроводов по приведенным в настоящем разделе формулам, а также по различным методикам и программам для электронно-вычислительных машин, составленным на основе этих формул, диаметр газопровода следует предварительно определять по формуле:
где: t - температура газа, °C;
Pm - среднее давление газа (абсолютное) на расчетном участке газопровода, МПа;
V - скорость газа м/с (принимается не болев 7 м/с для газопроводов низкого давления, 15 м/с - среднего и 25 м/с - для газопроводов высокого давления);
di, Q - обозначения те же, что и в формуле (1).
Полученное значение диаметра газопровода следует принимать в качестве исходной величины при выполнении гидравлического расчета газопроводов.
7. Для упрощения расчетов по определению потерь давления в полиэтиленовых газопроводах среднего и высокого давлений рекомендуется использовать приведенную на рис. 1 номограмму, разработанную институтами ВНИПИГаздобыча и ГипроНИИГаз для труб диаметром от 63 до 226 мм включительно.
Пример расчета. Требуется запроектировать газопровод длиной 4500 м, максимальным расходом 1500 м3/ч и давлением в точке подключения 0,6 МПа.
По формуле (2) находим предварительно диаметр газопровода. Он составит:
см
Принимаем по номограмме ближайший больший диаметр, он
составляет 110 мм (di=90 мм). Затем по номограмме (рис. 1) определяем потери давления. Для этого
через точку заданного расхода на шкале Q и точку полученного диаметра на шкале di проводим прямую до пересечения с осью I. Полученная
точка на оси I соединяется с точкой заданной длины на оси l и
прямая продолжается до пересечения с осью
. Поскольку шкала l
определяет длину газопровода от 10 до 100 м, уменьшаем для рассматриваемого
примера длину газопровода в 100 раз (с 9500 до 95 м) и соответствующим
увеличением полученного перепада давления тоже в 100 раз. В нашем примере значение
составит:
0,55 100 = 55 кгс/см2
Определяем значение Р2 по формуле:
![]()
Полученный отрицательный результат означает, что трубы диаметром 110 мм не обеспечат транспорт заданного расхода, равного 1500 м3/ч.
Повторяем расчет для следующего большего диаметра, т.е. 160 мм. В этом случае P2 составит:
= 5,3
кгс/см2 = 0,53 МПа
Полученный положительный результат означает, что в проекте необходимо заложить трубу диаметром 160 мм.

Рис. 1. Номограмма для определения потерь давления в полиэтиленовых газопроводах среднего и высокого давления
8. Падение давления в газопроводах низкого давления следует определять по формуле:
где: Н - падение давления, Па;
n, d, J, Q, r, l - обозначения те же, что и в формуле (1).
Примечание: для укрупненных расчетов вторым слагаемым, указанным в скобках в формуле (3), можно пренебречь.
9. При расчете, газопроводов низкого давления следует учитывать гидростатический напор Нg, мм вод.ст., определяемый по формуле:
Hg = ±9,8h (ra - ro)
где: h - разность абсолютных отметок начальных и конечных участков газопровода, м;
ra - плотность воздуха, кг/м3, при температуре 0°С и давлении 0,10132 МПа;
ro - обозначение то же, что в формуле (1).
10. Гидравлический расчет кольцевых сетей газопроводов следует выполнять с увязкой давлений газа в узловых точках расчетных колец при максимальном использовании допустимой потери давления газа. Неувязка потерь давления в кольце допускается до 10%.
При выполнении гидравлического расчета надземных и внутренних газопроводов с учетом степени шума, создаваемого движением газа, следует принимать скорости движения газа не болев 7 м/с для газопроводов низкого давления, 15 м/с - для газопроводов среднего давления, 26 м/с - для газопроводов высокого давления.
11. Учитывая сложность и трудоемкость расчета диаметров газопроводов низкого давления, особенно кольцевых сетей, указанный расчет рекомендуется проводить на ЭВМ или по известным номограммам для определения потерь давления в газопроводах низкого давления. Номограмма для определения потерь давления в газопроводах низкого давления для природного газа с r=0,73 кг/м3 и J=14,3 106 м2/с приведена на рис. 2.
В связи с тем, что указанные номограммы составлены для расчета стальных газопроводов, полученные значения диаметров, вследствие более низкого коэффициента, шероховатости полиэтиленовых труб, следует уменьшать на 5-10%.

Рис. 2. Номограмма для определения потерь давления в стальных газопроводах низкого давления
(справочное)
(извлечения из СНиП 2.05.02-85)
|
Категория дороги |
Расчетная интенсивность движения, авт./сутки |
Народнохозяйственное и административное значения автомобильных дорог |
|
|
приведенная к легковому автомобилю |
в транспортных единицах |
||
|
1 |
2 |
3 |
4 |
|
I-а |
св. 14000 |
св. 7000 |
Магистральные автомобильные дороги общегосударственного значения, в том числе для международного сообщения |
|
I-б, II |
св. 14000 св. 6000 до 14000 |
св. 7000 св. 3000 до 7000 |
Автомобильные дороги общегосударственного (не отнесенные к I-а категории), республиканского, областного (краевого) значений |
|
III |
св. 2000 до 6000 |
св. 1000 до 3000 |
Автомобильные дороги общегосударственного, республиканского, областного (краевого) значений (не отнесенные к I-б и II категориям дороги местного значения) |
|
IV |
св. 200 до 2000 |
св. 100 до 1000 |
Автомобильные дороги республиканского, областного (краевого) и местного значений (не отнесенные к I-б, II и III категориям) |
|
V |
до 200 |
до 100 |
Автомобильные дороги местного значения (кроме отнесенных к III и IV категориям) |
|
Примечание: Расчетная интенсивность в транспортных единицах принимается в случаях, когда легковые автомобили будут составлять менее 30% общего транспортного потока. |
|||
(справочное)
|
Тип болота |
Характеристика |
|
Первый |
Болота целиком заполненные торфом, допускающие работу и неоднократное передвижение болотной техники с удельным давлением 0,02-0,03 МПа (0,2-0,3 кгс/см2) или работу обычной техники с помощью щитов, сланей или дорог, обеспечивающих снижение удельного давления на поверхность залежи до 0,02 МПа (0,2 кгс/см2) |
|
Второй |
Болота, целиком заполненные торфом, допускающие работу и передвижение строительной техники только по щитам, сланям или дорогам, обеспечивающим снижение удельного давления на поверхность залежи до 0,01 МПа (0,1 кгс/см2) |
|
Третий |
Болота, заполненные растекающимися торфом и водой с плавающей торфяной коркой, допускающие работу только специальной техники на понтонах или обычной техники с плавучих средств. |
(справочное)
Размеры и масса фланцев стальных плоских приварных по ГОСТ 12820-80 и фланцев свободных по ГОСТ 12822-80 (исполнение 1)
|
Масса, кг |
|||||||||||||||
|
Py до 0,25 и 0,6 МПа |
Py до 0,25 МПа |
Py до 0,6 МПа |
|||||||||||||
|
Ду |
Дв |
Дв/ |
de1 |
de2 |
ДH |
ДI |
Д2 |
d |
B |
B |
B1 |
Py до 0,25 МПа |
Py до 0,6 МПа |
Py до 0,6 МПа |
|
|
1 |
2 |
3 |
4 |
5 |
6 |
7 |
8 |
9 |
10 |
11 |
12 |
13 |
14 |
15 |
|
|
50 |
59 |
73 |
57 |
63 |
140 |
110 |
90 |
14 |
10 |
13 |
12 |
1,04 |
1,33 |
1,11 |
|
|
100 |
110 |
124 |
108 |
110 |
205 |
170 |
148 |
18 |
11 |
15 |
14 |
2,14 |
2,85 |
2,38 |
|
|
100 |
116 |
124 |
114 |
110 |
205 |
170 |
148 |
18 |
11 |
15 |
14 |
2,05 |
2,73 |
2,26 |
|
|
150 |
161 |
174 |
159 |
160 |
260 |
225 |
202 |
18 |
13 |
17 |
16 |
3,43 |
4,39 |
3,72 |
|
|
200 |
222 |
238 |
219 |
225 |
315 |
280 |
258 |
18 |
15 |
19 |
18 |
4,73 |
5,89 |
4,93 |
|
|
Примечания. 1. Размер Дв/ достигается путем обработки фланца на токарном станке. 2. Количество отверстий диаметром d составляет: для фланцев Ду от 25 до 100 мм - 4, для фланцев Ду 150 и 200 мм - 8 шт. |
|||||||||||||||
Узлы соединений "полиэтилен-сталь" для труб de 63-225 мм
|
Общий вид и условное графическое изображение |
Размеры, мм |
||
|
de |
di |
Н |
|
|
1 |
2 |
3 |
4 |
|
Разъемное фланцевое соединение |
|||
|
|
63 (С, Т) |
57 |
50 |
|
110 (С, Т) |
108, 114 |
70 |
|
|
160 (С, Т) |
159 |
75 |
|
|
225 (С, Т) |
219 |
80 |
|
|
Разъемное конусное фланцевое соединение |
|||
|
|
63 (С, Т) |
57 |
40 |
|
ПО (С, Т) |
108, 114 |
60 |
|
|
160 (С, Т) |
159 |
65 |
|
|
225 (С, Т) |
219 |
70 |
|
|
Неразъемное соединение обычного типа |
|||
|
|
63 (Т) |
57 |
75 |
|
110 (С) |
108 |
130 |
|
|
110 (Т) |
102 |
130 |
|
|
160 (С) |
159 |
190 |
|
|
160 (Т) |
140 |
190 |
|
|
225 (С) |
219 |
270 |
|
|
225 (Т) |
203 |
270 |
|
|
Неразъемное соединение усиленного типа |
|||
|
|
63 (Т) |
57 |
100 |
|
110 (Т) |
102 |
160 |
|
|
160 (Т) |
133, 140 |
220 |
|
|
225 (Т) |
203 |
300 |
|
|
Неразъемное соединение |
|||
|
|
25 (Т) |
15,20 |
40,44 |
|
32 (Т) |
20,25 |
44,48 |
|
|
40 (Т) |
25,32 |
46,52 |
|
|
50 (Т) |
32,40 |
52,55 |
|
(рекомендуемое)

1 - распределительные газопроводы (наружные газопроводы, обеспечивающие подачу газа от источников газоснабжения до газопроводов-вводов, а также газопроводы среднего давлений, предназначенные для подачи газа к одному объекту: ГРП, котельной и т.п.);
2 - газопровод-ввод (газопровод от места присоединения к распределительному газопроводу до отключающего устройства на вводе);
3 - вводной газопровод (участок газопровода от отключающего устройства на вводе в здание до внутреннего газопровода, включая газопровод, проложенный в футляре через стену здания);
4 - внутренний газопровод (участок газопровода от вводного газопровода до места подключения прибора, теплового агрегата и т.д.).
(рекомендуемое)

На знак наносятся надписи, выполняемые шрифтом 30-Пр3 ГОСТ 26.020-80:
1) в верхней части слева - условное обозначение газопровода (Г), справа - давление транспортируемого газа в МПа;
2) в середине - с одной стороны расстояние по перпендикуляру в см от вертикальной оси настенного знака до оси газопровода; с другой стороны слово "полиэтилен" (ПЭ);
3) в нижней части - расстояние в си от уровня горизонтальной оси настенного знака до верхней образующей газопровода.
|
1. Наименование объекта _____________________________________________________ (область, район, населенный пункт) 2. Организация, проводившая входной контроль _______________________________ (наименование) 3. Дата __________________________________________________________________ 4. Характеристика труб (деталей) условное обозначение _________________________________________________ завод-изготовитель ___________________________________________________ дата выпуска _________________________________________________________ номер сертификата ________________ размер партии ______________________ (пог.м, кг) количество труб (деталей), отобранных для входного контроля ______________ ____________________________________________________________________ 5. Наименование нормативно-технической документации, на основании которой проведены механические испытания _____________________________________ _____________________________________________________________________ 6. Внешний вид труб (деталей) ____________________________________________ 7. Результаты измерительного контроля и механических испытаний
8. Заключение. По результатам визуального осмотра, измерений размеров и механических испытаний партия труб (деталей) может (не может) быть допущена для строительства газопровода. Руководитель лаборатории Исполнитель |
||||||||||||||||||||||||||||||||||||
|
№№ п/п |
Наименование оборудования, тип, модель |
Технические данные |
||
|
диаметры свариваемых труб, мм |
напряжение питания (В) |
масса, кг |
||
|
потребляемая мощность (Вт) |
||||
|
1 |
2 |
3 |
4 |
5 |
|
1. |
Автоматизированная сварочная машина AAСС-2002 ГТ (АО "Глобальные технологии", г. С.-Петербург) |
63-250 |
220/3000 |
85 |
|
2. |
Установка для сварки пластмассовых труб: |
|||
|
СБ-380 |
16-110 |
220/1000 |
17 |
|
|
СБ-382 |
110-315 |
220/4600 |
157 |
|
|
(НИКИМТ, г. Москва) |
||||
|
3. |
Установка для сварки пластмассовых труб с ручным гидроприводом: УСПТ-09 (завод "Газаппарат", г. Саратов) |
63-225 |
Без электропитания (теплогенератор газовый) |
130 |
|
4. |
Машина для сварки полиэтиленовых труб нагретым инструментом: |
|||
|
PSO 719 |
32-160 |
220/4000 |
109 |
|
|
PSO 820 |
110-250 |
220/5000 |
189 |
|
|
(завод "Сибгазаппарат", г. Тюмень) |
||||
|
Зарубежное оборудование |
||||
|
5. |
Установка для сварки встык нагретым инструментом труб из термопластов в монтажных условиях: |
|||
|
ROWELD Р160B |
40-160 |
220/1200 |
82 |
|
|
ROWELD P250B |
90-250 |
220/2000 |
154 |
|
|
ROWELD P315B |
90-315 |
220/4000 |
261 |
|
|
(Фирма "Rotenberger", Германия) |
||||
|
6. |
Машина для сварки труб K4-102, (Фирма "Bielomatik", Германия) |
90-250 |
380/4000 |
330 |
|
7. |
Машина для сварки встык труб из полиэтилена: |
|||
|
WH 160 |
63-160 |
220/800 |
68 |
|
|
WH 250 |
75-250 |
220/1430 |
90 |
|
|
WH 280 |
75-280 |
220/1430 |
138 |
|
|
(Фирма KWH Tech. LTD, Финляндия) |
||||
|
8. |
Машина для сварки встык нагретым инструментом: |
|||
|
WIDOS 110 |
20-110 |
220/900 |
11 |
|
|
WIDOS 4400 |
50-160 |
220/1700 |
23 |
|
|
WIDOS 4600 CNC |
75-250 |
220/2760 |
92 |
|
|
WIDOS 4800 |
90-315 |
220/4760 |
98 |
|
|
(Фирма "WIDOS", Германия) |
||||
|
9. |
Аппарат полуавтоматический для стыковой сварки нагретым инструментом (серия SA): |
|||
|
BF1M S |
50-125 |
220/2000 |
- |
|
|
BF180SF V |
63-180 |
220/2800 |
- |
|
|
BF250SF V |
63-250 |
220/2800 |
- |
|
|
BF315SF V |
90-315 |
220/4200 |
- |
|
|
(фирма "Fusion Group", Великобритания) |
||||
|
10. |
Аппарат автоматический для стыковой сварки нагретым инструментом (серия ABF FAST): |
|||
|
BF180AF V |
63-180 |
220/2800 |
- |
|
|
BF250AF V |
63-250 |
220/2800 |
- |
|
|
BF315AF V |
90-315 |
220-4200 |
- |
|
|
(фирма "Fusion Group", Великобритания) |
||||
|
Примечание: На применение зарубежного оборудования необходимо иметь разрешение Госгортехнадзора России. |
||||
|
№№ п/п |
Наименование оборудования, тип, модель |
Технические данные |
|||
|
диаметры свариваемых труб, мм |
напряжение питания, В |
масса, кг |
напряжение на выходе, В (максимальное) |
||
|
потребляемая мощность, Вт |
|||||
|
1 |
2 |
3 |
4 |
5 |
6 |
|
1. |
Аппарат сварочный универсальный "Протва-2" (институт ИФВЭ, г. Протвино, Московской обл.) |
20-160 |
220/2000 |
18 |
42 |
|
2. |
Аппарат автоматический для сварки деталей системы FUSOMATIC АМ35 (Фирма "FUSION GROUP", Великобритания) |
20-160 |
220/2800 |
- |
40 |
|
3. |
Аппарат автоматический универсальный для сварки деталей ведущих мировых производителей (с распечаткой данных) А40, А45 (Фирма "FUSION GROUP", Великобритания) |
20-315 |
220/2800 |
- |
40 |
|
4. |
Аппарат автоматический универсальный для сварки деталей ведущих мировых производителей (без распечатки данных) А60, A60DR (Фирма "FUSION GROUP", Великобритания) |
20-315 |
220/2800 |
24 |
40 |
|
5. |
Автоматизированый, блок управления с памятью для новых ELGEF систем: MSA1000 (Фирма "George Fischer", Германия) |
20-225 |
220/2300 |
30 |
24 |
|
6. |
Автоматизированный блок управления с магнитной карточкой управления: MSA2000 (Фирма "George Fischer", Германия) |
20-225 |
220/2300 |
30 |
48 |
|
7. |
Универсальный сварочный аппарат "Emilie" (Фирма "Europlast Rohrwerk GmbH", Германия) |
20-400 |
220/3200 |
27 |
40 |
|
8. |
Универсальный сварочный автомат Frialen FWA315P (Фирма "Friatec AG". Германия) |
20-315 |
220/4000 |
- |
48 |
|
Примечания: 1. При выборе сварочного аппарата необходимо убедиться в согласованности характеристик аппарата и привариваемых фитингов. 2. На применение зарубежного оборудования необходимо иметь разрешение Госгортехнадзора России. |
|||||
|
Сооружения |
На прочность |
На герметичность |
Примечания |
||||
|
испытательное давление, МПа, (кгс/см2) |
продолжительность испытания, ч |
испытательное давление, МПа, (кгс/см2) |
продолжительность испытания, ч |
допускаемое падение давления |
|||
|
1 |
2 |
3 |
4 |
5 |
6 |
7 |
|
|
1. |
Газопроводы низкого давления до 0,005 МПа (0,05 кгс/см2) (кроме газопроводов, указанных в поз. 2) |
0,6 (6) |
1 |
0,1 (1) |
24 |
Определяется по формуле |
|
|
2. |
Вводы низкого давления до 0,005 МПа (0,05 кгс/см2) условным диаметром до 100 мм при их раздельном строительстве с уличными газопроводами |
0,1 (1) |
1 |
0,01 (0,1) |
1 |
То же |
|
|
3. |
Газопроводы среднего давления свыше 0,005 до 0,3 МПа (свыше 0,05 до 3 кгс/см2) |
0,6 (6) |
1 |
0,3 (3) |
24 |
То же |
|
|
4. |
Газопроводы высокого давления свыше 0,3 до 0,6 МПа (свыше 3 до 6 кгс/см2) включительно |
0,75 (7,5) |
1 |
0,6 (6) |
24 |
Определяется по формуле |
|
|
Примечание: Указанные нормы распространяются и на газопроводы, реконструируемые методом протяжки полиэтиленовых труб (мерных или длинномерных в бухтах) |
|||||||
(рекомендуемое)
|
№№ п/п |
Наименование |
Количество в шт (при темпе 250-300-м/см) |
||
|
20-50 мм |
63-110 мм |
160-225 |
||
|
1 |
2 |
3 |
4 |
5 |
|
I. Входной контроль труб, деталей и контроль сварки |
||||
|
1. |
Ножовка |
1 |
1 |
1 |
|
2. |
Пресс для выдавливания образцов |
1 |
1 |
1 |
|
3. |
Станок для продольной резки труб типа 2ПГ-10 |
1 |
1 |
1 |
|
4. |
Разрывная машина Р 2055-05 |
1 |
1 |
1 |
|
5. |
Рулетка, ГОСТ 7502-80 |
1 |
1 |
1 |
|
6. |
Штангенциркуль, ГОСТ 166-80 |
1 |
1 |
1 |
|
7. |
Микрометр, ГОСТ 6507-78 |
1 |
1 |
1 |
|
8. |
Штамп-просечка для образцов-типов 1 и 2 ГОСТ 11262-80 |
1 |
1 |
1 |
|
II. Транспортировка и хранение труб и деталей |
||||
|
1. |
Автомобиль с полуприцепом |
1 |
1 |
1 |
|
2. |
Автокран типа КС-2561 |
1 |
1 |
1 |
|
3. |
Кассета для труб (компл.) |
1 |
1 |
|
|
4. |
Стяжка из капронового каната (компл.) |
- |
- |
1 |
|
5. |
Стеллаж для хранения труб |
1 |
1 |
1 |
|
6. |
Строп-полотенце |
1 |
1 |
1 |
|
7. |
Контейнер для деталей |
1 |
1 |
1 |
|
8. |
Автомобиль вахтовый |
1 |
1 |
1 |
|
9. |
Топливозаправщик |
1 |
1 |
1 |
|
III. Сварка стыков труб |
||||
|
1. |
Установка для сварки встык нагретым инструментом (см. Приложение 18) |
- |
2 |
4 |
|
2. |
Аппарат автоматический сварочный для сварки закладными нагревателями (см. Приложение 19) |
1 |
- |
- |
|
3. |
Опоры переносные регулируемые |
- |
4 |
8 |
|
4. |
Лежки |
2 |
2 |
4 |
|
5. |
Электростанция (мощностью до 10 кВт) |
1 |
1 |
1 |
|
6. |
Комплект для нагрева инструмента типа теплоаккумулятора (ТА): |
|||
|
газовая горелка - 1 шт |
- |
- |
- |
|
|
баллон (50 л) - 1 шт |
- |
- |
- |
|
|
регулятор давл. - 1 шт |
- |
- |
- |
|
|
7. |
Ножовка по дереву (мелкозубая) или по металлу ручная или механизированная |
1 |
1 |
2 |
|
8. |
Приспособление для сборки стыков при сварке муфтами с закладными нагревателями |
1 |
- |
- |
|
9. |
Щуп лепестковый |
- |
1 |
1 |
|
10. |
Рулетка |
1 |
1 |
2 |
|
11. |
.Линейка |
1 |
1 |
2 |
|
12. |
Штангенциркуль |
1 |
1 |
2 |
|
13. |
Нож |
1 |
1 |
2 |
|
14. |
Кисть |
1 |
1 |
2 |
|
15. |
Шаблон для контроля геометрии шва |
1 |
2 |
|
|
16. |
Набор для нанесения клейма (ПУ-6, ПУ-8) |
- |
1 |
2 |
|
17. |
Цикля |
1 |
- |
- |
|
18. |
Кран-трубоукладчик |
- |
- |
1 |
|
19. |
Строп (пеньковый, капроновый) |
- |
1 |
|
|
IV. Сборка узлов разъемных (фланцевых) соединений |
||||
|
1. |
Ключ динамометрический |
- |
1 |
1 |
|
2. |
Набор ключей гаечных |
1 |
1 |
1 |
|
V. Сборка и сварка переходников "полиэтилен-сталь" со стальными трубами |
||||
|
1. |
Шлифмашинка угловая |
1 |
1 |
1 |
|
2. |
Агрегат электросварочный однопостовый |
1 |
1 |
1 |
|
3. |
Электродержатель |
1 |
1 |
1 |
|
4. |
Щиток (маска) со светофильтром |
1 |
1 |
1 |
|
5. |
Провод сварочный (м) |
30 |
30 |
30 |
|
6. |
Щетка металлическая |
1 |
1 |
1 |
|
7. |
Молоток-зубило |
1 |
1 |
1 |
|
VI. Рытье траншеи и засыпка |
||||
|
1. |
Экскаватор роторный ЭФ-151 |
1 |
1 |
- |
|
2. |
Экскаватор роторный ЭТР |
- |
1 |
|
|
3. |
Одноковшовый экскаватор |
1 |
1 |
1 |
|
4. |
Бульдозер |
1 |
2 |
2 |
|
5. |
Траншеезасыпатель |
1 |
1 |
1 |
|
6. |
Автомобиль вахтовый |
1 |
1 |
1 |
|
7. |
Топливозаправщик |
1 |
1 |
1 |
|
8. |
Устройство для трамбовки пазухов |
2 |
4 |
6 |
|
VII. Укладка трубопровода |
||||
|
1. |
Кран-трубоукладчик |
- |
2 |
2 |
|
2. |
Мягкие полотенца |
- |
2 |
2 |
|
3. |
Перемычки |
3 |
- |
- |
|
4. |
Мягкие стропы |
3 |
- |
- |
|
5. |
Водоотливной агрегат |
1 |
1 |
1 |
|
6. |
Лопата металлическая |
2 |
3 |
4 |
|
7. |
Заглушки труб |
2 |
2 |
2 |
|
VIII. Испытание трубопровода |
||||
|
1. |
Компрессор К-9 (К-6) |
1 |
1 |
2 |
|
2. |
Шланг дюритовый (м) |
5-10 |
5-10 |
5-15 |
|
3. |
Манометр |
2 |
2 |
2 |
|
4. |
Кран 3/4 |
1 |
1 |
1 |
|
5. |
Стальная заглушка |
2 |
2 |
2 |
|
6. |
Отводная трубка |
1 |
1 |
1 |
|
7. |
Фланцевое соединение |
1 |
1 |
1 |