Low-voltage switchgeal and controlgear. Part 7. Ancillary equipment. Section 2. Protective conductor terminal blocks for copper conductors

ГОСТ Р 50030.7.2-2000

(МЭК 60947-7-2-95)

ГОСУДАРСТВЕННЫЙ СТАНДАРТ РОССИЙСКОЙ ФЕДЕРАЦИИ

 

Аппаратура распределения и управления низковольтная

Часть 7

ЭЛЕКТРООБОРУДОВАНИЕ
ВСПОМОГАТЕЛЬНОЕ

Раздел 2

Клеммные колодки защитных проводников
для присоединения медных проводников

 

 

ГОССТАНДАРТ РОССИИ

Москва

 

Предисловие

1 РАЗРАБОТАН Акционерным обществом открытого типа «НИИЭлектроаппарат» ВНЕСЕН Техническим комитетом по стандартизации ТК 330 «Электроустановочные изделия»

2 ПРИНЯТ И ВВЕДЕН В ДЕЙСТВИЕ Постановлением Госстандарта России от 1 декабря 2000 г. № 324-ст

3 Настоящий стандарт, за исключением приложения В, представляет собой аутентичный текст международного стандарта МЭК 60947-7-2-95, издание 1.0 (1995) «Низковольтная аппаратура распределения и управления. Часть 7. Вспомогательное электрооборудование. Раздел 2. Клеммные колодки защитных проводников для присоединения медных проводников»

4 ВВЕДЕН ВПЕРВЫЕ

Введение

Настоящий стандарт должен применяться совместно со стандартами ГОСТ Р 50030.1 «Низковольтная аппаратура распределения и управления. Часть 1. Общие требования», ГОСТ 50030.7.1 «Аппаратура распределения и управления низковольтная. Часть 7. Вспомогательное электрооборудование. Раздел 1. Клеммные колодки для медных проводников».

Разделы и пункты, таблицы, рисунки и приложения ГОСТ Р 50030.1 или ГОСТ Р 50030.7.1, применяемые в настоящем стандарте, имеют соответствующие ссылки, например 1.2 ч. 1, таблица 4 ч. 7.1 или приложение А ч. 1.

В приложении А приведены дополнительные требования к клеммным колодкам защитных проводников для присоединения медных проводников, учитывающие требования государственных стандартов.

Настоящий стандарт распространяется на клеммные колодки, предназначенные для соединения защитных медных проводников с функцией РЕ и PEN с установочными панелями.

 

СОДЕРЖАНИЕ

1 Область применения. 2

1.1 Нормативные ссылки. 3

2 Определения. 4

3 Классификация. 4

4 Характеристики. 4

4.1 Перечень характеристик. 4

4.2 Тип клеммной колодки для защитных проводников. 4

4.3 Номинальные и предельные значения. 4

5 Информация об изделии. 5

5.1 Маркировка. 5

5.2 Дополнительная информация. 5

6 Нормальные условия эксплуатации, монтажа и транспортирования. 5

7 Требования к конструкции и работоспособности. 5

7.1 Требования к конструкции. 5

7.2 Требования к работоспособности. 6

8 Испытания. 6

Приложение А. Максимальные кратковременно выдерживаемые токи, протекающие по профильным рейкам.. 10

Приложение в. Дополнительные требования, учитывающие потребности экономики страны и требования государственных стандартов на электротехнические изделия. 11

Приложение С. Библиография. 12

 

ГОСТ Р 50030.7.2-2000

(МЭК 60947-7-2-95)

ГОСУДАРСТВЕННЫЙ СТАНДАРТ РОССИЙСКОЙ ФЕДЕРАЦИИ

Аппаратура распределения и управления низковольтная

Часть 7

ЭЛЕКТРООБОРУДОВАНИЕ ВСПОМОГАТЕЛЬНОЕ

Раздел 2

Клеммные колодки защитных проводников для присоединения медных проводников

Low-voltage switchgear and controlgear. Part 7. Ancillary equipment. Section 2. Protective conductor terminal blocks
for copper conductors

Дата введения 2002-01-01

1 Область применения

Настоящий стандарт распространяется на клеммные колодки защитных проводников с функцией РЕ сечением до 120 мм2 (250 МСМ) и клеммные колодки защитных проводников с функцией PEN сечением 10 мм2 (AWG8) и свыше с фиксирующими узлами резьбового или безрезьбового типа преимущественно общепромышленного назначения.

Клеммные колодки защитных проводников (далее - клеммные колодки) предназначены для осуществления электрического и механического соединения медных проводников с установочными панелями.

Стандарт распространяется на клеммные колодки для присоединения круглых медных проводников со специальной или без специальной подготовки поперечного сечения от 0,2 до 120 мм2 (AWG24 и 250 МСМ), применяемые в цепях переменного тока напряжением до 1000 В частотой до 1000 Гц и в цепях постоянного тока напряжением до 1500 В, как правило, в сочетании с клеммными колодками по ГОСТ 50030.7.1.

Настоящий стандарт не распространяется на:

- клеммные колодки защитных проводников специальных конструкций, составляющие неотъемлемую часть оборудования, на которое распространяется соответствующий стандарт;

- клеммные колодки защитных проводников, требующие крепления проводников с помощью специальных устройств до зажима их в выводах, например плоские быстроприсоединяемые зажимы;

- клеммные колодки защитных проводников, требующие скручивания проводников, например со скрученными соединениями;

- клеммные колодки защитных проводников, обеспечивающие прямой контакт посредством проникания сквозь изоляцию;

- клеммные колодки защитных проводников, отвечающие другим особым требованиям.

1.1 Нормативные ссылки

В настоящем стандарте использованы ссылки на следующие стандарты:

ГОСТ 9.005-72 Единая система защиты от коррозии и старения. Металлы, сплавы, металлические и неметаллические неорганические покрытия. Допустимые и недопустимые контакты с металлами и неметаллами

ГОСТ 12.2.007.0-75 Система стандартов безопасности труда. Изделия электротехнические. Общие требования безопасности

ГОСТ 15.001-88 Система разработки и постановки продукции на производство. Продукция производственно-технического назначения

ГОСТ 15150-69 Машины, приборы и другие технические изделия. Исполнения для различных климатических районов. Категории, условия эксплуатации, хранения и транспортирования в части воздействия климатических факторов внешней среды

ГОСТ 15543.1-89 Изделия электротехнические. Общие требования в части стойкости к климатическим внешним воздействующим факторам

ГОСТ 16504-81 Система государственных испытаний продукции. Испытания и контроль качества продукции. Основные термины и определения

ГОСТ 16962.1-89 (МЭК 68-2-1-74) Изделия электротехнические. Методы испытаний на устойчивость к климатическим внешним воздействующим факторам

ГОСТ 16962.2-90 Изделия электротехнические. Методы испытаний на стойкость к механическим внешним воздействующим факторам

ГОСТ 17516.1-90 Изделия электротехнические. Общие требования в части стойкости к механическим внешним воздействующим факторам

ГОСТ 18620-86 Изделия электротехнические. Маркировка

ГОСТ 21991-89 (МЭК 447-74) Оборудование электротехническое. Аппараты электрические. Направление движения органов управления

ГОСТ 23216-78 Изделия электротехнические. Хранение, транспортирование, временная противокоррозионная защита, упаковка. Общие требования и методы испытаний

ГОСТ 24753-81 Выводы контактные электротехнических устройств. Общие технические требования

ГОСТ Р 50030.1-92 (МЭК 947-1-88) Низковольтная аппаратура распределения и управления. Часть 1. Общие требования

ГОСТ Р 50030.7.1-2000 (МЭК 60947-7-1-89) Аппаратура распределения и управления низковольтная. Часть 7. Вспомогательное электрооборудование. Раздел 1. Клеммные колодки для медных проводников

2 Определения

В настоящем стандарте используют следующие термины (в дополнение к разделу 2 ч. 1):

2.1 клеммная колодка защитных проводников: Устройство с одним или более фиксирующих узлов для присоединения и/или токоведущего соединения защитных проводников (РЕ и PEN) с установочными панелями, конструкцией которых могут быть предусмотрены фиксирующие устройства резьбового или безрезьбового типа. Установочными панелями могут служить, например, монтажные рейки, листы металла с вырезками, монтажные плиты и т.п.

Клеммная колодка для защитных проводников может быть либо частично изолирована, либо не изолирована вообще. Для нее не требуется рабочей изоляции.

2.2 частично изолированная клеммная колодка защитных проводников: Устройство, которое изолировано только от частей, находящихся под напряжением, других устройств, но не от панели.

2.3 проводник PEN: Заземленный проводник, сочетающий функции защитного и нейтрального проводников.

Примечание - Обозначение PEN образовано сочетанием символов РЕ (для защитного проводника) и N (для нулевого проводника) согласно МЭК 60050 (826-04-06) [1] (см. также 2.1.15 ч. 1).

3 Классификация

Клеммные колодки классифицируют по:

- способу крепления к панели;

- типу вывода (например, резьбового типа, безрезьбового типа и т.п.);

- способности присоединять проводники со специальной или без специальной подготовки (например, кабельными наконечниками);

- аналогичным или различным зажимным узлам в выводном устройстве;

- числу выводов в каждом выводном устройстве;

- условиям эксплуатации;

- наличию функций РЕ или PEN.

4 Характеристики

4.1 Перечень характеристик

По 4.1 ч. 7.1.

4.2 Тип клеммной колодки для защитных проводников

По 4.2 ч. 7.1.

4.3 Номинальные и предельные значения

4.3.1 Свободный

4.3.2 Номинальный кратковременно выдерживаемый ток (клеммной колодки защитных проводников)

По 4.3.2 ч. 7.1.

4.3.3 Стандартные поперечные сечения

Примечание - Согласно области применения настоящего стандарта таблица 1 ч. 1 действует только для сечений до 120 мм2 (250 МСМ).

4.3.4 Номинальные поперечные сечения

По 4.3.4 ч. 7.1.

4.3.5 Номинальная способность к присоединению (клеммной колодки защитных проводников)

По 4.3.5 ч. 7.1 со следующим дополнением к таблице 2.

Номинальное поперечное сечение

Номинальная способность к присоединению

мм2

AWG/MCM

мм2

AWG/MCM

50

0

25-35-50

4-2-0

70

00

35-50-70

2-0-00

95

000

50-70-95

0-00-000

120

250

70-95-120

0-000-250

5 Информация об изделии

5.1 Маркировка

Клеммная колодка должна иметь прочную и читаемую маркировку с указанием:

a) наименования или товарного знака изготовителя;

b) обозначения типа изделия, позволяющего идентифицировать его для получения информации от изготовителя или из его каталогов;

c) ГОСТ Р 50030.7.2, если изготовитель ссылается на этот стандарт.

5.2 Дополнительная информация

Следующая информация должна быть маркирована на клеммной колодке, содержаться в информационных материалах изготовителя или быть нанесена на упаковку:

a) номинальное поперечное сечение;

b) номинальная способность к присоединению, если она отличается от таблицы 2 и если к выводу присоединяется один проводник согласно 7.4.3.1.6 МЭК 439-1 [2];

c) условия эксплуатации, если они отличаются от указанных в разделе 6;

d) функция РЕ (только при ее наличии или использовании металла на пути тока).

Примечание - Маркировки, обозначающей пригодность для выполнения функций PE + PEN, не существует.

6 Нормальные условия эксплуатации, монтажа и транспортирования

По разделу 6 ч. 1.

7 Требования к конструкции и работоспособности

7.1 Требования к конструкции

По 7.1 ч. 1 со следующими дополнениями.

7.1.1 Выводы

Выводы должны обеспечивать надежный контакт между присоединяемыми проводником и установочной панелью.

Выводы должны быть способны выдерживать усилия, которые могут прикладываться к присоединенным проводникам согласно условиям 8.2.1 и 8.2.2 ч. 7.1.

7.1.2 Крепление к установочной панели

Клеммные колодки должны надежно прикрепляться к соответствующей панели и иметь конструкцию, исключающую возникновение гальванической коррозии в месте крепления.

Конструкция клеммной колодки должна предусматривать элементы крепления, обеспечивающие надежное токопроводящее соединение с панелью.

Отсоединение от панели должно осуществляться только с помощью инструмента. Испытание следует проводить в соответствии с 8.2.1 ч. 7.1.

Примечание - Другие требования 7.1.1 и 7.1.2 ч. 1, касающиеся материалов и токоведущих частей, - в стадии рассмотрения.

7.1.3 Воздушные зазоры и расстояния утечки

Изготовитель клеммной колодки в своей информации должен указать значения соответствующих воздушных зазоров и расстояний утечки. Они должны соответствовать ГОСТ Р 50030.7.1.

Примечание - Для устройств, содержащих клеммные колодки разных типоразмеров, при использовании дополнительных установочных узлов, воздушные зазоры и расстояния утечки должны определяться дополнительными методами, указанными изготовителем.

7.1.4 Идентификация и маркировка зажимов

По 7.1.4 ч. 7.1 со следующим дополнением.

Клеммная колодка с частичной изоляцией должна быть желто-зеленого цвета.

7.1.5 Стойкость частей из изоляционного материала к аномальному нагреву, огню и трекингостойкость

По 7.1.5 ч. 7.1.

7.1.6 Способность к присоединению

По 7.1.6 ч. 7.1.

7.1.7 Использование монтажных реек для защитных проводников

Монтажные рейки могут применяться в качестве токопроводящих шин для защитных проводников при условии, что значения теплового кратковременно выдерживаемого тока и теплового номинального тока не превышают указанных в приложении А.

В приложении А приведены примеры стандартизованных профильных монтажных реек. Шины для стальных защитных проводников не разрешены к применению в качестве проводников PEN.

Примечание - Требуются специальные испытания клеммных колодок с присоединением алюминиевых проводников к медным или алюминиевых - к проводникам из медного сплава.

В США применяют специальные требования к выводам, осуществляющим соединения алюминиевых проводников с медными проводниками или с проводниками из медных сплавов.

7.2 Требования к работоспособности

По 7.2 ч. 7.1 со следующим изменением.

7.2.1 Превышение температуры

При испытаниях клеммных колодок с функцией PEN согласно 8.3.3 настоящего стандарта превышение температуры выводов не должно быть более 45 К.

7.2.2 Электроизоляционные свойства

Клеммные колодки, устанавливаемые непосредственно рядом с клеммными колодками, на которые распространяется действие ГОСТ Р 50030.7.1, должны выдержать испытание на электрическую прочность изоляции согласно 8.3.1 настоящего стандарта.

7.2.3 Номинальный кратковременно выдерживаемый ток

Клеммные колодки должны быть способны выдерживать трехкратное испытание номинальным кратковременно выдерживаемым током длительностью 1 с каждое, значение которого соответствует 120 А на 1 мм2 их номинального поперечного сечения. Испытание следует проводить согласно 8.3.4 настоящего стандарта.

7.2.4 Падение напряжения

Разность потенциалов, создаваемая присоединением проводников и панели клеммной колодки, не должна превышать значений, указанных в 8.3.3 - 8.3.5, при измерении согласно 8.3.2 настоящего стандарта.

7.2.5 Электрическая работоспособность после температурного износа (только для клеммных колодок безрезьбового типа для защитных проводников)

Клеммные колодки должны быть способны выдерживать испытание на температурный износ, состоящее из 192 температурных циклов и выполняемое согласно 8.3.5 настоящего стандарта.

8 Испытания

По разделу 8 ч. 7.1 со следующими дополнениями.

8.3 Проверка электрических характеристик

Проверка электрических характеристик состоит из:

- испытания на электрическую прочность изоляции (со смежными клеммными колодками) (8.3.1);

- проверки падения напряжения (8.3.2);

- испытания на превышение температуры (для клеммных колодок с функцией PEN) (8.3.3);

- испытания на кратковременно выдерживаемый ток (8.3.4);

- испытания на температурный износ (для клеммных колодок безрезьбового типа) (8.3.5).

8.3.1 Испытание на электрическую прочность изоляции

Данное испытание проводят только для клеммных колодок с частичной изоляцией, расположенных в непосредственной близости от колодок, соответствующих ГОСТ Р 50030.7.1.

Примечание - Испытание - в стадии рассмотрения.

8.3.2 Проверка падения напряжения

По 8.3.2 ч. 7.1 со следующим изменением.

а) не применяется.

Проверку испытаниями по перечислениям b) и d) ч. 7.1 проводят на смежных клеммных колодках с присоединением проводников номинального поперечного сечения, как указано на рисунках 2 и 3.

Клеммные колодки для испытания b) оснащают проводниками с поливинилхлоридной изоляцией.

Если присоединение защитного проводника выполнено к стальным панелям с хромированной поверхностью, хромовое покрытие следует снять в точках контакта перед присоединением, за исключением испытания на кратковременно выдерживаемый ток согласно 8.3.4, для которого падение напряжения измеряют только после испытания.

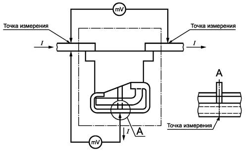
Падение напряжения измеряют на каждой клеммной колодке, как показано на рисунке 1. Измерение проводят при постоянном токе, равном 0,1 значения, указанного в таблице 5 или 6 ч. 7.1 в соответствии с поперечным сечением применяемых проводников.

Рисунок 1 - Установка для испытания на падение напряжения

До и после испытания падение напряжения на клеммных колодках для медных проводников не должно превышать 3,2 мВ, а для узлов фиксации к панели - 6,4 мВ. Значение, измеренное после испытания, не должно быть св. 150 % значений, измеренных до испытания.

8.3.3 Испытание на превышение температуры

Данное испытание предназначено только для клеммных колодок с функцией PEN номинального поперечного сечения 10 мм2 и более. С этой точки зрения значения теплового номинального тока, протекающего по рейкам, указанные в приложении А, должны рассматриваться в качестве предельных значений.

Стальные панели не допускаются. Испытательная цепь должна располагаться горизонтально на деревянной поверхности (например, крышка стола или пол), как показано на рисунках 2 и 3. Проводники должны свободно лежать на поверхности.

Испытание следует проводить с проводниками в поливинилхлоридной изоляции номинального поперечного сечения согласно МЭК 228 [3].

Крепление проводников и крепление к панели следует выполнять приложением крутящих моментов, значения которых приведены в таблице 4 ч. 1, или больших значений, указанных изготовителем.

Минимальная длина L проводника должна быть 1 м для поперечных сечений до 10 мм2 включительно (AWG8) и 2 м - для больших значений.

Проводники должны быть жесткие многожильные.

Предусмотрены две группы испытаний.

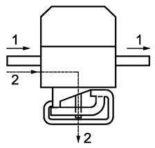
a) Пять клеммных колодок следует установить рядом без панели (см. рисунок 2); температуру измеряют на средней колодке.

b) Пять клеммных колодок должны устанавливаться рядом на панели (см. рисунок 3), причем две внешние клеммные колодки соединены через панель. Температуру измеряют на двух внешних колодках.

Рисунок 2 - Установка для испытания на превышение температуры для первой группы испытаний

Рисунок 3 - Установка для испытания на превышение температуры для второй группы испытаний

Испытания проводят на переменном токе в однофазной цепи, как указано в таблицах 5 и 6 ч. 1, в зависимости от номинального поперечного сечения проводников, и продолжают до достижения постоянной температуры. Отклонение менее 1 К между двумя из трех последовательных измерений (с интервалом 5 мин) считают постоянной температурой.

Превышение температуры не должно выходить за пределы значений, указанных в 7.2 ч. 7.1.

После испытания и охлаждения до температуры окружающего воздуха клеммная колодка должна быть способна выдерживать испытание на падение напряжения согласно 8.3.2 в точках измерения, указанных на рисунке 1.

8.3.4 Испытание на кратковременно выдерживаемый ток

Целью данного испытания является проверка способности выдерживать тепловые нагрузки.

Испытание проводят на клеммной колодке, установленной на основании согласно указаниям изготовителя с присоединением многожильного проводника номинального поперечного сечения.

Крепление проводников и крепление к панели следует проверять приложением крутящих моментов, значения которых приведены в таблице 4 ч. 1, или больших значений, указанных изготовителем.

Значение и длительность испытательного тока должны соответствовать 7.2.3.

Максимальные кратковременно выдерживаемые токи, протекающие по рейкам, указанные в приложении А, следует рассматривать в качестве предельных значений.

Испытательный ток подают один раз по путям 1-1 и 2-2 согласно рисунку 4.

Между импульсами тока допускается пауза не менее 6 мин.

Рисунок 4 - Испытание на тепловой ток короткого замыкания

По окончании испытания не должны наблюдаться повреждения частей клеммной колодки, способные нарушить дальнейшую эксплуатацию.

После охлаждения до комнатной температуры, без изменения установки, клеммные колодки должны выдержать испытание на падение напряжения в точках измерения, указанных на рисунке 1. Падение напряжения для узлов фиксации к панели не должно превышать 6,4 мВ.

8.3.5 Испытание на температурный износ (только для клеммных колодок безрезьбового типа)

Для испытания клеммных колодок безрезьбового типа для медных проводников пять клеммных колодок следует смонтировать без панели, изолированно одна от другой (см. рисунок 2).

Минимальная длина концов проводников должна быть 300 мм.

Если присоединение к панели также выполнено без винтов, пять клеммных колодок устанавливают рядом на панели (см. рисунок 3).

Испытание проводят с термостойкими изолированными или неизолированными проводниками номинального поперечного сечения.

Клеммные колодки, уже подвергавшиеся проверке на падение напряжения согласно 8.3.2, помещают в камеру тепла при первоначальной температуре (20 ± 2) °С.

Вся испытательная установка, включая проводники, не должна перемещаться до завершения всех испытаний на падение напряжения.

Для клеммных колодок, предназначенных для эксплуатации в нормальных условиях (не более 40 °С), температуру в камере тепла повышают до 85 °С.

Для клеммных колодок, условия применения которых изготовитель характеризует как «максимальные с температурой св. 40 °С», температуру в камере тепла повышают до значений, указанных изготовителем, с прибавлением 45 °С.

Температуру поддерживают в пределах этого значения с точностью ±5 °С в течение 10 мин.

Затем клеммные колодки охлаждают до температуры приблизительно 30 °С, причем допускается принудительное охлаждение, и выдерживают их при этой температуре еще в течение 10 мин и, при необходимости измерения падения напряжения, охлаждают далее до (20 ± 5) °С.

В качестве ориентировочного значения скорости нагревания и охлаждения камеры тепла за основу берут 1,5 °С/мин.

Падение напряжения в клеммных колодках также определяют согласно 8.3.2 после каждых 24 температурных циклов и по окончании 192 температурных циклов, каждый раз при температуре (20 ± 5) °С.

Падение напряжения на зажимных узлах для медных проводников не должно превышать 4,8 мВ или 1,5 значения, измеренного после 24-го цикла, выбирают меньшее.

На узлах крепления к панели падение напряжения не должно быть более 9,6 мВ или 1,5 значения, измеренного после 24-го цикла, выбирают меньшее.

Если одна из клеммных колодок не выдерживает испытание, то его повторяют на втором комплекте колодок, все из которых должны выдержать повторное испытание.

После испытания осмотр не должен выявить изменений, препятствующих дальнейшей эксплуатации, например трещин, деформаций и т.п.

Кроме того, проводят испытание на выдергивание согласно 8.2.2.2 ч. 7.1.

8.4 Испытание на стойкость к огню

На рассмотрении.

ПРИЛОЖЕНИЕ А

(обязательное)

Максимальные кратковременно выдерживаемые токи, протекающие по профильным рейкам

Тип профильной рейки по МЭК 715 [4]

Материал

Поперечное сечение, эквивалентное медной рейке, мм2

Кратковременно (1 с) выдерживаемый ток, кА

Тепловой номинальный ток шины PEN, A

 

ТН 15-5,5 [4]

Сталь

10

1,20

-

 

Медь1)

25

3,00

101

 

Алюминий1)

16

1,92

76

 

G32

Сталь

35

4,20

-

 

Медь1)

120

14,40

269

 

Алюминий1)

70

8,40

192

 

ТН 35-7,5

Сталь

16

1,92

-

 

Медь1)

50

6,00

150

 

Алюминий1)

35

4,20

125

 

ТН 35-15

Сталь

50

6,00

-

 

Медь1)

150

18,00

309

 

Алюминий1)

95

11,40

232

 

1) Сплавы меди или алюминия, указанные изготовителем клеммных колодок, должны соответствовать значениям таблицы.

ПРИЛОЖЕНИЕ В

(обязательное)

Дополнительные требования, учитывающие потребности экономики страны и требования государственных стандартов на электротехнические изделия

B.1 Виды климатических исполнений - по ГОСТ 15150 и ГОСТ 15543.1.

Виды климатических исполнений и номинальные значения климатических факторов должны устанавливаться в стандартах и технических условиях на клеммные колодки конкретных серий и типов.

B.2 Номинальные значения механических внешних воздействующих факторов - по ГОСТ 17516.1, и должны устанавливаться в стандартах и технических условиях на клеммные колодки конкретных серий и типов.

B.3 Маркировка клеммных колодок должна соответствовать требованиям настоящего стандарта и ГОСТ 18620.

B.4 Выводы клеммных колодок могут допускать присоединение алюминиевых проводов и кабелей и должны соответствовать ГОСТ 24753. При этом контактные участки выводов должны иметь защитные покрытия по ГОСТ 9.005, а выводные зажимы - средства стабилизации контактного нажатия.

B.5 Конструкция клеммных колодок должна соответствовать требованиям ГОСТ 12.2.007.0, ГОСТ 21991.

B.6 Транспортирование и хранение контакторов - по ГОСТ 23216.

Условия транспортирования и хранения и допустимые сроки сохраняемости должны устанавливаться в стандартах и технических условиях на клеммные колодки конкретных серий и типов.

B.7 Упаковка и временная противокоррозионная защита для условий транспортирования и хранения по ГОСТ 23216 должна устанавливаться в стандартах и технических условиях на клеммные колодки конкретных серий и типов.

B.8 В настоящем стандарте виды испытаний и их наименования приняты по ГОСТ 50030.1. Программа типовых испытаний по ГОСТ Р 50030.1 является основой для установления программ контрольных испытаний любых видов по ГОСТ 16504.

Клеммные колодки подвергают квалификационным, периодическим, приемосдаточным и типовым испытаниям; порядок их проведения должен соответствовать ГОСТ 15.001; периодичность испытаний, программы испытаний и условия их проведения должны устанавливаться в стандартах и технических условиях на клеммные колодки конкретных серий и типов.

B.9 Программы приемочных и квалификационных испытаний клеммных колодок должны включать в себя полную программу типовых испытаний по настоящему стандарту, а также испытания на стойкость к внешним воздействующим факторам по ГОСТ 16962.1, ГОСТ 16962.2, ГОСТ 17516.1.

В.10 Правила приемки клеммных колодок должны устанавливаться в стандартах и технических условиях на клеммные колодки конкретных серий и типов.

В.11 Изготовитель должен гарантировать соответствие клеммных колодок требованиям настоящего стандарта, а также технических условий на колодки конкретных серий и типов при условии соблюдения правил эксплуатации, транспортирования и хранения, устанавливаемых техническими условиями на колодки конкретных серий и типов.

Гарантийный срок эксплуатации клеммных колодок - не менее двух лет со дня ввода в эксплуатацию, и устанавливается в технических условиях на колодки конкретных серий и типов.

ПРИЛОЖЕНИЕ С

(справочное)

Библиография

[1] МЭК 60050 (826) (1982) Международный электротехнический словарь. Глава 826. Электрические установки зданий

[2] МЭК 439-1 (1992) Устройства распределения и управления низковольтные. Часть 1. Требования к устройствам, прошедшим типовые испытания и частичные типовые испытания

[3] МЭК 228 (1978) Проводники изолированных кабелей

[4] МЭК 715 (1981) Размеры низковольтной коммутационной аппаратуры. Стандартизованный монтаж на профилированных панелях для крепления электрических устройств в установках распределения и управления

 

Ключевые слова: вспомогательное оборудование, клеммные колодки защитных проводников