ОСТ 24.201.03-90

УТВЕРЖДЕНО

Указанием министерства

тяжелого машиностроения

от 27 ноября 1990 г.

№ ВА-002-1-11125

ЛИСТ УТВЕРЖДЕНИЯ
отраслевого стандарта ОСТ 24.201.03-90
«Сосуды и аппараты стальные высокого давления.
Общие технические требования»

Первый заместитель начальника

НТО Минтяжмаш СССР                                                                     В.А. Мажукин

Начальник сектора                                                                              А.Н. Полтарецкий

Директор ИркутскНИИхиммаш                                                        Е.Р. Хисматулин

Заместитель директора                                                                        В.И. Лившиц

Заведующий отдела стандартизации                                                 В.И. Королев

Заведующий отделом руководитель темы                                        А.П. Алябьев

Заведующий отделом 5                                                                       А.К. Древин

Заведующий отделом 10                                                                     Л.В. Перегудов

Заведующий отделом 11                                                                     В.В. Иванцов

Заведующий лабораторией сварки                                                    А.Г. Колмаков

Заведующий лабораторией НМК                                                      В.И. Этингов

Заведующий лабораторией прочности                                             П.Г. Пимштейн

Ведущий инженер                                                                               Е.Д. Кудрикова

Научный сотрудник                                                                            Б.А. Попов

Научный сотрудник                                                                            Р.Р. Четрукова

Старший научный сотрудник                                                            В.Д. Молчанова

Зам. заведующего отд. 11                                                                    Г.Г. Золотенин

СОИСПОЛНИТЕЛИ

Главный инженер

ПО «Уралхиммаш»                                                                                Н.К. Глобин

Главный конструктор                                                                            В.Б. Ромашевский

Главный сварщик                                                                                   В.В. Геймур

Главный металлург                                                                                В.А. Синцов

Начальник ОНМК                                                                                  В.Ф. Андрющенко

Начальник КБ                                                                                         В.Г. Куроптев

Начальник бюро                                                                                     М.А. Шаньгин

Инженер-технолог                                                                                 Б.Г. Зисельман

Инженер-технолог                                                                                 Ф.А. Батаногов

Инженер-конструктор                                                                           Н.Н. Корф

Инженер-технолог                                                                                 Ю.Д. Пащенко

СОГЛАСОВАНО

Заместитель директора по

научной работе НИИхиммаш

______________ В.В. Грязнов

СОГЛАСОВАНО

Заместитель начальника

Отдела восстановления

средств производства и

энергообеспечения

Минхимнефтепрома СССР

___________ Б.И. Микерин

СОГЛАСОВАНО

Заместитель Главного

инженера ВНИПИнефть

___________ В.А. Манохин

СОГЛАСОВАНО

Первый заместитель начальника

центра по машиностроению и ремонту

Государственной ассоциации «АГРОХИМ»

________________ Г.А. Киселев

 

ОТРАСЛЕВОЙ СТАНДАРТ

СОСУДЫ И АППАРАТЫ СТАЛЬНЫЕ ВЫСОКОГО ДАВЛЕНИЯ

Общие технические требования

ОСТ
24.201.03-90

Дата введения 1 июля 1991 г.

Настоящий стандарт распространяется на сосуды и аппараты стальные, работающие под внутренним избыточным давлением (далее по тексту - «давлением») свыше 10 до 130 МПа при температуре стенки не ниже минус 40 и не выше 525 °С и устанавливает общие технические требования к изготовлению, конструкции, материалам, методам контроля и испытаний, приемке и поставке сосудов и аппаратов с корпусами в кованом, кованосварном, многослойном рулонированном, вальцованосварном и штампосварном исполнениях, предназначенных для эксплуатации в химических, нефтехимических, нефтеперерабатывающих производствах, в производстве минеральных удобрений, а также других смежных отраслях промышленности.

Стандарт не распространяется на:

1) сосуды лабораторного типа, предназначенные для научно-экспериментальных целей;

2) сосуды под наружным давлением;

3) сосуды, предназначенные для транспортирования нефтяных, химических продуктов и сжиженных газов;

4) сосуды и аппараты стальные сварные, изготавливаемые по ОСТ 26-291- (с толщиной стенки до 120 мм, работающих под давлением до 16 МПа);

5) сосуды и аппараты других ведомств и назначений, указанных в Правилах устройства и безопасной эксплуатации сосудов, работающих под давлением, Госгортехнадзора СССР.

В стандарте учтены требования «Правил устройства и безопасной эксплуатации сосудов, работающих под давлением» утвержденных Госгортехнадзором СССР от 27.11.87 г. (далее - Правила Госгортехнадзора).

1. ОСНОВНЫЕ ПАРАМЕТРЫ И РАЗМЕРЫ

1.1. Номенклатура основных параметров и размеров сосудов и аппаратов, принимаемая в конструкторской документации, должна соответствовать указанной в табл. 1, в зависимости от группы оборудования по классификатору (ВКГ ОКП).

Таблица 1

Наименование группы оборудования (ВКГ ОКП)

Наименование основных параметров и размеров, единицы физических величин

Аппараты колонные (36 1100; 36 8310)

Объем, м3

Диаметр внутренний, мм

Давление рабочее и расчетное, МПа (кгс/см2)

Температура рабочей среды, °С

Температура стенки корпуса, расчетная, °С

Аппараты теплообменные:

 

1) Кожухотрубчатые (36 1200; 36 8320)

Площадь поверхности теплообмена, м2

Тепловой поток, Вт

Диаметр корпуса, внутренний, мм

Диаметр наружный и толщина стенки теплообменных труб, мм

Длина теплообменных труб, мм

Давление рабочее, МПа (кгс/см2)

Температура рабочей среды, °С

Температура стенки корпуса, расчетная, °С

2) Пластинчатые (36 1200)

Площадь поверхности теплообмена, м2

Площадь поверхности теплообмена пластин, м2

Число пластин

Диаметр корпуса, внутренний, мм

Давление рабочее и расчетное, МПа (кгс/см2)

Температура рабочей среды, °С

Температура стенки корпуса, расчетная, °С

Сосуды и аппараты, емкостные (36 1500; 36 8330)

Объем, м3

Диаметр внутренний, мм

Давление рабочее и расчетное, МПа (кгс/см2)

Температура рабочей среды, °С

Температура стенки корпуса, расчетная, °С

Нефтеаппаратура (нефтегазоперерабатывающая) (36 8310; 36 8320; 36 8330)

Объем, м3

Диаметр внутренний, мм

Давление рабочее и расчетное, МПа (кгс/см2)

Температура рабочей среды, °С

Температура стенки корпуса, расчетная, °С

1.2. Объем, рабочее давление, температура рабочей среды, площадь поверхности теплообмена, тепловой поток, наружный диаметр теплообменных труб, устанавливаются техническим заданием на сосуд.

1.3. Условные (номинальные) давления сосудов должны соответствовать ГОСТ 9493.

1.4. Основные базовые размеры сосудов должны приниматься:

1) внутренний диаметр цилиндрической части корпуса по ГОСТ 9617;

2) номинальный объем по ГОСТ 13372;

3) длина по ГОСТ 6636.

1.5. Определение понятий - рабочее, расчетное и пробное давления, расчетная температура стенки корпуса сосуда по ГОСТ 14249.

1.6. Типы сосудов устанавливаются в зависимости от исполнений цилиндрической части корпуса:

1) кованые, изготовленные из одной кованой заготовки;

2) кованосварные, изготовленные из однослойных кованых обечаек, сваренных кольцевыми швами между собой и концевыми элементами (днищами, фланцами, горловинами);

3) многослойные рулонированные, изготовленные из нескольких рулонированных обечаек, сваренных между собой кольцевыми швами, а также в совокупности с однослойными частями (трубными досками, обечайками с патрубками и т.п.) и концевыми элементами;

4) вальцованосварные, обечайки которых изготовлены методом вальцовки из толстолистовой стали с последующей сваркой продольных швов, а затем соединенные кольцевыми сварными швами между собой и концевыми элементами;

5) штампосварные, обечайки которых изготовлены из толстолистовой стали методом штамповки полуобечаек с последующей сваркой их продольными швами, а затем кольцевыми швами между собой и концевыми элементами.

1.7. Тип сосуда принимается в зависимости от технологических возможностей предприятия-изготовителя и необходимых технико-экономических показателей.

1.8. Основные предпочтительные параметры и условия применяемости сосудов в зависимости от типа конструктивного исполнения рекомендуется выбирать по табл. 2.

1.9. Допускается изготовление сосудов с другими основными параметрами (по внутреннему диаметру и толщине стенки) в зависимости от технологических возможностей предприятия-изготовителя и по согласованию с ИркутскНИИхиммашем на другие давления и температуру.

Таблица 2

Тип сосуда (исполнение)

Рабочее давление, МПа

Температура стенки, °С

Диаметр внутренний, мм

Толщина стенки, мм

Кованые

свыше 10 до 130

от минус 40 до 525

не ограничены

Кованосварные

не ограничен

до 300

Вальцованосварные

более 700

более 120

Штампосварные

от 600 до 1400

до 160

Многослойные рулонированные

от минус 40 до 420

от 600 до 3600

до 300

Примечания:

1. Кованые сосуды, изготовленные из аустенитных сталей допускается эксплуатировать при температуре до минус 70 °С включительно.

2. Кованосварные сосуды с внутренним диаметром до 500 мм допускается изготавливать из труб - по ОСТ 26-01-1434.

3. Изготовление вальцованосварных сосудов на давление до 16 МПа, с толщиной стенки до 120 мм - по ОСТ 26-291.

4. Температура стенки сосудов с аустенитной плакировкой или наплавкой при эксплуатации в водородосодержащих средах не должна превышать 350 °С.

2. ОСНОВНЫЕ ТЕХНИКО-ЭКОНОМИЧЕСКИЕ ТРЕБОВАНИЯ

2.1. Требования назначения

2.1.1. Сосуды по их назначению должны соответствовать основным требованиям, указанным во вводной части настоящего стандарта.

2.1.2. Основные показатели назначения сосудов устанавливаются в техническом проекте - по РД 26-01-172 и разделам 1 настоящего стандарта.

2.2. Требования надежности

2.2.1. Номенклатура показателей надежности и их числовые значения должны определяться заказчиком и разработчиком технического задания и технического проекта на сосуд (группу сосудов), применительно к конкретным условиям и параметрам в соответствии с РД 26-01-172 и РД 50-650.

Расчет показателей надежности должен производиться в соответствии с РД 26-01-143.

2.2.2. Сосуды относятся к восстанавливаемым изделиям группы 1, вида 1 по РД 50-650.

2.3. Требования стойкости к внешним воздействиям

2.3.1. Сосуды колонного типа, устанавливаемые на открытом воздухе, должны подвергаться расчету на сейсмическое воздействие (для районов с сейсмичностью 7 и более баллов по 12 балльной шкале) и на ветровые нагрузки в соответствии с ГОСТ 24756 и ГОСТ 24757.

2.3.2. Требования стойкости сосудов к внешним воздействиям должны приниматься в соответствии с «видом климатического исполнения» и «категорией размещения изделия», установленными техническим заданием и техническим проектом на сосуд по ГОСТ 15150, в зависимости от воздействия климатических факторов внешней среды в месте размещения эксплуатируемого сосуда.

2.4. Требования эргономики и технической эстетики

2.4.1. Конструкция сосудов должна обеспечивать удобство обслуживания при монтаже, эксплуатации, техническом освидетельствовании и ремонте, а также доступ к основным сборочным единицам и деталям.

2.4.2. Конкретный состав требований по эргономике и технической эстетике на сосуд или группу сосудов должен быть определен в документации технического проекта в зависимости от места установки (на открытой площадке, в помещении и др.), типа обслуживания при эксплуатации (пультовое, индивидуальное) в соответствии с ГОСТ 20.39.108 и ГОСТ 30.001.

2.5. Требования технического освидетельствования, обслуживания и ремонта

Требования технического освидетельствования, обслуживания и ремонта сосудов должны соответствовать указанным в Правилах Госгортехнадзора СССР (разделы 6.3, 7.2, 7.4), должностных инструкциях, разработанных потребителем и нормативно-технической документации, утвержденной в установленном порядке.

2.6. Требования безопасности и охраны природы

2.6.1. Сосуды по конструктивному устройству и их эксплуатации должны соответствовать требованиям безопасности ГОСТ 12.2.003, ГОСТ 12.1.010, ГОСТ 12.1.004, Правилам Госгортехнадзора, «Общим правилам взрывобезопасности для взрывопожароопасных химических, нефтехимических и нефтеперерабатывающих производств», утвержденными Госгортехнадзором СССР от 06.09.88 г.

2.6.2. Конструкция сосудов должна предусматривать электробезопасность и защиту от статического электричества в соответствии с требованиями ГОСТ 12.1.019 и ГОСТ 12.4.124.

Требования электростатической искробезопасности при эксплуатации в целях обеспечения пожарной безопасности и взрывобезопасности должны соответствовать ГОСТ 12.1.018, а также «Правилам защиты от статического электричества в производствах химической, нефтехимической и нефтеперерабатывающей промышленности».

2.6.3. Знаки безопасности и сигнальная окраска, наносимая на сосуды, должны соответствовать ГОСТ 12.4.026.

2.6.4. Ведение технологических процессов при эксплуатации сосудов должно производиться в соответствии с требованиями безопасности ГОСТ 12.3.002 и должностных инструкций, разработанных потребителем.

2.6.5. Общие требования безопасности к ведению сварочных работ при изготовлении, монтаже и на месте эксплуатации сосудов должны соответствовать ГОСТ 12.3.003.

2.6.6. Не допускается разборка и ремонт сосуда до освобождения его от остатков рабочей среды и полного снятия давления.

2.6.7. При пуске в эксплуатацию пробки контрольных отверстий рулонированных обечаек корпуса сосуда должны быть удалены. Отверстия должны быть защищены от попадания влаги из атмосферы.

2.6.8. Температура нагретых наружных поверхностей сосуда в местах зоны обслуживания не должна превышать 45 °С.

2.6.9. Конструкция сосудов должна исключать попадание в воздух рабочей зоны и окружающей среды вредных и опасных веществ в концентрации более допускаемой ГОСТ 12.1.005 и ГОСТ 12.1.007.

Требования к экологической чистоте должны быть отражены в техническом проекте на сосуд в соответствии с действующей нормативно-технической документацией, утвержденной в установленном порядке.

2.7. Требования к транспортабельности

2.7.1. Транспортабельность сосудов должна определяться разработчиком технического проекта в соответствии с требованиями раздела 3 настоящего стандарта, а при необходимости (для тяжеловесных и крупногабаритных сосудов) должна согласовываться с соответствующим (железнодорожным, водным или автомобильным) Главным Управлением транспорта.

2.7.1. Упаковка, транспортирование и хранение сосудов должны производиться в соответствии с требованиями раздела 9.3.

3. ТРЕБОВАНИЯ К КОНСТРУКЦИИ

3.1. Технические проекты и рабочая документация на сосуды разрабатываются проектно-конструкторскими организациями и предприятием-изготовителем в соответствии с настоящим стандартом, Правилами Госгортехнадзора и другой действующей нормативно-технической документацией.

Требования к внутренним устройствам аппаратов устанавливаются техническими проектами.

3.2. Технические проекты сосудов должны быть согласованы с ИркутскНИИхиммашем, предприятием-изготовителем, представителем монтажной организации и другими организациями в соответствии с ГОСТ 15.001.

3.3. Расчет на прочность сосудов и их элементов должен производиться в соответствии с ОСТ 26-1046, ГОСТ 25215, ГОСТ 26303, ГОСТ 24755, СТ СЭВ 5206.

При отсутствии стандартизованного метода расчет на прочность должен выполнять автор технического проекта и согласовывать со специализированной научно-исследовательской организацией (ИркутскНИИхиммаш).

3.4. При проектировании сосудов автор технического проекта должен учитывать нагрузки, возникающие при монтаже и зависящие от способа монтажа.

3.5. Чертеж общего вида, начиная с технического проекта, должен содержать следующие технические характеристики и параметры:

1) рабочее давление, МПа (кгс/см2);

2) расчетное давление, МПа (кгс/см2);

3) пробное давление, МПа (кгс/см2);

4) расчетную (максимально-допустимую рабочую) температуру стенки, °С;

5) минимально-допустимую отрицательную температуру стенки, находящейся под давлением, °С;

6) характеристику рабочей среды (класс опасности по ГОСТ 12.1.007, воспламеняемость, категория и группа взрывоопасности по ГОСТ 12.1.010, максимальная и минимальная температура, состав);

7) прибавку для компенсации коррозии и эрозии, мм;

8) срок службы, лет;

9) число циклов нагружений сосуда за весь срок службы;

10) объем внутренний (вместимость), м3;

11) массу, кг;

12) расположение центра масс;

13) сейсмичность, балл;

14) скоростной напор ветра (в зависимости от климатического района установки сосуда).

Примечание. Для теплообменных аппаратов и аппаратов с полостями, имеющими различные характеристики и параметры, необходимо указывать их для каждой полости.

3.6. Конструкция сосуда должна быть технологичной, надежной в течение предусмотренного технической документацией срока службы, предусматривать возможность полного опорожнения от рабочей среды, очистки, промывки, продувки, осмотра внутренних и наружных поверхностей, ремонта и проведения гидравлических испытаний со сливом воды как в проектном, так и горизонтальном положении.

Все глухие полости сосуда и его частей должны иметь отверстия для удаления воздуха.

Если конструкция сосудов не обеспечивает возможности проведения осмотра или гидравлического испытания, то автор технического проекта должен указать методику, периодичность и объем контроля, выполнение которых обеспечит своевременное выявление и устранение дефектов.

3.7. Для проведения контроля сварных соединений внешним осмотром, цветным или магнитопорошковым методами со стороны внутренней поверхности корпуса сосуда диаметр горловины или лаза должен быть не менее 450 мм.

3.8. При проектировании сосудов должны учитываться требования «Правил перевозки грузов железнодорожным, водным и автомобильным транспортом».

3.9. Сосуды, которые не могут транспортироваться в собранном виде, должны проектироваться из минимального количества частей. Деление нетранспортабельных сосудов на крупнопоставочные части (блоки, сборочные единицы) должно указываться в техническом проекте и согласовываться с монтажной организацией.

3.10. При проектировании крупногабаритных и тяжеловесных сосудов организация-разработчик технического проекта должна разрабатывать и согласовывать с Главным управлением движения МПС техническую документацию на их транспортирование в соответствии с ОСТ 26-15-024.

3.11. Для крепления на монтажной площадке к корпусу сосуда металлоконструкций (лестниц, кронштейнов, монтажных цапф и т.п.), а также теплоизоляции, должны быть предусмотрены специальные накладки или другие устройства, привариваемые на предприятии-изготовителе к корпусу сосуда до окончательной термообработки.

Приварка указанных элементов на месте монтажа непосредственно к корпусу не допускается.

3.12. При конструировании сосудов, а также отдельно транспортируемых частей должны быть предусмотрены строповые устройства (цапфы, упоры, хомуты, опоры, захватные приспособления) для проведения погрузочно-разгрузочных работ, подъема и установки в проектное положение с учетом их конструктивных особенностей и монтажа.

Кроме того, для выведения сосудов массой более 100 т в вертикальное положение должны быть предусмотрены, по указанию монтажной организации, шарнирные устройства.

3.13. Конструкция, места расположения строповочных устройств и конструктивных элементов для строповки, их число, схема строповки и положение центра массы сосудов и их транспортируемых частей должны быть указаны в техническом проекте и согласованы с монтажной организацией (Гипрохиммонтаж).

3.14. Элементы для строповки и монтажа сосудов и их отдельно транспортируемых частей по грузоподъемности должны учитывать возможность монтажа их с внутренним устройством и теплоизоляцией, а также нагрузки, возникающие при монтаже в зависимости от способа монтажа.

3.15. Указания по строповке и выверке сосуда на фундаменте должны быть приведены в техническом проекте и рабочей документации в соответствии с ГОСТ 24444.

3.16. Необходимость установки на сосудах термопреобразователей, установочных винтов, реперов и устройств для выверки положения сосуда на фундаменте и места их расположения должны определяться техническим проектом.

3.17. Конструкция, размеры и технические требования к стандартным деталям и другим элементам, входящим в состав сосудов должны устанавливаться по соответствующей нормативно-технической документации: к фланцам - ГОСТ 9399; к крепежным деталям - ГОСТ 10494, ГОСТ 10495, ГОСТ 11447, к линзам уплотнительным - ГОСТ 10493, опорам и внутренним устройствам - ОСТ 26-291.

3.18. Сосуды по особенностям конструкции и условиям работы должны монтироваться и эксплуатироваться в соответствии с инструкцией по монтажу, эксплуатации, осмотру, ремонту и контролю, входящей в состав технического проекта.

3.19. Внутренние устройства в сосудах (змеевики, тарелки, корзины, перегородки и др.), а также наружные металлоконструкции (лестницы, площадки и т.п.), препятствующие осмотру и ремонту соответствующих поверхностей корпуса, должны быть съемными.

При применении приварных устройств должна быть предусмотрена возможность их удаления для проведения осмотра (ремонта) и последующей установки на место.

4. ТРЕБОВАНИЯ К МАТЕРИАЛАМ

4.1. Общие требования

4.1.1. Для изготовления деталей сосудов, работающих под давлением, должны применяться материалы, обеспечивающие их надежную работу в течение расчетного срока службы с учетом заданных условий эксплуатации.

4.1.2. Материалы по химическому составу и механическим свойствам должны удовлетворять требованиям государственных стандартов, технических условий и настоящего стандарта.

Качество и характеристики материалов должны подтверждаться предприятием-поставщиком в соответствующих сертификатах. В сертификате должны быть указаны также сведения о термообработке материала на предприятии-поставщике.

При отсутствии или неполноте сертификата или маркировки предприятие-изготовитель сосуда должно провести все необходимые испытания с оформлением их результатов протоколом, дополняющим или заменяющим сертификат поставщика материала.

4.1.3. При выборе материалов для изготовления сосудов должны учитываться: расчетное давление; температура стенки (минимальная отрицательная и максимальная расчетная); состав (содержание отдельных компонентов и примесей) и характер среды (коррозионноактивный, взрывоопасный, токсичный и т.п.); технологические свойства; свариваемость и коррозионная стойкость.

Минимальная (отрицательная) и максимальная (положительная) температуры устанавливаются проектной организацией, указываются в техническом проекте и заносятся в паспорт сосуда.

4.1.4. Требования к основным материалам, условия их применения, назначения и виды испытаний должны удовлетворять требованиям приложений 1 - 9.

4.1.5. Коррозионностойкие стали (лист, трубы, поковки) при наличии требований в техническом проекте должны подвергаться испытаниям на стойкость против межкристаллитной коррозии по ГОСТ 6032.

4.1.6. Применение материалов, предусмотренных в приложениях 1 - 6, для изготовления сосудов, работающих с параметрами, выходящими за установленные пределы, а также применение материалов, не предусмотренных настоящим стандартом, допускается по решению Министерства, утвердившего стандарт, на основании заключения специализированной научно-исследовательской организации. Копия решения Министерства вкладывается в паспорт сосуда.

4.1.7. Допускается по согласованию с автором технического проекта и специализированной научно-исследовательской организацией применение материалов, указанных в приложениях 1 - 4 по другим стандартам и техническим условиям, если качество материала не ниже устанавливаемого настоящим стандартом (приложения 5 - 8).

4.1.8. Дополнительные требования к материалам, не предусмотренные стандартами или техническими условиями или предусмотренные «по требованию заказчика», должны быть обязательно указаны в документации технического проекта.

4.2. Сталь листовая и рулонная

4.2.1. Листовая и рулонная сталь для деталей сосудов должна приниматься и соответствовать требованиям, приведенным в приложениях 1, 7, 8.

4.2.2. При заказе углеродистых сталей по ГОСТ 5520 и низколегированных сталей по ГОСТ 19282 должна быть указана категория стали.

При заказе сталей по ГОСТ 5520 необходимо потребовать поставку стали с массовой долей серы не более 0,035 % и фосфора не более 0,030 %, а сталь марок 16К, 18К, 20К категорий 5 и 11 - поставку в нормализованном состоянии.

4.2.3. Рулонная сталь для изготовления многослойных сосудов, должна приниматься по ТУ 14-1-3609, ТУ 14-1-3226, ТУ 14-1-2026 и ТУ 14-105-450.

4.2.4. Коррозионностойкая листовая сталь по ГОСТ 7350 должна быть заказана горячекатаной, термически обработанной, травленной, с обрезной кромкой, с качеством поверхности по группе М2б и при наличии требований технического проекта стойкой против межкристаллитной коррозии. По указанию автора технического проекта допускается использование листов с качеством поверхности по группе М3б и М4б. Содержание ферритной фазы должно быть оговорено в техническом проекте.

4.2.5. Листы из двухслойных сталей толщиной 25 мм и более должны заказываться по ГОСТ 10885 в термообработанном состоянии с обязательным ультразвуковым контролем и требованиями соответствующими 1-му классу сплошности сцепления слоев.

4.2.6. Значение нормативного предела текучести материала центральной обечайки не должно превышать нормативного предела текучести материала спиральной навивки, а относительное удлинение (d5, %) должно быть не менее 18 %.

4.3. Поковки

4.3.1. Поковки должны изготавливаться в соответствии с требованиями ОСТ 26-01-135, ГОСТ 22790, ГОСТ 25054 по рабочей документации, утвержденной в установленном порядке.

4.3.2. Размеры поковок должны соответствовать чертежу деталей сосуда с припусками на механическую обработку, технологическими напусками и допусками на точность изготовления в соответствии с ГОСТ 7062, ГОСТ 7829 и ГОСТ 7505.

В чертеже на поковку заводом-изготовителем сосуда должны быть указаны места вырезки проб для всех видов испытаний, предусмотренных ОСТ 26-01-135, а также поверхности, с которых должен проводиться ультразвуковой контроль.

4.3.3. Режимы ковки и термообработки поковок должны соответствовать установленным в действующей технической документации.

4.3.4. Поковки должны применяться в термически обработанном состоянии с обязательным ультразвуковым контролем в объеме 100 % каждой поковки. Поковки из аустенитных сталей, кроме того, по требованию технического проекта на сосуд, должны быть стойкими против межкристаллитной коррозии.

4.4. Трубы

4.4.1. Трубы для изготовления деталей сосудов и аппаратов должны применяться и соответствовать требованиям, приведенным в приложении 3.

Не допускается применение электросварных труб по ГОСТ 10706, ГОСТ 10707.

4.4.2. Трубы для изготовления корпусов кованосварных сосудов и патрубков (штуцеров) внутренним диаметром до 500 мм включительно должны приниматься по маркам стали и техническим условиям, указанным в ОСТ 26-01-1434.

4.4.3. В теплообменных аппаратах трубы должны соответствовать требованиям раздела 2 и 10 по ОСТ 26-291 и п. 4.4.1.

4.4.4. Сборочные единицы и детали трубопроводов, входящие в комплект сосуда, должны изготавливаться в соответствии с ГОСТ 22790, ГОСТ 22791, ГОСТ 22826.

4.5. Сортовая сталь

4.5.1. Сортовая сталь должна выбираться и соответствовать требованиям технических условий и стандартов, указанных в приложении 4.

4.5.2. При заказе коррозионностойких сталей по ГОСТ 5949, в соответствии с требованиями технического проекта необходимо заказывать поставку в термообработанном состоянии и стойкими против межкристаллитной коррозии по ГОСТ 6032.

4.6. Крепежные и уплотнительные детали

Материалы для изготовления основных крепежных деталей (шпилек, гаек, шайб) и уплотнительных колец и прокладок соединений корпус-крышка должны применяться соответственно по ОСТ 26-01-144 и ОСТ 26-01-86.

4.7. Сварочные материалы

4.7.1. Сварочные материалы (электроды, сварочная проволока, флюсы) должны назначаться в соответствии с требованиями приложений 10 - 19. При назначении сварочных материалов необходимо учитывать допускаемую температуру эксплуатации сварных соединений, указанную в этих приложениях. Применение сварочных материалов, не указанных в приложениях, допускается по согласованию с ИркутскНИИхиммашем, а для многослойных сосудов дополнительно с ИЭС им. Е.О. Патона.

4.7.2. Сварочные материалы должны соответствовать требованиям технических условий или государственных стандартов на их поставку и иметь сертификаты.

4.7.3. Приемку, хранение и подготовку сварочных материалов перед выдачей в производство производить в соответствии с требованиями РД 26-17-049, ОСТ 26-3.

4.7.4. Для сосудов из сталей аустенитного класса, работающих при температуре стенки свыше 350 °С или по требованию технического проекта, сварочные материалы должны быть подвергнуты контролю на содержание ферритной фазы по ГОСТ 9466 и ГОСТ 11878. Содержание ферритной фазы не должно быть более указанного в техническом проекте.

4.7.5. Сварочные материалы, предназначенные для сварных соединений, к которым предъявляются требования по стойкости против межкристаллитной коррозии (МКК), перед запуском в производство должны подвергаться испытаниям на стойкость против МКК по ГОСТ 6032.

4.7.6. Для аргонодуговой сварки неплавящимся электродом должны применяться вольфрамовые электроды по ГОСТ 23949 или прутки вольфрамовые лантанированные по ТУ 48-19-27.

5. ТРЕБОВАНИЯ К ИЗГОТОВЛЕНИЮ

5.1. Общие требования

5.1.1. Изготовление сосудов, отдельно поставляемых сборочных единиц и деталей должно производиться на предприятиях, которые располагают техническими средствами, обеспечивающими качественное изготовление в соответствии с чертежами, настоящим стандартом, Правилами Госгортехнадзора, техническими условиями и имеют разрешение органов Госгортехнадзора на изготовление.

5.1.2. Доизготовление нетранспортабельных корпусов сосудов на монтажной площадке должно производиться предприятием-изготовителем или привлеченной им специализированной организацией с ответственностью предприятия-изготовителя за качество доизготовления.

5.1.3. Сосуды, собираемые и свариваемые на монтажной площадке, должны быть предварительно собраны в заводских условиях, чтобы удостовериться в возможности сборки с заданной точностью.

5.1.4. На предприятии-изготовителе перед запуском в производство основные и сварочные материалы, полуфабрикаты должны быть проверены по сертификатам отделом технического контроля на соответствие их требованиям чертежа, настоящего стандарта, стандартов и технических условий на поставку.

Данные сертификатов, а также результаты испытаний материалов сборочных единиц и деталей сосудов, должны заноситься в паспорт.

5.1.5. Процесс изготовления заготовок, деталей, сборка и сварка корпусов, контроль и испытания, приемка сосудов должны контролироваться отделом технического контроля предприятия-изготовителя с составлением необходимой документации (протоколов, актов, карт измерений, паспорта и т.п.).

5.1.6. На листах и плитах, принятых к изготовлению обечаек и днищ, должна быть сохранена в процессе изготовления сосудов маркировка металла, содержащая следующие данные:

1) марку стали (для двухслойной стали - марки основного и коррозионностойкого слоя);

2) номер партии - плавки;

3) номер листа, для листов с полистными испытаниями.

Если лист и плиту разрезают на части, на каждую из них должна быть перенесена маркировка, заверенная клеймом отдела технического контроля.

5.1.7. Хранение и транспортирование материалов на предприятии-изготовителе должны быть такими, чтобы исключались механические повреждения и коррозия материалов и обеспечивалась возможность сличения маркировки его с данными сопроводительной документации.

5.1.8. Методы разметки заготовок деталей из сталей аустенитного класса и из двухслойных сталей с коррозионностойким слоем не должны допускать повреждений рабочей поверхности деталей. Кернение допускается только по линии реза.

5.1.9. Вырезка заготовок деталей сосуда может производиться любым промышленным методом. При огневых методах резки заготовок подкаливающихся сталей перлитного класса, необходимо предусматривать припуски на последующую механическую обработку по ГОСТ 12169, а для аустенитных сталей до полного удаления зоны термического влияния.

5.1.10. На поверхностях деталей не допускаются брызги металла от термической (огневой) резки и сварки, раковины, забоины, риски, царапины и др. дефекты, если после их зачистки толщина стенки будет менее расчетной толщины.

5.1.11. Предельные отклонения размеров деталей, если в чертежах или нормативно-технической документации не указаны более жесткие требования, должны быть:

1) для механически обрабатываемых поверхностей: отверстий Н14, валов h14, остальных ± - по ГОСТ 25347;

2) для поверхностей без механической обработки, в соответствии с табл. 3.

Таблица 3

Размеры, мм

Предельные отклонения по ГОСТ 25347-82

отверстий

валов

остальных

до 500

Н17

h17

±

свыше 500 до 3150

Н16

h16

±

свыше 3150

Н15

h15

±

5.1.12. Внутренние устройства сосудов и аппаратов должны изготавливаться по рабочей документации в соответствии с требованиями нормативно-технической документации, указанной в техническом проекте.

5.1.13. Детали основного крепежа (шпильки, гайки, шайбы), уплотнительные кольца и прокладки соединений корпус-крышка, должны изготавливаться в соответствии с требованиями ОСТ 26-01-144 и ОСТ 26-01-86.

5.2. Требования к обечайкам

5.2.1. Кованые

5.2.1.1. Кованые обечайки и корпуса должны изготавливаться из поковок, выполненных в соответствии с требованиями ОСТ 26-01-135.

5.2.1.2. На поверхности механически обработанных обечаек и корпусов не должно быть острых кромок, заусенцев, забоин, вскрытых плен, заковов, вмятин, усадочных рыхлостей и др. дефектов.

Допускается устранять выявленные дефекты на глубине до 10 % толщины стенки обечайки вырубкой с последующей заваркой, зачисткой, термообработкой и контролем места заварки методами, принятыми настоящим стандартом (раздел 8) для данной марки стали. Выполненный ремонт должен быть оформлен соответствующей документацией.

5.2.1.3. Предельное отклонение от номинального размера механически обработанного внутреннего диаметра обечайки, корпуса, не должно превышать допуска Н14 по ГОСТ 25347 на размер диаметра.

5.2.1.4. Отклонение от круглости (овальность) D, мм внутреннего диаметра кованых обечаек и корпусов после окончательной механической обработки не должно превышать половины допуска на размер и вычисляться по формуле

где Dmin, Dmax - минимальное и максимальное значения внутреннего диаметра, мм.

5.2.2. Обечайки вальцованные и штампованные

5.2.2.1. Обечайки внутренним диаметром до 1000 мм из толстолистовой стали должны изготавливаться не более, чем с двумя продольными сварными швами, а диаметром свыше 1000 мм из листов максимально возможной длины. Не допускается вставки шириной менее 400 мм.

5.2.2.2. Для обечаек, не подвергаемых механической обработке по внутреннему и наружному диаметрам устанавливаются следующие требования:

1) номинальный внутренний диаметр обечайки должен приниматься по фактическому диаметру изготовленного днища;

2) предельное отклонение значения внутреннего диаметра должно приниматься в соответствии с п. 5.1.11, а относительное значение «а» отклонения от круглости (овальность) не должно превышать ±0,5 % и определяться по формуле:

где Dmin, Dmax - соответственно максимальное и минимальное значение внутреннего диаметра обечайки, мм.

3) отклонение толщины стенки обечайки, вследствие любых причин (дефектов), не должно выводить ее за пределы расчетного значения;

4) отклонение от прямолинейности образующей обечайки более ± 2 мм на метр погонной длины, не допускается;

5) смещение кромок «в» в продольных швах, определяемое по внутренней поверхности должно быть не более 3 мм. При этом кромки стыкуемых листов должны располагаться относительно друг друга согласно черт. 1а;

6) отклонение от круглости (угловатость) в поперечном сечении зоны сварного шва (просвет f от шаблона длиной не менее 0,25Д, где Д - внутренний диаметр обечайки) черт. 1б, в должно быть не более для Д £ 1000 мм - 0,5 % Д; для Д ³ 1000 мм - 5 мм.

Кольцевые швы

Черт. 1

7) Отклонение от перпендикулярности торца обечайки относительно ее оси должно обеспечивать при сборке под сварку требуемый зазор по кольцевому стыку и прямолинейность образующей корпуса по п. 5.4.2.

5.2.2.3. Для обечаек, подвергаемых механической обработке, отклонения от номинального диаметра и круглости (овальность) должны соответствовать требованиям п.п. 5.2.13 и 5.2.1.4.

5.2.2.4. Коррозионностойкая поверхность обечаек из двухслойной стали, а также внутренняя поверхность обечаек на коррозионностойкой стали, изготовленных методом горячей штамповки или вальцовки и прошедшие термообработку должны быть полностью очищены от окалины.

5.2.3. Центральные обечайки (для рулонированных сосудов)

5.2.3.1. Толщина центральной обечайки должна быть не менее суммарной толщины трех слоев спиральной навивки рулонированной обечайки.

5.2.3.2. Центральные обечайки допускается изготавливать из нескольких листов, но не более чем из трех с продольными стыковыми сварными швами. Ширина замыкающего листа должна быть не менее 400 мм.

5.2.3.3. Разделку кромок под сварку продольных швов центральных обечаек следует выполнять по ГОСТ 5264, ГОСТ 8713, ГОСТ 16098.

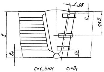
5.2.3.4. Размеры противоположных сторон и диагоналей развертки центральной обечайки не должны отличаться более чем на 3 мм. Отклонение длины развертки не должно превышать ± 3 мм.

5.2.3.5. Смещение кромок по высоте «а» при сборке продольных швов центральной обечайки не должно быть более 10 % толщины листа, но не более 2,5 мм (черт. 2). При этом смещение кромок по внутренней поверхности обечайки из двухслойной стали не должно быть более 1 мм. Смещение кромок по наружной поверхности должно быть плавно зачищено на ширине не менее 30 мм.

а - смещение кромок

S - толщина листа

Черт. 2

5.2.3.6. Совместный увод кромок (угловатость) в продольных сварных швах центральной обечайки не должен превышать 1,5 мм. Угловатость сварного шва определяется по шаблону, длина которого должна быть не менее 0,25 внутреннего диаметра обечайки (черт. 1).

5.2.3.7. Центральная обечайка должна быть перед навивкой слоев откалибрована. Отклонение от круглости (ГОСТ 24642) обечайки на любом участке окружности длиной не менее 0,25 внутреннего диаметра (Д) не должно превышать 1,5 мм (черт. 1).

5.2.3.8. После сварки усиление продольного шва по наружной и внутренней поверхностям обечайки должно быть снято. В технически обоснованных случаях допускается усиление сварного шва с внутренней поверхности обечайки не снимать.

5.2.3.9. Разность длин окружностей, измеренных на обечайке по двум торцам должна быть не более 4 мм.

5.2.3.10. На поверхности центральных обечаек не допускаются риски, царапины, вмятины и другие дефекты, превышающие требования на поставку листа. Недопустимые дефекты должны быть зачищены на глубину, не превышающую значения минусового отклонения толщины листа ГОСТ 19903. Шероховатость поверхности мест зачистки не должна быть более Rа 6,3 по (Rz 40) по ГОСТ 2789.

Для двухслойной стали глубина зачистки не должна выводить плакирующий слой за минимальную его толщину по ГОСТ 10885.

Отслоение плакирующего слоя по кромкам разделки под сварку не допускается. Устранение отслоений производится по решению Главного конструктора предприятия-изготовителя.

5.2.3.11. Отклонение образующей обечайки от прямолинейности не должно быть более 1,5 мм на всей длине.

5.2.4. Рулонированные обечайки

5.2.4.1. При изготовлении рулонированной обечайки, для получения правильной концентрической формы, в начале (на центральной обечайке) и конце спиральной навивки следует располагать одну над другой клиновые вставки.

5.2.4.2. Клиновые вставки должны соответствовать требованиям:

1) ширина (по окружности обечайки) - не менее 300 мм для обечаек внутренним диаметром до 1400 мм и не менее 600 мм при диаметре свыше 1400;

2) длина - на всю длину обечайки. Допускается изготавливать из отдельных частей, не сваренных между собой;

3) толщина тонкого конца - не более 0,3 мм, толщина противоположного конца должна быть равна толщине рулонной стали;

4) поверхность не должна иметь неровностей, уступов, подрезов размерами более 0,3 мм.

5.2.4.3. Расстояние между продольным швом центральной обечайки и началом клиновой вставки должно быть не менее трех толщин центральной обечайки. Зазор в стыковом соединении между клиновой вставкой и началом спиральной навивки должен находиться в пределах (10 ± 2) мм, а между клиновой вставки и концом спиральной навивки (2 ± 1) мм.

5.2.4.4. При изготовлении рулонированной обечайки из двух и более рулонов сварной шов, соединяющий концы рулонных полос, должен быть стыковым по ГОСТ 5264, ГОСТ 8713 и выполнен без приварки к нижележащему слою. Усиление шва должно быть зачищено заподлицо с основным металлом.

5.2.4.5. Число спиральных слоев в многослойной рулонированной обечайке должно быть не менее семи слоев без учета клиновых вставок.

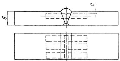
5.2.4.6. Замыкающий шов рулонированной обечайки должен быть выполнен в соответствии с черт. 3.

Черт. 3

5.2.4.7. Наружный кожух должен быть изготовлен из листовой стали толщиной не менее суммарной толщины двух слоев спиральной навивки, при этом допускается изготавливать из нескольких листов, но не более чем из трех с продольными стыковыми швами.

Допускается изготавливать кожух из двух концентрических слоев рулонной стали.

5.2.4.8. Разделка кромок под сварку замыкающих продольных швов наружных кожухов должна соответствовать черт. 4. При толщине слоев кожуха 5 мм и менее разделку допускается выполнять без скоса кромок.

Черт. 4

5.2.4.9. Замыкающий продольный сварной шов наружного кожуха должен быть смещен относительно шва приварки клиновой вставки по длине окружности не менее, чем на значение наружного диаметра. Продольные швы кожуха из концентрических слоев рулонной стали должны быть смещены относительно друг друга не менее, чем на 30° по дуге.

5.2.4.10. Рулонированные обечайки по внутреннему диаметру после намотки слоев и кожуха должны отвечать требованиям:

1) отклонение от номинального размера - в соответствии с п. 5.1.11 перечисление 2);

2) отклонение от круглости (овальность) обечайки не должно приводить при сборке корпуса под сварку к смещению кромок более норм, указанных в п.п. 5.12.3, 5.12.4;

3) отклонение от круглости (угловатость) в поперечном сечении зоны продольного сварного шва - в соответствии с п. 5.2.3.7.

5.2.4.11. Размеры местных неплотностей между слоями у торцев обечаек, образующихся в процессе навивки не должны превышать следующих значений:

1) от 0,1 до 0,3 мм, включительно, суммарной протяженностью более 10 % длины развертки спиральной навивки и наружного кожуха в обечайках внутренним диаметром до 1400 мм включительно;

2) от 0,3 до 1 мм суммарной протяженностью более 2 % длины развертки спиральной навивки сосудов диаметром до 1400 мм;

3) от 0,1 до 0,6 мм суммарной протяженностью не более 5 % и от 0,6 до 1,5 мм включительно суммарной протяженностью не более 1 % длины развертки спиральной навивки и наружного кожуха в обечайках внутренним диаметром свыше 1400 мм.

В зонах продольных сварных швов рулонированных обечаек допускаются местные зазоры до 2,5 мм, которые после механической обработки торцев перед наплавкой должны быть заполнены вставками из рулонной стали навитых слоев или из листовой стали марок Ст3СП, 20, 09Г2С, 10Г2С1.

5.2.4.12. Для создания дренажной системы и выхода диффундирующих газов в многослойной рулонированной обечайке до наплавки торцев должны быть просверлены отверстия на расстоянии 50 - 130 мм от торца на всю толщину многослойной части до первого слоя спиральной навивки.

Диаметр отверстия должен быть не менее 8 мм. Отверстия необходимо располагать равномерно по длине наружной окружности с шагом не более одного метра. При этом число отверстий должно быть не менее 4 с каждого торца, но не более 8.

5.2.4.13. После намотки торцы рулонированных обечаек должны быть механически обработаны, наплавлены и вновь механически обработаны под сварку. Форма разделок под наплавку и сварку должна соответствовать указанным в приложении 20. В технически обоснованных случаях по согласованию с ИркутскНИИхиммашем допускается не наплавлять торцы рулонированных обечаек.

5.2.4.14. Толщина наплавленного металла с учетом проплавления на торцах рулонированных обечаек после механической обработки наплавки должна быть не менее 8 мм для обечаек с внутренним диаметром до 1400 мм, включительно, и не менее 10 мм для обечаек с внутренним диаметром более 1400 мм.

В зоне между наружным кожухом и последним слоем спиральной навивки обечайки допускается уменьшение толщины наплавки на 2 мм.

5.2.4.15. На наплавленных торцах допускается утяжка кромок рулонированных обечаек и искривление образующих внутренней и наружной поверхностей на участке до 20 мм от края разделки.

Утяжка кромки внутренней поверхности не должна быть более 5 мм в сторону увеличения диаметра. Утяжка кромки по наружной поверхности не нормируется.

5.3. Требования к выпуклым штампованным днищам, крышкам и горловинам

5.3.1. Штамповка и термообработка монолитных и многослойных выпуклых днищ эллиптической и полушаровой формы, крышек и горловин должны производиться по технологии предприятия-изготовителя.

Изготовление плоских отбортованных и слабовыпуклых днищ должно производиться из поковок в соответствии с формой и расчетами на прочность по ОСТ 26-1046.

5.3.2. Заготовки из толстолистовой стали или кованокатанных плит допускается изготовлять сварными, не более чем из трех частей с применением ручной дуговой, автоматической под слоем флюса или электрошлаковой сварки.

При этом расстояние от оси сварного шва, расположенного по хорде, до центра заготовки должно быть не более 1/5 внутреннего диаметра днища.

5.3.3. Заготовки днищ из кованокатанных плит стали марки 22Х3М после электрошлаковой сварки и термообработки должны быть механически обработаны с двух сторон по толщине днища, указанной в техническом проекте. Припуски на механическую обработку заготовки назначаются рабочей документацией предприятия-изготовителя.

5.3.4. Днища, крышки и горловины, изготовленные из коррозионностойкой стали аустенитного класса методом горячей штамповки, а также прошедшие термообработку, должны быть очищены от окалины.

По согласованию с автором технического проекта допускается удаление окалины механическим путем (например, дробеструйным) без травления.

5.3.5. В деталях, изготавливаемых штамповкой, допускается утонение стенки до 15 % исходной толщины заготовки. Утонение учитывается при расчете толщины стенки днища по ГОСТ 25215.

5.3.6. Отклонение внутреннего диаметра цилиндрической части штампованной детали не должно превышать ± 0,5 % его номинального размера. Допускается при изготовлении сосудов единичного производства отклонение внутреннего диаметра ± 1,0 % номинального размера при условии соблюдения допусков на смещение кромок при сборке корпусов в соответствии с требованиями к корпусам должно соответствовать подразделу 5.10.

5.3.7. Отклонение от круглости цилиндрической части штампованной детали не должно превышать допуска на размер внутреннего диаметра.

5.3.8. Для обеспечения стыковки штампованного днища, горловины с цилиндрической частью сосуда допускается производить механическую обработку наружной и внутренней поверхностей у торца с плавным переходом к необработанной поверхности, при этом, толщина стыкуемой кромки должна быть не менее расчетной, угол переходной обработанной части должен быть не более 15°.

5.3.9. Основные размеры эллиптических днищ должны соответствовать ГОСТ 6533. Предельные отклонения размеров и форм деталей устанавливаются нормативно-технической документацией предприятия-изготовителя.

5.4. Требования к корпусам

5.4.1. Отклонение длины корпуса сосуда не должно превышать ± 0,3 % её номинального значения, но не более ± 75 мм.

5.4.2. Отклонение от прямолинейности образующей внутренней поверхности цилиндра корпуса, для сосудов без внутренних устройств, не должно быть более:

1) для кованых, кованосварных, вальцованных и штампованных

2 мм на 1 м длины корпуса,

10 мм - при длине корпуса до 10 м,

20 мм - при длине корпуса св. 10 м;

2) для рулонированных

2 мм на 1 м длины корпуса,

30 мм на всю длину корпуса без учета допускаемой местной непрямолинейности в местах сварных швов, зоне вварки штуцеров в корпус.

5.4.3. Отклонение от прямолинейности образующей внутренней поверхности цилиндра корпуса, для сосудов с внутренними устройствами или вставляемой антикоррозионной защитой (футеровкой), не должно быть более:

1) для кованых, кованосварных, вальцованных и штампованных

0,5 мм на 1 м длины корпуса,

5 мм - при длине корпуса до 10 м,

10 мм - при длине корпуса св. 10 м;

2) для рулонированных

2 мм на 1 м длины корпуса,

10 мм - при длине корпуса до 10 м,

15 мм - при длине корпуса св. 10 м.

5.4.4. Отклонение от круглости (овальность) по внутреннему диаметру корпуса сосуда не должно быть более:

1) для кованых и кованосварных должно соответствовать подпункту 5.2.1.4 в пределах значений допусков на диаметр Н14 по ГОСТ 25347;

2) для рулонированных, вальцованосварных и штампосварных должно соответствовать подпункту 5.2.2.2, перечисление 2.

5.4.5. Изготовление сосудов, требующих для установки внутренних устройств и футеровки соблюдения особой точности размеров внутреннего диаметра корпуса и минимальных отклонений форм и расположения поверхностей, должно производиться по специальным техническим условиям.

5.5. Требования к конструктивной, технологической, антикоррозионной наплавке и футеровке

5.5.1. Конструктивная и технологическая наплавки, выполняемые с целью упрощения конструкции и технологии сварки сталей одного структурного класса, но разного легирования или различных структурных классов, должны выполняться в соответствии с требованиями настоящего стандарта и технического проекта.

5.5.2. Торцы кованых деталей из сталей марок 22Х3М и 20Х2МА, свариваемые с рулонированными обечайками, перед сваркой кольцевых швов должны быть наплавлены.

5.5.3. Кованые детали перед наплавкой должны быть термообработаны, для обеспечения требуемых механических свойств. Допускается, в технически обоснованных случаях, проводить термическую обработку после наплавки. Наплавляемые торцы должны быть механически обработаны и проконтролированы, и соответствовать подпункту 8.6.4.1 (таблица 13). Дефекты должны быть удалены. Подварку и контроль дефектных мест производить в соответствии с требованиями настоящего стандарта.

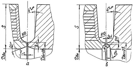
Конструктивные элементы разделки кромок под наплавку в соответствии с приложением 20.

5.5.4. Толщина низколегированной наплавки на торцах поковки после механической обработки должна быть не менее 12 мм при сварке со сталью 08Г2СФБ и 10 мм - со сталями 12ХГНМ, 12ХГНМФ, 15ХГНМФТ, оптимальная толщина наплавки может определяться расчетом. Толщина аустенитной наплавки должна быть не менее 8 мм.

5.5.5. Массовая доля хрома в поверхностном слое наплавки на торцах поковки после механической обработки под сварку кольцевых швов с рулонированными обечайками не должна превышать:

1) 1,5 % - при сварке с рулонированными обечайками из сталей 12ХГНМ, 12ХГНМФ, 15ХГНМФТ;

2) 0,3 % - при сварке с рулонированными обечайками из стали 08Г2СФБ для корпусов сосудов и аппаратов, не подвергаемых последующей термообработке;

3) 0,6 % - подвергаемых термообработке при температуре свыше 580 °С.

5.5.6. Футеровка крышек, днищ, фланцев (горловин), обечаек и штуцеров должна изготавливаться из коррозионностойких материалов, указанных в техническом проекте.

На крышках, днищах, фланцах (горловинах), трубных решетках, монолитных обечайках и штуцерах допускается производить антикоррозионную защитную наплавку. Толщина антикоррозионной наплавки назначается техническим проектом из условия обеспечения антикоррозионной защиты сосуда, аппарата в рабочих средах. Толщина антикоррозионной наплавки, защищающей технологические углеродистую и низколегированную наплавки на деталях из сталей 22Х3М и 20Х2МА должна быть не менее 8 мм.

5.6. Требования к изготовлению, приварке (вварке) штуцеров к корпусу

5.6.1. Изготовление штуцеров должно производиться по рабочим чертежам и технологическим процессам предприятия-изготовителя. Требования к заготовкам штуцеров внутренним диаметром до 200 мм - по ГОСТ 22790, диаметром свыше 200 мм - по ОСТ 26-01-135.

5.6.2. При вварке штуцера не должно быть пересечения сварного шва штуцера и продольного шва обечайки, в т.ч. центральной обечайки многослойного сосуда. Расстояние между этими швами должно быть не менее половины Двн штуцера, но не менее толщины стенки сосуда.

При размещении штуцеров остальные швы рулонированной обечайки не учитываются.

5.6.3. На штуцерах из стали 22Х3М и 20Х2МА, ввариваемых в многослойную стенку, производится технологическая низколегированная наплавка свариваемых кромок и выступа под притупление. Толщина наплавки после механической обработки должна быть не менее 15 мм. Форма разделок под наплавку в соответствии с приложением 20.

5.6.4. При вварке штуцеров в многослойную обечайку с центральной обечайкой из биметалла должна производиться антикоррозионная наплавка торца штуцера на толщину не менее 8 мм в соответствии с приложением 20.

5.6.5. Вварка штуцеров внутренним диаметром равным или более 200 мм в многослойную обечайку на полную толщину стенки должна производиться после приварки к ней смежных элементов корпуса сосуда.

5.6.6. Для штуцеров, ввариваемых на полную толщину стенки, поверхность отверстия под штуцер в многослойной обечайке и скосы дополнительных слоев укрепления отверстия должны быть наплавлены. Для штуцеров, ввариваемых на неполную толщину стенки рулонированной обечайки в соответствии с приложением 20, черт. 4, наплавку поверхности отверстия в месте вварки штуцера производить с диаметра отверстия более 100 мм. Вырезка отверстий и наплавка поверхности отверстия должны выполняться после наплавки торцев многослойной обечайки и скосов дополнительных слоев. Вырезка отверстий должна производиться механическим способом.

Наплавка поверхности отверстий должна производиться автоматической сваркой под флюсом или ручной электродуговой сваркой валиками, располагающимися поперек слоев навивки. Толщина наплавки в отверстиях после механической обработки должна быть не менее 8 мм.

5.6.7. При сборке зазор между кромками отверстий и штуцером в диаметрально-противоположных местах должен быть равномерным. Смещение кромок по притуплению должно быть не более 3 мм.

5.6.8. Вварка штуцеров в многослойную стенку с полным проваром по толщине стенки должна производиться с общим или местным предварительным и сопутствующим подогревом до температуры не ниже 150 °С. При местном подогреве нагрев открытым пламенем производить непосредственно в разделку. Ширина кольцевого пояса подогрева обечайки и штуцера должна быть не менее 100 мм от кромки отверстия.

5.6.9. Конструктивные элементы разделки кромок под вварку (приварку) штуцеров в рулонированные и монолитные обечайки в соответствии с приложением 20, черт. 4 - 7.

В технически обоснованных случаях по согласованию с ИркутскНИИхиммашем допускается применение других форм разделок.

5.6.10. При вварке (приварке) штуцеров необходимо обеспечить с наружной стороны разделки плавный переход наплавленного металла (по радиусу) от корпуса к штуцеру. Исполнительные размеры плавного перехода должны быть не менее значения радиуса, указанного в техническом проекте. Для сталей 22Х3М и 20Х2МА на внутренней поверхности сварных швов приварки штуцера, без исправления расточкой, допускаются плавные местные выборки округлой формы с соотношением их глубины к диаметру 1:10, при этом глубина выборки не должна выводить толщину стенки штуцера за пределы расчетного значения и не должна превышать ± 2,5 % внутреннего диаметра штуцера, но не более 10 мм.

5.6.11. Сварные соединения вварки (приварки) штуцеров должны подвергаться термической обработке в соответствии с требованиями подраздела 5.13.

5.6.12. При установке (приварке, вварке) штуцеров на обечайках, днищах и крышках смещение оси штуцера от проектного положения должно быть не более ± 10 мм, перекос оси штуцера не должен быть более ± 1°.

5.7. Требования к опорам и приварным элементам

5.7.1. К корпусу сосуда на предприятии изготовителе должны быть приварены элементы (ребра, накладные листы, переходные обечайки, штыри и др.), для крепления опор, обслуживающих площадок, трубопроводов, теплоизоляции, строповочных устройств, табличек и др. и намечены места крепления (приварки) опор, если они по условиям транспортирования поставляются отдельно.

Допускается производить технологические и конструктивные наплавки на деталях корпуса, для приварки опор и приварных элементов.

5.7.2. Приварка опор, приварных элементов и наплавка к несущим частям корпуса должны производиться до окончательной термической обработки корпуса.

5.7.3. Материалы для изготовления привариваемых к корпусу элементов для крепления опор, обслуживающих площадок, трубопроводов, теплоизоляции, строповочных устройств, табличек и т.п., а также материалы для накладок должны быть определены техническим проектом на сосуд. Не допускается применение кипящих сталей, сталей с содержанием углерода более 0,25 % и сталей требующих термообработки после сварки на монтаже.

5.8. Требования к внутренним устройствам

Внутренние устройства аппаратов (змеевики, отводы и трубы гнутые, тарелки, корзины, перегородки и др.) должны соответствовать разделам 1, 3, 9, 10 ОСТ 26-291.

5.9. Требования к сварке

5.9.1. Корпуса сосудов и аппаратов должны изготовляться по технологическим процессам и производственным инструкциям предприятия-изготовителя и в соответствии с требованиями настоящего стандарта.

5.9.2. Сосуды и их элементы в зависимости от конструкции и размеров могут быть изготовлены с применением следующих видов сварки:

1) ручной электродуговой покрытыми электродами;

2) автоматической под флюсом;

3) электрошлаковой (сварка плоских заготовок и продольных швов обечаек);

4) ручной, механизированной и автоматической в среде аргона;

5) автоматической под флюсом по слою металлической крошки с поперечными колебаниями электрода (наплавка торцев рулонированных обечаек и монолитных деталей);

6) автоматической под флюсом с подачей в зону дуги нетоковедущей присадочной проволоки сплошного сечения - копир - присадки (сварка кольцевых швов корпуса сосуда).

Применение других видов сварки должно быть согласовано с ИркутскНИИхиммашем, а для многослойных сосудов дополнительно с ИЭС им. Е.О. Патона.

При изготовлении опор допускается применять механизированную и автоматическую сварку в среде углекислого газа (за исключением приварки опор к корпусу сосуда).

5.9.3. Сварочные работы при изготовлении сосудов и их элементов должны производиться при положительных температурах в закрытых помещениях.

5.9.4. Допускается производить доизготовление корпусов сосудов со сваркой углеродистых, кремнемарганцовистых и аустенитных сталей на открытых площадках. Минимальная отрицательная температура окружающего воздуха, при которой допускается сварка, а также условия сварки приведены в табл. 4. Сварщик, место сварки должны быть защищены от воздействия дождя, ветра и снега.

Таблица 4

Марки свариваемых сталей

Толщина свариваемых элементов, мм

Минимальная температура, при которой допускается сварка, °С

Температура подогрева при сварке °С

20, 16К, 18К

20К, 22К, 20ЮЧ

не более 16

минус 20

без подогрева

свыше 16

100 - 200

09Г2С, 10Г2С1, 15ГС, 16ГС, 10Г2

не более 10

минус 10

без подогрева

свыше 10

150 - 250

08Г2СФБ

08Г2МФБ

(рулонированные обечайки)

не более 160

минус 10

150 - 250

Стали аустенитного класса

независимо от толщины

минус 20

без подогрева

5.9.5. К производству сварочных работ допускаются сварщики аттестованные в соответствии с «Правилами аттестации сварщиков», утвержденных Госгортехнадзором СССР и имеющие удостоверение установленной формы.

Сварщики должны допускаться к тем видам работ, которые указаны в их удостоверении.

5.9.6. Подготовка кромок под сварку должна производиться механическими методами. Для монолитных деталей из углеродистых и кремнемарганцовистых сталей допускается подготовку кромок производить газовой или плазменной резкой с последующей зачисткой поверхности реза до чистого металла.

5.9.7. Форма подготовки кромок под сварку должна соответствовать требованиям ГОСТ 5264, ГОСТ 8713, ГОСТ 16098, ГОСТ 14771, ГОСТ 15164 технических проектов, приложений настоящего стандарта и другой нормативно-технической документации. Форма подготовки кромок под сварку стыковых соединений элементов разной толщины устанавливается техническим проектом.

5.9.8 Механическая обработка кромок рулонированных обечаек под наплавку, вварку штуцеров, сверление дренажных отверстий должна производиться без охлаждающей жидкости.

5.9.9. Свариваемые кромки и поверхности, прилегающие к ним на ширине не менее 30 мм, а под электрошлаковую сварку на ширине не менее 50 мм, должны быть зачищены от ржавчины, масла, окалины и прочих загрязнений до чистого металла и обезжирены. Подготовленные кромки подвергаются визуальному контролю для выявления пороков металла. Трещины, закаты, расслоения, вмятины, а для двухслойной стали отслоения коррозионностойкого слоя - не допускаются.

Обнаруженные дефекты должны быть устранены, а места выборок заварены в соответствии с требованиями настоящего стандарта, зачищены заподлицо и проконтролированы в соответствии с п. 8.6.4.1.

5.9.10. При толщине монолитной стенки более 36 мм зона, прилегающая к кромкам шириной равной толщина стенки, но не менее 50 мм, должна быть проконтролирована ультразвуковым методом дефектоскопии.

При этом качество зоны, прилегающей к кромкам, должно соответствовать требованиям сплошности листа по классу 1 ГОСТ 22727.

5.9.11. В зависимости от марки свариваемой стали и толщины стенки сосуда сварка, наплавка элементов и корпусов сосудов должна производиться с подогревом в соответствии с табл. 5. Температура сварных соединений, наплавленных элементов из хромомолибденовых сталей, за исключением рулонных (марки 12ХГНМ, 12ХГНМФ, 15ХГНМФТ), после начала сварки (наплавки) и до посадки в печь на термическую обработку не должна быть ниже температуры подогрева, указанной в табл. 5. Допускается до окончательной термической обработки делать после сварки перерыв или низкотемпературный отпуск «отдых» по нормативно-технической документации специализированной организации по термической обработке.

При местном подогреве ширина зоны нагрева до температуры подогрева должны быть не менее 100 мм в каждую сторону от кромки разделки. Нагрев по длине сварного соединения должен быть равномерным.

Ввиду плохой теплопередачи многослойной стенки, местный подогрев рулонированных обечаек должен производиться с внутренней поверхности или с наружной непосредственно в разделку под сварку при непрерывном перемещении газовой горелки вдоль разделки.

Таблица 5

Марка стали

Вид сварочных работ

Толщина свариваемых или наплавляемых элементов, мм

Температура подогрева, °С

20, 16К, 18К, 20К, 22К, 20ЮЧ

сварка*

до 60 включ.

без подогрева

свыше 60

100 - 150

антикоррозионная наплавка

любая

без подогрева

09Г2С, 10Г2С1, 15ГС, 16ГС, 10Г2

сварка*

до 30 включ.

свыше 30

150 - 200

антикоррозионная наплавка

любая

без подогрева

14ХГС

сварка

до 16 включ.

свыше 16

150 - 200

08Г2СФБ, 08Г2МФБ

сварка рулонной стали

до 6

без подогрева

наплавка торцев рулонированных обечаек

любая

вварка патрубков в рулонированные обечайки на полную толщину стенки**

150 - 200

сварка рулонированных обечаек между собой и с монолитными элементами**

до 100 включ.

без подогрева

свыше 100

150 - 250

12ХГНМ, 12ХГНМФ, 15ХГНМФТ

сварка рулонной стали

до 6

наплавка торцев рулонированных обечаек

любая

Сварка рулонированных обечаек между собой и с монолитными элементами**

12ХМ

сварка

до 12 включ.

без подогрева

свыше 12 до 30 включ.

100 - 150

свыше 30

150 - 200

12ХМ, 15ХМ, 12Х1МФ

до 7 включ.

без подогрева

свыше 7

200 - 240

30ХМА, 15Х1М1Ф, 15Х5М

любая

250 - 300

20Х2МА, 22Х3М, 20Х2М

сварка, антикоррозионная и низколегированная наплавка

10X2ГНМ, 10Х2ГНМА, 1Х2М1, 10Х2М1

сварка

свыше 4

100 - 150

12Х2МФА, 15Х2МФА, 15Х2НМФА

сварка

до 80 включ.

250 - 300

от 80 до 160 включ.

300 - 350

свыше 160

350 - 400

* Подогрев при электрошлаковой сварке не требуется при любой толщине элементов.

** Подогрев до 150 - 200 °С при сварке с элементами из сталей марок 20Х2МА, 22Х3М назначается при условии предварительной наплавки кромок элементов низколегированными сварочными материалами.

5.9.12. Все сварные швы корпусов сосудов и аппаратов подлежат клеймению, позволяющему установить сварщика, выполнившего эти швы.

Клейма наносятся на основном металле на расстоянии 20 - 50 мм от линии сплавления сварного шва с наружной стороны корпуса:

1) для продольных швов - в начале и конце шва на расстоянии 100 мм от кольцевого шва;

2) для кольцевых швов - в месте пересечения их с продольными и далее через каждые 2 м, но не менее двух клейм на каждом шве.

5.9.13. Если шов выполняли два и более сварщика, то ставятся клейма каждого сварщика. Клейма наносятся в виде дроби: в числителе которой ставятся клейма сварщиков, выполнявших сварку с наружной стороны корпуса, в знаменателе - с внутренней.

5.9.14. Место клеймения заключается в хорошо видимую рамку, выполняемую несмываемой краской.

Допускается вместо клеймения сварных швов прилагать к паспорту сосуда схему расположения швов с указанием фамилий сварщиков и их подписями.

5.10. Требования к сборке и сварке корпусов

5.10.1. При сборке корпусов сосудов под сварку кольцевых швов продольные швы смежных монолитных обечаек и концевых деталей должны быть смещены относительно друг друга на расстояние равное не менее чем трехкратной толщине наиболее толстого элемента, но не менее чем на 100 мм.

Смещение продольных швов рулонированных обечаек (швов центральных обечаек и наружного кожуха) относительно продольных швов смежных рулонированных и монолитных обечаек, а также концевых деталей должно быть не менее 100 мм.

5.10.2. Смещение кромок по внутреннему диаметру монолитных смежных обечаек и концевых деталей, собранных под сварку, не должно превышать 5 мм. Для вальцованных и штампосварных сосудов, не подвергаемых механической обработке, на внутренней поверхности допускаются местные смещения до 7 мм общей длиной до 20 % длины развертки. Для сосудов из двухслойных сталей значение смещения не должно превышать толщины коррозионностойкого слоя. Допускаются местные смещения кромок до 7 мм общей длиной до 10 % развертки, но не более толщины коррозионностойкого слоя. Смещения более 5 мм для сосудов из однослойных сталей и более 3 мм - для сосудов из двухслойных сталей должны быть выравнены наплавкой с уклоном 1:5.

5.10.3. При сборке многослойных рулонированных обечаек между собой и с монолитными элементами под сварку кольцевых швов смещение кромок разделки «а» не должно быть более 3 мм, смещение «б», измеренное на расстоянии 20 мм от кромки разделки, не более 5 мм для стыкуемых элементов из углеродистых, низколегированных и высоколегированных сталей (черт. 5). При стыковке двух рулонированных обечаек местное смещение «б» кромок до 7 мм на длине развертки до 10 % допускается выравнивать наплавкой шириной до 50 мм от кромки разделки с последующей плавной зачисткой.

Черт. 5

5.10.4. При стыковке рулонированных обечаек, центральные обечайки которых изготовлены из двухслойной стали, смещение «б» должно быть не более 3 мм. Допускается на 10 % длины развертки центральной обечайки смещение кромок до 5 мм при условии, если по всей длине стыка внутренний диаметр одной обечайки больше другого и если техническим проектом не оговорены более жесткие требования.

5.10.5. Сборка под сварку должна производиться с помощью прихваток или временных технологических креплений (установка скоб, планок, клиньев и т.п.).

Прихватка и приварка временных технологических креплений должна производиться аттестованными сварщиками по п. 5.9.5 с использованием сварочных материалов, с соблюдением всех технологических приемов и условий сварки для свариваемой стали.

5.10.6. При сборке элементов из сталей марок 20Х2МА и 22Х3М допускается приварку временных технологических креплений при сборке производить электродами марки ЭА-395/9 или АНЖР-2, АНЖР-3у с местным подогревом до температуры не менее 150 °С.

5.10.7. Дефекты, обнаруженные визуально в прихватках, перед сваркой шва должны быть удалены механическим способом.

5.10.8. Места приварки временных технологических креплений, после их удаления, на деталях, не подвергающихся последующей механической обработке, должны быть зачищены заподлицо с основным металлом и проконтролированы магнитопорошковым или цветным методами.

Трещины и следы аустенитного металла не допускаются.

При удалении дефектов допускаются плавные местные выборки округлой формы в соотношении глубины к диаметру 1:10. Глубина выборки не должна выводить толщину стенки детали за пределы расчетного значения и должна быть не более 10 мм. Полнота удаления аустенитного наплавленного металла контролируется методом травления.

5.10.9. Правильность сборки элементов сосудов перед сваркой (взаимное расположение деталей, отклонение от прямолинейности образующей цилиндра, зазор в стыке, смещение кромок и т.д.) должны быть приняты отделом технического контроля.

Примечание. Угол скоса кромки рулонированной обечайки в собранных стыках не является сдаточной величиной.

5.10.10. При сварке кольцевых швов корпусов в рулонированном исполнении должны быть приняты меры, исключающие раскатку наружной поверхности и торца рулонированных обечаек от контакта с металлическими роликоопорами и упорным роликом.

5.11. Требования к металлу шва и сварным соединениям

5.11.1. Механические свойства сварных соединений должны соответствовать приведенным в табл. 6. При этом допускается снижение:

1) предела прочности и текучести металла кольцевых швов монолитных обечаек, сваренных между собой и с концевыми элементами до 0,9 минимальных значений предела прочности и текучести основного металла, регламентируемых стандартами или техническими условиями на поставку;

2) предела прочности и текучести металла кольцевых швов, соединяющих рулонированные обечайки между собой и с монолитными элементами, а также замыкающих швов рулонированных обечаек (черт. 3) до 0,75 минимальных значений предела прочности и текучести рулонных сталей, регламентируемых техническими условия на их поставку.

При расчете толщины стенки корпуса, указанные снижения прочностных свойств металла шва не учитываются.

Таблица 6

Механические свойства соединений

Тип стали

Предел прочности и текучести, относительное удлинение при 20 °С и повышенных температурах

Угол изгиба, град., не менее при толщине стенки

Ударная вязкость Дж/см2, не менее при температуре

до 20 мм

более 20 мм

20 °С

минус 21 °С и ниже

KCU

KCV

KCU

KCV

Углеродистая

Не ниже минимально допустимых характеристик для основного металла по стандартам или техническим условиям

100°

100°

50

35

30

20

Кремнемарганцовистая

80°

60°

Хромомолибденовая

50°

40°

Хромоникелевая, хромоникельмолибденовая

100°

100°

70

50

* KCU, KCV - ударная вязкость, определенная на образцах с концентраторами вида U (Менаже) и вида V (Шарпи).

5.11.2. Твердость всех зон сварного соединения на наружной поверхности корпуса сосуда, аппарата и на контрольных образцах при макроисследованиях должна соответствовать требованиям табл. 7. Твердость аустенитного наплавленного металла на поверхности трубной решетки и сварных соединений двухслойной стали не должна превышать 200 НВ.

Таблица 7

Оценка качества сварных соединений по твердости

Марка стали

Допустимые пределы твердости основного металла, ед. НВ

Допустимая твердость металла шва и зоны термического влияния, ед. НВ, не более

20

100 - 145

180

16К

100 - 143

180

18К

190

20К, 22К

123 - 167

200

20ЮЧ

 

220

09Г2С

120 - 179

225

10Г2С1

156 - 190

225

15ГС

149 - 207

225

16ГС

120 - 179

225

10Г2

123 - 168

225

08Г2СФБ, 08Г2МФБ

160 - 210

235

14ХГС

149 - 207

230

12ХГНМ, 12ХГНМФ, 15ХГНМФТ

174 - 240

270

12МХ

143 - 179

240

12ХМ

137 - 170

240

15ХМ

нормализация + отпуск 156 - 197

закалка + отпуск 148 - 217

240

30ХМА

212 - 248

270

12Х1МФ

131 - 170

240

15Х1М1Ф

170 - 217

10Х2ГНМ, 10Х2ГНМА

167 - 216

240

10Х2М1, 1Х2М1

161 - 227

12Х2МФА, 15Х2МФА, 15Х2НМФА

КП-40 187 - 229

КП-50 207 - 225

270

22Х3М

195 - 235

270

20X2МА

197 - 237

20Х2М

197 - 235

15Х5М

150 - 190

250

5.11.3. Массовая доля хрома в сварных швах элементов корпуса из стали 22Х3М и 20Х2МА, работающих при температуре свыше 200 °С в водородосодержащих средах, должна быть не менее 2 %.

5.11.4. Сварные соединения по результатам измерения признаются неудовлетворительными и подлежат исправлению, если будут выявлены:

1) смещение кромок свариваемых элементов свыше норм, установленных настоящим стандартом или техническими условиями;

2) отклонение от геометрии швов свыше норм, установленных чертежами, при этом ширина усиления кольцевых швов, соединяющих рулонированные обечайки между собой и с монолитными деталями, являются факультативной величиной.

5.11.5. По результатам макроисследований сварных соединений не допустимы следующие дефекты:

1) трещины любых размеров и направлений, расположенные в металле шва, по линии сплавления и в околошовной зоне основного металла;

2) продолжения межслойных зазоров (усов) в наплавленном металле длиной более 0,8 мм в любом направлении (для многослойных сосудов);

3) непровары (несплавления), расположенные у поверхности и по сечению соединения (между основным металлом, металлом наплавки и металлом шва, а также между отдельными валиками и слоями);

4) отдельные поры и шлаковые включения линейным размером более 2,5 мм и более 1 шт., или мелкие, имеющие суммарный линейный размер более 2,5 мм, выявленные на полосе шириной 10 мм, проходящей по высоте сварного шва, толщиной до 50 мм включительно в зоне с наибольшим числом пор и шлаковых включений;

5) отдельные поры и шлаковые включения линейным размером более 4 мм и более 3 шт., или мелкие, имеющие суммарный линейный размер более 12 мм, выявленные на полосе шириной 10 мм, проходящей по высоте сварного шва толщиной свыше 50 мм в зоне с наибольшим числом пор и шлаковых включений. При этом расстояние между допустимыми дефектам по высоте полосы должно быть не менее трех линейных размеров максимального дефекта.

Для аустенитной наплавки на трубную решетку и другие элементы корпуса сосуда не допускаются:

1) трещины всех видов и направлений;

2) непровары, несплавления;

3) скопление газовых пор и шлаковых включений;

4) отдельные поры и шлаковые включения линейным размером более 1 мм или мелкие имеющие суммарный линейный размер более 1 мм, выявленные на шлифе длиной 50 мм.

5.11.6. Качество сварных соединений и наплавки по результатам микроисследований считается неудовлетворительным, если в наплавленном металле и в зоне термического влияния будут выявлены микротрещины. В зоне термического влияния основного металла не допускаются закалочные мартенситные структуры с твердостью более 270 ед. НВ, а также видманштетова структура крупнее 3 балла - по ГОСТ 5640.

5.11.7. Качество сварных соединений и наплавок по результатам неразрушающих методов контроля должно соответствовать подразделу 8.7.

5.12. Требования к исправлению дефектов в сварных соединениях

5.12.1. Сварные соединения с недопустимыми дефектами подлежат исправлению. Исправление одного и того же дефектного места допускается не более трех раз, а на аустенитных сталях не более двух раз, после чего шов бракуется.

5.12.2. Выборка дефектов должна производиться механическим способом. Допускается для удаления дефектов в монолитных сварных соединениях из углеродистых и кремнемарганцовистых сталей использовать воздушно-дуговую строжку, с последующей механической обработкой поверхностей реза на глубину не менее 1,5 мм, считая от максимальной впадины реза.

5.12.3. При устранении дефектов с применением сварки требования к сварочным материалам, подогреву, термической обработке должны быть такие же, как и при сварке ремонтируемого сварного шва или наплавки.

5.12.4. Для устранения дефектов в сварных соединениях, выполненных ЭШС, могут быть использованы - ручная электродуговая или сварка под флюсом и в среде аргона. Если сварное соединение до исправления дефектов прошло полную термическую обработку, то после исправления оно должно быть подвергнуто отпуску.

5.12.5. Допускается после исправления дефектов не производить термическую обработку сварных соединений из углеродистых и кремнемарганцовистых сталей, прошедших термическую обработку до устранения дефектов, если глубина выборки составляет не более 20 % толщины стенки, но не более 24 мм для углеродистых и не более 20 мм для кремнемарганцовистых сталей при общей длине выбранных участков не более 5 % длины шва.

5.12.6. Отремонтированные дефектные участки должны быть подвергнуты тем же видам контроля, что и сварное соединение в объеме 100 % в соответствии с подразделом 8.6.4.

5.13. Требования к термической обработке сварных соединений корпусов и их элементов

5.13.1. Сварные соединения, выполненные ЭШС, независимо от марки стали и толщины свариваемых элементов должны подвергаться нормализации или закалке с отпуском по режиму для основного металла.

5.13.2. Сварные соединения и наплавки, выполненные другими видами сварки (кроме ЭШС) подвергаются термической обработке (высокому отпуску) в соответствии с табл. 8.


Таблица 8

Марка стали

Вид сварочных работ

Толщина свариваемых или наплавляемых элементов, при которой необходима термическая обработка, мм

Температура печи при посадке, °С

Температура нагрева, °С

Время выдержки на 1 мм толщины, мин.

Условия нагрева и охлаждения

20, 16К, 18К, 20К, 22К, 20ЮЧ

сварка

свыше 36

не выше 350

580 - 620

2,5 - 3

скорость нагрева 50 - 100 °С/ч, охлаждение до 300 °С с печью, затем на воздухе*

09Г2С, 10Г2С1, 15ГС, 16ГС, 10Г2

свыше 30

14ХГС

любая

520 - 650**

08Г2СФБ, 08Г2МФБ

вварка штуцеров в рулонированные обечайки на полную толщину стенки

свыше 100 (обечайки)

не выше 150

580 - 600

3 - 4

скорость нагрева не более 30 °С/ч, охлаждение до 200 °С с печью, затем на воздухе

сварка рулонированных обечаек между собой и с монолитными элементами

свыше 160

12ХГНМ, 12ХГНМФ, 15ХГНМФТ

сварка рулонированных обечаек между собой и с монолитными элементами

любая

600 - 620

4 - 5

12МХ

сварка

100 - 350

650 - 680

3 - 4

скорость нагрева 50 - 100 °С/ч, охлаждение до 300 °С с печью, затем на воздухе

12ХМ, 15ХМ

200 - 350

690 - 720

12Х1МФ

710 - 750

15Х1М1Ф

725 - 760

30ХМА

250 - 350

650 - 570

20Х2МА, 20Х2М

сварка, антикоррозионная и низколегированная наплавка

630 - 650

2,5 - 3, но не менее 5 ч при толщине стенки до 100 мм

22Х3М

640 - 660

10X2ГНМ, 10X2ГНМА

сварка

200 - 350

620 - 640

3 - 4

10Х2М1, 1Х2М1

100 - 350

690 - 730

5 - 6

12Х2МФА, 15X2МФА, 15Х2НМФА

сварка

250 - 400

660 - 700

5 - 6

скорость нагрева 50 - 100 °С/ч, охлаждение с печью до 300 °С, затем на воздухе

15Х5М

730 - 750

3 - 4

* Скорость нагрева уточняется заводом-изготовителем, исходя из толщины стенки и конструктивных особенностей термообрабатываемого узла и корпуса сосуда.

** Температура отпуска сварных соединений стали 14ХГС уточняется заводом-изготовителем и должна быть на 20 - 30 °С ниже температуры отпуска свариваемых деталей.

Примечания:

1. Допускается в обоснованных случаях для стали марки 08Г2СФБ после сварки рулонированных обечаек между собой и с монолитными элементами не производить термообработку отдельных замыкающих кольцевых швов толщиной свыше 160 мм. При этом сварка должна производиться по специальной технологии предприятия-изготовителя.

2. Кольцевые швы рулонированных сосудов, работающих при температуре стенки ниже минус 20 °С, по требованию технического проекта подвергаются термической обработке - отпуску, независимо от толщины стенки.

3. Для сталей 20, 20К, 22К, 09Г2С, 10Г2С1, 16ГС допускается температуру отпуска повышать до 650 °С при условии обеспечения требуемых механических свойств металла и сварных соединений.

4. Температура печи при посадке элементов или корпусов из двухслойных сталей должна быть не выше 200 °С.


5.13.3. Объемной термической обработке после сварки продольных швов по режимам, указанным в табл. 8, подвергаются:

1) монолитные обечайки (в том числе центральные обечайки рулонированных царг), патрубки и другие элементы корпуса, изготовленные вальцовкой, из углеродистых и кремнемарганцовистых сталей с плакирующим слоем или без него, если толщина стенки (S) превышает значение, вычисленное по формуле

S = 0,009(Двн + 1200),

где Двн - внутренний диаметр элемента, мм;

2) центральные обечайки независимо от диаметра и толщины стенки при отсутствии доступа вовнутрь рулонированных сосудов для осмотра и контроля продольных швов этих обечаек в процессе освидетельствования.

5.13.4. При наличии в техническом проекте требований по обеспечению стойкости против межкристаллитной коррозии необходимость и режимы термической обработки сварных соединений элементов из двухслойных сталей, для которых по условиям п.п. 5.13.1, 5.13.2, 5.13.3 термическая обработка необходима, определяется техническим проектом.

Термообработка сварных соединений (стабилизирующий отжиг или аустенизация) коррозионностойких сталей, эксплуатируемых при температуре свыше 350 °С в средах, вызывающих межкристаллитную коррозию, а также коррозионное растрескивание, определяется техническим проектом.

5.13.5. Для сварных соединений из сталей марки 20Х2МА и 22Х3М допускается проведение промежуточных отпусков при температуре на 50 - 60 °С ниже температуры отпуска основного металла.

5.13.6. При объемной термической обработке посадка в печь многослойных блоков или корпусов должна производиться при температуре печи не более 150 °С. При температуре посадки производится выдержка, время (Т) которой в часах определяется по формуле:

Т ³ S/50,

где S - толщина многослойной стенки, мм. Скорость нагрева до температуры отпуска не должна превышать 30 °С/ч.

5.13.7. Допускается проведение местного отпуска кольцевых швов монолитных элементов и корпусов сосудов, при этом по всей длине шва и примыкающих к нему зон основного металла на ширину не менее двух толщин стенки, но не менее 100 мм в обе стороны от кольцевого шва, должен быть обеспечен нагрев в пределах заданных для термической обработки температур, а также соблюдены условия нагрева и охлаждения.

5.13.8. Приварка внутренних и наружных устройств и корпусам сосудов, подвергаемых термической обработке, должна производиться до термической обработки.

5.13.9. Число высокотемпературных обработок (нормализация, закалка) сварного соединения должно быть не более трех. Число отпусков не ограничивается.

5.13.10. Допускается термическую обработку сварных соединений днищ и других элементов корпуса из углеродистых и низколегированных кремнемарганцовистых сталей совмещать с нагревом их под штамповку или вальцовку с окончанием штамповки (вальцовки) при температуре не ниже 700 °С.

5.13.11. При проведении термической обработки сварных соединений должны приниматься меры, исключающие деформации элементов и корпусов сосудов под действием собственной массы.

5.13.12. Режимы термической обработки сварных соединений корпуса и его основных элементов должны заноситься в паспорт сосуда.

5.14. Требования к окончательной сборке

5.14.1. Предприятие-изготовитель должно производить контрольную сборку сосуда в соответствии с принятой технологией и настоящим стандартом.

5.14.2. Резьбовые соединения, опорные поверхности гайка-шайба, уплотнительные поверхности уплотнительных колец, корпусов и крышек должны перед сборкой протираться начисто и смазываться противозадирными смазками, указанными в табл. 9. Допускается применение других противозадирных смазок, по свойствам не уступающим указанным в перечисленных стандартах и технических условиях.

Таблица 9

Марка противозадирной смазки

Номер стандарта, технических условий

Максимально допустимая температура эксплуатации, °С

ВНИИНП-232

ГОСТ 14068

100

ВНИИНП-212

ТУ 38-1-01-594

150

ВНИИНП-225

ГОСТ 19782

300

ВНИИНП-213

ТУ 38-1-01-87

350

ВНИИНП-229

ОСТ 38-128

350

ВНИИНП-269

ТУ 38-1-01-58

350

5.14.3. Отклонение от параллельности торца крышки относительно торца фланца корпуса после сборки затвора и окончательной затяжки основных шпилек не должно превышать значений, указанных в табл. 10.

5.14.4. Уплотнение крышки с корпусом должно быть выполнено в расчете на эксплуатацию сосуда при рабочих параметрах в соответствии с действующей нормативно-технической документацией (инструкцией, руководящим документом и др., примененными при расчете затяжки шпилек), указанной в техническом проекте.

5.14.5. Предприятие-изготовитель негабаритных сосудов, транспортируемых частями, должен произвести контрольную сборку сосуда.

Допускается вместо сборки проводить контрольную проверку размеров стыкуемых частей при условии, что предприятие-изготовитель гарантирует собираемость сосуда без дополнительной подгонки, обкатки, испытаний отдельных частей.

Таблица 10

Наружный диаметр фланца корпуса, мм

Отклонение от параллельности, мм

Уплотнение с двухконусным кольцом

Уплотнение с кольцом треугольного или восьмиугольного сечения

Уплотнение с плоской прокладкой

До 400 включ.

0,6

0,3

0,3

Св. 400 до 800    »

1,0

0,4

0,4

» 800 » 1000     »

1,5

0,5

0,6

» 1000 » 1200   »

2,0

0,6

0,8

» 1200 » 1400   »

2,5

0,7

1,0

» 1400 » 1600   »

3,0

0,8

1,2

» 1600 » 1800   »

3,5

0,9

-

» 1800 » 2200   »

4,5

1,0

-

» 2200 » 2600   »

5,5

-

-

» 2600 » 3600   »

5,0

-

-

» 3600 » 4400   »

6,5

 

 

Примечание. Отклонение от параллельности определяется разностью максимального и минимального зазора между крышкой и корпусом (фланцем) и измеряется с погрешностью ± 0,1 мм.

6. КОМПЛЕКТНОСТЬ И ДОКУМЕНТАЦИЯ

6.1. Комплектность

6.1.1. Сосуд должен поставляться комплектно. В комплект сосуда должны входить:

1) сосуд в собранном виде (в т.ч. с внутренними устройствами) или отдельные транспортируемые части с ответными фланцами, накидными гайками, рабочими прокладками, уплотнительными кольцами и крепежными деталями, не требующими замены при монтаже;

2) комплект сменных прокладок (не менее двух), уплотнительных колец для разъемов, которые подлежат разборке во время монтажа (для установки нетранспортабельных внутренних устройств, загрузки катализаторов и т.п.);

3) фундаментные болты с закладными деталями для всех опорных частей оборудования, закрепляемого на фундаментах;

4) комплект устройства для затяжки основных (соединяющих корпус с крышкой) крепежных деталей;

5) установочные (регулировочные) винты, для сосудов массой до 16 т.

Примечание. Допускается детали и сборочные единицы, которые при отправке в сборе с сосудом могут быть повреждены, снять и отправить в отдельной упаковке. Тип и вид тары и упаковки этих деталей и сборочных единиц, а также покупных деталей, должны соответствовать требованиям технических условий на конкретные сосуды.

6.1.2. Состав (перечень) и объем комплектности допускается уточнять по согласованию с потребителем (заказчиком), а также устанавливать техническим проектом на сосуд или техническими условиями с учетом фактической потребности.

6.2. Документация

6.2.1. Все виды контрольных испытаний сосудов и их элементов должны быть оформлены соответствующей технической документацией, необходимой для составления паспорта сосуда.

6.2.2. На каждый сосуд, принятый на предприятии-изготовителе, должен быть составлен паспорт в соответствии с требованиями ГОСТ 25773. Все результаты испытаний, предусмотренные настоящим стандартом, но не содержащиеся в таблицах паспорта, должны быть вписаны в раздел паспорта «Другие испытания и исследования».

6.2.3. В паспорт сосуда должны быть занесены наименования деталей, которые несут нагрузку от давления и подвергаются расчету. Перечень деталей для занесения в паспорт назначается техническим проектом.

6.2.4. На каждый сосуд в адрес заказчика должна быть отправлена следующая документация:

1) паспорт на сосуд - 1 экз.;

2) сборочный чертеж сосуда с указанием схемы строповки и центра массы - 1 экз.;

3) чертежи основных сборочных единиц (корпуса, внутренних устройств, отдельно поставляемых частей и т.п.) - 2 экз.;

4) чертежи быстроизнашиваемых деталей (основных крепежных деталей - шпилек, гаек, шайб, крепящих крышку к корпусу, уплотнительных колец, прокладок, линз и др.) - 2 экз.;

5) монтажный чертеж, если он предусмотрен техническим проектом - 2 экз.;

6) для сосудов транспортируемых частями - акт о проведении контрольной сборки или контрольной проверки размеров, схема монтажной маркировки, сборочные чертежи в трех экземплярах;

7) инструкция по эксплуатации, монтажу, осмотру, ремонту и контролю во время эксплуатации - 2 экз.

Инструкция составляется автором технического проекта и входит в его состав;

8) технические условия при наличии дополнительных требований, не предусмотренных настоящим стандартом - 2 экз.;

9) расчеты на прочность - 2 экз.;

10) комплектовочные и упаковочные ведомости - 1 экз.

6.2.5. Потребитель составляет на сосуд инструкцию по режиму работы и его безопасному обслуживанию в соответствии с Правилами Госгортехнадзора.

6.2.6. Документация должна быть отправлена в сброшюрованном виде в водонепроницаемой упаковке, помещенной в грузовое место номер один.

6.2.7. Подлинники технической документации и результаты контроля изготовленного сосуда должны храниться в архиве предприятия-изготовителя в течение установленного срока эксплуатации.

7. ПРАВИЛА ПРИЕМКИ

7.1. Сосуды должны подвергаться на предприятии-изготовителе приемо-сдаточным испытаниям - по ГОСТ 15.001.

7.2. Приемо-сдаточным испытаниям должен подвергаться каждый сосуд для проверки качества изготовления, соответствия требованиям настоящего стандарта, техническим условиям и рабочим чертежам.

7.3. При приемо-сдаточных испытаниях должны проводиться и проверяться:

1) внешним осмотром и выполнением необходимых измерений в процессе изготовления - размеры и форма деталей сборочных единиц и сосуда в целом;

2) внешним осмотром - качество (состояние) внутренних и наружных поверхностей;

3) механические свойства материалов деталей и сварных соединений - по документации;

4) качество сварных соединений - по документации;

5) наличие, содержание места расположения и правильность нанесения клейм на сварных швах и деталях (доступных для внешнего осмотра), маркировки монтажной, транспортной и на табличке - внешним осмотром;

6) правильность сборки, в том числе контрольной, для сосудов транспортируемых частями;

7) гидравлические и пневматические испытания;

8) наличие установленной документации (сертификатов, актов, карт измерения и контроля и др.);

9) комплектность сосуда;

10) качество консервации, окраски, упаковки.

7.4. Приемо-сдаточные испытания проводит служба технического контроля предприятия-изготовителя или Государственная приемка.

7.5. Результаты приемо-сдаточных испытаний должны быть внесены в паспорт сосуда.

8. МЕТОДЫ КОНТРОЛЯ И ИСПЫТАНИЙ

8.1. Общие требования

В процессе изготовления деталей, сборочных единиц и корпусов сосудов необходимо осуществлять систематический контроль качества выполнения работ, который заключается в организации и проведении предварительного контроля, пооперационного контроля и контроля готовых сварных соединений и изделий.

8.1.1. При предварительном контроле подлежат проверке квалификация сварщика, термиста и дефектоскописта; качество сварочных материалов, наличие технологических процессов, состояние сварочного оборудования, сборочно-сварочных приспособлений, термического оборудования и приборов для дефектоскопии.

8.1.2. При пооперационном контроле проверяют:

1) соответствие марки материала свариваемой детали и сварочных материалов требованиям чертежа и технических условий;

2) качество подготовки материалов для сварки;

3) качество сборки перед сваркой;

4) режимы подогрева, сварки и термообработки.

8.1.3. Готовые сварные соединения и изделия проверяют на соответствие требованиям настоящего стандарта, техническим условиям и чертежам на изделия.

8.1.4. Результаты контроля и испытаний должны вноситься в дело сосуда, а после изготовления в паспорт сосуда.

8.2. Контроль качества листовой и рулонной стали, штампованных заготовок, поковок и кованокатанных плит.

8.2.1. Перед запуском в производство, независимо от наличия сертификата, материалы в зависимости от условий их применения должны контролироваться на предприятии-изготовителе сосудов в соответствии с требованиями настоящего стандарта (раздел 4, подразделы 8.2, 8.6 и приложений 5, 6, 7, 8).

8.2.2. Контроль химического состава сталей осуществляется сверкой сертификатных данных на соответствие их требованиям стандартов и технических условий на поставку.

8.2.3. Испытания механических свойств сталей производятся:

1) на растяжение при температуре 20 °С по ГОСТ 1497;

2) на растяжение при повышенных температурах по ГОСТ 9651;

3) на статический изгиб по ГОСТ 14019;

4) на ударный изгиб по ГОСТ 9454.

Отбор проб для механических испытаний производится в соответствии с ГОСТ 7564.

Примечание. Испытания основного металла с острым надрезом (по Шарли) при 20 °С и при отрицательной рабочей температуре стенки сосуда являются обязательными.

Результаты испытаний факультативны, т.е. справочные до утверждения нормативных значений после сбора и анализа статистических данных.

8.2.4. При неудовлетворительных результатах механических испытаний допускается проводить повторное испытание на удвоенном числе образцов того вида испытаний, по которому получены неудовлетворительные результаты.

В случае получения неудовлетворительных результатов повторных испытаний материал может быть подвергнут повторной термообработке.

Число повторных термообработок должно быть не более двух, при этом дополнительный отпуск не считается повторной термообработкой.

8.2.5. Коррозионностойкая сталь и плакирующий слой двухслойной стали по требованию технического проекта до запуска в производство, независимо от наличия сертификата, должны контролироваться на стойкость против межкристаллитной коррозии по ГОСТ 6032 и на содержание ферритной фазы.

8.2.6. Рулонная сталь должна подвергаться внешнему осмотру, который осуществляется в процессе намотки рулонированных обечаек. При обнаружении расслоений дефектный участок полосы удаляется.

8.2.7. Штампованные днища, крышки, горловины, полуобечайки должны контролироваться:

1) внешним осмотром на отсутствие плен, расслоений, надрывов;

2) магнитопорошковым методом выборочно, в местах, где внешним осмотром выявлены дефекты, а также в местах исправления наружных дефектов;

3) методом механических испытаний в соответствии с приложением 1.

8.2.8. Механические свойства материала штампованных деталей должны определяться на тангенциальных образцах, вырезанных из припуска на борту детали. При изготовлении однотипных деталей допускается производить контроль механических свойств на образцах, вырезанных из одной детали от партии. При этом в одну партию могут быть объединены штампованные детали одной марки стали, прошедшие совместную термическую обработку. При совместной термической обработке деталей разной толщины контрольные испытания должны проводиться на детали наибольшей толщины.

8.2.9. При неудовлетворительных результатах механических испытаний штампованных деталей допускается проводить повторную, но не более чем двухразовую термическую обработку, при этом дополнительный отпуск не считается повторной термической обработкой.

8.2.10. Металл поковок для цельнокованых корпусов, обечаек, фланцев, днищ, крышек, трубных досок, патрубков и др. деталей подлежит контролю методами и оценкой качества в соответствии с требованиями ОСТ 26-01-135.

8.3. Контроль плотности рулонированных обечаек

8.3.1. Неплотности, образующиеся в процессе намотки, между слоями у торцев рулонированных обечаек, должны контролироваться набором щупов ТУ 2-034-225. Контроль производится до механической обработки торцев по п. 5.2.4.11.

8.3.2. Для сосудов, требующих проверки на прочность при малоцикловых нагрузках в соответствии с ОСТ 26-1046, у каждой рулонированной обечайки после наплавки торцев должен измеряться объём межслойного пространства пневматическим методом и определяться значения межслойных зазоров по методике предприятия-изготовителя. Допустимое значение зазоров должно определяться расчетом и указываться в техническом проекте.

8.4. Контроль основных геометрических размеров корпуса

8.4.1. После изготовления корпуса сосуда должны быть проконтролированы его основные геометрические размеры и отклонения формы и расположения поверхностей:

1) внутренний диаметр цилиндрической части;

2) отклонение от круглости (овальность) внутреннего диаметра цилиндрической части;

3) наружный диаметр цилиндрической части;

4) отклонение от прямолинейности цилиндрической части корпуса сосуда (отклонение продольного сечения);

5) длина цилиндрической части корпуса по наружной поверхности;

6) отклонение от круглости (угловатость) в поперечном сечении сварного шва;

7) смещение кромок сварных стыковых соединений элементов корпуса.

Результаты измерений заносятся в паспорт сосуда.

8.4.2. Контроль внутреннего диаметра должен производиться в одних и тех же точках до и после гидравлических испытаний нутромером микрометрическим по ГОСТ 10.

Измерения производятся вне зоны продольного сварного шва обечайки (центральной обечайки) в двух взаимноперпендикулярных плоскостях в доступных местах каждой обечайки на расстоянии не менее 400 мм от кольцевого шва.

Абсолютная погрешность измерений внутреннего диаметра не должна превышать ± 1,0 мм.

8.4.3. Отклонение от круглости (овальность) внутреннего диаметра цилиндрической части корпуса сосуда определяется как разность результатов измерений наибольшего и наименьшего внутренних диаметров.

Допускается в паспорт сосуда заносить результаты измерений отклонения от круглости каждой обечайки (центральной обечайки).

8.4.4. Наружный диаметр определяется расчетным путем по результатам измерения длины окружности. Измерение длины окружности производится в средней части каждой обечайки по её наружной поверхности методом опоясывания рулеткой измерительной металлической 2 класса по ГОСТ 7502. Усилие натяжения рулетки при измерении должно составлять не более 50 Н.

Абсолютная погрешность косвенного измерения не должна превышать ± 2,0 мм.

8.4.5. Контроль отклонения от прямолинейности образующей цилиндрической части сварного корпуса производится с помощью натянутой струны из стальной проволоки диаметром от 0,3 до 0,6 мм. Расстояние от струны до поверхности сосуда измеряется линейкой измерительной металлической по ГОСТ 427.

За результат измерений принимается наибольшее значение отклонения от прямолинейности. Абсолютная погрешность измерения не должна превышать ± 1,0 мм. Измерения отклонений от прямолинейности в местах сварных швов не производится.

8.4.6. Контроль смещения кромок продольных (для обечаек) и кольцевых сварных соединений элементов корпуса по подразделу 5.2 производить в процессе сборки под сварку в местах наибольшего смещения кромок. Контроль смещения продольных соединений для обечаек по внутренней, а для центральных обечаек по внутренней и наружной поверхностям производится при помощи радиусных шаблонов по ТУ 2-034-228 и набора щупов по ТУ 2-034-225.

Контроль смещения кольцевых соединений для рулонированных обечаек между собой и с коваными элементами производится по внутренней поверхности при помощи поверочной линейки класса точности 1,0 по ГОСТ 8026 и набора щупов или штангенглубиномера по ГОСТ 162.

Абсолютная погрешность измерения смещения не должны превышать ± 0,1 мм.

8.4.7. Контроль длины наружной цилиндрической части корпуса сосуда производится рулеткой измерительной металлической 3 класса по ГОСТ 7502.

Абсолютная погрешность измерений не должна превышать ± 10 мм.

8.4.8. Действительный объем корпуса сосуда определяется, как правило, расчетным путем по результатам измерений внутреннего диаметра, длины наружной цилиндрической части корпуса и с учетом объёма днищ. Допускается измерения и расчет объёма производить по отдельным элементам корпуса, например: днища, цилиндрической части, фланца, горловины с последующим суммированием объёмов. При этом объёмы штуцеров, патрубков и люков не учитываются. Относительная погрешность косвенного измерения объёма не должна превышать ± 1,0 % его номинального значения.

8.5. Контроль качества сварных соединений и наплавок

8.5.1. Общие требования

8.5.1.1. Сварные соединения сосудов и их элементов должны подвергаться контролю следующими методами:

1) внешним осмотром и измерениями;

2) проведением механических испытаний;

3) проведением металлографических исследований;

4) измерением твердости;

5) цветным или магнитопорошковым;

6) ультразвуковым или радиографическим;

7) стилоскопированием;

8) испытанием на стойкость против межкристаллитной коррозии;

9) гидравлическими испытаниями;

10) другими методами (акустической эмиссии, люминесцентным, определением содержания ферритной фазы и др.), предусмотренными техническим проектом.

Окончательный контроль качества сварных соединений сосудов, подвергающихся термообработке, должен производиться после проведения термообработки.

8.5.1.2. Виды испытаний сварных соединений и наплавок деталей сосуда назначаются в соответствии с табл. 11.


Таблица 11

Виды испытаний сварных соединений

Характеристика сварного соединения

Механические испытания

Металлографические исследования

Определение твердости

Определение химического состава

Определение стойкости против МКК

Определение содержания a-фазы

монолитные обечайки и концевые детали

Продольные швы вальцованных, штампосварных обечаек и концевых деталей.

+

+

+

+

с учетом п. 8.5.9.2

+

с учетом п. 8.5.7

+

с учетом п. 8.5.8.1

Низколегированная наплавка торцев монолитных элементов под сварку с рулонированными обечайками.

+

+

+

+

с учетом п. 5.5.5

-

-

Антикоррозионная наплавка, в том числе на трубные решетки.

-

-

+

+

+

с учетом п. 8.5.7

+

с учетом п. 8.5.8.1

рулонированные обечайки

Продольные швы центральных обечаек

+

+

+

-

+

с учетом п. 8.5.7

-

Замыкающие швы (черт. 3)

+

-

-

-

-

-

Продольные швы наружного кожуха

+

-

-

-

-

-

Наплавка торцев

+

+

+

-

-

-

Наплавка поверхностей отверстий под вварку патрубков (штуцеров)

-

+

+

-

-

-

Корпуса сосудов и аппаратов

Швы вварки (приварки) патрубков (штуцеров) в монолитные и рулонированные обечайки и концевые детали

 

+

+

-

-

-

Кольцевые швы, сварка монолитных обечаек и концевых деталей между собой, и с рулонированными обечайками, а также рулонированных обечаек с рулонированными.

+

+

+

-

-

-

Швы приварки труб к трубным решеткам

-

-

-

+

с учетом п. 8.5.9.2

-

+

с учетом п. 8.5.8.1

Швы футеровок из аустенитных сталей

+

-

-

-

+

с учетом п. 8.5.7

+

с учетом п. 8.5.8.1

Примечания:

1. + (плюс) контроль производится, - (минус) контроль не производится.

2. Механические испытания, металлографические исследования, определение твердости наплавок на торцы монолитных элементов и рулонированных обечаек производятся на контрольных сварных соединениях для кольцевых швов, а наплавок поверхности отверстий в рулонированных обечайках - на контрольных сварных соединениях для вварки штуцера.


8.5.1.3. Объём испытаний сварных соединений и наплавок назначаются в соответствии с требованиями, приведенными в подразделах, соответствующих перечислениям (1 - 10) п. 8.5.1.1.

8.5.2. Внешний осмотр и измерения сварных соединений и наплавок

8.5.2.1. Внешний осмотр и измерения проводятся в соответствии с ГОСТ 3242 для выявления наружных недопустимых дефектов в сварных швах и наплавках, а также отклонений геометрических размеров сварных соединений. Внешнему осмотру должны также подвергаться участки поверхности корпуса, прилегающие к сварным швам шириной не менее 30 мм.

Внешний осмотр и измерения следует производить с двух сторон в доступных местах по всей протяженности сварных соединений (шва).

8.5.2.2. Перед внешним осмотром сварные соединения, наплавки и прилегающие к ним поверхности основного металла должны быть очищены от шлака, брызг и других загрязнений.

8.5.2.3. В процессе изготовления корпусов сосудов должно контролироваться качество сборки под сварку (смещение кромок, чистота свариваемых кромок, прямолинейность образующей корпуса и т.д.).

8.5.3. Контрольные сварные соединения

8.5.3.1. Контрольные сварные соединения предназначены для контроля механических свойств, структуры, твердости, стойкости против межкристаллитной коррозии производственных сварных соединений.

Контрольные сварные соединения должны быть идентичны контролируемым производственным сварным соединениям.

8.5.3.2. Идентичными считаются сварные соединения одинаковые по марке стали, форме разделки кромок, виду и режимам сварки, сварочным материалам, пространственному положению шва при сварке, режимам нагрева под сварку, вальцовку, штамповку, термообработку и различающиеся по толщине стенки не более чем на 20 %.

8.5.3.3. Сварка контрольных сварных соединений, должна выполняться теми же сварщиками, на том же сварочном оборудовании, что и контролируемые производственные сварные соединения.

Контрольные сварные соединения должны подвергаться нагреву совместно с изделием под штамповку, вальцовку и термообработку. Допускается проведение термической обработки контрольных соединений отдельно от изделия продолжительностью, равной суммарной продолжительности всех термообработок контролируемого соединения корпуса сосуда.

8.5.3.4. При автоматической сварке на каждую группу идентичных сварных соединений (п. 8.5.3.2) корпуса сваривается одно контрольное соединение, при ручной дуговой сварке - по одному контрольному соединению на каждого сварщика, принимавшего участие в сварке швов данной группы. При многопроходной сварке шва, выполняемого несколькими сварщиками, отдельные проходы при сварке контрольного соединения должны выполняться теми же сварщиками, в том же порядке, в каком выполнялось производственное сварное соединение.

8.5.3.5. Контрольные сварные соединения должны контролироваться теми же методами, в том же объёме, что и контролируемые производственные сварные соединения. Для проведения испытаний и исследований вырезка образцов из участков контрольных сварных соединений, имеющих недопустимые дефекты, не допускается.

8.5.3.6. Для продольных стыковых швов корпуса свариваются плоские контрольные сварные соединения. Пластины следует прихватывать к свариваемым элементам так, чтобы шов контрольного соединения являлся продолжением шва изделия.

8.5.3.7. Контрольные соединения для продольных швов заготовок, подвергаемых штамповке, допускается вырезать из припуска, предусмотренного на борту штамповки.

8.5.3.8. Для кольцевых стыковых соединений сосудов внутренним диаметром до 600 мм диаметр контрольного соединения должен соответствовать диаметру сосуда. При большем диаметре сосуда диаметр контрольного соединения должен быть не менее 600 мм. Допускается для кольцевых сварных соединений изготавливать плоское контрольное соединение. Плоское контрольное соединение должно быть жёстким и выполнено с соблюдением всех условий сварки контролируемых швов сосудов.

8.5.3.9. Для кольцевых стыковых соединений из двух рулонированных обечаек и из рулонированной обечайки и монолитного элемента допускается изготовлять одно контрольное соединение, состоящее из рулонированной (пакета) и монолитной (пластины) обечайки.

8.5.3.10. Для сварных соединений вварки (приварки) патрубков (штуцеров) внутренним диаметром более 100 мм изготавливается контрольное сварное соединение с максимальным для контролируемой группы идентичных сварных соединений корпуса сечением сварного шва. При этом в группу идентичных сварных соединений могут быть включены сварные соединения с разной толщиной шва. Контрольное соединение может быть плоским из пластин или состоять из сектора обечайки (днища и т.д.) радиусом, равным радиусу контролируемого элемента, с вваренным (приваренным) патрубком.

8.5.3.11. Для контроля аустенитной наплавки на трубную решетку под приварку теплообменных трубок должно быть изготовлено контрольное соединение, представляющее собой круг диаметром 500 мм толщиной 100 мм, на который производится наплавка толщиной, равной толщине наплавки трубной решетки контролируемого аппарата. Наплавленная поверхность должна быть механически обработана для проведения контроля.

8.5.3.12. Размеры контрольных сварных соединений должны быть выбраны с таким расчетом, чтобы из них можно было вырезать необходимое число образцов для предусмотренных стандартом видов испытаний, а из оставшейся части, в случае повторных испытаний, можно было бы дополнительно вырезать удвоенное число образцов.

8.5.3.13. При серийном изготовлении однотипных сосудов или их элементов разрешается на каждую группу идентичных сварных соединений партии сосудов (элементов) изготовлять по одному контрольному соединению, при условии выполнения требований п.п. 8.5.3.2, 8.5.3.3, 8.5.3.4. В одну партию могут быть объединены однотипные сосуды (элементы), различающиеся по толщине стенки не более чем на 20 %, если цикл изготовления всей партии сосудов (элементов) по сборочно-сварочным работам, термообработке и контрольным операциям не превышает трех месяцев для элементов корпуса сосуда и не более одного года для кольцевых сварных соединений сосуда.

Толщина контрольных сварных соединений должна быть равна максимальной толщине стенки контролируемых производственных стыков.

8.5.3.14. Контрольным сварным соединениям и вырезанным из них образцам следует присваивать регистрационный номер согласно учетной документации предприятия-изготовителя, в которой должны отражаться необходимые сведения по изготавливаемому производственному сварному соединению.

8.5.4. Механические испытания сварных соединений

8.5.4.1. Обязательным механическим испытаниям на контрольных сварных соединениях в объеме, указанном в табл. 12, должны подвергаться стыковые сварные соединения элементов и корпусов сосудов.


Таблица 12

Механические испытания контрольных сварных соединений

Характеристика сварных соединений

Вид испытаний

Температура испытаний, °С

Число образцов, шт.

Тип образцов, стандарт

 

Продольные швы вальцованных, штампосварных обечаек и концевых деталей

Растяжение, металл шва, черт. 16

20

2

тип II ГОСТ 6996

 

Кольцевые швы корпуса, соединяющие монолитные обечайки и концевые детали между собой

Растяжение, сварное соединение, черт. 17

20

2

тип XII ГОСТ 6996 или тип III ГОСТ 1497

 

300*

тип I ГОСТ 9651

 

350*

 

Статистический изгиб

20

2

тип XXVII ГОСТ 6996

 

Ударный изгиб:

1) металл шва, черт. 18

2) зона термического влияния, черт. 19

20

3

тип VI ГОСТ 6996

тип IX ГОСТ 6996

 

от минус 21** до минус 40 вкл.

 

Рулонированные обечайки:

Растяжение, сварное соединение

20

2

тип XII ГОСТ 6996 или тип III ГОСТ 1497 при S ³ 20 мм

 

300*

плоские или круглые тип I ГОСТ 9651

350*

 

Статический изгиб

20

2

тип XXVII ГОСТ 6996

 

Ударный изгиб, металл шва, черт. 6 и черт. 7 (для двухслойных сталей)

20

3

тип VI ГОСТ 6996, тип IX ГОСТ 6996

 

от минус 21** до минус 40 включ.

 

Кольцевые швы корпуса, соединяющие рулонированные обечайки между собой и монолитными элементами

Растяжение, металл шва, черт. 8

20

2

тип II ГОСТ 6996

 

Растяжение, сварное соединение, черт. 9

20

тип XII ГОСТ 6996 или плоские тип II ГОСТ 1497

 

300*

 

350*

плоские, ГОСТ 9651

 

Статический изгиб, черт. 12

20

2

тип XXVII ГОСТ 6996

 

Ударный изгиб:

1) металл шва, черт. 10

2) металл наплавки на торец рулонированной обечайки, черт. 15

3) зона термического влияния основного металла, черт. 11, 13

4) зона термического влияния в наплавке на поковку, черт. 14

3

тип VI ГОСТ 6996

тип IX ГОСТ 6996

тип VIII ГОСТ 6996

тип XI ГОСТ 6996

от минус 21** до минус 40 вкл.

 

Швы футеровки

Растяжение, сварное соединение

20

2

тип XII ГОСТ 6996

 

Статистический изгиб

2

тип XXVII ГОСТ 6996

 

* - испытания при температурах 300 и 350 °С назначаются для сварных соединений сосудов, работающих при температуре стенки соответственно свыше 200 до 300 °С и свыше 300 до 350 °С.

** - испытания проводятся при отрицательных (ниже минус 20 °С) рабочих температурах стенки корпуса сосуда.

Примечания:

1. Испытания на ударный изгиб проводятся для сварных соединений толщиной 12 мм и более.

2. При испытании на растяжение сварных соединений начальная расчетная длина образца lо должна включать все зоны сварного соединения (основной металл, зоны термического влияния, металл наплавок и швов).

3. Испытания на ударный изгиб металла шва (образец типа IX ГОСТ 6996) являются обязательными, типа XI - назначаются по требованию технического проекта. Результаты испытаний факультативны.

4. Образцы для испытаний на ударный изгиб тип VIII, XI ГОСТ 6996 назначаются для испытаний наплавки и зоны термического влияния основного металла со стороны рулонированной обечайки.

5. S - толщина стенки (шва).

6. При испытаниях на статический изгиб контрольных сварных соединений толщиной более 30 мм, допускается доводить толщину образцов до 30 мм строжкой или фрезерованием. При толщине контрольного сварного соединения более 80 мм образцы должны вырезаться из его верхней и нижней частей. Диаметр оправки при испытаниях - две толщины образца.


8.5.4.2. Показатели механических свойств сварных соединений должны определяться как среднее арифметическое из результатов полученных при испытании отдельных образцов (черт. 6 - 19). При этом показатели механических свойств считаются неудовлетворительными, если хотя бы один из образцов дал результаты, отличающиеся от установленных норм более чем на 10 % в сторону снижения.

Расположение образцов для испытания металла шва на ударный изгиб

С = 1 … 3 мм

Черт. 6

Форма образцов для испытания двухслойных сталей на ударный изгиб

Черт. 7

Расположение образцов для испытания металла шва на растяжение

Черт. 8

Расположение образцов для испытания сварного соединения на растяжение

Черт. 9

Расположение образцов для испытания металла шва на ударный изгиб

Черт. 10

Расположение образцов для испытания ЗТВ основного металла на ударный изгиб

Черт. 11

Расположение образцов для испытания сварного соединения на статический изгиб

Черт. 12

Расположение образцов для испытания ЗТВ основного металла на ударный изгиб

К - толщина наплавки; А - линия сплавления

Черт. 13

Расположение образцов для испытания ЗТВ металла наплавки на ударный изгиб

Черт. 14

Расположение образцов для испытания металла наплавки на ударный изгиб

Черт. 15

Расположение образцов для испытания металла шва на растяжение

а - ручная и автоматическая сварка; б - электрошлаковая сварка; S1 - исполнительная толщина заготовки под штамповку

Черт. 16

Расположение образцов для испытания сварного соединения на растяжение

а - ручная и автоматическая сварка; б - электрошлаковая сварка; S1 - исполнительная толщина заготовки под штамповку

Черт. 17

Расположение образцов для испытания металла шва на ударный изгиб

а - ручная и автоматическая сварка; б - электрошлаковая сварка; S1 - исполнительная толщина заготовки под штамповку

Черт. 18

Расположение образцов дли испытания ЗТВ основного металла на ударный изгиб

а - ручная и автоматическая сварка; б - электрошлаковая сварка; S1 - исполнительная толщина заготовки под штамповку

Черт. 19

8.5.4.3. При неудовлетворительных результатах механических испытаний допускаются повторные испытания на удвоенном числе образцов по тому виду испытаний, который дал неудовлетворительные результаты.

8.5.4.4. Образцы для повторных испытаний должны вырезаться из тех же контрольных сварных соединений, из которых вырезались образцы для первичных испытаний.

8.5.4.5. При неудовлетворительных результатах повторных испытаний сварные соединения, термически обработанные после сварки, должны быть вновь подвергнуты термической обработке вместе с остатками контрольного сварного соединения, после чего вновь проводятся механические испытания в полном объеме на образцах, вырезанных из контрольного сварного соединения.

Для сварных соединений, не подвергаемых термической обработке, проводятся испытания в полном объеме на образцах, вырезанных из производственных сварных соединений. Решение о вырезке образцов из производственных сварных соединений (термообработанных и нетермообработанных) принимается предприятием-изготовителем, исходя из сложности последующего восстановительного ремонта.

При получении отрицательных результатов и в этом случае сварные швы бракуются.

8.5.4.6. Результаты механических испытаний сварных соединений должны быть внесены в паспорт сосуда.

8.5.5. Металлографические исследования сварных соединений.

8.5.5.1. Металлографические исследования сварных соединений определяющих прочность сосуда должны проводиться в соответствии с ОСТ 26-1379 и имеют целью выявление трещин, пор, раковин, непроваров, шлаковых включений, определение макро и микроструктуры и твердости всех зон сварного соединения.

8.5.5.2. Металлографические исследования проводятся на темплетах, вырезанных поперек шва каждого «контрольного сварного соединения».

Контролируемая поверхность должна включать сечение шва с зонами термического влияния и прилегающими к ним участками основного металла.

8.5.5.3. При макроисследовании определяются макродефекты, твердость всех зон сварного соединения, за исключением твердости переходного слоя в аустенитной наплавке.

При микроисследовании определяются микротрещины и микроструктуры всех зон сварного соединения.

8.5.5.4. Измерение твердости в поперечном сечении кольцевого шва, шва вварки (приварки) патрубка (штуцера), шва штампованной (вальцованной) детали производится в соответствии с черт. 20, 21, 22, 23, 24, 25.

8.5.5.5. Качество сварного соединения при металлографических исследованиях должно соответствовать требованиям подраздела 5.11.

8.5.5.6. Если при металлографическом исследовании в контрольном сварном соединении, проверенном методом ультразвуковой дефектоскопии или радиографическим методом и признанном годным, будут обнаружены недопустимые внутренние дефекты, которые должны обнаруживаться этим методом неразрушающего контроля, все выполненные на сосуде сварные соединения, подлежат повторному контролю тем же методом в объёме 100 %. При этом проверка качества всех производственных стыков должна осуществляться другим, более опытным и квалифицированным дефектоскопистом.

В случае получения удовлетворительных результатов повторного контроля более опытным и квалифицированным дефектоскопистом сварные швы считаются годными.

8.5.5.7. При неудовлетворительных результатах металлографических исследований допускаются повторные исследования на удвоенном числе шлифов, вырезанных из того же контрольного соединения.

В случае получения неудовлетворительных результатов при повторных металлографических исследованиях темплеты вырезаются из производственного шва сосуда с учетом п. 8.5.4.5 и подвергаются исследованиям в полном объеме. При отрицательных результатах исследований все производственные швы бракуются.

8.5.6. Измерение твердости сварных соединений

8.5.6.1. Контроль твердости сварных соединений должен производиться по наружной поверхности сосуда (сборочной единицы) после окончательной термической обработки сварных соединений.

Измерению твердости подвергаются основной металл, металл шва и зоны термического влияния в соответствии с черт. 26.

В сварных соединениях типа «рулон + поковка» измерению твердости подвергается монолитный металл, металл шва и зона термического влияния только со стороны монолитного металла.

8.5.6.2. На кольцевых швах измерение твердости производится в трех местах на окружности через 120°.

На швах приварки (вварки) патрубков (штуцеров) измерение твердости производится в одном доступном месте.

Примечание. На патрубках, размеры и конструкция которых не позволяют выполнить данную операцию, контроль твердости сварного соединения не производится.

8.5.7. Испытание на межкристаллитную коррозию сварных соединений

Испытание на стойкость против межкристаллитной коррозии сварных соединений аустенитного класса и антикоррозионной наплавки должно производиться по требованию технического проекта в соответствии с ГОСТ 6032.

Испытания проводятся на образцах, вырезанных из контрольного сварного соединения, выполненного по аналогии с контролируемым сварным соединением.

Результаты испытаний оформляются протоколом и прилагаются к паспорту сосуда.

Схема измерения твердости в поперечном сечении кольцевого шва

К - толщина наплавки поковки; С - толщина наплавки рулонированной обечайки; S1 - толщина центральной обечайки. Замер твердости производится в середине слоя

Черт. 20

Схема измерения твердости в сварном соединении вварки штуцера на полную толщину стенки рулонированной обечайки

а - штуцер и центральная обечайка из углеродистой или низколегированной стали; б - штуцер из хромомолибденовой стали, центральная обечайка из двухслойной стали; в - штуцер из хромомолибденовой (углеродистой или низколегированной) стали, центральная обечайка из углеродистой или низколегированной стали

Черт. 21

Схема измерения твердости в поперечном сечении шва вварки штуцера на неполную толщину стенки рулонированной обечайки без наплавки поверхности отверстия

а - штуцер и центральная обечайка из углеродистой или низколегированной стали; б - штуцер из хромомолибденовой стали, центральная обечайка из двухслойной стали

Черт. 22

Схема измерения твердости в поперечном сечении шва вварки штуцера на неполную толщину стенки рулонированной обечайки с наплавленной поверхностью отверстия

а - штуцер и центральная обечайка из углеродистой стали; б - штуцер из хромомолибденовой стали, центральная труба из двухслойной стали

Черт. 23

Схема измерения твердости в сечении шва приварки штуцера к монолитным элементам корпуса

h - толщина стенки штуцера; S - толщина стенки элемента сосуда

Черт. 24

Схема измерения твердости в поперечном сечении сварного соединения «поковка + поковка» «поковка + штамповка»

а - для автоматической и ручной сварки; б - для электрошлаковой сварки; S1 - исполнительная толщина заготовки под штамповку

Черт. 25

Схема измерения твердости сварных соединений с наружной поверхности корпуса сосуда, аппарата

К = 1,5 ... 2 для автоматической сварки; К = 2 … 5 для электрошлаковой сварки

Черт. 26

8.5.8. Контроль на содержание ферритной фазы

8.5.8.1. Определение ферритной фазы в металле шва или в металле, направленном аустенитными электродами, следует производить при наличии требований в техническом проекте или технических условиях на сосуд (сборочную единицу) с указанием предельно-допустимого содержания ферритной фазы.

8.5.8.2. Определение содержания ферритной фазы в металле шва или наплавленном металле должно определяться объемным магнитным методом в соответствии с ГОСТ 9466.

Содержание феррита определяется ферритометрами, удовлетворяющими ГОСТ 26364. При содержании ферритной фазы более 20 % допускается применение металлографического метода.

8.5.9. Стилоскопирование сварных соединений

8.5.9.1. Стилоскопирование сварных швов и наплавок производится для установления соответствия примененных сварочных материалов маркам, указанным в чертежах, инструкциях по сварке или настоящем стандарте.

При стилоскопировании следует руководствоваться Инструкцией по стилоскопированию основных и сварочных материалов и готовой продукции ВНИИПТхимнефтеаппаратуры, Волгоград, 1987 г.

8.5.9.2. Стилоскопированию необходимо подвергать металл шва соединений их хромомолибденовых сталей, выполненных с использованием легированных (хромомолибденовых) присадочных материалов, соединений из сталей аустенитного класса, а также антикоррозионные наплавки.

8.5.9.3. В процессе стилоскопирования следует определять в наплавленном металле наличие основных легирующих элементов (хрома, молибдена и др.), определяющих марку использованных сварочных материалов.

8.5.9.4. Стилоскопированию подвергается:

1) каждый сварной шов категорий АВД (черт. 27) - в одной точке;

2) сварные швы категории С (черт. 27) - в доступных местах;

3) сварные швы категорий ЕТ (черт. 27) - по требованию технического проекта - в объеме не менее 10 %;

4) наплавка - в одной точке;

5) места исправления сварного шва.

8.5.9.5. При получении неудовлетворительных результатов контроля должно производиться повторное стилоскопирование того же сварного соединения на удвоенном числе точек.

При неудовлетворительных результатах повторного контроля должен производиться спектральный или химический анализ сварного соединения, результаты которого считаются окончательными.

8.5.10. Контроль герметичности футеровки

Контроль герметичности футеровки корпуса должен производиться галоидным методом гелиевым или фреоновым течеискателем до и после гидравлического испытания.

Испытание проводится в соответствии с действующей нормативно-технической документацией предприятия-изготовителя.

Результаты испытаний оформляются протоколом и прилагаются к паспорту сосуда.

Необходимость контроля устанавливается техническим проектом.

8.6. Неразрушающие методы контроля

8.6.1. Общие требования

8.6.1.1. Методы контроля качества материалов, заготовок и сварных соединений сосудов и их элементов назначаются в соответствии с табл. 13.

8.6.1.2. Внешний осмотр, контроль сварных соединений цветным и магнитопорошковым методами - по ГОСТ 3242, ГОСТ 21105, ГОСТ 18442, ОСТ 26-01-84, ОСТ 26-5.

8.6.1.3. Внешний осмотр, цветной или магнитопорошковый методы контроля сварных соединений должны проводиться с внутренней и наружной поверхностей корпуса сосуда, вместе с прилегающими зонами, на расстоянии не менее 30 мм от шва.

8.6.1.4. Контроль сварных швов корпуса с внутренней поверхности следует проводить:

магнитопорошковым методом - при внутреннем диаметре сосуда более 600 мм;

цветным методом - при внутреннем диаметре сосуда более 800 мм.

Швы сосуда диаметром менее указанных следует контролировать визуально, с применением лупы не менее чем десятикратного увеличения по ГОСТ 25706.

8.6.1.5. Поверхности сварных соединений из углеродистых, низколегированных и легированных сталей должны контролироваться магнитопорошковым методом. Допускается, в случае невозможности или неэффективности магнитопорошкового метода, эти сварные соединения контролировать цветным методом.

8.6.1.6. Цветным методом должны контролироваться поверхности сварных соединений из немагнитных сталей.

8.6.1.7. Ультразвуковой или радиографический методы контроля выбираются исходя из необходимости обеспечения более полного и точного выявления недопустимых дефектов с учетом особенностей физических свойств металла, а также эффективности данного метода контроля для конкретного вида сварного соединения с учетом его конструктивных особенностей.

8.6.1.8. Радиографический контроль сварных соединений должен производиться по ГОСТ 7512, ГОСТ 23055, ОСТ 26-11-03.

8.6.1.9. Контроль сварных соединений ультразвуковым методом следует производить в соответствии с требованиями ГОСТ 14782, ОСТ 26-2044 и ОСТ 26-01-163.

8.6.1.10. Допускается в технических проектах сосудов и аппаратов назначить дополнительный контроль сварных соединений отдельных элементов корпуса, не предусмотренный настоящим стандартом.

8.6.2. Контроль листовой и рулонной стали

8.6.2.1. Листовая сталь для изготовления центральных обечаек, штампованные заготовки из листовой стали толщиной свыше 25 мм при отсутствии в сертификате результатов ультразвукового контроля должны подвергаться на предприятии-изготовителе сосудов контролю ультразвуковым методом в объеме 100 %.

8.6.2.2. Двухслойная листовая сталь на полосе шириной 200 мм под сварку кольцевого и продольного швов должна подвергаться контролю цветным методом плакирующего слоя на отсутствие поверхностных трещин, а также ультразвуковым методом на сплошность слоев. Нормы допускаемых дефектов - по классу 1 ГОСТ 10885.

8.6.2.3. Рулонная сталь должна подвергаться внешнему осмотру, который осуществляется в процессе намотки релонированных обечаек. При обнаружении расслоений дефектный участок полосы удаляется.

8.6.3. Контроль поковок и штампованных заготовок

8.6.3.1. Поковки и штампованные заготовки после окончательной термической обработки должны подвергаться в объеме 100 % контролю ультразвуковым методом в соответствии с требованиями ГОСТ 24507 и ОСТ 26-01-134.

8.6.3.2. Контроль поковок и штампованных заготовок методами цветным или магнитопорошковым проводится после термической обработки выборочно в местах обнаружения дефектов внешним осмотром, а также в местах исправления наружных дефектов.

8.6.3.3. Штампованные днища, крышки, горловины должны контролироваться внешним осмотром на отсутствие плен, расслоений, надрывов магнитопорошковым или цветным методами выборочно в местах, где внешним осмотром выявлены дефекты, а также в местах исправления наружных дефектов.

8.6.3.4. Свариваемые кромки кованых и штампованных заготовок должны проверяться внешним осмотром и цветным методом в объеме 100 %.

8.6.3.5. Металл штуцеров подлежит контролю ультразвуковым методом по ОСТ 26-01-134. Нормы допускаемых дефектов по ОСТ 26-01-135.

8.6.4. Контроль сварных соединений и наплавок

8.6.4.1. Комплекс методов дефектоскопии сварных соединений, наплавок, кромок под сварку, указанных в табл. 13 назначается в объеме 100 %.

8.6.4.2. Кольцевые сварные швы корпусов, изготовленных из биметалла, по требованию технического проекта должны дополнительно контролироваться со стороны плакирующего слоя на высоту аустенитного наплавленного металла ультразвуковым методом до и после гидроиспытаний.

8.6.4.3. После гидравлических испытаний сварные соединения сосуда должны контролироваться внешним осмотром, цветным или магнитопорошковым методами 100 % длины швов, при этом контролю подвергаются:

сварные соединения категорий А, В, С, Д, Е в доступных для контроля местах.

8.6.4.4. Контроль наплавки после гидравлических испытаний производится в доступных местах внешним осмотром и цветным методом дефектоскопии.

Таблица 13

Методы контроля качества листовой стали, поковок и штампованных заготовок, наплавки, кромок под сварку и сварных соединений

Объект контроля

Условные обозначения методов контроля

Примечание

Листовая сталь

ВО + УЗД

С учетом п. 8.6.2.1

Двухслойная сталь

ВО + ЦД + УЗД

С учетом п. 8.6.2.2

Рулонная сталь

ВО

 

Поковки

ВО + (ЦД, МПД) + УЗД

С учетом п. 8.6.3.2

Заготовки для шпилек

ВО + (ЦД, МПД) + УЗД

 

Цилиндрическая поверхность стержня шпилек, торцевые поверхности гаек, шайб

ВО + (ЦД, МПД)

 

Резьбы

ВО

 

Кромки под сварку

ВО + ЦД

 

Наплавки

ВО + ЦД + УЗД

УЗД кроме аустенитной наплавки

Сварные соединения:

 

 

категории

А

ВО + (ЦД, МПД) + (УЗД, РГ)

ЦД или МПД продольных швов центральной обечайки проводятся с наружной и внутренней поверхности

В

ВО + (ЦД, МПД) + (УЗД, РГ)

 

С

ВО + (ЦД, МПД) + УЗД

 

Д

ВО + (ЦД, МПД) + (УЗД, РГ)

Контроль методами РГ или УЗД производится для штуцеров внутренним диаметром 100 мм и более

Е

ВО + (ЦД, МПД) + УЗД

Объем контроля УЗД назначается техническим проектом

Т

ВО + (ЦД, МПД)

 

Примечания:

1. ВО - внешний осмотр, ЦД - цветной метод контроля; УЗД - ультразвуковой метод дефектоскопии; РГ - радиографический метод.

2. Знак «+» соответствует слову «и», запятая - слову «или».

3. Категории сварных соединений приведены на черт. 27.

К категории А относятся продольные сварные швы в обечайках, в сферических и эллиптических днищах и их заготовках.

К категории В относятся кольцевые сварные швы в обечайках, кольцевые сварные швы, соединяющие кованые, штампованные, рулонированные обечайки между собой и с днищами, фланцами, горловинами.

К категории С относятся сварные швы, соединяющие фланцы, трубные доски с обечайками, а также фланцы с патрубками.

К категории Д относятся сварные швы вварки (приварки) штуцеров, патрубков, горловин в обечайки, днища.

Черт. 27

К категории Е относятся сварные швы приварки опорных конструкций, приварных элементов к корпусу.

К категории Т относятся швы приварки труб к трубной решетке; в многослойных обечайках - дополнительно швы приварки клиновой вставки к центральной обечайке, швы стыковки концов рулонной полосы, замыкающие швы рулонной полосы.

8.7. Оценка качества материалов, заготовок и сварных соединений по результатам неразрушающих методов контроля

8.7.1. По результатам контроля внешним осмотром, цветным или магнитопорошковым методами поковок, штампованных заготовок, заготовок шпилек, гаек, шайб, плакирующего слоя двухслойной стали, кромок под сварку, резьб не допускаются следующие дефекты:

трещины, заковы, закаты, плены, песочины, раковины, расслоения, рванины.

8.7.2. По результатам ультразвукового контроля листовой стали и листовых штампованных заготовок не допускаются нарушения сплошности металла, превышающие нормы для 1 класса сплошности по ГОСТ 22727.

8.7.3. По результатам ультразвукового контроля двухслойной стали не допускаются нарушения сплошности сцепления слоев, превышающие нормы для 1 класса листа по ГОСТ 10885.

8.7.4. По результатам ультразвукового контроля металла поковок, штампованных заготовок не допускаются дефекты, превышающие нормы по ОСТ 26-01-135.

8.7.5. По результатам ультразвукового контроля заготовок шпилек не допускаются следующие дефекты:

1) отдельные непротяженные превышающие нормы, приведенные в табл. 14;

2) протяженные, превышающие условную протяженность искусственного отражателя S1 мм при чувствительности контроля S0 мм2.

Таблица 14

Диаметр заготовки, мм

Наименьшая фиксируемая эквивалентная площадь дефекта S0, мм2

Недопустимая эквивалентная площадь дефекта S1, мм2 более

Недопустимое суммарное число дефектов в заготовке, более шт.

Недопустимое суммарное число дефектов в одном поперечном сечении, более шт.

До 90 включ.

7

10

10

1

Св. 90 до 125 включ.

15

2

Св. 125

15

3

Примечание. Суммарное число отдельных дефектов в заготовке определяется суммой дефектов эквивалентной площадью от S0 до S1.

8.7.6. По результатам внешнего осмотра на поверхности сварных соединений и наплавок не допускаются следующие дефекты:

1) трещины всех видов и направлений;

2) поры, свищи;

3) подрезы, непровары, несплавления;

4) наплывы, прожоги, незаплавленные кратеры.

8.7.7. В сварных соединениях приварки штуцеров из хромомолибденовых сталей, выполненных ручной электродуговой сваркой по результатам внешнего осмотра, не допускаются дефекты, указанные в п. 8.7.6, при этом отдельные поры и шлаковые включения не допускаются свыше норм, предусмотренных табл. 15.

Таблица 15

Толщина сварного соединения, мм

Недопустимый размер дефекта, мм, более

Недопустимое суммарное число дефектов на участке шва 100 мм, шт. более

Недопустимое расстояние между дефектами, мм, менее

наружная поверхность

внутренняя поверхность

Наружная поверхность

Внутренняя поверхность

От 20 до 40 включ.

1,5

4

3

5,0

15,0

Св. 40 до 150 включ.

2,0

4

3

6,0

15,0

8.7.8. Чувствительность магнитопорошкового метода контроля должна соответствовать условному уровню чувствительности Б по ГОСТ 21105. Чувствительность цветного метода - 2 классу по ГОСТ 18442.

8.7.9. По результатам магнитопорошкового метода контроля на поверхности сварных соединений и наплавок, а также в сварных соединениях приварки штуцеров не допускаются индикаторные рисунки осаждений магнитного порошка.

8.7.10. По результатам цветного метода контроля на поверхности сварных соединений и наплавок не допускаются единичные и групповые индикаторные рисунки округлой или удлиненной формы.

В сварных соединениях штуцеров, указанных в п. 8.7.7 по результатам цветной дефектоскопии не допускаются дефекты свыше норм, предусмотренных табл. 16.

Таблица 16

Толщина сварного соединения, мм

Недопустимый линейный размер индикаторного рисунка, мм более

Недопустимое суммарное число индикаторных рисунков на участке шва 100 мм, шт.

Недопустимое расстояние между индикаторными рисунками, мм, менее

 

наружная поверхность

внутренняя поверхность

наружная поверхность

внутренняя поверхность

 

От 20 до 40 включ.

3

4

3

5,0

15,0

 

Св. 40 до 150 включ.

4

4

3

6,0

15,0

 

8.7.11. По результатам радиационного контроля сварных соединений корпуса и его элементов не допускаются следующие дефекты:

1) трещины всех видов и направлений;

2) непровары, несплавления;

3) поры и шлаковые включения свыше норм, установленных ГОСТ 23055 в соответствии с табл. 17.

При оценке суммарной длины дефектов в соответствии с ГОСТ 23055 учитываются все дефекты сварного шва, выявленные на снимке.

В кольцевых сварных соединениях рулонированных корпусов толщиной свыше 110 мм допускаются удлиненные шлаковые включения шириной и длиной не превышающей значения ширины и суммарной длины для соответствующей толщины по 3 классу дефектности по ГОСТ 23055.

Расстояние между двумя близлежащими удлиненными шлаковыми включениями должно быть не менее двухкратной максимальной длины включения. Данные нормы распространяются на дефекты, ориентированные вдоль оси шва.

Таблица 17

Вид сварного соединения

Толщина сварного соединения, мм

Класс дефектности по ГОСТ 23055

Стыковые категории А

до 50 включ.

2

св. 50

3

Стыковые, угловые

независимо

3

Примечание. Для уточнения координат дефектов в сварных соединениях может быть использован метод ультразвукового контроля.

8.7.12. Чувствительность радиографического метода контроля должна соответствовать классу 2 по ГОСТ 7512.

8.7.13. В сварных соединениях монолитных деталей и наплавках по результатам ультразвукового контроля недопустимы следующие дефекты:

1) отдельные непротяженные, превышающие нормы, приведенные в табл. 18, 19;

2) протяженные, условная протяженность которых превышает условную протяженность искусственного отражателя площадью S0 (табл. 18, 19) на соответствующей глубине;

3) группа дефектов.

Оценка протяженных дефектов должна производиться при максимальных амплитудах отраженных сигналов, составляющих 0,5 и более значений амплитуды сигнала от искусственного отражателя площадью S0 (табл. 18, 19) на соответствующей глубине.

8.7.14. Оценка качества сварных швов вварки (приварки) штуцеров, выполненных автоматической и ручной сваркой, производится в соответствии с требованиями п.п. 8.7.6, 8.7.9, 8.7.10, 8.7.13 и табл. 18, 19.

8.7.15. Качество наплавки торцев многослойных и монолитных обечаек оценивается согласно п. 8.7.6, 8.210 и табл. 19.

Таблица 18

Оценка качества сварных соединений по результатам ультразвукового метода дефектоскопии по отдельным непротяженным дефектам

Тип сварного соединения

Толщина сварного соединения, мм

Наименьшая фиксируемая эквивалентная площадь дефекта, S0 мм2

Недопустимая эквивалентная площадь дефекта, S1 мм2, более

Недопустимое суммарное число отдельных дефектов на 300 мм протяженности шва, более

Стыковые и угловые соединения

до 110 включ.

7,0

10,0

3

св. 110

10,0

20,0

1

Сварные соединения центральной обечайки и наружного кожуха

от 8 до 12 включ.

1,0

2,0

3

св. 12 до 20 включ.

2,0

2,5

3

св. 20 до 30 включ.

2,5

3,0

3

свыше 30

3,0

5,0

3

Примечание. Расстояние между дефектами по поверхности сканирования должно быть не менее условной протяженности большего из соседних дефектов на соответствующей глубине.

Таблица 19

Оценка качества наплавки по результатам ультразвуковой дефектоскопии по отдельным непротяженным дефектам

Вид наплавки

Наименьшая фиксируемая эквивалентная площадь дефекта, S0, мм2

Недопустимая эквивалентная площадь дефекта, S1, мм2 более

Недопустимое суммарное число отдельных дефектов на участке наплавки более

Недопустимое расстояние между дефектами, мм, менее

100 мм

1000 ´ 1000 мм2

Наплавка торцев многослойных обечаек по слою металлической крошки

1,0

3,0

2

5

30

Наплавка торцев многослойных обечаек проволокой

2,0

3,0

2

4

30

Наплавка торцев и поверхностей кованых деталей

5,0

7,0

2

4

30

Примечание. Суммарное число отдельных дефектов определяется суммой дефектов эквивалентной площадью от S0 до S1.

8.8. Гидравлическое испытание

8.8.1. Сосуды (сборочные единицы) после изготовления и сборки на предприятии-изготовителе должны подвергаться гидравлическому испытанию пробным избыточным давлением в соответствии с технической характеристикой, приведенной в конструкторской документации на сосуд. Допускается гидравлическое испытание негабаритных сосудов, транспортируемых частями и собираемые на монтажной площадке, производить после окончания сварки, сборки и других работ на месте установки.

8.8.2. Гидравлическое испытание должно проводиться при температуре стенки сосуда, исключающей возможность хрупкого разрушения. При отсутствии указаний в техническом проекте температура воды должна быть в пределах от 5 до 40 °С.

Разность температур стенки сосуда и окружающего воздуха во время испытания не должна вызывать выпадение влаги на поверхности стенок сосуда.

8.8.3. Давление в испытываемом сосуде следует повышать и снижать плавно по инструкции предприятия-изготовителя. Скорость подъема и снижения давления не должна превышать 1,0 МПа/мин.

8.8.4. Давление при испытаниях должно контролироваться двумя манометрами (один из которых контрольный) показывающими, общепромышленного назначения класса точности не ниже 1,5.

Оценка погрешности измерения производится в зависимости от значения и допускаемых отклонений, пробного давления, заданных в конструкторской документации.

8.8.5. Время выдержки сосуда под пробным давлением должно быть не менее значений, указанных в табл. 20.

8.8.6. После выдержки под пробным давлением, его снижают до расчетного, при котором производят осмотр наружной поверхности сосуда, всех его разъемных и сварных соединений.

Таблица 20

Толщина стенки корпуса, мм

Время выдержки, ч (мин)

До 50 включ.

0,15 (10)

Св. 50 до 100

0,35 (20)

» 100

0,5 (30)

Для многослойных - независимо от толщины

1,0 (60)

8.8.7. Испытания кованых, кованосварных, вальцованосварных и штампосварных сосудов.

8.8.7.1. Гидравлическое испытание сосудов должно производиться пробным давлением Рпр., МПа, определяемым по формуле:

где Р - расчетное давление, определяемое по ГОСТ 25215 и ОСТ 26-1046, МПа;

[s]20, [s]t - допускаемые напряжения для материала стенки сосуда или его элементов соответственно при 20 °С и расчетной температуре t, МПа.

Примечания:

1. Значение пробного давления для сосудов, работающих при отрицательных температурах, принимают таким же, как при температуре 20 °С.

2. Отношение  должно приниматься по тому из использованных материалов для элементов (обечайки, днища, фланцы, горловины, крышки, основной крепеж, патрубки и др.) сосуда, для которого оно является наименьшим.

3. Значение пробного давления должно быть подтверждено расчетом на прочность по элементам сосуда, в соответствии с ОСТ 26-1046.

8.8.7.2. Сосуды признаются выдержавшими испытание пробным давлением, если во время его проведения и по его завершению отсутствуют:

1) видимое падение давления по манометру;

2) пропуски испытательной среды (течь, потение, пузырьки воздуха) в сварных соединениях и на основном металле;

3) течи в разъемных соединениях;

4) признаки разрыва;

5) остаточные деформации.

Допускается не считать течью пропуски воды через неплотности арматуры, если они не мешают сохранению пробного давления.

8.8.7.3. После гидравлического испытания сосуд должен быть открыт, просушен, а затем произведен контроль качества сварных соединений внешним осмотром магнитопорошковым или цветным методами, а при необходимости - ультразвуковым.

8.8.7.4. В случае выявления дефектов после гидравлического испытания сосудов должно производиться устранение выявленных дефектов и повторное гидравлическое испытаний пробным давлением.

8.8.7.5. Значение пробного давления и результаты испытаний должны быть оформлены актом и занесены в паспорт сосуда.

8.8.8. Испытания многослойных рулонированных сосудов.

8.8.8.1. Многослойные рулонированные сосуды после изготовления до проведения испытаний пробным давлением однократно подвергаются гидравлической опрессовке повышенным давлением опрессовки.

8.8.8.2. Значение давления опрессовки Ропр, МПа многослойных рулонированных сосудов, имеющих доступ к сварным соединениям центральных обечаек, определяется по формуле:

где S - общая толщина стенки (центральная обечайка, навивка, кожух) сосуда, мм;

Dн - наружный диаметр сосуда, мм;

- средний предел текучести материала стенки сосуда при температуре 20 °С, МПа.

Средний предел текучести , МПа определяется по формуле

где , ,  - нормативные пределы текучести материалов центральной обечайки, навивки (слоев) и наружного соответственно, МПа;

Sц, Sн, Sк - толщина центральной обечайки, навивки и кожуха соответственно, мм. При наличии плакирующего слоя он учитывается соответствующим слагаемым в числителе формулы.

8.8.8.3. Многослойные рулонированные сосуды с внутренними устройствами, не имеющие доступа к сварным соединениям центральных обечаек, должны подвергаться гидравлическому испытанию повышенным давлением опрессовки, определяемым по формуле:

где ,  - средние пределы текучести материала стенки сосуда обечайки при температуре 20 °С и расчетной температуре, МПа,

Р - расчетное давление, МПа.

8.8.8.4. Значение давления гидравлического испытания должно быть указано в техническом проекте и подтверждено расчетом на прочность в соответствии с требованиями ГОСТ 25215 и ОСТ 26-1046 по всем элементам сосуда, кроме рулонированных частей.

В случае, если при расчете на прочность не обеспечивается запас прочности, установленный по ГОСТ 25215 и ОСТ 26-1046 допускается снижать давление опрессовки до значения, обеспечивающего прочность всех элементов сосуда, но не менее значения определенного по п. 8.8.8.3.

8.8.8.5. Гидравлическое испытание максимальным давлением опрессовки рулонированных сосудов должно производиться при температуре внутренней поверхности стенки не ниже 60 °С. Контроль температуры производится с помощью термопреобразователей или других измерительных устройств, установленных на дне дренажных отверстий не менее чем у трех рулонированных обечаек, расположенных в середине корпуса.

Возможность испытания сосудов при более низкой температуре стенки должна обосновываться расчетом.

При давлении опрессовки сосуд выдерживается в течение трех часов, затем давление снижается до пробного и выдерживается в течение одного часа. После снижения давления до расчетного должен производиться тщательный осмотр в доступных местах всех сварных соединений и прилегающих к ним участков.

8.8.8.6. Сосуды рулонированные признаются выдержавшими гидравлическое испытание давлением опрессовки, если в процессе его проведения не наблюдалось: видимого падения давления по манометру, потения или пропуска жидкости через контрольные отверстия (дренажные), сварные швы и уплотнения.

После гидравлического испытания увеличение внутреннего диаметра цилиндрической рулонированной части корпуса не должно превышать 0,6 % от его действительного значения. Измерения внутреннего диметра и длины окружности производить в середине каждой обечайки.

8.8.8.7. Результаты гидравлического испытания и измерений внутреннего диаметра и длины окружности, проведенные в соответствии с п. 8.8.8, должны быть занесены в паспорт сосуда.

8.9. Испытания на плотность и герметичность

8.9.1. Усилительные накладки, облицовки типа втулок (стаканов) для патрубков, щтуцеров и др. устройств до гидравлического испытания должны быть испытаны на плотность путем подачи воздуха между устройствами и основным металлом.

8.9.2. Для кожухотрубчатых теплообменников соединения «труба - трубная доска» должны быть испытаны со стороны межтрубного пространства воздухом, фреоном или гелием. Если в технической документации на аппарат не оговорено значение давления испытания, то его следует принимать равным расчетному для межтрубного пространства, но не более 0,5 МПа (6 кгс/см2).

9. МАРКИРОВКА, КОНСЕРВАЦИЯ И ОКРАСКА. УПАКОВКА, ТРАНСПОРТИРОВАНИЕ И ХРАНЕНИЕ

9.1. Маркировка

9.1.1. Сосуды, отдельно транспортируемые части негабаритных сосудов, а также их элементы должны иметь маркировку, выполняемую предприятием-изготовителем.

9.1.2. На каждом сосуде должна быть прикреплена на видном месте табличка, выполненная в соответствии с ГОСТ 12971. На табличку должны быть нанесены:

1) наименование или товарный знак предприятия-изготовителя (для экспорта указывать «Сделано в СССР»);

2) наименование или обозначение (шифр заказа) сосуда;

3) порядковый номер сосуда по системе нумерации предприятия-изготовителя;

4) расчетное давление, МПа;

5) рабочее или условное избыточное давление, МПа;

6) пробное давление, МПа;

7) расчетная температура стенки, °С;

8) масса сосуда, кг;

9) год изготовления;

10) клеймо технического контроля.

9.1.3. Табличка должна крепиться на приварном подкладном листе, приварной скобе, приварных планках или приварном кронштейне. Приварка таблички к корпусу не допускается.

9.1.4. Табличка должна прикрепляться у горизонтальных сосудов - на днищах или вблизи от них на корпусе, у вертикальных сосудов - в нижней части корпуса. Допускается устанавливать табличку на другом видном месте по указанию в чертежах.

9.1.5. На наружной поверхности стенки сосуда в местах по п. 9.1.4 должно быть нанесено:

1) наименование или товарный знак предприятия-изготовителя;

2) порядковый номер сосуда по системе нумерации предприятия-изготовителя;

3) год изготовления;

4) клеймо технического контроля.

Допускаются другие дополнительные надписи на сосуде при соответствующих указанных в конструкторской документации.

9.1.6. На транспортируемых частях (блоках) негабаритных сосудов должно быть нанесено:

1) обозначение сосуда;

2) порядковый номер по системе нумерации предприятия-изготовителя;

3) обозначение транспортируемой части.

9.1.7. На каждом сосуде, поставочной части негабаритных в сборе сосудов, должны быть нанесены по ГОСТ 24444 монтажные метки, показывающие положение главных осей в плане и взаимное расположение прошедших контрольную сборку частей аппарата, поставляемых отдельными сборочными единицами, а также указаны места крепления стропов, положение центра масс, предусмотрены устройства и поставлены предприятием-изготовителем в соответствии с техническим проектом, обеспечивающие установку сосуда в собранном виде или поставочной части с использованием подъемно-погрузочных механизмов для подъема и установки в проектном положении.

9.1.8. Маркировка грузовых мест - по ГОСТ 14192 и техническим условиям на конкретный сосуд (блок) с указанием манипуляционных знаков (центра масс, мест строповки и др.).

9.2. Консервация и окраска

9.2.1. Консервации и окраске подлежат сосуды, принятые отделом технического контроля.

9.2.2. Наружные поверхности сосуда должны быть окрашены по ГОСТ 9.105, ГОСТ 9.402. Окраске не подлежат опорные поверхности, соприкасающиеся с бетонной смесью подливки при монтаже, поверхности шириной 50 - 60 мм, прилегающие к кромкам, свариваемым на монтаже.

9.2.3. Консервация металлических неокрашенных поверхностей сосудов, поставляемых в полностью собранном виде, негабаритных поставочных частей, комплектующих деталей и сборочных единиц, входящих в объём поставки, а также кромок, подлежащих сварке при монтаже и прилегающих к ним поверхностей, должна производиться - по ГОСТ 9.014 и обеспечивать защиту от коррозии при транспортировании, хранении и монтаже в течение не менее 24 месяцев со дня отгрузки изделий с предприятия-изготовителя.

Внутренние поверхности корпусов сосудов подлежат временной противокоррозионной защите - по ГОСТ 9.014. Для сосудов, просушенных и загерметизированных, временную противокоррозионную защиту допускается не производить.

9.2.4. Марки лакокрасочных и консервационных материалов выбираются в каждом отдельном случае в зависимости от условий эксплуатации сосудов - по ГОСТ 9.032, ГОСТ 9.054, ГОСТ 9.104, ГОСТ 9.014, ГОСТ 9404.

9.2.5. Методы консервации и применяемые для этого материалы должны обеспечивать возможность расконсервации сосудов в сборе и транспортируемых частей без их разборки. Если по условиям эксплуатации требуется обезжиривание, которое невозможно выполнить без разборки сборочных единиц, то требование о безразборной расконсервации на эти сосуды не распространяется.

9.2.6. Изделия, изготовленные из материалов стойких против атмосферной коррозии, защите не подлежат.

9.2.7. Свидетельство о консервации, в котором указываются дата консервации, марка консервационного материала, срок консервации и способы расконсервации, должно прилагаться к паспорту сосуда. При этом должны приниматься обозначения по ГОСТ 9.014.

9.3. Упаковка, транспортирование и хранение

9.3.1. Упаковка сосудов - по ГОСТ 23170 и техническим условиям на конкретный сосуд с указанием комплекта поставки (наименования и количества мест, вида упаковки, габаритных размеров, массы и др.).

Упаковка сосудов предназначенных на экспорт должна производиться по заказ-наряду.

9.3.2. Все отверстия, патрубки, штуцера, муфты и присоединительные фланцы корпусов сосудов, отдельно поставляемых частей (блоков) и сборочных единиц, должны быть закрыты пробками или заглушками для защиты от повреждений и загрязнений уплотнительных и присоединительных поверхностей и резьб. При этом ответственные из них по усмотрению предприятия-изготовителя подлежат опломбированию.

Разъемы сосудов, отправляемых частями, должны быть заглушены средствами, предусмотренными предприятием-изготовителем.

9.3.3. Концы основных шпилек, выступающие из гаек, должны быть защищены от механических повреждений.

9.3.4. Прокладки для уплотнительных соединений должны поставляться в отформованном виде, в соответствии с чертежом. Условия хранения и транспортирования прокладок должны исключать их деформацию и механические повреждения.

Внутренние устройства, отправляемые в собранном сосуде, при необходимости, должны быть закреплены в корпусе для предохранения от деформации под влиянием собственного веса и динамических нагрузок при транспортировании.

9.3.5. Отдельно отправляемые детали, запасные части и сборочные единицы должны быть законсервированы, согласно инструкций предприятия-изготовителя и упакованы в деревянные ящики или устройства.

Тип применяемых для упаковки ящиков и технические требования к ним - по ГОСТ 2991, ГОСТ 5959, ГОСТ 10198.

Ящики для запасных частей сосуда, предназначенные на экспорт - по ГОСТ 24634.

Требования по упаковке (масса, габаритные размеры, способ укладки и крепление груза внутри тары и другие параметры), должны быть указаны в технических условиях на конкретный вид продукции. Категория упаковки - по ГОСТ 23170.

9.3.6. При отправке в ящиках, запасные прокладки следует завернуть в непроницаемую бумагу - по ГОСТ 8828, а шпильки для фланцевых соединений в оберточную или парафинированную - по ГОСТ 8273, ГОСТ 9569.

9.3.7. Сосуды должны транспортироваться железнодорожным транспортом на открытом подвижном составе.

Допускается транспортирование автомобильным и водным транспортом.

9.3.8. Погрузка, размещение и крепление сосудов, отдельно поставляемых частей и сборочных единиц на железнодорожных платформах должны производиться в соответствии с требованиями «Правил перевозок грузов», «Технических условий погрузки и крепления грузов», а также «Инструкция по перевозке негабаритных и тяжеловесных грузов на железных дорогах СССР колеи 1520 мм», утвержденных Министерством путей сообщения.

Технические условия предприятия-изготовителя на конкретный негабаритный сосуд должны быть согласованы с отделом негабаритных перевозок Главного управления МПС СССР.

9.3.9. Условия транспортирования и хранения сосудов на предприятии-изготовителе и монтажных площадках должны обеспечивать сохранность качества сосуда, предохранять их от коррозии, эрозии, загрязнения, механических повреждений и деформации.

9.3.10. Сосуды должны храниться и транспортироваться по «условиям хранения» - 8 (ОЖЗ - открытые площадки в микроклиматических районах с умеренным и холодным климатом) по ГОСТ 15150.

Для сосудов поставляемых на экспорт «Условия хранения устанавливаются - 9 (ОЖ1 - открытые площадки) по ГОСТ 15150.

10. УКАЗАНИЯ ПО ЭКСПЛУАТАЦИИ

10.1. Эксплуатация сосуда должна производиться при соблюдении «Правил устройства и безопасной эксплуатации сосудов работающих под давлением» Госгортехнадзора, 1987 г., «Общих Правил взрывобезопасности, для взрывопожароопасных химических и нефтехимических производств» Госгортехнадзора, 1988 г., технологического регламента процесса, инструкций по режиму работы и безопасной эксплуатации, разработанных потребителями и инструкции по эксплуатации, монтажу, осмотру, ремонту и контролю во время эксплуатации, входящей в состав технического проекта.

10.2. Сосуды должны эксплуатироваться при параметрах, не превышающих значений указанных в технической характеристике паспорта сосуда. Использование сосуда при других значениях параметров, отличающихся от указанных в технической характеристике, подлежат согласованию с организацией - автором технического проекта и предприятием-изготовителем.

10.3. Скорость подъема и снижения допускается не более 0,5 МПа/мин.

10.4. Скорость повышения и снижения температуры внутренней поверхности сосуда не должны превышать 30 °С/Ч кроме случаев, особо оговоренных в техническом проекте.

Способ контроля и точки измерения температуры устанавливаются техническим проектом.

Допускается за температуру внутренней поверхности принимать температуру среды.

В технически обоснованных случаях в проекте могут быть установлены другие скорости изменения температуры при наличии температурного и прочностного расчета, согласованного с головной организацией по сосудам высокого давления.

10.5. Пуск сосудов при отрицательных температурах окружающего воздуха должен производиться в соответствии с пусковым регламентом, приведенным в приложении 21.

10.6. Выверку проектного положения на фундаменте, соблюдение главных осей и отметок, производить с помощью монтажных меток или штырей, предусмотренных предприятием-изготовителем.

10.7. При установке, пуске и эксплуатации сосуда защитные колпачки, если они предусмотрены рабочей документацией, должны быть навернуты на шпильки (основные).

10.8. При пуске и эксплуатации сосуда должны быть удалены пробки из контрольных отверстий рулонированных обечаек корпуса.

В сосудах с теплоизоляцией должны быть предусмотрены в изоляции окна в местах расположения контрольных отверстий или ввернуты в контрольные отверстия трубки с выходом их концов за изоляцию.

10.9. Эксплуатация сосуда должна быть запрещена:

1) в случаях предусмотренных п. 7.3.1 Правил Госгортехнадзора;

2) при истечении срока очередного освидетельствования;

3) если выявлены дефекты, вызывающие сомнения в надежной и безопасной работе.

10.10. Разборка сосуда, остановленного для ремонта или освидетельствования, может производиться только после освобождения его от рабочей среды и отключения заглушками от технологических трубопроводов.

10.11. Сосуды, работающие с взрывоопасными средами, перед вскрытием и пуском должны продуваться инертным газом.

10.12. Выполнение работ при осмотре, освидетельствовании и ремонте сосудов, работающих с взрывоопасными средами, должно производиться инструментами в искробезопасном исполнении.

10.13. Контроль температуры корпуса сосуда при эксплуатации производится термопреобразователями или другими измерительными устройствами, расположенными на наружной поверхности корпуса в соответствии с техническим проектом.

11. ГАРАНТИИ ИЗГОТОВИТЕЛЯ

11.1. Гарантийный срок эксплуатации сосудов устанавливается 18 месяцев с момента пуска их в эксплуатацию, но не более 24 месяцев после отгрузки с предприятия-изготовителя при условии соблюдения правил транспортирования, хранения в соответствии с требованиями настоящего стандарта и инструкций по эксплуатации, монтажу, осмотру, ремонту и контролю во время эксплуатации.

Предприятие-изготовитель гарантирует качество изготовления, контроля и испытания сосудов в соответствии с требованиями чертежей и настоящего стандарта.

11.2. Срок службы сосуда и допустимое при этом число циклов нагружения определяются техническим проектом и заносятся в паспорт сосуда. Настоящий стандарт устанавливает необходимые требования к качеству изготовления сосудов, обеспечивающие срок их службы при условии соблюдения правил транспортирования, хранения, регламентированных проектом режимов работы, правил эксплуатации, обслуживания и освидетельствования.

11.3. Предприятие-изготовитель должно гарантировать сборку сосудов, поставляемых в разобранном виде (частями), без проведения дополнительных подгоночных работ.


ПРИЛОЖЕНИЕ 1

Обязательное

Листовая и рулонная сталь

Марка стали, обозначение стандарта или технических условий

Технические требования

Температура применения материалов, °С

Виды испытаний и требования

Назначение и условия применения

 

20К, 09Г2С, 10Г2С1, 16ГС, 10Х2М1 категории 5

ГОСТ 5520

ГОСТ 5520, ГОСТ 19281 (после нормализации)

От минус 20 до 200

ГОСТ 5520

ГОСТ 19281

Для центральных обечаек рулонированных сосудов

 

09Г2С, 10Г2С1, 16ГС категории 6 ГОСТ 5520

От минус 40 до 200

 

20К категории 11

ГОСТ 5520

От минус 20 до 380

 

09Г2С, 10Г2С1, 16ГС категории 17

ГОСТ 5520

От минус 40 до 420

 

20К-11 с плакирующим слоем из стали марок 08Х18Н10Т, 12Х18Н10Т кл. 1, К

ГОСТ 10885

ГОСТ 10885 (после нормализации)

От минус 20 до 350

ГОСТ 10885

 

20К-11 с плакирующим слоем из стали марки 08Х17Н15М3Т - кл. 1

ГОСТ 10885

От минус 20 до 300

 

09Г2С-17, 16ГС-17 с плакирующим слоем из стали марок 08Х18Н10Т, 12Х18Н10Т, 10Х17Н13М3Т, 08Х17Н15М3Т - кл. 1

ГОСТ 10885

От минус 40 до 350

 

10Х2М1 с плакирующим слоем из стали марки 08Х18Н10Т - кл. 1

ГОСТ 10885

От минус 20 до 420

 

12ХМ-16, 12МХ-16 с плакирующим слоем из стали марок 08Х18Н10Т, 12Х18Н10Т - кл. 1 ГОСТ 10885

от 0 до 420

 

08Г2СФБ

ТУ 14-1-3609

ТУ 14-1-3609

От минус 40 до 350

ТУ 14-1-3609

Для спиральных слоев многослойных рулонированных обечаек

 

08Г2МФБ

ТУ 14-1-2026

ТУ 14-1-2026 изменение 1

ТУ 14-1-2026

 

12ХГНМ, 12ХГНМФ

ТУ 14-1-3226

ТУ 14-1-3226

От минус 40 до 450

ТУ 14-1-3226

 

15ХГНМФТ

ТУ 14-105-450

ТУ 14-105-450

От минус 40 до 400

ТУ 14-105-450

 

09Г2С, 10Г2С1, 16ГС категории 17

ГОСТ 5520

ГОСТ 5520, ГОСТ 19281

От минус 40 до 350

ГОСТ 5520

ГОСТ 19281

Наружные кожухи для рулонированных обечаек из стали марок 08Г2СФБ, 08Г2МФБ

 

От минус 20 до 200

09Г2С; 10Г2С1, 16ГС категории 5

ГОСТ 5520

 

08Г2СФБ

ТУ 14-1-3609

ТУ 14-1-3609

От минус 40 до 350

ТУ 14-1-3609

 

08Г2МФБ

ТУ 14-1-2026

ТУ 14-1-2026

ТУ 14-1-2026

 

12ХГНМ, 12ХГНМФ

ТУ 14-1-3226

ТУ 14-1-3226

От минус 40 до 450

ТУ 14-1-3226

Наружные кожухи для рулонированных обечаек из стали марок 12ХГНМ, 12ХГНМФ, 15ХГНМФТ

 

15ХГНМФТ

ТУ 14-105-450

ТУ 14-105-450

От минус 40 до 400

ТУ 14-105-450

 

16К, 18К, 20К, 22К категории 5

ГОСТ 5520

ГОСТ 5520, ГОСТ 19281

От минус 20 до 200

ГОСТ 5520, ГОСТ 19281

Для корпусов, днищ, плоских фланцев и других деталей

 

16К, 18К, 20К, 22К категории 3

ГОСТ 5520

От 0 до 200

 

16К, 18К, 20К, 22К категории 18

ГОСТ 5520

От 200 до 380

 

09Г2С, 10Г2С1, 16ГС, 17Г1С категории 6

ГОСТ 5520

От минус 40 до 200

 

09Г2С, 10Г2С1, 16ГС, 17Г1С категории 17

ГОСТ 5520

От минус 40 до 420

 

12МХ категории 17

ГОСТ 20072

ГОСТ 20072

ГОСТ 20072

 

12ХМ категории 17

ГОСТ 5520

ГОСТ 5520

ГОСТ 5520

 

10Х2ГНМ, 10Х2ГНМА-А

ТУ 108.11.928, ТУ 14-3102

ТУ 108.11.928, ТУ 14-1-3102

ТУ 108.11.928, ТУ 14-1-3102

 

12Х2МФА ТУ 108-131

ТУ 108-131

От 0 до 420

ТУ 108-131

 

15Х2НМФА ТУ 108.829

ТУ 108.829

От минус 40 до 420

ТУ 108.829

 

15Х5М ГОСТ 20072

Группа М2б

ГОСТ 7350

От минус 40 до 420

ГОСТ 7350

Для трубных решеток, стяжных колец и других деталей

 

08Х22Н6Т, 08Х21Н6М2Т

ГОСТ 5632

От минус 40 до 300

ГОСТ 7350 с механическими свойствами по ТУ 14-1-2676

Для корпусов, днищ, плоских фланцев и других деталей

 

08Х18Н10Т, 08Х18Н12Т

ГОСТ 5632

От минус 40 до 525

ГОСТ 7350

 

12Х18Н9Г, Т2Х18Н10Т

ГОСТ 5632

Группа М2б

ГОСТ 7350, ТУ 14-1-1151, ТУ 14-1-2542, ТУ 108-930

ГОСТ 7350, ТУ 14-1-1151, ТУ 14-1-2542, ТУ 108-930

 

08Х17Н13М2Т, 10Х17Н13М2Т

ГОСТ 5632

Группа М2б

ГОСТ 7350

ГОСТ 7350

 

10Х17Н13М3Т, 08Х17Н15М3Т ГОСТ 5632

 

08Х18Н10Т, 12Х18Н10Т, 10Х17Н13М3Т, 08Х17Н13М2Т

ГОСТ 5632

Группа М2б

ГОСТ 7350

От минус 40 до 350

ГОСТ 7350

Футеровка

 

ТУ 14-1-1154

03Х17Н14М3-ВО ТУ 14-1-1154

ТУ 14-1-1154

 

12Х18Н10Т

ГОСТ 5632

Группа М2б

ГОСТ 7350

От минус 40 - до 525

ГОСТ 7350

Для внутренних деталей аппаратов

 

08X13

ГОСТ 5632

Группа М2а и М3а ГОСТ 5582

Группа М2а и М3а ГОСТ 5582

 

12X13, 20X13

ГОСТ 5632

Группа М2б

ГОСТ 7350

Группа М2б

ГОСТ 7350

Для несвариваемых деталей внутренних устройств

 

Примечания:

1. Объем контроля на предприятии-изготовителе сосудов листовой стали по ГОСТ 5520, ГОСТ 19281, ГОСТ 7350 и по указанным в таблице техническим условиям - 2 листа от партии, рулонной стали - 2 рулона от партии.

2. Испытание на механическое старение производится в том случае, если при изготовлении сосудов или их деталей, эксплуатируемых при температуре выше 200 °С, сталь подвергается холодной деформации (вальцовке, гибке, отбортовке и др.).

3. Допускается, для сосудов работающих в средах не содержащих водород, применять материалы на температуры, указанные в приложении 5 Правил Госгортехнадзора.

Приложение 2

Обязательное

Поковки

Марка стали, обозначение стандарта или технических условий

Технические требования

Температура применения материалов, °С

Виды испытаний и требований

Назначение и условия применения

20 ГОСТ 1050

22К ОСТ 26-01-135

ОСТ 26-01-135

От минус 30 до 380

ОСТ 26-01-135

Для корпусов, обечаек, днищ, крышек, горловин, фланцев, патрубков, штуцеров

15ГС ОСТ 26-01-135

09Г2С, 16ГС, 14ХГС - ГОСТ 19281

От минус 40 до 420

22Х3М, 20Х2МА, 20Х2М, 15Х2МФА, 18Х2МФА ОСТ 26-61-135

От минус 40 до 420

15Х5М ГОСТ 20072

ГОСТ 8479 группа IV КП-40

От минус 40 до 420

ОСТ 26-01-135

Для трубных решеток, патрубков, штуцеров и других деталей

22Х3М ОСТ 26-01-135

ОСТ 26-01-135

От минус 40 до 420

25Х2МФА, 25Х3МФА ТУ 108-131, 30ХМА, 38ХН3МФА ГОСТ 4543, 18Х3МВ ГОСТ 20072

Для корпусов, трубных решеток, крышек и других деталей не подвергающихся сварке

08X13, 12X13, 20X13, 30X13, ГОСТ 5632

ГОСТ 25054 группа IV

От минус 40 до 525

ГОСТ 25054-81

ОСТ 26-01-135

08Х17Н15М3Т, 10Х17Н13М2Т, 10Х17Н13М3Т, 03Х17Н14М3, 12Х18Н10Т ГОСТ 5632

ГОСТ 25054 группа IVК

Для корпусов, обечаек, крышек, горловин, патрубков, штуцеров и других деталей

ХН32Т ГОСТ 5632

 

ГОСТ 25054 группа IV

22К ОСТ 26-01-135

ОСТ 26-01-135

От минус 30 до 380

ОСТ 26-01-138

Для штампосварных днищ, горловин, фланцев из плоских поковок

09Г2С ГОСТ 19281

Слитки ТУ 11

От минус 40 до 420

22Х3М, 20Х2МА ОСТ 26-01-135

ОСТ 26-01-135

10, 20, 25 ГОСТ 1050

От минус 30 до 200

ОСТ 26-01-135, ОСТ 26-01-86

Для металлических неподвижных уплотнений

09Г2С ГОСТ 19281

От минус 40 до 420

22Х3М, 20Х2МА ОСТ 26-01-135

18Х3МВ, 20Х3МВФ ГОСТ 20072

15ХМ, 30ХМА ГОСТ 4543

08X13, 12X13, 20X13, 30X13, 12Х18Н10Т, 10Х17Н13М2Т ГОСТ 5632

20 ГОСТ 1050

ГОСТ 22790

От минус 30 до 380

ГОСТ 22790

Для приварных тройников, колен, угольников, переходов и других деталей трубопроводов

09Г2С, 14ХГС ОСТ 19281

От минус 40 до 420

15ГС ОСТ 26-01-135

20ЮЧ ТУ 26-0303-1532

10Г2 ГОСТ 4543

15Х5М ГОСТ 20072

22Х3М, 20Х2М ОСТ 26-01-135

30ХМА, ГОСТ 4543

От минус 30 до 420

Для приварных тройников, колен, угольников, переходов и других деталей трубопроводов

03Х17Н14М3, 08Х17Н15М3Т, 10Х17Н13М2Т, 10Х17Н13М3Т, 08Х18Н10Т, 08Х18Н12Т, 12Х18Н10Т, 12Х18Н12Т, ГОСТ 5632

От минус 40 до 510

18Х3МВ, 20Х3МВФ, Х5М ГОСТ 20072

От 0 до 420

Примечание.

Допускается, для сосудов работающих в средах не содержащих водород, применять материалы на температуры, указанные в приложении 5 Правил Госгортехнадзора.

ПРИЛОЖЕНИЕ 3

Обязательное

Трубы стальные

Марка стали, обозначение стандарта или технических условий

Технические требования

Рабочие условия

Виды испытаний и требования

Назначение и условия применения

 

Температура стенки, °С

Давление среды, МПа

 

20 ГОСТ 1050

ТУ 14-3-251, ТУ 14-3-460

От 0 до 380

100

ТУ 14-3-251, ТУ 14-3-460, ГОСТ 440, ГОСТ 8733

Для трубных пучков теплообменников, патрубков и других деталей

 

ГОСТ 550 группа А, Б, ГОСТ 8733 группа В

16

 

20ЮЧ ТУ 14-3-1073, ТУ 14-3-1074

ТУ 14-3-1073, ТУ 14-3-1074

От минус 40 до 420

ТУ 14-3-1073, ТУ 14-3-1074

 

15ГС ТУ 14-3-460, ТУ 14-3-420

ТУ 14-3-460, ТУ 14-3-420

100

ТУ 14-3-460, ТУ 14-3-420

 

09Г2С ГОСТ 19281

ТУ 14-3-500

ТУ 14-3-500

Для корпусов сосудов и аппаратов, патрубков и других деталей

 

10Г2 ГОСТ 4543

ГОСТ 550 группа А, Б, ГОСТ 8733 группа В, ГОСТ 8731 группа В

ГОСТ 550

 

14ХГС ГОСТ 19281

ТУ 14-3-251, ТУ 14-3-433

ТУ 14-3-251, ТУ 14-3-433

Для трубных пучков теплообменников, змеевиков, патрубков и других деталей

15МХ ТУ 14-3-460

ТУ 14-3-460

ТУ 14-3-460

 

30ХМА ГОСТ 4543

ТУ 14-3-251, ТУ 14-3-433

ТУ 14-3-251, ТУ 14-3-433

 

12Х1МФ ГОСТ 20072

ТУ 14-3-460

ТУ 14-3-460

 

1Х2М1 ТУ 14-3-517

ТУ 14-3-517

ТУ 14-3-517

 

15Х1М1Ф ТУ 14-3-460

ТУ 14-3-420, ТУ 14-3-460

От минус 20 до 420

ТУ 14-3-420, ТУ 14-3-460

Для трубных пучков теплообменников, змеевиков, патрубков и др. деталей

 

15Х5М ГОСТ 20072

ГОСТ 550 группа А, Б

От минус 40 до 420

ГОСТ 550 группа А, Б

 

18Х3МВ ГОСТ 20072

ТУ 14-3-251

От минус 40 до 420

100

ТУ 14-3-251

Для деталей сосудов

 

20Х3МВФ ГОСТ 20072

 

08X13, 12X13 ГОСТ 5632

ГОСТ 9941

От минус 40 до 525

64

ГОСТ 9941

Для трубных пучков теплообменников

 

08Х18Н10Т ГОСТ 5632

ГОСТ 9940, ГОСТ 9941

130

ГОСТ 9940, ГОСТ 9941

Для змеевиков, трубных пучков, патрубков и других деталей

 

12Х18Н10Т ГОСТ 5632

ТУ 14-3-731

ТУ 14-3-731

 

12Х18Н12Т ГОСТ 5632

ТУ 14-3-460

ТУ 14-3-460

 

10Х17Н13М2Т, 08Х17Н15М3Т ГОСТ 5632

ГОСТ 9940

ГОСТ 9940, ГОСТ 9941

 

Примечание.

Допускается, для сосудов работающих в средах, не содержащих водород, применять материалы на температуры, указанные в приложении 5 Правил Госгортехнадзора.

ПРИЛОЖЕНИЕ 4

Обязательное

Сортовая сталь (круглая и профильная)

Марка стали, обозначение стандарта или технических условий

Технические требования

Рабочая температура °С

Виды испытаний и требования

Назначения и условия применения

20

ГОСТ 1050

ГОСТ 1050

От минус 20 до 380

ГОСТ 1050

Для муфт, пробок и других деталей

09Г2-6, 09Г2С-6

ГОСТ 19281

ГОСТ 19281

От минус 40 до 200

ГОСТ 19281

Для фланцев, патрубков и др. деталей с учетом коррозионной стойкости сталей в рабочих средах

09Г2-12, 09Г2С-12

ГОСТ 19281

От минус 40 до 420

20ЮЧ

ТУ 14-1-3332

ТУ 14-1-3332

ГОСТ 4543

08Х22Н6Т, 08Х21Н6М2Т

ГОСТ 5632

ГОСТ 5943

От минус 40 до 300

ГОСТ 5949

12Х18Н10Т

ГОСТ 5632

От минус 40 до 525

15Х5М

ГОСТ 20072

ГОСТ 20072

От минус 40 до 420

ГОСТ 20072

08Х18Н10Т, 08Х18Н12Б

ГОСТ 5632

ГОСТ 5949

От минус 40 до 523

ГОСТ 5949

10Х17Н13М2Т, 10Х17Н13М3Т, 08Х17Н15М3Т

ГОСТ 5632

От минус 40 до 525

Для фланцев, патрубков и др. деталей

08X13, 12X13

ГОСТ 5632

03Х17Н14М3

ТУ 14-1-3303

ТУ 14-1-3303

ТУ 14-1-3303

Для деталей сосудов

ХН32Т

по ТУ 14-1-284

ТУ 14-1-284

ТУ 14-1-284

ХН78Т

ТУ 14-1-1671,

ХН78Т

ТУ 14-1-378

ТУ 14-1-1671, ТУ 14-1-378

ТУ 14-1-1671, ТУ 14-1-378

Примечание.

Допускается, для сосудов работающих в средах не содержащих водород, применять материалы на температуры, указанные в приложении 5 Правил Госгортехнадзора.

ПРИЛОЖЕНИЕ 5

Справочное

Сталь листовая и рулонная. Механические свойства и виды испытаний

Марка стали, категория, обозначение стандарта или технических условий

Состояние материала

Толщина, мм

Температура испытания, °С

Предел текучести sт, МПа

Временное сопротивление разрыву sв, МПа

Относительное удлинение d5, %

Ударная вязкость KCU/KCV, Дж/см2

при температуре, °С

20

-20

-40

После механического старения

не менее

16К

категорий 3, 5, 18 в зависимости от рабочей температуры

ГОСТ 5520

Нормализация

20

20

260

410 - 500

22

70/50

30/20

 

35/25

200

230

300

180

350

160

400

140

21 - 40

20

250

410 - 500

22

70/50

30/20

 

35/25

200

220

300

170

350

150

400

130

41 - 70

20

240

410 - 500

22

70/50

30/20

 

35/25

200

210

300

160

350

140

400

120

18К

категорий 3, 5, 18 в зависимости от рабочей температуры

ГОСТ 5520

Нормализация

до 20

20

280

440 - 530

20

60/45

30/20

 

30/25

200

250

300

200

350

170

400

150

21 - 40

20

270

440 - 530

20

60/45

30/20

 

30/20

200

240

300

190

350

170

400

150

41 - 70

20

260

440 - 530

20

60/45

30/20

 

30/20

200

230

300

180

350

160

400

140

20К

категорий 3, 5, 18 в зависимости от рабочей температуры

ГОСТ 5520

Нормализация

до 20

20

250

410 - 520

25

60/45

30/20

 

30/20

200

240

300

195

350

175

400

150

21 - 40

20

240

410 - 520

24

55/35

30/20

 

25/20

200

230

300

190

350

165

400

145

41 - 70

20

230

410 - 520

23

50/30

30/20

 

25/20

200

220

300

180

350

160

400

140

09Г2С

категорий 5, 6, 7, 8, 9, 17 в зависимости от рабочей температуры

ГОСТ 19281

Нормализация

до 20

20

330

480

21

60/45

35/20

35/20

30/25

200

275

460

300

225

425

350

205

400

400

180

390

420

170

385

21 - 32

20

310

470

21

60/45

35/20

35/20

30/25

200

260

435

300

215

400

350

190

390

400

170

380

420

160

375

33 - 60

20

200

300

350

400

420

290

240

200

180

160

150

460

420

400

390

380

370

21

60/45

35/22

35/22

30/20

61 - 80

20

200

300

350

400

420

280

235

195

175

155

150

450

410

390

380

370

360

21

60/45

35/22

35/22

30/20

81 - 160

20

200

300

350

400

420

270

225

185

170

150

145

440

400

380

370

360

355

21

60/45

35/22

35/22

30/20

10Г2С1

категорий 5, 6, 17 в зависимости от рабочей температуры

ГОСТ 19281

Нормализация

до 20

20

200

300

350

400

420

340

275

235

205

185

180

490

470

425

415

400

395

21

60/45

35/22

30/20

30/20

21 - 32

20

200

300

350

400

420

330

265

220

200

180

170

480

460

420

405

390

385

21

60/45

35/22

30/20

30/20

33 - 60

20

200

300

350

400

420

330

265

220

200

180

170

460

450

410

400

380

380

21

60/45

35/22

30/20

30/20

61 - 160

20

200

300

350

400

420

300

245

200

180

165

160

440

420

390

380

370

365

21

60/45

35/22

30/20

30/20

16ГС

категорий 5, 6, 17 в зависимости от рабочей температуры

ГОСТ 19281

Нормализация

до 20

20

200

300

350

400

420

320

275

220

200

175

170

490

460

420

410

400

395

21

60/45

35/22

40/30

30/20

21 - 32

20

200

300

350

400

420

300

260

205

185

165

160

480

450

415

400

390

385

21

60/45

35/22

30/20

30/20

33 - 60

20

200

300

350

400

420

290

250

200

180

160

155

470

430

410

390

380

375

21

60/45

35/22

30/20

30/20

61 - 160

20

200

300

350

400

420

280

240

195

175

155

150

460

420

390

380

370

365

21

60/45

35/20

30/20

30/20

12МХ

ГОСТ 20072

Нормализация и отпуск

4 - 60

20

200

300

350

400

420

240

230

220

210

200

200

450

440

440

410

380

380

21

60/45

Ударная вязкость определяется по требованию потребителя

12МХ

категория 17

ГОСТ 5520

Нормализация и отпуск

4 - 50

20

200

300

350

400

420

250

240

220

210

200

200

450

430

420

400

400

400

22

60/45

30/20

30/20

30/20

51 - 100

20

200

300

350

400

420

240

220

210

210

200

200

440

420

410

400

390

390

20

50/35

30/20

30/20

30/20

101 - 160

20

200

300

350

400

420

230

220

210

200

190

190

430

410

400

390

380

380

18

40/30

30/20

30/20

30/20

10Х2ГНМ

ТУ 14-1-3102

Термически обработанное по режиму предприятия поставщика

20 - 50

20

200

300

350

400

420

420

370

340

330

320

320

560

490

450

440

430

430

18

80/35

50/30

40/25

30/20

51 - 80

20

200

300

350

400

420

400

353

315

310

305

305

520

470

420

415

410

410

18

80/35

50/30

40/25

30/20

81 - 160

20

200

300

350

400

420

360

330

300

294

290

290

500

435

400

395

390

390

18

90/35

50/30

40/25

30/20

10Х2ГНМА-А

ТУ 108.11.928

Термически обработанное по режиму предприятия поставщика

20 - 50

20

200

300

350

400

420

470

415

385

370

355

345

620

540

495

475

455

450

18

80/35

50/30

40/25

30/20

51 - 80

20

200

300

350

400

420

450

400

375

360

345

340

580

512

480

460

445

440

18

80/35

50/30

40/25

30/20

81 - 110

20

200

300

350

400

420

420

380

360

350

340

340

560

505

475

460

445

440

15

60/45

40/30

30/20

30/20

111 - 240

20

200

300

350

400

420

353

330

300

295

290

290

490

435

400

395

390

390

15

50/35

35/25

30/20

30/20

12Х2МФА, 12Х2МФА-А

ТУ 108.131

Термообработанная по режиму предприятия поставщика

до 180

20

200

300

350

400

420

540

510

500

500

500

490

650

600

570

560

550

530

14

50/37

-

-

30/20

св. 180

20

200

300

350

400

420

440

420

405

400

380

380

550

530

510

500

480

460

13

40/30

-

-

30/20

15Х5М

ГОСТ 7350

Отжиг 840 - 860 °С

до 50

20

200

300

350

400

420

240

190

180

175

170

170

480

430

415

410

390

380

18

80/40

40/30

30/20

30/20

15Х5М-У

ГОСТ 7350

Нормализация 980 - 1000 °С, отпуск 600 - 620 °С

до 50

20

200

300

350

400

420

400

337

315

300

255

235

600

535

503

490

470

450

14

100/40

50/30

30/20

30/20

15Х2НМФА, 15Х2НМФА-А

ТУ 108.829

Термообработка по режиму поставщика

до 160

20

200

300

350

400

420

500

460

460

450

430

420

620

580

560

550

530

520

15

40/30

30/20

30/20

30/20

08Х22Н6Т, 08Х21Н6М2Т

ГОСТ 7350

Термически обработанная

до 50

20

200

300

350

400

420

350

283

240

240

240

240

600

515

500

500

500

500

18

60/45

40/30

30/20

30/20

08Х18Н10Т, 08Х17Н13М2Т, 08Х17Н15М3Т

ГОСТ 5632, ГОСТ 7350

Термически обработанная (аустенизация)

до 50

20

200

300

350

400

500

530

252

210

185

170

155

143

138

520

430

417

408

402

383

374

35

-

-

-

-

08Х18Н10Т

ГОСТ 5632, ОСТ 108.109-01

Термически обработанная (аустенизация)

41 - 200

20

200

300

350

400

500

530

206

185

170

164

155

143

138

490

35

-

-

-

-

свыше 200

20

200

300

350

400

500

530

206

172

154

144

139

119

108

490

35

-

-

-

-

08Х18Н12Т

ГОСТ 5632, ГОСТ 7350

Термически обработанная (аустенизация)

до 50

20

200

300

350

400

500

530

252

210

185

170

155

143

138

520

430

417

408

402

383

374

35

-

-

-

-

12Х18Н10Т, 10Х17Н13М2Т, 10Х17Н13М3Т

ГОСТ 5632, ГОСТ 7350

Термически обработанная (аустенизация)

до 50

20

200

300

350

400

500

530

276

240

222

216

206

191

186

520

430

417

408

402

383

374

43

-

-

-

-

12Х18Н10Т

ОСТ 108.109.01

Термически обработанная (аустенизация)

41 - 200

20

200

300

350

400

500

530

235

211

194

188

182

164

158

490

417

358

333

309

265

235

40

-

-

-

-

свыше 200

20

200

300

350

400

500

530

235

197

176

164

158

136

124

490

392

343

314

289

235

206

40

-

-

-

-

12Х18Н9Т

ГОСТ 5632, ГОСТ 7350

Термически обработанная (аустенизация)

от 0,5 до 160

20

200

300

350

400

500

530

235

186

177

177

167

137

137

530

402

402

392

383

373

343

40

-

-

-

-

08X13

ГОСТ 5632, ГОСТ 7350

Термически обработанное

4 - 50

20

200

300

350

400

450

500

525

280

250

240

230

220

200

190

140

430

410

390

380

350

320

220

180

23

-

-

-

-

20X13

ГОСТ 5632, ГОСТ 7350

4 - 50

20

200

300

375

324

294

510

441

412

18

-

-

-

-

08Г2СФБ

ТУ 14-1-3609

Горячекатаная с душированием

5

20

200

300

350

450

385

350

320

600

570

550

480

21

50

-

40

-

08Г2МФБ

ТУ 14-1-2026

5

20

200

300

350

500

400

360

330

650

580

560

500

18

100

-

80

-

12ХГНМ, 12ХГНМФ

ТУ 14-1-3226

Нормализация 920 °С, отпуск 720 °С

4

20

500

700

17

-

-

-

-

200

475

670

300

450

650

350

450

650

15

400

390

630

450

350

600

13

15ХГНМФТ

ТУ 14-1-105-450

Нормализация 900 °С, отпуск 700 °С

5

20

200

300

350

400

450

425

410

400

370

650

625

605

600

580

17

-

-

-

-

22К

категорий 3, 5, 18 в зависимости от рабочей температуры

ГОСТ 5520

Нормализация

до 70

20

200

300

350

400

260

220

195

180

160

440 - 660

22

60/35

30/20

-

25/20

Примечание. Для сталей марок 08Х18Н10Т, 08Х18Н12Т, 12Х18Н10Т, 10Х17Н13М2Т, 10Х17Н13М3Т, 12Х18Н10Т, 12Х18Н9Т в таблице дано значение предела текучести s1,0, МПа.

ПРИЛОЖЕНИЕ 6

Справочное

Сталь листовая двуслойная. Механические свойства и виды испытаний

Марка стали, обозначение стандарта или технических условий

Обозначение НТД на марку стали

Состояние материала

Толщина, мм

Предел текучести sт, МПа

Временное сопротивление разрыву sв, МПа

Относительное удлинение d5, %

Ударная вязкость на поперечном образце KCU/KCV, Дж/см2

Холодный изгиб на 180°

 

основного слоя

коррозионно-стойкого слоя

при 20 °С

после старения

при минимальной температуре

 

20К-3 + 08Х18Н10Т,

20К-3 + 12Х18Н10Т,

20К-3 + 08ХГ7Н15М3Т,

20К-5 + 08Х18Н10Т,

20К-5 + 12Х18Н10Т,

20К-5 + 08Х17Н15М3Т,

20К-18 + 08Х18Н10Т,

20К-18 + 12Х18Н10Т,

20К-18 + 08Х17Н15М3Т

ГОСТ 10885

ГОСТ 5520

ГОСТ 5632

Термически обработанное

33 - 60

Для стали 20К (см. приложение 7)

 

09Г2С-6 + 08Х18Н10Т,

09Г2С-6 + 12Х18Н10Т,

09Г2С-6 + 08Х17Н15М3Т,

09Г2С-7 + 08Х18Н10Т,

09Г2С-7 + 12Х18Н10Т,

 09Г2С-7 + 08Х17Н15М3Т,

09Г2С-8 + 08Х18Н10Т,

09Г2С-8 + 12Х18Н10Т,

09Г2С-8 + 08ХГ7Н15М3Т,

09Г2С-9 + 08Х18Н10Т

09Г2С-9 + 12Х18Н10Т,

09Г2С-9 + 08Х17Н15М3Т,

09Г2С-17 + 08Х18Н10Т,

09Г2С-17 + 12Х18Н10Т,

09Г2С-17 + 08Х17Н15М3Т

ГОСТ 10885

ГОСТ 19281

33 - 60

Для стали 09Г2С (см. приложение 7)

 

16ГС-5 + 08Х18Н10Т,

16ГС-5 + 12Х18Н10Т,

16ГС-5 + 08Х17Н15М3Т,

16ГС-6 + 08Х18Н10Т,

16ГС-6 + 12Х18Н10Т,

16ГС-6 + 08Х17Н15М3Т,

16ГС-17 + 08Х18Н10Т,

16ГС-17 + 12Х18Н10Т,

16ГС-17 + 08Х17Н15М3Т

ГОСТ 10885

33 - 60

Для стали 16ГС (см. приложение 7)

 

12ХМ-16 + 08Х18Н10Т,

12ХМ-16 + 12Х18Н10Т

ГОСТ 10885

ГОСТ 5520

30 - 60

240

450

19

80

60

30

20

30

20

d = 3а

 

12МХ + 08Х18Н10Т,

12МХ + 12Х18Н10Т

ГОСТ 10885

ГОСТ 20072

12 - 40

225

430

24

60

45

30

20

30

20

d = 2а

 

10Х2М1 + 08Х18Н10Т

ГОСТ 10885

ГОСТ 10885

30 - 60

240

450

19

80

60

30

20

30

20

d = 2а

 

20Х2М + 08Х18Н10Т

ТУ ЖЗТМ 410

ТУ ЖЗТМ 410

3 - 180

при 400

при 300

20 °С

560

425 °С

440

16

80

60

-

-

d = 2а

< 120°

 

ПРИЛОЖЕНИЕ 7

Справочное

Поковки. Механические свойства.

Марка стали, обозначение стандарта или технических условий

Состояние материала

Размер поковки (толщина, диаметр), мм

Температура испытания, °С

Предел текучести sт, МПа

Временное сопротивление разрыву sв, МПа

Относительное удлинение d5, %

Относительное сужение y, %

Ударная вязкость KCU/KCV, Дж/см2

Твердость по Бринеллю, НВ

при 20 °С

при минимальной температуре

не менее

 

20

ГОСТ 1050

ОСТ 26-01-135

Термически обработанное

до 300

20

200

300

350

400

420

196

190

160

140

120

120

440

430

405

390

375

370

20

48

50/35

30/20

123 - 167

301 - 800

20

200

300

350

400

420

170

160

140

130

110

110

340

320

300

290

280

275

15

38

40/30

30/20

103 - 148

22К

ОСТ 26-01-135

до 500

20

200

300

350

400

420

220

200

190

185

170

165

440

400

380

380

370

360

15

39

40/30

30/20

123 - 167

09Г2С

ГОСТ 19282, ОСТ 26-01-135

до 500

20

200

300

350

400

420

300

260

210

200

190

185

460

440

390

385

380

375

24

45

60/45

30/20

120 - 179

14ХГС

ГОСТ 19282, ГОСТ 22790

до 500

20

200

300

350

400

420

320

280

260

250

230

225

500

450

430

420

400

395

17

 

60/45

30/20

149 - 207

15ГС

ОСТ 26-01-135

до 350

20

200

300

350

400

420

300

280

230

200

170

165

500

450

420

410

400

395

17

38

60/45

30/20

149 - 207

16ГС

ГОСТ 19282, ОСТ 108.030.113

Термически обработанное

до 400

20

200

300

350

400

420

280

260

230

200

170

165

460

450

420

410

400

395

18

38

50/45

30/20

140 - 190

20ЮЧ

ТУ 26-0303-1532, ГОСТ 22790

 

20

200

300

350

400

420

230

200

190

185

170

165

400

365

345

335

325

320

17

 

80/60

30/20

143 - 190

10Г2

ГОСТ 4543, ГОСТ 22790

до 350

20

200

300

350

400

420

240

190

170

150

140

135

420

380

360

355

345

340

15

 

80/60

30/20

143 - 197

30ХМА

ГОСТ 4543, ОСТ 26-01-135

до 350

20

200

300

350

400

420

400

370

340

340

330

320

600

550

520

500

490

480

16

40

80/45

30/20

197 - 235

20Х2М

ГОСТ 22790

20

200

300

350

400

450

500

450

400

350

330

300

275

250

600

550

500

480

450

425

400

16

45

60/45

30/20

197 - 235

20Х2М

ОСТ 26-01-135

до 550

20

200

300

350

400

450

500

400

355

310

295

265

245

220

550

510

460

440

410

390

365

16

45

60/45

30/20

197 - 235

22Х3М

ТУ 108.11.917

Термически обработанное

до 550

20

200

300

350

400

450

500

450

400

350

330

300

275

250

600

550

500

480

450

420

400

16

50

60/45

30/20

197 - 235

22Х3М

ОСТ 26-01-135

551 - 700

20

200

300

350

400

450

500

400

350

300

275

250

225

200

550

500

450

425

400

375

340

16

45

60/45

30/20

172 - 217

15Х2МФА

до 400

 

 

 

 

 

 

 

 

18Х2МФА

до 400

20

440

550

11

40

50/35

30/20

187 - 229

25Х2МФА

до 450

 

 

 

 

 

 

 

 

25Х3МФА

до 600

 

 

 

 

 

 

 

 

ТУ 108-131 (КП 40)

 

200

300

350

400

420

420

405

400

375

370

530

510

500

480

440

 

 

 

 

 

15Х2МФА

до 400

20

540

650

11

40

50/35

30/20

207 - 265

18Х2МФА

до 400

25Х2МФА

до 450

25Х3МФА

ТУ 108-131 (КП 50)

до 600

 

200

300

350

400

420

520

505

500

460

460

600

570

560

530

530

 

 

 

 

 

18Х3МВ

ГОСТ 22790

до 350

20

200

300

400

450

500

450

400

380

350

310

280

600

550

525

500

470

410

16

40

60/35

30/20

197 - 241

20Х3МВФ

ГОСТ 22790

Термически обработанное

до 350

20

200

300

350

400

450

500

680

630

600

590

580

540

510

800

730

690

670

650

620

560

14

40

60/35

30/20

241 - 285

38ХН3МФА

ГОСТ 4543, ОСТ 26-01-135

до 450

20

200

300

350

400

450

650

590

575

570

560

550

800

720

710

700

680

620

13

35

60/40

30/20

262 - 311

15Х5М

ГОСТ 20072, ОСТ 26-01-135

до 400

20

200

300

350

400

420

220

190

180

175

170

165

400

330

320

315

310

290

22

50

100/40

30/20

150 - 190

08X13

ГОСТ 25054

до 300

20

400

550

14

35

50/35

30/20

187 - 229

12X13

ГОСТ 25054

441

617

14

35

50/35

30/20

187 - 229

20X13

ГОСТ 25054

441

588

14

40

40/30

30/20

197 - 248

30X13

ГОСТ 25054

588

735

14

40

30/20

30/20

235 - 277

12Х18Н10Т, 10Х17Н13М2Т, 10Х17Н13М3Т

ОСТ 108.109.01, ОСТ 26-11-04

до 50

20

200

300

350

400

500

525

276

240

222

216

206

191

186

540

450

440

438

436

420

412

35

40

-

-

179 - 200

51 - 200

20

200

300

350

400

500

525

235

211

194

188

182

164

158

490

417

358

333

309

260

235

35

40

-

-

179 - 200

до 450

20

200

300

350

400

500

525

235

197

176

164

158

136

123

490

392

343

314

289

235

206

35

40

-

-

179 - 200

08Х17Н15М3Т

ГОСТ 25054, ОСТ 26-11-04

Термически обработанное

до 300

20

200

300

350

400

450

500

525

252

210

184

169

154

148

142

138

500

430

417

408

402

392

383

374

35

45

-

-

200

03Х17Н14М3

ГОСТ 25054, ОСТ 26-11-04

до 300

20

200

300

350

400

450

230

180

155

152

130

120

470

432

392

376

360

350

40

45

-

-

179

ХН32Т

ГОСТ 25054

 

20

200

400

500

525

176

130

110

109

108

470

410

380

364

350

30

35

-

-

179 - 217

Примечания:

1. Механические свойства поковок из углеродистых, низколегированных и легированных сталей определяются на тангенциальных образцах, а поковок из коррозионно-стойких сталей и сплавов на продольных образцах.

2. Для сталей марок 12Х18Н10Т, 12Х17Н13М2Т, 10Х17Н13М3Т, 08Х17Н15М3Т, 08Х17Н14М3 дан предел текучести s1,0, МПа, по ОСТ 26-11-04.

ПРИЛОЖЕНИЕ 8

Справочное

Трубы. Механические свойства и виды испытаний

Марка стали, обозначение стандарта или технических условий

Состояние материала

Температура испытания, °С

Предел текучести sт, МПа

Временное сопротивление разрыву sв, МПа

Относительное удлинение d5, %

Относительное сужение y, %

Ударная, вязкость KCU, Дж/см2

Твердость по Бринеллю, НВ

Технические требования, сплющивание, раздача и гидравлические испытания

20 °С

при минимальной рабочей температуре

не менее

20

ГОСТ 1050

Термически обработанное

20

200

300

350

400

220

210

180

160

140

440

410

380

370

360

20

45

50

30

123 - 167

ГОСТ 22790, ТУ 14-3-251, ТУ 14-3-460

20 ЮЧ

ТУ 14-3-1652

20

250

420

17

40

80

50

143 - 190

ГОСТ 22790, ТУ 14-3-1073, ТУ 14-2-1074

15ГС

ТУ 14-3-460, ТУ 14-3-420

20

200

300

350

400

300

280

230

200

170

500

450

420

420

420

18

40

60

30

149 - 207

ГОСТ 22790, ТУ 14-3-460, ТУ 14-3-420

09Г2С

ГОСТ 5520

20

200

300

350

400

300

240

240

180

160

460

420

400

390

380

24

40

60

30

120 - 179

ГОСТ 22790, ТУ 14-3-500

10Г2

ГОСТ 4543

20

240

420

15

45

80

30

143 - 197

ГОСТ 500 группа А, В

14ХГС

ГОСТ 5520

20

200

300

350

400

320

280

260

250

230

500

450

430

420

400

17

40

60

30

149 - 207

ТУ 14-3-251

ТУ 14-3-433

15ХМ

ГОСТ 4543

20

200

300

350

400

420

240

240

220

210

200

195

450

430

420

400

380

360

21

50

60

30

137 - 170

ТУ 14-3-460

30ХМА

ГОСТ 4543

Термически обработанное

20

200

300

350

400

420

400

370

340

340

330

320

600

550

520

500

490

480

15

45

80

30

169 - 217

ТУ 14-3-251, ТУ 14-3-433

12Х1МФ

ГОСТ 20072

20

200

300

400

420

280

280

260

220

215

450

430

420

380

370

21

55

60

30

131 - 170

ТУ 14-3-460

1Х2М1

ТУ 14-3-517

20

270

450

20

45

100

30

227 - 231

ГОСТ 3845, ТУ 14-3-517

15Х1М1Ф

ТУ 14-3-460

20

200

300

350

400

420

320

290

270

260

240

235

500

500

480

450

420

410

18

50

50

30

145 - 217

ТУ 14-3-420, ТУ 14-3-460

15Х5М

ГОСТ 20072

В отожженном состоянии

20

200

300

350

400

420

220

201

180

171

158

152

400

330

318

314

310

300

20

45

80

30

170

ГОСТ 550 гр. А, Б

15Х5М-У

ГОСТ 20072

Нормализация и отпуск

20

200

300

350

400

420

400

338

315

300

255

225

600

535

503

492

472

462

16

45

10

30

150 - 190

ТУ 14-3-1080

18Х3МВ

ГОСТ 20072

Термически обработанное

20

200

300

350

400

420

450

400

380

370

350

330

650

550

525

510

500

485

16

40

60

30

197 - 241

ТУ 14-3-251

20Х3МВФ

ГОСТ 20072

20

200

300

350

400

420

500

465

440

435

425

415

800

730

690

670

650

630

14

40

60

30

241 - 285

ТУ 14-3-251

08X13

ГОСТ 5632

Отожженное

20

200

300

250

220

220

380

330

320

22

43

-

-

116 - 179

ГОСТ 9940, ГОСТ 9941

12X13

ГОСТ 5632

20

270

400

21

40

-

-

121 - 187

08Х18Н10Т, 08Х17Н13М2Т

ГОСТ 5632

Нормализация или аустенизация

20

200

300

350

400

450

500

525

252

210

185

170

155

149

143

140

520

430

417

408

402

392

383

380

35

-

-

-

179 - 200

ГОСТ 9940, ГОСТ 9941, ОСТ 26-11-04

12Х18Н10Т, 12Х18Н12Т, 10Х17Н13М2Т

ГОСТ 5632

20

200

300

350

400

450

500

525

276

240

222

216

205

198

190

185

540

450

440

438

436

428

420

415

35

-

-

-

179 - 200

ГОСТ 9940, ГОСТ 9941, ОСТ 26-11-04

Примечание. Для сталей марок 08Х18Н10Т, 08Х17Н13М2Т, 12Х18Н10Т, 12Х18Н12Т, 10Х17Н13М2Т предел текучести приведен s1,0, МПа, по ОСТ 26-11-04.


ПРИЛОЖЕНИЕ 9

Справочное

Таблица 1

Максимально допустимая температура применения сталей в водородосодержащих средах (°С)

Марка стали

Парциальное давление водорода, МПа

1,5

2,5

5,0

10,0

20,0

30,0

40,0

20, 20К, 22К, 15ГС, 16ГС, 09Г2С, 10Г2С1

290

280

260

230

210

200

190

14ХГС

310

300

280

260

250

240

230

30ХМА, 12ХМ, 15ХМ, 12Х1МФ

400

390

370

330

290

260

250

20Х2М

480

460

450

430

400

390

380

10Х2М1, 12Х2МФА, 15Х1М1Ф, 25Х2МФА

510

490

460

420

390

380

380

22Х3М, 25Х3МФА

510

500

490

475

440

430

420

18Х3МФ

510

500

470

450

20Х3МВФ; 15Х5М, 12Х18Н10Т, 08Х17Н13М2Т, 10Х17Н13М2Т, 10Х17Н13М3Т

510

Двухслойные стали

20, 09Г2С, 16ГС + 12Х18Н10Т

380

350

12МХ + 12Х18Н10Т, 12ХМ + 12Х18Н10Т

400

390

370

Примечания:

1. Условия применения двухслойной стали установлены для отношения толщин основного и плакирующего слоя не более 9 и парциального давления водорода за основным слоем не более 0,1 МПа.

2. Параметры применения сталей, указанные в таблице, относятся также и к сварным соединениям при условии, если легирование металла шва не ниже, чем основного металла.

Таблица 2

Максимально допустимые температуры применения сталей в средах, содержащих аммиак (°С)

Марки стали

Парциальное давление аммиака, МПа

св. 1 до 2

св. 2 до 5

св. 5 до 8

20, 20К, 22К, 09Г2С, 10Г2С1, 15ГС, 16ГС

-

300

-

14ХГС, 30ХМА, 12МХ, 15ХМ, 12Х1МФ

340

330

310

15Х1М1Ф, 20Х2М, 10Х2М1, 22Х3М, 12Х2МФА, 15Х2МФА, 25Х2МФА, 25Х3МФА, 18Х3МВ, 20Х3МВФ, 15Х5М

360

350

340

12Х18Н10Т, 10Х17Н13М2Т, 10Х17Н13М3Т, 08Х17Н15М3Т, 08Х17Н13М2Т

560

Примечание. Условия применения установлены для скорости азотирования не более 0,5 мм/год.

Таблица 3

Предельно допустимые парциальные давления окиси углерода, МПа

Тип стали

Температура, °С

до 100

свыше 100

Углеродистые и низколегированные с массовой долей хрома до 2 %

24

менее 10

Низколегированные стали с массовой долей хрома от 2 до 5 %

10

Коррозионностойкие стали аустенитного класса

24

Примечание. Условия применения установлены для скорости карбонильной коррозии не более 0,5 мм/год.

ПРИЛОЖЕНИЕ 10

Обязательное

Сварочные материалы для ручной электродуговой сварки углеродистых и легированных сталей

Марка свариваемой стали

Тип или марка электродов

Обозначение стандартов или технических условий на электроды

Допустимая температура эксплуатации сварных соединений

20, 16К, 18К, 20К, 22К, 20ЮЧ; 20К - основной слой двухслойной стали

Э42А, Э50А

ГОСТ 9467

По обязательному приложению 1, 2, 3, но не ниже минус 40 °С

09Г2С, 10Г2С1, 15ГС, 16ГС, 10Г2, 08Г2СФБ, 08Г2МФБ, 14ХГС; 09Г2С, 16ГС - основной слой двухслойной стали

Э50А

12ХГНМ,12ХГНМФ, 15ХГНМФТ

УОНИ 13/55Н2

ПО 112-37

ПО Уралхиммаш

От минус 40 °С до 400 °С

12МХ; 12МХ - основной слой двухслойной стали

Э-09МХ, Э-09Х1М

ГОСТ 9467

Не ниже 0 °С, верхний предел - по обязательному приложению 1, 2, 3

12ХМ, 15ХМ; 12ХМ - основной слой двухслойной стали

Э-09Х1М, Э-09Х1МФ

30ХМА

Э-09Х1МФ, Э-10Х5МФ

Х3М-1

ПО 112-9

ПО Уралхиммаш

12Х1МФ, 15Х1М1Ф

Э-09Х1МФ

ГОСТ 9467

10Х2ГНМ, 10Х2ГНМА, 10Х2М1, 1Х2М1; 10Х2М1 - основной слой двухслойной стали

Э-05Х2М

12Х2МФА, 15Х2МФА, 15Х2НМФА

48 Н-3, 48 Н-6

ОСТ 5.9244

Э-09Х1МФ, Э-10Х5МФ

ГОСТ 9467

22Х3М, 20Х2МА, 20Х2М

Х3М-1

ПО 112-9

ПО Уралхиммаш

От минус 40 °С до 400 °С

15Х5М

Э-10Х5МФ

ГОСТ 9467

От 0 °С до 510 °С

ПРИЛОЖЕНИЕ 11

Обязательное

Сварочные материалы для ручной электродуговой сварки высоколегированных сталей

Марка свариваемой стали

Тип электродов по ГОСТ 10052

Допускаемая температура эксплуатации сварных соединений

Требования по стойкости против МКК

08Х22Н6Т

Э-04Х20Н9, Э-07Х20Н9

От минус 40 °С до 300 °С

нет

Э-08Х20Н9Г2Б, Э-08Х19Н10Г2Б

есть

08Х21Н6М2Т

Э-02Х20Н14Г2М2

нет

Э-09Х19Н10Г2М2Б, Э-07Х19Н11М3Г2Ф

есть

08Х18Н10Т, 12Х18Н10Т, 08Х18Н12Б, 12Х18Н9Т

Э-04Х20Н9, Э-07Х20Н9

От минус 40 °С до 400 °С

нет

Э-08Х20Н9Г2Б,

Э-08Х19Н10Г2Б

От минус 40 °С до 350 °С

есть

08Х17Н13М2Т, 10Х17Н13М2Т, 10Х17Н13М3Т, 08Х17Н15М3Т

Э-07Х19Н11М3Г2Ф, Э-02Х20Н14Г2М2, Э-09Х19Н11Г3М2Ф

нет

Э-09Х19Н10Г2М2Б, Э-02Х19Н18Г5АМ3

есть

03Х17Н14М3

Э-02Х19Н18Г5АМ3

ХН32Т

Э-27Х15Н35В3Г2Б2Т

От минус 40 °С до 550 °С

нет

ПРИЛОЖЕНИЕ 12

Обязательное

Сварочные материалы для ручной электродуговой сварки двухслойных сталей и антикоррозионной наплавки

Марка свариваемой стали

Тип электродов по ГОСТ 10052 или марка электродов и технические условия на их поставку

Требования по стойкости против МКК

переходный слой

облицовочный слой

20К, 09Г2С,

16ГС + 08Х18Н10Т;

20К, 09Г2С,

16ГС + 12Х18Н10Т

Э-10Х25Н13Г2

Э-10Х25Н13Г2, Э-04Х20Н9, Э-07Х20Н9

нет

Э-08Х20Н9Г26, Э-08Х19Н10Г2Б

есть

20К + 08Х17Н15М3Т;

09Г2С,

16ГС + 10Х17Н13М3Т,

08Х17Н15М3Т

Э-10Х25Н13Г2, Э-11Х15Н25М6АГ2, АНЖР-3У

ТУ 14-168-23,

АНЖР-2

ТУ 14-4-598

Э-09Х19Н11Г3М2Ф

нет

Э-02Х19Н18Г5АМ3, Э-09Х19Н10Г2М2Б

есть

12МХ, 12ХМ,

10Х2М1 + 08Х18Н10Т;

12МХ, 12ХМ + 12Х18Н10Т

Э-10Х25Н13Г2, Э-04Х20Н9, Э-07Х20Н9, Э-09Х19Н11Г3М2Ф

нет

Э-08Х20Н9Г2Б, Э-08Х19Н10Г2Б, Э-09Х19Н10Г2М2Б

есть

20, 22К, 09Г2С, 22Х3М, 20Х2МА, 20Х2М антикоррозионная наплавка

Э-10Х25Н13Г2, Э-04Х20Н9, Э-07Х20Н9, Э-09Х19Н11Г3М2Ф

нет

Э-08Х20Н9Г2Б, Э-08Х19Н10Г2Б, Э-09Х19Н10Г2М2Б, Э-02Х19Н18Г5АМ3

есть

Примечания:

1. Сварочные материалы для основного слоя двухслойной стали назначать по обязательному приложению 10, 13.

2. Допустимая температура эксплуатации сварных соединений двухслойных сталей по обязательному приложению 1 с учётом примечания 3) табл. 2.

3. Допустимая температура эксплуатации элементов с антикоррозионной наплавкой назначается по основному металлу (обязательные приложения 1, 2, 3) с учетом примечания 3) табл. 2, но не ниже минус 40 °С.

4. Сварочные материалы для антикоррозионной наплавки обеспечивают стойкость против межкристаллитной коррозии при температуре эксплуатации не выше 350 °С.

5. Антикоррозионную наплавку элементов из стали марки 12Х2МФА, 15Х2МФА, 15Х2НМФА производить в соответствии с ОСТ 5.9660.

ПРИЛОЖЕНИЕ 13

Обязательное

Сварочные материалы для автоматической сварки под флюсом углеродистых и легированных сталей

Марка свариваемой стали

Марка сварочной проволоки по ГОСТ 2246 или техническим условиям

Марка сварочного флюса по ГОСТ 9087 или техническим условиям

Допускаемая температура эксплуатации сварных соединений

20, 16К, 18К, 20К, 22К, 20ЮЧ, 09Г2С, 10Г2С1, 15ГС, 16ГС, 10Г2, 08Г2СФБ, 08Г2МФБ, 14ХГС; 20К, 09Г2С, 16ГС - основной слой двухслойной стали

Св-08ГА, Св-10ГА

АН-348А, ОСЦ-45, АН-60

По обязательному приложению 1, 2, 3, но не ниже минус 30 °С

Св-08ГС

АН-43

СВ-08Г2С, Св-08ГСМТ

АН-17М, АН-43

По обязательному приложению 1, 2, 3, но не ниже минус 40 °С

12ХГНМ, 12ХГНМФ, 15ХГНМФТ

Св-10ХГСН2МТ

ТУ 14-1-301

АН-17М, АН-43

От минус 40 °С до 400 °С

12МХ; 12МХ - основной слой двухслойной стали

Св-08МХ

АН-43, АН-22, АН-348А

Не ниже 0 °С, верхний предел по обязательному приложению 1, 2, 3

12ХМ, 15ХМ; 12ХМ - основной слой двухслойной стали

Св-08ХМ, Св-10Х2М

ТУ 14-1-2219

30ХМА

Св-18ХМА

АН-43

12Х1МФ, 15Х1М1Ф

Св-08ХМФА

АН-42

ТУ 5.965-4075

10Х2ГНМ, 10Х2ГНМА

Св-04Х2МА, Св-10Х3ГМ

ТУ 14-1-4181

АН-47

10Х2М1, 1Х2М1; 10Х2М1 - основной слой двухслойной стали

Св-04Х2МА

КФ-16

ТУ 5.965-4074

12Х2МФА, 15Х2МФА, 15Х2НМФА

Св-10ХМФТ

АН-42

ТУ 5.965-4075

Св-10Х5М

АН-42

ТУ 5.965-4075,

АН-43

22Х3М, 20Х2МА, 20Х2М

Св-10Х5М

АН-43, АН-42

ТУ 5.965-4075

от минус 40 °С до 400 °С

15Х5М

от 0 °С до 510 °С

ПРИЛОЖЕНИЕ 14

Обязательное

Сварочные материалы для автоматической сварки под флюсом высоколегированных сталей

Марка свариваемой стали

Марка сварочной проволоки по ГОСТ 2246 или техническим условиям

Марка сварочного флюса по ГОСТ 9087 или техническим условиям

Допустимая температура эксплуатации сварных соединений

Требования по стойкости против МКК

 

08Х22Н6Т

Св-04Х19Н9, Св-06Х19Н9Т

АН-26С

От минус 40° С до 300 °С

нет

 

Св-07Х18Н9ТЮ, Св-05Х20Н9ФБС, Св-06Х21Н7БТ (ЭП-500)

ТУ 14-1-1389

АН-26С, 48-0Ф-6

ОСТ 5.9206

есть

 

08Х21Н6М2Т

Св-04Х19Н11М3, Св-06ХГ9Н10М3Т

нет

 

Св-08Х19Н10М3Б, Св-06Х20Н11М3ТБ

есть

 

08Х18Н10Т, 12Х18Н10Т, 08Х18Н12Б, 12Х18Н9Т

Св-04Х19Н9, Св-06Х19Н9Т, Св-06Х25Н12ТЮ

От минус 40 °С до 400 °С

нет

 

Св-07Х19Н10Б, Св-08Х25Н13БТЮ, Св-08Х19Н10Г2Б

От минус 40 °С до 350 °С

есть

 

08Х17Н13М2Т, 10Х17Н13М2Т, 10Х17Н13М3Т, 08Х17Н15М3Т

Св-04Х19Н11М3

От минус 40 °С до 350 °С

нет

 

Св-08Х19Н10М3Б, Св-06Х20Н11М3ТБ

есть

 

Св-01Х19Н18Г10АМ4 (ЭП-690) ТУ 14-1-1892

АН-18

03Х17Н14М3

 

ПРИЛОЖЕНИЕ 15

Обязательное

Сварочные материалы для автоматической сварки под флюсом двухслойных сталей и антикоррозионной наплавки

Марка свариваемой стали

Переходной слой

Облицовочный слой

Требования по стойкости против МКК

Марка сварочной проволоки по ГОСТ 2246 или техническим условиям

Марка сварочного флюса по ГОСТ 9087 или техническим условиям

Марка сварочной проволоки по ГОСТ 2246 или техническим условиям

Марка сварочного флюса по ГОСТ 9087 или техническим условиям

20К, 09Г2С,

16ГС + 08Х18Н10Т;

20К, 09Г2С,

16ГС + 12Х18Н10Т;

12МХ, 12ХМ,

10Х2М1 + 08Х18Н10Т;

12МХ,

12ХМ + 12Х18Н10Т

Св-07Х25Н13,

Св-06Х25Н12ТЮ,

Св-07Х25Н12Г2Т,

Св-10Х16Н25АМ6

АН-26С, АН-26П, 48-0Ф-6

ОСТ 5.9206

Св-07Х25Н13, Св-06Х25Н12ТЮ, Св-07Х25Н12Г2Т, Св-04Х19Н9, Св-06Х19Н9Т, Св-04Х19Н11М3

АН-26С, АН-26П, 48-0Ф-6

ОСТ 5.9206

нет

Св-07Х19Н10Б, Св-08Х25Н13БТЮ, Св-08Х19Н10Г2Б

есть

20К + 08Х17Н15М3Т;

09Г2С,

16ГС + 10Х17Н13М3Т

Св-04Х19Н11М3

нет

Св-06Х20Н11М3ТБ, Св-08Х19Н10М3Б

есть

Св-01Х19Н18Г10АМ4

АН-18

20, 22К, 09Г2С, 22Х3М, 20Х2МА, 20Х2М антикоррозионная наплавка

Св-07Х25Н13, Св-06Х25Н12ТЮ, Св-07Х25Н12Г2Т, Св-04Х19Н9, Св-06Х19Н9Т, Св-04Х19Н11М3

АН-26С, АН-26П, 48-0Ф-6

ОСТ 5.9206

нет

Св-07Х19Н10Б,

Св-08Х25Н13БТЮ,

СвВ-08Х19Н10Г2Б

есть

Св-01Х19Н18Г10АМ4

АН-18

Лента

Св-07Х25Н13

ТУ 14-1-3146

АН-26ПЧ

ТУ ИЭС-347

48-ОФ-10

ОСТ 5.9206

Лента

Св-07Х25Н13

ТУ 14-1-3146

АН-26ПЧ

ТУ ИЭС-347

48-ОФ-10

ОСТ 5.9206

нет

Лента

Св-08Х19Н10Г2Б

ТУ 14-1-3146

есть

ЛС-02Х25Н22АГ4М2

ТУ ИЭС-406

АН-26ПЧ

ТУ ИЭС-347

ЛС-02Х25Н22АГ4М2

ТУ ИЭС-406

АН-26ПЧ

ТУ ИЭС-347

Примечания:

1. Сварочные материалы для основного слоя двухслойных сталей назначать по обязательному приложению 10, 13.

2. Допустимая температура эксплуатации сварных соединений двухслойных сталей по обязательному приложению 1, с учетом примечания 3), табл. 2.

3. Допустимая температура эксплуатации элементов с антикоррозионной наплавкой назначается по основному металлу обязательные приложения 1, 2, 3) с учетом примечания 3) табл. 2, но не ниже минус 40 °С.

4. Сварочные материалы для антикоррозионной наплавки обеспечивает стойкость против межкристаллитной коррозии при температуре эксплуатации не выше 350 °С.

5. Антикоррозионную наплавку элементов из стали 12Х2МФА, 15Х2МФА, 15Х2НМФА производить в соответствии с ОСТ 5.9669.

ПРИЛОЖЕНИЕ 16

Обязательное

Сварочные материалы для автоматической наплавки под флюсом элементов рулонированных сосудов

Марка стали наплавляемого элемента

Марка сварочной проволоки по ГОСТ 2246 или техническим условиям

Марка сварочного флюса по ГОСТ 9087 или техническим условиям

Допустимая температура эксплуатации сварных соединений

08Г2СФБ, 08Г2МФБ

Св-08ГА с крошкой

Св-08ГА или Св-08А*

АН-60

не ниже минус 20 °С

торцы обечаек

Св-08ГА с крошкой

Св-08Г2С*

не ниже минус 30 °С

Св-08Г2С с крошкой

Св-08А*

Св-08ГСМТ с крошкой

Св-08ГА или Св-08А*

не ниже минус 40 °С

12ХГНМ, 12ХГНМФ, 15ХГНМФТ

торцы обечаек

Св-10ХГСН2МТ

ТУ 14-1-301

АН-17М

не ниже минус 40 °С

Св-08ХМ*

АН-60

Св-08ХМ с крошкой

Св-08ХМ или Св-08Г2С*

22Х3М, 20Х2МА, 20Х2М

под сварку с обечайками из стали 08Г2СФБ, 08Г2МФБ

Св-10НМА

АН-43, АН-42

ТУ 5.965-4075

Св-08ГА с крошкой

Св-08Г2С или Св-10НМА*

АН-60

не ниже минус 20 °С

Св-10НМА с крошкой

Св-08ГА или Св-08А*

Св-08ГСМТ с крошкой

Св-08А*

не ниже минус 40 °С

22Х3М, 20Х2МА, 20Х2М

под сварку с обечайками из стали 12ХГНМ, 12ХГНМФ, 15ХГНМФТ

Св-10ХГСН2МТ

ТУ 14-1-301

АН-43, АН-17М

* Широкослойная наплавка колеблющимся электродом.

Примечание. Наплавка с колебаниями электрода по слою крошки 22Х3М, 20Х2МА и 20Х2М должна выполняться в три слоя со снятием последнего на глубину не менее 10 мм.

ПРИЛОЖЕНИЕ 17

Обязательное

Сварочные материалы для аргонодуговой сварки углеродистых и легированных сталей

Марка свариваемой стали

Марка сварочной проволоки по ГОСТ 2246 или техническим условиям

Допустимая температура эксплуатации сварных соединений

20, 16К, 18К, 20К 22К, 20ЮЧ, 09Г2С, 10Г2С1, 15ГС, 16ГС, 08Г2СФБ, 08Г2МФБ, 14ХГС; 20К, 09Г2С, 16ГС - основной слой двухслойной стали

СВ-08Г2С

По обязательному приложению 1, 2, 3, но не ниже минус 40 °С

12ХГНМ, 12ХГНМФ, 15ХГНМФТ

Св-10ХГСН2МТ

ТУ 14-1-301

От минус 40 °С до 400 °С

12МХ, 12ХМ, 15ХМН2МХ, 12ХМ - основной слой двухслойной стали

Св-10ХГ2СМА, Св-08ХМ

Не ниже 0 °С, верхний предел по обязательному приложению 1, 2, 3

30ХМА

Св-18ХМА, Св-08ХМ

12Х1МФ, 15Х1М1Ф

Св-08ХМФА, Св-08ХГСМФА

10Х2ГНМ, 10Х2ГНМА, 10Х2М1, 1Х2М1; 10Х2М1 - основной слой двухслойной стали

Св-08Х3Г2СМ, Св-04Х2МА

22Х3М, 20Х2МА, 20Х2М

Св-10Х5М, Св-08ХМ

От минус 40 °С до 400 °С

15Х5М

От 0 °С до 510 °С

Примечания:

1. Проволоки марки Св-08ХМ, Св-08ХМФА можно применять при содержании кремния не менее 0,22 %.

2. Аргон по ГОСТ 10157.

ПРИЛОЖЕНИЕ 18

Обязательное

Сварочные материалы для аргонодуговой сварки высоколегированных сталей

Марка свариваемой стали

Марка сварочной проволоки по ГОСТ 2246 или техническим условиям

Допустимая температура эксплуатации сварных соединений

Требования по стойкости против МКК

08Х22Н6Т

Св-04Х19Н9, Св-06Х19Н9Т

От минус 40 °С до 300 °С

нет

Св-07Х19Н10Б, Св-07Х18Н9ТЮ

есть

08Х21Н6М2Т

Св-04Х19Н11М3

нет

Св-06Х19Н10М3Т, Св-06Х20Н11М3ТБ, Св-08Х19Н10М3Б

есть

08Х18Н10Т, 12Х18Н10Т, 08Х18Н12Б, 12Х18Н9Т в том числе коррозионностойкого слоя двухслойной стали по переходному слою

Св-01Х19Н9, Св-04Х19Н9

От минус 40 °С до 400 °С

нет

Св-06Х19Н9Т, Св-07Х19Н10Б, Св-07Х19Н9ТЮ, Св-05Х20Н9ФБС

От минус 40 °С до 350 °С

есть

08Х17М13М2Т, 10Х17Н13М2Т, 10Х17Н13М3Т, 08Х17Н15М3Т в том числе коррозионно-стойкого слоя двухслойной стали по переходному слою

Св-04Х19Н11М3

нет

Св-06Х19Н10М3Т, Св-06Х20Н11М3ТБ, Св-08Х19Н10М3Б

есть

Св-01Х19Н18Г10АМ4

ТУ 14-1-1892

03Х17Н14М3

Св-01Х19Н18Г10АМ4

ТУ 14-1-1892

Примечание. Аргон по ГОСТ 10157.

ПРИЛОЖЕНИЕ 19

Обязательное

Сварочные материалы для электрошлаковой сварки углеродистых и легированных сталей

Марка свариваемой стали

Марка сварочной проволоки по ГОСТ 2246 или техническим условиям

Марка сварочного флюса по ГОСТ 9087 или техническим условиям

Допускаемая температура эксплуатации сварных соединений

20, 18К, 20К, 22К, 20ЮЧ, 09Г2С, 10Г2С1, 16ГС

Св-10Г2, Св-08ГС, Св-08Г2С1, Св-08ГСМТ

АН-8, АН-22, АН-9

ТУ ИЭС 201;

АН-9У

ТУ ИЭС 291;

АН-8М

ПО 112-186

ПО Уралхиммаш

По обязательному приложению 1, 2, 3, но не ниже минус 40 °С

12МХ, 12ХМ

Св-10ХГ2СМА, Св-08ХМ, Св-04Х2МА

Не ниже 0 °С, верхний предел по обязательному приложению 1, 2, 3

10Х2ГНМ, 10Х2ГНМА

Св-08Х3ГМ

ТУ 14-1-4181

АН-8, АН-9У

ТУ ИЭС-291

12Х2МФА, 15Х2МФА, 15Х2НМФА

Св-13Х2МФТ

48-0Ф-6

ОСТ 5.9206

22Х3М, 20Х2МА, 20Х2М

Св-08Х3Г2СМ

АН-8, АН-8М

ПО 112-186

ПО Уралхиммаш

АН-9У ТУ ИЭС-291

от минус 40 °С до 400 °С

ПРИЛОЖЕНИЕ 20

Обязательное

КОНСТРУКТИВНЫЕ ЭЛЕМЕНТЫ РАЗДЕЛКИ КРОМОК ПОД НАПЛАВКУ И СВАРКУ

Разделка кромок под автоматическую наплавку торцев рулонированных обечаек

Черт. 1

Разделка кромок под автоматическую наплавку торцев монолитных обечаек и концевых деталей из хромомолибденовых сталей с толщиной стенки до 300 мм

под низколегированную наплавку

под местную антикоррозионную наплавку

Размер «В» (черт. б) назначается для сосудов, работающих в контакте с водородосодержащими средами, техническим проектом, в остальных случаях - не менее 10 мм.

Черт. 2

Разделка кромок под ручную дуговую и автоматическую низколегированную наплавку штуцеров из хромомолибденовых сталей при вварке в рулонированную обечайку

При двухсторонней сварке на полную толщину стенки обечайки

Размеры «С», «h», «l» назначаются чертежом проекта

Черт. 3

Разделка кромок под вварку штуцеров в рулонированные обечайки

Односторонняя ручная дуговая сварка на неполную толщину стенки обечайки

а) Штуцер из углеродистой или низколегированной стали.

б) Штуцер из хромомолибденовой стали. Центральная труба из биметалла.

Примечание: 1. Показано сечение шва по образующей рулонированной обечайки.

2. Размер «К» назначается чертежом проекта

Черт. 4

Разделка кромок под вварку штуцеров в рулонированную обечайку

Двухсторонняя ручная дуговая сварка на полную толщину стенки обечайки

а) Штуцер из углеродистой или низколегированной стали

б) Штуцер из хромомолибденовой стали, центральная труба из биметалла

Примечание: Размеры «К» и «К1» должны быть примерно равными.

Черт. 5

Разделка кромок под вварку штуцеров в рулонированную обечайку методом «поперечной горки»

а) Штуцер из углеродистой или низколегированной стали

б) Штуцер из хромомолибденовой стали

Черт. 6

Разделка кромок под приварку штуцеров к монолитным деталям

Ручная дуговая сварка

а) на удаляемом подкладном кольце

б) на удаляемом усе

Примечание: Для штуцеров Dу 150 мм угол b = 75°, а для Dу более 150 мм угол b изменяется по длине развертки торца штуцера в пределах 75° ... 90° и назначается рабочей документацией.

Черт. 7

Разделка кромок под автоматическую сварку кольцевых швов рулонированных с монолитными обечайками и концевыми частями из углеродистой или низколегированной стали

Центральная обечайка из углеродистой или низколегированной стали

Центральная обечайка из двухслойной стали

а, б) Для обечаек и концевых частей с внутренним диаметром свыше 1200 мм. Автоматическая сварка внутренней части разделки.

в, г) Для обечаек и концевых частей с внутренним диаметром до 1200 мм. Ручная дуговая сварка внутренней части разделки.

Dp = Dвн + 2(h + D) + 3 мм,

где Dp - диаметр разделки кромки, мм,

Dвн - номинальный внутренний диаметр обечайки, мм,

h - толщина плакирующего слоя, мм,

D - овальность рулонированной обечайки, мм

Черт. 8

Разделка кромок под автоматическую сварку кольцевых швов рулонированных обечаек

Центральная обечайка из углеродистой или низколегированной стали

Центральная обечайка из двухслойной стали

а), б) для обечаек внутренним диаметром свыше 1200 мм. Автоматическая сварка внутренней части разделки.

в), г) Для обечаек внутренним диаметром до 1200 мм. Ручная дуговая сварка внутренней части разделки.

Dp = Dвн + 2(h + D) + 3 (мм), где Dвн - номинальный внутренний диаметр обечайки, h - толщина плакирующего слоя, D - овальность обечайки.

Черт. 9

Разделка кромок под автоматическую сварку кольцевых швов рулонированных обечаек с монолитными обечайками и концевыми частями из хромомолибденовой стали

Центральная обечайка из углеродистой или низколегированной стали

Центральная обечайка из двухслойной стали

а), б) - Для обечаек и концевых частей с внутренним диаметром свыше 1200 мм. Автоматическая сварка внутренней части разделки.

в), г) - Для обечаек и концевых частей с внутренним диаметром до 1200 мм. Ручная дуговая сварка внутренней части разделки.

Dp = Dвн + 2в + 2D + 3 (мм), где в - толщина антикоррозионной наплавки, D - овальность рулонированной обечайки, Dвн - номинальный внутренний диаметр обечайки.

Черт. 10

Разделка кромок под автоматическую сварку кольцевых швов монолитных деталей с толщиной стенки до 300 мм

На удаляемом подкладном кольце                            На удаляемом усе

С ручной заваркой внутренней                      С автоматической сваркой под слоем

части разделки                                                   флюса внутренней части разделки

Черт. 11

ПРИЛОЖЕНИЕ 21

Обязательное

РЕГЛАМЕНТ
по пуску сосудов и аппаратов высокого давления в зимнее время года

1. Пуск в зимнее время сосудов и аппаратов, установленных на открытом воздухе или в необогреваемых помещениях должен осуществляться в соответствии с графиком

Р1 - давление пуска;

Р2 - номинальное рабочее давление в аппарате;

t - минимальная температура, при которой сталь и ее сварные соединения допускаются в эксплуатацию на давление Р2.

Величина давления Р1 должна определяться по формуле

Р1 = 0,35Р2

Значения температур t для применяемых марок стали приведены в таблице 1.

Таблица 1

Марки стали

Значение температур t, °С

Листовая сталь 16К, 18К, 22К, 10Х2М1

минус 20

12Х2МФ

0

09Г2С, 10Г2С1, 16ГС, 17Г1С, 12МХ, 12ХМ, 10Х2ГНМ, 10Х2ГНМА-А, 15Х2НМФА

минус 40

Рулонная сталь

08Г2СФБ, 08Г2МФБ, 12ХГНМ, 12ХГНМФ, 15ХГНМФТ

минус 40

Поковки

20, 22К

минус 30

09Г2С, 15ГС, 16ГС, 14ХГС, 22Х3М, 20Х2МА, 20Х2М, 15Х2МФА, 18Х2МФА, 25Х2МФА, 25Х3МФА, 30ХМА, 38ХН3МФА, 18Х3МР, 08X13, 12X13, 20X13, 30X13

минус 40

Стали и сплавы высоколегированные и коррозионностойкие

08Х22Н6Т, 08Х21Н6М2Т

минус 40

08Х18Н10Т, 08Х18Н12Т, 12Х18Н9Т, 12Х18Н10Т, 08Х17Н13М2Т, 10Х17Н13М2Т, 10Х17Н13М3Т, 08Х17Н15М3Т; 03Х17Н14М3, ХН32Т, ХН78Т

минус 70

2. При остановке сосуда в зимнее время снижение давления при понижении температуры стенки должно отвечать требованиям графика.

3. Скорость подъема или снижения температуры рекомендуется не более 30 °С/ч, если нет других указаний в технической документации.

4. Достижение давления Р1 и Р2 рекомендуется осуществлять постепенно по 0,25 Р1 (или Р2) в течение часа, с 15-ти минутными выдержками давлений на ступенях 0,25 Р12); 0,5 Р12); 0,75 Р12).

5. При необходимости испытания на плотность сосуда на рабочее давление в зимнее время должны выполняться все требования, предъявляемые к пуску.

6. Для сосудов, корпуса которых имеют сварные швы толщиной 160 мм и более, температура t должна быть не ниже минус 20 °С.

ИНФОРМАЦИОННЫЕ ДАННЫЕ

1. УТВЕРЖДЕН И ВВЕДЕН В ДЕЙСТВИЕ УКАЗАНИЕМ МИНИСТЕРСТВА ТЯЖЕЛОГО МАШИНОСТРОЕНИЯ СССР № ВА-002-1-11125 от 27 ноября 1990 г.

2. РАЗРАБОТЧИКИ: А.П. Алябьев (руководитель темы); Е.Р. Хисматулин, канд. техн. наук; В.И. Лившиц, канд. техн. наук; А.К. Древин, канд. техн. наук; В.В. Иванцов, канд. техн. наук; П.Г. Пимштейн, д-р техн. наук; Л.В. Перегудов; А.Г. Колмаков; В.И. Этингов, канд. техн. наук; Е.Д. Кудрикова; Б.А. Попов; Р.Р. Чемрукова; В.Д. Молчанова; Г.Г. Золотенин; Б.И. Бондаренко; Б.Ф. Юрайдо, канд. техн. наук; Н.К. Глобин, канд. техн. наук; В.Б. Ромашевский; В.В. Геймур; В.А. Синцов, канд. техн. наук; В.Ф. Андрющенко; В.Г. Куроптев; М.А. Шаньгин; Б.Г. Зисельман; Ф.А. Батаногов; Н.Н. Корф; Ю.Д. Пащенко

3. ЗАРЕГИСТРИРОВАН Государственным комитетом СССР по управлению качеством продукции и стандартам № ________ от _______ 199 г.

4. Срок первой проверки - 1996 г. периодичность проверки - 5 лет

5. ВЗАМЕН ГОСТ 11879-81, ОСТ 26-01-9-80, ОСТ 26-01-221-86

6. ССЫЛОЧНЫЕ НОРМАТИВНО-ТЕХНИЧЕСКИЕ ДОКУМЕНТЫ

Обозначение НТД, на который дана ссылка

Номер пункта, подпункта, перечисления, приложения

ГОСТ 10-88

8.4.2

ГОСТ 162-80

(СТ СЭВ 704-77, СТ СЭВ 708-77, СТ СЭВ 1309-78)

8.4.6

ГОСТ 427-75

8.4.5

ГОСТ 495-77

(СТ СЭВ 955-78)

4.6.6, прилож. 6

ГОСТ 550-75

прилож. 3

ГОСТ 1050-74

4.6.3, прилож. 2, 3, 4, 5, 6, 9, 10, 11

ГОСТ 1133-71

5.9.3

ГОСТ 1412-85

(СТ СЭВ 4560-84)

4.6.7

ГОСТ 1497-84

8.2.3, 8.6.3, табл. 15

ГОСТ 2246-70

прилож. 15, 16, 17

ГОСТ 2789-73

(СТ СЭВ 638-77)

5.2.3.9, табл. 4, 6

ГОСТ 2590-88

(СТ СЭВ 3898-82)

5.9.3

ГОСТ 2991-85

9.3.5

ГОСТ 3242-79

8.7.2.1, 8.8.1.2

ГОСТ 4543-71

прилож. 2, 3, 4, 5, 6, 9, 10

ГОСТ 5264-80

5.2.3.3, 5.2.4.4, 11.7

ГОСТ 5520-79 (СТ СЭВ 103-74)

4.2.2, прилож. 1, 2, 7, 8

ГОСТ 5632-72

ГОСТ 5639-82

(СТ СЭВ 1959-79)

прилож. 1, 2, 3, 4, 5, 6, 7, 8, 9

5.13.6

ГОСТ 5949-75

4.5.2, прилож. 4

ГОСТ 5959-80

9.3.5

ГОСТ 6032-89

(СТ СЭВ 4076-83)

4.1.5, 4.5.2, 4.7.5, 8.2.5, 8.7.7

ГОСТ 6533-78

5.3.9

ГОСТ 6636-69

(СТ СЭВ 514-87)

1.4

ГОСТ 6996-66

(СТ СЭВ 3521-82, СТ СЭВ 3524-82)

табл. 15

ГОСТ 7062-79

4.3.2

ГОСТ 7350-77

4.2.4, прилож. 1

ГОСТ 7502-80

8.4.4, 8.4.7

ГОСТ 7512-82

8.8.1.8, 8.9.9

ГОСТ 7564-73

(СТ СЭВ 2859-81, ИСО 377-85)

8.6.3, 8.2.3

ГОСТ 7565-81

(СТ СЭВ 466-77)

4.3.2

ГОСТ 7829-70

4.3.2

ГОСТ 8026-75

(СТ СЭВ 243-75)

8.4.6

ГОСТ 8273-75

9.3.6

ГОСТ 8479-70

4.6.3, 8.6.2, прилож. 2, 11

ГОСТ 8713-79

5.2.3.3, 5.2.4.4, 5.11.7

ГОСТ 8733-87

прилож. 3

ГОСТ 8828-75

9.3.6

ГОСТ 9087-81

прилож. 15, 16, 17

ГОСТ 9399-81

3,17, прилож. 5

ГОСТ 9454-78

(СТ СЭВ 472-77, СТ СЭВ 473-77)

8.2.3, 8.6.3

ГОСТ 9466-75

4.7.4, 8.7, 8.2, прилож. 14

ГОСТ 9467-75

прилож. 14

ГОСТ 9493-80

(СТ СЭВ 1327-78)

1.3

ГОСТ 9569-79

9.3.6

ГОСТ 9617-76

1.4

ГОСТ 9651-84

8.2.3, 8.6.3, табл. 15

ГОСТ 9940-81

прилож. 3

ГОСТ 9941-81

прилож. 3

ГОСТ 10052-75

прилож. 14

ГОСТ 10157-79

прилож. 17

ГОСТ 10198-78

9.3.5

ГОСТ 10493-81

3.17, 5.8.1, прилож. 5

ГОСТ 10494-80

3.17, прилож. 5

ГОСТ 10495-80

3.17, прилож. 5

ГОСТ 10706-76

(СТ СЭВ 489-77)

4.4.1

ГОСТ 10707-80

(СТ СЭВ 1479-78, СТ СЭВ 1480-78)

4.4.1

ГОСТ 10885-85

5.2.3.9, 8.2.2, 8.9.3, прилож. 1, 8

ГОСТ 11447-80

3.17, прилож. 5

ГОСТ 11878-66

4.7.4

ГОСТ 13372-78

1.4

ГОСТ 14019-80

(СТ СЭВ 474-77)

8.2.3

ГОСТ 14068-79

табл. 12

ГОСТ 14192-77

(СТ СЭВ 257-80, СТ СЭВ 258-81)

9.1.1

ГОСТ 14249-80

(СТ СЭВ 1040-88, СТ СЭВ 1041-88)

1.5

ГОСТ 14771-76

5.11.7

ГОСТ 14782-86

8.8.1.9

ГОСТ 15150-69

(СТ СЭВ 458-77, СТ СЭВ 460-77, СТ СЭВ 991-78, СТ СЭВ 6136-37)

2.3, 2, 9.3.11

ГОСТ 15164-78

5.11.7

ГОСТ 16093-81

(СТ СЭВ 640-77)

табл. 6

ГОСТ 16098-80

5.11.7, 5.2.3.3

ГОСТ 18126-72

5.9.14

ГОСТ 18442-80

5.9.8, 8.6.7, 8.8.1.2, 8.9.8

ГОСТ 19150-84

табл. 6

ГОСТ 19281-89

(ИСО 4950/2, ИСО 4950/3, ИСО 4951, ИСО 4995, ИСО 4996, ИСО 5952)

прилож. 1, 2, 3, 4, 5, 5, 7, 8, 9; 4.2.2

ГОСТ 19782-74

табл. 12

ГОСТ 19903-74

(СТ СЭВ 1969-79, СТ СЭВ 3901-82)

4.6.3, 5.2.3.9

ГОСТ 20072-74

прилож. 1 ¸ 10

ГОСТ 21105-87

5.9.8, 8.6.7, 8.8.1.2, 8.9.8

ГОСТ 21631-76

4.6.6, прилож. 6

ГОСТ 22727-88

8.9.2

ГОСТ 22761-77

8.6.5

ГОСТ 22790-89

4.4.4, 5.6.1, прилож. 2, 8

ГОСТ 22791-83

4.4.4

ГОСТ 22826-83

4.4.4

ГОСТ 22975-78

(СТ СЭВ 2190-80)

8.6.5

ГОСТ 23055-78

8.8.1.8, 8.9.9

ГОСТ 23170-78Е

9.3.9

ГОСТ 23949-80

4.7.6

ГОСТ 24444-87

3.15

ГОСТ 24507-80

8.6.6, 8.8.3.4

ГОСТ 24634-81

9.3.9, табл. 6

ГОСТ 24755-89

(СТ СЭВ 1639-88)

3.3

ГОСТ 24756-81

(СТ СЭВ 1644-79)

2.3.1

ГОСТ 25054-81

прилож. 2

ГОСТ 25215-82

(СТ СЭВ 3027-81)

3.3, 5.3.5, 8, 10.6.1, 8.10.7.4

ГОСТ 25346-89

(СТ СЭВ 145-88)

табл. 4

ГОСТ 25347-82

(СТ СЭВ 144-75)

5.1.11, 5.2.1.3, 5.4.2, табл. 4

ГОСТ 25706-83

8.8.1.4

ГОСТ 25773-83

(СТ СЭВ 289-82)

6.2.2, 5.11.14

ГОСТ 26303-84

(СТ СЭВ 4350-83)

3.3

ГОСТ 26364-84

8.7.8.2

ГОСТ 9.014-78

(СТ СЭВ 992-78)

9.2.3, 9.2.4, 9.2.7, 9.3.9

ГОСТ 9.032-74

9.2.4

ГОСТ 9.054-75

9.2.4

ГОСТ 9.104-79

9.2.4

ГОСТ 9.105.80

9.2.2

ГОСТ 9.402-80

(СТ СЭВ 5732-86)

9.2.2

ГОСТ 9.404-81

9.2.4

ГОСТ 12.1.010-76

(СТ СЭВ 3517-81)

2.6.1, 3.5

ГОСТ 12.1.004-85

2.6.1

ГОСТ 12.1.005-88

2.6.9

ГОСТ 12.1.007-76

2.6.9, 3.5

ГОСТ 12.1.011-78

(СТ СЭВ 2775-80)

3.5

ГОСТ 12.1.018-86

(СТ СЭВ 5037-85)

2.6.2

ГОСТ 12.1.019-79

(СТ СЭВ 4830-84)

2.6.2

ГОСТ 12.2.003-74

(СТ СЭВ 1085-78)

2.6.1

ГОСТ 12.3.002-75

(СТ СЭВ 1728-79)

2.6.4

ГОСТ 12.3.003-86

2.6.5

ГОСТ 12.4.026-76

2.6.3

ГОСТ 12.4.124-83

2.6.2

ГОСТ 15.001-88

3.2, 7.1

ГОСТ 20.39.108-85

2.4.3

ГОСТ 30.001-83

2.4.3

СТ СЭВ 5206-85

3.3

ОСТ 5.9206-75

прилож. 15

ОСТ 26-3-87

4.7.3, 5.8.5

ОСТ 26-5-88

8.8.1.9

ОСТ 26-291-87

4.4.3, 5.10.5.15.1, 4.4.1, вводная

ОСТ 26-425-79 ¸ ОСТ 26-432-79

5.8.1

ОСТ 26-1046-87

3.3, 1.5, 5.3.1, 8.20.6.1, 8.10.7.4

ОСТ 26-2044-83

8.8.1.9

ОСТ 26-01-84-78

8.8.1.2

ОСТ 26-01-86-88

прилож. 2

ОСТ 26-01-134-81

8.8.3.4, 8.8.3.7

ОСТ 26-01-135-81

4.3.1, 4.3.2, 4.6.3, 5.2.1.1, 5.6.1, 8.2.10

ОСТ 26-01-163-81

8.8.1.9

ОСТ 26-01-1434-87

4.4.2.2, табл. 2

ОСТ 26-11-03-84

8.8.1.8

ОСТ 26-15-024-84

3.10

ОСТ 38-128-75

табл. 12

ОСТ 108.050.113-87

прилож. 2

ОСТ 108109.01-79

прилож. 7

РД 26-01-143-83

2.2.1, 2.2.2

РД 26-01-168-88

5.8.2

РД 26-17-049-85

4.7.3

РД 50-650-87

2.2.1, 2.2.2

ОСТ 26-01-144-81

4.6

РТМ 26-44-82

5.15.2, табл. 11

ТУ 2-034-225-87

8.4.6

ТУ 3-811-74

прилож. 2, 9

ТУ 5-965.4015-72

прилож. 14

ТУ 5.965.4075-74

прилож. 15

ТУ 11-80

прилож. 2

ТУ 14-1-264-72

прилож. 4

ТУ 14-1-301-72

прилож. 15

ТУ 14-1-378-72

прилож. 4

ТУ 14-1-1151-82

прилож. 1

ТУ 14-1-1671-76

прилож. 4

ТУ 14-1-1892-76

прилож. 15, 17

ТУ 14-1-2026-77

4.2.3, прилож. 1

ТУ 14-1-2393-78

прилож. 15

ТУ 14-1-2676-79

прилож. 1

ТУ 14-1-3102-81

прилож. 1, 7

ТУ 14-1-3146-81

прилож. 15

ТУ 14-1-3226-81

4.2.3, прилож. 1

ТУ 14-1-3332-82

прилож. 4

ТУ 14-1-3609-83

4.2.3, прилож. 1

ТУ 14-1-4034-85

прилож. 1

ТУ 14-3-251-74

прилож. 3

ТУ 14-3-420-75

прилож. 3

ТУ 14-3-433-75

прилож. 3

Ту 14-3-460-75

прилож. 3

Ту 14-3-500-76

прилож. 3

ТУ 14-3-517-76

прилож. 3

ТУ 14-3-1652-89

прилож. 8

ТУ 14-3-1073-82

прилож. 3

ТУ 14-3-1074-82

прилож. 3

ТУ 14-4-598-75

прилож. 4

ТУ 14-25-42-78

прилож. 1

ТУ 14.108.11.928-87

прилож. 1

ТУ 14-168-23-78

прилож. 14

ТУ 14-1154-74

прилож. 1

ТУ 24-3-15-865-75

прилож. 2

ТУ 24-10-002-73

прилож. 1, 7

ТУ 24-315-865-75

прилож. 9

ТУ 26-0303-1532-84

прилож. 2

ТУ 38-1-01-58-73

табл. 12

ТУ 38-1-01-87-75

табл. 12

ТУ 38-1-01-594-75

табл. 12

ТУ 108.11.928-87

прилож. 7

ТУ 108-131-86

прилож. 1, 2, 7, 9

ТУ 108.11.917-87

прилож. 2, 9

ТУ 108-1029-81

прилож. 5, 10

ТУ 410-69

прилож. 8

ТУ ИЭС-347-82

прилож. 16

ТУ ИЭС-406-584

прилож. 15

СОДЕРЖАНИЕ

1. Основные параметры и размеры.. 2

2. Основные технико-экономические требования. 4

2.1. Требования назначения. 4

2.2. Требования надежности. 4

2.3. Требования стойкости к внешним воздействиям.. 4

2.4. Требования эргономики и технической эстетики. 5

2.5. Требования технического освидетельствования, обслуживания и ремонта. 5

2.6. Требования безопасности и охраны природы.. 5

2.7. Требования к транспортабельности. 6

3. Требования к конструкции. 6

4. Требования к материалам.. 8

4.1. Общие требования. 8

4.2. Сталь листовая и рулонная. 9

4.3. Поковки. 9

4.4. Трубы.. 9

4.5. Сортовая сталь. 10

4.6. Крепежные и уплотнительные детали. 10

4.7. Сварочные материалы.. 10

5. Требования к изготовлению.. 10

5.1. Общие требования. 10

5.2. Требования к обечайкам.. 12

5.2.1. Кованые. 12

5.2.2. Обечайки вальцованные и штампованные. 12

5.2.3. Центральные обечайки (для рулонированных сосудов) 13

5.2.4. Рулонированные обечайки. 14

5.3. Требования к выпуклым штампованным днищам, крышкам и горловинам.. 16

5.4. Требования к корпусам.. 17

5.5. Требования к конструктивной, технологической, антикоррозионной наплавке и футеровке. 18

5.6. Требования к изготовлению, приварке (вварке) штуцеров к корпусу. 18

5.7. Требования к опорам и приварным элементам.. 20

5.8. Требования к внутренним устройствам.. 20

5.9. Требования к сварке. 20

5.10. Требования к сборке и сварке корпусов. 23

5.11. Требования к металлу шва и сварным соединениям.. 24

5.12. Требования к исправлению дефектов в сварных соединениях. 26

5.13. Требования к термической обработке сварных соединений корпусов и их элементов. 27

5.14. Требования к окончательной сборке. 31

6. Комплектность и документация. 31

7. Правила приемки. 33

8. Методы контроля и испытаний. 33

8.1. Общие требования. 33

8.2. Контроль качества листовой и рулонной стали, штампованных заготовок, поковок и кованокатанных плит. 34

8.3. Контроль плотности рулонированных обечаек. 35

8.4. Контроль основных геометрических размеров корпуса. 35

8.5. Контроль качества сварных соединений и наплавок. 36

8.5.1. Общие требования. 36

8.5.2. Внешний осмотр и измерения сварных соединений и наплавок. 39

8.5.3. Контрольные сварные соединения. 39

8.5.4. Механические испытания сварных соединений. 40

8.5.5. Металлографические исследования сварных соединений. 49

8.5.6. Измерение твердости сварных соединений. 50

8.5.7. Испытание на межкристаллитную коррозию сварных соединений. 50

8.5.8. Контроль на содержание ферритной фазы.. 56

8.5.9. Стилоскопирование сварных соединений. 57

8.5.10. Контроль герметичности футеровки. 57

8.6. Неразрушающие методы контроля. 57

8.6.1. Общие требования. 57

8.6.2. Контроль листовой и рулонной стали. 58

8.6.3. Контроль поковок и штампованных заготовок. 58

8.6.4. Контроль сварных соединений и наплавок. 59

8.7. Оценка качества материалов, заготовок и сварных соединений по результатам неразрушающих методов контроля. 60

8.8. Гидравлическое испытание. 63

8.9. Испытания на плотность и герметичность. 66

9. Маркировка, консервация и окраска. Упаковка, транспортирование и хранение. 66

9.1. Маркировка. 66

9.2. Консервация и окраска. 67

9.3. Упаковка, транспортирование и хранение. 68

10. Указания по эксплуатации. 69

11. Гарантии изготовителя. 70

Приложение 1. Листовая и рулонная сталь. 71

Приложение 2. Поковки. 73

Приложение 3. Трубы стальные. 75

Приложение 4. Сортовая сталь (круглая и профильная) 76

Приложение 5. Сталь листовая и рулонная. Механические свойства и виды испытаний. 77

Приложение 6. Сталь листовая двуслойная. Механические свойства и виды испытаний. 88

Приложение 7. Поковки. Механические свойства. 90

Приложение 8. Трубы. Механические свойства и виды испытаний. 96

Приложение 9. Максимально допустимая температура применения сталей в водородосодержащих средах. 101

Приложение 10. Сварочные материалы для ручной электродуговой сварки углеродистых и легированных сталей. 102

Приложение 11. Сварочные материалы для ручной электродуговой сварки высоколегированных сталей. 102

Приложение 12. Сварочные материалы для ручной электродуговой сварки двухслойных сталей и антикоррозионной наплавки. 103

Приложение 13. Сварочные материалы для автоматической сварки под флюсом углеродистых и легированных сталей. 104

Приложение 14. Сварочные материалы для автоматической сварки под флюсом высоколегированных сталей. 104

Приложение 15. Сварочные материалы для автоматической сварки под флюсом двухслойных сталей и антикоррозионной наплавки. 105

Приложение 16. Сварочные материалы для автоматической наплавки под флюсом элементов рулонированных сосудов. 106

Приложение 17. Сварочные материалы для аргонодуговой сварки углеродистых и легированных сталей. 107

Приложение 18. Сварочные материалы для аргонодуговой сварки высоколегированных сталей. 107

Приложение 19. Сварочные материалы для электрошлаковой сварки углеродистых и легированных сталей. 108

Приложение 20. Конструктивные элементы разделки кромок под наплавку и сварку. 108

Приложение 21. Регламент по пуску сосудов и аппаратов высокого давления в зимнее время года. 117