МИНИСТЕРСТВО ТРУДА РОССИЙСКОЙ ФЕДЕРАЦИИ
ЦЕНТРАЛЬНОЕ
БЮРО НОРМАТИВОВ ПО ТРУДУ
ПРИ ВСЕРОССИЙСКОМ ЦЕНТРЕ ПРОИЗВОДИТЕЛЬНОСТИ
УКРУПНЕННЫЕ
НОРМАТИВЫ
ВРЕМЕНИ НА РАБОТЫ ПО РЕМОНТУ ТЯГОДУТЬЕВЫХ
МАШИН (ДЫМОСОСЫ, ВЕНТИЛЯТОРЫ)
Укрупненные нормативы времени утверждены постановлением Министерства труда Российской Федерации от 21 апреля 1993 № 87 и рекомендованы для применения на промышленных предприятиях, и в организациях, независимо от ведомственной подчиненности, форм собственности и хозяйствования.
Укрупненные нормативы времени разработаны Центральным бюро нормативов по труду совместно с Южным филиалом «ЦОТэнерго».
Укрупненные нормативы времени предназначены для нормирования и проектирования организации труда рабочих, занятых на ремонте вентиляторов и дымососов при сдельной оплате труда, а также для расчета комплексных норм при внедрении коллективных форм организации труда, определении стоимости ремонта и расчета объемных показателей производства.
Укрупненные нормативы времени могут использоваться при переводе предприятий на арендные и кооперативные отношения.
Укрупненные нормативы времени разработаны для применения в условиях ремонтно-механических цехов, участков предприятий, мастерских, а также для ремонта непосредственно на местах установки вентиляторов и дымососов, если обеспечивается возможность проведения ремонтных работ при условии соблюдения техники безопасности и противопожарной безопасности.
СОДЕРЖАНИЕ
1. Укрупненные нормативы времени на ремонт тягодутьевых машин рекомендуются для применения в условиях ремонтно-механических цехов, участков предприятий и мастерских всех отраслей народного хозяйства независимо от их ведомственной подчиненности.
Нормативы времени предназначены для нормирования труда слесарей-ремонтников, занятых на ремонте вентиляторов и дымососов при сдельной оплате труда и установления нормированных заданий при повременной оплате труда.
Укрупненные нормативы времени могут быть использованы для расчета комплексных норм при внедрении бригадной формы организации труда в соответствии с «Методическими рекомендациями по нормированию труда рабочих в условиях коллективных форм его организации и стимулирования». - М., Экономика, 1987 г.
Нормативы времени разработаны на капитальный, текущий ремонты и техническое обслуживание вентиляторов и дымососов.
2. В основу разработки укрупненных нормативов времени положены следующие данные:
- технология ремонта вентиляторов и дымососов, разработанная и утвержденная Министерством энергетики СССР;
- технология ремонта вентиляторов, разработанная и утвержденная Миннефтехимпромом СССР;
- данные фотохронометражных наблюдений, проведенных нормативно-исследовательскими организациями на предприятиях, а также отраслевые и общемашиностроительные нормативы времени;
- результаты анализа организации труда и организационно-технических мероприятий по ее совершенствованию;
- методические рекомендации «Разработка нормативных материалов для нормирования труда рабочих», М., НИИ труда, 1983 г.;
- Положение об организации нормирования труда в народном хозяйстве, утвержденное постановлением Госкомтруда СССР и Президиума ВЦСПС от 19 июня 1986 г. № 226/II-6 с учетом изменений от 10.09.87 г. № 548/II-9 и от 16.08.89 г. № 271/II-8;
- Методические основы нормирования труда рабочих в народном хозяйстве, М., Экономика, 1987 г.
3. Величина укрупненных нормативов времени установлена в человеко-часах на единицу объема работы и рассчитана по формуле:
![]()
Нвр - укрупненный норматив времени на данную операцию, чел.-ч.;
Tоп - оперативное время, чел.-ч.;
aпз - подготовительно-заключительное время в процентах от оперативного времени;
aобс - время на обслуживание рабочего места в процентах от оперативного времени;
aотл - время на отдых и личные потребности в процентах от оперативного времени.
В сборнике, при расчете нормативов, время на подготовительно-заключительные работы и обслуживание рабочего места принято 7 %, на отдых и личные потребности - 10 % от оперативного времени.
4. Нормативами времени сборника учтено время, затраченное на доставку (перемещение) материалов, деталей и узлов на расстояние до 40 м.
5. Наименование профессий и разряды работы в настоящем сборнике указаны в соответствии с Единым тарифно-квалификационным справочником работ и профессий рабочих (выпуски 1 и 2), утвержденные постановлениями Государственного комитета СССР по труду и социальным вопросам от 16 января 1985 г. № 17/2-54 и от 31 января 1985 г. № 31/3-30. При внесении изменений в тарифно-квалификационные справочники наименование профессий и разряды работ, указанные в данном сборнике, должны соответственно изменяться. В соответствии c постановлением Министерства труда Российской Федерации № 15а от 12 мая 1992 г., действующий ЕТКС применяется на предприятиях и в организациях Российской Федерации.
6. Выполнение работ рабочими не тех разрядов, которые указаны в тарифно-квалификационном справочнике, а также недостатки в организации труда и производства не могут служить основанием для каких-либо изменений нормативов времени.
Нормативы времени на ремонт вентиляторов и дымососов установлены для наиболее распространенных условий выполнения работ.
В случаях, не позволяющих выполнять работы в нормальных условиях, разрешается применять следующие поправочные коэффициенты:
- при работе выполняемой на высоте, в углублениях, внутри агрегата, в стесненном и неудобном положении, ограничивающем движения исполнителя, до 1,1;
- при работе, выполняемой с применением предохранительного пояса, до 1,2;
- при работе, выполняемой в противогазе, до 1,3;
- для оборудования, работающего в условиях агрессивной и особо агрессивной среды, соответственно до 1,1 и до 1,2.
7. На работы, не предусмотренные сборником, устанавливаются местные, технически обоснованные нормы времени.
8. До введения укрупненных нормативов времени необходимо привести организационно-технические условиях в ремонтно-механических цехах, на производственных участках и в мастерских в соответствие с запроектированными в сборнике и проинструктировать рабочих.
9. При внедрении на предприятиях более совершенных, чем это предусмотрено настоящими нормативами организации производства и труда, технологии, оборудования, оснастки и т.п., повышающих производительность труда рабочих, следует разрабатывать более прогрессивные местные нормативы времени.
|
Наименование и краткая техническая характеристика оборудования |
Тип, марка, ГОСТ, ТУ, номер чертежа. Завод-изготовитель |
|
|
1 |
2 |
3 |
|
1. |
Мостовой электрический кран, грузоподъемность 100/20 т |
ТУ 34-222-74 |
|
2. |
Мостовой электрический кран, грузоподъемность 5 т; 8 т; 12,5 т высота подъема 6 м; 12 м; 18 м |
ГОСТ 7890-84Е |
|
3. |
Козловой электрический кран, грузоподъемность 3,2 т |
|
|
4. |
Кран козловой, грузоподъемность 2 т |
КК-2 ТУ 34-42-247-78 |
|
5. |
Таль электрическая, грузоподъемность 5 т |
ТВ-504, ТЭ5-981 |
|
6. |
Таль ручная червячная, грузоподъемность 1 т |
ГОСТ 1107-85 |
|
7. |
Лебедка унифицированная, грузоподъемность 3 т |
УД-3М Волжское ПОТО «Энерготехмаш» |
|
8. |
Лебедка унифицированная, грузоподъемность 5 т |
УП-5М Волжское ПОТО «Энерготехмаш» |
|
9. |
Преобразователь тока сварочный |
ПД-302, ПСО-300, ПСТ-500, ПСМ-1000 Калининградский завод «Электросварка» |
|
10. |
Реостат балластный |
РБ-300, РБ-301, РБ-200 Калининградский завод «Электросварка» |
|
11. |
Трансформатор сварочный для дуговой сварки |
СТЭ-34У, ТС-300, ТД-500, СТМ-500 Калининградский завод «Электросварка» |
|
12. |
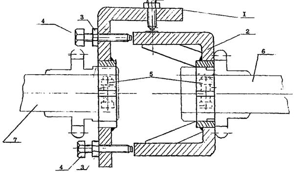
Приспособление для снятия рабочих колес с вала (рис. 1) |
Чертеж № 018-26 ПРП «Пермьэнергоремонт» |
|
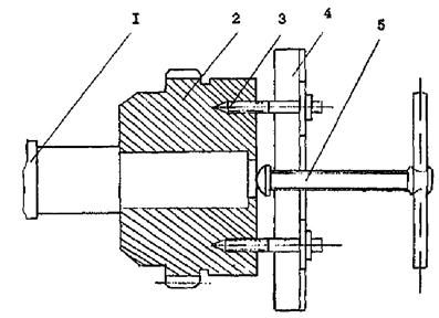
13. |
Приспособление для снятия (выпрессовки) подшипников качения (рис. 2) |
Чертеж № А-558 ПРП «Свердловэнергоремонт» |
|
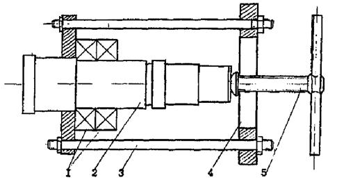
14. |
Приспособление для снятия полумуфт (рис. 3) |
Чертеж № А-554 ПРП «Свердловэнергоремонт» |
|
15. |
Приспособление для вырезки прокладок на сверлильном станке (рис. 4) |
Чертеж № 7120 Союзэнергоремтрест |
|
16. |
Приспособление для проверки центровки роторов (рис. 5) |
РВТ-800-110 Харьковский филиал ЦКБ «Союзэнергоремонт» 180-С-1180 Калужский турбинный завод |
|
17. |
Кондуктор для установки и приварки лопаток к обечайке рабочего колеса |
Чертеж № КЭ 2020200014 Предприятие «Днепроэнергоремонт» |
|
18. |
Приспособление для проворота валов роторов дымососов и дутьевых вентиляторов |
Проект разработан Львовским филиалом ЦКБ «Главэнергоремонт» |
|
19. |
Верстак слесарный |
СД 3701-07А |
|
20. |
Стеллаж для хранения деталей и протирочного материала |
С 3722-32 |
|
21. |
Ванна для промывки деталей |
ПМ-0402 |
|
22. |
Стеллаж для сборки узлов и агрегатов |
Нестандартное |
|
23. |
Тележка для перемещения грузов |
То же |
|
24. |
Козлы для укладки валов |
-»- |
|
25. |
Сумка с набором инструмента |
МИ-64 Дмитровский электромеханический завод |
|
26. |
Электрокар, грузоподъемностью 2 т |
ЭК-2 |
|
27. |
Напильники |
|
|
28. |
Развертки машинные цельные |
|
|
29. |
Развертки ручные цилиндрические |
|
|
30. |
Сверла |
|
|
31. |
Зенковки конические |
|
|
32. |
Ключи гаечные |
|
|
33. |
Ключи для круглых шлицевых гаек |
|
|
34. |
Ключи шарнирные для круглых шлицевых гаек |
|
|
35. |
Ключи гаечные разводные |
|
|
36. |
Отвертки |
|
|
37. |
Молоток |
|
|
38. |
Плоскогубцы |
ГОСТ 7236-86 |
|
39. |
Плоскогубцы комбинированные |
ГОСТ 5547-86Е |
|
40. |
Круглогубцы |
ГОСТ 7283-86Е |
|
41. |
Острогубцы (кусачки) |
|
|
42. |
Клещи продольно-поперечные плоские |
|
|
43. |
Лом монтажный |
|
|
44. |
Зубило слесарное |
|
|
45. |
Кернеры |
|
|
46. |
Призмы |
|
|
47. |
Машины ручные сверлильные пневматические |
ГОСТ 10212-80 |
|
48. |
Штангенциркули |
|
|
49. |
Пробки гладкие |
ГОСТ 14810-89 |
|
50. |
Резьбовые пробки |
|
|
51. |
Нутромеры микрометрические |
ГОСТ 8.408-80 |
Рис. 1. Приспособление для снятия рабочих колес:
1 - захваты; 2 - болт; 3 - корпус; 4 - упор; 5 - втулка; 6 - болт
Рис. 2. Приспособление для снятия подшипников качения:
1 - шарикоподшипники; 2 - вал; 3 - шпилька; 4 - траверса; 5 - нажимной винт
Рис. 3. Приспособление для снятия полумуфт:
1 - вал; 2 - полумуфта; 3 - шпилька; 4 - траверса; 5 - нажимной винт
Рис. 4. Приспособление для вырезки прокладок на сверлильном станке:
1 - траверса; 2 - оправка (конус Морзе); 3 - болт; 4 - ножи; 5 - болты
Рис. 5. Приспособление для проверки центровки роторов:
1 - центровочная скоба; 2 - центровочная скоба; 3 – контргайка; 4 - винт установочный; 5 - болт стяжной с гайкой; 6 - ротор электродвигателя; 7 - ротор вентилятора
Работы по ремонту вентиляторов и дымососов осуществляются слесарями ремонтниками в условиях ремонтно-механических цехов, участков предприятий, мастерских, а также непосредственно на местах установки вентиляторов и дымососов, если обесточивается возможность проведения ремонтных работ без ущерба для качества и в соответствии с требованиями техники безопасности и противопожарной безопасности.
В зависимости от трудоемкости и сложности выполняемых работ может применяться индивидуальная или бригадная организация труда слесарей-ремонтников. В последнем случае состав бригады устанавливается на основании трудоемкости работ по ремонту вентиляторов и дымососов, предусматриваемой месячными или годовыми производственными планами.
Организация рабочего места слесарей-ремонтников определяется наличием необходимого оборудования, приспособлений и инструмента, рациональным их размещением и расположением ремонтируемых вентиляторов и дымососов, к которым должны быть удобные подходы при ремонте и обеспечено нормальное, без затруднений, использование технологической оснастки (съемников, спецтележек, передвижных верстаков, металлических козел, кран-балки с подвесными тельферами и т.д.).
Для проведения разборочно-сборочных работ при ремонте узлов и механизмов применяется как специализированное оборудование, так и универсальное: стенды, универсальные верстаки, стеллажи, подставки для корпусных деталей, стол для промывки хлопушки деталей. Кроме того, на рабочем месте должны быть: шкафы (для хранения инструмента, приспособлений и материалов), передвижной кран (при выполнении разборочно-сборочных работ на месте установки крупных вентиляторов и дымососов), сверлильный станок и другое оборудование, в зависимости от имеющийся площади рабочего места.
Каждый слесарь-ремонтник должен иметь на рабочем месте индивидуальный набор инструмента, за исключением съемников и мерительного инструмента (индикаторы и т.п.), которые хранятся в инструментальной кладовой. Для промывки и протирки деталей слесари обеспечиваются промывочными жидкостями и обтирочным материалом.
Организация труда на рабочих местах должна удовлетворять требованиям охраны труда и техники безопасности, правил промышленной санитарии и гигиены, а также противопожарной безопасности.
При перемещении или погрузке тяжелых деталей (узлов) вентиляторов и дымососов в помощь слесарям-ремонтникам выделяется бригада такелажников, труд которых нормируется по другим нормативным материалам.
Перед началом работы выдается наряд или нормированное задание на работу, в соответствии с которым подготавливается рабочее место или проверяют его готовность: доставляют необходимый инструмент приспособления, детали и материалы, получают указания мастера и проверяют степень подготовки вентиляторов и дымососов к ремонту.
На основе предварительно составляемых дефектных ведомостей, до остановки вентиляторов для ремонта ведется технологическая подготовка ремонтных работ (получение запасных узлов и деталей, обеспечение ремонта необходимыми инструментами и приспособлениями).
Ответственность за подготовку вентиляторов и дымососов для ремонта возлагается на начальников цехов, мастеров участка или старших производственных мастеров, сдающих вентиляторы и дымососы в ремонт.
Слесарь-ремонтник, приступая к разборке вентилятора или дымососа на месте установки, должен проверить, все ли токоприемники вентилятора отключены от линии напряжения, если вентилятор был остановлен ранее. В процессе разборки и сборки необходимо соблюдать чистоту и не допускать загрязнений деталей, а также внимательно осматривать все узлы и детали для определения их годности, возможности исправления или замены и уточнения дефектной ведомости или наряда (нормированного задания).
Укладка снятых узлов или деталей должна производиться так, чтобы не повредить их ударом или падением. Пользоваться следует лишь определенным инструментом: соответствующими ключами, медными или свинцовыми выколодками и т.д.
При ремонте каждую деталь необходимо тщательно промыть, протереть или обдуть сжатым воздухом, внимательно осмотреть и окончательно уточнить необходимость проведения ремонта или замены.
Для сокращения сроков производства ремонта тягодутьевых машин важно иметь заранее подобранные чертежи, разработанные технические условия на ремонт отдельных узлов и деталей, документацию по технологии ремонта, изготовлению и восстановлению отдельных деталей, специальные приспособления для механизации ручных работ и необходимые контрольно-измерительные приспособления и инструменты.
В целях исключения повторных работ при сборке тягодутьевых машин всем деталям и узлам необходимо проходить предварительный контроль в части соответствия ТУ размеров, класса обработки и качества материала.
Перед сборкой детали должны быть обязательно смазаны.
Для освещения отдельных узлов, агрегатов и деталей применяют различные ручные переносные поворотные светильники на кронштейнах.
Межотраслевые укрупненные нормы времени на ремонт тягодутьевых машин предусматривают соблюдение рабочими должностных инструкций, правил, положений и других документов по охране труда, пожарной безопасности, а также применению средств индивидуальной и коллективной защиты, обеспечивающих безопасное выполнение работ по всем операциям технологического процесса.
|
№№ пп |
Содержание работы |
Единица объема работы |
Разряд работы |
Норма времени на единицу объема работы |
|||||||||
|
Диаметр рабочего колеса, мм, до |
|||||||||||||
|
500 |
1000 |
1200 |
1550 |
2200 |
2500 |
2850 |
3200 |
4100 |
4300 |
||||
|
1. |
Наружный осмотр вентилятора (дымососа) до его остановки в ремонт с отметкой мест пыления, утечки масла из подшипников и неплотностей системы охлаждения, измерение вибрации подшипников |
Вентилятор |
5 |
1,0 |
1,3 |
2,4 |
2,6 |
3,0 |
3,6 |
3,8 |
4,5 |
- |
- |
|
Дымосос |
5 |
- |
1,5 |
2,6 |
2,8 |
3,4 |
3,8 |
4,0 |
4,7 |
5,0 |
5,3 |
||
|
2. |
Подготовка такелажных приспособлений, ремонтной оснастки, инструмента, материалов и запасных частей |
Вентилятор |
3 |
2,2 |
3,0 |
3,8 |
4,1 |
4,3 |
5,2 |
8,6 |
10,0 |
- |
- |
|
Дымосос |
3 |
- |
3,3 |
4,0 |
4,4 |
5,2 |
6,5 |
12,0 |
15,4 |
16,0 |
18,0 |
||
|
3. |
Уборка такелажных приспособлений, оснастки, инструмента, металлолома |
Вентилятор |
3 |
3,2 |
3,5 |
3,6 |
3,9 |
4,2 |
4,3 |
4,4 |
4,5 |
- |
- |
|
Дымосос |
3 |
- |
3,7 |
3,8 |
4,0 |
4,3 |
6,0 |
10,0 |
13,0 |
15,0 |
17,0 |
||
|
Наименование операций и содержание работы |
Единица объема работы |
Разряд работы |
Номера вентиляторов |
||||||
|
3 - 4 |
5 - 6 |
7 |
8 |
10 |
12 |
||||
|
Норма времени на единицу объема работы |
|||||||||
|
1 |
2 |
3 |
4 |
5 |
6 |
7 |
8 |
9 |
10 |
|
|
Разборка |
|
|
|
|
|
|
|
|
|
1. |
Снять ограждение вентилятора |
Ограждение |
2 |
0,13 |
0,14 |
0,17 |
0,18 |
0,19 |
0,20 |
|
2. |
Снять ремни |
Комплект |
2 |
0,07 |
0,07 |
0,08 |
0,08 |
0,10 |
0,12 |
|
3. |
Открепить и снять вентилятор с фундамента |
Вентилятор |
2 |
0,18 |
0,21 |
0,25 |
0,27 |
0,29 |
0,30 |
|
4. |
Спрессовать рабочее колесо |
Рабочее колесо |
3 |
0,17 |
0,19 |
0,27 |
0,31 |
0,33 |
0,35 |
|
5. |
Снять шкив с вала |
Шкив |
3 |
0,12 |
0,14 |
0,18 |
0,23 |
0,28 |
0,30 |
|
6. |
Открепить и снять крышки подшипников |
2 крышки |
2 |
0,13 |
0,13 |
0,16 |
0,19 |
0,21 |
0,23 |
|
7. |
Открепить и снять крышку корпуса вентилятора |
Крышка |
2 |
0,26 |
0,27 |
0,36 |
0,39 |
0,42 |
0,45 |
|
8. |
Спрессовать подшипники с шейки вала и снять внутреннюю крышку подшипника |
2 подшипника |
3 |
0,12 |
0,12 |
0,13 |
0,14 |
0,15 |
0,17 |
|
|
Ремонт |
|
|
|
|
|
|
|
|
|
9. |
Очистить, промыть, протереть детали |
Вентилятор |
2 |
0,20 |
0,27 |
0,35 |
0,41 |
0,46 |
0,50 |
|
10. |
Произвести дефектовку деталей |
То же |
4 |
0,19 |
0,27 |
0,33 |
0,39 |
0,45 |
0,49 |
|
11. |
Выправить погнутую лопасть рабочего колеса |
Лопасть |
3 |
0,10 |
0,14 |
0,16 |
0,20 |
0,25 |
0,31 |
|
12. |
Зачистить вал и шпоночные канавки на валу, рабочем колесе, на шкиву и подогнать новую шпонку по канавкам |
Вентилятор |
4 |
0,60 |
0,75 |
0,75 |
0,80 |
0,90 |
1,25 |
|
13. |
Заменить ступицу рабочего колеса |
Ступица |
4 |
0,80 |
1,00 |
1,10 |
1,25 |
1,30 |
1,50 |
|
14. |
Вырубить прокладки для крышек подшипников |
2 прокладки |
3 |
0,35 |
0,35 |
0,38 |
0,38 |
0,40 |
0,45 |
|
15. |
Заменить лопатки рабочего колеса |
Лопатка |
3 |
0,35 |
0,40 |
0,40 |
0,50 |
0,50 |
0,60 |
|
16. |
Подогнать новое рабочее колесо по валу и шпонке |
Рабочее колесо |
4 |
0,30 |
0,30 |
0,30 |
0,32 |
0,35 |
0,40 |
|
17. |
Отбалансировать рабочее колесо |
То же |
4 |
1,11 |
1,25 |
1,37 |
1,48 |
1,52 |
1,61 |
|
18. |
Вырубить прокладку для подмоторной рамы с определением толщины прокладки |
Прокладка |
2 |
0,20 |
0,25 |
0,30 |
0,45 |
0,50 |
0,80 |
|
|
Сборка |
|
|
|
|
|
|
|
|
|
19. |
Смазать внутреннюю крышку и подшипник, одеть крышку на шейку вала и напрессовать подшипники |
Комплект |
4 |
0,11 |
0,12 |
0,14 |
0,15 |
0,15 |
0,16 |
|
20. |
Установить и закрепить крышку корпуса вентилятора с уплотнением разъема шнуром асбестовым |
Крышка |
3 |
0,15 |
0,20 |
0,22 |
0,26 |
0,28 |
0,31 |
|
21. |
Установить и закрепить крышки подшипников на новых прокладках |
2 крышки |
3 |
0,12 |
0,13 |
0,13 |
0,14 |
0,15 |
0,15 |
|
22. |
Напрессовать рабочее колесо на вал и закрепить стопорным болтом |
Рабочее колесо |
3 |
0,10 |
0,13 |
0,20 |
0,25 |
0,28 |
0,30 |
|
23. |
Установить прокладку и отрегулировать зазор между рабочим колесом и корпусом |
Вентилятор |
4 |
0,80 |
0,85 |
0,90 |
0,90 |
1,14 |
1,16 |
|
24. |
Установить вентилятор на фундамент, закрепить и отцентровать |
То же |
3 |
0,34 |
0,43 |
0,69 |
0,73 |
0,80 |
0,91 |
|
25. |
Напрессовать шкив на вал рабочего колеса. Установить приводные ремни |
-»- |
3 |
0,17 |
0,22 |
0,25 |
0,30 |
0,32 |
0,40 |
|
26. |
Установить ограждение вентилятора и закрепить |
Ограждение |
2 |
0,14 |
0,15 |
0,17 |
0,19 |
0,20 |
0,21 |
|
27. |
Испытать вентилятор и сдать в эксплуатацию |
Вентилятор |
5 |
0,29 |
0,31 |
0,32 |
0,34 |
0,36 |
0,39 |
|
Наименование операций и содержание работы |
Единица объема работы |
Разряд работы |
Номера вентиляторов. |
|||||||
|
4 |
5 |
6 |
7 |
8А |
10А |
11 - 12,5 |
||||
|
Норма времени на единицу объема работы |
||||||||||
|
1 |
2 |
3 |
4 |
5 |
6 |
7 |
8 |
9 |
10 |
11 |
|
|
Разборка |
|
|
|
|
|
|
|
|
|
|
1. |
Отсоединить и снять приемную сетку |
Сетка |
2 |
0,20 |
0,21 |
0,23 |
0,24 |
0,29 |
0,30 |
0,35 |
|
2. |
Отсоединить и снять патрубок |
Патрубок |
2 |
0,16 |
0,16 |
0,17 |
0,17 |
0,17 |
0,17 |
0,18 |
|
3. |
Отсоединить и снять диффузор |
диффузор |
2 |
0,17 |
0,17 |
0,17 |
0,17 |
0,18 |
0,18 |
0,18 |
|
4. |
Спрессовать рабочее колесо, снять шпонку |
Рабочее колесо |
4 |
0,18 |
0,19 |
0,24 |
0,27 |
0,31 |
0,33 |
0,35 |
|
5. |
Открепить и снять электродвигатель |
Электродвигатель |
2 |
0,50 |
0,50 |
0,50 |
0,50 |
0,80 |
0,80 |
0,80 |
|
6. |
Открепить и снять кожух |
Кожух |
2 |
0,28 |
0,32 |
0,38 |
0,43 |
0,75 |
0,77 |
0,80 |
|
|
Ремонт |
|
|
|
|
|
|
|
|
|
|
7. |
Очистить, промыть, протереть детали |
Вентилятор |
2 |
0,40 |
0,45 |
0,60 |
0,66 |
0,70 |
0,75 |
0,80 |
|
8. |
Произвести дефектовку деталей |
Вентилятор |
4 |
0,20 |
0,20 |
0,21 |
0,24 |
0,26 |
0,30 |
0,40 |
|
9. |
Выправить прогнутую лопасть рабочего колеса |
Лопасть |
3 |
0,25 |
0,32 |
0,38 |
0,42 |
0,50 |
0,55 |
0,60 |
|
10. |
Зачистить вал и шпоночную канавку на валу, рабочем колесе и подогнать новую шпонку по канавкам |
Вентилятор |
4 |
0,70 |
0,75 |
0,75 |
0,82 |
0,85 |
0,90 |
1,25 |
|
11. |
Заменить ступицу рабочего колеса |
Ступица |
4 |
0,80 |
1,00 |
1,10 |
1,25 |
1,35 |
1,40 |
1,60 |
|
12. |
Заменить лопатку рабочего колеса |
Лопатка |
3 |
0,35 |
0,40 |
0,40 |
0,40 |
0,50 |
0,50 |
0,60 |
|
13. |
Подогнать новое рабочее колесо по валу и шпонке |
Рабочее колесо |
4 |
0,30 |
0,30 |
0,30 |
0,30 |
0,32 |
0,35 |
0,40 |
|
14. |
Отбалансировать статически рабочее колесо |
То же |
4 |
1,50 |
1,80 |
1,80 |
2,20 |
2,20 |
2,90 |
3,20 |
|
|
Сборка |
|
|
|
|
|
|
|
|
|
|
15. |
Установить и закрепить кожух |
Кожух |
2 |
0,32 |
0,32 |
0,34 |
0,34 |
0,40 |
0,55 |
0,67 |
|
16. |
Установить и закрепить электродвигатель |
Электродвигатель |
3 |
0,60 |
0,60 |
0,60 |
0,60 |
1,00 |
1,00 |
1,00 |
|
17. |
Напрессовать рабочее колесо на вал и установить шпонку |
Рабочее колесо |
4 |
0,10 |
0,10 |
0,20 |
0,25 |
0,30 |
0,35 |
0,45 |
|
18. |
Установить и закрепить диффузор |
Диффузор |
3 |
0,24 |
0,24 |
0,24 |
0,24 |
0,30 |
0,32 |
0,38 |
|
19. |
Установить и закрепить патрубок |
Патрубок |
3 |
0,15 |
0,15 |
0,16 |
0,16 |
0,17 |
0,17 |
0,20 |
|
20. |
Установить и закрепить приемную сетку |
Сетка |
3 |
0,24 |
0,26 |
0,28 |
0,30 |
0,30 |
0,35 |
0,40 |
|
21. |
Испытать вентилятор и сдать в эксплуатацию |
Вентилятор |
5 |
0,50 |
0,56 |
0,60 |
0,75 |
0,84 |
0,90 |
1,00 |
|
Наименование операций и содержание работы |
Единица объема работы |
Разряд работы |
Номера вентиляторов |
|||||
|
4 |
5 |
6 |
7 |
8 |
||||
|
Норма времени на единицу объема работы |
||||||||
|
1 |
2 |
3 |
4 |
5 |
6 |
7 |
8 |
9 |
|
|
Разборка |
|
|
|
|
|
|
|
|
1. |
Отсоединить и снять приемную сетку |
Сетка |
2 |
0,21 |
0,27 |
0,29 |
0,37 |
0,40 |
|
2. |
Отсоединить отвод от корпуса вентилятора вытяжной трубы |
Отвод |
2 |
0,33 |
0,44 |
0,57 |
0,66 |
0,71 |
|
3. |
Открепить и снять электродвигатель |
Электродвигатель |
2 |
0,30 |
0,31 |
0,36 |
0,40 |
0,50 |
|
4. |
Спрессовать рабочее колесо |
Рабочее колесо |
3 |
0,47 |
0,52 |
0,58 |
0,61 |
0,63 |
|
|
Ремонт |
|
|
|
|
|
|
|
|
5. |
Очистить, промыть, протереть детали |
Вентилятор |
2 |
0,50 |
0,60 |
0,65 |
0,67 |
0,70 |
|
6. |
Произвести дефектовку деталей |
То же |
4 |
0,23 |
0,25 |
0,30 |
0,31 |
0,34 |
|
7. |
Зачистить вал и шпоночную канавку на валу, рабочем колесе и подогнать новую шпонку по канавке |
-«- |
4 |
0,60 |
0,60 |
0,65 |
0,65 |
0,68 |
|
8. |
Подогнать новое рабочее колесо по валу и шпонке |
Рабочее колесо |
4 |
0,30 |
0,30 |
0,30 |
0,30 |
0,34 |
|
9. |
Заменить лопатку рабочего колеса |
Лопатка |
3 |
0,35 |
040 |
0,40 |
0,40 |
0,50 |
|
10. |
Заменить ступицу рабочего колеса |
Ступица |
4 |
0,80 |
1,00 |
1,10 |
1,25 |
1,35 |
|
11. |
Отбалансировать статически рабочее колесо |
Рабочее колесо |
5 |
0,64 |
0,76 |
0,81 |
0,85 |
1,07 |
|
|
Сборка |
|
|
|
|
|
|
|
|
12. |
Напрессовать рабочее колесо на вал |
То же |
3 |
0,30 |
0,35 |
0,42 |
0,53 |
0,62 |
|
13. |
Установить и закрепить электродвигатель |
Электродвигатель |
3 |
0,40 |
0,44 |
0,52 |
0,54 |
0,60 |
|
14. |
Установить отвод к корпусу вентилятора и вытяжной трубе |
Отвод |
3 |
0,68 |
0,72 |
0,88 |
0,93 |
1,14 |
|
15. |
Установить приемную сетку |
Сетка |
3 |
0,27 |
0,33 |
0,40 |
0,42 |
0,46 |
|
16. |
Испытать вентилятор и сдать в эксплуатацию |
Вентилятор |
5 |
0,50 |
0,56 |
0,62 |
0,74 |
0,84 |
|
Наименование операций и содержание работы |
Единица объема работы |
Разряд работы |
Номера вентиляторов |
|||||
|
4 |
5 - 6,3 |
8 |
10 |
12. |
||||
|
Норма времени на единицу объема работы |
||||||||
|
1 |
2 |
3 |
4 |
5 |
6 |
7 |
8 |
9 |
|
|
Разборка |
|
|
|
|
|
|
|
|
1. |
Снять крышку (колпак) и приводные ремни |
Вентилятор |
2 |
0,10 |
0,15 |
0,19 |
0,26 |
0,32 |
|
2. |
Снять электродвигатель с рамы |
Электродвигатель |
2 |
0,50 |
0,50 |
0,50 |
0,80 |
0,90 |
|
3. |
Снять поддон и клапан |
Поддон Клапан |
2 |
0,35 |
0,40 |
0,42 |
0,43 |
0,46 |
|
4. |
Снять диффузор |
диффузор |
2 |
0,30 |
0,36 |
0,40 |
0,50 |
0,60 |
|
5. |
Выпрессовать рабочее колесо, снять шпонку |
Рабочее колесо |
3 |
0,15 |
0,20 |
0,23 |
0,26 |
0,28 |
|
6. |
Открепить и снять крышки подшипников |
2 крышки |
2 |
0,12 |
0,15 |
0,18 |
0,20 |
0,23 |
|
7. |
Снять вал |
Вал |
3 |
0,44 |
0,54 |
0,64 |
0,68 |
0,70 |
|
8. |
Выпрессовать шкив, снять шпонку |
Шкив |
3 |
0,10 |
0,15 |
0,20 |
0,20 |
0,25 |
|
9. |
Спрессовать подшипники с вала |
2 подшипника |
3 |
0,10 |
0,10 |
0,13 |
0,14 |
0,16 |
|
10. |
Снять кожух вентилятора |
Кожух |
2 |
0,20 |
0,28 |
0,30 |
0,36 |
0,48 |
|
|
Ремонт |
|
|
|
|
|
|
|
|
11. |
Очистить, промыть, протереть детали |
Вентилятор |
2 |
0,40 |
0,45 |
0,50 |
0,60 |
0,67 |
|
12. |
Произвести дефектовку деталей |
То же |
4 |
0,20 |
0,20 |
0,21 |
0,23 |
0,30 |
|
13. |
Зачистить вал и шпоночные канавки на валу, рабочем колесе, шкиве и подогнать новые шпонки по канавкам |
|
4 |
0,70 |
0,75 |
0,82 |
0,90 |
1,25 |
|
14. |
Подогнать новое рабочее колесо по валу и шпонке |
Рабочее колесо |
4 |
0,30 |
0,30 |
0,30 |
0,35 |
0,40 |
|
15. |
Заменить ступицу рабочего колеса |
Ступица |
4 |
1,00 |
1,12 |
1,30 |
1,40 |
1,80 |
|
16. |
Выправить погнутую лопатку рабочего колеса |
Лопатка |
3 |
0,22 |
0,25 |
0,25 |
0,33 |
0,38 |
|
17. |
Заменить лопатку рабочего колеса |
То же |
3 |
0,35 |
0,45 |
0,45 |
0,50 |
0,60 |
|
18. |
Отбалансировать статически рабочее колесо |
Рабочее колесо |
4 |
1,50 |
1,80 |
2,20 |
2,85 |
3,20 |
|
19. |
Вырубить прокладки для крышки подшипников |
2 прокладки |
2 |
0,30 |
0,35 |
0,35 |
0,40 |
0,45 |
|
|
Сборка |
|
|
|
|
|
|
|
|
20. |
Установить кожух |
Кожух |
2 |
0,27 |
0,30 |
0,32 |
0,40 |
0,50 |
|
21. |
Напрессовать подшипники на вал |
2 подшипника |
3 |
0,14 |
0,18 |
0,20 |
0,22 |
0,23 |
|
22. |
Установить шпонку и запрессовать шкив |
Шкив |
3 |
0,12 |
0,16 |
0,19 |
0,22 |
0,26 |
|
23. |
Установить вал |
Вал |
4 |
0,10 |
0,17 |
0,20 |
0,25 |
0,30 |
|
24. |
Установить и закрепить крышки подшипников на новых прокладках |
2 крышки |
3 |
0,17 |
0,22 |
0,24 |
0,26 |
0,29 |
|
25. |
Установить шпонку, запрессовать рабочее колесо |
Рабочее колесо |
3 |
0,18 |
0,25 |
0,29 |
0,32 |
0,36 |
|
26. |
Установить диффузор, ввернуть болты |
Диффузор |
3 |
0,30 |
0,32 |
0,37 |
0,42 |
0,46 |
|
27. |
Установить клапан и поддон |
Клапан Поддон |
3 |
0,40 |
0,46 |
0,50 |
0,50 |
0,51 |
|
28. |
Установить и закрепить электродвигатель |
Электродвигатель |
3 |
0,60 |
0,60 |
1,00 |
1,00 |
1,50 |
|
29. |
Установить ремни, установить крышку (колпак), ввернуть болты |
Комплект |
2 |
0,18 |
0,20 |
0,23 |
0,30 |
0,40 |
|
30. |
Отбалансировать динамически ротор |
Ротор |
5 |
2,00 |
2,80 |
3,00 |
3,20 |
3,40 |
|
31. |
Испытать вентилятор и сдать в эксплуатацию |
Вентилятор |
5 |
0,25 |
0,30 |
0,32 |
0,36 |
0,40 |
|
Наименование операций и содержание работы |
Единица объема работы |
Разряд работы |
Номера вентиляторов |
||||||
|
4 |
5 |
6,3 |
8в |
12в |
ВКО 12,5 |
||||
|
Норма времени на единицу объема работы |
|||||||||
|
1 |
2 |
3 |
4 |
5 |
6 |
7 |
8 |
9 |
10 |
|
|
Разборка |
|
|
|
|
|
|
|
|
|
1. |
Открепить и снять колпак |
Колпак |
2 |
0,16 |
0,16 |
0,20 |
0,30 |
0,42 |
- |
|
2. |
Открепить и снять диффузор |
Диффузор |
3 |
0,30 |
0,30 |
0,40 |
0,60 |
0,80 |
- |
|
3. |
Открепить и снять самооткрывающийся клапан |
Клапан |
3 |
0,20 |
0,20 |
0,20 |
0,30 |
0,40 |
- |
|
4. |
Открепить и снять двухстворчатый клапан лепесткового типа |
То же |
3 |
- |
- |
- |
- |
- |
1,16 |
|
5. |
Открепить и снять рабочее колесо |
Рабочее колесо |
3 |
0,50 |
0,50 |
0,70 |
0,80 |
0,90 |
1,10 |
|
6. |
Открепить и снять электродвигатель |
Электродвигатель |
3 |
0,30 |
0,31 |
0,36 |
0,50 |
0,60 |
0,90 |
|
7. |
Открепить и снять корпус |
Корпус |
3 |
0,30 |
0,32 |
0,38 |
0,45 |
0,50 |
0,80 |
|
8. |
Открепить и снять входной коллектор |
Коллектор |
2 |
0,10 |
0,15 |
0,20 |
0,20 |
0,30 |
0,40 |
|
|
Ремонт |
|
|
|
|
|
|
|
|
|
9. |
Очистить, промыть и протереть детали |
Вентилятор |
2 |
0,40 |
0,45 |
0,50 |
0,60 |
0,70 |
0,90 |
|
10. |
Произвести дефектовку деталей |
То же |
4 |
0,20 |
0,20 |
0,20 |
0,40 |
0,50 |
0,55 |
|
11. |
Вырубить резиновую прокладку для входного коллектора |
Прокладка |
3 |
0,70 |
0,75 |
0,82 |
0,90 |
1,00 |
1,10 |
|
12. |
Зачистить вал, шпоночную канавку на валу, рабочем колесе и подогнать новую шпонку |
Вентилятор |
3 |
0,60 |
0,65 |
0,75 |
0,84 |
1714 |
1,25 |
|
13. |
Подогнать новое рабочее колесо по валу и шпонке |
Рабочее колесо |
4 |
0,30 |
0,30 |
0,30 |
0,35 |
0,40 |
0,40 |
|
14. |
Выправить погнутую лопасть рабочего колеса |
Лопасть |
3 |
0,22 |
0,25 |
0,25 |
0,33 |
0,40 |
0,40 |
|
15. |
Заменить лопатки рабочего колеса |
Лопатка |
3 |
0,35 |
0,45 |
0,45 |
0,45 |
0,60 |
0,60 |
|
16. |
Заменить ступицу рабочего колеса |
Ступица |
4 |
1,00 |
1,12 |
1,30 |
1,40 |
1,70 |
1,80 |
|
17. |
Отбалансировать статически рабочее колесо |
Рабочее колесо |
5 |
1,50 |
1,80 |
2,20 |
2,85 |
3,00 |
3,20 |
|
|
Сборка |
|
|
|
|
|
|
|
|
|
18. |
Установить входной коллектор на новой прокладке и закрепить |
Коллектор |
3 |
0,18 |
0,20 |
0,30 |
0,38 |
0,40 |
0,50 |
|
19. |
Установить и закрепить корпус вентилятора |
Корпус |
3 |
0,35 |
0,35 |
0,42 |
0,50 |
0,70 |
0,70 |
|
20. |
Установить и закрепить электродвигатель |
Электродвигатель |
3 |
0,60 |
0,60 |
0,80 |
1,00 |
1,50 |
1,50 |
|
21. |
Напрессовать рабочее колесо на вал и закрепить |
Рабочее колесо |
4 |
0,40 |
0,40 |
0,50 |
0,80 |
1,00 |
1,20 |
|
22. |
Установить двухстворчатый клапан лепесткового типа в корпус и закрепить |
Клапан |
3 |
- |
- |
- |
- |
- |
1,30 |
|
23. |
Установить самооткрывающийся клапан с проверкой плавности хода в корпус диффузора |
То же |
3 |
0,40 |
0,40 |
0,45 |
0,60 |
0,80 |
- |
|
24. |
Установить и закрепить диффузор на мягкой вставке из прорезиненной ткани |
Диффузор |
3 |
0,30 |
0,32 |
0,37 |
0,42 |
0,60 |
- |
|
25. |
Установить и закрепить колпак |
Колпак |
2 |
0,20 |
0,20 |
0,20 |
0,30 |
0,48 |
- |
|
26. |
Восстановить радиальный зазор между рабочим колесом и корпусом |
Вентилятор |
5 |
1,30 |
1,30 |
1,70 |
1,80 |
2,00 |
2,10 |
|
27. |
Испытать вентилятор и сдать в эксплуатацию |
То же |
5 |
0,25 |
0,30 |
0,40 |
0,50 |
0,60 |
0,60 |
|
Наименование операций и содержание работы |
Единица объема работы |
Разряд работы |
Номера вентиляторов |
|||
|
2 |
3 - 4 |
5 - 6 |
||||
|
Норма времени на единицу объема работы |
||||||
|
1 |
2 |
3 |
4 |
5 |
6 |
7 |
|
|
Разборка |
|
|
|
|
|
|
1. |
Открепить и снять патрубки воздуховодов |
2 патрубка |
2 |
0,40 |
0,43 |
0,47 |
|
2. |
Открепить и снять диффузор |
Диффузор |
2 |
0,35 |
0,38 |
0,42 |
|
3. |
Выпрессовать рабочее колесо с вала |
Рабочее колесо |
3 |
0,11 |
0,13 |
0,14 |
|
4. |
Открепить и снять кожух вентилятора |
Кожух |
2 |
0,51 |
0,56 |
0,60 |
|
5. |
Открепить и снять электродвигатель |
Электродвигатель |
2 |
0,50 |
0,50 |
0,80 |
|
|
Ремонт |
|
|
|
|
|
|
6. |
Очистить, промыть и протереть детали |
Вентилятор |
2 |
0,20 |
0,20 |
0,27 |
|
7. |
Произвести дефектовку деталей |
То же |
4 |
0,10 |
0,10 |
0,15 |
|
8. |
Зачистить вал и шпоночную канавку на валу, рабочем колесе и подогнать новую шпонку по канавкам |
-»- |
4 |
0,50 |
0,70 |
0,75 |
|
9. |
Подогнать новое рабочее колесо по валу и шпонке |
Рабочее колесо |
4 |
0,20 |
0,30 |
0,30 |
|
10. |
Заменить лопатку рабочего колеса |
Лопатка |
3 |
0,28 |
0,35 |
0,45 |
|
11. |
Выправить погнутую лопасть рабочего колеса |
Лопасть |
3 |
0,20 |
0,20 |
0,30 |
|
12. |
Заменить ступицу рабочего колеса |
Ступица |
4 |
0,80 |
1,00 |
1,15 |
|
13. |
Отбалансировать статически рабочее колесо |
Рабочее колесо |
5 |
1,40 |
1,45 |
1,60 |
|
|
Сборка |
|
|
|
|
|
|
14. |
Установить и закрепить электродвигатель |
Электродвигатель |
3 |
0,60 |
0,60 |
1,00 |
|
15. |
Установить и закрепить кожух |
Кожух |
3 |
0,65 |
0,71 |
0,80 |
|
16. |
Напрессовать рабочее колесо на вал |
Рабочее колесо |
3 |
0,20 |
0,21 |
0,25 |
|
17. |
Установить и закрепить диффузор |
диффузор |
3 |
0,38 |
0,40 |
0,50 |
|
18. |
Установить и закрепить патрубки |
2 патрубка |
3 |
0,47 |
0,68 |
0,70 |
|
19. |
Испытать вентилятор и сдать в эксплуатацию |
Вентилятор |
5 |
0,24 |
0,28 |
0,40 |
|
Наименование операций и содержание работы |
Единица объема работы |
Разряд работы |
Номера вентиляторов |
|||||
|
3 - 4 |
5 - 6 |
8 |
10 |
12 |
||||
|
Норма времени на единицу объема работы |
||||||||
|
1 |
2 |
3 |
4 |
5 |
6 |
7 |
8 |
9 |
|
|
Разборка |
|
|
|
|
|
|
|
|
1. |
Открепить и снять ограждение |
Ограждение |
2 |
0,10 |
0,10 |
0,12 |
0113 |
0,14 |
|
2. |
Открепить и снять ремни |
4 ремня |
2 |
0,08 |
0,08 |
0,11 |
0,11 |
0,11 |
|
3. |
Снять электродвигатель |
Электродвигатель |
2 |
0,50 |
0,50 |
0,80 |
0,80 |
1,30 |
|
4. |
Открепить и снять патрубки |
2 патрубка |
2 |
0,23 |
0,26 |
0,30 |
0,30 |
0,32 |
|
5. |
Открепить и снять диффузор |
Диффузор |
2 |
0,21 |
0,21 |
0,22 |
0,22 |
0,24 |
|
6. |
Выпрессовать рабочее колесо с вала |
Рабочее колесо |
3 |
0,28 |
0,30 |
0,35 |
0,40 |
0,45 |
|
7. |
Слить масло. Открепить и снять крышки подшипников |
2 крышки |
3 |
0,90 |
1,00 |
1,20 |
1,35 |
1,46 |
|
8. |
Снять вал с подшипниками и шкивом |
Вал |
3 |
0,40 |
0,54 |
0,62 |
0,68 |
0,70 |
|
9. |
Выпрессовать подшипники с вала |
2 подшипника |
3 |
0,11 |
0,12 |
0,13 |
0,15 |
0,16 |
|
10. |
Выпрессовать плат с вала |
Шкив |
2 |
0,10 |
0,10 |
0,20 |
0,20 |
0,20 |
|
11. |
Открепить и снять кожух |
Кожух |
2 |
0,51 |
0,52 |
0,56 |
0,56 |
0,60 |
|
|
Ремонт |
|
|
|
|
|
|
|
|
12. |
Очистить, промыть и протереть детали |
Вентилятор |
2 |
0,48 |
0,50 |
0,50 |
0,53 |
0,50 |
|
13. |
Произвести дефектовку деталей |
То же |
4 |
0,15 |
0,15 |
0,20 |
0,20 |
0,20 |
|
14. |
Зачистить вал и шпоночную канавку на валу, рабочем колесе, шкиве и подогнать новые шпонки по канавкам |
-«- |
4 |
0,70 |
0,75 |
0,85 |
0,90 |
1,25 |
|
15. |
Подогнать новое рабочее колесо похвалу и шпонке |
Рабочее колесо |
4 |
0,40 |
0,40 |
0,50 |
0,55 |
0,60 |
|
16. |
Заменить ступицу рабочего колеса |
Ступица |
4 |
1,00 |
1,12 |
1,30 |
1,40 |
1,80 |
|
17. |
Выправить погнутую лопатку рабочего колеса |
Лопатка |
3 |
0,18 |
0,23 |
0,42 |
0,47 |
0,50 |
|
18. |
Заменить лопатку рабочего колеса |
То же |
3 |
0,35 |
0,45 |
0,45 |
0,50 |
0,60 |
|
19. |
Отбалансировать статически рабочее колесо |
Рабочее колесо |
4 |
1,46 |
1,84 |
2,24 |
2,85 |
3,26 |
|
20. |
Вырубить прокладки для крышки подшипников |
2 прокладки |
2 |
0,30 |
0,35 |
0,35 |
0,40 |
0,45 |
|
|
Сборка |
|
|
|
|
|
|
|
|
21. |
Установить кожух и закрепить |
Кожух |
2 |
0,58 |
0,64 |
0,71 |
0,74 |
0,77 |
|
22. |
Запрессовать подлинники на вал |
2 подшипника |
3 |
0,19 |
0,21 |
0,23 |
0,23 |
0,25 |
|
23. |
Запрессовать шкив на вал |
Шкив |
3 |
0,16 |
0,18 |
0,18 |
0,18 |
0,19 |
|
24. |
Установить вал с подшипниками и шкивом |
Вал |
3 |
0,15 |
0,17 |
0,20 |
0,25 |
0,30 |
|
25. |
Установить и закрепить крышки подшипников. Залить масло |
2 крышки |
3 |
1,25 |
1,38 |
1,40 |
1,59 |
1,65 |
|
26. |
Запрессовать рабочее колесо и закрепить |
Рабочее колесо |
3 |
0,35 |
0,37 |
0,40 |
0,40 |
0,45 |
|
27. |
Установить и закрепить патрубки |
2 патрубка |
3 |
0,54 |
0,63 |
0,65 |
0,69 |
0,72 |
|
28. |
Установить и закрепить диффузор |
Диффузор |
3 |
0,22 |
0,23 |
0,26 |
0,28 |
0,30 |
|
29. |
Восстановить зазоры между рабочим колесом и диффузором |
Вентилятор |
6 |
2,20 |
2,40 |
2,80 |
3,50 |
3,70 |
|
30. |
Установить и закрепить электродвигатель |
Электродвигатель |
3 |
0,60 |
0,60 |
1,00 |
1,00 |
1,50 |
|
31. |
Установить и закрепить ремень |
4 ремня |
2 |
0,35 |
0,37 |
0,40 |
0,40 |
0,50 |
|
32. |
Установить и закрепить ограждение |
Ограждение |
2 |
0,11 |
0,11 |
0,11 |
0,22 |
0,22 |
|
33. |
Отбалансировать динамически ротор |
Вентилятор |
5 |
2,00 |
2,80 |
3,00 |
3,20 |
3,60 |
|
34. |
Испытать вентилятор и сдать в эксплуатацию |
То же |
5 |
0,33 |
0,35 |
0,62 |
0,62 |
0,62 |
|
Наименование операций и содержание работы |
Единица объема работы |
Разряд работы |
Номера вентиляторов |
||||
|
5 - 6 |
7 - 8 |
10 |
12 |
||||
|
Норма времени на единицу объема работы |
|||||||
|
1 |
2 |
3 |
4 |
5 |
6 |
7 |
8 |
|
|
Разборка |
|
|
|
|
|
|
|
1. |
Открепить и снять ограждение |
Ограждение |
2 |
0,11 |
0,13 |
0,19 |
0,23 |
|
2. |
Разобрать полумуфты |
Комплект |
3 |
0,20 |
0,30 |
0,40 |
0,50 |
|
3. |
Открепить и снять электродвигатель |
Электродвигатель |
4 |
0,50 |
0,50 |
0,80 |
0,80 |
|
4. |
Выпрессовать рабочее колесо с вала |
Рабочее колесо |
3 |
0,15 |
0,17 |
0,20 |
0,23 |
|
5. |
Открепить и снять крышки подшипников |
2 крышки |
2 |
0,13 |
0,13 |
0,15 |
0,16 |
|
6. |
Открепить и снять патрубки воздуховода |
2 патрубка |
2 |
0,44 |
0,48 |
0,50 |
0,62 |
|
7. |
Открепить и снять диффузор |
Диффузор |
2 |
0,23 |
0,23 |
0,24 |
0,24 |
|
8. |
Снять вал с подшипниками и полумуфтой |
Вал |
3 |
0,54 |
0,62 |
0,68 |
0,70 |
|
9. |
Выпрессовать полумуфту с вала |
Полумуфта |
3 |
0,12 |
0,12 |
0,30 |
0,40 |
|
10. |
Выпрессовать подшипники с вала |
2 подшипника |
3 |
0,16 |
0,18 |
0,20 |
0,22 |
|
11. |
Открепить и снять кожух вентилятора |
Кожух |
2 |
0,66 |
0,86 |
0,90 |
1,00 |
|
|
Ремонт |
|
|
|
|
|
|
|
12. |
Очистить, промыть и протереть детали |
Вентилятор |
2 |
0,50 |
0,50 |
0,50 |
0,50 |
|
13. |
Произвести дефектовку деталей |
То же |
4 |
0,15 |
0,15 |
0,15 |
0,20 |
|
14. |
Выправить погнутую лопасть рабочего колеса |
Лопасть |
3 |
0,26 |
0,37 |
0,78 |
0,82 |
|
15. |
Отбалансировать статически рабочее колесо |
Рабочее колесо |
5 |
1,86 |
2,23 |
2,85 |
3,23 |
|
16. |
Зачистить вал, шпоночные канавки на валу, рабочем колесе, соединительной муфте, подгонка шпонок по канавкам |
Вентилятор |
3 |
1,30 |
1,60 |
1,70 |
1,80 |
|
17. |
Заменить ступицу рабочего колеса |
Ступица |
4 |
1,00 |
1,10 |
1,20 |
1,30 |
|
18. |
Заменить лопатки рабочего колеса |
Лопатка |
3 |
0,40 |
0,50 |
0,50 |
0,60 |
|
19. |
Изготовить прокладки для крышки подшипников |
Комплект |
3 |
0,50 |
0,60 |
0,67 |
0,75 |
|
20. |
Подгонка новой полумуфты по валу и шпонка |
Полумуфта |
3 |
0,50 |
0,50 |
0,60 |
0,60 |
|
21. |
Подгонка рабочего колеса по валу и шпонка |
Рабочее колесо |
4 |
0,40 |
0,50 |
0,60 |
0,70 |
|
|
Сборка |
|
|
|
|
|
|
|
22. |
Установить и закрепить кожух вентилятора |
Кожух |
3 |
0,85 |
1,00 |
1,10 |
1,30 |
|
23. |
Запрессовать подшипники на вал |
2 подшипника |
3 |
0,27 |
0,30 |
0,30 |
0,35 |
|
24. |
Запрессовать полумуфту на вал |
Полумуфта |
3 |
0,20 |
0,22 |
0,26 |
0,30 |
|
25. |
Установить вал с подшипниками и полумуфтой |
Вал |
3 |
1,10 |
1,30 |
1,70 |
3,30 |
|
26. |
Установить и закрепить крышки подшипников |
2 крышки |
3 |
0,17 |
0,18 |
0,20 |
0,25 |
|
27. |
Запрессовать рабочее колесо на вал и закрепить |
Рабочее колесо |
3 |
0,50 |
0,80 |
1,20 |
1,80 |
|
28. |
Установить и закрепить патрубки воздуховода |
2 патрубка |
3 |
0,60 |
1,00 |
1,50 |
1,90 |
|
29. |
Установить и закрепить диффузор |
Диффузор |
3 |
0,23 |
0,26 |
0,28 |
0,30 |
|
30. |
Восстановить зазоры между рабочим колесом и диффузором |
Вентилятор |
5 |
2,50 |
3,00 |
3,60 |
4,00 |
|
31. |
Установить и закрепить электродвигатель |
Электродвигатель |
3 |
0,60 |
0,60 |
1,00 |
1,50 |
|
32. |
Отцентровать полумуфты |
Комплект |
4 |
0,53 |
0,54 |
0,60 |
0,64 |
|
33. |
Собрать полумуфты |
То же |
3 |
0,13 |
0,15 |
0,20 |
0,22 |
|
34. |
Закрепить электродвигатель |
Эл. двигатель |
4 |
0,20 |
0,25 |
0,50 |
0,60 |
|
35. |
Отбалансировать динамически ротор |
Вентилятор |
5 |
2,80 |
3,40 |
4,00 |
4,50 |
|
36. |
Испытать вентилятор и сдать в эксплуатацию |
То же |
5 |
0,40 |
0,45 |
0,50 |
0,60 |
|
Наименование операций и содержание работы |
Единица объема работы |
Разряд работы |
Номера вентиляторов |
|||||
|
2,5 - 3 |
4 - 5 |
6,5 |
7 - 8 |
10 |
||||
|
Норма времени на единицу объема работы |
||||||||
|
1 |
2 |
3 |
4 |
5 |
6 |
7 |
8 |
9 |
|
|
Разборка |
|
|
|
|
|
|
|
|
1. |
Открепить фланец от входного патрубка и снять его |
Фланец |
2 |
0,70 |
1,00 |
1,20 |
4,40 |
1,60 |
|
2. |
Открепить и снять фланец и диффузор |
Вентилятор |
2 |
0,30 |
0,40 |
0,50 |
0,55 |
0,60 |
|
3. |
Спрессовать с вала рабочее колесо |
Рабочее колесо |
3 |
0,27 |
0,31 |
0,37 |
0,41 |
0,84 |
|
4. |
Открепить и снять со стойки электродвигатель |
Вентилятор |
4 |
0,40 |
0,50 |
0,50 |
0,50 |
0,80 |
|
5. |
Открепить и снять с жесткого кольца, приваренного к стойке, корпус вентилятора |
Корпус |
3 |
0,80 |
1,00 |
1,20 |
1,60 |
1,80 |
|
|
Ремонт |
|
|
|
|
|
|
|
|
6. |
Очистить, промыть и протереть детали - |
Вентилятор |
2 |
0,27 |
0,32 |
0,32 |
0,32 |
0,80 |
|
7. |
Произвести дефектовку деталей |
Вентилятор |
4 |
6,20 |
0,23 |
0,24 |
0,24 |
0,40 |
|
8. |
Зачистить вал и шпоночную канавку на валу, рабочем колесе и подогнать шпонку по канавкам |
Вал |
3 |
0,30 |
0,35 |
0,40 |
0,50 |
0,60 |
|
9. |
Подогнать новое рабочее колесо по валу и шпонке |
Рабочее колесо |
3 |
0,20 |
0,25 |
0,30 |
0,40 |
0,50 |
|
10. |
Выправить погнутую лопатку рабочего колеса |
Лопатка |
3 |
0,19 |
0,25 |
0,37 |
0,42 |
0,78 |
|
11. |
Заменить лопатки рабочего колеса |
То же |
3 |
0,30 |
0,40 |
0,40 |
0,50 |
0,90 |
|
12. |
Заменить ступицу рабочего колеса |
Ступица |
4 |
0,50 |
0,60 |
0,80 |
1,10 |
1,20 |
|
13. |
Отбалансировать статически рабочее колесо |
Рабочее колесо |
5 |
0,66 |
0,80 |
0,90 |
1,50 |
2,30 |
|
|
Сборка |
|
|
|
|
|
|
|
|
14. |
Установить и закрепить корпус вентилятора на жестком кольце |
Корпус |
3 |
1,00 |
1,30 |
1,50 |
1,80 |
2,00 |
|
15. |
Установить и закрепить электродвигатель на стойке, ввернуть болты, крепящие выходной патрубок |
Вентилятор |
4 |
0,50 |
0,60 |
0,60 |
0,60 |
1,00 |
|
16. |
Установить и закрепить рабочее колесо на валу с подгонкой новой шпонки |
Рабочее колесо |
3 |
0,70 |
0,80 |
1,00 |
1,00 |
1,20 |
|
17. |
Установить и закрепить диффузор с фланцем на одном креплении, восстановив нормальные зазоры медку рабочим колесом и диффузором |
Диффузор |
3 |
1,50 |
1,80 |
2,10 |
2,40 |
2,80 |
|
18. |
Присоединить и закрепить входной патрубок к фланцу |
Патрубок |
3 |
1,43 |
1,54 |
1,60 |
1,75 |
1,90 |
|
19. |
Испытать вентилятор и сдать в эксплуатацию |
Вентилятор |
5 |
0,43 |
0,46 |
0,50 |
0,53 |
0,90 |
|
Наименование операций и содержание работы |
Единица объема работы |
Разряд работы |
Номера вентиляторов |
|||
|
5 |
6 |
8 |
||||
|
Норма времени единицу объема работы |
||||||
|
1 |
2 |
3 |
4 |
5 |
6 |
7 |
|
|
Разборка |
|
|
|
|
|
|
1. |
Открепить и снять ограждение |
Ограждение |
2 |
0,12 |
0,15 |
0,18 |
|
2. |
Снять ремни |
5 ремней |
2 |
0,10 |
0,16 |
0,20 |
|
3. |
Снять электродвигатель |
Электродвигатель |
4 |
0,50 |
0,50 |
0,80 |
|
4. |
Открепить и снять патрубки воздуховода |
2 патрубка |
2 |
0,43 |
0,49 |
0,60 |
|
5. |
Открепить и снять диффузор |
Диффузор |
2 |
0,39 |
0,42 |
0,50 |
|
6. |
Выпрессовать рабочее колесо с вала |
Рабочее колесо |
3 |
0,60 |
0,60 |
0,70 |
|
7. |
Слить масло. Открепить и снять крышки подшипников |
2 крышки |
2 |
0,20 |
0,30 |
0,39 |
|
8. |
Снять вал с подшипниками и шкивом |
Вал |
3 |
0,40 |
0,50 |
0,80 |
|
9. |
Выпрессовать шкив с вала |
Шкив |
3 |
0,25 |
0,26 |
0,28 |
|
10. |
Выпрессовать подшипники с вала |
2 подшипника |
3 |
0,13 |
0,15 |
0,20 |
|
11. |
Открепить и снять кожух вентилятора |
Кожух |
2 |
0,84 |
0,85 |
0,90 |
|
|
Ремонт |
|
|
|
|
|
|
12. |
Очистить, промыть и протереть детали |
Вентилятор |
2 |
0,21 |
0,26 |
0,29 |
|
13. |
Произвести дефектовку деталей |
Вентилятор |
4 |
0,24 |
0,24 |
0,30 |
|
14. |
Выправить погнутую лопасть рабочего колеса |
Лопасть |
3 |
0,30 |
0,32 |
0,37 |
|
15. |
Отбалансировать рабочее колеса |
Рабочее колесо |
5 |
1,85 |
1,85 |
2,22 |
|
16. |
Зачистить наждачной бумагой вал и шпоночные канавки на валу, рабочем колесе, шкиве, подогнать шпонки по канавкам |
Вентилятор |
3 |
0,50 |
0,50 |
0,60 |
|
17 |
Изготовление прокладок для крышек подшипников |
2 прокладки |
2 |
0,30 |
0,40 |
0,50 |
|
18. |
Подогнать новое рабочее колесо по валу и шпонке |
Рабочее колесо |
4 |
0,38 |
0,54 |
0,63 |
|
19. |
Заменить лопатки рабочего колеса |
Лопатка |
3 |
0,35 |
0,40 |
0,40 |
|
20. |
Заменить ступицу рабочего колеса |
Ступица |
4 |
1,00 |
1,00 |
1,00 |
|
21. |
Собрать ротор для проверки на токарном станке и после проверки или шлифовки его разборка |
ротор |
4 |
2,00 |
2,50 |
2,90 |
|
|
Сборка |
|
|
|
|
|
|
22. |
Установить и закрепить кожух вентилятора |
Кожух |
2 |
0,97 |
0,99 |
1,06 |
|
23. |
Запрессовать подшипники на вал |
2 подшипника |
4 |
0,17 |
0,17 |
0,17 |
|
24. |
Запрессовать шкив на вал и закрепить |
Шкив |
3 |
0,36 |
0,36 |
0,37 |
|
25. |
Установить вал с подшипниками |
Вал |
4 |
1,00 |
1,20 |
1,50 |
|
26. |
Установить крышки подшипников и закрепить. Залить масло |
2 крышки |
3 |
0,16 |
0,18 |
0,21 |
|
27. |
Запрессовать рабочее колесо на вал и закрепить |
Рабочее колесо |
3 |
0,23 |
0,23 |
0,23 |
|
28. |
Установить и закрепить диффузор |
Диффузор |
3 |
0,44 |
0,50 |
0,60 |
|
29. |
Установить и закрепить патрубки воздуховода |
2 патрубка |
3 |
0,50 |
0,55 |
0,58 |
|
30. |
Установить электродвигатель |
Электродвигатель |
3 |
0,60 |
0,60 |
1 |
|
31. |
Установить ремни на шкивы |
5 ремней |
2 |
0,41 |
0,41 |
0,41 |
|
32. |
Отбалансировать динамически ротор |
Вентилятор |
5 |
2,50 |
2,80 |
3,5 |
|
33. |
Установить и закрепить ограждение |
Ограждение |
2 |
0,50 |
0,60 |
0,8 |
|
34. |
Испытать вентилятор и сдать в эксплуатацию |
Вентилятор |
5 |
0,80 |
1,00 |
1,45 |
|
Наименование операций и содержание работы |
Единица объема работы |
Разряд работы |
Номера вентиляторов |
||||
|
3 |
4 |
8 |
9 |
||||
|
Норма времени на единицу объема работы |
|||||||
|
1 |
2 |
3 |
4 |
5 |
6 |
7 |
8 |
|
|
Разборка |
|
|
|
|
|
|
|
1. |
Открепить и снять патрубки воздуховода |
2 патрубка |
2 |
0,40 |
0,40 |
0,70 |
0,78 |
|
2. |
Открепить и снять диффузор |
Диффузор |
2 |
0,30 |
0,45 |
0,58 |
0,64 |
|
3. |
Выпрессовать рабочее колесо с вала |
Рабочее колесо |
3 |
0,27 |
0,31 |
0,41 |
0,42 |
|
4. |
Открепить и снять кожух вентилятора |
Кожух |
2 |
0,80 |
1,00 |
1,60 |
1,74 |
|
5. |
Открепить и снять электродвигатель |
Электродвигатель |
2 |
0,40 |
0,50 |
0,50 |
0,56 |
|
|
Ремонт |
|
|
|
|
|
|
|
6. |
Очистить, промыть и протереть детали |
Вентилятор |
2 |
0,21 |
0,21 |
0,26 |
0,30 |
|
7. |
Произвести дефектовку деталей |
То же |
4 |
0,14 |
0,14 |
0,22 |
0,25 |
|
8. |
Выправить погнутую лопасть рабочего колеса |
Лопасть |
3 |
0,15 |
0,15 |
0,36 |
0,36 |
|
9. |
Зачистить вал, шпоночные канавки на валу, рабочем колесе и подогнать новую шпонку по канавкам |
Вентилятор |
3 |
0,30 |
0,35 |
0,50 |
0,54 |
|
10. |
Подогнать новое рабочее колесо по валу и шпонке |
Рабочее колесо |
4 |
0,20 |
0,25 |
0,67 |
0,70 |
|
11. |
Заменить ступицу рабочего колеса |
Ступица |
3 |
0,50 |
0,50 |
1,10 |
1,16 |
|
12. |
Заменить лопатку рабочего колеса |
Лопатка |
3 |
0,30 |
0,40 |
0,50 |
0,50 |
|
13. |
Отбалансировать статически рабочее колесо |
Рабочее колесо |
5 |
1,45 |
1,46 |
1,87 |
1,94 |
|
14. |
Произвести ремонт резьбовых соединений, изготовить уплотнительные прокладки |
Комплект |
3 |
1,00 |
1,00 |
1,50 |
1,50 |
|
|
Сборка |
|
|
|
|
|
|
|
15. |
Установить и закрепить электродвигатель |
Электродвигатель |
3 |
0,50 |
0,60 |
0,60 |
0,67 |
|
16. |
Установить и закрепить кожух |
Кожух |
3 |
1,00 |
1,10 |
1,80 |
1,88 |
|
17. |
Напрессовать рабочее колесо на вал и закрепить упорной шайбой |
Рабочее колесо |
4 |
0,70 |
0,77 |
1,00 |
1,14 |
|
18. |
Установить и закрепить диффузор с восстановлением зазора между рабочим колесом и диффузором |
Диффузор |
4 |
1,30 |
1,40 |
2,30 |
2,50 |
|
19. |
Установить патрубки воздуховода на новых прокладках с уплотнением разъема асбестовым шнуром и закрепить |
2 патрубка |
3 |
1,15 |
1,26 |
1,80 |
1,85 |
|
20. |
Испытать вентилятор и сдать в эксплуатацию |
Вентилятор |
4 |
0,28 |
0,30 |
0,44 |
0,52 |
|
Наименование операций и содержание работы |
Единица объема работы |
Разряд работы |
Номера вентиляторов |
||||
|
8 |
10 |
12 |
16 |
||||
|
Норма времени на единицу объема работы |
|||||||
|
1 |
2 |
3 |
4 |
5 |
6 |
7 |
8 |
|
|
Разборка |
|
|
|
|
|
|
|
1. |
Открепить и снять ограждение привода |
Ограждение |
2 |
0,07 |
0,08 |
0,08 |
0,08 |
|
2. |
Снять ремни, проверить целостность |
Комплект |
2 |
0,10 |
0,13 |
0,15 |
0,18 |
|
3. |
Открепить и снять патрубки |
2 патрубка |
3 |
2,50 |
3,00 |
3,20 |
3,60 |
|
4. |
Открепить и снять диффузор |
Диффузор |
3 |
0,60 |
0,80 |
0,90 |
1,00 |
|
5. |
Открепить упорную шайбу и спрессовать рабочее колесо |
Рабочее колесо |
3 |
0,40 |
0,50 |
0,58 |
0,80 |
|
6. |
Слить масло, снять боковые крышки подшипников |
2 крышки |
2 |
1,34 |
1,38 |
1,52 |
1,90 |
|
7. |
Снять вал с подшипниками и шкивом |
Вал |
3 |
0,34 |
0,48 |
0,60 |
0,90 |
|
8. |
Выпрессовать шкив, снять шпонку |
Шкив |
3 |
0,30 |
0,50 |
0,80 |
1,00 |
|
9. |
Спрессовать с вала подшипники |
2 подшипника |
3 |
0,20 |
0,35 |
0,35 |
0,50 |
|
|
Ремонт |
|
|
|
|
|
|
|
10. |
Очистить, промыть и протереть детали |
Вентилятор |
2 |
0,40 |
0,40 |
0,42 |
0,43 |
|
11. |
Произвести дефектовку деталей |
То же |
4 |
0,24 |
0,24 |
0,25 |
0,25 |
|
12. |
Выправить погнутую лопасть рабочего колеса |
Лопасть |
3 |
0,37 |
0,38 |
0,38 |
0,70 |
|
13. |
Подогнать новое рабочее колесо по валу и шпонке |
Рабочее |
4 |
0,30 |
0,60 |
0,74 |
0,96 |
|
14. |
Вырубить прокладки для крышек подшипников |
Комплект |
3 |
0,90 |
1,00 |
1,20 |
1,30 |
|
15. |
Зачистить вал, шпоночные канавки на валу, рабочем колесе, шкиве. Подогнать шпонку по канавкам |
Вентилятор |
3 |
1,00 |
1,15 |
1,30 |
1,50 |
|
16. |
Заменить ступицу рабочего колеса |
Ступица |
4 |
1,00 |
1,20 |
1,50 |
2,00 |
|
17. |
Заменить лопатки рабочего колеса |
Лопатка |
3 |
0,40 |
0,50 |
0,60 |
0,70 |
|
18. |
Отбалансировать статически рабочее колесо |
Рабочее колесо |
5 |
2,24 |
2,85 |
3,25 |
4,00 |
|
|
Сборка |
|
|
|
|
|
|
|
19. |
Запрессовать подшипники на вал |
Вентилятор |
3 |
0,50 |
0,70 |
1,00 |
1,10 |
|
20. |
Запрессовать шкив на вал с подгонкой шпонки по месту |
Шкив |
3 |
0,30 |
0,50 |
0,70 |
0,80 |
|
21. |
Установить вал в корпус ходовой части с подшипниками и шкивом |
Вал |
4 |
0,80 |
0,88 |
1,16 |
1,40 |
|
22. |
Установить и закрепить боковые крышки подшипников на новых уплотняющих прокладках |
2 крышки |
3 |
0,21 |
0,30 |
0,35 |
0,50 |
|
23. |
Залить масло в корпус ходовой части |
Вентилятор |
2 |
1,40 |
1,40 |
1,40 |
1,50 |
|
24. |
Запрессовать рабочее колесо на вал с подгонкой шпонки по месту и закреплением упорной шайбой |
Рабочее колесо |
3 |
0,80 |
1,00 |
1,60 |
2,90 |
|
25. |
Установить диффузор и восстановить нормальные зазоры между диффузором и рабочим колесом |
Диффузор |
3 |
2,80 |
3,00 |
4,10 |
5,20 |
|
26. |
Установить патрубки воздуховода |
2 патрубка |
3 |
1,50 |
1,80 |
2,40 |
2,90 |
|
27. |
Установить и закрепить электродвигатель на стойке |
Электродвигатель |
3 |
0,60 |
1,00 |
1,00 |
1,50 |
|
28. |
Установить ремни |
Комплект |
2 |
0,30 |
0,40 |
0,80 |
1,00 |
|
29. |
Установить ограждение привода |
Ограждение |
2 |
0,90 |
1,20 |
1,50 |
1,80 |
|
30. |
Отбалансировать динамически ротор |
Ротор |
5 |
3,50 |
4,00 |
4,50 |
5,00 |
|
31. |
Испытать вентилятор и сдать в эксплуатацию |
Вентилятор |
5 |
0,41 |
0,44 |
0,47 |
0,50 |
|
Наименование операций и содержание работы |
Единица объема работы |
Разряд работы |
Номера вентиляторов |
||
|
16 |
20 |
||||
|
Норма времени на единицу объема |
|||||
|
1 |
2 |
3 |
4 |
7 |
6 |
|
|
Разборка |
|
|
|
|
|
1. |
Открепить и снять ограждение привода |
Ограждение |
2 |
0,34 |
0,68 |
|
2. |
Снять приводные ремни, проверить их целостность |
Комплект |
2 |
0,14 |
0,16 |
|
3. |
Открепить и снять электродвигатель |
Электродвигатель |
3 |
1,30 |
1,80 |
|
4. |
Снять шкив с вала рабочего колеса |
Шкив |
3 |
0,70 |
0,83 |
|
5. |
Открепить и снять входящий патрубок |
Патрубок |
3 |
0,80 |
1,00 |
|
6. |
Открепить и снять выходящий патрубок |
То же |
3 |
0,60 |
0,80 |
|
7. |
Открепить и снять диффузор |
Диффузор |
3 |
0,60 |
0,80 |
|
8. |
Спрессовать рабочее колесо с вала |
Колесо |
4 |
1,00 |
1,60 |
|
9. |
Открепить и снять четырехсекционный спиральный кожух |
4 секции кожуха |
3 |
3,00 |
4,50 |
|
10. |
Слить масло, откр. тр-ы охл. воды |
Вентилятор |
2 |
1,40 |
1,60 |
|
11. |
Открепить и снять боковые крышки подшипников ходовой части вентилятора |
2 крышки |
3 |
1,90 |
2,10 |
|
12. |
Снять вал с подшипниками |
Вал |
3 |
0,80 |
1,16 |
|
13. |
Открепить и снять корпус ходовой части |
Корпус |
3 |
3,40 |
4,80 |
|
14. |
Спрессовать подшипники с вала |
2 подшипника |
3 |
1,00 |
1,70 |
|
|
Ремонт |
|
|
|
|
|
18. |
Очистить, промыть и протереть детали вентилятора |
Вентилятор |
2 |
2,80 |
3,80 |
|
16. |
Произвести дефектовку деталей |
То же |
4 |
1,70 |
2,20 |
|
17. |
Отремонтировать резьбовые соединения, изготовить уплотнительные прокладки |
-»- |
2 |
2,40 |
3,00 |
|
|
Зачистить посадочное место на валу под шкив, исправить паз под шпонку, подогнать шпонку |
-»- |
3 |
0,70 |
0,86 |
|
19. |
Зачистить посадочное место на валу под рабочее колесо, исправить паз под шпонку, подогнать шпонку |
-»- |
3 |
1,17 |
1,30 |
|
20. |
Выправить лопатку рабочего колеса |
Лопатка |
4 |
1,80 |
2,00 |
|
21. |
Заменить ступицу рабочего колеса |
Ступица |
4 |
2,10 |
2,50 |
|
22. |
Отбалансировать статически рабочее колесо |
Колесо |
6 |
3,10 |
3,40 |
|
23. |
Заменить лопатки рабочего колеса |
Лопатка |
3 |
0,90 |
1,10 |
|
|
Сборка |
|
|
|
|
|
24. |
Установить и закрепить четырехсекционный спиральный кожух |
4 секции кожуха |
3 |
3,60 |
4,20 |
|
25. |
Напрессовать подшипники на вал |
2 подшипника |
3 |
1,30 |
1,70 |
|
26. |
Установить и закрепить корпус ходовой части |
Корпус |
3 |
3,90 |
4,60 |
|
27. |
Установить вал в корпус ходовой части |
Вал |
3 |
4,90 |
6,40 |
|
28. |
Установить и закрепить боковые крышки подшипников ходовой части. Залить масло |
2 крышки |
3 |
4,30 |
5,00 |
|
29. |
Установить и закрепить рабочее колесо |
Колесо |
3 |
3,10 |
4,30 |
|
30. |
Установить и закрепить диффузор |
Диффузор |
3 |
3,00 |
4,10 |
|
31. |
Восстановить нормальные зазоры между рабочим колесом и диффузором |
Вентилятор |
4 |
4,80 |
5,40 |
|
32. |
Установить и закрепить входящий патрубок |
Патрубок |
3 |
1,80 |
2,10 |
|
33. |
Установить и закрепить выходящий патрубок |
То же |
3 |
1,00 |
1,20 |
|
34. |
Напрессовать шкив на вал |
Шкив |
4 |
0,74 |
1,12 |
|
35. |
Установить и закрепить электродвигатель |
Электродвигатель |
4 |
1,50 |
2,30 |
|
36. |
Установить приводные ремни |
Комплект |
3 |
0,15 |
0,23 |
|
37. |
Установить и закрепить ограждение привода |
Ограждение |
2 |
0,30 |
0,45 |
|
38. |
Отбалансировать динамически ротор |
Ротор |
5 |
5,40 |
5,80 |
|
39. |
Испытать вентилятор и сдать в эксплуатацию |
Вентилятор |
5 |
4,00 |
4,00 |
|
Наименование операций и содержание работ |
Единица объема работ |
Разряд работ |
Норма времени на единицу объема |
|
|
1 |
2 |
3 |
4 |
5 |
|
|
Разборка |
|
|
|
|
1. |
Снять ограждение с соединительной муфты |
Ограждение |
2 |
0,28 |
|
2. |
Разобрать полумуфту. Проверить радиальное и осевое биение полумуфт, осмотреть и проверить их посадку на вал |
Полумуфта |
4 |
1,40 |
|
3. |
Открепить электродвигатель, снять его, развернуть и отнести в сторону |
Электродвигатель |
3 |
0,80 |
|
4. |
Открепить и снять патрубки воздуховода |
2 патрубка |
2 |
1,80 |
|
5. |
Открепить и снять диффузор |
Диффузор |
2 |
0,80 |
|
6. |
Открепить и снять крышки подшипников |
2 крышки |
2 |
0,28 |
|
7. |
Спрессовать рабочее колесо с вала |
Рабочее колесо |
3 |
0,56 |
|
8. |
Спрессовать полумуфту с вала |
Полумуфта |
2 |
0,25 |
|
9. |
Вынуть вал из корпуса ходовой части с подшипниками. Снять корпус ходовой части |
Вал Корпус |
3 |
1,18 |
|
10. |
Спрессовать подшипники с вала |
2 подшипника |
3 |
0,16 |
|
|
Ремонт |
|
|
|
|
11. |
Очистить, промыть и протереть детали |
Вентилятор |
2 |
0,40 |
|
12. |
Произвести дефектовку деталей |
Вентилятор |
4 |
0,24 |
|
13. |
Выправить погнутую лопасть рабочего колеса |
Лопасть |
3 |
0,37 |
|
14. |
Зачистить вал, шпоночные канавки на валу, рабочем колесе, соединительной муфте и подогнать новые шпонки по канавкам |
Вентилятор |
3 |
1,52 |
|
15. |
Изготовить прокладки для крышек подшипников |
2 прокладки |
3 |
0,60 |
|
16. |
Изготовить амортизаторы под пальцы соединительной муфты |
Комплект |
3 |
0,87 |
|
17. |
Подогнать новую полумуфту по валу и шпонке |
Полумуфта |
3 |
0,60 |
|
18. |
Подогнать шейки нового вала под подшипники |
Вал |
4 |
0,45 |
|
19. |
Подогнать новое рабочее колесо по валу и шпонке |
Рабочее колесо |
4 |
0,70 |
|
20. |
Заменить лопатки рабочего колеса |
Лопатка |
3 |
0,40 |
|
21. |
Заменить ступицу рабочего колеса |
Ступица |
4 |
1,00 |
|
22. |
Отбалансировать статически рабочее колесо |
Вентилятор |
5 |
2,20 |
|
|
Сборка |
|
|
|
|
23. |
Напрессовать подшипники на вал |
2 подшипника |
3 |
0,30 |
|
24. |
Установить вал в корпус ходовой части. Установить и закрепить корпус ходовой части |
Вал Корпус |
4 |
1,50 |
|
25. |
Напрессовать полумуфту на вал и закрепить |
Полумуфта |
3 |
0,38 |
|
26. |
Напрессовать рабочее колесо на вал и закрепить стопорной, шайбой от осевого сдвига. Проверить радиальное и осевое биение колеса |
Рабочее колесо |
4 |
1,10 |
|
27. |
Установить диффузор с калибровкой резьбовых соединений и уплотнением разъема асбестовым шнуром |
Диффузор |
4 |
4,00 |
|
28. |
Установить патрубки воздуховода, очистить патрубки от старых уплотнений. Закрепить патрубки болтами с уплотнением фланцев асбестовым шнуром |
2 патрубка |
4 |
3,80 |
|
29. |
Установить электродвигатель |
Электродвигатель |
3 |
1,00 |
|
30. |
Установить ограждение муфты привода |
Ограждение |
4 |
0,20 |
|
31. |
Отбалансировать динамически ротор |
Ротор |
5 |
3,50 |
|
32. |
Испытать вентилятор и сдать в эксплуатацию |
Вентилятор |
6 |
0,46 |
|
Наименование операций и содержание работы |
Единица объема работы |
Разряд работы |
Номера вентиляторов |
|||||
|
4 |
5 - 6 |
8 |
9 - 10 |
11 - 12 |
||||
|
Норма времени на единицу объема работы |
||||||||
|
1 |
2 |
3 |
4 |
5 |
6 |
7 |
8 |
9 |
|
|
Разборка |
|
|
|
|
|
|
|
|
1. |
Отсоединить и снять ограждение привода |
Ограждение |
2 |
0,09 |
0,11 |
0,13 |
0,19 |
0,23 |
|
2. |
Разобрать полумуфту. Проверить радиальное и осевое биение полумуфт, их целостность и посадку на вал |
Полумуфта |
4 |
0,80 |
0,90 |
1,00 |
1,20 |
1,60 |
|
3. |
Снять ремни, проверить их целостность |
Комплект |
2 |
0,18 |
0,20 |
0,30 |
0,32 |
- |
|
4. |
Снять электродвигатель |
Электродвигатель |
2 |
0,40 |
0,50 |
0,50 |
0,60 |
0,80 |
|
5. |
Открепить и снять патрубки воздуховода |
2 патрубка |
2 |
0,24 |
0,34 |
0,47 |
0,54 |
0,60 |
|
6. |
Открепить и снять верхнюю часть кожуха |
Кожух |
2 |
- |
- |
- |
- |
1,60 |
|
7. |
Отсоединить трубопроводы охлаждающей воды и слить масло |
Вентилятор |
2 |
0,68 |
0,82 |
0,90 |
1,00 |
1,10 |
|
8. |
Открепить и снять крышки подшипников |
2 крышки |
2 |
0,18 |
0,20 |
0,20 |
0,25 |
0,28 |
|
9. |
Спрессовать полумуфту с вала |
Полумуфта |
3 |
0,18 |
0,22 |
0,25 |
0,28 |
0,31 |
|
10. |
Спрессовать шкив с вала |
Шкив |
2 |
0,23 |
0,26 |
0,28 |
0,30 |
- |
|
11. |
Спрессовать подшипники с вала |
2 подшипника |
3 |
12 |
0,16 |
0,16 |
0,20 |
0,23 |
|
12. |
Вынуть вал из корпуса улитки вместе с рабочим колесом |
Вал |
4 |
0,72 |
0,84 |
1,00 |
1,20 |
2,10 |
|
13. |
Спрессовать рабочее колесо с вала |
Рабочее колесо |
3 |
0,28 |
0,37 |
0,54 |
0,76 |
0,80 |
|
14. |
Открепить и снять нижнюю часть кожуха |
Кожух |
2 |
0,66 |
0,86 |
1,11 |
1,23 |
1,70 |
|
|
Ремонт |
|
|
|
|
|
|
|
|
15. |
Очистить, промыть и протереть детали |
Вентилятор |
2 |
0,40 |
0,50 |
0,76 |
0,88 |
1,20 |
|
16. |
Произвести дефектовку деталей |
То же |
4 |
0,70 |
1,30 |
2,00 |
2,20 |
2,90 |
|
17. |
Выправить погнутую лопасть рабочего колеса |
Лопасть |
3 |
0,18 |
0,33 |
0,38 |
0,42 |
0,48 |
|
18. |
Зачистить вал, шпоночные канавки на валу, рабочем колесе, соединительной муфте и подогнать новые шпонки по канавкам |
Вентилятор |
3 |
1,10 |
1,30 |
1,60 |
1,70 |
1,80 |
|
19. |
Изготовить прокладки для крышек подшипников |
Комплект |
3 |
0,40 |
0,50 |
0,60 |
0,80 |
1,00 |
|
20. |
Изготовить амортизаторы под пальцы соединительной муфты |
То же |
3 |
0,70 |
0,78 |
0,87 |
1,14 |
1,26 |
|
21. |
Подогнать новую полумуфту по валу и шпонке |
Полумуфта |
3 |
0,50 |
0,50 |
0,60 |
0,74 |
0,81 |
|
22. |
Заменить ступицу рабочего колеса |
Ступица |
4 |
0,80 |
1,00 |
1,00 |
1,10 |
1,20 |
|
23. |
Заменить лопатки рабочего колеса |
Лопатка |
3 |
0,35 |
0,40 |
0,40 |
0,50 |
0,60 |
|
24. |
Подогнать шейки нового вала под подшипники |
Вал |
4 |
0,35 |
0,35 |
0,45 |
0,58 |
0,65 |
|
25. |
Подогнать новое рабочее колесо по валу и шпонке |
Рабочее колесо |
4 |
0,50 |
0,60 |
0,65 |
0,80 |
0,90 |
|
26. |
Отбалансировать статически рабочее колесо |
То же |
5 |
1,45 |
1,80 |
2,20 |
2,85 |
2,85 |
|
|
Сборка |
|
|
|
|
|
|
|
|
27. |
Установить нижнюю часть кожуха вентилятора и закрепить |
Кожух |
3 |
0,85 |
1,20 |
1,40 |
1,80 |
2,20 |
|
28. |
Напрессовать рабочее колесо на вал и закрепить |
Рабочее колесо. |
4 |
0,16 |
0,18 |
0,20 |
0,23 |
0,30 |
|
29. |
Напрессовать подшипники |
2 подшипника |
3 |
0,20 |
0,24 |
0,30 |
0,34 |
0,38 |
|
30. |
Напрессовать полумуфту и закрепить |
Полумуфта |
3 |
0,35 |
0,30 |
0,32 |
0,38 |
0,40 |
|
31. |
Напрессовать шкив |
Шкив |
3 |
0,32 |
0,36 |
0,37 |
0,40 |
- |
|
32. |
Установить верхнюю часть кожуха |
Кожух |
2 |
- |
- |
- |
- |
1,80 |
|
33. |
Установить вал |
Вал |
2 |
1,15 |
1,20 |
1,50 |
1,56 |
1,62 |
|
34. |
Установить патрубки и закрепить |
2 патрубка |
3 |
0,34 |
0,38 |
0,45 |
0,90 |
1,60 |
|
35. |
Установить крышки подшипников на новых прокладках и закрепить. Залить масло |
2 крышки |
3 |
0,80 |
0,86 |
1,00 |
1,34 |
1,50 |
|
36. |
Установить электродвигатель и закрепить |
Электродвигатель |
3 |
0,50 |
0,60 |
0,68 |
0,76 |
1,00 |
|
37. |
Собрать полумуфту и закрепить |
Полумуфта |
3 |
0,20 |
0,20 |
0,24 |
0,26 |
0,29 |
|
38. |
Установить приводные ремни |
Комплект |
2 |
0,07 |
0,09 |
0,10 |
0,14 |
- |
|
39. |
Установить ограждение и закрепить |
Ограждение |
2 |
0,13 |
0,17 |
0,20 |
0,24 |
0,28 |
|
40. |
Отбалансировать динамически ротор |
Ротор |
5 |
2,30 |
2,80 |
3,50 |
4,20 |
4,80 |
|
41. |
Испытать вентилятор и сдать в эксплуатацию |
Вентилятор |
5 |
0,28 |
0,32 |
0,46 |
0,49 |
0,74 |
|
Наименование операций и содержание работы |
Единица объема работы |
Разряд работы |
Норма времени на единицу объема работы |
|
|
1 |
2 |
3 |
4 |
5 |
|
|
Разборка |
|
|
|
|
1. |
Открепить и снять ограждение муфты с проверкой радиального и осевого биения полумуфт, их целостности и посадки на вал |
Ограждение |
2 |
0,65 |
|
2. |
Разъединить муфту привода |
2 полумуфты |
2 |
0,60 |
|
3. |
Открепить и снять электродвигатель |
Электродвигатель |
3 |
1,30 |
|
4. |
Спрессовать полумуфту с вала рабочего колеса |
Полумуфта |
3 |
0,80 |
|
5. |
Открепить и снять всасывающий патрубок |
Патрубок |
3 |
1,10 |
|
6. |
Открепить и снять нагнетающий патрубок |
То же |
3 |
1,00 |
|
7. |
Открепить и снять коллектор |
Коллектор |
3 |
0,60 |
|
8. |
Открепить и снять люк очистки вентилятора |
Люк |
2 |
0,70 |
|
9. |
Открепить и снять напорную часть корпуса вентилятора (Пр. или Л. 90°) |
Корпус |
3 |
3,20 |
|
10. |
Спрессовать рабочее колесо с вала |
Колесо |
4 |
2,00 |
|
11. |
Открепить и снять крышки подшипников ходовой части |
2 крышки |
2 |
2,20 |
|
12. |
Вынуть вал из корпуса ходовой части |
Вал |
3 |
1,20 |
|
13. |
Спрессовать подшипники с вала |
2 подшипника |
3 |
0,86 |
|
14. |
Открепить и снять вторую половину корпуса вентилятора (Пр. или Л. 90°) |
1 половина корпуса |
3 |
4,00 |
|
15. |
Открепить и снять корпус ходовой части |
Корпус |
3 |
2,60 |
|
|
Ремонт |
|
|
|
|
16. |
Очистить, промыть и протереть детали вентилятора |
Вентилятор |
2 |
1,25 |
|
17. |
Произвести дефектовку деталей |
То же |
4 |
1,00 |
|
18. |
Произвести ремонт резьбовых соединений, изготовить уплотнительные прокладки |
Комплект |
3 |
2,40 |
|
19. |
Зачистить посадочное место на валу под полумуфту, исправить паз и подогнать шпонки |
Полумуфта |
3 |
1,20 |
|
20. |
Зачистить посадочное место на валу под рабочее колесо и подшипники, исправить шпоночный паз и подогнать шпонку |
Вал |
3 |
1,90 |
|
21. |
Произвести правку лопаток рабочего колеса вентилятора |
Колесо |
4 |
1,80 |
|
22. |
Отбалансировать статически рабочее колесо |
То же |
5 |
3,10 |
|
|
Сборка |
|
|
|
|
23. |
Напрессовать шарикоподшипники на вал |
2 подшипника |
4 |
1,30 |
|
24. |
Установить вал в корпус ходовой части вентилятора |
Вал |
4 |
1,70 |
|
25. |
Установить и закрепить корпус ходовой части вентилятора с проверкой и установкой радиального положения ротора |
Корпус |
3 |
4,20 |
|
26. |
Установить и закрепить крышки подшипников, набить смазку |
Вентилятор |
3 |
1,10 |
|
27. |
Установить и закрепить корпус вентилятора, предварительно установив уплотнение по разъему |
Корпус |
3 |
3,60 |
|
28. |
Установить и закрепить рабочее колесо на валу |
Колесо |
4 |
3,10 |
|
29. |
Устранить осевое и радиальное биения на рабочем колесе после его замены или снятия |
То же |
5 |
6,50 |
|
30. |
Установить и закрепить коллектор |
Коллектор |
3 |
3,30 |
|
31. |
Восстановить нормальные зазоры между рабочим колесом и диффузором с изготовлением и приваркой обечаек |
Вентилятор |
5 |
4,80 |
|
32. |
Напрессовать полумуфту на вал рабочего колеса |
Полумуфта |
3 |
0,30 |
|
33. |
Установить и закрепить электродвигатель |
Электродвигатель |
3 |
1,60 |
|
34. |
Произвести центровку электродвигателя с валом рабочего колеса |
Вентилятор |
5 |
5,51 |
|
35. |
Соединить полумуфты, установить ограждение привода |
Муфта |
3 |
2,60 |
|
36. |
Установить и закрепить всасывающий патрубок |
Патрубок |
3 |
1,00 |
|
37. |
Установить и закрепить люк очистки вентилятора |
Люк |
2 |
1,30 |
|
38. |
Установить и закрепить нагнетающий патрубок |
Патрубок |
3 |
1,50 |
|
39. |
Отбалансировать динамически ротор |
Ротор |
5 |
5,40 |
|
40. |
Испытать вентилятор и сдать в эксплуатацию |
Вентилятор |
5 |
4,00 |
|
Наименование операций и содержание работы |
Единица объема работы |
Разряд работы |
Норма времени на единицу объема работы |
|||||
|
ВМ-40/750 1Б ВМ-40/750 ПБ ВВСМ-1 |
ВМ-50/1000 ВМ-100/1000 ВМ-15 |
ВМ-75/1200 ВМ-100/1200 ВВСМ-2 ВВСМ-3 |
ВМ-160/850 ВМ-20А |
ВМ-180/1180 |
||||
|
1 |
2 |
3 |
4 |
5 |
6 |
7 |
8 |
9 |
|
|
Разборка |
|
|
|
|
|
|
|
|
1. |
Снять ограждение соединительной муфты, снять пальцы с их маркировкой. Проверить радиальное и осевое биения полумуфт, их целостность и посадку на вал |
Вентилятор |
3 |
1,10 |
1,20 |
1,40 |
1,70 |
2,10 |
|
2. |
Открепить и развернуть электродвигатель |
Электродвигатель |
4 |
1,30 |
1,50 |
1,80 |
2,60 |
3,00 |
|
3. |
Открепить и снять смотровой и выгребной лючки улитки вентилятора |
Вентилятор |
2 |
3,16 |
0,23 |
0,27 |
0,33 |
0,50 |
|
4. |
Снять всасывающий патрубок |
Патрубок |
2 |
0,80 |
1,00 |
1,20 |
1,50 |
2,30 |
|
5. |
Снять торцевую крышку улитки |
Крышка |
2 |
2,90 |
3,30 |
3,80 |
4,30 |
6,40 |
|
6. |
Измерить радиальное и осевое биения рабочего колеса. Снять рабочее колесо |
Рабочее колесо |
4 |
5,10 |
5,50 |
5,90 |
7,80 |
9,90 |
|
7. |
Спустить масло из корпуса подшипников. Отсоединить трубопроводы охлаждающей воды |
Вентилятор |
2 |
0,80 |
0,90 |
0,90 |
1,00 |
1,10 |
|
8. |
Снять верхнюю крышку корпуса подшипников. Снять вал с подшипниками |
То же |
4 |
1,30 |
1,60 |
2,20 |
3,30 |
4,50 |
|
|
Ремонт |
|
|
|
|
|
|
|
|
9. |
Промыть и проверить подшипники с определением степени их износа и измерить зазоры. Заменить сальниковые уплотнения и прокладки с их изготовлением. Проверить указатели уровня масла |
-«- |
4 |
2,50 |
3,10 |
4,00 |
4,80 |
5,90 |
|
10. |
Провести гидравлическое испытание змеевика охлаждения масла |
Змеевик |
2 |
2,20 |
2,60 |
3,40 |
4,50 |
6,20 |
|
11. |
Проверить состояние рабочего колеса, брони, диффузоров |
Вентилятор |
4 |
1,30 |
1,60 |
2,00 |
2,50 |
3,10 |
|
12. |
Заменить дефектные участки брони улитки |
1 м2 |
4 |
3,50 |
3,50 |
3,50 |
3,50 |
3,50 |
|
13. |
Уплотнить улитку вентилятора при прилегающих воздуховодах проваркой дефектных швов электросваркой |
1 м шва |
3 |
0,60 |
0,60 |
0,60 |
0,60 |
0,60 |
|
14. |
Снять и установить полумуфту. Зачистить вал и паз под шпонку и подогнать новую шпонку |
Полумуфта |
2 |
2,30 |
2,80 |
3,40 |
4,20 |
4,50 |
|
15. |
Подогнать роликовые подшипники, проверить посадочное место вала, определить натяг, нагреть в масляной ванне и посадить на вал |
Подшипник |
4 |
1,50 |
1,50 |
1,60 |
1,80 |
2,00 |
|
16. |
Восстановить плоскости разъема улитки и торцевой крышки наплавкой |
1 м2 |
4 |
4,20 |
4,20 |
4,20 |
4,20 |
4,30 |
|
17. |
Заменить распорки в перемычке улитки |
Распорка |
4 |
1,30 |
1,30 |
1,30 |
1,30 |
1,30 |
|
18. |
Очистить и проверить плоскости разъема улитки и торцевой крышки |
Вентилятор |
2 |
1,30 |
1,50 |
1,80 |
2,20 |
2,70 |
|
19. |
Заменить рабочее колесо со снятием со ступицы, подгонкой нового колеса к ступице и приклепыванием |
Рабочее колесо |
4 |
15,00 |
19,00 |
23,20 |
29,20 |
34,00 |
|
20. |
Заменить лопатки рабочего колеса |
Лопатка |
3 |
1,80 |
1,80 |
1,80 |
2,40 |
3,30 |
|
21. |
Отбалансировать статически рабочее колесо |
Рабочее колесо |
5 |
2,60 |
3,20 |
3,80 |
4,80 |
5,60 |
|
22. |
Заменить улитку (фланцевую) |
Вентилятор |
4 |
17,10 |
19,90 |
22,80 |
28,50 |
30,00 |
|
|
Сборка |
|
|
|
|
|
|
|
|
23. |
Установить вал с подшипниками на нижнюю половину корпуса. Выверить вал. Установить и закрепить верхнюю половину корпуса подлинников. Уплотнить вал в месте прохода через боковую стенку улитки |
Вал |
4 |
1,80 |
2,10 |
3,10 |
3,70 |
4,90 |
|
24. |
Установить на вал рабочее колесо и закрепить специальной гайкой. Проверить радиальное и осевое биения рабочего колеса |
Рабочее |
4 |
5,90 |
6,20 |
8,40 |
10,30 |
12,30 |
|
25. |
Установить, уплотнить и закрепить торцевую крышку улитки. Выверить положения подшипников и рабочего колеса |
Вентилятор |
4 |
6,70 |
7,80 |
8,60 |
10,80 |
13,20 |
|
26. |
Установить, уплотнить и закрепить всасывающий патрубок |
Патрубок |
3 |
1,70 |
2,00 |
2,40 |
2,80 |
3,20 |
|
27. |
Установить на новых прокладках смотровой и выгребной люки улитки |
Вентилятор |
2 |
0,34 |
0,50 |
0,60 |
0,70 |
1,00 |
|
28. |
установить или развернуть электродвигатель. Отцентровать электродвигатель по полумуфтам и закрепить гайками |
Электродвигатель |
4 |
1,50 |
2,00 |
2,30 |
3,00 |
3,60 |
|
29. |
Соединить полумуфты электродвигателя и вентилятора пальцами. Установить ограждения полумуфт |
Вентилятор |
3 |
1,60 |
1,70 |
2,00 |
2,30 |
2,50 |
|
30. |
Проверить систему водяного охлаждения подшипников |
То же |
3 |
1,00 |
1,30 |
1,70 |
2,20 |
3,10 |
|
31. |
Залить масло в корпус подпятников. Присоединить трубопроводы охлаждающей воды |
ж |
2 |
1,60 |
1,70 |
1,90 |
2,00 |
2,20 |
|
32. |
Отбалансировать динамически ротор |
Ротор |
5 |
5,40 |
6,00 |
7,20 |
8,90 |
10,70 |
|
33. |
Опробовать вентилятор |
Вентилятор |
5 |
4,00 |
4,00 |
5,00 |
6,70 |
8,00 |
|
Наименование операций и содержание работы |
Единица объема работы |
Разряд работы |
Норма времени на единицу объема работы |
|||
|
ВГД-13,5 У |
ВГД-15,5 У |
ВГД-20 У |
||||
|
1 |
2 |
3 |
4 |
5 |
6 |
7 |
|
|
Разборка |
|
|
|
|
|
|
1. |
Отсоединить вентилятор от воздуховода |
Вентилятор |
2 |
1,73 |
1,82 |
2,25 |
|
2. |
Снять ограждение муфты |
Ограждение |
2 |
1,05 |
1,15 |
1,33 |
|
3. |
Разъединить муфту |
Муфта |
3 |
0,25 |
0,27 |
0,38 |
|
4. |
Снять электродвигатель с рамы |
Электродвигатель |
4 |
1,05 |
1,26 |
1,42 |
|
5. |
Снять приемный патрубок с сеткой |
Патрубок |
2 |
0,70 |
0,73 |
1,02 |
|
6. |
Снять направляющий аппарат |
Аппарат |
2 |
3,20 |
3,40 |
3,74 |
|
7. |
Слить масло |
Вентилятор |
2 |
1,30 |
1,40 |
1,50 |
|
8. |
Отсоединить систему водяного охлаждения от корпусов подшипников |
Комплект |
2 |
0,70 |
0,80 |
1,10 |
|
9. |
Застропить и снять съемный сектор улитки |
Съемный сектор |
3 |
1,27 |
1,42 |
1,60 |
|
10. |
Снять крышку корпуса подшипника |
Крышка |
2 |
0,21 |
0,36 |
0,40 |
|
11. |
Вынуть вал в сборе с рабочим колесом, малой крыльчаткой и подшипниками |
Комплект |
4 |
2,10 |
2,52 |
3,03 |
|
12. |
Снять малую крыльчатку |
Крыльчатка |
2 |
0,14 |
0,20 |
0,23 |
|
13. |
Снять рабочее колесо |
Рабочее колесо |
3 |
2,60 |
4,20 |
5,80 |
|
14. |
Спрессовать подшипники с вала |
Комплект |
3 |
1,93 |
2,04 |
2,32 |
|
|
Ремонт |
|
|
|
|
|
|
15. |
Очистить, промыть и протереть детали |
Вентилятор |
2 |
3,00 |
3,20 |
4,13 |
|
16. |
Произвести дефектовку деталей |
То же |
4 |
1,74 |
1,80 |
2,00 |
|
17. |
Заменить лопатки рабочего колеса |
Лопатка |
3 |
1,30 |
1,40 |
1,50 |
|
18. |
Отремонтировать направляющий аппарат с проверкой работы поворотных колец и устранением мелких дефектов |
Аппарат |
4 |
7,90 |
8,70 |
11,50 |
|
19. |
Заменить ступицу рабочего колеса |
Ступица |
4 |
1,50 |
2,00 |
2,90 |
|
20. |
Отремонтировать улитку |
Улитка |
3 |
6,24 |
7,20 |
9,74 |
|
21. |
Заменить прокладки, сальники |
Комплект |
3 |
4,26 |
5,44 |
7,38 |
|
22. |
Отремонтировать систему охлаждения подшипников с гидравлическим испытанием змеевика |
Вентилятор |
3 |
2,50 |
3,20 |
4,10 |
|
23. |
Зачистить посадочные места на валу под рабочее колесо и подшипники, исправить паз под шпонку, с подгонкой новой шпонки |
Вентилятор |
4 |
2,20 |
2,60 |
3,00 |
|
24. |
Зачистить посадочное место на валу под полумуфту, исправить паз под шпонку и подогнать новую шпонку |
То же |
4 |
0,80 |
1,00 |
1,40 |
|
25. |
Отбалансировать статически рабочее колесо |
Рабочее колесо |
5 |
7,28 |
8,30 |
11,30 |
|
|
Сборка |
|
|
|
|
|
|
26. |
Напрессовать подшипники на вал |
Комплект |
4 |
3,90 |
4,10 |
4,60 |
|
27. |
Установить рабочее колесо на вал |
Рабочее колесо |
4 |
1,30 |
3,10 |
4,30 |
|
28. |
Установить малую крыльчатку |
Крыльчатка |
3 |
0,30 |
0,40 |
0,50 |
|
29. |
Установить вал в сборе с подшипниками, рабочим колесом и малой крыльчаткой |
Вал |
4 |
4,15 |
5,04 |
6,04 |
|
30. |
Установить крышку подшипников |
Крышка |
3 |
0,42 |
0,60 |
0,80 |
|
31. |
Установить съемный сектор улитки |
Сектор |
3 |
2,25 |
2,84 |
3,15 |
|
32. |
Присоединить систему охлаждения к корпусу подшипников |
Комплект |
3 |
1,33 |
1,46 |
2,11 |
|
33. |
Заменить масло в картере ходовой части |
Вентилятор |
2 |
1,30 |
1,40 |
1,50 |
|
34. |
Установить направляющий аппарат |
Аппарат |
4 |
6,40 |
6,80 |
7,50 |
|
35. |
Установить нормальные зазоры между рабочим колесом диффузором |
Вентилятор |
5 |
4,70 |
5,00 |
5,60 |
|
36. |
Установить приемный патрубок с сеткой |
Патрубок |
3 |
1,40 |
1,50 |
2,04 |
|
37. |
Установить электродвигатель на раму |
Электродвигатель |
3 |
2,10 |
2,24 |
2,66 |
|
38. |
Соединить муфту |
Муфта |
3 |
0,50 |
0,60 |
0,76 |
|
39. |
Установить ограждение муфты |
Ограждение |
2 |
2,10 |
2,24 |
2,66 |
|
40. |
Присоединить вентилятор к воздуховоду |
Вентилятор |
2 |
3,46 |
3,64 |
5,10 |
|
41. |
Отбалансировать динамически ротор |
Ротор |
5 |
5,40 |
5,80 |
6,30 |
|
42. |
Испытать вентилятор и сдать в эксплуатацию |
Вентилятор |
5 |
6,55 |
7,55 |
10,90 |
|
Наименование операций и содержание работы |
Единица объема работы |
Разряд работы |
Норма времени на единицу объема работы |
||||||
|
ВД-6, ВД-8, ВД-10 |
ВД-12, ВД-13,5 |
ВД-15,5 |
ВД-18, ВД-20 |
ВДН-24, ВДН-25 |
ВДН-26, ВДН-28, ВДН-32 |
||||
|
1 |
2 |
3 |
4 |
5 |
6 |
7 |
8 |
9 |
10 |
|
|
Разборка |
|
|
|
|
|
|
|
|
|
1. |
Снять ограждение соединительной муфты. Проверить радиальное и осевое биения полумуфт, их целостность и посадку на вал |
Вентилятор |
4 |
1,60 |
2,00 |
2,10 |
2,30 |
2,50 |
2,70 |
|
2. |
Открепить и снять осевой направляющий аппарат |
Аппарат |
3 |
- |
4,50 |
4,90 |
5,60 |
5,90 |
6,20 |
|
3. |
Слить масло из корпуса подшипников. Отсоединить трубопроводы охлаждающей воды |
Вентилятор |
2 |
1,20 |
1,30 |
1,40 |
1,50 |
1,60 |
1,70 |
|
4. |
Открепить и снять верхнюю крышку корпуса подшипников. Разобрать сальниковое уплотнение в месте прохода вала через стенку улитки. Снять вал вентилятора: |
|
|
|
|
|
|
|
|
|
|
а) совместно с рабочим колесом и со снятием съемной части улитки |
Вал |
4 |
18,00 |
19,50 |
20,20 |
22,40 |
23,60 |
25,80 |
|
|
б) без рабочего колеса, с установкой и приваркой внутри улитки распорных балок для фиксации рабочего колеса |
Вал |
4 |
10,20 |
11,00 |
11,50 |
12,80 |
13,40 |
14,80 |
|
5. |
Снять и установить полумуфту для ремонта или замены |
Полумуфта |
3 |
2,80 |
3,00 |
3,10 |
3,50 |
3,60 |
3,80 |
|
6. |
Открепить и снять с вала рабочее колесо со ступицей |
Колесо |
4 |
1,80 |
2,80 |
4,60 |
5,80 |
7,10 |
8,40 |
|
|
Ремонт |
|
|
|
|
|
|
|
|
|
7. |
Очистить, промыть и протереть детали |
Вентилятор |
2 |
2,10 |
2,50 |
3,10 |
3,40 |
3,70 |
4,00 |
|
8. |
Произвести дефектовку деталей |
То же |
4 |
0,80 |
1,00 |
1,02 |
1,13 |
1,24 |
1,49 |
|
9. |
Выправить лопасть крыльчатки |
Лопасть |
3 |
- |
- |
0,28 |
0,30 |
0,33 |
0,37 |
|
10. |
Произвести ремонт осевого направляющего аппарата с проверкой работы поворотных колец, выявлением повреждений, устранением дефектов и заменой деталей |
Аппарат |
4 |
- |
8,50 |
9,70 |
10,80 |
11,40 |
12,00 |
|
11. |
Проверить подшипники ротора с их промывкой, измерением зазоров, заменой сальниковых уплотнений и прокладок, гидравлическим испытанием змеевика охлаждения и проверкой указателей уровня масла |
Вентилятор |
5 |
2,00 |
2,80 |
3,40 |
4,30 |
5,60 |
7,50 |
|
12. |
Восстановить нормальные зазоры между рабочим колесом и диффузором с изготовлением и приваркой обечаек |
Вентилятор |
5 |
4,50 |
4,70 |
5,00 |
5,60 |
6,00 |
6,40 |
|
13. |
Проверить крепление лопаток рабочего колеса с устранением дефектов. Проверить крепления рабочего колеса к ступице и ступицы к валу |
То же |
4 |
3,60 |
3,70 |
4,10 |
4,70 |
5,10 |
5,30 |
|
14. |
Проверить шейки вала на конусность, эллипсность и выявить другие дефекты (для вала с подшипником скольжения) |
Вал |
5 |
1,10 |
1,30 |
1,50 |
1,70 |
2,10 |
2,50 |
|
15. |
Проверить гильзы термопар для контроля температуры подшипников |
Комплект |
3 |
0,50 |
0,50 |
0,50 |
0,50 |
0,50 |
0,50 |
|
16. |
Заменить рабочее колесо с резкой головок заклепок, выбивкой заклепок, снятием со ступицы, установкой и клепкой |
Рабочее колесо |
4 |
6,20 |
6,50 |
6,80 |
7,60 |
8,10 |
8,70 |
|
17. |
Заменить ступицу рабочего колеса |
Ступица |
3 |
1,40 |
1,80 |
2,30 |
2,70 |
3,50 |
4,50 |
|
18. |
Отбалансировать статически рабочее колесо |
Рабочее колесо |
5 |
1,80 |
2,40 |
3,10 |
3,70 |
4,70 |
6,00 |
|
19. |
Заменить тяги рабочего колеса |
Тяга |
2 |
0,50 |
0,70 |
0,90 |
1,00 |
1,30 |
1,80 |
|
20. |
Заменить крыльчатку рабочего колеса при выведенном роторе из кожуха улитки: |
|
|
|
|
|
|
|
|
|
|
а) крепление на болтах М14-16 - 16 шт. |
Крыльчатка |
3 |
6,40 |
7,10 |
7,70 |
8,50 |
9,40 |
10,60 |
|
|
б) крепление на заклепках М14-16 мм - 24 шт. |
Крыльчатка |
3 |
7,20 |
7,90 |
8,60 |
9,50 |
10,60 |
11,30 |
|
21. |
Заменить дефектные лопатки рабочего колеса при выведенном рабочем колесе из напорной улитки: |
|
|
|
|
|
|
|
|
|
|
а) на заклепках |
Лопатка |
4 |
0,50 |
0,60 |
0,70 |
0,80 |
0,90 |
1,10 |
|
|
б) на сварке |
То же |
Сл. 3 р. - 1 |
0,10 |
0,20 |
0,20 |
0,30 |
0,30 |
0,30 |
|
|
|
|
Г/св. 4 р. - 1 |
0,20 |
0,20 |
0,30 |
0,30 |
0,40 |
0,40 |
|
|
|
|
Э/св. 4 р. - 1 |
0,30 |
0,30 |
0,40 |
0,50 |
0,50 |
0,60 |
|
22. |
Заменить дефектные лопатки рабочего колеса при невыведенном рабочем колесе из напорной улитки: |
|
|
|
|
|
|
|
|
|
|
а) на заклепках |
-«- |
4 |
0,80 |
0,90 |
1,00 |
1,20 |
1,30 |
1,60 |
|
|
б) на сварке |
-«- |
Сл. 3 р. - 1 |
0,20 |
0,30 |
0,30 |
0,30 |
0,30 |
0,30 |
|
|
|
|
Г/св. 4 р. - 1 |
0,30 |
0,30 |
0,50 |
0,50 |
0,50 |
0,50 |
|
|
|
|
Э/св. 4 р. - 1 |
0,50 |
0,50 |
0,60 |
0,80 |
0,80 |
0,90 |
|
|
Сборка |
|
|
|
|
|
|
|
|
|
23. |
Установить рабочее колесо со ступицей на вал и закрепить его на валу |
Рабочее колесо |
4 |
2,70 |
3,90 |
6,40 |
8,00 |
9,70 |
11,60 |
|
24. |
Установить вал вентилятора. Собрать сальниковое уплотнение в месте прохода вала через стенку улитки. Установить и закрепить верхнюю крышку корпуса подшипников: |
|
|
|
|
|
|
|
|
|
|
а) установить вал, снятый совместно с рабочим колесом, с установкой и закреплением съемного участка улитки |
Вал |
4 |
19,60 |
21,00 |
23,20 |
25,80 |
26,50 |
23,60 |
|
|
б) установить вал, снятый без рабочего колеса, с удалением из улитки распорных балок, установленных для фиксации рабочего колеса |
То же |
4 |
13,20 |
14,00 |
15,00 |
16,60 |
18,30 |
19,20 |
|
25. |
Устранить осевое радиальное биение на рабочем колесе после его замены |
Рабочее колесо |
5 |
5,20 |
6,00 |
6,50 |
7,60 |
9,00 |
10,80 |
|
26. |
Установить и выверить, закрепить осевой направляющий аппарат |
Аппарат |
5 |
- |
6,30 |
6,90 |
7,70 |
8,50 |
9,00 |
|
27. |
Проверить пальцы полумуфт с прогонкой резьбы и заменой эластичных втулок |
Комплект |
3 |
1,50 |
1,60 |
1,70 |
1,80 |
1,90 |
2,00 |
|
28. |
Соединить полумуфты и установить ограждение |
Вентилятор |
4 |
2,00 |
2,30 |
2,60 |
2,80 |
3,30 |
3,60 |
|
29. |
Залить масло в корпус подшипников, присоединить трубопроводы охлаждающей воды |
То же |
2 |
1,40 |
1,50 |
1,50 |
1,50 |
1,70 |
1,90 |
|
30. |
Отбалансировать динамически ротор |
Ротор |
5 |
5,10 |
5,40 |
5,80 |
6,30 |
6,80 |
7,30 |
|
31. |
Испытать вентилятор и сдать в эксплуатацию |
Вентилятор |
5 |
8,00 |
8,00 |
8,00 |
12,00 |
12,00 |
16,00 |
Примечание. В п. 17 при креплении крыльчатки болтами (или заклепками) диаметром М 20-24 нормы времени применять с К = 1,3. При увеличении числа болтов (или заклепок) от 26 до 32 шт. норму времени применять с К = 1,3, при числе болтов (или заклепок) от 36 до 48 шт. - К = 1,5.
|
Наименование операций и содержание работы |
Единица объема работы |
Разряд работы |
Норма времени на единицу объема работы |
|
|
1 |
2 |
3 |
4 |
5 |
|
|
Разборка |
|
|
|
|
1. |
Снять ограждение соединительной муфты. Снять соединительные пальцы. Проверить радиальное и осевое биения полумуфт, их целостность и посадку на вал |
Вентилятор |
4 |
2,70 |
|
2. |
Снять лазы. Отсоединить и снять съемные участки улитки и всасывающих карманов |
То же |
2 |
12,50 |
|
3. |
Разобрать подшипники вала вентилятора: |
|
|
|
|
|
а) подшипник качения с откреплением и снятием торцевых и верхних крышек, откреплением корпусов подшипников |
-»- |
4 |
8,00 |
|
|
б) подшипник скольжения со сливом масла, измерением зазоров, проверкой угла касания вала с нижним вкладышем, горизонтальности вала по шейкам и толщины прокладок в разъемах вкладышей |
-»- |
4 |
13,20 |
|
4. |
Снять ротор и уложить его на козлы: |
|
|
|
|
|
а) совместно с рабочим колесом |
Ротор |
4 |
4,70 |
|
|
б) выемка вала без рабочего колеса |
То же |
4 |
14,50 |
|
5. |
Снять и установить полумуфту. Зачистить посадочные места на валу и заменить шпонки |
Полумуфта |
3 |
3,10 |
|
|
Ремонт |
|
|
|
|
6. |
Проверить шейки вала на конусность, эллипсность и выявить другие дефекты (для вала с подшипниками скольжения) |
Вал |
5 |
2,10 |
|
7. |
Проверить состояние корпуса улитки, всасывающих карманов, диффузоров, уплотнений корпуса в местах прохода вала, лазов, шиберов и приводов к ним |
Вентилятор |
3 |
5,70 |
|
8. |
Очистить, промыть и протереть детали |
То же |
2 |
4,67 |
|
9. |
Произвести дефектовку деталей |
-»- |
6 |
2,16 |
|
10. |
Произвести ремонт осевого направляющего аппарата с проверкой работы поворотных колец, выявлением повреждений, устранением выявленных дефектов и заменой деталей |
Аппарат |
4 |
12,50 |
|
11. |
Заменить рабочее колесо со снятием с вала вместе со ступицей и отремонтировать ступицу |
Рабочее колесо |
4 |
26,00 |
|
12. |
Отбалансировать статически рабочее колесо |
То же |
5 |
3,20 |
|
13. |
Устранить осевое и радиальное биения на рабочем колесе после его замены |
-»- |
5 |
6,40 |
|
14. |
Проверить и собрать подшипники вала вентилятора: |
|
|
|
|
|
а) подшипники качения с измерением зазоров |
Вентилятор |
5 |
13,00 |
|
|
б) подшипники скольжения |
То же |
5 |
26,70 |
|
15. |
Проверить корпус подшипников скольжения |
Корпус |
3 |
2,6 |
|
16. |
Проверить холодильники охлаждения масла подшипников с очисткой и гидравлическим испытанием змеевиков. Проверить указатели уровня масла |
Подшипник |
3 |
3,5 |
|
17. |
Произвести ремонт системы охлаждения с проверкой вентилей и заменой дефектных участков труб |
Вентилятор |
3 |
5 |
|
18. |
Заменить ступицу рабочего колеса |
Ступица |
3 |
3,5 |
|
19. |
Заменить тяги рабочего колеса |
Тяга |
2 |
1,4 |
|
20. |
Заменить охлаждающие рубашки во всасывающих карманах |
Рубашка |
3 |
2,9 |
|
21. |
Изготовить охлаждающие рубашки во всасывающих карманах |
То же |
3 |
4,6 |
|
22. |
Заменить лопатки рабочего колеса при выведенном рабочем колесе из напорной улитки: |
|
|
|
|
|
а) на заклепках |
Лопатка |
4 |
0,9 |
|
|
б) на сварке |
То же |
4 |
0,5 |
|
23. |
Заменить лопатки рабочего колеса при невыведенном рабочем колесе из напорной улитки: |
|
|
|
|
|
а) на заклепках |
-»- |
4 |
2,2 |
|
|
б) на сварке |
-»- |
4 |
1,2 |
|
24. |
Заменить крыльчатку рабочего колеса при выведенном роторе из напорной части улитки: |
|
|
|
|
|
а) крепление на заклепках Ø 16 мм - 14 шт. |
Комплект |
4 |
14,30 |
|
|
б) крепление на болтах М14 - 16 шт. |
То же |
4 |
11,50 |
|
|
Сборка |
|
|
|
|
25. |
Установить нижние вкладыши в корпус подшипника (подшипники скольжения). Установить ротор |
Ротор |
4 |
6,50 |
|
26. |
Установить съемные части улитки и всасывающих карманов, закрепить сваркой. Установить лазы |
Вентилятор |
4 |
13,0 |
|
27. |
Проверить пальцы полумуфт с прогонкой резьбы и заменой эластичных втулок |
Комплект |
3 |
2,00 |
|
28. |
Соединить полумуфты электродвигателя и вентилятора. Установить ограждение полумуфт |
Вентилятор |
4 |
3,00 |
|
29. |
Отбалансировать динамически ротор |
Ротор |
5 |
6,40 |
|
30. |
Испытать вентилятор и сдать в эксплуатацию |
Вентилятор |
5 |
12,00 |
Примечание. В п. 24 при креплении крыльчатки болтами (или заклепками) диаметром М 20 - 24 нормы времени применять с К = 1,3. При увеличении числа болтов (или заклепок) от 26 до 32 шт. норму времени применять с К = 1,3, при числе болтов (или заклепок) от 36 до 48 шт. - К = 1,5.
|
Наименование операций и содержание работы |
Единица объема работы |
Разряд работы |
Норма времени на единицу объема работы |
|
|
1 |
2 |
3 |
4 |
5 |
|
|
Разборка |
|
|
|
|
1. |
Открепить и снять ограждение муфты |
Ограждение |
2 |
0,10 |
|
2. |
Разъединить полумуфты |
2 полумуфты |
2 |
0,14 |
|
3. |
Открепить и снять электродвигатель |
Электродвигатель |
2 |
0,24 |
|
4. |
Спрессовать полумуфту с вала |
Полумуфта |
3 |
0,09 |
|
5. |
Отопить и снять крышку улитки |
Крышка |
2 |
0,22 |
|
6. |
Спрессовать рабочее колесо |
Рабочее колесо |
3 |
0,20 |
|
7. |
Открепить и снять боковые крышки лабиринтов и верхние крышки подшипников |
Комплект |
2 |
0,43 |
|
8. |
Открепить и снять крышку бугелей |
Крышка |
2 |
0,18 |
|
9. |
Открепить и снять бугеля и корпус подшипника |
Комплект |
3 |
0,44 |
|
10. |
Выбить шплинты, снять лабиринтовые уплотнения, распорные кольца, спрессовать подшипники |
То же |
2 |
0,64 |
|
|
Ремонт |
|
|
|
|
11. |
Очистить, промыть и протереть детали |
Вентилятор |
2 |
0,70 |
|
12. |
Произвести дефектовку деталей |
То же |
4 |
0,45 |
|
13. |
Изготовить ограждение полумуфт |
Ограждение |
2 |
0,61 |
|
14. |
Изготовить прокладки |
Комплект |
3 |
0,14 |
|
15. |
Отбалансировать статически рабочее колесо |
Рабочее колесо |
4 |
0,34 |
|
|
Сборка |
|
|
|
|
16. |
Напрессовать подшипники на вал, установить распорные кольца, лабиринтные уплотнения и закрепить |
Комплект |
3 |
1,52 |
|
17. |
Набить подшипники тавотом, установить и закрепить крышки и корпуса подшипников, лабиринтные уплотнения |
То же |
3 |
0,84 |
|
18. |
Установить крышки бугеля и соединить их с корпусом |
-»- |
3 |
0,22 |
|
19. |
Напрессовать полумуфту на вал и закрепить шпонкой |
Полумуфта |
4 |
0,24 |
|
20. |
Установить вал на раму вентилятора, отцентровать и закрепить |
Вал |
3 |
0,46 |
|
21. |
Напрессовать рабочее колесо на вал |
Рабочее колесо |
3 |
0,38 |
|
22. |
Установить и закрепить крышку улитки |
Крышка |
3 |
1,20 |
|
23. |
Установить электродвигатель, отцентровать с валом вентилятора и закрепить |
Электродвигатель |
2 |
1,66 |
|
24. |
Установить и закрепить ограждение |
Ограждение |
2 |
0,20 |
|
25. |
Испытать вентилятор и сдать в эксплуатацию |
Вентилятор |
4 |
2,67 |
|
Наименование операций и содержание работы |
Единица объема работы |
Разряд работы |
Норма времени на единицу объема работы |
|
|
1 |
2 |
3 |
4 |
5 |
|
|
Разборка |
|
|
|
|
1. |
Открепить и снять ограждение муфты |
Ограждение |
2 |
0,06 |
|
2. |
Разъединить полумуфты |
2 полумуфты |
2 |
0,11 |
|
3. |
Открепить и снять электродвигатель |
Электродвигатель |
2 |
0,15 |
|
4. |
Спрессовать полумуфту с вала |
Полумуфта |
3 |
0,08 |
|
5. |
Разобрать систему водяного охлаждения |
Комплект |
3 |
0,13 |
|
6. |
Открепить и снять боковые крышки подшипников |
2 крышки |
2 |
0,16 |
|
7. |
Открепить и снять верхнюю крышку подшипников |
Крышка |
2 |
0,16 |
|
8. |
Открепить и снять крышку улитки |
То же |
2 |
0,30 |
|
9. |
Открепить стопорную гайку и спрессовать с вала рабочее колесо |
Рабочее колесо |
2 |
0,23 |
|
10. |
Открепить и снять корпус подшипника |
Корпус |
2 |
0,06 |
|
11. |
Спрессовать подшипники |
Комплект |
3 |
0,31 |
|
12. |
Спрессовать лабиринтные уплотнения |
То же |
3 |
0,01 |
|
|
Ремонт |
|
|
|
|
13. |
Очистить, промыть и протереть детали |
Вентилятор |
2 |
0,45 |
|
14. |
Произвести дефектовку деталей |
То же |
4 |
0,11 |
|
15. |
Отшлифовать шейку вала |
Вал |
2 |
0,52 |
|
16. |
Изготовить прокладки |
Комплект |
2 |
0,16 |
|
17. |
Изготовить шпонку |
Шпонка |
2 |
0,35 |
|
18. |
Изготовить новое ограждение |
Ограждение |
2 |
0,22 |
|
19. |
Отбалансировать статически рабочее колесо |
Рабочее колесо |
4 |
0,33 |
|
|
Сборка |
|
|
|
|
20. |
Напрессовать подшипники на вал, установить лабиринтовые уплотнения и закрепить |
Комплект |
3 |
0,44 |
|
21. |
Установить вал в корпус подшипников, верхние крышки подшипников и закрепить |
То же |
3 |
0,56 |
|
22. |
Напрессовать полумуфту на вал |
Полумуфта |
3 |
0,12 |
|
23. |
Уложить вал в корпус вентилятора и закрепить |
Вал |
3 |
0,11 |
|
24. |
Установить и закрепить боковые крышки подшипников |
Комплект |
3 |
0,35 |
|
25. |
Напрессовать рабочее колесо на вал и закрепить |
Рабочее колесо |
3 |
0,32 |
|
26. |
Установить и закрепить крышку улитки, |
Крышка |
3 |
0,76 |
|
27. |
Установить электродвигатель, отцентровать с валом вентилятора и закрепить |
Вентилятор |
3 |
1,25 |
|
28. |
Соединить полумуфты |
2 полумуфты |
3 |
0,20 |
|
29. |
Собрать систему водяного охлаждения |
Комплект |
3 |
0,40 |
|
30. |
Установить и закрепить ограждение |
Ограждение |
2 |
0,16 |
|
31. |
Ввернуть масленку |
Масленка |
2 |
0,07 |
|
32. |
Испытать вентилятор и сдать в эксплуатацию |
Вентилятор |
4 |
0,52 |
|
Наименование операций и содержание работы |
Единица объема работы |
Разряд работы |
Норма времени на единицу объема работы |
|
|
1 |
2 |
3 |
4 |
5 |
|
|
Разборка |
|
|
|
|
1. |
Отвернуть гайки со шпильками и снять 2 сухарика и лопасти вентилятора |
Комплект |
2 |
3,90 |
|
2. |
Отвернуть гайки на крестовине |
Гайки |
2 |
0,25 |
|
3. |
Спрессовать крестовину, застропить, поднять и опустить на землю |
Крестовина |
2 |
0,92 |
|
4. |
Отвернуть болты на крышке редуктора, застропить крышку и опустить на землю |
Крышка |
2 |
0,68 |
|
5. |
Отвернуть болты на крышке полумуфты и снять крышку |
То же |
2 |
0,10 |
|
6. |
Отвернуть гайки на оградительном щите полумуфты и снять щит |
Щит |
2 |
0,27 |
|
7. |
Освободить промежуточный вал с полумуфтой сцепления и снять |
Вал |
2 |
0,11 |
|
8. |
Открепить контргайку и снять полумуфту |
Полумуфта |
2 |
0,09 |
|
9. |
Отвернуть болты крепления вала промежуточной шестерни |
Комплект |
2 |
0,15 |
|
10. |
Отвернуть болты на крышке подшипника передаточного вала, снять крышку и кольцо |
Крышка |
2 |
0,17 |
|
11. |
Вынуть вал с рабочим колесом и положить на пол |
Вал |
2 |
0,09 |
|
12. |
Спрессовать корпус подшипника с корпуса редуктора и снять вместе с передаточным валом |
Комплект |
3 |
0,11 |
|
13. |
Отвернуть болты на фильтрующей сетке и снять сетку |
Сетка |
5 |
0,48 |
|
|
Ремонт |
|
|
|
|
14. |
Очистить, промыть и протереть детали |
Вентилятор |
3 |
2,00 |
|
15. |
Произвести дефектовку деталей |
То же |
4 |
1,00 |
|
|
Сборка |
|
|
|
|
16. |
Установить и закрепить фильтрующую сетку |
Сетка |
3 |
0,50 |
|
17. |
Установить вал рабочего колеса |
Вал |
3 |
0,11 |
|
18. |
Установить вал промежуточной шестерни и закрепить |
То же |
3 |
0,29 |
|
19. |
Установить крышку подшипника вала промежуточной шестерни и закрепить |
Крышка |
3 |
0,20 |
|
20. |
Запрессовать корпус подшипника с передаточным валом в корпус редуктора |
Корпус |
3 |
0,07 |
|
21. |
Установить кольца и крышки корпуса подшипника передаточного вала и закрепить |
Комплект |
3 |
0,30 |
|
22. |
Установить полумуфту, завернуть гайкой и закрепить |
Полумуфта |
3 |
0,10 |
|
23. |
Установить крышку редуктора и закрепить |
Крышка |
3 |
0,70 |
|
24. |
Застропить крестовину, поднять и установить на место |
Крестовина |
3 |
0,74 |
|
25. |
Завернуть гайку М55 и закрепить крестовину шпильками |
То же |
3 |
1,50 |
|
26. |
Установить лопасти, 2 сухарика и закрепить |
Комплект |
3 |
3,68 |
|
27. |
Испытать вентилятор и сдать в эксплуатацию |
Вентилятор |
4 |
1,00 |
|
Наименование операций и содержание работы |
Единица объема работы |
Разряд работы |
Норма времени на единицу объема работы |
|
|
1 |
2 |
3 |
4 |
5 |
|
|
Разборка |
|
|
|
|
1. |
Снять верхний и нижний кожухи крестовины |
2 кожуха |
2 |
1,60 |
|
2. |
Отсоединить и снять четыре лопасти вентилятора |
Комплект |
2 |
1,84 |
|
3. |
Отвернуть гайку и снять крестовину с вала |
Крестовина |
2 |
1,02 |
|
4. |
Отсоединить вентилятор от электродвигателя и снять 2 мягких соединения и опору сферического центра |
Вентилятор |
2 |
1,28 |
|
5. |
Открепить и снять крышку редуктора и смотровой люк |
Комплект |
2 |
1,00 |
|
6. |
Разъединить и снять хвостовик |
Хвостовик |
2 |
0,45 |
|
7. |
Вынуть 2 вертикальных вала из редуктора |
Комплект |
2 |
0,70 |
|
8. |
Снять сетку редуктора, слить масло |
Сетка |
2 |
0,60 |
|
9. |
Разобрать вал рабочего колеса |
Вал |
3 |
2,35 |
|
10. |
Разобрать промежуточный вал |
То же |
3 |
4,05 |
|
11. |
Разобрать маслонасос |
Маслонасос |
3 |
1,15 |
|
12. |
Разобрать хвостовик |
Хвостовик |
2 |
3,10 |
|
|
Ремонт |
|
|
|
|
13. |
Очистить, промыть и протереть детали |
Вентилятор |
2 |
0,62 |
|
14. |
Произвести дефектовку деталей |
Вентилятор |
4 |
0,48 |
|
15. |
Вырубить прокладку из картона под крышку редуктора |
Прокладка |
2 |
0,10 |
|
16. |
Залить масло в редуктор |
Редуктор |
2 |
0,90 |
|
17. |
Выправить промежуточный вал |
Вал |
2 |
0,34 |
|
18. |
Наготовить новую шпонку и подогнать шестерни по валу |
Комплект |
2 |
0,93 |
|
|
Сборка |
|
|
|
|
19. |
Собрать промежуточный вал |
Вал |
3 |
3,12 |
|
20. |
Собрать вал рабочего колеса |
То же |
3 |
0,90 |
|
21. |
Собрать хвостовик, отрегулировать зазор подшипников |
Хвостовик |
3 |
3,49 |
|
22. |
Собрать маслонасос |
Маслонасос |
4 |
1,50 |
|
23. |
Установить сетку в редуктор, залить масло |
Сетка |
3 |
0,85 |
|
24. |
Установить два вертикальных вала в редуктор |
Комплект |
3 |
1,17 |
|
25. |
Подсоединить хвостовик, отрегулировать зазор между зубьями и шестерней |
Хвостовик |
3 |
1,50 |
|
26. |
Закрепить крышку редуктора и смотровой люк |
Комплект |
3 |
0,90 |
|
27. |
Присоединить вентилятор к электродвигателю и редуктору с установкой двух мягких соединений и опоры сферического центра |
Вентилятор |
3 |
1,70 |
|
28. |
Установить крестовину на вал и закрепить гайкой |
Крестовина |
3 |
1,25 |
|
29. |
Установить и закрепить 4 лопасти вентилятора |
Комплект |
3 |
1,90 |
|
30. |
Установить и закрепить верхний и нижний кожухи крестовины |
2 кожуха |
3 |
2,00 |
|
31. |
Отцентровать вентилятор с электродвигателем |
Вентилятор |
3 |
2,50 |
|
32. |
Испытать вентилятор и сдать в эксплуатацию |
То же |
5 |
0,55 |
|
Наименование операций и содержание работы |
Единица объема работы |
Разряд работы |
Норма времени на единицу объема работы |
|
|
1 |
2 |
3 |
4 |
5 |
|
|
Разборка |
|
|
|
|
1. |
Перекрыть секцию |
Секция |
2 |
0,55 |
|
2. |
Открепить вентилятор с рамы |
Вентилятор |
2 |
2,80 |
|
3. |
Отсоединить водяное охлаждение |
Комплект |
2 |
1,10 |
|
4. |
Снять вентилятор с градирни и установить на подставки |
Вентилятор |
2 |
1,65 |
|
5. |
Открепить фланец на валу электродвигателя |
Фланец |
2 |
0,13 |
|
6. |
Спрессовать ступицу с лопастями при помощи съемника и установить на подставки |
Ступица |
2 |
3,35 |
|
7. |
Открепить крышку подшипника |
Крышка |
2 |
1,15 |
|
8. |
Выпрессовать верхние (роликовые) подшипники |
Комплект |
2 |
1,73 |
|
9. |
Снять стопорное кольцо и опорное кольцо |
То же |
2 |
0,20 |
|
10. |
Отвернуть стопор и выпрессовать гайку съемником |
Гайка |
2 |
1,10 |
|
11. |
Выпрессовать шариковый подшипник съемником |
Подшипник |
2 |
1,00 |
|
12. |
Поднять ротор кран-балкой и установить на стол |
Ротор |
2 |
0,60 |
|
13. |
Спрессовать нижний шариковый подшипник |
Подшипник |
2 |
1,30 |
|
14. |
Разъединить сальниковую крышку |
Крышка |
2 |
0,22 |
|
15. |
Вынуть маслоотражательное кольцо |
Кольцо |
2 |
0,26 |
|
16. |
Выпрессовать корпус подшипника съемником |
Корпус |
2 |
2,80 |
|
17. |
Поднять и установить статор на стол кран-балкой |
Статор |
3 |
0,35 |
|
18. |
Разъединить нижнюю крышку подшипника |
Крышка |
3 |
0,16 |
|
|
Ремонт |
|
|
|
|
19. |
Очистить, промыть и протереть детали |
Вентилятор |
2 |
1,90 |
|
20. |
Произвести дефектовку деталей |
То же |
4 |
1,00 |
|
21. |
Отбалансировать крестовину в сборе с лопастями |
Комплект |
3 |
9,80 |
|
22. |
Заменить обшивку диффузора |
Диффузор |
2 |
11,05 |
|
23. |
Зачистить вал |
Вал |
2 |
0,18 |
|
|
Сборка |
|
|
|
|
24. |
Установить и закрепить нижнюю крышку подшипника |
Крышка |
3 |
0,34 |
|
25. |
Напрессовать нижний шарикоподшипник, набить смазку |
Подшипник |
3 |
0,84 |
|
26. |
Поднять и установить статор на стол при помощи кран-балки |
Статор |
3 |
0,58 |
|
27. |
Установить ротор в статор |
Ротор |
3 |
1,55 |
|
28. |
Закрепить сальниковую крышку |
Крышка |
2 |
0,20 |
|
29. |
Напрессовать корпус подшипника |
Корпус |
3 |
1,70 |
|
30. |
Установить маслоотражательное кольцо |
Кольцо |
2 |
0,13 |
|
31. |
Напрессовать шариковые подшипники |
Комплект |
3 |
1,14 |
|
32. |
Закрепить гайку корпуса подшипника |
Корпус |
3 |
1,46 |
|
33. |
Установить опорное кольцо и стопорное кольцо |
Комплект |
2 |
0,22 |
|
34. |
Напрессовать роликовые подшипники |
То же |
3 |
1,2 |
|
35. |
Закрепить верхнюю крышку подшипника |
Крышка |
3 |
0,8 |
|
36. |
Поднять и установить ступицу с лопастями на вентилятор при помощи подъемного крана |
Ступица |
3 |
0,5 |
|
37. |
Напрессовать ступицу вручную |
То же |
3 |
1,1 |
|
38. |
Установить вентилятор на градирню подъемным краном и отцентровать |
Вентилятор |
2 |
3,2 |
|
39. |
Закрепить вентилятор на раме |
То же |
2 |
1 |
|
40. |
Подвести водяное охлаждение |
Комплект |
3 |
3 |
|
41. |
Установить угол атаки лопастей вентилятора |
Вентилятор |
3 |
5 |
|
42. |
Испытать вентилятор и сдать в эксплуатацию |
То же |
5 |
1,5 |
|
Наименование операций и содержание работы |
Единица объема работы |
Разряд работы |
Норма времени на единицу объема работы |
||||
|
Д-8 Д-10 ДН-9 ДН-10 |
Д-12 |
Д-13,5 Д-15,5 |
Д-18 Д-20 |
||||
|
1 |
2 |
3 |
4 |
5 |
6 |
7 |
8 |
|
|
Разборка |
|
|
|
|
|
|
|
1. |
Снять ограждение соединительной муфты, снять пальцы. Проверить радиальное и осевое биение полумуфт, их целостность и посадку на вал |
Дымосос |
4 |
2,40 |
2,60 |
2,80 |
|
|
2. |
Открепить и снять осевой направляющей аппарат |
Аппарат |
4 |
5,20 |
6,00 |
6,60 |
|
|
3. |
Слить масло из корпуса подшипника. Отсоединить трубопроводы охлаждающей воды |
Дымосос |
2 |
1,00 |
1,20 |
1,30 |
|
|
4. |
Открепить и снять верхнюю крышку корпуса подшипников |
Крышка |
3 |
6,00 |
6,30 |
7,10 |
|
|
5. |
Разболтить и снять съемную часть улитки и ротора |
Дымосос |
3 |
2,90 |
3,70 |
4,51 |
|
|
6. |
Открепить и снять с вала рабочее колесо ступицей |
Рабочее |
4 |
6,80 |
7,20 |
|
|
|
7. |
Снять вал дымососа |
Вал |
1 |
1,10 |
1,20 |
2,10 |
4,00 |
|
8. |
Снять и установить полумуфту для ремонта или замены |
Полумуфта |
3 |
3,80 |
4,00 |
4,40 |
4,80 |
|
|
Ремонт |
|
|
|
|
|
|
|
9. |
Проверить подшипники ротора с их промывкой, измерением зазоров, заменой сальникового уплотнения и прокладок, гидравлическим испытанием змеевика охлаждения и проверкой указателей уровня масла |
Дымосос |
5 |
5,80 |
6,00 |
7,00 |
8,00 |
|
10. |
Восстановить нормальные зазоры между рабочим колесом и диффузором с изготовлением и приваркой обечаек |
То же |
5 |
4,50 |
6,00 |
6,80 |
7,50 |
|
11. |
Проверить крепление лопаток рабочего колеса с устранением вмятин и разрывов. Проверить крепление рабочего колеса к ступице |
-»- |
3 |
3,60 |
5,00 |
5,60 |
6,20 |
|
12. |
Произвести ремонт осевого направляющего аппарата с проверкой работы поворотных колец, выявлением повреждений с устранением дефектов и заменой деталей |
Аппарат |
4 |
- |
11,50 |
13,00 |
14,50 |
|
13. |
Заменить рабочее колесо с резкой головок заклепок, выбивкой заклепок, снятием ступицы, установкой и клепкой |
Рабочее колесо |
4 |
4,50 |
4,70 |
6,00 |
7,00 |
|
14. |
Заменить дефектные лопатки рабочего колеса при выведенном рабочем колесе из напорной части улитки |
|
|
|
|
|
|
|
|
а) на сварке |
Лопатка |
4 |
0,10 |
0,30 |
0,30 |
0,50 |
|
|
б) на заклепках |
То же |
4 |
0,50 |
0,50 |
0,60 |
0,80 |
|
15. |
Заменить дефектные лопатки рабочего колеса при невыделенном рабочем колесе из напорной части улитки |
|
|
|
|
|
|
|
|
а) на сварке |
-»- |
4 |
0,50 |
0,50 |
0,50 |
0,80 |
|
|
б) на заклепках |
-»- |
4 |
1,20 |
1,30 |
1,50 |
2,00 |
|
16. |
Измерить и устранить осевое и радиальное биения рабочего колеса |
Рабочее колесо |
5 |
7,00 |
7,50 |
8,60 |
9,80 |
|
17. |
Отбалансировать статически рабочее колесо |
То же |
5 |
4,00 |
4,80 |
5,40 |
6,00 |
|
18. |
Заменить ступицу рабочего колеса |
Ступица |
3 |
1,40 |
1,80 |
2,30 |
2,70 |
|
19. |
Заменить тяги рабочего колеса |
Тяга |
2 |
0,50 |
0,70 |
0,90 |
1,00 |
|
20. |
Заменить крыльчатку рабочего колеса при выведенном роторе из корпуса улитки |
|
|
|
|
|
|
|
|
а) крепление на болтах М 14 - 16 - 16 шт. |
Рабочее колесо |
3 |
6,40 |
7,10 |
7,70 |
8,50 |
|
|
б) крепление на заклепках Ø 14 - 16 мм - 24 шт. |
То же |
3 |
7,20 |
7,90 |
8,60 |
9,50 |
|
|
Сборка |
|
|
|
|
|
|
|
21. |
Установить, рабочее колесо со ступицей на вал и закрепить его |
|
4 |
9,50 |
10,00 |
11,00 |
12,00 |
|
22. |
Установить ротор в улитку, проверить и восстановить нормальные зазоры между рабочим колесом и торцевой стеной улитки |
Ротор |
4 |
6,80 |
7,00 |
9,00 |
10,80 |
|
23. |
Установить и закрепить съемные участки улитки |
Дымосос |
3 |
5,20 |
5,40 |
6,00 |
6,40 |
|
24. |
Установить и закрепить верхнюю крышку корпуса подшипников |
Крышка |
4 |
6,40 |
6,60 |
7,10 |
7,40 |
|
25. |
Установить и выверить, закрепить осевой направляющий аппарат |
Аппарат |
4 |
- |
6,60 |
7,40 |
8,40 |
|
26. |
Проверить пальцы полумуфт с прогонкой резьбы и заменой эластичных втулок |
Комплект |
3 |
1,10 |
1,20 |
1,60 |
1,80 |
|
27. |
Соединить полумуфты и установить ограждение |
Дымосос |
4 |
2,60 |
3,00 |
3,40 |
3,80 |
|
28. |
Залить масло в корпус подшипников, присоединить трубопроводы охлаждающей воды |
Дымосос |
2 |
1,40 |
1,60 |
1,60 |
1,80 |
|
29. |
Отбалансировать динамически ротор |
Ротор |
5 |
5,10 |
5,20 |
5,90 |
6,50 |
|
30. |
Испытать дымосос и сдать в эксплуатацию |
Дымосос |
5 |
4,00 |
8,00 |
8,00 |
12,00 |
|
Наименование операций и содержание работы |
Единица объема работы |
Разряд работы |
Норма времени на единицу объема работы |
||||
|
Д-13,5×2 Д-15,5×2 |
Д-18×2 ДН-18×2А Д-21,5×2 ДН-21×2А Д-20×2 ДН-22×2-0,65 |
ДН-24×2-0,62 |
ДН-26×2А |
||||
|
1 |
2 |
3 |
4 |
5 |
6 |
7 |
8 |
|
|
Разборка |
|
|
|
|
|
|
|
1. |
Снять ограждение соединительной муфты, снять соединительные пальцы. Проверить радиальное и осевое биение полумуфт, их целостность и посадку на вал |
Дымосос |
4 |
2,70 |
3,00 |
3,80 |
4,00 |
|
2. |
Отсоединить водяное охлаждение подшипников |
То же |
2 |
0,60 |
0,80 |
1,00 |
1,40 |
|
3. |
Снять лазы. Отсоединить и снять съемные участки улитки и всасывающих карманов |
-»- |
3 |
8,00 |
8,60 |
12,30 |
13,40 |
|
4. |
Разобрать подшипник качения, открепить корпус подшипника |
2 подшипника |
3 |
6,10 |
7,40 |
9,50 |
10,20 |
|
5. |
Слить масло, разобрать подшипник скольжения |
2 подшипника |
2 |
10,40 |
13,50 |
18,50 |
22,50 |
|
6. |
Открепить и снять охлаждающие рубашки вала |
Вал |
3 |
1,50 |
1,80 |
2,30 |
2,80 |
|
7. |
Снять ротор и уложить его на козлы |
|
|
|
|
|
|
|
|
а) совместно с рабочим колесом |
Ротор |
4 |
3,30 |
3,70 |
4,90 |
5,70 |
|
|
б) без рабочего колеса, с установкой и приваркой внутри улитки распорных балок |
То же |
4 |
11,50 |
12,80 |
14,00 |
14,80 |
|
|
Ремонт |
|
|
|
|
|
|
|
8. |
Проверить шейки вала на конусность, эллипсность и выявить другие дефекты (для вала с подшипниками скольжения) |
Вал |
5 |
1,50 |
1,70 |
2,20 |
2,50 |
|
9. |
Проверить состояние корпуса улитки всасывающих карманов, брони, диффузоров, охлаждающих рубашек вала, уплотнений корпуса в местах проходов вала, лазов, шиберов и проходов к ним |
Дымосос |
4 |
4,60 |
5,50 |
6,90 |
7,30 |
|
10. |
Заменить рабочее колесо со снятием с вала вместе со ступицей и ремонтом ступицы |
Рабочее колесо |
4 |
18,50 |
22,00 |
29,00 |
33,00 |
|
11. |
Заменить рабочее колесо без снятия ступицы с вала со срубкой заклепок |
Рабочее колесо |
4 |
9,00 |
10,90 |
14,00 |
14,80 |
|
12. |
Заменить лопатки рабочего колеса при выведенном рабочем колесе из корпуса улитки |
|
|
|
|
|
|
|
|
а) на заклепках |
Лопатка |
4 |
1,40 |
1,50 |
1,80 |
2,00 |
|
|
б) на сварке |
То же |
4 |
0,30 |
0,30 |
0,50 |
0,60 |
|
13. |
Заменить лопатки рабочего колеса при невыведенном рабочем колесе из корпуса улитки |
- |
|
|
|
|
|
|
|
а) на заклепках |
-»- |
4 |
2,00 |
2,60 |
3,00 |
3,50 |
|
|
б) на сварке |
-»- |
4 |
0,50 |
0,50 |
0,60 |
0,80 |
|
14. |
Заменить охлаждающие рубашки вала |
Рубашка |
3 |
2,90 |
3,50 |
4,60 |
4,80 |
|
15. |
Изготовить охлаждающие рубашки вала |
То же |
2 |
3,60 |
4,00 |
4,50 |
4,60 |
|
16. |
Заменить ступицу рабочего колеса |
Ступица |
3 |
2,00 |
2,90 |
3,50 |
3,70 |
|
17. |
Отбалансировать статически рабочее колесо |
Рабочее колесо |
5 |
4,10 |
4,40 |
5,80 |
6,30 |
|
18. |
Заменить тяги рабочего колеса |
Тяга |
2 |
0,80 |
1,20 |
1,40 |
1,90 |
|
19. |
Заменить крыльчатку рабочего колеса при выведенном роторе из напорной части улитки |
|
|
|
|
|
|
|
|
а) крепление на болтах 16 шт. М 14 - 16 |
Комплект |
3 |
8,80 |
10,80 |
11,50 |
12,00 |
|
|
б) крепление на заклепках 24 шт. Ø 14 - 16 |
То же |
3 |
11,00 |
13,30 |
14,30 |
15,20 |
|
20. |
Устранить осевое и радиальное биения на рабочем колесе после его замены |
Рабочее колесо |
5 |
8,00 |
10,00 |
12,00 |
12,80 |
|
21. |
Отремонтировать систему охлаждения подшипников с проверкой вентилей и заменой дефектных участков труб |
Дымосос |
3 |
6,00 |
6,50 |
7,00 |
7,50 |
|
22. |
Снять полумуфту с вала для ремонта или замены. Зачистить посадочные места вала, подогнать и заменить шпонку. Установить полумуфту на вал |
Полумуфта |
3 |
3,90 |
4,20 |
5,40 |
6,00 |
|
|
Сборка |
|
|
|
|
|
|
|
23. |
Установить нижние вкладыши в корпус подшипников, установить ротор, закрыть крышку и закрепить |
Ротор |
4 |
5,50 |
6,60 |
8,80 |
9,20 |
|
24. |
Напрессовать подшипник на вал в горячем состоянии |
Подшипник |
4 |
1,40 |
1,80 |
2,30 |
2,50 |
|
25. |
Проверить холодильники охлаждения масла подшипников с очисткой и гидравлическим испытанием змеевиков. Проверить указатели уровня масла |
Дымосос |
3 |
2,70 |
3,20 |
4,10 |
4,30 |
|
26. |
Проверить осевое и радиальное биения рабочего колеса и зазоры между рабочим колесом и диффузорами |
То же |
5 |
8,00 |
10,00 |
12,00 |
12,80 |
|
27. |
Установить на вал охлаждающие рубашки |
-»- |
4 |
2,30 |
2,70 |
3,50 |
3,80 |
|
28. |
Установить съемные части улитки и всасывающих карманов и закрепить сваркой. Установить лазы |
-»- |
4 |
12,80 |
14,10 |
18,90 |
19,50 |
|
29. |
Проверить пальцы полумуфт с прогонкой резьбы и заменой эластичных втулок |
Комплект |
3 |
1,60 |
1,80 |
2,20 |
2,50 |
|
30. |
Соединить полу муфты электродвигателя и дымососа, установка ограждения полумуфт |
Дымосос |
4 |
2,30 |
2,50 |
2,80 |
3,40 |
|
31. |
Отбалансировать динамически ротор |
То же |
5 |
5,60 |
6,30 |
7,40 |
8,60 |
|
32. |
Заменить уплотнения на валу в местах прохода через стенки всасов |
Уплотнение |
3 |
2,00 |
2,30 |
2,60 |
3,00 |
|
33. |
Испытать дымосос и сдать в эксплуатацию |
Дымосос |
5 |
8,00 |
12,00 |
12,00 |
12,00 |
|
Наименование операций и содержание работы |
Единица объема работы |
Разряд работы |
Норма времени на единицу объема работы |
||||
|
ДОД-28,5 |
ДОД-31,5 |
ДОД-41 |
ДОД-43 |
||||
|
1 |
2 |
3 |
4 |
5 |
6 |
7 |
8 |
|
|
Разборка |
|
|
|
|
|
|
|
1. |
Снять ограждение и разъединить муфту. Проверить радиальное и осевое биения муфты, целостность и посадку на вал |
Дымосос |
4 |
6,50 |
7,50 |
16,00 |
22,00 |
|
2. |
Установить заглушку на газоходе всаса |
Заглушка |
3 |
2,00 |
2,40 |
3,00 |
3,60 |
|
3. |
Открепить и снять электродвигатель |
Электродвигатель |
4 |
4,70 |
5,00 |
5,40 |
6,00 |
|
4. |
Открыть лазы |
Дымосос |
3 |
1,80 |
2,00 |
3,00 |
3,50 |
|
5. |
Открепить и снять крышку корпуса дымососа |
То же |
3 |
8,00 |
12,00 |
13,00 |
14,00 |
|
6. |
Открепить и снять всасывающий карман |
Карман |
4 |
14,00 |
15,30 |
16,00 |
18,00 |
|
7. |
Разобрать упорно-опорный подшипник |
Подшипник |
4 |
28,00 |
30,00 |
33,00 |
35,00 |
|
8. |
Разобрать опорный подшипник |
То же |
4 |
10,00 |
11,70 |
12,00 |
15,00 |
|
9. |
Разобрать опорный подшипник ротора электродвигателя |
-»- |
4 |
12,00 |
13,00 |
15,00 |
17,00 |
|
10. |
Снять краном ротор и верхнюю часть обтекателя дымососа |
Ротор |
4 |
16,00 |
18,00 |
20,00 |
22,50 |
|
|
Ремонт |
|
|
|
|
|
|
|
11. |
Заменить лопатки рабочего колеса |
Лопатка |
5 |
9,20 |
9,70 |
10,30 |
10,90 |
|
12. |
Заменить лопатки направляющего или спрямляющего аппарата |
То же |
4 |
2,50 |
2,60 |
6,50 |
6,80 |
|
13. |
Проверить состояние корпуса, брони, диффузоров, уплотнений корпуса в местах прохода вала направляющих аппаратов и их приводов |
Дымосос |
4 |
3,60 |
4,00 |
5,30 |
5,50 |
|
14. |
Заменить распорки во всасывающем кармане с их изготовлением |
Распорка |
3 |
3,20 |
3,50 |
3,80 |
4,00 |
|
15. |
Заменить ребра, крепящие обтекатель в конусе диффузора |
Распорка |
3 |
1,50 |
1,60 |
1,60 |
1,70 |
|
16. |
Проверить и отремонтировать механизм управления лопатками направляющего и спрямляющего аппаратов |
Комплект |
4 |
8,20 |
9,80 |
13,00 |
14,00 |
|
17. |
Проверить и отремонтировать вентилятор охлаждения опорного подшипника с балансировкой |
Вентилятор |
4 |
5,40 |
6,00 |
6,30 |
8,00 |
|
18. |
Изготовить из листовой стали ребра, крепящие обтекатель в конусе диффузора |
Ребро |
3 |
1,60 |
1,70 |
1,90 |
2,10 |
|
26. |
Установить лазы |
Дымосос |
3 |
2,30 |
2,50 |
3,00 |
3,00 |
|
27. |
Установить электродвигатель с помощью крана |
Электродвигатель |
4 |
5,60 |
6,00 |
6,00 |
6,50 |
|
28. |
Отцентровать электродвигатель по полумуфтам |
То же |
6 |
15,00 |
17,70 |
22,00 |
22,00 |
|
29. |
Соединить зубчатые полумуфты электродвигателя и дымососа. Набить смазку. Установить ограждение |
Муфта |
4 |
5,80 |
7,00 |
7,80 |
8,10 |
|
30. |
Отбалансировать динамически ротор |
Ротор |
6 |
7,50 |
8,20 |
12,50 |
15,00 |
|
31. |
Снять заглушки с газохода всасывания |
Заглушка |
4 |
1,80 |
2,20 |
2,80 |
3,30 |
|
32. |
Проверить и отремонтировать маслонасосную станцию. Слить масло из маслосистемы. Разобрать, промыть, устранить дефекты и собрать маслоохладители с гидравлическим испытанием. Очистить и промыть маслофильтры, масляный коллектор, бак и маслопроводы. Залить масло в систему |
Комплект на два дымососа |
5 |
53,00 |
53,00 |
53,00 |
53,00 |
|
33. |
Испытать дымосос и сдать в эксплуатацию |
Дымосос |
6 |
9,00 |
9,40 |
9,80 |
10,30 |
Норма времени на один электродвигатель
|
Разряд работы |
Вес электродвигателя в тоннах |
||||||||||
|
0,1 |
0,3 |
0,5 |
1,0 |
1,5 |
2,0 |
3,0 |
4,0 |
5,0 |
6,0 |
||
|
Снятие |
4 |
0,5 |
0,8 |
1,3 |
1,8 |
2,6 |
3,0 |
3,9 |
4,7 |
5,4 |
6,0 |
|
Установка |
4 |
0,6 |
1,0 |
1,5 |
2,3 |
3,0 |
3,6 |
4,7 |
5,6 |
6,0 |
6,5 |
|
Центрирование |
5 |
1,4 |
2,3 |
2,6 |
3,9 |
4,4 |
4,6 |
5,9 |
7,7 |
8,7 |
9,4 |
|
ВСЕГО |
|
2,5 |
4,1 |
5,4 |
8,0 |
10,0 |
11,2 |
14,5 |
18,0 |
20,1 |
21,9 |
Описание работы
Отвернуть гайки с болтов, крепящих торцевые крышки подшипников и снять крышку. Снять с вала корпус подшипника и подшипник. Нагреть новый подшипник в масле и установить на вал. Установить на вал корпус подшипника. Набить подшипник тавотом. Установить на вал торцевые крышки корпуса подшипника и закрепить болтами.
Норма времени на один подшипник
|
Разряд работы |
Внутренний диаметр подшипника качения в мм, до |
||||||
|
80 |
90 |
110 |
130 |
160 |
190 |
200 |
|
|
4 |
2,1 |
2,2 |
2,4 |
2,7 |
3,0 |
3,2 |
3,6 |
Описание работы
Снятие. Отвернуть гайки, крепящие люк к улитке вентилятора, снять люк со шпилек.
Установка. Очистить люк от старой прокладки. Прокалибровать резьбу шпилек и гаек. Вырезать новую прокладку. Установить люк на новой прокладке и закрепить гайками.
Норма времени на один люк
|
Разряд работы |
Диаметр шпилек или болтов в мм |
Тип люка |
||||||||||
|
Круглый или прямоугольный при количестве шпилек (штук) |
||||||||||||
|
8 |
10 |
12 |
16 |
20 |
24 |
28 |
32 |
36 |
40 |
|||
|
1 |
2 |
3 |
4 |
5 |
6 |
7 |
8 |
9 |
10 |
11 |
12 |
13 |
|
Снятие |
2 |
10 |
0,17 |
0,20 |
0,23 |
0,30 |
- |
- |
- |
- |
- |
- |
|
12 |
0,19 |
0,23 |
0,28 |
0,40 |
0,50 |
0,60 |
0,70 |
0,80 |
0,90 |
1,00 |
||
|
16 |
0,23 |
0,27 |
0,33 |
0,50 |
0,60 |
0,70 |
0,80 |
0,90 |
1,00 |
1,20 |
||
|
20 |
0,26 |
0,30 |
0,40 |
0,55 |
0,70 |
0,80 |
0,90 |
1,00 |
1,10 |
1,30 |
||
|
27 |
- |
- |
- |
0,60 |
0,75 |
0,90 |
1,00 |
1,10 |
1,30 |
1,40 |
||
|
30 |
- |
- |
- |
0,70 |
0,90 |
1,00 |
1,10 |
1,20 |
1,40 |
1,60 |
||
|
Установка |
2 |
10 |
0,34 |
0,40 |
0,47 |
0,70 |
- |
- |
- |
- |
- |
- |
|
12 |
0,40 |
0,50 |
0,60 |
0,80 |
1,10 |
1,20 |
1,40 |
1,60 |
1,80 |
2,00 |
||
|
16 |
0,50 |
0,60 |
0,70 |
0,90 |
1,20 |
1,40 |
1,60 |
1,80 |
2,00 |
2,30 |
||
|
20 |
0,60 |
0,70 |
0,80 |
1,00 |
1,30 |
1,60 |
1,80 |
2,10 |
2,30 |
2,50 |
||
|
27 |
- |
- |
- |
1,20 |
1,40 |
1,70 |
2,00 |
2,30 |
2,50 |
2,80 |
||
|
30 |
- |
- |
- |
1,30 |
1,60 |
1,90 |
2,20 |
2,50 |
2,80 |
3,00 |
||
Описание работы
Перезаливка подшипника. Выплавить старый баббит из вкладышей подшипников. Подготовить подшипник к заливке, облудить, собрать и приспособление для заливки, нагреть подшипник, расплавить баббит в ванне. Залить подшипник. После остывания разобрать, подогнать по разъему и собрать для расточки на токарном ставке.
Шабровка. Пришабрить подшипник по валу после токарной расточки и вырубить канавки.
Норма времени на одно перезаливку подшипника
|
Длина подшипника в мм, до: |
Диаметр шейки вала в мм, до: |
|||||
|
150 |
200 |
250 |
300 |
350 |
||
|
4 р. - 1 |
150 |
6,6 |
- |
- |
- |
- |
|
2 р. - 1 |
175 |
6,8 |
7,0 |
- |
- |
- |
|
|
200 |
7,0 |
7,3 |
7,7 |
8,2 |
- |
|
|
225 |
7,2 |
7,5 |
7,9 |
8,5 |
9,3 |
|
|
250 |
7,4 |
7,8 |
8,2 |
8,7 |
9,5 |
|
|
275 |
- |
8,0 |
8,6 |
9,0 |
9,8 |
|
|
300 |
- |
8,2 |
8,9 |
9,2 |
10,1 |
|
|
350 |
- |
- |
9,2 |
9,6 |
10,5 |
|
|
400 |
- |
- |
9,5 |
9,9 |
11,0 |
|
|
450 |
- |
- |
- |
10,2 |
11,5 |
|
|
500 |
- |
- |
- |
- |
12,0 |
Норма времени на шабровку одного подшипника
|
Длина подшипника в мм, до: |
Диаметр шейки вала в мм, до: |
|||||
|
150 |
200 |
250 |
300 |
350 |
||
|
4 р. - 1 |
150 |
3,8 |
- |
- |
- |
- |
|
2 р. - 1 |
175 |
4,0 |
4,7 |
- |
- |
- |
|
|
200 |
4,2 |
4,9 |
5,7 |
- |
- |
|
|
225 |
4,5 |
5,2 |
6,0 |
7,0 |
- |
|
|
250 |
4,7 |
5,4 |
6,3 |
7,4 |
8,4 |
|
|
275 |
- |
5,7 |
6,6 |
7,8 |
8,8 |
|
|
300 |
- |
6,0 |
6,9 |
8,2 |
9,2 |
|
|
350 |
- |
- |
7,2 |
8,6 |
9,6 |
|
|
400 |
- |
- |
7,5 |
9,0 |
10,0 |
|
|
450 |
- |
- |
- |
9,4 |
10,5 |
|
|
500 |
- |
- |
- |
- |
11,0 |
Описание работы
Снятие. Застрелить патрубок, отвернуть гайки с болтов, крепящих патрубок, или срезать патрубок газовым резаком. Снять патрубок с помощью тали, отнести в сторону, уложить и расстропить.
Чистка и установка. Очистить патрубок от старых уплотнений. Подогнать торцы нового или старого патрубка по месту установки со снятием фасок под сварку газовым резаком (при креплении на сварке). Застропить патрубок и установить при помощи тали на место. Закрепить патрубок болтами с уплотнением фланцев асбестовым шнуром. При креплении на сварке: установить патрубок на место, прихватить и сварить швы.
а) Крепление патрубка на сварке
Норма времени на один патрубок
|
Разряд |
Диаметр всасывающего патрубка и толщина стенки в мм, до: |
||||||
|
800 |
1000 |
1300 |
1600 |
1900 |
2200 |
||
|
4 - 6 |
|||||||
|
Снятие |
Сл. 3 р. - 1 Г/св. 3 р. - 1 |
1,6 |
1,8 |
2,1 |
2,6 |
3,0 |
3,4 |
|
Установка |
Сл. 3 р. - 1 Г/св. 3 р. - 1 |
1,9 |
3,0 |
4,0 |
4,7 |
6,5 |
6,3 |
|
ВСЕГО |
|
3,5 |
4,8 |
6,1 |
7,3 |
8,5 |
9,7 |
Примечание. В случае снятия и установки патрубка с осевым направляющим аппаратом, к нормам времени данного параграфа применять К = 1,2.
б) Крепление патрубка на болтах
Норма времени на один патрубок
|
Состав звена |
Вид крепления |
Диаметр всасывающего патрубка в мм, до: |
||||||
|
800 |
1000 |
1300 |
1600 |
1900 |
2200 |
|||
|
Количество болтов на 2-х фланцах штук, до: |
||||||||
|
28 |
32 |
36 |
40 |
44 |
48 |
|||
|
1 |
2 |
3 |
4 |
5 |
6 |
7 |
8 |
9 |
|
Снятие |
Сл. 3 р. - 1 Сл. 2 р. - 1 |
М-16 |
0,9 |
1,1 |
1,4 |
1,8 |
2,2 |
2,7 |
|
Установка |
Сл. 3 р. - 1 Сл. 2 р. - 1 |
|
1,9 |
2,5 |
2,9 |
3,4 |
4,1 |
4,7 |
|
Снятие |
Сл. 3 р. - 1 Сл. 2 р. - 1 |
М-20 |
1,0 |
1,3 |
1,6 |
2,1 |
2,5 |
3,1 |
|
Установка |
Сл. 3 р. - 1 Сл. 2 р. - 1 |
|
2,2 |
2,8 |
3,5 |
3,9 |
4,7 |
5,4 |
|
Снятие |
Сл. 3 р. - 1 Сл. 2 р. - 1 |
М-24 |
1,3 |
1,7 |
2,1 |
2,7 |
3,2 |
4,0 |
|
Установка |
Сл. 3 р. - 1 Сл. 2 р. - 1 |
|
2,8 |
3,6 |
4,3 |
5,1 |
6,1 |
7,0 |
(Крепление на сварке)
Снятие. Отсоединить и снять трубу, отсоединить боковую крышку улитки и отнести ее с помощью крана или тали в сторону. Срезать старый диффузор газовым резаком от боковой крышки улитки или патрубка направляющего аппарата.
Установка. Зачистить места приварки диффузора на боковой крышке улитки или патрубка направляющего аппарата. Установить новый диффузор и приварить к боковой крышке. Установить боковую крышку улитки с диффузором с помощью крана или тали на место с центровкой уплотняющего кольца по крыльчатке и закрепить болтами с уплотнением боковой крышки улитки асбестовым шнуром.
|
Состав звена |
Диаметр диффузора в мм, до: |
||||||
|
1200 |
1500 |
1750 |
2000 |
2250 |
2500 |
||
|
Толщина стенки в мм, до: |
|||||||
|
4 |
4 |
5 - 6 |
5 - 6 |
6 - 8 |
6 - 8 |
||
|
Норма времени на один диффузор |
|||||||
|
1 |
2 |
3 |
4 |
5 |
6 |
7 |
8 |
|
Снятие |
Сл. 4 р. - 1 Сл. 2 р. - 1 |
1,8 |
2,0 |
2,3 |
2,5 |
3,0 |
3,3 |
|
Г/св. 4 р. - 4 |
0,5 |
0,7 |
0,8 |
0,9 |
1,1 |
1,3 |
|
|
Установка |
Сл. 4 р. - 1 Сл. 2 р. - 1 |
3,9 |
4,5 |
5,2 |
5,8 |
7,2 |
7,9 |
|
Э/св. 4 р. - 1 |
1,5 |
1,7 |
2,0 |
2,3 |
2,5 |
2,9 |
|
|
ВСЕГО |
|
7,7 |
8,9 |
10,3 |
11,5 |
13,8 |
15,4 |
(Крепление на болтах)
Описание работы
Снятие. Отсоединить и снять трубу присоса воздуха. Отвернуть гайки с болтов, отсоединить диффузор от кожуха, снять его с помощью тали и уложить его на деревянные брусья.
Установка. Очистить фланец диффузора от старых уплотнений, установить диффузор на место с помощью тали или крана. Закрепить болтами с уплотнением по фланцу кожуха и центрированием уплотняющего кольца. Установить трубу присоса воздуха с уплотнением и закреплением болтами.
|
Состав звена |
Вид крепления |
Диаметр диффузора в мм, до: |
||||||
|
1200 |
1500 |
1750 |
2000 |
2250 |
2500 |
|||
|
Количество болтов, штук |
||||||||
|
16 |
20 |
24 |
28 |
32 |
36 |
|||
|
Норма времени на один диффузор |
||||||||
|
Снятие |
Сл. 3 р. - 1 Сл. 2 р. - 1 |
М-16 |
0,6 |
0,8 |
1,1 |
1,3 |
1,6 |
1,9 |
|
Установка |
Сл. 3 р. - 1 Сл. 2 р. - 1 |
|
3,2 |
4,3 |
5,6 |
6,9 |
8,4 |
9,8 |
|
Снятие |
Сл. 3 р. - 1 Сл. 2 р. - 1 |
М-20 |
0,7 |
0,9 |
1,3 |
1,5 |
1,8 |
2,2 |
|
Установка |
Сл. 3 р. - 1 Сл. 2 р. - 1 |
|
3,7 |
4,9 |
6,4 |
7,9 |
9,6 |
11,3 |
|
Снятие |
Сл. 3 р. - 1 Сл. 2 р. - 1 |
М-24 |
0,6 |
1,0 |
1,4 |
1,9 |
2,3 |
2,9 |
|
Установка |
Сл. 3 р. - 1 Сл. 2 р. - 1 |
|
4,2 |
5,6 |
7,3 |
10,2 |
12,5 |
4,7 |
|
Наименование работ |
Единица измерения |
Состав звена |
Норма времени |
|
|
1. |
Замена брони улитки и всасывающих карманов |
|
|
|
|
|
а) из листовой стали толщиной до 25 мм |
м2 |
Сл. 3 р. - 1 |
3,3 |
|
Г/св. 4 р. - 1 Э/св. 5 р. - 1 |
1,1 |
|||
|
|
б) из чугунных или стальных плит толщиной до 40 мм |
т |
Сл. 3 р. - 1 |
9,0 |
|
Г/св. 4 р. - 1 Э/св. 5 р. - 1 |
2,5 |
|||
|
2. |
Проварка дефектных сварных швов электросваркой |
1 м шва |
Сл. 3 р. - 1 |
0,2 |
|
Э/св. 5 р. - 1 |
1,4 |
|||
|
3. |
Наложение заплат на дефектные участки корпуса улитки и всасывающих карманов с их изготовлением |
1 м2 |
Сл. 4 р. - 1 |
2,6 |
|
Г/св. 4 р. - 1 |
1,1 |
|||
|
Э/св. 5 р. - 1 |
1,1 |
|
Наименование работ |
Единица измерения |
Состав звена |
Норма времени |
|
|
1 |
2 |
3 |
4 |
5 |
|
1. |
Разметить, вырезать газовым резаком и снять дефектные листы брони улитки или всасывающих карманов. Подогнать по месту новые листы брони, прихватить и произвести сварку |
|
|
|
|
|
а) из листовой стали толщиной 12 - 14 мм |
м2 |
Сл. 4 р. - 1 |
4,0 |
|
Г/рез. 4 р. - 1 |
0,4 |
|||
|
Э/св. 5 р. - 1 |
0,7 |
|||
|
|
б) из листовой стали толщиной 16 - 25 мм |
м2 |
Сл. 4 р. - 1 |
4,0 |
|
Г/рез. 4 р. - 1 |
0,5 |
|||
|
Э/св. 5 р. - 1 |
0,9 |
|||
|
|
в) из чугунных или стальных плит толщиной до 40 мм |
т |
Сл. 4 р. - 1 |
11,0 |
|
Г/рез. 4 р. - 1 |
1,2 |
|||
|
Э/св. 5 р. - 1 |
2,1 |
|
Наименование работ |
Единица измерения |
Состав звена |
Диаметр рабочего колеса вентилятора или дымососа в мм, до |
||||||
|
1000 |
1550 |
1850 |
2200 |
2500 |
3200 |
||||
|
1. |
Наплавка лопаток рабочего колеса |
Лопатка |
Э/св. 5 р. - 1 |
0,7 |
0,8 |
0,9 |
0,9 |
1,0 |
1,1 |
|
2. |
Наплавка брони улитки и всасывающие карманов |
1 м2 |
Э/св. 5 р. - 1 |
4,2 |
4,2 |
4,2 |
4,2 |
4,2 |
4,2 |
|
3. |
Наплавка шейки вала, проверка шлифовки |
Шейка вала |
Э/св. 5 р. - 1 |
4,8 |
4,8 |
4,8 |
6,0 |
7,8 |
7,8 |
|
4. |
Наплавка изношенных мест диска рабочего колеса |
1 м2 |
Э/св. 5 р. - 1 |
4,7 |
4,7 |
4,7 |
4,7 |
4,7 |
4,7 |
|
№№ пп |
Содержание работы |
МЦ, ОВМ, ОВА, ДИВДТ № 4 - 8 06-320 |
МЦ, ОВМ, ОВА, ДиВДТ № 10 - 12 06-300 06-290 В-2,3-130 № 8 - 12 |
ЭВР № 2 - 4, П4-70 2-4 Ц9-57 3-4 Ц9-55 3-4 Ц13-50 № 2-4, ВР № 3-4 ВКР № 3-4 ВКО № 4 КЦЗ-90 № 4 |
ЭВР № 5 - 6, Ц4-70 № 5-7 Ц9-57 № 5-6 Ц9-55 № 5-6 Ц6-46 № 4-7 Ц13-50 № 5 - 6 КЦЗ-90 № 5 - 6,3 ВВД № 5 ЦП-7-40 № 6 Ц6-45 № 5 ВР № 5 - 6 ВКР № 6,3 ВКО № 5 - 6,3 |
Ц9-57 № 8 Ц4-70 № 8 - 10 Ц4-76 № 10 Ц9-57 № 8 Ц9-55 № 8 - 10 Ц6-46 № 8 КЦЗ-90 № 6 ВВД № 8 - 9 ЦП-7-40 № 8 Ц6-46 № 8 ВРС, ВРН № 8 - 10 КЦ4-84 № 8 - 10 |
КЦ4-84 №12 Ц4-70 № 12 Ц4-76 № 12 Ц9-55 № 12, ВВД № 11 - 12 ВРС № 12 ВРН № 12 КЦ4-84 № 12 ВКО-12,5 |
Ц4-70 № 16 Ц4-76 № 16 Ц9-57 № 16 Ц9-55 № 14 |
Ц4-76 № 20 |
|
1 |
2 |
3 |
4 |
5 |
6 |
7 |
8 |
9 |
10 |
|
1. |
Внешний осмотр тягодутьевых машин, выявление дефектов |
0,50 |
0,80 |
1,00 |
1,10 |
1,30 |
2,00 |
2,20 |
2,50 |
|
2. |
Осмотр электродвигателя, очистка, замена смазки в подшипниках электродвигателя |
0,20 |
0,30 |
0,30 |
0,40 |
0,50 |
0,70 |
0,90 |
1,10 |
|
3. |
Замена масла в системе смазки подшипников скольжения (слив масла, очистка и промывка всей маслосистемы, заливка нового масла) |
- |
- |
2,15 |
2,38 |
2,70 |
3,11 |
3,90 |
4,70 |
|
4. |
Удаление в подшипниках качения смазки, промывка подшипников керосином, смена смазки |
- |
- |
1,80 |
1,90 |
2,00 |
2,80 |
3,40 |
4,30 |
|
5. |
Проверка состояние деталей и работы направляющего аппарата |
- |
- |
1,50 |
1,70 |
1,80 |
1,80 |
2,00 |
2,10 |
|
6. |
Проверка состояния соединительной муфты |
- |
- |
0,60 |
1,10 |
2,10 |
2,50 |
2,70 |
3,50 |
|
7. |
Контрольная обтяжка болтовых соединений |
0,25 |
0,30 |
0,35 |
0,40 |
0,46 |
0,50 |
0,60 |
0,80 |
|
8. |
Очистка внешних частей машины, обдувка сжатым воздухом |
0,22 |
0,30 |
0,45 |
0,50 |
0,60 |
0,70 |
0,80 |
1,00 |
|
9. |
Проверка системы охлаждения подшипников |
- |
- |
- |
0,70 |
0,80 |
1,10 |
1,50 |
1,90 |
|
10. |
Доливка масла на ходу |
0,07 |
0,07 |
0,11 |
0,18 |
0,30 |
0,30 |
0,40 |
0,40 |
|
11. |
Регулировка системы охлаждения |
- |
- |
- |
0,20 |
0,40 |
0,50 |
0,50 |
0,60 |
|
12. |
Проверка натяжения приводных ремней. Замена ремня |
- |
- |
0,43 |
0,51 |
0,60 |
1,30 |
1,50 |
2,20 |
|
13. |
Опробование работы тягодутьевой машины (пуск, наблюдение за работой, сдача в эксплуатацию) |
0,30 |
0,35 |
0,50 |
0,80 |
1,50 |
2,00 |
2,50 |
3,00 |
Продолжение таблицы
|
Содержание работы |
Диаметр колеса в мм, до: |
|||||||||
|
1000 |
1350 |
1550 |
2000 |
2200 |
2500 |
2800 |
3200 |
4100 |
||
|
ВД, СВЦ, ВЦ-284, Д, ДН |
ВМ40/750 ВВСМ-1 ВГД, ВД, Д, ВРВ80/70 |
ВМ50/1000, ВМ100/1000 ВМ-15, ВГД, ВД, Д |
ВМ75/1200, ВМ100/1200 ВВСМ-2; 3 ВГД, ВД, ДН, Д |
ВМ160/850 ВМ-20А, ВГ-70, Д, ДН |
ВМ180/1180 ВДН, ВД, ДН |
ВДН, ДН, ДОД |
ВДН, ДОД |
ДОД |
||
|
1 |
2 |
11 |
12 |
13 |
14 |
15 |
16 |
17 |
18 |
19 |
|
1. |
Внешний осмотр тягодутьевых машин, выявление дефектов |
1,50 |
2,50 |
2,60 |
2,90 |
3,00 |
3,60 |
3,80 |
4,70 |
5,00 |
|
2. |
Осмотр электродвигателя, очистка, замена смазки в подшипниках электродвигателя |
1,00 |
1,20 |
1,30 |
1,50 |
1,60 |
1,80 |
2,00 |
2,80 |
3,40 |
|
3. |
Замена смазки в системе смазки подшипников скольжения (слив масла, очистка и промывка всей маслосистемы, заливка нового масла) |
3,90 |
5,10 |
6,30 |
8,00 |
9,20 |
9,80 |
10,60 |
11,50 |
13,00 |
|
4. |
Удаление в подшипниках качения смазки, промывка подшипников керосином, смена |
2,00 |
2,80 |
3,40 |
4,30 |
5,10 |
5,60 |
6,40 |
7,50 |
9,40 |
|
5. |
Проверка состояния деталей и работы направляющего аппарата |
1,70 |
1,80 |
2,00 |
2,10 |
2,30 |
2,60 |
2,70 |
2,80 |
4,00 |
|
6. |
Проверка состояния соединительной муфты |
0,60 |
0,60 |
1,10 |
1,50 |
2,10 |
2,70 |
3,00 |
3,50 |
5,30 |
|
7. |
Контрольная обтяжка болтовых соединений |
0,50 |
0,50 |
0,70 |
1,00 |
1,20 |
1,60 |
1,80 |
1,90 |
2,20 |
|
8. |
Очистка внешних частей машины, обдувка сжатым воздухом |
0,70 |
0,80 |
0,80 |
1,00 |
1,20 |
1,30 |
1,50 |
1,80 |
2,00 |
|
9. |
Проверка системы охлаждения подшипников |
2,00 |
2,20 |
2,50 |
2,80 |
3,10 |
3,50 |
3,70 |
4,00 |
5,00 |
|
10. |
Доливка масла на ходу |
0,30 |
0,40 |
0,40 |
0,50 |
0,60 |
0,80 |
1,00 |
1,20 |
1,80 |
|
11. |
Регулировка системы охлаждения |
1,10 |
1,10 |
1,30 |
1,40 |
1,50 |
1,50 |
1,80 |
2,00 |
2,60 |
|
12. |
Опробование работы тягодутьевой машины (пуск, наблюдение за работой, сдача в эксплуатацию) |
3,50 |
3,50 |
3,50 |
4,00 |
4,00 |
4,00 |
4,00 |
6,00 |
8,00 |
Текущий ремонт
При текущем ремонте производятся операции:
- очистка наружных поверхностей от пыли и грязи;
- отключение и частичная разборка тягодутьевой машины;
- заделка пробоин и прокоррозированных мест кожухов тягодутьевой машины;
- ремонт наружных фланцевых, клепаных, клееных и сварных соединений;
- полная перезатяжка всех болтовых соединений;
- замена негодных фланцев, болтов, прокладок, гибких вставок, креплений (подвесок, хомутов, кронштейнов и т.п.);
- замена негодных и недостающих лопаток;
- ремонт вала;
- замена негодных подшипников качения;
- восстановление зазоров между ротором и кожухом;
- балансировка ротора;
- замена масла;
- устранение вибрации воздуховодов и тягодутьевых машин, создаваемого ими шума.
Капитальный ремонт
При капитальном ремонте производятся все операции текущего ремонта и кроме того:
- полная разборка;
- ремонт и замена ротора и вала тягодутьевой машины;
- ремонт кожуха вентилятора;
- обязательная замена всех подшипников качения;
- статическая балансировка ротора на специальном приспособлении;
- полный ремонт конструктивных элементов;
- замена не менее 30 % воздуховодов, брони кожуха;
- сборка системы;
- опробование отдельных узлов и системы в целом;
- производство испытаний и наладки.
|
Вид ремонта |
|||
|
текущий |
капитальный |
||
|
Норма времени |
|||
|
1 |
2 |
3 |
|
|
1. МЦ, ОВМ, Ди ВДД, ВТД |
№ 3 - 4 |
3,80 |
5,8 |
|
|
№ 5 - 6 |
4,5 |
7,3 |
|
|
№ 7 - 8 |
6,0 |
9,0 |
|
|
№ 10 - 12 |
7,0 |
12,0 |
|
2. 06-300, 06-320, В2,3-130, В-06-290 |
№ 4 |
4,8 |
8,9 |
|
|
№ 5 - 6 |
5,9 |
10,7 |
|
|
№ 7 - 8 |
7,3 |
13,5 |
|
|
№ 10 - 12,5 |
8,7 |
16,0 |
|
3. КЦ-4-84, КЦ-3-90, ВКР |
№ 4 |
6,5 |
21,6 |
|
|
№ 5 - 6,3 |
7,3 |
27,6 |
|
|
№ 8 |
8,0 |
30,0 |
|
|
№ 10 - 12 |
10,9 |
40,5 |
|
4. ЭВР, Ц13-50, Ц9-55, Ц6-45 исполнение 1 |
№ 2 |
5,2 |
15,0 |
|
|
№ 3 |
5,8 |
16,0 |
|
|
№ 5 - 6 |
8,4 |
20,0 |
|
5. Ц9-55, Ц9-57, ВР, ВРН, ВРС исполнение 6 |
№ 3 - 4 |
7,3 |
22,0 |
|
|
№ 5 - 6 |
7,9 |
26,6 |
|
|
№ 8 |
9,0 |
31,8 |
|
|
№ 10 - 12 |
10,5 |
42,0 |
|
6. Ц6-45, Ц9-57 (СДТ-57), Ц9-55 исполнение 3 |
№ 5 - 6 |
8,5 |
32,0 |
|
|
№ 7 - 8 |
9,2 |
38,0 |
|
|
№ 10 |
21,3 |
44,0 |
|
|
№ 12 |
23,0 |
53,5 |
|
7. ЦВА, Ц4-70, ВЦ5-35, ВЦ5-45, ВЦ50 |
№ 2,5 - 4 |
7,2 |
18,9 |
|
|
№ 5 - 6,5 |
9,1 |
25,3 |
|
|
№ 7 - 8 |
11,7 |
28,0 |
|
|
№ 10 |
19,5 |
33,0 |
|
8. Ц4-70Н, Ц4-76 исполнение 6 |
№ 8 |
16,7 |
41,1 |
|
|
№ 10 |
21,4 |
48,0 |
|
|
№ 12 |
23,8 |
60,0 |
|
|
№ 16 |
30,4 |
77,5 |
|
9. Ц4-76 |
№ 16 |
46,5 |
100,5 |
|
|
№ 20 |
56,8 |
125,8 |
|
10. ЦП-7-40, Ц6-46, В-ЦП6-45 |
№ 5 - 6 |
9,6 |
30,0 |
|
|
№ 8 |
10,3 |
40,0 |
|
11. ВВД |
№ 4 |
6,7 |
21,0 |
|
|
№ 5 - 6 |
8,4 |
29,6 |
|
|
№ 6 |
9,8 |
32,0 |
|
|
№ 9 - 10 |
11,6 |
37,3 |
|
|
№ 11 - 12 |
13,4 |
47,0 |
|
12. ВРВ 80/70 |
|
46,2 |
115,5 |
|
13. ВМ 40/750 ТБ, ВМ 40/750 ПБ, ВВСМ-1 |
|
41,9 |
104,8 |
|
14. ВМ 50/1000, ВМ 100/1000, ВМ-15 |
|
48,0 |
120,0 |
|
15. ВМ 75/1200, ВМ 100/1200, ВВСМ-2, ВВСМ-3 |
|
58,0 |
145,0 |
|
16. ВМ 160/850, ВМ-20А |
|
70,8 |
177,0 |
|
17. ВМ 180/1180 |
|
84,4 |
211,4 |
|
18. ВД-6, ВД-8, ВД-10, СВЦ-17, ВЦ-284 |
|
45,4 |
113,5 |
|
19. ВГД-13,5, ВД-12, ВД-13,5 |
|
58,0 |
145,0 |
|
20. ВГД-15,5У, ВД-15,5 |
|
61,5 |
153,8 |
|
21. ВГД-20У, ВД-18, ВД-20 |
|
70,6 |
176,4 |
|
22. ВГ-70 |
|
74,0 |
190,5 |
|
23. ВДН-24, ВДН-25 |
|
78,0 |
195,0 |
|
24. ВДН-26, ВДН-28, ВДН-32 |
|
90,0 |
225,0 |
|
25. ВДН-24×2, ВДН-25×2 |
|
87,2 |
218,0 |
|
26. Д-8, Д-10, ДН-9, ДН-10 |
|
50,6 |
126,4 |
|
27. Д-12, Д-13,5 |
|
61,8 |
154,4 |
|
28. Д-15,5 |
|
70,7 |
176,8 |
|
29. Д-18, Д-20 |
|
81,4 |
203,5 |
|
30. Д-13,5×2У |
|
66,5 |
166,3 |
|
31. Д-15,5×2 |
|
72,0 |
180,0 |
|
32. Д-18×2, ДН-18×2А |
|
79,3 |
198,3 |
|
33. Д-21,5×2, ДН-22×2-0,62 |
|
84,0 |
210,0 |
|
34. ДН-24×2-0,62 |
|
98,0 |
246,0 |
|
35. ДН-26×2 |
|
149,0 |
372,7 |
|
36. ДОД-28,5 |
|
148,8 |
372,1 |
|
37. ДОД-31,5 |
|
164,0 |
411,1 |
|
38. ДОД-41 |
|
195,1 |
487,8 |
|
39. ДОД-43 |
|
213,4 |
533,6 |
|
40. 1ВГ-47 |
|
62,0 |
148,8 |
|
41. 2ВГ-47 |
|
57,0 |
140,0 |
Сварка стыковых соединений
С2 Стыковое соединение без скоса кромок одностороннее
|
Угол между изделиями и горизонтальной плоскостью, град. |
Толщина металла, мм |
|||||
|
2 |
3 |
4 |
6 |
8 |
||
|
Норма времени на 1 м шва, мин. |
||||||
|
Нижнее вертикальное |
180 |
7,9 |
8,6 |
10,6 |
12,1 |
13,9 |
|
90 |
9,3 |
10,1 |
12,5 |
14,2 |
16,3 |
|
|
Нижнее горизонтальное |
180 |
7,9 |
8,6 |
10,6 |
12,1 |
13,9 |
|
90 |
10,3 |
11,2 |
13,91 |
15,8 |
18,2 |
|
|
Потолочное вертикальное |
180 |
11,6 |
12,7 |
15,7 |
17,9 |
20,6 |
|
90 |
9,3 |
10,1 |
12,5 |
14,2 |
16,3 |
|
|
Потолочное, горизонтальное |
180 |
11,6 |
12,7 |
15,7 |
17,9 |
20,6 |
|
90 |
10,3 |
11,2 |
13,9 |
15,8 |
18,2 |
|
Примечание. Диаметр электрода Ø 3 мм. Тип, марка электрода УОНИ-13/45.
Подварка корня шва стыковых соединений
Глубина подварки 3 мм
|
Подварка после обработки корня шва инструментами |
Разряд работы |
Положение шва |
Норма времени на 10 м шва |
|
|
1 |
2 |
3 |
4 |
5 |
|
1. |
Зачистка ручным зубилом |
3 |
Нижнее |
0,94 |
|
2. |
То же |
4 |
Вертикальное |
1,20 |
|
3. |
Зачистка ручным зубилом |
4 |
Потолочное |
1,55 |
|
4. |
Вырубка пневматическим рубильным инструментом |
3 |
Нижнее |
0,80 |
|
5. |
То же |
4 |
Вертикальное |
1,05 |
|
6. |
-»- |
4 |
Потолочное и горизонтальное |
1,30 |
|
7. |
Вырезка газовым резаком |
3 |
Нижнее |
1,35 |
|
8. |
То же |
4 |
Вертикальное |
1,75 |
|
9. |
-»- |
4 |
Потолочное и горизонтальное |
2,20 |
Ручная резка
Состав работы
Подготовка баллонов к работе с присоединением к ним шлангов. Опробование (регулировка) резака. Резка металла. Переходы в процессе работы с переноской шлангов в пределах рабочей зоны. Отключение шлангов от баллонов и уборка их после окончания работы.
|
Наименование горючего |
Толщина листовой стали, мм |
||
|
5 |
10 |
||
|
Норма времени на 10 м реза |
|||
|
1. |
Ацетилен |
0,62 |
0,68 |
|
2. |
Бензин, керосин, пропан-бутановая смесь |
0,70 |
0,74 |
Масляная окраска тягодутьевых машин готовыми составами
Состав работы
Очистка от загрязнений. Расчистка отстающей краски. Проолифка расчищенных мест и выбоин. Подмазка свищей и гребней. Шлифовка подмазанных мест. Первая окраска. Вторая окраска.
Состав звена: маляр 3 р. - 1
|
Площадь окрашиваемой поверхности, м2 |
Способ покрытия |
||||||
|
кистью |
пистолетом-распылителем |
||||||
|
Группа сложности деталей, узлов |
|||||||
|
I |
II |
III |
I |
II |
III |
||
|
Норма времени |
|||||||
|
1. |
0,30 |
0,11 |
0,17 |
0,21 |
0,06 |
0,08 |
0,13 |
|
2. |
0,40 |
0,13 |
0,18 |
0,26 |
0,07 |
0,09 |
0,14 |
|
3. |
0,50 |
0,15 |
0,21 |
0,30 |
0,08 |
0,11 |
0,15 |
|
4. |
0,60 |
0,17 |
0,24 |
0,34 |
0,09 |
0,12 |
0,17 |
|
5. |
0,80 |
0,21 |
0,29 |
0,42 |
0,10 |
0,15 |
0,21 |
|
6. |
1,00 |
0,24 |
0,35 |
0,49 |
0,12 |
0,17 |
0,24 |
|
7. |
2,00 |
0,49 |
0,70 |
0,98 |
0,24 |
0,34 |
0,48 |
|
8. |
3,00 |
0,74 |
1,04 |
1,48 |
0,36 |
0,51 |
0,73 |
|
9. |
4,00 |
0,98 |
1,40 |
1,97 |
0,48 |
0,68 |
0,97 |
|
10. |
5,00 |
1,23 |
1,75 |
2,46 |
0,61 |
0,85 |
1,22 |
Характеристика групп сложности
Первая группа. Детали, узлы и изделия простые по конфигурации с плавными переходами на изгибах, впадинах и выступах с отверстиями, не затрудняющими работу. Места обработки доступны. Движение инструментов в работе не затруднено.
Вторая группа. Детали, узлы и изделия более сложной конфигурации с пересечениями плоскостей прямолинейного и криволинейного контура с выступами, углублениями, окнами и отверстиями, затрудняющими работу. Отдельные места мало доступны для свободной работы. Движение инструментов ограничено.
Третья группа. Детали, узлы и изделия сложной конфигурации с большим количеством пересечений криволинейных и сферических поверхностей, многочисленными отверстиями, карманами и ребрами, усложняющими работу в значительной степени. Большинство мест обработки малодоступны. Движение инструмента весьма ограничено.
Установка и снятие цепных талей
Состав звена
|
При грузоподъемности тали, т |
||
|
до 3,0 |
от 3,1 до 5,0 |
|
|
Такелажник или слесарь 3-го разряда |
1 |
1 |
|
То же; 2-го разряда |
1 |
2 |
Состав работы
При установке. Подвесить таль в пределах рабочего места, перекинуть вспомогательный канат через балку, привязать его свободный конец к тали, поднять таль при помощи каната и подвязать ее тросом к подъемному приспособлению, заправить цепи в таль и смазать цепи и таль маслом.
При снятии. Привязать перекинутый через балку вспомогательный конец каната к подвешенной тали, отвязать таль и опустить ее на пол при помощи каната.
|
При грузоподъемности тали, т |
|||
|
до 0,2 |
до 0,3 |
до 5,0 |
|
|
Норма времени на одну таль |
|||
|
Установка талей |
0,85 |
1,00 |
1,70 |
|
Снятие талей |
0,60 |
0,70 |
1,30 |
Примечание. Нормы предусматривают высоту подвески талей до 10 м. При высоте подвески 10 м к нормам времени таблицы применять К = 1,15.
Правка погнутости валов, шатунов под винтовым прессом
Содержание работы
Взять деталь и положить под пресс. Править деталь с кантовкой, передвижением и проверкой по линейке. Снять и отложить вал, шатун.
Состав звена: слесарь 4 р. - 1.
|
Длина детали, мм, до |
Диаметр детали Ø, мм, до |
||||||
|
16 |
20 |
32 |
40 |
63 |
80 |
||
|
Время Т, мин. |
|||||||
|
1. |
200 |
0,20 |
0,24 |
0,36 |
0,43 |
0,63 |
0,77 |
|
2. |
320 |
0,27 |
0,33 |
0,49 |
0,59 |
0,87 |
1,06 |
|
3. |
500 |
0,37 |
0,45 |
0,66 |
0,80 |
1,17 |
1,43 |
|
4. |
800 |
- |
0,61 |
0,91 |
1,09 |
1,60 |
1,96 |
|
5. |
1200 |
- |
- |
1,19 |
1,44 |
2,10 |
2,57 |
|
6. |
1600 |
- |
- |
- |
1,74 |
2,55 |
3,11 |
Примечание. В таблице предусмотрено время на правку деталей с одним замером. При правке деталей с количеством замеров более одного к табличному времени прибавить время:
|
Применяемый инструмент |
Количество замеров |
Длина измеряемой поверхности L, мм, до |
|||||||
|
100 |
300 |
400 |
500 |
650 |
800 |
1000 |
|||
|
Время Т, мин. |
|||||||||
|
1. |
Линейка |
1 |
0,17 |
0,20 |
0,20 |
0,21 |
0,22 |
0,22 |
0,23 |
|
2. |
То же |
2 |
- |
0,24 |
0,25 |
0,25 |
0,26 |
0,27 |
0,28 |
|
3. |
Щуп |
4 |
- |
0,29 |
0,30 |
0,31 |
0,32 |
0,33 |
0,34 |
|
4. |
То же |
6 |
- |
- |
0,34 |
0,35 |
0,36 |
0,37 |
0,38 |
|
5. |
-»- |
10 |
- |
- |
- |
0,40 |
0,41 |
0,42 |
0,43 |
|
6. |
Индикатор |
1 |
0,16 |
0,25 |
0,26 |
0,27 |
0,27 |
0,30 |
0,30 |
Правка плоских деталей вручную (листовой прокат, угловой прокат, швеллера, прутки)
Содержание работы
Взять и положить заготовку или деталь на плиту. Править заготовку или деталь молотком с кантовкой, передвижением и с проверкой по линейке. Снять и отложить заготовку или деталь.
|
Вид заготовки |
Сечение заготовки детали, мм, до |
Длина заготовки (детали) L, см, до: |
|||||
|
50 |
80 |
100 |
150 |
200 |
|||
|
Время Т, мин. |
|||||||
|
1 |
2 |
3 |
4 |
5 |
6 |
7 |
8 |
|
1. |
Угловой прокат |
20×20×3 |
0,19 |
0,24 |
0,26 |
0,32 |
0,36 |
|
2. |
То же |
32×32×4 |
0,28 |
0,35 |
0,39 |
0,46 |
0,53 |
|
3. |
-»- |
40×40×4 |
0,34 |
0,42 |
0,46 |
0,56 |
0,64 |
|
4. |
-»- |
50×50×5 |
0,40 |
0,50 |
0,55 |
0,67 |
0,76 |
|
5. |
Швеллер |
50×32×4,4 |
0,81 |
1,04 |
1,18 |
1,47 |
1,71 |
|
6. |
То же |
65×36×4,4 |
0,96 |
1,23 |
1,39 |
1,73 |
2,02 |
|
7. |
-»- |
80×40×4,5 |
1,09 |
1,41 |
1,59 |
1,98 |
2,31 |
|
8. |
-»- |
100×46×4,5 |
1,26 |
1,63 |
1,83 |
2,28 |
2,67 |
|
9. |
Пруток |
6 |
0,25 |
0,39 |
0,48 |
0,70 |
0,92 |
|
10. |
То же |
8 |
0,32 |
0,49 |
0,60 |
0,88 |
1,15 |
|
11. |
-»- |
10 |
0,38 |
0,58 |
0,72 |
1,05 |
1,37 |
|
12. |
-»- |
16 |
0,55 |
0,84 |
1,04 |
1,51 |
1,98 |
|
13. |
-»- |
20 |
0,65 |
1,00 |
1,24 |
1,80 |
2,36 |
Нарезание резьбы в сквозных отверстиях вручную
Содержание работы
Взять метчик и вороток. Окунуть метчик в масло. Нарезать резьбу. Очистить метчик и отверстие от стружки. Отложить метчик и вороток.
|
№№ пп |
Диаметр резьбы, мм, до |
Длина нарезания, мм, до |
||||||||
|
5 |
10 |
15 |
20 |
25 |
30 |
40 |
50 |
60 |
||
|
Время, мин. |
||||||||||
|
1 |
2 |
3 |
4 |
5 |
6 |
7 |
8 |
9 |
10 |
11 |
|
1. |
6 |
0,80 |
1,24 |
1,61 |
1,92 |
2,22 |
2,49 |
- |
- |
- |
|
2. |
8 |
- |
1,10 |
1,42 |
1,70 |
1,96 |
2,19 |
- |
- |
- |
|
3. |
10 |
- |
1,00 |
1,29 |
1,54 |
1,78 |
1,99 |
- |
- |
- |
|
4. |
12 |
- |
- |
1,19 |
1,43 |
1,64 |
1,84 |
- |
- |
- |
|
5. |
14 |
- |
- |
1,11 |
1,34 |
1,54 |
1,73 |
2,07 |
- |
- |
|
6. |
16 |
- |
- |
1,27 |
1,52 |
1,75 |
1,96 |
2,35 |
2,70 |
- |
|
7. |
18 |
- |
- |
- |
1,72 |
1,98 |
2,22 |
2,66 |
3,06 |
- |
|
8. |
24 |
- |
- |
- |
2,32 |
2,67 |
3,00 |
3,59 |
4,13 |
4,64 |
|
Нарезание резьбы одним машинным метчиком |
||||||||||
|
9. |
6 |
0,54 |
0,83 |
1,07 |
1,28 |
1,48 |
1,66 |
- |
- |
- |
|
10. |
8 |
- |
0,73 |
0,95 |
1,13 |
1,30 |
1,40 |
- |
- |
- |
|
11. |
10 |
- |
0,67 |
0,86 |
1,03 |
1,19 |
1,33 |
- |
- |
- |
|
12. |
12 |
- |
0,62 |
0,79 |
0,95 |
1,10 |
1,23 |
1,47 |
- |
- |
|
13. |
14 |
- |
1,09 |
1,41 |
1,69 |
1,94 |
2,28 |
2,61 |
- |
- |
|
14. |
16 |
- |
1,25 |
1,62 |
1,94 |
2,23 |
2,51 |
3,00 |
3,46 |
- |
|
15. |
18 |
- |
1,42 |
1,83 |
2,20 |
2,53 |
2,84 |
3,40 |
3,91 |
- |
Примечание. В зависимости от материала табличное время брать с поправочными коэффициентами:
|
сталь σв кг/мм2 |
Чугун НВ-220 |
сплавы |
|||
|
до 40 |
40 - 60 |
60 - 80 |
медные |
алюминиевые |
|
|
Коэффициент |
|||||
|
0,9 |
1,0 |
1,2 |
0,8 |
0,7 |
0,5 |
|
Вид отверстия |
Материал |
||||||
|
Сталь σв кг/мм2 |
Чугун НВ-220 |
Сплавы |
|||||
|
до 40 |
40 - 60 |
60 - 80 |
медные |
алюминиевые |
|||
|
Время, мин. |
|||||||
|
Горизонтальное |
Сквозное |
0,90 |
1,10 |
1,20 |
0,80 |
0,70 |
0,50 |
|
Глухое |
1,05 |
1,15 |
1,40 |
0,90 |
0,80 |
0,60 |
|
|
Вертикальное |
Сквозное |
1,00 |
1,10 |
1,30 |
0,90 |
0,80 |
0,55 |
|
Глухое |
1,15 |
1,25 |
1,50 |
1,05 |
0,90 |
0,65 |
|
|
Потолочное или стесненное |
Сквозное |
1,20 |
1,30 |
1,80 |
1,05 |
0,90 |
0,65 |
|
Глухое |
1,40 |
1,50 |
1,80 |
1,20 |
1,05 |
0,75 |
|
2. При выполнении работа в тисках на закрепление и открепление детали ко времени по карте прибавлять время в зависимости от массы детали:
|
Масса детали, кг, до |
5 |
10 |
20 |
|
Время, мин. |
0,3 |
0,4 |
0,6 |
3. В зависимости от количества отверстий в детали время брать с поправочным коэффициентом:
|
7 |
10 |
20 |
30 |
|
|
Коэффициент |
1,00 |
0,90 |
0,75 |
0,65 |
Прогонка (калибровка) резьбы в сквозных отверстиях вручную
Содержание работы
Взять метчик и вороток. Окунуть метчик в масло. Прогнать (калибровать) резьбу. Очистить метчик и отверстие от стружки. Отложить метчик и вороток.
|
Диаметр резьбы, мм |
Длина калибровки, мм |
|||||||||
|
5 |
10 |
15 |
20 |
25 |
30 |
40 |
50 |
60 |
||
|
Время, мин. |
||||||||||
|
1. |
6 |
0,30 |
0,46 |
0,59 |
0,71 |
0,82 |
0,92 |
- |
- |
- |
|
3. |
8 |
- |
0,41 |
0,52 |
0,63 |
0,72 |
0,81 |
- |
- |
- |
|
3. |
10 |
- |
0,37 |
0,48 |
0,57 |
0,66 |
0,74 |
- |
- |
- |
|
4. |
12 |
- |
0,34 |
0,44 |
0,53 |
0,61 |
0,68 |
0,82 |
- |
- |
|
5. |
14 |
- |
0,32 |
0,41 |
0,49 |
0,60 |
0,64 |
0,77 |
- |
- |
|
6. |
16 |
- |
- |
0,47 |
0,56 |
0,64 |
0,72 |
0,85 |
0,98 |
- |
|
7. |
18 |
- |
- |
- |
0,63 |
0,73 |
0,81 |
0,97 |
1,11 |
- |
|
8. |
24 |
- |
- |
- |
0,86 |
0,98 |
1,10 |
1,31 |
1,50 |
- |
|
9. |
32 |
- |
- |
- |
- |
1,33 |
1,48 |
1,77 |
2,03 |
2,27 |
Примечания: 1. При измененных условиях работы табличное время брать с поправочным коэффициентом:
|
Вид отверстия |
Материал |
||||||
|
сталь σв кг/мм2 |
Чугун ПВ-220 |
Сплавы |
|||||
|
до 40 |
40 - 60 |
60 - 80 |
медные |
алюминиевые |
|||
|
Горизонтальное |
Сквозное |
0,90 |
1,00 |
1,20 |
0,80 |
0,70 |
0,50 |
|
Глухое |
1,05 |
1,15 |
1,40 |
0,90 |
0,80 |
0,60 |
|
|
Вертикальное |
Сквозное |
1,00 |
1,10 |
1,30 |
0,90 |
0,80 |
0,55 |
|
Глухое |
1,15 |
1,25 |
1,50 |
1,05 |
0,90 |
0,65 |
|
|
Потолочное или стесненное |
Сквозное |
1,20 |
1,30 |
1,50 |
1,05 |
0,90 |
0,65 |
|
Глухое |
1,40 |
1,50 |
1,80 |
1,20 |
1,05 |
0,75 |
|
2. При выполнении работ в тисках на закрепление и открепление детали ко времени по таблице прибавить время в зависимости от массы:
|
5 |
10 |
20 |
|
|
Время, мин. |
0,3 |
0,4 |
0,6 |
3. В зависимости от количества отверстий в детали время брать с поправочным коэффициентом:
|
7 |
10 |
20 |
30 |
|
|
Коэффициент |
1,00 |
0,90 |
0,75 |
0,65 |
Нарезание резьбы на стержнях плашкой
Установить и закрепить стержень в тисках. Взять вороток с плашкой и смазать плашку маслом. Нарезать резьбу на стержне. Очистить плашку и стержень от стружки и отложить. Открепить и отложить стержень.
|
Диаметр стержня, мм, до |
Длина нарезания, мм, до |
||||||||
|
5 |
10 |
16 |
20 |
25 |
35 |
40 |
50 |
||
|
Время, мин. |
|||||||||
|
1. |
6 |
0,61 |
0,98 |
1,62 |
1,95 |
2,36 |
3,13 |
3,50 |
4,22 |
|
2. |
8 |
- |
0,97 |
1,44 |
1,74 |
2,10 |
2,79 |
3,12 |
3,76 |
|
3. |
10 |
- |
0,89 |
1,32 |
1,59 |
1,92 |
2,55 |
2,85 |
3,43 |
|
4. |
12 |
- |
- |
1,23 |
1,48 |
1,79 |
2,37 |
2,65 |
3,20 |
|
5. |
14 |
- |
- |
1,15 |
1,39 |
1,68 |
2,23 |
2,49 |
3,00 |
|
6. |
16 |
- |
- |
1,30 |
1,57 |
1,89 |
2,51 |
2,81 |
3,39 |
|
7. |
18 |
- |
- |
- |
1,73 |
2,09 |
2,77 |
3,10 |
3,74 |
|
8. |
20 |
- |
- |
- |
1,89 |
2,28 |
3,02 |
3,38 |
4,08 |
Примечание. В зависимости от материала стержня время брать с поправочным коэффициентом:
|
Материал стержня |
|||||
|
Сталь σв кг/мм2 |
Чугун НВ-220 |
Сплавы |
|||
|
до 40 |
40 - 60 |
60 - 80 |
медные |
алюминиевые |
|
|
Коэффициент |
|||||
|
0,9 |
1,0 |
1,2 |
0,8 |
0,7 |
0,5 |
Прогонка (калибровка) резьбы на стержнях плашкой
Содержание работы
Взять, установить и закрепить стержень в тисках. Взять вороток с плашкой и смазать плашку маслом. Прогнать резьбу на стержне. Очистить плашку от стружки и отложить. Открепить и отложить стержень.
|
Диаметр стержня, мм, до |
Длина резьбы, мм, до |
||||||||||
|
18 |
22 |
26 |
30 |
38 |
46 |
54 |
66 |
78 |
90 |
||
|
Время, мин. |
|||||||||||
|
1. |
6 |
0,68 |
0,80 |
0,92 |
1,04 |
1,27 |
1,49 |
1,71 |
2,02 |
2,32 |
2,62 |
|
2. |
8 |
0,61 |
0,73 |
0,84 |
0,94 |
1,15 |
1,35 |
1,55 |
1,83 |
2,11 |
2,38 |
|
3. |
10 |
0,57 |
0,67 |
0,78 |
0,88 |
1,07 |
1,25 |
1,43 |
1,70 |
1,95 |
2,20 |
|
4. |
12 |
0,54 |
0,63 |
0,73 |
0,82 |
1,00 |
1,18 |
1,35 |
1,60 |
1,84 |
2,07 |
|
5. |
16 |
0,56 |
0,66 |
0,76 |
0,86 |
1,05 |
1,23 |
1,41 |
1,67 |
1,92 |
2,17 |
|
6. |
18 |
0,62 |
0,73 |
0,84 |
0,95 |
1,16 |
1,36 |
1,56 |
1,84 |
2,12 |
2,39 |
|
7. |
24 |
0,78 |
0,93 |
1,07 |
1,20 |
1,47 |
1,72 |
1,97 |
2,33 |
2,68 |
3,03 |
|
8. |
32 |
0,99 |
1,17 |
1,35 |
1,52 |
1,86 |
2,18 |
2,49 |
2,95 |
3,40 |
3,83 |
Примечание. В зависимости от материала стержня время брать с поправочным коэффициентом:
|
Материал стержня |
|||||
|
Сталь σв кг/мм2 |
Чугун НВ-220 |
Сплавы |
|||
|
до 40 |
40 - 60 |
медные |
медные |
алюминиевые |
|
|
Коэффициент |
|||||
|
0,9 |
1,0 |
1,2 |
0,8 |
0,7 |
0,5 |
Изготовление шпонок
Содержание работы
Взять заготовку и закрепить в тиски. Опилить заготовку в размер шпонки драчевым и личным напильником. Отложить напильник. Открепить шпонку и отложить.
|
Сечение шпонки, мм2 |
Длина шпонки, мм, до |
|||||||
|
10 |
16 |
28 |
40 |
70 |
100 |
160 |
||
|
Время, мин. |
||||||||
|
1. |
4×4 |
1,71 |
2,23 |
3,05 |
3,73 |
- |
- |
- |
|
2. |
5×5 |
1,97 |
2,56 |
3,51 |
4,28 |
5,86 |
- |
- |
|
3. |
6×6 |
- |
2,87 |
3,93 |
4,79 |
6,56 |
- |
- |
|
4. |
8×7 |
- |
- |
4,69 |
5,73 |
7,84 |
9,57 |
- |
|
5. |
10×8 |
- |
- |
5,39 |
6,58 |
9,00 |
10,99 |
- |
|
6. |
12×8 |
- |
- |
6,03 |
7,37 |
10,08 |
12,31 |
16,01 |
|
7. |
14×9 |
- |
- |
- |
8,11 |
11,09 |
13,54 |
17,62 |
|
8. |
16×10 |
- |
- |
- |
8,80 |
12,05 |
14,71 |
19,14 |
|
9. |
18×11 |
- |
- |
- |
- |
12,96 |
15,82 |
20,59 |
|
10. |
20×12 |
- |
- |
- |
- |
13,83 |
16,89 |
21,98 |
|
11. |
22×14 |
- |
- |
- |
- |
14,68 |
17,92 |
23,32 |
|
12. |
25×14 |
- |
- |
- |
- |
15,89 |
19,40 |
25,24 |
Примечание. При опиливании заготовки с припуском более 1 мм на сторону время брать с коэффициентом К = 1,5.
Пригонка и установка призматической шпонки (посадка напряженная)
Содержание работы
Зачистить шпоночные пазы вала и контрдетали. Проверить шпонку по пазам штангенциркулем и щупом. Пригнать шпонку по пазам вала и контрдетали. Установить шпонку.
Состав звена: слесарь 2 р. - 1.
|
Длина шпонки, мм, до |
Сечение шпонки, мм |
|||||||||||||
|
5×5 |
5×7 |
10×8 |
14×9 |
16×10 |
18×10 |
24×14 |
28×16 |
32×18 |
40×22 |
50×28 |
60×32 |
70×36 |
||
|
Норма времени |
||||||||||||||
|
1. |
30 |
0,04 |
0,06 |
0,08 |
- |
- |
- |
- |
- |
- |
- |
- |
- |
- |
|
2. |
60 |
0,06 |
0,08 |
0,09 |
0,10 |
- |
- |
- |
- |
- |
- |
- |
- |
- |
|
3. |
80 |
0,08 |
0,09 |
0,10 |
0,12 |
0,14 |
- |
- |
- |
- |
- |
- |
- |
- |
|
4. |
100 |
- |
0,10 |
0,12 |
0,14 |
0,15 |
0,20 |
- |
- |
- |
- |
- |
- |
- |
|
5. |
150 |
- |
- |
0,14 |
0,15 |
0,20 |
0,23 |
0,26 |
0,29 |
- |
- |
- |
- |
- |
|
6. |
200 |
- |
- |
- |
0,20 |
0,23 |
0,29 |
0,32 |
0,37 |
0,41 |
0,47 |
- |
- |
- |
|
7. |
250 |
- |
- |
- |
- |
0,29 |
0,32 |
0,37 |
0,41 |
0,49 |
0,53 |
0,56 |
- |
- |
|
8. |
300 |
- |
- |
- |
- |
- |
0,37 |
0,43 |
0,47 |
0,53 |
0,56 |
0,58 |
0,64 |
- |
|
9. |
350 |
- |
- |
- |
- |
- |
- |
0,47 |
0,53 |
0,56 |
0,58 |
0,64 |
0,70 |
0,76 |
|
10. |
400 |
- |
- |
- |
- |
- |
- |
- |
0,56 |
0,58 |
0,64 |
0,70 |
0,76 |
0,82 |
|
11. |
450 |
- |
- |
- |
- |
- |
- |
- |
- |
0,64 |
0,70 |
0,76 |
0,82 |
0,88 |
|
12. |
500 |
- |
- |
- |
- |
- |
- |
- |
- |
- |
0,82 |
0,88 |
0,94 |
0,99 |
Примечания: 1. При пригонке и установке шпонки со скользящей посадкой табличное время применять с поправочным коэффициентом 1,2.
2. При пригонке шпонок длиной до 150 мм табличное время рассчитано с учетом спиливания по радиусу обоих концов. При опиливании шпонок большей длины предусматривается предварительное закругление на станке.
Разметка деталей
Содержание работы
Взять деталь. Установить деталь на плиту. Взять инструмент. Разметить деталь. Отложить инструмент. Отложить деталь после разметки.
Состав звена: слесарь 4 р. - 1.
|
Разметка осей отверстий |
||||||||
|
№№ пп |
Расположение осей отверстий |
Количество размечаемых отверстий, шт. |
||||||
|
1 |
2 |
4 |
6 |
8 |
12 |
16 |
||
|
Время, мин. |
||||||||
|
1. |
По прямой |
0,65 |
0,99 |
1,51 |
1,94 |
2,31 |
2,96 |
3,53 |
|
2. |
По окружности |
0,75 |
1,14 |
1,72 |
2,20 |
2,61 |
3,33 |
3,96 |
Разметка контура при помощи чертилки и линейки
|
Вид разметки |
Расположение плоскости |
Периметр контура |
||||||||
|
100 |
500 |
800 |
1250 |
1600 |
2000 |
2500 |
3200 |
|||
|
Время, мин. |
||||||||||
|
1 |
2 |
3 |
4 |
5 |
6 |
7 |
8 |
9 |
10 |
11 |
|
3. |
По линейке |
Горизонтальное |
0,15 |
0,37 |
0,47 |
0,61 |
0,69 |
0,78 |
0,89 |
1,02 |
|
4. |
По линейке |
Вертикальное |
0,17 |
0,41 |
0,52 |
0,66 |
0,76 |
0,86 |
0,97 |
1,10 |
|
5. |
По шаблону |
Горизонтальное |
0,33 |
0,61 |
0,73 |
0,86 |
0,95 |
1,03 |
1,12 |
1,23 |
|
6. |
То же |
Вертикальное |
0,42 |
0,75 |
0,89 |
1,04 |
1,14 |
1,23 |
1,34 |
1,46 |
Разметка отверстий по шаблону, шт., до
|
№№ пп |
Диаметр отверстий, мм, до |
Количество отверстий одинакового диаметра, шт. |
||||||
|
1 |
2 |
4 |
6 |
8 |
12 |
16 |
||
|
Время, мин. |
||||||||
|
7. |
8 |
0,12 |
0,21 |
0,38 |
0,54 |
0,69 |
0,97 |
1,23 |
|
8. |
10 |
0,14 |
0,25 |
0,45 |
0,63 |
0,80 |
1,12 |
1,43 |
|
9. |
12 |
0,17 |
0,28 |
0,50 |
0,71 |
0,90 |
1,26 |
1,61 |
|
10. |
16 |
0,19 |
0,34 |
0,61 |
0,85 |
1,09 |
1,53 |
1,97 |
|
11. |
20 |
0,22 |
0,39 |
0,70 |
0,99 |
1,26 |
1,77 |
2,26 |
Разметка окружности циркулем
|
Разметка |
Материал |
Диаметр окружности, мм, до |
||||||
|
80 |
160 |
250 |
320 |
400 |
500 |
|||
|
Время, мин. |
||||||||
|
12. |
1/4 окружности |
Сталь σв = 40 - 60 кг/мм2 |
0,10 |
0,14 |
0,17 |
0,19 |
0,22 |
0,24 |
|
13. |
1/2 окружности |
0,14 |
0,19 |
0,23 |
0,25 |
0,27 |
0,30 |
|
|
14. |
Окружность |
0,21 |
0,26 |
0,30 |
0,32 |
0,35 |
0,37 |
|
Примечание. В таблицах предусмотрено время на разметку деталей из чугуна и стали. При разметке деталей из медных и алюминиевых сплавов табличное время брать с коэффициентом 0,8.
Резка листового проката ручными ножницами
Содержание работы
Взять и положить лист на верстак. Взять ножницы. Резать заготовку по разметке. Отложить ножницы. Отложить заготовку и отходы.
|
Материал |
Толщина листа, мм |
Контур реза |
||||||||||
|
прямолинейный |
криволинейный |
|||||||||||
|
Длина реза, мм, до |
||||||||||||
|
50 |
100 |
200 |
300 |
400 |
50 |
100 |
200 |
300 |
400 |
|||
|
Время, мин. |
||||||||||||
|
1 |
2 |
3 |
4 |
5 |
6 |
7 |
8 |
9 |
10 |
11 |
12 |
13 |
|
1. |
Сталь до 40 кг/мм2 |
0,5 |
0,25 |
0,33 |
0,43 |
0,51 |
0,57 |
0,28 |
0,38 |
0,51 |
0,60 |
0,68 |
|
2. |
То же |
1,0 |
0,27 |
0,36 |
0,47 |
0,55 |
0,62 |
0,31 |
0,42 |
0,56 |
0,67 |
0,76 |
|
3. |
Медные сплавы |
0,5 |
0,25 |
0,32 |
0,41 |
0,47 |
0,52 |
0,26 |
0,33 |
0,42 |
0,48 |
0,54 |
|
4. |
То же |
1,0 |
0,27 |
0,34 |
0,44 |
0,51 |
0,57 |
0,30 |
0,38 |
0,48 |
0,55 |
0,61 |
|
5. |
-»- |
1,5 |
0,28 |
0,36 |
0,46 |
0,53 |
0,59 |
0,32 |
0,41 |
0,48 |
0,60 |
0,66 |
|
6. |
Алюминиевые сплавы |
0,5 |
0,23 |
0,28 |
0,35 |
0,39 |
0,43 |
0,24 |
0,30 |
0,37 |
0,42 |
0,46 |
|
7. |
То же |
1,0 |
0,25 |
0,31 |
0,38 |
0,42 |
0,46 |
0,27 |
0,34 |
0,42 |
0,47 |
0,52 |
|
8. |
-»- |
1,5 |
0,26 |
0,32 |
0,39 |
0,44 |
0,48 |
0,29 |
0,36 |
0,45 |
0,51 |
0,56 |
|
9. |
-»- |
2,0 |
0,27 |
0,33 |
0,41 |
0,46 |
0,50 |
0,31 |
0,38 |
0,47 |
0,54 |
0,59 |
Примечание. В таблице предусмотрено время на вырезку деталей из листа массой до 5 кг. При вырезке деталей из листа массой свыше 5 кг время брать с коэффициентом 1,2.
Кернение
Содержание работы
Взять деталь. Установить деталь на плиту. Взять керн и молоток. Открепить контур детали. Отложить керн и молоток. Отложить деталь.
Состав звена: слесарь 3 р. - 1.
|
№ пп |
Вид окернивания |
Вид линии контура |
Количество точек, шт. |
|||||||
|
1 |
7 |
13 |
25 |
37 |
49 |
55 |
60 |
|||
|
Время, мин. |
||||||||||
|
1. |
По разметке |
Прямая |
0,13 |
0,47 |
0,71 |
1,09 |
1,41 |
1,70 |
1,83 |
1,94 |
|
2. |
То же |
Криволинейная |
0,13 |
0,54 |
0,85 |
1,36 |
1,81 |
2,23 |
2,42 |
2,58 |
|
3. |
По шаблону |
Прямая |
0,14 |
0,58 |
0,91 |
1,47 |
1,95 |
2,40 |
2,61 |
2,78 |
|
4. |
То же |
Криволинейная |
0,14 |
0,65 |
1,06 |
1,78 |
2,43 |
3,03 |
3,32 |
3,56 |
|
№№ пп |
Количество отверстий на детали, шт., до |
Диаметр отверстия, мм, до |
|||||
|
5 |
10 |
15 |
20 |
25 |
30 |
||
|
Время, мин. |
|||||||
|
1 |
2 |
3 |
4 |
5 |
6 |
7 |
8 |
|
5. |
1 |
0,14 |
0,16 |
0,18 |
0,19 |
0,20 |
0,21 |
|
6. |
2 |
0,17 |
0,20 |
0,22 |
0,23 |
0,25 |
0,26 |
|
7. |
3 |
0,19 |
0,22 |
0,25 |
0,27 |
0,28 |
0,29 |
|
8. |
4 |
0,21 |
0,24 |
0,27 |
0,29 |
0,30 |
0,32 |
|
9. |
5 |
0,22 |
0,26 |
0,29 |
0,31 |
0,33 |
0,34 |
|
10. |
6 |
0,23 |
0,28 |
0,30 |
0,33 |
0,34 |
0,36 |
|
11. |
8 |
0,26 |
0,30 |
0,33 |
0,36 |
0,38 |
0,39 |
|
12. |
10 |
0,27 |
0,32 |
0,36 |
0,38 |
0,40 |
0,42 |
Примечания: 1. При кернении на деталях из медных сплавов время брать с коэффициентом 0,9, алюминиевых сплавов - с коэффициентом 0,7, трудно обрабатываемых сталей - с коэффициентом 1,5.
2. При кернении объемных деталей время брать с коэффициентом 1,3.
Сверление сквозных отверстий на вертикально-сверлильном станке
Содержание работы
Установить и закрепить сверло в сверлильный станок. Включить сверлильный станок. Сверлить отверстие. Вывести сверло из отверстия и выключить станок. Очистить сверло и деталь от стружки.
|
Глубина сверления, мм |
Сверление на плоскости |
Сверление на цилиндрической поверхности |
|||||||||||
|
Диаметр отверстия, мм, до |
|||||||||||||
|
3 |
6 |
10 |
13 |
20 |
25 |
3 |
6 |
10 |
13 |
20 |
25 |
||
|
Время, мин. |
|||||||||||||
|
1. |
10 |
0,19 |
0,33 |
- |
- |
- |
- |
0,25 |
0,45 |
- |
- |
- |
- |
|
2. |
15 |
0,23 |
0,42 |
0,65 |
0,81 |
1,17 |
- |
0,31 |
0,55 |
0,86 |
1,07 |
1,55 |
- |
|
3. |
20 |
0,27 |
0,49 |
0,76 |
0,95 |
1,37 |
1,65 |
0,36 |
0,64 |
1,00 |
1,25 |
1,81 |
2,19 |
|
4. |
25 |
0,31 |
0,55 |
0,86 |
1,07 |
1,54 |
1,87 |
0,40 |
0,73 |
1,12 |
1,41 |
2,03 |
2,46 |
|
5. |
30 |
0,34 |
0,61 |
0,95 |
1,18 |
1,71 |
2,06 |
0,44 |
0,80 |
1,24 |
1,55 |
2,24 |
2,71 |
|
6. |
40 |
0,40 |
0,72 |
1,11 |
1,39 |
2,00 |
2,42 |
0,51 |
0,93 |
1,44 |
1,80 |
2,61 |
3,16 |
|
7. |
50 |
- |
0,81 |
1,25 |
1,57 |
2,26 |
2,73 |
- |
1,04 |
1,62 |
2,03 |
2,93 |
3,55 |
|
8. |
65 |
- |
0,94 |
1,45 |
1,81 |
2,61 |
3,16 |
- |
1,20 |
1,86 |
2,33 |
3,37 |
4,08 |
Примечания: 1. В зависимости от количества отверстий в детали время брать с поправочным коэффициентом:
|
7 |
10 |
20 |
30 |
|
|
Коэффициент |
1,00 |
0,90 |
0,75 |
0,65 |
2. При рассверливании отверстий время брать с коэффициентом 0,8.
3. При измененных условиях работы время брать с поправочным коэффициентом:
|
Материал |
|||||||
|
Сталь σв, кг/мм2, до |
Чугун НВ-220 |
Сплавы |
|||||
|
40 |
60 |
80 |
медные |
алюминиевые |
|||
|
Коэффициент |
|||||||
|
Сквозное |
0,90 |
1,00 |
1,10 |
0,80 |
0,70 |
0,60 |
|
|
Глухое |
1,10 |
1,20 |
1,30 |
0,95 |
0,85 |
0,70 |
|
Гибка полосы вручную в тисках
Содержание работы
Взять детали и угольник, установить в тиски и закрепить. Взять молоток и гнуть заготовку по угольнику в тисках. Открепить деталь и угольник, отложить.
Состав звена: слесарь 3 р. - 1.
|
Толщина полосы, мм, до |
Гибка полос (45 - 90) |
|||||||||
|
Ширина полосы, мм, до |
||||||||||
|
10 |
20 |
30 |
40 |
55 |
80 |
100 |
150 |
200 |
||
|
Время, мин. |
||||||||||
|
1. |
1,0 |
0,23 |
0,29 |
0,34 |
0,40 |
0,47 |
0,54 |
0,58 |
0,64 |
0,82 |
|
2. |
3,0 |
0,26 |
0,33 |
0,37 |
0,43 |
0,50 |
0,58 |
0,64 |
0,76 |
0,88 |
|
3. |
3,0 |
0,28 |
0,35 |
0,42 |
0,49 |
0,56 |
0,64 |
0,76 |
0,88 |
0,99 |
Поправочные коэффициенты в зависимости от:
1. Обрабатываемого материала
|
Сталь σв, кг/мм2, до |
Сплавы |
||||
|
до 40 |
41 - 60 |
61 - 80 |
медные |
алюминиевые |
|
|
Коэффициент |
0,8 |
1,0 |
1,2 |
0,7 |
0,5 |
2. Количества деталей в партии
|
1 - 3 |
4 - 5 |
6 - 7 |
8 - 10 |
|
|
Коэффициент |
1,00 |
0,95 |
0,90 |
0,85 |
|
Производительность, тыс.м3/ч |
Диаметр рабочего колеса, мм |
Число оборотов, мин.-1 |
Вес вентиляторов, кг |
||
|
1 |
2 |
3 |
4 |
5 |
|
|
Осевые вентиляторы |
|||||
|
МЦ № |
4 |
1,8 - 3,8; 4,0 - 7,5 |
400 |
1500; 3000 |
22 |
|
|
5 |
2,5 - 5,0; 3,5 - 8,0 |
500 |
1000; 1500 |
27 |
|
|
6 |
4 - 9; 6 - 14 |
600 |
1000; 1500 |
66 |
|
|
7 |
7 - 12; 9 - 21 |
700 |
1000; 1500 |
64 |
|
|
8 |
9 - 21; 14 - 30 |
800 |
1000; 1500 |
159 |
|
|
10 |
18 - 40 |
1000 |
1000 |
265 |
|
|
12 |
30 - 65 |
1200 |
1000 |
270 |
|
ОВМ, ОВА, ОВ № |
5 |
4,0 |
500 |
1400 |
48 |
|
|
8 |
9,0 |
800 |
970 |
159 |
|
Ди ВДТ № |
3; 4 |
1,8 |
300 - 400 |
1410 |
26 - 38 |
|
|
5 |
7,5 |
500 |
1410 |
48 |
|
|
6 |
14 |
600 |
1420 |
68 |
|
|
7 |
21 |
700 |
1000 |
81 |
|
|
8 |
30 |
800 |
1410 |
159 |
|
|
10 |
40 |
1000 |
1410 |
265 |
|
|
12 |
65 |
1200 |
1410 |
270 |
|
06-300, 06-320 № |
4 |
1,8 - 3,0 |
400 |
1350 - 2830 |
28 |
|
|
5 |
2,0 - 5,0 |
500 |
930 - 1440 |
40 |
|
|
6 |
0,4 - 8,0 |
600 |
1410 - 1500 |
83 |
|
|
7 |
2,3 - 16,8 |
700 |
930 - 1460 |
110 |
|
|
8А |
14,0 - 17,2 |
800 |
930 - 950 |
52 |
|
|
10А |
28,0 |
1000 |
950 |
92 |
|
|
12,5 |
42,0 - 52,0 |
1250 |
930 - 970 |
132 |
|
В-06-290-II |
|
55,0 |
1100 |
930 |
211,0 |
|
В-2,3-130 |
8А |
26,5 - 32,5 |
800 |
970 - 1000 |
91,4 |
|
|
10А |
42,8 - 50,5 |
1000 |
950 - 970 |
151,7 |
|
|
12,5А |
74,0 - 83,0 |
1250 |
930 - 950 |
220,0 |
|
Радиальные крышные вентиляторы |
|||||
|
КЦ4-84 |
8 |
17,5 |
800 |
570 |
311,0 |
|
|
10 |
28,5 |
1000 |
480 |
422,0 |
|
|
12 |
40,5 |
1200 |
400 |
603,0 |
|
КЦЗ-90 |
4 |
3,2 |
400 |
920 |
68,3 |
|
|
6 |
6,5 |
500 |
920 |
85,5 |
|
|
6,3 |
13,6 |
630 |
950 |
135,0 |
|
ВКР |
4 |
1,68 - 2,7 |
400 |
920 - 1450 |
45,0 |
|
|
5 |
3,4 - 4,9 |
500 |
920 - 1450 |
61,0 |
|
|
6,3 |
7,28 - 8,9 |
630 |
950 - 950 |
86,0 |
|
Осевые крышные вентиляторы |
|||||
|
ЦЗ-04 |
4 |
3,1 |
400 |
1370 |
48,0 |
|
|
5 |
6,0 |
500 |
1370 |
70,0 |
|
|
6,3 |
12,6 |
630 |
1400 |
93,0 |
|
|
8в |
17,0 |
800 |
920 |
240,0 |
|
|
12в |
44,0 |
1200 |
720 |
580,0 |
|
ВКО |
12,5 |
80,0 |
1250 |
735 |
1142,0 |
|
Радиальные вентиляторы низкого и среднего давления |
|||||
|
ЭВР |
2 |
0,7 |
200 |
2850 |
10 - 76 |
|
|
3 |
1,5 - 2,0 |
300 |
930 - 2900 |
30 - 120 |
|
|
4 |
2,25 - 4,0 |
400 |
930 - 1440 |
70 - 200 |
|
|
5 |
6,0 - 8,8 |
500 |
730 - 1450 |
100 - 300 |
|
|
6 |
5,8 - 15,0 |
600 |
730 - 1000 |
150 - 500 |
|
Ц13-50 |
2 |
2,2 |
200 |
1500 |
11 |
|
|
3 |
4,0 |
300 |
1420 |
25 |
|
|
4 |
5,0 |
400 |
930 |
38 |
|
|
5 |
11,0 |
500 |
980 |
61 |
|
|
6 |
13,2 |
600 |
730 |
130 |
|
Ц9-55 (Ц13-55) |
3 |
1,2 |
300 |
1420 |
42 |
|
|
4 |
4,6 |
400 |
1450 |
77 |
|
|
5 |
9,6 |
500 |
970 |
127 |
|
|
6 |
17,8 |
600 |
970 |
209 |
|
|
8 |
25,0 |
800 |
730 |
307 |
|
|
10 |
37,2 |
1000 |
660 |
740 |
|
|
12 |
41,0 |
1200 |
730 |
700 |
|
|
|
|
|
|
|
|
Ц9-57 (СТД-57) ЦАГИ |
3 |
2,7 |
300 |
1420 |
38 |
|
|
4 |
3,9 |
400 |
930 |
59 |
|
|
5 |
5,5 |
500 |
940 |
100 |
|
|
6 |
11,7 |
600 |
725 |
149 |
|
|
8 |
22,6 |
800 |
730 |
216 |
|
|
10 |
50,0 |
1000 |
960 |
600 - 1000 |
|
|
11 |
4,0 - 10,0 |
700 - 1200 |
1100 |
505 - 1200 |
|
|
12 |
20,0 |
1470 |
1200 |
1600 |
|
Ц6-45 (ЦВА) |
3 |
3,2 |
300 |
1100 |
154 |
|
|
4 |
3,8 |
400 |
1200 |
168 |
|
|
5 |
4,2 |
500 |
1200 |
175 |
|
|
6 |
5,7 |
600 |
1200 |
280 |
|
|
8 |
9,8 |
800 |
1200 |
570 |
|
ВР |
3 |
2,5 |
300 |
960 |
30 - 120 |
|
|
4 |
5,0 |
400 |
960 |
70 - 200 |
|
|
5 |
9,0 |
500 |
960 |
100 - 300 |
|
|
6 |
19,0 |
600 - 650 |
960 |
150 - 500 |
|
ВРС, ВРН |
8 |
20,0 |
800 |
950 |
380 |
|
|
10 |
35,0 |
1000 |
950 |
558 |
|
|
12 |
49,0 |
1200 |
950 |
610 |
|
Ц4-70 ЦВА |
2,5 |
0,45 - 0,96 |
250 |
1450 |
14 |
|
|
3 |
0,83 - 1,80 |
300 |
1450 |
21 |
|
|
4 |
1,60 - 3,25 |
400 |
960 |
49 |
|
|
5 |
3,60 - 6,50 |
500 |
960 |
84 |
|
|
6 |
5,30 - 12,0 |
600 |
960 |
133 |
|
|
7 |
8,50 - 19,0 |
700 |
960 |
201 |
|
|
8 |
16,0 |
800 |
960 |
420 |
|
|
10 |
25,0 |
1000 |
960 |
610 |
|
Ц4-70Н |
8 |
9 - 37 |
800 |
1450 |
340 |
|
|
10 |
12,6 - 50,4 |
1000 |
1050 |
480 |
|
|
12 |
23,0 - 80,0 |
1200 |
960 |
732 |
|
|
16 |
23,0 - 120,0 |
1600 |
300 - 700 |
1660 |
|
Ц4-76-10Ж |
10 |
43 - 80 |
1000 |
1000 |
900 - 930 |
|
В-Ц4-70 |
2,5 |
0,82 - 1,72 |
250 |
1450 |
21,7 |
|
|
3,15 |
1,38 - 3,40 |
315 |
1450 |
31,5 |
|
|
4 |
1,95 - 5,80 |
400 |
1450 |
47,7 |
|
|
5 |
3,8-6,9 |
500 |
960 |
76 |
|
|
6,3 |
7,5 - 11,5 |
630 |
960 |
143 |
|
|
10 |
24 - 33 |
1000 |
960 |
419 |
|
|
16 |
46 - 92 |
1600 |
900 |
1935 |
|
Ц4-76 |
16 |
63 - 80 |
1600 |
700 - 900 |
2880 |
|
|
20 |
125 |
2000 |
630 |
4215 |
|
В-Ц5-35 |
3,55 |
0,9 |
355 |
1450 |
45 |
|
|
4 |
1,8 |
400 |
1450 |
62 |
|
|
8 |
8,4 |
800 |
960 |
279 |
|
|
8,5 |
9,6 |
850 |
960 |
279 |
|
В-Ц5-45 |
4,25 |
3,0 |
425 |
1450 |
77 |
|
|
8 |
11,4 |
800 |
960 |
311 |
|
|
8,5 |
14,4 |
850 |
960 |
317 |
|
В-Ц5-50 |
8 |
16,2 |
800 |
630 |
354 |
|
|
9 |
24,0 |
900 |
630 |
445 |
|
Пылевые вентиляторы |
|||||
|
ЦП7-40 |
5 |
1,8 - 11,5 |
500 |
2640 |
175 |
|
|
6 |
2,2 - 16,4 |
600 |
2260 |
280 |
|
|
8 |
4,5 - 2,9 |
800 |
1650 |
570 |
|
Ц6-46 |
4 |
1 - 5 |
400 |
2400 |
120 |
|
|
5 |
2 - 9 |
500 |
2000 |
180 |
|
|
6 |
4 - 13 |
600 |
1700 |
240 |
|
|
7 |
4 - 18 |
700 |
1350 |
300 |
|
|
8 |
6 - 22 |
800 |
1300 |
580 |
|
В-ЦП6-45-9-01 |
13,5 - 18,5 |
800 |
1000 |
520 - 550 |
|
|
Вентиляторы радиальные высокого давления |
|||||
|
В-Ц12-49-8 |
35 - 52 |
800 |
1050 |
800 |
|
|
ВВД |
8 |
14 |
800 |
1900 |
260 |
|
|
9 |
15 |
900 |
1700 |
368 |
|
|
11 |
24 |
1100 |
1400 |
1070 |
|
ВРВ |
35 - 90 |
1600 |
1485 |
4050 |
|
|
Мельничные вентиляторы |
|||||
|
ВМ |
40/750-IБ |
30,0 - 40,0 |
1325 - 1335 |
1480 - 1500 |
2000 - 2206 |
|
|
40/750-IIБ |
40,0 - 60,0 |
1325 |
1480 |
2200 - 2340 |
|
|
60/1000-IБ |
50,0 - 53,6 |
1600 |
1480 |
2800 - 2840 |
|
|
50/1000-IIБ |
50,0 - 80,0 |
1600 |
1480 |
2800 - 2845 |
|
|
75/1200-IБ |
75,0 - 100,0 |
1716 |
1480 |
3100 |
|
|
75/1200-IIБ |
43,6 - 60,0 |
1700 |
980 |
4200 |
|
ВМ |
160/850У |
160 |
2200 |
980 |
6900 |
|
|
100/1200У |
90 |
1720 |
1480 |
4200 |
|
|
100/1000У |
90 |
1600 |
1480 |
4100 |
|
ВВСМ-1У |
12 |
1200 |
1460 |
1900 |
|
|
ВВСМ-2У |
33 |
1800 |
980 |
4200 |
|
|
ВВСМ-3У |
60 |
1800 |
980 |
4700 |
|
|
Вентиляторы горячего дутья |
|||||
|
ВГД-13,5У |
60 |
1350 |
970 |
2200 |
|
|
ВГД-15,5У |
85 |
1550 |
970 |
2500 |
|
|
ВВД-20У |
146 |
2000 |
730 |
4500 |
|
|
Вентиляторы одностороннего всасывания |
|||||
|
ВД |
6 |
6,5 |
600 |
1450 |
330 |
|
|
8 |
10,0 |
800 |
970 |
437 |
|
|
10 |
20,0 |
1000 |
970 |
933 |
|
|
12 |
26,0 - 35,0 |
1200 |
970 - 730 |
1060 |
|
|
13,5 |
45 - 60 |
1350 |
970 - 730 |
1888 |
|
|
15,5 |
68,0 |
1550 |
730 |
2122 |
|
|
18,0 |
50 - 170 |
1800 |
730 |
3836 |
|
|
20,0 |
70 - 200 |
2000 |
730 |
4165 |
|
ВДН |
24 |
209,0 |
2400 |
735 |
7900 |
|
|
25 |
204,0 - 220,0 |
2500 |
735 |
8400 |
|
|
26 |
240,0 |
2600 |
735 |
8800 |
|
|
32 |
400,0 |
3200 |
730 |
16297 |
|
Вентиляторы двухстороннего всасывания |
|||||
|
ВДН 23×2-11 |
318,5 |
2300 |
740 |
12100 |
|
|
ВДН 24×2-11 |
600,0 |
2400 |
735 |
19000 |
|
|
Радиальные вентиляторы высокого давления |
|||||
|
СВЦ-17 |
11,5 |
785 |
2900 |
850 |
|
|
ВЦ-284 |
3,0 |
660 |
2900 |
324 |
|
|
1ВГ-47 |
130,0 |
4700 |
192 |
1940 |
|
|
2ВГ-47 |
470,0 |
4700 |
196 |
2165 |
|
|
ВГ-70 |
1100 |
2100 |
147 |
13000 |
|
|
Дымососы одностороннего всасывания |
|||||
|
Д |
10 |
15 |
1000 |
730 |
064 |
|
|
12 |
18 |
1200 |
485 |
1255 |
|
|
13,5 |
30 |
1350 |
485 |
2135 |
|
|
15,5 |
58 |
1550 |
585 |
2447 |
|
|
18,0 |
140 |
1800 |
585 |
4277 |
|
|
20,0 |
180 |
2000 |
585 |
4786 |
|
Дымососы двухстороннего всасывания |
|||||
|
ДН-18×2А |
340 |
1800 |
735 |
11000 |
|
|
ДН-21×2А |
390 |
2100 |
735 |
14000 |
|
|
ДН-26×2А |
500 |
2600 |
735 |
17000 |
|
|
Осевые дымососы типа ДОД |
|||||
|
ДОД-28,5 |
585 |
2800 |
570 |
46500 |
|
|
ДОД-31,5 |
725 |
3150 |
475 |
50300 |
|
|
ДОД-41,0 |
1140 |
4100 |
370 |
98300 |
|
|
ДОД-43,0 |
1335 |
4300 |
370 |
103500 |
|