ОТРАСЛЕВОЙ СТАНДАРТ

ВТУЛКИ РЕЗЬБОВЫЕ, РАЗВАЛЬЦОВЫВАЕМЫЕ С НАКАТКОЙ

Технические требования

ОСТ 92-9628-82

Дата введения 1 января 1984 г.

Настоящий стандарт распространяется на резьбовые развальцовываемые втулки с накаткой, назначение и применение которых приведены в ОСТ 92-9623 - ОСТ 92-9627.

Стандарт устанавливает технические требования, правила приемки, методы контроля и испытаний, правила упаковки, маркировки, транспортирования и хранения, указания по эксплуатации.

1. ТЕХНИЧЕСКИЕ ТРЕБОВАНИЯ

1.1. Резьбовые развальцовываемые втулки с накаткой должны изготовляться в соответствии с требованиями настоящего стандарта и отраслевых стандартов на конструкцию резьбовых втулок с накаткой.

1.2. Резьба втулок должна соответствовать ГОСТ 24705.

1.3. Поля допусков резьбовых втулок - 6Н или 7Н по ГОСТ 16093, что должно быть указанно в конструкторской документации на изделие, в котором применены втулки.

1.4. Размеры фасок резьбы по ГОСТ 10549. Допуск на фаски должен соответствовать указанным в табл. 1.

Таблица 1

Фаска Z

0,3

0,5

1,0

1,6

Пред.

± 0,2

± 0,3

± 0,5

Откл.

Допускается по согласованию с заказчиком не изготавливать фаску под резьбу со стороны контрящего венчика на самоконтрящихся втулках.

1.5. Резьба должна быть чистой, не иметь заусенцев, вмятин и сорванных ниток.

Выкрашивания на поверхности резьбы не допускаются, если они по глубине выходят за пределы среднего диаметра резьбы и общая протяженность выкрашивания по длине превышает половину витка.

1.6. Наружные углы (кромки) втулок, если нет других указаний в стандартах, должны быть притуплены фаской или радиусом от 0,2 до 0,4 мм, внутренние углы, - галтелью от 0,2 до 0,6 мм.

Форма поверхности фасок и галтелей не регламентируется.

1.7. На поверхности втулок не должно быть трещин, плен, заусенцев, рисок и вмятин, выводящих размеры деталей за пределы допускаемых отклонений, а также других механических повреждений.

1.8. Втулки, предназначенные для герметических соединений, рекомендуется изготавливать из металла электрошлакового или вакуумнодугового переплава.

1.9. При условии применения, профильного материала, имеющего шероховатость не грубее 80 мкм, резьбовые втулки считается годными без механической обработки по наружному диаметру «D».

1.10. Не указавшие допуски на угловые размеры, включая фаски, ± 3°.

1.11. В глухих резьбовых втулках на глубине более одного диаметра толщина покрытия не нормируется.

Допускается отсутствие покрытия.

1.12. Защитные покрытия втулок долины назначаться разработчиком и указываться в конструкторской документации на изделие, в котором применены втулки.

1.13. Схемы, обжатия и контроль обжатой части самоконтрящихся резьбовых втулок долины соответствовать указанным в ОСТ 1.33101, при этом размеры «l3» и «l4» - рекомендуемые.

1.14. После обжатия контрящие свойства самоконтрящихся резьбовых втулок должны соответствовать требованиям ОСТ 1.33102.

1.15. Прочность термически обрабатываемых втулок должна соответствовать указанной в стандартах «Конструкция и размеры». Режимы термической обработки должны соответствовать указанным в ОСТ 92-1311.

1.16. Допускается изготовление втулок из материалов, поставляемых по следующим техническим условиям:

сталь 20 ТУ 14-1-196;

сталь 30ХГСА ТУ 14-1-3238;

сталь 07Х16Н6-Ш ТУ 14-1-1660;

сталь 12Х18Н10Т-ВД ТУ 14-1-3581;

сталь 12Х18Н10Т ТУ 14-1-3564.

1.17. Допускается для втулок с резьбой М2 и М2,5 назначать толщину покрытия 3 - 6 мкм.

1.18. Неуказанные предельные отклонения углов, радиусов округлений и фасок должны соответствовать требованиям ОСТ 92-0084.

1.19. На участке «К» допускается неполный профиль накатки или отсутствие рифления.

1.20. Допускается, при изготовлении деталей на токарных автоматах, допуск соосности диаметра «D1» или «D2» (для втулок ОСТ 92-9627) относительно резьбы «d» выполнять Æ 0,2 мм, допуск на размер «l» выполнять по Н14.

1.21. Допускается для втулок ОСТ 92-9625 тип 3 след от сверла на торце зарезьбовой канавки глубиной не более 0,3 мм, для втулок М6 и М8 зарезьбовую канавку не выполнять.

1.22. Допускается вместо рифления с шагом 0,6 мм выполнять рифление с шагом 0,8 мм.

2. ПРАВИЛА ПРИЕМКИ

2.1. Приемка резьбовых развальцовываемых втулок с накаткой должна производиться в соответствии с ГОСТ 17769 для изделий повышенной к нормальной прочности, при этом к главным размерам относятся следующие:

- размеры метрической резьбы;

- размеры диаметров D1 или D2 «до» и «после накатки»;

- размеры под запрессовку l;

- размеры под развальцовку l1

- размеры D1 наружного диаметра самоконтрящихся втулок (до обжатия).

3. МЕТОДЫ КОНТРОЛЯ И ИСПЫТАНИЙ

3.1. Контроль резьбовых развальцовываемых втулок с накаткой на соответствие требованиям настоящего стандарта должен производиться в нормальных климатических условиях:

- температура окружающего воздуха 25 ± 10 °С;

- относительная влажность воздуха 45 - 80 %; допускаются другие условия, что должно быть отражено в КД на изделие.

3.2. Контроль на отсутствие трещин производить методом магнитной дефектоскопии по ГОСТ 21105 на втулках или исходных заготовках (прутках) из материала сталь 20 и сталь 30ХГСА.

3.3. Контроль размеров производить предельными калибрами, универсальным или специальным мерительным инструментом, обеспечивающим требуемую точность.

3.4. Проверку внешнего вида резьбы и ее размеров производить визуально и предельными резьбовыми калибрами, кроме:

резьбу втулок ОСТ 92-9626 контролировать только приходным резьбовым калибром.

Контроль резьбы самоконтрящихся втулок после обжатия производить проходным резьбовым калибром со стороны опорной поверхности втулок до нанесения покрытия. Калибр должен ввинчиваться не менее, чем на полтора оборота.

3.5. Допускается контроль качества термической обработки производить по ОСТ 92-1311, при этом для стали 12Х18Н10Т группа контроля 0, для остальных сталей группа контроля 1, показатели твердости должны соответствовать табл. 2

Таблица 2

Наименование и марка материала

Твердость

Соответствует классу или группе прочности по ГОСТ 1759.0 (для справки)

НВ

HRCэ

Сталь 30ХГСА

232 - 277

-

8

288 - 354

33 - 39,5

10

Сталь 07X16Н6

-

32 - 44,5

26

3.6. Испытания контрящих свойств самоконтрящихся втулок производить в соответствии с разделом 3 ОСТ 133102 (для шестигранных гаек).

3.7. Проверку толщины антикоррозионного покрытия производить любым методом по ГОСТ 9.302 .

3.8. Контроль момента проворота резьбовых втулок производить тарированными моментными ключами или другими аналогичными приспособлениями посредством ввинчивания до упора в резьбу испытуемой втулки болта с соответствующим шагом резьбы и приложением к нему соответствующей нагрузки согласно табл. 2.

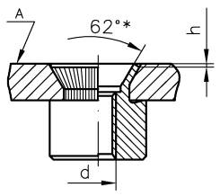
Допускается контроль момента проворота производить посредством ввинчивания в резьбу втулки болта с упором его головки в шайбу или втулку, установленную между головкой болта и поверхностью А (см. лист 7 настоящего стандарта); материал и размеры шайбы или втулки указываются в технологической документации.

4. МАРКИРОВКА И УПАКОВКА

4.1. Маркировать марку материала втулок по ОСТ 92-4690.

Допускается втулки по ОСТ 92-9627, а также втулки с диаметром d £ 6 мм по ОСТ 92-9624 - ОСТ 92-9626, маркировать на бирке.

При изготовлении втулок из профильного материала, в соответствии с п. 1.9, маркировку выполнять на поверхности D, при этом разрешается наличие нескольких одинаковых маркировочных знаков.

4.2. Маркировать обозначения и клеймить на бирке для партии втулок.

4.3. Упаковка готовой продукции должна производиться по ГОСТ 18160.

4.4. Резьбовые втулки при упаковке должны быть завернуты поштучно в парафинированную бумагу ГОСТ 9569.

Допускается укладывать втулку в тару слоями, при этом каждый слой должен быть проложен бумагой ГОСТ 9539.

4.5. Промежутки в коробках должны быть заполнены гофрированным картоном ГОСТ 7376 (или другими аналогичными по назначению материалами).

4.6. Коробки или пакеты должны быть крестообразно перевязаны шпагатом ГОСТ 17308 (или другим аналогичным по назначению материалом) и снабжены биркой (ярлыком) с указанием номера сертификата и количества упакованных деталей (в штуках).

5. ХРАНЕНИЕ И ТРАНСПОРТИРОВАНИЕ

5.1. Втулки резьбовые с накаткой хранятся в упаковке, предохраняющей от механических повреждений или пыли, на стеллажах, установленных в сухом помещении при температуре от 5 до 35 °С, относительной влажности воздуха не более 85 % и при отсутствии в окружающем воздухе паров кислот и прочих агрессивных примесей.

5.2. Упакованные резьбовые втулки с накаткой можно перевозить любым видом транспорта, при условии защиты тары от прямого попадания атмосферных осадков.

6. УКАЗАНИЯ ПО ЭКСПЛУАТАЦИИ

6.1. Установку в конструкцию резьбовых втулок с накаткой производить последовательно запрессовкой и развальцовкой (клепкой) впотай конца втулки согласно чертежу, при этом выступание над поверхностью А не допускается, утопание должно быть оговорено (при необходимости) в конструкторской документации на изделие, в котором применены втулки.

Допускается:

- незаполнение венчика отверстия (зенковки) в месте развальцовки (клепки) на глубину h согласно чертежу и табл. 3

- после развальцовки (клепки) зачистка выступающей над поверхностью А части втулки.

___________________

* Размер обеспеч. инстр.

Таблица 3

d

M2

M2,5

M3

M4

М5

M6

М8

M10

М12

М14

М16

М18

М20

h max, мм

0,2

0,3

0,4

0,5

0,7

6.2. При развальцовке (клепке) втулок появление трещин во втулках не допускается.

6.3. Инструмент, применяемый при клепке, должен иметь угол конуса при вершине 62°.

При сборке коническая часть инструмента должна быть смазана тонким слоем любой нейтральной смазки.

6.4. Усилия запрессовки и развальцовки (клепки) втулок приведены в приложении 3 ОСТ 92-9624.

При установке втулок допускается применять как ручную (ударную), так и машинную (прессовую) клепку. При сборке втулок герметичных соединений, а также втулок с соотношением рекомендуется применять прессовую клепку.

6.5. Установленные в изделие резьбовые втулки с накаткой не должны проворачиваться при приложении нагрузок (крутящего момента), табл. 4 приведенных в табл. 4.

Таблица 4

Диаметр

М3

М4

М5

М6

М8

М10

М12

М14

M16

Крутящий момент Мкр., Н.м (кгс. см)

0,88 (9,0)

2,35 (24,0)

4,4 (45,0)

9,8 (100,0)

23,5 (240,0)

44,1 (450,0)

68,6 (700,0)

127,4 (1300,0)

176,4 (1800,0)

Втулки М2 и М2,5 - не контролировать.

В случае проворота втулки соединение подвергнуть дополнительной (повторной) опрессовке с последующим контролем.

Необходимость контроля, количество контролируемых соединений должны быть оговорены в конструкторской документации на изделие, в котором применены втулки.

Примечание. Величины крутящих моментов проворота втулок, полученные при экспериментальной отработке соединений, приведены в приложении к настоящему стандарту.

6.6. При установке болтов (винтов) в самоконтрящиеся втулки необходимо их резьбу смазывать тонким слоем любой нейтральной смазки.

6.7. Технологический процесс герметизации резьбовых втулок герметичных соединений в зависимости от марки применяемого герметизирующего состава должен соответствовать ОСТ 92-0949 или ОСТ 92-1006.

Герметизирующие составы наносить на поверхность втулки и стыкуемую с ней поверхность изделия.

Остатки состава удалять сухой хлопчатобумажной салфеткой.

Допускается дополнительная наружная герметизация втулок.

6.8. Степень герметизации герметичных соединений и методы их контроля, а также автономная проверка глухих резьбовых втулок на герметичность (при необходимости), должны быть указаны в конструкторской документации на изделие, в котором применены втулки.

6.9. При моменте соединений допускается пятнадцатикратное завинчивание и отвинчивание болта (или винта) по резьбе втулки.

ПРИЛОЖЕНИЕ
Справочное

МОМЕНТ ПРОВОРОТА ВТУЛОК

Величины крутящих моментов, при которых происходил проворот втулок относительно корпусной детали приведены в таблице.

S, мм

1,0

1,5

2,0

2,5

3,0

3,5

4,0

5,0

6,0

7,0

8,0

10,0

12,0

d

Момент силы, Н´м (кгс´см)

M3

4,2 (43)

4,6 (47)

7,1 (72)

5,1 (52)

6,5 (66)

7,1 (72)

-

-

-

-

-

-

-

М4

5,2 (53)

8,4 (86)

10,3 (105)

10,8 (110)

12,2 (124)

11,2 (114)

11,2 (114)

13,0 (133)

-

-

-

-

-

М5

-

17,8 (182)

24,6 (251)

24,1 (246)

26,4 (269)

24,8 (253)

28,7 (293)

-

24,1 (247)

 

 

 

-

М6

-

12,8 (131)

22,2 (227)

34,8 (355)

37,4 (381)

44,4 (453)

47,0 (479)

46,5 (474)

47,7 (486)

49 (500)

47,9 (488)

-

-

М8

-

 

40,9 (417)

67,8 (691)

74,6 (761)

-

102,0 (1040)

88,3 (900)

90,9 (927)

98,1 (1000)

98,1 (1000)

-

-

М10

-

-

-

-

-

-

85,3 (870)

94,1 (960)

90,5 (923)

-

112,8 (1150)

125,0 (1275)

-

М12

-

-

-

-

-

-

-

144,8 (1477)

103,9 (1060)

-

158,4 (1615)

107,9 (1100)

196,1 (2000)

М14

-

-

-

-

-

-

-

-

-

-

-

284,4 (2900)

-

М18

-

-

-

-

-

-

-

-

-

-

-

451,1 (4600)

-

Материал втулок - сталь 30ХГСА

Материал корпуса - сплав АМг6М

ИНФОРМАЦИОННЫЕ ДАННЫЕ

1. УТВЕРЖДЕН И ВВЕДЕН В ДЕЙСТВИЕ приказом ГТУ от 28.12.82 № ИП-462

2. Срок последней проверки стандарта 1990 г. Периодичность проверки стандарта каждые 10 лет.

3. Введен впервые

4. ССЫЛОЧНЫЕ НОРМАТИВНО-ТЕХНИЧЕСКИЕ ДОКУМЕНТЫ

Обозначение НТД, на который дана ссылка

Адрес ссылки на НТД

ГОСТ 9.302-79

3.7

ГОСТ 7376-84

4.5

ГОСТ 9569-79

4.4

ГОСТ 10549-80

1.4

ГОСТ 16093-81

1.3

ГОСТ 17308-85

4.6

ГОСТ 17769-83

2.1

ГОСТ 18160-72

4.3

ГОСТ 21105-87

3.2

ГОСТ 24705-81

1.2

ОСТ 133101-80

1.13; 3.6

ОСТ 133102-80

1.14

ОСТ 92-0084-80

1.18

ОСТ 92-0949-74

6.7

ОСТ 92-1006-77

6.7

ОСТ 92-1311-77

1.15; 3.5

ОСТ 92-4690-85

4.1

ОСТ 92-9623-82

Вводная часть

ОСТ 92-9624-82

Вводная часть, 6.4

ОСТ 92-9626-82

Вводная часть, 3.4

ОСТ 92-9627-82

Вводная часть

ТУ 14-1-196-73

1.16

ТУ 14-1-1660-76

1.16

ТУ 14-1-3238-81

1.16

ТУ 14-1-3564-83

1.16

ТУ 14-1-3581-83

1.16

 

СОДЕРЖАНИЕ

1. Технические требования. 1

2. Правила приемки. 2

3. Методы контроля и испытаний. 2

4. Маркировка и упаковка. 3

5. Хранение и транспортирование. 3

6. Указания по эксплуатации. 4

Приложение. Момент проворота втулок. 5