ЦЕНТРАЛЬНЫЙ НАУЧНО-ИССЛЕДОВАТЕЛЬСКИЙ
И ПРОЕКТНО-ЭКСПЕРИМЕНТАЛЬНЫЙ
ИНСТИТУТ
ИНЖЕНЕРНОГО ОБОРУДОВАНИЯ
(ЦНИИЭП ИНЖЕНЕРНОГО ОБОРУДОВАНИЯ)
ГОСГРАЖДАНСТРОЯ
РЕКОМЕНДАЦИИ
ПО ИНЖЕНЕРНОМУ
ОБОРУДОВАНИЮ
СЕЛЬСКИХ
НАСЕЛЕННЫХ
ПУНКТОВ
В 6-ти частях
3-е издание переработанное и дополненное
ЧАСТЬ VI
ЭЛЕКТРОСНАБЖЕНИЕ
НАРУЖНОЕ ОСВЕЩЕНИЕ
СВЯЗЬ И РАДИОФИКАЦИЯ
![]()
МОСКВА СТРОЙИЗДАТ 1984
Рекомендованы к изданию решением Научно-технического совета ЦНИИЭП инженерного оборудования Госгражданстроя.
Рассмотрены общие принципы проектирования электроснабжения, наружного освещения, связи и радиофикации сельских населенных пунктов на стадии разработки схем. Изложены способы расчета электрических нагрузок и основы построения электрических сетей. Приведен пример решений схемы электроснабжения поселка.
2-е издание вышло в 1978 г.
Для инженерно-технических работников проектных организаций, руководящих работников сельского хозяйства.
Табл. 14, ил. 7.
Разработаны ЦНИИЭП инженерного оборудования Госгражданстроя (инженеры Л.Г. Коган, В.М. Парусова, Л.Е. Каневская, Л.А. Подгорных).
ПРЕДИСЛОВИЕ
Общие положения и принципы проектирования, относящиеся ко всем системам инженерного оборудования сельских населенных пунктов, вопросы технико-экономического обоснования выбора систем инженерного оборудования, снижения стоимости строительства, а также некоторые другие, касающиеся эксплуатации (диспетчеризации), изложены в части I.
Настоящее 3-е издание Рекомендаций переработано в соответствии с новыми нормативными документами и типовыми проектами. В частности, внесены изменения в метод расчета электрических нагрузок, в раздел «Наружное освещение», уточнены электрические нагрузки общественных и производственных зданий сельскохозяйственного назначения.
1.1. Настоящие Рекомендации распространяются на проектирование электрических сетей напряжением 10 (6), 20 и 0,4 кВ.
1.2. Проектирование электрических сетей сельскохозяйственного назначения, а также для сельских населенных пунктов следует выполнять на основании нормативных документов, перечисленных в части I и прил. 1.
1.3. Источником электроснабжения сельского населенного пункта могут быть существующие или вновь строящиеся понизительные подстанции, независимо от их ведомственной принадлежности, в том числе тяговые подстанции электрифицированных железных дорог.
При отсутствии централизованного источника электроснабжения может быть предусмотрена местная (дизельная или другая) электростанция при соответствующем технико-экономическом обосновании.
1.4. Разрешение на присоединение новых или дополнительных расчетных мощностей для электроснабжения потребителей напряжением до 1000 В и выше выдается энергоснабжающей организацией на основании заявки, составленной в соответствии с «Правилами пользования электрической и тепловой энергией» (М., Энергия, 1977).
1.5. Технические условия (прил. 2) и разрешение на присоединение объекта к сетям энергоснабжающей организации выдаются до составления задания на проектирование. Это требование распространяется как на новые, так и на существующие объекты, подлежащие расширению.
1.6. Проектирование электроснабжения сельских населенных пунктов следует выполнять постадийно, как определено в СН 202-81*, а именно:
в одну стадию - рабочий проект со сводным сметным расчетом стоимости - для предприятий, зданий и сооружений, строительство которых будет осуществляться по типовым и повторно используемым проектам, а также для технически несложных объектов;
в две стадии - проект со сводным сметным расчетом стоимости и рабочая, документация со сметами - для других объектов строительства, в том числе крупных и сложных.
Стадийность разработки проектно-сметной документации устанавливает заказчик в задании на проектирование предприятия, здания и сооружения.
2.1. При определении расчетных электрических нагрузок сельского населенного пункта следует учитывать всех потребителей электроэнергии, в том числе и промышленные предприятия, находящиеся в зоне электроснабжения, независимо от их ведомственной принадлежности.
2.2. Электрические нагрузки для жилых и общественных зданий, производственных зон сельскохозяйственного назначения следует определять в соответствии с «Методическими указаниями по расчету электрических нагрузок в сетях 0,38 - 110 кВ сельскохозяйственного назначения», разработанными Сельэнергопроектом («Руководящие материалы по проектированию электроснабжения сельского хозяйства». М., Сельэнергопроект, ноябрь, 1981 г.). Эти Методические указания распространяются на вновь сооружаемые и реконструируемые электрические сети напряжением 0,38 - 110 кВ сельскохозяйственного назначения. В настоящей работе даются рекомендации по определению электрических нагрузок без применения ЭВМ.
2.3. При выборе сечений проводов ввода следует пользоваться типовыми проектами жилых и общественных зданий или «Указаниями по проектированию электрооборудования жилых зданий» (СН 544-82) и «Инструкцией по проектированию электрооборудования общественных зданий массового строительства» (СН 543-82).
2.4. При проектировании внешних сетей напряжением 0,38 кВ расчетные нагрузки на вводе для сельских жилых домов с электроплитами принимаются равными 6 кВт, а с электроплитами и водонагревателями - 7,5 кВт. Нагрузки от бытовых кондиционеров учитывают путем увеличения расчетных нагрузок на вводах для жилых домов на 1 кВт.
2.5. При отсутствии сведений об электропотреблении расчетная нагрузка на вводе в дома для вновь электрифицируемых населенных пунктов принимается равной:
|
с газификацией |
без газификации |
|
|
населенные пункты преимущественно старой застройки (более 60 % домов, построенных свыше 20 лет назад) |
1,5 кВт |
1,8 кВт |
|
пункты преимущественно новой застройки |
1,8 кВт |
2,2 кВт |
|
вновь строящиеся благоустроенные квартиры в городах, поселках городского типа, поселках при крупных животноводческих и других комплексах |
4 кВт |
5 кВт |
2.6. Расчетные нагрузки на вводе в производственные, общественные здания и сооружения и коммунально-бытовые предприятия принимаются согласно прил. 3 или по проектам этих потребителей.
2.7. Расход электроэнергии на теплоснабжение: обогрев закрытого грунта, подогрев приточного воздуха систем вентиляции животноводческих помещений, обогрев помещений для обслуживающего персонала - должен определяться в соответствии с Инструкцией о порядке согласования применения электрокотлов и других электронагревательных приборов (М., Минэнерго СССР, 1981).
Электрические нагрузки на вводе к потребителям, имеющим только электроосвещение и до трех силовых электроприемников, приближенно могут быть приняты равными сумме мощностей электроприемников и освещения.
2.8. Расчетные нагрузки сетей напряжением 10 кВ при составлении проектов (рабочих проектов) и разработке схем развития электрических сетей сельскохозяйственного назначения напряжением 6 - 20 кВ РЭС определяются на основе существующих нагрузок трансформаторных подстанций (ТП) 10(6) - 20/0,4 кВ, а также нагрузок от вновь вводимых потребителей, требующих установки ТП с учетом коэффициента роста.
Расчетные нагрузки существующих подстанций 10/0,4 кВ на расчетный год определяются по формуле
Рр = Рмkн, (1)
где Рм - существующая нагрузка на ТП в исходном году, кВт;
kн - коэффициент роста нагрузок.
Существующие нагрузки ТП определяют путем замеров максимальной мощности или годового потребления электроэнергии, а при отсутствии таких данных путем замеров максимальной нагрузки линий напряжением 10 кВ.
Коэффициент роста нагрузок для существующих ТП принимается в зависимости от вида потребителей (табл. 1).
Для нагрузок ТП, питающих действующие животноводческие комплексы, населенные пункты и др., расширение которых не предполагается, коэффициент роста принимается равным 1.
Таблица 1
|
Коэффициент роста нагрузок на расчетный год |
||||
|
5 |
7 |
10* |
12* |
|
|
Коммунально-бытовые |
1,2 |
1,3 |
1,8 |
2,0 |
|
Производственные |
1,3 |
1,4 |
2,1 |
2,4 |
|
Смешанные и прочие несельскохозяйственные |
1,3 |
1,4 |
2,0 |
2,2 |
_____________
* Коэффициенты роста нагрузок на 10-й и 12-й год учитывают нагрузки от всех потребителей, включая новых.
2.9. Расчет электрических нагрузок для сетей напряжением 0,38 - 10 - 20 кВ производится исходя из расчетных нагрузок на участке линии или шинах подстанций и соответствующих коэффициентов несовпадения максимумов нагрузок отдельно для дневного и вечернего максимумов по формулам:
Рд = kмΣРдi, (2)
Рв = kмΣРвi, (3)
где Рд и Рв - расчетные дневная и вечерняя нагрузки на участке линии или шинах трансформаторной подстанции, кВт;
kм - коэффициент несовпадения максимумов нагрузок;
Рдi и Рвi - дневная, вечерняя нагрузка на вводе i-го потребителя или i-го элемента сети.
Допускается определение расчетных нагрузок только по дневной, если суммируется нагрузка от производственных потребителей, или по вечерней, если суммируется нагрузка от бытовых потребителей. Коэффициенты дневного или вечернего максимума принимаются равными:
|
для производственных потребителей |
kд 1 |
kв 0,6 |
|
для бытовых потребителей: |
||
|
дома без электроплит |
0,3 ... 0,4 |
1 |
|
дома с электроплитами |
0,6 |
1 |
|
для смешанной нагрузки |
- |
1 |
Расчетные коэффициенты несовпадения максимумов нагрузок в зависимости от количества потребителей приведены в табл. 2 и 3.
Если нагрузки потребителей отличаются по величине более чем в 4 раза, их суммирование рекомендуется производить по данным табл. 4 и 5.
Таблица 2
|
kм в зависимости от количества потребителей |
|||||||||||
|
2 |
3 |
5 |
7 |
10 |
15 |
20 |
50 |
100 |
200 |
500 и более |
|
|
Жилые дома с удельной нагрузкой при вводе на дом, кВт: |
|||||||||||
|
до 2 |
0,76 |
0,66 |
0,55 |
0,49 |
0,44 |
0,4 |
0,37 |
0,3 |
0,26 |
0,24 |
0,22 |
|
свыше 2 |
0,75 |
0,64 |
0,53 |
0,47 |
0,42 |
0,37 |
0,34 |
0,27 |
0,24 |
0,2 |
0,18 |
|
То же, с электроплитами и водонагревателями |
0,73 |
0,62 |
0,5 |
0,43 |
0,38 |
0,32 |
0,29 |
0,22 |
0,17 |
0,15 |
0,12 |
|
Производственные объекты |
0,85 |
0,8 |
0,75 |
0,7 |
0,65 |
0,6 |
0,55 |
0,47 |
0,4 |
0,35 |
0,3 |
Таблица 3
|
Количество ТП |
||||||
|
2 |
3 |
5 |
10 |
20 |
25 и более |
|
|
Коэффициент несовпадения максимумов нагрузок (kм) |
0,9 |
0,85 |
0,8 |
0,75 |
0,7 |
0,65 |
Таблица 4
|
Нагрузки в сетях напряжением 0,38 кВ |
|||||||||||
|
Р |
ΔР |
Р |
ΔР |
Р |
ΔР |
Р |
ΔР |
Р |
ΔР |
Р |
ΔР |
|
0,2 |
+0,2 |
17 |
+10,5 |
50 |
+34 |
96 |
+66,2 |
162 |
+117 |
230 |
+174 |
|
0,3 |
+0,2 |
18 |
+11,2 |
51 |
+34,7 |
98 |
+67,6 |
164 |
+119 |
232 |
+176 |
|
0,4 |
+0,3 |
19 |
+11,8 |
52 |
+35,4 |
100 |
+69 |
166 |
+120 |
234 |
+177 |
|
0,5 |
+0,3 |
20 |
+12,5 |
53 |
+36,1 |
102 |
+70 |
168 |
+122 |
236 |
+179 |
|
0,6 |
+0,4 |
21 |
+13,1 |
54 |
+36,8 |
104 |
+72 |
170 |
+123 |
238 |
+180 |
|
22 |
+13,8 |
55 |
+37,8 |
106 |
+73 |
172 |
+124 |
240 |
+182 |
||
|
0,8 |
+0,5 |
23 |
+14,4 |
56 |
+38,2 |
108 |
+75 |
174 |
+126 |
242 |
+184 |
|
24 |
+15 |
57 |
+38,9 |
110 |
+76 |
178 |
+129 |
244 |
+185 |
||
|
1 |
+0,6 |
25 |
+15,7 |
58 |
+39,6 |
112 |
+78 |
180 |
+130 |
246 |
+187 |
|
1.5 |
+0,9 |
26 |
+16,4 |
59 |
+40,3 |
114 |
+80 |
182 |
+132 |
248 |
+188 |
|
2 |
+1,2 |
27 |
+17 |
60 |
+41 |
116 |
+81 |
184 |
+134 |
250 |
+190 |
|
2,5 |
+1,5 |
28 |
+17,7 |
61 |
+41,7 |
118 |
+82 |
186 |
+136 |
252 |
+192 |
|
3 |
+1,8 |
29 |
+18,4 |
62 |
+42,4 |
120 |
+84 |
188 |
+138 |
254 |
+193 |
|
3,5 |
+2,1 |
30 |
+19 |
63 |
+43,1 |
122 |
+86 |
190 |
+140 |
256 |
+195 |
|
4 |
+2,4 |
31 |
+19,7 |
64 |
+43,8 |
124 |
+87 |
192 |
+142 |
258 |
+196 |
|
4,5 |
+2,7 |
32 |
+20,4 |
65 |
+44,5 |
126 |
+89 |
194 |
+144 |
260 |
+198 |
|
5 |
+3 |
33 |
+21,2 |
66 |
+45,2 |
128 |
+90 |
196 |
+146 |
262 |
+200 |
|
5,5 |
+3,3 |
34 |
+22 |
67 |
+45,9 |
130 |
+92 |
198 |
+148 |
264 |
+201 |
|
6 |
+3,6 |
35 |
+22,8 |
68 |
+46,6 |
132 |
+94 |
200 |
+150 |
266 |
+203 |
|
6,5 |
+3,9 |
36 |
+23,5 |
69 |
+47,3 |
134 |
+95 |
202 |
+152 |
268 |
+204 |
|
7 |
+4,2 |
37 |
+24,2 |
70 |
+48 |
136 |
+97 |
204 |
+154 |
270 |
+206 |
|
7,5 |
+4,5 |
38 |
+25 |
72 |
+49,4 |
138 |
+98 |
206 |
+155 |
272 |
+208 |
|
8 |
+4,8 |
39 |
+25,8 |
74 |
+50,2 |
140 |
+100 |
208 |
+156 |
274 |
+209 |
|
8,5 |
+5,1 |
40 |
+26,5 |
76 |
+52,2 |
142 |
+102 |
210 |
+158 |
276 |
+211 |
|
9 |
+5,4 |
41 |
+27,2 |
78 |
+53,6 |
144 |
+103 |
212 |
+160 |
278 |
+212 |
|
9,5 |
+5,7 |
42 |
+28 |
80 |
+55 |
146 |
+105 |
214 |
+161 |
280 |
+214 |
|
10 |
+6 |
43 |
+28,8 |
82 |
+56,4 |
148 |
+106 |
216 |
+163 |
282 |
+216 |
|
11 |
+6,7 |
44 |
+29,5 |
84 |
+57,8 |
150 |
+108 |
218 |
+164 |
284 |
+217 |
|
12 |
+7,3 |
45 |
+30,2 |
86 |
+59,2 |
152 |
+110 |
220 |
+166 |
286 |
+219 |
|
13 |
+7,9 |
46 |
+31 |
88 |
+60,6 |
154 |
+111 |
222 |
+168 |
288 |
+220 |
|
14 |
+8,5 |
47 |
+31,8 |
90 |
+62 |
156 |
+113 |
224 |
+169 |
290 |
+222 |
|
15 |
+9,2 |
48 |
+32,5 |
92 |
+63,4 |
158 |
+114 |
226 |
+171 |
292 |
+224 |
|
16 |
+9,8 |
49 |
+33,2 |
94 |
+64,8 |
160 |
+116 |
228 |
+172 |
294 296 298 300 |
+225 +227 +228 +230 |
Таблица 5
|
Нагрузки в сетях напряжением 6 - 35 кВ |
|||||||||||
|
Р |
ΔР |
Р |
ΔР |
Р |
ΔР |
Р |
ΔР |
Р |
ΔР |
Р |
ΔР |
|
1 |
+0,0 |
34 |
+23,6 |
84 |
+62,5 |
250 |
+194 |
580 |
+26,5 |
910 |
+749 |
|
2 |
+1,2 |
35 |
+24,4 |
86 |
+64 |
260 |
+204 |
590 |
+474 |
920 |
+758 |
|
3 |
+1,8 |
36 |
+25,2 |
88 |
+64,5 |
270 |
+212 |
600 |
+483 |
930 |
+767 |
|
4 |
+2,5 |
37 |
+26 |
90 |
+67 |
280 |
+220 |
610 |
+492 |
940 |
+776 |
|
5 |
+3,1 |
38 |
+26,8 |
92 |
+68,6 |
290 |
+228 |
620 |
+500 |
950 |
+785 |
|
6 |
+3,7 |
39 |
+27,6 |
94 |
+70 |
300 |
+235 |
630 |
+508 |
960 |
+794 |
|
7 |
+4,3 |
40 |
+28,4 |
96 |
+71,5 |
310 |
+243 |
640 |
+517 |
970 |
+803 |
|
8 |
+5 |
41 |
+29,2 |
98 |
+73 |
320 |
+251 |
650 |
+525 |
980 |
+812 |
|
9 |
+5,6 |
42 |
+30 |
100 |
+74,5 |
330 |
+259 |
660 |
+534 |
990 |
+821 |
|
10 |
+6,3 |
43 |
+30,8 |
105 |
+78 |
340 |
+269 |
670 |
+543 |
1000 |
+830 |
|
11 |
+7 |
44 |
+31,6 |
110 |
+82 |
350 |
+275 |
680 |
+552 |
1020 |
+847 |
|
12 |
+7,7 |
45 |
+32,4 |
115 |
+86 |
360 |
+283 |
690 |
+561 |
1040 |
+865 |
|
13 |
+8,4 |
46 |
+33,2 |
120 |
+90 |
370 |
+291 |
700 |
+570 |
1060 |
+882 |
|
14 |
+9 |
47 |
+34 |
125 |
+94 |
380 |
+299 |
710 |
+578 |
1080 |
+900 |
|
15 |
+9,7 |
48 |
+34,8 |
130 |
+98 |
390 |
+307 |
720 |
+586 |
1100 |
+918 |
|
16 |
+10,4 |
49 |
+35,6 |
135 |
+102 |
400 |
+315 |
730 |
+594 |
1120 |
+935 |
|
17 |
+11 |
50 |
+36,5 |
140 |
+106 |
410 |
+323 |
740 |
+602 |
1140 |
+953 |
|
18 |
+11,6 |
52 |
+38 |
145 |
+110 |
420 |
+332 |
750 |
+610 |
1160 |
+970 |
|
19 |
+12,3 |
54 |
+39,5 |
150 |
+115 |
430 |
+340 |
760 |
+618 |
1180 |
+987 |
|
20 |
+13 |
56 |
+41 |
155 |
+119 |
440 |
+348 |
770 |
+626 |
1200 |
+1005 |
|
21 |
+13,7 |
58 |
+42,5 |
160 |
+123 |
450 |
+357 |
780 |
+634 |
1220 |
+1022 |
|
22 |
+14,4 |
60 |
+44 |
165 |
+127 |
460 |
+365 |
790 |
+642 |
1240 |
+1040 |
|
23 |
+15,1 |
62 |
+45,6 |
170 |
+131 |
470 |
+374 |
800 |
+650 |
1260 |
+1057 |
|
24 |
+15,8 |
84 |
+47,2 |
175 |
+135 |
480 |
+382 |
810 |
+659 |
1280 |
+1075 |
|
25 |
+16,5 |
66 |
+48,8 |
180 |
+139 |
490 |
+391 |
820 |
+668 |
1300 |
+1093 |
|
26 |
+17,2 |
68 |
+50,4 |
185 |
+143 |
500 |
+400 |
830 |
+667 |
1320 |
+1110 |
|
27 |
+18 |
70 |
+52 |
190 |
+147 |
510 |
+408 |
840 |
+686 |
1340 |
+1128 |
|
28 |
+18,8 |
72 |
+53,5 |
195 |
+151 |
520 |
+416 |
850 |
+695 |
1360 |
+1146 |
|
29 |
+19,6 |
74 |
+55 |
200 |
+155 |
530 |
+424 |
860 |
+704 |
1380 |
+1164 |
|
30 |
+20,4 |
76 |
+56,5 |
210 |
+162 |
540 |
+432 |
870 |
+713 |
1400 |
+1182 |
|
31 |
+21,2 |
78 |
+58 |
220 |
+170 |
550 |
+440 |
880 |
+722 |
1420 |
+1200 |
|
32 |
+22 |
80 |
+59,5 |
230 |
+178 |
560 |
+448 |
890 |
+731 |
1440 |
+1218 |
|
33 |
+22,8 |
82 |
+61 |
240 |
+186 |
570 |
+456 |
900 |
+740 |
1460 |
+1235 |
|
1480 1500 |
+1252 +1270 |
||||||||||
2.10. При смешанной нагрузке на трансформаторной подстанции отдельно определяют нагрузки участков сети с жилыми домами, производственными, общественными зданиями и сооружениями и коммунально-бытовыми предприятиями с учетом соответствующих коэффициентов несовпадения максимумов нагрузок. В этом случае суммирование нагрузок следует производить по данным табл. 4.
2.11. Полную мощность на участках сети напряжением 0,38 кВ, подключенных к ТП, определяют на основе расчетных активных нагрузок этих участков с учетом коэффициентов мощности, приведенных в табл. 6.
Таблица 6
|
Коэффициенты мощности (cos φ) и реактивной мощности (tg φ) при максимальной нагрузке |
||||
|
дневной |
вечерней |
|||
|
cos φ |
tg φ |
cos φ |
tg φ |
|
|
Животноводческие и птицеводческие помещения |
0,75 |
0,98 |
0,85 |
0,62 |
|
То же, с электрообогревом |
0,92 |
0,43 |
0,96 |
0,29 |
|
То же, для отопления и вентиляции |
0,99 |
0,15 |
0,99 |
0,15 |
|
Кормоцехи |
0,75 |
0,88 |
0,78 |
0,8 |
|
Зерноочистительные тока, зернохранилища |
0,7 |
1,02 |
0,75 |
0,88 |
|
Установки для орошения и дренажа почвы |
0,8 |
0,75 |
0,8 |
0,75 |
|
Парники и теплицы на электрообогреве |
0,92 |
0,43 |
0,96 |
0,29 |
|
Мастерские, тракторные станы, гаражи для машин |
0,7 |
1,02 |
0,75 |
0,88 |
|
Мельницы, маслобойки |
0,8 |
0,75 |
0,85 |
0,62 |
|
Цехи по переработке сельскохозяйственной продукции |
0,75 |
0,88 |
0,8 |
0,75 |
|
Общественные учреждения и коммунально-бытовые предприятия |
0,85 |
0,62 |
0,9 |
0,48 |
|
Жилые дома без электроплит |
0,9 |
0,48 |
0,93 |
0,4 |
|
То же, с электроплитами и водонагревателями |
0,92 |
0,43 |
0,96 |
0,29 |
|
Трансформаторные подстанции напряжением 10/0,4 кВ: |
||||
|
с производственной нагрузкой |
0,7 |
1,02 |
0,75 |
0,88 |
|
с коммунально-бытовой нагрузкой |
0,9 |
0,48 |
0,92 |
0,43 |
|
со смешанной нагрузкой |
0,8 |
0,75 |
0,83 |
0,67 |
2.12. При отсутствии точных данных годовое потребление электроэнергии на шинах трансформаторной подстанции напряжением 10/0,4 кВ можно определить приближенно по величине расчетной нагрузки и продолжительности использования максимума нагрузки (кроме сезонных потребителей) в соответствии с приведенными в табл. 7 данными.
Таблица 7
|
Продолжительность использования максимума нагрузки Tм, ч, на предприятиях |
|||
|
коммунально-бытовые |
производственных |
смешанные |
|
|
До 10 |
900 |
1100 |
1300 |
|
10 - 20 |
1200 |
1500 |
1700 |
|
20 - 50 |
1600 |
2000 |
2200 |
|
50 - 100 |
2000 |
2500 |
2800 |
|
100 - 250 |
2350 |
2700 |
3200 |
|
Более 250 |
2600 |
2800 |
3400 |
2.13. При наличии в зоне электроснабжения сезонных потребителей (парники, теплицы, орошение и т.п.) расчетные нагрузки сети определяют с учетом коэффициентов сезонности по данным табл. 8.
Таблица 8
|
Потребители |
Коэффициент сезонности для |
|||
|
зимы |
весны |
лета |
осени |
|
|
Традиционные |
1 |
0,8 |
0,7 |
0,9 |
|
Орошение |
0 - 0,1 |
0,3 - 0,5 |
1 |
0,2 - 0,5 |
|
Электрообогрев закрытого грунта |
0,3 |
1 |
0 |
0 |
|
Осенне-летние |
0,2 |
0 |
1 |
1 |
При наличии данных о режимах работы электроустановок, отличающихся от приведенных в табл. 8, коэффициенты сезонности для отдельных зон могут уточнять проектные организации. Если суммарная нагрузка от сезонных потребителей составляет более 20 % суммарной нагрузки традиционных потребителей для весенних, 30 % для летних или 10 % для осенне-летних потребителей, то кроме расчета нагрузок для зимнего режима определяют нагрузки для соответствующего сезона.
Рис. 1.
Зависимость cos φ от отношения
в максимуме
нагрузок
1 - дневной; 2 - вечерний
2.14. Значения коэффициента мощности на участках сети напряжением 10 кВ зависят от отношения расчетных нагрузок производственных потребителей Рп к суммарной расчетной нагрузке Ро (рис. 1). За расчетную нагрузку принимают сумму нагрузок производственных и коммунально-бытовых потребителей Ркб, которые определяют из расчетных нагрузок на шинах трансформаторных подстанций (см. прил. 3).
3.1. По характеру требований к надежности и бесперебойности электроснабжения сельскохозяйственные потребители разделяются на три категории.
I. Потребители, перебой в электроснабжении которых наносит значительный материальный ущерб, например, массовая порча продукции, нарушение технологического процесса и т.д. К ним относятся птицефабрики, инкубатории, помещения для выращивания бройлеров, свинарники (маточники с электрическим обогревом в сезон их работы), операционные отделения больниц, родильных домов, водопроводные сооружения с насосной станцией II подъема, а также крупные животноводческие фермы колхозов и совхозов и комплексы, производящие продукцию животноводства на промышленной основе.
II. Потребители, у которых перерыв в электроснабжении свыше 3,5 ч приводит к нарушению производственного процесса, снижению выработки сельскохозяйственной продукции и ее частичной порче. К этой категории относятся электрифицированные доильные установки и установки для первичной обработки молока, хозяйства по откорму свиней и крупного рогатого скота, животноводческие и птицеводческие фермы колхозов и совхозов, кормоприготовительные цехи, заводы с электромеханизированным приготовлением и раздачей кормов, системы водоснабжения для нужд животноводства и птицеводства, теплицы и парники как при электрическом обогреве, так и при обогреве от котельной с подачей воды в отопительную систему насосом с электроприводом.
III. Все остальные потребители. Для потребителей этой категории допустимы перерывы в электроснабжении на время, необходимое для ремонта или замены поврежденного элемента системы электроснабжения, но не более чем на одни сутки.
При определении категории объектов селитебной территории сельских населенных пунктов (детских садов, школ, клубов, магазинов, котельных, водопроводных и канализационных сооружений и т.д.) следует руководствоваться «Инструкцией по проектированию электрооборудования общественных зданий массового строительства» (СН 543-82), «Инструкцией по проектированию электроснабжения промышленных предприятий» (СН 174-75) и «Инструкцией по проектированию городских электрических сетей» (ВСН 97-83).
3.2. Согласно требованиям глав 1 - 2 Правил устройства электроустановок (ПУЭ), электроприемники I категории должны обеспечиваться электроэнергией от двух независимых источников питания, и перерыв в их электроснабжении может быть допущен только на время автоматического ввода резервного питания. При этом в качестве второго независимого источника могут быть использованы автономные источники (аккумуляторные батареи, дизельные электростанции и др.), а также резервные связи напряжением 0,4 кВ от ближайшего узла сети, подключенные к другому независимому источнику.
3.3. Поскольку категория потребителей является основным фактором, влияющим на выбор схемы питания, необходимо тщательно изучать технологические процессы того или иного производства, принимая во внимание возможные последствия от перерыва в электроснабжении, критически относиться к требованиям технологической части проекта в отношении надежности электроснабжения. Категорию потребителей следует определять вместе с технологами с учетом специфики проектируемого объекта. Необоснованные требования энергоснабжающей организации о повышении степени резервирования электроснабжения следует оспаривать и настаивать на соответствующем изменении технических условий.
Если имеется резерв технологической части, то категория потребителя согласно ПУЭ может быть снижена.
Электроснабжение электроприемников разных категорий одного потребителя следует рассматривать самостоятельно. Если число электроприемников I и II категорий ограничено, то вопрос их резервирования решается отдельно и не распространяется на других, менее ответственных потребителей.
Для принятия наиболее экономичных решений следует предусматривать автоматическую или ручную разгрузку элементов сетей в аварийном режиме, выделяя питание потребителей III категории для возможности их отключения.
4.1. Схемы сельских распределительных сетей напряжением 0,4, 10 (6) и 20 кВ следует выбирать в зависимости от надежности комплекса электроснабжаемых потребителей, для каждой выделенной категории последних.
4.2. Для потребителей I категории выбирается схема электроснабжения от двух независимых источников напряжением 10 (6) - 20 кВ в сочетании с взаиморезервируемыми питающими линиями напряжением 0,4 кВ и установкой автоматического включения резерва (АВР) непосредственно у потребителя.
Для потребителей II категории рекомендуется петлевая схема на напряжение 10 (6) - 20 кВ, как правило, в сочетании с однотрансформаторными подстанциями. При этом ввод резервных элементов осуществляется дежурным персоналом. Схема обеспечивает требуемую надежность, имеет высокие технико-экономические показатели. Резервирование потребителей II категории должно осуществляться на напряжении 0,4 кВ от другой ТП, расположенной вблизи потребителя и подключенной к другому источнику питания.
Для электроснабжения одиночного потребителя I категории с целью обеспечения его резерва по распределительным сетям 10 (6) кВ рекомендуется включать подстанции потребителя I категории в петлевую схему, предусматривая два трансформатора и АВР на резервном вводе.
Для потребителей III категории выбирается петлевая или радиальная схема на напряжение 6 - 20 кВ в сочетании с однотрансформаторной подстанцией и радиальная схема на напряжение 0,4 кВ.
4.3. Для обеспечения надежности электроснабжения потребителей следует предусматривать:
сооружение двутрансформаторных подстанций напряжением 110 - 35 кВ с взаиморезервируемыми трансформаторами; питание подстанций по двум одноцепным или двухцепной линиям напряжением 110 - 35 кВ;
гибкие схемы напряжением 6 - 20 кВ с возможностью переключения отдельных потребителей на другие центры питания, через дополнительные перемычки;
разукрупнение подстанций напряжением 10 (6)/0,4 кВ и разделение их на самостоятельные - для производственных и коммунально-бытовых потребителей;
питание сосредоточенных нагрузок (школ, больниц, ферм и т.д.)
по отдельным фидерам и по возможности от отдельных подстанций;
секционирование сети выключателями с автоматическим повторным включением (АПВ), автоматическими отделителями, разъединителями и др.
4.4. При резервировании следует учитывать способность электрооборудования выдерживать перегрузки, а также наличие резерва в технологическом оборудовании объекта.
4.5. При расчете аварийных режимов совпадение аварийных и ремонтных отключений не следует принимать во внимание.
4.6. Номинальное напряжение распределительных сетей необходимо принимать не ниже 10 кВ.
Сохранение напряжения 6 кВ допускается как исключение при соответствующем технико-экономическом обосновании.
При ежегодном увеличении нагрузок на 5 % и более в течение расчетных 10 - 15 лет существующие кабельные сети напряжением 6 кВ во всех случаях (вне зависимости от их загрузки и износа) следует переводить в ближайшие 3 - 8 лет на напряжение 10 кВ.
Выбор напряжения 20 кВ может быть экономически оправдан при наличии оборудования, стоимость которого не превышает более чем на 20 - 30 % стоимость оборудования на напряжение 10 кВ.
Напряжение 20 кВ рекомендуется при генераторном напряжении 20 кВ на источнике электроснабжения вблизи сельского населенного пункта.
Если сроки перевода сети на повышенное напряжение предусмотрены после первого этапа строительства или при решении о переводе сети, новое оборудование и кабели должны приниматься в проектах на перспективное номинальное напряжение.
4.7. Сети напряжением 380/220 В следует проектировать с глухо заземленной нейтралью. Сечения линий четырехпроводных сетей должны быть проверены по условию неполнофазного режима с учетом полного сопротивления петли фаза - нуль.
4.8. Для электроприемников, подключенных к воздушным сетям пли тяговым подстанциям электрифицированного транспорта, допускается отклонение напряжения, равное для основной массы электроприемников ± 7,5 %; на зажимах приборов рабочего освещения, установленных в производственных помещениях и общественных зданиях, где требуется значительное зрительное напряжение: от 7,5 до +10 %.
В этих случаях не менее чем у 50 % электроприемников отклонения напряжения (по общей мощности) должны быть не более ± 5 %
Расчеты электрических сетей на отклонения напряжения производятся для режимов максимальных и минимальных нагрузок.
При отсутствии необходимых данных допускается принимать нагрузку в минимальном режиме 25 - 30 % максимальной.
4.9. Основным средством регулирования напряжения в сельских сетях являются трансформаторы понижающих подстанций напряжением 110 - 35/10 - 20 кВ и 35/6 - 10 кВ с автоматическим регулированием напряжения под нагрузкой. Кроме того, для этой цели можно использовать трансформаторы потребительских подстанций напряжением 10(6) - 20/0,4 кВ с устройством сезонного регулирования напряжения путем перестановки ответвлений выводов обмоток; линейные регуляторы; статические конденсаторы; а также регулировать возбуждение генераторов сельских электростанций.
Выбор средств регулирования напряжения производится на основании сравнения технико-экономических показателей рассматриваемых вариантов.
4.10. Сечения кабелей и проводов напряжением 10(6) - 20 кВ следует выбирать по экономической плотности тока и проверять на нагрев током аварийного режима, а также на термическую устойчивость к токам трехфазного короткого замыкания. Сечения кабелей и проводов напряжением 0,38 кВ следует выбирать по току нагрузки с обязательной проверкой на потерю напряжения.
Выбранные сечения должны обеспечивать надежное срабатывание защиты (предохранителей или автоматов) при коротких замыканиях. При проектировании воздушных сетей следует выполнять механический расчет проводов.
4.11. В электрических сетях напряжением 0,38 и 10(6) кВ у наиболее удаленного потребителя определяются суммарные потери напряжения. При этом в сетях напряжением 10(6) кВ в соответствии с нормами технологического проектирования электрических сетей сельскохозяйственного назначения и дизельных электростанций они должны составлять 60 - 65 % суммарных потерь. Исключение могут составлять сети напряжением 10(6) и 0,38 кВ отдельных сосредоточенных потребителей (крупные аграрные комплексы и др.).
4.12. Сечение нулевого провода линий, питающих жилые и общественные здания, должно иметь проводимость, равную 50 % проводимости фазных проводов, за исключением следующих случаев:
на ЛЭП со стальными проводами всех сечений и биметаллическими и сталеалюминиевыми проводами сечением до 10 мм2 нулевой провод должен иметь сечение, одинаковое с фазными проводами;
на линиях, питающих животноводческие и птицеводческие фермы, независимо от материала и сечения проводов, нулевой провод может иметь проводимость, равную 50 % проводимости фазных проводов;
при невозможности обеспечения необходимой селективности защиты от коротких замыканий другими средствами сечение нулевого провода может быть равно сечению фазных проводов или превышать его.
4.13. Материал опор воздушных линий (ВЛ) необходимо выбирать в соответствии с «Техническими правилами по экономному расходованию основных строительных материалов» (ТП 101-81).
4.14. За общую строительную длину воздушных линий напряжением 0,38 кВ следует принимать длину магистральных линий и ответвлений от них, ограниченных опорами, независимо от их типа и габарита.
Ответвления от опоры ВЛ до вводов в здание или трубостоек на зданиях в строительную длину линии не включаются. Опоры, устанавливаемые у ввода в здание, должны отвечать требованиям, предъявляемым к опорам основной линии (за исключением габарита).
4.15. Применение кабельных линий допускается только в случаях, вызванных архитектурными решениями или если исчерпана возможность использования воздушных линий.
Для подземных кабельных линий необходимо использовать преимущественно облегченные силовые кабели с алюминиевыми жилами, с пластмассовой изоляцией, в пластмассовой оболочке, небронированные. В кабельных линиях напряжением 0,38 кВ рекомендуется ответвления и магистральные линии соединять в распределительных шкафах наружной установки.
4.16. Трассы ВЛ напряжением 0,38 кВ необходимо прокладывать, как правило, по обеим сторонам улиц. Допускается при соответствующем обосновании предусматривать трассы по одной стороне улицы с ответвлениями от ВЛ к отдельно стоящим постройкам, с пересечением проезжей части улиц. В этом случае следует соблюдать нормативный габарит проводов над проезжей частью улиц и пешеходными дорожками.
4.17. Вводы линий электропередач в здания выполняются в соответствии с типовым проектом Сельэнергопроекта «Вводы линий электропередачи до 1 кВ в здания» (3-407-82).
4.18. Незащищенные провода ответвлений от ВЛ к вводам в здания (как голые, так и изолированные) согласно ПУЭ должны быть расположены на высоте не менее 6 м над проезжей частью улицы и 3,5 м над пешеходными дорожками и тротуарами. Изоляторы ввода устанавливают на стенах зданий на такой высоте, что. бы расстояние по вертикали от проводов ввода до поверхности земли было не менее 2,75 м.
4.19. Расстояние между проводами вводов, а также от них до выступающих частей здания должно быть не менее 200 м.
5.1. Проектирование наружного освещения селитебной территории и автомобильных дорог общей сети в пределах сельских поселков следует осуществлять в соответствии с главой СНиП II-4-79 «Естественное и искусственное освещение. Нормы проектирования», «Инструкцией по проектированию наружного освещения городов, поселков и сельских населенных пунктов» (СН 541-82) и «Методическими рекомендациями по проектированию наружного освещения сельских населенных пунктов» (М., ЦНИИЭП инженерного оборудования, 1980).
При проектировании установок наружного освещения промышленной зоны следует пользоваться отраслевыми нормами освещения сельскохозяйственных предприятий, зданий и сооружений Министерства сельского хозяйства СССР.
5.2. Наружное освещение селитебной территории поселка следует проектировать комплексно с учетом характера застройки, очередности и продолжительности строительства отдельных объектов.
Таблица 9
|
Средняя горизонтальная освещенность, лк |
Отношение максимальной освещенности к средней |
|
|
Площади общественных и торговых центров |
4 |
5:1 |
|
Поселковые улицы: |
||
|
с усовершенствованными покрытиями и покрытиями переходных типов |
4 |
5:1 |
|
с покрытиями простейших типов |
2 |
10:1 |
|
Поселковые дороги |
2 |
10:1 |
|
Пешеходные улицы |
1 |
10:1 |
|
Территории детских учреждений |
||
|
Групповые и физкультурные площадки |
10 |
3:1 |
|
Площадки для подвижных игр |
10 |
3:1 |
|
Проезды и проходы к корпусам и площадкам |
4 |
5:1 |
|
Территории больниц |
||
|
Въезд на территорию, зона приемного отделения |
6 |
3:1 |
|
Проезды и проходы к лечебным корпусам |
4 |
5:1 |
|
Прогулочные дорожки и площадки |
4 |
5:1 |
|
Площадки зоны отдыха |
6 |
3:1 |
5.3. Уровни средней освещенности объектов селитебной территории принимаются на основании действующих документов и данных табл. 9 независимо от строительно-климатической зоны.
5.4. Осветительная установка должна обеспечивать равномерность распределения освещенности на уровне дорожного покрытия и ограничение слепящего действия.
Таблица 10
|
Светораспределение светильника |
Максимальный световой поток ламп одного фонаря, тыс. лм |
Наименьшая высота установки светильников, м, с лампами |
|
|
накаливания |
газоразрядными |
||
|
Полуширокое |
Менее 5 |
6,5 |
7 |
|
5 - 10 |
7 |
7,5 |
|
|
10 - 20 |
- |
8 |
|
|
20 - 30 |
- |
9 |
|
|
Широкое |
Менее 5 |
7 |
7,5 |
|
5 - 10 |
8 |
8,5 |
|
|
10 - 20 |
- |
9,5 |
|
|
20 - 30 |
- |
10,5 |
|
Примечание.
Венчающие светильники рассеянного света следует устанавливать на высоте не менее 3 м при световом потоке источника света до 6 тыс. лм и на высоте не менее 4 м при потоке свыше 6 тыс. лм.
Равномерность распределения освещенности, определяемая как отношение максимальной освещенности к средней, не должна превышать значений, приведенных в табл. 9.
Наименьшую высоту расположения светильников по условиям ограничения ослепленности следует определять в соответствии с данными табл. 10.
5.5. Для улиц, дорог, площадей и территорий общественных зданий рекомендуется применять светильники, предназначенные для наружного освещения. Использование прожекторов, открытых ламп без осветительной арматуры не допускается. Для поселков, расположенных в северной строительно-климатической зоне азиатской части СССР и севернее 66-й параллели европейской, следует применять светотехническое оборудование в северном исполнении ХЛ.
5.6. Для установок наружного освещения при норме средней освещенности 4 лк и более рекомендуются светильники с газоразрядными лампами высокого давления ДРЛ в перспективе - металлогенные лампы ДРИ, для установок с меньшими значениями нормируемой средней освещенности - лампы ДРЛ (преимущественно) малой мощности и лампы накаливания.
5.7. При проектировании освещения улиц и дорог необходимо учитывать деревья и высокие кустарники, экранирующие световой поток светильников. Для обеспечения нормируемых показателей установок на улицах со сложившейся системой озеленения, если крона деревьев значительно приближена к проезжей части, рекомендуется одно из следующих решений:
использовать тросовый подвес или удлиненные кронштейны, позволяющие вынести светильники за пределы кроны;
снижать шаг светильников в 1,2 раза;
увеличивать световой поток светильника не менее чем в 1,2 раза, заменяя источник света на более мощный, или устанавливать соответственно дополнительный светильник на опоре.
Выбор того или иного решения должен иметь технико-экономическое обоснование, так как каждое из них приводит к определенному удорожанию установок, а последние два варианта, кроме того, к увеличению мощности установок и расхода электроэнергии.
5.8. При выборе опор установок наружного освещения следует руководствоваться «Техническими правилами по экономному расходованию основных строительных материалов» (ТП 101-80).
5.9. Опоры осветительных установок выбирают в соответствии с типовыми проектами: серии 3.407-125 (деревянные опоры ВЛ напряжением 0,38 кВ для уличного освещения сельских населенных пунктов), в котором предусмотрены стойки диаметром 160, 180 и 200 мм и длиной до 11 м и серии 3.407-128 (железобетонные опоры ВЛ напряжением 0,38 кВ для уличного освещения сельских населенных пунктов со стойками СНВс-2,7-11 серии 3.407-101.
5.10. На улицах, дорогах и проездах для крепления светильников наружного освещения следует использовать опоры воздушной сети общего пользования.
5.11. При освещении территорий детских яслей-садов, школ, тротуаров-подъездов светильники можно устанавливать на неподвижных или поворотных кронштейнах, закрепляемых на стенах, козырьках подъездов или крышах невысоких (не более трех этажей) зданий.
5.12. Типовые варианты освещения улиц и дорог, примеры крепления светильников на опорах (рис. 2), эскизы установки венчающих светильников подробно рассмотрены в упомянутых в п. 5.1 Методических рекомендациях и «Рекомендациях по проектированию освещения микрорайонов» (М., Стройиздат, 1978), а также в прил. 4 и 5.
5.13. Установки наружного освещения и устройства управления ими в сельских населенных пунктах в отношении обеспечения надежности электроснабжения относятся к III категории потребителей.
Электроснабжение установок наружного освещения, как правило, осуществляют от трансформаторных подстанций общего пользования через пункты питания, в которых предусмотрены распределение электроэнергии по отходящим линиям, защита от перегрузок и коротких замыканий отходящих линий, учет расхода электроэнергии и размещение коммутационных аппаратов.
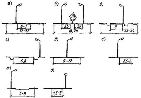
Рис. 2. Схемы размещения опор наружного освещения
а, б - главные улицы; в, г - поселковые дороги, д, е, ж - поселковые улицы; з - пешеходные дороги
5.14. Вводы в шкафы пунктов питания следует выполнять кабельными. Для шкафов пунктов питания, располагаемых на стенах ТП, допускается также использовать изолированные провода, проложенные в трубах.
5.15. Распределительные сети установок наружного освещения выполняют воздушными или кабельными в установках с венчающими светильниками, низкорасполагаемыми светильниками архитектурного освещения, а также при использовании металлических и железобетонных опор в пределах территорий детских яслей-садов, школ и спортивных площадок.
5.16. Защита сетей наружного освещения должна выполняться в соответствии с требованиями глав III-1 и VI-3 ПУЭ.
В распределительных линиях, питающих светильники с газоразрядными лампами, номинальный ток плавкой вставки должен быть не менее 1,25, а уставка автомата с тепловым или комбинированным расцепителем - не менее 1,5 величины рабочего тока линии.
5.17. Управление сетями наружного освещения поселка должно быть централизованным дистанционным из комплексного диспетчерского пункта поселка или из головного пункта питания наружного освещения с использованием автоматического фотоэлектрического или программного устройства. В больших поселках (более 4 тыс. жителей) допускается управление наружным освещением не из одного, а из двух головных пунктов питания. В соответствии с требованиями СН 507-78 при введении режима частичного затемнения необходимо предусмотреть возможность отключения автоматических устройств и перехода на дистанционное управление из помещения диспетчерской.
5.18. При использовании автоматических фотоэлектрических устройств управление контакторами головных пунктов питания осуществляется в зависимости от естественной освещенности: включение вечером при снижении естественной освещенности до 20 лк; отключение утром при повышении естественной освещенности до 10 лк.
Ночной режим работы установок наружного освещения определяется режимом работы производственной зоны и вводится не позднее 24 ч.
При использовании автоматических программных устройств, требующих периодической (через каждые 10 дней) корректировки момента включения и отключения наружного освещения, необходимо составлять графики их работы по методике, приведенной в «Указаниях по эксплуатации установок наружного освещения городов, поселков городского типа и сельских населенных пунктов» (М., Стройиздат, 1978).
5.19. Управление наружным освещением территории детских яслей-садов, школ, больниц рекомендуется осуществлять от системы наружного освещения поселка, в котором они расположены. При этом следует предусмотреть возможность местного отключения освещения отдельных элементов или всей территории.
ОСНОВНЫЕ ПОЛОЖЕНИЯ
6.1. Настоящие Рекомендации не распространяются на проектирование магистральных линий связи фидерных линий радиофикации, междугородных и межрайонных линий телефонной и телеграфной связи, зданий и помещений для размещения станционных сооружений и аппаратуры связи.
В Рекомендациях не рассматриваются некоторые виды связи, имеющие ограниченное применение в сельской местности или организуемые для специальных целей.
6.2. В сельской местности имеются следующие подразделения связи:
сети связи общего пользования;
внутрипроизводственная связь колхозов, совхозов и других сельскохозяйственных предприятий;
учрежденческо-производственная связь министерств, ведомств, промышленных и строительных предприятий.
Радиофикация - один из наиболее распространенных видов связи, охватывающий все населенные пункты страны. Радиотрансляционные сети с громкоговорителями должны устраиваться в жилых домах, производственных помещениях, на улицах и площадях.
6.3. Проектирование и строительство сооружений связи и радиофикации, а также сетей связи общего пользования возложено в основном на Министерство связи СССР и его предприятия и организации.
Однако при строительстве новых сельскохозяйственных объектов, поселков и отдельных сооружений для их обслуживания средства связи и радиофикации проектируют за счет фондов заказчика, отпущенных на это строительство.
6.4. Технические условия на проектирование средств связи и радиофикации и подключение их к соответствующим сетям Министерства связи выдают областные (краевые) производственно-технические управления связи (ПТУС), эксплуатационно-технические узлы связи (ЭТУС) и межрайонные радиотрансляционные узлы.
6.5. Сеть телефонной связи общего пользования проектируется на основании действующих норм телефонной плотности, установленных Министерством связи СССР («Нормативные материалы по проектированию». Н-008-3-75).
ПРИНЦИПЫ ПОСТРОЕНИЯ И ИСПОЛЬЗОВАНИЯ ПЕРВИЧНОЙ СЕТИ В СЕЛЬСКОЙ МЕСТНОСТИ
6.6. Сеть линий и каналов связи в сельской местности проектируется с учетом их вхождения в первичную сеть Единой автоматизированной системы связи Советского Союза (ЕАСС).
6.7. Первичная сеть в сельской местности строится по радиальному или радиально-узловому принципу с использованием кабельных, воздушных и радиорелейных линий связи, а также линий радиосвязи.
6.8. Первичная сеть служит основой для образования вторичных сетей, отличающихся принадлежностью (общегосударственная или ведомственная), видом передаваемой информации (аналоговая или дискретная), шириной используемых каналов (телефонная, телеграфная, вещания, видеосвязь) и способом построения (коммутируемая или некоммутируемая). Каналы связи первичной сети могут предоставляться заинтересованным предприятиям и организациям.
ОСНОВНЫЕ ТРЕБОВАНИЯ К СЕТЯМ СВЯЗИ, ОРГАНИЗУЕМЫМ В СЕЛЬСКОЙ МЕСТНОСТИ
6.9. На основе первичной сети в сельской местности организуются следующие виды электросвязи:
сети общего пользования:
телефонная связь (СТС);
факсимильная (документальная) связь;
передача программ звукового вещания;
внутрипроизводственные сети телефонной связи колхозов, совхозов и других сельскохозяйственных предприятий (ВПТС):
диспетчерская телефонная связь (ДТС);
факсимильная связь;
передача данных с низкой и средней скоростью;
передача информации технологического характера.
учрежденческо-производственные сети ведомств, промышленных и строительных предприятий:
учрежденческо-производственная телефонная связь (УПТС);
абонентский телеграф (AT).
6.10. Сеть телефонной связи общего пользования (СТС) предназначается для установления соединений между любыми абонентами данной сети в пределах сельского административного района, а также для выхода абонентов на зоновую и междугородную сеть.
6.11. Сеть факсимильной связи общего пользования применяется для обмена документальной информацией между отделениями связи и районным узлом связи.
6.12. Сеть передачи программ вещания предназначается для передачи центробежных, республиканских, областных и районных программ вещания.
6.13. Сеть внутрипроизводственной телефонной связи колхозов, совхозов и других сельскохозяйственных предприятий служит для установления соединений между производственными объектами, регулирования выхода абонентов ВПТС на сеть общего пользования.
6.14. Сеть диспетчерской телефонной связи позволяет организовать оперативно-командную связь в пределах сельскохозяйственного предприятия. Диспетчер осуществляет оперативный вызов любого абонента сети, групповую или циркулярную связь с абонентами, а также громкоговорящую связь.
6.15. Сеть факсимильной внутрипроизводственной связи предназначается для организации передачи информации внутри хозяйств. Передача документальной информации из сельскохозяйственного предприятия в пределах сельского административного района осуществляется по сети абонентского телеграфа.
6.16. Сеть передачи данных используется для передачи информации сельскохозяйственными предприятиями в вычислительные центры.
6.17. Сеть передачи информации технологического характера предназначается для дистанционного контроля и управления производственными процессами средствами телемеханики.
6.18. Сеть внутрипроизводственной телефонной связи сельскохозяйственных предприятий совмещается с сетью телефонной и сетью связи общего пользования в пределах хозяйства. Для них используются, как правило, общая АТС и общие линейные сооружения.
Установка специальной АТС для ВПТС допускается по согласованию с Министерством связи СССР или его органами.
6.19. Сети диспетчерской телефонной связи частично совмещаются с сетями внутрипроизводственной телефонной связи колхозов и совхозов. Для этого применяются линии ВПТС, не имеющие права выхода на телефонную сеть общего пользования.
6.20. Сети передаче информации технологического характера частично совмещаются с сетью телефонной связи общего пользования и сетью внутрипроизводственной телефонной связи в пределах хозяйств на участках абонентских и межстанционных линий путем уплотнения линий и вторичного уплотнения каналов связи, а также использования пар в общих кабелях, физических цепей на воздушных линиях и каналов в аппаратуре уплотнения.
ПРИНЦИПЫ ПОСТРОЕНИЯ СЕТЕЙ ТЕЛЕФОННОЙ СВЯЗИ (СТС) РАЗЛИЧНОГО НАЗНАЧЕНИЯ
6.21. Для СТС используют радиальное (одноступенчатая схема) или радиально-узловое построение (одно- и двухступенчатая схема) (рис. 3).
6.22. Телефонные станции в сети делятся на центральные (ЦС), узловые (УС) и оконечные (ОС).
Центральные станции располагаются в райцентре и являются одновременно городскими телефонными станциями. В ЦС включаются соединительные линии узловых (при двухступенчатой схеме построения) и оконечных станций (при одноступенчатой).
Узловые и оконечные станции размещаются в любом из населенных пунктов района. В УС включаются соединительные линии ОС (при двухступенчатой схеме построения). Соединительные линии ОС в зависимости от схемы построения включаются в ЦС или УС
6.23. Использование одноступенчатой схемы построения СТС обеспечивает минимальное затухание абонентского шлейфа, позволяет упростить станционное оборудование и ускорить процесс установления соединений.
Рис. 3. Схема построения СТС
1 - центральная телефонная станция (ЦС); 2 - узловая телефонная станция (УС), 3 - оконечная телефонная станция (ОС); 4 - абонентский пункт
Двухступенчатую схему СТС следует применять только при технико-экономическом обосновании целесообразности узлообразования.
6.24. Поперечные связи можно предусматривать при значительном тяготении населенных пунктов между собой. Такие связи требуют технико-экономического обоснования на уровне узловых и оконечных станций (АТСК-100/2000, АТСК 50/200) и вновь разрабатываемых электронных систем АТС.
6.25. С целью экономичного построения и использования абонентских и соединительных линий СТС следует применять: на абонентских линиях наряду с индивидуальным спаренное включение телефонных аппаратов, групповые установки (ГУ) и аппаратуру уплотнения; на соединительных линиях - аппаратуру уплотнения и усилители мостового типа.
ПРИНЦИПЫ ПОСТРОЕНИЯ СЕТИ ПЕРЕДАЧИ ПРОГРАММ ВЕЩАНИЯ
6.26. Сеть передачи программ вещания в пределах сельского административного района строится по радиальному принципу.
6.27. Сеть радиофикации может служить в пределах хозяйства для организации поисковой связи путем вторичного уплотнения линий при условии, что эти линии не будут использованы для вещания.
ПРИНЦИПЫ ПОСТРОЕНИЯ СЕТИ ВНУТРИПРОИЗВОДСТВЕННОЙ ТЕЛЕФОННОЙ СВЯЗИ (ВПТС) КОЛХОЗОВ И СОВХОЗОВ
6.28. В зависимости от местных условий, размеров территории хозяйства, числа входящих в него населенных пунктов, числа жителей и телефонной плотности, т.е. факторов, определяющих построение телефонной сети общего пользования, ВПТС предусматриваются для обслуживания (рис. 4) колхоза или совхоза от одной сельской АТС; колхоза или совхоза от нескольких АТС, образующих телефонный узел; нескольких колхозов или совхозов от одной сельской АТС, если невозможно или нецелесообразно устанавливать АТС в каждом хозяйстве.
|
Вид связи |
Узел связи райцентра |
Узел связи хозяйства |
Центральная усадьба |
Отделение (бригада) |
||||
|
Диспетчерский пункт |
Управление |
Производство |
Пункт связи |
Управление |
Производство |
|||
|
1 |
||||||||
|
2 |
||||||||
|
3 |
||||||||
|
4 |
||||||||
|
5 |
||||||||
|
6 |
||||||||
Рис. 4. Схема организации внутрипроизводственной связи колхоза и совхоза
АРС - абонентская радиостанция; АТА - абонентский телеграф; AT - телеграфная станция райцентра; Г - громкоговоритель, ГУ - групповая установка; Д - рабочее место диспетчера; КД - коммутатор директорской связи; ОС - оконечная телефонная станция; КДС - коммутатор (приставка) диспетчерской связи; СРС - стационарная радиостанция; К - телефонный коммутатор местной связи, УКС - устройство конференц-связи; УПТ - устройство подключения к телефонному аппарату; УС - усилитель; ФА - аппарат факсимильном связи; ЦРС - центральная радиостанция, ЦС - центральная телефонная станция
Примечание. Приняты следующие виды связи: 1 - внутрипроизводственная телефонная; 2 - диспетчерская телефонная; 3 - документальная и технологическая (передача данных, абонентская, телеграфная, факсимильная) телемеханика; 4 - поисковая радиофикация; 5 - директорская; 6 - диспетчерская радиосвязь.
6.29. На абонентских линиях производственных объектов независимо от права выхода на телефонную сеть общего пользования допускается применение телефонных комплектов местной связи (при соблюдении для основного коммутирующего аппарата, входящего в этот комплект, электрических норм, установленных для абонентских линий сельских АТС), а также аппаратуры уплотнения абонентских линий.
6.30. Предусматривается совместное использование индивидуальных (без спаренных аппаратов) абонентских линий ВПТС, не имеющих права выхода на СТС, для внутрипроизводственных и диспетчерской связи через коммутационное устройство.
6.31. Во вновь проектируемых сельских АТС следует предусматривать возможность включения привилегированного абонента, который может подключаться к занятым абонентам ВПТС, не имеющим права выхода на сеть общего пользования.
ПРИНЦИПЫ ПОСТРОЕНИЯ СЕТЕЙ ДИСПЕТЧЕРСКОЙ СВЯЗИ
6.32. Диспетчерская проводная телефонная связь осуществляется через коммутатор, устанавливаемый в здании конторы (правления) колхоза или совхоза. В этом же здании желательно размещать и сельскую АТС, предназначенную для обслуживания данного хозяйства.
6.33. В коммутатор диспетчерской связи включается самостоятельные линии диспетчерской связи; линии (каналы), используемые совместно для диспетчерской и внутрипроизводственной телефонной связи (из числа индивидуальных линий или каналов производственных объектов, не имеющих права выхода на сеть телефонной связи общего пользования); соединительные линии к АТС, обслуживающей хозяйство; линии к ЦС при достаточном количестве соединительных линий между УС и ОС; выход к центральной радиостанции хозяйства (ЦРС).
6.34. Для организации диспетчерской телефонной связи с производственными объектами отделений (бригад), где установлена ГУ (ОС), необходимо создать отдельные линии (каналы) связи, используемые как для диспетчерской, так и для внутрипроизводственной телефонной связи.
6.35. В случае невозможности предоставления индивидуальных линий (каналов) для включения в диспетчерский коммутатор абонентских пунктов производственных объектов, отделений или бригад, где установлены ГУ (ОС), связь между этими объектами и диспетчером обеспечивается по сети ВПТС через сельскую АТС.
6.36. Связь абонентов ВПТС, имеющих право выхода на коммутируемую телефонную сеть ЕАСС, с диспетчером обеспечивается только через сельскую АТС, обслуживающую данное хозяйство.
6.37. Диспетчерская радиотелефонная связь (ДРС) центральных усадеб и отделений (бригад) организуется с подвижными, труднодоступными и удаленными производственными объектами по радиальному и радиально-кустовому принципу.
6.38. Все радиостанции сети диспетчерской радиотелефонной связи работают в одном канале. При этом в хозяйствах со сложной структурой управления радиостанции устанавливаются в конторах отделений и хозяйств. Абоненты могут вызвать как диспетчера центральной радиостанции, так и диспетчера-информатора своего отделения или любого абонента сети (при симплексной связи).
6.39. К сети ДРС можно подключать портативные радиостанции.
6.40. При значительной протяженности территории хозяйства, когда возникает необходимость увеличения дальности связи в заданном направлении, или на ограниченной территории, не соприкасающейся с основной территорией хозяйства, в случае невозможности применения наземных средств связи, используют отдельную вынесенную стационарную радиостанцию (СРС), соединенную линией проводной связи с пультом главного диспетчера, или отдельную коротковолновую (КB) или ультракоротковолновую (УКВ) линию радиосвязи по заданному направлению.
6.41. Радиотелефонная диспетчерская связь организуется на радиочастотах, определяемых в установленном порядке местными органами Государственной инспекции электросвязи.
6.42. До проектирования сетей диспетчерской радиосвязи необходимо составить планы частот на основе утвержденных в установленном порядке норм на минимально защищаемую напряженность поля на границе зоны обслуживания, защитное отношение и приведенные высоты антенны.
6.43. Сети диспетчерской радиотелефонной связи других сельскохозяйственных предприятий, а также строительных организаций должны строиться по тем же принципам, что и сети ДРС колхозов и совхозов.
ПРИНЦИПЫ ПОСТРОЕНИЯ СЕТИ ПЕРЕДАЧИ ИНФОРМАЦИИ ТЕХНОЛОГИЧЕСКОГО ХАРАКТЕРА
6.44. По физическим симметричным цепям тональной частоты, предоставляемым для передачи информации технологического характера и размещаемым в одном кабеле или на одном профиле воздушных линий связи, могут передаваться сигналы постоянного тока напряжением не более 60 В с длительностью импульсов не менее 40 м/с; переменного тока в полосе частот 0,3 - 3,4 кГц и напряжением не более 1,2 В.
6.45. При передаче сигналов телемеханики, телеконтроля и телеизмерений по высокочастотным каналам их допустимая мощность в точке нулевого относительного уровня не должна превышать 32 мкВт.
6.46. Сети учрежденческо-производственной телефонной связи должны строиться в соответствии с основными положениями, рекомендуемыми Центральным научно-исследовательским институтом связи Министерства связи СССР.
6.47. Сеть директорской связи организуется в центральных усадьбах крупных и средних колхозов и совхозов и других сельскохозяйственных предприятий. Она состоит из абонентских линий, включаемых в коммутатор директорской связи. Директорский коммутатор может иметь соединительные линии с АТС, обслуживающей данное хозяйство (предприятие), и диспетчерским коммутатором.
ТЕХНИЧЕСКИЕ СРЕДСТВА, РЕКОМЕНДУЕМЫЕ ДЛЯ ОРГАНИЗАЦИИ СВЯЗИ В СЕЛЬСКОЙ МЕСТНОСТИ
6.48. Технические средства для телефонной связи общего пользования (СТС) назначаются органами Министерства связи СССР и указываются в технических условиях, выдаваемых проектировщикам или заказчикам на строительство.
6.49. Для СТС применяются автоматические телефонные станции координатной системы АТСК-50/200 и АТСК-100/2000. В обозначении указаны минимальная и максимальная предельные емкости, на которые может быть смонтирована станция.
6.50. Внутрипроизводственная телефонная связь колхозов, совхозов и других сельскохозяйственных предприятий строится на основе аналогичной аппаратуры, используемой на СТС.
6.51. Для обеспечения связи небольших групп абонентов, удаленных от АТС, применяется групповая установка ГУ-20М.
6.52. Сельские АТС и групповая установка рассчитаны на эксплуатацию без постоянного обслуживающего персонала. Контроль за ними осуществляется дистанционно из центральной или узловой АТС.
6.53. Для диспетчерской телефонной связи (ДТС) используют коммутаторы общепромышленные «Псков», «Миг», «Кром», «Кристалл», «Каскад» и т.д.
6.54. Линейные сооружения связи подразделяются на абонентские линии, прокладываемые от телефонной станции до абонентских аппаратов, и соединительные линии, организуемые между телефонными станциями.
6.55. В качестве абонентских линий используют кабели марки ПРППМ с жилами диаметром 0,8; 1 и 1,2 мм, прокладываемые в грунте, а также стальные провода ПСО диаметром 3 мм, подвешиваемые на опорах линии связи. При этом расстояние до абонентов, включаемых в сельских АТС, не должно превышать: для кабельных линий с жилой диаметром 1,2 мм - 15 км; для воздушных линий с проводом ПСО диаметром 3 мм - 25 км.
6.56. На соединительных линиях между станциями рекомендуется использовать аппаратуру ВЧ уплотнения: В-2-2, В-3-3с - для воздушных стальных цепей; В-12-3, КИК-6 - для воздушных цветных цепей; КНК-12, ИКМ-12, ИКМ-15 - для кабельных линий с кабелем КСППБ 1×4×1,2.
При этом воздушным стальным линиям организуются 3 - 4 канала на расстояние 30 - 75 км, по воздушным цветным цепям - 12 каналов на расстояние более 200 км, по кабельным линиям - соответственно 6 или 12 каналов на расстояние до 75 км.
6.57. Для диспетчерской радиосвязи используют коротковолновые и ультракоротковолновые радиостанции.
6.58. Для внутрипроизводственной радиосвязи широкое применение нашли УКВ радиостанции «Вилия» (стационарная - 64РТС-А2-4М, возимая - 63РТМ-А2-ЧМ) и «Лен» (стационарная IP21C-4, возимая IP21B-3).
В исключительных случаях при большой разработанности и удаленности объектов, входящих в хозяйство, могут быть рекомендованы радиостанции КВ-диапазона «Гроза-2» (30РТ-5-2-ОМ), «Полоса-2» (28РТ-50-2-ОМ), «Ангара-1» (2Р2а).
6.59. Поисковая (оповестительная) радиосвязь применяется для обслуживания производственных участков, где персонал по характеру своей деятельности вынужден часто перемещаться (машинный двор, гараж, зерноприемые и заготовительные пункты и т.д.). Для поисковой связи используют радиотрансляционные установки ТУ-100.У.42, ТУ-100 БУ.4.2 и рупорные громкоговорители различной мощности. В отдельных случаях целесообразно использовать установки производственной громкоговорящей связи ПГС-10, ПГС-3, позволяющие вести двусторонний разговор с диспетчером и переговоры между рабочими местами участка.
РАЗМЕЩЕНИЕ СРЕДСТВ СВЯЗИ
6.60. Станционные сооружения средств связи рекомендуется размещать, как правило, в кооперированных зданиях общественных центров колхозов и совхозов.
6.61. Станционные сооружения средств связи общего пользования располагают рядом с почтой.
6.62. Станции внутрипроизводственной и диспетчерской связи всех видов рекомендуется размещать в конторе правления колхоза или дирекции совхоза или вблизи от них.
6.63. При наличии в одном населенном пункте средств связи общего пользования и внутрипроизводственной связи предпочтительно, чтобы они находились в непосредственной близости друг от друга.
6.64. Минимальные размеры помещений для АТС должны быть не менее следующих:
|
АТС |
Емкость в номерах |
||||||
|
50 |
100 |
200 |
300 |
600 |
1000 |
2000 |
|
|
Общая площадь, м2 |
15 |
20 |
25 |
30 |
45 |
80 |
200 |
6.65. В сельских АТС, групповых установках, радиотрансляционных узлах, как правило, предусмотрен контроль за работой из центральной станции.
6.66. Радиотрансляционные установки колхозов и совхозов получают трансляцию программ и команды на включение и отключение аппаратуры из районного радиотрансляционного узла.
6.67. Перечень действующих типовых проектов, типовых, нормативных и справочных материалов по вопросам сельской связи приведен в прил. 6.
Рассматриваются два варианта схем электроснабжения поселка для приготовления пищи в жилом секторе на газовых плитах либо на электроплитах. В общественном секторе для обоих вариантов приняты электроплиты (рис. 5).
Характеристика поселка
Население, чел. 1580
Обеспеченность общей площадью жилого фонда, м2/чел. 18
Общая площадь жилого фонда поселка, м2 28440
Плотность жилого фонда, м2/га 259
Нормы электрических нагрузок на жилые здания приняты по пп. 2.4 и 2.5; на общественные здания - по прил. 2.
С точки зрения обеспечения надежности и бесперебойности электроснабжения, потребители коммунально-бытового сектора относятся ко II и III категориям. Для потребителей II категории (котельная, насосная, детский сад-ясли с электрифицированным пищеблоком и др.) предусматривается резервное питание напряжением 0,4 кВ от другой трансформаторной подстанции.
Сеть напряжением 10 кВ проектируется по петлевой схеме, воздушной, на деревянных опорах с железобетонными приставками и проводом АС-95. Сеть напряжением 0,4 кВ также воздушная, радиальная на опорах; подвеска осуществляется совместно с сетью уличного освещения.
Сечения проводов сети напряжением 10 кВ выбраны по экономической плотности тока и проверены на нагрев током в аварийном режиме и на термическую устойчивость к току трехфазного короткого замыкания.
Электрические нагрузки и трансформаторная мощность для рассмотренных вариантов приведены в табл. 11 и 12, технико-экономические показатели схемы электроснабжения поселка (рис. 6) по запроектированным вариантам даны в табл. 13.
Пример выполнения сетей связи и сигнализации (на стадии ТЭО)
Для рассматриваемого поселка разработан один вариант телефонизации и радиофикации центральной усадьбы и промышленной зоны (рис. 7).
Тип станционного оборудования выбирают исходя из обеспечения всеми видами связи и сигнализации абонентов поселка и производственной зоны с возможностью расширения емкости запроектированного оборудования на расчетный период строительства.
В проекте рассматриваются следующие виды связи: телефонизация; радиофикация; пожарная сигнализация; наружные сети связи и радиофикация; внешние линии связи.
Телефонизация поселка предусматривается от телефонной станции координатной системы АТСК-100/2000 емкостью 300 номеров, размещаемой в помещении узла связи в центре поселка.
Емкость телефонной станции определена на основании нормы телефонной плотности Министерства связи СССР для центральных усадеб, составляющей 16 телефонов на 100 жителей с учетом производственной зоны.
Рис. 6. План сети напряжением 10 кВ
1 - зона одноэтажной застройки; 2 - зона двухэтажной застройки; 3 - зона трехэтажной застройки; 4 - общественные и коммунальные здания; 5 - воздушная линия 10 кВ; 6 - трансформаторная подстанция 10/0,4 кВ; 7 - производственные здания
Таблица 11
|
Количество, шт. |
Электрическая нагрузка присоединенная, кВт |
Коэффициент несовпадения максимумов нагрузки |
Электрическая нагрузка расчетная, кВт |
Выбранная трансформаторная подстанция |
|
|
ТП № 1 |
Типовой проект 407-3-288 В-21-160М4 с трансформатором мощностью 100 кВ ∙ А; коэффициент загрузки 0,77 |
||||
|
Жилые дома деревянные |
34 |
61,2 |
0,35 |
21,4 |
|
|
Индивидуальные каменные одноквартирные дома |
42 |
168 |
0,29 |
48,8 |
|
|
Итого |
76 |
229,2 |
- |
70,2 |
|
|
ТП № 2 |
То же, с трансформатором мощностью 63 кВ ∙ А; коэффициент загрузки 0,97 |
||||
|
Жилые дома деревянные |
48 |
36,4 |
0,3 |
25,9 |
|
|
Индивидуальные каменные одноквартирные дома |
18 |
72 |
0,35 |
25,2 |
|
|
Магазин продовольственный на 2 рабочих места |
1 |
5 |
1 |
5 |
|
|
Итого |
67 |
163,4 |
- |
56,1 |
|
|
ТП № 3 |
То же, с трансформатором мощностью 100 кВ ∙ А; коэффициент загрузки 0,8 |
||||
|
Жилые дома деревянные |
61 |
109,8 |
0,29 |
31,7 |
|
|
Индивидуальные каменные жилые дома |
19 |
76 |
0,36 |
27,3 |
|
|
Детский сад-ясли на 90 мест |
1 |
14 |
1 |
14 |
|
|
Итого |
81 |
199,9 |
- |
73 |
|
|
ТП № 4 |
То же, с трансформатором мощностью 160 кВ ∙ А; коэффициент загрузки 0,8 |
||||
|
Жилые дома деревянные |
14 |
25,2 |
0,4 |
10 |
|
|
Индивидуальные каменные одноквартирные жилые дома и дома с квартирами в двух уровнях |
2 |
8 |
0,75 |
6 |
|
|
9-квартирные секционные жилые дома |
3 |
108 |
0,66 |
71,4 |
|
|
АТС со сберкассой |
1 |
|
0,85 |
29,6 |
|
|
Торговый центр |
1 |
||||
|
Итого |
21 |
176 |
- |
117 |
|
|
ТП № 5 |
То же, с трансформатором мощностью 100 кВ ∙ А; коэффициент загрузки 0,95 |
||||
|
Жилые дома деревянные |
27 |
48,6 |
0,35 |
17 |
|
|
Индивидуальные каменные и другие одноквартирные жилые дома |
18 |
112 |
0,37 |
41,4 |
|
|
Котельная |
1 |
|
|||
|
Баня на 10 мест с прачечной |
1 |
0,8 |
28,2 |
||
|
Пожарное депо |
1 |
||||
|
Итого |
48 |
196 |
- |
86,6 |
|
|
ТП № 6 |
То же, с трансформатором мощностью 63 кВ ∙ А; коэффициент загрузки 0,99 |
||||
|
Жилые дома деревянные |
17 |
30,4 |
0,38 |
11,5 |
|
|
Индивидуальные каменные и другие одноквартирные жилые дома и дома с квартирами в двух уровнях |
40 |
160 |
0,29 |
46,4 |
|
|
Итого |
57 |
190,4 |
- |
57,9 |
|
|
ТП № 7 |
То же, с трансформатором мощностью 63 кВ ∙ А; коэффициент загрузки 0,97 |
||||
|
Жилые дома деревянные |
38 |
68,4 |
0,33 |
22,6 |
|
|
Индивидуальные одноквартирные каменные жилые дома |
26 |
104 |
0,32 |
33,2 |
|
|
Итого |
52 |
172,4 |
- |
55,8 |
|
|
ТП № 8 |
То же, с трансформатором мощностью 40 кВ ∙ А; коэффициент загрузки 0,98 |
||||
|
Жилые дома деревянные |
27 |
48,6 |
0,36 |
17,4 |
|
|
Индивидуальные каменные одноквартирные жилые дома |
13 |
52 |
0,36 |
18,5 |
|
|
Итого |
40 |
100,6 |
- |
35,9 |
|
|
ТП № 9 |
То же, с трансформатором мощностью 2´40 кВ ∙ А; коэффициент загрузки 0,89 |
||||
|
Ремонтно-механический двор |
1 |
45 |
1 |
45 |
|
|
Итого |
1 |
45 |
45 |
||
|
ТП № 10 |
Типовой проект 407-3-108М4 с двумя трансформаторами мощностью то 160 кВ ∙ А каждый; коэффициент загрузки 0,62 |
||||
|
Ферма крупного рогатого скота (на 1000 коров) |
1 |
180 |
1 |
180 |
|
|
Итого |
1 |
180 |
- |
180 |
|
|
Всего |
458 |
1685,2 |
- |
777,5 |
1002 |
|
Средний коэффициент загрузки трансформаторов 0,85 |
Таблица 12
|
Количество, шт. |
Электрическая нагрузка присоединенная, кВт |
Коэффициент несовпадения максимумов нагрузки |
Электрическая нагрузка расчетная, кВт |
Выбранная трансформаторная подстанция |
|
|
ТП № 1 |
Типовой проект 407-3-288 В-21-160М4. мощность трансформатора 160 кВ ∙ А; коэффициент загрузки 0,77 |
||||
|
Жилые дома |
76 |
456 |
0,25 |
114 |
|
|
Итого |
76 |
456 |
- |
114 |
|
|
ТП № 2 |
То же, с трансформатором мощностью 160 кВ ∙ А; коэффициент загрузки 0,73 |
||||
|
Жилые дома |
66 |
396 |
0,26 |
102,9 |
|
|
Магазин продовольственный на 2 рабочих места |
1 |
5 |
1 |
5 |
|
|
Итого |
67 |
401 |
- |
107,9 |
|
|
ТП № 3 |
То же, с трансформатором мощностью 160 кВ ∙ А; коэффициент загрузки 0,91 |
||||
|
Жилые дома |
80 |
480 |
0,25 |
120 |
|
|
Детский сад-ясли на 90 мест |
1 |
14 |
1 |
14 |
|
|
Итого |
81 |
494 |
- |
134 |
|
|
ТП № 4 |
То же, с трансформатором мощностью 160 кВ ∙ А; коэффициент загрузки 0,8 |
||||
|
Жилые дома |
19 |
258 |
0,34 |
87,7 |
|
|
АТС со сберкассой |
1 |
10 |
0,85 |
29,6 |
|
|
Торговый центр |
1 |
25 |
|||
|
Итого |
21 |
293 |
- |
117,3 |
|
|
ТП № 5 |
Типовой проект В-42 400М3 407-3-108 с двумя трансформаторами мощностью по 63 кВ ∙ А; коэффициент загрузки 0,91 |
||||
|
Жилые дома |
45 |
270 |
0,29 |
78,3 |
|
|
Котельная |
1 |
28 |
0,8 |
28,2 |
|
|
Баня на 10 мест с прачечной |
1 |
7 |
|||
|
Пожарное депо |
1 |
0,4 |
|||
|
ТП № 6 |
В-21-160 М4 по типовому проекту 407-3-288 с трансформатором мощностью 100 кВ ∙ А; коэффициент загрузки 0,97 |
||||
|
Жилые дома |
57 |
342 |
0,26 |
88,9 |
|
|
Итого |
57 |
342 |
- |
88,9 |
|
|
ТП № 7 |
|||||
|
Жилые дома |
64 |
384 |
0,25 |
96 |
То же, с трансформатором мощностью 100 кВ ∙ А; коэффициент загрузки 1 |
|
Итого |
64 |
384 |
- |
96 |
|
|
ТП № 8 |
|||||
|
Жилые дома |
50 |
300 |
0,27 |
81 |
То же, с трансформатором мощностью 100 кВ ∙ А; коэффициент загрузки 0,88 |
|
Итого |
50 |
300 |
- |
81 |
|
|
ТП № 9 |
|||||
|
Ремонтно-механический двор |
1 |
45 |
1 |
45 |
Типовой проект 407-3-108/75 В-42-400 М4 с двумя трансформаторами мощностью по 2×40 кВ ∙ А; коэффициент загрузки 0,89 |
|
Итого |
1 |
45 |
1 |
45 |
|
|
ТП № 10 |
|||||
|
Ферма крупного рогатого скота (1000 коров) |
1 |
180 |
1 |
180 |
Типовой проект 407-3-108/75 В-42-400 М3 с двумя трансформаторами мощностью по 160 кВ ∙ А каждый; коэффициент загрузки 0,62 |
|
Итого |
1 |
190 |
1 |
190 |
|
|
Всего |
458 |
3200 |
- |
1070,6 |
|
|
Средний коэффициент загрузки трансформаторов |
0,81 |
Таблица 13
|
I вариант |
II вариант |
|
|
Общие показатели |
||
|
Суммарная электрическая нагрузка, кВт |
780 |
1100 |
|
Суммарная установленная мощность трансформаторов напряжением 10/0,4 кВ, кВ ∙ А |
1089 |
1466 |
|
Протяженность сети напряжением 10 кВ, км |
10 |
10 |
|
То же, напряжением 0,4 кВ, км |
16 |
18 |
|
Суммарные капиталовложения, тыс. руб. |
192,4 |
211,4 |
|
Удельные показатели |
||
|
Капиталовложения, руб./чел. |
122 |
134 |
Примечание. Вариант I - приготовление пищи в жилом секторе на газовых плитах; вариант II - на электроплитах.
На перспективу предусматривается расширение телефонной станции до 400 номеров.
Телефонная сеть поселка по основным направлениям от АТС запроектирована в телефонной канализации из асбестоцементных труб диаметром 100 мм с устройством -на трассе железобетонных колодцев малого типа.
На территории производственной зоны и к отдельно стоящим зданиям телефонная сеть выполняется бронированными кабелями, прокладываемыми в траншее.
Радиофикация предусматривается от станции радиотрансляционного узла ТУПВ-0,25×2 из расчета 100-процентного охвата радиовещанием жилых, общественных и производственных зданий.
Включение ТУПВ-0,25×2 производится дистанционно из районного радиоузла посредством подачи сигналов телеуправления.
Радиотрансляционная сеть - воздушная на стойках из труб и опорах линии радиофикации.
Для ведения местных радиопередач используется 6-й фидер ТУПВ-0,25×2.
Пожарная сигнализация (ПС) предусматривается от концентратора сигнально-пускового ППС-3, устанавливаемого в помещении пожарного поста (с круглосуточным дежурством).
Рис. 7. Схема телефонной и радиотрансляционной сети
1 - зона одноэтажной застройки; 2 - зона двухэтажной застройки; 3 - зона трехэтажной застройки; 4 - общественные и коммунальные здания; 5 - производственные здания; 6 - узел связи; 7 - шкаф телефонный распределительный; 8 - линии связи; 9 - линии радиофикации
В сеть пожарной сигнализации включаются здания производственной зоны, склады, гаражи, мастерские, животноводческие фермы, здания общественного назначения.
ППС-3 является потребителем I категории, поэтому при отсутствии фидера I категории необходимо использовать аккумуляторную батарею напряжением 24 В.
Сеть ПС выполняется комплексно с телефонной сетью. От ППС-3 на кросс АТС подается соединительный кабель.
В приведенном примере для связи поселка с районным центром используется кабельная линия связи, уплотненная аппаратурой ИКМ-15, которая устанавливается в помещении автозала АТС.
Основные технико-экономические показатели даны в табл. 14.
Таблица 14
|
Количество |
Стоимость, тыс. руб. |
||||||
|
всего |
в том числе |
единицы |
общая |
в том числе |
|||
|
на 1 очередь |
на расчетный счет |
на 1 очередь |
на расчетный срок |
||||
|
Автоматическая телефонная станция координатной системы АТСК-100/2000, номер |
400 |
300 |
100 |
0,025 |
10 |
7,5 |
2,5 |
|
Радиотрансляционный узел ТУПВ-0,25×2, кВт |
0,5 |
0,5 |
- |
1,4 |
0,7 |
0,7 |
- |
|
Пожарная сигнализация, номер |
50 |
50 |
- |
0,036 |
1,8 |
1,8 |
- |
|
Наружные сети, км: |
|||||||
|
телефонной связи |
4,4 |
2,6 |
1,8 |
0,598 |
2,64 |
1,56 |
1,08 |
|
радиофикации |
6,4 |
2,8 |
3,6 |
0,449 |
3,2 |
1,40 |
1,80 |
|
телефонной канализации |
2 |
1.6 |
0,4 |
2,78 |
5,58 |
4,48 |
1,1 |
|
Аппаратура уплотнения ИКМ-15, канал |
15 |
15 |
- |
2,0 |
30 |
30 |
- |
|
Итого |
53,92 |
47,44 |
6,48 |
||||
Перечень действующих типовых проектов по состоянию на 1 января 1983 г.
|
Номер типового проекта |
Наименование |
Организация-разработчик проекта |
|
Трансформаторные подстанции |
||
|
407-3-1×68 |
Однофазная трансформаторная подстанция напряжением 10/0,23 кВ, мощностью до 10 кВ ∙ А (на деревянных опорах) |
Сельэнергопроект |
|
507-3-2/70 |
Однофазная трансформаторная подстанция напряжением 10/0,23 кВ, мощностью до 10 кВ ∙ А (на железобетонных опорах) |
То же |
|
407-3-18, тип I |
Трансформаторная подстанция напряжением 20/0,4 кВ, с одним трансформатором мощностью до 400 кВ ∙ А (закрытый тип) |
Украинское отделение Сельэнергопроекта |
|
407-3-284 |
Трансформаторная подстанция закрытого типа напряжением 20/0,4 кВ, с двумя трансформаторами мощностью до 400 кВ ∙ А, с кабельными вводами. Расчетная температура наружного воздуха -30 °С. Стены из кирпича |
Сельэнергопроект |
|
407-3-286 |
Трансформаторная подстанция с тремя кабельными вводами 10(6) кВ на один трансформатор мощностью до 400 кВ ∙ А. Тип К-31-400 М4 (закрытый). Расчетная температура наружного воздуха -40 °С. Стены из кирпича |
Гипрокоммунэнерго |
|
407-3-288 |
Трансформаторная подстанция с двумя воздушными вводами 10(6) кВ на один трансформатор мощностью до 160 кВ ∙ А. Тип В-21-160 М4 (закрытый). Расчетная температура наружного воздуха до -40 °С. Стены из кирпича |
То же |
|
407-3-289 |
Трансформаторная подстанция с четырьмя воздушными вводами 10(6) кВ на один трансформатор мощностью до 400 кВ ∙ А. Тип В-42-400 М4 (закрытый). Расчетная температура наружного воздуха до -40 °С. Стены из кирпича |
» |
|
407-3-230 |
Понижающая трансформаторная подстанция напряжением 35/10 кВ с мощностью трансформаторов до 6300 кВ ∙ А (открытый тип) |
Сельэнергопроект |
|
407-3-313 |
Понижающая трансформаторная подстанция напряжением 35/0,4 кВ из железобетонных конструкций, мощностью 100 кВ ∙ А для электрификации сельского хозяйства (открытый тип). Расчетная температура наружного воздуха -45 °С |
То же |
|
407-3-215 |
Установка комплектных трансформаторных подстанций напряжением 10/0,4 кВ, мощностью до 630 кВ ∙ А (единый металлический блок) |
» |
|
407-3-226 |
Установка комплектных трансформаторных подстанций напряжением 10/0,4 кВ с воздушными вводами проходного типа мощностью до 630 кВ ∙ А (единый металлический блок) |
» |
|
407-3-227 |
Установка комплектных трансформаторных подстанций напряжением 10/0,4 кВ с воздушными вводами проходного типа мощностью до 2×630 кВ ∙ А (2 металлических блока) |
» |
|
407-3-139/77 |
Установка комплектных трансформаторных подстанций напряжением 10/0,4 кВ мощностью 400 и 630 кВ ∙ А (металлический блок) |
» |
|
407-03-285 |
Установка и подключение комплектных трансформаторных подстанций (КТП) мощностью до 400 - 630 кВ ∙ А к линиям электропередачи напряжением 6 - 10 кВ (открытый тип) |
Трансэлектропроект |
|
407-3-233 |
Секционирующие пункты и пункты АВР для ВЛ 10 кВ на базе шкафов КРУН-10 серии К-36 (шкаф КРУН устанавливают на железобетонном фундаменте, трансформатор - на анкерных опорах) |
Сельэнергопроект |
|
407-0-154 |
Схемы вторичных соединений подстанций напряжением 35/6 - 10 кВ |
То же |
|
407-3-213 |
Закрытое распределительное устройство ЗРУ 6 - 10 кВ трансформаторных подстанций напряжением 110-35/6-10 кВ (сборные железобетонные элементы) |
Сельэнергопроект |
|
Опоры и приставки, разъединительные и распределительные пункты воздушных электрических линий |
||
|
Деревянные опоры ВЛ 0,38 кВ для уличного освещения сельских населенных пунктов |
То же |
|
|
3.407-128 |
Железобетонные опоры ВЛ 0,38 кВ для освещения сельских населенных пунктов |
» |
|
Унифицированные деревянные опоры ВЛ 0,4 и 6 - 10 кВ для особо гололедных районов и районов с повышенными скоростями ветра |
» |
|
|
3.407-122 |
Опоры ВЛ 0,4 кВ на базе железобетонных вибрированных стоек |
» |
|
3.407-121 |
Железобетонные опоры для совместной подвески проводов ВЛ 0,4 - 10 кВ |
» |
|
Опоры воздушных линий электропередачи напряжением 6 - 10, 20 кВ (предварительно напряженные железобетонные вибрированные стойки) |
» |
|
|
Унифицированные опоры ВЛ 0,4 - 20 кВ (деревянные) |
» |
|
|
Унифицированные опоры воздушных линий электропередачи для совместной подвески проводов напряжением 0,4 и 6 - 10 кВ (деревянные) |
» |
|
|
Опоры воздушных линий электропередачи напряжением до 1,6 - 10 кВ для районов вечной мерзлоты (деревянные) |
» |
|
|
Опоры ВЛ 6 - 10 кВ для переходов через инженерные сооружения в районах вечной мерзлоты (деревянные) |
» |
|
|
3.407-66/71 |
Опоры воздушных линий электропередачи 6 - 10 кВ для горных условий (деревянные) |
» |
|
3.407-130 |
Унифицированные железобетонные опоры одноцепных ВЛ 6 - 10, 20 кВ для переходов через инженерные сооружения |
» |
|
3.407.2-132 |
Металлические опоры воздушных линий электропередачи напряжением 6 - 10 и 35 кВ с малыми сечениями проводов для переходов через инженерные сооружения |
» |
|
3.407-33, вып. 1, 2 |
Унифицированные опоры для воздушных линий электропередачи напряжением 35 кВ со штыревыми изоляторами (железобетонные вибрирование) |
» |
|
3.407-57/72 |
Приставки для воздушных линий электропередачи напряжением до 35 кВ и связи (железобетонные) |
» |
|
Заземляющие устройства опор ВЛ 0,4; 6 - 10; 20 и 35 кВ |
» |
|
|
3.407-253 |
Закрепления в грунтах железобетонных опор и деревянных опор на железобетонных приставках ВЛ 0,4 - 20 кВ |
» |
|
Вводы линий электропередачи до 1 кВ в здания |
» |
|
|
407.4-7/70 |
Разъединительные пункты для воздушных линий 10 кВ (на деревянных опорах с железобетонными или деревянными приставками) |
» |
|
407-4-44 |
Разъединительные пункты для воздушных линий 10 кВ (на железобетонных опорах) |
» |
|
407-4-45 |
Разъединительный пункт для воздушных линий 35 кВ (на железобетонных опорах) |
» |
|
Дизельные электростанции |
||
|
407-1-73 |
Резервные автоматизированные дизельные электростанции мощностью от 24 до 144 кВт, с одним и двумя агрегатами: ДГА-3-24М; ДГА-3-48М; ДГА-3-72М |
» |
Примечание. Перечисленные типовые проекты распространяет Свердловский филиал ЦИТП; типовой проект 407-03-285 - Трансэлектропроект.
|
Номер типового проекта |
Наименование |
Организация-разработчик проекта |
Организация, распространяющая проект** |
|
Связь |
|||
|
Сооружения сельских телефонных станций |
|||
|
602-0-10** |
Автоматические телефонные станции координатной системы усовершенствованные (АТСК-У) емкостью 1000 номеров (1-080-77). Проект используется в качестве пособия при: разработке проектно-сметной документации на строительство станционных сооружений, включая электропитающие устройства АТС из оборудования АТСК-У отечественного производства Сельские автоматические телефонные станции координатной системы АТСК-501200 |
Гипросвязь-2 |
Гипросвязь-2 |
|
Технологическая часть |
|||
|
602-35 |
Станция оконечная на 50 номеров с расширением до 100 номеров (1-005-30) |
То же |
То же |
|
602-76 |
То же, на 100 номеров с расширением до 200 номеров (1-005-21) |
» |
» |
|
602-14 |
Станция узловая емкостью 50 номеров с расширением до 100 номеров (1-005-18) |
» |
» |
|
602-2/68 |
То же, емкостью 100 номеров с расширением до 200 номеров (1-042-68) Сельские автоматические телефонные станции координатной системы АТСК-100/2000 |
» |
» |
|
Технологическая часть |
|||
|
602-31 |
Станция центральная емкостью 300 номеров (1-005-26) |
Гипросвязь-2 |
Гипросвязь-2 |
|
602-32/70 |
То же, емкостью 500 номеров (1-048-70) |
То же |
То же |
|
602-25 |
То же, емкостью 500 номеров с расширением до 1000 номеров (1-005-20) |
» |
» |
|
602-15 |
Станция узловая емкостью 800 номеров с расширением до 1500 номеров (1-005-19) Сельские автоматические телефонные станции координатной системы типа АТСК-100/2000 Технологическая часть |
||
|
602-27 |
Станция узловая емкостью 100 номеров (1-005-22) |
Гипросвязь-2 |
Гипросвязь-2 |
|
602-28 |
То же, емкостью 200 номеров (1-005-28) |
То же |
То же |
|
602-29 |
То же, емкостью 300 номеров (1-005-24) |
» |
» |
|
602-30 |
То же, емкостью 500 номеров (1-005-25) |
» |
» |
|
602-0-1* |
Связь сельской автоматической телефонной станции пригородной зоны с городской автоматической телефонной станцией (1-055-71) |
» |
» |
|
602-0-12* |
Установка и подключение катодной станции для защиты кабелей связи от коррозии (IV-076-79) |
Гипросвязь Срок действия 1985 г. |
Гипросвязь |
|
602-56 |
Сборный домик для узловых сельских автоматических телефонных станций координатной системы. Стены из железобетонных панелей многослойной конструкции с утеплением из фибролита заводского изготовления |
Проектно-конструкторский отдел Кировского производственно-технического узла связи Министерства связи СССР |
Гипросвязь-2 |
|
602-38 |
Междугородная телефонная станция типа М-60 емкостью 6/40 каналов. Технологическая часть (инв. № 543) |
Гипротранссигналсвязь |
Мосгипротранс |
|
602-16* |
Междугородная телефонная станция типа М-60 на 40 каналов с узлом полуавтоматической связи на 20 каналов (П-008-68) |
Гипросвязь |
Гипросвязь-2 |
|
602-46* |
Междугородная телефонная станция типа МРУ-М на 90 каналов с узлом полуавтоматической связи на 40 каналов (П-010-69) |
Гипросвязь |
Гипросвязь |
|
602-63 |
Подземный необслуживаемый усилительный пункт (НУП) линии связи с использованием кабеля емкостью 1´4, уплотняемой аппаратурой типа К-60п-4 (IV-057-74) |
То же |
Казахский филиал ЦИТП |
|
602-64 |
То же, с использованием кабеля емкостью 4´4 для аппаратуры К-60п (IV-069-78) |
» |
То же |
|
602-13/71 |
Вспомогательный усилительный пункт воздушной магистрали на 3 - 12-канальные системы (ДУП) (IV-049-71) |
» |
» |
|
602-20/71 |
Дополнительный усилительный пункт на 3 - 12-канальные системы (ДУП) (IV-049-71) |
» |
Гипросвязь |
|
Сооружения радиофикации |
|||
|
603-0-12* |
Опорная усилительная станция проводного вешания мощностью 10 - 20 кВт (V-035-80) |
» |
То же |
|
603-73 |
Станция радиотрансляционного узла с аппаратурой типа ТУ-1, мощностью 1,25 - 2,5 кВт (V-034-77) |
» |
Казахский филиал ЦИТП |
|
603-57 |
То же, мощностью 5 - 10 кВт (V-027-71) |
» |
То же |
|
603-58 |
То же, с аппаратурой ТУПВ-0,25×2 для сельских районов (V-028-71) |
» |
» |
|
603-25 |
Трансформаторная подстанция звуковой частоты мощностью 5 кВт, Технологическая часть (V-004-4) |
» |
» |
|
600-8* |
То же, одно- и трехпрограммного вещания городских и сельских радиотрансляционных узлов, Технологическая часть (V-005-5) |
» |
Гипросвязь |
|
603-0-16* |
Оборудование студий для районного, колхозного и совхозного радиовещания (материалы для проектирования) |
ГСПИ Министерства связи СССР |
Казахский филиал ЦИТП |
|
Здания сельских отделений связи |
|||
|
Для пунктов с населением до 500 чел. (СОС-1) |
|||
|
601-18 |
Вариант здания с кирпичными стенами и железобетонными перекрытиями (VII-052-13) |
Гипросвязь |
ЦИТП |
|
601-22 |
То же, в дереве (VII-035-69) |
То же |
То же |
|
601-27 |
Для пунктов с населением до 500 чел. (СОС-1а) |
||
|
Вариант здания в дереве (VII-038-68) |
» |
Гипросвязь |
|
|
То же, здания в кирпиче (VII-037-69) |
» |
ЦИТП |
|
|
601-23 |
Для пунктов с населением 500 - 2000 чел. (СОС-2) |
» |
|
|
601-50 |
Вариант с деревянными стенами (VII-036-69) То же, с кирпичными стенами (VII-061-76) |
» |
Казахский филиал ЦИТП |
|
601-51 |
Вариант со стенами из легкобетонных панелей (VII-062-76) |
То же |
|
|
601-52 |
Для пунктов с населением 2000 - 6000 чел. (СОС-3) |
||
|
Вариант с кирпичными стенами (VII-063-76) |
Гипросвязь |
» |
|
|
601-53 |
То же, со стенами из легкобетонных панелей |
То же |
» |
|
601-32с |
Сельское отделение связи с АТС на 300 номеров для строительства в районах сейсмичностью 7 - 8 баллов |
Узгипросельстрой |
Узгипросельстрой |
|
601-0-7* |
Условия выбора и привязки типовых проектов корпусов почтовой и электросвязи районных узлов связи (VII-059-75) |
Гипросвязь |
Гипросвязь |
|
601-0 |
Корпус почтовой связи районного узла связи с населением района 20 тыс. чел. при населении райцентра 5 тыс. чел. (КП-1-РУС) |
Гипросвязь |
Гипросвязь |
|
601-1 |
То же, с населением до 30 тыс. чел. при населении райцентра до 10 тыс. чел. (КП-2-РУС) (VII-051-74) |
То же |
То же |
|
601-46 |
То же, с населением до 40 тыс. чел. при населении райцентра до 20 тыс. чел. (КП-3-РУС) (VII-052-74) |
» |
» |
|
601-56 |
Районный узел связи для сельскохозяйственных областей СССР с населением райцентра до 5 тыс. чел. при населении района до 15 тыс. чел. (РУС-1cx) (VII-067-79) |
» |
Казахское отделение ЦИТП |
|
601-54 |
То же, с населением райцентра до 10 тыс. чел. при населении района до 30 000 чел. (РУС-2сх) (VII-065-77) |
» |
То же |
|
601-55 |
То же, с населением райцентра до 10 тыс. чел. при населении района до 30 тыс. чел. (РУС-2сх) (VII-066-79) |
» |
» |
|
601-49 |
То же, с населением райцентра до 10 тыс. чел. при населении района до 50 тыс. чел. (РУС-2 в одном объеме) (VII-060-76) |
» |
» |
|
601-59 |
Корпус электросвязи районного узла связи с населением района от 20 до 70 тыс. чел. при населении райцентра от 5 до 10 тыс. чел. (КЭ-2-РУС) (VII-055-74) |
» |
Гипросвязь |
|
601-39 |
То же, с населением района от 20 до 70 тыс. чел. при населении райцентра от 10 до 20 тыс. чел. (КЭ-3-РУС) (VII-056-74) |
» |
То же |
|
И-4-82 |
То же, с населением района 40 тыс. чел. при населении райцентра до 5 тыс. чел. (КЭ-1-РУС) (VII-057-74) |
» |
» |
_____________
** См. дополнительные сведения об организациях, включенных в перечень.
*** Знаком отмечены типовые проектные решения.
Дополнительные сведения об организациях
|
Наименование организации |
Адрес |
|
Центральный институт типового проектирования (ЦИТП) |
125878, ГСП, Москва, ул. Смольная, 22 тел. 457-23-39 |
|
Казахский филиал ЦИТП |
480070, Алма-Ата, ул. Джандосова, 2 тел. 44-54-10 |
|
Киевский филиал ЦИТП |
252057, Киев, ул. Эжена Потье, 12 тел. 46-81-56 |
|
Минский филиал ЦИТП |
220800, Минск, ул. Козлова, 2 тел. 27-08-31 |
|
Новосибирский филиал ЦИТП |
630064, Новосибирск, пр. К. Маркса, 1 тел. 46-42-75 |
|
Свердловский филиал ЦИТП |
620062, Свердловск областной, ВТУЗ-городок, ул. Генеральская, 2а тел, 51-85-27 |
|
Тбилисский филиал ЦИТП |
380019, Тбилиси, ул. Церетели, 115 тел. 51-83-93 |
|
ВНИПИ Теплопроект |
129327, Москва, ул. Коминтерна, 7, корп. 2 |
|
Гипрокоммунводоканал |
103012, Москва, Рыбный пер., 3 |
|
ГипроНИИгаз |
410000, Саратов, пр. Кирова, 54 |
|
Гипрогаз (новое название ВНИПИТрансгаз) |
252033, Киев, ул. Куйбышева, 20 |
|
Гипроводхоз |
129344, Москва, ул. Енисейская, 2 |
|
Гипрокоммунстрой |
107140, Москва, ул. Н. Красносельская, 28 |
|
Гипролестранс |
198103, Ленинград, 10-я Красноармейская, 19 |
|
Гипросельхоз |
121002, Москва, М. Могильцевский пер., 3 |
|
Гипросвязь |
101000, Москва, ул. Кирова, 40 |
|
Глпросвязь-2 |
193029, Ленинград, Б. Смоленский пр., 4 |
|
Гипросвязь-3 |
252000, Киев, ул. Соломенская, 3 |
|
Грузгипросельстрой |
380000, Тбилиси, пр. И. Чавчавадзе, 17 |
|
Горьковское отделение института Сантехпроект |
603000, Горький, ул. Дзержинского, 26 |
|
Киевское отделение института Теплоэлектропроект |
г. Киев, бульвар Шевченко, 68 |
|
Краснодарское отделение института Сельэнергопроект |
350028, Краснодар, Старо-Кубанская ул., 116 |
|
Латгипропром |
226000, г. Рига, ул. Ленина, 15 |
|
Ленинградский филиал института Энергомонтажпроект |
190000, Ленинград, ул. Марата, 78 |
|
Ленинградское отделение института Теплоэлектропроект |
Ленинград, Суворовский пр., 2а |
|
Мосинжпроект |
101000, Москва, Сверчков пер., 4/1 |
|
Мосгазпроект |
Москва, ул. Спартаковская, Д. 2а |
|
Мосгипротранс |
129278, Москва, ул. Павла Корчагина, 2 |
|
Проектный институт № 1 |
190000, Ленинград, пр. Майорова, д. 1/12 |
|
Союзгипролесхоз |
113812, Москва, ГСП-230, ул. Люсиновская, 44 |
|
Сельэнергопроект |
111395, Москва, Томилинская, 2 |
|
Сантехпроект |
105203, Москва, Нижне-Первомайская, 46 |
|
Союзкурортпроект |
113114, Москва, ул. Кожевническая, 8/2 |
|
Союзводоканалпроект |
117331, Москва, ГСП-1, пр. Вернадского, 29 |
|
Теплоэлектропроект |
107890, Москва, Спартаковская ул., д. 2а |
|
Таджикгипросельхозстрой |
734018, Душанбе, пр. Правды, д. 21 |
|
Укрводоканалпроект |
252137, Киев, бульвар Перова, Г |
|
Укргипрогорпромгаз (новое название Укргипроинжпроект) |
252054, Киев, Тургеневская ул., 38 |
|
Украинское отделение Сельэнергопроект |
252112, Киев, Дорогожицкая ул., д. 11/8 |
|
Укргипроэнерго |
252000, Киев, ул. Фрунзе, 85 |
|
Харьковский Водоканалпроект |
310072, Харьков, ул. Тобольская, 42 |
|
Харьковский ПромстройНИИпроект |
310022, Харьков, пл. Дзержинского, 8 |
|
ЦНИИЭП инженерного оборудования |
117279, Москва, Профсоюзная ул., д. 93а |
|
ЦПМ Главтранспроект |
107005, Москва, ул. Ольховская, д. 33 |
|
ЦНИИпроектстальконструкция |
117393, Москва, Новые Черемушки, квартал 28, инженерный корпус 2 |
|
ЮжНИИгипрогаз |
Донецк-66, обл., ул. Челюскинцев, 151 |
|
Гипросвязь-4 |
630122, г. Новосибирск, ул. 2-я Союза молодежи, 31 |
Рекомендуемая форма технических условий
|
Главному инженеру ______________________________________________________ На Ваш № __________________ от ________________ разрешается присоединение трансформаторной мощности _______________ кВ ∙ А к электросетям __________. ____________________________________________________ для электроснабжения по следующим техническим условиям: |
|
Содержание |
Исходные данные для проектирования |
|
Наименование мест подключения к электросетям: |
|
|
первого питания |
|
|
второго питания |
|
|
Напряжение питания, кВ |
|
|
Расстояние от места подключения до объекта по трассе, км: |
|
|
первого питания |
|
|
второго питания |
|
|
Рекомендуемый режим работы питающих линий: |
|
|
питание по одной линии, вторая - резерв |
|
|
питание по двум линиям раздельно на разные секции шин РП объекта с АВР на секционном выключателе |
|
|
параллельная работа линии с максимально направленной защитой |
|
|
Рекомендуемые сечения питающих линий с учетом перспективного роста нагрузок на 10 лет |
|
|
То же, распределительных линий с учетом перспективного роста нагрузок на 10 лет |
|
|
Мощность или ток короткого замыкания в местах подключения, кВ ∙ А; кА |
|
|
Характеристика и уставка защиты на источнике питания по току и времени |
|
|
Режим заземления нейтрали в сети напряжением 10 (6) кВ и величина тока однофазного замыкания на землю |
|
|
Рекомендуемые места установки счетчиков расчетного учета электроэнергии |
|
|
Тариф оплаты за электроэнергию |
|
|
Требуемые дополнительные согласования по схеме электроснабжения |
|
|
В случае присоединения к проектируемым или строящимся подстанциям (РУ) |
|
|
Срок ввода в эксплуатацию центра питания |
|
|
Объем работ по реконструкции и расширению существующих внешних сооружений электроснабжения, подлежащих включению в проект и сметно-финансовый расчет |
|
|
Перечень электрооборудования и материалов, требуемых для реконструкции или расширения существующих сооружений электроснабжения |
|
|
Наименование и номера чертежей, адрес проектной организации, разработавшей проект внешних сооружений электроснабжения, подлежащих реконструкции или расширению |
|
|
Установленное долевое участие по внешнему электроснабжению |
|
|
Особые условия |
|
|
Срок действия технических условий |
|
|
Почтовый адрес организации, выдавшей технические условия |
Нагрузки сельскохозяйственных потребителей производственного назначения и общественных зданий
|
Потребитель |
Электрическая нагрузка |
|
|
активная Р, кВт |
реактивная Q, кВар |
|
|
Производственные здания |
||
|
Животноводческие комплексы и фермы |
||
|
По откорму свиней на число голов: |
||
|
4000 |
45 |
40 |
|
6000 |
65 |
60 |
|
8000 |
105 |
90 |
|
10000 |
120 |
105 |
|
По выращиванию и откорму свиней (с законченным циклом) на число голов: |
||
|
3000 |
65 |
60 |
|
4000 |
90 |
80 |
|
6000 |
105 |
90 |
|
8000 |
120 |
105 |
|
10000 |
150 |
130 |
|
12000 |
310 |
320 |
|
24000 |
420 |
430 |
|
54000 |
520 |
520 |
|
108000 |
900 |
920 |
|
По откорму свиней с электрообогревом молодняка на число голов: |
||
|
3000 |
145 |
65 |
|
4000 |
185 |
80 |
|
6000 |
230 |
100 |
|
8000 |
270 |
115 |
|
10000 |
370 |
160 |
|
12000 |
460 |
195 |
|
Репродукторная свиноферма на число маток: |
||
|
200 |
35 |
25 |
|
400 |
50 |
40 |
|
По производству молока на число коров: |
||
|
200 |
25 |
20 |
|
400 |
105 |
90 |
|
600 |
140 |
125 |
|
800 |
165 |
145 |
|
1000 |
180 |
160 |
|
1200 |
220 |
195 |
|
1600 |
300 |
265 |
|
2000 |
375 |
330 |
|
Птицефабрика мясного направления на тыс. бройлеров: |
||
|
250 |
230 |
100 |
|
500 |
400 |
170 |
|
Птицеферма на тыс. кур-несушек: |
||
|
10 |
55 |
40 |
|
20 |
110 |
80 |
|
30 |
150 |
115 |
|
40 |
180 |
135 |
|
50 |
280 |
210 |
|
Птицефабрика мясного направления на тыс. индюшек: |
||
|
250 |
1450 |
900 |
|
500 |
2050 |
1250 |
|
1000 |
2500 |
1550 |
|
Птицефабрика на 500 тыс. гусят в год |
3210 |
2000 |
|
Птицеферма выращивания и откорма индюшат, тыс. в год: |
||
|
50 (без инкубаторов) |
110 |
80 |
|
100 (с инкубаторами) |
395 |
290 |
|
По выращиванию и откорму крупного рогатого скота на число коров: |
||
|
5000 |
260 |
230 |
|
10000 |
340 |
300 |
|
Площадка по откорму крупного рогатого скота на число ското-мест: |
||
|
1000 |
25 |
20 |
|
2000 |
45 |
40 |
|
3000 |
60 |
50 |
|
4000 |
75 |
65 |
|
6000 |
90 |
80 |
|
10000 |
110 |
95 |
|
20000 |
190 |
170 |
|
30000 |
225 |
240 |
|
По выращиванию нетелей на число ското-мест: |
||
|
3000 |
200 |
170 |
|
6000 |
320 |
240 |
|
Птицефабрика по производству яиц на тыс. кур-несушек: |
1350 |
1000 |
|
400 |
1850 |
1400 |
|
Птицеферма на 125 тыс. гусят бройлеров: |
||
|
с родительским стадом |
800 |
640 |
|
без родительского стада |
170 |
135 |
|
Ферма выращивания уток, на тыс. утят: |
||
|
12 |
35 |
25 |
|
15 |
45 |
20 |
|
30 |
75 |
30 |
|
65 |
90 |
38 |
|
125 |
95 |
40 |
|
Овцеводческая ферма с полным оборотом стада на число овцематок: |
||
|
2400 |
145 |
110 |
|
3000 |
165 |
125 |
|
5000 |
240 |
180 |
|
Овцеводческие племенные фермы на число маток: |
||
|
5000 |
370 |
260 |
|
10000 |
630 |
450 |
|
Овцеферма мясомолочного направления на число овец |
||
|
5000 |
15 |
12 |
|
10000 |
20 |
5 |
|
15000 |
25 |
7 |
|
Кролеферма (содержание в открытых шедах) на число маток: |
||
|
1200 |
60 |
45 |
|
2400 |
135 |
100 |
|
Звероферма (песцовая, лисья, соболиная) на 1500 - 1800 самок |
10 |
5 |
|
Кумысная ферма на число кобылиц: |
||
|
50 |
25 |
12 |
|
100 |
30 |
15 |
|
150 |
40 |
20 |
|
Животноводство и птицеводство |
||
|
Коровник без механизации процессов на число коров: |
||
|
100 |
4 |
- |
|
200 |
6 |
- |
|
То же, с электроводонагревателем на число коров: |
||
|
100 |
10 |
- |
|
200 |
18 |
|
|
То же, привязного содержания с механизированной уборкой навоза на число коров: |
||
|
100 |
4 |
4 |
|
200 |
6 |
6 |
|
То же, с электроводонагревателем на число коров: |
||
|
100 |
9 |
8 |
|
200 |
15 |
13 |
|
То же, привязного содержания с механизированным доением, уборкой навоза и электроводонагревателем на число коров: |
||
|
100 |
10 |
8 |
|
200 |
17 |
13 |
|
400 |
45 |
33 |
|
То же, беспривязного содержания на число коров: |
||
|
400 |
5 |
- |
|
600 |
7 |
- |
|
Помещение для ремонтного и откормочного молодняка на число голов: |
||
|
170 - 180 |
3 |
- |
|
240 - 260 |
5 |
- |
|
То же, с механизированной уборкой навоза на число голов: |
||
|
170 - 180 |
7 |
5 |
|
240 - 260 |
8 |
6 |
|
300 - 330 |
13 |
9 |
|
Телятник с родильным отделением на число телят: |
||
|
120 |
8 |
5 |
|
230 |
10 |
6 |
|
340 |
12 |
8 |
|
Родильное отделение с профилакторием на число мест: |
||
|
48 |
20 |
15 |
|
72 |
27 |
20 |
|
96 |
30 |
22 |
|
Летний лагерь крупного рогатого скота на число коров: |
||
|
200 |
12 |
10 |
|
400 |
15 |
12 |
|
Летний лагерь с молочным блоком на число коров: |
||
|
200 |
14 |
12 |
|
400 |
19 |
17 |
|
Летний лагерь молодняка крупного рогатого скота на 400 - 500 голов |
5 |
- |
|
Кормоцех фермы крупного рогатого скота на 800 - 1000 голов |
50 |
45 |
|
Молочный блок при коровнике на т/сут: |
||
|
3 |
15 |
15 |
|
6 |
20 |
20 |
|
Кормоприготовительная при коровнике |
6 |
5 |
|
Свинарник-маточник на 50 маток (подвесная дорога) |
2 |
- |
|
То же, с навозоуборочным транспортером |
5 |
5 |
|
То же, с теплогенератором |
10 |
6 |
|
То же, с электрообогревом |
28 |
8 |
|
То же, на 100 маток (подвесная дорога) |
7 |
- |
|
То же, с навозоуборочным транспортером |
5 |
4 |
|
То же, с теплогенератором |
8 |
6 |
|
То же, с электрообогревом |
55 |
15 |
|
Свинарник-откормочник на 1000 - 1200 голов |
6 |
- |
|
То же, с навозоуборочным транспортером |
9 |
8 |
|
Кормоцех для свинофермы: |
||
|
на 100 маток и 1000 голов откорма или на 2000 голов откорма |
10 |
7 |
|
на 200 маток и 2000 голов откорма или на 3000 голов откорма |
15 |
10 |
|
на 300 маток и 3000 голов откорма или на 6000 голов откорма |
15 |
10 |
|
Кормоцех на 12 тыс. свиней |
20 |
15 |
|
Птичник: |
||
|
на 6 - 9 тыс. цыплят |
25 |
7 |
|
на 15 - 20 тыс. цыплят |
30 |
10 |
|
на 7 тыс. молодняка |
10 |
4 |
|
на 10 - 12 тыс. » |
20 |
5 |
|
на 5 - 6 тыс. кур |
20 |
10 |
|
на 8 » » |
25 |
12 |
|
Птичник с клеточными батареями на тыс. кур-несушек: |
||
|
10 - 15 |
15 |
10 |
|
20 |
20 |
13 |
|
Кормоцех птицефермы на 25 - 30 тыс. кур |
10 |
7 |
|
Навесы для выращивания 4 - 8 тыс. утят |
2 |
- |
|
Птичник, на тыс. утят |
||
|
3 |
10 |
5 |
|
5 |
20 |
10 |
|
Птичник на 2 тыс. индеек маточного стада |
10 |
5 |
|
Цех для выращивания 14 тыс. индюшат |
30 |
15 |
|
Птичник для выращивания гусят-бройлеров: |
||
|
3300 |
15 |
10 |
|
6300 |
25 |
20 |
|
Инкубаторий на число инкубаторов: |
||
|
2 |
20 |
- |
|
4 |
30 |
- |
|
6 |
60 |
- |
|
10 |
80 |
- |
|
Овчарня на: |
||
|
800 - 1000 овцематок |
5 |
- |
|
1000 голов молодняка |
4 |
- |
|
Конюшня |
3 |
- |
|
Оборудование для прессования кормов: |
||
|
ОПК-2,0 |
150 |
130 |
|
ОПК-3,0 |
210 |
180 |
|
ОПК-3,0у |
135 |
120 |
|
ОПК-5,0 |
330 |
290 |
|
То же, для гранулирования травяной муки: |
||
|
ОГМ-0,8А |
50 |
45 |
|
ОГМ-1,5 |
85 |
80 |
|
То же, для гранулирования комбикормов: |
||
|
ОГК-3 |
55 |
50 |
|
ОГК-6 |
70 |
65 |
|
Агрегат для приготовления травяной муки: |
||
|
АВМ-0,65 |
80 |
70 |
|
АВМ-1,5А |
185 |
170 |
|
АВМ-3,0 |
360 |
330 |
|
АВМ-5,0 |
605 |
560 |
|
Пункт приготовления травяной муки на базе двух агрегатов АВМ-0,65 |
590 |
550 |
|
То же, на базе агрегата АВМ-1,5 |
300 |
270 |
|
Комбикормовый завод производительностью 60 т/сут |
650 |
575 |
|
Комбикормовый цех производительностью, т/смену: |
||
|
10 - 15 |
65 |
60 |
|
30 |
120 |
105 |
|
50 |
190 |
160 |
|
Убойно-санитарный пункт |
2 |
2 |
|
Ветеринарный пункт |
1 |
- |
|
Ветеринарно-фельдшерский пункт |
3 |
- |
|
Участковая ветеринарная лечебница |
10 |
4 |
|
Растениеводство, подсобное производство |
||
|
Комплект машин и оборудования зерноочистительного агрегата ЗАВ-20 |
26 |
23 |
|
То же, с семеочистительным отделением |
57 |
52 |
|
То же, ЗАВ-40 |
36 |
32 |
|
То же, с семеочистительным отделением |
66 |
64 |
|
То же, ЗАР-5 |
32 |
40 |
|
Комплект машин и оборудования зерноочистительно-сушильного комплекса: |
||
|
КЗС-10Б |
65 |
60 |
|
КЗС-20Б |
100 |
95 |
|
КЗС-20Ш |
160 |
150 |
|
КЗС-40 |
190 |
175 |
|
КЗР-5 |
250 |
235 |
|
Пункт послеуборочной обработки зерна кукурузы в початках производительностью 10 т/ч |
120 |
100 |
|
Зернохранилище с передвижными механизмами вместимостью, т: |
||
|
500 |
5 |
3 |
|
1000 - 2000 |
10 |
5 |
|
То же, с ленточным транспортером вместимостью 1000 т |
10 |
5 |
|
Овощекартофелехранилище вместимостью, т: |
||
|
300 - 600 |
2 |
- |
|
1000 |
2 |
- |
|
Овощекартофелехранилище с отопительно-вентиляционной установкой вместимостью, т: |
||
|
500 - 600 |
20 |
15 |
|
1000 |
36 |
25 |
|
Холодильник для хранения фруктов вместимостью, т: |
||
|
50 |
8 |
6 |
|
250 |
35 |
25 |
|
350 |
65 |
50 |
|
700 |
95 |
70 |
|
Семенохранилище вместимостью, т: |
||
|
1000 |
80 |
60 |
|
2500 |
95 |
70 |
|
Склад рассыпных и гранулированных кормов вместимостью, т: |
||
|
200 |
1 |
- |
|
360 |
5 |
- |
|
520 |
10 |
5 |
|
То же, с дробилкой: |
||
|
ДКУ-1 |
1 |
- |
|
ДКУ-2 |
1 |
- |
|
То же, для минеральных удобрений |
1 |
- |
|
То же, для ядохимикатов вместимостью до 2000 т |
1 |
- |
|
То же, для нефтепродуктов вместимостью до 300 м3 |
2 |
- |
|
Цех виноделия производительностью 50 - 100 тыс. гал/год |
80 |
60 |
|
То же, овощных и фруктовых консервов годовой производительностью, млн. условных банок в год: |
||
|
1 |
100 |
75 |
|
3 |
125 |
95 |
|
То же, с солением и квашением, млн. условных банок в год: |
||
|
1 |
150 |
110 |
|
3 |
180 |
155 |
|
То же, по переработке 50 т солений и 130 т капусты |
40 |
45 |
|
Кумысный цех на 1 - 2 тыс. л/сут |
12 |
10 |
|
Кузница |
1 |
- |
|
Плотницкая |
1 |
- |
|
Столярный цех |
1 |
- |
|
Лесопильный цех с пилорамой: |
||
|
ЛРМ-79 |
2 |
- |
|
Р-65 |
2 |
- |
|
Мельница с жерновым поставом: |
||
|
5/4 |
1 |
- |
|
6/4 |
1 |
- |
|
7/4 |
1 |
- |
|
8/4 |
1 |
- |
|
Мельница вальцовая производительностью, т/сут: |
||
|
6 |
1 |
- |
|
25 |
2 |
- |
|
Крупорушка |
1 |
- |
|
Просушка |
1 |
- |
|
Гречерушка |
1 |
- |
|
Маслобойка |
1 |
- |
|
Приемный пункт молокозавода мощностью, т/смену: |
||
|
10 |
45 |
40 |
|
30 |
65 |
60 |
|
Хлебопекарня производительностью, т/сут: |
||
|
3 |
3 |
4 |
|
5,5 |
15 |
13 |
|
11 |
25 |
23 |
|
Пункт первичной обработки льна |
1 |
0 |
|
Мяльно-трепальный цех производительностью, т/смену: |
||
|
4 |
3 |
- |
|
8 |
4 |
- |
|
Хмелесушка с воздухоподогревателем |
10 |
7 |
|
Камерная |
55 |
40 |
|
Установка вентиляционная для досушивания сена |
120 |
90 |
|
Хлопкозаготовительный пункт с сушильно-очистительным цехом |
405 |
250 |
|
Кирпичный завод производительностью, млн. кирпича в год: |
||
|
1 - 1,5 |
6 |
4 |
|
3 |
8 |
6 |
|
Теплая стоянка для тракторов |
2 |
- |
|
Пункт технического обслуживания машин и оборудования на фермах |
5 |
4 |
|
Материально-технический склад |
1 |
- |
|
Мастерская пункта технического обслуживания в бригаде на число тракторов: |
||
|
10 - 20 |
5 |
4 |
|
30 - 40 |
10 |
8 |
|
Гараж с профилакторием на число автомашин: |
||
|
10 |
10 |
8 |
|
25 |
15 |
12 |
|
60 |
20 |
16 |
|
Картофелесортировальный пункт на оборудовании ГДР производительностью 30 т/ч |
50 |
40 |
|
Центральная ремонтная мастерская на число тракторов: |
||
|
25 |
25 |
20 |
|
50 - 100 |
30 |
25 |
|
150 - 200 |
45 |
40 |
|
Пожарное депо на 1 - 2 автомашины |
0,4 |
3 |
|
Котельная с котлами КВ-300 или Д-721 |
5 |
4 |
|
Котельная с двумя котлами «Универсал-6» для: |
||
|
отопления |
15 |
10 |
|
пароснабжения |
7 |
5 |
|
Котельная с четырьмя котлами «Универсал-6»: |
||
|
для отопления и горячего водоснабжения |
28 |
20 |
|
для пароснабжения |
18 |
13 |
|
Насосные станции для оросительных систем |
55 |
50 |
|
Общественные учреждения и коммунально-бытовые предприятия |
||
|
Начальная школа на число учащихся: |
||
|
40 |
2 |
- |
|
80 |
2 |
- |
|
160 |
4 |
- |
|
Общеобразовательная школа с мастерской на число учащихся: |
||
|
190 |
20 |
10 |
|
320 |
40 |
20 |
|
То же, с электроплитой на 480 - 540 учащихся |
50 |
25 |
|
Спальный корпус школы-интерната на число мест: |
||
|
50 |
10 |
- |
|
80 |
15 |
- |
|
Столовая школы-интерната |
5 |
- |
|
Мастерские при сельской школе |
2 |
- |
|
Детские ясли-сад на число мест: |
||
|
25 |
3 |
- |
|
50 |
6 |
- |
|
90 |
8 |
4 |
|
То же, с электроплитой на число мест: |
||
|
50 |
12 |
4 |
|
90 |
14 |
4 |
|
140 |
20 |
6 |
|
Административное здание (контора колхоза, совхоза) на число рабочих мест: |
||
|
15 - 25 |
8 |
- |
|
35 - 50 |
10 |
- |
|
70 |
15 |
- |
|
Сельсовет с отделением связи |
3 |
- |
|
Сельский радиотрансляционный узел с аппаратурой мощностью, кВт: |
||
|
1,25 |
6 |
3 |
|
2,5 |
8 |
4 |
|
Приемный телепункт «Экран» с ретранслятором РЦТА |
5 |
3 |
|
Клуб со зрительным залом на число мест: |
||
|
150 - 200 |
10 |
6 |
|
300 - 400 |
18 |
10 |
|
Дом культуры со зрительным залом на число мест: |
||
|
150 - 200 |
14 |
8 |
|
300 - 400 |
32 |
20 |
|
400 - 600 |
50 |
30 |
|
Бригадный дом |
5 |
- |
|
То же, с залом на 100 мест |
7 |
- |
|
Дом животноводов на 12 - 18 мест |
5 |
- |
|
Сельская поликлиника на 150 посещений в смену |
30 |
20 |
|
Сельская участковая больница на 50 коек |
50 |
35 |
|
Сельская амбулатория на 3 врачебных должности |
10 |
3 |
|
Фельдшерско-акушерский пункт |
4 |
- |
|
Столовая на число мест: |
||
|
25 |
2 |
- |
|
35 - 50 |
3 |
- |
|
75 - 100 |
4 |
- |
|
Столовая с электронагревательным оборудованием и с электроплитой на число мест: |
||
|
35 |
10 |
4 |
|
50 |
15 |
5 |
|
75 |
15 |
5 |
|
100 |
35 |
15 |
|
Общежитие на 24 места |
12 |
4 |
|
Торговый центр для поселков с населением 2 тыс. жителей (столовая, магазин, гостиница, комбинат бытового обслуживания) |
25 |
15 |
|
Магазин на 2 рабочих места |
- |
- |
|
То же, смешанный ассортимент на 4 места: |
4 |
- |
|
продовольственный |
10 |
5 |
|
промтоварный |
6 |
- |
|
То же, смешанный ассортимент на 6 - 10 мест: |
4 |
- |
|
продовольственный |
10 |
5 |
|
промтоварный |
3 |
- |
|
Комбинат бытового обслуживания на число рабочих мест: |
||
|
6 |
1 |
- |
|
10 |
2 |
- |
|
25 |
5 |
- |
|
Баня на число мест: |
||
|
5 |
3 |
2 |
|
10 |
7 |
2 |
|
20 |
8 |
5 |
|
Прачечная производительностью, т белья/смену: |
||
|
0,125 |
10 |
6 |
|
0,25 |
13 |
8 |
|
0,5 |
20 |
13 |
|
1,0 |
25 |
15 |
Параметры осветительных установок улиц и дорог
|
Норма вредней освещенности, лк |
Расчетная ширина дорожного покрытия, м |
Тип светильника |
Источник света |
Высота установки, м |
Шаг светильников, м |
Число светильников на 1 км, шт. |
Удельная мощность установки, Вт/м2 |
Схема размещения опор |
|
4 |
7 |
РКУ-250 |
ДРЛ-250 |
10 |
45 |
22 |
0,81 |
Рис 1, а |
|
4 |
6 |
РКУ-250 |
То же |
10 |
45 |
22 |
0,97 |
То же |
|
4 |
7 |
СПОР-250 |
» |
8 |
42 |
24 |
0,92 |
» |
|
4 |
6 |
То же |
» |
8 |
43 |
24 |
1,06 |
» |
|
4 |
7 |
РКУ-125 |
ДРЛ-125 |
8 |
32 |
31 |
0,6 |
» |
|
4 |
6 |
То же |
То же |
7,5 |
35 |
29 |
0,66 |
» |
|
4 |
7 |
СППР-125 |
» |
7,5 |
25 |
40 |
0,7 |
» |
|
4 |
6 |
То же |
» |
7,5 |
27 |
38 |
0,86 |
» |
|
4 |
3,5×2 |
РКУ-125 |
ДРЛ-80 |
8 |
27 |
74 |
0,95 |
Рис 1, б |
|
4 |
3,5×2 |
То же |
ДРЛ-125 |
10 |
43 |
46 |
0,9 |
То же |
|
4 |
3,5×2 |
СППР-125 |
То же |
7,5 |
29 |
68 |
1,33 |
» |
|
4 |
3 |
СВР-125 |
ДРЛ-125 |
4 |
20 |
50 |
2,3 |
Рис. 1, з |
|
4 |
3 |
РТУ-125 |
То же |
4 |
20 |
50 |
2,3 |
То же |
|
4 |
3 |
СВР-250 |
ДРЛ-250 |
4 |
40 |
25 |
2,2 |
» |
|
2 |
7 |
РКУ-125 |
ДРЛ-80 |
8 |
37 |
27 |
0,35 |
Рис. 1, а |
|
2 |
6 |
То же |
То же |
8 |
38 |
26 |
0,39 |
То же |
|
2 |
7 |
ССПР-125 |
ДРЛ-125 |
8 |
45 |
22 |
0,29 |
» |
|
2 |
7 |
То же |
ДРЛ-80 |
7,5 |
30 |
33 |
0,42 |
» |
|
2 |
6 |
» |
То же |
7,5 |
31 |
32 |
0,48 |
» |
|
2 |
7 |
НКУ-200 |
ЛН-200 |
7,5 |
32 |
31 |
0,89 |
» |
|
2 |
6 |
То же |
То же |
7,5 |
33 |
30 |
1 |
» |
|
2 |
6 |
СПП-200 |
» |
7,5 |
31 |
32 |
1,06 |
» |
|
2 |
3,5×2 |
РКУ-125 |
ДРЛ-80 |
8 |
45 |
44 |
0,57 |
Рис 1, б |
|
2 |
3,5×2 |
СППР-125 |
ДРЛ-80 |
7,5 |
32 |
62 |
0,8 |
То же |
|
2 |
3,5×2 |
НКУ-200 |
ЛН-150 |
7,5 |
31 |
64 |
1,37 |
» |
|
2 |
3,5×2 |
СПП-200 |
То же |
7,5 |
31 |
64 |
1,37 |
» |
|
2 |
6 |
РКУ-125 |
ДРЛ-80 |
8 |
45 |
22 |
0,33 |
Рис. 1, в |
|
2 |
6 |
СППР-125 |
ДРЛ-80 |
7,5 |
34 |
29 |
0,43 |
То же |
|
2 |
6 |
НКУ-200 |
ЛН-200 |
7,5 |
32 |
31 |
1,03 |
» |
|
2 |
6 |
СПП-200 |
То же |
7,5 |
31 |
32 |
1,06 |
» |
|
2 |
3,5 |
НКУ-200 |
» |
8 |
26 |
39 |
2,2 |
Рис. 1, г |
|
2 |
3,5 |
СПО-200 |
» |
7,5 |
27 |
37 |
2,1 |
То же |
|
2 |
3,5 |
СПП-200 |
» |
7,5 |
27 |
37 |
2,1 |
» |
|
2 |
3,5 |
НКУ-200 |
ЛН-150 |
7,5 |
31 |
32 |
1,37 |
Рис. 1, д, е |
|
2 |
6 |
То же |
ЛН-200 |
7,5 |
32 |
31 |
1,03 |
То же |
|
2 |
6 |
СППР-125 |
ДРЛ-80 |
7,5 |
31 |
32 |
0,48 |
Рис. 1, д, е |
|
2 |
6 |
СПП-200 |
ЛН-200 |
7,5 |
31 |
32 |
1,06 |
То же |
|
2 |
3,5 |
То же |
ЛН-150 |
7,5 |
33 |
30 |
1,28 |
» |
|
2 |
3,5 |
СППР-125 |
ДРЛ-80 |
7,5 |
31 |
31 |
0,82 |
Рис. 1, ж |
|
2 |
6 |
То же |
ДРЛ-125 |
7,5 |
38 |
26 |
0,59 |
То же |
|
2 |
3,5 |
НКУ-200 |
ЛН-150 |
8 |
32 |
31 |
1,33 |
» |
|
2 |
6 |
То же |
ЛН-200 |
8 |
38 |
26 |
1,48 |
» |
|
2 |
3 |
СВР-125 |
ДРЛ-125 |
4 |
36 |
28 |
1,1 |
Рис. 1, з |
|
2 |
3 |
РТУ-125 |
ДРЛ-125 |
4 |
36 |
28 |
1,1 |
То же |
|
2 |
3 |
НТУ-200 |
ЛН-200 |
4 |
35 |
29 |
1,93 |
» |
|
1 |
3,5 |
НТУ-200 |
ЛН-150 |
7,5 |
45 |
22 |
1,27 |
Рис. 1, в |
|
1 |
3,5 |
То же |
ЛН-100 |
7,5 |
34 |
30 |
1,68 |
То же |
|
1 |
3,5 |
СПП-200 |
ЛН-150 |
7,5 |
45 |
22 |
1,27 |
» |
|
1 |
3,5 |
То же |
ЛН-100 |
6,5 |
40 |
25 |
1,43 |
» |
|
1 |
3,5 |
СПО-200 |
ЛН-150 |
6,5 |
45 |
22 |
1,27 |
» |
|
1 |
3,5 |
То же |
ЛН-100 |
6,5 |
38 |
26 |
1,51 |
» |
|
1 |
3,5 |
НКУ-200 |
ЛН-150 |
7,5 |
35 |
29 |
1,24 |
Рис 1, г |
|
1 |
3,5 |
СПП-200 |
То же |
7,5 |
35 |
29 |
1,24 |
То же |
|
1 |
3,5 |
СПО-200 |
» |
6,5 |
30 |
33 |
1,4 |
» |
|
1 |
3,5 |
НКУ-200 |
ЛН-100 |
7,5 |
26 |
39 |
1,1 |
Рис. 1, е |
|
1 |
3,5 |
То же |
ЛН-150 |
7,5 |
38 |
26 |
1,1 |
То же |
|
1 |
3,5 |
СПП-200 |
ЛН-100 |
6,5 |
25 |
40 |
1,14 |
» |
|
1 |
3,5 |
То же |
ЛН-150 |
7,5 |
38 |
26 |
1,1 |
» |
|
1 |
3,5 |
СПО-200 |
То же |
6,5 |
27 |
37 |
1,05 |
» |
|
1 |
3,5 |
СПО-200 |
» |
7,5 |
35 |
29 |
1,24 |
» |
|
1 |
6 |
СВР-125 |
ДРЛ-80 |
4 |
36 |
28 |
0,42 |
» |
|
1 |
6 |
РТУ-125 |
То же |
4 |
36 |
28 |
0,42 |
» |
|
1 |
6 |
НТУ-200 |
ЛН-200 |
4 |
36 |
28 |
0,94 |
» |
|
1 |
6 |
То же |
ЛН-150 |
4 |
30 |
33 |
1,4 |
» |
|
1 |
3 |
СВР-125 |
ДРЛ-80 |
4 |
30 |
33 |
0,99 |
Рис. 1, з |
|
1 |
3 |
РТУ-125 |
То же |
4 |
30 |
33 |
0,99 |
То же |
|
1 |
3 |
НТУ-200 |
ЛН-100 |
4 |
21 |
48 |
1,59 |
» |
Примечания: 1. При проектировании осветительных установок улиц и дорог необходимо учитывать деревья и высокие кустарники, экранирующие световой поток светильников. Для обеспечения нормируемых показателей установок со сложившейся системой озеленения, когда кроны деревьев приближены к проезжей части, рекомендуется: использовать тросовый подвес светильников; снизить шаг в 1,2 раза; увеличить световой поток светильника не менее чем в 1,2 раза, заменяя источник света на более мощный, или устанавливать дополнительный светильник на опоре.
2. При проектировании улиц и дорог вопросы освещения и озеленения следует решать комплексно, чтобы обеспечить наиболее рациональное их взаимное размещение и достичь максимального светового потока светильников.
Характеристика светильников, рекомендуемых для осветительных установок улиц, дорог, территорий общественных зданий
|
Тип светильника (наименование при заказе) |
Источник света |
Тип кривой силы света в плоскости |
ηЕ (не менее) |
КПД (не ниже) |
Характеристика |
|
|
вертикальной |
горизонтальной |
|||||
|
СПО-200 |
ЛН-100-200 |
Д |
КС |
0,2 |
0,75 |
Открытый, подвесной с молочным рассеивателем и диффузным отражателем |
|
СПП-200М |
ЛН-150-200 |
Ш |
КС |
0,35 |
0,75 |
Открытый, подвесной с призматическим преломителем |
|
СППР-125-M-VI |
ДРЛ-125 |
Ш |
КС |
0,35 |
0,75 |
То же |
|
НКУ 01-200/Д23-01-VI |
ЛН-150-200 |
Д |
Б |
0,3 |
0,7 |
Открытый, консольный с диффузным отражателем |
|
РКУ 01×125/Б23-05-VI |
ДРЛ-125 |
Ш |
Б |
0,3 |
0,7 |
Консольный зеркальный (корпус стальной) |
|
РКУ 01×125/008-VI |
» |
Ш |
Б |
0,3 |
0,7 |
То же |
|
РТУ 01×125/C53-02-VI («Огонек»-1) |
» |
С |
КС |
0,14 |
0,6 |
Венчающий, закрытый, с диффузно-отражающей крышкой, с рассеивателем из органического стекла |
|
НТУ 01×200/С53-02-VI («Огонек-2») |
ЛН-150-200 |
С |
КС |
0,14 |
0,55 |
Венчающий, закрытый, с диффузно-отражающей крышкой и рассеивателем из органического стекла |
|
РТУ 01×125/С53-01-VI («Маяк-1») |
ДРЛ-125 |
С |
КС |
0,14 |
0,6 |
Венчающий, закрытый, с рассеивателем из органического стекла |
|
НТУ 01×200/С53-01-VI («Маяк-2») |
ЛН-150-200 |
С |
КС |
0,14 |
0,6 |
То же |
|
РТУ 04-125-001-VI |
ДРЛ-125 |
С |
КС |
0,15 |
0,5 |
Венчающий, закрытый, с рассеивателем из силикатного стекла |
|
НТУ 04-200-001-VI |
ЛН-150-200 |
С |
КС |
0,15 |
0,5 |
То же |
|
РТУ 04-125-002-VI |
ДРЛ-125 |
С |
КС |
0,15 |
0,5 |
» |
|
НТУ 04-200-002-VI |
ЛН-150-200 |
С |
КС |
0,15 |
0,5 |
» |
|
РТУ 04-125-003-VI |
ДРЛ-125 |
С |
КС |
0,15 |
0,5 |
» |
|
НТУ 04-200-003-VI |
ЛН-150-200 |
С |
КС |
0,15 |
0,5 |
» |
|
РТУ 04-125-004-VI |
ДРЛ-125 |
С |
КС |
0,15 |
0,5 |
» |
|
НТУ 04-200-004-VI |
ЛН-150-200 |
С |
КС |
0,15 |
0,5 |
» |
|
РТУ 04-125-005-VI |
ДРЛ-125 |
С |
КС |
0,15 |
0,5 |
» |
|
НТУ 04-200-005-VI |
ЛН-150-200 |
С |
КС |
0,15 |
0,5 |
» |
|
РТУ 04-125-006-VI |
ДРЛ-125 |
С |
КС |
0,15 |
0,5 |
Венчающий, закрытый, с диффузным отражателем и рассеивателем из силикатного стекла |
|
НТУ 04-200-006-VI |
ЛН-150-200 |
С |
КС |
0,15 |
0,5 |
То же |
|
CBP-125 (РТУ 02-125-007-VI) |
ДРЛ-125 |
С |
КС |
0,14 |
0,55 |
Венчающий, закрытый, с диффузно-отражающей крышкой и рассеивателем из силикатного стекла |
|
CBP-250 (РТУ 02-250-008-VI) |
ДРЛ-250 |
С |
КС |
0,14 |
0,5 |
То же |
|
CBOP-250-VI |
ДРЛ-250 |
С |
КС |
0,14 |
0,55 |
Венчающий, открытый, с диффузным отражателем и молочным рассеивателем из органического стекла |
|
РТУ 05-125-011-VI |
ДРЛ-125 |
С |
КС |
0,15 |
0,5 |
«Маячок» с рассеивателем из молочного стекла |
|
НТУ 05-200-011-VI |
ЛН-150-200 |
С |
КС |
0,15 |
0,5 |
То же |
|
РКУ 01-250/Б23-06-VI |
ДРЛ-250 |
Ш |
Б |
0,3 |
0,7 |
Консольный, зеркальный (корпус стальной) |
|
РКУ 01-250-07 |
ДРЛ-250 |
Ш |
Б |
0,33 |
0,7 |
То же (корпус алюминиевый) |
|
РКУ-01-250/Б23 |
ДРЛ-250 |
Ш |
Б |
0,3 |
0,7 |
» |
|
СПОР-250 |
ДРЛ-250 |
Д |
КС |
0,23 |
0,7 |
Подвесной, с диффузным рассеивателем |
|
СЗЛ-300-1 |
ЛН-200-300 |
С |
КС |
- |
0,4 |
Закрытый, зеркальный, с прозрачным защитным силикатным стеклом |
ПЕРЕЧЕНЬ
действующих типовых, нормативных и справочных материалов по вопросам сельской
связи (по данным Гипросвязи С-031-13-81)
|
Наименование |
Номер проекта |
Инвентарный номер |
Год выпуска |
Организация-разработчик |
|
Технорабочий проект. Строительство внутрипроизводственной телефонной связи |
1-053-73 |
172-С (Л-104-33) 173-С (Л-104-34) 174-С (Л-104-35) I75-C (Л-104-36) 176-С (Л-104-37) |
1973 |
Гипросвязь-2 |
|
Внутрипроизводственная и диспетчерская проводная и радиосвязь в колхозах, совхозах и предприятиях Союзсельхозтехники (3 варианта) |
602-0-2 1-058-73 |
388-г 389-г 395-г 396-г 397-г 400-г 401-г 410-г 440-г 441-г |
1973 |
Гипросвязь-2 ГСПИ |
|
Уплотнение одночетверочных кабелей КСПП аппаратурой КНК-12 |
1-061-73 |
201-С (Л-10403) |
1973 |
Гипросвязь-2 |
|
Диспетчерская телефонная связь для района и области на базе сети внутрипроизводственной связи колхозов, совхозов и зоновых сетей Министерства связи СССР |
1-091-80 |
358-с - 364-с |
1980 |
То же |
|
Типовые материалы, решения, альбомы типовых чертежей |
||||
|
Кросс пристенный емкостью 150×2 линий |
T-179-1-73 |
132-М |
1973 |
Гипросвязь |
|
Станционное оборудование АТСК-100/2000 производства завода ВЭФ |
Т-130-70 |
115-с (С-8755) |
1970 |
То же |
|
Каркас для крепления междугородных и городских боксов БМ и БКТ в шкафу ШР-600 |
Т-075-67 |
6-М |
1967 |
» |
|
Каркас для крепления междугородных и городских боксов БМ и БКТ в шкафу ШР-1200 |
Т-041-65 |
179-М |
1965 |
» |
|
Междугородная телефонная станция М-60 |
Т-042-69 |
86-С |
1969 |
» |
|
Существующие системы передачи |
Т-008-2-76 |
77-А |
1976 |
» |
|
Аппаратура В4 систем передачи воздушных линий связи |
Т-008-2-76 |
78-А |
1976 |
» |
|
Аппаратура систем передачи кабельных и воздушных линий связи, снятая с производства |
Т-008-2-76 |
80-А |
1976 |
» |
|
Щит для установки боксов БМ1-2 и БМ2-3 |
T-216-1-76 |
193-М |
1976 |
» |
|
Вводно-кабельный щиток |
Т-080-2-70 |
276-М |
1980 |
» |
|
Схемы соединений аппаратуры директорской связи, сигнализации, часификации и радиотрансляционных узлов |
Т-204-1-75 |
52-Р |
1975 |
» |
|
Оборудование станций радиотрансляционных узлов. Схемы подключения Узлы и детали для звукоусиления громкоговорящей связи и телевидения |
Т-046-2-77 |
65-Р |
1977 |
Гипросвязь |
|
Часть 1. Кросс настенный на 25×2 линий |
Т-200-1-75 |
165-М |
1975 |
То же |
|
Часть 2. Кросс настенный на 60×2 линий |
Т-200-1-75 |
166-М |
1975 |
» |
|
Часть 10. Коробка на 1 микрофонный разъем |
Т-200-1-76 |
189-М |
1976 |
» |
|
Часть 11. Коробка на 2 микрофонных разъема |
Т-200-1-76 |
190-М |
1976 |
» |
|
Часть 13. Коробка для подключения телевизора |
Т-200-1-76 |
195-М |
1976 |
» |
|
Часть 14. Шкаф с двумя плитами типа ПН-10 |
Т-200-1-76 |
197-М |
1976 |
» |
|
Ящик кабельный для трансформаторных подстанций звуковой частоты |
Т-214-1-76 |
192-М |
1976 |
» |
|
Оконечная коробка 1×2 и 2×2 для разделки кабелей |
Т-062-66 |
191-М |
1966 |
» |
|
Стеллажи деревянные и металлические для стационарных установок аккумуляторов |
Т-009-3-78 |
182-Э |
1978 |
» |
|
Узлы и детали скрытых проводок |
Т-012-3-78 |
292-С |
1978 |
Гипросвязь |
|
Каркас для установки аппаратуры |
Т-160-1-72 |
102-М |
1972 |
То же |
|
Вводы городских телефонных кабелей в здания (карточки вводов) |
Т-001-2-76 |
280-С (670) |
1976 |
Гипросвязь-2 |
|
Карточки кабельных вводов (дополнение к Т-001-2-76) |
Т-001-80 |
349-С (Л-13865) |
1980 |
То же |
|
Шкаф для установки бокса БМО-1-1 или БМО-1-2 в нише |
Т-151-2-77 |
217-М |
1977 |
Гипросвязь |
|
Шкаф для установки бокса БМО-1-1 или БМО-1-2 на стене |
Т-153-2-77 |
200-М |
1977 |
То же |
|
Распределительный шкаф на 4 вертикали для установки боксов междугородного типа |
Т-178-2-78 |
230-М |
1978 |
» |
|
Пункт контроля 1×4 кабеля связи |
Т-159-1-72 |
19-К (ДЛ-2025) |
1972 |
Гипросвязь-3 |
|
Шкаф для установки оконечных устройств линейных сооружений связи |
Т-037-2-77 |
219-М |
1977 |
Гипросвязь |
|
Инструктивно-нормативные материалы |
||||
|
Инструкция на производство изыскательских работ для проектирования станционных сооружений МТС |
И-012-2-72 |
П-Ш (ДК-1344) |
1973 |
Гипросвязь-3 |
|
Инструкция по сбору исходных данных для проектирования электроустановок предприятий проводной связи |
И-001-2-77 |
VI-740 |
1977 |
Гипросвязь |
|
Инструкция на производство изыскательских работ для устройства заземлений предприятий проводной связи и радиофикации |
И-008-70 |
Э-1800 |
1970 |
Гипросвязь |
|
Инструкция на инженерно-геологическое производство топографо-геодезических и инженерно-гидрологических работ при изысканиях сооружений проводной связи |
И-005-2-75 |
VIII-438 |
1975 |
» |
|
Инструкция по сбору исходных данных для проектирования организации строительства сооружений проводной и почтовой связи |
И-020-77 |
VIII-752 |
1977 |
» |
|
Инструкция о порядке разработки, согласования, утверждения и регистрации нормативных документов Министерства связи СССР по проектированию - обосновывающие материалы |
ИП-331-81 |
61184 |
1981 |
» |
|
Методические руководства |
||||
|
Разработка технорабочих проектов на строительство внутрипроизводственной проводной связи в совхозах и на предприятиях Сельхозтехники |
М-104-1-73 |
(Л-10454) |
1973 |
Гипросвязь-2 |
|
Руководство по проектированию сельских АТСК-50/200М |
М-148-1-77 |
I-859 |
1978 |
Гипросвязь-2 |
|
Расчет кабелей и проводов для монтажа декадно-шаговых и координатных АТС |
М-042-5-79 |
I-928 |
1979 |
Гипросвязь |
|
Рекомендации по кроссировкам на стативах сельдях АТСК-100/2000 (100/2000у) |
М-047-2-79 |
I-1077 (С-16043) |
1979 |
Гипросвязь-2 |
|
Уплотнение одночетверочных кабелей КСПП аппаратурой ИКМ-12М |
М-135-2-75 |
I-582 (Л-11728) |
1975 |
То же |
|
Размещение усилительных пунктов и электрические расчеты каналов ТЧ кабельных линий связи с использованием однополосных и двухполосных систем передачи |
М-056-3-79 |
IV-1011 |
1980 |
Гипросвязь |
|
Электрические расчеты телефонных каналов воздушных линий связи |
М-078-1-72 |
IV-104 (ДС-2841) |
1973 |
Гипросвязь-3 |
|
Служебная связь на воздушных, кабельных и радиорелейных линиях связи |
М-010-2-73 |
IV-143 |
1973 |
Гипросвязь |
|
Реконструкция воздушных линий связи с уплотнением цепей аппаратурой В-12-3 и ВО-12-3 |
М-106-2-75 |
IV-621 (584) |
1976 |
Гипросвязь-4 |
|
Технорабочий проект (образец) «Реконструкция ВЛС внутризоновой связи с уплотнением цепей аппаратурой В-12-3 и ВО-12-3» |
б/н |
|||
|
Системы звукофикации в помещениях объектов связи |
М-125-2-77 |
V-776 |
1977 |
Гипросвязь |
|
Радиотрансляционные узлы |
М-206-1-81 |
V-1218 |
1981 |
То же |
|
Дистанционное питание на воздушных и кабельных магистралях связи |
М-002-3-75 |
VI-382 |
1975 |
» |
|
Заземляющие устройства |
М-037-2-81 |
V1-1215 (932) |
1981 |
Гипросвязь-4 |
|
Проектирование ЭПУ для комплекса сооружений связи в РУС |
М-159-1-78 |
VI-879 |
1978 |
Гипросвязь |
|
Расчет воздухообмена аккумуляторных помещений |
М-167-1-79 |
VII-922 |
1979 |
То же |
|
Рекультивация земель, нарушенных при строительстве объектов связи |
М-143-1-75 |
VIII-565 |
1976 |
» |
|
Составление и оформление заказных спецификаций и ведомостей по объектам связи |
М-117-5-81 |
VIII-1198 |
1981 |
» |
|
Переходы кабелей через реки |
М-029-2-75 |
IV-549 (214) |
1976 |
Гипросвязь-4 |
|
Приложение к М-029-2-75 образец рабочих чертежей. Устройство кабельного перехода через реки |
IV-043-76 |
IV-72 (357) |
1977 |
То же |
|
Изыскания и проектирование кабельных магистралей в районах вечной мерзлоты |
М-079-71 |
ВИК-666 (271) |
1971 |
Гипросвязь-4 |
|
Содержание кабелей связи под избыточным воздушным давлением |
М-012-3-78 |
IV-888 |
1978 |
Гипросвязь |
|
Защита междугородных линий связи от влияния ЛЭП |
М-048-2-75 |
IV-448 (600) |
1975 |
Гипросвязь-4 |
|
Эталоны |
||||
|
Эталон перспективной схемы развития сельской телефонной сети района |
Э-042-1-75 |
I-645 (Л-11783), (Л-12050) |
1975 |
Гипросвяэь-2 |
|
Эталон технорабочего проекта на строительство сооружений проводной связи в сельской местности. |
Э-031-3-75 |
I-476 (Л-18407) |
1975 |
То же |
|
Абонентская сеть |
||||
|
Дополнения и изменения |
Э-031-3-75 |
I-911 (Л-12432) |
1978 |
» |
|
Эталон ТРП на строительство сооружений проводной связи в сельской местности |
Э-018-2-75 |
I-910 (Л-12433) |
1977 |
» |
|
Инженерные изыскания для проектирования сооружений проводной связи |
Э-028-2-76 |
VIII-620 |
1976 |
Гипросвязь |
|
Паспорта технорабочего (технического) проекта сооружений проводной связи и радиофикации |
Э-030-2-77 |
VIII-734 |
1977 |
То же |
|
Примеры оформления альбома заказных спецификаций типовых проектов объектов и сооружений связи |
Э-052-1-78 |
VIII-884 |
1978 |
Гипросвязь |
|
Сборники формуляров |
||||
|
Темплеты для чертежнографической документации по сооружениям проводной связи и радиофикации |
Ф-045-1-76 |
IV-555 IV-558 |
1976 |
Гипросвязь |
|
Источники электропитания, таблицы расхода тока, исходные данные, заказные спецификации, ведомости, сметы |
Ф-007-2-77 |
VI-728 |
1977 |
То же |
|
Пояснительные записки к техническому проекту и технорабочему проекту по электроустановкам ГТС (образец) |
Ф-080-1-81 |
VI-1205 |
1981 |
Гипросвязь-2 |
|
Сметы на проектные и изыскательские работы для строительства сельской проводной связи и радиофикации и гражданских сооружений проводной связи (РУС и ОС) |
Ф-027-3-75 |
VIII-509 |
1975 |
Гипросвязь |
|
Сметы и спецификации для АТСК-100/2000у отечественного производства |
Без номера |
I-900 |
1978 |
Гипросвязь-2 |
|
Станции радиотрансляционных узлов, локальные сметы |
Ф-061-1-79 |
V-934 |
1979 |
Гипросвязь |
|
Руководящие технические материалы |
||||
|
Постоянные длины кабелей ТСВ для расчетов кабельных планов АТСК |
PTM-074-1-77 |
I-770 |
1977 |
Гипросвязь |
|
Применение прямого питания на ГТС |
РТМ-063-1-77 |
I-680 (МА-2569) |
1977 |
Гипросвязь-3 |
|
Технические требования на приспособление помещений для сельских АТС |
РТМ-064-1-76 |
I-737 (60Р) |
1977 |
Гипросвязь-2 |
|
Функциональные схемы АТСК-у |
РТС-084-1-80 |
I-1095 (МА-2952) |
1980 |
Гипросвязь-3 |
|
Таблицы зависимости количества НШК, ВШК от структурного состава абонентов и нагрузок |
РТМ-0851-1-80 |
I-1096 (МА-2951) |
1980 |
То же |
|
Обозначения условные графические на схемах и в проектной документации электроустановок предприятий связи |
РТМ-01-3-77 |
VI-778 (ИП-5638) |
1977 |
» |
|
Выбор типоразмеров полиэтиленовых муфт для кабелей марки ТПП |
РТМ-048-1-74 |
I-292 (МА-2263) |
1974 |
» |
|
Усредненные объемы работ по устройству кабельных вводов в здание |
РТМ-026-1-74 |
I-350 (ДП-2172) |
1975 |
» |
|
Определение сопротивления протяженного проволочного заземление |
РТМ-061-1-77 |
IV-679 |
1977 |
Гипросвязь |
|
Справочные материалы. Сборники справочных материалов |
||||
|
Основные технические данные усовершенствованного оборудования АТСК (АТСК-У) |
С-153-2-77 |
I-799, I-800 |
1978 |
Гипросвязь |
|
Часть 3. Станционные сооружения городских и сельских телефонных сетей |
С-142-1-78 |
I-862 |
1978 |
То же |
|
Дополнения и изменения за 1979 г. |
I-1078 |
1980 |
» |
|
|
Дополнения и изменения за 1980 г. |
I-1176 |
1981 |
||
|
Действующие указания по проектированию станционных сооружений ГТС и СТС, выпущенные Гипросвязью |
С-196-1-80 |
I-1102, I-1054 |
1980 |
» |
|
Дополнения и изменения за 1980 г. |
I-1165 |
1981 |
||
|
Основные технические данные МТС с коммутаторами М-60 |
С-001-60 |
С-1932 |
1969 |
» |
|
Технические данные кабелей и проводов связи, применяемых при проектировании |
С-011-4-81 |
IV-1154, IV-117, IV-1202 |
1981 |
» |
|
Линейные сооружения магистральной, внутризоновых и местных сетей связи. Перечень документов для проектирования |
С-036-4-78 |
IV-808 |
1978 |
» |
|
Изыскательские работы по линейно-кабельным сооружениям внутризоновой, сельской связи и радиофикации |
С-132-1-74 |
VIII-301 |
1974 |
Гипросвязь |
|
Прокладка кабельных линий связи в условиях болот |
С-051-69 |
ВИК-561 (ДЛ-1676) |
1969 |
Гипросвязь-3 |
|
Основные документальные данные для выбора и согласования трасс кабельных линий связи |
С-112-2-75 |
IV-383 |
1976 |
Гипросвязь |
СОДЕРЖАНИЕ