МОСГОРИСПОЛКОМ
МОСКОВСКИЙ СТРОИТЕЛЬНЫЙ КОМИТЕТ
МОСКОВСКИЙ НАУЧНО-ИССЛЕДОВАТЕЛЬСКИЙ И ПРОЕКТНЫЙ
ИНСТИТУТ
ТИПОВОГО И ЭКСПЕРИМЕНТАЛЬНОГО ПРОЕКТИРОВАНИЯ
МЕТОДИЧЕСКИЕ УКАЗАНИЯ
по расчету теплозащитных показателей
ограждающих конструкций
(наружных стен, окон, крыш)
Пособие для проектировщиков
МОСКВА - 1990
«Методические указания» разработаны лабораторией строительной теплофизики МНИИТЭПа в соответствии с планом научно-исследовательских работ на 1986 - 88 гг.
Составлены графики и разработаны методы определения приведенного сопротивления теплопередаче панелей и коэффициента теплотехнической однородности различных участков однослойных и многослойных стеновых панелей, что дает возможность на стадии разработки конструкций оценить влияние конструктивных факторов на их теплозащиту без проведения сложных расчетов.
Приведены графические зависимости, позволяющие определить минимальную и среднюю температуру внутренней поверхности в зоне характерных теплопроводных включений.
Определены величины приведенного сопротивления теплопередаче конструкций оконных блоков в соответствий с номенклатурой изделий по ГОСТ 11214-86 и ГОСТ 16289-80, а также по альбомам, разработанным МНИИТЭПом.
Приведена методика расчета микроклимата крыш с теплым чердаком.
В приложении к работе даны теплозащитные показатели различных видов ограждающих конструкций и их узлов сопряжения, представляющих практический интерес для проектировщиков.
Составители-кандидаты технических наук Г.Л. Авдеев, В.С. Ваколюк и К.П. Копылов, инж. В.И. Сурков.
1.1. Настоящие «Методические указания» разработаны в развитие § 2 «Сопротивление теплопередаче ограждающих конструкций» Строительных норм и правил по строительной теплотехнике (СНиП II-3-79**), утвержденных Госстроем СССР и введенных в действие с 1 июля 1986 г.
1.2. Общие принципы теплотехнического проектирования ограждающих конструкций зданий изложены в «Руководстве по теплотехническому расчету и проектированию ограждающих конструкций зданий» (М., НИИСФ Госстроя СССР, 1985). «Методические указания» в значительной мере расширяют и дополняют гл. 2 этого «Руководства», так как содержат материал по расчету приведенного сопротивления теплопередаче, а в отдельных случаях и минимальной температуры на внутренней поверхности наружных ограждающих конструкций зданий любого назначения.
1.3. При проектировании наружных ограждающих конструкций зданий следует руководствоваться главами СНиП по проектированию зданий соответствующего назначения, строительной теплотехнике (II-3-79**); отоплению, вентиляции и кондиционированию воздуха (II-33-75*); строительной климатологии и геофизике (2.01.01-82); естественному и искусственному освещению (II-4-79), а также положениями настоящих «Методических указаний».
1.4. «Методические указания» позволяют более полно и конкретно реализовать ряд требований СНиП II-3-79** по обеспечению заданных теплотехнических показателей проектируемых зданий с учетом многообразия типоразмеров и конструктивных решений ограждений.
1.5. Представленные в «Методических указаниях» графические зависимости получены на основе многовариантных расчетов на ЭВМ плоских и объемных температурных полей ограждающих конструкций. Они позволяют на стадии разработки и проектирования ограждения оперативно, с приемлемой для инженерных расчетов точностью, определять влияние различного рода конструктивных и теплотехнических факторов на теплозащитные показатели стенового ограждения.
1.6. Принятые в «Указаниях» условные обозначения основных теплотехнических величин и единицы измерений приведены ниже:
λ - коэффициент теплопроводности, Вт/м · °C;
R - термическое сопротивление слоя ограждающей конструкции, м2 · °C/Вт;
Rк - термическое сопротивление ограждающей конструкции, м2 · °C/Вт;
- условное сопротивление теплопередаче
ограждающей конструкции, м2 · °C/Вт;
- требуемое сопротивление теплопередаче
ограждающей конструкции, м2 · °C/Вт;
- приведенное сопротивление
теплопередаче конструкции, м2 · °C/Вт;
aв - коэффициент теплоотдачи внутренней поверхности ограждающей конструкции, Вт/м2 · °C;
aн - коэффициент теплоотдачи наружной поверхности ограждающей конструкции, Вт/м2 · °C;
tн - расчетная температура наружного воздуха, °C;
tв - расчетная температура воздуха внутри помещения, °C;
tв - температура на внутренней поверхности ограждения, °C;
tу - температура поверхности в углу конструкции, °С;
Dtн - нормативный температурный перепад между температурой внутреннего воздуха и температурой внутренней поверхности ограждающей конструкции, °C;
g - плотность материала, кг/м3;
δ - толщина конструкции или слоя, м;
n - коэффициент, характеризующий положение наружной поверхности ограждающих конструкций по отношению к наружному воздуху:
r - коэффициент теплотехнической однородности, учитывающий влияние стыков, обрамляющих ребер и других теплопроводных включений;
η - коэффициент для определения минимальной температуры внутренней поверхности конструкции в зоне теплопроводного включения;
ηв - коэффициент для определения температуры внутренней поверхности конструкции посредине между осями параллельно расположенных включений;
ηв.ср - коэффициент для определения средней температуры внутренней поверхности конструкции между осями параллельно расположенных теплопроводных включений;
a - ширина теплопроводного включения, мм;
c - глубина теплопроводного включения, мм;
L - расстояние между осями включений, мм.
Приведенное сопротивление теплопередаче
есть
величина, характеризующая усредненные теплозащитные свойства сложной
(неоднородной) ограждающей конструкции, тепловой поток через которую при
стационарном режиме не является одномерным. Его величина считается равной
сопротивлению теплопередаче условной однородной
ограждающей конструкции той же площади, одномерный тепловой поток через которую
при одинаковых температурных перепадах равен тепловому потоку через данную
реальную ограждающую конструкцию.
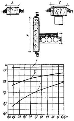
2.1. Принципиальная схема разбивки
площадей расчетных участков стены из кирпичной кладки для определения
приведена
на рис. 1.
Рис. 1. Схема
разбивки площадей расчетных участков кирпичной стены для определения
:
1 - простенок; 2 - межоконный участок; 3 - глухой участок
L - ширина простенка, м; Lо - ширина окна, м; Hо - высота окна, м; Hм.у - высота межоконного участка, м
Приведенное сопротивление теплопередаче
кирпичной стены следует определять по формуле
(1)
где Fпр - площадь простенков, м2;
Fм.у - площадь межоконных участков (по вертикали), м2;
Fг.у - площадь глухих участков, м2;
rпр - определяется по графикам на рис. 2;
rм.у - определяется:
а) в случае, если междуэтажное перекрытие не углубляется в толщу кладки, по графикам на рис. 2 (при этом Hм.у = L);
б) в случае, если междуэтажное перекрытие углубляется в толщу кладки не более чем на 0,5 кирпича, то значение rм.у, полученное по графикам рис. 2, умножается на 0,9;
в) в случае, если междуэтажное перекрытие углубляется в толщу кладки более чем на 0,5 кирпича, то значение rм.у участка определяется по температурному полю;
Рис. 2. Определение r простенка кирпичной стены в зависимости от ширины простенка L, толщины конструкции δ и типа окна:
ОС - спаренный оконный блок (сплошная линия), OP - раздельный оконный блок (пунктирная линия)
1 - δ = 510 мм; 2 - δ = 640 мм; 3 - δ = 780 мм
rг.у - определяется:
а) в случае, если междуэтажное перекрытие не углубляется в толщу кладки, то rг.у = 1;
б) в случае, если междуэтажное перекрытие углубляется в толщу кладки не более чем на 0,5 кирпича, то значение rг.у принимается равным 0,9;
в) в случае, если междуэтажное перекрытие углубляется в толщу кладки более чем на 0,5 кирпича, то rг.у определяется на основе расчета по п. 2.8 СНиП II-3-79**.
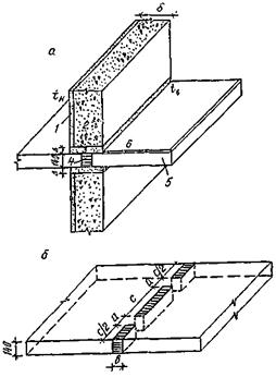
2.2. Принципиальная схема разбивки
площадей расчетных участков однослойной панели с оконным проемом для
определения
приведена на рис. 3.
Рис. 3. Схема разбивки площадей расчетных участков однослойной панели
для определения
:
1 - перемычка; 2 - простенок; 3 - подоконный участок; у. п - уровень перекрытия
Штриховкой показана площадь угловых участков
Приведенное сопротивление
теплопередаче
однослойной панели с оконным проемом
следует определять по формуле
(2)
где Fпан - площадь панели, м2
Fпан = Lпан · Hпан - Lок · Hок;
Fпрос - площадь простенка, м2
Fпрос = Lпрос · Нок;
Fпер - площадь перемычки, м2
Fпер = Lок · Hпер.
Fп.у - площадь подоконного участка, м2
Fп.у = Lок · Hп.у;
Fy.y - площадь угловых участков, м2
Fу.у = Fпан - (Fпрос + Fпер +Fп.у).
Рис. 4. Определение r простенка однослойной стеновой панели с утепленным колодцеобразным вертикальным закрытым стыком при спаренных (а) и раздельных (б) оконных блоках, L = 400 мм
2.3. Определение коэффициента теплотехнической однородности простенка панелей rпр производится:
для простенка стеновой панели с утепленным колодцеобразным вертикальным закрытым стыком при спаренных и раздельных оконных блоках - по графикам и таблицам на рис. 4;
то же, для «открытого» стыка - по графикам и таблицам на рис. 5;
Рис. 5. Определение r простенка однослойной стеновой панели с утепленным колодцеобразным вертикальным «открытым» стыком при спаренных (а) и раздельных (б) оконных блоках, L = 400 мм
Рис. 6. Определение r простенка однослойной стеновой панели с прямым вертикальным стыком при спаренных (а) и раздельных (б) оконных блоках, L = 550 мм
для простенка стеновой панели с прямым вертикальным стыком при спаренных и раздельных оконных блоках - по графикам и таблицам на рис. 6;
для простенка промежуточного примыкания двухмодульной панели при спаренных и раздельных окнах - по графикам на рис. 7.
2.4. Определение коэффициента теплотехнической однородности r подоконного участка и надоконной перемычки производится:
для панелей с утепленным горизонтальным стыком и сплошной плитой перекрытия (δп = 140 мм) при спаренных и раздельных окнах - по графикам и таблице на рис. 8,
для панелей с горизонтальным стыком без утеплителя и со спаренным оконным блоком (с плитой перекрытия δн = 220 мм) - по графикам и таблице на рис. 9,
Рис. 7. Определение r простенка промежуточного примыкания двухмодульной панели при спаренных и раздельных оконных блоках
Рис. 8. Определение r подоконного участка и надоконной перемычки с утепленным горизонтальным стыком и сплошной плитой перекрытия (δп = 140 мм) при спаренных (а) и раздельных (б) оконных блоках
Рис. 9. Определение r подоконного участка и надоконной перемычки стеновой панели с горизонтальным стыком без утеплителя и со спаренным оконным блоком (с плитой перекрытия δп = 220 мм)
Рис. 10. Определение r подоконного участка и надоконной перемычки стеновой панели с горизонтальным стыком без утеплителя и с раздельным оконным блоком (с плитой перекрытия δп = 220 мм)
то же, с раздельным оконным блоком - по графикам и таблице на рис. 10,
для панелей с утепленным горизонтальным стыком и плитой перекрытия (δп = 220 мм) при раздельных оконных блоках - по графикам на рис. 11,
Рис. 11. Определение r подоконного участка и надоконной перемычки стеновой панели с утепленным горизонтальным стыком при раздельных оконных блоках (с плитой перекрытия δп = 220 мм)
Рис. 12. Определение r подоконного участка и надоконной перемычки стеновой панели с утепленным горизонтальным стыком при спаренных оконных блоках (с плитой перекрытия δп = 220 мм)
то же, при спаренных оконных блоках - по графикам на рис. 12.
2.5. Определение коэффициента теплотехнической однородности угловых участков rу.у под окном и над окном производится:
для панелей с утепленным горизонтальным стыком (со сплошной плитой перекрытия δп = 140 мм) - по графикам и таблице на рис. 13,
Рис. 13. Определение r угловых участков под окном (а) и над окном (б) стеновой панели с утепленным горизонтальным стыком (со сплошной плитой перекрытия δп = 140 мм) при L = 400 мм
для панелей с горизонтальным стыком без утеплителя (с плитой перекрытия δп = 220 мм) - по графикам и таблице на рис. 14,
то же, при утепленном стыке - по графикам и таблице на рис. 15.
2.6. Определение коэффициента теплотехнической однородности r керамзитобетонного импоста в панели при спаренных и раздельных оконных блоках производится по графикам на рис. 16.
2.7. Определение приведенного
сопротивления теплопередаче
для некоторых типов характерных панелей
в целом производится:
для панелей с утепленными горизонтальным и вертикальным стыками при междуэтажном перекрытии из сплошной плиты толщиной 140 мм (при изменении ширины окна, но при постоянной его высоте) - по графику на рис. 17;
для панелей с утепленным колодцеобразным
вертикальным стыком при разном заполнении горизонтального стыка, сопрягающегося
с пустотелой плитой перекрытия толщиной 220 мм, и различных размерах оконного
проема - по графику на рис. 18; приведенная на графике зависимость дана для
условия установки в панелях оконных блоков с
раздельными переплетами (ОР); в случае применения оконных блоков со спаренными
переплетами (ОС) необходимо на величину
, полученную по графику на рис. 18,
ввести поправку:
для панелей толщиной 350 мм
- 0,025,
для панелей толщиной 400 мм
- 0,015;
Рис. 14. Определение r угловых участков под окном (а) и над окном (б) стеновой панели с горизонтальным стыком без утеплителя (с плитой перекрытия δп = 220 мм)
Рис. 15. Определение r угловых участков под окном (а) и над окном (б) стеновой панели с утепленным горизонтальным стыком (с плитой перекрытия δп = 220 мм)
Рис. 16. Определение r импоста однослойной стеновой панели при спаренных (а) и раздельных (б) оконных блоках
Рис. 17. Приведенное сопротивление теплопередаче
однослойных
керамзитобетонных панелей при междуэтажном перекрытии из сплошной плиты
толщиной 140 мм:
1 - при раздельных оконных блоках; 2 - при спаренных оконных блоках
Рис. 18. Приведенное сопротивление теплопередаче
однослойных
панелей (δп = 350 и 400 мм) с колодцеобразным вертикальным
стыком:
а - горизонтальный стык с раствором; б - то же, со вспененным утеплителем; в - вертикальный стык с утепленным колодцем
Рис. 19. Приведенное сопротивление теплопередаче
однослойных
панелей (δп = 350 и
400 мм) с плоским вертикальным стыком:
а - горизонтальный стык с раствором; б - то же, со вспененным утеплителем; в - плоский вертикальный стык
для аналогичных условий, но для панелей, выполненных с плоским вертикальным стыком, - по графику на рис. 19;
для панелей внутреннего угла, сопрягающихся с пустотелой плитой перекрытия толщиной 220 мм, для двух отношений Fп/Fо.п - по графику на рис. 20.
Рис. 20. Приведенное сопротивление теплопередаче
однослойных
керамзитобетонных панелей внутреннего угла при Fп/Fо.п = 2,0
(А) и Fп/Fо.п = 2,35 (Б):
а - горизонтальный стык с раствором; б - то же, со вспененным утеплителем; в - теплоотдающая поверхность панели
2.8. Принципиальная схема разбивки ленточной панели на расчетные участки приведена на рис. 21. Определение коэффициента теплотехнической однородности r различных участков ленточной панели, межоконной вставки и угловой панели производится:
для краевых участков ленточной панели (участки I и V) - по графику на рис. 21;
для межоконных вставок и участка ленточной панели между оконными проемами (участки II и IV) - по графику на рис. 22;
для межоконной вставки около угловой панели и для угловой панели - по графикам на рис. 23.
Рис. 21. Разбивка фасада с ленточными панелями и определение r участков I и V:
1 - для δ = 0,2 м, λк.б = 0,54 Вт/м · °С;
2 - для δ = 0,4 м, λк.б = 0,54 Вт/м · °С;
3 - для δ = 0,2 м, λк.б = 0,23 Вт/м · °С;
4 - для δ = 0,4 м, λк.б = 0,23 Вт/м · °С;
Рис. 22. Определение r рядовых межоконных вставок и участков II и IV ленточных панелей:
1 - δ = 0,2 м; 2 - δ = 0,3 м; 3 - δ = 0,4 м
Рис. 23. Определение r ограждений наружного угла:
а - панель у окна; б - угловая панель
1 - δ = 0,2 м; 2 - δ = 0,3 м; 3 - δ = 0,4 м
2.9. Принципиальная схема разбивки
площадей расчетных участков трехслойной панели для определения
приведена
на рис. 24.
Рис. 24. Схема разбивки площадей расчетных участков трехслойной панели с жесткими связями для определения r
Приведенное сопротивление
теплопередаче
трехслойной панели следует определять по
формуле
где F1, F2, ..., Fп - площади расчетных участков;
r1, r2, ..., rп - коэффициенты теплотехнической однородности участков.
2.10. Определение r подоконного участка (уч. 3) производится по графикам на рис. 25.
2.11. Определение r простенка панели (уч. 1) производится по графикам на рис. 26 и 27.
2.12. Определение r надоконной перемычки (уч. 2) производится по графикам на рис, 28
Рис. 25. Определение r подоконного участка трехслойной бетонной панели с обрамляющими ребрами при δут = 100 мм (а) и δут = 125 мм (б):
1 - λ = 0,046 Вт/м2 · °C; 2 - λ = 0,07 Вт/м2 · °С; 3 - λ = 0,093 Вт/м2 · °С
2.13. Определение r участка панели над простенком на высоту надоконной перемычки (уч. 4) производится по графикам на рис. 29.
2.14. Определение r участка панели под простенком на половину высоты подоконного участка (уч. 6) производится по графикам на рис. 30.
2.15. Определение r участка панели под простенком у вертикального стыка на половину ширины простенка (уч. 5) производится по графикам на рис. 31.
2.16. Величина r участка панели вне зоны теплопроводных включений (уч. 7) принимается равной 1.
2.17. Величина r угловых участков панели (уч. 8) определяется на основе расчета объемного температурного поля. Для предварительных расчетов величина r угловых участков трехслойных бетонных панелей может быть принята равной 0,2.
Рис. 26. Определение r простенка бетонной трехслойной панели с обрамляющими ребрами при δут = 100 мм, δв = 110 мм и δн = 70 мм (а) и δут = 100 мм, δв = 85 мм и δн = 95 мм (б)
Рис. 27. Определение r простенка бетонной трехслойной панели с обрамляющими ребрами при δут = 125 мм, δв = 110 мм, δн = 45 мм (а); δут = 125 мм, δв = 85 мм и δн = 70 мм (б)
Рис. 28. Определение r надоконной перемычки трехслойной панели из бетона при δут = 100 мм (а) и δут = 125 мм, (б):
1 - λ = 0,046 Вт/м · °C; 2 - λ = 0,07 Вт/м · °C; 3 - λ = 0,093 Вт/м · °C
Рис. 29. Определение r участка трехслойной панели из бетона над простенком при δут = 100 мм (а) и δут = 125 мм (б):
1 - λ = 0,046 Вт/м · °C; 2 - λ = 0,07 Вт/м · °C; 3 - λ = 0,093 Вт/м · °C
Рис. 30. Определение r участка трехслойной панели из бетона под простенком при δут = 100 мм (а) и δут = 125 мм (б):
1 - λ = 0,046 Вт/м · °C; 2 - λ = 0,07 Вт/м · °C; 3 - λ = 0,093 Вт/м · °C
Рис. 31. Определение r участка трехслойной панели из бетона у вертикального стыка при δут = 100 мм (а) и δут = 125 мм (б):
1 - λ = 0,046 Вт/м · °C; 2 - λ = 0,07 Вт/м · °C; 3 - λ = 0,093 Вт/м · °C
2.18. Принципиальная схема разбивки
площадей расчетных участков для определения
принимается в соответствии с
рис. 24.
Приведенное сопротивление теплопередаче трехслойных керамзитобетонных панелей следует определять по формуле (3).
2.19. Определение r простенков панелей толщиной 350 мм производится по графикам на рис. 32 и 33, а для панелей толщиной 400 мм - по графикам на рис. 34 и 35.
2.20. Определение r подоконного участка панелей толщиной 350 мм производится по графикам на рис. 36, а для панелей толщиной 400 мм - по графикам на рис. 37.
2.21. Определение r надоконной перемычки для панели толщиной 350 и 400 мм производится по графикам на рис. 38.
Рис. 32. Определение r простенка трехслойной панели из керамзитобетона толщиной 350 мм при L = 500 мм (а) и 650 мм (б):
1 - λк.Б = 0,29 Вт/м · °C; 2 - λк.Б = 0,35 Вт/м · °C; 3 - λк.Б = 0,44 Вт/м · °C; 4 - λк.Б = 0,52 Вт/м · °C; 5 - λк.Б = 0,62 Вт/м · °C; 6 - λк.Б = 0,72 Вт/м · °C; 7 - λк.Б = 0,79 Вт/м · °C
Рис. 33. Определение r простенка трехслойной панели из керамзитобетона толщиной 350 мм при L = 800 мм (а) и 1100 мм (б):
1 - λк.Б = 0,29 Вт/м · °C; 2 - λк.Б = 0,35 Вт/м · °C; 3 - λк.Б = 0,44 Вт/м · °C; 4 - λк.Б = 0,52 Вт/м · °C; 5 - λк.Б = 0,62 Вт/м · °C; 6 - λк.Б = 0,72 Вт/м · °C; 7 - λк.Б = 0,79 Вт/м · °C
Рис. 34. Определение r простенка трехслойной панели из керамзитобетона толщиной 400 мм при L = 500 мм (а) и 640 мм (б):
1 - λк.Б = 0,29 Вт/м · °C; 2 - λк.Б = 0,35 Вт/м · °C; 3 - λк.Б = 0,44 Вт/м · °C; 4 - λк.Б = 0,52 Вт/м · °C; 5 - λк.Б = 0,62 Вт/м · °C; 6 - λк.Б = 0,72 Вт/м · °C; 7 - λк.Б = 0,79 Вт/м · °C
Рис. 35. Определение r простенка трехслойной панели из керамзитобетона толщиной 400 мм при L = 800 мм (а) и 1100 мм (б):
1 - λк.Б = 0,29 Вт/м · °C; 2 - λк.Б = 0,35 Вт/м · °C; 3 - λк.Б = 0,44 Вт/м · °C; 4 - λк.Б = 0,52 Вт/м · °C; 5 - λк.Б = 0,62 Вт/м · °C; 6 - λк.Б = 0,72 Вт/м · °C; 7 - λк.Б = 0,79 Вт/м · °C
Рис. 36. Определение r подоконного участка трехслойной панели из керамзитобетона толщиной 350 мм при H = 735 мм (а), 1035 мм (б) и 1636 мм (в):
1 - λк.Б = 0,29 Вт/м · °C; 2 - λк.Б = 0,35 Вт/м · °C; 3 - λк.Б = 0,44 Вт/м · °C; 4 - λк.Б = 0,52 Вт/м · °C; 5 - λк.Б = 0,62 Вт/м · °C; 6 - λк.Б = 0,72 Вт/м · °C; 7 - λк.Б = 0,79 Вт/м · °C
Рис. 37. Определение r подоконного участка трехслойных панелей из керамзитобетона толщиной 400 мм при H = 735 мм (а), 1035 мм (б), 1635 мм (в):
1 - λк.Б = 0,29 Вт/м · °C; 2 - λк.Б = 0,35 Вт/м · °C; 3 - λк.Б = 0,44 Вт/м · °C; 4 - λк.Б = 0,52 Вт/м · °C; 5 - λк.Б = 0,62 Вт/м · °C; 6 - λк.Б = 0,72 Вт/м · °C; 7 - λк.Б = 0,79 Вт/м · °C
Рис. 38. Определение r надоконной перемычки трехслойной панели из керамзитобетона при δ = 350 мм (а) и 400 мм (б):
1 - λк.Б = 0,29 Вт/м · °C; 2 - λк.Б = 0,35 Вт/м · °C; 3 - λк.Б = 0,44 Вт/м · °C; 4 - λк.Б = 0,52 Вт/м · °C; 5 - λк.Б = 0,62 Вт/м · °C; 6 - λк.Б = 0,72 Вт/м · °C; 7 - λк.Б = 0,79 Вт/м · °C
2.22. Определение приведенного
сопротивления теплопередаче
для некоторых типов характерных панелей
в целом производится:
для трехслойных панелей с неутепленной надоконной перемычкой, сопрягающейся с пустотелой плитой перекрытия толщиной 220 мм, с утепленным колодцеобразным вертикальным стыком для отношения Fп/Fо.п = 2,41 (при λут = 0,047 Вт/м · °C) - по графику на рис. 39;
для аналогичных конструкций панелей, но с утолщенным на 50 мм по отношению к простенкам утеплителем - по графику на рис. 40;
Рис. 39. Приведенное сопротивление теплопередаче
трехслойной
керамзитобетонной панели с неутепленной перемычкой (δп = 350 и
400 мм) с колодцеобразным вертикальным стыком при Fп/Fо.п =
2,41:
а - горизонтальный стык с раствором; б - то же, со вспененным утеплителем; в - вертикальный стык с утепленным колодцем
для трехслойных панелей с неутепленной перемычкой, сопрягающейся с пустотелой плитой перекрытия толщиной 220 мм, с плоским вертикальным стыком для отношения Fп/Fо.п = 2,41 (при λут = 0,047 Вт/м · °C) - по графику на рис. 41;
для аналогичных конструкций, но при других соотношениях Fп/Fо.п, а также в случае использования утеплителя с λут = 0,041 Вт/м · °C следует использовать повышающие коэффициенты по графикам, приведенным на рис. 42;
для трехслойных панелей с утепленной надоконной перемычкой, сопрягающейся с пустотелой плитой перекрытия толщиной 220 мм, с утепленным колодцеобразным вертикальным стыком для отношения Fп/Fо.п = 2,41 - по графику на рис. 43, а для панелей, выполненных с плоским вертикальным стыком, - по графику на рис. 44;
для трехслойных панелей с утепленной надоконной перемычкой, сопрягающихся с пустотелой плитой перекрытия толщиной 220 мм, с колодцеобразным и плоским вертикальным стыками, но при других соотношениях Fп/Fо.п следует использовать повышающие коэффициенты по графикам на рис. 45.
Рис. 40. Приведенное сопротивление теплопередаче
трехслойной
керамзитобетонной панели с неутепленной перемычкой (δп = 350 и
400 мм) с утолщенным утеплителем в подоконном участке и с колодцеобразным
стыком при Fп/Fо.п = 2,41:
а - горизонтальный стык с раствором; б - то же, со вспененным утеплителем; в - вертикальный стык с утепленным колодцем
Рис. 41. Приведенное сопротивление теплопередаче
трехслойной
керамзитобетонной панели с неутепленной перемычкой (δп = 350 и
400 мм) и плоским вертикальным стыком при Fп/Fо.п = 2,41:
а - горизонтальный стык с раствором; б - то же, со вспененным утеплителем; в - плоский вертикальный стык
2.23. Величину
трехслойных
керамзитобетонных панелей по альбому 5РС41-39, разработанному МНИИТЭПом,
следует определять по рис. 1 приложения.
Рис. 42. Графики для определения повышающих
коэффициентов KF и Kλ при
выявлении
трехслойных панелей с неутепленной перемычкой в случае
изменения Fп/Fо.п и λут с 0,047 на 0,041 Вт/м · °C
Рис. 43. Приведенное сопротивление теплопередаче
трехслойной
керамзитобетонной панели (δп = 350 и 400 мм) при λут
= 0,041 и 0,047 Вт/м · °C и утепленном колодцеобразном стыке (Fп/Fо.п = 2,41):
1 - утеплитель λ = 0,041 Вт/м · °C; 2 - то же, λ = 0,047 Вт/м · °C
Рис. 44. Приведенное сопротивление теплопередаче
трехслойной
керамзитобетонной панели (δп = 350 и 400 мм) при λут
= 0,041 и 0,047 Вт/м · °C и плоском вертикальном стыке (Fп/Fо.п = 2,41).
1 - утеплитель λ = 0,041 Вт/м · °С; 2 - то же, λ = 0,47 Вт/м · С
Рис. 45. Графики для определения повышающего
коэффициента K при выявлении
трехслойных панелей в случае изменения Fп/Fо.п и при разной
конфигурации вертикального стыка:
а - утепленный стык с колодцем; б - прямой стык
2.24. Принципиальная схема разбивки панелей полосовой разрезки на расчетные участки приведена на рис. 21.
Определение приведенного сопротивления
теплопередаче
для различных марок ленточных панелей
толщиной 340 мм с утеплителем толщиной 100 мм с λут = 0,047
Вт/м · °C (при δм = 50 мм) производится:
Рис. 46. Приведенное сопротивление теплопередаче
трехслойных
керамзитобетонных простеночных панелей (L = 640 -
2500 мм) при δм = 50 мм и сопряжении панели с окном (сплошная
линия) и со стыком (пунктирная линия)
Рис. 47. Поправочный коэффициент на
при
изменении δм с 50 мм на δм = 30 мм (а) и δм
= 80 мм (б):
1 - L = 1240 мм; 2 - L = 1900 мм; 3 - L = 2500 мм
Рис. 48. Приведенное сопротивление теплопередаче
трехслойной
керамзитобетонной панели полосовой разрезки различной высоты и при разных
вариантах сопряжения:
1 - H = 1540 мм; 2 - H = 1840 мм; 3 - H = 2140 мм
для простеночных панелей
разной ширины (L) - по графикам на рис. 46 и 47; поправочный
коэффициент (в %) на
при изменении δм с 50 мм на 30 или 80
мм принимать по графикам на рис. 47;
для ленточных панелей разной высоты и различных вариантов сопряжения - по графикам на рис. 48.
2.25. Определение
приведенного сопротивления теплопередаче
одномодульных панелей, конструкция которых
показана на рис. 49, следует
производить по формулам
для панелей толщиной 350 мм
Рис. 49. Конструкция стеновой одномодульной панели с гибкими связями (δп = 300 и 400 мм)
Рис. 50. Определение
одномодульной панели с гибкими связями в зависимости
от λут/Fп и Fо.п, при δв
= 350 мм, δут = 100 мм (А) и при δн = 400 мм,
δут = 150 мм (Б) и соответствующие поправочные коэффициенты (а
и б) для пересчета
одномодульной панели на двухмодульную
где 
для панелей толщиной 400 мм
где 
Указанные формулы справедливы при Fп/Fо.к > 2,5
Графическая зависимость
для
некоторых значений коэффициента теплопроводности утеплителя для панелей
толщиной 350 и 400 мм приведена на рис. 50.
2.26. Определение
двухмодульных панелей производится по
формуле
(6)
где
-
определяется по формулам (4) и (5) или по графикам на рис. 50 (А и
Б);
Dr - поправочный коэффициент, определяемый для δп = 350 и 400 мм по графику на рис. 50 (а и б).
2.27. Значения
или r некоторых
типов панелей с гибкими связями или участков панелей с различными типами гибких
связей приведены в приложении.
Настоящий раздел составлен в развитие §
2.11* СНиП
II-3-79**. Представленные графики позволяют определить не только
минимальную температуру внутренней поверхности ограждающей конструкции
в зоне
теплопроводного включения (по коэффициенту η), но и температуру внутренней
поверхности конструкции посредине между осями
параллельно расположенных теплопроводных включений (tв.ц по
коэффициенту ηв), а также определить среднюю температуру
внутренней поверхности конструкции
между осями параллельно расположенных
теплопроводных включений (по коэффициенту ηв.ср). В свою
очередь, по средней температуре участка конструкции можно определить
усредненный тепловой поток и, соответственно, приведенное сопротивление
теплопередаче рассматриваемого участка. В разделе
приводится также метод определения минимальной температуры в узлах консольного
типа однослойных панелей.
3.1. Температуру внутренней поверхности в местах теплопроводных включений, показанных на рис. 51, следует определить по формуле
(7)
Рис. 51. Схемы теплопроводных включений в ограждающих конструкциях. Типы теплопроводных включений даны по СНиП II-3-79 **. Тип IV не рассматривается
3.2. Безразмерный коэффициент η характеризует минимальную температуру на внутренней поверхности конструкции в зоне теплопроводного включения в зависимости от типа включения, его размеров, а также от конструктивных особенностей ограждения.
Значение η для различных типов теплопроводных включений следует определять:
для бетонных включений I типа - по графику на рис. 52;
для металлических включений I типа - по графику на рис. 53;
для единичных бетонных включений II типа - по графику на рис. 54;
для единичных металлических включений II типа - по графику на рис. 55;
для параллельно расположенных бетонных включений II типа - по графикам на рис. 56 - 60;
Рис. 52. График определения η для бетонных включений I типа:
1 - при Р = 2; 2 - Р = 2,5; 3 - Р = 4; 4 - Р = 5; 5 - Р = 8; 6 - Р = 10; 7 - Р = 16; 8 - Р = 20; 9 - Р = 32
Рис. 53. График определения η для металлических включений I типа:
1 - Р = 50; 2 - Р = 100; 3 - Р = 200; 4 - Р = 1000: 5 - Р = 1250; 6 - Р = 2000; 7 - Р = 2500; 8 - Р = 5000
Рис. 54. График определения η единичных бетонных включений II типа для ограждений с δн = 50 мм (сплошная линия) и δн = 70 мм (пунктирная)
Рис. 55. График определения коэффициента η для единичных металлических включений II типа:
1 - δ = 100 + а; 2 - δ = 80 + а; 3 - δ = 60 + а
Рис. 56. График определения η для параллельно расположенных бетонных включений II типа при L = 400 мм (а) и L = 600 - 1200 мм (б):
1 - при δв = 50; 2 - при δв = 70; 3 - при δв = 90; 4 - при δн = 120

Рис. 57. График определения ηв для параллельно расположенных бетонных включений II типа при δв = 50 мм (а) и δв = 70 мм (б):
1 - при L = 400 мм; 2 - при L = 600 мм; 3 - при L = 800 мм; 4 - при L = 1000 мм; 5 - при L = 1200 мм

Рис. 58. График определения ηв для параллельно расположенных бетонных включений II типа при δв = 90 мм (а) и δв = 120 мм (б):
1 - при L = 400 мм; 2 - при L = 600 мм; 3 - при L = 800 мм; 4 - при L = 1000 мм; 5 - при L = 1200 мм

Рис. 59. График определения ηв.ср для параллельно расположенных бетонных включений II типа при δв = 50 мм (а) и δв = 70 мм (б):
1 - при L = 400; 2 - при L = 600 мм; 3 - при L = 800 мм; 4 - при L = 1000 мм; 5 - при L = 1200 мм
Рис. 60. График определения ηв.ср для параллельно расположенных бетонных включений II типа при δв = 90 мм (а) и δв = 120 мм (б):
1 - при L = 400 мм; 2 - при L = 600 мм; 3 - при L = 800 мм; 4 - при L = 1000 мм; 5 - при L = 1200 мм
для параллельно расположенных металлических включений II типа - по графикам на рис. 61 - 65;
для бетонных включений III типа - по графику на рис. 66;
для металлических включений III типа - по графику на рис. 67;
Рис. 61. График определения η для параллельно расположенных металлических включений II типа при L = 600 мм:
1 - при δут = 60 мм; 2 - при δут = 80 мм; 3 - при δут = 100 мм

Рис. 62. График определения ηв для параллельно расположенных металлических включений II типа при δут = 60 мм:
1 - при L = 600 мм; 2 - при L = 800 мм; 3 - L = 1000 мм; 4 - при L = 1200 мм


Рис. 63. График определения ηв для параллельно расположенных металлических включений II типа при δут = 80 мм (а) и δут = 100 мм (б):
1 - при L = 600 мм; 2 - при L = 800 мм; 3 - при L = 1000 мм; 4 - при L = 1200 мм

Рис. 64. График определения ηв.ср для параллельно расположенных металлических включений II типа при δут = 60 мм (а) и δут = 80 мм (б):
1 - при L = 600 мм; 2 - при L = 800 мм; 3 - при L = 1000 мм; 4 - при L - 1200 мм
Рис. 65. График определения ηв.ср для параллельно расположенных металлических включений II типа при δут = 100 мм:
1 - при L = 600 мм; 2 - при L = 800 мм; 3 - L = 1000 мм; 4 - L = 1200 мм
Рис. 66. График определения η для бетонных включений III типа:
1 - при с/δ = 0,065; 2 - при с/δ = 0,167; 3 - с/δ = 0,25; 4 - с/δ = 0,416; 5 - с/δ = 0,714
Рис. 67. График определения η для металлических включений III типа:
1 - при с/δ = 0,0625; 2 - при с/δ = 0,167; 3 - с/δ = 0,25; 4 - с/δ = 0,416
Рис. 68. График определения η для металлических включений V типа (гибкая связь) при разных значениях δуг/δв:
1 - 0,25; 2 - 0,5; 3 - 1,0; 4 - 1,5; 5 - 2,0; 6 - 3,0
для включений V типа - металлических единичных стержней, представляющих собой гибкие связи в трехслойных бетонных панелях, - по графику на рис. 68.
3.3. Общий вид горизонтального стыка однослойных панелей с плитой консольного типа приведен на рис. 69.
Рис. 69. Горизонтальный стык однослойных панелей с плитой консольного типа:
а - общий вид; б - шпоночное расположение утепляющих вкладышей в зоне перехода объединенной плиты перекрытия:
1 - фактурный слой, λ = 1,16 Вт/м · °C; 2 - керамзитобетон, λ-yar; 3 - цементно-песчаный раствор, λ = 0,93 Вт/м · °С; 4 - утеплитель, λ-yar, 5 - железобетон, g = 2500 кг/м3; λ = 2,03 вт/м · °С; 6 - линолеум на тканевой основе, λ = 0,25 Вт/м · °C
Минимальные температуры в узлах подобного типа наблюдаются над и под плитой перекрытия на цементно-песчаном растворе по оси теплопроводного включения, имеющего длину а.
Расчет минимальных температур над и под перекрытием tх,1 и tх,2 (рис. 70) состоит из следующих этапов:
1) исходя из конструктивных соображений принимаются размеры а и в, по ним рассчитываются соотношения а/δ и в/δ, в которых толщина наружной панели δ - есть величина постоянная и равная 320 мм (при этом принимается, что длина теплоизоляционного вкладыша с будет не менее 400 мм);
2) по графику на рис. 70, зная отношения а/δ и в/δ, находят понижающие коэффициенты ηх,1 для определения температур tх,1, и tх,2;
Рис. 70. Определение величины ηх в точках 1 и 2 для бетонных включений в стыках консольного типа однослойных стеновых панелей
Размеры а, в, δ, D обозначены на рис. 69.
3) значения ηx,1 остаются без изменения, если стеновая панель имеет толщину δ = 320 мм и выполнена из керамзитобетона с коэффициентом теплопроводности 0,4 Вт/м · °C, при этом высота выравнивающего слоя бетона D = 20 мм, а зона перехода утеплена материалом с λизол = 0,046 Вт/м · °C;
4) в случае утепления зоны перехода материалом с λизол = 0,07 Вт/м · °C значение ηx,1 увеличивают на 0,034; 0,026 или 0,019 соответственно при величине а, равной 80, 100 и 120 мм;
5) с учетом найденных коэффициентов ηx,1 определяют, минимальные температуры над и под перекрытием по формуле (8) с обозначениями для конкретного случая
где Rо.о.к - сопротивление теплопередаче, рассчитанное по сечению основной конструкции и равное 0,92 м2 · °C/Вт;.
Rо.т.в - сопротивление теплопередаче, рассчитанное по одномерной схеме передачи тепла в сечении по выравнивающему слою между стеновой панелью и объединенной плитой перекрытия и равное 0,5 м2 · °C/Вт;
6) при численных значениях δ, D, λк.Б, отличных от принятых в пп. 1 и 3, к температурам, рассчитанным по формуле (8), делаются следующие поправки:
если стеновая панель имеет толщину δ более 320 мм, то при каждом увеличении толщины в 20 мм температура tх,2, возрастает на 0,3 °C;
если высота выравнивающего слоя раствора D более 20 мм, то при каждом увеличении высоты на 10 мм температура tх,1 снижается на 0,3 °C, а tх,2 - на 0,2 °C;
если конструктивный материал панели имеет коэффициент теплопроводности выше 0,4 Вт/м · °C, то при каждом приросте λк.Б на 0,07 Вт/м · °C температура tх,1 и tх,2 снижается на 0,2 °C;
если рассматриваемое стыковое соединение имеет отклонения по нескольким параметрам (δ, D, λк.Б), то поправки, приведенные выше, суммируются и производится обобщающая корректировка величины tx,i
Пример. Определить минимальную температуру в горизонтальном стыке с плитой консольного типа при следующей характеристике узлового сопряжения:
однослойные стеновые панели: δ = 340 мм, λк.Б = 0,46 Вт/м · °C;
железобетонная панель перекрытия δ = 140 мм;
размеры отверстий под теплоизоляционные вкладыши в´с = 100´450 мм;
утепляющие вкладыши с λизол = 0,07 Вт/м · °C;
размеры сквозных включений в´а = 100´110 мм;
высота выравнивающего слоя раствора между стеновой панелью и плитой перекрытия: над перекрытием - 30 мм, под перекрытием - 40 мм;
пол - линолеум на теплой основе;
условия окружающей среды: tв = 18 °C, tн = -20 °C, aв = 8,7 Вт/м2 · °C, aн = 23 Вт/м2 · °C.
Решение. Определяем отношения а/δ и в/δ:
![]()
По графику на рис. 70 находим понижающие коэффициенты ηх.1 и ηх,2 для минимальных температур над и под перекрытием: ηх.1 = 0,5 и ηх,2 = 0,55.
Учитывая, что зона перехода утеплена материалом с λизол = 0,07 Вт/м · °C, коэффициенты ηх.1 и ηх,2 для а = 110 мм увеличиваются на 0,0225, следовательно, ηх.1 = 0,5225, ηх,2 = 0,5725.
Рассчитываем значения tх,1 и tх,2 по формуле (8)


В полученные величины вносим поправки: на увеличение толщины стеновой панели; на высоту выравнивающего слоя раствора; на увеличение коэффициента теплопроводности стеновой панели.
Поправки составляют:
для tx,1 + 0,3 + (-0,3) + (-0,2) = -0,2;
для tx,2 + 0,3 + (-0,2) + (-0,2) = -0,3.
Таким образом, величина минимальной температуры над перекрытием составит 10,98 °C, под перекрытием 10,69 °C.
Предположим, что толщина стеновой панели будет не 340, а 360 мм, тогда полученные величины tх,1 и tх,2 следует увеличить еще на 0,3 °C. Если при этом высота выравнивающего слоя над перекрытием станет 40 мм вместо рассчитанных 30 мм, то значение tх,1 надо уменьшить на 0,3 °C, т.е. в конечном итоге к температурам, рассчитанным в первом варианте, внести поправки: к tх,1 прибавить нуль, а к tх,2 прибавить 0,3. Таким образом, tх,1 будет равна 10,98 °C, а tх,2 = 10,99 °C, т.е. значения минимальных температур над в под перекрытием в этом случае совпадают.
Приведенное сопротивление теплопередаче оконных блоков с учетом их типов и геометрических размеров дано для следующих конструкций:
стандартные деревянные оконные блоки с двойным остеклением со спаренными и раздельными створками по ГОСТ 11214-86 (табл. 1 и рис. 71 - 73);
оконные блоки с тройным остеклением по ГОСТ 16289-80 (табл. 2 и рис. 74);
специальные шумо- и теплозащитные оконные блоки с двойным остеклением по альбому РМ-1372, доп. 1 «Специальные шумозащитные и теплозащитные оконные блоки с двойным остеклением со звукопоглощающей обкладкой с форточкой для домов серии П55/12» (табл. 3 и рис. 75);
модернизированные оконные блоки со спаренными переплетами по альбому МНИИТЭПа (шифр НИ-3033-01) с учетом номенклатуры ГОСТ 11214-86 (табл. 4 и рис. 76).
Таблица 1
Приведенное сопротивление теплопередаче оконных блоков с двойным остеклением со спаренными и раздельными створками по ГОСТ 11214-86
|
Марка блока |
Габаритные размеры, м |
Площадь блока и его отдельных элементов, м2/% |
Приведенное сопротивление теплопередаче блока, м · °C/Вт |
||||||
|
общая |
коробки |
импоста |
переплета |
остекления |
ОС |
ОР |
|||
|
1 |
2 |
3 |
4 |
5 |
6 |
7 |
8 |
9 |
10 |
|
1 |
|
0,56´0,87 |
0,487 100 |
0,086 17,7 |
- |
0,131 27,0 |
0,270 55,3 |
0,504 |
0,592 |
|
2 |
|
0,56´1,17 |
0,655 100 |
0,106 16,2 |
0,01 1,5 |
0,205 31,2 |
0,335 51,1 |
0,518 |
0,620 |
|
3 |
|
0,86´0,87 |
0,748 100 |
0,104 13,9 |
- |
0,164 22,0 |
0,480 64,1 |
0,478 |
0,549 |
|
4 |
|
0,86´1,17 |
1,006 100 |
0,124 12,3 |
0,016 1,6 |
0,271 26,9 |
0,596 59,2 |
0,494 |
0,575 |
|
5 |
|
0,86´1,32 |
1,135 100 |
0,134 11,8 |
0,016 1,4 |
0,287 25,3 |
0,699 61,5 |
0,486 |
0,564 |
|
6 |
|
0,86´1,47 |
1,264 100 |
0,143 11,3 |
0,016 1,3 |
0,304 24,0 |
0,801 63,4 |
0,481 |
0,554 |
|
7 |
|
1,16´0,87 |
1,009 100 |
0,122 12,1 |
- |
0,262 26,0 |
0,624 61,9 |
0,487 |
0,563 |
|
8 |
|
1,16´1,17 |
1,357 100 |
0,142 10,4 |
0,022 1,6 |
0,364 26,9 |
0,829 61,1 |
0,488 |
0,568 |
|
9 |
|
1,16´1,32 |
1,531 100 |
0,152 9,9 |
0,022 1,4 |
0,381 24,9 |
0,97 63,8 |
0,481 |
0,554 |
|
10 |
|
1,16´1,47 |
1,705 100 |
0,161 9,4 |
0,022 1,3 |
0,398 23,3 |
1,124 66,0 |
0,474 |
0,543 |
|
11 |
|
1,46´0,57 |
0,832 100 |
0,121 14,6 |
- |
0,234 28,1 |
0,477 57,3 |
0,501 |
0,586 |
|
12 |
|
1,46´0,87 |
1,270 100 |
0,140 11,0 |
- |
0,296 23,3 |
0,834 65,7 |
0,476 |
0,544 |
|
13 |
|
1,46´1,17 |
1,708 100 |
0,159 9,3 |
0,028 1,6 |
0,427 25,0 |
1,094 64,1 |
0,480 |
0,553 |
|
14 |
|
1,46´1,32 |
1,927 100 |
0,169 8,8 |
0,028 1,5 |
0,444 23,0 |
1,286 66,7 |
0,472 |
0,544 |
|
15 |
|
1,46´1,47 |
2,146 100 |
0,179 8,3 |
0,028 1,3 |
0,460 21,6 |
1,479 68,8 |
0,467 |
0,532 |
|
16 |
|
1,46´1,77 |
2,584 100 |
0,198 7,6 |
0,056 2,2 |
0,632 24,5 |
1,698 65,7 |
0,476 |
0,546 |
|
17 |
|
1,46´2,07 |
3,022 100 |
0,218 7,2 |
0,056 1,8 |
0,673 22,3 |
2,076 68,7 |
0,467 |
0,531 |
|
18 |
|
1,46´0,87 |
1,270 100 |
0,140 11,0 |
- |
0,230 18,2 |
0,900 70,8 |
0,459 |
0,518 |
|
19 |
|
1,76´0,87 |
1,531 100 |
0,158 10,3 |
- |
0,336 25,2 |
0,987 64,5 |
0,480 |
0,552 |
|
20 |
|
1,76´1,32 |
2,323 100 |
0,188 8,1 |
0,034 1,4 |
0,602 25,9 |
1,500 64,6 |
0,480 |
0,552 |
|
21 |
|
1,76´1,46 |
2,587 100 |
0,197 7,6 |
0,034 1,3 |
0,622 24,0 |
1,734 67,1 |
0,472 |
0,540 |
|
22 |
|
1,76´0,87 |
1,531 100 |
0,158 10,3 |
- |
0,309 20,2 |
1,064 69,5 |
0,464 |
0,525 |
Рис. 71. Конструкция и сечения по притворам спаренных и раздельных оконных блоков (ОС и ОР) жилых зданий по ГОСТ 11214-86

Рис. 72. Сечения С1, С2, С3, С4, С5 (см. рис. 71) по притворам спаренных оконных блоков (ОС) жилых зданий
Рис. 73. Сечения С1, С2, С3, С4, С5, С6 (см. рис. 71) по притворам раздельных оконных блоков (ОР) жилых зданий
Рис. 74. Сечения С1, С2, С3, С4, С5, С6 (см. рис. 71) по притворам оконных блоков с тройным остеклением
Таблица 2
Приведенное сопротивление теплопередаче оконных блоков с тройным остеклением по ГОСТ 16289-80
|
Марка блока |
Габаритные размеры, м |
Площадь блока и его отдельных элементов, м3/% |
Приведенное сопротивление теплопередаче блока, м2 · °C/Вт |
|||||
|
общая |
коробки |
импоста |
переплета |
остекления |
||||
|
1 |
ОРС6-9 |
0,56´0,87 |
0,487 100 |
0,086 17,7 |
- |
0,131 27,0 |
0,270 55,3 |
0,612 |
|
2 |
ОРС6-12 |
0,56´1,17 |
0,655 100 |
0,106 16,2 |
0,010 1,5 |
0,205 31,2 |
0,335 51,1 |
0,630 |
|
3 |
ОРС9-9 |
0,86´0,87 |
0,748 100 |
0,104 13,9 |
- |
0,164 22,0 |
0,480 64,1 |
0,586 |
|
4 |
ОРС9-12 |
0,86´1,17 |
1,006 100 |
0,124 12,3 |
0,016 1,6 |
0,271 26,9 |
0,596 59,2 |
0,605 |
|
5 |
ОРС9-13,5 |
0,86´1,32 |
1,135 100 |
0,134 11,8 |
0,016 1,4 |
0,287 25,3 |
0,699 61,5 |
0,598 |
|
6 |
ОРС9-15 |
0,86´1,47 |
1,264 100 |
0,143 11,3 |
0,016 1,3 |
0,304 24,0 |
0,801 63,4 |
0,592 |
|
7 |
ОРС12-9 |
1,16´0,87 |
1,009 100 |
0,122 12,1 |
0,004 0,4 |
0,274 27,2 |
0,609 60,3 |
0,604 |
|
8 |
ОРС12-12 |
1,16´1,17 |
1,352 100 |
0,142 10,4 |
0,024 1,8 |
0,365 26,9 |
0,827 60,9 |
0,602 |
|
9 |
ОРС12-13,5 |
1,16´1,32 |
1,531 100 |
0,152 9,9 |
0,024 1,5 |
0,381 24,9 |
0,975 63,7 |
0,593 |
|
10 |
ОРС12-15 |
1,16´1,47 |
1,705 100 |
0,161 9,5 |
0,024 1,4 |
0,398 23,3 |
1,122 65,8 |
0,586 |
|
11 |
ОРС15-6 |
1,46´0,57 |
0,832 100 |
0,121 14,5 |
0,003 0,3 |
0,241 29,0 |
0,462 56,2 |
0,616 |
|
12 |
ОРС15-9 |
1,46´0,87 |
1,270 100 |
0,140 11,0 |
0,004 0,3 |
0,307 24,2 |
0,819 64,5 |
0,590 |
|
13 |
ОРС15-12 |
1,46´1,17 |
1,708 100 |
0,160 9,3 |
0,03 1,7 |
0,431 25,3 |
1,088 63,7 |
0,594 |
|
14 |
ОРС15-13,5 |
1,46´1,32 |
1,927 100 |
0,170 8,8 |
0,03 1,5 |
0,447 23,2 |
1,281 66,5 |
0,585 |
|
15 |
ОРС15-15 |
1,46´1,47 |
2,146 100 |
0,179 8,3 |
0,03 1,3 |
0,464 21,6 |
1,474 68,8 |
0,581 |
|
16 |
ОРС15-18 |
1,46´1,77 |
2,584 100 |
0,199 7,7 |
0,058 2,2 |
0,636 24,6 |
1,692 65,5 |
0,589 |
|
17 |
ОРС15-21 |
1,46´2,07 |
3,022 100 |
0,218 7,2 |
0,058 1,9 |
0,678 22,4 |
2,068 68,5 |
0,581 |
|
18 |
ОРС15-9А |
1,46´0,87 |
1,270 100 |
0,140 11,0 |
- |
0,230 18,2 |
0,900 70,8 |
0,568 |
|
19 |
ОРС18-9 |
1,76´0,87 |
1,531 100 |
0,158 10,3 |
0,004 0,2 |
0,396 26,0 |
0,972 63,5 |
0,595 |
|
20 |
ОРС18-13,5 |
1,76´1,32 |
2,323 100 |
0,188 8,1 |
0,036 1,5 |
0,601 25,9 |
1,409 64,5 |
0,594 |
|
21 |
ОРС18-15 |
1,76´1,47 |
2,587 100 |
0,197 7,6 |
0,036 1,4 |
0,621 24,0 |
1,733 67,0 |
0,586 |
|
22 |
ОРС18-9А |
1,76´0,87 |
1,531 100 |
0,158 10,3 |
- |
0,309 20,2 |
1,064 69,5 |
0,574 |
Таблица 3
Приведенное сопротивление теплопередаче специальных шумо- и теплозащитных оконных блоков с двойным остеклением по альбому РМ-1372, доп. 1
|
Марка блока |
Габаритные размеры, м |
Площадь блока и его отдельных элементов, м2/% |
Приведенное сопротивление теплопередаче блока, м2 · °С/Вт |
|||||
|
общая |
коробки |
импоста |
переплета |
остекления |
||||
|
1 |
2РШ15-9 |
1,46´0,87 |
1,270 100 |
0,140 11,0 |
- |
0,353 27,8 |
0,776 61,2 |
0,443 |
|
2 |
2РШ15-12 |
1,46´1,17 |
1,708 100 |
0,160 9,4 |
0,028 1,6 |
0,511 29,9 |
1,01 59,1 |
0,451 |
|
3 |
2РШ15-15 |
1,46´1,47 |
2,146 100 |
0,179 8,4 |
0,028 1,3 |
0,550 25,6 |
1,389 64,7 |
0,432 |
|
4 |
2РШ15-18 |
1,46´1,77 |
2,584 100 |
0,199 7,7 |
0,028 1,1 |
0,589 22,8 |
1,769 68,4 |
0,419 |
|
5 |
2РШ15-21 |
1,46´2,07 |
3,022 100 |
0,218 7,2 |
0,056 1,9 |
0,790 26,1 |
1,958 64,8 |
0,431 |
Рис. 75. Сечения С1, С2, С3, С4, С5 (см. рис. 71) по притворам оконных блоков с двойным остеклением со звукопоглощающей обкладкой по альбому МНИИТЭП РМ-1372, доп. 1
Рис. 76. Сечения С1, С2, С3, С4, С5 (см. рис. 71) по притворам модернизированных оконных блоков со спаренными переплетами по альбому МНИИТЭП, шифр НИ-3003-01
Таблица 4
Приведенное сопротивление теплопередаче модернизированных оконных блоков со спаренными переплетами и с двойным остеклением по альбому МНИИТЭПа (шифр НИ-3003-01)
|
Марка блока |
Габаритные размеры, м |
Площадь блока и его отдельных элементов, м2/% |
Приведенное сопротивление теплопередаче блока, м2 · °C/Вт |
|||||
|
общая |
коробки |
импоста |
переплета |
остекления |
||||
|
1 |
ОС6-9 |
0,56´0,87 |
0,487 100 |
0,082 16,9 |
- |
0,153 31,5 |
0,252 51,6 |
0,525 |
|
2 |
ОС6-12 |
0,56´1,17 |
0,655 100 |
0,100 15,3 |
0,01 1,5 |
0,238 36,3 |
0,307 46,9 |
0,543 |
|
3 |
ОС9-9 |
0,86´0,87 |
0,748 100 |
0,100 13,4 |
- |
0,192 25,7 |
0,456 60,9 |
0,494 |
|
4 |
ОС9-12 |
0,86´1,17 |
1,006 100 |
0,118 11,7 |
0,016 1,6 |
0,316 31,4 |
0,556 55,3 |
0,513 |
|
5 |
ОС9-13,5 |
0,86´1,32 |
1,135 100 |
0,127 11,2 |
0,016 1,4 |
0,335 29,6 |
0,657 57,8 |
0,506 |
|
6 |
ОС9-15 |
0,86´1,47 |
1,264 100 |
0,136 10,8 |
0,016 1,3 |
0,355 28,0 |
0,757 59,9 |
0,499 |
|
7 |
ОС12-9 |
1,16´0,87 |
1,009 100 |
0,118 11,7 |
- |
0,296 29,3 |
0,595 59,0 |
0,503 |
|
8 |
ОС12-12 |
1,16´1,17 |
1,357 100 |
0,136 10,0 |
0,022 1,6 |
0,419 30,9 |
0,780 57,5 |
0,507 |
|
9 |
ОС12-13,5 |
1,16´1,32 |
1,531 100 |
0,145 9,5 |
0,022 1,4 |
0,430 28,7 |
0,925 60,4 |
0,498 |
|
10 |
ОС12-15 |
1,16´1,47 |
1,705 100 |
0,154 9/0 |
0,022 1,3 |
0,458 26,9 |
1,071 62,8 |
0,490 |
|
11 |
ОС15-6 |
1,46´0,57 |
0,832 100 |
0,118 14,2 |
- |
0,268 32,2 |
0,446 53,6 |
0,520 |
|
12 |
ОС15-9 |
1,46´0,87 |
1,270 100 |
0,136 10,7 |
- |
0,335 26,4 |
0,790 62,9 |
0,490 |
|
13 |
ОС15-12 |
1,46´1,17 |
1,708 100 |
0,154 9,0 |
0,028 1,6 |
0,497 29,1 |
1,029 60,3 |
0,498 |
|
14 |
ОС15-13,5 |
1,46´1,32 |
1,927 100 |
0,163 8,5 |
0,028 1,4 |
0,517 26,8 |
1,219 63,3 |
0,488 |
|
15 |
ОС15-15 |
1,46´1,47 |
2,146 100 |
0,172 8,0 |
0,028 1,3 |
0,536 25,0 |
1,410 65,7 |
0,480 |
|
16 |
ОС15-18 |
1,46´1,77 |
2,584 |
0,190 |
0,056 |
0,738 |
1,600 |
0,494 |
|
100 |
7,4 |
2,2 |
28,5 |
61,9 |
||||
|
17 |
ОС15-21 |
1,46´2,07 |
3,022 |
0,208 |
0,056 |
0,777 |
1,981 |
0,482 |
|
100 |
6,9 |
1,8 |
25,7 |
65,6 |
||||
|
18 |
ОС15-9А |
1,46´0,87 |
1,270 |
0,136 |
- |
0,270 |
0,864 |
0,474 |
|
100 |
10,7 |
21,3 |
68,0 |
|||||
|
19 |
OCI8-9 |
1,76´0,87 |
1,531 |
0,154 |
- |
0,374 |
1,003 |
0,482 |
|
100 |
10,1 |
24,4 |
65,5 |
|||||
|
20 |
ОС 18-13,5 |
1,76´1,92 |
2,323 |
0,181 |
0,034 |
0,595 |
1,513 |
0,483 |
|
100 |
7,8 |
1,5 |
25,6 |
65,1 |
||||
|
21 |
ОС18-15 |
1,76´1,46 |
2,587 |
0,190 |
0,034 |
0,614 |
1,749 |
0,476 |
|
100 |
7,4 |
1,3 |
23,7 |
67,6 |
||||
|
22 |
ОС18-9А |
1,76´0,87 |
1,531 100 |
0,154 10,1 |
- |
0,309 20,2 |
1,068 69,7 |
0,469 |
____________
* Авторское свидетельство № 460365. БИ, 1975, № 6.
5.1. Целью теплотехнического расчета крыши с теплым чердаком является определение при расчетных зимних параметрах воздуха потерь тепла помещениями верхнего этажа через чердачное перекрытие при соблюдении двух условий:
нормативного температурного перепада Dtн между расчетной зимней температурой внутреннего воздуха и температурой нижней поверхности чердачного перекрытия (см. СНиП II-3-79**);
невыпадения конденсата на внутренней поверхности ограждающих конструкций теплого чердака (выпадение конденсата на ограждающих конструкциях допускается в наиболее холодную пятидневку и только в местах теплопроводных включений).
5.2. Для прикидочных расчетов при конструировании ограждающих конструкций крыши с теплым чердаком ее приведенное сопротивление теплопередаче можно принимать по данным табл. 5.
Таблица 5
Данные для расчета ограждающих конструкций крыши с теплым чердаком
|
Приведенное
сопротивление теплопередаче |
||
|
до 8 м |
до 13 м |
|
|
5 - 7 |
0,95 |
1,03 |
|
9 - 10 |
0,82 |
0,86 |
|
12 - 14 |
0,73 |
0,77 |
|
16 и выше ** |
0,64 |
0,64 |
____________
* l - расстояние от оси вентиляционного канала-спутника вентблока до угла здания, м; из ближайших к наружным углам здания вентблокам принимается l наиболее удаленного вентблока.
** Для зданий 16 этажей и выше
принято из условия
невыпадения конденсата на внутренней поверхности ограждающих конструкций.
5.3. Теплотехнический расчет ведется для торцевой секции здания.
Находим минимальную температуру воздуха tм.п теплого чердака над угловой комнатой по формуле
tм.п = tу - a0 · Dtн · Rо.п, (9)
где ty - расчетная температура воздуха углового помещения, °C; принимается на 1° выше расчетной зимней температуры внутреннего воздуха углового помещения;
a0 - коэффициент теплообмена у потолка углового помещения, Вт/(м2 · °C);
Dtн - нормируемый СНиП II-3-79** температурный перепад между расчетной температурой внутреннего воздуха и температурой потолка углового помещения, °C;
Rо.п - сопротивление теплопередаче чердачного перекрытия, (м2 · °C)/Вт
(10)
где δ - толщина чердачного перекрытия, м;
λ - коэффициент теплопроводности материала чердачного перекрытия, Вт/(м · °C);
aо.п - коэффициент теплообмена у чердачного перекрытия в угловой зоне здания, Вт/(м2 · °C); принимается равным 5,8 Вт/(м2 · °C).
Вычисляем среднюю температуру
воздуха
теплого
чердака
где tч.н - температура вентиляционного воздуха, поступающего в теплый чердак из вентблоков, °C; принимается равной 19 °C;
Fп - площадь чердачного перекрытия, м2.
Определяем требуемое сопротивление теплопередаче панелей фризовых стен и кровли крыши с теплым чердаком
где tн - расчетная температура наружного воздуха, °C; принимается равной средней температуре наиболее холодной пятидневки с обеспеченностью 0,92;
Fс, Fк - соответственно площадь фризовых стен и кровли м2;
L - количество вентиляционного воздуха, поступающего из вентблоков в теплый чердак, м3/ч; для жилых зданий L определяется в зависимости от количества квартир на этаже и этажности здания по табл. 6;
cо - удельная объемная теплоемкость вентиляционного воздуха, Вт · ч/(м3 · °C);
Qт - суммарные потери тепла трубопроводами систем горячего водоснабжения и отопления, проложенными в теплом чердаке, Вт.
Удельные потери тепла изолированными трубопроводами в зависимости от диаметра труб и разности температур Dt горячей воды и воздуха чердака принимаются по табл. 7, а неизолированными трубопроводами - по табл. 8.
Таблица 6
Расход вентиляционного воздуха квартиры в зависимости от этажности здания и расчетной температуры наружного воздуха
|
tн, °C |
Расход вентиляционного воздуха квартиры, м3/ч, при этажности жилого здания |
||||
|
5 |
9 |
12 |
16 |
22 |
|
|
-40 |
153 167 |
166 183 |
177 189 |
180 196 |
187 208 |
|
-35 |
146 158 |
156 176 |
164 182 |
170 187 |
179 196 |
|
-30 |
142 149 |
150 164 |
156 175 |
162 181 |
169 190 |
|
-25 |
134 143 |
145 154 |
150 162 |
155 173 |
161 180 |
|
-20 |
129 133 |
135 148 |
141 154 |
147 160 |
151 171 |
|
-15 |
128 129 |
130 139 |
133 146 |
138 151 |
145 157 |
|
-10 |
126 128 |
129 130 |
130 134 |
131 142 |
136 149 |
|
-5 |
125 126 |
127 129 |
128 130 |
129 131 |
130 140 |
|
0 |
123 124 |
125 127 |
126 128 |
127 129 |
128 131 |
|
+5 |
122 122 |
123 124 |
124 126 |
125 127 |
126 128 |
Примечание. В числителе указан расход вентиляционного воздуха для квартир с электроплитами, в знаменателе - с газовыми плитами. Расходы определены лабораторией инженерного оборудования МНИИТЭПа.
Полученное из (12)
должно быть не ниже
сопротивления теплопередаче кровли Rо.к и фризовых стен Ro.c,
определенных из условия невыпадения конденсата на их внутренней поверхности
Таблица 7
Потерн тепла изолированными горизонтальными трубопроводами
|
Dt, °C |
Потери тепла в Вт/м при условном диаметре трубопровода, мм |
||||||||
|
15 |
20 |
25 |
32 |
40 |
50 |
70 |
80 |
100 |
|
|
30 |
8 |
10 |
15 |
19 |
21 |
26 |
31 |
37 |
44 |
|
35 |
10 |
13 |
17 |
22 |
26 |
32 |
37 |
44 |
51 |
|
40 |
12 |
15 |
23 |
27 |
29 |
36 |
42 |
50 |
57 |
|
45 |
14 |
17 |
24 |
30 |
35 |
43 |
48 |
56 |
67 |
|
50 |
16 |
20 |
28 |
35 |
40 |
49 |
56 |
65 |
79 |
|
55 |
19 |
23 |
31 |
40 |
44 |
56 |
62 |
72 |
91 |
|
60 |
20 |
26 |
35 |
44 |
49 |
62 |
70 |
82 |
100 |
Примечание. Для изоляции труб применяются минераловатные маты толщиной 30 мм в обертке стеклотканью (пергамином) или асбестоцементная штукатурка толщиной 10 мм.
Таблица 8
Потери тепла неизолированными горизонтальными трубопроводами
|
Dt, °C |
Потери тепла в Вт/м при условном диаметре трубопровода, мм |
||||||
|
10 |
15 |
20 |
25 |
32 |
40 |
50 |
|
|
30 |
22 |
27 |
33 |
40 |
48 |
54 |
65 |
|
35 |
27 |
33 |
40 |
48 |
54 |
65 |
78 |
|
40 |
31 |
38 |
46 |
55 |
61 |
77 |
92 |
|
45 |
36 |
44 |
55 |
61 |
77 |
88 |
108 |
|
50 |
41 |
50 |
60 |
73 |
90 |
100 |
122 |
|
55 |
46 |
56 |
69 |
83 |
101 |
113 |
138 |
|
60 |
52 |
63 |
77 |
92 |
113 |
127 |
154 |
где
,
- соответственно средние температуры внутренней
поверхности кровли и фризовых стен, °С; принимаются
равными температуре точки росы воздуха теплого чердака; по экспериментальным
данным для жилых зданий в 12 этажей и выше при газовых плитах принимается tр = 2,3
°C, а при электрических плитах - tр = 0,2 °C, что соответствует при tв = 18 °C
относительной влажности воздуха 35 и 30 %.
Из конструктивных соображений сопротивления теплопередаче кровли и фризовых стен могут отличаться друг от друга, но при этом должны соблюдаться два условия:
сопротивление теплопередаче кровли и фризовых стен должно быть не меньше Rо.к и Rо.с, определенных по формулам (13) и (14);
среднее сопротивление
теплопередаче
кровли и фризовых стен находим по
формуле (15); оно должно быть не
ниже
,
определенного по формуле (12)
Расчет потерь тепла через чердачное перекрытие угловых
помещений ведется при температуре воздуха теплого чердака, равной tм.п, определенной по
формуле (9),
а для остальных помещений - равной
, определенной по формуле (11).
5.4. Температура наружного воздуха является основным возмущающим фактором, обусловливающим развитие нестационарных тепловых процессов в помещении теплого чердака. Ввиду того, что поведение наружной температуры во времени в значительной степени носит случайный характер, то практически целесообразно рассматривать два наиболее характерных закона ее изменения - линейный и гармонический.
5.5. При линейном изменении температуры наружного воздуха на участке 0 £ Fo £ Fo*
(16)
где t0 - начальная температура наружного воздуха, °C;
tm - конечная температура наружного воздуха, °C;
- критерий Фурье, определяемый по теплофизическим параметрам стенового
ограждения

aс - коэффициент температуропроводности фризовых стен, м2/°C;
расчет температуры воздуха в помещении теплого чердака проводится по выражению
(17)
где
(18)

,
-
коэффициенты теплообмена на внутренней и наружной поверхностях стенового
ограждения, Вт/м2 · °C;
,
-
коэффициенты теплообмена на внутренней и наружной поверхностях кровельных
панелей теплого чердака, Вт/м2 · °C;
Kп - коэффициент теплопередачи чердачного перекрытия, Вт/м2 · °C;
λс, λк - коэффициент теплопроводности фризовых стен и кровельных панелей, Вт/м · °C;
ac, aк - коэффициент температуропроводности фризовых стен и кровельных панелей, м2/с;
tc, tк - толщина фризовых стен и кровельных панелей, м;
G - средний в интервале изменения наружной температуры массовый расход воздуха в вентиляционной шахте, кг/с;
cв - теплоемкость воздуха, Дж/кг · °С;
tвх - температура воздуха на входе в чердачное помещение, °C;
tв - температура воздуха в квартире последнего этажа °C;
qв - удельные тепловыделения трубопровода горячего водоснабжения, Вт/м;
Lв - длина трубопровода горячего водоснабжения, м;
Kот - коэффициент теплопередачи изоляции трубопровода системы теплоснабжения, Вт/м · °C;
Lот - длина трубопровода системы теплоснабжения, м;
- закон изменения температуры
теплоносителя в системе теплоснабжения, ![]()
tз - время запаздывания в реакции системы теплоснабжения на изменение температуры наружного воздуха, с;
b - коэффициент.
5.6. Температуры на внутренней поверхности фризовых стен и крыши теплого чердака равны соответственно
(19)
(20)
5.7. В случае гармонических колебаний температуры наружного воздуха
tн · (Fo) = tcp + Aн · sin(Pd · Fo), (21)
где Aн - амплитуда колебания температуры наружного воздуха, °C;
- критерий Предводителева; ω = 2p/Т - частота колебаний температуры наружного воздуха, Т -
период колебания, с;
расчет изменения во времени температуры воздуха в помещении теплого чердака проводится по выражению
где
,
.
5.8. В практических расчетах при периодических тепловых воздействиях, как правило, рассматривают квазистационарный режим функционирования зданий и помещений. Учитывая это, из выражения (22) для установившегося режима определим
(23)
5.9. В этом случае температура внутренней поверхности крыши теплого чердака определится равенством
5.10. Температура внутренней поверхности стенового ограждения находится из выражения (24), в котором следует принять
v = 1, Z1 = Y1, Iк = Iс.
5.11. Плотность теплового потока через чердачное перекрытие рассчитывается по соотношению
qп = Kп[tв - tч(Fo)]. (25)
5.12. В соответствии с требованиями СНиП II-3-79 ** «Строительная теплотехника» должно выполняться условие
qп £ qтр, (26)
где для жилых помещений qтр = 35 Вт/м2.
Пример расчета. Требуется определить для зимних климатических условий г. Москвы характер изменения температуры воздуха в чердачном помещении, а также температуру внутренней поверхности фризовых и кровельных панелей в процессе суточных колебаний температуры наружного воздуха.
Наружное ограждение чердачного помещения жилого 12-этажного здания серии П30/12 выполнено из однослойных керамзитобетонных панелей. Теплофизические свойства ограждения:
ρс = 1100 кг/м3, ρк = 1200 кг/м3, λс = 0,45 ккал/м · °C, λк = 0,5 ккал/м · °C, сс = ск = 0,2 ккал/кг · °C, aс = 2,0 · 10-3 м2/ч, ак = 2,1 · 10-3 м2/ч.
Другие исходные данные:
lc
= 0,327 м, lк = 0,342
м, Fc
= 108 м2, Fк = Fп = 238 м2,
,
, Kп = 2,42
ккал/м2 · °C, tз = 4
часа, tв = 18 °C, Kот = 0,6, Lот = 60 м, qB · Lв = 743
ккал/ч, tв.к = 19 °C, Q · cc = 2613
ккал/ч · °C, tот = 46 - 0,923 · tн(t - 4).
В соответствии со СНиП 2.01.01-82 «Строительная климатология и геофизика» для января принято
tн(t) = -10,2 + 6,2 · sin (0,262t).
Используя приведенные выше соотношения, определяем исходные параметры
Kс = Kк = 0,375; δс = 0,41 м; δк = 0,434 м; Bic = 5,45; Biк = 5,13; Fo* = 1,02; Foз = 0,047; v = 0,94; µ = 0,02; Y1 = 0,146; Z1 = 0,154; N = 63´103 ккал/ч; A = 17,1 °C; b = 0,454; B = 2,03.
Результаты расчета установившегося температурного режима теплого чердака, выполненные в соответствии с положениями пп. 5.8. - 5.10. настоящего раздела, представлены графиками на рис. 77.
Рис. 77. Изменение температур tн, tч, tc и tк во времени
Графические зависимости свидетельствуют о том, что колебания всех расчетных температур происходят с меньшей амплитудой и практически в противофазе по отношению к изменению наружной температуры.
Максимальное значение теплового потока через чердачное перекрытие
![]()
что удовлетворяет санитарно-гигиеническим требованиям.
Приводятся значения
и r
некоторых видов стеновых панелей с разными теплопроводными включениями,
разработанными различными проектными организациями г. Москвы. Ввиду специфики
рассматриваемых конструкций и их небольшого количества, не представляется
возможным получить обобщающие зависимости теплозащитных показателей стеновых
конструкций с различными типами и видами связей в широком диапазоне изменения
λут и δут. Представлены также значения
или r
для некоторых участков разных конструкций трехслойных панелей с гибкими
связями.
Предлагаемый материал носит справочный характер и может быть использован проектировщиками, разрабатывающими аналогичные конструкции.
____________
* Альбом 5РС41-39 «Панели наружных стен трехслойные керамзитобетонные». ТК1. М., МНИИТЭП, 1986.
Наружные стеновые панели, изготовляемые по альбому, предназначены для применения в строительстве жилых домов серий П30 и П46 производства ГМПСМ.
Для изделий принят керамзитобетон плотной структуры, класса прочности на сжатие В12,5, марки по морозостойкости F50. Коэффициент теплопроводности керамзитобетона принят равным 0,65 Вт/м · °C. Теплоизоляционный слой выполнен из полистирольного пенопласта типа ПСБ толщиной 150 мм. Расчетное значение коэффициента теплопроводности пенопласта принято равным 0,047 Вт/м · °C. Толщины слоев стеновых панелей показаны на рис. 1. Особенностью раскладки утеплителя в конструкциях является большое количество подрезов и вырезов в нем, а также различная ширина теплопроводных обрамлений по контуру окна и самой панели в зависимости от ее марки.
Анализ и обобщение результатов расчетов
приведенного сопротивления теплопередаче разных марок панелей показали, что
с
достаточной для практических целей точностью может быть выражено в зависимости
от отношения F1/F2 по формуле
![]()
Графическая зависимость
и
принципиальная схема панелей приведены на рис. 1, где F1 - площадь теплопроводных
мостиков и F2 -
площадь панели (за вычетом площади оконного проема).
Рис. 1. Зависимость
трехслойных керамзитобетонных
наружных стен по альбому 5РС41-39 МНИИТЭПа:
1 - керамзитобетон, λ = 0,65 Вт/м · °C; 2 - утеплитель, λут = 0,047 Вт/м · °C
Рис. 2. Конструкция панели полосовой разрезки домов серии 1.030.1-1:
1 - бетон, λ = 1,86 Вт/м · °C; 2 - утеплитель, λут = 0,047 и 0,081 Вт/м · °C
На рис. 2 и 3 приведены конструкции панелей
полосовой разрезки серии
1.030.1-1, разработанных ЦНИИЭП торгово-бытовых зданий и туристских
комплексов, а также дана схема расстановки гибких связей. Стеновые конструкции
выполнены из бетона (λ = 1,86 Вт/м · °C) в сочетании с утеплителем,
имеющим коэффициент теплопроводности 0,047 или 0,081 Вт/м · °C. Рассматривались
три толщины панелей, в которых менялась только толщина утеплителя. Величина
для панелей
разной толщины при двух значениях λут приведена в табл. 1.
Рис. 3. Конструкция простеночной панели домов серии 1.030.1-1:
1 - бетон, λ = 1,86 Вт/м · °С; 2 - утеплитель, λут = 0,047 и 0,081 Вт/м · °С
Таблица 1
Приведенное сопротивление теплопередаче панелей полосовой разрезки с гибкими связями
|
Приведенное
сопротивление теплопередаче |
||||||
|
250 |
300 |
350 |
||||
|
при λут в Вт/м · °С |
||||||
|
0,047 |
0,081 |
0,047 |
0,081 |
0,047 |
0,081 |
|
|
Полосовая панель (см. рис. 2) |
1,23 |
0,83 |
2,18 |
1,41 |
3,11 |
1,97 |
|
Простеночная панель (см. рис. 3) |
1,2 |
0,83 |
2,1 |
1,38 |
2,96 |
1,93 |
На рис. 4 приведена конструкция панели, разработанной институтом «Моспроект» для зданий плодоовощных баз. Наружный слой панели выполнен из бетона с λ = 1,86 Вт/м · С, а внутренний слой - из пластичного бетона λп.Б = 1,4 Вт/м · °C В качестве утеплителя использован пенопласт ПСБ с λ = 0,047 Вт/м · °C.
В табл. 2 приведены типы и количество
гибких связей для исследуемых панелей, а также
и r. Рассмотрены условия, когда все связи обжаты
утеплителем, а также вариант, когда около ветровых и крепежных связей
образуется зазор в утеплителе шириной 5 мм, заполненный растворной частью
бетона.
Рис. 4. Схема раскладки гибких связей в межоконной вставке (панель 1) и ленточной панели (панель 2) для плодоовощных баз
Таблица 2
Конструкция и приведенное сопротивление теплопередаче панелей полосовой разрезки с гибкими связями (см. рис 4)
при
= 3,472 м2 · °C/Вт
|
Тип связи и ее сечение |
Количество связей |
Приведенное
сопротивление теплопередаче |
Коэффициент теплотехнической однородности r |
|
|
Панель полосовой разрезки |
Ветровая связь 60´6 мм обжата утеплителем |
2 |
2,52 |
0,726 |
|
Крепежная связь 100´10 мм обжата утеплителем |
2 |
|||
|
U-образные стержни диаметром 8 мм |
33 |
|||
|
То же |
То же количество ветровых и крепежных связей в растворе |
2,46 |
0,708 |
|
|
Межоконная вставка |
Ветровая связь 60´6 мм обжата утеплителем |
2 |
1,944 |
0,56 |
|
Крепежная связь 100´10 мм обжата утеплителем |
2 |
|||
|
U-образные стержни диаметром 8 мм |
3 |
|||
|
То же |
То же количество ветровых и крепежных связей в растворе |
1,84 |
0,53 |
|
На рис. 5 приведены схемы расположения в стеновой конструкции стержневой и U-образной гибких связей. Теплозащитные показатели участка площадью 0,18 м2 такой панели приведены в табл. 3. Рассмотрены панели толщиной 250 и 350 мм при двух значениях λут.
На рис. 6 изображена гибкая связь в
форме пластины и ее установка в панелях двух толщин (δп = 250 и
300 мм). Зона действия этой пластины равна 1,08´1,08 м.
В табл. 4
представлены теплозащитные показатели участка панели, включая
по центру
связи, рассчитанные при параметрах внутреннего и наружного воздуха tв = 20 °C и tн = -30 °C
Рис. 5. Схемы расположения в стеновой панели стержневой (а) и U-образной гибкой (б) связи:
1 - керамзитобетон, g = 1800 кг/м3, λ = 0,93 Вт/м · °C; 2 - утеплитель, λут см. табл.; 3 - пескобетон, g = 2200 кг/м3, λ = 1,4 Вт/м · °С
Таблица 3
Теплозащитные показатели участка площадью 0,18 м2 стеновой панели со стержневой и U-образной связью
|
λут, Вт/м · °C |
|
Стержневая связь |
U-образная связь |
||||
|
панели |
утеплителя |
|
r |
|
r |
||
|
250 |
100 |
0,035 |
3,167 |
2,436 |
0,769 |
1,826 |
0,575 |
|
0,047 |
2,451 |
2,007 |
0,819 |
1,585 |
0,647 |
||
|
350 |
200 |
0,035 |
6,034 |
4,358 |
0,722 |
3,022 |
0,5 |
|
0,047 |
4,601 |
3,575 |
0,777 |
2,642 |
,574 |
||
На рис. 7 изображена гибкая связь сечением 40´4 мм с автоматической фиксацией слоев. Размер стенового участка принят равным 1´1 м, в центре его установлена связь. Наружный и внутренний слои выполнены из бетона (λ = 1,86 Вт/м · °С). Утеплитель - полистирольный пенопласт (λ = 0,047 Вт/м · °C). Рассмотрены также пластинчатые связи сечением 60´6 мм. Результаты теплотехнических расчетов фрагмента стеновой конструкции разной толщины (за счет изменения толщины утеплителя) при постоянной толщине бетонных слоев (δн.с = 120 мм, δв.с = 100 мм) приведены в табл. 5.
Рис. 6. Размеры сквозной металлической пластины и ее расположение в толще панелей при δп = 250 мм (а) и δп = 300 мм (б)
Таблица 4
Теплозащитные показатели участка ленточной панели с пластинчатой гибкой связью (см. рис. 6)
|
Коэффициент теплопроводности утеплителя λут, Вт/м · °C |
Сопротивление теплопередаче, м2 · °C/Вт |
Коэффициент теплотехнической однородности r |
Минимальная
температура поверхности по центру связи* |
|||
|
панели |
утеплителя |
|
|
|||
|
250 |
100 |
0,035 |
3,167 |
2,681 |
0,846 |
6,9 |
|
0,047 |
2,451 |
2,159 |
0,881 |
6,7 |
||
|
300 |
150 |
0,035 |
4,6 |
3,471 |
0,754 |
6,5 |
|
0,047 |
3,526 |
2,838 |
0,805 |
6,4 |
||
____________
* При tв = 20 °C и tн = -30 °C.
Рис. 7. Гибкая связь с автоматической фиксацией слоев:
а - гибкая связь; б - конструкция стены; в - элемент фиксатора гибкой связи:
1 - бетон, λ = 1,86 Вт/м · °C; 2 - утеплитель, λут = 0,047 Вт/м · °C
Таблица 5
Теплозащитные показатели участка стены в зоне установки металлической гибкой связи (см. рис. 7)
|
Толщина утеплителя, δут, мм |
Сопротивление теплопередаче, м2 · °C/Вт |
Коэффициент теплотехнической однородности r |
Температура внутренней поверхности в зоне теплопроводного включения*, °C |
|||
|
|
|
|
|
|||
|
40´4 |
100 |
2,426 |
2,166 |
0,89 |
15,4 |
13,4 |
|
60´6 |
100 |
2,426 |
2,015 |
0,83 |
15,2 |
11,6 |
|
125 |
2,963 |
2,406 |
0,81 |
15,6 |
12,4 |
|
|
150 |
3,5 |
2,792 |
0,8 |
16,0 |
13,0 |
|
____________
* Расчеты проведены при tв = 18 °C и tн = -32 °C.
На рис. 8 приведена конструкция универсальной штампованной закладной детали ШЗД-1. Предполагается использовать ее как гибкую связь в наружных стеновых панелях, изготавливаемых на ДСК-1, и устанавливать в простенке панели у оконного проема (рис. 9). На рис. 9 приводится также сечение простенка панели по оси симметрии гибкой связи и распределение изотерм (8,8; 10 и 12 °C) по его внутренней поверхности. Расчет объемного поля, проведенный при tв = 18 °C и tн = -32 °C, показал низкие теплозащитные качества рассматриваемого участка простенка панели в зоне гибкой связи ШЗД-1. Минимальная температура по оси связи равна 5,3 °C и появляется большая зона на поверхности стены с температурой ниже 8,8 °C, т.е. ниже точки росы при jв = 55 %. Приведенное сопротивление теплопередаче рассматриваемого участка простенка панели равно 0,59 м2 · ч/Вт.
На рис. 10 и 11
приведены, номограммы, характеризующие изменение r участка бетонной и керамзитобетонной трехслойной панели δ = 350 и 400 мм в
зависимости от диаметра U-образной связи, значений λут и
. Связи
расположены с шагом по горизонтали 900 мм, а по вертикали - 500 мм.
Рис. 8. Универсальная штампованная закладная деталь ШЗД-1:
1 - стойка; 2 - клин; 3 - накладка
Рис. 9. Температурное поле внутренней поверхности участка панели в зоне установки металлической закладной детали ШЗД-1
Номограммы позволяют:
найти r участка стены по величине условного сопротивления теплопередаче, коэффициенту теплопроводности утеплителя и диаметру связи;
определить
и r, зная
λ и толщину утеплителя, а также диаметр связи.
Рис. 10. Определение r бетонной конструкции δ = 350 - 400 мм в зависимости от δут, λут и диаметра U-образной металлической связи:
1 - δут = 70 мм; 2 - δут = 100 мм; 3 - δут = 120 мм; 4 - δут = 150 мм; 5 - δут = 170 мм
Рис. 11. Определение r керамзитобетонной конструкции δ = 350 - 400 мм в зависимости от δут, λут и диаметра U-образной металлической связи:
1 - δут = 70 мм; 2 - δут = 100 мм; 3 - δут = 120 мм; 4 - δут = 150 мм; 5 - δут = 170 мм
Номограмма на рис. 11 построена для конструкций с коэффициентом теплопроводности керамзитобетона 0,79 Вт/м · °C. В случае, если коэффициент теплопроводности керамзитобетона равен 0,47 или 0,62 Вт/м · °C, то r определяется по рис. 11 и уточняется с учетом надбавки Dr по рис. 12.
Рис. 12. Величина надбавки Dr при пересчете λк.Б с 0,79 Вт/м · °C на 0,47 и 0,62 Вт/м · °C:
1 - λк.Б = 0,47 Вт/м · °С; 2 - λк.Б = 0,62 Вт/м · °C
Специфической особенностью изготовления наружных стеновых панелей домов серии П44/17 производства ДСК-1 (г. Москва) является то, что гибкие связи являются составной частью арматурного сварного объемного каркаса. Объемный арматурный каркас состоит из плоских сварных каркасов, сеток, отдельных стержней (в том числе гибких связей), собранных на кондукторе и соединенных в местах пересечения контактной точечной сваркой. Объемный каркас не дает возможности пронизывать стержнями гибких связей слой утеплителя, а требует нарезки его на отдельные плиты, укладываемые между плоскими каркасами. Это приводит к возникновению швов между плитами утеплителя шириной, равной диаметру арматуры. Проектом предусматривается плотное заполнение швов полосками или крошкой из того же утеплителя. Практически, если подобная операция и выполняется, то качество заполнения швов между плитами утеплителя не контролируется. Это приводит к тому, что в местах гибких связей создаются теплопроводные ребра из растворной части бетона, которые могут иметь разную высоту (по отношению к толщине утеплителя), а иногда быть сквозными между внутренним и наружным слоями бетона панели.
Следует также учитывать, что на ДСК-1 бетонные слои панели имеют разные состав и плотность. Наружный слой панели изготовляется из пластичного бетона g = 2000 - 2200 кг/м3 с коэффициентом теплопроводности 1,16 - 1,4 Вт/м · °С, а внутренний слой - из плотного бетона g = 2400 кг/м3 с λ = 1,86 Вт/м · °C. Наличие пластичного бетона способствует тому, что швы между плитами утеплителя со стороны наружного слоя повсеместно заполняются растворной частью бетона на 1/3 и 1/2 высоты утеплителя.
Таким образом, специфика
изготовления трехслойных стеновых панелей с гибкими связями на ДСК-1 приводит к
очень большому разбросу приведенного сопротивления теплопередаче стеновых
панелей. Величина
панели в значительной мере зависит от
качества работ бригады, изготовляющей панель.
В табл. 6 - 11 приведены значения
и r для
разных участков наружных стеновых панелей с гибкими связями при различном
заполнении швов между плитами утеплителя. На рисунках указаны проектные размеры
плит утеплителя и зазоров между ними. Рассмотрены варианты заполнения связующих
мостиков (т.е. швов между плитами утеплителя) при разных значениях коэффициента
теплопроводности бетонных слоев и утеплителя. Коэффициент теплопроводности
связующего мостика также изменялся в зависимости от количества и диаметра
гибких связей, находящихся в рассматриваемой зоне конструкции.
Таблица 6
Теплозащитные показатели простенка панели длиной 945 мм при различном заполнении связующих мостиков

|
Коэффициент теплопроводности материалов, Вт/м · °C |
Сопротивление теплопередаче, м2 · °C/Вт |
Коэффициент теплотехнической однородности, r |
|||||
|
слоев |
утеплителя |
связующих мостиков |
|||||
|
наружного |
внутреннего |
|
|
||||
|
Утеплитель поставлен «враспор» без каркаса |
1,86 |
1,86 |
0,046 |
0,046 |
2,408 |
1,758 |
0,73 |
|
Связующие мостики на 40 мм заполнены раствором без каркаса |
0,046; 1,16 |
1,637 |
0,68 |
||||
|
Каркас обжат утеплителем |
1,31; 1,2 |
1,204 |
0,5 |
||||
|
Каркас с раствором |
2,53; 2,85 |
0,972 |
0,404 |
||||
|
Утеплитель поставлен «враспор» без каркаса |
1,16 |
1,4 |
0,046 |
0,046 |
2,447 |
1,79 |
0,732 |
|
То же |
0,035 |
0,035 |
3,16 |
2,067 |
0,653 |
||
|
Каркас обжат утеплителем |
1,31; 1,2 |
1,375 |
0,434 |
||||
|
Каркас с раствором |
2,53; 2,85 |
1,1 |
0,348 |
||||
Таблица 7
Теплозащитные показатели простенка панели длиной 945 мм при различном заполнении связующих мостиков

|
№№ пп. |
Заполнение связующих мостиков |
Коэффициент теплопроводности материалов, Вт/м · °C |
Сопротивление теплопередаче, м2 · °C/Вт |
Коэффициент теплотехнической однородности, r |
||||
|
слоев |
утеплителя |
связующих мостиков |
||||||
|
наружного |
внутреннего |
|
|
|||||
|
1 |
Утеплитель без металлических гибких связей, у окна пескобетон δ = 5 мм |
1,4 |
1,86 |
0,046 |
1,4 |
2,418 |
1,842 |
0,762 |
|
2 |
Через утеплитель в двух местах проходят гибкие связи, у окна пескобетон δ = 5 мм |
1,4; 1,2; 1,31 |
1,284 |
0,531 |
||||
|
1,4; 1,49 |
1,239 |
0,512 |
||||||
|
3 |
Те же две гибкие связи, по периметру окна впритык, минеральная вата δ = 120 мм |
0,046 и 0,076 |
1,2; 1,31 |
1,384 |
0,572 |
|||
|
1,4; 1,49 |
1,332 |
0,551 |
||||||
|
4 |
По периметру окна пескобетон δ = 12 мм; связь у окна δ = 15 мм; связь у стыка δ = 20 мм |
0,046 |
1,4; 1,05; 0,93 |
1,223 |
0,506 |
|||
|
1,4; 1,05; 1,13 |
1,184 |
0,490 |
||||||
|
5 |
То же, но утеплитель у стыка смещен на 50 мм; связь у окна δ = 20 мм; связь у стыка δ = 15 мм |
1,4; 0,93; 1,05 |
1,101 |
0,455 |
||||
|
1,4; 1,13; 1,05 |
1,075 |
0,445 |
||||||
|
6 |
То же, что и в п. 2, но гибкая связь не обжата утеплителем и имеется мостик из пескобетона δ = 15 мм |
1,4; 2,67; 2,91 |
1,032 |
0,427 |
||||
|
1,4; 2,71; 2,79 |
1,036 |
0,429 |
||||||
Таблица 8
Теплозащитные показатели подоконного участка панели при различном заполнении связующего мостика
|
№ пп. |
Заполнение связующих мостиков |
Коэффициент теплопроводности материалов, Вт/м · °C |
Сопротивление материалов. м2 · °C/Вт |
Коэффициент теплотехнической однородности, r |
||||
|
слоев |
утеплителя |
связующих мостиков |
||||||
|
наружного |
внутреннего |
|
|
|||||
|
1 |
Утеплитель без металлических гибких связей, у окна пескобетон δ = 40 мм |
1,4 |
1,86 |
0,046 |
1,4 |
2,418 |
1,768 |
0,731 |
|
2 |
Через утеплитель у горизонтального стыка проходит гибкая связь, у окна пескобетон δ = 40 мм |
0,77; 1,4 |
1,629 |
0,674 |
||||
|
0,58; 1,4 |
1,661 |
0,687 |
||||||
|
3 |
То же |
0,77; 1,4 |
1,629 |
0,674 |
||||
|
0,58; 1,4 |
1,661 |
0,687 |
||||||
|
4 |
То же |
0,77; 1,4 |
1,629 |
0,674 |
||||
|
0,58; 1,4 |
1,661 |
0,687 |
||||||
|
5 |
Через утеплитель у горизонтального стыка проходит гибкая связь, у окна пескобетон δ = 40 мм, у горизонтального стыка δ = 10 мм |
0,77; 1,4 |
1,563 |
0,646 |
||||
|
0,58; 1,4 |
1,590 |
0,658 |
||||||
|
6 |
То же, что в п. 2, но гибкая связь не обжата утеплителем и имеется мостик из пескобетона δ = 10 мм |
2,10; 1,4 |
1,464 |
0,605 |
||||
|
1,74; 1,4 |
1,501 |
1 0,620 |
||||||

Таблица 9
Теплозащитные показатели подоконного участка панели при различном заполнении связующего мостика
|
Заполнение связующих мостиков |
Коэффициент теплопроводности материалов, Вт/м · °C |
Сопротивление теплопередаче, м2 · °C/Вт |
Коэффициент теплотехнической однородности, r |
||||
|
слоев |
утеплителя |
связующих мостиков |
|||||
|
наружного |
внутреннего |
|
|
||||
|
Утеплитель поставлен «враспор» без каркаса |
1,86 |
1,86 |
0,046 |
0,046 |
2,408 |
1,538 |
0,639 |
|
Связующий мостик на 40 мм заполнен раствором без каркаса |
0,046; 1,16 |
1,504 |
0,625 |
||||
|
Каркас обжат утеплителем |
0,58 |
1,347 |
0,559 |
||||
|
Каркас с раствором |
1,66 |
1,235 |
0,513 |
||||
|
Утеплитель поставлен «враспор» без каркаса |
1,16 |
1,4 |
0,046 |
0,046 |
2,447 |
1,802 |
0,736 |
|
То же |
0,035 |
0,035 |
3,16 |
2,084 |
0,658 |
||
|
Каркас обжат утеплителем |
0,057 |
1,845 |
0,583 |
||||
|
Каркас с раствором |
1,66 |
1,576 |
0,498 |
||||

Таблица 10
Теплозащитные показатели надоконной перемычки при различном заполнении связующего мостика
|
№ пп. |
Заполнение связующих мостиков |
Коэффициент теплопроводности материалов, Вт/м · °C |
Сопротивление теплопередаче, м2 · °C/Вт |
Коэффициент теплотехнической однородности, r |
||||
|
слоев |
утеплителя |
связующих мостиков |
||||||
|
наружного |
внутреннего |
|
|
|||||
|
1 |
Утеплитель поставлен «враспор» без каркаса |
1,86 |
1,86 |
0,046 |
0,046 |
2,408 |
0,839 |
0,349 |
|
2 |
Связующий мостик на 40 мм заполнен раствором без каркаса |
0,046; 1,16 |
0,817 |
0,339 |
||||
|
3 |
Каркас обжат утеплителем |
0,85 |
0,763 |
0,317 |
||||
|
4 |
Каркас с раствором |
1,91 |
0,704 |
0,293 |
||||
|
5 |
Утеплитель поставлен «враспор» без каркаса |
1,16 |
1,4 |
0,046 |
0,046 |
2,447 |
0,981 |
0,401 |
|
6 |
То же |
0,035 |
0,035 |
3,16 |
1,063 |
0,336 |
||
|
7 |
Каркас обжат утеплителем |
0,84 |
0,95 |
0,3 |
||||
|
8 |
Каркас с раствором |
1,91 |
0,859 |
0,271 |
||||
|
9 |
Утеплитель без металлических гибких связей, у окна пескобетон δ = 10 мм |
1,4 |
1,86 |
0,046 |
1,4 |
0,832 |
0,344 |
|
|
10 |
Через утеплитель в одном месте проходит гибкая связь, у окна пескобетон δ = 10 мм |
0,77; 1,4 |
2,418 |
0,758 |
0,313 |
|||
|
0,85; 1,4 |
0,754 |
0,312 |
||||||
|
11 |
Та же одна гибкая связь, по периметру окна впритык минеральная вата δ = 120 мм |
0,046 и 0,076 |
0,77 |
0,961 |
0,397 |
|||
|
0,85 |
0,954 |
0,395 |
||||||
|
12 |
Та же одна гибкая связь с утеплителем ПСБ, по периметру окна пескобетон δ = 12 мм |
0,046 |
0,77; 1,4 |
0,810 |
0,335 |
|||
|
0,85; 1,4 |
0,805 |
0,333 |
||||||
|
13 |
То же и у горизонтального стыка, пескобетон δ = 10 мм |
0,77; 1,4 |
0,618 |
0,256 |
||||
|
0,85; 1,4 |
0,616 |
0,255 |
||||||
|
14 |
То же, что и в п. 10, но гибкая связь не обжата утеплителем и имеется мостик из пескобетона δ = 10 мм |
2,10; 1,4 |
0,672 |
0,278 |
||||
|
1,98; 1,4 |
0,680 |
0,282 |
||||||

На рис. 13 приведена раскладка
утеплителя в узле сопряжения панелей марки Н36-8т (объемный узел). В углах
сопрягаемых панелей имеется бетонное включение, предусмотренное для закладных
деталей, обеспечивающих крепление наружной панели к несущей внутренней.
Величины
и
r для различных вариантов заполнения теплопроводных
мостиков рассматриваемого объемного узла приведены в табл. 11.
Рис. 13. Раскладка утеплителя в объемном узле сопряжения панелей Н36-8т (проектное решение)
Таблица 11
Теплозащитные показатели объемного узла сопряжения панелей Н36-8т
|
Конструктивные особенности варианта расчетного участка панели |
Размер бетонного включения в углу панели, мм |
Коэффициент теплопроводности материала, Вт/м · °C |
Сопротивление теплопередаче, конструкции м2 · °C/Вт |
Коэффициент теплотехнической однородности, r |
|
||||
|
внутреннего слоя панели |
наружного слоя панели |
утеплителя |
|||||||
|
|
|
|
|||||||
|
1 |
Мостики между утеплителем выполнены из раствора и учтены стержни каркаса диаметром 10 мм |
85´115 |
1,84 |
1,84 |
0,047 |
2,408 |
0,697 |
0,289 |
|
|
2 |
65´115 |
0,709 |
0,294 |
|
|||||
|
3 |
85´115 |
0,035 |
3,121 |
0,793 |
0,254 |
|
|||
|
4 |
Утеплитель поставлен в распор к металлическим стержням каркаса |
85´115 |
1,84 |
1,84 |
0,047 |
2,408 |
0,814 |
0,338 |
|
|
5 |
65´115 |
0,828 |
0,344 |
|
|||||
|
6 |
85´115 |
0,035 |
3,121 |
0,965 |
0,309 |
|
|||
|
7 |
Теплопроводные мостики и металлические связи между плитами утеплителя отсутствуют |
85´115 |
1,84 |
1,84 |
0,047 |
2,408 |
0,942 |
0,391 |
|
|
8 |
65´115 |
0,985 |
0,409 |
|
|||||
|
9 |
85´115 |
1,4 |
1,16 |
2,448 |
1,124 |
0,459 |
|
||
|
10 |
85´115 |
0,035 |
3,165 |
1,21 |
0,382 |
|
|||
|
11 |
Мостики между утеплителем выполнены из раствора и отсутствуют металлические связи |
85´115 |
1,84 |
1,84 |
0,035 |
3,121 |
0,872 |
0,28 |
|
|
12 |
85´115 |
1,4 |
1,16 |
0,035 |
3,165 |
1,048 |
0,285 |
|
|
СОДЕРЖАНИЕ