ГОСУДАРСТВЕННЫЙ
КОМИТЕТ РОССИЙСКОЙ
ФЕДЕРАЦИИ ПО ОХРАНЕ ОКРУЖАЮЩЕЙ СРЕДЫ
|
УТВЕРЖДАЮ Заместитель Председателя Государственного комитета РФ по охране окружающей среды __________ А.А. Соловьянов подпись «27» __марта__ 1999 г. |
КОЛИЧЕСТВЕННЫЙ
ХИМИЧЕСКИЙ АНАЛИЗ
АТМОСФЕРНОГО ВОЗДУХА И ВЫБРОСОВ В АТМОСФЕРУ
МЕТОДИКА ВЫПОЛНЕНИЯ ИЗМЕРЕНИЙ
МАССОВЫХ КОНЦЕНТРАЦИЙ ОКСИДА УГЛЕРОДА
И МЕТАНА В АТМОСФЕРНОМ ВОЗДУХЕ, ВОЗДУХЕ
РАБОЧЕЙ ЗОНЫ И ПРОМЫШЛЕННЫХ
ВЫБРОСАХ МЕТОДОМ РЕАКЦИОННОЙ
ГАЗОВОЙ ХРОМАТОГРАФИИ
ПНД Ф 13.1:2:3.27-99
Методика допущена для целей государственного
экологического
контроля
Москва
1999 г.
(издание 2005 г.)
В соответствии с требованиями ГОСТ Р ИСО 5725-1-2002 ÷ ГОСТ Р ИСО 5725-6-2002 и на основании свидетельства о метрологической аттестации № 224.02.11.045/2005 в МВИ внесены изменения (Протокол № 2 заседания НТС ФГУ «ФЦАО» от 04.05.2005).
Настоящая методика предназначена для измерений массовой концентрации оксида углерода и метана в атмосферном воздухе, в воздухе рабочей зоны и в источниках промышленных выбросов.
Диапазон измеряемых концентраций от 2,0 до 600 мг/м3.
Определению не мешают другие соединения, присутствующие в пробе.
Настоящая методика обеспечивает получение результатов измерений с погрешностью, не превышающей значений, приведённых в таблице 1.
|
Диапазон измерений, мг/м3 |
Показатель повторяемости (относительное среднеквадратическое отклонение повторяемости), σr, % |
Показатель воспроизводимости (относительное среднеквадратическое отклонение воспроизводимости), σR, % |
Показатель правильности (границы относительной систематической погрешности при вероятности Р = 0,95), ±δс,% |
Показатель точности (границы относительной погрешности при вероятности Р = 0,95), ±δ, % |
|
От 2 до 600 вкл. |
4 |
10,5 |
9 |
23 |
Значения показателя точности методики используют при:
- оформлении результатов измерений, выдаваемых лабораторией;
- оценке деятельности лабораторий на качество проведения испытаний;
- оценке возможности использования результатов измерений при реализации методики в конкретной лаборатории.
Газовый хроматограф с пламенно-ионизационным детектором (предел детектирования по пропану 2,5∙10-11 г/с).
Система обработки данных. (При отсутствии - допускается применять линейку измерительную, металлическую с ценой деления 1 мм, ГОСТ 427-75; лупу измерительную, ГОСТ 25706-83).
Хроматографическая колонка из нержавеющей стали длиной 3 метра и внутренним диаметром 3 мм.
Комплект поверочных газовых смесей метан/воздух и оксид углерода/воздух, ТУ 6-16-2356-92 - для градуировки хроматографа (табл. 2).
|
№ смеси п/п |
Номер по реестру ГСО |
Номинальное значение и допускаемые отклонения объемной доли масс, концентрации, |
Пределы допускаемой абсолютной погрешности, ±Δ |
|
|
|
|
метана, млн-1 (%) |
метана, мг/м3 |
|
|
1 |
3896-87 |
5,0 ± 1,0 млн-1 |
|
0,5 |
|
|
3,3 ± 0,7 |
0,3 |
||
|
2 |
3901-87 |
36,0 ± 4,0 млн-1 |
|
1,5 |
|
|
|
|
24,0 ± 3,0 |
1,0 |
|
3 |
4445-88 |
0,08 ± 0,01 % |
|
0,002 |
|
|
|
|
530 ± 70 |
13 |
|
|
оксида углерода, млн-1 |
оксида углерода, мг/м3 |
|
|
|
1 |
3841-87 |
10,0 ± 2,0 млн-1 |
|
1,0 |
|
|
|
|
11,7 ± 2,2 |
1,1 |
|
2 |
3846-87 |
50 ± 5,0 млн-1 |
|
3,0 |
|
|
|
|
58 ± 6,0 |
3,5 |
|
3 |
3851-87 |
430 ± 35 млн-1 |
|
17 |
|
|
|
|
500 ± 40 |
20 |
Примечания:
1. Допускается применение поверочных газовых смесей с другими значениями объемной доли (массовой концентрации) метана и оксида углерода, установленными с относительной погрешностью не более ±10 %.
2. Значения объемной доли метана, выраженные в млн-1, пересчитываются в значения массовой концентрации метана в мг/м3 (при 20 °С и 101,3 кПа) путем умножения на 0,667.
3. Значения объемной доли оксида углерода, выраженные в млн-1, пересчитываются в значения массовой концентрации оксида углерода в мг/м3 (при 20 °С и 101,3 кПа) путем умножения на 1,165.
Секундомер, кл-3, цена деления 0,2 сек.
Печь муфельная, обеспечивающая нагрев до 1000 °С.
Весы лабораторные типа ВЛР-200, ГОСТ 24104-2001.
Аспиратор для отбора проб воздуха, модель 822, ТУ 64-1-862-77.
Шприцы цельностеклянные, вместимостью 50 - 100 см3, ТУ 64-1-1279-75.
Пипетки газовые, вместимостью 250 - 500 см3.
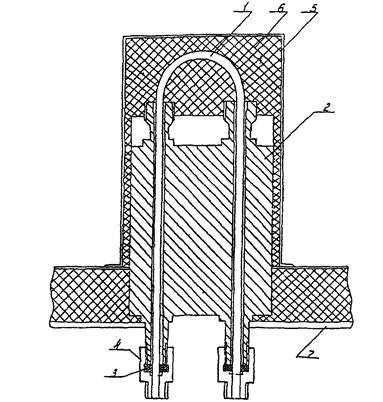
Кожух испарителя (Приложение А, рис. 1).
Реактор (Приложение А, рис. 1).
Набор сит «Физприбор» или сита аналогичного типа.
Стекловолокно, ГОСТ 10727-74.
Вата гигроскопическая, ГОСТ 5556-81.
Эксикатор, ГОСТ 25336-82.
Посуда лабораторная фарфоровая, ГОСТ 9147-80.
Стеклянный фильтрующий патрон размером 0,2 м × 4 мм.
Цеолиты типа СаА.
Нихромовая проволока марки Х20Н80, сечением 0,15 - 0,25 мм, ГОСТ 12766-67.
Аскарит, ТУ 6-09-3880-79.
Вода дистиллированная, ГОСТ 6709-72.
Натрий хлористый, ГОСТ 4233-77.
Этанол, для хроматографии, ТУ 6-09-1710-77.
Водород технический, ГОСТ 3022-80, сортность Б.
Воздух, ГОСТ 11882-73.
Примечание. Допускается использование иных средств измерений, вспомогательного оборудования и реактивов, с метрологическими и техническими характеристиками не хуже, чем у приведенных выше.
Определение содержания оксида углерода и метана в газовой пробе основано на использовании метода реакционной газовой хроматографии, который включает отделение метана и оксида углерода от воздуха колонке с цеолитами, конверсию оксида углерода до метана на нихромовом катализаторе и детектирование пламенноионизационным детектором.
4.1 При выполнении анализов необходимо соблюдать требования техники безопасности при работе с химическими реактивами по ГОСТ 12.4.007-76.
4.2 Электробезопасность при работе с электроустановками по ГОСТ 12.1.019-79.
4.3 Организация обучения работников безопасности труда по ГОСТ 12.0.004-90.
4.4 Помещение лаборатории должно соответствовать требованиям пожарной безопасности по ГОСТ 12.1.004-91 и иметь средства пожаротушения по ГОСТ 12.4.009-83.
К выполнению измерений и обработке результатов допускают лиц, имеющих высшее или среднее специальное образование или опыт работы на газовом хроматографе и в химической лаборатории, прошедших инструктаж по технике безопасности, освоивших метод в процессе тренировки и уложившихся в нормативы оперативного контроля при выполнении процедур контроля погрешности.
При проведении измерений в лаборатории должны быть соблюдены следующие условия:
температура воздуха 20 ± 5 °С;
атмосферное давление 84,0 - 106,7 кПа (630 - 800 мм рт. ст.);
влажность воздуха не более 80 % при температуре 25 °С;
напряжение в сети 220 ± 22 В;
частота переменного тока 50 ± 1 Гц.
При выполнении измерений должны соблюдаться следующие условия хроматографического анализа:
|
Длина колонки, м |
3 |
|
Диаметр колонки, мм |
3 |
|
Сорбент |
цеолиты СаА, фр. 0,25 - 0,50 мм |
|
Реактор |
|
|
длина, м |
0,3 |
|
диаметр, мм |
3 |
|
Катализатор для конверсии оксида углерода |
нихромовая проволока марки Х20Н80 |
|
Наполнитель фильтрующего патрона |
аскарит |
|
Температура детектора, °С |
100 |
|
Температура реактора, °С |
325 |
|
Температура термостата, °С |
90 |
|
Газ-носитель |
водород |
|
Расход газа-носителя, см3/мин |
40 |
|
Расход воздуха, см3/мин |
300 |
|
Вместимость крана-дозатора, см3 |
2 |
|
Скорость движения ленты потенциометра, мм/ч |
240 |
|
Отношение выходного сигнала хроматографа к шуму |
Не менее 10:1 (При отсутствии системы обработки данных минимальная высота пика - 10 % от шкалы показывающего прибора) |
|
Время хроматографического анализа, мин |
7 |
Типовая хроматограмма разделения метана и оксида углерода приведена на рис. 2 (Приложение Б).
Эффективность разделительной колонки признается удовлетворительной, если степень разрешения (Rs) для метана и оксида углерода не менее 1,5. Степень разрешения вычисляют по формуле:
|
|
(1) |
где t1 и t2 - времена удерживания метана и оксида углерода, с;
µ1, µ2 - ширина пиков метана и оксида углерода на половине их высоты, с.
При наличии системы обработки данных µ1 и µ2 можно рассчитать по формулам:
|
|
(2) |
|
|
(3) |
где h1, h2, и S1, S2 - высоты и площади пиков метана и оксида углерода.
При нарушении указанного условия необходимо провести регенерацию хроматографической колонки согласно п. 7.3.
7.1 Приготовление катализатора для конверсии оксида углерода
Нихромовую проволоку диаметром 0,15 - 0,25 мм нарезают длиной 1 - 3 мм, прокаливают в муфельной печи при температуре 1000 °С в течение 2-х часов, после чего засыпают в реактор из нержавеющей стали, концы которого закрывают пробками из стекловолокна.
Реактор устанавливают в испаритель (Приложение А, рис. 1), собирают газовую схему (Приложение В, рис. 3), выставляют параметры согласно условиям анализа и проводят процесс восстановления катализатора в течение 5 - 6 часов в токе газа-носителя - водорода. Срок службы катализатора не менее 1000 часов.
7.2 Приготовление сорбента
Цеолиты измельчают в фарфоровой чашке, отсеивают фракцию 0,25 - 0,50 мм, прокаливают в муфельной печи при 350 °С в течение 3 - 4 часов и охлаждают в эксикаторе до комнатной температуры.
7.3 Подготовка хроматографической колонки
Хроматографическую колонку промывают последовательно водой, этанолом, гексаном, высушивают в токе воздуха и заполняют сорбентом.
Подготовленную колонку подсоединяют к испарителю хроматографа и продувают газом-носителем с расходом 10 см3/мин при температуре 80 °С в течение 6 часов. После этого колонку подсоединяют к детектору и кондиционируют се до стабилизации нулевой линии при температуре 90 °С и максимальной чувствительности прибора.
7.4 Подготовка хроматографа
Подключение хроматографа к сети, проверку на герметичность и вывод на режим выполняют согласно инструкции по монтажу и эксплуатации хроматографа.
Методика предусматривает следующие изменения в газовой схеме хроматографа (Приложение В, рис. 3):
- установку реактора для конверсии оксида углерода;
- применение водорода в качестве газа-носителя;
- введение перед краном-дозатором фильтрующего патрона с аскаритом для улавливания кислых газов.
Градуировку хроматографа проводят методом абсолютной калибровки, используя серию градуировочных смесей с различной концентрацией метана и оксида углерода (п. 2, табл. 2).
Для нахождения градуировочного коэффициента необходимо хроматографировать 3 градуировочных смеси с различной концентрацией метана и оксида углерода.
Градуировочную смесь не менее 5 раз подают в хроматографическую колонку и на полученных хроматограммах определяют значения высот пиков в мм (или ед. сч.).
Данная операция повторяется для всех взятых смесей.
Полученные градуировочные данные заносят в таблицу, аналогичную приведенной ниже.
Таблица 3
|
№ п/п |
Массовая концентрация метана и оксида углерода (при 20 °С и 101,3 кПа), мг/м3 |
Измеренное значение высоты пика, мм |
Среднее значение высоты пика, мм |
Приведенное значение высоты пика, мм |
|
1 |
С1 |
h11; h12; h13; h14; h15 |
|
h1пр |
|
2 |
С2 |
h21; h22; h23; h24; h25 |
|
h2пр |
|
3 |
С3 |
h31; h32; h33; h34; h35 |
|
h3пр |
При анализе каждой градуировочной смеси проверяют выполнение следующего условия:
|
(4) |
где himax - максимальная высота хроматографического пика, мм или ед. сч;
himin - минимальная высота хроматографического пика, мм или ед. сч;
- среднее арифметическое высот пиков.
При невыполнении условия (4) анализ градуировочной смеси повторяют. При повторном невыполнении условия (4) выясняют и устраняют причины, приводящие к невыполнению этого условия.
Приведенное значение высоты (hПР) рассчитывают по формуле:
|
hiПР = |
(5) |
где Mi - масштаб ослабления выходного сигнала для i-ой смеси.
По полученным данным определяют градуировочные коэффициенты (K) для каждого компонента по формуле:
|
|
(6) |
где
- коэффициент, учитывающий
неравноточность измерений и применяемых для градуировки смесей
, принимают равным (1/ΔСi), где ΔСi
- предел допускаемой абсолютной погрешности установления значения массовой
концентрации компонента в i-ой газовой смеси, мг/м3
(принимается согласно паспорту на смесь).
Градуировочную характеристику признают удовлетворительной при выполнении следующего условия:
|
(7) |
где Kmax - максимальный из m градуировочных коэффициентов;
Kmin - минимальный из m градуировочных коэффициентов;
m - число градуировочных коэффициентов;
K - средневзвешенное значение градуировочных коэффициентов, рассчитанное по формуле:
|
|
(8) |
При невыполнении условия (7) выясняют и устраняют причины, приводящие к невыполнению этого условия. После чего повторяют процедуру построения градуировочной характеристики.
В процессе градуировки измеряют атмосферное давление (Ргр, кПа) и температуру пробы (tгр, °С).
Контроль стабильности градуировочной характеристики проводят не реже одного раза в день, используя одну из газовых смесей, применяемых при градуировке хроматографа.
Градуировочную характеристику считают стабильной при выполнении следующего условия:
|
(9) |
где (hпр)к - значение приведенной высоты пика, рассчитанное при контроле стабильности градуировочной характеристики, мм или ед. сч.;
(hпр)гр - значение приведенной высоты пика, рассчитанное при построении градуировочной характеристики, мм или ед. сч.;
z - поправочный коэффициент, (см. раздел 10).
При невыполнении условия (9) выясняют и устраняют причины, приводящие к нестабильности градуировочной характеристики, и повторяют процедуру контроля стабильности градуировочной характеристики. При повторном невыполнении условия (9) строят новую градуировочную характеристику.
Отбор проб следует проводить в соответствии с РД 52-186-89 для атмосферного воздуха, ПНД Ф 12.1.1-99 «Методические рекомендации по отбору проб при определении концентрации вредных веществ (газов и паров) в выбросах промышленных предприятий». Для проб воздуха рабочей зоны - ГОСТ 12.1.005-88 «ССБТ. Общие санитарно-гигиенические требования к воздуху рабочей зоны» при установившемся технологическом режиме работы обследуемого источника выделения загрязняющих веществ в атмосферу.
Анализируемый газ отбирают в стеклянные газовые пипетки на 250 - 500 см3 с зажимами на концах или в цельностеклянные шприцы на 50 - 100 см3 с зажимом. Анализируемым газом промывают пипетку со скоростью 0,5 - 2 дм3/мин в объеме, равном 7 - 10 кратному объему газовой пипетки, перекрывают оба зажима одновременно, выключают аспиратор и отсоединяют пипетку от системы. При отборе проб промвыбросов, находящихся под разрежением, необходимо следить за тем, чтобы в отобранную пробу не попал воздух. В процессе отбора измеряется температура и давление (разрежение) газовой пробы у пипетки или шприца.
Срок хранения проб не более 5 ч.
Допускается отбор проб в резиновые камеры.
Газовые пипетки или цельностеклянные шприцы с анализируемыми пробами предварительно выдерживают в помещении до комнатной температуры.
Ввод пробы в хроматограф осуществляют краном-дозатором не менее 3 раз. Кран-дозатор переводят в положение «отбор», подсоединяют шприц или газовую пипетку и вытесняют пробу (в объеме 20 - 30 см3) в дозу. Объем вводимой в хроматограф пробы - 2 см3. Вытеснение проб из пипеток осуществляют насыщенным раствором хлористого натрия. Затем отсоединяют шприц или газовую пипетку от крана-дозатора для выравнивания в нём давления и через 1 - 2 сек переводят кран-дозатор в положение «анализ». Подсоединение и отсоединение шприца (пипетки) необходимо осуществлять таким образом, чтобы в пробу не попал воздух. Для этого в шприце (пипетке) с помощью поршня (раствора хлористого натрия) следует поддерживать избыточное давление пробы.
В процессе анализа измеряют атмосферное давление (Ра, кПа) и температуру дозы (ta, °C).
Для каждой пробы вычисляют среднее значение площади пика для каждого компонента (В) по формуле:
|
|
(10) |
где hBj - высота хроматографических пиков, для которых выполняется условие (4). При невыполнении условия (4) выясняют и устраняют причины, приводящие к невыполнению условия (4). После чего процедуру, описанную в разделе 9, повторяют.
Для каждой пробы вычисляют значение приведенной высоты пика hBпр (мм или ед. сч.) по формуле (5) раздела 7.5.
Массовую концентрацию метана или оксида углерода вычисляют по формуле:
|
(11) |
где: K
- градуировочный коэффициент,
или
;
z - поправочный коэффициент, учитывающий различия в атмосферном давлении при градуировке и при анализе. Коэффициент вычисляется по формуле:
|
|
(12) |
где где Ргр и Ра - атмосферное давление при градуировке и при анализе, кПа;
f - коэффициент для приведения значений массовой концентрации к температуре, соответствующей принятым нормальным условиям.
При анализе воздуха рабочей зоны f = 1,00; результат измерений приведен к температуре 20 °С (293 К) и давлению 101,3 кПа.
При анализе атмосферного воздуха и выбросов f = 293/273 = 1,07; результат измерений приведён к температуре 0 °С (273 К) и давлению 101,3 кПа.
Расхождение между результатами измерений, полученными в двух лабораториях, не должно превышать предела воспроизводимости. При выполнении этого условия приемлемы оба результата измерения, и в качестве окончательного может быть использовано их среднее арифметическое значение. Значения предела воспроизводимости приведены в таблице 4.
Таблица 4 - Значение предела воспроизводимости при вероятности Р = 0,95
|
Диапазон измерений, мг/м3 |
Предел воспроизводимости (относительное значение допускаемого расхождения между двумя результатами, полученными в разных лабораториях), R, % |
|
От 2,0 до 600 вкл. |
29 |
При превышении предела воспроизводимости могут быть использованы методы проверки приемлемости результатов измерений согласно раздела 5 ГОСТ Р ИСО 5725-6.
Результат измерения в документах, предусматривающих его использование, может быть представлен в виде: X ± Δ, Р = 0,95, где Δ - показатель точности методики.
Значение Δ рассчитывают по формуле: Δ = 0,23Х.
Допустимо результат измерения в документах, выдаваемых лабораторией, представлять в виде: X ± Δл, Р = 0,95, при условии Δл < Δ, где X - результат измерения, полученный в соответствии прописью методики;
±Δл - значение характеристики погрешности результатов измерений, установленное при реализации методики в лаборатории, и обеспечиваемое контролем стабильности результатов измерений.
Контроль качества результатов измерений при реализации методики в лаборатории предусматривает:
- оперативный контроль процедуры измерений (на основе оценки погрешности при реализации отдельно взятой контрольной процедуры);
- контроль стабильности результатов измерений (на основе контроля стабильности среднеквадратического отклонения повторяемости, среднеквадратического отклонения внутрилабораторной прецизионности, погрешности).
Алгоритм оперативного контроля процедуры измерений с применением образцов для контроля
Образцами для контроля являются поверочные газовые смеси.
Оперативный контроль процедуры измерений проводят путем сравнения результата отдельно взятой контрольной процедуры Кк с нормативом контроля К.
Результат контрольной процедуры Кк рассчитывают по формуле:
|
Кк = |Хк - jФк| |
(13) |
где Хк - результат измерений массовой концентрации определяемого компонента в образце для контроля, мг/м3, рассчитанный по формуле (11) методики;
Фк - объемная или молярная доля в образце для контроля, млн-1;
j - коэффициент пересчета значений объемной (молярной) доли (млн-1) в значения массовой концентрации (мг/м3) при 20 °С и 101,3 кПа.
Для метана j = 0,667; для оксида углерода j = 1,165.
Норматив контроля К рассчитывают по формуле
|
К = Δл, |
где ±Δл - характеристика погрешности результатов измерений, соответствующая аттестованному значению образца для контроля. Δл = 0,01∙δл∙jФк, где δл - относительное значение характеристики погрешности результатов измерений.
Примечание - Допустимо характеристику погрешности результатов измерений при внедрении методики в лаборатории устанавливать на основе выражения: Δл = 0,84∙Δ, с последующим уточнением по мере накопления информации в процессе контроля стабильности результатов измерений.
Процедуру измерений признают удовлетворительной, при выполнении условия:
|
Кк ≤ К |
(14) |
При невыполнении условия (14) контрольную процедуру повторяют. При повторном невыполнении условия (14) выясняют причины, приводящие к неудовлетворительным результатам, и принимают меры по их устранению.
Периодичность оперативного контроля процедуры измерений, а также реализуемые процедуры контроля стабильности результатов измерений регламентируют в Руководстве по качеству лаборатории.
УСТАНОВКА РЕАКТОРА В ИСПАРИТЕЛЕ ХРОМАТОГРАФА

1 - реактор; 2 - испаритель; 3
- букса; 4 - штуцер;
5 - кожух испарителя; 6 - шлаковата; 7 - крышка блока-анализатора.
Рис. 1
ТИПОВАЯ ХРОМАТОГРАММА РАЗДЕЛЕНИЯ МЕТАНА И ОКСИДА УГЛЕРОДА В ВОЗДУХЕ

1 - воздух; 2 - метай; 3 - оксид углерода
Рис. 2
ПРИНЦИПИАЛЬНАЯ СХЕМА ГАЗОВОЙ ОБВЯЗКИ ХРОМАТОГРАФА

1, 2 - баллоны с водородом и
сжатым воздухом соответственно; 3, 4 - редукторы; 5 - блок подготовки газов;
6 - регулятор давления; 7 - дроссель; 8 - фильтр; 9 - блок анализатора; 10 - патрон
с аскаритом; 11 - кран-дозатор;
12 - хроматографическая колонка; 13 - испаритель; 14 - реактор; 15 - детектор;
16 - заглушка; 17 - усилитель; 18 - регистратор.
Рис. 3
Содержание