МИНИСТЕРСТВО ТРАНСПОРТНОГО СТРОИТЕЛЬСТВА
ГОСУДАРСТВЕННЫЙ
ВСЕСОЮЗНЫЙ ДОРОЖНЫЙ
НАУЧНО-ИССЛЕДОВАТЕЛЬСКИЙ ИНСТИТУТ
(СОЮЗДОРНИИ)
МЕТОДИЧЕСКИЕ
РЕКОМЕНДАЦИИ
ПО ТЕХНОЛОГИИ И ОРГАНИЗАЦИИ РАБОТ
ПРИ СТРОИТЕЛЬСТВЕ АВТОМОБИЛЬНЫХ ДОРОГ
И МАЛЫХ ИСКУССТВЕННЫХ СООРУЖЕНИЙ
В УСЛОВИЯХ КРАЙНЕГО СЕВЕРА
|
|
Одобрены
Минавтодором |
Москва 1979
Изложены особенности организации дорожного строительства в сложных природных условиях Крайнего Севера, даны рекомендации по технологии производства работ при сооружении земляного полотна и системы водоотвода, устройстве дорожных одежд и малых искусственных сооружений. Приводятся требования по контролю качества строительства и приемке сооружений в эксплуатацию, а также правила по технике безопасности и охране труда.
Рис. 9, табл. 9.
«Методические рекомендации по технологии и организации работ при строительстве автомобильных дорог и малых искусственных сооружений в условиях Крайнего Севера» разработаны Омским филиалом Союздорнии совместно с Хабаровским филиалом Гипродорнии на основе обобщения существующего опыта строительства автомобильных дорог в районах Севера и полевых опытно-экспериментальных работ, проведенных на объектах дорожного строительства в Якутской АССР и Магаданской обл. При разработке настоящих «Методических рекомендаций» использованы материалы исследований Всесоюзного научно-исследовательского института транспортного строительства (ЦНИИС) и его Сибирского филиала (СибЦНИИС), Дальстройпроекта, Мосстроя-8, НИИоснований и подземных сооружений и др.
«Методические рекомендации» составили канд. техн. наук Н.Ф. Савко, инженеры А.С. Плоцкий, Б.Б. Самойленко, А.П. Казаков, кандидаты технических наук Н.М. Тупицын, Ю.Е. Никольский (Омский филиал Союздорнии), инженеры Ю.И. Дуров, В.П. Чайко, В.В. Кучеренко, О.Я. Меньшикова (Хабаровский филиал Гипродорнии).
Замечания и предложения просьба направлять по адресу: 644080 г. Омск-80, проспект Мира, 3, Омский филиал Союздорнии.
1. Настоящие «Методические рекомендации» можно использовать как руководство при сооружении земляного полотна и устройстве дорожных одежд и малых искусственных сооружений на строящихся и реконструируемых автомобильных дорогах.
При строительстве дорожных сооружений, кроме настоящих «Методических рекомендаций», следует также руководствоваться: СНиП III-Д.5-73 «Автомобильные дороги. Правила производства и приемки работ. Приемка в эксплуатацию» и СНиП III-Б.1-71 «Земляные сооружения. Правила производства и приемки работ», «Инструкцией по изысканию, проектированию и строительству автомобильных дорог в районах вечной мерзлоты» ВСН 84-75, «Инструкцией по проектированию, строительству и содержанию зимних автомобильных дорог на снежном и ледяном покрове в условиях Сибири и Северо-Востока СССР» ВСН 137-75.
2. Возводимые дорожные сооружения и конструкции не должны нарушать общего вида местности и вызывать после окончания строительства образования и развития опасных мерзлотных процессов и явлений (наледей, термокарста, пучин и пр.).
3. Земляное полотно, а также все водоотводные укрепительные, защитные и искусственные сооружения необходимо возводить по утвержденным рабочим чертежам на основе предварительно разработанных проектов производства работ.
В процессе производства работ строительная организация в случае несоответствия проекта местным мерзлотно-грунтовым и гидрологическим условиям должна потребовать от проектной организации внесения в рабочие чертежи соответствующих коррективов.
До начала производства работ должны быть проверены на месте сметы и единичные расценки стоимости отдельных видов работ.
4. Основными проектными документами для возведения земляного полотна, защитных и искусственных сооружений являются:
мерзлотно-инженерно-геологические карты и схемы;
план трассы с указанием существующих и проектируемых сооружений;
план отвода земель;
продольный профиль земляного полотна;
принятые для каждого характерного участка дороги поперечные профили земляного полотна;
проекты водоотводных, дренажных, постоянных противоналедных, противолавинных, противооползневых и снегозащитных сооружений;
планы подземных сооружений и проекты их устройства или переноса;
покилометровая и попикетная ведомости объемов земляных работ с указанием методов производства работ;
планы в горизонталях отдельных трудных участков трассы;
ведомость искусственных сооружений и их проекты;
ведомость укрепительных работ и проекты укреплений;
ведомость рубки леса и корчевки пней;
ведомость и проекты съездов и переездов;
мерзлотное, геологическое и гидрологическое описание трассы с ведомостью лабораторных и полевых анализов состава и свойств талых и мерзлых грунтов;
паспорта карьеров;
паспорта наледей, лавин и подземных льдов;
рабочие чертежи виражей, переходных кривых и уширений;
проекты дорожных одежд, обустройства и озеленения, зданий дорожной и автотранспортной служб;
подробный график организации работ с пояснительной запиской;
смета и единичные расценки;
индивидуальные проекты на отдельные сложные или крупные объекты работ;
ведомость объемов дополнительных работ (устройство водоотводов, временных противоналедных сооружений, дренажей и др.).
5. Строительство автомобильных дорог, за исключением подъездов небольшого протяжения (5 - 10 км), ведется поточным методом в соответствии с проектами организации строительства и производства работ.
Проект производства работ должен содержать детально разработанную, отвечающую местным условиям технологию строительства по принятым вариантам проектирования с указанием сроков выполнения работ, с учетом климатических, грунтовых и гидрогеологических условий района строительства.
На участках, где земляное полотно запроектировано по первому принципу (т.е. без допущения оттаивания грунта основания в течение всего периода эксплуатации сооружения), запрещается даже частичное перенесение отдельных видов и этапов работ на последующие сроки, не предусмотренные проектом. Изменения, возникающие в процессе строительства, могут быть допущены после согласования с проектной организацией и только с разрешения учреждения, утвердившего проект.
6. Климатические условия Крайнего Севера ограничивают производство строительных работ в зимнее время, поэтому для полного использования короткого летнего периода следует:
осуществлять комплексную механизацию возведения земляного полотна, устройства дорожных одежд, искусственных, защитных и других сооружений;
земляные работы вести в три смены, рационально используя карьеры грунта;
на асфальтобетонных заводах работу организовать в две - три смены.
7. При выборе и подготовке карьеров для разработки грунта в летний период необходимо руководствоваться следующими положениями:
а) в первой половине теплого периода года (до начала интенсивного движения грунтовых вод) следует разработку грунта вести на косогорах, во второй половине (с начала августа) - на пойменных участках;
б) подготовку карьеров осуществляют вдоль всего намеченного к строительству участка дороги заблаговременно (в конце зимнего периода), для этого тщательно расчищают поверхность от снега и снимают мохорастительный покров; для ускорения оттаивания грунта в карьерах, предназначенных к разработке в начале летнего периода, рекомендуется укладывать на расчищенную поверхность полиэтиленовую пленку, способствующую повышению температуры поверхности, что позволяет ускорить процесс оттаивания и увеличить глубину оттаивания грунта в весенний период в 1,3 - 1,5 раза;
в) в карьере необходимо предусматривать водоотвод, мощение дорог и рабочей зоны экскаватора;
г) к началу производства земляных работ следует полностью закончить устройство подъездных дорог к карьерам, максимально используя зимний период года.
8. На зимний период относят следующие работы:
прокладку автозимников;
расчистку дорожной полосы;
подготовку карьеров дорожно-строительных материалов;
разработку выемок и котлованов в грунтах, содержащих подземные льды;
возведение насыпей из скальных, а также несмерзающихся галечно-гравийных и песчаных грунтов на подходах к мостам, на марях, болотах, сильнольдистых грунтах и других участках со слабыми основаниями;
сооружение временных землевозных дорог;
устройство теплоизолирующих слоев в основании насыпей и на откосах выемок;
устройство земляного полотна и системы водоотвода выемок в сильнольдистых грунтах;
отсыпку земляного полотна на затопляемых участках местности;
устройство утепленных лотков и дренажных систем;
устройство свайных фундаментов мостов и труб на сильнольдистых грунтах;
укрепление откосов насыпей регуляционных сооружений;
устройство дорожных одежд (заготовка, переработка и вывозка каменных материалов на трассу и АБЗ, ЦБЗ, изготовление сборных железобетонных изделий, устройство щебеночных (гравийных) оснований, укладка сборных железобетонных плит, укладка монолитных цементобетонных оснований с применением методов зимнего бетонирования).
9. В проектах производства земляных работ в зимнее время необходимо предусмотреть выполнение следующих требований:
производство земляных работ узким фронтом и непрерывно;
возведение насыпей горизонтальными слоями на полную ширину поперечного сечения с уплотнением каждого слоя;
уплотнение теплоизолирующих слоев из мохорастительного покрова и торфа гусеничными тракторами (за 3 - 5 проходов), а затем промораживание их на полную глубину.
Таблица 1
|
Наименование механизмов |
Модификация машин |
|||
|
в северном исполнении |
с повышенной хладостойкостью базисных узлов |
повышенной проходимости |
обычная |
|
|
Экскаваторы |
Э-652АС Э-10011АС Э-1602С Э-2505С 3-1252БС ЭО-611ЭС ЭО-5111АС |
Э-10011 |
Э-304Б Э-5015 Э-352А Э-653 ТЭ-3 |
Э-1602 Э-652 Э-505 Э-10011 Э-1004 |
|
Бульдозеры |
Д-572С Д-687С Д-532С |
Д-521М Д-521 Д-384А Д-572 |
Д-494 Д-493 Д-495 ДУ-55 |
Д-493А Д-687 Д-275А Д-575 Д-686 Д-494А |
|
Рыхлители |
Д-515С на тракторе Т-100МГП или Т-130; Д-711 на тракторе Т-180С; Д-652АС на тракторе ДЭТ-250М; ДП-22С на тракторе Т-180С |
- |
- |
Д-162А Д-515А Д-527 Д-570 |
|
Автогрейдеры |
Д-557С Д-395АС |
Д-395А Д-710 Д-395Б |
Д-395 |
Д-144А Д-557 Д-598А Д-446Б Д-512 Д-559 |
|
Уплотняющие средства |
Навесное оборудование на тракторе Т-130АС |
Трамбующая машина Д-471 Б |
- |
Д-219; Д-551 Д-263; Д-627 Д-326; Д-472 Д-625; УМТС-2 |
10. Машины для производства работ выбирают с учетом их применимости в данных природно-климатических, грунтово-гидрологических условиях, а также с учетом особенностей технологии производства работ и технико-экономических расчетов.
Для производства земляных работ применяют машины в северном исполнении, а также с улучшенным и прочностными показателями рабочих органов и ходовой части (табл. 1).
11. При выборе рациональной технологии строительства фундаментов сооружений необходимо ориентироваться:
на применение поточной технологии, машин и оборудования, обеспечивающих высокое качество и производительность работ и, как правило, комплексную механизацию строительства;
широкое применение технологического оборудования и инвентарной оснастки для устройства котлованов погружения в грунт свай и производства буровых работ;
обеспечение предусмотренного проектом температурного состояния вечномёрзлых грунтов основания;
заводское изготовление сборных конструкций фундаментов. В тех случаях, когда изготовление таких конструкций на специализированных предприятиях не представляется возможным или когда доставка их на места строительства экономически не оправдана, строительная организация должна создать собственный полигон, масштабы и оснащение которого определяются предстоящим объемом работ.
12. При организации строительных площадок, на которых должны располагаться холодные склады для свай, блоков и других материалов, предусматриваются места для длительной стоянки кранов, бульдозеров и машин, площадки с бетонными или растворными узлами, а также отапливаемые помещения. При этом необходимо руководствоваться следующим:
Таблица 2
|
Наименование машины |
Тип, марка |
Базовый механизм |
Завод-изготовитель |
Проектный диаметр бурения, мм |
Способ реконструкции рабочего органа при бурении в вечномерзлых грунтах и скальных породах |
|
Буровая машина |
МБС-1, 7 |
Кран Э-1258 |
Одинцовский экспериментальный завод |
1700 |
Уменьшение диаметра ковша с одновременным упрочнением его |
|
|
УГБ-50М |
Автомобиль ГАЗ-66 |
Щигровский завод геолого-разведочного оборудования |
250 |
Установка буровой головки конструкции Красноярского филиала ВНИИСДМ с твердосплавными резцами |
|
|
БМ-802С |
Автомобиль КрАЗ-257 |
Алапаевский завод «Стройдормаш» |
650 |
Буровой орган заменяется на турбобур с шарошечным долотом |
|
|
БМ-204 |
Трактор МТЗ-50 |
То же |
500 |
Установка буровой головки конструкции Красноярского филиала ВНИИСДМ |
|
|
ЛБУ-5 ОМ |
Автомобиль ЗИЛ-131 |
Щигровский завод геологоразведочного оборудования |
240 |
То же |
|
Буровая установка |
УБС-1 |
Собственная база |
Люберецкий завод мостового оборудования |
1500 |
Без реконструкции |
|
Буровой станок |
УКС-10 |
Собственная база |
Люберецкий завод мостового оборудования |
2600 |
Установка буровой головки конструкции Красноярского филиала ВНИИСДМ |
|
|
УКС-30М |
То же |
Новочеркасский машиностроительный завод |
900 |
Установка долот диаметром 1000 мм |
|
|
УКС-22М |
» |
То же |
600 |
То же диаметром 800 мм |
|
|
БС-1М |
« |
Завод «Амурский металлист» |
300 |
То же диаметром 1000 мм |
|
Буровая машина |
МБР-26 |
« |
Одинцовский экспериментальный завод |
2600 |
Без реконструкции |
|
|
1БА-15В |
Автомобиль МАЗ-500 |
Кунгурский машиностроительный завод |
400 |
Установка модернизированного шарошечного долота Д-490С |
|
Буровой станок |
БТС-150 |
Трактор Т-200М |
Золотоношский ремонтно-механический завод |
150 |
Установка буровых головок Красноярского филиала ВНИИСДМ Установка шарошечных долот |
|
Агрегат реактивно-турбовинтового бурения |
РТБ-2600 |
Индивидуальная буровая вышка |
Кунгурский машиностроительный завод |
2600 |
Без реконструкции |
строительные площадки размещать на возвышенных сухих местах с низовой стороны труб или мостов на расстоянии не менее 100 м от них, а отапливаемые помещения - на расстоянии не менее 150 - 200 м;
не допускать с верховой стороны сооружения движения транспорта и проведения каких-либо строительных работ;
устраивать места стоянки машин, сооружать временные здания и т.п. на грунтовых подсыпках толщиной не менее 0,5 м;
устраивать подъезды к месту сооружения труб (мостов) на насыпях из дренирующего грунта высотой не менее 0,5 м, предусматривая временные водоперепуски.
При производстве работ должны быть приняты меры по обеспечению сохранности мохорастительного покрова на участке расположения трубы (моста).
13. До начала строительства свайных фундаментов на вечномерзлых грунтах рекомендуется в конкретных условиях стройплощадки произвести опытные работы по погружению свай или свай-оболочек, бурению мерзлых грунтов или скальных пород и по другим специфическим операциям.
В процессе опытных работ уточняют предлагаемую проектом технологию, проверяют исправность применяемых механизмов, обучают новой технологии рабочих и технический персонал.
При выборе бурового оборудования и способов реконструкции рабочего органа для бурения в вечномерзлых грунтах и скальных породах можно руководствоваться табл. 2.
14. При сооружении фундаментов не следует допускать разрывов между сложными технологическими процессами (например, между разработкой котлована и устройством фундамента, а также его засыпкой грунтом).
При необходимости перерывов должны быть приняты меры против скапливания поверхностных вод в котловане или скважинах и против возможного изменения температурного режима основания.
15. Для обеспечения поточного строительства асфальтобетонных покрытий предусматривают в комплексе оборудования асфальтобетонного завода не менее двух смесительных установок, позволяющих одновременно выпускать смеси для нижнего и верхнего слоев покрытия. Установки по приготовлению битумных эмульсий размещают непосредственно на АБЗ.
16. Для обеспечения работы АБЗ при пониженных положительных и отрицательных температурах воздуха необходимо утеплять сушильные и смесительные барабаны, трубопроводы; осуществлять парообогрев битумопроводов, водопроводов, топливопроводов и бачков для дозировки вяжущего; утеплять кабины операторов и транспортеры, подающие минеральные материалы.
17. При отрицательных температурах бетонные смеси приготавливают на бетонных заводах, где предусмотрено утепление емкостей для воды, водопроводной и паропроводной сети, пневмоаппаратов, кранов, насосов, контрольных приборов и установок для приготовления растворов солей и поверхностно-активных веществ (ПАВ). При приготовлении бетонной смеси на подогретых материалах необходимо отапливать галереи с транспортерами для подачи материалов, бункерное дозировочное и смесительное отделения завода. Комплекты машин и механизмов для укладки и уплотнения бетонной смеси должны быть подготовлены для работы при отрицательных температурах.
18. Земляное полотно возводят с максимальным применением комплексной механизации на основе проектов производства и организации земляных работ. Земляное полотно сооружают в соответствии с требованиями СНиП III-Д.5-73, ВСН 84-75 и действующих правил по технике безопасности и охране труда.
Технологический процесс возведения земляного полотна включает следующие виды последовательно осуществляемых работ:
восстановление трассы с оформлением полосы отвода земель;
очистку дорожной полосы от леса, кустарника, строений и опор линий связи и электропередач с перестройкой или удалением за пределы полосы отвода земель подземных коммуникаций;
разработку, перемещение и укладку грунтов с их послойным разравниванием и уплотнением, с обеспечением водоотвода;
окончательную отделку и планировку земляного полотна и резервов.
19. В сложных мерзлотно-грунтовых условиях на участках с распространением сильнольдистых грунтов и подземных льдов, где земляное полотно запроектировано по первому принципу, работы по расчистке дорожной полосы выполняют только в зимний период с соблюдением следующих правил:
валят, трелюют лес и удаляют кустарник только в пределах полосы на ширину насыпи понизу; корчевка пней и нарушение мохорастительного покрова в пределах просеки и прилегающей к ней территории на расстоянии не менее 100 м в обе стороны от оси трассы не допускается;
просеки вырубают только на тех участках, где предусмотрено закончить сооружение земляного полотна в первый год до начала оттаивания грунтов основания, не допуская «задела»;
с наступлением весенних оттепелей запрещается проезд дорожных машин и всех видов технологического транспорта по просеке и прилегающей территории на расстоянии до 100 м от границы дорожной полосы.
20. На участках, где земляное полотно запроектировано по второму принципу, расчистку дорожной полосы выполняют с соблюдением следующих правил:
валку леса, трелевку, а также удаление кустарника осуществляют зимой на ширину всей дорожной полосы;
за год до начала основных земляных работ с поверхности притрассовых резервов удаляют мохорастительный покров, а также устраивают нагорные и водоотводные каналы.
Мохорастительный покров с полосы резервов удаляют весной, сразу после его оттаивания, не допуская нарушения покрова в пределах основания насыпи. При использовании для расчистки резервов бульдозера с неповоротным отвалом первые проходы выполняют вдоль нижней бровки откоса с созданием промежуточных валиков; затем мохорастительный покров срезают полосами при движении бульдозера под углом к оси дороги, без заезда на основание насыпи, и перемещают за пределы резервов. При использовании универсального бульдозера мохорастительный покров срезают вдоль всей захватки, начиная с кромки основания насыпи, в результате чего образуется сплошной промежуточный валик; на остальной части резерва расчистку ведут поперечными проходами бульдозера.
21. Нагорные и водоотводные канавы устраивают в весенний период обычным способом по мере оттаивания грунта или зимой взрывным способом.
22. Возведение земляного полотна следует вести круглогодично с соблюдением принятого принципа проектирования, придерживаясь условий отсыпки грунтов в летнее и зимнее время. Для большей эффективности в летний период следует выполнять только те работы, проведение которых зимой невозможно.
Расчетное годовое количество рабочих смен по возведению земляного полотна определяют по формуле
|
Р = Kс(Dк - Dн - Dм), |
(1) |
где Kс - коэффициент сменности работы механизмов;
Dк - календарная продолжительность года, дни;
Dн - количество праздничных и выходных дней;
Dм - количество нерабочих по метеорологическим условиям дней.
23. Земляное полотно на участках со сложными мерзлотно-грунтовыми условиями (первый принцип проектирования) сооружают, как правило, в зимнее время за исключением случаев, особо оговоренных проектом (например, устройство высоких насыпей из глинистых грунтов). Допускается двухстадийное возведение земляного полотна при условии строгого соблюдения сроков досыпки насыпи на второй стадии.
При зимней (одностадийной) отсыпке земляного полотна на проектную высоту необходимо:
насыпь возводить из привозных несцементированных обломочных грунтов, заготовленных в карьерах зимой, или из гравелисто-галечных грунтов, заготовленных в летнее время методом послойного оттаивания и просушивания в призмах;
нижнюю часть насыпи на толщину слоя 0,2 м устраивать из грунтов с каменными включениями размером не более 0,15 м;
отсыпку нижней части насыпи на высоту 0,6 м вести по способу «от себя», а последующие слои - продольным способом с послойной укладкой и уплотнением слоев по 0,2 - 0,3 м.
24. Перед отсыпкой земляного полотна следует:
очистить от снега дорожную полосу, не допуская нарушения мохорастительного покрова и срезания кочек; для компенсации осадки из-за вытаивания оставшегося после грубой очистки снега предусматривают дополнительный объем земляных работ;
заделать морозобойные трещины мхом или торфом и устроить водоперепуски на участках с полигональным рельефом;
подготовить объезды на участках строительства искусственных сооружений и выемок.
25. При двухстадийном строительстве земляного полотна нижнюю часть насыпи возводят в зимнее время (первая стадия), а досыпку насыпи до проектной высоты осуществляют летом (вторая стадия) в сроки, при которых обеспечивается мерзлое состояние грунтов основания.
Сроки досыпки насыпи на второй стадии должны быть обоснованы теплотехническим расчетом. Ориентировочно их можно определить по графику (рис. 1) в зависимости от высоты насыпи hн, отсыпанной на первой стадии строительства.
При частичном допущении оттаивания грунтов деятельного слоя
hн = h'н + mэhот,
где h'н - толщина слоя грунта, отсыпанного на первой стадии;
mэ - коэффициент эквивалентного приведения (по условиям оттаивания) грунта деятельного слоя к грунту земляного полотна;
hот - допустимая глубина оттаивания деятельного слоя.
Толщина слоя грунта, отсыпаемого на первой стадий, должна быть не менее 0,5 м.

Рис. 1. Сроки τ досыпки насыпи на второй стадии в зависимости от средней температуры воздуха tвоз за период τ
26. При двухстадийном возведении земляного полотна разрешается на второй стадии применять местные глинистые грунты с влажностью в пределах допустимой из условия их уплотнения.
Верхнюю часть насыпи на высоту не менее 0,5 м досыпают несцементированными обломочными грунтами.
27. Одностадийную или двухстадийную отсыпку земляного полотна выполняют комплектом машин по схеме потока, приведенной на рис. 2.
28. Земляное полотно, запроектированное с теплоизолирующим слоем из мохоторфа под откосами у основания насыпи, возводят с соблюдением следующей технологии:

Примечание. Потребность автомобилей-самосвалов на захватке определяется дальностью возки грунта
Рис. 2. Технологическая схема возведения земляного полотна из несцементированных обломочных грунтов
Примечания: 1. Работы на I - V захватках выполняются на первой стадии строительства.
2. Потребность автомобилей-самосвалов на захватке определяется дальностью возки грунта.
Рис. 3. Технологическая схема возведения земляного полотна с теплоизолирующим слоем в пределах откосной части
заготавливают мохоторф заблаговременно, просушивают его в валах или призмах;
в зимний период, после промерзания основания на глубину 0,3 - 0,5 м, мохоторф самосвалами вывозят и укладывают под откосы у основания насыпи, разравнивая его бульдозерами с одновременным уплотнением трактором;
отсыпают слой насыпи из минеральных грунтов высотой 0,5 м по способу «от себя» на всю ширину насыпи, а далее ведут работы согласно пп. 23 - 26 настоящих «Методических рекомендаций».
Порядок выполнения работ и необходимые механизмы приведены на рис. 3.
29. На участках, где земляное полотно запроектировано с допущением оттаивания грунтов основания (второй принцип проектирования), при наличии продольного уклона местности не менее 5 % насыпи возводят с использованием местных грунтов непосредственно из боковых резервов. Разработку грунтов и их перемещение в насыпь выполняют преимущественно бульдозерами.
Перед началом основных земляных работ устанавливают места укладки снега при расчистке полосы резервов; проверяют состояние водоотводных канав; определяют влажность грунтов в резервах; уточняют сроки и объемы работ по очистке резервов от снега, объемы работ по восстановлению водоотводных канав, сроки доставки машин к месту работ, назначают способы разработки грунтов в зависимости от их влажности в резервах.
30. При возведении земляного полотна бульдозерами разработку грунтов в резервах целесообразно вести послойно, по мере их оттаивания на 0,15 - 0,2 м.
Послойная разработка грунта в резерве по мере его оттаивания возможна на ограниченном фронте работ. Для одной машины при двусторонних резервах фронт работ определяют по формуле:
|
|
(2) |
где Z - длина фронта работ, м;
П - производительность машины, м3/сутки;
Вр - ширина резерва, м;
hг - толщина протаявшего слоя м; для бульдозера hг ≤ 2 м;
Vг - скорость оттаивания грунта в слое 0,15 - 0,2 м, м/сутки, определяемая по результатам наблюдений.
31. При естественной влажности грунтов в резервах, не превышающей допустимую из условия уплотнения, рекомендуется предусматривать глубокое протаивание грунтов в резервах с последующей послойной разработкой их по мере просыхания.
32. В процессе возведения земляного полотна из грунтов боковых резервов следует:
разработку грунтов в резервах начинать с низовой стороны в целях обеспечения стока выпадающих атмосферных осадков;
насыпь возводить послойно по 0,2 - 0,3 м в зависимости от технических данных уплотняющих средств;
разравнивание грунтов выполнять каждую смену с приданием поперечного двустороннего уклона 30 - 50 %;
для сохранения мохорастительного слоя в основании насыпи укладку грунта необходимо вести от бровки к оси с передвижением бульдозера по ранее уложенному грунту.
33. Грунт земляного полотна должен быть послойно уплотнен до норм, предусмотренных проектом. Для уплотнения применяют прицепные катки на пневматических шинах, организуя их работу по круговой схеме: легкие (до 10 т) - для подкатки, тяжелые (25 - 50 т) - для окончательного уплотнения. Количество проходов катка зависит от влажности грунта и определяется пробным уплотнением. Ориентировочное количество проходов можно установить по табл. 3.
Таблица 3
|
Грунт земляного полотна |
Коэффициент уплотнения |
Толщина, см, уплотняемого (при Wотн = l) слоя катком |
Количество проходов |
Толщина, см, уплотняемого (при Wотн = 1,1) слоя катком |
Количество проходов |
Толщина, см, уплотняемого (при Wотн = 1,2) слоя катком |
Количество проходов |
Толщина, см, уплотняемого (при Wотн = 1,35) слоя катком |
Количество проходов |
||||
|
10 т |
25 т |
10 т |
25 т |
10 т |
25 т |
10 т |
25 т |
||||||
|
Супесь легкая |
0,90 |
40 |
60 |
4 - 6 |
35 |
55 |
5 - 7 |
30 |
45 |
6 - 8 |
20 |
30 |
8 - 10 |
|
0,95 |
25 |
40 |
6 - 8 |
20 |
35 |
7 - 9 |
15 |
30 |
8 - 10 |
10 |
20 |
12 - 14 |
|
|
0,98 |
20 |
30 |
8 - 10 |
15 |
27 |
9 - 11 |
10 |
23 |
10 - 12 |
- |
- |
- |
|
|
Супесь тяжелая, суглинок легкий |
0,90 |
30 |
50 |
5 - 7 |
25 |
45 |
6 - 7 |
20 |
30 |
7 - 9 |
15 |
20 |
8 - 10 |
|
0,95 |
20 |
35 |
7 - 9 |
15 |
30 |
7 - 8 |
15 |
25 |
9 - 11 |
- |
- |
- |
|
|
0,98 |
15 |
25 |
9 - 11 |
10 |
20 |
9 - 10 |
- |
- |
- |
- |
- |
- |
|
|
Суглинок тяжелый, глина |
0,90 |
20 |
40 |
6 - 8 |
15 |
35 |
7 - 9 |
15 |
30 |
8 - 10 |
- |
- |
- |
|
0,95 |
15 |
30 |
8 - 10 |
10 |
25 |
9 - 11 |
10 |
20 |
10 - 12 |
- |
- |
- |
|
|
0,98 |
10 |
20 |
10 - 12 |
10 |
15 |
11 - 13 |
- |
- |
- |
- |
- |
- |
|
Примечание. Относительная влажность ![]()
34. Откосы насыпей с крутизной 1:4 и более пологие уплотняют легкими катками с перемещением их по круговой схеме перпендикулярно оси насыпи; откосы крутизной до 1:4 - бульдозерами в процессе возведения насыпей.
35. При уплотнении грунта в насыпи с сохранением в основании мохорастительного покрова толщину первого слоя необходимо назначать с учетом мощности и несущей способности талой прослойки в основании (рис. 4).

Рис. 4. График для определения толщины первого слоя насыпи в зависимости от прочности основания Eо и мощности талой прослойки hн:
а - при уплотнении катками Д-263 (25 т); б - при уплотнении катками Д-219 (10 т)
Модули деформации грунтов основания приведены в табл. 4.
Таблица 4
|
Грунт земляного полотна |
Модули деформации грунта E0, кгс/см2, при относительной влажности |
||||
|
1,0 |
1,1 |
1,2 |
1,3 |
1,4 |
|
|
Супесь легкая |
120 |
100 |
75 |
70 |
60 |
|
Песок пылеватый, супесь тяжелая, суглинок легкий |
100 |
80 |
60 |
50 |
40 |
|
Суглинок тяжелый, глина |
90 |
70 |
50 |
40 |
30 |
36. Работы по возведению насыпей из местных грунтов боковых резервов следует выполнять комплектом механизмов в соответствии со схемой, приведенной на рис. 5. При этом необходимо предусматривать заблаговременную доставку механизмов и горюче-смазочных материалов на строительные объекты, имея в виду, что по трассе автомобильной дороги на участках с преобладанием льдонасыщенных грунтов движение дорожных и транспортных машин в летнее время запрещено.
37. Выемки в переувлажненных грунтах устраивают преимущественно в весенне-летний период с помощью бульдозеров методом послойного оттаивания, на глубину 0,15 - 0,2 м с перемещением грунта в кавальеры или для погрузки в транспортные средства.
Количество бульдозеров n для послойной разработки грунта определяют с учетом производительности машин П, скорости оттаивания грунта Vг в слое 0,15 - 0,2 м и средней площади выемки S по формуле
|
|
(3) |
При разработке выемок необходимо обеспечивать отвод дождевых вод.
38. При глубине выемки до 2 м разработку ее ведут по поперечной схеме, а более 2 м - участками по продольной.
39. В зимнее время в сильнольдистых грунтах и на участках залегания массивов подземного льда выемки устраивают по индивидуальным проектам.
40. При возведении насыпей на льдонасыщенных косогорах круче 1:10 рекомендуется:
отсыпать привозные грунты «с головы»;
присыпать низовой откос термоизолирующим материалом по мере послойного возведения насыпи;
устраивать валики из грунта для перехвата надмерзлотных и поверхностных вод с нагорной стороны.
В целях повышения устойчивости насыпи необходимо полностью сохранять пни, используя их в качестве анкеров.
41. На участках действующих наледей и в местах их возможного возникновения земляное полотно должно возводиться из привозных дренирующих или крупно-обломочных грунтов. При возведении земляного полотна из глинистых грунтов насыпь отсыпают на неполную высоту шириной на 1,0 - 1,3 м меньше проектной, а после досыпки насыпи откосы засыпают дренирующим или крупнообломочным грунтом, толщина слоя которого должна быть не менее 0,5 м.
Если насыпь сооружают из глинистых грунтов на полную высоту и ширину, то со стороны формирования наледи следует устраивать берму из дренирующего грунта высотой не менее расчетной мощности наледи.
42. При устройстве системы водоотвода (мерзлотные валики, нагорные канавы, кюветы, лотки и т.п.) необходимо руководствоваться следующими положениями:
при одностадийном сооружении земляного полотна в зимний период устройство водоотвода должно быть закончено к началу теплого периода года;
двухстадийном возведении земляного полотна водоотвод сооружают в зимний и летний периоды года, с окончанием работ до начала интенсивного движения грунтовых вод;
сооружении земляного полотна из глинистых грунтов притрассовых резервов устройство водоотвода должно быть закончено до начала производства основных работ по отсыпке насыпи.
43. Канавы устраивают:
весной (по мере оттаивания грунта) с помощью экскаваторов (драглайн, обратная лопата), бульдозеров, оборудованных отвалом с лемехом;
летом или осенью (в период максимального оттаивания грунтов) сразу на полный профиль с помощью канавокопателей и бульдозеров;
зимой взрывным способом с помощью роторных экскаваторов, а также обычными экскаваторами с применением рыхлящего оборудования.
44. Материал для утепления и укрепления водоотводных сооружений (дерн, мох, торф, камень и бетонные плитки) заготавливают заблаговременно и доставляют к месту работы в зимний период.
45. Деревянные лотки изготавливают отдельными секциями, а жердевое укрепление в виде щитов. Щиты и секции лотков укладывают с помощью автомобильных или тракторных кранов.
46. Мерзлотные валики на косогорных участках устраивают осенью (после промерзания грунта основания на 0,3 м) в следующем порядке:
укладывают слой мха или торфа и промораживают его;
подвозят грунт к месту работ и бульдозером перемещают его в вал, уплотняют грунт пневматическими трамбовками или вибрационными плитами на тракторе;
планируют грунт навесным тракторным планировщиком;
укрепляют откос с верховой стороны.
47. Строительство противоналедных сооружений у земляного полотна следует выполнять комплексом машин и механизмов повышенной проходимости, способных разрабатывать талые и мерзлые грунты. Работы ведут в соответствии с «Методическими указаниями по проектированию и расчету противоналедных устройств и дорожных сооружений на наледных участках» (Союздорнии. М., 1974).
48. В процессе возведения земляного полотна осуществляют систематический контроль и приемку законченных работ, руководствуясь правилами СНиП III-Д.5-73 с учетом пп. 44 - 46 настоящих «Методических рекомендаций».
49. При сооружении земляного полотна, запроектированного по первому принципу, контролируют:
сохранение леса и мохорастительного покрова на полосе отвода и за ее пределами на расстоянии до 100 м;
отсыпку из мелких фракций нижнего слоя насыпи, устраиваемой из несцементированных обломочных грунтов;
соблюдение сроков производства работ, предусмотренных проектом;
высоту насыпи на первой стадии строительства и соблюдение сроков завершения работ на второй стадии.
50. При сооружении земляного полотна, запроектированного по второму принципу, контролируют:
сохранение мохорастительного покрова в основании насыпи;
соблюдение сроков выполнения подготовительных работ (устройство водоотводных канав и расчистка резервов за год до начала основных земляных работ);
послойное уплотнение грунтов до требуемой плотности.
51. К работам, подлежащим освидетельствованию и приемке с оформлением соответствующих актов при сооружении земляного полотна, относятся: рубка просеки и уборка древесины; удаление снега и льда перед отсыпкой насыпи; снятие мохорастительного покрова с поверхности резервов и сохранение его в основании насыпи; устройство водоотводных канав; устройство теплоизолирующих слоев из мохоторфа в основании насыпей и на откосах выемок; строительство объездов на участках устройства выемок и искусственных сооружений; устройство пересечений автомобильной дорогой подземных коммуникаций.
52. Дорожные одежды устраивают в соответствии с нормами СНиП III-Д.5-73, «Инструкцией по устройству покрытий и оснований из щебня (гравия), обработанного органическими вяжущими» ВСН 123-65, «Инструкцией по устройству цементобетонных покрытий автомобильных дорог» ВСН 139-68, «Инструкцией по строительству дорожных асфальтобетонных покрытий» ВСН 93-73 и с учетом положений настоящих «Методических рекомендаций».
53. Основания и покрытия из щебеночных, гравийных, гравийно-песчаных и щебеночно-песчаных материалов при положительных температурах воздуха устраивают согласно указаниям СНиП III-Д.5-73.
Допускается устройство щебеночных (гравийных) оснований в зимнее время при температурах воздуха до -15 °С на очищенном от снега и льда земляном полотне. При этом особое внимание уделяют уплотнению, не допуская в щебеночных основаниях окатывания и дробления щебня.
54. Для устройства щебеночных оснований при отрицательных температурах следует использовать фракционированный щебень; требуемую степень уплотнения постигают применением для расклинцовки известнякового щебня не ниже 3-го класса прочности.
55. Все технологические операции, начиная от разравнивания и кончая уплотнением, должны быть завершены до смерзания щебня (гравия). Ориентировочное время выполнения работ на одной захватке при температуре воздуха до -5 °С составляет 4 ч, при температурах до -15 °С - 2 ч.
Для замедления смерзания щебеночного (гравийного) материала применяют 30 %-ный раствор хлористых солей. Его разливают по распределенному на проезжей части материалу за 2 - 3 приема (из расчета 5 - 6 % твердого CaCl2 от массы гравия). После каждого розлива гравийный материал тщательно перемешивают автогрейдером.
56. Основания из щебня (гравия), уложенные в зимнее время, требуют тщательного ухода в весенний период. Возникшие деформации основания устраняют после оттаивания и просыхания основания и верхней части земляного полотна.
57. Способом пропитки щебеночные основания и покрытия устраивают в сухую теплую погоду в соответствии с ВСН 123-65. Работы с использованием битума проводят при температуре воздуха не ниже 10 °С и заканчивают за 15 - 20 дней до наступления осеннего периода, а с быстрораспадающимися битумными эмульсиями - при температуре воздуха до 5 °С.
Расход битума при устройстве покрытий и оснований способом пропитки составляет 9 - 11 л/м2, эмульсии - от 7 до 8,5 л/м2 (в пересчете на битум).
58. Поверхностную обработку с применением битумов устраивают при температуре воздуха не ниже 15 °С, а с применением быстрораспадающейся битумной эмульсии при температуре воздуха не ниже 5 °С. При использовании эмульсии каменный материал распределяют в два приема: первую россыпь (50 - 70 % нормы) - до розлива эмульсии, а оставшуюся часть каменного материала (50 - 80 %) - после розлива эмульсии.
Движение автомобильного транспорта разрешается спустя 1 - 2 суток после окончания устройства поверхностной обработки.
59. Для укрепления материалов оснований и покрытий в условиях Крайнего Северо-Востока СССР целесообразно использовать эмульсии обратного типа из нефтей сахалинских месторождений, применение которых обеспечивает хорошее сцепление с влажными минеральными материалами, позволяет экономить до 20 - 30 % вяжущего за счет более равномерного обволакивания частиц с образованием тонкой битумной пленки, продлевать по сравнению с устройством покрытий из черного щебня строительный сезон на 1,5 - 2 месяца, получать качество, не уступающее качеству покрытий из горячих смесей.
Оптимальный состав битумонефтяных эмульсий подбирают на месте в зависимости от качества применяемой нефти. Технологический процесс получения устойчивой эмульсии обратного типа состоит в том, что отдельно приготовленные вяжущие (битум + нефть + активирующая добавка) перемешивают с водным щелочно-солевым раствором и доводят до однородной консистенции. Применение водного раствора едкого натра с поваренной солью позволяет проводить работы при температурах наружного воздуха до -5 °С.
60. Покрытия и основания из горячих асфальтобетонных и битумоминеральных смесей устраивают в сухую погоду при температуре воздуха не ниже 5 °С в соответствии с требованиями ВСН 93-73.
Работы с теплыми асфальтобетонными и битумоминеральными смесями проводят при температуре воздуха не ниже -10 °С в соответствии с требованиями ВСН 93-73.
Ориентировочно продолжительность строительного сезона может быть определена по табл. 5.
Таблица 5
|
Подзоны (по ВСН 84-75) |
Календарная продолжительность строительного сезона, дни, устройства |
|||
|
покрытий |
поверхностной обработки с применением |
|||
|
из горячих смесей |
из теплых смесей |
битума |
битумной эмульсии |
|
|
I |
60 - 80 |
140 - 160 |
- |
70 - 90 |
|
II |
50 - 70 |
130 - 150 |
- |
60 - 80 |
|
IV |
80 - 100 |
160 - 180 |
30 - 50 |
100 - 120 |
|
VI |
70 - 90 |
150 - 170 |
15 - 35 |
85 - 105 |
61. Температура битума для приготовления смесей, применяемых в горячем и теплом состояниях, должна быть в следующих пределах:
|
Марка битума |
Температура приготовления смесей, °С |
|
СГ 130/200, МГ 130/200 |
90 - 100 |
|
БНД 200/300 |
110 - 120 |
|
БНД 130/200 |
110 - 130 |
|
БНД 90/130 |
140 - 160 |
Рабочую температуру битума поддерживают только во время приготовления смеси. Продолжительность выдерживания битума при рабочей температуре не должна превышать 4 ч - для жидкого и 5 ч - для вязкого битума.
Битумы, разжиженные керосином, лигроином, газойлем, получают в соответствии с ВСН 93-73 и приготовляют в количестве, необходимом для работы в течение одной смены.
62. Готовые смеси при выпуске из смесителя должны иметь температуру в соответствии с ГОСТ 9128-76 «Смеси асфальтобетонные дорожные, аэродромные и асфальтобетон. Технические условия».
Температура горячих и теплых смесей в процессе укладки должна быть не ниже указанной в табл. 6.
При устройстве оснований и покрытий из горячих и теплых смесей при температуре воздуха ниже 5 °С необходимо предусматривать мероприятия, обеспечивающие максимальное сохранение температуры перевозимой смеси (использование автомобилей большой грузоподъемности, обогрев кузовов, укрытие теплоизолирующих смесей и т.п.).
63. Основания под асфальтобетонные и другие покрытия подготавливают до наступления отрицательных температур воздуха. Непосредственно перед устройством покрытия основание тщательно очищают от пыли и грязи, а мокрое, заснеженное - подсушивают специальными нагревателями или горячим песком.
Для лучшего сцепления слоев покрытия и основания по поверхности последнего разливают жидкий битум марок СГ 25/40, СГ 40/70, СГ 70/130 или СГ 130/200 в количестве 0,7 - 1 л/м2 или битумную эмульсию в количестве 1 - 1,5 л/м2. Битумные эмульсии при положительных температурах воздуха разливают за 4 - 12 ч (в зависимости от вида эмульсии) до устройства покрытия.
64. Уплотнение теплых смесей при температуре воздуха ниже 5 °С начинают немедленно вслед за укладкой. Уложенную полосу уплотняют на всю ширину тяжелыми 10 - 12-тонными катками. Количество одновременно работающих катков следует увеличивать в 1,5 -2 раза по сравнению с потребностью в них для обычных условий.
65. При устройстве асфальтобетонных и битумоминеральных покрытий и оснований толщиной 10 - 20 см соблюдают следующие правила:
Таблица 6
|
Температура воздуха, °С |
Температура смеси, °С, с вяжущим марки |
|||
|
МГ 130/200 СГ 130/200 |
БНД 200/300 |
БНД 130/200 |
БНД 90/130 |
|
|
Более 10 |
60 |
80 |
110 |
130 |
|
От 10 до 5 |
70 |
90 |
120 |
140 |
|
От 5 до 0 |
80 |
100 |
130 |
- |
|
От 0 до -5 |
90 |
110 |
- |
- |
|
От -5 до -10 |
100 |
120 |
- |
- |
для обеспечения требуемой ровности и плотности покрытия (основания) смесь укладывают на ровное и плотное основание (подстилающий слой) с обязательной подгрунтовкой;
перед распределением смеси устанавливают боковые упоры (рельс-формы, бордюры и т.п.);
смесь укладывают на всю ширину проезжей части двумя укладчиками;
уложенный слой уплотняют гладковальцовыми металлическими катками и самоходными катками на пневматических шинах.
Укладку начинают 2 - 4 проходами легкого гладковальцового катка (до 5 т) при скорости движения 3 - 4 км/ч или самоходного катка на пневматических шинах с давлением воздуха в шинах 1,5 - 2 атм; затем слой укатывают 12 - 20 проходами тяжелого (10 - 15 т) гладковальцового катка по одному следу или 12 - 14 проходами катка на пневматических шинах. При использовании катков на пневматических шинах для выглаживания поверхности окончательное уплотнение производят за 2 - 4 прохода тяжелых гладковальцовых катков.
66. Монолитные цементобетонные покрытия и основания устраивают при положительных пониженных и отрицательных температурах воздуха, руководствуясь требованиями СНиП III-Д.5-73 и «Техническими указаниями по строительству автомобильных дорог в зимних условиях» ВСН 120-65 с учетом положений пп. 67 - 81 настоящих «Методических рекомендаций».
67. Материалы для устройства монолитных цементобетонных покрытий и оснований должны удовлетворять требованиям СНиП I-Д.2-70 и СНиП I-В.2-69. Применяют каменные материалы 1 - 2-го классов прочности с маркой по морозостойкости не ниже Мрз. 150 и гидрофобный или пластифицированный портландцемент; для устройства покрытий используется также шлако-портландцемент и пуццолановый портландцемент марки не ниже 400, а для оснований - марки не ниже 300. Допускается применение быстротвердеющего портландцемента и сульфатостойкого портландцемента марки не ниже 400.
Свойства бетона для дорожных покрытий и оснований, а также материалов для его приготовления должны соответствовать требованиям ГОСТ 8424-72 «Бетон дорожный». Для однослойных и верхнего слоя двухслойных цементобетонных покрытий следует применять бетон марки 400 на сжатие и марки 50 на растяжение при изгибе. Марка бетона по морозостойкости должна быть не ниже Мрз. 200.
Нижние слои двухслойных цементобетонных покрытий, а также цементобетонные основания под асфальтобетонные покрытия устраивают из бетона марки 250 - 300 на сжатие и марки 30 - 35 на растяжение при изгибе. Марка бетона по морозостойкости должна быть не ниже Мрз. 50.
68. В целях улучшения качества бетонных смесей и повышения морозостойкости бетона применяют поверхностно-активные вещества в соответствии с требованиями ГОСТ 8424-72:
а) для портландцемента, сульфатостойкого портландцемента и быстротвердеющего портландцемента - пластифицирующие гидрофобизирующие добавки (ГОСТ 8518-57 «Концентраты сульфитно-спиртовой барды»), гидрофобно-пластифицирующие воздухововлекающие добавки - абиетат натрия, мылонафт, асидол - мылонафт (ГОСТ 13302-67 «Кислоты нефтяные»);
б) для пластифицированного портландцемента - абиетат натрия, мылонафт, асидол - мылонафт.
69. Бетонная смесь для монолитных оснований и покрытий может быть приготовлена на стационарных и передвижных бетонных заводах, например, типа С-780, С-545 и др.
На передвижных бетонных заводах для приема и хранения цемента следует использовать типовые механизированные сборно-разборные металлические склады. Песок и каменные материалы хранят отдельно по фракциям на площадках, не допуская загрязнения материалов.
Химические добавки хранят в специальной таре, защищающей от попадания воды.
Составляющие материалы при приготовлении бетонной смеси дозируют обычно по массе в соответствии с требованиями СНиП III-B.1-70.
70. Подвижность (жесткость) бетонной смеси назначают с учетом времени ее транспортировки к месту укладки, температуры воздуха и способа укладки. При уплотнении бетоноукладочным комплектом машин подвижность смеси должна составлять 2 - 3 см, а при уплотнении виброрейкой - 3 - 5 см.
Для предотвращения расслоения готовой смеси при погрузке ее в автомобили на ЦБЗ устанавливают промежуточные накопительные бункера и лотки, при этом высота падения бетонной смеси при перегрузках не должна превышать 1,5 м.
После каждой рабочей смены бетономешалки и смесители необходимо промыть водой вместе с крупной фракцией щебня или гравия.
Длительность перевозки бетонной смеси на портландцементе, начало схватывания которой не менее 2 ч, не должна превышать 60 мин при температуре воздуха 20 °С. При отрицательных температурах воздуха транспортировать смесь на расстояние свыше 10 км следует в автомобилях-самосвалах с утепленными кузовами.
Для обеспечения эффективности выгрузки смеси из самосвала применяют вибраторы, прикрепленные к его днищу. При разгрузке смеси на месте укладки температура бетонной смеси не должна быть ниже 10 ÷ 15 °С.
71. В условиях Севера для устройства цементобетонных покрытий и оснований рекомендуется широко применять зимние способы бетонирования: термос, «холодный» бетон и электропрогрев (табл. 7). Во всех случаях бетон должен набрать до полного замерзания не менее 50 % прочности от проектной марки.
Однослойные и верхние слои двухслойных покрытий следует устраивать только при положительных температурах воздуха.
Таблица 7
|
Условия производства работ (температура воздуха и состояние основания) |
Конструктивные слои дорожной одежды |
Способ бетонирования |
|
От 5 по -3 °С (талое) |
Основание и нижний слой покрытия |
Термос, бетонная смесь готовится на подогретых материалах с добавкой (в случае необходимости) солей |
|
От 5 до -3 °С (промерзшее до 5 см) |
То же |
Термос, бетонная смесь готовится на подогретых материалах с добавкой солей |
|
От 0 до -5 °С (промерзшее до 10 см) |
« |
«Холодный» бетон, электропрогрев |
|
До -10 °С (промерзшее) |
Основание Нижний слой покрытия |
«Холодный» бетон Электропрогрев |
|
До -25 °С (промерзшее) |
Основание и нижний слой покрытия |
Электропрогрев |
72. Бетонирование по способу термоса заключается в том, что на талое основание укладывают бетонную смесь с положительной температурой, обеспечивая заданный температурный режим ее твердения утеплением покрытия немедленно после его отделки при пониженных и отрицательных температурах воздуха. При этом строго соблюдают установленные расчетом условия остывания бетонной смеси в покрытии.
Если температура воздуха во время бетонирования ниже -5 °С, способ термоса непригоден, подогрев бетонной смеси и дополнительное утепление покрытия становятся неэкономичными.
73. Способ «холодного» бетона заключается в том, что в бетонную смесь вводят хлористый натрий NaCl и хлористый кальций CaCl2 в количестве до 10 % от массы воды затворения и обязательно утепляют открытую поверхность уложенного бетона.
Оптимальную концентрацию P (%) водных растворов солей или незамерзающих жидкостей назначают в зависимости от минимальной температуры поверхности бетона под утеплителем tmin в первые 15 суток его твердения:
|
при tmin ≤ -3 °С |
Р = 3 % NaCl |
|
при tmin ≤ -5 °С |
Р = 5 % NaCl |
Для ускорения твердения бетона и понижения температуры замерзания бетонной смеси ниже -5 °С смесь приготавливают на подогретых заполнителях и вводят в нее растворы солей NaCl + CaCl2 в количестве, установленном расчетом.
Покрытие утепляют слоем битуминизированной бумаги, толем или плотным картоном внахлестку и засыпают сверху слоем песка, воздушно-сухого торфа, сыпучего грунта (без комьев). Дополнительно может быть устроен теплоизолирующий слой из снега. Применение способа «холодного» бетона целесообразно при температурах воздуха до -10 °С.
74. Способ электропрогрева применяется при температурах воздуха до -25 °С для прогрева бетона, уложенного в дорожное покрытие (нижний слой) или основание.
Бетонирование выполняют в такой технологической последовательности:
устанавливают рельс-формы или бортовые деревянные брусья; раскладывают краевую арматуру и нижние электроды;
доставляют и распределяют бетонную смесь;
укладывают верхние электроды и отделывают поверхность основания или покрытия;
утепляют поверхность бетона и осуществляют его электропрогрев.
75. Рельс-формы или бортовые деревянные брусья (при ручной укладке бетона) устанавливают с точностью и надежностью, обеспечивающей заданную толщину и ровность поверхности слоя бетона, на заранее подготовленное основание.
Между рельс-формами (бортовыми брусьями) на подстилающий песчаный слой расстилают полосы битуминизированной бумаги (пергамин, картон, толь и т.п.) внахлестку не менее чем на 10 см. На бумагу раскладывают краевую арматуру и продольные деревянные рейки, к которым крепят нижние электроды. Электроды готовят из предварительно вытянутой горячекатаной проволоки и укладывают через 50 см по основанию (рис. 6).
Длину электрода принимают на 0,5 м больше ширины проезжей части.
В местах пересечения с арматурой электроды тщательно изолируют пергамином или резиновыми трубками и привязывают к арматуре.
Для предохранения битуминизированной бумаги от повреждения, а электродов от смещения и деформирования под воздействием колес бетоновозов перед укладкой бетона прокладывают инвентарные щиты на всю длину подготовленного участка.

Рис. 6. Схема установки электродов:
1 - металлические штыри крепления; 2 - деревянные рейки; 3 - деревянная доска; 4 - деревянный бортовой брус; 5 - опилки слоем 10 - 15 см; 6 - бумага; 7 - цементобетонное основание; 8 - битуминизированная бумага; 9 - выравнивающий слой из песка; 10 - подстилающий слой из гравия; 11 - электроды диаметром 6 мм через 0,5 м; 12 - софит
76. Транспортируют бетонную смесь в специально оборудованных утепленных самосвалах. Борта и днище кузова должны иметь двойные стенки, между которыми укладывают теплоизолирующий материал.
77. Доставленную смесь укладывают на подготовленное основание бетоноукладочным комплектом или вручную. После распределения смеси в нее заглубляют верхние электроды на 5 - 6 см с помощью виброрейки. Концы верхних электродов вставляют в прорези бортовых брусьев. Затем уплотняют смесь и окончательно отделывают поверхность.
78. Немедленно после окончания отделки по поверхности бетона укладывают пароизоляцию (битуминизированную бумагу, пергамин и т.п.) и отсыпают слой опилок толщиной 15 - 20 см или укладывают специальные инвентарные теплоизолирующие маты.
После окончания работ по бетонированию производят электропрогрев бетона.
79. Рекомендуется применять следующий режим электропрогрева:
в течение каждого часа повышают температуру на 10 °С и доводят ее до 60 - 70 °С;
выдерживают бетон при 60 - 70 °С в течение 30 ч до набора 50 % марочной прочности.
80. Режим прогрева бетонной плиты контролируют ежечасно работники лаборатории. После окончания электропрогрева проводят визуальный осмотр основания и испытания образцов, взятых из плиты. При достижении бетоном 60 % марочной прочности по основанию открывают движение автомобильного транспорта с ограничением скорости до 25 км/ч.
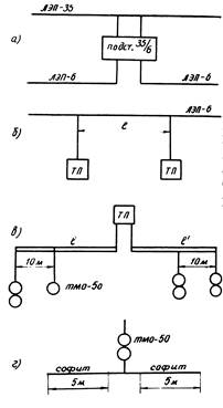
81. Энергия для электропрогрева берется от передвижных электростанций или от линий электропередач, расположенных вблизи дорог. В последнем случае на участке укладки бетона устанавливают передвижные подстанции, от которых прокладывают временные электролинии ЛЭП-6.
В целях обеспечения безопасного ведения работ проводится двухступенчатое понижение напряжения через понижающий трансформатор ТП и малообмоточный трансформатор ТМО-50 (рис. 7).

Рис. 7. Схема подключения ТМО-50 к ЛЭП-35 и софитам:
a - подключение подстанций 35/6 к ЛЭП-35; б - расположение ТП вдоль ЛЭП-6; в - подключение ТМО-50 к ТП; г - подключение софитов к ТМО-50
На софиты и электроды подают напряжение 60 В. С помощью одного трансформатора ТМО-50 прогревают 15 - 20 м3 бетона.
82. Работы по устройству покрытий из сборных железобетонных плит выполняют как в летний, так и в зимний периоды года в такой технологической последовательности:
отделка основания, вывоз и складирование на обочине плит;
устройство монтажного или выравнивающего слоя из цементопесчаной смеси;
разбивка в плане и укладка плит покрытия;
обкатка смонтированных плит и сварка металлических петель и торцовых закладных деталей;
продувка швов, грунтовка граней плит и заполнение швов расширения цементным раствором, а остальных швов - полимерно-битумной мастикой.
Все технологические операции по устройству покрытия из сборных плит должны быть полностью механизированы.
83. Выравнивающий слой из цементопесчаной смеси устраивают толщиной до 5 см. На очищенное гравийно-песчаное основание завозят цементопесчаную смесь, приготовленную в бетоносмесительной установке или смешением фрезой на дороге. Распределяют смесь по подготовленному основанию автогрейдером, затем профилируют выравнивающий слой с помощью специально сконструированного металлического шаблона, изготовленного из труб диаметром 155 - 219 мм, повторяющего поперечный профиль покрытия.
Шаблон протаскивают 5 - 6 раз по распланированному автогрейдером выравнивающему слою и придают заданный по проекту поперечный профиль.
Перед укладкой плит производят разбивку в плане, натягивая шнур вдоль кромки покрытия.
84. Укладку плит ведут автомобильным краном, который движется по ранее уложенным плитам. Швы расширения устраивают через 24 - 30 м. На стыках швов, усиливают основание, укладывая подшовную плиту шириной 1 м и толщиной 20 см из бетона повышенной прочности.
На закруглениях плиты укладывают по кривой с заполнением оставшегося между плитами пространства монолитным бетоном марки 400.
В процессе монтажа поперечные и продольные уклоны контролируют нивелированием, а уступы между смежными плитами - пятиметровой деревянной или металлической рейкой.
Весь цикл операций выполняет бригада в составе 6 монтажников и 1 крановщика.
85. После обкатки смонтированных плит груженым тяжелым автомобилем типа КрАЗ выполняют сварочные работы. Сварку металлических петель и торцовых закладных деталей выполняет сварщик с подсобным рабочим.
86. Для приготовления цементного раствора и заливки швов покрытия применяют передвижной агрегат, смонтированный на автомобиле типа КрАЗ. Обслуживает агрегат звено рабочих в составе 5 человек.
В качестве полимерно-битумной мастики для заполнения швов покрытия рекомендуется применять мастику следующего состава: битум БН-У - 28 %, битум БНД 60/90 или БНД 40/60 - 47 %; раствор каучука (ДСТ) в бензине - 20 %; цемент - 5 %; минеральный заполнитель - асбест.
Для заливки швов мастикой используют емкость от гудронатора, устанавливаемую на шасси автомобиля. Мастика из емкости подается насосом сразу в три шва.
Технологический процесс приготовления и заливки швов цементным раствором и полимерно-битумной мастикой приведен на рис. 8 и 9.

Рис. 8. Схема пооперационного приготовления цементобетонного раствора и грунтовки:
a - приготовление цементного раствора; состав раствора: песок мелкозернистый - 33 %; портландцемент - 39 %; вода - 28 %; б - продувка швов и грунтовка граней плит; состав грунтовки: БНД 60/90 - 50 %; бензин - 50 %

Рис. 9. Схема послеоперационного приготовления полимерно-битумной мастики и заливки швов покрытия:
а - приготовление мастики; б - заливка швов
87. В процессе строительства дорожных одежд проводят систематический контроль за качеством применяемых материалов, соблюдением технологии приготовления асфальтобетонных, битумоминеральных и цементобетонных смесей, а также за качеством производства работ (соответствие конструктивных параметров проекту, степень уплотнения, ровность поверхности и т.п.), руководствуясь СНиПами и ГОСТами.
88. Для установления соответствия качества органических вяжущих и минеральных материалов требованиям соответствующих ГОСТов, СНиПов и ВСН контролируют каждую поступившую партию материалов.
Вязкость битума, используемого для строительства покрытий из теплых асфальтобетонных и битумоминеральных смесей с применением разжиженных битумов, контролируют при каждой новой загрузке котлов, но не реже одного раза в смену.
Используемые в качестве материалов основания каменные материалы (щебень, гравий и гравийно-песчаная смесь в естественном виде, а также укрепленные органическими и неорганическими вяжущими) должны удовлетворять требованиям ГОСТ 7393-71, ГОСТ 7392-70, ГОСТ 7394-70, ГОСТ 8268-74, ГОСТ 8267-75.
89. Контроль за качеством работ при строительстве покрытий (оснований) из материалов, обработанных органическими вяжущими, осуществляют, руководствуясь положениями ГОСТов, ВСН 93-73 и ВСН 123-65.
90. Качество бетона, укладываемого при положительных и отрицательных температурах, контролируют в соответствии с требованиями СНИП III-Д.5-73, ГОСТ 8424-72 «Бетон дорожный».
При строительстве в зимнее время дополнительно контролируют: температуру воды, температуру солевого раствора, заполнителей и бетонной смеси, температуру твердения бетона, прочность контрольных образцов при сжатии и изгибе, морозостойкость бетона.
Контроль морозостойкости бетона во время строительства должен производиться на каждых 75 - 80 тыс. м2 покрытия. Испытание бетона на морозостойкость проводится по ГОСТ 10060-76. «Бетоны. Методы определения морозостойкости».
91. Работы по устройству труб на облегченных фундаментах (щебеночная, гравийно-песчаная подушка), труб и мостов на свайных фундаментах выполняют в последовательности, изложенной в табл. 8.
Способ производства работ по устройству котлованов и бурению скважин под сваи выбирают, исходя из принципа использования вечномерзлых грунтов в качестве основания, с учетом времени года выполнения работ, мерзлотных условий и физико-механических свойств грунтов, наличия и характера грунтовых вод и др.
92. Котлованы под фундаменты труб на вечномерзлых грунтах устраивают без применения ограждения (зимний период) или делая ограждения в виде закладных досок, шпунта и т.п.
93. Для сохранения грунтов в мерзлом состоянии котлован необходимо разрабатывать при установившейся отрицательной температуре. Разработку котлована в летний период допускается производить в исключительных случаях при соответствующем технико-экономическом обосновании. В этом случае закладку фундамента производят сразу после рытья котлована. При задержке устройства фундамента необходимо котлован разрабатывать с недобором до проектной отметки, а сам котлован покрывать теплоизолирующим материалом. Величину недобора грунта назначают в зависимости от длительности перерыва в работах, температуры воздуха и теплотехнических свойств покрытия.
Таблица 8
|
Последовательность выполнения работ |
Технология производства работ |
Единица измерения |
Трудоемкость на единицу измерения, чел.-дн. |
|
Устройство труб с облегченными фундаментами |
|||
|
Подготовительные и транспортные работы |
В комплекс работ входит планировка площадки, разбивочные работы, доставка материалов, завоз элементов конструкций и складирование их на объекте |
По отдельному графику |
|
|
Рытье котлована и зачистка до проектной отметки |
Котлован разрабатывается бульдозером-рыхлителем. |
1 м3 |
0,34 |
|
Зачистка вручную. Извлекаемый из котлована грунт удаляется в отвал в низовую сторону трубы |
1 м3 |
0,30 |
|
|
Заполнение котлована (траншеи) гравийно-песчано-галечниковыми материалами |
Засыпка производится слоями по 20 - 30 см с обязательным уплотнением каждого слоя вибротрамбующей плитой |
1 м3 |
0,10 |
|
Укладка тонких железобетонных плит (если они предусмотрены проектом), блоков оголовков и звеньев труб |
Укладка плит, монтаж блоков оголовков и звеньев труб ведется автомобильным краном грузоподъемностью 10 тс |
|
|
|
монтаж оголовков |
1 м3 |
0,20 |
|
|
укладка звеньев |
1 м3 |
0,60 |
|
|
Засыпка пазух котлована |
Засыпка производится с обязательным послойным уплотнением грунта ручными электрическими или механическими трамбовками |
1м3 |
0,1 |
|
Устройство теплоизоляции и гравийно-песчаной подгрунтовки под лотки оголовков |
Подготовку устраивают в пределах оголовков |
1 м3 |
0,25 |
|
Устройство лотков в пределах оголовков |
Лотки устраивают из монолитного бетона марки 150 |
1 м3 |
0,50 |
|
Конопатка швов и устройство изоляции |
Швы между звеньями конопатят с двух сторон паклей, пропитанной битумом. Звенья в местах соприкосновения с грунтом обмазывают два раза битумом, на швы в два слоя наклеивают рубероид |
1 м2 |
0,1 |
|
Засыпка трубы и укрепление русла и откосов |
Выполняет специализированная организация после постройки трубы |
|
|
|
Устройство труб на балочном фундаменте |
|||
|
Подготовительные и транспортные работы |
В комплекс работ входят планировка площадки, разбивочные работы, доставка материалов, завоз элементов конструкций и складирование их на объекте |
По отдельному графику |
|
|
Рытье котлована с зачисткой до проектной отметки |
Котлован разрабатывают экскаватором на пневматическом ходу. |
1 м3 |
0,04 |
|
Зачистка вручную. Извлекаемый из котлована грунт удаляется с территории строительной площадки |
1 м3 |
0,3 |
|
|
Устройство теплоизоляционного и влагонепроницаемого слоя |
При использовании торфа раскладку, планировку и уплотнение производят вручную |
1 м3 |
1,7 |
|
Блоки из газобетона, пенопласта и т.д. укладывают автокраном на пневматическом ходу грузоподъемностью до 10 тс |
1 м3 |
0,4 |
|
|
Приготовление цементного раствора и укладка блоков фундаментов и звеньев труб, устройство монолитных оголовков и открылков |
Цементный раствор для омоноличивания блоков фундамента приготавливают в бетономешалке, которую в дальнейшем используют для приготовления бетонной смеси при устройстве оголовков и лотков в пределах оголовков. Монтаж ведется автомобильным краном грузоподъемностью 10 тс |
|
|
|
укладка блоков фундамента |
1 м3 |
0,60 |
|
|
установка звеньев |
1 м3 |
0,60 |
|
|
устройство монолитных оголовков, открылков и лотков в пределах оголовков |
1 м3 |
0,50 |
|
|
Конопатка швов между звеньями и устройство изоляции |
Швы между звеньями конопатят с двух сторон паклей, пропитанной битумом. Звенья в местах соприкосновения с грунтом обмазывают битумом, а на швы в два слоя наклеивают рубероид |
1 м2 |
0,1 |
|
Засыпка трубы и укрепление русла и откосов |
Выполняет специализированный отряд после устройства трубы |
|
|
|
Устройство труб на свайном фундаменте |
|||
|
Подготовительные и транспортные работы |
В комплекс работ входят планировка площадки, разбивочные работы, доставка материалов, завоз элементов конструкции и их складирование на объекте |
По отдельному графику |
|
|
Рытье котлована с зачисткой до проектной отметки |
Котлован разрабатывается экскаватором. |
1 м3 |
0,04 |
|
Зачистка вручную. Извлекаемый грунт удаляется с территории площадки |
1 м3 |
0,3 |
|
|
Устройство теплоизоляционного и влагонепроницаемого слоя |
При использовании торфа раскладку, планировку и уплотнение производят вручную |
1 м3 |
1,7 |
|
Блоки из газобетона, пенопласта и т.д. укладывают автомобильным краном грузоподъемностью 10 тс |
1 м3 |
0,4 |
|
|
Приготовление цементного раствора, установка свай в пробуренные скважины, монтаж насадок и ригелей фундамента, установка звеньев, устройство монолитных оголовков |
Бурение скважин, установка железобетонных свай с заполнением пазух цементным раствором |
1 м3 |
16,1 |
|
Срубка голов свай отбойными молотками |
1 шт. |
0,2 |
|
|
Обмазка битумом поверхностей ригелей и насадок, соприкасающихся с грунтом |
1 м2 |
0,08 |
|
|
Монтаж насадок и ригелей с заполнением швов цементным раствором. Монтаж производится автомобильным краном грузоподъемностью 10 тс |
1 м3 |
0,86 |
|
|
Установка звеньев труб краном грузоподъемностью 10 тс |
1 м3 |
0,60 |
|
|
Устройство монолитных оголовков и лотков в пределах оголовков |
1 м3 |
0,50 |
|
|
Конопатка швов между звеньями и устройство изоляции |
Швы между звеньями конопатят с двух сторон паклей, пропитанной битумом. Звенья в местах соприкосновения с грунтом обмазывают битумом, на швы в два слоя наклеивают рубероид |
1 м2 |
0,1 |
|
Засыпка трубы и укрепление русла и откосов |
Выполняет специализированный отряд после устройства трубы |
1 м2 |
0,1 |
Котлован должен иметь надежное ограждение от возможного поступления грунтовой и поверхностной воды.
94. Время года для разработки котлованов под фундаменты на оттаивающих и предварительно протаявших грунтах основания выбирают в зависимости от инженерно-геологических и гидрогеологических условий площадки строительства. Целесообразно эти работы выполнять во второй половине летнего периода года.
95. В зимний период котлованы разрабатывают бульдозерами-рыхлителями (типа «Катерпилляр») или буровзрывным способом на проектную глубину и сразу же заполняют гравийным или щебеночным материалом, заготовленным в летний период. Укладывают материал слоями по 20 - 30 см, уплотняя слои вибротрамбующей плитой.
96. При укреплении котлована способом естественного промораживания талого грунта разработку котлована следует вести периодически. Продолжительность перерывов между работами по рытью котлована и толщину одновременно разрабатываемого слоя грунта следует назначать с учетом свойств и температуры грунта, количества и напора грунтовых вод, среднесуточной температуры воздуха, а также затененности и продуваемости котлована; эти параметры уточняют в ходе работ.
97. Пазухи между боковыми стенами котлована и фундаментом следует заполнять талыми маловлажными суглинками с включением до 30 % щебня. Засыпку производят слоями толщиной не более 20 см с трамбованием каждого слоя пневмотрамбовками. Допускается применять смесь талого (70 %) и мерзлого (30 %) грунта, если в мерзлом грунте не встречается прослоек льда и снега.
98. Свайные фундаменты труб и мостов на сильнольдистых грунтах (льдистость больше 0,60 и на участках с залеганием подземного льда устраивают зимой. На льдистых и сильнольдистых (льдистость меньше 0,6) грунтах допускается устройство свайных фундаментов в теплый период года.
Свайные фундаменты рекомендуется устраивать, применяя один из следующих способов производства работ:
осаживание свай-оболочек в разбуриваемые по мере их погружения скважины (бурообсадный способ);
погружение свай в предварительно пробуренные и заполненные цементопесчаным раствором скважины диаметром, превышающим максимальный размер поперечного сечения погружаемого элемента не менее чем на 5 см.
99. Погружение свай-оболочек бурообсадным способом осуществляют с использованием ударно-канатных станков, оснащенных комплектом соответствующих долот, желонок и подвесных молотков, применяемых для осаживания оболочек. При этом погружение производится повторяющимися циклами, каждый из которых состоит из осаживания оболочки, разбуривания забоя скважины и удаления шлама.
В твердомерзлых грунтах, затрудняющих забивку в них оболочек, работы следует вести таким образом, чтобы забой скважины был всегда ниже ложа оболочки.
100. Погружение оболочек на проектную глубину следует производить без перерывов. В случае длительных перерывов необходимо для устранения смерзания оболочки с грунтом перед разбуриванием забоя заполнить оболочку подогретой до 60 ÷ 80 °C водой.
На проектной отметке низа оболочки забой скважины должен быть разбурен до уровня кромки ножа и очищен от шлама; затем нижнюю часть оболочки заполняют на высоту 30 - 40 см смесью щебня и крупнозернистого песка с тщательным трамбованием засыпки.
101. Полость оболочки заполняют бетонной смесью с осадкой конуса 6 - 10 см. Бетонную смесь рекомендуется приготавливать с использованием быстротвердеющих цементов и пластифицирующей добавки. Температура смеси перед укладкой в оболочку должна быть не ниже 40 °С.
102. Бурение скважин при устройстве фундаментов по способу погружения свай производят:
в мерзлых грунтах с включением камней - станками ударно-канатного действия (БС-1М, БУ-20-2М и др.);
в мерзлых грунтах без крупнообломочных включений и во льдах - станками вращательного бурения (БТС-2) или виброударным оборудованием.
Режим бурения в вечномерзлых грунтах (скорость вращения фрезы, давление на нее, продолжительность работы фрезы в забое и т.д.) зависит от типа станка и бурого инструмента, физико-механических свойств и температуры грунтов, размеров скважины; его рекомендуется уточнять в процессе бурения опытных скважин.
Бурение следующей скважины рядом с ранее пробуренной допускается после установки сваи.
103. Погружение свай в скважины большого диаметра осуществляют после окончания бурения не позднее чем через 3 суток зимой и 3 часа летом.
Сваи устанавливают в скважины с помощью крана (или имеющейся на буровом станке лебедки) с последующим заполнением зазора между стенками столба и скважины раствором. Тот или иной раствор применяют в зависимости от принципа использования вечномерзлых грунтов.
Цементопесчаные растворы применяют при заделке свай в скальные породы, а также при использовании грунтов по второму принципу. Если скважины пробурены в мерзлых грунтах, используемых по первому принципу, то для заполнения зазоров применяют грунтовые растворы.
В скважины, пробуренные во льдах, перед установкой свай на дно скважины укладывают слой песка или щебня толщиной не менее 50 см, с учетом которого была определена проектная глубина скважины.
Цементопесчаный раствор состава от 1:3 до 1:7 (по массе) готовят в зимне-весенний период на быстротвердеющем цементе и заливают при температуре раствора не ниже 40 °С.
104. При забивке свай в лидерные скважины диаметр последних назначают по результатам опытной забивки; он не должен превышать наименьшего размера поперечного сечения сваи.
Глубину скважины назначают:
не более проектной глубины погружения сваи, без учета длины ее острия - при опирании на вечномерзлый грунт;
не менее толщины вечномерзлого слоя грунта - при опирании на талые грунты или скальные породы.
105. К устройству балок фундаментов с вмороженными сваями следует приступать после того, как произойдет смерзание грунтов со сваями в пределах глубины их погружения в вечномерзлый грунт. Смерзание можно считать достигнутым, если температура грунта будет ниже -0,3 °С - для песков и льдонасыщенных крупнообломочных пород; -0,6 °С - для супесей; -1 °С - для суглинков и -1,5 °С - для глин.
106. Работы по установке балок, срезке верхних частей свай следует выполнять по аналогии с работами по устройству плит фундаментов в талых грунтах.
107. Швы между блоками оголовков и звеньями труб следует расшивать цементопесчаным раствором. С внутренней стороны швы между звеньями труб на 1/5 глубины следует заполнять битумом марки БНД 90/130.
108. Готовые трубы после устройства гидроизоляции и ее освидетельствования засыпают грунтом, из которого возводится насыпь.
109. В первую очередь засыпка производится на ширину поверху не менее 4 м в каждую сторону от трубы и на высоту не менее 0,5 м над звеньями. Толщина отсыпаемых слоев - 15 - 20 см. Отсыпку ведут равномерно с обеих сторон трубы с тщательным уплотнением каждого слоя.
Во вторую очередь отсыпают остальную часть насыпи над трубой. Последовательность работ, толщину слоев и способы уплотнения принимают в зависимости от общей технологии отсыпки земляного полотна на данном участке.
110. Если насыпь отсыпают из скальных грунтов или грунтов с большим количеством включений крупных камней (более 10 см), то во избежание механических повреждений труба должна быть засыпана песчаным или глинистым грунтом на высоту не менее 50 см над ее верхом. Ширина этой засыпки должна быть не менее ширины трубы плюс 1 м с каждой стороны.
111. Законченные части малых искусственных сооружений, а также скрытые работы, должны быть освидетельствованы и приняты при участии представителя заказчика с составлением актов установленной формы. При сохранении грунтов основания в мерзлом состоянии сдача фундаментов производится при условии, что основание имеет отрицательные температуры не выше оговоренных в проекте.
112. При устройстве фундаментов на вечномерзлых грунтах необходимо контролировать:
положение и размеры фундамента (в плане и по глубине), а также качество планировки дна котлована;
качество устройства теплоизоляции, являющейся элементом конструкции;
бурение скважин;
погружение свай и заполнение полостей цементо-песчаным раствором;
соблюдение технологии возведения фундамента (монтаж сборных элементов или бетонирование);
качество устройства надфундаментной части трубы.
113. В период устройства водопропускных труб строительная организация должна осуществлять наблюдения за температурным режимом грунтов в основании фундаментов не реже одного раза в сутки. Результаты наблюдений фиксируются в журнале. По окончании строительства материалы наблюдений и температурные скважины передаются по акту заказчику.
114. При устройстве теплоизоляции из керамзито-бетонных и газобетонных блоков необходимо обеспечить плотное прилегание элементов к грунтам основания. Зазор между элементами блоков не должен превышать 1 см.
115. При использовании в качестве теплоизолирующего материала торфа необходимо обеспечить его проектную плотность и влажность.
116. Открытый котлован должен быть освидетельствован и принят комиссией, которая составляет акт, разрешающий приступить к устройству теплоизоляции и возведению фундамента.
117. Сваи, забиваемые (в том числе и через заранее пробуренные скважины) в сыпучемерзлые или талые грунты, а также с опиранием на непросадочные мерзлые грунты, необходимо нагружать до получения расчетного «отказа».
118. Отклонение свай от проектного размещения в плане не должно превышать допусков, нормируемых СНиП III-Д.9-74.
119. Низ скважины должен располагаться на проектной отметке. Отклонения от проектной глубины не должны превышать ±10 см.
120. Приемка погруженных свай должна быть оформлена: актами освидетельствования температурного состояния грунтов контрольных скважин у замороженных элементов; актом приемки свай с указанием дефектов, сроков их устранения, оценки качества работ.
121. Испытания вмороженных свай для определения их несущей способности по грунту следует проводить согласно СНиП III-В.15-68.
122. Приемка работ по устройству плиты фундамента и надфундаментной части трубы производится в соответствии с общепринятыми требованиями.
Общие требования
123. При строительстве автомобильных дорог руководствуются правилами по технике безопасности, изложенными в СНиП III-А.11-70 и «Правилах техники безопасности при строительстве мостов и труб на автомобильных дорогах» (ВП 108-57), «Правилах техники безопасности при строительстве, ремонте и содержании автомобильных дорог» (Минтрансстрой СССР, Минавтодор РСФСР, 1969), «Правилах по технике безопасности при работе на дорожных машинах» (ВП 110-58). Кроме того, следует учитывать требования, изложенные в настоящем разделе.
124. Применяемые механизмы и оборудование должны быть в исправном состоянии и соответствовать характеру выполняемой работы. Механизмы и устройства с электрооборудованием заземляют. Провода и соединения должны иметь требуемые сечения и исправную изоляцию. Электрооборудование разрешается ремонтировать только после отключения его от питающей сети.
125. Автомобильный транспорт для перевозки строительных материалов подготавливают заранее, для этого должны быть:
установлены приспособления для прогрева и запуска двигателей при низких температурах;
автомобили обеспечены теплыми капотами;
очищены и промыты системы охлаждения, топливопроводы, топливные баки и масляные системы;
обеспечена заправка зимними сортами масел;
утеплены аккумуляторные батареи и плотности электролита в аккумуляторах доведены до зимних норм;
проверены и отрегулированы тормозные системы автомобилей;
отремонтированы имеющиеся и изготовлены недостающие цепи противоскольжения;
установлены фары с противотуманными фильтрами;
установлены и подключены приспособления для обогрева кабины.
126. В ночное время объекты строительства обеспечивают средствами освещения от стационарных или передвижных электростанций, применяя инвентарные опоры для токоподводящих линий.
127. Режим труда и отдыха строителей, работающих на открытых строительных площадках в период полярной ночи, устанавливается в соответствии с «Рекомендациями по обеспечению безопасности при производстве строительно-монтажных работ в условиях северной зоны страны» (М., Стройиздат, 1976).
128. В условиях полярной ночи необходимо особое внимание уделять освещению при производстве следующих работ: валки леса, бурении, взрывания и разработки грунтов в карьерах, разработки крутых косогоров, планировки земляного полотна, устройства дорожных одежд и искусственных сооружений.
Освещенность рабочих мест должна быть не ниже величин, приведенных в табл. 9.
Ориентировочное количество светильников назначают с учетом следующих требований: один светильник с лампой 150 Вт создает освещенность 5 Лк на площади 30 - 40 м2 (при высоте подвески 3 м); светильник с лампой 300 Вт при тех же условиях освещает площадь 80 - 100 м2.
Таблица 9
|
Виды работ |
Наименьшая освещенность, Лк, на уровне земли |
|
Рыхление грунта прицепными рыхлителями, плугами; уплотнение грунта |
0,2 - 0,5 |
|
Разработка и перемещение грунта скреперами и бульдозерами, грубая планировка земляного полотна |
1,5 - 2,0 |
|
Экскаваторные и буровые работы |
2,0 - 5,0 |
|
Чистая планировка земляного полотна, устройство дорожных одежд |
4,0 - 5,0 |
Примечание. На участках с большой пыльностью освещенность должна быть увеличена в 1,5 - 2 раза.
Земляные работы
129. Все рабочие, занятые на производстве земляных работ, должны пройти инструктаж по технике безопасности и знать ее требования при буровзрывных работах, эксплуатации дорожных машин и установок электроснабжения.
130. При рыхлении мерзлого грунта буровзрывным способом необходимо соблюдать действующие правила по технике безопасности.
Радиус опасной зоны при взрывных работах должен устанавливаться: при работе людей - не менее 200 м, механизмов - не менее 100 м.
131. Запрещается предварительное образование врубов в забое карьера во избежание обрушения вышележащей толщи мерзлых грунтов.
132. Для бурения скважин площадь их размещения должна быть очищена от снега. Движение бульдозера при очистке снега ближе 3 м от кромки забоя запрещается.
133. При работе бульдозера на заснеженных крутых косогорах запрещается делать резкие повороты.
134. При рыхлении мерзлого грунта с помощью экскаватора не разрешается находиться людям в радиусе 50 м. При одновременной работе двух экскаваторов на одном участке они должны находиться друг от друга на расстоянии не ближе 50 м. Кабина машиниста экскаватора (лобовая часть), рыхлящего мерзлый грунт, должна быть снабжена защитным устройством из металлической сетки, а машинист обеспечен очками с небьющимися стеклами.
135. При разработке мерзлого грунта экскаватором запрещается отрывать мерзлые комья ковшом во избежание обрыва тросов и падения стрелы.
136. Движение транспортных и строительных машин при производстве работ на заболоченных участках разрешается только после промерзания болота на глубину не менее 40 см.
137. В зимнее время подъездные пути к карьерам необходимо систематически очищать от снега, а на участках кривых и с уклонами - посыпать песком или мелким щебнем.
На подъездных путях должны быть установлены ясно различимые вехи, а по узким участкам пути и кривым малого радиуса транспорт должен двигаться с пониженной скоростью.
138. Запрещается эксплуатация дорожных машин обычного использования при температуре воздуха ниже -35 °С во избежание их поломок.
Устройство дорожных одежд
139. При очистке от снега земляного полотна, основания и покрытия необходимо обеспечить безопасность движения на рабочем участке в обоих направлениях.
140. Участок, на котором ведутся работы по электропрогреву, должен быть огражден предупредительными знаками «Опасно», «Ток включен». Инвентарные ограждения устанавливают на расстоянии от участков электропрогрева не менее 1 м в сухую погоду и не менее 3 м - в сырую.
На всех участках электропрогрева, находящихся под напряжением, должен круглосуточно дежурить электромонтер.
141. Применяемые при электропрогреве распределительные щиты и прочее электрооборудование должны быть ограждены. Рубильники и предохранители следует монтировать в специальных шкафах с запирающимися дверцами.
Исправность оборудования и цельность изоляции проводов следует проверять ежедневно, а также при каждой перестановке оборудования и монтаже проводов.
Всякие исправления электропроводки и ремонтные работы, включая замену плавких вставок, на прогреваемом участке, находящемся под напряжением, запрещаются.
142. Монтаж арматуры, передачу и укладку бетона и другие работы на участке электропрогрева можно выполнять только после отключения тока и снятия панелей с прогретого основания.
143. К работе на участках, находящихся под напряжением свыше 60 В, рабочие допускаются только в проверенных диэлектрических (резиновых) перчатках и галошах или ботах. Инструмент должен иметь изолированные ручки.
144. По окончании работы или при временном перерыве в работе по каким-либо причинам необходимо отключить электроэнергию.
145. Работы, связанные с разжижением битума и применением поверхностно-активных веществ, проводят по специально установленным правилам под непосредственным руководством мастера или лаборанта.
146. Во время приготовления теплых смесей строго соблюдают температурный режим нагрева минеральных и вяжущих материалов. Во избежание скопления паров легких разжижителей в смесительном барабане (в установках со свободным перемешиванием) вентилятор форсунки должен быть обязательно включен.
Во время вынужденных перерывов в работе, когда готовая смесь находится в смесительном отделении, огонь форсунки должен быть погашен, а вентилятор включен.
Устройство фундаментов искусственных сооружений
147. Все оборудование и оснастка, включая подмости, опалубку и т.п., необходимые для строительств а фундаментов, должны соответствовать действующим требованиям по технике безопасности и требованиям, приведенным в проекте производства работ.
148. Места, где производятся разработка котлованов, погружение свай, бетонирование или монтаж фундаментов, должны иметь свободные проходы для рабочих и освещаться в темное время; в зимнее время их необходимо систематически очищать от снега и льда.
149. При производстве работ в зимний период должны быть выполнены следующие мероприятия:
рабочие места оборудованы необходимыми защитными и предохранительными устройствами и приспособлениями, в том числе ограждениями;
на строительной площадке оборудованы теплые помещения для обогрева рабочих, снабженные холодной в горячей водой, а также санитарно-гигиеническими средствами; между пунктами обогрева и рабочими местами должны быть протянуты канаты, чтобы обеспечить быстрый переход рабочих, в помещение в условиях пурги или плохой видимости;
проезды для движения автомобилей и других транспортных средств по строительной площадке обозначаются световой сигнализацией и оборудуются указателями скорости движения; указатели и другие информационные сигналы должны быть хорошо видны водителями в условиях интенсивных снегопадов и метелей.
150. При производстве работ на льду (рубка ряжей сборка пролетных строений и т.п.) необходимо систематически проверять несущую способность льда и устанавливать специальным расчетом допустимое время нахождения нагрузки на льду.
151. При появлении признаков сдвигов и оползней грунта в разрабатываемых котлованах работы должны быть немедленно прекращены и приняты необходимые меры по предотвращению возможного обрушения грунта в котлован.
Установка и перемещение строительного оборудования в пределах зоны возможного обрушения грунта в котловане с незакрепленными стенками не допускаются.
152. Запрещается производить какие-либо работы по ремонту бурового станка при подвешенном рабочем оборудовании. Во время работы станка не разрешается касаться движущихся тросов, вращающейся буровой колонны и т.п.
153. При сильном ветре (более 6 баллов), очень плохой видимости работы по погружению свай должны быть прекращены.
154. При прогреве грунта, а также кладки из бетона и других материалов с применением электричества, пара или горячего воздуха необходимо предпринимать все меры предосторожности против травматизма рабочих. При этом следует руководствоваться правилами безопасности, изложенными в специальных наставлениях.
Содержание
|
Особенности организации строительства. 2 Сооружение земляного полотна. 7 Устройство малых искусственных сооружений, контроль качества и приемка их в эксплуатацию.. 29 |