Different types of scaffolding. General specifications

ФЕДЕРАЛЬНОЕ АГЕНТСТВО
ПО ТЕХНИЧЕСКОМУ РЕГУЛИРОВАНИЮ И МЕТРОЛОГИИ

НАЦИОНАЛЬНЫЙ
СТАНДАРТ
РОССИЙСКОЙ
ФЕДЕРАЦИИ

ГОСТ Р
58752-
2019

СРЕДСТВА ПОДМАЩИВАНИЯ

Общие технические условия

Москва
Стандартинформ
2020

Предисловие

1 РАЗРАБОТАН Федеральным государственным бюджетным общеобразовательным учреждением высшего образования «Национальный исследовательский Московский государственный строительный университет» (НИУ МГСУ)

2 ВНЕСЕН Техническим комитетом по стандартизации ТК 465 «Строительство»

3 УТВЕРЖДЕН И ВВЕДЕН В ДЕЙСТВИЕ Приказом Федерального агентства по техническому регулированию и метрологии от 12 декабря 2019 г. № 1382-ст

4 ВВЕДЕН ВПЕРВЫЕ

Правила применения настоящего стандарта установлены в статье 26 Федерального закона от 29 июня 2015 г. № 162-ФЗ «О стандартизации в Российской Федерации». Информация об изменениях к настоящему стандарту публикуется в ежегодном (по состоянию на 1 января текущего года) информационном указателе «Национальные стандарты», а официальный текст изменений и поправок - в ежемесячном информационном указателе «Национальные стандарты». В случае пересмотра (замены) или отмены настоящего стандарта соответствующее уведомление будет опубликовано в ближайшем выпуске ежемесячного информационного указателя «Национальные стандарты». Соответствующая информация, уведомление и тексты размещаются также в информационной системе общего пользования - на официальном сайте Федерального агентства по техническому регулированию и метрологии в сети Интернет (www.gost.ru)

Содержание

1 Область применения. 2

2 Нормативные ссылки. 2

3 Термины и определения. 3

4 Классификация и основные параметры.. 4

5 Технические требования. 5

5.1 Основные показатели и характеристики. 5

5.2 Требования к сырью, материалам, покупным изделиям.. 6

5.3 Комплектность. 7

5.4 Упаковка. 7

6 Правила приемки. 7

7 Методы контроля. 7

7.1 Общие методы контроля. 7

7.2 Методы контроля статической прочности элементов для крепления средств индивидуальной защиты от падения с высоты.. 8

8 Маркировка. 8

9 Указания по эксплуатации. 9

10 Гарантии изготовителя. 9

Приложение А (обязательное) Форма паспорта на средства подмащивания конкретного типа. 9

Приложение Б (обязательное) Форма журнала учета средств подмащивания. 10

Библиография. 11

ГОСТ Р 58752-2019

НАЦИОНАЛЬНЫЙ СТАНДАРТ РОССИЙСКОЙ ФЕДЕРАЦИИ

СРЕДСТВА ПОДМАЩИВАНИЯ

Общие технические условия

Different types of scaffolding. General specifications

Дата введения - 2020-09-01

1 Область применения

Настоящий стандарт распространяется на средства подмащивания, применяемые в процессе производства строительно-монтажных работ при возведении, реконструкции, ремонте зданий и сооружений для организации рабочих мест на высоте.

Стандарт не распространяется:

- на конструкции, совмещающие функции средств подмащивания с какими-либо другими функциями (опалубки, кондуктора и т.п.);

- на конструкции, используемые для подъема или приемки грузов (подъемники, площадки для приемки доставляемых на высоту грузов и т.п.);

- на ходовую часть самоходных средств подмащивания и гидравлический привод средств подмащивания.

2 Нормативные ссылки

В настоящем стандарте использованы нормативные ссылки на следующие документы:

ГОСТ 2.601 Единая система конструкторской документации. Эксплуатационные документы

ГОСТ 9.032 Единая система защиты от коррозии и старения. Покрытия лакокрасочные. Группы, технические требования и обозначения

ГОСТ 9.402 Единая система защиты от коррозии и старения. Покрытия лакокрасочные. Подготовка металлических поверхностей к окрашиванию

ГОСТ 12.4.026-2015 Система стандартов безопасности труда. Цвета сигнальные, знаки безопасности и разметка сигнальная. Назначение и правила применения. Общие технические требования и характеристики. Методы испытаний

ГОСТ 166 (ИСО 3599-76) Штангенциркули. Технические условия

ГОСТ 427 Линейки измерительные металлические. Технические условия

ГОСТ 3242 Соединения сварные. Методы контроля качества

ГОСТ 5378 Угломеры с нониусом. Технические условия

ГОСТ 7502 Рулетки измерительные металлические. Технические условия

ГОСТ 13837 Динамометры общего назначения. Технические условия

ГОСТ 15150 Машины, приборы и другие технические изделия. Исполнения для различных климатических районов. Категории, условия эксплуатации, хранения и транспортирования в части воздействия климатических факторов внешней среды

ГОСТ EN 795 Система стандартов безопасности труда. Средства индивидуальной защиты от падения с высоты. Устройства анкерные. Общие технические требования. Методы испытаний

ГОСТ EN/TS 16415 Система стандартов безопасности труда. Средства индивидуальной защиты от падения с высоты. Анкерные устройства для использования более чем одним человеком одновременно. Общие технические требования. Методы испытаний

ГОСТ Р ЕН 362 Система стандартов безопасности труда. Средства индивидуальной защиты от падения с высоты. Соединительные элементы. Общие технические требования. Методы испытаний

ГОСТ Р 15.301 Система разработки и постановки продукции на производство. Продукция производственно-технического назначения. Порядок разработки и постановки продукции на производство

ГОСТ Р 53228-2008 Весы неавтоматического действия. Часть 1. Метрологические и технические требования. Испытания

СП 28.13330.2012 «СНиП 2.03.11-85 Защита строительных конструкций от коррозии»

Примечание - При пользовании настоящим стандартом целесообразно проверить действие ссылочных стандартов в информационной системе общего пользования - на официальном сайте Федерального агентства по техническому регулированию и метрологии в сети Интернет или по ежегодному информационному указателю «Национальные стандарты», который опубликован по состоянию на 1 января текущего года, и по выпускам ежемесячного информационного указателя «Национальные стандарты» за текущий год. Если заменен ссылочный стандарт, на который дана недатированная ссылка, то рекомендуется использовать действующую версию этого стандарта с учетом всех внесенных в данную версию изменений. Если заменен ссылочный стандарт, на который дана датированная ссылка, то рекомендуется использовать версию этого стандарта с указанным выше годом утверждения (принятия). Если после утверждения настоящего стандарта в ссылочный стандарт, на который дана датированная ссылка, внесено изменение, затрагивающее положение, на которое дана ссылка, то это положение рекомендуется применять без учета данного изменения. Если ссылочный стандарт отменен без замены, то положение, в котором дана ссылка на него, рекомендуется применять в части, не затрагивающей эту ссылку. Сведения о действии сводов правил целесообразно проверить в Федеральном информационном фонде технических регламентов и стандартов.

3 Термины и определения

В настоящем стандарте применены следующие термины с соответствующими определениями:

3.1 средство подмащивания: Конструкция, предназначенная для организации рабочих мест при производстве работ на высоте.

3.2 свободностоящее средство подмащивания: Средство подмащивания, обладающее собственной устойчивостью в рабочем положении и не требующее крепления к конструкциям зданий и сооружений.

3.3 средство подмащивания с раскреплением: Средство подмащивания, устойчивое положение которого обеспечивается его креплением к несущим конструкциям зданий и сооружений (оборудования) или грунту.

3.4 отдельно стоящее средство подмащивания: Средство подмащивания, располагающееся на значительном расстоянии от зданий, сооружений или оборудования.

3.5 приставное средство подмащивания: Средство подмащивания, располагающееся непосредственно около зданий, сооружений или оборудования.

3.6 подвесное средство подмащивания: Средство подмащивания, прикрепляемое к конструкциям зданий и сооружений подвесками.

3.7 навесное средство подмащивания: Средство подмащивания, неподвижно прикрепляемое (навешиваемое) к несущим конструкциям зданий и сооружений.

3.8 переставное средство подмащивания: Средство подмащивания, перемещаемое вдоль фронта работ путем перестановки их краном или вручную (в том числе с частичной или полной разборкой и последующей сборкой).

3.9 передвижное средство подмащивания: Средство подмащивания, перемещаемое вдоль фронта работ передвижением на колесных опорах.

3.10 леса: Многоярусное средство подмащивания, предназначенное для организации рабочих мест на разных горизонтах.

3.11 подмость: Средство подмащивания, предназначенное для выполнения работ, требующих перемещения рабочих мест по фронту работ.

3.12 передвижная сборно-разборная подмость: Металлическое сборно-разборное передвижное (не имеющее привода или с ручным приводом передвижения) средство подмащивания.

3.13 люлька: Подвесное средство подмащивания с рабочим местом, перемещаемым по высоте.

3.14 площадка: Горизонтальная поверхность с защитным ограждением, закрепленная на конструкции, применяемая в процессе работ на высоте для размещения рабочих и материала непосредственно в зоне производства работ.

3.15 лестница: Конструкция, предназначенная для доступа рабочих в зону выполнения работ на высоте и создания кратковременных рабочих мест.

3.16 защитное ограждение: Устройство для защиты от случайного падения или случайного доступа в опасную зону.

3.17 поручень: Горизонтальный или наклонный элемент, выполняющий вспомогательную опорную функцию при подъеме или спуске по лестнице, а также при нахождении на площадке для поддержания равновесия.

3.18 стойка: Вертикальный или наклонный компонент защитных ограждений, к которому крепятся бортовой элемент, ограждение для коленей и верхний поручень.

3.19 бортовое ограждение: Твердая нижняя часть перил или бортик на площадке для предотвращения падения объектов с уровня прохода.

Примечание - Ограждающий борт также сокращает свободное пространство между уровнем прохода и ограждением для коленей, препятствуя выпадению через него.

4 Классификация и основные параметры

4.1 Основные параметры средств подмащивания должны соответствовать требованиям, указанным в таблице 1.

Таблица 1 - Основные параметры средств подмащивания

Наименование средств подмащивания

Значение минимальной нормативной
поверхностной нагрузки, кН/м2 (кгс/м2)

Высота рабочей площадки
средства подмащивания, м, не более

Леса стоечные приставные

1 (102)

100,0

Леса свободностоящие

1 (102)

30,0

Леса передвижные

1 (102)

20,0

Леса навесные

1 (102)

20,0

Подмости навесные

2 (203,9)

10,0

Подмости передвижные сборно-разборные

2 (203,9)

14,0

Люльки электрические подвесные

1 (102)

200,0

Площадки, навешиваемые на лестницы

2 (203,9)

2,0

Площадки, навешиваемые на строительные конструкции

2 (203,9)

8,0

5 Технические требования

5.1 Основные показатели и характеристики

5.1.1 Средства подмащивания должны быть разработаны и изготовлены в соответствии с требованиями настоящего стандарта, стандартов на средства подмащивания конкретного типа, а также с требованиями ГОСТ Р 15.301 к конструкторской документации, утвержденной в установленном порядке. Средства подмащивания должны удовлетворять требованиям Правил по охране труда при работе на высоте [1]. Средства подмащивания с машинным приводом для перемещения рабочих мест по высоте должны также удовлетворять требованиям [2] и [3].

5.1.2 Средства подмащивания должны быть разработаны и изготовлены в климатическом исполнении по ГОСТ 15150.

5.1.3 Средства подмащивания должны выдерживать нагрузку от собственной массы и временные нагрузки от людей, материалов, снега, ветра, а также динамические нагрузки, связанные с остановкой возможного падения человека с высоты не менее 2 м.

5.1.4 При разработке конструкторской документации следует принимать значения коэффициентов надежности по нагрузке, надежности по назначению, условий работы элементов конструкции, запаса на опрокидывание согласно таблице 2.

Таблица 2 - Значения коэффициентов для разработки конструкторской документации

Условие назначения коэффициента

Значение коэффициента

Коэффициент надежности по нагрузке

Люди и материалы

1,2

Собственная масса

1,1

Ветер

1,3

Коэффициент надежности по назначению

При расчете подвесок из стального каната

7

При расчете канатов лебедок, предназначенных для подъема людей

9

При расчете стержневых подвесок

4

При расчете креплений средств подмащивания к строительным конструкциям

1,5

При расчете удельного давления опор на грунт

3

При расчете прочих элементов

1

Коэффициент условий работы элементов конструкции

При расчете стоек на устойчивость

0,9

При расчете перил ограждения

0,9 - 1,2

Коэффициент запаса на опрокидывание

При расчете устойчивости свободностоящих и передвижных средств подмащивания

1,4

5.1.5 Виды материалов несущих элементов средств подмащивания должны быть указаны в стандартах или технической документации на средства подмащивания конкретного типа.

5.1.6 Предельные отклонения размеров деталей средств подмащивания должны быть приведены в технической документации, поставляемой с изделием.

5.1.7 Масса сборочных элементов, приходящаяся на одного рабочего при ручной сборке средств подмащивания на строительном объекте, должна быть, кг, не более:

25 - при монтаже средств подмащивания на высоте;

50 - при монтаже средств подмащивания на земле или перекрытии (с последующей установкой их в рабочее положение монтажными кранами, лебедками и т.п.).

5.1.8 Значение и направление нормативной нагрузки на перильное ограждение должны быть указаны в стандартах или технических условиях на средства подмащивания конкретных типов.

5.1.9 Усилие на рукоятках при вращении ручных приводов средств подмащивания должно быть не более 160 Н (16 кгс).

5.1.10 Отклонение массы средств подмащивания от указанной в технической документации не должно превышать 5 %.

5.1.11 Для подъема механизмами средства подмащивания должны иметь строповочные устройства либо в эксплуатационной документации должны быть указаны иные способы строповки.

5.1.12 Средства подмащивания, рабочий настил которых расположен на высоте 1,8 м и более от поверхности земли или перекрытия, должны иметь перильное и бортовое ограждение.

5.1.13 Проходы, располагающиеся на высоте 1,8 м и более, служащие для перемещения между рабочими местами, в том числе между различными уровнями, также должны иметь перильное и бортовое ограждение.

5.1.14 Высоту ограждения указывают в стандартах на средства подмащивания конкретного типа, но не менее чем в действующих нормативных правовых актах по охране труда. Расстояние между горизонтальными элементами ограждения должно быть не более 0,45 м. В противном случае ограждение должно иметь сетчатое, решетчатое и т.п. заполнение.

5.1.15 Высота бортового ограждения должна быть не менее 0,15 м от верхней части рабочего настила.

5.1.16 Если расстояние по горизонтали между зданием (сооружением, оборудованием) и рабочей платформой средства подмащивания не более 0,3 м, установка перильных ограждений необязательна.

5.1.17 Если изготовитель подразумевает сборку (монтаж), а также эксплуатацию средств подмащивания с использованием средств индивидуальной защиты (СИЗ) от падения с высоты, то средства подмащивания должны быть оборудованы местами для установки анкерных устройств по ГОСТ EN 795 либо по ГОСТ EN/TS 16415 либо местами для присоединения анкерного соединительного элемента по ГОСТ Р ЕН 362.

5.1.18 В соответствии с 5.1.17 места для установки (присоединения) должны выдерживать статическую нагрузку не менее 10 кН в течение 3 мин ± 3 с. Статическое испытание должно быть проведено по 7.2.

5.1.19 В соответствии с Техническим регламентом Таможенного союза [4] анкерные устройства, монтируемые по 5.1.17, должны быть допущены к применению в порядке, установленном действующим законодательством.

5.1.20 Средства подмащивания с машинным приводом для перемещения рабочего места по высоте должны иметь: аппарат управления перемещением, расположенный непосредственно на рабочем месте; ограничители высоты подъема; предохранительные устройства (ловители), препятствующие самопроизвольному опусканию (падению) рабочего места.

5.1.21 Конструкции разъемных соединений должны иметь фиксирующие устройства, предохраняющие их от самопроизвольного разъединения.

5.1.22 Сигнальная окраска средств подмащивания должна соответствовать ГОСТ 12.4.026.

5.1.23 Сроки проведения периодических осмотров указывают в стандартах или технических условиях на средства подмащивания конкретного типа, в эксплуатационной документации, а также в нормативных правовых актах по охране труда.

5.1.24 Изготовитель должен гарантировать соответствие средств подмащивания требованиям настоящего стандарта, стандартам или техническим условиям на средства подмащивания конкретного типа.

5.2 Требования к сырью, материалам, покупным изделиям

5.2.1 В коробчатых и трубчатых конструкциях должны быть предусмотрены меры против скопления в них влаги.

5.2.2 Стальные конструкции средств подмащивания должны быть огрунтованы и окрашены на предприятии-изготовителе лакокрасочными материалами, соответствующими слабоагрессивной среде по СП 28.13330. Допускаются также другие виды покрытий или гальванической обработки, гарантирующие защиту поверхностей.

5.2.3 Поверхность стальных элементов средств подмащивания должна быть перед окраской очищена до 4-й степени по ГОСТ 9.402.

5.2.4 Стальные детали, имеющие контакт с элементами конструкций из алюминиевых сплавов, должны иметь покрытие, исключающее возможность образования электропары между ними.

5.2.5 На металлических деталях и элементах не допускается наличие острых кромок, заусенцев, трещин, раковин, расслоений.

5.3 Комплектность

В комплект поставки должны входить:

- средство подмащивания конкретного типа согласно комплектовочной ведомости;

- паспорт согласно приложению А с инструкцией по эксплуатации.

Допускается создание объединенного сопроводительного документа согласно ГОСТ 2.601.

5.4 Упаковка

Способ упаковки, транспортную маркировку упаковки указывают в стандартах или технических условиях на средства подмащивания конкретного типа.

6 Правила приемки

6.1 Для проверки соответствия средств подмащивания требованиям настоящего стандарта предприятие-изготовитель должно проводить приемо-сдаточные, периодические и типовые испытания.

6.2 Порядок предъявления к испытаниям, объем предъявляемых партий, состав испытаний, проверяемые параметры и технические свойства, а также последовательность их проверки должны быть указаны в стандартах или технических условиях на средства подмащивания конкретного типа.

6.3 На каждое средство подмащивания предприятие-изготовитель должно составить паспорт в соответствии с приложением А.

7 Методы контроля

7.1 Общие методы контроля

7.1.1 Методы контроля (испытаний) указывают в стандартах или технических условиях (технической спецификации) на средства подмащивания конкретного типа (см. раздел 4).

7.1.2 Качество материалов и изделий должно быть удостоверено сертификатами либо декларацией соответствия требованиям профильных нормативных документов.

7.1.3 Геометрические размеры средств подмащивания и их элементов проверяют рулеткой по ГОСТ 7502, металлической линейкой по ГОСТ 427, штангенциркулем по ГОСТ 166, угломером с нониусом по ГОСТ 5378 или другим инструментом, обеспечивающим точность измерений до 1 мм.

7.1.4 Массу средств подмащивания следует измерять на весах по ГОСТ Р 53228 или динамометром по ГОСТ 13837.

7.1.5 Качество сварных швов проверяют визуально в соответствии с ГОСТ 3242.

7.1.6 Качество окраски определяют визуально в соответствии с ГОСТ 9.032.

7.2 Методы контроля статической прочности элементов для крепления средств индивидуальной защиты от падения с высоты

7.2.1 В соответствии с 5.1.18 испытание на статическую прочность производится совместно с типом анкерного устройства либо анкерного соединительного элемента, указанным изготовителем, на собранном и готовом к эксплуатации средстве подмащивания.

7.2.2 Если изготовителем указано несколько совместных типов анкерных устройств, то разрешается проводить испытания с любым из них. Для остальных типов анкерных устройств проводят проверку на совместимость.

7.2.3 Проводят установку анкерного устройства согласно инструкции по эксплуатации в указанном изготовителем месте.

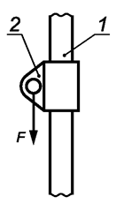
7.2.4 Прикладывают статическую нагрузку согласно 5.1.18 в направлении использования анкерного устройства, как показано на рисунке 1.

1 - фрагмент вертикальной стойки средства подмащивания; 2 - анкерное устройство

Рисунок 1 - Пример схемы статического испытания средства подмащивания
с установленным анкерным устройством на вертикальной стойке

7.2.5 Средство подмащивания должно выдерживать прилагаемое усилие и сохранять устойчивость.

8 Маркировка

8.1 Каждое средство подмащивания должно иметь четкую, читаемую и несмываемую маркировку, которую наносит производитель на официальном языке страны назначения. Маркировка включает в себя следующее:

а) средства идентификации, т.е. наименование производителя, наименование поставщика либо торговое наименование;

б) модель и тип/идентификацию;

в) номер изделия или партии;

г) дату изготовления.

8.2 Маркировка элементов средств подмащивания, предназначенных для установки анкерных устройств по ГОСТ EN 795 или по ГОСТ EN/TS 16415 либо для присоединения анкерного соединительного элемента по ГОСТ Р ЕН 362, должна содержать тип анкерного устройства, предназначенного для установки (присоединения). Маркировка наносится возле места крепления. Также тип анкерного устройства и место его установки должны быть указаны в инструкции изготовителя.

8.3 В соответствии с 5.1.17 места установки должны иметь окраску согласно ГОСТ 12.4.026-2015 (подпункт 5.1.1.1). Контрастные цвета по 5.1.1.1 необходимо использовать для выполнения графических символов и поясняющих надписей.

8.4 Способ, место нанесения маркировки и др. указывают в стандартах или технических условиях на средства подмащивания конкретного типа.

8.5 Символы маркировок должны быть хорошо читаемыми и однозначно понимаемые.

9 Указания по эксплуатации

9.1 Средства подмащивания следует эксплуатировать в соответствии с инструкцией, прилагаемой к изделию, а также в соответствии с действующими нормативными правовыми актами [5].

9.2 Средства подмащивания должны быть зарегистрированы в журнале учета в соответствии с приложением Б.

9.3 Регистрационный номер должен быть нанесен на видном месте на элемент конструкции средства подмащивания или на прикрепленной к нему табличке.

9.4 Результаты проведения приемки в эксплуатацию и периодических осмотров средств подмащивания должны быть отражены в журнале в соответствии с приложением Б.

9.5 Сроки проведения периодических осмотров указывают в стандартах или технических условиях, а также в нормативных правовых актах на средства подмащивания конкретного типа.

10 Гарантии изготовителя

Гарантийный срок эксплуатации - не менее 12 мес со дня начала эксплуатации, при условии соблюдения потребителем правил эксплуатации, транспортирования и хранения.

Приложение А
(обязательное)
Форма паспорта на средства подмащивания конкретного типа

Паспорт

1 Общие данные _____________________________________________________________

___________________________________________________________________________

Наименование _______________________________________________________________

___________________________________________________________________________

Шифр ______________________________________________________________________

Предприятие (организация)-изготовитель __________________________________________

___________________________________________________________________________

Дата изготовления ____________________________________________________________

Допускаемая температура окружающей среды °С (минимальная и максимальная) __________

Нормы проектирования (СП, РД и др.) ____________________________________________

___________________________________________________________________________

Номы изготовления (ГОСТ, СП и др.) _____________________________________________

___________________________________________________________________________

2 Характеристики и основные технические данные ___________________________________

___________________________________________________________________________

Нормативная нагрузка, Н (кгс); кН/м2 (кгс/м2) ______________________________________

___________________________________________________________________________

Максимальная высота (рабочей площадки, рабочей зоны), м ___________________________

___________________________________________________________________________

Масса, кг ___________________________________________________________________

3 Изготовитель удостоверяет следующее: _________________________________________

3.1 _____________________________________________ соответствует рабочим чертежам

и требованиям ГОСТ, техническим условиям _______________________________________

___________________________________________________________________________

3.2 Проведены испытания статической нагрузкой ________________________________  кгс;

Продолжительность испытаний ______________________________________________  мин.

3.3 ________________ признаны годными для эксплуатации согласно прилагаемой инструкции.

 

Гл. инженер

 

 

 

 

 

(Ф.И.О.)

(подпись)

Начальник ОТК

 

 

 

(Ф.И.О.)

(подпись)

М.П.

Дата

 

 

Приложение Б
(обязательное)
Форма журнала
учета средств подмащивания

ЖУРНАЛ

 

(наименование организации)

Ответственный за ведение журнала

 

 

 

(должность, Ф.И.О.)

Форма страниц журнала учета средств подмащивания

Характеристика средств подмащивания

Тип и назначение. Марка

Инвентарный номер

Основная характеристика

 

 

 

 

Предприятие-изготовитель

Допускаемая рабочая температура эксплуатации (минимальная - максимальная), °C

Масса, кг

 

 

 

Сведения о ремонтах

Дата

Инвентарный номер

Содержание ремонта

Фамилия, имя, отчество, должность лица, ответственного за ремонт

 

 

 

 

Данные о технических освидетельствованиях

Регистрационный номер средства подмащивания

Вид освидетельствования

Результаты освидетельствования

Заключение о пригодности к эксплуатации

Ф.И.О., должность лица, ответственного и участвовавшего в освидетельствовании

Подпись

Приемка в эксплуатацию

Периодический осмотр и его причина (плановые сроки, после ремонта и т.п.)

 

 

 

 

 

 

 

Библиография

[1]

Приказ Министерства труда и социальной защиты РФ от 28 марта 2014 г. № 155н

Об утверждении Правил по охране труда при работе на высоте

[2]

Приказ Федеральной Службы по экологическому, технологическому и
атомному надзору от 12 ноября 2013 г. № 533

Об утверждении Федеральных норм и правил в области промышленной безопасности
«Правила безопасности опасных производственных объектов, на которых
используются подъемные сооружения»

[3]

Приказ Министерства энергетики Российской Федерации от 8 июля 2002 г. № 204

Об утверждении глав Правил устройства электроустановок

[4]

Технический регламент Таможенного союза ТР ТС 019/2011

О безопасности средств индивидуальной защиты

[5]

Федеральный закон от 30 декабря 2009 г. № 384-ФЗ

Технический регламент о безопасности зданий и сооружений

 

Ключевые слова: средства подмащивания; подмости; строительные леса; лестницы; люльки; площадки, навешиваемые на конструкции и лестницы; ограждения защитные; работа на высоте