Refractories unshaped granular. Methods for determination of water absorption, apparent density and open porosity

МЕЖГОСУДАРСТВЕННЫЙ СОВЕТ ПО СТАНДАРТИЗАЦИИ, МЕТРОЛОГИИ И СЕРТИФИКАЦИИ
(МГС)

INTERSTATE COUNCIL FOR STANDARDIZATION, METROLOGY AND CERTIFICATION
(ISC)

МЕЖГОСУДАРСТВЕННЫЙ
СТАНДАРТ

ГОСТ
18847-
2020

ОГНЕУПОРЫ НЕФОРМОВАННЫЕ ЗЕРНИСТЫЕ

Методы определения водопоглощения, кажущейся
плотности и открытой пористости

Москва
Стандартинформ
2020

Предисловие

Цели, основные принципы и общие правила проведения работ по межгосударственной стандартизации установлены ГОСТ 1.0 «Межгосударственная система стандартизации. Основные положения» и ГОСТ 1.2 «Межгосударственная система стандартизации. Стандарты межгосударственные, правила и рекомендации по межгосударственной стандартизации. Правила разработки, принятия, обновления и отмены»

Сведения о стандарте

1 РАЗРАБОТАН Обществом с ограниченной ответственностью «Научно-технический центр «Огнеупоры» (ООО «НТЦ «Огнеупоры»)

2 ВНЕСЕН Федеральным агентством по техническому регулированию и метрологии

3 ПРИНЯТ Межгосударственным советом по стандартизации, метрологии и сертификации (протокол от 30 января 2020 г. № 126-П)

За принятие проголосовали:

Краткое наименование страны
по МК (ИСО 3166) 004-97

Код страны
по МК (ИСО 3166) 004-97

Сокращенное наименование
национального органа по стандартизации

Армения

AM

Минэкономики Республики Армения

Беларусь

BY

Госстандарт Республики Беларусь

Казахстан

KZ

Госстандарт Республики Казахстан

Киргизия

KG

Кыргызстандарт

Россия

RU

Росстандарт

Таджикистан

TJ

Таджикстандарт

Узбекистан

UZ

Узстандарт

Украина

UA

Минэкономразвития Украины

(Поправка).

4 Приказом Федерального агентства по техническому регулированию и метрологии от 18 марта 2020 г. № 145-ст межгосударственный стандарт ГОСТ 18847-2020 введен в действие в качестве национального стандарта Российской Федерации с 1 октября 2020 г.

5 ВЗАМЕН ГОСТ 18847-84

Информация о введении в действие (прекращении действия) настоящего стандарта и изменений к нему на территории указанных выше государств публикуется в указателях национальных стандартов, издаваемых в этих государствах, а также в сети Интернет на сайтах соответствующих национальных органов по стандартизации.

В случае пересмотра, изменения или отмены настоящего стандарта соответствующая информация будет опубликована на официальном интернет-сайте Межгосударственного совета по стандартизации, метрологии и сертификации в каталоге «Межгосударственные стандарты»

Содержание

1 Область применения. 2

2 Нормативные ссылки. 2

3 Термины и определения. 3

4 Сущность методов. 3

5 Требования безопасности. 4

6 Основной метод. 4

7 Ускоренный метод. 7

8 Протокол испытания. 8

Приложение А (рекомендуемое) Схема устройства для гидростатического
взвешивания. 8

ГОСТ 18847-2020

МЕЖГОСУДАРСТВЕННЫЙ СТАНДАРТ

ОГНЕУПОРЫ НЕФОРМОВАННЫЕ ЗЕРНИСТЫЕ

Методы определения водопоглощения, кажущейся плотности и открытой пористости

Refractories unshaped granular.
Methods for determination of water absorption, apparent density and open porosity

Дата введения - 2020-10-01

1 Область применения

Настоящий стандарт устанавливает основной и ускоренный методы определения водопоглощения, кажущейся плотности и открытой пористости неформованных зернистых огнеупоров (порошки, заполнители, полуфабрикаты).

2 Нормативные ссылки

В настоящем стандарте использованы нормативные ссылки на следующие межгосударственные стандарты:

ГОСТ 12.1.019 Система стандартов безопасности труда. Электробезопасность. Общие требования и номенклатура видов защиты

ГОСТ 12.2.007.9 (МЭК 519-1-84) Безопасность электротермического оборудования. Часть 1. Общие требования

ГОСТ 12.4.021 Система стандартов безопасности труда. Системы вентиляционные. Общие требования

ГОСТ 12.4.253 (EN 166:2002) Система стандартов безопасности труда. Средства индивидуальной защиты глаз. Общие технические требования

ГОСТ 2409 Огнеупоры. Метод определения кажущейся плотности, открытой и общей пористости, водопоглощения

ГОСТ 3826 Сетки проволочные тканые с квадратными ячейками. Технические условия

ГОСТ 11027 Ткани и штучные изделия хлопчатобумажные махровые и вафельные. Общие технические условия

ГОСТ 25336 Посуда и оборудование лабораторные стеклянные. Типы, основные параметры и размеры

ГОСТ 26565 Огнеупоры неформованные. Методы отбора и подготовки проб

ГОСТ 28874 Огнеупоры. Классификация

ГОСТ ISO/IEC 17025 Общие требования к компетентности испытательных и калибровочных лабораторий

Примечание - При пользовании настоящим стандартом целесообразно проверить действие ссылочных стандартов и классификаторов на официальном интернет-сайте Межгосударственного совета по стандартизации, метрологии и сертификации (www.easc.by) или по указателям национальных стандартов, издаваемых в государствах, указанных в предисловии, или на официальных сайтах соответствующих национальных органов по стандартизации. Если на документ дата недатированная ссылка, то следует использовать документ, действующий на текущий момент, с учетом всех внесенных в него изменений. Если заменен ссылочный документ, на который дана датированная ссылка, то следует использовать указанную версию этого документа. Если после принятия настоящего стандарта в ссылочный документ, на который дана датированная ссылка, внесено изменение, затрагивающее положение, на которое дана ссылка, то это положение применяется без учета данного изменения. Если ссылочный документ отменен без замены, то положение, в котором дана ссылка на него, применяется в части, не затрагивающей эту ссылку.

3 Термины и определения

В настоящем стандарте применены термины по ГОСТ 28874, а также следующие термины с соответствующими определениями:

3.1 кажущаяся плотность огнеупора: Отношение массы сухого огнеупора к его общему объему, выраженное в граммах на кубический сантиметр.

3.2 открытая пористость огнеупора: Отношение объема открытых пор в огнеупоре к его общему объему, выраженное в процентах.

3.3 водопоглощение огнеупоров: Отношение массы воды, поглощенной огнеупором при полном насыщении, к массе сухого огнеупора, выраженное в процентах.

3.4 объем образца: Сумма объемов твердой фазы, открытых и закрытых пор, выраженная в кубических сантиметрах.

4 Сущность методов

Водопоглощение, кажущуюся плотность и открытую пористость определяют основным и ускоренным методами, сущность которых представлена ниже.

4.1 Основной метод состоит в насыщении пробы неформованного зернистого огнеупора при вакуумировании не взаимодействующей с ним жидкостью и удалении ее избытка с поверхности зерен влажной хлопчатобумажной тканью. Затем определяют массу насыщенной жидкостью пробы, проводят ее гидростатическое взвешивание и после высушивания определяют массу сухой пробы.

4.2 Ускоренный метод состоит в насыщении сухой взвешенной пробы неформованного зернистого огнеупора при вакуумировании жидкостью, не взаимодействующей с ней, в проведении гидростатического взвешивания, удалении с поверхности зерен избытка жидкости влажной хлопчатобумажной тканью и взвешивании насыщенной жидкостью пробы на воздухе.

На основе проведенных взвешиваний вычисляют водопоглощение, кажущуюся плотность и открытую пористость.

5 Требования безопасности

5.1 Требования безопасности к электротермическому оборудованию, применяемому для испытания, должны соответствовать ГОСТ 12.2.007.9.

5.2 Эксплуатация электроустановок и электроприборов должна быть осуществлена в соответствии с ГОСТ 12.1.019 и правилами технической эксплуатации и техники безопасности при работе с электроустановками.

5.3 Помещение для проведения испытания должно быть оборудовано вентиляцией в соответствии с ГОСТ 12.4.021.

5.4 При проведении испытания следует применять индивидуальные средства защиты, такие как защитные очки по ГОСТ 12.4.253 или защитный щиток, спецодежда, термозащитные перчатки и т.п.

6 Основной метод

6.1 Отбор и подготовка проб

6.1.1 Отбор и подготовку лабораторной пробы проводят по ГОСТ 26565 или по нормативным документам, действующим на территории государства, принявшего настоящий стандарт*, и в соответствии с нормативными документами и технической документацией на неформованные зернистые огнеупоры.

__________

* В Российской Федерации действует ГОСТ Р 52667-2006 «Огнеупоры неформованные. Правила приемки и методы отбора проб».

6.1.2 Лабораторную пробу массой от 1 до 5 кг усредняют квартованием и делят на две равные части. Одну хранят на случай повторных определений (6.4.2); другую, используемую для лабораторных испытаний, просеивают на ситах с сетками № 4 и № 1 по ГОСТ 3826 (для неформованных зернистых огнеупоров с максимальным размером зерен 5 мм) или № 10 и № 1 (для неформованных зернистых огнеупоров с максимальным размером зерна свыше 5 мм), если иные сита не предусмотрены в нормативных документах и технической документации, устанавливающих требования к неформованным зернистым огнеупорам.

6.2 Аппаратура, материалы и реактивы

Шкаф сушильный, обеспечивающий поддержание температуры не ниже 110 °С с пределами допустимого отклонения ±5 °С.

Весы лабораторные, класс точности высокий (II) с ценой деления 0,01 г, с приспособлением для гидростатического взвешивания.

Сосуд из коррозионно-стойкого материала для вакуумирования пробы и насыщения ее жидкостью объемом не менее 1 дм3.

Установка вакуумная с устройством (прибором) для контроля разрежения, обеспечивающая получение остаточного давления ниже 133,3 Па (1 мм рт. ст.) при отсутствии в системе жидкости.

Допускается применение вакуумной установки, обеспечивающей получение остаточного давления не выше парциального давления паров насыщающей жидкости.

Допускается применять для вакуумирования и насыщения жидкостью пробы автоматическую установку.

Эксикатор по ГОСТ 25336 со стандартным осушителем (безводным хлоридом кальция или аналогичный).

Термометр с ценой деления шкалы не более 1 °С и пределами измерения от 0 °С до 50 °С.

Ареометр с ценой деления 1 кг/м3 (0,001 г/см3).

Стакан из материала, не взаимодействующего с насыщающей жидкостью, вместимостью от 100 до 500 см3.

Сита металлические с сетками номеров 1, 4, 10 по ГОСТ 3826.

Ткань хлопчатобумажная вафельная размером приблизительно 100×50 см по ГОСТ 11027 или аналогичная.

Жидкость для насыщения и гидростатического взвешивания пробы, не взаимодействующая с испытуемым неформованным зернистым огнеупором (дистиллированная или питьевая вода и т.п.).

Палочка стеклянная или ложка.

Допускается использование другой аппаратуры, точность измерений которой соответствует изложенной в настоящем стандарте.

6.3 Проведение испытания

6.3.1 Пробу, подготовленную по 6.1.2, сокращают квартованием до 400 - 800 г, помещают в стакан, вакуумируют и насыщают жидкостью в соответствии с ГОСТ 2409.

6.3.2 Насыщенную пробу помещают на сито с сеткой № 1 и промывают насыщающей жидкостью до полного удаления пыли и мелких зерен.

Допускается перед насыщением и вакуумированием пробу, подготовленную по 6.1.2, сократить квартованием до 400 - 800 г, затем поместить на сито с сеткой № 1 и промыть насыщающей жидкостью до полного удаления пыли и мелких зерен.

6.3.3 Половину находящейся на сите пробы переносят на сложенную не менее чем в четыре слоя, предварительно смоченную жидкостью (использованной по 6.3.1) и отжатую вафельную хлопчатобумажную ткань. Масса влажной ткани должна быть в 1,8 - 2,5 раза больше массы сухой ткани. Пробу разравнивают тонким слоем на одной половине куска ткани, а свободным концом удаляют с поверхности зерен избыточную жидкость до тех пор, пока зерна не перестанут слипаться и не потеряют блеска. Новую ткань перед использованием следует прокипятить.

Допускается удалять избыточную жидкость иным методом (например, центрифугированием), обеспечивающим совпадение значений измеряемых параметров с полученными при удалении жидкости влажной тканью в пределах, указанных в 6.4.3.

6.3.4 После удаления избыточной жидкости от 100 до 350 г пробы переносят в сухой стакан, взвешивают и определяют массу пробы, насыщенной жидкостью.

6.3.5 Выполняют операции, указанные в 6.3.3 и 6.3.4, с оставшейся на сите частью пробы. Все дальнейшие операции проводят параллельно на двух полученных пробах.

6.3.6 Стакан с пробой постепенно заполняют насыщающей жидкостью до полного покрытия пробы. При этом тщательно перемешивают пробу стеклянной палочкой или ложкой для удаления находящегося между зернами воздуха. Затем выполняют гидростатическое взвешивание стакана с пробой в насыщающей жидкости. Для этого стакан с пробой закрепляют на подвесе и полностью погружают в насыщающую жидкость так, чтобы нить подвеса пересекала границу жидкость-воздух (приложение А). При этом на поверхности стакана и деталях подвеса не допускается наличия пузырьков воздуха. Уровень жидкости в сосуде необходимо поддерживать постоянным. Фиксируют массу стакана с пробой при гидростатическом взвешивании.

6.3.7 Из стакана сливают жидкость и находящуюся в нем пробу высушивают в сушильном шкафу при температуре от 110 °С до 250 °С до постоянной массы. Массу считают постоянной, если результаты двух последующих взвешиваний, проведенных через 1 ч сушки, отличаются между собой не более чем на 0,1 %.

Перед взвешиванием пробы охлаждают до комнатной температуры.

Гидратирующиеся пробы охлаждают в эксикаторе.

6.3.8 Плотность насыщающей жидкости при испытании измеряют с помощью ареометра. Плотность дистиллированной воды приведена в таблице 1. При использовании воды при температурах от 15 °С ее плотность принимают равной 1,0 г/см3.

Таблица 1

Температура, °С

Плотность, г/см3

Температура, °С

Плотность, г/см3

Температура, °С

Плотность, г/см3

10

0,999

21

0,998

32

0,995

11

0,999

22

0,997

33

0,994

12

0,999

23

0,997

34

0,994

13

0,999

24

0,997

35

0,994

14

0,999

25

0,997

36

0,993

15

0,999

26

0,996

37

0,993

16

0,998

27

0,996

38

0,993

17

0,998

28

0,996

39

0,992

18

0,998

29

0,996

40

0,992

19

0,998

30

0,996

41

0,991

20

0,998

31

0,995

 

 

6.3.9 Операции взвешивания, указанные в 6.3.4, 6.3.6 и 6.3.7, проводят на весах с пределом допускаемой погрешности взвешивания не более ±0,1 г.

Массу пустых стаканов, а также результат их гидростатического взвешивания получают предварительно на весах. Точность взвешивания определена классом точности весов.

6.3.10 Основной метод является арбитражным при разногласиях в оценке качества неформованных зернистых огнеупоров.

6.4 Обработка результатов

6.4.1 Водопоглощение Wпог, %, кажущуюся плотность ρкаж, г/см3, открытую пористость Потк, %, вычисляют по формулам:

(1)

(2)

(3)

,

(4)

,

(5)

(6)

 

где mнас.ж

 - масса стакана с насыщенным жидкостью образцом, г;

mсух

 - масса стакана с сухим образцом, г;

mсух.ст

 - масса сухого стакана, г;

m

 - масса гирь, уравновешивающих стакан с образцом при гидростатическом взвешивании, г;

mст

 - масса гирь, уравновешивающих стакан при гидростатическом взвешивании, г;

ρж

 - плотность жидкости, применяемой для насыщения и гидростатического взвешивания, г/см3;

 - плотность воды при температуре 20 °С, г/см3 ( г/см3).

6.4.2 Значение кажущейся плотности, открытой пористости и водопоглощения получают как среднее арифметическое результатов двух параллельных определений. Значение кажущейся плотности округляют до второго десятичного знака, а открытой пористости и водопоглощения - до первого десятичного знака.

6.4.3 Абсолютное допускаемое расхождение результатов двух параллельных определений не должно превышать: по кажущейся плотности - 0,045 г/см3 для неформованных зернистых огнеупоров с кажущейся плотностью не более 4 г/см3; 0,120 г/см3 для неформованных зернистых огнеупоров с кажущейся плотностью свыше 4 г/см3; по открытой пористости - 1,8 %; по водопоглощению - 0,5 %.

В случае большего расхождения проводят повторное испытание на оставшейся части лабораторной пробы.

6.4.4 При испытании одной и той же пробы в разных лабораториях абсолютные допускаемые расхождения значений измеряемых величин не должны превышать: по кажущейся плотности - 0,06 г/см3 для неформованных зернистых огнеупоров с кажущейся плотностью не более 4 г/см3; 0,15 г/см3 - для неформованных зернистых огнеупоров с кажущейся плотностью свыше 4 г/см3; по открытой пористости - 2,5 %; по водопоглощению - 0,6 %.

7 Ускоренный метод

7.1 Отбор и подготовка проб

Отбор и подготовка проб - по 6.1.1.

7.2 Аппаратура, материалы и реактивы

Аппаратура, материалы и реактивы - по 6.1.2.

7.3 Проведение испытания

7.3.1 От лабораторной пробы, подготовленной по 6.1.2, квартованием отбирают две пробы массой от 100 до 350 г, помещают в стаканы и высушивают в сушильном шкафу при температуре от 180 °С до 250 °С в течение 15 - 30 мин, охлаждают на воздухе и взвешивают. Пробы не высушивают, если отбор проб и испытание проводят непосредственно после обжига.

Все последующие операции проводят параллельно на двух пробах.

7.3.2 Пробу, находящуюся в стакане, насыщают при вакуумировании жидкостью в соответствии с 6.3.1 и проводят ее гидростатическое взвешивание. Затем из стакана сливают жидкость, пробу без потерь переносят на влажную хлопчатобумажную ткань и в соответствии с 6.3.3 удаляют с поверхности зерен избыточную жидкость.

7.3.3 Пробу, осушенную влажной тканью, без потерь переносят в сухой стакан. Определяют массу пробы, насыщенной жидкостью.

7.3.4 При выполнении операций взвешивания, указанных в 7.3.1 - 7.3.3, необходимо руководствоваться требованиями 6.3.9.

7.3.5 Определяют ареометром плотность насыщающей жидкости при температуре испытания в соответствии с 6.3.8.

7.4 Обработка результатов

Обработку результатов испытания проводят в соответствии с 6.4, при этом расхождения между результатами двух параллельных определений не должны превышать расхождений для основного метода более чем в 1,3 раза.

При испытании одной и той же пробы в разных лабораториях расхождения значений измеряемых величин не должны превышать указанных в 6.4.4.

8 Протокол испытания

8.1 Результаты испытаний записывают в протокол, содержащий:

а) обозначение настоящего стандарта;

б) наименование организации, проводившей испытания;

в) дату проведения испытания;

г) наименование неформованного зернистого огнеупора, его марку и гранулометрический состав;

д) название метода и наименование измеряемого показателя;

е) жидкость, применявшуюся для насыщения;

ж) время вакуумирования и выдержки проб в насыщающей жидкости;

и) отдельные и среднее значения кажущейся плотности, открытой и общей пористости, водопоглощения;

к) ФИО и подпись исполнителя.

Требования, изложенные в перечислении ж), являются рекомендуемыми. Допускается не указывать положение, приведенное в перечислении е), если в испытании применяют дистиллированную воду.

Примечание - Допускается проводить оформление результатов измерений в соответствии с ГОСТ ISO/IEC 17025 либо с правилами, действующими в конкретной организации.

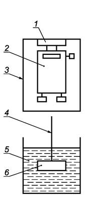
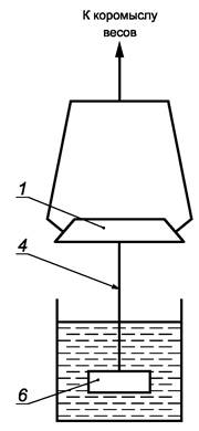
Приложение А
(рекомендуемое)
Схема устройства для гидростатического взвешивания

На рисунке А.1 представлена схема устройства для гидростатического взвешивания.

а) с использованием
квадрантных весов

б) с использованием
коромысловых весов

1 - чашка весов; 2 - квадрантные весы; 3 - рамка подвеса; 4 - металлическая нить подвеса;
5 - сосуд для гидростатического взвешивания; 6 - емкость с образцом

Рисунок А.1

 

Ключевые слова: огнеупоры неформованные, зернистые огнеупоры, метод определения водопоглощения, метод определения кажущейся плотности, метод определения открытой пористости