Главная // Актуальные документы // Актуальные документы (обновление 2025.04.26-2025.05.31) // ГОСТ (Государственный стандарт)СПРАВКА
Источник публикации
М.: ФГБУ "Институт стандартизации", 2025
Примечание к документу
Документ
введен в действие с 01.04.2025.
Название документа
"ГОСТ ISO 23551-6-2023. Межгосударственный стандарт. Устройства защиты и управления газовых горелок и аппаратов. Частные требования. Часть 6. Термоэлектрические устройства контроля пламени"
(введен в действие Приказом Росстандарта от 28.12.2024 N 2067-ст)
"ГОСТ ISO 23551-6-2023. Межгосударственный стандарт. Устройства защиты и управления газовых горелок и аппаратов. Частные требования. Часть 6. Термоэлектрические устройства контроля пламени"
(введен в действие Приказом Росстандарта от 28.12.2024 N 2067-ст)
агентства по техническому
регулированию и метрологии
от 28 декабря 2024 г. N 2067-ст
МЕЖГОСУДАРСТВЕННЫЙ СТАНДАРТ
УСТРОЙСТВА ЗАЩИТЫ И УПРАВЛЕНИЯ ГАЗОВЫХ ГОРЕЛОК И АППАРАТОВ.
ЧАСТНЫЕ ТРЕБОВАНИЯ
ЧАСТЬ 6
ТЕРМОЭЛЕКТРИЧЕСКИЕ УСТРОЙСТВА КОНТРОЛЯ ПЛАМЕНИ
Safety and control devices for gas burners
and gas-burning appliances. Particular requirements.
Part 6. Thermoelectric flame supervision controls
(ISO 23551-6:2021, IDT)
ГОСТ ISO 23551-6-2023
Дата введения
1 апреля 2025 года
Цели, основные принципы и общие правила проведения работ по межгосударственной стандартизации установлены
ГОСТ 1.0 "Межгосударственная система стандартизации. Основные положения" и
ГОСТ 1.2 "Межгосударственная система стандартизации. Стандарты межгосударственные, правила и рекомендации по межгосударственной стандартизации. Правила разработки, принятия, обновления и отмены"
1 ПОДГОТОВЛЕН Республиканским государственным предприятием на праве хозяйственного ведения "Казахстанский институт стандартизации и метрологии" Комитета технического регулирования и метрологии Министерства торговли и интеграции Республики Казахстан на основе собственного перевода на русский язык англоязычной версии стандарта, указанного в
пункте 5
2 ВНЕСЕН Комитетом технического регулирования и метрологии Министерства торговли и интеграции Республики Казахстан
3 ПРИНЯТ Межгосударственным советом по стандартизации, метрологии и сертификации по результатам голосования в АИС МГС (протокол от 25 сентября 2023 г. N 165-П)
За принятие проголосовали:
Краткое наименование страны по МК (ИСО 3166) 004-97 | Код страны по МК (ИСО 3166) 004-97 | Сокращенное наименование национального органа по стандартизации |
Армения | AM | ЗАО "Национальный орган по стандартизации и метрологии" Республики Армения |
Беларусь | BY | Госстандарт Республики Беларусь |
Казахстан | KZ | Госстандарт Республики Казахстан |
Киргизия | KG | Кыргызстандарт |
Россия | RU | Росстандарт |
Таджикистан | TJ | Таджикстандарт |
Узбекистан | UZ | Узбекское агентство по техническому регулированию |
4
Приказом Федерального агентства по техническому регулированию и метрологии от 28 декабря 2024 г. N 2067-ст межгосударственный стандарт ГОСТ ISO 23551-6-2023 введен в действие в качестве национального стандарта Российской Федерации с 1 апреля 2025 г.
5 Настоящий стандарт идентичен международному стандарту ISO 23551-6:2021 "Устройства защиты и управления газовых горелок и аппаратов. Частные требования. Часть 6. Термоэлектрические устройства контроля пламени" ("Safety and control devices for gas burners and gas-burning appliances - Particular requirements - Part 6: Thermoelectric flame supervision controls", IDT).
Международный стандарт разработан Техническим комитетом по стандартизации ISO/TC 161 "Устройства защиты и управления для газа и/или нефти".
При применении настоящего стандарта рекомендуется использовать вместо ссылочных международных стандартов соответствующие им межгосударственные стандарты, сведения о которых приведены в дополнительном
приложении ДА
6 ВВЕДЕН ВПЕРВЫЕ
Информация о введении в действие (прекращении действия) настоящего стандарта и изменений к нему на территории указанных выше государств публикуется в указателях национальных стандартов, издаваемых в этих государствах, а также в сети Интернет на сайтах соответствующих национальных органов по стандартизации.
В случае пересмотра, изменения или отмены настоящего стандарта соответствующая информация будет опубликована на официальном интернет-сайте Межгосударственного совета по стандартизации, метрологии и сертификации в каталоге "Межгосударственные стандарты"
Серия стандартов ISO 23551 состоит из следующих частей под общим названием "Устройства защиты и управления газовых горелок и аппаратов. Частные требования":
- Часть 1: Автоматические и полуавтоматические клапаны;
- Часть 2: Редукционные клапаны;
- Часть 3: Регуляторы соотношения газа и воздуха пневматического типа;
- Часть 4: Системы контроля герметичности автоматических запорных клапанов;
- Часть 5: Газовые клапаны с ручным управлением;
- Часть 6: Термоэлектрические устройства контроля пламени;
- Часть 8: Многофункциональные устройства управления;
- Часть 9: Механические газовые терморегуляторы;
- Часть 10: Выпускные клапаны.
Настоящий стандарт устанавливает требования, предъявляемые к безопасности, конструкции, эксплуатационным характеристикам и испытаниям термоэлектрических устройств контроля пламени, питаемых от термопары и предназначенных для применения с газовыми горелками и аппаратами (далее - устройства управления).
Настоящий стандарт применяется к термоэлектрическим устройствам контроля пламени для газовых горелок и газовых аппаратов с номинальным присоединительным диаметром не более DN 50 включительно, которые могут использоваться и испытываться независимо от этих аппаратов.
Данные термоэлектрические устройства контроля пламени применяются с газообразным топливом, таким как природный газ, промышленный газ или сжиженный нефтяной газ (СНГ), сжигаемым при давлении на входе до 50 кПа включительно.
Настоящий стандарт не распространяется на термоэлектрические устройства контроля пламени, предназначенные для работы во взрывоопасных средах.
Настоящий стандарт распространяется только на испытания типа.
Настоящий стандарт не применим:
a) к термопарам;
b) устройствам управления, использующим вспомогательную энергию (например, электроэнергию от внешнего источника питания).
В настоящем стандарте использована нормативная ссылка на следующий стандарт [для датированной ссылки применяют только указанное издание ссылочного стандарта, для недатированной - последнее издание (включая все его изменения)]:
ISO 23550:2018, Safety and control devices for gas burners and gas-burning appliances - General requirements (Устройства защиты и управления газовых горелок и аппаратов. Общие требования).
В настоящем стандарте применены термины по ISO 23550, а также следующие термины с соответствующими определениями.
ISO и IEC поддерживают терминологическую базу данных, используемую в целях стандартизации по следующим адресам:
- Платформа онлайн-просмотра ISO: доступна по адресу https://www.iso.org/obp/;
- Электропедия IEC: доступна по адресу http://www.electropedia.org/.
3.1 термопара (thermocouple): Термоэлектрический чувствительный элемент, в котором под воздействием температуры контролируемого пламени вырабатывается электродвижущая сила (ЭДС).
3.2 термоэлектрическое устройство контроля пламени (thermoelectric flame supervision control): Устройство управления, которое в ответ на ЭДС, выработанную термопарой, открывает подачу газа к основной горелке или основной и запальной горелкам и отключает подачу газа к основной горелке после исчезновения контролируемого пламени.
3.3 блокировка розжига (ignition interlock): Предотвращение включения устройства воспламенения, пока открыта подача газа к основной горелке.
3.4 блокировка повторного розжига (re-start interlock): Механизм, предотвращающий повторное открытие подачи газа к основной горелке или основной и запальной горелкам до тех пор, пока пластина якоря не отделится от магнитного элемента.
Примечание - Для получения дополнительной информации см.
рисунок I.1, приложение I.
3.5 запорное усилие (sealing force): Сила, действующая на затвор, находящийся в закрытом положении, независимо от любых сил, обусловленных давлением топливного газа.
3.6 закрытое положение (closed position): Положение затвора(ов) при отсутствии термоэлектрической энергии.
4.1 Классы устройств управления
Требования ISO 23550:2018 (см. 4.1) заменяются следующим:
Устройства управления классифицируются в зависимости от количества операций:
- класс A: 40 000 операций (например, приготовление пищи в домашних условиях);
- класс B: 10 000 операций (например, обогреватели помещений);
- класс C: 5000 операций (например, центральное отопление).
Конкретные региональные требования должны быть такими, как указано в
приложениях F,
G и
H.
4.2 Группы устройств управления
Применяются требования ISO 23550:2018 (см. 4.2).
Конкретные региональные требования должны быть такими, как указано в
приложениях F,
G и
H.
4.3 Типы устройств управления источников постоянного тока
Применяются требования ISO 23550:2018 (см. 4.3).
4.4 Классы функций устройств управления
Применяются требования ISO 23550:2018 (см. 4.4).
5 Условия испытаний и допуски
Условия испытаний должны соответствовать ISO 23550:2018 (см. раздел 5).
6.1 Общие положения
Применяются требования ISO 23550:2018 (см. 6.1) со следующим дополнением:
Устройства управления должны быть сконструированы таким образом, чтобы во время зажигания либо газовый тракт к основной горелке открыт, если нет запальной горелки; либо газовый тракт к основной горелке закрыт, а к запальной горелке открыт.
Устройства управления должны быть сконструированы таким образом, чтобы запорное усилие не уменьшалось давлением газа на входе.
6.2 Требования к конструкции
6.2.1 Внешний вид
Применяются требования ISO 23550:2018 (см. 6.2.1).
6.2.2 Отверстия
Применяются требования ISO 23550:2018 (см. 6.2.2).
6.2.3 Вентиляционное отверстие
Требования ISO 23550:2018 (см. 6.2.3) не применяются.
6.2.4 Резьбовые крепления
Применяются требования ISO 23550:2018 (см. 6.2.4).
6.2.5 Соединения
Применяются требования ISO 23550:2018 (см. 6.2.5).
6.2.6 Подвижные детали
Применяются требования ISO 23550:2018 (см. 6.2.6).
6.2.7 Уплотнительные колпачки
Применяются требования ISO 23550:2018 (см. 6.2.7).
6.2.8 Демонтаж и монтаж для обслуживания и/или регулировки
Применяются требования ISO 23550:2018 (см. 6.2.8).
6.2.9 Дополнительные каналы и отверстия
Применяются требования ISO 23550:2018 (см. 6.2.9).
6.2.10 Устройство предварительной установки
Применяются требования ISO 23550:2018 (см. 6.2.10).
6.3 Материалы
Применяются требования ISO 23550:2018 (см. 6.3).
6.4 Соединения
Применяются требования ISO 23550:2018 (см. 6.4).
6.4.1 Общие положения
Применяются требования ISO 23550:2018 (см. 6.4.1).
6.4.2 Размеры соединений
Применяются требования ISO 23550:2018 (см. 6.4.2).
6.4.3 Типы соединений
Применяются требования ISO 23550:2018 (см. 6.4.3).
6.4.4 Резьба
Применяются требования ISO 23550:2018 (см. 6.4.4).
6.4.5 Муфтовые соединения
Применяются требования ISO 23550:2018 (см. 6.4.5).
6.4.6 Фланцы
Применяются требования ISO 23550:2018 (см. 6.4.6).
6.4.7 Компрессионные фитинги
Применяются требования ISO 23550:2018 (см. 6.4.7).
6.4.8 Раструбные соединения
Применяются требования ISO 23550:2018 (см. 6.4.8).
6.4.9 Ниппели для испытаний давлением
Применяются требования ISO 23550:2018 (см. 6.4.9).
6.4.10 Фильтры
Применяются требования ISO 23550:2018 (см. 6.4.10) со следующим дополнением:
Фильтры, установленные на устройствах управления с номинальным диаметром DN 25 и выше, должны быть доступны для очистки или замены без необходимости демонтажа резьбовых или сварных соединений корпуса устройства управления.
6.4.11 Газовые соединения при помощи ГБС (газовый быстроразъемный соединитель)
Применяются требования ISO 23550:2018 (см. 6.4.11). Дальнейшие требования к ГБС должны соответствовать
приложению D.
6.5 Газовые устройства управления с использованием электрических компонентов газовым способом
Требования ISO 23550:2018 (см. 6.5) не применяются.
Применяются требования ISO 23550:2018 (см. 7.1).
7.2.1 Общие положения
Применяются требования ISO 23550:2018 (см. 7.2.1).
7.2.2 Требования
Требования ISO 23550:2018 (см. 7.2.2) заменяются следующими положениями:
Утечка воздуха в местах присоединения устройства управления не должна превышать значений скорости утечки, указанных в
таблице 1.
Таблица 1
Максимальные скорости утечки
Номинальный диаметр газового соединения DN | Максимальная скорость утечки воздуха, см3/ч |
внутренняя герметичность | внешняя герметичность |
закрытое (обесточенное) положение | положение розжига | рабочее и закрытое (обесточенное) положение | положение розжига |
DN < 10 | 20 | 5000 | 20 | 170 |
10 <= DN <= 25 | 40 | 40 | 190 |
25 < DN <= 50 | 60 | 60 | 210 |
Детали затвора должны оставаться герметичными после демонтажа и повторной сборки.
7.2.3 Испытание
Применяются требования ISO 23550:2018 (см. 7.2.3.1). Преобразование потери давления в скорость утечки должно производиться в соответствии с
приложением C.
Информация об испытаниях на герметичность приведена также в
приложениях A и
B.
7.2.3.2 Испытание внешней герметичности
Применяются требования ISO 23550:2018 (см. 7.2.3.2) со следующим дополнением:
Повышают давление на входе и выходе(ах) устройства управления до значений испытательного давления, указанных в
7.2.3.1. Запорные элементы, которые можно демонтировать в соответствии с
6.2.8, перед испытанием должны быть разобраны и собраны пять раз в соответствии с руководством по эксплуатации, а скорость утечки для каждого из указанных ниже условий должна быть измерена:
a) Устройство управления должно работать таким образом, чтобы все затворы устройства находились в открытом положении. Во время испытания можно использовать любой из источников питания. Затем на входе и выходе(ах) устройства управления должно быть повышено давление до испытательного давления в соответствии с
7.2.3.1.
b) Испытание, указанное в
пункте a), должно проводиться при отключенном источнике питания таким образом, чтобы основной и запальный газовые тракты (для защищенных запальных горелок) устройства управления были закрыты.
Испытание a) повторяется с любым ротором, перемещенным во время зажигания и удерживаемым в положении зажигания.
7.2.3.3 Испытание внутренней герметичности устройств управления
Требования ISO 23550:2018 (см. 7.2.3.3) заменяются следующим:
Закрытое положение:
Проверяют в закрытом положении утечку обесточенного устройства управления в направлении потока газа при испытательном давлении, указанном в
7.2.3.1, и измеряют скорость утечки. Если в устройстве управления имеется более одного затвора, испытание должно быть повторено с каждым затвором по очереди в закрытом положении, при этом все остальные затворы должны быть полностью открыты.
Положение зажигания:
Для устройств управления, оснащенных выходным отверстием запальной горелки, это выходное отверстие должно быть заблокировано. Проверяют в положении зажигания утечку обесточенного устройства управления в направлении потока газа при испытательном давлении, указанном в
7.2.3.1, и измеряют скорость утечки.
7.3 Крутящий момент и изгибающий момент
Применяются требования ISO 23550:2018 (см. 7.3).
7.4 Номинальный расход
Применяются требования ISO 23550:2018 (см. 7.4).
7.5 Продолжительность
Применяются требования ISO 23550:2018 (см. 7.5). Устойчивость к смазочным материалам и газу должна соответствовать требованиям, указанным в
приложении E.
7.6 Функциональные требования
Если для приведения в действие устройства управления требуется крутящий момент, то крутящий момент не должен превышать значений, указанных в
таблице 2.
Таблица 2
Максимальный крутящий момент
Номинальный диаметр газового соединения DN | Максимальный крутящий момент, Н·м |
Классы A и B | Класс C |
6 | 0,2 | 0,6 |
8 | 0,2 | 0,6 |
10 | 0,2 | 0,6 |
12 | 0,2 | 0,6 |
15 | 0,4 | 0,6 |
20 | 0,4 | 0,6 |
25 | 0,4 | 0,6 |
32 | 0,4 | 1,0 |
40 | 0,4 | 1,0 |
50 | 0,4 | 1,0 |
Примечание - Региональные специальные требования приведены в
приложении H.
Если изготовитель поставляет ручку вместе с устройством управления, крутящий момент не должен превышать 0,017 Н·м на мм диаметра ручки.
Усилие или давление, необходимые для нажатия кнопки непосредственно рукой, не должны превышать 30 Н для номинального диаметра устройства управления до DN 10 включительно и 45 Н для номинального диаметра устройства управления более DN 10 или 0,5 Н/мм2, в зависимости от того, что меньше.
7.6.1.2 Испытание на крутящий момент и усилие
Крутящий момент измеряется для проверки соответствия
7.6.1.1.
Выполняются открывание и закрывание с постоянной угловой скоростью примерно 1,5 рад/с.
Рабочее усилие измеряется для проверки соответствия
7.6.1.1.
7.6.2 Блокировки
7.6.2.1 Требование
При наличии блокировки розжига она должна предотвращать воспламенение до тех пор, пока затвор основной горелки открыт.
При наличии блокировки повторного розжига она должна предотвращать повторное открытие затвора, управляющего основной горелкой или основной и запальной горелками до тех пор, пока пластина якоря не отделится от магнитного элемента.
7.6.2.2 Проверка на наличие блокировок
Соответствующее испытание должно быть проведено пять раз.
Используя блокировку розжига, необходимо убедиться, что зажигание может произойти только тогда, когда открыт газовый тракт запальной горелки и закрыт затвор основного газового тракта. После этого, при открытом затворе главного газового тракта, не должно быть возможности привести в действие устройство зажигания.
Чтобы проверить блокировку повторного розжига, включают устройство управления с помощью электрических средств и переводят устройство управления в нормальное рабочее положение при открытом затворе. Необходимо убедиться в условиях, что попытка перезапуска невозможна до тех пор, пока затвор находится в открытом положении.
7.6.3 Запорное усилие
В закрытом положении устройство управления должно иметь минимальное запорное усилие 1 кПа (10 мбар) в области отверстия затвора. Внутренняя герметичность устройства управления в соответствии с методом испытания, описанным в
7.6.3.2, не должна превышать 100 см
3/ч.
Примечание - Региональные специальные требования приведены в
приложениях G и
H.
7.6.3.2 Испытание на запорное усилие
Подсоединяют подачу воздуха через расходомер к выходу устройства управления таким образом, чтобы давление воздуха было противоположно направлению закрывания затвора.
Дважды включают и выключают устройство управления.
Повышают давление устройства управления со скоростью увеличения менее 100 Па/с (1 мбар/с) до давления 1 кПа (10 мбар) и измеряют скорость утечки после стабилизации испытательной системы.
7.6.4 Ток замыкания
7.6.4.1 Требование
Ток замыкания должен находиться в пределах значений, указанных изготовителем.
7.6.4.2 Испытание
Соответствие проверяется следующим испытанием.
Используют источник питания постоянного тока соответствующего напряжения, подключенный последовательно с амперметром. Устанавливают ток на уровне максимального рабочего тока, указанного изготовителем. Затем ток медленно уменьшают. Ток, при котором клапан отключается, должен находиться в пределах указанного изготовителем максимального и минимального тока отключения. Испытание повторяют три раза.
7.7 Износоустойчивость
7.7.1 Требования
После каждого из испытаний на износоустойчивость, описанных в
7.7.2, устройство управления должно соответствовать требованиям
7.2 и
7.6.
7.7.2 Испытание на износоустойчивость
7.7.2.1 Статическое испытание на износоустойчивость
Подвергают устройство управления в закрытом (обесточенном) положении испытаниям на термостойкость при следующих условиях:
- 48 ч при минимальной рабочей температуре в соответствии с
7.1;
- 48 ч при максимальной рабочей температуре в соответствии с
7.1.
Примечание - Региональные специальные требования приведены в
приложениях F,
G и
H.
После этих испытаний проверяют с помощью устройства управления при температуре окружающей среды соответствие требованиям
7.6.1, при этом крутящий момент или усилие определяются путем однократного измерения без какого-либо предварительного включения устройства управления.
7.7.2.2 Динамическая износоустойчивость
Устанавливают устройство управления в соответствии с руководством по эксплуатации.
Подают воздух на газовый вход устройства управления при максимальном давлении на входе, заявленном изготовителем, при номинальном расходе. Во время испытания на долговечность следует использовать усилие активации, превышающее рабочее усилие, указанное изготовителем, на величину от 30% до 50%. Усилие активации должно действовать аксиально в рабочем направлении для устройств управления с помощью кнопки со скоростью 100 мм/с. Поддерживают постоянную силу во время испытания на износоустойчивость (например, с помощью пружины).
Если вместо кнопки используется ручка, применяют вышеуказанные требования при выполнении не более 20 операций в минуту.
Подают на устройство управления во время испытания ток, который не менее чем в три раза превышает ток замыкания, указанный изготовителем. Организовывают каждый цикл так, чтобы ток не подавался до того, как якорь соприкоснется с магнитным элементом устройства управления.
Выполняют количество циклов в соответствии с
таблицей 3.
Проверяют работу устройства управления на протяжении всего испытания на износоустойчивость.
Пример - Одним из способов проверки работы устройства управления является контроль давления на выходе или расхода.
Таблица 3
Общее количество циклов | Количество циклов при |
максимальной температуре окружающей среды >= 60 °C | температуре окружающей среды (20 +/- 5) °C | минимальной температуре окружающей среды <= 0 °C |
40 000 | 10 000 | 25 000 | 5000 |
10 000 | 2000 | 7000 | 1000 |
6000 | 3000 | | 3000 |
5000 | 1000 | 3000 | 1000 |
Примечание - Количество циклов выбирается в зависимости от приложения. Например, минимум: - 5000 операций для устройств управления центрального отопления или приготовления пищи; - 10 000 операций для устройств управления нагревательных приборов и - 40 000 операций для устройств управления приготовления пищи в домашних условиях. <a> Если изготовитель заявляет о своем устройстве управления в пределах от 0 °C до 60 °C, то все циклы выполняются при температуре окружающей среды. |
Примечание - Региональные специальные требования приведены в
приложении H.
7.8 Вибрационное испытание
Требования ISO 23550:2018 (см. 7.8) не применяются.
8 Электрическое оборудование
Требования ISO 23550:2018 (см. раздел 8) не применяются.
9 Электромагнитная совместимость (ЭМС)
Требования ISO 23550:2018 (см. раздел 9) не применяются.
10 Маркировка, установочные и операционные инструкции
10.1 Маркировка
Требования ISO 23550:2018 (см. 10.1) заменяются:
На устройстве управления в хорошо видимом месте должна быть прочно нанесена следующая информация:
a) изготовитель и/или его идентификационный символ;
b) ссылка на тип (если применимо);
c) максимальное входное давление в Па или кПа (мбар или бар);
d) диапазон температур окружающей среды;
e) группа 1 (если применимо);
f) направление потока газа (с помощью литой или рельефной стрелки);
g) дата изготовления (не менее года) может быть указана в коде.
10.2 Установочные и операционные инструкции
Применяются требования ISO 23550:2018 (см. 10.2) со следующим дополнением:
Инструкции должны содержать всю соответствующую информацию по использованию, установке, эксплуатации и обслуживанию, в частности:
a) класс устройства управления в зависимости от количества операций (см.
4.1);
b) группа 1 или 2 (если применимо);
c) номинальный расход при заданной разности давлений;
d) диапазон температур окружающей среды (°C);
e) монтажное положение(я);
f) диапазон входного давления в Па или кПа (мбар или бар);
g) газовое соединение(я);
h) детали фильтра (если применимо);
i) семейства газов, для которых подходит устройство управления;
j) диапазон тока замыкания (мА);
k) указания для монтажника, которые следует учитывать, например, условия для давления на входе (избыточное давление на входе в случае выхода из строя компонентов на входе), грязь, продукты коррозии;
l) минимальное и максимальное электрическое сопротивление

.
10.3 Предупредительная надпись
Применяются требования ISO 23550:2018 (см. 10.3).
(справочное)
ИСПЫТАНИЕ НА ГЕРМЕТИЧНОСТЬ. ОБЪЕМНЫЙ МЕТОД
Применяются требования ISO 23550:2018 (приложение A).
(справочное)
ИСПЫТАНИЕ НА ГЕРМЕТИЧНОСТЬ. МЕТОД ПОТЕРИ ДАВЛЕНИЯ
Применяются требования ISO 23550:2018 (приложение B).
(обязательное)
ПРЕОБРАЗОВАНИЕ ПОТЕРИ ДАВЛЕНИЯ В РАСХОД ВОЗДУХА ПРИ УТЕЧКЕ
Применяются требования ISO 23550:2018 (приложение C).
(обязательное)
ГАЗОВОЕ БЫСТРОРАЗЪЕМНОЕ СОЕДИНЕНИЕ
Применяются требования ISO 23550:2018 (приложение D).
(обязательное)
ЭЛАСТОМЕРЫ - ТРЕБУЕМОЕ СОПРОТИВЛЕНИЕ
К СМАЗОЧНЫМ ВЕЩЕСТВАМ И ГАЗАМ
Применяются требования ISO 23550:2018 (приложение E).
(обязательное)
ОСОБЫЕ РЕГИОНАЛЬНЫЕ ТРЕБОВАНИЯ В ЕВРОПЕЙСКИХ СТРАНАХ
Применяются требования ISO 23550:2018 (приложение F).
(обязательное)
ОСОБЫЕ РЕГИОНАЛЬНЫЕ ТРЕБОВАНИЯ В КАНАДЕ И США
G.1 Общие требования
Применяются требования ISO 23550:2018 (приложение G) со следующим дополнением.
Для целей настоящего стандарта региональные требования, приведенные в
G.2, применяются в Канаде и США.
G.2 Дополнительные требования и изменения
Требования ISO 23550:2018 (см. 4.1 и 4.2) не применяются.
Требования ISO 23550:2018 (см. 7.6.3.1) не применяются.
(обязательное)
ОСОБЫЕ РЕГИОНАЛЬНЫЕ ТРЕБОВАНИЯ В ЯПОНИИ
H.1 Общие положения
Применяются требования ISO 23550:2018 (приложение H) со следующим дополнением.
Для целей настоящего стандарта региональные требования, приведенные в
H.2, применяются в Японии.
H.2 Дополнительные требования и изменения
Требования ISO 23550:2018 (см. 4.1 и 4.2) не применяются.
Таблица H.1
Номинальные размеры и рабочий крутящий момент
Номинальный диаметр DN | Крутящий момент, Н·м |
DN <= 12 | 0,6 |
12 < DN <= 20 | 1,2 |
20 < DN <= 25 | 1,8 |
Заменить "100 см3/ч" на "600 см3/ч".
Испытание проводится в течение 12 000 циклов при температуре окружающей среды (20 +/- 5) °C для всех применений.
(справочное)
ТИПЫ УСТРОЙСТВ КОНТРОЛЯ ПЛАМЕНИ
Приложение применяется для настоящего стандарта.
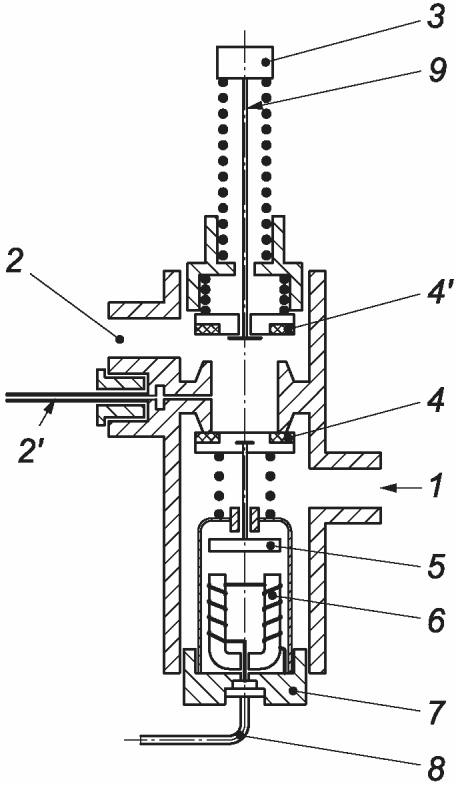
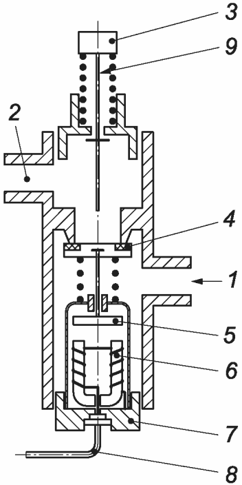
| |
a) Односторонний контроль пламени | b) Контроль пламени с контролем запальной горелки |
1 - вход газа; 2 - выход к горелке (или основной горелке);
2' - выход к запальной горелке; 3 - кнопка; 4 - клапан
устройства управления; 4' - клапан-прерыватель; 5 - пластина
якоря; 6 - магнитный элемент; 7 - резьбовое соединение
для магнитного элемента; 8 - к датчику пламени (термопара);
9 - ротор
Рисунок I.1 - Различные типы термоэлектрических устройств
контроля пламени в закрытом положении
(справочное)
СВЕДЕНИЯ О СООТВЕТСТВИИ ССЫЛОЧНЫХ МЕЖДУНАРОДНЫХ СТАНДАРТОВ
МЕЖГОСУДАРСТВЕННЫМ СТАНДАРТАМ
Таблица ДА.1
Обозначение ссылочного международного стандарта | Степень соответствия | Обозначение и наименование соответствующего межгосударственного стандарта |
ISO 23550:2018 | IDT | ГОСТ ISO 23550-2023 "Устройства защиты и управления газовых горелок и аппаратов. Общие требования" |
Примечание - В настоящей таблице использовано следующее условное обозначение степени соответствия стандарта: - IDT - идентичный стандарт. |
УДК 621.438:006.354 | | IDT |
Ключевые слова: предохранители, газовые горелки, газоиспользующее оборудование, клапаны, термоэлектрические устройства контроля пламени |