Главная // Актуальные документы // Актуальные документы (обновление 2025.04.26-2025.05.31) // ГОСТ (Государственный стандарт)
СПРАВКА
Источник публикации
М.: ФГБУ "Институт стандартизации", 2025
Примечание к документу
Документ введен в действие с 01.04.2025.
Название документа
"ГОСТ ISO 23551-5-2023. Межгосударственный стандарт. Устройства защиты и управления газовых горелок и аппаратов. Частные требования. Часть 5. Газовые клапаны с ручным управлением"
(введен в действие Приказом Росстандарта от 28.12.2024 N 2066-ст)

"ГОСТ ISO 23551-5-2023. Межгосударственный стандарт. Устройства защиты и управления газовых горелок и аппаратов. Частные требования. Часть 5. Газовые клапаны с ручным управлением"
(введен в действие Приказом Росстандарта от 28.12.2024 N 2066-ст)


Содержание


Введен в действие
Приказом Федерального
агентства по техническому
регулированию и метрологии
от 28 декабря 2024 г. N 2066-ст
МЕЖГОСУДАРСТВЕННЫЙ СТАНДАРТ
УСТРОЙСТВА ЗАЩИТЫ И УПРАВЛЕНИЯ ГАЗОВЫХ ГОРЕЛОК И АППАРАТОВ.
ЧАСТНЫЕ ТРЕБОВАНИЯ
ЧАСТЬ 5
ГАЗОВЫЕ КЛАПАНЫ С РУЧНЫМ УПРАВЛЕНИЕМ
Safety and control devices for gas burners
and gas-burning appliances. Particular requirements.
Part 5. Manual gas valves
(ISO 23551-5:2014, IDT)
ГОСТ ISO 23551-5-2023
МКС 27.060.20
Дата введения
1 апреля 2025 года
Предисловие
Цели, основные принципы и общие правила проведения работ по межгосударственной стандартизации установлены ГОСТ 1.0 "Межгосударственная система стандартизации. Основные положения" и ГОСТ 1.2 "Межгосударственная система стандартизации. Стандарты межгосударственные, правила и рекомендации по межгосударственной стандартизации. Правила разработки, принятия, обновления и отмены"
Сведения о стандарте
1 ПОДГОТОВЛЕН Республиканским государственным предприятием на праве хозяйственного ведения "Казахстанский институт стандартизации и метрологии" Комитета технического регулирования и метрологии Министерства торговли и интеграции Республики Казахстан на основе собственного перевода на русский язык англоязычной версии стандарта, указанного в разделе 5
2 ВНЕСЕН Комитетом технического регулирования и метрологии Министерства торговли и интеграции Республики Казахстан
3 ПРИНЯТ Межгосударственным советом по стандартизации, метрологии и сертификации по результатам голосования в АИС МГС (протокол от 25 сентября 2023 г. N 165-П)
За принятие проголосовали:
Краткое наименование страны по МК (ИСО 3166) 004-97
Код страны по МК (ИСО 3166) 004-97
Сокращенное наименование национального органа по стандартизации
Армения
AM
ЗАО "Национальный орган по стандартизации и метрологии" Республики Армения
Беларусь
BY
Госстандарт Республики Беларусь
Казахстан
KZ
Госстандарт Республики Казахстан
Киргизия
KG
Кыргызстандарт
Россия
RU
Росстандарт
Узбекистан
UZ
Узбекское агентство по техническому регулированию
4 Приказом Федерального агентства по техническому регулированию и метрологии от 28 декабря 2024 г. N 2066-ст межгосударственный стандарт ГОСТ ISO 23551-5-2023 введен в действие в качестве национального стандарта Российской Федерации с 1 апреля 2025 г.
5 Настоящий стандарт идентичен международному стандарту ISO 23551-5:2014 "Устройства защиты и управления газовых горелок и аппаратов. Частные требования. Часть 5. Газовые клапаны с ручным управлением" ("Safety and control devices for gas burners and gas-burning appliances - Particular requirements - Part 5: Manual gas valves", IDT).
Международный стандарт разработан Техническим комитетом по стандартизации ISO/TC 161 "Устройства защиты и управления для газа и/или нефти".
При применении настоящего стандарта рекомендуется использовать вместо ссылочных международных стандартов соответствующие им межгосударственные стандарты, сведения о которых приведены в дополнительном приложении ДА
6 ВВЕДЕН ВПЕРВЫЕ
Информация о введении в действие (прекращении действия) настоящего стандарта и изменений к нему на территории указанных выше государств публикуется в указателях национальных стандартов, издаваемых в этих государствах, а также в сети Интернет на сайтах соответствующих национальных органов по стандартизации.
В случае пересмотра, изменения или отмены настоящего стандарта соответствующая информация будет опубликована на официальном интернет-сайте Межгосударственного совета по стандартизации, метрологии и сертификации в каталоге "Межгосударственные стандарты"
Введение
Серия стандартов ISO 23551 состоит из следующих частей под общим названием "Устройства защиты и управления газовых горелок и аппаратов. Частные требования":
- Часть 1: Автоматические и полуавтоматические клапаны;
- Часть 2: Регуляторы давления;
- Часть 3: Регуляторы соотношения газа и воздуха пневматического типа;
- Часть 4: Системы контроля герметичности автоматических запорных клапанов;
- Часть 5: Газовые клапаны с ручным управлением;
- Часть 6: Термоэлектрические устройства контроля пламени;
- Часть 8: Многофункциональные устройства управления;
- Часть 9: Механические газовые терморегуляторы;
- Часть 10: Выпускные клапаны.
1 Область применения
Настоящий стандарт устанавливает требования, предъявляемые к безопасности, конструкции и эксплуатационным характеристикам газовых клапанов с ручным управлением, предназначенных для применения с газовыми горелками и аппаратами (далее - клапаны).
Настоящий стандарт распространяется на следующие типы газовых клапанов с ручным управлением:
- запорный газовый клапан с ручным управлением;
- клапан газовой горелки;
- соединительный клапан аппарата;
- клапан "delta C".
Настоящий стандарт распространяется на клапаны для газовых горелок и аппаратов с номинальным присоединительным размером до DN 100 включительно, которые могут использоваться и испытываться независимо от этих аппаратов с использованием газообразного топлива, такого как природный газ, промышленный газ или сжиженный нефтяной газ при давлении на входе до 500 кПа включительно.
Настоящий стандарт не распространяется на коррозионно-активные и отходящие газы.
Настоящий стандарт распространяется только на испытания типа.
2 Нормативные ссылки
В настоящем стандарте использована нормативная ссылка на следующий стандарт [для датированной ссылки применяют только указанное издание ссылочного стандарта, для недатированной - последнее издание (включая все его изменения)]:
ISO 23550, Safety and control devices for gas burners and gas-burning appliances - General requirements (Устройства защиты и управления газовых горелок и аппаратов. Общие требования).
3 Термины и определения
В настоящем стандарте применены термины по ISO 23550, а также следующие термины с соответствующими определениями:
3.101 запорный газовый клапан с ручным управлением (manual gas shut-off valve): Клапан с ручным управлением для регулирования расхода газа из положения "выключено" в положение "включено" и наоборот.
Примечание - Детали, обычно используемые в запорных газовых клапанах с ручным управлением, показаны в качестве примеров на рисунках AA.1 - AA.5.
3.102 клапан "delta C" ("delta C" valve): Газовый клапан с ручным управлением, подходящий для использования на оборудовании общественного питания (коммерческое оборудование для приготовления пищи).
Примечание - Данные клапаны обозначены маркировкой "delta C".
3.103 клапан газовой горелки (gas burner valve): Газовый клапан с ручным управлением, требующий инициирования пользователем каждого цикла использования.
Примечания
1 Данный тип газовых клапанов с ручным управлением предназначен для использования в Канаде и США между трубопроводом подачи газа и газовой горелкой.
2 Клапан включается, когда начинается рабочий цикл горелки, и выключается, когда рабочий цикл горелки завершен.
3.104 соединительный клапан аппарата (appliance connector valve): Газовый клапан с ручным управлением, имеющий неподвижный элемент клапана, минимально заданную пропускную способность и внутреннюю коническую трубную резьбу на входе и выходе для развальцованного трубного соединения.
Примечания
1 Данный тип газового клапана с ручным управлением предназначен для использования в Канаде и США между трубопроводом подачи газа и соединителем аппарата.
2 Минимальная производительность приведена в таблице 2, касательно входных и выходных патрубков см. 6.102.
3.105 характеристика расхода (flow rate curve): Кривая, указывающая расход воздуха в зависимости от угла открытия.
3.106 уплотнительный вкладыш (bearing seal): Кратчайшее расстояние между газопроводящими частями и атмосферой, измеряемое по длине поверхности уплотнения.
3.107 золотник (plug): Конический элемент газового клапана с ручным управлением, запирающий одно или несколько отверстий для подачи газа.
3.108 неподвижный элемент клапана (non-displaceable valve member): Элемент клапана, который не может быть перемещен из своего места силой, приложенной к рукоятке, или силой, прилагаемой плоской поверхностью к какой-либо внешней части клапана.
3.109 предохранитель (safety lock): Приспособление в газовом клапане с ручным управлением, требующее отдельного действия пользователя, прежде чем он сможет открыть клапан.
Пример - Нажатие на рукоятку клапана для "разблокировки" до того, как рукоятка клапана может быть повернута для включения газа.
Примечание - Предохранитель также известен как "запирающее устройство".
4 Классификация
4.1 Классы устройств управления
Применяются требования ISO 23550 (см. 4.1) со следующим дополнением: газовые клапаны с ручным управлением классифицируются по количеству операций:
- 1 000 операций (например соединительные клапаны аппарата);
- 5 000 операций (например центральное отопление);
- 10 000 операций (например нагревательные приборы);
- 12 000 операций;
- 40 000 операций (например приготовление пищи в домашних условиях).
Примечание - Количество операций в течение ожидаемого срока службы аппарата.
4.2 Группы устройств управления
Применяются требования ISO 23550 (см. 4.2).
5 Условия испытаний
Применяются требования ISO 23550 (см. раздел 5).
6 Конструкция
6.1 Общие положения
Применяются требования ISO 23550 (см. 6.1).
6.2 Требования к конструкции
6.2.1 Внешний вид
Применяются требования ISO 23550 (см. 6.2.1).
6.2.2 Отверстия
Применяются требования ISO 23550 (см. 6.2.2).
6.2.3 Вентиляционные отверстия
Требования ISO 23550 (см. 6.2.3) не применяются.
6.2.4 Резьбовые крепления
Применяются требования ISO 23550 (см. 6.2.4).
6.2.5 Соединения
Применяются требования ISO 23550 (см. 6.2.5).
6.2.6 Подвижные детали
Применяются требования ISO 23550 (см. 6.2.6).
6.2.7 Уплотнительные колпачки
Применяются требования ISO 23550 (см. 6.2.7).
6.2.8 Демонтаж и монтаж для обслуживания и/или регулировки
Применяются требования ISO 23550 (см. 6.2.8).
6.2.9 Дополнительные каналы
Применяются требования ISO 23550 (см. 6.2.9).
6.2.101 Рабочие части газовых клапанов с ручным управлением
Газовые клапаны с ручным управлением, приводимые в действие вращением, должны открываться поворотом устройства управления против часовой стрелки и закрываться поворотом по часовой стрелке, за исключением клапанов, которые обеспечивают газом более одной горелки. Альтернативная конструкция допустима при условии, что направление вращения четко обозначено или указано в руководстве по эксплуатации. Данные требования не распространяются на газовые клапаны с ручным управлением с поворотом на 90°, если конструкцией предусмотрено, что рукоятка рычага или тройника расположена под углом 90° к линии потока в выключенном положении и параллельна линии потока во включенном положении.
Съемная ручка, которая снимается без разборки клапана, должна крепиться с помощью средств, защищенных от несанкционированного доступа. Допускается отсутствие защиты, если снятие ручки не влияет на герметичность клапана или удержание элемента клапана.
Запорные газовые клапаны с ручным управлением должны приводиться в действие без использования инструментов.
На затвор не должно оказываться прямое осевое давление (кроме давления пружины), когда рабочий шпиндель нажимается для снятия предохранительного замка.
6.2.102 Центрирующее усилие
Газовые клапаны с ручным управлением должны быть снабжены средствами, помимо силы тяжести, позволяющими поддерживать непрерывное центрирующее усилие для компенсации производственных допусков, эксплуатационных отклонений или смещения смазки(ок).
При нормальных условиях эксплуатации не допускается приложение к затвору усилий, поднимающих затвор из гнезда или устанавливающих в положение, при котором скорость утечки превышает значения, указанные в 7.2.
6.2.103 Полость конического золотника
Для газовых клапанов с ручным управлением с коническим золотником угол прилегания затвора должен быть не менее 9°25'. Конический золотник большого диаметра должен быть углублен в корпус, а золотник должен выступать за конус корпуса на малом конце. Должен быть обеспечен достаточный зазор для выступа.
Примечание - Специальные региональные требования приведены в приложении F.
6.3 Материалы
6.3.1 Общие требования к материалам
Применяются требования ISO 23550 (см. 6.3.1).
6.3.2 Корпус
6.3.2.1 Конструкция корпуса
Применяются требования ISO 23550 (см. 6.3.2.1) со следующим дополнением: b) не применяется. Уплотнительные кольца, прокладки и другие уплотнения не применяются.
6.3.2.2 Проверка корпуса на герметичность после удаления неметаллических деталей
Применяются требования ISO 23550 (см. 6.3.2.3).
6.3.2.101 Газовые клапаны с ручным управлением с уплотнением вала
Из требований 6.3.2.1 исключается уплотнение вала для газовых клапанов с ручным управлением, если конструкция, окружающая уплотнение вала, позволяет при снятом уплотнении и клапане, находящемся в любом положении, допускать утечку через вал не более 45,6 дм3/ч при проведении испытания с давлением 1,74 кПа при температуре помещения.
6.3.3 Пружины
Применяются требования ISO 23550 (см. 6.3.3).
6.3.4 Сопротивление коррозии и защита поверхности
Применяются требования ISO 23550 (см. 6.3.4).
6.3.5 Пропитка
Применяются требования ISO 23550 (см. 6.3.5).
6.3.6 Сальниковые уплотнения подвижных деталей
Применяются требования ISO 23550 (см. 6.3.6).
6.3.101 Затвор клапана
Газонепроницаемые детали должны иметь металлическую опору, выдерживающую усилие уплотнения, либо быть изготовлены из металла. Это требование также распространяется на детали, передающие усилие смыкания.
Для направляющих элементов (см. рисунки AA.1 - AA.5) допустимы неметаллические материалы.
6.4 Газовые соединения
Применяются требования ISO 23550 (см. 6.4).
6.101 Составные части
6.101.1 Общие положения
Выключенное положение должно иметь нерегулируемый стопор.
6.101.2 Углы поворота
6.101.2.1 Общие положения
Положение с уменьшенным потоком, если таковое имеется, должно располагаться после полностью открытого положения либо между открытым и закрытым положением.
Угол поворота ручного газового игольчатого клапана между закрытым и полностью открытым положением должен составлять от 180° до 360° при использовании в качестве запорного клапана, если иное не указано в руководстве по эксплуатации.
6.101.2.2 Открытие при максимальном расходе
Должны выполняться следующие требования, если положение пониженного расхода устанавливается после полностью открытого положения:
- для перехода из закрытого положения в полностью открытое положение угол поворота должен составлять (90 +/- 5)°, если иное не указано в руководстве по эксплуатации;
- угол поворота между полностью открытым положением и положением с пониженным расходом должен превышать 70°, если иное не указано в руководстве по эксплуатации; данное требование не применимо к клапанам с несколькими выходами;
- перемещение затвора газового клапана с ручным управлением должно быть ограничено фиксированным упором в положении пониженного расхода.
6.101.2.3 Открытие при минимальном расходе
Если положение пониженного расхода находится между закрытым и полностью открытым положением, должны выполняться следующие требования:
- для перехода из закрытого положения в полностью открытое положение угол поворота должен быть более 90°, если иное не указано в руководстве по эксплуатации;
- для перехода из положения с пониженным расходом в полностью открытое положение угол поворота должен быть более 70°, если иное не указано в руководстве по эксплуатации; данное требование не применимо к клапанам с несколькими выпусками;
- положение с уменьшенным расходом должно быть обеспечено с помощью детали, которая размещает затвор клапана в этом положении, когда движение происходит в направлении закрытия;
- перемещение затвора газового клапана с ручным управлением должно быть ограничено в полностью открытом положении стопором.
6.101.2.4 Газовые клапаны с ручным управлением с одним выходом
Если газовый клапан с ручным управлением с одним выпуском не имеет положения пониженного расхода, угол поворота для перехода из закрытого положения в полностью открытое положение должен составлять (90 +/- 5)°, если иное не указано в руководстве по эксплуатации.
6.101.3 Смазка
Газовый клапан с ручным управлением должен быть сконструирован таким образом, чтобы смазка, если она используется, не приводила к закупорке какого-либо газового пути.
6.101.4 Стопоры
Переход в крайние положения газового клапана с ручным управлением и обратно должен быть ограничен стопорами.
При эксплуатации ручного газового игольчатого клапана не должно быть возможности полностью извлечь иглу из корпуса путем отвинчивания. При закрытии положительный упор получается за счет контакта иглы с ее местом.
6.101.5 Предохранительный замок
Газовые клапаны с ручным управлением с одним выходом могут быть снабжены предохранительным замком, предотвращающим случайное открытие, поскольку для управления клапаном требуются два отдельных действия. Предохранительный замок должен позволять легкое управление одной рукой.
Газовые клапаны с ручным управлением с двумя выходами для двух отдельных горелок должны быть сконструированы таким образом, чтобы для переключения с одного выхода на другой необходимо было пройти через закрытое положение. Пользователь может переключиться с одного отверстия на другое только преднамеренным действием. В частности, не должно быть возможности переключения с одного отверстия на другое, удерживая ручку постоянно нажатой или просто поворачивая ее.
6.101.6 Уплотнительный вкладыш
Уплотнительный вкладыш для газовых клапанов с ручным управлением, за исключением игольчатых клапанов, должен быть не менее 3 мм (см. рисунок AA.1, раздел 9), если иное не указано изготовителем на основе расчета допусков.
6.101.7 Устройства предварительной настройки
При наличии, устройства предварительной настройки должны быть легкодоступны и не должны попадать в газовый канал газового клапана с ручным управлением.
Управление устройствами предварительной настройки должно осуществляться только с помощью инструмента.
Устройства предварительной настройки должны быть закреплены в их заданных положениях.
6.101.8 Компенсационные средства для газовых клапанов с ручным управлением
Газовые клапаны с ручным управлением должны быть сконструированы с компенсационными средствами для автоматического устранения любого износа между затвором и корпусом клапана.
6.101.9 Пружинный эффект в газовых клапанах с ручным управлением
Конический золотник должен удерживаться на месте в корпусе с помощью пружины. Конструкция должна предусматривать, чтобы любой зазор между золотником и корпусом клапана, вызванный износом в течение нормального срока службы, устранялся автоматически.
6.101.10 Газовые клапаны с ручным управлением с двумя или более положениями "включено"
Газовый клапан с ручным управлением, имеющий промежуточное положение "выключено" между двумя или более положениями "включено", должен быть сконструирован таким образом, чтобы он защелкивался в положении "выключено".
6.102 Соединительные клапаны аппарата
6.102.1 Соединительные клапаны аппарата должны иметь входные и выходные патрубки в соответствии с таблицей 1.
Таблица 1
Входные и выходные патрубки
соединительных клапанов аппарата
Размеры в миллиметрах
Входной патрубок (внутренний размер металлической трубы)
Выходной патрубок (фитинг для развальцованного трубного соединения)
9,5
9,5
12,7
12,7
19,1
19,1
6.102.2 Соединительный клапан аппарата должен иметь неподвижный элемент клапана (см. рисунок 1). Если малый конец золотника открыт, он должен быть углублен в корпусе минимум на 1,6 мм.
1 - развальцованное трубное соединение;
2 - конструкция пружины и рукоятки такова, что золотник
не может быть смещен; 3 - коническая трубная резьба;
4 - если узкий конец золотника оголен, золотник должен быть
утоплен не менее чем на 1,6 мм; 5 - газоход
Рисунок 1 - Соединительный клапан аппарата
с неподвижным элементом клапана
7 Рабочая характеристика
7.1 Общие положения
Применяются требования ISO 23550 (см. 7.1).
7.2 Герметичность
7.2.1 Общие положения
Применяются требования ISO 23550 (см. 7.2.1).
Примечание - Конкретные региональные требования приведены в приложении F.
7.2.2 Требования
Применяются требования ISO 23550 (см. 7.2.2).
Примечание - Конкретные региональные требования приведены в приложении F.
7.3 Крутящий момент и изгибающий момент
Применяются требования ISO 23550 (см. 7.3).
7.4 Номинальный расход
7.4.1 Критерий
Применяются требования ISO 23550 (см. 7.4.1) со следующими дополнениями.
Расход должен измеряться в полностью открытом положении и, если применимо, в положении с уменьшенным расходом.
Соединительные клапаны аппарата должны иметь пропускную способность в соответствии с указанной в таблице 2.
Таблица 2
Минимальная пропускная способность
соединительных клапанов аппаратов
Размер выходного соединения, мм
Минимальная пропускная способность в ваттах при удельном весе газа 37,3 МДж/м3 при перепаде давления 75 Па
9,5
14 654
12,7
29 307
15,9
38 099
7.4.2 Испытание на номинальный расход
Применяются требования ISO 23550 (см. 7.4.3).
7.5 Продолжительность
7.5.1 Эластомеры в контакте с газом
Применяются требования ISO 23550 (см. 7.5.1).
7.5.2 Устойчивость к смазочным материалам
Применяются требования ISO 23550 (см. 7.5.2).
7.5.3 Устойчивость к газу
Применяются требования ISO 23550 (см. 7.5.2).
7.5.4 Стойкость маркировки
Применяются требования ISO 23550 (см. 7.5.3) со следующими дополнениями.
Применяемые для маркировки металлические материалы должны быть коррозионно-стойкими. Вся маркировка должна быть пригодна для нанесения на соответствующие поверхности.
7.5.5 Устойчивость к царапинам
Применяются требования ISO 23550 (см. 7.5.4).
7.5.6 Устойчивость к влажности
Применяются требования ISO 23550 (см. 7.5.5).
7.6 Функциональные требования: крутящий момент и усилие
Заменить требования ISO 23550 (см. 7.6) следующим:
7.6.101 Требования к крутящему моменту
7.6.101.1 Крутящий момент при температуре окружающей среды
Крутящий момент не должен превышать значений, указанных в таблицах 3 и 4, при испытании в соответствии с 7.6.102.
Таблица 3
Максимальный крутящий момент
Подход
Номинальный диаметр входного отверстия DN
Крутящий момент, Н·м
2000
3000
4000
5000 <a>
6000
8000
10000 <b>
12000
40000 <c>
I
DN <= 12
-
-
-
0,6
-
-
0,4
-
0,2
12 < DN <= 25
-
-
-
0,6
-
-
0,6
-
0,4
25 < DN <= 50
-
-
-
1,0
-
-
0,6
-
0,4
6
-
-
-
-
-
-
1,12
-
-
8
-
-
-
-
-
1,69
-
-
-
II
10
-
-
-
-
2,26
-
-
-
-
15
-
-
2,82
-
-
-
-
-
-
20
-
3,95
-
-
-
-
-
-
-
25
5,08
-
-
-
-
-
-
-
-
III
DN <= 12
-
-
-
-
-
-
-
0,6
-
12 < DN <= 25
-
-
-
-
-
-
-
1,2
-
25 < DN <= 50
-
-
-
-
-
-
-
1,8
-
В настоящем стандарте признается, что в различных регионах мира существуют различные допустимые максимальные крутящие моменты. Для этой цели страна или регион, рассматривающие возможность принятия настоящего стандарта, должны выбрать соответствующие значения крутящего момента (т.е. подход I (Европа), II (США и Канада) или III (Япония)).
<a> Например, центральное отопление или водяное отопление.
<b> Например, обогреватели помещений.
<c> Например, домашняя кухня.
Таблица 4
Максимальный крутящий момент
для соединительных клапанов аппарата
Номинальный диаметр DN
Крутящий момент, Н·м
1 000 операций
6
1,12
8
1,69
10 <a>
2,26 <a>
15 <a>
2,82 <a>
20 <a>
3,95 <a>
25
5,08
32
6,78
40
9,04
50
11,3
65
14,1
80
28,3
100
33,9
<a> Соответствует размеру выпускной трубки соединительных клапанов аппарата.
Крутящий момент ручки газового клапана с ручным управлением не должен превышать 0,017 Н·м на 1 мм диаметра ручки, если иное не указано изготовителем.
Примечание - Если используется дополнительное устройство, например, пьезовоспламенитель, то крутящий момент для приведения в действие этого дополнительного устройства исключается.
7.6.101.2 Крутящий момент при низкой температуре
Газовый клапан с ручным управлением должен соответствовать следующему методу испытания при минимальной температуре окружающей среды, указанной изготовителем.
Соответствие требованиям проверяется следующим испытанием.
Данному испытанию должны быть подвергнуты два новых газовых клапана с ручным управлением. Испытание должно проводиться после или одновременно с внутренней и внешней утечкой в соответствии с 7.2, в зависимости от обстоятельств.
Газовые клапаны с ручным управлением в открытом положении должны быть размещены в камере, в которой поддерживается минимальная температура окружающей среды, указанная изготовителем. После того как каждый газовый клапан с ручным управлением достигнет указанной минимальной температуры окружающей среды, температура должна поддерживаться не менее 1 ч.
Каждый газовый клапан с ручным управлением должен быть переведен из полностью открытого положения в закрытое положение 10 раз. Во время каждого цикла закрытия должен измеряться крутящий момент, необходимый для закрытия газового клапана с ручным управлением, и он не должен превышать значения, указанного в таблице 5.
Таблица 5
Пределы крутящего момента при испытании
при низких температурах
Номинальный диаметр, DN
Номинальный размер входного трубопровода, мм
Максимальный крутящий момент, Н·м
6
От 4,76 до 7,94
4,29
8
-
8,47
10
От 9,53 до 11,1
11,3
15
От 12,7 до 14,3
14,1
20
15,9
16,9
25
-
19,8
32
-
22,6
40
-
33,9
50
-
45,2
65
-
56,5
80
-
113
100
-
135,6
7.6.102 Испытание на крутящий момент
Крутящий момент измеряется с помощью подходящего измерителя крутящего момента с точностью в пределах +/- 10% от максимального значения крутящего момента, указанного в таблицах 3 и 4, в зависимости от обстоятельств, для соответствующего размера газового клапана с ручным управлением для проверки соответствия 7.6.101.1. Открывание и закрывание осуществляются с постоянной угловой скоростью примерно 1,5 рад/с.
7.6.103 Требования к рабочему усилию
Для газовых клапанов с ручным управлением, приводимых в действие кнопкой, усилие, необходимое для ручного нажатия кнопки, не должно превышать значений, приведенных в таблице 6, или значения (0,5 Н/мм2 x площадь поверхности кнопки), в зависимости от того, что меньше, при измерении с помощью динамометра.
Таблица 6
Максимальное рабочее усилие
Номинальный диаметр входного отверстия, DN
Рабочее усилие, N
5 000 операций <a>
10 000 операций <b>
40 000 операций <c>
DN < 10
45
45
30
DN >= 10
60
60
45
<a> Например, центральное отопление или водяное отопление.
<b> Например, обогреватели помещений.
<c> Например, домашняя кухня.
7.6.104 Требования к крутящему моменту для предохранительного замка
7.6.104.1 Если газовый клапан с ручным управлением предназначен для блокировки в выключенном положении, он не должен разблокироваться при приложении крутящего момента 1 Н·м при испытании в соответствии с 7.6.104.2. Крутящий момент не должен оказывать постоянного влияния на работу газового клапана с ручным управлением.
7.6.104.2 Испытание на крутящий момент для предохранительного замка
В выключенном положении предохранитель 10 раз подвергается воздействию приложенного крутящего момента 1 Н·м в течение 10 с для проверки соответствия 7.6.104.1.
7.6.105 Соответствие требованиям закрепляющих средств
Данное положение не распространяется на газовые клапаны с ручным управлением, имеющие неподвижные элементы клапана.
Закрепляющие средства для других газовых клапанов с ручным управлением должны соответствовать следующему испытанию.
Испытание на герметичность должно проводиться с газовым клапаном с ручным управлением в закрытом положении, в соответствии с 7.2.2. Данное испытание может проводиться совместно с 7.2.2.
Перед подачей испытательного давления подвижный элемент должен быть смещен любым удобным средством, которое не повредит газовый клапан с ручным управлением. Затем подвижный элемент должен быть повторно установлен, и в случае проведения испытания без вращения, утечка должна соответствовать 7.2.
7.7 Износоустойчивость
7.7.101 Требования
Газовый клапан с ручным управлением должен выдерживать количество операций, соответствующих применению, приведенному в таблицах 3 и 4, в зависимости от обстоятельств. Это не относится к устройствам предварительной настройки.
После испытания на долговечность не должно быть никаких видимых повреждений или видимых изменений в отмеченных положениях. Утечка должна соответствовать 7.2. Крутящий момент или усилие, необходимые для работы, не должны превышать значений, указанных в 7.6.101 или 7.6.103.
7.7.102 Испытание на износоустойчивость
7.7.102.1 Общие положения
Все испытательные образцы должны соответствовать применимым требованиям 7.6.101.1 перед испытанием на долговечность.
7.7.102.2 Статическое испытание на износоустойчивость
Два газовых клапана с ручным управлением (один в открытом положении, другой в закрытом положении) последовательно подвергают испытаниям на термостойкость при следующих условиях:
- 48 ч при минимальной рабочей температуре согласно 7.1;
- 48 ч при максимальной рабочей температуре согласно 7.1.
После этого испытания без какого-либо предварительного срабатывания газового клапана с ручным управлением крутящий момент проверяется при температуре окружающей среды.
7.7.102.3 Динамическая износоустойчивость
Газовые клапаны с ручным управлением должны быть испытаны в зависимости от количества операций следующим образом:
- 50% операций должны выполняться при максимальной рабочей температуре в соответствии с 7.1;
- 50% операций должны выполняться при температуре (20 +/- 5) °C.
Примечание - Региональные специальные требования приведены в приложении G.
Цикл должен состоять из одного открытия и закрытия через крайние точки перемещения подвижного элемента. Для газового клапана с ручным управлением, который имеет промежуточное положение "закрыто" между двумя положениями "открыто", цикл должен состоять из перемещения из одного положения "открыто" в другое положение "открыто".
Каждый газовый клапан с ручным управлением должен быть надежно присоединен к подходящему фитингу и приводиться в действие для обеспечения частоты циклов, не превышающей указанную изготовителем.
После этого испытания без предварительного срабатывания газового клапана с ручным управлением проверяют рабочий момент при температуре окружающей среды.
Примечание - Для ускорения испытания на долговечность способ работы и рабочая частота (количество операций в минуту) могут быть заявлены изготовителем. Крутящий момент/сила, прикладываемые во время испытания на долговечность, не должны превышать 130% значения, указанного в 7.6.101 или 7.6.103.
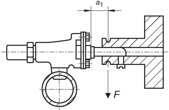
7.7.103 Клапаны газовой горелки
Клапан газовой горелки, заявленный как имеющий неподвижный элемент клапана, должен соответствовать 7.2 при испытании при давлении 5,23 кПа с усилием 53,4 Н, приложенным радиально к стержню, на расстоянии 12,7 мм от края опорной поверхности, ближайшей к переднему концу стержня клапана газовой горелки, в то время как клапан находится в действии при его нормальном максимальном вращении.
Соответствие требованиям проверяется следующим методом испытаний.
Клапан газовой горелки должен поддерживаться обычными средствами подачи газа, при этом ось его рабочего штока должна быть горизонтальной. Средство подачи газа должно быть подключено к пневматической системе, способной подавать чистый сухой воздух при испытательном давлении 5,25 кПа через устройства, способные точно указывать допустимый расход и давление воздуха. Должны быть приняты меры для блокирования выходного отверстия клапана газовой горелки во всех его рабочих положениях и оставления его открытым, когда клапан газовой горелки закрыт.
Легкая рукоятка с удлинительной втулкой с канавками должна быть надежно закреплена на стержне так, чтобы плоскость канавки была перпендикулярна оси стержня и располагалась на расстоянии 12,7 мм от края опорной поверхности, ближайшего к переднему концу стержня клапана газовой горелки (см. рисунок 2). Петля из проволоки диаметром примерно 0,5 мм должна быть помещена в паз рукоятки. Усилие 53,4 Н должно быть приложено к проводу без удара в направлении вниз, когда клапан газовой горелки находится в закрытом положении.
Рисунок 2 - Испытание на работоспособность клапанов
газовой горелки, имеющих неподвижные элементы клапана
Затем клапан газовой горелки должен медленно включаться в течение полного цикла работы. Во время манипулирования рукояткой клапана газовой горелки не должно прилагаться осевое усилие, за исключением того, которое требуется для снятия защелки в случае необходимости. Во время этого испытания клапан газовой горелки должен соответствовать 7.2.2 при испытании при давлении 5,25 кПа и комнатной температуре.
Затем вышеуказанное испытание повторяют с усилием, приложенным при 1,57 рад, 3,14 рад и 4,71 рад относительно оси стержня.
Примечание - Специальные региональные требования приведены в приложении G.
7.7.104 Газовые клапаны с ручным управлением оборудования для общественного питания "delta C"
Газовый клапан с ручным управлением, пригодный для использования на оборудовании для предприятий общественного питания "delta C" в момент получения и по окончании этого испытания, должен соответствовать требованиям 7.2 и должен полностью открываться и закрываться при приложении крутящего момента, не превышающего указанный в таблице 7.
Таблица 7
Пределы крутящего момента для клапанов "delta C"
для оборудования общественного питания
Номинальный диаметр DN
Номинальный размер входного трубопровода, мм
Максимальный крутящий момент, Н·м
6
От 4,76 до 7,94
1,12
8
-
1,69
10
От 9,53 до 11,1
2,26
15
От 12,7 до 14,3
2,82
20
15,9
3,95
25
-
5,08
Соответствие проверяют следующим испытанием.
Испытанию подвергают пять новых пробоотборных клапанов, все они должны соответствовать требованиям.
Перед проведением испытания каждый клапан "delta C" должен быть испытан в соответствии с 7.2. Крутящий момент, необходимый для открытия и закрытия каждого клапана "delta C", должен быть измерен и не должен превышать указанный в таблице 7.
Клапан "delta C" должен быть надежно подсоединен к коллектору и помещен в испытательную камеру, способную поддерживать указанную изготовителем максимальную температуру окружающей среды. Газообразный бутан при давлении 2,74 кПа (11,0 дюйма водяного столба) должен пропускаться через клапаны "delta C" со скоростью от 0,393 до 0,786 см3/с (0,05 фут3/ч и 0,10 фут3/ч).
Клапан "delta C" должен поддерживаться при указанной изготовителем максимальной температуре окружающей среды в течение 18 ч, а затем при комнатной температуре в течение 6 ч. Каждый клапан "delta C" должен быть повернут в положение "включено" в начале периода нагрева и в закрытое положение в конце периода нагрева. Крутящий момент, необходимый для полного закрытия клапана "delta C", должен быть проверен после 18-часового периода нагрева, а крутящий момент, необходимый для полного открытия клапана, должен быть проверен после 6-часового периода охлаждения. Последовательность нагрева и охлаждения должна повторяться до тех пор, пока не будет выполнено в общей сложности 30 циклов.
По завершении 30 циклов должен быть измерен крутящий момент, необходимый для полного закрытия клапана "delta C" при повышенной температуре и для полного открытия клапана при комнатной температуре, он должен превышать соответствующий крутящий момент, указанный в таблице 7. Все клапаны "delta C" должны быть проверены на соответствие требованиям по утечке, предусмотренным 7.2.
8 Требования к электромагнитной совместимости и электрическим устройствам
Требования ISO 23550 (см. раздел 8) не применимы.
9 Маркировка, установочные и операционные инструкции
9.1 Маркировка
Требования ISO 23550 (см. 10.1) заменяются.
Следующая информация, по крайней мере, должна быть прочно нанесена на газовый клапан с ручным управлением в хорошо видимом положении, должна быть надежно закреплена на клапанах и должна соответствовать следующим техническим требованиям. В тех случаях, когда пространство ограничено из-за габаритов, это требование может быть выполнено путем указания информации о маркировке на упаковке или на вкладыше, размещенном внутри упаковки, в которой поставляется газовый клапан(ы) с ручным управлением:
a) изготовитель и/или торговая марка;
b) тип;
c) максимальное входное давление в Па или кПа;
d) направление потока газа (с помощью литой или рельефной стрелки);
e) дата изготовления (не менее года) - может быть указана в коде;
f) там, где это применимо, газовые клапаны с ручным управлением должны иметь знак соответствия сертифицирующей организации, оценивающей соответствие настоящему стандарту.
Примечание - Специальные региональные требования приведены в приложении G.
9.1.101 Открытое и закрытое положение газового клапана с ручным управлением
Маркировка открытого и закрытого положения газового клапана с ручным управлением должна использоваться, за исключением случаев, когда осуществляется контроль как за основной горелкой, так и за запальной горелкой, и газовый клапан с ручным управлением не может неправильно управляться, а также если ручной привод в открытом и закрытом положениях устроен так, что любая маркировка невозможна (например, кнопка для "включения" и "выключения").
9.1.102 Маркировка позиций
Если для различных положений газового клапана с ручным управлением используются маркировки, должны использоваться следующие символы в соответствии с таблицей 8 или маркировка должна соответствовать стандартам на соответствующие аппараты.
Таблица 8
Маркировка
Позиция
Символ
Слова
Выкл.
Обычный диск или 0
Off
Зажигание
Звезда
Pilot
Полный
Большое пламя
On or Hi
Пониженный расход
Маленькое пламя
Low
9.1.103 Маркировка клапанов "delta C"
Клапаны "delta C", предназначенные для использования на пищевом оборудовании и соответствующие 7.4, должны иметь разборчивую постоянную маркировку на корпусе, верхней крышке или штоке буквой "c" высотой не менее 2,4 мм.
9.1.104 Маркировка соединительных клапанов аппарата
Соединительный клапан аппарата должен быть постоянно маркирован символом, как показано в таблице 9.
Таблица 9
Символы маркировки соединительных клапанов аппарата
Размер выходного соединения, мм
Символ
9,5
12,7
15,9
9.2 Установочные и операционные инструкции
Применяются требования ISO 23550 (см. 10.2) со следующим дополнением.
Инструкция должна включать всю соответствующую информацию об использовании, установке, эксплуатации и обслуживании, в частности:
a) количество операций газового клапана с ручным управлением;
b) группа 1 (если применимо);
c) номинальный расход, т.е. пропускная способность;
d) диапазон температуры окружающей среды;
e) монтажное положение(я);
f) диапазон входного давления в Па или кПа;
g) подключение(я) к газу;
h) газовый клапан с ручным управлением с предохранительным замком (если применимо);
i) газы, для которых подходит газовый клапан с ручным управлением;
j) уведомление для установщика, чтобы рассмотреть, например, состояние давления на входе, грязь, продукты коррозии;
k) имеет ли газовый клапан с ручным управлением неподвижный элемент.
9.3 Предупредительная надпись
Применяются требования ISO 23550 (см. 10.3).
Приложение A
(справочное)
ИСПЫТАНИЕ НА ГЕРМЕТИЧНОСТЬ. ОБЪЕМНЫЙ МЕТОД
Применяются требования ISO 23550 (приложение A).
Приложение B
(справочное)
ИСПЫТАНИЕ НА ГЕРМЕТИЧНОСТЬ. МЕТОД ПОТЕРИ ДАВЛЕНИЯ
Применяются требования ISO 23550 (приложение B).
Приложение C
(обязательное)
ПРЕОБРАЗОВАНИЕ ПОТЕРИ ДАВЛЕНИЯ В РАСХОД ВОЗДУХА ПРИ УТЕЧКЕ
Применяются требования ISO 23550 (приложение C).
Приложение D
(обязательное)
ИСПЫТАНИЕ НА УСТОЙЧИВОСТЬ К МАГНИТНЫМ ПОЛЯМ
С ЧАСТОТОЙ ПИТАЮЩЕЙ СЕТИ
Требования ISO 23550 (см. 9.11) не применяются.
Приложение E
(обязательное)
СПЕЦИАЛЬНЫЕ РЕГИОНАЛЬНЫЕ ТРЕБОВАНИЯ В ЕВРОПЕЙСКИХ СТРАНАХ
Применяются требования ISO 23550 (приложение E) со следующим дополнением.
E.1 Общие положения
Для целей настоящего стандарта специальные региональные требования, приведенные в E.2, изменяют настоящий стандарт, поскольку он применяется в Европе. Упоминаются только затронутые подпункты, поэтому нумерация не является последовательной.
E.2 Дополнительные требования и изменения
E.6.102 Соединительные клапаны аппарата
6.102 не применяется.
E.7.7.104 Клапаны для оборудования общественного питания "delta C"
7.7.104 не применяется.
E.9.1 Маркировка
9.1 f) не применяется.
E.9.1.103 Маркировка для клапанов "delta C"
9.1.103 не применяется.
Приложение F
(обязательное)
СПЕЦИАЛЬНЫЕ РЕГИОНАЛЬНЫЕ ТРЕБОВАНИЯ В США И КАНАДЕ
Применяются требования ISO 23550 (приложение F) со следующим дополнением.
F.1 Общие требования
Для целей настоящего стандарта конкретные региональные требования, приведенные в F.2, изменяют настоящий стандарт так, как он применяется в Канаде и США. Упоминаются только затронутые подразделы, поэтому нумерация не является последовательной.
F.2 Дополнительные требования и изменения
F.6.2.103 Полость конического золотника
Диаметры полости конического золотника в газовом клапане с ручным управлением золотникового типа, обработанном притиркой, должны соответствовать диаметрам золотника, который он содержит, следующим образом:
a) Наименьший диаметр должен быть по меньшей мере на 0,076 мм больше наименьшего диаметра конуса на золотнике на минимальном расстоянии 1,19 мм.
b) Наибольший диаметр должен быть по меньшей мере на 0,076 мм больше наибольшего диаметра конуса на золотнике.
F.7.2 Герметичность
7.2.1 "Требование" заменяется следующим.
Газовый клапан с ручным управлением не должен пропускать более 20 см3/ч воздуха с поправкой на давление 101,3 кПа при 15,5 °C.
7.2.2 "Испытание на герметичность" заменяется следующим.
Это испытание должно проводиться при максимальной температуре окружающей среды, указанной изготовителем.
Газовые клапаны с ручным управлением, оснащенные винтом регулировки расхода, должны быть проверены на герметичность с регулировочным винтом в любом нормальном регулировочном положении от полностью закрытого до положения, обеспечивающего максимальную скорость потока газа, и с плотно закрепленными крышкой, золотником, контргайкой или другими уплотняющими и герметизирующими средствами, если они предусмотрены.
Этому испытанию должны быть подвергнуты пять новых образцов, все из которых должны соответствовать требованиям.
Вход испытываемого газового клапана с ручным управлением должен быть подсоединен к пневматической системе, способной подавать чистый сухой воздух при испытательном давлении, и к устройству для измерения расхода, способному точно указывать допустимый расход. Устройство для измерения расхода должно располагаться между подачей воздуха и входом газового клапана с ручным управлением.
Газовые клапаны с ручным управлением должны быть помещены в испытательную печь и нагреты до указанной изготовителем максимальной температуры окружающей среды +/- 2,8 °C, на что указывает термопара, прикрепленная к одному из клапанов. Газовые клапаны с ручным управлением должны поддерживаться при этой температуре в течение 1 ч и в течение оставшейся части этого испытания.
При закрытом газовом клапане с ручным управлением и открытом выпускном отверстии воздух должен подаваться и поддерживаться при давлении 498 Па до достижения равновесных условий, после чего должна быть измерена утечка.
Затем давление медленно повышают до 20,7 кПа и поддерживают его до достижения равновесных условий, после чего снова измеряют утечку.
Вышеуказанные испытания должны быть повторены при открытом газовом клапане с ручным управлением и закрытом выпускном отверстии. Скорость утечки при любых условиях испытания не должна превышать 20 см3/ч воздуха с поправкой на стандартные условия давления 101,3 кПа при 15,5 °C.
Вышеуказанное испытание должно проводиться при 5,17 кПа, а не при 20,7 кПа для газового клапана с ручным управлением, когда давление газа на входе не может уменьшить вместимость элемента клапана.
Приложение G
(обязательное)
СПЕЦИАЛЬНЫЕ РЕГИОНАЛЬНЫЕ ТРЕБОВАНИЯ В ЯПОНИИ
Применяются требования ISO 23550:2001, 1 (приложение G) со следующим дополнением:
G.1 Общие положения
Для целей настоящего стандарта конкретные региональные требования, приведенные в G.2, изменяют настоящий стандарт в том виде, в каком он применяется в Японии. Упоминаются только затронутые подразделы, поэтому нумерация не является последовательной.
G.2 Дополнительные требования
G.6.102 Соединительные клапаны аппарата
6.102 не применяется.
G.7.7.102.2 Динамическая выносливость
Испытание проводят при 20 °C для всех циклов.
G.7.7.103 Эксплуатационные испытания клапанов газовых горелок с неподвижными элементами клапана
7.7.103 не применяется.
G.7.7.104 Клапаны "delta C" для пищевого оборудования
7.7.104 не применяется.
G.9.1 Маркировка
9.1 b), c), d) и f) не применяется.
G.9.1.103 Маркировка клапанов "delta C"
9.1.103 не применяется.
Приложение AA
(справочное)
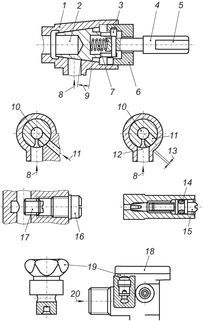
ПРИМЕРЫ ЗАПОРНЫХ ГАЗОВЫХ КЛАПАНОВ С РУЧНЫМ УПРАВЛЕНИЕМ
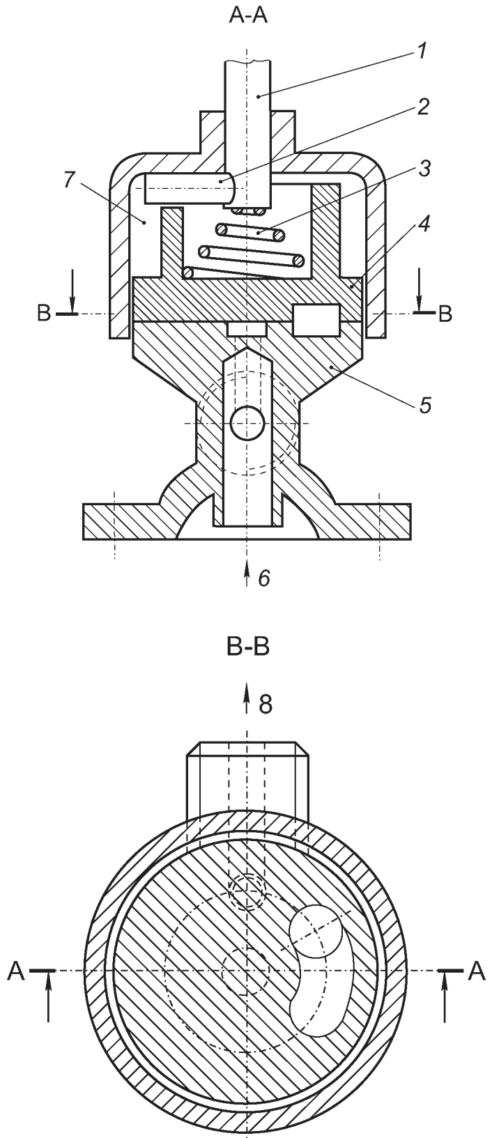
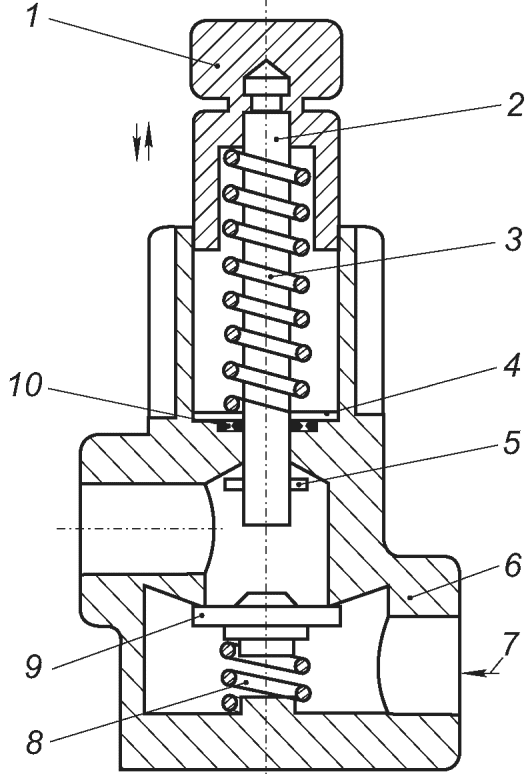
1 - корпус; 2 - золотник; 3 - защелка; 4 - рабочий станок;
5 - лыски для рукоятки; 6 - направляющая штифта защелки;
7 - пружина рабочего шпинделя; 8 - ввод основного газа;
9 - уплотнительный вкладыш; 10 - газоотвод; 11 - вход газа
с уменьшенным расходом; 12 - газовый тракт с уменьшенным
расходом; 13 - перекрывающееся уплотнение;
14 - уплотнительное кольцо; 15 - ограничительный винт;
16 - уплотнительный винт для винта предварительной
настройки; 17 - установочный винт; 18 - запорный газовый
клапан с ручным управлением; 19 - винт с уменьшенной
скоростью потока; 20 - выход газа
Рисунок AA.1 - Запорный газовый клапан
с ручным управлением с коническим золотником
1 - рабочий шпиндель; 2 - штифт защелки;
3 - пружина для рабочего шпинделя; 4 - диск; 5 - корпус;
6 - входное отверстие; 7 - направляющая штифта защелки;
8 - выход
Рисунок AA.2 - Дисковый запорный газовый клапан
с ручным управлением
1 - рабочий шпиндель; 2 - шток клапана; 3 - пружина
для рабочего шпинделя; 4 - шайба; 5 - остановка шпинделя;
6 - корпус клапана; 7 - вход; 8 - дисковая пружина;
9 - диск клапана; 10 - уплотнительное кольцо
Рисунок AA.3 - Линейный дисковый запорный
газовый клапан с ручным управлением
1 - рабочий шпиндель; 2 - направляющая штифта защелки;
3 - регулируемый упор; 4 - уплотнитель золотника;
5 - корпус; 6 - золотник; 7 - пружина рабочего шпинделя;
8 - защелка; 9 - плоскость(и) для ручки; 10 - газоотвод;
11 - газовый путь с основным расходом; 12 - газовый путь
с уменьшенным расходом
Рисунок AA.4 - Запорный газовый клапан
с ручным управлением с параллельным золотником
1 - штифт защелки; 2 - уплотнение; 3 - корпус;
4 - иголка; 5 - вход газа
Рисунок AA.5 - Игольчатый клапан
Приложение ДА
(справочное)
СВЕДЕНИЯ О СООТВЕТСТВИИ ССЫЛОЧНЫХ МЕЖДУНАРОДНЫХ СТАНДАРТОВ
МЕЖГОСУДАРСТВЕННЫМ СТАНДАРТАМ
Таблица ДА.1
Обозначение ссылочного международного стандарта
Степень соответствия
Обозначение и наименование соответствующего межгосударственного стандарта
ISO 23550:2011
IDT
ГОСТ ISO 23550-2023 "Устройства защиты и управления газовых горелок и аппаратов. Общие требования"
Примечание - В настоящей таблице использовано следующее условное обозначение степени соответствия стандарта:
- IDT - идентичный стандарт.
БИБЛИОГРАФИЯ
[1]
ISO 6708:1995
Pipework components - Definition and selection of DN (nominal size) [Компоненты системы трубопровода. Определение и выбор DN (номинальный диаметр)]
[2]
ISO 8655-1:2002
Piston-operated volumetric apparatus - Part 1: Terminology, general requirements and user recommendations (Устройства мерные, приводимые в действие поршнем. Часть 1. Терминология, общие требования и рекомендации пользователю)
[3]
ISO 23551 (all parts)
Safety and control devices for gas burners and gas-burning appliances - Particular requirements [(все части) Предохранители и регуляторы для газовых горелок и газосжигательного оборудования. Частные требования]
[4]
ISO 23552-1
Safety and control devices for gas and/or oil burners and gas and/or oil appliances - Particular requirements - Part 1: Fuel/air ratio controls, electronic type (Устройства безопасности и управления для газовых и/или мазутных горелок и оборудования. Частные требования. Часть 1. Электронные средства управления соотношением топлива и воздуха)
[5]
ISO 23553-1
Safety and control devices for oil burners and oil-burning appliances - Particular requirements - Part 1: Automatic and semi-automatic valves (Устройства защиты и управления нефтяных горелок и аппаратов. Дополнительные требования. Часть 1. Автоматические и полуавтоматические клапаны)
[6]
IEC 61010 (all parts)
Safety requirements for electrical equipment for measurement, control and laboratory use [(все части) Безопасность контрольно-измерительных приборов и лабораторного оборудования]
[7]
IEC 61508 (all parts)
Functional safety of electrical/electronic/programmable electronic safety related Systems [(все части) Функциональная безопасность систем электрических, электронных, связанных с безопасностью]
[8]
ANSI/ASME B 1.1:1989
Unified inch screw threads (UN and UNR thread form) [Унифицированная дюймовая резьба (Форма резьбы UN и UNR)]
[9]
ANSI/ASME B 1.20.1
Pipe threads, general purpose (inch) [Трубная резьба общего назначения (дюйм)]
[10]
ANSI/ASME B 16.1
Gray iron pipe flanges and flanged fittings: classes 25, 125, and 250 (Фланцы для труб из серого чугуна и фланцевые фитинги: классы 25, 125 и 250)
[11]
ANSI/SAE J 512
Automotive tube fittings (Автомобильные трубные фитинги)
[12]
ANSI/SAE J 514
Hydraulic tube fittings (Фитинги для гидравлических труб)
[13]
JIS B 0202
Parallel pipe threads (Параллельные резьбы труб)
[14]
JIS B 0203
Taper pipe threads (Коническая трубная резьба)
[15]
JIS B 2220
Steel pipe flanges (Фланцы стальных труб)
[16]
JIS B 2239
Cast iron pipe flanges (Фланцы для чугунных труб)
[17]
JIS B 2240
Copper alloy pipe flanges (Фланцы труб из медного сплава)
[18]
JIS B 2241
Aluminium alloy pipe flanges (Фланцы труб из алюминиевого сплава)
[19]
JIS B 2301
Screwed type malleable cast iron pipe fittings (Фитинги для труб из ковкого чугуна с резьбой)
[20]
JIS B 2302
Screwed type steel pipe fittings (Фитинги для стальных труб резьбового типа)
[21]
JIS B 2311
Steel butt-welding pipe fittings for ordinary use (Фитинги для стыковой сварки стальных труб для обычного использования)
[22]
JIS B 2312
Steel butt-welding pipe fittings (Фитинги для стыковой сварки стальных труб)
[23]
JIS B 2316
Steel socket-welding pipe fittings (Фитинги для стальных труб с торцевой сваркой)
[24]
JIS H 3401
Pipe fittings of copper and copper alloys (Трубопроводная арматура из меди и медных сплавов)
УДК 683:006.354
МКС 27.060.20
IDT
Ключевые слова: предохранители, регуляторы для газовых горелок, оборудование газоиспользующее, клапаны, газовые клапаны с ручным управлением