Главная // Актуальные документы // Актуальные документы (обновление 2025.04.26-2025.05.31) // ГОСТ (Государственный стандарт)
СПРАВКА
Источник публикации
М.: ФГБУ "Институт стандартизации", 2024
Примечание к документу
Документ включен в Перечень международных и региональных (межгосударственных) стандартов, а в случае их отсутствия - национальных (государственных) стандартов, в результате применения которых на добровольной основе обеспечивается соблюдение требований технического регламента Таможенного союза "О безопасности низковольтного оборудования" (ТР ТС 004/2011) и в Перечень международных и региональных (межгосударственных) стандартов, а в случае их отсутствия - национальных (государственных) стандартов, содержащих правила и методы исследований (испытаний) и измерений, в том числе правила отбора образцов, необходимые для применения и исполнения требований технического регламента Таможенного союза "О безопасности низковольтного оборудования" (ТР ТС 004/2011) и осуществления оценки соответствия объектов технического регулирования (Решение Коллегии Евразийской экономической комиссии от 11.05.2023 N 55).

Документ включен в Перечень международных и региональных (межгосударственных) стандартов, а в случае их отсутствия - национальных (государственных) стандартов, в результате применения которых на добровольной основе обеспечивается соблюдение требований технического регламента Таможенного союза "О безопасности машин и оборудования" (ТР ТС 010/2011) и в Перечень международных и региональных (межгосударственных) стандартов, а в случае их отсутствия - национальных (государственных) стандартов, содержащих правила и методы исследований (испытаний) и измерений, в том числе правила отбора образцов, необходимые для применения и исполнения требований технического регламента Таможенного союза "О безопасности машин и оборудования" (ТР ТС 010/2011) и осуществления оценки соответствия объектов технического регулирования (Решение Коллегии Евразийской экономической комиссии от 09.03.2021 N 28).

Документ введен в действие с 01.01.2025 с правом досрочного применения.
Название документа
"ГОСТ IEC 60335-2-36-2016. Межгосударственный стандарт. Бытовые и аналогичные электрические приборы. Безопасность. Часть 2-36. Дополнительные требования к электрическим кухонным плитам, духовкам, конфоркам и нагревательным элементам для предприятий общественного питания"
(введен в действие Приказом Росстандарта от 28.12.2023 N 1689-ст)

"ГОСТ IEC 60335-2-36-2016. Межгосударственный стандарт. Бытовые и аналогичные электрические приборы. Безопасность. Часть 2-36. Дополнительные требования к электрическим кухонным плитам, духовкам, конфоркам и нагревательным элементам для предприятий общественного питания"
(введен в действие Приказом Росстандарта от 28.12.2023 N 1689-ст)


Содержание


Введен в действие
Приказом Федерального
агентства по техническому
регулированию и метрологии
от 28 декабря 2023 г. N 1689-ст
МЕЖГОСУДАРСТВЕННЫЙ СТАНДАРТ
БЫТОВЫЕ И АНАЛОГИЧНЫЕ ЭЛЕКТРИЧЕСКИЕ ПРИБОРЫ. БЕЗОПАСНОСТЬ
ЧАСТЬ 2-36
ДОПОЛНИТЕЛЬНЫЕ ТРЕБОВАНИЯ К ЭЛЕКТРИЧЕСКИМ КУХОННЫМ ПЛИТАМ,
ДУХОВКАМ, КОНФОРКАМ И НАГРЕВАТЕЛЬНЫМ ЭЛЕМЕНТАМ
ДЛЯ ПРЕДПРИЯТИЙ ОБЩЕСТВЕННОГО ПИТАНИЯ
Household and similar electrical appliances. Safety.
Part 2-36. Particular requirements for commercial electric
cooking, ranges, ovens hobs and hob elements
(IEC 60335-2-36:2008, IDT)
ГОСТ IEC 60335-2-36-2016
МКС 97.040.20
Дата введения
1 января 2025 года
с правом досрочного применения
Предисловие
Цели, основные принципы и общие правила проведения работ по межгосударственной стандартизации установлены ГОСТ 1.0 "Межгосударственная система стандартизации. Основные положения" и ГОСТ 1.2 "Межгосударственная система стандартизации. Стандарты межгосударственные, правила и рекомендации по межгосударственной стандартизации. Правила разработки, принятия, обновления и отмены"
Сведения о стандарте
1 ПОДГОТОВЛЕН Научно-производственным республиканским унитарным предприятием "Белорусский государственный институт стандартизации и сертификации" (БелГИСС) на основе собственного перевода на русский язык англоязычной версии стандарта, указанного в пункте 5
2 ВНЕСЕН Государственным комитетом по стандартизации Республики Беларусь
3 ПРИНЯТ Межгосударственным советом по стандартизации, метрологии и сертификации (протокол от 28 июня 2016 г. N 49-2016)
За принятие проголосовали:
Краткое наименование страны по МК (ИСО 3166) 004-97
Код страны по МК (ИСО 3166) 004-97
Сокращенное наименование национального органа по стандартизации
Армения
AM
ЗАО "Национальный орган по стандартизации и метрологии" Республики Армения
Беларусь
BY
Госстандарт Республики Беларусь
Казахстан
KZ
Госстандарт Республики Казахстан
Киргизия
KG
Кыргызстандарт
Россия
RU
Росстандарт
Узбекистан
UZ
Узстандарт
4 Приказом Федерального агентства по техническому регулированию и метрологии от 28 декабря 2023 г. N 1689-ст межгосударственный стандарт ГОСТ IEC 60335-2-36-2016 введен в действие в качестве национального стандарта Российской Федерации с 1 января 2025 г. с правом досрочного применения
5 Настоящий стандарт идентичен международному стандарту IEC 60335-2-36:2008 "Бытовые и аналогичные электрические приборы. Безопасность. Часть 2-36. Дополнительные требования к электрическим кухонным плитам, духовкам, конфоркам и нагревательным элементам для предприятий общественного питания" ("Household and similar electrical appliances - Safety - Part 2-36: Particular requirements for commercial electric cooking ranges, ovens, hobs and hob elements", IDT).
Международный стандарт разработан Техническим комитетом 61 "Безопасность бытовых и аналогичных электрических приборов" Международной электротехнической комиссии (IEC)
6 ВВЕДЕН ВПЕРВЫЕ
Информация о введении в действие (прекращении действия) настоящего стандарта и изменений к нему на территории указанных выше государств публикуется в указателях национальных стандартов, издаваемых в этих государствах, а также в сети Интернет на сайтах соответствующих национальных органов по стандартизации.
В случае пересмотра, изменения или отмены настоящего стандарта соответствующая информация будет опубликована на официальном интернет-сайте Межгосударственного совета по стандартизации, метрологии и сертификации в каталоге "Межгосударственные стандарты"
Введение
Настоящий стандарт применяют совместно с IEC 60335-1. Если в тексте настоящего стандарта встречается ссылка на часть 1, то это соответствует IEC 60335-1.
Настоящий стандарт содержит требования к электрическим кухонным плитам, духовкам, конфоркам и нагревательным элементам для предприятий общественного питания, и методы испытаний, которые дополняют, заменяют или исключают требования и методы испытаний, установленные в соответствующих разделах и (или) пунктах части 1.
Если в настоящем стандарте нет ссылки на какой-либо пункт или приложение части 1, то этот пункт или приложение применяется полностью.
В тексте настоящего стандарта принята следующая система нумерации:
- пункты, номера которых начинаются со 101, являются дополнительными по отношению к пунктам части 1;
- номера примечаний начинаются со 101 (включая примечания в заменяемых разделах или пунктах), за исключением примечаний в новых пунктах и при отсутствии примечаний в части 1;
- дополнительные приложения обозначаются AA, BB и т.д.
В настоящем стандарте использованы следующие шрифтовые выделения:
- текст требований - светлый;
- методы испытаний - курсив;
- термины - полужирный.
1 Область применения
Соответствующий раздел части 1 заменяют следующим.
Настоящий стандарт устанавливает требования безопасности к электрическим кухонным плитам и печам, духовкам, конфоркам, нагревательным элементам конфорок и аналогичными приборам для предприятий общественного питания, не предназначенным для бытового применения, номинальное напряжение питания которых не превышает 250 В для однофазных приборов и 480 В - для других приборов.
Примечание 101 - Данные приборы используются, например, в ресторанах, столовых, больницах, хлебопекарнях, мясных лавках и т.п.
Стандарт распространяется также на электрическую часть приборов, использующих другие виды энергии.
Настоящий стандарт учитывает основные виды опасностей, источником которых могут стать приборы при их эксплуатации.
Примечание 102 - Следует обращать внимание на следующее:
- для приборов, предназначенных для использования в транспортных средствах, на борту кораблей, самолетов могут быть необходимы дополнительные требования;
- во многих странах национальные органы здравоохранения, охраны труда и др. органы предъявляют к приборам дополнительные требования.
Примечание 103 - Настоящий стандарт не распространяется на:
- приборы, предназначенные исключительно для промышленного применения;
- приборы, предназначенные для использования в местах, где преобладают специальные условия, например присутствие коррозионной или взрывоопасной среды (пыль, пар или газ);
- приборы непрерывного действия для массового приготовления пищи;
- паровые плиты, паровые духовки с принудительной конвекцией и пароконвекционные печи (IEC 60335-2-42);
- жарочные шкафы (IEC 60335-2-49);
- микроволновые печи (IEC 60335-2-90).
2 Нормативные ссылки
Применяют соответствующий раздел части 1.
3 Термины и определения
Применяют соответствующий раздел части 1, а также следующие термины с соответствующими определениями.
3.1.4 Дополнение:
Примечание 101 - Номинальная потребляемая мощность - сумма потребляемых мощностей всех отдельных элементов прибора, которые могут быть включены одновременно; если возможно несколько таких комбинаций, то при определении номинальной потребляемой мощности выбирают наибольшее значение.
3.1.9 Замена:
нормальный режим работы (normal operation): работа прибора при следующих условиях:
Открытые или монолитные нагревательные элементы конфорок работают без нагрузки, а закрытые - с нагрузкой. Нагрузку изготавливают из черной матовой холодно- или горячекатаной стали толщиной от 9 до 10 мм, которая закрывает от 90% до 100% поверхности элемента. Нагревательные элементы конфорок работают с регуляторами, установленными так, чтобы обеспечить температуру, указанную ниже. Температуру измеряют в геометрическом центре или в самой горячей точке открытого нагревательного элемента или нагрузки, если элемент нагревается неравномерно.
Ступенчатые регуляторы устанавливают в первое положение, которое обеспечивает температуру, равную или выше 275 °C. Регуляторы цикла устанавливают так, чтобы среднее значение температуры за время цикла было (275 +/- 5) °C. Если данная температура не может быть достигнута, то регулятор устанавливают на максимальную отметку.
Неиндукционные источники нагрева с поверхностью из стеклокерамики или подобного материала работают с кастрюлями, наполненными первоначально холодной водой до уровня (60 +/- 10) мм. Кастрюли изготавливают из неполированного алюминия обычного качества, с вогнутостью основания, не превышающей 0,1 мм. Кастрюли должны закрывать зону приготовления как можно больше.
Кастрюлю закрывают крышкой. Регулятор устанавливают на максимальную отметку до закипания воды и затем устанавливают так, чтобы поддерживать кипение. Воду добавляют, чтобы поддерживать требуемый уровень воды во время кипения.
Индукционные источники нагрева под стеклокерамикой или подобным материалом работают с кастрюлями, рекомендованными изготовителем.
Если используют одну кастрюлю, она должна закрывать как можно больше площади, но не менее, чем полная область зоны приготовления. Кастрюлю размещают в центре.
Для некруглой зоны приготовления комбинацию наименьшего количества кастрюль выбирают таким образом, чтобы закрывать как можно большую область зоны приготовления.
Кастрюли в каждом случае заполняют первоначально холодным маслом для жарки до уровня (30 +/- 5) мм. Регулятор устанавливают на максимальную отметку, пока температура масла не достигнет 180 °C, и затем устанавливают так, чтобы поддерживать температуру масла (180 +/- 15) °C.
Дальнейшее испытание проводят, используя первоначально холодную воду, кастрюлю заполняют до уровня (60 +/- 10) мм и закрывают крышкой. Регулятор устанавливают на максимальную отметку до закипания воды и затем устанавливают так, чтобы поддерживать кипение. Воду добавляют, чтобы поддерживать уровень воды во время кипения.
Применяют условия, обеспечивающие самые неблагоприятные результаты (масло или вода).
Духовки работают без нагрузки и с регуляторами, установленными так, чтобы среднее значение температуры духовки за время цикла ее регулирования, измеренное в геометрическом центре полезного пространства внутри духовки поддерживалось равным (240 +/- 4) °C.
Ступенчатые регуляторы устанавливают таким образом, чтобы температура была (240 +/- 15) °C. Для духовок, в которых может быть достигнута температура более 290 °C, регуляторы устанавливают так, чтобы температура была на (50 +/- 4) °C ниже максимально достижимой температуры. Для духовок, в которых невозможно получить температуру 240 °C, регуляторы устанавливают на максимальную отметку.
Гридли работают без нагрузки и с регуляторами, установленными так, чтобы достичь температуры (275 +/- 5) °C; температура измеряется в самой горячей точке каждой контролируемой поверхности приготовления. Ступенчатые регуляторы устанавливают в первое положение, которое обеспечивает температуру, равную или более 275 °C. Регуляторы цикла устанавливают так, чтобы среднее значение температуры за время цикла было (275 +/- 5) °C. Если указанная температура не может быть достигнута, то регулятор устанавливают на максимальную отметку.
Двигатели, входящие в состав прибора, работают соответствующим образом при самых жестких условиях, которые могут ожидаться при нормальной эксплуатации, принимая во внимание инструкции изготовителя.
3.101 кухонные плиты и печи (cooking and baking range): отдельная кухонная плита или печь с одной или более духовками с одним или более конфорок или конфорок или комбинации этих элементов.
Примечание - Прибор с принудительной конвекцией духовки, пароконвекционной духовкой или микроволновой печью считают прибором, включающим другой прибор (5.102).
3.102 нагревательный блок (heating unit): любая часть прибора, которая выполняет независимую функцию приготовления или нагрева.
Примечание 1 - Нагревательные блоки могут включать, например, нагревательные элементы конфорок, грилевые решетки или духовки.
Примечание 2 - Если духовка имеет несколько нагревательных элементов или групп элементов, которые управляются таким образом, что какой-либо элемент или группа элементов не могут включаться, пока включен другой элемент или группа элементов, то каждый из элементов или группу элементов рассматривают как отдельный нагревательный блок и в соответствии с этим проводят испытания.
3.103 нагревательный элемент конфорок (hob element, boiling plate, surface element): нагревательный блок, предназначенный для установки посуды на его верхнюю поверхность.
Примечание - Нагревательный элемент конфорок может состоять из индукционного или неиндукционного источника нагрева, покрытого стеклокерамикой или подобным материалом.
3.104 нагревательная поверхность (hob surface, cooking top): горизонтальная часть прибора, под которой расположены нагревательные элементы конфорок.
3.105 конфорка (hob) - нагревательная поверхность и один или более нагревательных элементов конфорок, прикрепленных к поверхности электрического стола или расположенных под рабочей зоной.
Примечание - Конфорка может также включать и грилевую решетку.
3.106 зона приготовления (cooking zone): обозначенная область нагревательной поверхности под стеклокерамикой или подобным материалом, предназначенная для размещения посуды.
3.107 индукционный источник нагрева (induction heating source): источник нагрева, работающий путем индуцирования вихревых токов в посуде, помещенной на нагревательный элемент конфорок.
3.108 гридлевый лист (griddle plate): нагревательный блок, имеющий поверхность приготовления, на которую непосредственно помещают приготовляемые продукты.
3.109 инсталляционная стенка (installation wall): специальная стационарная конструкция, содержащая места подключения питания приборов, установленных в соединении с ней.
3.110 датчик кастрюли (pan detector): устройство, встроенное в нагревательный элемент конфорок, предотвращающее его работу, если в зоне приготовления отсутствует посуда.
Примечание - Термостат или защитное устройство не являются датчиком кастрюли.
4 Общие требования
Применяют соответствующий раздел части 1.
5 Общие условия проведения испытаний
Применяют соответствующий раздел части 1 со следующими дополнениями.
5.2 Дополнение:
Нагревательные элементы конфорок, которые поставляются отдельно, испытывают после установки в соответствующую кухонную плиту.
Испытание по 18.2 может быть проведено на отдельном образце.
5.3 Дополнение:
Испытание по 18.2 проводят до испытаний по разделу 11, если оно не проведено на отдельном образце.
5.10 Дополнение:
Приборы, предназначенные для установки совместно с другими приборами, и приборы, предназначенные для встраивания в установочную стенку, ограждают таким образом, чтобы обеспечить защиту от поражения электрическим током и степень защиты от влаги, обеспечиваемую оболочками, получаемую при установке приборов в соответствии с сопровождающими их инструкциями.
Примечание 101 - Для целей испытания могут быть необходимы соответствующие ограждения или дополнительные приборы.
5.101 Приборы испытывают как нагревательные приборы, даже если они имеют двигатель.
5.102 Приборы, объединенные с другими приборами или встроенные в другие приборы, испытывают в соответствии с требованиями настоящего стандарта. Другие приборы работают одновременно в соответствии с требованиями соответствующих стандартов.
6 Классификация
Применяют соответствующий раздел части 1 со следующим изменением.
6.1 Приборы должны соответствовать классу I.
Соответствие проверяют осмотром и соответствующими испытаниями.
6.2 Дополнение:
Приборы, предназначенные для использования на столе, должны иметь степень защиты не ниже IPX3. Другие приборы должны иметь степень защиты не менее IPX4.
7 Маркировка и инструкции
Применяют соответствующий раздел части 1 со следующими дополнениями.
7.1 Дополнение:
На приборах, включающих индукционные источники нагрева, дополнительно должны быть указаны:
- давление воды или диапазон давлений в килопаскалях - для приборов, предназначенных для подключения к водопроводу, если это не указано в инструкции.
На приборах дополнительно должно быть указано:
- рабочая частота или диапазон рабочих частот в килогерцах;
- полная потребляемая мощность всех индукционных нагревательных блоков, которые могут работать одновременно, в ваттах или киловаттах, если это не указано в инструкции;
Примечание 101 - Указываемая потребляемая мощность - самая высокая потребляемая мощность, которую обеспечивает любое устройство переключения.
- полная потребляемая мощность всех неиндукционных нагревательных блоков, которые могут работать одновременно, в ваттах или киловаттах, если это не указано в инструкции.
Примечание 102 - Указываемая потребляемая мощность - самая высокая потребляемая мощность, которую обеспечивает любое устройство переключения.
Любая поверхность крышки, через которую возможен доступ к частям прибора, находящимся под напряжением, при рабочем напряжении, превышающем 250 В, должна быть маркирована следующим образом:
- "ОСТОРОЖНО! ОПАСНОЕ НАПРЯЖЕНИЕ" или символ опасного напряжения (7.6).
Поверхности крышки, дающие доступ к индукционным катушкам, должны быть маркированы следующим образом:
- "ВНИМАНИЕ! МАГНИТНОЕ ПОЛЕ" или символ неионизирующего электромагнитного излучения (7.6).
Примечание 103 - Если невозможно отобразить данные предупреждения на поверхности крышки, они могут быть размещены рядом с фиксирующими винтами.
7.6 Дополнение:
[символ 5140 по IEC 60417-1]
Неионизирующее электромагнитное излучение
[символ 5036 по IEC 60417-1]
Опасное напряжение
[символ 5021 по IEC 60417-1]
Эквипотенциальность
7.12 Дополнение:
Если прибор включает нагревательную поверхность из стеклокерамики или аналогичного материала, обеспечивающего защиту от соприкосновения с частями прибора, находящимися под напряжением, инструкции должны включать следующие предупреждения:
- "ВНИМАНИЕ! Если поверхность треснула или имеет трещину, немедленно отключите прибор или соответствующую часть прибора от сети питания".
Инструкции для приборов с нагревательными поверхностями из стеклокерамики или подобного материала должны содержать предупреждения, что алюминиевая фольга и пластмассовая посуда не должны помещаться на горячие поверхности. Они должны также содержать предупреждения, что эти поверхности не должны использоваться для хранения.
Инструкции для конфорок с галогенными лампами должны предупреждать пользователя о необходимости избегать смотреть непосредственно на лампы, когда они включены.
Инструкции для приборов с индукционными источниками нагрева должны указывать минимальный размер посуды, которую следует применять. Они должны также включать следующие положения:
- не располагать металлические предметы типа кухонных принадлежностей, столовых приборов и т.д. на нагревательной поверхности в пределах зоны приготовления, поскольку они могут стать горячими;
- соблюдать осторожность при работе прибора, так как кольца, часы и подобные вещи, используемые пользователем, могут стать горячими при приближении к нагревательной поверхности;
- использовать только посуду рекомендованного типа и размера.
Инструкции для приборов с индукционными источниками нагрева должны иметь предупреждение, что пользователи, имеющие электрокардиостимуляторы, должны проконсультироваться с изготовителем, если специфические сведения не приведены.
Инструкции для конфорок с нагревательными элементами конфорок, имеющими датчики кастрюли, должны содержать следующее предупреждение:
"После использования выключить нагревательный элемент конфорок с помощью регулятора. Не полагайтесь на датчик кастрюли".
Если символ 5021, 5036 или 5140 по IEC 60417-1 нанесен на приборе, его значение должно объясняться.
Изменение:
Инструкции, относящиеся к лицам (включая детей) с пониженными физическими, чувственными или умственными способностями или при отсутствии у них жизненного опыта или знаний, не приводятся.
7.12.1 Замена:
Прибор должен сопровождаться инструкциями с подробным описанием специальных мер безопасности, необходимых при установке. Для приборов, предназначенных для установки совместно с другими приборами, и приборов, предназначенных для установки в инсталляционную стенку, должно быть приведено подробное описание того, как гарантировать соответствующую защиту от поражения электрическим током и степень защиты от влаги, обеспечиваемую оболочками. Если регуляторы более чем одного прибора объединены в отдельный корпус, должны быть приведены подробные инструкции по установке. Также должны быть приложены инструкции по обслуживанию потребителем, например по чистке. Они должны включать предупреждение, что прибор нельзя мыть водяной струей.
Для приборов, которые постоянно подсоединены к электропроводке и для которых токи утечки могут превысить 10 мА, особенно если они отсоединены или не используются в течение долгого периода, или во время начальной установки, инструкции должны дать рекомендации относительно класса характеристик устанавливаемых защитных устройств, таких как реле утечки на землю.
Инструкции для приборов с индукционными источниками нагрева дополнительно должны иметь предупреждение, что любой ремонт должен быть выполнен только обученными или рекомендованными изготовителем людьми.
Соответствие проверяют осмотром.
7.12.4 Дополнение:
Для приборов с индукционными источниками нагрева - предупреждение, что необходимо соблюдать осторожность, чтобы обеспечить на защитной панели и окружающей забрызгиваемой зоне отсутствие металлических поверхностей, если это требуется конструкцией прибора. Инструкции для встраиваемых приборов, имеющих отдельный пульт управления для нескольких приборов, должны во избежание возможных опасностей иметь предупреждение о том, что пульт управления предназначен только для связи с указанными приборами.
7.15 Дополнение:
Когда практически невозможно поместить маркировку закрепляемых приборов таким образом, чтобы она была видна после того, как прибор будет установлен, соответствующая информация должна также быть включена в руководство по эксплуатации или приведена на дополнительном ярлыке, который может быть закреплен возле прибора после установки.
Примечание 101 - Пример такого прибора - встроенная конфорка.
7.101 Если во время испытаний по разделу 11 температура боковой и задней стенок испытательного угла над уровнем нагревательной поверхности превышает 65 К, и/или во время испытаний по разделу 19 температура стенок выше и ниже нагревательной поверхности превышает 125 К, то инструкции по установке, предоставляемые изготовителем, должны включать следующие сведения, которые должны также быть включены в сменный ярлык, например привязываемый, который прикрепляют к прибору.
Там, где прибор должен быть помещен в непосредственной близости от стены, перегородок, кухонной мебели, декоративной отделки и т.д. рекомендуется, чтобы они были изготовлены из негорючих материалов или покрыты соответствующим негорючим теплоизоляционным материалом и особое внимание было обращено на соблюдение мер противопожарной безопасности.
Соответствие проверяют осмотром.
7.102 Зоны приготовления нагревательных поверхностей из стеклокерамики или подобного материала должны быть четко обозначены соответствующей маркировкой, если они не очевидны.
Соответствие проверяют осмотром.
7.103 Выводы эквипотенциального соединения должны быть маркированы символом 5021 по IEC 60417-1.
Данная маркировка не должна быть размещена на винтах, сменных шайбах или других частях, которые могут быть удалены при соединении проводов.
Соответствие проверяют осмотром.
8 Защита от контакта с частями, находящимися под напряжением
Применяют соответствующий раздел части 1 со следующими дополнениями.
8.1 Дополнение:
Приборы, предназначенные для оснащения съемными нагревательными элементами конфорок, конструируют так, чтобы была обеспечена соответствующая защита от случайного соприкосновения с частями, находящимися под напряжением при установке или снятии данных элементов.
8.101 Нагревательные элементы, с которыми возможно случайное соприкосновение вилкой или подобным острым предметом при нормальном использовании, должны быть защищены таким образом, чтобы исключить возможность соприкосновения их частей, находящихся под напряжением, с подобным предметом.
Соответствие проверяют с помощью испытательного пальца 12 по IEC 61032, вводимого во все отверстия, в которые он может войти поблизости от частей, находящихся под напряжением. Испытательный палец вводят без значительных усилий.
9 Пуск электромеханических приборов
Применяют соответствующий раздел части 1 со следующими дополнениями.
9.101 Двигатели вентиляторов, обеспечивающих охлаждение во исполнение требований раздела 11, должны запускаться при любом значении напряжения, которое может возникнуть при эксплуатации.
Соответствие требованию проверяют, запуская двигатель три раза при напряжении, равном 0,85 номинального напряжения; в начале испытаний двигатель находится при комнатной температуре.
Двигатель запускают каждый раз при условиях, встречающихся в начале нормального режима работы, или для автоматических приборов в начале нормального цикла работы; двигатель разрешается отключать между последовательными запусками. Для приборов с двигателями, имеющими выключатели, отличные от центробежных, данное испытание повторяют при напряжении, равном 1,06 номинального напряжения.
Во всех случаях двигатель должен запускаться и функционировать способом, не влияющим на безопасность, а устройства защиты двигателя от перегрузки не должны срабатывать.
Примечание - Источник питания должен быть таким, чтобы во время испытаний падение напряжения не превышало 1%.
10 Потребляемая мощность и ток
Применяют соответствующий раздел части 1 со следующими дополнениями.
10.1 Изменение:
Замена первого абзаца:
Потребляемая мощность приборов без индукционных источников нагрева при номинальном напряжении и при нормальной рабочей температуре не должна отклоняться от номинальной потребляемой мощности более значений, указанных в таблице 1.
Потребляемая мощность приборов, имеющих только индукционные источники нагрева, при номинальном напряжении и при нормальной рабочей температуре не должна отклоняться от номинальной потребляемой мощности более чем на 10%.
Измерение проводят до установки регуляторов на уменьшенный диапазон регулировки.
Приборы, имеющие индукционные и неиндукционные источники нагрева, применяют следующее.
Потребляемую мощность индукционных источников нагрева и неиндукционных источников нагрева измеряют отдельно, в каждом случае используя комбинацию нагревательных блоков, которые могут быть включены одновременно, чтобы получить максимальную потребляемую мощность. Для индукционных источников нагрева измерение производят до установки регуляторов на уменьшенный диапазон регулировки.
Потребляемые мощности, измеренные таким образом, не должны в случае индукционных источников нагрева отклоняться от потребляемой мощности, указанной изготовителем (7.1), более чем на 10%, и в случае неиндукционных источников нагрева отклоняться от потребляемой мощности, указанной изготовителем (7.1), более чем указанные в таблице 1 для нагревательных приборов.
Кроме того, потребляемая мощность прибора, в котором индукционные и неиндукционные источники нагрева используются одновременно, не должна отклоняться от номинальной потребляемой мощности более чем на 10%.
Дополнение:
Примечание 101 - Для приборов, имеющих несколько нагревательных блоков, полная потребляемая мощность может быть определена измерением потребляемой мощности каждого нагревательного блока отдельно (3.1.4).
11 Нагрев
Применяют соответствующий раздел части 1 со следующими дополнениями.
11.2 Дополнение:
Приборы, предназначенные для установки на полу и приборы с массой более 40 кг и не снабженные роликами, колесами или подобными средствами, устанавливают в соответствии с инструкциями изготовителя. Если инструкции отсутствуют, приборы рассматривают как приборы, обычно располагаемые на полу.
11.3 Дополнение:
Примечание 101 - Если на измерение может чрезмерно повлиять излучение от индукционных источников нагрева, то есть магнитное поле, это должно быть принято во внимание.
В общем случае использование термопар не рекомендуется в связи с вероятностью ложного нагревания термопар, вызванного индукционным источником нагрева. Например, превышение температуры индукционного источника нагрева может быть определено с помощью платинового резистора, предпочтительно высокого сопротивления, со скрученным многожильным проводом. Платиновые резисторы помещают в самую горячую контролируемую точку, чтобы влияние на измеряемую температуру было как можно меньше.
11.4 Замена:
Неиндукционные нагревательные блоки прибора работают в нормальном режиме работы при 1,15 маркированной или указанной потребляемой мощности (7.1).
Если пределы температуры двигателей, трансформаторов или электронных цепей превышены, испытание повторяют с прибором, работающим при 1,06 номинального напряжения. В этом случае измеряют только превышение температуры двигателей, трансформаторов и электронных цепей.
Индукционные нагревательные блоки работают одновременно и питаются отдельно при самом неблагоприятном напряжении между 0,94 минимального номинального напряжения и 1,06 максимального номинального напряжения.
Если невозможно включить все нагревательные элементы или индукционные источники нагрева одновременно, то испытание проводят с каждой из комбинаций, которую позволяет устройство переключения при наибольшей нагрузке, возможной в каждом устройстве переключения, находящемся в цепи.
Если в приборе предусмотрен регулятор, ограничивающий полную потребляемую мощность, то испытание проводят со всеми комбинациями нагревательных блоков, которые могут быть выбраны регулятором, и в наиболее жестких условиях.
Кроме того, приборы, имеющие индукционные источники нагрева, работают так же, как описано выше, но с наименьшим размером посуды, рекомендованным изготовителем, помещенной в наиболее неблагоприятную позицию, возможную при выполнении условий возбуждения катушки, но в пределах зоны приготовления.
Примечание 101 - Дополнительный эксплуатационный режим, описанный выше, не применяется, когда ссылка на раздел 11 дана при других испытаниях.
11.7 Замена:
Приборы работают до достижения установившегося режима.
Примечание 101 - Продолжительность испытания может состоять более чем из одного цикла работы.
11.8 Дополнение:
Предел превышения температуры 65 К для боковой и задней стенок испытательного угла, включая часть испытательного угла, которая выступает перед прибором, учитывают только на высоте ниже уровня нагревательной поверхности. Если данный предел температуры относительно нагревательной поверхности более 65 К, то применяют требования 7.101.
12 Пробел
13 Ток утечки и электрическая прочность при рабочей температуре
Применяют соответствующий раздел части 1 со следующими дополнениями.
13.1 Изменение:
Первые четыре абзаца испытательных требований изложить в новой редакции:
Соответствие проверяют испытаниями по 13.2 и 13.3, которые проводят после того, как прибор работал при условиях, указанных в разделе 11. Прибор работает до достижения установившегося значения тока утечки или в течение времени, указанного в 11.7, в зависимости от того, какой из этих периодов более короткий.
Если более чем одна кастрюля помещены в одну зону приготовления, они электрически связаны вместе.
13.2 Изменение:
Значение допустимого тока утечки для стационарных приборов класса защиты I изложить в новой редакции:
- для приборов, подсоединяемых с помощью шнура и вилки - 1 мА на 1 кВт номинальной потребляемой мощности прибора, но не более 10 мА;
- для других приборов - 1 мА на 1 кВт номинальной потребляемой мощности прибора без ограничения максимального значения.
13.3 Дополнение:
Если имеются заземленные металлические части между частями, находящимися под напряжением и нагревательной поверхностью из стеклокерамики или подобного материала, все кастрюли на нагревательной поверхности электрически связаны между собой и с заземленной металлической частью.
В данном случае испытательное напряжение 1000 В прикладывают между частями, находящимися под напряжением и кастрюлями.
Если отсутствуют заземленные металлические части между частями, находящимися под напряжением и поверхностью из стеклокерамики или подобного материала, все кастрюли на нагревательной поверхности, электрически связаны между собой, но не связаны с заземленной металлической частью.
В данном случае испытательное напряжение 3000 В прикладывают между частями, находящимися под напряжением, и кастрюлями.
Примечание 101 - Следует соблюдать осторожность, чтобы не подвергать перегрузке другие изоляции.
14 Перенапряжения переходного процесса
Применяют соответствующий раздел части 1.
15 Влагостойкость
Применяют соответствующий раздел части 1 со следующими дополнениями.
15.1.1 Дополнение:
Дополнительно приборы исполнений IPX0, IPX1, IPX2, IPX3 и IPX4 подвергают в течение 5 мин следующему испытанию действием водяных струй.
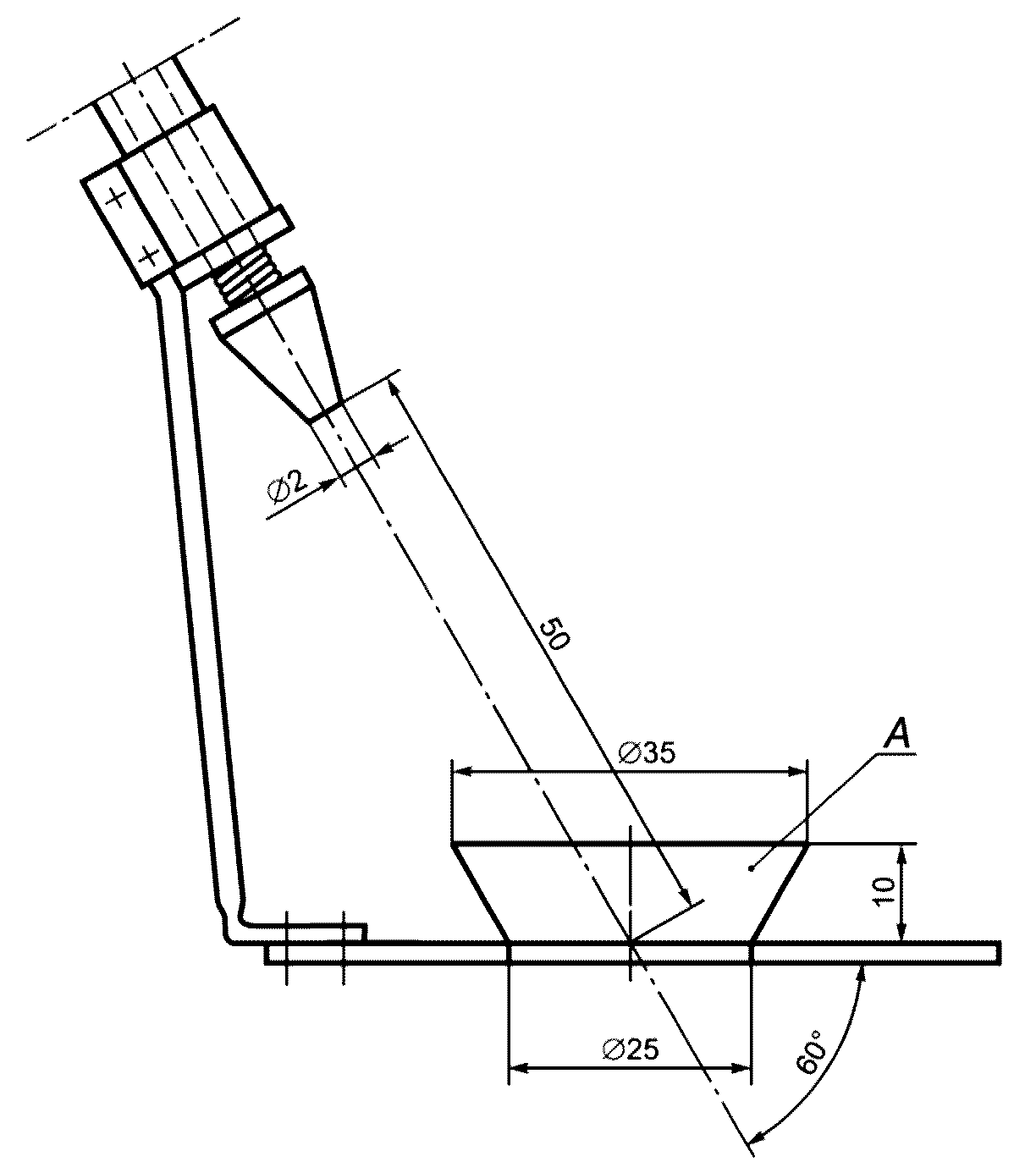
Используют испытательный прибор, показанный на рисунке 101. Во время испытания давление воды регулируют таким образом, чтобы вода разбрызгивалась на 150 мм выше основания чашки. Чашку помещают на пол для приборов, которые при нормальной эксплуатации устанавливают на полу. Для остальных видов приборов чашку помещают на горизонтальной подставке на 50 мм ниже самого нижнего края прибора, чашку перемещают вокруг прибора таким образом, чтобы забрызгать прибор водой со всех сторон. Следует проявлять осторожность, чтобы прибор не подвергался прямому воздействию струй.
15.1.2 Изменение:
Приборы, которые при нормальной эксплуатации обычно устанавливают на столе, размещают на подставке, размеры которой на (15 +/- 5) см больше размеров ортогональной проекции прибора на подставку.
Дополнение:
Если подробные инструкции относительно очистки подвижных, но несъемных (например, шарнирных) нагревательных элементов конфорок приводятся в инструкции, испытания с данными нагревательными элементами конфорок производят на элементах, горизонтально расположенных при нормальной эксплуатации.
15.2 Замена:
Приборы должны быть сконструированы так, чтобы при утечке жидкости во время нормальной эксплуатации электрическая изоляция не ухудшалась.
Соответствие проверяют следующим испытанием.
Приборы с креплением типа X, кроме имеющих специальный готовый шнур, подключают наилегчайшим доступным типом гибкого кабеля или шнура с наименьшей площадью поперечного сечения, указанной в 26.6, остальные приборы испытывают в состоянии поставки.
Съемные части удаляют.
Приборы располагают так, чтобы нагревательная поверхность была горизонтальна и, если нагревательные элементы устанавливают отдельно, то их поверхности должны быть также горизонтальны.
Посуду, имеющую диаметр, равный или не более чем на 25 мм меньший диаметра наибольшего, вписанного в нагревательный элемент конфорок, или зону приготовления круга полностью заполняют холодной водой с солью и помещают в наиболее неблагоприятное положение, не перекрывая нагревательный элемент конфорок или зону приготовления.
Затем в посуду равномерно в течение 1 мин доливают приблизительно 2 л холодной воды с солью.
Примечание 101 - Испытание проводят отдельно на каждом нагревательном элементе конфорок; лоток или другую емкость освобождают каждый раз.
Для приборов, имеющих духовки или грили, испытание утечки проводят, выливая равномерно в течение 1 мин приблизительно 1 л холодной воды с солью на поверхность основания духовки или отделения гриля.
Для приборов, имеющих грилевые пластины, приблизительно 1 л холодной воды с солью равномерно в течение 1 мин выливают на центр поверхности грилевой пластины.
Если регуляторы вмонтированы в нагревательную поверхность прибора, 1 л холодной воды с солью равномерно в течение 1 мин выливают на регуляторы.
Примечание 102 - Раствор соленой воды содержит приблизительно 1% NaCl.
Сразу после данного испытания прибор должен выдержать испытание на электрическую прочность изоляции по 16.3, и осмотром должно быть установлено, что прибор, даже при попадании в него воды, соответствует требованиям настоящего стандарта, в частности отсутствуют следы воды на изоляции, для которой зазоры и пути утечки указаны в разделе 29.
15.3 Дополнение:
Примечание 101 - Если нет возможности поместить весь прибор в камеру влажности, то части, содержащие электрические компоненты, испытывают отдельно, учитывая условия, возникающие в приборе.
15.101 Приборы, снабженные краном, предназначенным для их заполнения или очистки, должны быть сконструированы так, чтобы вода из крана не могла попасть на части, находящиеся под напряжением.
Соответствие проверяют следующим испытанием.
Кран, обеспечивающий подачу воды в прибор, полностью открыт в течение 1 мин при максимальном давлении воды, указанном изготовителем. Опрокидывающиеся и подвижные части, включая крышки, наклонены или установлены в наиболее неблагоприятные положения. Поворотные сливы водяных кранов установлены так, чтобы направить воду на те части, которые дадут самый неблагоприятный результат. Сразу после данного испытания прибор должен выдержать испытание на электрическую прочность изоляции по 16.3.
16 Ток утечки и электрическая прочность
Применяют соответствующий раздел части 1 со следующими дополнениями.
16.1 Дополнение:
Для приборов, оснащенных нагревательными поверхностями из стеклокерамики или подобного материала, испытания по 16.2 и 16.3 проводят с кастрюлей или кастрюлями согласно 3.2.9.
Если более чем одна кастрюля помещены в одну зону приготовления, они электрически связаны между собой.
16.2 Изменение:
Значение допустимого тока утечки для стационарных приборов класса I изложить в новой редакции:
- для приборов, подсоединяемых с помощью шнура и вилки - 1 мА на 1 кВт номинальной потребляемой мощности прибора, но не более 10 мА;
- для других приборов - 1 мА на 1 кВт номинальной потребляемой мощности прибора без ограничения максимального значения.
Дополнение:
Если имеются заземленные металлические части между частями, находящимися под напряжением и поверхностью из стеклокерамики или подобного материала, ток утечки измеряют для каждой зоны приготовления по очереди, при этом только с кастрюлей(ями), соприкасающейся с заземленной металлической частью.
Ток утечки не должен превышать 1 мА на 1 кВт потребляемой мощности контролируемого нагревательного блока.
Если отсутствуют заземленные металлические части между частями, находящимися под напряжением, и поверхностью из стеклокерамики или подобного материала, ток утечки измеряют между частями, находящимися под напряжением, и кастрюлей(ями) для каждой зоны приготовления по очереди, при этом кастрюля(и) не соприкасается с заземленной металлической частью.
Дополнительно ток утечки измеряют между частями, находящимися под напряжением, и испытательным щупом, состоящим из плоского металлического диска диаметром 50 мм. Испытательный щуп вводят во все отверстия на нагревательной поверхности вне зон приготовления, кастрюли остаются на месте.
Для каждого измерения ток утечки не должен превышать 0,25 мА.
16.3 Дополнение:
Если имеются заземленные металлические части между частями, находящимися под напряжением, и поверхностью из стеклокерамики или подобного материала, все кастрюли на нагревательной поверхности электрически связаны между собой и с заземленной металлической частью.
В данном случае испытательное напряжение 1250 В прилагают между частями, находящимися под напряжением, и кастрюлями.
Если отсутствуют заземленные металлические части между частями, находящимися под напряжением, и поверхностью из стеклокерамики или подобного материала, все кастрюли на нагревательной поверхности электрически связаны между собой, но не связаны с заземленной металлической частью.
В данном случае испытательное напряжение 3000 В прилагают между частями, находящимися под напряжением, и кастрюлями.
17 Защита от перегрузки трансформаторов и соединенных с ними цепей
Применяют соответствующий раздел части 1.
18 Износостойкость
Применяют соответствующий раздел части 1 со следующими дополнениями.
18.101 Приборы с индукционными источниками нагрева должны быть сконструированы таким образом, чтобы в процессе нормальной эксплуатации не появлялись отказы, которые могут отрицательно повлиять на соответствие прибора требованиям настоящего стандарта. Изоляция не должна быть повреждена и ослабление креплений не должно происходить.
Соответствие проверяют, включая каждый индукционный источник нагрева 100000 раз, перемещая наименьшую кастрюлю, рекомендованную изготовителем (или соответствующий металлический предмет), на нагревательный элемент конфорок и с него со скоростью 6 раз в минуту (5 с для каждого перемещения). Испытание проводят при наименее благоприятном напряжении согласно разделу 11.
18.102 Приборы с поверхностями из стеклокерамики или подобного материала должны выдерживать тепловую нагрузку, которая может возникнуть при нормальной эксплуатации.
Соответствие проверяют следующим испытанием.
Прибор работает со всеми источниками нагрева с поверхностями из стеклокерамики или подобного материала, включенными одновременно. Неиндукционные источники нагрева работают с кастрюлей, заполненной водой согласно 3.2.9, но размещенной в самом неблагоприятном положении в зоне приготовления. Индукционные источники нагрева работают с пустой кастрюлей.
Регуляторы установлены на максимальную отметку, и прибор работает 500 циклов. Каждый цикл состоит из 10 мин включенного и 20 мин выключенного питания, составляющего 1,1 номинального напряжения. Работу терморегуляторов или термоограничителей во время испытаний не учитывают.
Сразу после последнего периода включения кастрюлю(и) удаляют и нагревательную поверхность подвергают испытанию воздействием струй воды, используя холодной воды с температурой от 10 °C до 15 °C, равномерно льющейся на поверхность в течение 1 мин.
Спустя 15 мин всю оставшуюся воду удаляют с поверхности.
После испытания поверхность не должна иметь трещин или повреждений, а прибор должен выдержать испытание по 16.3.
19 Ненормальный режим работы
Применяют соответствующий раздел части 1 со следующими дополнениями.
19.1 Изменение:
Первый абзац испытательных требований изложить в новой редакции.
Все приборы подвергают испытаниям по 19.2 и 19.3.
Дополнительно приборы с регулятором, ограничивающим температуру во время испытаний по разделу 11, подвергают испытанию по 19.4 и испытанию по 19.5. Однако для данных испытаний нагревательные элементы конфорок с индукционными источниками нагрева не включают, и приборы, имеющие только индукционные источники нагрева, не проверяют.
Приборы с РТС нагревательными элементами также подвергают испытанию по 19.6.
19.2 Дополнение:
Индукционные источники нагрева с поверхностью из стеклокерамики или подобного материала работают с пустой кастрюлей, расположенной в наименее благоприятном положении, достаточном для возбуждения индукционной катушки, даже если она расположена вне пределов зоны приготовления. К индукционным источникам нагрева подают напряжение 0,94 номинального напряжения.
Неиндукционные источники нагрева с поверхностью из стеклокерамики или подобного материала работают без кастрюли или с пустой кастрюлей, в зависимости от того, что наименее благоприятно.
Для всех нагревательных блоков регуляторы устанавливают на максимальную отметку.
Датчики кастрюли не работают.
19.3 Изменение:
Индукционные источники нагрева питаются напряжением 1,06 номинального напряжения.
Если прибор имеет более чем один нагревательный элемент конфорок с неиндукционным источником нагрева, требуется такое напряжение питания, чтобы обеспечить потребляемую мощность, равную 1,15 номинальной потребляемой мощности при нормальном режиме работы.
19.4 Дополнение:
Примечание 101 - Главные контакты выключателя, предназначенного для включения и выключения нагревательного элемента(ов), при нормальной эксплуатации блокируются в положении "Включено". Однако, если два выключателя работают независимо друг от друга или если один выключатель имеет два независимых комплекта главных контактов, эти контакты блокируются в положении "Включено".
19.11.2 Дополнение:
При имитации любого условия неисправности должна быть возможность отключения любого нагревательного элемента конфорок.
Имитация условий неисправности также проводится на приборе с отключенными нагревательными элементами конфорок, работающем при номинальном напряжении. Если в наличии есть встроенный датчик кастрюли, то подходящая посуда размещается на зоне приготовления.
Нагревательные элементы не должны подавать напряжение.
19.12 Дополнение:
Испытание повторяют, если при любых условиях неисправности, указанных в 19.101, безопасность прибора зависит от срабатывания предохранителя, соответствующего требованиям IEC 60127.
19.13 Дополнение:
Если значение превышения температуры стенок выше и ниже нагревательной поверхности превышает 125 К, применяют требование 7.101.
Температура обмотки индукционной катушки не должна превышать значений, указанных в таблице 8 по 19.7.
19.101 Приборы с индукционными источниками нагрева должны быть сконструированы так, чтобы риск возникновения пожара, механической опасности или поражения электрическим током был устранен, насколько возможно, в случае неправильного срабатывания или появления дефекта в устройствах управления или компонентах цепи.
Соответствие проверяют, используя любую форму работы или любой дефект в соответствующих цепях, которые могут ожидаться при нормальной эксплуатации, в то время как прибор работает в условиях нормального режима при номинальном напряжении или при верхнем пределе диапазона номинального напряжения. Только один дефект воспроизводят одновременно, испытания проводят последовательно.
Примечание - Примеры дефектов:
- недействующие выключатели и электромагнитные компоненты;
- отказ запуска двигателей;
- падение напряжения питания, повторное появление напряжения, прерывание напряжения на 0,5 с;
- применение дефектов, указанных в 19.11.
Осмотр прибора и его принципиальных схем в общем случае покажет дефекты, возможные для моделирования.
20 Устойчивость и механические опасности
Применяют соответствующий раздел части 1 со следующими дополнениями.
20.101 Приборы, кроме предназначенных для установки на полу, должны быть достаточно устойчивы, когда двери открыты и подвергаются нагрузке.
Соответствие проверяют следующими испытаниями.
Двери, имеющие внизу горизонтальные петли, открыты, и на поверхность двери осторожно помещают груз так, чтобы центр тяжести находился над геометрическим центром двери. Площадь контакта груза должна быть такой, чтобы не причинять никакого повреждения двери, и его масса должна быть:
- для приборов, обычно устанавливаемых на полу:
- для дверей духовки - 23 кг или максимально возможное значение загрузки, которую можно поместить в духовку в соответствии с инструкциями изготовителя;
- для других дверей - 7 кг;
- для приборов, обычно устанавливаемых на столе или подобной подставке и имеющих двери с нижними горизонтальными петлями, и если край двери в открытом состоянии выступает, как минимум, на 225 мм относительно оси:
- 7 кг или максимально возможное значение загрузки, которую можно поместить в духовку в соответствии с инструкциями изготовителя.
Двери с вертикальными петлями, кроме тех, где нижний уровень духовки расположен над конфоркой, открывают на угол 90° и затем к верхнему краю двери в наиболее удаленной от оси точке осторожно прикладывают вертикально вниз усилие 140 Н.
Это испытание повторяют с дверью, открытой в максимально возможной степени, но не более чем на угол в 180°.
Во время этих испытаний прибор не должен опрокидываться.
Примечание - В качестве груза можно использовать мешок с песком.
Для приборов с более чем одной дверью, испытания проводят отдельно для каждой двери.
Для непрямоугольных дверей усилие прикладывают к точке, наиболее удаленной от оси, к которой такое усилие может быть приложено при нормальной эксплуатации.
Повреждениями и деформациями дверей и осей пренебрегают.
21 Механическая прочность
Применяют соответствующий раздел части 1 со следующими дополнениями.
21.101 Полки должны быть сконструированы так, чтобы они не сваливались с направляющих как в положении задвинутых в духовку, так и выдвинутыми на 50% их глубины. Когда полки выдвинуты на 50%, они не должны опрокидываться.
Соответствие проверяют следующим испытанием.
Противень для выпечки или подобную емкость, имеющую площадь 75% от площади полки, нагружают равномерно распределенной нагрузкой массой 40 кг на каждый квадратный метр площади противня. Полку с загруженным противнем, расположенным посередине направляющих, вставляют в духовку. Перемещают полку, насколько возможно, влево, оставляют ее в этом положении в течение 1 мин и затем вынимают. Снова вставляют полку и перемещают ее максимально вправо, оставляют в этом положении в течение 1 мин и снова вынимают.
Во время этого испытания полка не должна сваливаться с направляющих.
Затем испытание повторяют с полкой, выдвинутой на 50% ее глубины. Посередине выдвинутого переднего края полки вертикально вниз прикладывают дополнительно усилие, равное 10 Н. В процессе испытания полка не должна выпадать.
Примечание - Допускается отклонение на небольшой угол.
21.102 Нагревательные поверхности из стеклокерамики или подобного материала должны выдерживать усилия, возможные при нормальной эксплуатации.
Соответствие проверяют следующим испытанием.
Источники нагрева с поверхностью из стеклокерамики или подобного материала работают в соответствии с условиями раздела 11 до установившегося состояния. После выключения нагревательную поверхность немедленно подвергают следующему испытанию.
Посуду, имеющую плоскую медную или алюминиевую основу диаметром (220 +/- 10) мм с кромками, имеющими радиус закругления не менее 10 мм, однородно заполняют песком или дробью так, чтобы общая масса была 4 кг. Посуду роняют с высоты 150 мм на плоскость.
Испытание выполняют 10 раз на любой части нагревательной поверхности, кроме расстояния 20 мм от кнопок регуляторов.
Затем источники нагрева снова включают в соответствии с условиями раздела 11 до достижения установившегося состояния.
Сразу после выключения равномерно в течение 1 мин льют на поверхность прибора холодную воду с температурой (15 +/- 5) °C в количестве ; спустя 15 мин всю оставшуюся воду удаляют. Затем прибор остывает до окружающей температуры. Затем снова равномерно в течение 1 мин льют холодную воду на поверхность прибора в количестве .
Спустя 15 мин всю оставшуюся воду удаляют и протирают поверхность насухо.
После испытаний поверхность не должна иметь трещин или разломов и прибор должен выдерживать испытание по 16.3.
22 Конструкция
Применяют соответствующий раздел части 1 со следующими дополнениями.
22.101 Для трехфазных приборов, термовыключатели, защищающие цепи с нагревательными элементами, кроме предназначенных для нагревательных элементов конфорок и для двигателей, неожиданный запуск которых может создать опасность, должны быть без самовозврата, автоматически выключающего типа со свободным расцеплением и должны обеспечивать отключение всех полюсов питания.
Для однофазных приборов и для однофазных нагревательных элементов и (или) двигателей, соединенных между одной фазой и нейтралью или между двумя фазами, термовыключатели, защищающие цепи с нагревательными элементами, кроме предназначенных для нагревательных элементов конфорок и для двигателей, неожиданный запуск которых может создать опасность, должны быть без самовозврата, автоматически выключающего типа со свободным расцеплением и должны обеспечивать отключение как минимум одного полюса.
Если термовыключатель без самовозврата является доступным только после удаления деталей при помощи инструмента, автоматически выключающий тип со свободным расцеплением не требуется.
Примечание 1 - Термовыключатели автоматического действия, имеющие автоматическое действие с возвратом в исходное положение оператором, сконструированы так, что автоматическое действие является независимым от манипуляций или положения механизма возврата в исходное положение.
Соответствие проверяют осмотром и испытанием вручную.
Термовыключатели с колбой или капилляром, срабатывающие при испытаниях по разделу 19, должны быть такими, чтобы повреждение капиллярной трубки не повлияло на соответствие 19.3.
Соответствие проверяют осмотром, испытанием вручную или непосредственным повреждением капиллярной трубки.
Примечание 2 - Повреждение капиллярной трубки не должно вызвать ее закупоривания.
22.102 Лампочки, выключатели или кнопки должны быть окрашены только в красный цвет для указания признаков опасности, привлечения внимания или подобных ситуаций.
Соответствие проверяют осмотром.
22.103 Шарнирные крышки должны быть защищены от случайного падения.
Соответствие проверяют осмотром и испытанием вручную.
22.104 Съемные нагревательные элементы конфорок и их опоры должны быть сконструированы так, чтобы обеспечить предотвращение вращения нагревательных элементов конфорок вокруг вертикальной оси и соответственно иметь достаточную устойчивость во всех возможных положениях регулирования опор.
Шарнирные нагревательные элементы конфорок должны быть защищены от случайного падения.
Соответствие проверяют, прилагая усилие 20 Н к нагревательному элементу конфорок, повернутому в наименее благоприятное положение и направление. Нагревательный элемент конфорок не должен вращаться или падать при его возвращении в рабочее положение.
Примечание - Шарнирные нагревательные элементы конфорок, которые могут быть повернуты на угол не менее 100°, даже если они расположены против стены, не подвергают этому испытанию.
22.105 Индукционные источники нагрева должны иметь соответствующее визуальное или звуковое предупреждение, что регулятор находится в позиции "Включено".
Соответствие проверяют осмотром.
Примечание - Позиция кнопки регулирования сама по себе не является соответствующим предупреждением.
22.106 Приборы с индукционными источниками нагрева должны быть сконструированы так, чтобы потребляемая мощность этих источников была ограничена значением 120% от маркированной или указанной потребляемой мощности.
Соответствие проверяют осмотром и измерением.
22.107 Переносные приборы не должны иметь отверстий в нижней части, которые могут позволить маленьким предметам проникнуть и коснуться частей, находящихся под напряжением.
Соответствие проверяют осмотром и измерением расстояния между опорной поверхностью и частями, находящимися под напряжением, через отверстия. Это расстояние должно быть не менее 6 мм. Однако, если прибор оснащен опорами, это расстояние увеличивается до 10 мм при настольном расположении и до 20 мм при напольном расположении.
22.108 Нагревательные элементы конфорок с индукционными нагревательными источниками должны быть сконструированы таким образом, чтобы нагревательный элемент конфорок не работал, если в зону приготовления помещен даже небольшой металлический предмет.
Соответствие проверяют следующим испытанием.
Диск из листа низкоуглеродистой стали толщиной 1,5 мм и диаметром 50 мм располагают плоскостью в самом неблагоприятном положении в зоне приготовления. Регуляторы - на максимальной отметке.
Диск не должен нагреваться.
Примечание - Превышение температуры до 35 К не учитывается.
22.109 В приборах с датчиком кастрюли сигнальная лампа должна указать, когда регулятор нагревательного элемента конфорок не переключен в положение "ВЫКЛ".
Соответствие проверяют осмотром.
23 Внутренняя проводка
Применяют соответствующий раздел части 1 со следующими дополнениями.
23.3 Дополнение:
Когда капиллярная трубка терморегулятора при нормальной эксплуатации подвергается сгибанию, применяется следующее:
- если капиллярная трубка используется как часть внутренней проводки, применяется часть 1;
- если капиллярная трубка является самостоятельной, ее подвергают 1000 изгибов со скоростью, не превышающей 30 изгибов в минуту.
Примечание 101 - Если в любом из вышеупомянутых случаев невозможно переместить подвижную часть прибора с данной скоростью, например из-за массы части, скорость изгибания может быть уменьшена.
После испытания капиллярная трубка не должна иметь никаких признаков повреждений в пределах значений настоящего стандарта и никаких повреждений, ухудшающих дальнейшую эксплуатацию.
Однако, если разрыв капиллярной трубки делает прибор нерабочим, отдельные капиллярные трубки не проверяют и те, которые являются частью внутренней проводки, не осматривают на соответствие требованиям.
Соответствие в этом случае проверяют, разрывая капиллярную трубку.
Примечание 102 - Следует соблюдать осторожность, чтобы гарантировать, что разрыв не закупоривает капиллярную трубку.
24 Компоненты
Применяют соответствующий раздел части 1 со следующим изменением.
24.1.4 Изменение:
- регуляторы мощности:
автоматического действия
100 000
ручного действия
10 000
- термовыключатели с самовозвратом
для тепловыделяющих элементов стеклокерамических конфорок
100 000
для других элементов нагрева
10 000
25 Присоединение к источнику питания и внешние гибкие шнуры
Применяют соответствующий раздел части 1 со следующими дополнениями и изменением.
25.1 Дополнение:
Приборы не должны быть оснащены приборным вводом.
25.3 Дополнение:
Закрепленные приборы и приборы с массой более 40 кг и не оснащенные роликами, колесами или подобными средствами должны быть сконструированы таким образом, чтобы шнур питания мог быть подключен после того, как прибор установлен в соответствии с инструкциями изготовителя.
Разъемы для постоянного подключения кабелей к стационарной проводке могут также подходить для шнуров питания с креплением типа X. В этом случае разделка шнура, соответствующая 25.16, должна соответствовать прибору.
Если прибор оснащен набором разъемов для присоединения гибкого шнура, они должны подходить для шнуров с креплением типа X.
В обоих случаях инструкции должны иметь подробности о шнуре питания.
Присоединение питающего провода конфорок встроенных кухонных плит и встроенных духовок может быть выполнено прежде, чем прибор установлен.
Соответствие требованию проверяют осмотром.
25.7 Изменение:
Вместо указанных типов шнуров питания следует применять:
Шнуры питания должны быть маслостойкими в полихлоропреновой оболочке и не должны быть легче, чем обычный полихлоропреновый или другой шнур в соответствующем синтетическом эластомере (условное обозначение 57 по IEC 60245).
26 Зажимы для внешних проводов
Применяют соответствующий раздел части 1.
27 Средства для заземления
Применяют соответствующий раздел части 1 со следующими дополнениями.
27.2 Дополнение:
Стационарные приборы должны быть оснащены разъемом для присоединения внешних проводов, предназначенных для выравнивания потенциала. Этот разъем должен быть в надежном электрическом контакте со всеми установленными незащищенными металлическими частями прибора и должен обеспечить возможность присоединения проводника, имеющего номинальную площадь поперечного сечения до 10 мм2. Он должен быть расположен в месте, удобном для присоединения крепления провода после установки прибора.
Примечание 101 - Небольшие закрепленные незащищенные металлические части, например таблички с заводским знаком и т.п., не требуют электрического контакта с разъемом.
28 Винты и соединения
Применяют соответствующий раздел части 1.
29 Зазоры, пути утечки и сплошная изоляция
Применяют соответствующий раздел части 1 со следующим дополнением.
29.2 Дополнение:
Микросреда характеризуется степенью загрязнения 3, и изоляция должна иметь сравнительный индекс трекингостойкости (СИТ) не менее 250, если изоляция не защищена или расположена так, что обеспечивается защита от загрязнения при нормальном использовании прибора.
30 Теплостойкость и огнестойкость
Применяют соответствующий раздел части 1 со следующим изменением.
30.2.1 Изменение:
Испытание раскаленной проволокой проводят при температуре 650 °C.
30.2.2 Не применяют.
30.101 Фильтры, если таковые имеются, из неметаллических материалов, предназначенные для поглощения жира, подвергают испытанию раскаленной проволокой, согласно ИСО 9772 для материала класса HBF, если требуется, или они должны иметь классификацию не ниже HB40 по IEC 60695-11-10, за исключением случаев, когда образец имеет толщину такую же, как соответствующая часть в приборе.
Примечание - Может возникнуть необходимость закрепить образец.
31 Стойкость к коррозии
Применяют соответствующий раздел части 1.
32 Радиация, токсичность и подобные опасности
Применяют соответствующий раздел части 1 со следующим изменениями.
Изменение:
Замена примечания:
Примечание 101 - Пределы воздействий магнитных и электрических полей на индукционные источники нагрева - на рассмотрении.
А - чашка
Рисунок 101 - Прибор для испытания действием струи
Приложения
Применяют соответствующие приложения части 1 со следующими дополнениями.
Приложение N
(обязательное)
ИСПЫТАНИЕ НА ТРЕКИНГ
6.3 Дополнение:
Список указанных напряжений дополнить 250 В.
БИБЛИОГРАФИЯ
Применяют соответствующий раздел части 1 со следующими дополнениями.
Дополнение:
IEC 60335-2-42
Household and similar electrical appliances - Safety - Part 2-42: Particular requirements for commercial electric forced convection ovens. Steam cookers and steam-convection ovens
(Электрические приборы бытового и аналогичного назначения. Безопасность. Часть 2-42. Дополнительные требования к промышленным электрическим конвекционным печам, пароварочным аппаратам и пароконвекционным печам)
IEC 60335-2-49
Household and similar electrical appliances - Safety - Part 2-49: Particular requirements for commercial electric hot cupboards
(Электрические приборы бытового и аналогичного назначения. Безопасность. Часть 2-49. Дополнительные требования к промышленным электрическим жарочным шкафам)
IEC 60335-2-90
Household and similar electrical appliances - Safety - Part 2-90: Particular requirements for commercial microwave ovens
(Электрические приборы бытового и аналогичного назначения. Безопасность. Часть 2-90. Дополнительные требования к промышленным микроволновым печам)
ISO 13732-1
Ergonomics of the thermal environment - Methods for the assessment of human responses to contact with surfaces - Part 1: Hot surfaces
(Эргономика температурной среды. Методы оценки реакции человека при контакте с поверхностями. Часть 1. Горячие поверхности)
УДК 641.535
МКС 97.040.20
IDT
Ключевые слова: источник нагрева индукционный, элемент, блок, регулятор, термовыключатель, духовка, конфорка, испытания, инструкции, приборы, мощность потребляемая