Главная // Актуальные документы // Актуальные документы (обновление 2025.03.03-2025.03.29) // ГОСТ (Государственный стандарт)СПРАВКА
Источник публикации
М.: ФГБУ "Институт стандартизации", 2025
Примечание к документу
Документ
вводится в действие с 01.06.2025.
Название документа
"ГОСТ 5802-2024. Межгосударственный стандарт. Растворы строительные. Методы испытаний"
(введен в действие Приказом Росстандарта от 28.12.2024 N 2058-ст)
"ГОСТ 5802-2024. Межгосударственный стандарт. Растворы строительные. Методы испытаний"
(введен в действие Приказом Росстандарта от 28.12.2024 N 2058-ст)
агентства по техническому
регулированию и метрологии
от 28 декабря 2024 г. N 2058-ст
МЕЖГОСУДАРСТВЕННЫЙ СТАНДАРТ
РАСТВОРЫ СТРОИТЕЛЬНЫЕ
МЕТОДЫ ИСПЫТАНИЙ
Mortars. Test methods
ГОСТ 5802-2024
Дата введения
1 июня 2025 года
Цели, основные принципы и общие правила проведения работ по межгосударственной стандартизации установлены
ГОСТ 1.0 "Межгосударственная система стандартизации. Основные положения" и
ГОСТ 1.2 "Межгосударственная система стандартизации. Стандарты межгосударственные, правила и рекомендации по межгосударственной стандартизации. Правила разработки, принятия, обновления и отмены"
1 РАЗРАБОТАН Научно-исследовательским, проектно-конструкторским и технологическим институтом бетона и железобетона им. А.А. Гвоздева (НИИЖБ им. А.А. Гвоздева) - Акционерного общества "Научно-исследовательский центр "Строительство" (АО "НИЦ "Строительство")
2 ВНЕСЕН Техническим комитетом по стандартизации ТК 465 "Строительство"
3 ПРИНЯТ Межгосударственным советом по стандартизации, метрологии и сертификации (протокол от 27 декабря 2024 г. N 180-П)
За принятие проголосовали:
Краткое наименование страны по МК (ИСО 3166) 004-97 | Код страны по МК (ИСО 3166) 004-97 | Сокращенное наименование национального органа по стандартизации |
Азербайджан | AZ | Азстандарт |
Армения | AM | ЗАО "Национальный орган по стандартизации и метрологии" Республики Армения |
Киргизия | KG | Кыргызстандарт |
Россия | RU | Росстандарт |
Таджикистан | TJ | Таджикстандарт |
Узбекистан | UZ | Узбекское агентство по техническому регулированию |
4
Приказом Федерального агентства по техническому регулированию и метрологии от 28 декабря 2024 г. N 2058-ст межгосударственный стандарт ГОСТ 5802-2024 введен в действие в качестве национального стандарта Российской Федерации с 1 июня 2025 г.
Информация о введении в действие (прекращении действия) настоящего стандарта и изменений к нему на территории указанных выше государств публикуется в указателях национальных стандартов, издаваемых в этих государствах, а также в сети Интернет на сайтах соответствующих национальных органов по стандартизации.
В случае пересмотра, изменения или отмены настоящего стандарта соответствующая информация будет опубликована на официальном интернет-сайте Межгосударственного совета по стандартизации, метрологии и сертификации в каталоге "Межгосударственные стандарты"
Настоящий стандарт распространяется на строительные растворные смеси (далее - растворные смеси) и строительные растворы (далее - растворы), применяемые во всех видах строительства, изготовленные на минеральных вяжущих (цемент, известь, гипс, глина и др., в том числе смешанные вяжущие), жидком стекле, с заполнителями и наполнителями (песок, зола-уноса, бентонит, кварцевая мука и др.) и химическими добавками или без них.
Настоящий стандарт устанавливает методы определения следующих свойств:
- подвижности, средней плотности, расслаиваемости, водоудерживающей способности, водоотделения растворных смесей;
- прочности (далее - прочность) на сжатие, средней плотности, влажности, водопоглощения, морозостойкости растворов.
В настоящем стандарте использованы нормативные ссылки на следующие межгосударственные стандарты:
ГОСТ OIML R 76-1 Государственная система обеспечения единства измерений. Весы неавтоматического действия. Часть 1. Метрологические и технические требования. Испытания
ГОСТ 310.4 Цементы. Методы определения предела прочности при изгибе и сжатии
ГОСТ 450 Кальций хлористый технический. Технические условия
ГОСТ 2184 Кислота серная техническая. Технические условия
ГОСТ 6613 Сетки проволочные тканые с квадратными ячейками. Технические условия
ГОСТ 10180-2012 Бетоны. Методы определения прочности по контрольным образцам
ГОСТ 11109 Марля хлопчатобумажная бытовая. Общие технические условия
ГОСТ 12026 Бумага фильтровальная лабораторная. Технические условия
ГОСТ 12730.0-2020 Бетоны. Общие требования к методам определения плотности, влажности, водопоглощения, пористости и водонепроницаемости
ГОСТ 22685 Формы для изготовления контрольных образцов бетона. Технические условия
ГОСТ 23683 Парафины нефтяные твердые. Технические условия
ГОСТ 25336 Посуда и оборудование лабораторные стеклянные. Типы, основные параметры и размеры
ГОСТ 28013 Растворы строительные. Общие технические условия
ГОСТ 28570-2019 Бетоны. Методы определения прочности по образцам, отобранным из конструкций
ГОСТ 28840 Машины для испытания материалов на растяжение, сжатие и изгиб. Общие технические требования
Примечание - При пользовании настоящим стандартом целесообразно проверить действие ссылочных стандартов и классификаторов на официальном интернет-сайте Межгосударственного совета по стандартизации, метрологии и сертификации (www.easc.by) или по указателям национальных стандартов, издаваемым в государствах, указанных в предисловии, или на официальных сайтах соответствующих национальных органов по стандартизации. Если на документ дана недатированная ссылка, то следует использовать документ, действующий на текущий момент, с учетом всех внесенных в него изменений. Если заменен ссылочный документ, на который дана датированная ссылка, то следует использовать указанную версию этого документа. Если после принятия настоящего стандарта в ссылочный документ, на который дана датированная ссылка, внесено изменение, затрагивающее положение, на которое дана ссылка, то это положение применяется без учета данного изменения. Если ссылочный документ отменен без замены, то положение, в котором дана ссылка на него, применяется в части, не затрагивающей эту ссылку.
В настоящем стандарте применены термины по
ГОСТ 28013, а также следующие термины с соответствующими определениями:
3.1 проба растворной смеси: Объем растворной смеси, на которой проводят экспериментальное определение свойств или из которой изготавливают контрольные образцы.
3.2 проба раствора: Объем затвердевшего материала, отобранного из конструкции, из которого изготавливают серию(и) контрольных образцов для последующих испытаний.
3.3 подвижность растворной смеси: Способность растворной смеси деформироваться под действием приложенных к ней внешних сил по установленной методике.
4.1 Определение подвижности, средней плотности растворной смеси (только для легких растворных смесей) и прочности на сжатие раствора является обязательным для всех случаев применения. Другие свойства растворных смесей и растворов определяют в случаях, если они заданы проектной или организационно-технологической документацией.
4.2 Пробы растворной смеси для испытания и (или) изготовления контрольных образцов отбирают в пределах срока ее сохраняемости (по
ГОСТ 28013).
4.3 Пробы следует отбирать по окончании процесса перемешивания растворной смеси, при выгрузке из смесителя и (или) на месте ее применения при выгрузке из транспортного средства или из транспортировочной тары.
Пробу отбирают не менее чем из трех мест с различной глубины, объединяют и перемешивают. Объем пробы должен составлять не менее 4000 см3.
4.4 Отобранную пробу перед проведением испытания дополнительно перемешивают вручную в течение 30 с. Растворные смеси, содержащие воздухововлекающие, пено- и газообразующие добавки, перед испытанием дополнительно не перемешивают.
4.5 Испытание растворной смеси начинают не позднее чем через 10 мин после отбора пробы.
4.6 Контрольные образцы для испытаний раствора изготавливают из растворной смеси или из проб раствора, отобранных из конструкций.
4.7 Форма и размеры контрольных образцов, изготовленных из растворной смеси, в зависимости от вида испытания, должны соответствовать приведенным в таблице 1.
Вид испытания | Форма контрольного образца | Номинальные геометрические размеры образца (базовые размеры), мм <1> |
Определение прочности на сжатие <2> | Куб | Длина ребра 70,0; 70,7 |
Определение прочности на растяжение при изгибе (по ГОСТ 310.4) | Призма квадратного сечения | |
Определение усадки | Призма квадратного сечения | 70 x 70 x 280 40 x 40 x 160 |
Определение средней плотности, влажности, водопоглощения, морозостойкости | Куб | Длина ребра 70,0; 70,7 |
<1> Номинальный размер принимают в зависимости от имеющихся в наличии форм, изготовленных по ГОСТ 22685. <2> Допускается для определения прочности на сжатие использовать образцы-призмы номинальным размером 40 x 40 x 70 мм с передачей нагрузки через нажимные пластинки по методике ГОСТ 310.4. <3> Требования к формам для изготовления образцов размером 40 x 40 x 160 мм принимают по ГОСТ 310.4. |
При производственном контроле прочности раствора переходный коэффициент от образцов-призм к образцам базового размера и формы (кубам) определяют по методике, приведенной в ГОСТ 10180-2012
(приложение Л). В иных случаях, когда возможность экспериментального установления переходного коэффициента ограничена, допускается принимать его равным 1,0. Для арбитражных случаев, если оценки результатов испытаний по образцам-кубам и образцам-призмам противоречат друг другу, принимают результаты испытаний по контрольным образцам-кубам.
При технических обследованиях зданий в целях определения расчетного сопротивления каменной кладки марку прочности раствора на сжатие определяют по
приложению А.
4.8 Отклонение фактических размеров изготовленных контрольных образцов, указанных в
таблице 1, по длине ребер не должно превышать 2 мм от номинальных геометрических размеров. Отклонения от плоскостности опорных поверхностей образцов-кубов и образцов-призм, предназначенных для определения прочности, не должны превышать 0,1 мм на 100 мм длины.
4.9 Типоразмер контрольных образцов раствора, отобранных из конструкций и предназначенных для определения прочности (испытаний), принимают с учетом следующих требований:
- образцы <1>, отобранные из стяжки пола, должны иметь толщину не менее половины сечения стяжки, если иное не предусмотрено программой испытаний;
--------------------------------
<1> Испытания раствора в образцах для слоя толщиной менее 40 мм выполняют в Российской Федерации по
ГОСТ Р 70307-2022 "Бетоны мелкозернистые и растворы строительные. Методы определения прочности в тонкостенных и тонкослойных конструкциях".
- для растворов кладочных швов и штукатурных покрытий толщина образца должна составлять не менее 70% толщины кладочного шва или слоя штукатурного покрытия <2>.
--------------------------------
<2> При наличии армирующей сетки в стяжке пола или штукатурном покрытии допускается принимать иную толщину образцов, принятую в программе испытаний (в Российской Федерации - по
ГОСТ Р 70307-2022 "Бетоны мелкозернистые и растворы строительные. Методы определения прочности в тонкостенных и тонкослойных конструкциях").
Допускается использование других типоразмеров образцов и (или) схем приложения нагрузки с предварительно установленными масштабными или переходными коэффициентами по методике, приведенной в ГОСТ 10180-2012
(приложение Л), или по методике, приведенной в ГОСТ 28570-2019
(приложение А).
4.10 Перед изготовлением образцов, указанных в
таблице 1, внутренние поверхности форм покрывают тонким слоем разделительной смазки.
4.11 После изготовления все образцы маркируют. Маркировка должна быть несмываемой и не должна повреждать образец.
4.12 При производственном контроле, осуществляемом на строительной площадке, для определения прочности раствора в конструкции по контрольным образцам в условиях положительных температур образцы следует хранить в инвентарном ящике с сетчатыми стенками и непромокаемым покрытием.
При хранении необходимо обеспечивать зазор между образцами не менее 5 мм.
4.13 В зимних условиях для определения прочности раствора в конструкции по контрольным образцам отбор проб и изготовление образцов следует проводить на месте его применения. Образцы хранят в тех же температурно-влажностных условиях, в которых находится раствор, уложенный в конструкцию.
4.14 Перед испытанием образцов измеряют их геометрические размеры штангенциркулем с ценой деления (дискретностью показаний) не более 0,1 мм. В протоколе испытаний приводят значения с округлением результата измерений до 0,1 мм.
Примечание - Максимальный геометрический размер образцов-призм допускается приводить с округлением до 1 мм.
4.15 Все применяемые средства измерений должны быть поверены или калиброваны <1>.
--------------------------------
<1> В Российской Федерации калибровка средств измерений предусмотрена для случаев, если используемое средство измерений не внесено в государственный реестр средств измерений.
4.16 Необходимо, чтобы температура помещения, в котором проводят испытания, была (20 +/- 5) °C, относительная влажность воздуха - не менее 50%.
4.17 Лабораторное оборудование, применяемое для испытания растворных смесей и растворов, должно быть изготовлено из стали, стекла или пластмассы.
Применение изделий из алюминия, оцинкованной стали или дерева не допускается.
4.18 Результаты испытаний заносят в журнал испытаний.
5 Определение подвижности растворной смеси
5.1 Характеристика подвижности растворной смеси
Подвижность растворной смеси характеризуется глубиной погружения в нее эталонного конуса, измеряемой в сантиметрах.
5.2 Оборудование
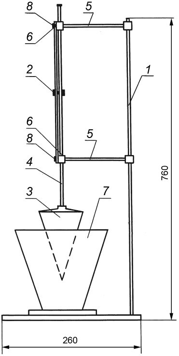
5.2.1 Для проведения испытаний применяют:
- прибор для определения подвижности (см.
рисунок 1);
- стальной стержень диаметром 12 мм, длиной 300 мм;
- кельму.
5.2.2 Эталонный конус прибора изготавливают из листовой стали или из пластмассы со стальным наконечником. Необходимо, чтобы угол при вершине составлял 30° +/- 30'.
Масса эталонного конуса со штангой должна быть (300 +/- 2) г.
1 - штатив; 2 - шкала; 3 - эталонный конус;
4 - штанга; 5 - держатели; 6 - направляющие;
7 - сосуд для растворной смеси; 8 - стопорный винт
Рисунок 1 - Прибор для определения
подвижности растворной смеси
5.3 Подготовка к испытаниям
Все соприкасающиеся с растворной смесью поверхности конуса и сосуда перед испытанием следует очистить от загрязнений и протереть влажной тканью.
5.4 Проведение испытаний
Величину погружения конуса определяют в следующей последовательности.
5.4.1 Прибор устанавливают на горизонтальной поверхности и проверяют свободу скольжения штанги 4 в направляющих 6.
5.4.2 Сосуд 7 наполняют растворной смесью на 10 мм ниже краев и уплотняют путем штыкования стальным стержнем 25 раз и пятикратным постукиванием сосуда о стол с высоты 10 - 20 мм, после чего сосуд ставят на площадку прибора.
5.4.3 Острие конуса 3 приводят в соприкосновение с поверхностью раствора в сосуде, закрепляют штангу конуса стопорным винтом 8 и делают первый отсчет по шкале 2. Затем отпускают стопорный винт.
Конус должен погружаться в растворную смесь свободно. Второй отсчет снимают по шкале через 1 мин после начала свободного погружения конуса.
5.4.4 Глубину погружения конуса, измеряемую по шкале, определяют как разность между первым и вторым отсчетами.
5.5 Обработка результатов
5.5.1 Глубину погружения конуса определяют по результатам двух испытаний, каждое из которых проводят на отдельной пробе растворной смеси одного замеса. Рассчитывают среднеарифметическое значение двух результатов и округляют до 0,1 см.
5.5.2 Разница между результатами испытаний не должна превышать 2 см. Если разница превышает 2 см, испытания повторяют на новой пробе растворной смеси и вычисляют среднее значение по двум наиболее близким результатам.
5.5.3 Результаты испытаний заносят в журнал по форме, приведенной в
таблице Б.1.
6 Определение средней плотности растворной смеси
6.1 Характеристики средней плотности растворной смеси
Средняя плотность растворной смеси характеризуется отношением массы уплотненной растворной смеси к ее объему.
Для проведения испытаний применяют:
- стальной сосуд емкостью 1000 см
3 (см.
рисунок 2).
Примечание - Допускается применение лабораторной измерительной емкости объемом не менее 1 л;
- лабораторные весы по
ГОСТ OIML R 76-1 высокого (II) класса точности с ценой деления (дискретностью показаний) не более 0,1 г;
- стальной стержень диаметром 12 мм, длиной 300 мм;
- кельму или стальную полосу с ровным краем (например, стальная линейка).
Рисунок 2 - Стальной цилиндрический сосуд
6.3 Подготовка к испытаниям и проведение испытаний
6.3.1 Перед испытанием сосуд предварительно взвешивают и фиксируют результат. Затем наполняют растворной смесью с избытком.
6.3.2 Растворную смесь уплотняют путем штыкования стальным стержнем 25 раз и пятикратным постукиванием сосуда о стол с высоты 10 - 20 мм.
6.3.3 После уплотнения избыток растворной смеси срезают кельмой или металлической полосой с ровным краем. Поверхность заглаживают вровень с краями мерного сосуда. Стенки мерного сосуда очищают влажной тканью от попавшей на них растворной смеси. Затем мерный сосуд с растворной смесью взвешивают и фиксируют результат.
6.4 Обработка результатов
6.4.1 Среднюю плотность растворной смеси

, г/см
3 вычисляют по формуле

, (1)
где m - масса мерного сосуда с растворной смесью, г;
m1 - масса мерного сосуда без смеси, г;
V - объем мерного сосуда, см3.
6.4.2 За среднюю плотность растворной смеси принимают среднеарифметическое значение результатов двух испытаний смеси из одной пробы, отличающихся между собой не более чем на 5% от меньшего значения. При большем расхождении результатов проводят повторные испытания на новой пробе растворной смеси.
6.4.3 Результаты испытаний заносят в журнал по форме
приложения Б.
7 Определение расслаиваемости растворной смеси
7.1 Характеристика расслаиваемости растворной смеси
Расслаиваемость растворной смеси, характеризующую ее связность при динамическом воздействии, определяют путем сопоставления содержания массы заполнителя в нижней и верхней частях свежеизготовленного образца размерами 150 x 150 x 150 мм.
7.2.1 Для проведения испытаний применяют:
- формы для изготовления контрольных образцов-кубов размерами 150 x 150 x 150 мм, соответствующие
ГОСТ 22685;
- лабораторную виброплощадку по
7.2.2;
- лабораторные весы по
6.2;
- сушильный шкаф, обеспечивающий поддержание заданного температурного режима от 50 °C до 110 °C, с неравномерностью распределения температуры в рабочей камере не более +/- 5 °C;
- металлическое сито по
ГОСТ 6613 с ячейкой 0,16 мм;
- металлический противень;
- стальной стержень диаметром 12 мм, длиной 300 мм.
7.2.2 Лабораторная виброплощадка в загруженном состоянии должна обеспечивать вертикальные колебания частотой (2900 +/- 100) в минуту и амплитудой (0,5 +/- 0,05) мм. Виброплощадка должна иметь устройство, обеспечивающее при вибрировании жесткое крепление формы с растворной смесью к поверхности стола.
7.3 Проведение испытаний
7.3.1 Растворную смесь укладывают и уплотняют по
6.3.2 в форме размером 150 x 150 x 150 мм. После этого уплотненную растворную смесь в форме подвергают вибрационному воздействию на лабораторной виброплощадке в течение 1 мин.
7.3.2 После окончания вибрационного воздействия (по
7.3.1) из верхнего слоя высотой (50 +/- 5) мм от верха формы отбирают растворную смесь и заполняют ею мерный сосуд объемом 1 л. Растворную смесь в мерном сосуде уплотняют на виброплощадке в течение 10 сек, и заглаживают вровень с верхними кромками. Отобранную пробу из мерного сосуда перекладывают на сито.
Далее удаляют из формы часть растворной смеси с таким расчетом, чтобы в форме остался нижний слой растворной смеси высотой (50 +/- 5) мм. Оставшейся в форме растворной смесью нижнего слоя снова заполняют мерный сосуд, уплотняют на виброплощадке в течение 10 сек и заглаживают вровень с верхним краем.
7.3.3 Отобранные пробы из верхнего и нижнего слоев растворной смеси раздельно подвергают мокрому рассеву на сите с отверстиями 0,16 мм.
7.3.4 При мокром рассеве каждую из проб растворной смеси отдельными порциями укладывают на сито и промывают струей чистой воды до полного удаления из пробы вяжущего, пока на сите не останется только заполнитель. Промывку считают законченной, когда из сита вытекает чистая вода.
7.3.5 Отмытые порции заполнителя по каждой пробе переносят на чистый противень, высушивают до постоянной массы (при температуре 105 °C - 110 °C) и взвешивают. Результаты фиксируют.
7.4 Обработка результатов
7.4.1 Показатель расслаиваемости П растворной смеси, %, вычисляют по формуле

, (2)
где mв - масса заполнителя в верхнем слое, г;
mн - масса заполнителя в нижнем слое, г.
7.4.2 Показатель расслаиваемости П в пробе растворной смеси вычисляют с округлением до 0,1% как среднеарифметическое значение результатов двух определений расслаиваемости в одной пробе растворной смеси, отличающихся между собой не более чем на 20% от меньшего значения. При расхождении результатов двух определений более 20% испытания повторяют на новой пробе растворной смеси. За показатель расслаиваемости в этом случае принимают среднеарифметическое значение двух ближайших результатов.
7.4.3 Результаты испытаний необходимо занести в журнал, в котором указывают:
- дату испытания;
- место отбора пробы;
- марку и вид раствора;
- результаты частных определений;
- среднеарифметическое значение результатов определений.
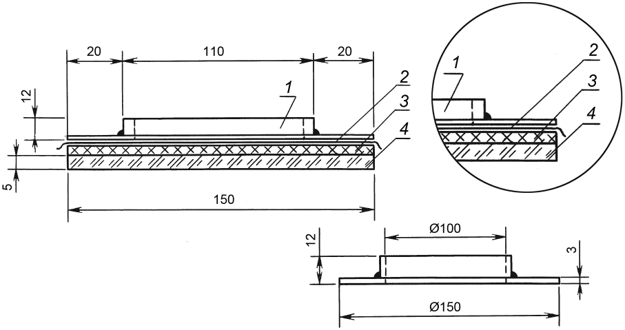
8 Определение водоудерживающей способности растворной смеси (для кладочных и штукатурных растворов)
8.1 Определение водоудерживающей способности
Водоудерживающую способность для кладочных и штукатурных растворных смесей определяют путем испытания слоя растворной смеси толщиной 12 мм, уложенного на фильтровальную бумагу.
8.2 Оборудование
Для проведения испытаний применяют:
- листы фильтровальной бумаги размером 150 x 150 мм по
ГОСТ 12026;
- прокладки из марлевой ткани размером 250 x 350 мм по
ГОСТ 11109;
- металлическое кольцо с внутренним диаметром 100 мм и высотой 12 мм;
- стеклянную пластинку размером 150 x 150 мм;
- лабораторные весы по
ГОСТ OIML R 76-1 высокого (II) касса точности с ценой деления (дискретность показаний) не более 0,01 г;
- прибор для определения водоудерживающей способности растворной смеси (см.
рисунок 3).
8.3 Подготовка к испытанию и проведение испытаний
8.3.1 Перед испытанием 10 листов фильтровальной бумаги взвешивают, укладывают на стеклянную пластинку, сверху укладывают прокладку из марлевой ткани, устанавливают металлическое кольцо и еще раз взвешивают.
8.3.2 Тщательно перемешанную растворную смесь (в случае наличия воздухововлекающих пено- и газообразующих добавок - не перемешивают) укладывают вровень с краями металлического кольца, взвешивают и оставляют на 10 мин (+/- 15 с).
8.3.3 Металлическое кольцо с раствором снимают вместе с марлей, не допуская попадания растворной смеси на фильтровальную бумагу. Фильтровальную бумагу взвешивают и фиксируют показания.
1 - металлическое кольцо с раствором; 2 - слой марлевой
ткани; 3 - 10 слоев фильтровальной бумаги;
4 - стеклянная пластина
Рисунок 3 - Схема прибора для определения
водоудерживающей способности растворной смеси
Примечание - Рекомендуемый размер наружного диаметра кольца - 110 мм.
8.4 Обработка результатов
8.4.1 Водоудерживающую способность растворной смеси V определяют выраженным в процентах содержанием воды в пробе до и после испытания по формуле

, (3)
где m1 - масса фильтровальной бумаги до испытания, г;
m2 - масса фильтровальной бумаги после испытания, г;
m3 - масса установки без растворной смеси, г;
m4 - масса установки с растворной смесью, г.
8.4.2 Водоудерживающую способность растворной смеси вычисляют с округлением до 1% как среднеарифметическое значение результатов двух определений водоудерживающей способности в образцах из одной пробы растворной смеси, отличающихся между собой не более чем на 20% от меньшего значения.
При большем расхождении результатов определение плотности повторяют на новой пробе растворной смеси.
8.4.3 Результаты испытаний необходимо занести в журнал, в котором указывают:
- дату испытаний;
- место отбора пробы;
- марку и вид растворной смеси;
- результаты частных определений и среднеарифметическое значение результатов.
9 Определение прочности раствора на сжатие
9.1 Отбор проб и общие технические требования к методу определения прочности раствора на сжатие принимают по
разделу 4.
9.2 Прочность раствора на сжатие определяют на образцах по
4.7. На каждый срок испытания изготавливают серию не менее чем из трех образцов.
9.3 Оборудование
Для проведения испытаний применяют:
- формы с дном для изготовления образцов-кубов с номинальным размером ребра 70,0 или 70,7 мм, соответствующие требованиям
ГОСТ 22685;
- формы для изготовления образцов с номинальным размером 40 x 40 x 160 мм по
ГОСТ 310.4;
- лабораторные весы по
6.2;
- штангенциркуль по
4.14;
- стальной стержень диаметром 12 мм, длиной 300 мм;
- шпатель (см. рисунок 4).
Рисунок 4 - Шпатель для уплотнения растворной смеси в форме
Примечание - Указанная на рисунке длина шпателя с учетом рукоятки является рекомендуемой.
9.4 Подготовка к испытанию
9.4.1 Растворную смесь подвижностью до 5 см укладывают в форму слоями в два приема (с избытком). Уплотнение каждого из слоев растворной смеси в каждом отделении формы проводят 12 нажимами (торцевой частью) шпателя: шесть нажимов вдоль одной стороны и шесть нажимов - вдоль стороны, перпендикулярной первой.
9.4.2 Растворную смесь подвижностью 5 см и более укладывают в форму в один прием (с избытком) и уплотняют ее путем штыкования стальным стержнем 25 раз по концентрической окружности от центра к краям.
Избыток растворной смеси срезают вровень с краями формы кельмой или стальной полосой с ровным краем, смоченной водой, заглаживают поверхность и маркируют.
9.4.3 Формы, заполненные растворной смесью, приготовленной на гидравлических вяжущих, выдерживают до распалубки в камере нормального твердения по
ГОСТ 10180, а формы, заполненные растворной смесью, приготовленной на воздушных вяжущих - в помещении при температуре (20 +/- 2) °C и относительной влажности (65 +/- 15)%.
9.4.4 Образцы освобождают из форм не ранее чем через 22 ч и не позднее трех суток после формования.
Образцы из растворных смесей, приготовленных на шлакопортландцементах, пуццолановых портландцементах с добавками - замедлителями схватывания, а также образцы зимней кладки, хранившиеся на открытом воздухе, освобождают из форм не менее чем через 2 сут.
9.4.5 После освобождения из форм образцы (кроме образцов зимней кладки) следует хранить при температуре (20 +/- 2) °C.
При этом необходимо соблюдать следующие условия:
- образцы из растворных смесей, приготовленных на гидравлических вяжущих в течение первых 3 сут после формования должны храниться в камере нормального твердения по
ГОСТ 10180, а оставшееся до испытания время - в помещении при относительной влажности воздуха (65 +/- 15)% (для растворов, эксплуатируемых при сухом и нормальном режимах по нормативным документам в области тепловой защиты зданий <1>) или в воде (для растворов, эксплуатируемых при влажном и мокром режимах по нормативным документам в области тепловой защиты зданий);
--------------------------------
<1> В Российской Федерации действует
СП 50.13330.2012 "СНиП 23-02-2003 Тепловая защита зданий".
- образцы из растворных смесей, приготовленных на воздушных вяжущих, следует хранить в помещении при относительной влажности воздуха (65 +/- 15)%.
При отсутствии камеры нормального твердения допускается хранение образцов из растворных смесей на гидравлических вяжущих, во влажном песке или опилках при температуре (20 +/- 2) °C.
При хранении в помещении лаборатории образцы должны быть защищены от сквозняков, непосредственного нагрева отопительными приборами и т.п., укрыты пленкой.
9.4.6 Образцы, хранившиеся в воде, необходимо извлечь из нее не ранее чем за 10 мин до испытания и протереть влажной тканью.
Образцы, хранившиеся в воздушно-влажностных условиях, перед испытаниями должны быть очищены волосяной щеткой.
9.4.7 До испытаний образцы подвергают внешнему осмотру, устанавливают наличие дефектов в виде околов ребер, раковин, каверн, признаков расслоений, недоуплотнений и инородных включений.
Образцы, имеющие трещины, околы ребер глубиной более 3 мм, раковины диаметром 3 мм и глубиной более 2 мм (кроме растворов крупнопористой структуры), а также признаки расслоения и недоуплотнения, испытанию не подлежат. Наплывы раствора на ребрах опорных граней образца необходимо удалить.
Проверяют плоскостность опорных граней образцов (см.
4.8), которая не должна отклоняться более чем 0,1 мм на длине 100 мм. Образцы, не удовлетворяющие этому требованию, бракуют.
Примечание - Допускается грани образцов, не хранившихся в воде, выравнивать способом шлифования или нанесением выравнивающего состава (по
приложению Б ГОСТ 28570-2019) слоем не более 2 мм для одной грани, обеспечивающими прочность к моменту испытаний не менее ожидаемой прочности раствора образца.
9.4.8 Перед испытанием на сжатие определяют массу образцов на весах и измеряют размеры образцов штангенциркулем в том положении, в котором их будут испытывать (см.
9.5.2).
9.4.9 Результаты выполненных измерений и осмотра образцов записывают в журнале испытаний, рекомендуемая форма которого приведена в
таблице Б.5.
9.4.10 При возведении кладки в зимних условиях на каждый срок испытания и для каждого контролируемого объема кладки (с учетом требований поэтажного плана нагрузок) изготавливают по две серии контрольных образцов. В целях проверки возможности передачи нагрузки от возводимых выше конструкций, одну серию образцов испытывают после их оттаивания при температуре (20 +/- 2) °C. Время оттаивания должно соответствовать приведенному в таблице 2.
Таблица 2
Температура замораживания, °C | Продолжительность оттаивания, ч |
До минус 20 | 3 |
До минус 30 | 4 |
До минус 40 | 5 |
До минус 50 | 6 |
Для определения потенциальной прочности раствора оставшуюся серию образцов испытывают после их оттаивания и последующего 28-суточного твердения при температуре (20 +/- 2) °C.
9.5.1 Перед началом испытаний каждого образца проверяют отсутствие на плитах пресса частиц раствора, оставшихся после предыдущего испытания.
Все образцы одной серии необходимо испытывать в расчетном возрасте в течение не более 1 ч.
9.5.2 Образец устанавливают на нижнюю плиту пресса центрально относительно оси верхнего шарнирного устройства таким образом, чтобы воспринимающими сжимающую нагрузку (опорными) служили грани образца, соприкасавшиеся с боковыми стенками формы при его изготовлении.
9.5.3 Шкалу силоизмерителя испытательной машины или пресса выбирают исходя из условия, что ожидаемое значение разрушающей нагрузки образца должно быть в интервале от 20% до 80% от максимальной нагрузки, допускаемой выбранной шкалой. Тип (марку) испытательной машины (пресса) и выбранную шкалу силоизмерителя записывают в журнале испытаний.
9.5.4 Нагрузка на образец должна возрастать непрерывно с установленной начальной скоростью нагружения (0,6 +/- 0,4) МПа в секунду до его разрушения.
Достигнутое в процессе испытания образца максимальное усилие принимают за величину разрушающей нагрузки.
9.5.5 Разрушенный образец необходимо подвергнуть внешнему осмотру для оценки характера разрушения образца в соответствии с примерами, представленными в ГОСТ 10180-2012
(приложение Е), а также выявить возможные дефекты структуры раствора:
- наличие раковин и каверн во внутренней структуре образца;
- наличие следов расслоения, зерен заполнителя размером больше максимального номинального значения для данного вида раствора, комков, образовавшихся в результате непромеса и т.п.
Результаты испытаний образцов, разрушившихся по одной из неудовлетворительных схем либо имеющих дефекты структуры раствора, при определении средней прочности раствора в серии испытаний не учитывают, а в журнале отмечают наличие дефектов и причины отбраковки результатов испытаний. Среднюю прочность в серии рассчитывают не менее чем по двум образцам.
Примечание - Результаты испытания образцов, имеющих дефекты и (или) разрушившихся по одной из неудовлетворительных схем, могут быть учтены в результатах испытаний, если фактические результаты испытаний превышают значение проектной марки.
9.6 Обработка результатов
9.6.1 Предел прочности раствора на сжатие
R, МПа, вычисляют для каждого образца с округлением до 0,1 МПа по формуле

, (4)
где P - разрушающая нагрузка, Н;
A - площадь рабочего сечения образца, мм2.
Площадь рабочего сечения образца A определяют как среднеарифметическое значение измерений площадей двух противоположных опорных граней образца.
9.6.2 Предел прочности раствора на сжатие вычисляют как среднее арифметическое значение результатов испытаний образцов серии.
9.6.3 Результаты испытаний заносят в журнал, форма которого приведена в
приложении Б.
10 Определение средней плотности раствора
10.1 Среднюю плотность раствора определяют испытанием образцов-кубов с номинальным размером по
4.7, изготовленных из растворной смеси рабочего состава.
При производственном контроле допускается определять среднюю плотность раствора в образцах, предназначенных для определения прочности.
Допускается определять плотность раствора в пробах, отобранных из конструкций, в виде пластин размерами в плане не менее 50 x 50 мм.
10.2 Образцы изготавливают и испытывают сериями. Серия должна состоять не менее чем из трех образцов.
10.3 Оборудование
Для проведения испытания применяют:
- лабораторные весы по
6.2;
- штангенциркуль по
4.14;
- безводный хлористый кальций по
ГОСТ 450 или серную кислоту плотностью 1,84 г/см
3 по
ГОСТ 2184;
10.4 Подготовка к испытанию
10.4.1 Среднюю плотность раствора определяют испытанием образцов в состоянии естественной влажности или в одном из влажностных состояний, заданных проектными требованиями: сухом, воздушно-сухом, нормальном, водонасыщенном.
10.4.2 При определении средней плотности раствора в состоянии естественной влажности образцы испытывают непосредственно после их отбора или хранят до начала испытаний в паронепроницаемой упаковке или герметичной таре, объем которой превышает объем уложенных в нее образцов не более чем в два раза.
10.4.3 Среднюю плотность раствора при нормируемом влажностном состоянии определяют испытанием образцов раствора, имеющих нормируемую или произвольную влажность с последующим пересчетом полученных результатов на нормированную влажность по
формуле (6).
10.4.4 При определении средней плотности раствора в сухом состоянии образцы высушивают до постоянной массы в соответствии с
11.5.
10.4.5 При определении средней плотности раствора в воздушно-сухом состоянии образцы перед испытанием выдерживают не менее 25 сут в помещении при температуре (20 +/- 5) °C и относительной влажности воздуха (50 +/- 20)%.
10.4.6 При определении средней плотности раствора в нормальных влажностных условиях образцы хранят 28 сут в камере нормального твердения, эксикаторе или другой герметичной емкости при относительной влажности воздуха не менее 90% и температуре (20 +/- 2) °C.
10.4.7 При определении средней плотности раствора в водонасыщенном состоянии образцы насыщают водой в соответствии с
12.4 после их выдерживания (хранения) по
9.4.5.
10.5 Проведение испытания
10.5.1 Объем образцов вычисляют по их геометрическим размерам в соответствии с методикой
пункта 4.7 ГОСТ 12730.0-2020 с помощью штангенциркуля. Допускается определять объем образцов гидростатическим взвешиванием по
ГОСТ 12730.1 после определения фактической массы образцов.
10.5.2 Массу образцов определяют с помощью лабораторных весов.
10.6 Обработка результатов
10.6.1 Среднюю плотность образца раствора

, кг/м
3, вычисляют с округлением до 1 кг/м
3 по формуле

, (5)
где m - масса образца, г;
V - объем образца, см3.
10.6.2 Среднюю плотность раствора серии образцов вычисляют как среднеарифметическое значение результатов испытания всех образцов серии, отличающихся между собой не более чем на 20% от среднего значения. Образцы с результатами, отличающимися от среднего более чем на 20%, бракуют. Если в серии остается менее двух образцов, всю серию бракуют.
10.6.3 Среднюю плотность раствора при нормированном влажностном состоянии

, кг/м
3, вычисляют по формуле

, (6)
где

- средняя плотность раствора при влажности
Wм, кг/м
3;
Wн - нормированная влажность раствора, %;
Wм - влажность раствора в момент испытания, определяемая согласно
разделу 11.
10.6.4 Результаты испытаний заносят в журнал по
форме Б.6, приведенной в приложении Б.
11 Определение влажности раствора
11.1 Влажность раствора определяют испытанием образцов, полученных дроблением формованных образцов после их испытания на прочность или на пробах, извлеченных из конструкций.
11.2 Наибольшая крупность раздробленных кусков раствора должна быть не более 5 мм.
11.3 Образцы проб дробят и взвешивают сразу же после отбора и хранят их в паронепроницаемой упаковке или герметичной таре, объем которой превышает объем уложенных в нее образцов не более чем в два раза.
11.4 Оборудование
Для проведения испытаний применяют:
- лабораторные весы по
6.2;
- сушильный шкаф по
7.2.1.
- противни металлические;
11.5 Проведение испытаний
11.5.1 Подготовленные образцы или пробы взвешивают и высушивают до постоянной массы при температуре (105 +/- 5) °C.
Гипсовые растворы высушивают при температуре (50 +/- 5) °C.
Постоянной считают массу, при которой результаты двух последовательных взвешиваний отличаются не более чем на 0,1%. При этом время между взвешиваниями должно составлять не менее 4 ч.
11.5.2 Перед повторным взвешиванием образцы охлаждают в эксикаторе с безводным хлористым кальцием или в сушильном шкафу до температуры помещения лаборатории.
11.6 Обработка результатов
11.6.1 Влажность раствора по массе

в процентах вычисляют с округлением до 0,1% по формуле

, (7)
где mв - масса водонасыщенного образца, г;
mс - масса образца раствора после сушки, г.
11.6.2 Влажность раствора по объему

в процентах вычисляют с округлением до 0,1% по формуле

, (8)
где

- средняя плотность сухого раствора, определяемая согласно
10.6.1;

- плотность воды, принимаемая равной 1 г/см
3.
11.6.3 Влажность раствора серии образцов определяют как среднеарифметическое значение результатов определения влажности отдельных образцов раствора.
11.6.4 Результаты испытаний должны быть занесены в журнал, в котором указывают:
- место и время отбора проб;
- влажностное состояние раствора;
- возраст раствора и дату испытаний;
- маркировку образца;
- влажность раствора проб (образцов) и серий по массе;
- влажность раствора проб (образцов) и серий по объему.
12 Определение водопоглощения раствора
12.1 Водопоглощение раствора определяют испытанием образцов. Размеры и количество образцов принимают по
10.1 -
10.2.
12.2 Оборудование
Для проведения испытаний применяют:
| | ИС МЕГАНОРМ: примечание. В официальном тексте документа, видимо, допущена опечатка: имеется в виду п. 6.2, а не п. 6.2.1. | |
- весы лабораторные по
6.2.1;
- шкаф сушильный по
7.2.1;
- емкость для насыщения образцов водой;
- проволочную щетку или абразивный камень;
- цилиндрические прокладки диаметром не менее 20 мм.
12.3 Подготовка к испытанию
12.3.1 Поверхность образцов очищают от пыли, грязи и следов смазки с помощью проволочной щетки или абразивного камня.
12.3.2 Образцы взвешивают и испытывают в состоянии естественной влажности или высушенных до постоянной массы.
12.4 Проведение испытания
12.4.1 Образцы помещают в емкость, наполненную водой с таким расчетом, чтобы уровень воды был выше верхнего уровня уложенных образцов на 50 мм.
Образцы укладывают на цилиндрические прокладки таким образом, чтобы высота образца была минимальной.
Температура воды в емкости должна быть (20 +/- 2) °C.
12.4.2 Образцы взвешивают через каждые 24 ч.
При взвешивании образцы, вынутые из воды, предварительно вытирают влажной тканью.
12.4.3 Испытание проводят до тех пор, пока результаты двух последовательных взвешиваний будут отличаться не более чем на 0,1%. Фиксируют массу водонасыщенного образца.
12.4.4 Образцы, испытываемые в состоянии естественной влажности, после окончания процесса водонасыщения высушивают до постоянной массы по
11.5.1 и фиксируют массу высушенного образца.
12.5 Обработка результатов
12.5.1 Водопоглощение раствора отдельного образца по массе Wm, %, вычисляют с округлением до 0,1% по формуле

, (9)
где mв - масса водонасыщенного образца, г;
mс - масса образца после сушки, г.
12.5.2 Водопоглощение раствора отдельного образца по объему Wо, %, вычисляют с округлением до 0,1% по формуле

, (10)
где

- средняя плотность сухого раствора, кг/м
3;

- плотность воды, принимаемая равной 1000 кг/м
3.
12.5.3 Водопоглощение раствора серий образцов вычисляют как среднеарифметическое значение результатов испытаний отдельных образцов в серии.
12.5.4 В журнале, в который заносят результаты испытаний, предусматривают следующие графы:
- маркировка образцов;
- возраст раствора и дата испытаний;
- водопоглощение раствора образцов;
- водопоглощение раствора (среднее в серии образцов).
13 Определение морозостойкости раствора
13.1 Морозостойкость определяют для раствора марок по прочности от M25 и выше, приготовленного на гидравлических вяжущих.
13.2 Раствор на морозостойкость испытывают путем многократного попеременного замораживания образцов-кубов с номинальным размером ребра по
4.7 в состоянии насыщения водой при температуре минус (18 +/- 2) °C и оттаивания их в воде при температуре от 15 °C до 20 °C.
13.3 Для проведения испытания изготавливают шесть образцов-кубов, из которых три образца (основные) подвергают попеременному замораживанию и оттаиванию, а остальные образцы (контрольные) испытывают по
13.7.10.
13.4 За марку раствора по морозостойкости принимают наибольшее число циклов попеременного замораживания и оттаивания, которое образцы выдерживают без видимых разрушений при испытании (расслоение, шелушение, сквозные трещины, выкрашивания), без потери массы более 5% и потери прочности не более 25% от средней прочности серии контрольных образцов.
13.5 Оборудование
Для проведения испытаний используют:
- морозильную камеру с поддержанием температуры в полезном объеме камеры в интервале от минус 15 °C до минус 20 °C;
- емкость для насыщения образцов водой. Температура воды в емкости - в пределах 15 °C - 20 °C;
- формы для изготовления образцов - по
ГОСТ 22685;
- лабораторные весы по
6.2.
13.6 Подготовка к испытанию
13.6.1 Основные и контрольные образцы раствора необходимо хранить по
9.4.5 до достижения ими проектного возраста.
13.6.2 Основные образцы раствора перед испытанием на морозостойкость нумеруют, осматривают, выявленные дефекты (незначительные околы ребер или углов, выкрашивание и др.) фиксируют в журнале испытаний.
13.6.3 Основные и контрольные образцы раствора перед испытанием насыщают водой без предварительного высушивания путем выдерживания их в течение 48 ч в воде при температуре плюс 15 °C - 20 °C. При этом образец должен быть окружен со всех сторон слоем воды толщиной не менее 20 мм.
13.7 Проведение испытания
13.7.1 Предназначенные для испытания на морозостойкость основные образцы раствора, насыщенные водой, помещают в морозильную камеру в специальных контейнерах или устанавливают на сетчатые полки стеллажей. Расстояние между образцами раствора, между образцами раствора и стенками контейнеров, а также между образами раствора и вышележащими полками должно быть не менее 50 мм.
13.7.2 Образцы следует замораживать в морозильной камере.
13.7.3 Образцы следует загружать в камеру после охлаждения в ней воздуха до температуры не выше минус 16 °C. Если после загрузки камеры температура в ней выше минус 16 °C, то началом замораживания следует считать момент установления температуры воздуха минус 16 °C.
13.7.4 Продолжительность одного цикла замораживания - не менее 4 ч.
13.7.5 Образцы после выгрузки из морозильной камеры должны оттаивать в ванне с водой температурой 15 °C - 20 °C в течение не менее 3 ч.
13.7.6 Контрольный осмотр образцов следует осуществлять в целях прекращения испытания на морозостойкость серий образцов, у которых поверхность не менее двух из трех образцов имеет видимые разрушения (расслоение, шелушение, сквозные трещины, выкрашивания).
13.7.7 Основные образцы испытывают на сжатие после проведения количества циклов попеременного замораживания и оттаивания, соответствующего проектной марке раствора по морозостойкости. До начала испытаний основные образцы выдерживают в помещении лаборатории не менее 4 ч после оттаивания.
13.7.8 Образцы на сжатие следует испытывать в соответствии с
разделом 9.
13.7.9 Перед испытанием на сжатие основные образцы осматривают и определяют площадь повреждения граней.
При наличии признаков повреждения опорных граней образцов (шелушение и т.п.) перед испытанием следует выровнять их слоем быстротвердеющего состава толщиной не более 2 мм. Образцы в этом случае испытывают через 48 ч после подливки, при этом первые сутки образцы необходимо хранить во влажной среде, а затем - в воде при температуре 15 °C - 20 °C.
Примечание - К быстротвердеющим выравнивающим составам в данном случае относят составы, способные достигать прочности не менее ожидаемой прочности раствора образца в срок не более 2 сут.
13.7.10 Контрольные образцы следует испытывать на сжатие в насыщенном водой состоянии перед началом замораживания основных образцов. Перед установкой на пресс опорные поверхности образцов вытирают влажной тканью.
13.7.11 При оценке морозостойкости по потере массы после проведения требуемого числа циклов замораживания и оттаивания образцы взвешивают в насыщенном водой состоянии.
13.7.12 При оценке морозостойкости по степени повреждения образцы осматривают после их оттаивания через каждые пять циклов.
13.8 Обработка результатов
13.8.1 Морозостойкость по критерию потери прочности при сжатии образцов при попеременном замораживании и оттаивании оценивают путем сравнения прочности основных и контрольных образцов в насыщенном водой состоянии.
Потерю прочности образцов

, %, вычисляют по формуле

, (11)
где Rконтр - среднеарифметическое значение предела прочности при сжатии серии контрольных образцов, МПа;
Rосн - среднеарифметическое значение предела прочности при сжатии серии основных образцов после испытания их на морозостойкость, МПа.
Образцы считают выдержавшими испытания, если потеря прочности образцов при сжатии после их попеременного замораживания и оттаивания составляет не более 25% прочности контрольных образцов.
13.8.2 Потерю массы образцов, испытанных на морозостойкость M, %, вычисляют по формуле

, (12)
где m1 - масса насыщенного водой образца перед испытанием его на морозостойкость, г;
m2 - масса насыщенного водой образца после испытания его на морозостойкость, г.
Потерю массы образцов после испытания на морозостойкость вычисляют как среднеарифметическое значение результатов испытаний трех образцов.
Испытания считают удовлетворительными если потеря массы образцов после заданного числа циклов попеременного замораживания и оттаивания составила не более 5%.
13.8.3 В журнале испытаний образцов на морозостойкость указывают следующие данные:
- вид и состав раствора, проектную марку по морозостойкости;
- маркировку, дату изготовления и период испытания;
- геометрические размеры и массу каждого образца до и после испытания и потерю массы в процентах;
- условия твердения;
- описание дефектов, обнаруженных в образцах до испытания;
- описание внешних признаков разрушения и повреждения после испытания;
- пределы прочности при сжатии каждого из основных и контрольных образцов, изменение прочности в процентах после испытания на морозостойкость;
- число циклов замораживания и оттаивания.
(обязательное)
ОПРЕДЕЛЕНИЕ МАРКИ ПРОЧНОСТИ НА СЖАТИЕ СТРОИТЕЛЬНОГО
РАСТВОРА, ОТОБРАННОГО ИЗ ШВОВ КАМЕННОЙ КЛАДКИ
Определение марки прочности раствора на сжатие по методике, приведенной ниже, выполняют в целях установления расчетного сопротивления каменной кладки, проводимого в рамках технических обследований зданий. Оценка соответствия рассчитанной марки прочности строительного раствора с учетом коэффициентов по
таблице А.1 проектным требованиям не допускается.
Прочность строительного раствора определяют путем испытания на сжатие образцов-кубов с ребрами 2 - 4 см, изготовленных из проб, отобранных из горизонтальных швов кладки или стыков крупнопанельных каменных конструкций. Допускается изготавливать образцы-кубы из двух пластин раствора путем их склеивания.
Склеивание пластин раствора и выравнивание их опорных поверхностей производят при помощи тонкого слоя гипсового или цементного теста (толщиной каждого слоя не более 2 мм).
Отклонение геометрических размеров подготовленных к испытаниям образцов-кубов от номинальных значений, указанных в
таблице А.1, не должно превышать 1 мм. Отклонение от плоскостности опорных граней - не более 0,1 мм на длину диагонали опорной грани испытываемого образца.
Образцы следует испытывать не ранее чем через 1 сут после их изготовления, при этом ожидаемая прочность выравнивающего и склеивающего слоев к моменту испытания должна быть не менее ожидаемой прочности раствора образца.
Испытания проводят по
9.5.
Предел прочности каждого испытанного образца вычисляют по
9.6.1.
Марку раствора по прочности в серии испытанных образцов рассчитывают как среднеарифметическое значение предела прочности в серии из не менее чем пяти образцов (не учитывая отдельные образцы, отбракованные по
9.5.5), умноженное на коэффициент, принятый по таблице А.1.
Таблица А.1
Коэффициенты для перехода от средней прочности
в серии образцов раствора к марке раствора по прочности
Условия твердения раствора <*> | Размер ребра образца-куба, мм |
20 | 30 | 40 |
при положительных температурах | 0,56 | 0,68 | 0,80 |
при отрицательных температурах | 0,46 | 0,65 | 0,75 |
Примечание - Если условия твердения раствора неизвестны, то принимают коэффициенты для условий твердения при положительных температурах. |
(рекомендуемое)
ФОРМЫ ДЛЯ РЕГИСТРАЦИИ РЕЗУЛЬТАТОВ ИСПЫТАНИЙ ДЛЯ ОПРЕДЕЛЕНИЯ
ПОДВИЖНОСТИ, СРЕДНЕЙ ПЛОТНОСТИ РАСТВОРНОЙ СМЕСИ И ПРОЧНОСТИ
НА СЖАТИЕ, СРЕДНЕЙ ПЛОТНОСТИ ОБРАЗЦОВ РАСТВОРА
Таблица Б.1
Подвижность растворной смеси
Дата испытания | Маркировка состава растворной смеси | Проектная марка подвижности Пк, см | N испытания в серии | Глубина погружения конуса, см | Среднее значение в серии испытаний, см | Марка по подвижности растворной смеси Пк, см | Примечания |
1 | 2 | 3 | 4 | 5 | 6 | 7 | 8 |
| | | 1 | | | | |
2 | | | | |
Таблица Б.2
Плотность растворной смеси
Дата испытания | Маркировка состава растворной смеси | Заданный показатель средней плотности растворной смеси, г/см3 | N испытания в серии проб | Масса мерного сосуда с растворной смесью m, г | Масса мерного сосуда без смеси m1, г | Объем мерного сосуда V, см3 | Средняя плотность в серии испытаний  , г/см 3 | Примечания |
1 | 2 | 3 | 4 | 5 | 6 | 7 | 8 | 9 |
| | | 1 | | | | | |
2 | | | | | |
Таблица Б.3
Расслаиваемость растворной смеси
Дата испытания | Маркировка состава растворной смеси | N испытания в серии | Масса песка в растворной смеси верхней части, г | Масса песка в растворной смеси нижней части, г | Показатель расслаиваемости П, % | Среднее значение расслаиваемости в серии Пср, % | Примечания |
1 | 2 | 3 | 4 | 5 | 6 | 7 | 8 |
| | 1 | | | | | |
2 | | | | | |
Таблица Б.4
Водоудерживающая способность растворной смеси
Дата испытания | Маркировка состава растворной смеси | N испытания в серии | Масса фильтровальной бумаги, г | Масса установки, г | Водоудерживающая способность растворной смеси V, % | Среднее значение в серии испытаний, Vср, % | Показатель расслаиваемости П, % | Среднее значение расслаиваемости в серии Пср, % | Примечания |
До испытания m1 | После испытания m2 | До испытания m3 | После испытания m4 |
1 | 2 | 3 | 4 | 5 | 6 | 7 | 8 | 9 | 10 | 11 | 12 |
| | 1 | | | | | | | | | |
2 | | | | | | | | | |
Таблица Б.5
Дата формования образца | Дата испытания | Маркировка образца | Условия твердения | N испытания в серии | Геометрические размеры образца, мм | Масса образца, г | Разрушающая нагрузка, кН | Оценка характера разрушения | Прочность раствора образца, МПа | Средняя прочность в серии, МПа | Марка прочности раствора M | Примечания |
Длина рабочей грани | Ширина рабочей грани | Высота |
1 | 2 | 3 | 4 | 5 | 6 | 7 | 8 | 9 | 10 | 11 | 12 | 13 | 14 | 15 |
| | | | 1 | | | | | | | | | | |
2 | | | | | | | | | | |
3 | | | | | | | | | | |
Таблица Б.6
Средняя плотность раствора
Дата испытания | Маркировка образца | Влажностное состояние образца в момент испытаний | Заданный показатель средней плотности раствора, кг/м3 | Габаритные размеры или объем образца | Масса образца, г | Средняя плотность образца, кг/м3 | Средняя плотность в серии, кг/м3 | Примечания |
1 | 2 | 3 | 4 | 5 | 6 | 7 | 8 | 9 |
| 1 | | | | | | | |
2 | | | | | | | |
3 | | | | | | | |
Таблица Б.7
Влажность раствора
Дата испытания | Маркировка образца | Возраст раствора на момент испытания, сут | N образца в серии | Габаритные размеры или объем образца | Масса образца до сушки, г | Масса образца после сушки, г | Влажность раствора по массе  , % | Влажность раствора по объему  , % | Примечания |
1 | 2 | 3 | 4 | 5 | 6 | 7 | 8 | 9 | 10 |
| | | 1 | | | | | | |
2 | | | | | | |
3 | | | | | | |
Таблица Б.8
Водопоглощение раствора
Дата испытания | Маркировка образца | Возраст раствора на момент испытания, сут | N образца в серии | Габаритные размеры или объем образца | Масса образца в сухом состоянии, г | Масса образца в водонасыщенном состоянии, г | Водопоглощение раствора по массе Wm, % | Водопоглощение раствора по объему Wо, % | Среднее значение в серии | Примечания |
1 | 2 | 3 | 4 | 5 | 6 | 7 | 8 | 9 | 10 | 11 |
| | | 1 | | | | | | | |
2 | | | | | | | |
3 | | | | | | | |
Таблица Б.9
Морозостойкость раствора
Дата испытания | Маркировка образца и статус серии (контрольная/основная) | Возраст раствора на момент испытания, сут | N образца в серии | Габаритные размеры или объем образца | Масса образца до начала испытаний, г | Число циклов замораживания | Масса образца после испытания, г | Наличие повреждений | Прочность при сжатии, МПа | Соответствие заданному показателю морозостойкости (соответствует/не соответствует) | Примечания |
1 | 2 | 3 | 4 | 5 | 6 | 7 | 8 | 9 | 10 | 11 | 12 |
| | | 1 | | | | | | | | |
2 | | | | | | | | |
3 | | | | | | | | |
| | 1 | | | | | | | | |
2 | | | | | | | | |
3 | | | | | | | | |
УДК 666.971.001.4:006.354 | |
Ключевые слова: растворы строительные, смеси растворные, методы испытаний |