Главная // Актуальные документы // Актуальные документы (обновление 2024.11.04-2024.11.30) // ГОСТ (Государственный стандарт)СПРАВКА
Источник публикации
М.: Стандартинформ, 2019
Примечание к документу
Документ включен в
Перечень международных и региональных (межгосударственных) стандартов, а в случае их отсутствия - национальных (государственных) стандартов, в результате применения которых на добровольной основе обеспечивается соблюдение требований технического
регламента Таможенного союза "О безопасности низковольтного оборудования" (ТР ТС 004/2011) и в
Перечень международных и региональных (межгосударственных) стандартов, а в случае их отсутствия - национальных (государственных) стандартов, содержащих правила и методы исследований (испытаний) и измерений, в том числе правила отбора образцов, необходимые для применения и исполнения требований технического
регламента Таможенного союза "О безопасности низковольтного оборудования" (ТР ТС 004/2011) и осуществления оценки соответствия объектов технического регулирования (
Решение Коллегии Евразийской экономической комиссии от 11.05.2023 N 55).
Отдельные положения данного документа включены в
Перечень международных и региональных (межгосударственных) стандартов, а в случае их отсутствия - национальных (государственных) стандартов, в результате применения которых на добровольной основе обеспечивается соблюдение требований технического
регламента Таможенного союза "О безопасности машин и оборудования" (ТР ТС 010/2011) и в
Перечень международных и региональных (межгосударственных) стандартов, а в случае их отсутствия - национальных (государственных) стандартов, содержащих правила и методы исследований (испытаний) и измерений, в том числе правила отбора образцов, необходимые для применения и исполнения требований технического
регламента Таможенного союза "О безопасности машин и оборудования" (ТР ТС 010/2011) и осуществления оценки соответствия объектов технического регулирования (
Решение Коллегии Евразийской экономической комиссии от 09.03.2021 N 28).
Отдельные положения данного документа включены в
Перечень стандартов, в результате применения которых на добровольной основе обеспечивается соблюдение требований технического
регламента Таможенного союза "О безопасности машин и оборудования" (ТР ТС 010/2011) и в
Перечень стандартов, содержащих правила и методы исследований (испытаний) и измерений, в том числе правила отбора образцов, необходимые для применения и исполнения требований технического
регламента Таможенного союза "О безопасности машин и оборудования" (ТР ТС 010/2011) и осуществления оценки (подтверждения) соответствия продукции (
Решение комиссии Таможенного союза от 18.10.2011 N 823).
Документ включен в
Перечень стандартов, в результате применения которых на добровольной основе обеспечивается соблюдение требований технического
регламента Таможенного союза "О безопасности низковольтного оборудования" (ТР ТС 004/2011) и в
Перечень стандартов, содержащих правила и методы исследований (испытаний) и измерений, в том числе правила отбора образцов, необходимые для применения и исполнения требований технического
регламента Таможенного союза "О безопасности низковольтного оборудования" (ТР ТС 004/2011) и осуществления оценки соответствия объектов технического регулирования (
Решение Комиссии Таможенного союза от 16.08.2011 N 768).
Документ
введен в действие с 01.01.2015.
Название документа
"ГОСТ IEC 60335-2-47-2012. Межгосударственный стандарт. Бытовые и аналогичные электрические приборы. Безопасность. Часть 2-47. Дополнительные требования к электрическим варочным котлам для предприятий общественного питания"
(введен в действие Приказом Росстандарта от 05.07.2013 N 283-ст)
"ГОСТ IEC 60335-2-47-2012. Межгосударственный стандарт. Бытовые и аналогичные электрические приборы. Безопасность. Часть 2-47. Дополнительные требования к электрическим варочным котлам для предприятий общественного питания"
(введен в действие Приказом Росстандарта от 05.07.2013 N 283-ст)
агентства по техническому
регулированию и метрологии
от 5 июля 2013 г. N 283-ст
МЕЖГОСУДАРСТВЕННЫЙ СТАНДАРТ
БЫТОВЫЕ И АНАЛОГИЧНЫЕ ЭЛЕКТРИЧЕСКИЕ ПРИБОРЫ.
БЕЗОПАСНОСТЬ
ЧАСТЬ 2-47
ДОПОЛНИТЕЛЬНЫЕ ТРЕБОВАНИЯ
К ЭЛЕКТРИЧЕСКИМ ВАРОЧНЫМ КОТЛАМ
ДЛЯ ПРЕДПРИЯТИЙ ОБЩЕСТВЕННОГО ПИТАНИЯ
Household and similar electrical appliances. Safety.
Part 2-47. Particular requirements for commercial electric
boiling pans
(IEC 60335-2-47:2008, IDT)
ГОСТ IEC 60335-2-47-2012
Дата введения
1 января 2015 года
Цели, основные принципы и общие правила проведения работ по межгосударственной стандартизации установлены
ГОСТ 1.0 "Межгосударственная система стандартизации. Основные положения" и
ГОСТ 1.2 "Межгосударственная система стандартизации. Стандарты межгосударственные, правила и рекомендации по межгосударственной стандартизации. Правила разработки, принятия, обновления и отмены"
1 ПОДГОТОВЛЕН Научно-производственным республиканским унитарным предприятием "Белорусский государственный институт стандартизации и сертификации" (БелГИСС) на основе собственного перевода на русский язык англоязычной версии стандарта, указанного в
пункте 5
2 ВНЕСЕН Федеральным агентством по техническому регулированию и метрологии
3 ПРИНЯТ Межгосударственным советом по стандартизации, метрологии и сертификации (протокол от 3 декабря 2012 г. N 54-П)
За принятие проголосовали:
Краткое наименование страны по МК (ИСО 3166) 004-97 | Код страны по МК (ИСО 3166) 004-97 | Сокращенное наименование национального органа по стандартизации |
Армения | AM | Минэкономики Республики Армения |
Беларусь | BY | Госстандарт Республики Беларусь |
Казахстан | KZ | Госстандарт Республики Казахстан |
Киргизия | KG | Кыргызстандарт |
Россия | RU | Росстандарт |
Узбекистан | UZ | Узстандарт |
4
Приказом Федерального агентства по техническому регулированию и метрологии от 5 июля 2013 г. N 283-ст межгосударственный стандарт ГОСТ IEC 60335-2-47-2012 введен в действие в качестве национального стандарта Российской Федерации с 1 января 2015 г.
5 Настоящий стандарт идентичен международному стандарту IEC 60335-2-47:2008 "Безопасность бытовых и аналогичных электрических приборов. Часть 2-47. Дополнительные требования к электрическим варочным котлам для предприятий общественного питания" ("Household and similar electrical appliances - Safety - Part 2-47: Particular requirements for commercial electric boiling pans", IDT).
Международный стандарт разработан Техническим комитетом по стандартизации IEC/TC 61E "Безопасность электрического промышленного оборудования для предприятий общественного питания" Международной электротехнической комиссии (IEC)
6 ВВЕДЕН ВПЕРВЫЕ
7 ПЕРЕИЗДАНИЕ. Сентябрь 2019 г.
Информация о введении в действие (прекращении действия) настоящего стандарта и изменений к нему на территории указанных выше государств публикуется в указателях национальных стандартов, издаваемых в этих государствах, а также в сети Интернет на сайтах соответствующих национальных органов по стандартизации.
В случае пересмотра, изменения или отмены настоящего стандарта соответствующая информация будет опубликована на официальном интернет-сайте Межгосударственного совета по стандартизации, метрологии и сертификации в каталоге "Межгосударственные стандарты"
Настоящий стандарт идентичен международному стандарту IEC 60335-2-47:2008, включающему IEC 60335-2-47:2002 с изменением A1:2008.
В случае если какой-либо пункт стандарта
части 1 отсутствует в настоящем стандарте, требования этого пункта распространяются на настоящий стандарт там, где это применимо. Наличие в тексте настоящего стандарта слов-указателей "дополнение", "изменение" или "замена" указывает на необходимость соответствующего изменения текста
ГОСТ МЭК 60335-1.
В тексте настоящего стандарта принята следующая система нумерации:
- пункты, номера которых начинаются со 101, являются дополнительными по отношению к пунктам стандарта
части 1;
- номера примечаний начинаются со 101 (включая примечания в заменяемых разделах или пунктах), за исключением примечаний в новых пунктах и при отсутствии примечаний в
части 1;
- дополнительные приложения обозначаются AA, BB и т.д.
В настоящем стандарте применяют следующие шрифтовые выделения:
- требования - основной шрифт;
- методы испытаний - курсив;
- примечания - шрифт уменьшенного размера петит;
- термины - полужирный шрифт.
Соответствующий
раздел части 1 заменяют следующим.
Настоящий стандарт устанавливает требования безопасности к электрическим варочным котлам для предприятий общественного питания, не предназначенным для бытового применения, с номинальным напряжением не более 250 В для однофазных приборов и 480 В для других приборов.
Примечание 101 - Такие приборы применяют, например, в ресторанах, столовых, лечебных учреждениях и малых предприятиях, таких как пекарни, мясные лавки и т.д.
Настоящий стандарт распространяется также на электрические части приборов, использующих энергию других видов.
Насколько это возможно, в настоящем стандарте учтены общие виды опасностей, источником которых могут стать приборы такого типа.
Примечания
102 Необходимо обратить внимание на следующее:
- для приборов, предназначенных для использования в транспортных средствах или на борту кораблей или самолетов, могут быть необходимы дополнительные требования;
- во многих странах к приборам применяются дополнительные требования, установленные национальными органами здравоохранения, охраны труда, водоснабжения и т.п. этих стран;
- во многих странах к приборам, работающим под давлением, применяются дополнительные требования.
103 Настоящий стандарт не распространяется:
- на приборы, предназначенные исключительно для промышленных целей;
- приборы, предназначенные для работы в местах, где преобладают особые условия, например коррозионная или взрывоопасная среда (пыль, пар или газ);
- приборы непрерывного действия, используемые в пищевой промышленности.
Применяют соответствующий
раздел части 1.
Применяют соответствующий
раздел части 1 со следующими изменениями.
Примечание 101 - Номинальная потребляемая мощность представляет собой сумму значений потребляемой мощности отдельных элементов прибора, которые могут быть включены одновременно; если возможно несколько таких комбинаций, то выбирают комбинацию, при которой достигается наибольшее значение номинальной потребляемой мощности.
3.1.9 Замена:
нормальный режим работы (normal operation): Работа прибора при следующих условиях:
- прибор заполняют водой при температуре (15 +/- 5) °C до указанного уровня;
- приборы с несколькими программами работают с программой, создающей наиболее неблагоприятные условия работы. Кроме того, все устройства управления, которые предназначены для пользователя, устанавливают на максимальную уставку до момента, пока вода не закипит или не будет достигнуто заданное значение температуры. Затем устройства управления устанавливают на минимальную уставку для поддержания кипения или заданного значения температуры. При этом крышки и кожухи должны находиться на своих местах и быть закрыты;
- электродвигатели, встроенные в прибор, работают в соответствии со своим назначением при наиболее неблагоприятных условиях, которые могут возникнуть при нормальной эксплуатации, в соответствии с инструкциями изготовителя.
3.101 варочный котел (boiling pan): Прибор, в котором в процессе приготовления пищи жидкости, содержащиеся в варочном сосуде, нагревают до точки кипения. Давление в сосуде может превышать атмосферное давление. Сосуд может быть неподвижным или опрокидываемым.
3.102 атмосферный варочный котел (atmospheric boiling pan): Варочный котел, в котором давление в сосуде существенно не отличается от атмосферного давления.
3.103 варочный котел с пароводяной рубашкой (jacketed boiling pan): Прибор, оснащенный двустенным сосудом, в пространстве между внутренней и внешней стенками которого расположен теплоноситель, нагреваемый нагревательными элементами.
3.104 варочный котел двойного назначения (dual purpose boiling pan): Прибор, содержащий два сосуда, при этом внутренний сосуд является съемным. Прибор может быть использован как со съемным сосудом, так и без него.
3.105 варочный котел без пароводяной рубашки (unjacketed boiling pan): Прибор, в котором для нагрева содержимого сосуда применяются иные средства, кроме пароводяной рубашки.
3.106 номинальное давление (rated pressure): Максимальное рабочее давление, устанавливаемое изготовителем для частей прибора, работающих под давлением.
3.107 указанный уровень (indicated level): Отметка на приборе, указывающая максимальный уровень жидкости, необходимый для правильного функционирования.
3.108 монтажная стенка (installation wall): Специальная закрепленная конструкция, содержащая все подводки, необходимые для подключения питания к приборам, устанавливаемым на ней.
Применяют соответствующий
раздел части 1.
5 Общие условия проведения испытаний
Применяют соответствующий
раздел части 1 со следующими дополнениями.
5.5 Дополнение:
Для проведения испытаний сосуд устанавливают в положение нормальной эксплуатации в процессе приготовления пищи.
5.10 Дополнение:
Приборы, предназначенные для установки в составе группы других приборов, а также приборы, предназначенные для закрепления на монтажной стенке, ограждают таким образом, чтобы обеспечить защиту от поражения электрическим током и опасного проникновения воды, эквивалентную достигаемой при установке в соответствии с инструкциями изготовителя.
Примечание 101 - При испытаниях могут потребоваться соответствующие ограждения или дополнительные приборы.
5.101 Приборы испытывают как нагревательные приборы даже при наличии встроенного электродвигателя.
5.102 Приборы, выполненные в комбинации с другими приборами или имеющие встроенные другие приборы, испытывают в соответствии с требованиями настоящего стандарта. При этом указанные другие приборы работают в соответствии с требованиями соответствующих стандартов.
5.103 Испытания варочных котлов двойного назначения проводят с внутренним сосудом или без него - в зависимости от того, при каком из этих вариантов создаются более неблагоприятные условия, принимая во внимание инструкции изготовителя.
Применяют соответствующий
раздел части 1 со следующими изменениями.
6.1 Замена:
Приборы должны соответствовать классу I по степени защиты от поражения электрическим током.
Соответствие проверяют осмотром и соответствующими испытаниями.
6.2 Дополнение:
Приборы, обычно эксплуатируемые на столе, должны иметь исполнение не ниже IPX3. Другие приборы должны иметь исполнение не ниже IPX4.
7 Маркировка и инструкции
Применяют соответствующий
раздел части 1 со следующими изменениями.
Дополнительно приборы должны иметь маркировку с указанием:
- давления или диапазона давлений воды в килопаскалях (кПа) для приборов, предназначенных для подключения к системе водоснабжения, если эти данные не указаны в руководстве по эксплуатации;
- номинальное давление в килопаскалях (кПа) для частей прибора, работающих под давлением.

[символ 5021 по IEC 60417-1] - эквипотенциальность
На устройствах, управляющих процессом наклона в приборах с наклонными частями, должно быть ясно обозначено направление движения.
Руководство по эксплуатации варочных котлов, за исключением атмосферных варочных котлов, должно содержать предупреждение следующего содержания:
"ВНИМАНИЕ! Не открывать спускные краны или другие разгрузочные устройства до тех пор, пока давление не понизится до значения, приблизительно равного атмосферному давлению".
При маркировке прибора символом 5021 по IEC 60417-1 его значение должно быть разъяснено.
К прибору должна быть приложена инструкция, содержащая описание специальных мер безопасности, необходимых при установке. Для приборов, предназначенных для установки в составе группы других приборов, а также для приборов, предназначенных для закрепления на монтажной стенке, должны быть приведены указания по обеспечению защиты от поражения электрическим током и опасного проникновения воды. В случае если устройства управления нескольких приборов объединены в отдельном корпусе, то к прибору должны быть приложены подробные указания по установке. Также должны быть приведены указания по обслуживанию потребителем, например по очистке, включающие предупреждение о том, что очистка прибора под струей воды не допускается.
В руководстве по эксплуатации приборов, постоянно подключенных к стационарной проводке, ток утечки в которых может превышать 10 мА, особенно если они отключены или не используются в течение длительного времени, либо при первичной установке, должны быть приведены рекомендации относительно номинальных характеристик устанавливаемых защитных устройств, таких как реле токов утечки на землю.
Соответствие проверяют осмотром.
Руководство по эксплуатации встраиваемых приборов, имеющих отдельную панель управления несколькими приборами, должно содержать указание о том, что панель управления должна быть подключена только к соответствующим приборам во избежание возможной опасности.
Если не представляется возможным расположить маркировку на закрепленных приборах так, чтобы она была видна после установки прибора, то соответствующая информация дополнительно должна быть включена в руководство по эксплуатации или приведена на дополнительной табличке, закрепленной около прибора после его установки.
Примечание 101 - Примером такого закрепленного прибора является встраиваемый прибор.
7.101 Эквипотенциальные зажимы должны быть маркированы символом 5021 по IEC 60417-1.
Нанесение указанной маркировки на винты, съемные шайбы или другие части, которые могут быть сняты при подключении проводников, не допускается.
Соответствие проверяют осмотром.
7.102 Сосуды должны иметь маркировку указанного уровня.
Соответствие проверяют осмотром.
| | Применение на добровольной основе разд. 8 - 11 обеспечивают соблюдение требований технического регламента Таможенного союза "О безопасности машин и оборудования" (ТР ТС 010/2011) (Решение Коллегии Евразийской экономической комиссии от 09.03.2021 N 28). | |
| | Применение на добровольной основе разд. 8 - 11 обеспечивают соблюдение требований технического регламента Таможенного союза "О безопасности машин и оборудования" (ТР ТС 010/2011) (Решение комиссии Таможенного союза от 18.10.2011 N 823). | |
8 Защита от контакта с частями, находящимися под напряжением
Применяют соответствующий
раздел части 1.
9 Пуск электромеханических приборов
Применяют соответствующий
раздел части 1 со следующим дополнением.
9.101 Дополнение:
Запуск двигателей вентиляторов, предназначенных для охлаждения с целью обеспечения соответствия требованиям
раздела 11, должен быть возможен при всех значениях напряжения, которые могут возникнуть в условиях эксплуатации.
Соответствие проверяют трехкратным запуском двигателя при значении напряжения, равном 0,85 номинального напряжения; при этом в начале испытания двигатель находится в неразогретом состоянии.
Двигатель запускают каждый раз в условиях, соответствующих началу нормального режима работы или, для автоматических приборов, началу нормального цикла работы; при этом между запусками двигателя выдерживают паузу. Для приборов с двигателями, имеющими пусковые устройства, отличные от центробежных выключателей, испытание повторяют при значении напряжения, равном 1,06 номинального напряжения.
Во всех случаях запуск и функционирование двигателя не должны снижать безопасность и устройства защиты двигателя от перегрузки не должны срабатывать.
Примечание - Источник питания должен быть таким, чтобы падение напряжения во время испытаний не превышало 1%.
10 Потребляемые мощность и ток
Применяют соответствующий
раздел части 1 со следующим дополнением.
Примечание 101 - Суммарную потребляемую мощность приборов, имеющих более одного нагревательного элемента, допускается определять путем измерения потребляемой мощности каждого нагревательного элемента по отдельности (см. также
3.1.4).
Применяют соответствующий
раздел части 1 со следующими изменениями.
Приборы, предназначенные для крепления к полу, и приборы массой более 40 кг без роликов, колес или аналогичных средств устанавливают в соответствии с инструкциями изготовителя. При отсутствии инструкций приборы считают предназначенными для установки на полу.
Приборы работают в нормальном режиме работы, при котором суммарная потребляемая мощность прибора составляет 1,15 номинальной потребляемой мощности. Если невозможно включить все нагревательные элементы одновременно, то испытания проводят при каждой из комбинаций, которые обеспечивает конструкция переключателя, при наибольшей нагрузке, возможной в каждой из этих комбинаций.
Если прибор оборудован устройством управления, обеспечивающим ограничение суммарной потребляемой мощности, то испытания проводят при комбинации нагревательных элементов, которую обеспечивает данное устройство, при наиболее неблагоприятных условиях.
Если предельные значения превышения температуры двигателей, трансформаторов или электронных цепей будут превышены, то испытание повторяют при подаче на прибор напряжения, равного 1,06 номинального напряжения. В этом случае измеряют только превышение температуры двигателей, трансформаторов или электронных цепей.
Примечание 101 - См. также
11.7.
Приборы работают до достижения установившегося состояния.
Примечание 101 - Испытания могут проводиться в течение нескольких циклов работы.
Двигатели мешалок работают непрерывно, за исключением мешалок, оборудованных таймером; в этом случае они работают в течение максимального периода времени, допускаемого таймером, или до достижения установившегося состояния, в зависимости от того, какой период короче.
Поворотные двигатели включают сразу после достижения прибором установившегося состояния на один полный цикл работы (полный цикл состоит из перемещения от крайней верхней до крайней нижней позиции и обратно до крайней верхней позиции).
Подъемные двигатели работают аналогичным образом, но в течение трех таких циклов.
В течение испытания устройство сброса давления не должно срабатывать.
| | Применение на добровольной основе разд. 12 - 15 обеспечивают соблюдение требований технического регламента Таможенного союза "О безопасности машин и оборудования" (ТР ТС 010/2011) (Решение Коллегии Евразийской экономической комиссии от 09.03.2021 N 28). | |
| | Применение на добровольной основе разд. 12 - 15 обеспечивают соблюдение требований технического регламента Таможенного союза "О безопасности машин и оборудования" (ТР ТС 010/2011) (Решение комиссии Таможенного союза от 18.10.2011 N 823). | |
13 Ток утечки и электрическая прочность при рабочей температуре
Применяют соответствующий
раздел части 1 со следующим изменением.
Вместо допустимого тока утечки для стационарных приборов класса I применяют следующие значения:
- для приборов, подсоединяемых с помощью шнура и вилки, - 1 мА на 1 кВт номинальной потребляемой мощности при максимальном ограничении по току 10 мА;
- для других приборов - 1 мА на 1 кВт номинальной потребляемой мощности при отсутствии максимального ограничения.
14 Перенапряжения переходного процесса
Применяют соответствующий
раздел части 1.
Применяют соответствующий
раздел части 1 со следующими изменениями.
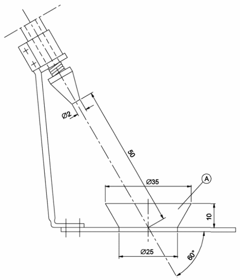
Дополнительно приборы исполнений IPX0, IPX1, IPX2, IPX3 и IPX4 подвергают в течение 5 мин испытанию обрызгиванием, как описано ниже.
Применяют устройство, показанное на рисунке 101. Во время испытания давление воды регулируют таким образом, чтобы брызги достигали высоты 150 мм от дна сосуда. При испытании приборов, предназначенных для установки на полу, сосуд устанавливают на полу; при испытании других приборов сосуд устанавливают на горизонтальную опору на 50 мм ниже нижнего края прибора. Сосуд перемещают вокруг прибора так, чтобы обеспечить попадание на него брызг со всех сторон. При этом необходимо следить за тем, чтобы на прибор не попадали прямые струи воды.
A - сосуд
Рисунок 101 - Устройство для испытания обрызгиванием
Приборы, обычно эксплуатируемые на столе, устанавливают на опору, размеры которой на (15 +/- 5) см превышают размеры ортогональной проекции прибора на опору.
Приборы должны быть сконструированы таким образом, чтобы перелив жидкости при нормальной эксплуатации не оказывал вредного воздействия на электрическую изоляцию.
Соответствие проверяют следующим испытанием.
Приборы с креплением типа X, кроме имеющих специально подготовленный шнур, оснащают гибким кабелем или шнуром самого легкого допустимого типа с наименьшей площадью поперечного сечения, указанной в 26.6, другие приборы испытывают в состоянии поставки.
Съемные части удаляют.
Сосуды приборов, предназначенные для заполнения вручную, полностью наполняют водой, содержащей примерно 1% NaCl, а затем добавляют постепенно в течение 1 мин объем воды, равный 15% вместимости сосуда, но не более 10 л.
Приборы с сосудами, предназначенными для заполнения с помощью крана, управляемого вручную или автоматически, подключают к системе водоснабжения с максимальным давлением воды, указанным изготовителем. Средства для контроля уровня воды оставляют полностью открытыми и наполнение продолжают в течение 1 мин после начала перелива или до срабатывания защитной системы, перекрывающей подачу воды.
Кроме того, варочные котлы с пароводяной рубашкой подвергают следующему испытанию.
Отверстие для залива теплоносителя закрывают и на это отверстие постепенно в течение 1 мин выливают 2 л воды, содержащей примерно 1% NaCl.
Затем прибор должен выдержать испытание на электрическую прочность изоляции по 16.3, а осмотр должен показать, что на изоляции нет следов воды, уменьшающих зазоры и пути утечки ниже значений, указанных в разделе 29.
Примечание 101 - Если невозможно разместить прибор целиком в камере влажности, то части, содержащие электрические компоненты, испытывают отдельно с учетом условий их работы в приборе.
15.101 Приборы, оборудованные краном, предназначенным для их заполнения или очистки, должны быть сконструированы так, чтобы вода из крана не попадала на части, находящиеся под напряжением.
Соответствие проверяют следующим испытанием.
Кран прибора, подключенного к системе водоснабжения с максимальным давлением воды, указанным изготовителем, открывают полностью на 1 мин. Опрокидываемые и подвижные части, включая крышки, наклоняют или устанавливают в наиболее неблагоприятные положения. Поворотные сливные трубки кранов устанавливают так, чтобы вода попадала на части, которые обеспечивают наиболее неблагоприятный результат испытания. Сразу после этого испытания прибор должен выдержать испытание на электрическую прочность изоляции по 16.3.
| | Применение на добровольной основе разд. 16 - 19 обеспечивают соблюдение требований технического регламента Таможенного союза "О безопасности машин и оборудования" (ТР ТС 010/2011) (Решение Коллегии Евразийской экономической комиссии от 09.03.2021 N 28). | |
| | Применение на добровольной основе разд. 16 - 19 обеспечивают соблюдение требований технического регламента Таможенного союза "О безопасности машин и оборудования" (ТР ТС 010/2011) (Решение комиссии Таможенного союза от 18.10.2011 N 823). | |
16 Ток утечки и электрическая прочность
Применяют соответствующий
раздел части 1 со следующим изменением.
Вместо допустимого тока утечки для стационарных приборов класса I применяют следующее:
- для приборов, подсоединяемых с помощью шнура и вилки, - 1 мА на 1 кВт номинальной потребляемой мощности при максимальном ограничении по току 10 мА;
- для других приборов - 1 мА на 1 кВт номинальной потребляемой мощности при отсутствии максимального ограничения.
17 Защита от перегрузки трансформаторов и соединенных с ними цепей
Применяют соответствующий
раздел части 1.
Применяют соответствующий
раздел части 1.
19 Ненормальный режим работы
Применяют соответствующий
раздел части 1 со следующими дополнениями.
Устройство управления или переключающее устройство, предназначенное для установки в различные положения, соответствующие разным функциям одной и той же части прибора, устанавливают в наиболее неблагоприятное положение независимо от указаний, приведенных в руководстве по эксплуатации.
Приборы, оборудованные устройством, ограничивающим давление во время испытаний по разделу 11, подвергают также испытаниям по 19.4 при отключенном устройстве.
Примечание 101 - Повторяющиеся срабатывания устройства сброса давления во внимание не принимают.
Прибор работает с пустым сосудом и устройствами управления, установленными на максимальную уставку.
Варочные котлы с пароводяной рубашкой, оборудованные устройством сброса давления, работают до стабилизации давления в рубашке.
Устройство регулирования температуры или давления в составе прибора, установленное в положение правильного функционирования, но не зафиксированное в этом положении, устанавливают в наиболее неблагоприятное положение.
Если в варочных котлах с пароводяной рубашкой возможна утечка теплоносителя, его испарение или слив, то испытание также проводят с сосудом, заполненным водой до указанного уровня, при отсутствии воды в рубашке прибора.
Примечание 101 - Сетевые контакты контактора, предназначенные для включения и выключения нагревательного(ых) элемента(ов) в условиях нормальной эксплуатации, фиксируют в положении "ВКЛ.". Однако если два контактора работают независимо друг от друга или один из них имеет два независимых комплекта сетевых контактов, то такие контакты фиксируют в положении "ВКЛ." поочередно.
| | Применение на добровольной основе разд. 20 - 22 обеспечивают соблюдение требований технического регламента Таможенного союза "О безопасности машин и оборудования" (ТР ТС 010/2011) (Решение Коллегии Евразийской экономической комиссии от 09.03.2021 N 28). | |
| | Применение на добровольной основе разд. 20 - 22 обеспечивают соблюдение требований технического регламента Таможенного союза "О безопасности машин и оборудования" (ТР ТС 010/2011) (Решение комиссии Таможенного союза от 18.10.2011 N 823). | |
20 Устойчивость и механические опасности
Применяют соответствующий
раздел части 1 со следующими изменениями.
Кожухи, крышки и другие устройства устанавливают в наиболее неблагоприятные положения.
Примечание 101 - Проливание жидкости во внимание не принимают.
После первого абзаца требования дополнить следующим.
Данное требование также применяют к частям, которые необходимы для выполнения наклона, таким как рукоятки или колеса.
20.101 Варочные котлы с движущимися частями, предназначенными для перемешивания, взбивания и т.п., кинетическая энергия которых превышает 200 Дж, должны быть оборудованы устройством блокирования движения данных частей, если крышка или защитное ограждение будут открыты более чем на 50 мм.
Отключение блокировки с помощью испытательного пробника B по IEC 61032 должно быть невозможно.
В случае если линейная скорость перемешивающего устройства не превышает 1 м/с, допускается оборудовать прибор устройством блокировки или аналогичным устройством, которое может легко быть приведено в действие пользователем без использования рук. Устройство блокировки или аналогичное устройство должно быть без самовозврата и должно обеспечивать отключение всех полюсов от цепи питания.
Соответствие проверяют осмотром и приведением в действие защитных устройств.
21 Механическая прочность
Применяют соответствующий
раздел части 1.
Применяют соответствующий
раздел части 1 со следующими изменениями.
Варочные котлы и варочные котлы с пароводяной рубашкой, в которых сосуд или рубашка работают при давлении выше атмосферного (избыточном давлении), должны быть оборудованы устройством сброса давления, предотвращающим его чрезмерное повышение.
Соответствие проверяют при работе прибора при номинальной потребляемой мощности с отключенными регуляторами давления.
Во время испытания устройство сброса давления должно срабатывать так, чтобы предотвратить превышение давления внутри прибора по сравнению с номинальным давлением более чем на 20%.
Конструкция крышек и их ручек должна быть такой, чтобы возможность ожога паром при их открытии и закрытии была исключена.
Соответствие проверяют осмотром.
22.101 Термовыключатели трехфазных приборов, обеспечивающие защиту цепей с нагревательными элементами, а также термовыключатели электродвигателей, произвольное включение которых может привести к опасности, должны быть без самовозврата, со свободным расцеплением и обеспечивать отключение всех полюсов от соответствующих цепей питания.
Термовыключатели однофазных приборов и однофазных нагревательных элементов и/или электродвигателей с типом подключения "фаза-нейтраль" или "фаза-фаза", обеспечивающие защиту цепей с нагревательными элементами, а также термовыключатели электродвигателей, произвольное включение которых может привести к опасности, должны быть без самовозврата, со свободным расцеплением и обеспечивать отключение по крайней мере одного полюса.
Если термовыключатели без самовозврата становятся доступными только при снятии частей с помощью инструмента, требование по свободному расцеплению не применяют.
Примечание 1 - Термовыключатели со свободным расцеплением приводятся в действие автоматически и оборудованы исполнительным механизмом возврата, конструкция которого обеспечивает независимость срабатывания от управления или положения механизма возврата.
Термовыключатели баллонного и капиллярного типов, срабатывающие при испытаниях по
разделу 19, должны быть такими, чтобы нарушение целостности капиллярной трубки не приводило к несоответствию требованиям
19.13.
Соответствие проверяют осмотром, испытанием вручную и путем нарушения целостности капиллярной трубки.
Примечание 2 - Должны быть приняты меры, исключающие закупоривание капиллярной трубки при нарушении ее целостности.
22.102 Применение красного цвета допускается только для сигнальных ламп, выключателей или кнопок, предназначенных для индикации опасной, аварийной или подобной ситуации.
Соответствие проверяют осмотром.
22.103 Рабочее давление в частях приборов, работающих под давлением, не должно превышать номинальное давление.
Соответствие проверяют во время испытания по разделу 11.
22.104 Устройство сброса давления должно быть расположено или сконструировано таким образом, чтобы его срабатывание не могло привести к травмированию людей и повреждению окружающих предметов. Устройство сброса давления должно быть сконструировано таким образом, чтобы его отключение или установка на более высокое значение давления без помощи специального инструмента было невозможно.
Соответствие проверяют осмотром.
22.105 Должна быть исключена возможность открытия крышки прибора, работающего под давлением, до тех пор, пока давление не будет снижено до значения, приблизительно равного атмосферному давлению.
Соответствие проверяют осмотром и испытанием вручную.
22.106 Приборы должны быть оборудованы средством, обеспечивающим автоматическую конденсацию отработанного пара перед сбросом в дренажную систему.
22.107 Приборы, работающие под давлением, должны быть оборудованы клапаном сброса вакуума, чтобы предотвратить образование частичного разрежения в приборе, если он не предназначен для работы под вакуумом.
Соответствие проверяют осмотром.
22.108 Варочные котлы с пароводяной рубашкой должны быть оборудованы клапаном сброса вакуума, чтобы предотвратить образование частичного разрежения в рубашке, если она не предназначена для работы под вакуумом.
Соответствие проверяют осмотром.
22.109 Откидные крышки должны иметь защиту от случайного падения.
Соответствие проверяют осмотром и испытанием вручную.
22.110 Приборы с опрокидываемыми сосудами должны иметь механизм, предотвращающий случайное опрокидывание из любого положения.
Если опрокидывание или подъем сосуда осуществляются с помощью электродвигателя, то работа этого двигателя должна быть возможна только при сохранении воздействия на кнопки управления или переключатели. Кнопки или переключатели должны быть расположены и защищены таким образом, чтобы была исключена возможность случайного воздействия на них.
Если опрокидывание сосуда осуществляется вручную, то должна быть исключена возможность любого случайного воздействия на механизм опрокидывания.
Соответствие проверяют осмотром и приложением усилия, равного 340 Н, к любой точке сосуда.
22.111 Конструкция приборов, оборудованных подъемными устройствами, должна обеспечивать автоматическое отключение или остановку приводного механизма в крайних верхнем и нижнем положениях.
Соответствие проверяют осмотром.
22.112 Конструкция кромки наклонных варочных котлов должна быть такой, чтобы жидкость из них выливалась ровной струей.
Соответствие проверяют испытанием вручную.
22.113 Конструкция спускных кранов и других устройств для слива горячих жидкостей должна быть такой, чтобы их непреднамеренное открытие было невозможно. Кроме того, не должно быть возможности случайного выдергивания сливных пробок.
Соответствие проверяют осмотром и испытанием вручную.
Примечание - Например, это требование считают выполненным, если рукоятка крана после ее высвобождения автоматически возвращается в положение "закрыто", или имеет вид маховичка, или установлена в углублении.
22.114 Части приборов, работающие под давлением, должны выдерживать номинальное давление.
Соответствие проверяют воздействием на части, работающие под давлением, в течение 30 мин гидростатическим давлением, равным 1,5 номинального давления. Все выходные отверстия при этом закрывают, а устройства сброса давления отключают. Для создания гидростатического давления допускается применять другие средства, помимо воды.
Во время испытания в частях прибора, работающих под давлением, не должно быть следов утечки, остаточной деформации и разрушения.
22.115 Средства, предназначенные для слива жидкости из приборов, должны быть сконструированы так, чтобы слив не оказывал воздействия на электрическую изоляцию.
Соответствие проверяют осмотром и испытанием вручную.
22.116 Переносные приборы не должны иметь отверстия на нижней стороне, сквозь которые возможно проникновение небольших предметов и касание ими частей, находящихся под напряжением.
Соответствие проверяют осмотром и измерением расстояния через отверстия между опорной поверхностью и частями, находящимися под напряжением. Указанное расстояние должно быть не менее 6 мм. Однако если прибор оборудован ножками, то данное расстояние увеличивают до 10 мм для приборов, предназначенных для установки на столе, и до 20 мм для приборов, предназначенных для установки на полу.
22.117 Уровень, до которого заполняют заполняемые вручную сосуды, должен быть ясно виден в процессе заполнения.
Соответствие проверяют осмотром.
| | Применение на добровольной основе разд. 23 - 25 обеспечивают соблюдение требований технического регламента Таможенного союза "О безопасности машин и оборудования" (ТР ТС 010/2011) (Решение Коллегии Евразийской экономической комиссии от 09.03.2021 N 28). | |
| | Применение на добровольной основе разд. 23 - 25 обеспечивают соблюдение требований технического регламента Таможенного союза "О безопасности машин и оборудования" (ТР ТС 010/2011) (Решение комиссии Таможенного союза от 18.10.2011 N 823). | |
Применяют соответствующий
раздел части 1 со следующим дополнением.
Если капиллярная трубка терморегулятора подвергается изгибу при нормальной эксплуатации, то:
-
в случаях, когда трубка является частью внутренней проводки, применяют соответствующий раздел части 1;
- в случаях, когда трубка проложена отдельно, ее подвергают 1000 изгибов с частотой не более 30 раз в минуту.
Примечание 101 - Если в любом из указанных случаев перемещение подвижной части прибора с указанной частотой невозможно, например из-за массы данной части, то частота изгибов может быть уменьшена.
После испытания трубка не должна иметь следов повреждений, указанных в настоящем стандарте и влияющих на ее дальнейшую эксплуатацию.
Однако если нарушение целостности капиллярной трубки приводит к отключению прибора (при сохранении его работоспособности), то трубки, проложенные отдельно, на соответствие данным требованиям не испытывают, а трубки, проложенные как часть внутренней проводки, не осматривают.
Соответствие в этом случае проверяют нарушением целостности капиллярной трубки.
Примечание 102 - Должны быть приняты меры, исключающие закупоривание капиллярной трубки при нарушении ее целостности.
Применяют соответствующий
раздел части 1.
25 Присоединение к источнику питания и внешние гибкие шнуры
Применяют соответствующий
раздел части 1 со следующими изменениями.
Приборы не должны быть оборудованы приборным вводом.
Закрепленные приборы и приборы массой более 40 кг без роликов, колес или аналогичных средств должны иметь такую конструкцию, чтобы присоединение шнура питания было возможно после установки прибора в соответствии с инструкциями изготовителя.
Зажимы для постоянного присоединения к стационарной проводке могут также использоваться для
крепления типа X шнура питания. В этом случае прибор должен быть оснащен устройством крепления шнура, соответствующим
25.16.
Если прибор оборудован комплектом зажимов, позволяющих присоединение гибкого шнура, они должны подходить для шнура с креплением типа X.
В обоих случаях руководство по эксплуатации должно содержать все данные о шнуре питания.
Присоединение питающих проводов к встраиваемым приборам может быть проведено перед установкой приборов.
Соответствие проверяют осмотром.
Вместо типов шнуров питания, указанных в части 1, применяют следующее требование.
Шнуры питания должны представлять собой маслостойкие гибкие кабели в оболочке, не легче обычного шнура в полихлоропреновой или аналогичной синтетической оболочке (условное обозначение 60245 IEC 57).
| | Применение на добровольной основе разд. 26 - 30 обеспечивают соблюдение требований технического регламента Таможенного союза "О безопасности машин и оборудования" (ТР ТС 010/2011) (Решение Коллегии Евразийской экономической комиссии от 09.03.2021 N 28). | |
| | Применение на добровольной основе разд. 26 - 30 обеспечивают соблюдение требований технического регламента Таможенного союза "О безопасности машин и оборудования" (ТР ТС 010/2011) (Решение комиссии Таможенного союза от 18.10.2011 N 823). | |
26 Зажимы для внешних проводов
Применяют соответствующий
раздел части 1.
27 Средства для заземления
Применяют соответствующий
раздел части 1 со следующим дополнением.
Стационарные приборы должны быть оборудованы зажимом для присоединения внешнего эквипотенциального проводника. Данный зажим должен иметь надежный электрический контакт со всеми закрепленными доступными металлическими частями прибора и обеспечивать возможность присоединения к нему проводника с номинальной площадью поперечного сечения до 10 мм2. Зажим должен быть расположен в месте, удобном для присоединения к нему проводника после установки прибора.
Примечание 101 - Наличие электрического контакта с зажимом для небольших закрепленных доступных металлических частей, например табличек с заводской маркой изготовителя и т.п., не требуется.
Применяют соответствующий
раздел части 1.
29 Зазоры, пути утечки и сплошная изоляция
Применяют соответствующий
раздел части 1 со следующим дополнением.
Микросреда имеет степень загрязнения 3, и изоляция должна иметь сравнительный индекс трекингостойкости (СИТ) не менее 250, кроме случаев, когда изоляция защищена или расположена так, что воздействие на нее загрязнения при нормальной эксплуатации прибора маловероятно.
30 Теплостойкость и огнестойкость
Применяют соответствующий
раздел части 1 со следующими изменениями.
Испытание раскаленной проволокой проводят при температуре 650 °C.
| | Применение на добровольной основе разд. 31 - 32 обеспечивают соблюдение требований технического регламента Таможенного союза "О безопасности машин и оборудования" (ТР ТС 010/2011) (Решение Коллегии Евразийской экономической комиссии от 09.03.2021 N 28). | |
| | Применение на добровольной основе разд. 31 - 32 обеспечивают соблюдение требований технического регламента Таможенного союза "О безопасности машин и оборудования" (ТР ТС 010/2011) (Решение комиссии Таможенного союза от 18.10.2011 N 823). | |
Применяют соответствующий
раздел части 1.
32 Радиация, токсичность и подобные опасности
Применяют соответствующий
раздел части 1.
Применяют
приложения части 1 со следующим дополнением.
(обязательное)
ИСПЫТАНИЕ НА ТРЕКИНГОСТОЙКОСТЬ
К ряду указанных значений контрольных напряжений добавить значение 250 В.
УДК 641.542.4:658.382.3:006.354 | |
Ключевые слова: котлы варочные для предприятий общественного питания, требования безопасности, методы испытаний |