Главная // Актуальные документы // Актуальные документы (обновление с 29.09.2025 по 01.11.2025) // ГОСТ (Государственный стандарт)СПРАВКА
Источник публикации
М.: ФГБУ "Институт стандартизации", 2025
Примечание к документу
Документ
вводится в действие с 01.10.2026.
Название документа
"ГОСТ IEC 60332-3-10-2021. Межгосударственный стандарт. Испытания электрических и оптических кабелей в условиях воздействия пламени. Часть 3-10. Распространение пламени по вертикально расположенным пучкам проводов или кабелей. Испытательная установка"
(введен в действие Приказом Росстандарта от 28.08.2025 N 952-ст)
"ГОСТ IEC 60332-3-10-2021. Межгосударственный стандарт. Испытания электрических и оптических кабелей в условиях воздействия пламени. Часть 3-10. Распространение пламени по вертикально расположенным пучкам проводов или кабелей. Испытательная установка"
(введен в действие Приказом Росстандарта от 28.08.2025 N 952-ст)
агентства по техническому
регулированию и метрологии
от 28 августа 2025 г. N 952-ст
МЕЖГОСУДАРСТВЕННЫЙ СТАНДАРТ
ИСПЫТАНИЯ ЭЛЕКТРИЧЕСКИХ И ОПТИЧЕСКИХ КАБЕЛЕЙ
В УСЛОВИЯХ ВОЗДЕЙСТВИЯ ПЛАМЕНИ
ЧАСТЬ 3-10
РАСПРОСТРАНЕНИЕ ПЛАМЕНИ ПО ВЕРТИКАЛЬНО
РАСПОЛОЖЕННЫМ ПУЧКАМ ПРОВОДОВ ИЛИ КАБЕЛЕЙ.
ИСПЫТАТЕЛЬНАЯ УСТАНОВКА
Tests on electric and optical fibre cables under fire
conditions. Part 3-10. Test for vertical flame spread
of vertically-mounted bunched wires or cables. Apparatus
(IEC 60332-3-10:2018, IDT)
ГОСТ IEC 60332-3-10-2021
Дата введения
1 октября 2026 года
Цели, основные принципы и общие правила проведения работ по межгосударственной стандартизации установлены
ГОСТ 1.0 "Межгосударственная система стандартизации. Основные положения" и
ГОСТ 1.2 "Межгосударственная система стандартизации. Стандарты межгосударственные, правила и рекомендации по межгосударственной стандартизации. Правила разработки, принятия, обновления и отмены"
1 ПОДГОТОВЛЕН Республиканским государственным предприятием на праве хозяйственного ведения "Казахстанский институт стандартизации и метрологии" на основе собственного перевода на русский язык англоязычной версии стандарта, указанного в
пункте 5
2 ВНЕСЕН Комитетом технического регулирования и метрологии Министерства торговли и интеграции Республики Казахстан
3 ПРИНЯТ Межгосударственным советом по стандартизации, метрологии и сертификации (протокол от 14 июля 2021 г. N 59-2021)
За принятие проголосовали:
Краткое наименование страны по МК (ИСО 3166) 004-97 | Код страны по МК (ИСО 3166) 004-97 | Сокращенное наименование национального органа по стандартизации |
Армения | AM | ЗАО "Национальный орган по стандартизации и метрологии" Республики Армения |
Беларусь | BY | Госстандарт Республики Беларусь |
Казахстан | KZ | Госстандарт Республики Казахстан |
Киргизия | KG | Кыргызстандарт |
Россия | RU | Росстандарт |
Узбекистан | UZ | Узбекское агентство по техническому регулированию |
4
Приказом Федерального агентства по техническому регулированию и метрологии от 28 августа 2025 г. N 952-ст межгосударственный стандарт ГОСТ IEC 60332-3-10-2021 введен в действие в качестве национального стандарта Российской Федерации с 1 октября 2026 г.
5 Настоящий стандарт идентичен международному стандарту IEC 60332-3-10:2018 "Испытания электрических и оптических кабелей в условиях воздействия пламени. Часть 3-10. Распространение пламени по вертикально расположенным пучкам проводов или кабелей. Испытательная установка" ("Tests on electric and optical fibre cables under fire conditions - Part 3-10: Test for vertical flame spread of vertically-mounted bunched wires or cables - Apparatus", IDT).
Международный стандарт разработан Техническим комитетом по стандартизации TC 20 "Электрические кабели" Международной электротехнической комиссии (IEC)
Информация о введении в действие (прекращении действия) настоящего стандарта и изменений к нему на территории указанных выше государств публикуется в указателях национальных стандартов, издаваемых в этих государствах, а также в сети Интернет на сайтах соответствующих национальных органов по стандартизации.
В случае пересмотра, изменения или отмены настоящего стандарта соответствующая информация будет опубликована на официальном интернет-сайте Межгосударственного совета по стандартизации, метрологии и сертификации в каталоге "Межгосударственные стандарты"
IEC 60332-3-10 является частью серии стандартов, посвященных испытаниям электрических и оптических кабелей в условиях воздействия пламени.
В сериях IEC 60332-1 и IEC 60332-2 установлены методы испытания на нераспространение горения для одиночного вертикально расположенного изолированного провода или кабеля. Нельзя считать, что если провод или кабель удовлетворяет требованиям частей 1 и 2, то при групповой вертикальной прокладке (вертикальном пучке) такие провода или кабели будут давать аналогичные результаты. Это связано с тем, что распространение пламени вдоль вертикального пучка кабелей зависит от ряда факторов, таких как:
a) объем горючего материала, который подвергается воздействию внешнего источника пламени, которое возникает при горении кабелей;
b) геометрическая форма кабелей и ее связь с оболочкой;
c) температура, при которой возможно воспламенение газов, выделяемых кабелями;
d) количество горючего газа, выделяемого кабелями при определенной повышенной температуре;
e) объем воздуха, проходящего через кабельное сооружение;
f) конструкция кабеля, например, бронированный или небронированный, многожильный или одножильный.
Учитывая влияние перечисленных факторов, предполагается, что кабели могут воспламениться при воздействии внешнего источника пламени.
В серии IEC 60332-3 приводится подробное описание метода испытания, в котором групповая прокладка кабелей моделируется различными комбинациями испытуемых образцов. Для удобства применения стандарта при дифференциации категорий испытаний стандарт разделен на следующие части:
- часть 3-10: испытательная установка;
- часть 3-21: категория A F/R;
- часть 3-22: категория A;
- часть 3-23: категория B;
- часть 3-24: категория C;
- часть 3-25: категория D.
В этих частях, начиная с части 3-21, установлены разные категории и соответствующие методы испытаний. Категории отличаются продолжительностью испытания, количеством неметаллического материала испытуемого образца и способом крепления испытуемого образца. Во всех категориях кабели, имеющие одну токопроводящую жилу сечением более 35 мм2, испытывают при закреплении с зазором, а кабели с токопроводящими жилами сечением 35 мм2 или менее и оптоволоконные кабели испытывают при закреплении без зазора.
Категории однозначно не отражают конкретных условий обеспечения безопасности при реальных способах прокладки кабелей. Фактическое расположение кабелей при прокладке может являться определяющим фактором, влияющим на распространение пламени в условиях реального пожара.
Способ крепления, указанный для категории A F/R (часть 3-21), предназначен для кабелей специальных конструкций, используемых в специальных видах прокладки.
Категории A, B, C и D (части 3-22 - 3-25 соответственно) предназначены для общего применения для разного количества неметаллических материалов.
Настоящий стандарт входит в серию IEC 60332 и устанавливает требования к испытательной установке для методов испытаний по оценке распространения пламени в заданных условиях по вертикально расположенным пучкам электрических или оптических проводов или кабелей, ее расположению и калибровке.
Примечание - К электрическим кабелям и проводам относятся все кабели и провода с изолированными металлическими токопроводящими жилами, которые используются для передачи энергии и сигналов.
В настоящем стандарте нормативные ссылки отсутствуют.
В настоящем стандарте применен следующий термин с соответствующим определением.
ISO и IEC ведут базы данных терминов, применяемых в стандартизации, доступ к которым может быть обеспечен по следующим адресам:
- платформа онлайн-просмотра ISO: http://www.iso.org/obp;
- Электропедия IEC: http://www.electropedia.org/.
3.1 источник зажигания (ignition source): Источник энергии, вызывающий воспламенение.
[Источник: ISO 13943:2017, 3.219].
Испытание проводится при скорости ветра не более 8 м/с, измеренной анемометром, установленным на испытательной камере и при температуре внутри камеры не ниже 5 °C или не выше 40 °C, которую измеряют на высоте около 1500 мм над уровнем пола, 50 мм от боковой стенки и на расстоянии 1000 мм от двери. Дверь корпуса испытательной камеры должна быть закрыта в течение всего испытания.
5 Испытательная установка
5.1 Испытательная камера
Испытательная камера (см.
рисунки 1a и
1b) представляет собой вертикальную испытательную камеру шириной (1000 +/- 100) мм, длиной (2000 +/- 100) мм и высотой (4000 +/- 100) мм; пол камеры должен быть приподнят над уровнем земли.
Стыки стенок камеры должны быть герметичными. Воздух должен поступать через входное отверстие размером (800 +/- 20) x (400 +/- 10) мм, находящееся в полу испытательной камеры, расположенное на расстоянии (150 +/- 10) мм от ее передней стенки (см.
рисунок 1).
Выходное отверстие размером (300 +/- 30) x (1000 +/- 100) мм располагается в задней части верха испытательной камеры. Задняя и боковые стенки испытательной камеры должны иметь термоизоляцию, обеспечивающую коэффициент теплопередачи около 0,7 Вт·м
-2·К
-1. Например, для стального листа толщиной от 1,5 до 2,0 мм, достаточным является покрытие слоем минеральной ваты толщиной 65 мм с соответствующим внешним покрытием (см.
рисунок 2).
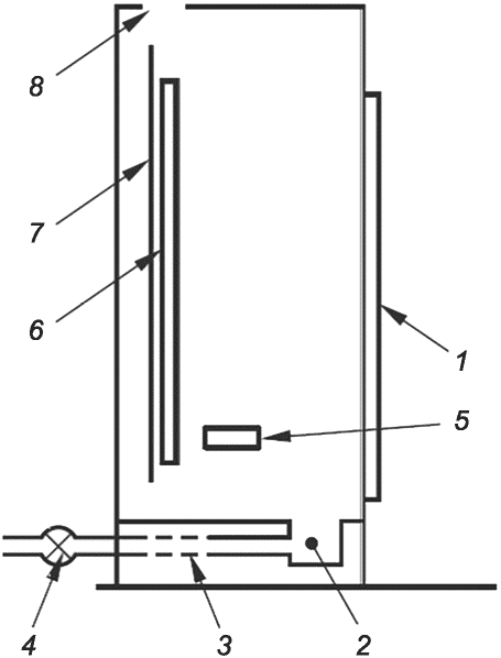
Расстояние между лестницей и задней стенкой камеры - (150 +/- 10) мм, а от нижней перекладины лестницы до пола - (400 +/- 5) мм.
Расстояние от самой нижней точки испытуемого образца до пола составляет около 100 мм (см.
рисунок 3).
5.2 Устройство подачи воздуха
Должно быть предусмотрено устройство подачи в камеру контролируемого воздушного потока.
Воздух должен подаваться в испытательную камеру через короб, установленный в нижней части камеры. Размер короба должен соответствовать входному отверстию для воздуха. Воздух должен подаваться в короб при помощи вентилятора по входному каналу для подачи воздуха, который проходит параллельно полу, вдоль центральной линии горелки, как показано на
рисунке 1b. Воздуховод должен быть присоединен к более длинной стороне короба.
Чтобы облегчить доступ к испытательной камере, над входным отверстием для воздуха размещается решетка, но она не должна ограничивать поток воздуха и изменять его направление.
Рекомендуется использовать воздуховод с постоянным поперечным сечением около 240 см2 и минимальной длиной 60 см.
Перед тем, как зажечь горелку, включают вентилятор и обеспечивают подачу воздуха в камеру со скоростью (5000 +/- 500) л/мин при постоянно контролируемых температуре (20 +/- 10) °C и атмосферном давлении. Количество воздуха, подаваемого в камеру, определяется до начала испытания со стороны входного отверстия.
Объем подаваемого воздуха должен быть постоянным в течение всего испытания до тех пор, пока не прекратится горение или тление кабеля или в течение не более 1 ч после воздействия испытательным пламенем, затем пламя гасят или тление прекращают.
После окончания испытания, перед тем, как войти в камеру, через входное отверстие следует несколько минут подавать воздушный поток для удаления токсичных газов.
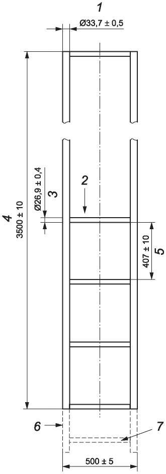
5.3 Типы лестниц для крепления образцов
Используют два типа стальных трубчатых лестниц: стандартную лестницу шириной (500 +/- 5) мм и широкую лестницу шириной (800 +/- 10) мм.
5.4 Устройство для очистки выходящего воздушного потока
В случае необходимости может использоваться устройство для сбора и очистки продуктов горения, выходящих из испытательной камеры. Это устройство не должно влиять на количество (объем) подаваемого воздуха, проходящего через испытательную камеру.
6.1 Тип
В соответствии с требованиями к проведению испытаний источником зажигания являются одна или две пропановые газовые горелки ленточного типа в комплекте со смесителем Вентури и индивидуальным набором расходомеров.
Расстояние между смесителем Вентури и горелкой должно быть не менее 150 мм. Внутренний диаметр трубки (трубы или гибкого оплетенного шланга) между смесителем Вентури и горелкой должен быть не менее 20 мм.
Рекомендуется, чтобы расстояние между смесителем Вентури и горелкой не превышало 900 мм.
Кривизна между смесителем Вентури и горелкой должна быть сведена к минимуму.
В качестве топлива должен использоваться технический пропан с массовой долей пропана 95%. Рабочая часть горелки в виде плоской металлической пластины должна иметь 242 отверстия диаметром 1,32 мм каждое, расстояние между центрами которых составляет 3,2 мм, расположенные в три ряда в шахматном порядке по 81, 80 и 81 отверстия соответственно. При этом образуется прямоугольник размером (257 x 4,5) мм. Поскольку отверстия в пластине допускается высверливать без специального сверлильного инструмента, допускаются небольшие отклонения от указанного межцентрового расстояния. Кроме того, на каждой стороне пластины допускается высверливание небольших вспомогательных отверстий, обеспечивающих поддержание зажженного пламени.
Для обеспечения воспроизводимости результатов, полученных между различными испытательными лабораториями, рекомендуется использовать горелку в соответствии с
приложением A.
Каждая горелка должна быть снабжена устройством, контролирующим расход паров пропана и воздуха - ротационным расходомером или массовым расходомером.
Для простоты использования рекомендуются массовые расходомеры.
Пример системы управления горелкой с использованием ротационных расходомеров показан на
рисунке 7.
Для обеспечения безопасной работы источника зажигания необходимо соблюдать следующие меры предосторожности:
- система подачи газа должна быть снабжена клапаном;
- следует использовать защиту в случае отсутствия пламени;
- во время зажигания и тушения следует использовать безопасную последовательность подачи пропана и воздуха.
Калибровка ротационных расходомеров пропановых паров и воздуха должна быть произведена после установки, чтобы гарантировать, что трубка и смеситель Вентури не повлияли на калибровку.
При изменении температуры и давления по сравнению с установленными для пропанового и воздушного ротационных расходомеров, при необходимости, вносятся поправки в соответствии с
приложением B.
Пропановый и воздушный ротационные расходомеры калибруются в соответствии со следующими стандартными условиями: стандартные температура и давление 20 °C и 1 бар (100 кПа).
При проведении данного испытания температура точки росы воздуха должна быть не выше 0 °C.
Для обеспечения каждой горелкой номинальной интенсивности тепловыделения 73,7 x 106 Дж/ч (20,5 кВт) <1> расход при испытании должен быть:
--------------------------------
<1> Чистая теплота сгорания 46,4 кДж/г используется для расчета расхода пропана.
- для воздуха - (77,7 +/- 4,8) л/мин при стандартных условиях (1 бар и 20 °C) или (1550 +/- 95) мг/с;
- для пропана - (13,5 +/- 0,5) л/мин при стандартных условиях (1 бар и 20 °C) или (442 +/- 11) мг/с.
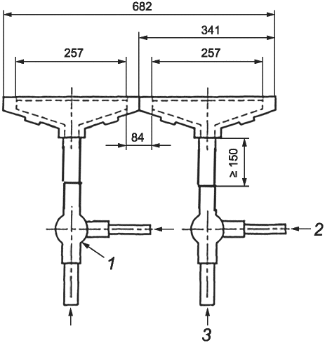
6.2 Расположение горелки
При испытании горелка устанавливается горизонтально на расстоянии (75 +/- 5) мм от передней поверхности образца на высоте (630 +/- 5) мм над полом испытательной камеры и примерно симметрично оси лестницы. Точка приложения пламени горелки должна быть расположена между двумя перекладинами лестницы (см.
рисунки 2 и
3).
Допускается проводить регулировку потока воздуха и газа до испытания без установки горелки в рабочее положение.
Если применяют две горелки при использовании широкой лестницы, они должны быть расположены симметрично оси лестницы, как показано на
рисунке 5b. Система горелок должна быть расположена таким образом, чтобы ее центральная линия приблизительно совпадала с центром лестницы.
Размеры в миллиметрах
| |
1 - выходное отверстие для дыма размером (300 +/- 30) x (1000 +/- 100) мм; 2 - входное отверстие для воздуха размером (800 +/- 20) x (400 +/- 10) мм; 3 - приспособление для обеспечения зазора между камерой и уровнем пола | 1 - дверь; 2 - короб для подачи воздуха; 3 - входной канал для подачи воздуха; 4 - вентилятор (примерное положение); 5 - горелка; 6 - испытуемые кабели; 7 - лестница; 8 - выходное отверстие для дыма |
1a - Испытательная камера | 1b - Схематический вид сбоку испытательной камеры и устройства подачи воздуха |
Рисунок 1 - Испытательная камера
Размеры в миллиметрах
1 - стальной лист толщиной от 1,5 до 2 мм;
2 - термоизоляция из минеральной ваты, толщиной около 65 мм
с соответствующим внешним покрытием, обеспечивающим
коэффициент теплопередачи около 0,7 Вт·м-2·К-1; 3 - горелка
Рисунок 2 - Термоизоляция задней и боковых стенок
испытательной камеры
Размеры в миллиметрах
(приблизительные значения)
1 - круглые стальные перекладины; 2 - крепление
металлической проволокой; 3 - центральная линия горелки;
4 - пол; 5 - максимальная ширина (в соответствии
с категорией испытания); 6 - возможное расширение
металлических стоек; 7 - дополнительные
круглые стальные перекладины
Рисунок 3 - Расположение горелки и стандартное размещение
образца на лестнице
Размеры в миллиметрах
| |
4a - стандартная лестница | |
1 - диаметр стойки; 2 - перекладина (количество перекладин
равно 9); 3 - диаметр перекладины; 4 - общая высота
лестницы; 5 - расстояние между перекладинами;
6 - возможное расширение металлических стоек;
7 - дополнительные круглые стальные перекладины
Рисунок 4 - Трубчатые стальные лестницы для испытания кабеля
Размеры в миллиметрах
5a - Одиночная горелка, используемая
со стандартной лестницей
5b - Комбинация двух горелок, используемых
с широкой лестницей
1 - смеситель Вентури для воздуха и газа;
2 - подача пропана; 3 - подача сжатого воздуха
Рисунок 5 - Схемы горелок
Размеры в миллиметрах
(приблизительные значения)
1 - 242 круглых отверстий диаметром 1,32 мм каждое,
расстояние между центрами которых 3,2 мм, расположенных
в три ряда в шахматном порядке по 81, 80 и 81 отверстию
на поверхности горелки
Рисунок 6 - Расположение отверстий горелки
1 - регулятор; 2 - пьезоэлектрический воспламенитель;
3 - устройство защиты в случае отсутствия пламени;
4 - контрольные термопары; 5 - баллон с пропаном;
6 - винтовой клапан (6A - альтернативное расположение);
7 - вспомогательное питание; 8 - поток газа;
9 - расходомеры; 10 - смеситель Вентури; 11 - горелка;
12 - шаровой клапан; 13 - поток воздуха;
14 - баллон со сжатым воздухом;
15 - винтовой клапан вспомогательного питания
Рисунок 7 - Схема системы управления горелкой
с использованием ротационных расходомеров
(справочное)
ИНФОРМАЦИЯ О РЕКОМЕНДУЕМЫХ ГОРЕЛКАХ
И МАССОВЫХ РАСХОДОМЕРАХ <1>
--------------------------------
<1> Информация, указанная в приложении A, охватывающая названную продукцию и ее поставщиков, предоставлена для удобства пользователей и не является подтверждением этой продукции IEC. Можно использовать эквивалентную продукцию, если она приводит к таким же результатам.
Горелка (номер по каталогу 10L11-55) и смеситель Вентури (номер по каталогу 14-18), соответствующие требованиям
раздела 6, могут быть приобретены по адресу:
AGF Burner, Inc.
814 Asbury Ave.
Asbury Park, NJ 07712
www.agfburner.com
Серийно производимые массовые расходомеры, подходящие для проводимых испытаний в соответствии с настоящим стандартом, помимо прочих, поставляются компаниями:
- Brooks Instrument;
- KOBOLD Instruments AG.
(справочное)
ПОПРАВОЧНЫЕ КОЭФФИЦИЕНТЫ ДЛЯ КАЛИБРОВКИ РАСХОДОМЕРОВ
B.1 Общие положения
При использовании ротационных расходомеров для контроля скорости подачи газов необходимо учитывать два фактора.
Необходимо знать:
a) показания расходомера при использовании в реальных условиях эксплуатации;
b) при каких значениях температуры и давления газа расходомер был откалиброван и при каких условиях он должен работать.
Учитывая
перечисление a), большинство расходомеров указывают объемную скорость потока при атмосферной температуре и давлении, т.е. 20 °C и 1 бар. Однако, с учетом
пункта b), не все расходомеры откалиброваны и предназначены для работы при одной и той же температуре и давлении, поэтому необходимо убедиться, что температура и давление газа, проходящего через расходомер, соответствуют именно этому расходомеру. Для работы расходомера при температурах и давлениях, отличающихся от этих условий, требуется применение приведенного ниже поправочного коэффициента.
B.2 Пример
B.2.1 Общие положения
Предположим, что для горелки требуется скорость потока воздуха 77,7 л/мин при 1 баре и 20 °C.
Расходомер 1 откалиброван для работы при 2,4 бара (абсолютное давление) и 15 °C, но для индикации (л/мин) при давлении 1 бар и 15 °C.
Расходомер 2 откалиброван для работы при 1 баре (абсолютное давление) и 20 °C, но для индикации (л/мин) при давлении 1 бар и 20 °C.
Предположим, что давление подачи воздуха до расходомеров составляет 1 бар (см.
B.2.2) или 2,4 бара (см.
B.2.3) и 20 °C.
Поправочный коэффициент калибровки будет определяться по формуле

,
где T - это абсолютная температура, в Кельвинах (К);
P - это абсолютное давление, в барах (бар);
P1, T1 - это условия калибровки;
P2, T2 - это рабочие условия.
B.2.2 Воздух, подаваемый при 1 баре
Расходомер 1
Необходимо использовать поправочный коэффициент, так как расходомер работает в условиях, отличающихся от проектных условий эксплуатации.
P1 = 2,4 бара | T1 = 15 °C = 288 К |
P2 = 1 бар | T2 = 20 °C = 293 К |
Подставим эти значения:

.
Таким образом, чтобы установить скорость потока 77,7 л/мин в стандартных условиях, требуется показание этого расходомера 121,2 л/мин (77,7·1,56).
Расходомер 2
Поскольку этот расходомер работает в проектных условиях, требуемый расход 77,7 л/мин может считываться непосредственно с расходомера без поправочного коэффициента.
B.2.3 Воздух, подаваемый при 2,4 бара
Расходомер 1
Необходимо использовать поправочный коэффициент для температуры, но не для давления, так как расходомер работает при проектном давлении.
P1 = 2,4 бара | T1 = 15 °C = 288 К |
P2 = 2,4 бара | T2 = 20 °C = 293 К |
Подставим эти значения:

.
Таким образом, чтобы установить скорость потока 77,7 л/мин в стандартных условиях, требуется показание этого расходомера 78,5 л/мин (77,7·1,01).
Расходомер 2
Здесь также необходимо использовать поправочный коэффициент, поскольку он работает в условиях, отличающихся от проектных.
P1 = 1 бар | T1 = 20 °C = 293 К |
P2 = 2,4 бара | T2 = 20 °C = 293 К |
Подставим эти значения:

.
Таким образом, чтобы установить скорость потока 77,7 л/мин в стандартных условиях, требуется показание этого расходомера 50,5 л/мин (77,7·0,65).
[1] | ISO 13943:2017 <1>, Fire safety - Vocabulary (Пожарная безопасность. Словарь). |
--------------------------------
<1> Заменен на ISO 13943:2023. Однако для однозначного соблюдения требования настоящего стандарта, выраженного в датированной ссылке, рекомендуется использовать только указанное в этой ссылке издание.
УДК 621.315.2:620.1:536.46:331.101.26:006.354(574) | | IDT |
Ключевые слова: электрические кабели и провода, оптические кабели, испытания, распространение пламени по вертикально расположенным пучкам, испытательная установка |