Главная // Актуальные документы // ГОСТ (Государственный стандарт)СПРАВКА
Источник публикации
М.: Стандартинформ, 2018
Примечание к документу
Документ включен в
Перечень международных и региональных (межгосударственных) стандартов, а в случае их отсутствия - национальных (государственных) стандартов, содержащих правила и методы исследований (испытаний) и измерений, в том числе правила отбора образцов, необходимые для применения и исполнения требований технического
регламента Таможенного союза "О безопасности низковольтного оборудования" (ТР ТС 004/2011) и осуществления оценки соответствия объектов технического регулирования (
Решение Коллегии Евразийской экономической комиссии от 11.05.2023 N 55).
Документ включен в
Перечень стандартов, содержащих правила и методы исследований (испытаний) и измерений, в том числе правила отбора образцов, необходимые для применения и исполнения требований технического
регламента Таможенного союза "О безопасности низковольтного оборудования" (ТР ТС 004/2011) и осуществления оценки соответствия объектов технического регулирования (
Решение Комиссии Таможенного союза от 16.08.2011 N 768).
Документ включен в
Перечень национальных стандартов, содержащих правила и методы исследований (испытаний) и измерений, в том числе правила отбора образцов, необходимых для применения и исполнения Федерального
закона от 22.07.2008 N 123-ФЗ "Технический регламент о требованиях пожарной безопасности" и осуществления оценки соответствия (
Распоряжение Правительства РФ от 10.03.2009 N 304-р).
Текст данного документа приведен с учетом
поправки, опубликованной в "ИУС", N 3, 2020.
Документ
введен в действие с 01.12.2018.
Название документа
"ГОСТ IEC 60332-3-10-2015. Межгосударственный стандарт. Испытания электрических и оптических кабелей в условиях воздействия пламени. Часть 3-10. Распространение пламени по вертикально расположенным пучкам проводов или кабелей. Испытательная установка"
(введен в действие Приказом Росстандарта от 05.06.2018 N 305-ст)
"ГОСТ IEC 60332-3-10-2015. Межгосударственный стандарт. Испытания электрических и оптических кабелей в условиях воздействия пламени. Часть 3-10. Распространение пламени по вертикально расположенным пучкам проводов или кабелей. Испытательная установка"
(введен в действие Приказом Росстандарта от 05.06.2018 N 305-ст)
агентства по техническому
регулированию и метрологии
от 5 июня 2018 г. N 305-ст
МЕЖГОСУДАРСТВЕННЫЙ СТАНДАРТ
ИСПЫТАНИЯ ЭЛЕКТРИЧЕСКИХ И ОПТИЧЕСКИХ КАБЕЛЕЙ
В УСЛОВИЯХ ВОЗДЕЙСТВИЯ ПЛАМЕНИ
ЧАСТЬ 3-10
РАСПРОСТРАНЕНИЕ ПЛАМЕНИ ПО ВЕРТИКАЛЬНО РАСПОЛОЖЕННЫМ
ПУЧКАМ ПРОВОДОВ ИЛИ КАБЕЛЕЙ. ИСПЫТАТЕЛЬНАЯ УСТАНОВКА
Tests on electric and optical fibre cables under fire
conditions. Part 3-10. Test for vertical flame spread
of vertically-mounted bunched wires or cables. Apparatus
(IEC 60332-3-10:2009, IDT)
ГОСТ IEC 60332-3-10-2015
Дата введения
1 декабря 2018 года
Цели, основные принципы и основной порядок проведения работ по межгосударственной стандартизации установлены в
ГОСТ 1.0-2015 "Межгосударственная система стандартизации. Основные положения" и
ГОСТ 1.2-2015 "Межгосударственная система стандартизации. Стандарты межгосударственные, правила и рекомендации по межгосударственной стандартизации. Правила разработки, принятия, обновления и отмены".
1 ПОДГОТОВЛЕН Республиканским государственным предприятием "Казахстанский институт стандартизации и сертификации" на основе собственного перевода на русский язык англоязычной версии стандарта, указанного в
пункте 5
2 ВНЕСЕН Комитетом технического регулирования и метрологии Министерства индустрии и новых технологий Республики Казахстан
3 ПРИНЯТ Межгосударственным советом по стандартизации, метрологии и сертификации (протокол от 18 июня 2015 г. N 47)
За принятие проголосовали:
Краткое наименование страны по МК (ИСО 3166) 004-97 | Код страны по МК (ИСО 3166) 004-97 | Сокращенное наименование национального органа по стандартизации |
Беларусь | BY | Госстандарт Республики Беларусь |
Казахстан | KZ | Госстандарт Республики Казахстан |
Киргизия | KG | Кыргызстандарт |
Молдова | MD | Институт стандартизации Молдовы |
Россия | RU | Росстандарт |
Таджикистан | TJ | Таджикстандарт |
Узбекистан | UZ | Узстандарт |
4
Приказом Федерального агентства по техническому регулированию и метрологии от 5 июня 2018 г. N 305-ст межгосударственный стандарт ГОСТ IEC 60332-3-10:2015 введен в действие в качестве национального стандарта Российской Федерации с 1 декабря 2018 г.
5 Настоящий стандарт идентичен международному стандарту IEC 60332-3-10:2009 "Испытания электрических и оптических кабелей в условиях воздействия пламени. Часть 3-10. Распространение пламени по вертикально расположенным пучкам проводов или кабелей. Испытательная установка" ("Tests on electric and optical fibre cables under fire conditions - Part 3-10: Test for vertical flame spread of vertically-mounted bunched wires or cables - Apparatus", IDT).
Международный стандарт IEC 60332-3-10:2009 разработан Техническим комитетом по стандартизации IEC TC 20 "Электрические кабели" Международной электротехнической комиссии (IEC).
При применении настоящего стандарта рекомендуется использовать вместо ссылочных международных стандартов соответствующие им межгосударственные стандарты, сведения о которых приведены в дополнительном
приложении ДА
6 ВВЕДЕН ВПЕРВЫЕ
Информация об изменениях к настоящему стандарту публикуется в ежегодном информационном указателе "Национальные стандарты", а текст изменений и поправок - в ежемесячном информационном указателе "Национальные стандарты". В случае пересмотра (замены) или отмены настоящего стандарта соответствующее уведомление будет опубликовано в ежемесячном информационном указателе "Национальные стандарты". Соответствующая информация, уведомление и тексты размещаются также в информационной системе общего пользования - на официальном сайте Федерального агентства по техническому регулированию и метрологии в сети Интернет (www.gost.ru).
Части 1 и 2 IEC 60332 устанавливают методы испытаний на нераспространение горения одиночного вертикально расположенного изолированного провода или кабеля. Нельзя считать, что если провод или кабель удовлетворяют требованиям частей 1 и 2, то при групповой вертикальной прокладке такие провода и кабели будут давать аналогичные результаты. Это объясняется тем, что распространение пламени при групповой вертикальной прокладке проводов или кабелей зависит от ряда факторов, таких как:
a) объема горючего материала, который подвергается воздействию внешнего источника пламени, а также пламени, которое возникает при горении кабелей;
b) геометрической формы кабелей и их взаимного расположения при прокладке;
c) температуры воспламенения газов, выделяемых кабелями;
d) объема горючих газов, выделяемых кабелями при определенной повышенной температуре;
e) объема воздуха, проходящего через кабельное сооружение;
f) конструкции кабеля, например бронированный или без брони, многожильный или одножильный.
При учете влияния перечисленных факторов предполагается, что кабели могут воспламеняться при воздействии внешнего источника пламени.
В части 3 IEC 60332 приводится подробное изложение метода испытания, в котором групповая прокладка кабелей моделируется различными комбинациями испытуемых образцов. Для облегчения применения стандарта при дифференциации категорий испытания стандарт разделен на следующие части:
Часть 3-10: Испытательная установка
Часть 3-21: Категория A F/R
Часть 3-22: Категория A
Часть 3-23: Категория B
Часть 3-24: Категория C
Часть 3-25: Категория D
В частях, начиная с 3-21, установлены разные категории и соответствующие методы испытаний. Эти категории отличаются продолжительностью испытания, количеством неметаллического материала испытуемого образца и способом крепления испытуемого образца. Во всех категориях кабели, имеющие одну и более токопроводящую жилу сечением более 35 мм2 испытывают при закреплении с зазором, тогда как кабели с токопроводящими жилами 35 мм2 или менее испытывают при закреплении без зазора.
Эти категории однозначно не отражают конкретных условий обеспечения безопасности при реальных способах прокладки кабелей. Действительное расположение кабелей при прокладке может являться определяющим фактором, влияющим на распространение пламени в условиях реального пожара.
Способ крепления, указанный для категории A F/R (часть 3-21) предназначен для кабелей специальных конструкций, используемых при специальных видах прокладки.
Категории A, B, C и D (части с 3-22 по 3-25 соответственно) предназначены для общего применения для разного количества неметаллических материалов.
Настоящий стандарт входит в серию IEC 60332, состоящую из частей 3-10, 3-21, 3-22, 3-23, 3-24 и 3-25, и устанавливает методы испытаний по оценке распространения пламени в заданных условиях по вертикально расположенным пучкам электрических или оптических проводов или кабелей.
Примечание - К электрическим проводам или кабелям относятся все кабели с изолированной токопроводящей жилой, которые используются для передачи энергии или сигналов.
Настоящий стандарт содержит описание испытательной установки, ее наладки и калибровки.
В настоящем стандарте использованы нормативные ссылки на следующие стандарты. Для датированных ссылок применяют только указанное издание ссылочного стандарта, для недатированных - последнее издание (включая все изменения к нему):
IEC 60695-4, Fire hazard testing - Part 4: Terminology concerning fire tests (Испытания на пожарную опасность. Часть 4. Терминология, относящаяся к испытаниям огнем)
IEC Guide 104, The preparation of safety publications and the use of basic safety publications and group safety publications (Подготовка публикаций по безопасности и использование основополагающих и групповых публикаций по безопасности)
В настоящем стандарте применены термины по IEC 60695-4, а также следующий термин с соответствующим определением:
3.1 источник зажигания (ignition source): Источник энергии, инициирующий горение.
Испытание проводится при скорости ветра не более 8 м/с, измеренной анемометром, установленным на испытательной камере и при температуре внутри камеры не ниже 5 °C и не выше 40 °C, которую измеряют на расстоянии около 1500 мм над уровнем пола, 50 мм от боковой стенки и 1000 мм от двери. Дверь камеры в течение всего испытания должна быть закрыта.
5 Испытательная установка
Испытательная камера (см. рисунки 1a и
1b) представляет собой вертикальную камеру шириной (1000 +/- 100) мм, глубиной (2000 +/- 100) мм и высотой (4000 +/- 100) мм; пол камеры должен быть приподнят над уровнем пола.
Размеры в миллиметрах
1 - выходное отверстие для дыма размером
(300 +/- 30) x (1000 +/- 100) мм;
2 - входное отверстие для воздуха
размером (800 +/- 20) x (400 +/- 10) мм;
3 - приспособление для обеспечения зазора
между камерой и уровнем пола
Рисунок 1a - Испытательная камера
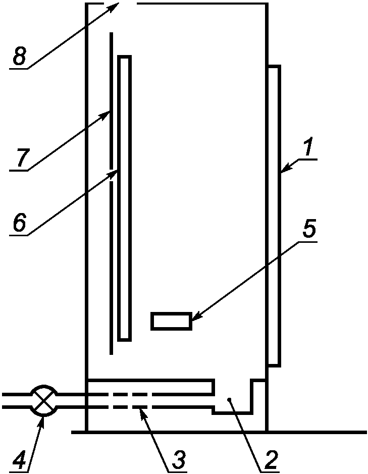
1 - дверца; 2 - короб для подачи воздуха; 3 - входной канал
для подачи воздуха; 4 - вентилятор (примерное положение);
5 - горелка; 6 - испытуемые кабели; 7 - лестница;
8 - выходное отверстие для дыма
Рисунок 1b - Схематический вид сбоку испытательной
камеры и устройства подачи воздуха
Рисунок 1 - Испытательная камера
Стыки стенок камеры должны быть воздухонепроницаемыми. Воздух должен свободно поступать через входное отверстие размером (800 +/- 20) x (400 +/- 10) мм, находящееся в полу испытательной камеры на расстоянии (150 +/- 10) мм от ее передней стенки (см.
рисунок 1).
Выходное отверстие размером (300 +/- 30) x (1000 +/- 100) мм располагается в задней части верха испытательной камеры. Задняя и боковые стенки камеры должны иметь термоизоляцию, обеспечивающую коэффициент теплопередачи около 0,7 Вт·м-2·К-1. Например, для стального листа толщиной от 1,5 до 2,0 мм достаточным является покрытие слоем минеральной ваты толщиной 65 мм с соответствующим внешним покрытием (см. рисунок 2). Расстояние между лестницей задней стенкой камеры (150 +/- 10) мм, а от нижней перекладины лестницы до пола - (400 +/- 5) мм.
Размеры в миллиметрах
1 - стальной лист толщиной от 1,5 до 2 мм; 2 - термоизоляция
из минеральной ваты толщиной приблизительно 65 мм
с соответствующим внешним покрытием, обеспечивающим
коэффициент теплопередачи около 0,7 Вт·м-2·К-1
Рисунок 2 - Термоизоляция задней
и боковых стенок испытательной камеры
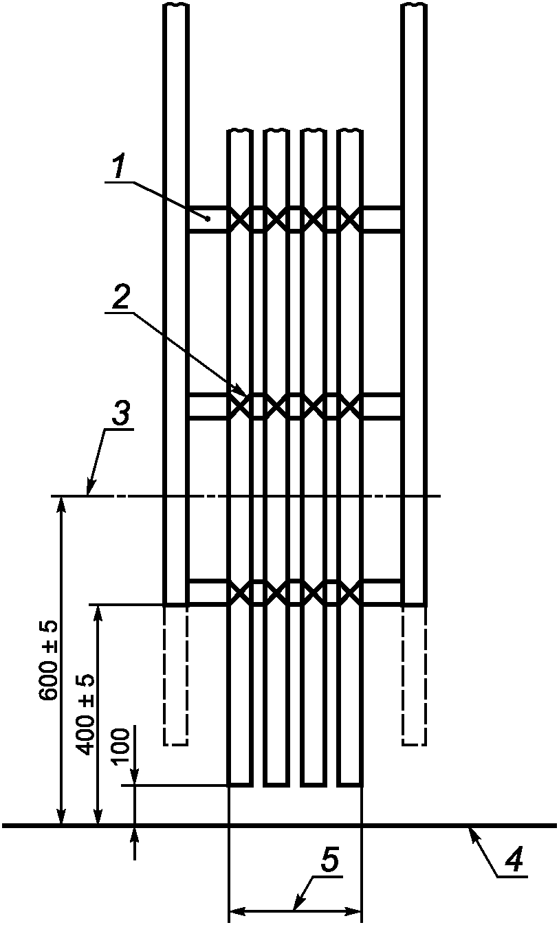
Расстояние от самой нижней точки образца до пола камеры около 100 мм (см. рисунок 3).
Размеры в миллиметрах
1 - круглые стальные перекладины; 2 - крепление
металлической проволокой; 3 - центральная линия горелки;
4 - пол; 5 - максимальная ширина образца (в соответствии
с категорией испытания)
Рисунок 3 - Расположение горелки
и стандартное размещение образца на лестнице
5.2 Устройство подачи воздуха
Должно быть предусмотрено устройство подачи в камеру контролируемого потока воздуха.
Воздух должен подаваться в испытательную камеру через короб, установленный в нижней части камеры, и размер короба должен соответствовать входному отверстию для воздуха. Воздух должен подаваться в короб при помощи вентилятора по воздуховоду, который проходит параллельно полу вдоль центральной линии горелки как показано на
рисунке 1b. Воздуховод должен быть присоединен к более длинной стороне короба.
Примечание 1 - Решетка размещается над входным отверстием для воздуха, чтобы способствовать доступу к испытательной камере, но не ограничивать поток воздуха и не изменять его направление.
Примечание 2 - Рекомендуется использовать воздуховод с постоянным поперечным сечением приблизительно 240 см2 и с минимальной длиной 60 см.
Перед тем, как зажечь горелку, включают вентилятор и обеспечивают подачу воздуха в камеру со скоростью (5000 +/- 500) л/мин при постоянно контролируемых температуре в диапазоне (20 +/- 10) °C и атмосферном давлении. Количество воздуха, подаваемого в камеру, определяется до начала испытания со стороны входного отверстия.
Объем подаваемого воздуха должен быть постоянным в течение всего испытания до тех пор, пока не прекратится горение или тление кабеля или в течение не более 1 ч после воздействия испытательным пламенем; затем пламя гасят или тление прекращают.
Примечание - После окончания испытания, перед тем как войти в камеру, через входное отверстие следует несколько минут подавать воздушный поток для удаления токсичных газов.
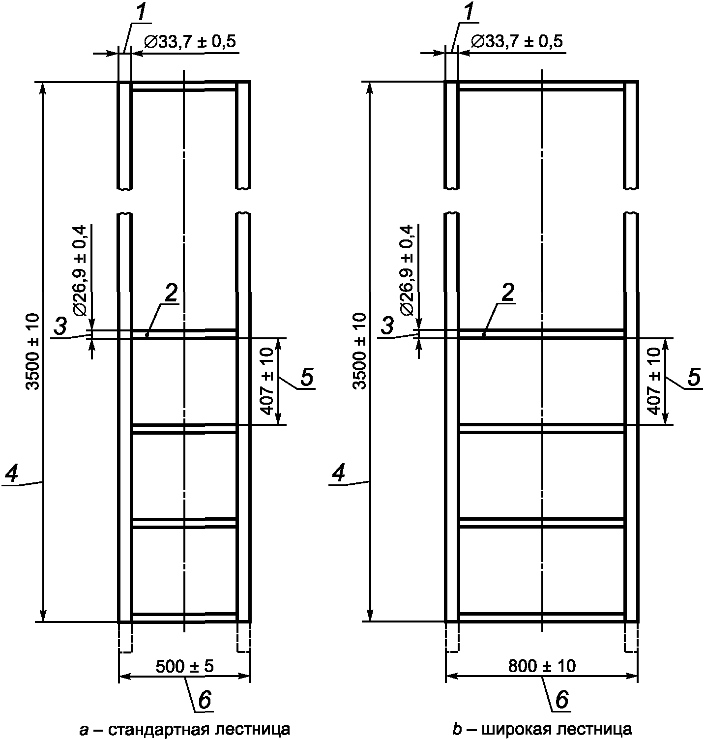
Используют два типа стальных трубчатых лестниц: стандартную лестницу шириной (500 +/- 5) мм и широкую лестницу шириной (800 +/- 10) мм.
Размеры лестниц показаны на рисунках 4a и 4b.
Размеры в миллиметрах
1 - диаметр стойки; 2 - число перекладины (число
перекладины равно 9); 3 - диаметр перекладины;
4 - общая высота лестницы; 5 - расстояние
между перекладинами; 6 - ширина лестницы
Рисунок 4 - Трубчатые стальные лестницы для испытания кабеля
5.4 Устройство для очистки выходящего воздушного потока
В случае необходимости может использоваться устройство для сбора и очистки продуктов горения, выходящих из испытательной камеры. Недопустимо влияние этого устройства на количество (объем) подаваемого воздуха, проходящего через испытательную камеру.
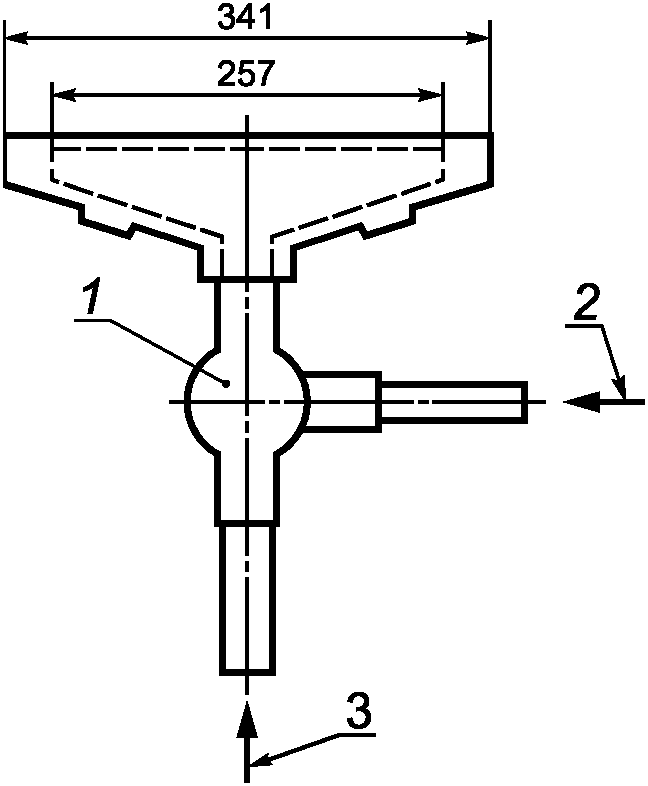
В соответствии с требованиями к проведению испытания источником зажигания являются одна или две пропановые газовые горелки ленточного типа в комплекте со смесителем Вентури и индивидуальным набором расходомеров. В качестве топлива должен использоваться технический пропан с массовой долей пропана не менее 95%. Рабочая часть горелки в виде плоской металлической пластины имеет 242 отверстия диаметром 1,32 мм каждое, расстояние между центрами которых составляет 3,2 мм, расположенные ступенчато тремя рядами: 81, 80 и 81 отверстие соответственно, при этом образуется прямоугольник размером 257 x 4,5 мм. Поскольку отверстия в пластине допускается высверливать без специального сверлильного инструмента, допускаются небольшие отклонения от указанного межцентрового расстояния. Кроме того, на каждой стороне пластины допускается высверливание небольших вспомогательных отверстий, обеспечивающих поддержание зажженного пламени.
Примечание - Для обеспечения воспроизводимости результатов между различными испытательными лабораториями, рекомендуется использовать горелку в соответствии с
приложением A.
Размеры в миллиметрах
Рисунок 5a - Одиночная горелка, используемая
при стандартной лестнице
Размеры в миллиметрах
1 - смеситель Вентури для воздуха и газа;
2 - подача пропана; 3 - подача воздуха
Рисунок 5b - Комбинация двух горелок,
используемая при широкой лестнице
Рисунок 5 - Схемы горелок
Размеры в миллиметрах
1 - рабочая часть горелки имеет 242 отверстия диаметром
1,32 мм каждое, расстояние между центрами которых 3,2 мм,
расположенные ступенчато в три ряда по 81, 80 и 81 в каждом
Рисунок 6 - Расположение отверстий горелки
Каждая горелка должна быть снабжена устройством, контролирующим расход пропана и воздуха, расходомером типа ротаметра или массовым расходомером.
Примечание 1 - Для простоты пользования рекомендуются массовые расходомеры.
Примечание 2 - Для обеспечения безопасной работы источника зажигания следует соблюдать следующие меры предосторожности:
- система подачи газа должна быть снабжена клапаном;
- следует использовать систему защиты в случае отсутствия пламени;
- в целях безопасности при зажигании и тушении пламени следует соблюдать безопасную последовательность подачи и прекращения подачи пропана и воздуха.
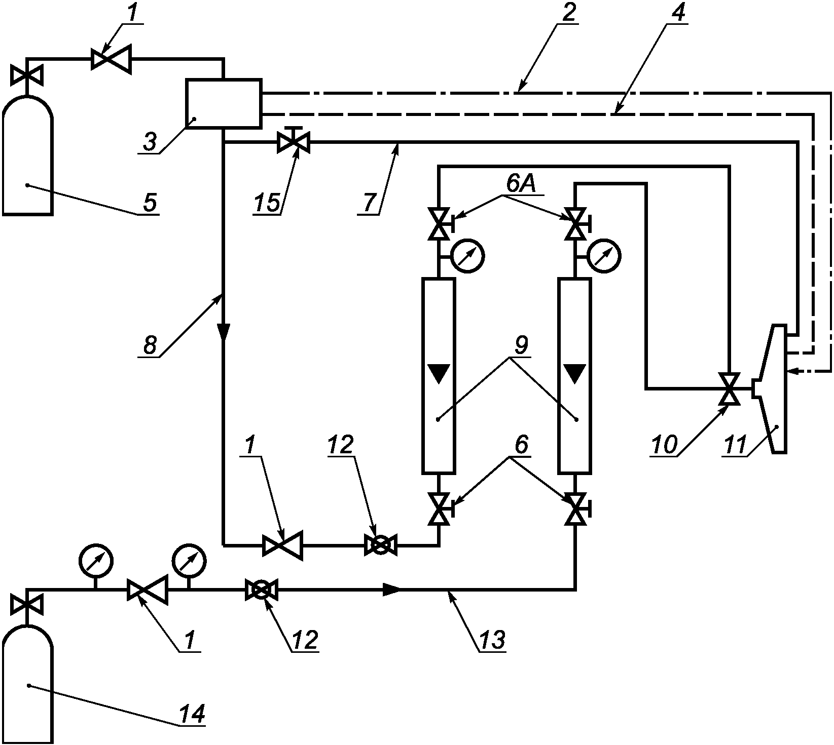
Пример системы контроля горелки с использованием ротаметров приведен на рисунке 7.
1 - регулятор; 2 - пьезоэлектрический воспламенитель;
3 - устройство защиты в случае отсутствия пламени;
4 - контрольные термопары; 5 - баллон с пропаном;
6 - винтовой клапан (6A - альтернативное расположение);
7 - вспомогательное питание; 8 - поток газа;
9 - расходомеры; 10 - смеситель Вентури; 11 - горелка;
12 - шаровой клапан; 13 - поток воздуха; 14 - баллон
со сжатым воздухом; 15 - винтовой клапан
вспомогательного питания
Рисунок 7 - Примерная схема системы контроля
работы горелки с использованием ротаметров
Калибровка пропанового и воздушного расходомеров типа ротаметра должна проверяться после монтажа, чтобы убедиться, что трубопровод и смеситель Вентури не нарушают калибровку.
При изменении температуры и давления по сравнению с установленными для пропанового и воздушного расходомеров типа ротаметра, при необходимости, вносятся поправки в соответствии с
приложением B.
Пропановый и воздушный расходомеры типа ротаметра калибруются в соответствии со следующими стандартными условиями: стандартные температура и давление 20 °C и 1 бар (100 кПа).
При проведении данного испытания температура точки росы воздуха не более 0 °C.
Для обеспечения номинальной интенсивности тепловыделения (73,7 +/- 1,68)106 Дж/ч расход при испытании должен быть:
- воздух (77,7 +/- 4,8) л/мин при стандартных условиях (1 бар и 20 °C) или (1550 +/- 140) мг/с;
- пропан (13,5 +/- 0,5) л/мин при стандартных условиях (1 бар и 20 °C) или (442 +/- 10) мг/с.
Примечание - Значение интенсивности тепловыделения 46,4 кДж/г используется для определения объема пропана, подаваемого в горелку.
При испытании горелка устанавливается горизонтально на расстоянии (75 +/- 5) мм от передней поверхности образца на высоте (600 +/- 5) мм над полом испытательной камеры, симметрично относительно оси лестницы. Точка приложения пламени горелки находится между двумя перекладинами лестницы (см.
рисунок 2 и
рисунок 3).
Допускается проводить регулировку потока воздуха и газа до испытания без установки горелки в рабочее положение.
Если применяют две горелки при использовании широкой лестницы, они располагаются симметрично оси лестницы, как показано на
рисунке 5b. Система горелок располагается так, чтобы ее центральная линия приблизительно совпадала с центром лестницы.
(справочное)
ИНФОРМАЦИЯ О РЕКОМЕНДУЕМОЙ ГОРЕЛКЕ
Горелка (номер каталога 10L11-55) и смеситель Вентури (номер каталога 14-18), в соответствии с
разделом 6, могут быть приобретены по адресу:
Pemfab
PO Box 227
30 Indel avenue
Rancocas, NJ 08073-0227
США
Тел: +1 800 573 6322
Телефакс: +1 609 267 0922.
Примечание - Информация, приведенная в настоящем приложении, рассматривающем названную продукцию и их поставщиков, дается для удобства пользователей настоящего стандарта и не представляет собой одобрения IEC названной продукции. Аналогичная продукция может быть использована, если возможно доказать, что это приведет к тем же результатам.
Информация по рекомендуемым массовым расходомерам
Доступные для приобретения массовые расходомеры, подходящие для использования при проведении испытаний в соответствии с настоящим стандартом поставляют, помимо прочих:
- Brooks Instrument Rosemount;
- Kobold Instruments MAS Flow Monitor.
(справочное)
ПОПРАВОЧНЫЕ КОЭФФИЦИЕНТЫ ДЛЯ КАЛИБРОВКИ РАСХОДОМЕРОВ
При использовании расходомера типа ротаметра при контроле скорости подачи газов необходимо учитывать два фактора для корректного использования расходомеров.
Важно знать:
a) показания расходомера в фактических рабочих условиях;
b) при каких значениях температуры и давления газа расходомер был откалиброван и для каких условий рассчитан.
Учитывая
перечисление a), большинство расходомеров рассчитано на то, чтобы давать показания объемного расхода при нормальных температуре и давлении, т.е. 20 °C и 1 бар. Однако, учитывая
перечисление b), не все расходомеры откалиброваны и предназначены для работы при одних и тех же температуре и давлении, поэтому необходимо убедиться, что температура и давление газа, проходящего через расходомер, соответствуют именно этому расходомеру. Эксплуатация расходомера при температуре и давлении, отличающихся от этих условий, требует введения поправочного коэффициента, как указано ниже.
B.2.1 Общие положения
Например, для горелки требуется расход воздуха 77,7 л/мин при стандартном давлении 1 бар и стандартной температуре 20 °C.
Расходомер 1 откалиброван для работы при давлении 2,4 бар (абсолютное значение) и температуре 15 °C, а градуирован л/мин при давлении 1 бар и температуре 15 °C.
Расходомер 2 откалиброван для работы при стандартном давлении 1 бар (абсолютное значение) и температуре 20 °C, а градуирован л/мин при тех же значениях давления и температуры 20 °C.
Например, давление подаваемого воздуха, на входе в расходомеры и внутри них составляет или 1 бар (см.
B.2.2) или 2,4 бар (см.
B.2.3) при температуре 20 °C.
Поправочный коэффициент при калибровке определяют по формуле

,
где T - абсолютная температура, К;
P - абсолютное давление, бар;
P1, T1 - давление и температура в условиях калибровки;
P2, T2 - давление и температура в рабочих условиях.
B.2.2 Воздух, подаваемый под давлением 1 бар
Расходомер 1
В этом случае необходимо вводить поправочный коэффициент, т.к. измерение проводят в условиях, отличных от расчетных рабочих условий.
P1 = 2,4 бар | T1 = 15 °C = 288 К |
P2 = 1 бар | T2 = 20 °C = 293 К |
Подставляя эти значения, получаем:

.
Таким образом, чтобы установить скорость потока 77,7 л/мин в стандартных условиях, на данном расходомере устанавливается показание 121,2 л/мин (77,7·1,56).
Расходомер 2
Поскольку этот прибор работает в пределах своих расчетных условий, необходимая скорость потока 77,7 л/мин допускается непосредственно считывать с прибора без использования поправочного коэффициента.
B.2.3 Воздух, подаваемый под давлением 2,4 бара
Расходомер 1
В этом случае требуется поправочный коэффициент только для температуры, но не для давления, т.к. прибор работает при своем расчетном давлении.
P1 = 2,4 бар | T1 = 15 °C = 288 К |
P2 = 2,4 бар | T2 = 20 °C = 293 К |
Подставляя эти значения, получаем:

.
Таким образом, чтобы установить скорость потока 77,7 л/мин при стандартных условиях, на данном расходомере достигается показание 78,5 л/мин (77,7·1,01).
Расходомер 2
В этом случае также необходим поправочный коэффициент, т.к. расходомер работает за пределами своих расчетных условий.
P1 = 1 бар | T1 = 20 °C = 293 К |
P2 = 2,4 бар | T2 = 20 °C = 293 К |
Подставляя эти значения, получаем:

.
Таким образом, чтобы установить скорость потока 77,7 л/мин при стандартных условиях, на данном расходомере достигается показание 50,5 л/мин (77,7·0,65).
(справочное)
СВЕДЕНИЯ О СООТВЕТСТВИИ ССЫЛОЧНЫХ МЕЖДУНАРОДНЫХ
СТАНДАРТОВ МЕЖГОСУДАРСТВЕННЫМ СТАНДАРТАМ
Таблица ДА.1
Обозначение и наименование ссылочного международного стандарта | Степень соответствия | Обозначение и наименование соответствующего межгосударственного стандарта |
IEC 60695-4 | - | |
IEC Guide 104 | - | |
<*> Соответствующий межгосударственный стандарт отсутствует. До его принятия рекомендуется использовать перевод на русский язык данного международного стандарта. Официальный перевод данного международного стандарта находится в Федеральном информационном фонде стандартов. |