Главная // Актуальные документы // Актуальные документы (обновление с 29.09.2025 по 01.11.2025) // ГОСТ (Государственный стандарт)
СПРАВКА
Источник публикации
М.: ФГБУ "Институт стандартизации", 2025
Примечание к документу
Документ вводится в действие с 01.09.2026.
Название документа
"ГОСТ 35296-2025. Межгосударственный стандарт. Ручки шариковые. Общие технические требования и методы испытаний"
(введен в действие Приказом Росстандарта от 18.08.2025 N 903-ст)

"ГОСТ 35296-2025. Межгосударственный стандарт. Ручки шариковые. Общие технические требования и методы испытаний"
(введен в действие Приказом Росстандарта от 18.08.2025 N 903-ст)


Содержание


Введен в действие
Приказом Федерального
агентства по техническому
регулированию и метрологии
от 18 августа 2025 г. N 903-ст
МЕЖГОСУДАРСТВЕННЫЙ СТАНДАРТ
РУЧКИ ШАРИКОВЫЕ
ОБЩИЕ ТЕХНИЧЕСКИЕ ТРЕБОВАНИЯ И МЕТОДЫ ИСПЫТАНИЙ
Ballpoint pens.
General technical requirements and test methods
(ISO 12757-1:2017, NEQ)
ГОСТ 35296-2025
МКС 97.180
Дата введения
1 сентября 2026 года
Предисловие
Цели, основные принципы и общие правила проведения работ по межгосударственной стандартизации установлены ГОСТ 1.0 "Межгосударственная система стандартизации. Основные положения" и ГОСТ 1.2 "Межгосударственная система стандартизации. Стандарты межгосударственные, правила и рекомендации по межгосударственной стандартизации. Правила разработки, принятия, обновления и отмены"
Сведения о стандарте
1 РАЗРАБОТАН Ассоциацией предприятий индустрии детских товаров "АИДТ" (Ассоциация "АИДТ")
2 ВНЕСЕН Межгосударственным техническим комитетом МТК 181 "Игрушки и товары для детства"
3 ПРИНЯТ Межгосударственным советом по стандартизации, метрологии и сертификации (протокол от 31 июля 2025 г. N 187-П)
За принятие проголосовали:
Краткое наименование страны по МК (ИСО 3166) 004-97
Код страны по МК (ИСО 3166) 004-97
Сокращенное наименование национального органа по стандартизации
Армения
AM
ЗАО "Национальный орган по стандартизации и метрологии" Республики Армения
Беларусь
BY
Госстандарт Республики Беларусь
Россия
RU
Росстандарт
Узбекистан
UZ
Узбекское агентство по техническому регулированию
4 Приказом Федерального агентства по техническому регулированию и метрологии от 18 августа 2025 г. N 903-ст межгосударственный стандарт ГОСТ 35296-2025 введен в действие в качестве национального стандарта Российской Федерации с 1 сентября 2026 г.
5 Настоящий стандарт разработан с учетом основных нормативных положений международного стандарта ISO 12757-1:2017 "Авторучки шариковые и сменные стержни. Часть 1. Общее применение" ("Ball point pens and refills - Part 1: General use", NEQ)
6 ВВЕДЕН ВПЕРВЫЕ
Информация о введении в действие (прекращении действия) настоящего стандарта и изменений к нему на территории указанных выше государств публикуется в указателях национальных стандартов, издаваемых в этих государствах, а также в сети Интернет на сайтах соответствующих национальных органов по стандартизации.
В случае пересмотра, изменения или отмены настоящего стандарта соответствующая информация будет опубликована на официальном интернет-сайте Межгосударственного совета по стандартизации, метрологии и сертификации в каталоге "Межгосударственные стандарты"
1 Область применения
Настоящий стандарт устанавливает общие требования к шариковым ручкам.
Настоящий стандарт не распространяется на шариковые автоматические ручки.
2 Нормативные ссылки
В настоящем стандарте использованы нормативные ссылки на следующие межгосударственные стандарты:
ГОСТ 9.301 Единая система защиты от коррозии и старения. Покрытия металлические и неметаллические неорганические. Общие требования
ГОСТ 15.309 Системы разработки и постановки продукции на производство. Испытания и приемка выпускаемой продукции. Основные положения
ГОСТ 427 Линейки измерительные металлические. Технические условия
ГОСТ 6656 Бумага писчая потребительских форматов. Технические условия
ГОСТ 7629 (ИСО 2144-87) Бумага и картон. Метод определения золы <*>
--------------------------------
<*> В Российской Федерации действует ГОСТ Р 70267-2022 (ИСО 2144:2019) "Бумага, картон и целлюлоза. Метод определения остатка (золы) при прокаливании при 900 °C".
ГОСТ 12605 (ИСО 535-91) Бумага и картон. Метод определения поверхностной впитываемости воды при одностороннем смачивании (метод Кобба)
ГОСТ 15150 Машины, приборы и другие технические изделия. Исполнения для различных климатических районов. Категории, условия эксплуатации, хранения и транспортирования в части воздействия климатических факторов внешней среды
ГОСТ 18321 Статистический контроль качества. Методы случайного отбора выборок штучной продукции <**>
--------------------------------
<**> В Российской Федерации действует ГОСТ Р 50779.12-2021 "Статистические методы. Статистический контроль качества. Методы случайного отбора выборок штучной продукции".
ГОСТ 18510 Бумага писчая. Технические условия <***>
--------------------------------
<***> В Российской Федерации действует ГОСТ Р 58611-2019 "Бумага писчая. Общие технические условия".
ГОСТ 24621 (ISO 868:2003) Пластмассы и эбонит. Определение твердости при вдавливании с помощью дюрометра (твердость по Шору)
ГОСТ 30113 (ИСО 2470-77) Целлюлоза, бумага и картон. Метод определения белизны
ГОСТ 30115 (ИСО 8791-1-86) Бумага и картон. Определение шероховатости/гладкости (методы с применением пропускания воздуха). Общие требования
ГОСТ ISO 105-A02 Материалы текстильные. Определение устойчивости окраски. Часть A02. Серая шкала для оценки изменения окраски
Примечание - При пользовании настоящим стандартом целесообразно проверить действие ссылочных стандартов и классификаторов на официальном интернет-сайте Межгосударственного совета по стандартизации, метрологии и сертификации (www.easc.by) или по указателям национальных стандартов, издаваемым в государствах, указанных в предисловии, или на официальных сайтах соответствующих национальных органов по стандартизации. Если на документ дана недатированная ссылка, то следует использовать документ, действующий на текущий момент, с учетом всех внесенных в него изменений. Если заменен ссылочный документ, на который дана датированная ссылка, то следует использовать указанную версию этого документа. Если после принятия настоящего стандарта в ссылочный документ, на который дана датированная ссылка, внесено изменение, затрагивающее положение, на которое дана ссылка, то это положение применяется без учета данного изменения. Если ссылочный документ отменен без замены, то положение, в котором дана ссылка на него, применяется в части, не затрагивающей эту ссылку.
3 Термины и определения
В настоящем стандарте применены следующие термины с соответствующими определениями:
3.1 шариковая ручка: Изделие для письма, состоящее из корпуса, в который вставлена трубка (стержень) с наполнителем: жидкими чернилами, пастой или гелем, которая с одного конца замкнута маленьким шариком, который при нажиме на стержень вращается и переносит наполнитель на бумагу.
3.2 шариковая масляная ручка: Шариковая ручка с жидкими чернилами.
3.3 гелевая ручка: Шариковая ручка с жидкими чернилами, которые представляют собой пигментированный гель на водной основе.
Примечание - Гелевую ручку применяют для письма или рисования, и она оставляет более яркий след на поверхности, чем иные пишущие инструменты.
3.4 шариковая ручка со стираемыми чернилами: Шариковая ручка с чернилами, которые стираются ластиком за счет силы трения.
3.5 гелевая ручка со стираемыми чернилами: Шариковая ручка со специальными термочувствительными чернилами, которые становятся невидимыми при нагревании от 60 °C и выше.
Примечание - Нагрев достигается ластиком, встроенным в корпус ручки или обычным, написанное можно восстановить при температуре ниже минус 18 °C.
3.6 ручка-роллер: Шариковая ручка, в которой для письма используют резервуар или картридж, заполненный чернилами, с шариковым пишущим узлом на конце.
Примечание - В ручке-роллере используют чернила на водной основе. Благодаря меньшей вязкости чернила лучше впитываются, что позволяет данным ручкам оставлять след, схожий со следом перьевой ручки.
4 Классификация
4.1 Классификация ручек
4.1.1 По конструктивному исполнению ручки подразделяют:
- на шариковые ручки со сменным стержнем (баллончиком) - РШС;
- шариковые ручки без сменного стержня (баллончика) - РШБ.
Пример условного обозначения ручки со стержнем (баллончиком), модели 096, модификации 01:
Ручка РШС 096 01 ГОСТ 35296-2025
4.1.2 Классификация наконечников
Наконечники классифицируют в соответствии с диаметром шарика (см. таблицу 1).
Таблица 1
Размеры в миллиметрах
Классификация наконечников (ширина линии)
Код наконечника
Диаметр шарика
Сверхтонкий
EF
До 0,65
Тонкий
F
От 0,65 до 0,85
Средний
M
От 0,85 до 1,05
Широкий
B
Св. 1,05
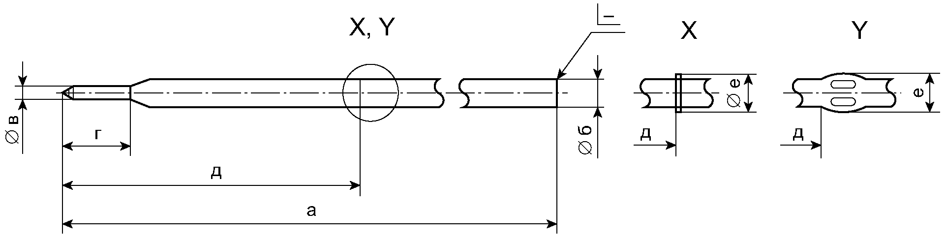
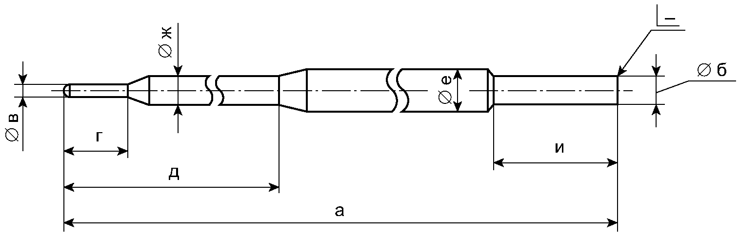
4.2 Форма и размеры стержней
Сменные стержни подразделяют на типы: A, B, D, E, F, G и H.
ИС МЕГАНОРМ: примечание.
Текст абзаца дан в соответствии с официальным текстом документа.
Формы и размеры типов A - G приведены на рисунках 1 - 4 и в таблицах 2 и 3. Формы и размеры типов A - G приведены на рисунках 1 - 4 и в таблицах 2 и 3.
Стержни, формы и размеры которых отличаются от указанных в таблицах 2 и 3 и на рисунках 1 - 4, обозначают типом H.
Рисунок 1 - Типы стержней A1, A2 и B
Рисунок 2 - Типы стержней D, E и F
Таблица 2
Размеры стержней типов A, B, D, E и F
Размеры в миллиметрах
Тип стержня
Рисунок
Размеры узлов стержней
а
б
в
г
д
е
A1
106,8 +/- 0,2
2,4 +/- 0,02
10,2 +/- 0,5
4,3 +/- 0,2
A2
106,8 +/- 0,2
1,6 +/- 0,02
4,3 +/- 0,2
B
98,2 +/- 0,8
2,28 +/- 0,04
>= 7
23 +/- 2
4,5 +/- 0,2
D
3 +/- 0,2
-
-
E
140 +/- 2
2,25 +/- 0,05
7,5 +/- 0,05
-
-
F
143 +/- 2
2,3 +/- 0,03
8,5 +/- 0,5
-
-
Рисунок 3 - Тип стержня G1
Рисунок 4 - Тип стержня G2
Таблица 3
Размеры стержней типов G1 и G2
Размеры в миллиметрах
Тип стержня
Рисунок
Размеры узлов стержней
а
б
в
г
д
е
ж
и
G1
106,8 +/- 0,2
1,60 +/- 0,02
3,05 +/- 0,25
5,00 +/- 0,05
13,8 +/- 0,5
G2
6,2 +/- 0,2
23,2 +/- 1,0
5,8 +/- 0,1
2,4 +/- 0,1
0,6 +/- 0,2
5 Общие требования
5.1 Основные характеристики
5.1.1 Для ручек длина линии письма должна быть:
- не менее 400 м - для ручек со стержнем диаметром свыше 3 мм;
- не менее 200 м - для ручек со стержнем диаметром до 3 мм.
5.1.2 Линия письма должна быть непрерывной, без клякс и расплывов.
5.1.3 Линия, нанесенная ручкой, не должна оставлять отпечатка.
5.1.4 Ручки должны писать с первого касания после хранения в течение 3 ч со снятым колпаком.
5.1.5 При снятии колпака усилие должно быть не более 20 Н. Колпачок, надетый с обратной стороны, не должен спадать с корпуса ручки под действием собственного веса.
5.1.6 При свободном падении ручки с высоты 1 м на деревянную поверхность толщиной не менее 0,03 м не допускаются разрушения деталей ручки.
5.1.7 В местах соединений стержня ручки не допускается просачивание чернил.
5.1.8 Прочность на изгиб в местах соединений ручки должна быть не менее 50 Н при статических нагрузках.
5.1.9 Соединения корпусных деталей ручки не должны разрушаться при приложении статического осевого усилия не более 50 Н и крутящего момента не более 1,0 Н·м.
5.1.10 Номенклатуру показателей устанавливают в технической документации на ручки определенных моделей.
5.2 Требования к сырью и материалам
5.2.1 Ручки следует изготавливать в соответствии с требованиями настоящего стандарта, технической документации на ручки определенных моделей, технических регламентов или нормативных правовых актов, действующих на территории государств, принявших настоящий стандарт.
Примечание - Информация о технических регламентах и нормативных правовых актах приведена в приложении А.
5.2.2 Составные части ручек и стержни должны быть произведены из материалов и веществ, не оказывающих вредного влияния на человека.
5.2.3 Наружные металлические детали ручек должны быть произведены из коррозионно-стойких металлов и/или иметь защитно-декоративное покрытие по ГОСТ 9.301. Материал, вид и толщину покрытия устанавливают в технической документации на ручки определенных моделей.
5.3 Обозначение шариковой ручки
Обозначение шариковой ручки или стержня для шариковых ручек должно включать в указанном порядке следующие элементы:
- обозначение (например, "шариковая ручка" или "стержень для шариковых ручек");
- обозначение настоящего стандарта;
- классификационный код типа стержня (см. 4.2);
- классификационный код наконечника (см. таблицу 1).
Примеры условных обозначений
1 Одноразовая шариковая ручка, соответствующая требованиям настоящего стандарта, тип B:
Шариковая ручка, ГОСТ 35296-2025 B
2 Стержень для шариковых ручек, соответствующий требованиям настоящего стандарта, тип B:
Стержень для шариковых ручек, ГОСТ 35296-2025 B
5.4 Маркировка и упаковка
5.4.1 Маркировка продукции должна быть достоверной, легко читаемой и доступной для осмотра и идентификации. Маркировку наносят на этикетку, прикрепляемую к продукции, и/или товарный ярлык, на потребительскую упаковку или упаковку группы изделий либо на листок-вкладыш к продукции.
Маркировка и упаковка продукции - в соответствии с требованиями настоящего стандарта, техническими регламентами или нормативными правовыми актами, действующими на территории государства, принявшего настоящий стандарт.
5.4.2 Для идентификации шариковые ручки и/или стержни для них должны быть маркированы следующим образом:
- наименование и вид (назначение) продукции;
- наименование страны, где изготовлена продукция;
- наименование и местонахождение изготовителя (уполномоченного изготовителем лица), импортера, дистрибьютора;
- цвет чернил;
- дата изготовления (год/месяц, полностью) или номер партии;
- единый знак обращения на рынке;
- срок годности (при необходимости);
- гарантийный срок службы (при необходимости);
- условия хранения;
- товарный знак (при наличии);
- обозначение шариковой ручки (в соответствии с 5.3);
- штрихкод (при необходимости).
6 Правила приемки
6.1 Ручки подвергают приемо-сдаточным, периодическим, типовым испытаниям и инспекционному контролю.
Основные положения по проведению испытаний и приемке ручек серийного производства - по ГОСТ 15.309.
6.2 Периодические испытания ручек следует проводить на образцах из числа выдержавших приемо-сдаточные испытания, не реже одного раза в три месяца, при этом ручки должны быть проверены на соответствие всем требованиям настоящего стандарта.
Допускается проводить проверку ручек на устойчивость к воздействию климатических факторов и транспортирование не реже одного раза в год.
6.3 Для проведения испытаний случайным образом отбирают 1% единиц от партии, но не менее одной единицы, а для ввозимой продукции - одну единицу.
6.4 Ручки на контроль предъявляют партиями. Партией считают ручки одной модели, одной модификации, соответствующие одному нормативному документу.
Ручки для контроля следует отбирать из партии методом наибольшей объективности по ГОСТ 18321.
Приемочные уровни дефектности, объемы партии и выборок устанавливают в технической документации на ручки определенных моделей.
7 Транспортирование и хранение
7.1 Транспортируют ручки в крытом транспорте любого вида, в том числе в герметизированных помещениях самолетов по условиям хранения 4(Ж2) по ГОСТ 15150, но при температуре от минус 15 °C до плюс 45 °C.
7.2 Ручки в упаковке должны выдерживать воздействие транспортной тряски частотой 80 - 120 ударов в минуту, ускорением 30 м/с2.
7.3 Срок годности и условия хранения продукции устанавливает изготовитель.
8 Испытательное оборудование и принадлежности
8.1 Устройство для проверки записи
При выполнении испытаний на запись устройство для проверки записи должно быть настроено на каждое из следующих условий:
а) точечная нагрузка: (1,5 +/- 0,1) Н;
б) угол записи: испытывают образец записи под углом (75 +/- 5)°, определяют, под каким углом след будет наиболее четким, и выбирают этот угол;
в) скорость записи: (4,5 +/- 0,5) м/мин;
г) схема написания: непрерывная спиральная линия (окружность 100 мм) с шагом от 1 до 5 мм.
8.2 Бумага для испытания ручек
Бумага для испытания должна соответствовать требованиям, приведенным в таблице 4 или 5.
Таблица 4
Требования к бумаге для испытания А
Технические требования
Метод испытания
Плотность
(80 +/- 5) г/м2
По [1]
Сглаженность
(3 +/- 0,25) мкм
По ГОСТ 30115
Остаток после сжигания
(11 +/- 1)% остатка (золы) при температуре 900 °C
По ГОСТ 7629
Значение метод Кобба
(18 +/- 2) г/м2 (45")
[Кобб60 = (20 +/- 3 г/м2)]
По ГОСТ 12605
Толщина
(80 +/- 5) мкм
По ГОСТ 30115
Цвет
Белый
По ГОСТ 30113
Композиция
100%-ное отбеленное древесное целлюлозное волокно
Таблица 5
Требования к бумаге для испытания Б
Технические требования
Метод испытания
Плотность
(70 +/- 10) г/м2
По [1]
Сглаженность
(50 +/- 30) мкм
По ГОСТ 30115
Остаток после сжигания
(7 +/- 3)% остатка (золы) при температуре 900 °C
По ГОСТ 7629
Значение метод Кобба
(25 +/- 10) г/м2
По ГОСТ 12605
Толщина
(80 +/- 10) мкм
По ГОСТ 30115
Цвет
Белый
По ГОСТ 30113
Композиция
100%-ное древесное целлюлозное волокно, отбеленное
8.3 Ластик
Ластик без абразива и с твердостью (45 +/- 5) по Шору A - в соответствии с ГОСТ 24621.
8.4 Устройство для проверки воспроизводимости данных
Аппарат фотокопировальный, устройство для обработки микрофильмов или телефаксимильная машина.
8.5 Устройство для проверки света
Измеритель выцветания, ксенотест или технический эквивалент.
9 Испытания
9.1 Отбор проб
Образцы шариковых ручек и стержней должны быть испытаны в течение 6 мес с даты изготовления, за исключением проверки на срок годности (см. 9.3.7).
9.2 Климатические условия для проведения испытаний
Испытания проводят при температуре (23 +/- 2) °C и относительной влажности воздуха (50 +/- 5)% либо при температуре (27 +/- 2) °C и относительной влажности воздуха (65 +/- 5)% (в зависимости от климатических условий на месте проведения испытаний).
9.3 Проведение испытаний
9.3.1 Письменные испытания на качество письма
Берут в произвольном количестве не менее 10 шариковых ручек и/или стержни для них. Рисуют непрерывную линию длиной 5 м на бумаге для испытаний (см. 8.2) с помощью устройства для проверки записи (см. 8.1) в климатических условиях, указанных в 9.2. Необходимо оторвать ручку от бумаги и оставить на 3 ч.
Создают 300-метровый текстовый материал и проверяют его на соответствие требованиям 9.3.1.1. Используют эту бумагу для испытания для следующих испытаний, за исключением 9.3.3 (испытание на время высыхания) и 9.3.7 (испытание на срок годности).
9.3.1.1 Оценка результатов на качество письма
Написание должно быть в пределах 20 см, а расстояние для написания должно составлять не менее 300 м без заметных зависаний или колебаний интенсивности линии при проведении испытания по 9.3.1.
9.3.2 Испытание на протекание стержней
Подготавливают испытуемый образец по 9.3.1 длиной примерно 5 см, без начальных и конечных линий, и выдерживают его в климатических условиях, указанных в 9.2, в течение 24 ч.
Проверяют обратную сторону бумаги для испытаний на соответствие требованиям 9.3.2.1.
9.3.2.1 Оценка результата на протекание стержней
При проведении испытаний по 9.3.2 испытатель не должен видеть подслой краски.
9.3.3 Проверка времени высыхания
Рисуют прямую линию в соответствии с 8.1 а), б) и в) на бумаге для испытаний (см. 8.2). Через 20 с проводят один раз ластиком (см. 8.3) перпендикулярно написанной линии.
Проверяют линию на соответствие требованиям 9.3.3.1.
9.3.3.1 Оценка результата на время высыхания
При испытании по 9.3.3 линия не должна размазываться.
9.3.4 Испытание на воспроизводимость
Воспроизводят линию, нанесенную машинным способом на испытуемом образце, длиной примерно 5 см, на листе для испытаний, представленном в 9.3.1, с помощью устройства, указанного в 8.4.
Проверяют воспроизведенную линию на соответствие требованиям 9.3.4.1.
9.3.4.1 Оценка результата на воспроизводимость
Воспроизведенная линия должна быть видна при испытании по 9.3.4.
9.3.5 Испытание на водонепроницаемость
Держат образец для испытаний с машинной печатью длиной примерно в 5 см от листа для испытаний, указанного в 9.3.1, в климатических условиях, указанных в 9.2, в течение 2 ч, затем погружают в дистиллированную или деионизированную воду на 1 ч. Достают и дают высохнуть на воздухе.
Проверяют написанную линию на испытуемом образце на соответствие требованиям 9.3.5.1.
9.3.5.1 Оценка результата на водонепроницаемость
Линия должна оставаться видимой при испытании по 9.3.5.
9.3.6 Испытание на светостойкость
Помещают испытуемый образец по 9.3.1 длиной примерно 5 см под источник света устройства, указанного в 8.5, вместе с эталонными образцами синей шерсти, до тех пор, пока контраст между неэкспонированным и экспонированным эталоном синей шерсти не станет равным 4 классу серого по шкале, указанной в ГОСТ ISO 105-A02.
Проверяют написанную линию на испытуемом образце на соответствие требованиям 9.3.6.1.
9.3.6.1 Оценка результата на светостойкость
Линия должна оставаться видимой при испытании по 9.3.6.
9.3.7 Проверка на срок годности
Берут в произвольном количестве не менее 10 шариковых ручек и/или стержней для них. Хранят в горизонтальном положении при температуре (40 +/- 2) °C и относительной влажности воздуха (55 +/- 5)% в течение 90 дней.
Проводят испытания в соответствии с 9.3.1 и проверяют на соответствие требованиям 9.3.1.1.
9.3.7.1 Оценка результата на срок годности
Шариковая ручка или стержень для нее должны соответствовать требованиям 9.3.1.1 при испытании по 9.3.7.
9.3.8 Оценка линии письма для гелевых ручек
Оценку линии письма для ручек (см. 5.1) проводят измерительной металлической линейкой по ГОСТ 427 с ценой деления 1 мм.
9.3.9 Оценка результатов по визуальным признакам
Оценку результатов по 5.1.2 - 5.1.4 и 5.1.8 проводят визуальным методом.
9.3.10 Оценка результатов перемещения пишущего стержня
Удержание пишущего стержня в рабочем положении в соответствии с требованиями 5.1.5 следует проверять на любом приборе, обеспечивающем измерение усилия с точностью +/- 0,098 Н. Продолжительность приложения нагрузки - от 10 до 15 с.
9.3.11 Оценка результатов снятия колпака ручки
Снятие колпака с корпуса ручки со стороны наконечника пишущего стержня (см. 5.1.6) проверяют подвешиванием к ней груза массой (2,0 +/- 0,01) кг.
Отсутствие спадания колпака, надетого со стороны, противоположной пишущему узлу, под действием собственного веса проверяют поворотом ручки колпаком вниз.
9.3.12 Оценка результатов после свободного падения
Пригодность ручки к использованию после падения в соответствии с требованиями 5.1.7 определяют сбрасыванием испытуемого образца с высоты (1,00 +/- 0,05) м боковой поверхностью и последующим внешним осмотром на отсутствие разрушений деталей ручки. Признаками разрушения являются трещины, сколы.
9.3.13 Оценка результатов гамма-процентного ресурса металлического держателя
Гамма-процентный ресурс металлического держателя (см. 5.1.7) проверяют на стенде, обеспечивающем отгиб держателя на (3,0 +/- 0,5) мм с частотой (60 +/- 5) отгибов в минуту. После наработки гамма-процентного ресурса металлического держателя между держателем и крышкой или корпусом помещают лист писчей бумаги формата A4 по ГОСТ 6656, при этом лист не должен выпадать из-под держателя.
9.3.14 Оценка результатов прочности на изгиб в местах соединений ручки
Прочность на изгиб ручек (см. 5.1.8) следует проверять на стенде, обеспечивающем приложение к ручке статической нагрузки (50,0 +/- 0,5) Н в местах соединений. Продолжительность приложения нагрузки - от 10 до 15 с.
9.3.15 Оценка результатов соединения корпусных деталей ручек
Качество соединений корпусных деталей (см. 5.1.9) следует проверять на стенде, обеспечивающем приложение к испытуемой ручке статического осевого усилия (50,0 +/- 0,5) Н и крутящего момента (1,0 +/- 0,1) Н·м.
При этом не должно наблюдаться смещения деталей относительно друг друга. Продолжительность приложения усилия от 10 до 15 с.
9.3.16 Проведение испытаний и оценка результатов воздействия транспортной тряски
Испытание ручек на транспортирование в соответствии с требованиями 7.1 и 7.2 проводят по следующей методике. Ручки в упаковке подвергают воздействию тряски на специальном стенде в течение 2 ч. После этого ручки в упаковке выдерживают последовательно в течение 4 ч при температуре минус 15 °C, в течение 2 ч при нормальной температуре, в течение 4 ч при температуре 45 °C, в течение 2 ч при нормальной температуре. Затем ручки распаковывают и проверяют по программе периодических испытаний.
Допускается проводить испытание на транспортирование перевозкой ручек на автотранспорте по грунтовой дороге с неусовершенствованным покрытием со средней скоростью 40 км/ч на расстояние 200 км.
10 Протокол испытаний
Протокол испытаний должен содержать следующую информацию:
а) ссылку на настоящий стандарт;
б) дату и место проведения испытания;
в) маркировку образцов (см. 5.4);
г) определение требований:
1) к климатическим условиям для проведения испытаний (см. 9.2),
2) бумаге для испытания (см. 8.2),
3) углу и шагу записи (см. 8.1),
4) устройству для проверки воспроизводимости (см. 8.4),
5) устройству для проверки света (см. 8.5);
д) результаты испытаний;
е) любые отклонения от указанных процедур (см. разделы 8 и 9);
ж) идентификационные данные лаборатории и подпись.
Приложение А
(справочное)
ИНФОРМАЦИЯ О ПРИМЕНЯЕМЫХ ТЕХНИЧЕСКИХ РЕГЛАМЕНТАХ
И НОРМАТИВНЫХ ПРАВОВЫХ АКТАХ В ГОСУДАРСТВАХ - УЧАСТНИКАХ СНГ
Структурный элемент настоящего стандарта
Технический регламент или нормативный правовой акт
Государство - участник СНГ
Технический регламент Таможенного союза ТР ТС 007/2011 "О безопасности продукции, предназначенной для детей и подростков"
AM, BY, KZ, KG, RU
Технический регламент Таможенного союза ТР ТС 005/2011 "О безопасности упаковки"
AM, BY, KZ, KG, RU
БИБЛИОГРАФИЯ
[1]
ISO 536:2019 <*>
Paper and board - Determination of grammage (Бумага и картон. Определение массы 1 квадратного метра)
--------------------------------
<*> В Российской Федерации действует ГОСТ Р ИСО 536-2013 "Бумага и картон. Определение массы".
УДК 686.862.5:006.354
МКС 97.180
NEQ
Ключевые слова: ручка, шариковая, стержень, требования, испытания