Главная // Актуальные документы // Актуальные документы (обновление 2024.12.02-2025.01.05) // ИнструкцияСПРАВКА
Источник публикации
М.: Стройиздат, 1976
Примечание к документу
Документ утратил силу в связи с изданием
Постановления Госстроя СССР от 24.08.1988 N 168.
Документ
введен в действие с 01.07.1976.
Название документа
"СН 476-75. Инструкция по проектированию опускных колодцев, погружаемых в тиксотропной рубашке"
(утв. Постановлением Госстроя СССР от 09.10.1975 N 173)
"СН 476-75. Инструкция по проектированию опускных колодцев, погружаемых в тиксотропной рубашке"
(утв. Постановлением Госстроя СССР от 09.10.1975 N 173)
Постановлением
Государственного комитета
Совета Министров СССР
по делам строительства
от 9 октября 1975 г. N 173
СТРОИТЕЛЬНЫЕ НОРМЫ
ИНСТРУКЦИЯ
ПО ПРОЕКТИРОВАНИЮ ОПУСКНЫХ КОЛОДЦЕВ,
ПОГРУЖАЕМЫХ В ТИКСОТРОПНОЙ РУБАШКЕ
СН 476-75
Срок введения в действие
1 июля 1976 года
Внесена Харьковским Промстройниипроектом Госстроя СССР
Утверждена постановлением Государственного комитета Совета Министров СССР по делам строительства от 9 октября 1975 г. N 173
"Инструкция по проектированию опускных колодцев, погружаемых в тиксотропной рубашке" (СН 476-75), разработана Харьковским Промстройниипроектом с участием НИИОСПа им. Герсеванова, НИИЖБа и институтов "Приднепровский Промстройпроект" и "Ленинградский Промстройпроект" Госстроя СССР, ВНИИГСа и института "Фундаментпроект" Минмонтажспецстроя СССР, Белгородского технологического института строительных материалов Минвуза СССР и Алтайского политехнического института им. Ползунова Минвуза РСФСР.
Редакторы: инж. Л.Е. Темкин (Госстрой СССР) и канд. техн. наук А.И. Байцур (Харьковский Промстройниипроект Госстроя СССР).
1.1. Требования настоящей Инструкции должны выполняться при проектировании железобетонных опускных колодцев (именуемых в дальнейшем "колодцами"), погружаемых в тиксотропной рубашке <1> и предназначенных для устройства заглубленных сооружений и глубоких опор.
--------------------------------
<1> Использован принцип, предусмотренный авторским свидетельством N 66941 "Способ уменьшения трения между грунтом и перемещаемым в нем сооружением".
1.2. Колодцы, погружаемые в тиксотропной рубашке, не допускается предусматривать при наличии на строительной площадке вечномерзлых грунтов, на геологически неустойчивых площадках (с оползнями, карстами, пустотами и т.п.), на площадках, где основания фундаментов рядом расположенных зданий и сооружений находятся в зоне обрушения грунта у колодца (за исключением случаев, когда специально предусмотренными мерами обеспечивается сохранность существующих фундаментов и сооружений), а также при производстве работ с открытым водоотливом в мелких и пылеватых песках, глинистых грунтах текучепластичной и текучей консистенции.
1.3. Сооружения, частично опирающиеся на колодец, должны быть отделены деформационными швами от конструкций, фундаменты которых имеют осадку, отличную от осадки колодца.
1.4. В проектах следует предусматривать погружение колодцев до возведения располагаемых вблизи фундаментов и других подземных частей зданий и сооружений.
1.5. Колодцы должны проектироваться с очертанием в плане в форме круга или вписанного в него многоугольника. Монолитные колодцы допускается проектировать прямоугольной формы.
Размеры колодцев должны приниматься по внутренним габаритам (диаметр или размер стороны) согласно табл. 1 и
2. Высоту, диаметр и размеры сторон колодцев следует назначать кратными 0,6 м.
Таблица 1
Габаритные схемы сборных железобетонных колодцев | N схем | Размеры, м | N схем | Размеры, м |
D0 | H0 | D0 | H0 |
| 1 | 6 | 9 | 27 | 30 | 9 |
2 | 9 | 9 | 28 | 12 |
3 | 12 | 9 | 29 | 15 |
4 | 12 | 30 | 18 |
5 | 15 | 31 | 24 |
6 | 18 | 32 | 30 |
7 | 15 | 9 | 33 | 36 | 9 |
8 | 12 | 34 | 12 |
9 | 15 | 35 | 15 |
10 | 18 | 36 | 18 |
11 | 18 | 9 | 37 | 24 |
12 | 12 | 38 | 30 |
13 | 15 | 39 | 42 | 12 |
40 | 15 |
14 | 18 |
15 | 21 | 9 | 41 | 18 |
16 | 12 | 42 | 24 |
17 | 15 | 43 | 30 |
18 | 18 | 44 | 48 | 18 |
19 | 24 | 45 | 24 |
20 | 30 | 46 | 30 |
21 | 24 | 9 | 47 | 54 | 18 |
22 | 12 | 48 | 24 |
23 | 15 | 49 | 30 |
24 | 18 | 50 | 60 | 24 |
25 | 24 | 51 | 30 |
26 | 30 | 52 | 36 |
Габаритные схемы монолитных железобетонных колодцев (0,5a <= b <= 2a) | N схем | Размеры, м |
D0 (a) | H0 |
| 1 | 3 | 6 - 9,6 |
2 | 4,5 |
3 | 6 |
4 | 9 | 9,6 - 12 |
5 | 12 |
6 | 15 | 9,6 - 20,4 |
7 | 18 |
8 | 21 | 9,6 - 20,4 |
9 | 24 |
10 | 30 | 15,6 - 42 |
11 | 36 |
12 | 42 |
13 | 48 |
14 | 54 |
15 | 60 |
1.6. Внутренние размеры колодцев в плане (используемых для помещений) должны быть более размеров, необходимых для размещения оборудования и устройства проходов, на величину

, м
(рис. 1), определяемую по формуле

, (1)
где H0 - внутренняя глубина колодца, м.
Проемы и отверстия в наружных стенах колодцев следует предусматривать больше размеров технологического оборудования по высоте на 0,2 м и по ширине на 0,1 м. В опорах днища и перекрытий следует предусматривать допускаемые отклонения на +/- 0,1 м от проектных отметок уступов, консолей и обрезов на наружных стенах колодцев.
Рис. 1. Габариты опускного колодца
1 - габарит помещения по технологическому заданию;
2 - габарит сооружения, опирающегося на колодец;

и

- дополнительные размеры, определяемые
1.7. Наружные размеры колодцев для глубоких опор в плане поверху должны быть шире надфундаментной части на величину

(см.
рис. 1), определяемую по формуле

, (2)
где Hк - глубина погружения колодца, м.
1.8. Железобетонные стены колодцев следует проектировать из тяжелого бетона плотной структуры проектной марки не ниже M 200 для монолитных и не ниже M 300 для сборных конструкций. Проектную марку бетона или раствора для замоноличивания стыков сборных конструкций следует принимать не ниже проектной марки бетона соединяемых элементов.
Железобетонные днища колодцев следует проектировать монолитными из тяжелого бетона плотной структуры проектной марки не ниже M 150, а при подводном бетонировании не ниже M 200.
Бетон для колодцев, погружаемых в обводненные грунты, должен иметь проектную марку по водонепроницаемости не ниже B4 и марку по морозостойкости не ниже Мрз50.
1.9. При проектировании колодцев, предназначенных для эксплуатации в условиях агрессивной среды, надлежит выполнять требования главы СНиП по защите строительных конструкций от коррозии.
1.10. Глинистый раствор для тиксотропной рубашки должен иметь состав, удельный вес и другие показатели качества, обеспечивающие устойчивость от обрушения грунтового откоса щели в течение всего времени погружения колодца. Данные о выборе состава глинистого раствора должны в соответствии с требованиями главы СНиП по производству и приемке работ по устройству оснований и фундаментов содержаться в проекте производства работ.
2. НАГРУЗКИ И ВОЗДЕЙСТВИЯ
2.1. При проектировании колодцев должны учитываться нагрузки и воздействия, возникающие в условиях строительства и эксплуатации сооружения.
2.2. Нормативные нагрузки, коэффициенты перегрузки и сочетания нагрузок должны приниматься в соответствии с требованиями глав СНиП по нагрузкам и воздействиям и по проектированию оснований зданий и сооружений с учетом дополнительных требований, приведенных в пп. 2.3 -
2.20 настоящей Инструкции.
2.3. Нагрузки и воздействия, возникающие в условиях строительства колодцев, и соответствующие им коэффициенты перегрузки должны приниматься по табл. 3.
Нагрузки и воздействия | Единица измерения | Обозначение нагрузок и воздействий ( рис. 2 и 3) | Коэффициент перегрузки n | Номер пункта настоящей Инструкции, по которому определяются нагрузки и воздействия |
ПОСТОЯННЫЕ | | | | |
1. Веса строительных конструкций (стен, днища и тампонажа щели рубашки) | тс | G0; Gд; Gт | 1,1 (0,9) | |
2. Основное давление грунта (горизонтальное) на колодец | тс/м2 | pг | 1,1 (0,9) | |
3. Дополнительное давление грунта (горизонтальное) на колодец, вызываемое наклоном пластов грунта | " | pг.1 | 1,1 (0,9) | |
4. Гидростатическое давление грунтовых вод (горизонтальное) на стены и (вертикальное) на днище колодца | " | pW | 1,1 (0,9) | |
5. Усилия трения ножа колодца и тампонажа щели тиксотропной рубашки по грунту, вызванные при всплывании колодца | тс | Tн.1; Tт.1 | 1,0 | |
6. Пригрузка колодца анкерами в прилегающем грунте против всплывания | " | Qпр.а | 1,0 | |
КРАТКОВРЕМЕННЫЕ | | | | |
7. Гидростатическое давление глинистого раствора в зоне тиксотропной рубашки | тс/м2 | pт | 1,2 (0,8) | |
8. Дополнительное давление грунта (горизонтальное) на колодец, вызываемое нагрузками, расположенными на поверхности грунта, креном и навалом колодца | тс/м2 | pг.2; pг.3 pг.4 | 1,0 | |
9. Усилия трения ножа колодца и уплотнителя по грунту, вызванного при погружении колодца | тс | Tн; Tу | 1,1 | |
10. Пригрузка колодца при погружении | " | Qпр | 1,0 | |
11. Усилия сопротивления грунта под подошвой ножа при погружении колодца и сопротивления грунта под днищем | " | Rн; Rд | - | |
Примечания: 1. Значения коэффициента перегрузки, указанные в скобках, должны приниматься при расчете конструкций на погружение, всплывание, устойчивость положения против опрокидывания, а также в других случаях, когда ухудшаются условия работы конструкции. 2. При расчете колодцев и их оснований по деформациям коэффициент перегрузки следует принимать равным единице. |

Рис. 2. Схемы колодца с расчетными нагрузками
и воздействиями, возникающими в условиях строительства
при погружении (обозначение нагрузок и воздействий
Рис. 3. Схема колодца с расчетными нагрузками
и воздействиями, возникающими в условиях строительства
при всплывании (обозначение нагрузок и воздействий
2.4. Нормативные значения
веса стен
, тс, днища
, тс и тампонажа щели рубашки
, тс следует определять по проектным размерам элементов, принимая вес железобетонных конструкций в соответствии с требованиями главы СНиП по проектированию бетонных и железобетонных конструкций.
Для колодцев, погружаемых в обводненные грунты без водопонижения с подводной разработкой грунта, собственный вес части стен колодца в период погружения, находящихся ниже уровня грунтовых вод, следует определять с учетом взвешивающего действия воды, вытесненной стенами колодца.
2.5. Давление грунта (горизонтального) на колодец должно определяться как сумма давлений: основного - от грунта с горизонтальной поверхностью и дополнительного - от наклона пластов, расположенной на поверхности нагрузки, а также давления, вызываемого креном и навалом погружаемого колодца.
2.6. Нормативное значение
основного давления грунта (горизонтального)

, тс/м
2, на колодец следует определять как давление грунта в состоянии покоя с горизонтальной поверхностью по формуле

, (3)
где k0 - коэффициент бокового давления грунта в состоянии покоя, принимаемый: для крупнообломочных грунтов 0,3; для песков и супесей 0,4; для суглинков 0,5; для глин 0,7;

- нормативное значение объемного веса грунта в состоянии природной влажности, тс/м
3;
H - расстояние от поверхности грунта до рассматриваемого сечения колодца, м.
Если колодец погружается в грунт с разнородными напластованиями, значение основного давления грунта

, тс/м
2, должно определяться для каждого
i-го слоя (
i = 1, 2, 3, ...) по формуле (4); при этом вес вышележащей толщи грунтов принимается как пригрузка

, (4)
где
k0.i - коэффициент бокового давления грунта в состоянии покоя рассматриваемого пласта грунта (
i), принимаемый таким, как в
формуле (3);

и
Hi - соответственно (для рассматриваемого пласта) объемный вес грунта, тс/м
3 и расстояние от поверхности данного пласта до уровня рассчитываемого сечения колодца, м;

и
hс - соответственно объемный вес грунта, тс/м
3 и толщина каждого вышележащего пласта грунта, м.
Значение основного давления грунта

на участке стены колодца ниже тиксотропной рубашки (т.е. на участке ножа) определяется по
формулам (3) или
(4) для глубины
H =
Hк - 0,5
Hн и принимается равномерно распределенным по высоте ножа (здесь
Hк - глубина погружения колодца, м, а
Hн - высота ножевой части, м).
Основное давление грунта в пределах плана колодца принимается: для круглых колодцев - осесимметричным, для прямоугольных - равномерно распределенным.
2.7. Нормативное значение
дополнительного давления грунта (горизонтального) на колодец,
вызываемого наклоном пластов грунта,

, тс/м
2 определяется по формуле

, (5)
где

- коэффициент, зависящий от угла наклона пластов, принимаемый при:
| | |
8° | . . . . . . . . . . . . . . . . . . . . . . . . . . . . | 0,02 |
10° | . . . . . . . . . . . . . . . . . . . . . . . . . . . . | 0,06 |
15° | . . . . . . . . . . . . . . . . . . . . . . . . . . . . | 0,13 |
20° | . . . . . . . . . . . . . . . . . . . . . . . . . . . . | 0,25 |
25° | . . . . . . . . . . . . . . . . . . . . . . . . . . . . | 0,37 |
30° | . . . . . . . . . . . . . . . . . . . . . . . . . . . . | 0,5 |

- нормативное значение основного давления грунта, определяемое по
формуле (3) настоящей Инструкции.
Дополнительное давление грунта на колодец, вызываемое наклоном пластов грунта, неравномерно нагружает колодец с одной стороны, вызывая симметричный отпор грунта с противоположной стороны.
Для круглых колодцев эту нагрузку следует принимать изменяющейся в плане по синусоиде

(рис. 4), где

- полярный угол.
Рис. 4. Схема дополнительного давления грунта в пределах
плана круглого колодца, вызываемого наклоном пластов грунта,
креном или навалом колодца

- полярный угол
2.8 Гидростатическое давление грунтовых вод pW, тс/м
2 (горизонтальное) на стены и (вертикальное) на днище колодца следует учитывать для частей колодца, погружаемых ниже уровня грунтовых вод в пески, супеси, суглинки, илы и другие грунты, кроме водоупорных грунтов в основании.
Горизонт грунтовых вод следует принимать наиболее высокий при данных условиях работы сооружения.
Гидростатическое подъемное давление грунтовых вод на днище колодца должно приниматься приложенным по низу железобетонной плиты днища.
Нормативное значение общего горизонтального давления на колодец, погруженный ниже уровня грунтовых вод, должно определяться как сумма давлений: гидростатического давления грунтовых вод

, основного

и дополнительного

давлений грунта. При этом основное давление грунта определяется как для пласта, расположенного ниже уровня грунтовых вод, по
формуле (4) настоящей Инструкции, в которой объемный вес грунта с учетом взвешивающего действия воды

, тс/м
3 определяется по формуле

, (6)
где

- нормативное значение удельного веса грунта, принимаемое в среднем 2,7 - 2,8 тс/м
3;

- нормативное значение объемного веса воды, принимаемое равным 1 тс/м
3;
e - коэффициент пористости грунта природного сложения.
2.9. Нормативное значение
усилия трения ножа колодца по грунту 
, тс, возникающего при всплывании колодца, следует определять по формуле

, (7)
где m - коэффициент условий работы, учитывающий происшедшее нарушение контакта колодца с грунтом при возникновении кренов во время погружений колодца, принимаемый равным 0,5;
u - наружный периметр колодца на уровне ножа, м;
Hн - высота ножа, м;
fн - нормативное сопротивление грунта на боковой поверхности ножевой части погружаемого колодца, определяемое по табл. 4.
Глубина погружения основания ножа, м | Нормативное сопротивление грунта на боковой поверхности ножевой части погружаемого колодца fн, тс/м2 |
пески | глинистые грунты |
гравелистые, крупные и средней крупности | мелкие и пылеватые | суглинки и глины твердые и полутвердые, а также тугопластичные глины | супеси твердые и пластичные, суглинки туго- и мягкопластичные, глины мягкопластичные | супеси текучие, суглинки и глины текучие и текучепластичные и илы текучие |
плотные | средней плотности | рыхлые | плотные и средней плотности | рыхлые |
10 | 6,0 | 5,3 | 4,7 | 4,3 | 4,7 | 3,3 | 2,0 |
15 | 7,1 | 6,3 | 5,6 | 5,1 | 6,0 | 4,4 | 2,5 |
20 | 8,2 | 7,3 | 6,5 | 5,9 | 7,3 | 5,5 | 3,0 |
25 | 9,3 | 8,3 | 7,4 | 6,7 | 8,6 | 6,6 | 3,5 |
30 | 10,4 | 9,3 | 8,3 | 7,5 | 9,9 | 7,7 | 4,0 |
35 | 11,5 | 10,3 | 9,2 | 8,3 | 11,2 | 8,8 | 4,5 |
40 | 12,6 | 11,3 | 10,1 | 9,1 | 12,5 | 9,9 | 5,0 |
Примечание. Для промежуточных глубин погружения колодца значения fн определяются интерполяцией. |
Нормативное значение
усилий трения тампонажа щели тиксотропной рубашки по грунту 
, тс, возникающего при всплывании колодца, следует определять по формуле

, (8)
где m - коэффициент условий работы, принимаемый равным 0,5;
u - наружный периметр колодца на уровне ножа, м;
Hт - высота тиксотропной рубашки, м;

- нормативное сопротивление грунта на боковой поверхности тампонажа щели тиксотропной рубашки при всплывании, принимаемое при тампонаже цементно-песчаным раствором, равным 4 тс/м
2.
Нормативное сопротивление грунта

на боковой поверхности колодца в зоне тиксотропной рубашки колодца при всплывании без устройства тампонажа следует принимать равным нулю.
2.10. Нормативное значение
пригрузки колодца анкерами в прилегающем грунте против всплывания

, тс следует определять в зависимости от несущей способности конструкции заанкеривания. Несущую способность анкеров колодцев следует определять расчетом по предельным состояниям конструкции анкеров и их оснований, принимая меньшее из двух значений. При этом определенная расчетом деформация подъема колодца при всплывании не должна превышать 20 мм.
2.11. Нормативное значение
гидростатического давления глинистого раствора 
, тс/м
2, действующего в зоне тиксотропной рубашки, в период погружения колодца следует определять по формуле

, (9)
где

- нормативное значение удельного веса тиксотропного раствора, т/м
3;
Hт - высота тиксотропной рубашки, м.
2.12. Нормативное значение
кратковременных дополнительных давлений грунта (горизонтальных) на колодец должно определяться по
формулам (10) -
(12) от следующих нагрузок и воздействий, вызываемых:
а)
нагрузками, расположенными на поверхности грунта 
, тс/м
2, в том числе:
сплошной вертикальной равномерно распределенной нагрузкой

:

, (10)
местной вертикальной сосредоточенной

, тс, или равномерно распределенной

, тс/м
2, нагрузками, создающими дополнительные горизонтальные давления

и

, тс/м
2, которые должны определяться по
приложению 1 настоящей Инструкции;
б)
креном колодца (
давлением упругого отпора грунта в зоне ножа)

, тс/м
2:

, (11)
где Hн - высота ножа, м;
E - модуль деформации грунта на глубине погружения колодца, тс/м2;
Dн - наружный диаметр колодца в зоне ножа, м;
Hт - высота тиксотропной рубашки, м;
в)
навалом колодца (
давлением в зоне тиксотропной рубашки)

, тс/м
2:

, (12)
где

- нормативное значение гидростатического давления, действующего в зоне тиксотропной рубашки, определяемое в соответствии с требованиями
п. 2.11 настоящей Инструкции, тс/м
2.
Дополнительное давление грунта в пределах плана колодца, вызываемое местной нагрузкой на поверхности грунта, креном и навалом колодца, неравномерно нагружает колодец с одной стороны, вызывая симметричный отпор грунта с противоположной стороны.
Для круглых колодцев давления, вызываемые креном или навалом, следует принимать изменяющимися в плане по синусоидам

,

(см.
рис. 4). Максимумы давлений, вызываемые креном и навалом колодца, могут быть приложены с любой стороны колодца.
При отрывке вблизи колодца одностороннего котлована (например, для подводящих коммуникаций) нормативное значение кратковременного давления грунта (горизонтального) на колодец следует определять:
для зоны выше дна котлована - как местное давление (на участках без выемки) по
формуле (3);
для зоны ниже дна котлована - как сумму давлений: основного, определяемого по
формуле (3), и дополнительного от местной нагрузки на поверхности вышележащей насыпи, определяемого по
формуле (2) приложения 1 настоящей Инструкции.
2.13. Нормативное значение
усилия трения ножа колодца по грунту 
, тс, вызванного погружением колодца, должно определяться по формуле

, (13)
где u - наружный периметр колодца на уровне ножа, м;
Hн - высота ножа, м;
fн - нормативное сопротивление грунта на боковой поверхности ножевой части погружаемого колодца, определяемое по
табл. 4 настоящей Инструкции.
Нормативное значение
усилия трения уплотнителя по грунту 
, тс, вызванного погружением колодца, следует определять по формуле

, (14)
где Hу - высота уплотнителя, м;

- нормативное сопротивление грунта на боковой поверхности уплотнителя (требования к конструкции которого приведены в
п. 4.11 настоящей Инструкции) погружаемого колодца, следует принимать равным 2 тс/м
2.
2.14. Пригрузку колодцев Qпр, тс, при погружении допускается предусматривать при соответствующем технико-экономическом обосновании и осуществлять грузами или при помощи домкратов и соответствующих анкеров.
2.15. Расчетное значение
усилия сопротивления грунта под подошвой ножа колодца при погружении колодца
Rн, тс, следует определять по формуле
Rн = FнR, (15)
где Fн - площадь подошвы ножа, м2;
R - расчетное давление на основание под подошвой ножа колодца при погружении колодца, тс/м2, определяемое в соответствии с требованиями главы СНиП по проектированию оснований зданий и сооружений.
Расчетное значение усилия сопротивления грунта под днищем Rд, тс, не должно превышать произведения площади основания и расчетного давления на основание R, тс/м2, определяемого в соответствии с требованиями главы СНиП по проектированию оснований зданий и сооружений.
2.16. При расчете колодца на сочетание нагрузок от дополнительного горизонтального давления на нож колодца, возникающих в условиях строительства (при погружении колодца), должно быть соблюдено условие

(16)
(обозначение давлений - по
табл. 3 настоящей Инструкции).
При расчете колодца на нагрузки и воздействия, возникающие в условиях строительства, расчетные значения кратковременных нагрузок, приведенные в
поз. 7 -
11 табл. 3 настоящей Инструкции, следует снижать на 20%.
2.17. Нагрузки и воздействия, возникающие в условиях эксплуатации колодцев, и соответствующие им коэффициенты перегрузки должны приниматься по табл. 5.
Нагрузки и воздействия | Единица измерения | Обозначение нагрузок и воздействий (рис. 5) | Коэффициент перегрузки n | Номер пункта настоящей Инструкции, по которому определяются нагрузки и воздействия |
ПОСТОЯННЫЕ | | | | |
1. Вес строительных конструкций | тс | Gк | 1,1 (0,9) | |
2. Основное давление грунта (горизонтальное) на колодец | тс/м2 | pг | 1,1 (0,9) | |
3. Дополнительное давление грунта (горизонтальное) на колодец, вызываемое наклоном пластов и постоянной нагрузкой на поверхности | " | pг.1; pг.2а; pг.2б; pг.2в | 1,1 (0,9) | |
4. Гидростатические давления грунтовых вод (горизонтальное) на стены и (вертикальное) на днище колодца | " | pW | 1,1 (0,9) | |
5. Усилия трения ножа колодца и тампонажа щели рубашки по грунту, вызванные при всплывании колодца | тс | Tн.1; Tт.1 | 1,0 | |
6. Пригрузка колодца анкерами в прилегающем грунте против всплывания | " | Qпр.а | 1,0 | |
7. Усилие сопротивления грунта под днищем | " | Rд | - | |
ВРЕМЕННЫЕ ДЛИТЕЛЬНЫЕ | | | | |
8. Дополнительное давление грунта (горизонтальное) на колодец, вызываемое длительными нагрузками, расположенными на поверхности грунта, и весом стационарного оборудования | тс/м2 | pг.2б; pг.2в | 1,2 (0,8) | |
ОСОБЫЕ | | | | |
9. Давление грунта на колодец, вызываемое деформацией земной поверхности при подработке территории | " | qг.к; qг | Принимается в соответствии с требованиями главы СНиП по проектированию зданий и сооружений на подрабатываемых территориях | |
10. Сейсмическое инерционное давление грунта на колодец | " | qск; qс | - | |
Примечания: 1. Значения коэффициента перегрузки, указанные в скобках, должны приниматься при расчете конструкций на всплывание, устойчивость положения против опрокидывания, а также в других случаях, когда ухудшаются условия работы конструкции. 2. При расчете колодцев и их оснований по деформациям коэффициент перегрузки следует принимать равным единице. |

Рис. 5. Схемы колодца с расчетными нагрузками
и воздействиями, возникающими в условиях нормальной
эксплуатации (обозначение нагрузок и воздействий в
табл. 5)
2.18. Нагрузки, приведенные в
табл. 5 для условий эксплуатации, следует рассчитывать в соответствии с требованиями к определению аналогичных нагрузок, возникающих в условиях строительства, с учетом следующего:
а) нормативное значение веса строительных конструкций колодца

, тс, следует определять исходя из нормативного веса всех элементов зданий и сооружений, опирающихся на колодец, а также расположенных внутри колодца, с учетом требований, изложенных в
п. 2.4 настоящей Инструкции;
б) при расчете колодца на сочетание нагрузок от дополнительного горизонтального давления грунта, возникающих в условиях эксплуатации колодца, должно быть соблюдено условие

(17)
(обозначения давлений - по
табл. 5 настоящей Инструкции);
в) при определении нормативного значения гидростатического давления грунтовых вод

, тс/м
2, определяемого в соответствии с требованиями, изложенными в
п. 2.8 настоящей Инструкции, следует учитывать прогнозируемый повышенный средний уровень грунтовых вод, определяемый в соответствии с требованиями главы СНиП по проектированию оснований зданий и сооружений;
г) при определении нормативного значения дополнительного давления грунта (горизонтального) на колодец

и

, вызываемого нагрузками на поверхности грунта, вертикальная нагрузка от веса вблизи расположенных зданий, сооружений и стационарного оборудования

и

прикладывается по подошве их фундаментов, где

и

- нормативные значения вертикальной сосредоточенной нагрузки и вертикальной нагрузки, равномерно распределенной на прямоугольной площадке поверхности.
2.19. Нормативное значение
давления грунта на колодец, вызываемого деформацией земной поверхности при подработке территории,

и

, тс/м
2, следует определять по формулам:
а) для круглого колодца (
рис. 6,
а)

:

; (18)
б) для прямоугольного колодца

:

, (19)
где

- прогнозируемая величина относительных горизонтальных деформаций сжатия земной поверхности, принимаемая в соответствии с требованиями главы СНиП по проектированию зданий и сооружений на подрабатываемых территориях;
E - модуль деформации грунта, принимаемый в соответствии с требованиями главы СНиП по проектированию оснований зданий и сооружений, тс/м2;

- полярный угол.
Рис. 6. Эпюры давления грунта на круглый колодец
а - вызываемого деформацией земной поверхности
при подработке территории qг.к;
б - сейсмического инерционного qс.к
Давление грунта следует принимать симметричным в плане и постоянным по высоте.
2.20. Расчетное значение
сейсмического инерционного давления несвязанного грунта qс.к и
qс, тс/м
2, следует определять по формулам:
а) для круглого колодца (
рис. 6,
б)
qс.к:

; (20)
б) для прямоугольного колодца qс:

, (21)
где
pг - расчетное значение основного давления грунта, равное

(здесь
n - коэффициент перегрузки, определяемый по
поз. 2 табл. 5, и

- нормативное значение основного давления грунта, определяемое по
формуле (3) настоящей Инструкции);
k - коэффициент сейсмичности, принимаемый равным 0,025 при расчетной сейсмичности 7 баллов и соответственно 0,05 и 0,1 при 8 и 9 баллах;

- расчетное значение угла внутреннего трения грунта, град;

- полярный угол.
Нагрузка сейсмического давления грунта может быть приложена с любой стороны колодца; при этом с противоположной стороны возникает сопротивление грунта, эпюра которого симметрична нагрузке.
3. ОСНОВНЫЕ ПОЛОЖЕНИЯ РАСЧЕТА
3.1. Расчет колодцев и их оснований на силовые воздействия должен производиться по первой и второй группам предельных состояний. Расчет по второй группе предельных состояний должен производиться из условия совместной работы сооружения и грунта. Колодцы следует рассчитывать как единые пространственные системы.
3.2. Расчеты колодцев следует производить на наиболее невыгодные сочетания нагрузок:
в условиях строительства - по расчетным схемам, учитывающим требования принятых в проекте способов производства работ (
п. 3.3 настоящей Инструкции);
в условиях эксплуатации - по расчетным схемам, учитывающим наличие днища, внутренних стен, колонн, перекрытия и т.п., включая нагрузки и воздействия от всех расположенных внутри колодца строительных конструкций и оборудования, от опирающегося на колодец здания, сооружения и оборудования, а также рядом расположенных фундаментов зданий, сооружений и оборудования (
п. 3.11 настоящей Инструкции);
в условиях эксплуатации на подрабатываемых территориях и в сейсмических районах с расчетной сейсмичностью от 7 баллов и выше - по расчетным схемам для условий эксплуатации с учетом соответствующих особых нагрузок.
3.3. На нагрузки и воздействия, возникающие в условиях строительства колодцев, должны выполняться следующие расчеты:
А. По расчетным схемам, учитывающим наличие только наружных стен:
прочности колодца или его первого яруса, подлежащего погружению, при снятии с временного основания (если это предусмотрено проектом производства работ);
погружения колодца;
прочности и устойчивости формы наружных стен при погружении колодца.
Б. По расчетным схемам, учитывающим наличие наружных стен и днища:
прочности днища;
всплывания колодца;
прочности и устойчивости формы стен, а также сдвига по подошве и опрокидывания при отрытии односторонних выемок вблизи колодца (если они предусматриваются проектом производства работ).
Сборные элементы, кроме того, должны рассчитываться на нагрузки, возникающие в процессе их изготовления, транспортирования и монтажа.
3.4. Расчет прочности колодца или его первого яруса, подлежащего погружению при снятии с временного основания, следует производить как расчет оболочки, стоящей на опорах, число которых определяется проектом. Рекомендуется предусматривать симметрично расположенные четыре опоры.
3.5. Расчет погружения колодца следует производить на расчетные нагрузки по формуле

, (22)
где
G0;
Gт;
Qпр;
Tн;
Tу;
Rн - значения нагрузок, подсчитанных с соответствующими коэффициентами перегрузки, определяемыми по
табл. 3 настоящей Инструкции;
kн - коэффициент надежности, равный 1,2.
В расчете должна приниматься проектная (наибольшая) глубина погружения колодца.
Стены колодцев, наращиваемые во время погружения, должны быть разбиты на ярусы по высоте. Высота первого яруса назначается из условий прочности железобетонной оболочки, несущей способности временного основания, а также с учетом грузоподъемности и высоты подъема кранового оборудования и принимается не менее 5 м. Расчет на погружение колодца должен производиться для каждого яруса.
Колодец, погружаемый в грунты с разнородными напластованиями, следует рассчитывать по глубине погружения, для которой значение знаменателя в
формуле (22) является максимальным; при этом проектом должны предусматриваться временные опоры, обеспечивающие закрепление колодца против самопроизвольного погружения ниже проектной отметки. Усилия, передающиеся на опоры
Rоп, тс, должны определяться по формуле
Rоп = G0 + Gт - Tн - Tу, (23)
где
G0 и
Gт - расчетные нагрузки собственного веса стены и тампонажа, принимаемые с

значениями коэффициентов перегрузки
(табл. 3);
Tн и
Tу - расчетные значения усилий трения ножа колодца и уплотнителя по грунту
(табл. 3).
3.6. Расчет прочности наружных стен в условиях строительства следует производить, когда колодец погружен до проектной (наибольшей) глубины, и для каждого яруса стен при погружении колодца ярусами.
Круглые колодцы со сплошными стенами следует рассчитывать как оболочки с верхним и нижним свободными краями.
Прямоугольные колодцы и круглые колодцы с наружными стенами сложной конструкции (например, из пустотелых блоков) допускается рассчитывать по поперечным сечениям, принимая расстояние между сечениями по высоте равным 5 м.
Пустотелые блоки круглых колодцев следует рассчитывать на горизонтальные нагрузки как элементы кольцевой замкнутой рамы (рис. 7).
Рис. 7. Расчетная схема пустотелого блока
M, N, Q - соответственно изгибающий момент, продольное
и поперечное усилия, возникающие в оболочке колодца
от расчетных нагрузок; pт - горизонтальное давление
тиксотропной суспензии или pг - основное давление грунта
на колодец; pг.1 - pг.4 - дополнительные давления грунта
Нижний конец железобетонной ножевой части колодца следует рассчитывать как консоль, защемленную в оболочке колодца, на которую грунт давит снаружи или изнутри (рис. 8).
Рис. 8. Схемы положения железобетонной консоли ножа колодца
при погружении колодца и соответствующие расчетные схемы
а - при разработке грунта у ножа; б - при крене колодца;

- пассивное давление грунта (обозначение нагрузок
При применении металлического приставного ножа (например, по
рис. 11,
в) его следует рассчитывать как короткую оболочку, шарнирно-соединенную вверху с железобетонной стеной колодца, на вертикальную нагрузку от собственного веса сооружения и горизонтальную от давления грунта.
3.7. Тонкостенные оболочки колодцев следует проверять расчетом против возможной потери устойчивости формы при погружении на проектную глубину; при этом расчетное критическое давление
pкр должно равняться максимальной сумме расчетных горизонтальных давлений
pт +
pг.4, значение которых и соответствующие им коэффициенты перегрузки приведены в
табл. 3 настоящей Инструкции.
Расчет устойчивости формы оболочки круглого колодца приведен в
приложении 2 к настоящей Инструкции.
Расчет устойчивости стен прямоугольных колодцев допускается производить как расчет прямоугольных пластин с опертыми краями.
3.8. Расчет прочности железобетонного днища должен производиться как пластинки с краями, шарнирно-опертыми на колодец, на следующие нагрузки:
а) сумму нагрузок - сопротивления грунта Rд и гидростатического давления грунтовых вод pW, если величина постоянных вертикальных нагрузок колодца больше силы всплывания;
б) гидростатическое давление грунтовых вод pW, если величина постоянных вертикальных нагрузок колодца менее силы всплывания (когда колодец заанкерен в прилегающем грунтовом массиве).
3.9. Колодцы, погруженные ниже горизонта грунтовых вод, после устройства днища следует рассчитывать на всплывание, за исключением случая, когда нож заглублен в водоупорные глины и под днищем сделан постоянно действующий дренаж. При этом следует проверять расчетом возможность прорыва напорными водами данного водоупорного слоя.
Расчет колодца на всплывание в условиях строительства следует производить на расчетные нагрузки по формуле

, (24)
где
G0;
Gд;
Tн.1;
Tт.1 и
Qпр.а - обозначения расчетных нагрузок и воздействий (и соответствующие им коэффициенты перегрузки), определяемые по
табл. 3 настоящей Инструкции;
Fо - площадь основания колодца, м2;
HW и

- соответственно расстояние от низа днища до уровня грунтовых вод, который следует принимать в соответствии с требованиями
п. 2.8 настоящей Инструкции, м, и расчетное значение объемного веса воды, тс/м
3;
kн - коэффициент надежности, равный 1,2.
Заанкеривание колодца в прилегающем грунте против всплывания должно предусматриваться в проекте, если

. (25)
3.10. Расчет прочности и устойчивости формы наружных стен при отрытии односторонних выемок вблизи колодца следует производить как проверочный расчет конструкций, сечения которых принимаются в соответствии с требованиями
пп. 3.6,
3.7 и
3.12 настоящей Инструкции.
Расчет сдвига по подошве и опрокидывания колодца при отрытии односторонних выемок вблизи колодца следует производить в соответствии с требованиями главы СНиП по проектированию оснований зданий и сооружений.
3.11. На нагрузки и воздействия, возникающие в условиях эксплуатации колодца, должны выполняться следующие расчеты:
прочности и устойчивости формы наружных и внутренних стен, колонн, днища и перекрытий;
всплывания колодца;
осадки колодца;
сдвига по подошве и опрокидывания колодца (при больших односторонних горизонтальных нагрузках).
3.12. Расчет прочности и устойчивости формы наружных стен колодца в условиях эксплуатации следует производить с учетом происшедшего во время погружения обжатия оболочки колодца давлением тиксотропного раствора
pт, причем величину нагрузки, при воздействии которой произошло первоначальное обжатие, следует принимать равной 80% расчетного давления тиксотропного раствора.
Оболочку колодца в местах опирания балок перекрытий или горизонтальных анкеров следует рассчитывать на местное действие нагрузки от них; при этом следует учитывать концентрацию усилий у проемов.
В расчетах перекрытий, соединяемых с наружными стенами колодца, следует учитывать продольные сжимающие и растягивающие усилия от горизонтальной внешней нагрузки на колодец.
При расчете колодцев, внутренние отсеки которых по технологическим требованиям заполнены водой, должна учитываться дополнительная гидростатическая нагрузка на ограждающие конструкции этих отсеков.
При расчете днища на нагрузки, возникающие в условиях эксплуатации, в расчетной схеме следует учитывать как опоры все постоянные внутренние стены и колонны.
Устойчивость элементов конструкций колодцев, а также колодцев в целом должна быть обеспечена при всех реально возможных условиях эксплуатации. При расчете критического давления на колодец pкр, тс/м2, должны быть соблюдены условия:
для круглых колодцев в плане
pкр > pг + qг.к или pкр > pг + qс.к;
для прямоугольных колодцев в плане
pкр > pг + qг или pкр > pг + qс.
Обозначения давлений (и соответствующие им коэффициенты перегрузки) приведены в
табл. 5 настоящей Инструкции.
3.13. Расчет колодца на всплывание в условиях эксплуатации следует производить на расчетные нагрузки по формуле

, (26)
где

- сумма всех постоянных вертикальных расчетных нагрузок, тс;
Tн.1,
Tт.1 и
Qпр.а - обозначения расчетных нагрузок и воздействий (и соответствующие им коэффициенты перегрузки), определяемые по
табл. 5 настоящей Инструкции;
kн - коэффициент надежности, равный 1,2.
3.14. Расчет осадок колодцев и изменение осадок во времени следует выполнять как для фундаментов на естественных основаниях в соответствии с требованиями главы СНиП по проектированию оснований зданий и сооружений.
3.15. При больших односторонних горизонтальных нагрузках (например, при расположении колодцев на косогоре) колодцы следует рассчитывать на сдвиг по подошве и опрокидывание в соответствии с требованиями главы СНиП по проектированию оснований зданий и сооружений.
3.16. Для колодцев, предназначенных для строительства на подрабатываемых территориях и в сейсмических районах на участках с расчетной сейсмичностью от 7 баллов и выше, должны выполняться следующие дополнительные расчеты по расчетным схемам для условий эксплуатации и при соответствующих дополнительных особых нагрузках и воздействиях:
прочности и устойчивости формы наружных и внутренних стен, колонн и перекрытий;
сдвига по подошве и опрокидывания (при больших односторонних горизонтальных нагрузках).
3.17. Расчет железобетонных конструкций колодцев должен производиться в соответствии с требованиями главы СНиП по проектированию бетонных и железобетонных конструкций с учетом следующих дополнительных условий:
раскрытие трещин в наружных железобетонных стенах в период эксплуатации колодцев допускается не более 0,2 мм;
расчеты колодцев на температурно-влажностные воздействия следует производить для условий строительства, если наибольший размер в плане прямоугольного колодца или диаметр круглого колодца более 60 м, а для условий эксплуатации - при резком неравномерном распределении температуры или влажности по сечениям элементов или при периодическом воздействии интенсивных технологических тепловыделений;
при обоснованном применении металлической гидроизоляции (
п. 4.19 настоящей Инструкции) она должна учитываться как рабочая арматура.
4. ТРЕБОВАНИЯ К КОНСТРУИРОВАНИЮ
4.1. Выбор конструктивного решения колодцев должен производиться на основе сопоставления технико-экономических показателей вариантов, учитывающих требования строительства и эксплуатации колодцев в данных геологических и гидрогеологических условиях. Должны применяться такие конструктивные решения колодцев, при которых обеспечивается необходимая прочность, устойчивость и пространственную неизменяемость колодцев, а также отдельных их конструкций на всех этапах строительства и условий эксплуатации.
4.2. Минимальные размеры сечений элементов железобетонных конструкций колодцев должны назначаться следующие, мм:
толщина монолитных наружных стен - 300;
то же, сборных - 200;
толщина днища - 300;
толщина защитного слоя бетона для рабочей арматуры
в наружных стенах со стороны грунта - 30;
то же, в основании днища - 35.
4.3. Колодцы, погружаемые в тиксотропной рубашке, следует, как правило, проектировать сборными из унифицированных конструкций. Сборные элементы следует принимать наиболее крупными с учетом грузоподъемности применяемых монтажных механизмов, условий транспортирования и изготовления, а также размеров колодца.
4.4. Наружные стены сборных колодцев следует проектировать из плоских панелей, из крупных пустотелых блоков (рис. 9) или из других сборных конструкций.
Рис. 9. Схемы опускных колодцев из панелей (а) и блоков (б)
1 - панели; 2 - блоки; 3 - тиксотропная рубашка; 4 - форшахта;
5, 6 - соответственно пояса и нож из монолитного железобетона
Длину стеновых панелей колодцев глубиной до 15 м рекомендуется принимать равной глубине колодца. Панели проектируются с ножевой частью, имеющей уступы с наружной стороны для образования тиксотропной рубашки и с внутренней стороны для опирания днища.
Применение крупных пустотелых блоков рекомендуется для сооружения колодцев диаметром более 24 м. Для создания дополнительного веса при погружении колодца, выправления кренов и пригрузки от всплывания вертикальные пустоты в блоках рекомендуется заполнять песком, щебнем или бетоном.
4.5. Стыки сборных железобетонных элементов колодца должны быть равнопрочны соединяемым элементам конструкций при всех видах нагрузок и воздействий на колодец.
Стыки сборных элементов стен колодцев следует, как правило, применять следующих конструкций:
вертикальные в панелях и пустотелых блоках - в виде петлевой конструкции выпусков арматуры с накладками, привариваемыми к закладным деталям, или со сваркой выпусков арматуры между собой;
горизонтальные в плоских панелях - по типу стыков колонн многоэтажных производственных зданий;
горизонтальные в плоских панелях с монолитным ножом - допускается стык в виде "паза" (по типу стаканного стыка колонн);
горизонтальные в пустотелых блоках с монолитной частью ножа - в виде стыка с бетонной шпонкой, а между блоками - на слое цементного раствора.
В колодцах диаметром менее 15 м и глубиной до 12 м при соответствующем технико-экономическом обосновании допускается склеивание сборных элементов стен клеем на эпоксидных смолах; при этом должны соблюдаться требования органов государственного санитарного надзора по технике безопасности и промышленной санитарии при работах с эпоксидными смолами.
4.6. Наружные монолитные стены следует проектировать, как правило, ребристой конструкции, располагая ребра на уровне днища и перекрытий. В прямоугольных колодцах бетонирование внутренних стен следует предусматривать до погружения колодца с применением временных металлических креплений (распорок). При этом внизу внутренних стен следует предусматривать проемы для прохода землеройного оборудования (рис. 10).
Рис. 10. Схема монолитного колодца
1 - тиксотропная рубашка; 2 - форшахта; 3, 4, 5 - ребра
в стенах, устраиваемые на уровне днища, перекрытия
и воротника; 6 - внутренняя стена с проемом
Для уменьшения концентрации усилий трения при погружении колодца углы прямоугольных колодцев следует предусматривать закругленными. Радиус закругления углов принимается равным 0,5 - 1,5 м.
4.7. Конструкция нижней ножевой части стен колодца должна обеспечивать возможность применения предусмотренной проектом технологии погружения колодца (внедрение режущей части в грунт и обрушение грунта наклонной гранью ножа в забой). Конструкция режущей части и угол наклона внутренней грани выбираются в зависимости от вида и прочностных характеристик грунтов, в которые погружается колодец. При погружении колодца в грунты с разнородными напластованиями должны учитываться средневзвешенные характеристики грунта.
Для защиты от прорыва тиксотропного раствора из рубашки в полость колодца следует предусматривать устройство под основанием ножа металлического резца, постоянно заглубленного в грунт. Возможные варианты конструкции ножа показаны на рис. 11.
Рис. 11. Схема конструкции ножа
а, б - железобетонный нож; в - металлический нож;
1 - металлический резец; 2 - шпора;
3 - металлический штырь; 4 - губчатая резина
4.8. Для предотвращения самопроизвольного погружения колодцев ниже проектных отметок в необходимых случаях в проектах следует предусматривать одно из следующих устройств: консоль-воротник по наружному периметру верхней части стен, которая при погружении садится на специально отсыпаемую на поверхности грунта песчаную призму; временные опоры, укладываемые на проектной глубине подошвы ножевой части колодца, на которые в конце погружения опирается колодец.
4.9. Проемы в наружных стенах колодца следует временно закрывать металлическими щитами до окончания погружения и устройства днища.
4.10. Ширина наружного уступа ножа, которым при погружении колодца образуется полость для тиксотропной рубашки между наружной поверхностью колодца и грунтом, должна приниматься для колодцев глубиной до 15 м, равной 0,1 м, и большей глубины - 0,15 м.
Верхнюю часть грунтовой стенки тиксотропной рубашки следует фиксировать форшахтой, которую следует проектировать, как правило, в виде монолитного железобетонного кольца при круглых колодцах и прямоугольной обвязки при колодцах, прямоугольных в плане.
4.11. Для предотвращения утечек глинистого раствора в полость колодца следует предусматривать над уступом ножа уплотнитель из герметизирующего материала (например, слоя пакли, пропитанной глиняным раствором между слоями вязкой глиняной пасты текучепластичной консистенции), при котором должна происходить закупорка щелей и протоков, возникающих при кренах колодца в процессе погружения.
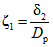
4.12. Закрепление колодца против всплывания
(рис. 12) обеспечивается пригрузкой колодца прилегающим грунтовым массивом при помощи:
тампонажа полости тиксотропной рубашки нагнетанием цементного раствора с одновременным удалением глинистого раствора;
устройства воротника;
устройства горизонтальных и вертикальных анкеров. Тампонаж полости тиксотропной рубашки следует предусматривать в проекте при глубине колодцев до 20 м.
Рис. 12. Схема устройств для закрепления против всплывания
а - с помощью воротника; б - с помощью тампонажа
тиксотропной рубашки или анкеров; 1 - тиксотропная рубашка;
2 - форшахта; 3 - первоначальный котлован; 4, 5 - сборные
железобетонные панель и консоль воротника; 6 - короткая
горизонтальная свая; 7 - вертикальный анкер
Воротник следует предусматривать при глубине первоначального котлована не менее 5 м. При этом основание котлована, со дна которого начинается опускание колодца, должно быть на 0,5 м выше уровня грунтовых вод. Воротник рекомендуется предусматривать сборной конструкции.
Горизонтальные и вертикальные анкеры не допускается предусматривать в текучих супесях, мягкопластичных, текучепластичных и текучих суглинках и глинах. Горизонтальные анкеры - короткие железобетонные сваи, погружаемые в грунт домкратами через отверстия в стенах колодца после его погружения, рекомендуется располагать на глубине залегания пластов грунта с наибольшей несущей способностью; при этом толщина слоя грунта над горизонтальной сваей должна быть не менее 1 м. В однородных грунтах горизонтальные сваи-анкеры следует располагать на глубине днища. Вертикальные анкеры (сваи) следует располагать внутри колодца, закрепляя их в днище или по периметру стен.
Увеличивать толщины стен и днища колодцев с целью пригрузки колодца против всплывания не допускается.
4.13. При залегании водоупорных слоев грунта ниже проектной отметки пола подземного помещения колодца на глубину до 3 м вместо заанкеривания колодца допускается предусматривать дополнительное заглубление его в водоупорный слой на глубину более 1 м, а под днищем колодца - простейшее дренажное устройство с отводом случайно попадающих вод в приямок.
4.14. Конструкцию основания под днищем следует выбирать в зависимости от принятого способа разработки грунта
(рис. 13):
при разработке грунта с водопонижением основание котлована следует выравнивать дренирующим материалом;
при погружении колодца с выемкой грунта из-под воды в основании надлежит предусматривать подушку из бетона, укладываемого методом подводного бетонирования.
Рис. 13. Схемы оснований днища
а - при разработке грунта с водопонижением; б - то же,
с выемкой грунта из-под воды; 1 - железобетонное днище;
2 - цементная стяжка; 3 - гидроизоляция битумными
материалами; 4 - дренажный слой; 5 - бетонная подушка
4.15. В монолитном железобетонном днище следует предусматривать стаканы для установки сборных железобетонных колонн, а также закладные детали для крепления сборных внутренних стен. В местах примыкания монолитных внутренних стен и колонн в днище следует предусматривать выпуски арматуры.
Для сбора и удаления случайно попадающих вод в днище колодцев, используемых для помещений, в проекте необходимо предусматривать устройство одного или нескольких приямков. Поверхность днища должна иметь уклон 0,01 в сторону приямков.
4.16. Колодцы, используемые для помещений, небольшой глубины (до 15 м) при отсутствии грунтовых вод и невозможности их появления в процессе эксплуатации, что устанавливается по данным прогноза инженерно-геологических изысканий, следует проектировать без железобетонного днища. В этом случае полы в колодцах допускается проектировать по типу полов, устраиваемых в помещениях подвалов зданий. Нож после погружения колодца следует добетонировать до требующихся по расчету размеров фундамента; под колонны внутри помещений следует проектировать отдельно стоящие ступенчатые фундаменты.
4.17. Конструкция гидроизоляции колодцев должна назначаться в зависимости от величины гидростатического напора грунтовых вод на уровне пола наиболее заглубленного помещения и требований сухости внутренних поверхностей колодца, руководствуясь требованиями нормативных документов по проектированию и устройству гидроизоляции подземных частей зданий и сооружений. Верхнюю границу гидроизоляции стен следует принимать на 0,5 м выше максимального прогнозируемого уровня грунтовых вод.
4.18. Рекомендуется предусматривать гидроизоляцию из торкрет-раствора по наружной поверхности стен, устраиваемую до погружения колодца. По наружной поверхности торкрета наносится дополнительно окрасочная битумная гидроизоляция.
Днище рекомендуется изолировать битумными материалами (оклеечная гидроизоляция, литая асфальтная гидроизоляция и др.), укладываемыми по бетонной подготовке с поверхностью, выровненной цементной стяжкой.
4.19. Гидроизоляция и облицовка колодцев из листовой стали не допускается, кроме случаев, когда это обосновано технологическими требованиями (например, при одновременном воздействии напорных подземных вод и высоких температур).
ДОПОЛНИТЕЛЬНОЕ ДАВЛЕНИЕ ГРУНТА НА КОЛОДЕЦ
ОТ МЕСТНОЙ ПРИГРУЗКИ ПОВЕРХНОСТИ
1. Нормативное значение дополнительного горизонтального давления грунта на прямоугольный колодец от пригрузки поверхности вертикальной сосредоточенной силой

, тс, или вертикальной равномерно распределенной на прямоугольной площадке поверхности нагрузки

, тс/м
2 следует определять как местное, имеющую пространственную форму эпюры, которая строится по точкам регулярной сетки, разбитой со стороны нагрузки по наружной поверхности колодца (рис. 1). При этом дополнительное давление грунта с одной стороны колодца вызывает симметричный отпор грунта с противоположной стороны.
Рис. 1. Схема воздействий горизонтальных давлений
на прямоугольный колодец от сосредоточенной вертикальной
силы

и местной вертикальной, равномерно
распределенной нагрузки

а - сетка на наружной поверхности колодца;
б - значение давления в точках пересечения сетки
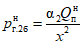
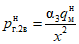
2. Давление в каждой точке следует определять с учетом концентрации напряжений в грунте, вызываемых жесткостью сооружения, по следующим формулам:
от вертикальной сосредоточенной силы

:

; (1)
от вертикальной равномерно распределенной нагрузки qм, приложенной на прямоугольной площадке с размерами сторон 2A x 2B:

, (2)
где значения коэффициента

и

для точек, замаркированных на
рис. 1, приведены для разных видов грунтов в табл. 1;
x - расстояние по горизонтали от сосредоточенной силы или равнодействующей равномерно распределенной нагрузки до колодца, м.
Таблица 1
N точки | Коэффициент бокового давления грунта состояния покоя k0 | Коэффициент  | Коэффициент  при |
| |
| 1 | 2 | | 1 | 2 |
1 | 0,4 (при песках и супесях) | 0,102 | 0,130 | 0,160 | 0,189 | 0,371 | 0,478 | 0,588 |
2 | 0,188 | 0,250 | 0,307 | 0,364 | 0,265 | 0,364 | 0,464 |
3 | 0,130 | 0,176 | 0,201 | 0,226 | 0,130 | 0,204 | 0,278 |
4 | 0,052 | 0,071 | 0,088 | 0,106 | 0,054 | 0,102 | 0,151 |
5 | 0,020 | 0,027 | 0,031 | 0,035 | 0,023 | 0,044 | 0,066 |
6 | 0,065 | 0,089 | 0,132 | 0,176 | 0,273 | 0,427 | 0,582 |
7 | 0,127 | 0,175 | 0,244 | 0,313 | 0,216 | 0,337 | 0,458 |
8 | 0,096 | 0,131 | 0,160 | 0,190 | 0,103 | 0,188 | 0,274 |
9 | 0,047 | 0,064 | 0,075 | 0,086 | 0,049 | 0,098 | 0,149 |
10 | 0,017 | 0,023 | 0,028 | 0,032 | 0,021 | 0,043 | 0,065 |
11 | 0,033 | 0,045 | 0,104 | 0,164 | 0,088 | 0,326 | 0,564 |
12 | 0,053 | 0,071 | 0,167 | 0,263 | 0,095 | 0,268 | 0,441 |
13 | 0,048 | 0,065 | 0,066 | 0,155 | 0,069 | 0 166 | 0,263 |
14 | 0,027 | 0,037 | 0,054 | 0,071 | 0,037 | 0,090 | 0,143 |
15 | 0,012 | 0,017 | 0,023 | 0,029 | 0,016 | 0,039 | 0,062 |
1 | 0,5 (при суглинках) | 0,123 | 0,184 | 0,267 | 0,350 | 0,494 | 0,597 | 0,681 |
2 | 0,211 | 0,299 | 0,361 | 0,424 | 0,357 | 0,454 | 0,549 |
3 | 0,137 | 0,170 | 0,215 | 0,260 | 0,182 | 0,265 | 0,349 |
4 | 0,057 | 0,077 | 0,096 | 0,116 | 0,078 | 0,142 | 0,206 |
5 | 0,023 | 0,030 | 0,042 | 0,054 | 0,035 | 0,069 | 0,104 |
6 | 0,077 | 0,089 | 0,219 | 0,339 | 0,361 | 0,519 | 0,676 |
7 | 0,137 | 0,170 | 0,289 | 0,407 | 0,260 | 0,402 | 0,544 |
8 | 0,102 | 0,111 | 0,168 | 0,226 | 0,135 | 0,240 | 0,345 |
9 | 0,050 | 0,056 | 0,083 | 0,109 | 0,062 | 0,125 | 0,188 |
10 | 0,020 | 0,022 | 0,036 | 0,051 | 0,032 | 0,067 | 0,102 |
11 | 0,035 | 0,038 | 0,124 | 0,210 | 0,091 | 0,375 | 0,659 |
12 | 0,055 | 0,061 | 0,180 | 0,299 | 0,102 | 0,319 | 0,526 |
13 | 0,051 | 0,056 | 0,148 | 0,240 | 0,078 | 0 174 | 0,338 |
14 | 0,029 | 0,032 | 0,061 | 0,090 | 0,046 | 0,096 | 0,177 |
15 | 0,014 | 0,016 | 0,028 | 0,040 | 0,025 | 0,051 | 0,096 |
1 | 0,7 (при глинах) | 0,163 | 0,219 | 0,312 | 0,405 | 0,593 | 0,674 | 0,755 |
2 | 0,241 | 0,338 | 0,404 | 0,471 | 0,430 | 0,524 | 0,617 |
3 | 0,152 | 0,212 | 0,254 | 0,296 | 0,195 | 0,301 | 0,407 |
4 | 0,066 | 0,079 | 0,108 | 0,137 | 0,097 | 0,164 | 0,231 |
5 | 0,028 | 0,019 | 0,044 | 0,069 | 0,046 | 0,090 | 0,134 |
6 | 0,098 | 0,127 | 0,250 | 0,391 | 0,409 | 0,580 | 0,751 |
7 | 0,154 | 0,182 | 0,316 | 0,451 | 0,297 | 0,455 | 0,612 |
8 | 0,113 | 0,141 | 0,198 | 0,256 | 0,161 | 0,282 | 0,402 |
9 | 0,056 | 0,062 | 0,096 | 0,129 | 0,085 | 0,155 | 0,226 |
10 | 0,025 | 0,026 | 0,045 | 0,065 | 0,042 | 0,087 | 0,132 |
11 | 0,037 | 0,040 | 0,165 | 0,290 | 0,096 | 0,441 | 0,736 |
12 | 0,059 | 0,078 | 0,203 | 0,328 | 0,109 | 0,369 | 0,594 |
13 | 0,056 | 0,062 | 0,133 | 0,203 | 0,089 | 0,221 | 0,385 |
14 | 0,034 | 0,037 | 0,071 | 0,105 | 0,055 | 0,116 | 0,212 |
15 | 0,018 | 0,024 | 0,037 | 0,051 | 0,032 | 0,064 | 0,123 |
3. В расчетах круглых колодцев дополнительное давление принимается как радиально направленная нагрузка, при этом значения ее, вычисленные для отдельных точек наружной поверхности по
формулам (1) и
(2), следует умножать на

, где

- угол между первоначальным направлением нагрузки и продолжением радиуса, проведенного через рассматриваемую точку (рис. 2).
Рис. 2. Схема воздействий горизонтальных давлений
на круглый колодец
2 - соответствующие им радиальные давления
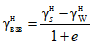
РАСЧЕТ ОБЩЕЙ ПОТЕРИ УСТОЙЧИВОСТИ
ФОРМЫ ОБОЛОЧКИ КРУГЛОГО КОЛОДЦА
Устойчивость формы колодца обеспечивается при условии, если внешнее горизонтальное давление pт не превышает критического давления pт.кр.
Расчетное критическое давление на круглый колодец pт.кр следует определять как для оболочки с верхним и нижним незакрепленными торцами (из условия погружения колодца) по формуле

, (1)
где Eб - начальный модуль упругости бетона при сжатии и растяжении, тс/м2;

; здесь

- толщина стенки колодца, м;
Dр - значение расчетного диаметра колодца, м;

- число волн в поперечном направлении;

; здесь
Hк - глубина колодца.
В
формуле (1) следует подставлять поочередно значения

от 2 до 10; критической силой будет полученная из данных расчетов минимальная величина
pт.кр.