Главная // Актуальные документы // Актуальные документы (обновление 2024.12.02-2025.01.05) // ГОСТ (Государственный стандарт)СПРАВКА
Источник публикации
М.: ФГБУ "Институт стандартизации", 2024
Примечание к документу
Документ включен в
Перечень международных и региональных (межгосударственных) стандартов, а в случае их отсутствия - национальных (государственных) стандартов, в результате применения которых на добровольной основе обеспечивается соблюдение требований технического
регламента Таможенного союза "О безопасности низковольтного оборудования" (ТР ТС 004/2011), и в
Перечень международных и региональных (межгосударственных) стандартов, а в случае их отсутствия - национальных (государственных) стандартов, содержащих правила и методы исследований (испытаний) и измерений, в том числе правила отбора образцов, необходимые для применения и исполнения требований технического
регламента Таможенного союза "О безопасности низковольтного оборудования" (ТР ТС 004/2011) и осуществления оценки соответствия объектов технического регулирования (
Решение Коллегии Евразийской экономической комиссии от 11.05.2023 N 55).
Текст данного документа приведен с учетом
поправки, опубликованной в "ИУС", N 7, 2024.
Документ
введен в действие с 01.09.2024.
Название документа
"ГОСТ IEC 60598-2-14-2014. Межгосударственный стандарт. Светильники. Часть 2-14. Дополнительные требования. Светильники для трубчатых газоразрядных ламп с холодным катодом (неоновые лампы) и аналогичное оборудование"
(введен в действие Приказом Росстандарта от 27.12.2023 N 1679-ст)
"ГОСТ IEC 60598-2-14-2014. Межгосударственный стандарт. Светильники. Часть 2-14. Дополнительные требования. Светильники для трубчатых газоразрядных ламп с холодным катодом (неоновые лампы) и аналогичное оборудование"
(введен в действие Приказом Росстандарта от 27.12.2023 N 1679-ст)
агентства по техническому
регулированию и метрологии
от 27 декабря 2023 г. N 1679-ст
МЕЖГОСУДАРСТВЕННЫЙ СТАНДАРТ
СВЕТИЛЬНИКИ
ЧАСТЬ 2-14
ДОПОЛНИТЕЛЬНЫЕ ТРЕБОВАНИЯ.
СВЕТИЛЬНИКИ ДЛЯ ТРУБЧАТЫХ ГАЗОРАЗРЯДНЫХ ЛАМП С ХОЛОДНЫМ
КАТОДОМ (НЕОНОВЫЕ ЛАМПЫ) И АНАЛОГИЧНОЕ ОБОРУДОВАНИЕ
Luminaires. Part 2-14. Particular requirements.
Luminaires for cold cathode tubular discharge lamps
(neon tubes) and similar equipment
(IEC 60598-2-14:2009, IDT)
ГОСТ IEC 60598-2-14-2014
Дата введения
1 сентября 2024 года
Цели, основные принципы и основной порядок проведения работ по межгосударственной стандартизации установлены
ГОСТ 1.0 "Межгосударственная система стандартизации. Основные положения" и
ГОСТ 1.2 "Межгосударственная система стандартизации. Стандарты межгосударственные, правила и рекомендации по межгосударственной стандартизации. Правила разработки, принятия, обновления и отмены"
1 ПОДГОТОВЛЕН Научно-производственным республиканским унитарным предприятием "Белорусский государственный институт стандартизации и сертификации" (БелГИСС) на основе собственного перевода на русский язык англоязычной версии стандарта, указанного в
пункте 5
2 ВНЕСЕН Госстандартом Республики Беларусь
3 ПРИНЯТ Межгосударственным советом по стандартизации, метрологии и сертификации (протокол от 22 декабря 2014 г. N 73-П)
За принятие проголосовали:
Краткое наименование страны по МК (ИСО 3166) 004-97 | Код страны по МК (ИСО 3166) 004-97 | Сокращенное наименование национального органа по стандартизации |
Армения | AM | ЗАО "Национальный орган по стандартизации и метрологии" Республики Армения |
Беларусь | BY | Госстандарт Республики Беларусь |
Казахстан | KZ | Госстандарт Республики Казахстан |
Киргизия | KG | Кыргызстандарт |
Молдова | MD | Институт стандартизации Молдовы |
Россия | RU | Росстандарт |
Таджикистан | TJ | Таджикстандарт |
Узбекистан | UZ | Узстандарт |
4
Приказом Федерального агентства по техническому регулированию и метрологии от 27 декабря 2023 г. N 1679-ст межгосударственный стандарт ГОСТ IEC 60598-2-14-2014 введен в действие в качестве национального стандарта Российской Федерации с 1 сентября 2024 г.
5 Настоящий стандарт идентичен международному стандарту IEC 60598-2-14:2009 "Светильники. Часть 2-14. Дополнительные требования. Светильники для трубчатых газоразрядных ламп с холодным катодом (неоновые лампы) и аналогичное оборудование" ("Luminaires - Part 2-14: Particular requirements - Luminaires for cold cathode tubular discharge lamps (neon tubes) and similar equipment", IDT).
Международный стандарт разработан техническим комитетом по стандартизации IEC/TC 34 "Лампы и связанное с ними оборудование" Международной электротехнической комиссии (IEC).
При применении настоящего стандарта рекомендуется использовать вместо ссылочных международных стандартов соответствующие им межгосударственные стандарты, сведения о которых приведены в дополнительном
приложении ДА
6 ВВЕДЕН ВПЕРВЫЕ
Информация о введении в действие (прекращении действия) настоящего стандарта и изменений к нему на территории указанных выше государств публикуется в указателях национальных стандартов, издаваемых в этих государствах, а также в сети Интернет на сайтах соответствующих национальных органов по стандартизации.
В случае пересмотра, изменения или отмены настоящего стандарта соответствующая информация будет опубликована на официальном интернет-сайте Межгосударственного совета по стандартизации, метрологии и сертификации в каталоге "Межгосударственные стандарты"
Настоящий стандарт устанавливает требования к светильникам для трубчатых газоразрядных ламп с холодным катодом (неоновые лампы) и аналогичному оборудованию с выходным напряжением без нагрузки от 1 000 до 10 000 В, которые используются для общего внутреннего или наружного освещения при напряжении питания не более 1000 В.
Примечание - В Японии допускается значение выходного напряжения 15 000 В.
Стандарт распространяется на светильники, в состав которых входят трубчатые газоразрядные лампы и источники питания, включая стационарные и переносные светильники, с высоким, сетевым или сверхнизким напряжением питания, подаваемым от трансформаторов, инверторов или преобразователей.
Стандарт не распространяется на светильники для трубчатых газоразрядных ламп с предварительно подогреваемым катодом, работающих при номинальных напряжениях не выше 1000 В, о которых упомянуто в IEC 60598 (раздел 2), и на светильники для трубчатых газоразрядных ламп, монтируемые на месте установки в качестве системы электрического освещения, так как в последнем случае применяются региональные правила монтажа электроустановок.
Настоящий стандарт следует применять совместно с соответствующими разделами IEC 60598-1, на которые имеются ссылки.
В настоящем стандарте использованы нормативные ссылки на следующие стандарты [для датированных ссылок применяют только указанное издание ссылочного стандарта, для недатированных - последнее издание (включая все изменения к нему)]:
IEC 60529:2013, Degrees of protection provided by enclosures (IP Code) (Степени защиты, обеспечиваемые оболочками (IP Code)
IEC 61050:1991, Transformers for tubular discharge lamps having a no-load output voltage exceeding 1 000 V (generally called neon-transformers). General and safety requirements (Трансформаторы для разрядных ламп с напряжением на выходе без нагрузки более 1000 В (обычно называемые неоновым трансформатором). Общие требования и требования безопасности)
IEC 61347-2-10:2009, Lamp controlgear. Part 2-10: Particular requirements for electronic invertors and convertors for high-frequency operation of cold start tubular discharge lamps (neon tubes) (Аппараты пускорегулирующие для ламп. Часть 2-10. Дополнительные требования к электронным инверторам и преобразователям для высокочастотных трубчатых газоразрядных ламп накаливания (неоновых ламп) холодного запуска)
IEC 60417-DB-12M:2002, Graphical symbols for use on equipment (Графические символы для использования на оборудовании)
14.3 Общие требования к испытаниям и проверкам
Применяют положения IEC 60598-1 (раздел 0).
Примечание - Указанный раздел IEC 60598-1 охватывает требования, применяемые к готовым изделиям, для которых могут проводиться типовые испытания согласно приложению Q к части 1.
14.4 Термины и определения
В настоящем стандарте применены термины, приведенные в IEC 60598-1 (раздел 1), а также следующие термины с соответствующими определениями.
14.4.1 газоразрядная лампа (luminous-discharge tube): Лампа в виде трубки, колбы или аналогичное оборудование, которые изготовлены из светопропускающего материала, герметично запечатаны и предназначены для излучения света, возникающего при прохождении электрического тока через газы или пары, содержащиеся в них.
Примечание - Лампа может иметь или не иметь люминесцентное покрытие.
14.4.2 номинальное выходное напряжение без нагрузки (no-load rated output voltage): Максимальное напряжение между выводами выходной обмотки(ок) трансформатора, как указано в IEC 61050 (пункт 2.8), или максимальное напряжение между выходными контактными зажимами инвертора или преобразователя, как указано в IEC 61347-2-10 (пункт 3.2).
14.4.3 изоляционная втулка (insulating sleeve): Изолирующий корпус, предназначенный для установки поверх открытых высоковольтных соединений электродов лампы или концов кабеля.
14.4.4 устройство защиты от утечки тока на землю (earth leakage protective device): Устройство, отключающее выходную мощность от одного или нескольких пускорегулирующих аппаратов в случае короткого замыкания между любой соответствующей частью выходной цепи и землей.
Примечание - Устройство защиты от утечки тока на землю может состоять из двух частей - датчика и защитного выключателя (см.
14.7.3), или они могут быть объединены в одном корпусе и расположены внутри или снаружи пускорегулирующих аппаратов.
14.4.5
устройство защиты от размыкания цепи (open-circuit protective device): Устройство, отключающее выходную мощность от одного или нескольких пускорегулирующих аппаратов в случае обрыва цепи.
| | ИС МЕГАНОРМ: примечание. В официальном тексте документа, видимо, допущена опечатка: имеется в виду п. 14.7.4, а не п. 4.7.4. | |
Примечание - Устройство защиты от обрыва может состоять из двух частей - датчика и защитного выключателя (см.
4.7.4), или они могут быть объединены в одном корпусе.
14.4.6 обрыв (open-circuit condition): Отключение или отказ лампы в выходной цепи, в результате которого значение тока нагрузки пускорегулирующего аппарата, обеспечивающего питание лампы, или значение подаваемого на этот пускорегулирующий аппарат тока сетевого питания падает ниже соответствующего предельного тока отключения.
14.4.7 предельный ток отключения (shut-down current limit): Ток вторичной обмотки трансформатора, при котором срабатывает устройство защиты от обрыва.
Примечание - Хотя предельный ток отключения указывается как ток, протекающий в выходной цепи, изготовитель устройства может измерять эту величину другими, непрямыми способами. Эти способы могут включать, например, измерение соответствующего тока, протекающего в первичной обмотке, или изменения коэффициента мощности цепи.
14.4.8 датчик (sensor): Часть устройства защиты, обнаруживающая наличие замыкания вторичной цепи на землю и/или состояния обрыва, а также обеспечивающая подачу сигнала для срабатывания устройства защиты.
14.4.9 защитный выключатель (protective switch): Часть устройства защиты, отключающая сетевое напряжение питания от пускорегулирующего аппарата или иным образом обеспечивающая отключение выходной мощности.
Защитный выключатель приводится в действие электрическим сигналом, подаваемым соответствующим датчиком.
14.4.10 мигающий переключатель (flasher): Устройство для автоматического непрерывного включения и выключения одной или нескольких выходных цепей.
Примечание - Порядок включения и выключения различных выходных цепей может быть подобран таким образом, чтобы создавать эффект движения и другие анимационные эффекты.
14.4.11 светильник для газоразрядных ламп (luminous-discharge tube luminaire): Светильник, в состав которого входят один или несколько источников света, работающий с напряжением холостого хода свыше 1000 В, но не более 10000 В.
14.4.12 переносной светильник для ламп с холодным катодом (portable cold cathode luminaire): Светильник, использующий одну или несколько ламп с холодным катодом, который может легко перемещаться в процессе нормальной эксплуатации, оснащенный неотделяемым гибким шнуром и встроенным трансформатором, инвертором или преобразователем.
Примечание - Такой светильник рассчитан на то, что его установка и подключение к сетевой розетке будет выполняться пользователем.
14.4.13 закрытый светильник для ламп с холодным катодом (boxed cold cathode luminaire): Светильник, использующий одну или несколько ламп с холодным катодом и оснащенный светопропускающей панелью, на которой может быть изображена какая-либо надпись.
14.5 Классификация светильников
Светильники, на которые распространяется настоящий стандарт, классифицируются в соответствии с IEC 60598-1 (раздел 2).
По способу защиты от поражения электрическим током светильники должны быть классов I или II.
Примечание - Переносные светильники для ламп с холодным катодом классифицируются как пригодные для монтажа на поверхностях из нормально воспламеняемого материала.
Применяют положения IEC 60598-1 (раздел 3) со следующими дополнениями.
14.6.1 В точках доступа к каждому светильнику, газоразрядной лампе или корпусу высоковольтных пускорегулирующих аппаратов должен быть размещен предупреждающий знак "Внимание - опасность поражения электрическим током", соответствующий знаку IEC 60417-5036 (2002-10).
Примечание 1 - Чтобы предупреждающий знак был виден после монтажа с установленной газоразрядной лампой, допускается увеличивать размеры знака или размещать его в других местах.
Примечание 2 - В США необходимы также следующие предупреждающие знаки: "Внимание - опасность поражения электрическим током. Опасное напряжение может привести к электрическому удару, ожогу или смертельному исходу", "Внимание - опасность пожара. Не допускать соединения какой-либо части выходной цепи с любыми заземленными металлическими предметами".
14.6.2 В целях упрощения технического обслуживания светильника для газоразрядных ламп изготовитель должен сообщить пользователю информацию, приведенную в 14.6.2.1 -
14.6.3, указав ее на изделии и/или в эксплуатационных документах. В частности такой информацией является:
14.6.2.1 упрощенная электрическая схема с указанием газоразрядных трубок и пускорегулирующих аппаратов;
14.6.2.2 максимальный ток лампы, тип газовой смеси (пары ртути, чистый неон и т.д.), длина газоразрядных ламп (линейная длина без электродов);
14.6.2.3 выходное напряжение холостого хода и ток короткого замыкания пускорегулирующих аппаратов для светильников без источников питания;
14.6.2.4 дополнительная информация согласно IEC 61050 [(пункт 7.2, перечисления d) и e)] - в случаях, когда это применимо;
14.6.2.5 для светильников с трансформаторами, оснащенными устройствами защиты от обрыва - информация о предельном токе отключения;
14.6.3 информация о допустимости (или недопустимости) монтажа в зоне возможного прикосновения (см.
14.7.2).
Применяют положения IEC 60598-1 (раздел 4) со следующими дополнениями.
14.7.1 Все доступные высоковольтные соединения газоразрядных ламп должны быть защищены изоляционными втулками, изготовленными из соответствующего изоляционного материала.
Требования IEC 60598-1 (пункт 4.9.2) заменяются следующими.
Изоляционные втулки должны быть изготовлены из одного из следующих материалов:
a) стекло с толщиной стенок не менее 1 мм;
b) силиконовая резина с напряжением пробоя (указанным поставщиком), не менее чем в два раза превышающим номинальное выходное напряжение без нагрузки относительно земли для пускорегулирующего аппарата, подающего питание цепи. Толщина стенок должна составлять не менее 1 мм, а рабочая температура - не менее 180 °C;
c) материал с изолирующими свойствами, стойкостью к ультрафиолетовому излучению и воздействию озона, а также характеристиками теплостойкости, по меньшей мере, эквивалентными указанным в
перечислении b).
Примечание - Пригодность силиконовой резины проверяется путем проведения всех испытаний, указанных в настоящем стандарте.
Проверку соответствия проводят осмотром.
14.7.2 Светильник, предназначенный для монтажа в зоне возможного прикосновения, должен быть оснащен устройством защиты от обрыва согласно
14.4.5, если в случае разрушения лампы доступными для прикосновения становятся токоведущие части вторичной цепи.
Проверку проводят осмотром.
14.7.3 Защита от утечки тока на землю
14.7.3.1 Цепи питания от инверторов или преобразователей, кроме типа A, для светильников класса I, должны быть защищены устройством, чувствительным к утечке тока на землю, согласно IEC 61347-2-10. Цепи питания от трансформатора, для светильников класса I, должны быть защищены согласно
14.7.3.2 и
14.7.3.3. В случае утечки тока на землю, вызывающей срабатывание устройств защиты, они должны оставаться под напряжением до отключения цепи питания. Если при повторном включении оказывается, что имеется утечка тока, то устройство защиты должно срабатывать согласно
14.7.3.2 и
14.7.3.3.
Характеристики устройства, чувствительного к утечкам тока на землю, должны соответствовать требованиям, указанным в
14.7.3.4.
14.7.3.2 Устройство защиты от утечки тока на землю должно отключать подачу сетевого напряжения от светильника или иным образом отключать выходную мощность в случае возникновения контакта между высоковольтной цепью и землей. Если предусмотрено отключающее устройство для одного полюса напряжения питания, то такое отключающее устройство должно быть соединено с фазой электропитания.
14.7.3.3 Аварийное состояние (утечка на землю) должно обнаруживаться соответствующими датчиками, подключенными к выходной цепи. Эти датчики должны приводить в действие устройства, предусмотренные для отключения цепи питания или выходной мощности.
Примечание 1 - Датчики и контакты устройства защиты от утечки тока на землю могут быть объединены в одном корпусе.
Примечание 2 - Устройство защиты от утечки тока на землю может быть выполнено таким образом, чтобы обеспечивать защиту нескольких цепей светильника.
14.7.3.4 Устройство защиты от утечки тока на землю должно соответствовать следующим требованиям:
- если датчик и/или устройство защиты, отключающее выходную мощность, не размещены в пределах корпуса пускорегулирующего аппарата, то устройство защиты должно нормально работать в диапазоне температур от минус 25 °C до плюс 65 °C. Если устройство рассчитано на работу при других температурах, это должно быть указано в руководстве по эксплуатации;
- если часть датчика, контакта, или устройства, отключающего выходную мощность, смонтированы внутри корпуса пускорегулирующего аппарата, то такая часть должна нормально работать в пределах диапазона температур, обеспечиваемого внутри корпуса. Максимальная температура окружающей среды для такой части датчика и/или устройства защиты не должна превышать максимальную температуру, допустимую в ходе испытаний, проводимых согласно IEC 60598-1 (12.4 и 12.5);
- номинальный ток, вызывающий срабатывание устройства защиты, не должен превышать номинальный ток вторичной обмотки трансформатора и не должен быть более 25 мА.
Примечание 1 - Фактическая величина тока, протекающего через датчик при утечке на землю, определяется импедансом цепи и также выходными характеристиками, вызывающими срабатывание устройства защиты. Ток, протекающий через датчик, не может зависеть от тока, протекающего в устройстве защиты;
- время, необходимое устройству для отключения выхода, должно составлять не более 200 мс;
- напряжение на части датчика, обнаруживающей ток утечки на землю, не должно превышать 50 В.
Устройство защиты от утечки тока на землю должно пройти испытания согласно инструкциям изготовителя. По результатам этих испытаний должно быть установлено, что устройство работает правильно.
Примечание 2 - Стандарты, устанавливающие требования к устройствам защиты от утечки тока на землю, должны соответствовать региональным нормативным документам.
Примечание 3 - В США и Канаде ток срабатывания равен номинальному току пускорегулирующего аппарата, если номинальный ток менее 15 мА. В противном случае он не должен превышать 15 мА. Время, необходимое устройству защиты для того, чтобы отключить выходную мощность после того, как ток утечки на землю превысит 15 мА, не должно превышать 500 мс.
14.7.3.5 Если действие устройства защиты состоит в отключении сетевого питания в случае утечки тока на землю, то средства, обеспечивающие такое отключение, должны иметь механические контакты. Отключение посредством полупроводниковых приборов (тиристоры, симисторы и т.д.) не допускается.
14.7.3.6 Если в состав цепи входит мигающий переключатель, то защитный выключатель и относящееся к нему устройство отключения должны быть смонтированы на источнике питания мигающего переключателя.
Примечание - Если устройство защиты и его устройство отключения располагаются на нагрузке мигающего переключателя, то защитный выключатель будет удерживать состояние отключения и повторного срабатывания в условиях неисправности.
14.7.3.7 Если в состав цепи входит мигающий переключатель, и при этом устройство (устройства) для отключения выходной мощности размещено (размещены) внутри корпуса пускорегулирующего аппарата (аппаратов), то должно выполняться одно из следующих требований: либо к сетевому питанию мигающего переключателя должен быть подключен защитный выключатель, и при этом цепи встроенного датчика должны обеспечивать управление этим вторым выключателем, либо должны быть предусмотрены другие средства, которые бы предотвращали отключение устройства защиты каждый раз, когда мигающий переключатель включает и выключает сетевое напряжение.
14.7.3.8 Датчики и средства защиты должны быть совместимы при эксплуатации.
14.7.3.9
Проверку соответствия требованиям 14.7.3.1 - 14.7.3.8 проводят осмотром, измерениями и испытаниями, в зависимости от того, какой способ проверки применим.
14.7.4 Устройство защиты от размыкания цепи
Если преобразователь не имеет встроенного устройства для защиты от размыкания цепи, то для случаев, указанных в
14.7.2, отдельное устройство защиты от размыкания цепи должно соответствовать требованиям к испытаниям, приведенным в
14.7.4.2 -
14.7.4.8.
14.7.4.1 После отключения вторичной цепи, приводящего к срабатыванию устройства защиты, оно должно оставаться под напряжением до отключения напряжения питания. Если при повторном включении оказывается, что имеется обрыв, то устройство защиты должно срабатывать согласно 14.7.4.2 и
14.7.4.3. Функционирование устройства защиты от обрыва должно соответствовать требованиям
14.7.4.4.
14.7.4.2 Если значение тока нагрузки или тока сетевого питания оказывается ниже значения предельного тока отключения (см.
14.6.2.5), то устройство защиты от размыкания цепи должно отключать выходное напряжение пускорегулирующего аппарата. Если предусмотрено отключение одного полюса напряжения питания, то такое устройство отключения должно быть соединено с выводом фазы электропитания.
14.7.4.3 Аварийное состояние должно обнаруживаться датчиком, подключенным к выходной цепи (или к другим аналогичным устройствам). Этот датчик должен приводить в действие защитный выключатель, предусмотренный для отключения цепи питания или выходной мощности.
Примечание 1 - Датчики и контакты устройства защиты от утечки тока на землю могут быть объединены в одном корпусе.
Примечание 2 - Устройство защиты от размыкания цепи может быть выполнено таким образом, чтобы обеспечивать защиту нескольких цепей светильника.
14.7.4.4 Устройство защиты от размыкания цепи должно удовлетворять следующим требованиям:
- если датчик и/или устройство защиты, отключающее выходную мощность, не размещены внутри корпуса пускорегулирующего аппарата, то устройство защиты должно нормально работать в диапазоне температур от минус 25 °C до плюс 65 °C. Если устройство рассчитано на работу при других температурах, это должно быть указано в руководстве по эксплуатации;
- если часть датчика и/или устройства, отключающего выходную мощность, размещены внутри корпуса пускорегулирующего аппарата, то такая часть должна нормально работать в пределах диапазона температур, обеспечиваемого внутри корпуса. Максимальная температура окружающей среды для такой части датчика и/или устройства защиты не должна превышать максимальную температуру, допустимую в ходе испытаний, проводимых по IEC 60598-1 (12.4 и 12.5);
a) если при включении светильника оказывается, что в какой-либо части выходной цепи или нагрузки имеется обрыв, то устройство защиты должно начинать работу не позднее чем через 5 с (для всех типов пускорегулирующих аппаратов);
b) если в какой-либо части выходной цепи или нагрузки возникает обрыв, но установка при этом работает нормально, то устройство защиты должно начинать работу не позднее чем через 5 с. Если после этого сетевое напряжение питания выключается и снова включается, а состояние обрыва при этом сохраняется, то устройство защиты должно работать, как указано в
перечислении a).
Примечание - Следует обратить внимание, что некоторые типы трансформаторов, имеющие выходные емкостные или полурезонансные характеристики, могут обеспечивать питание для более высокой нагрузки из газоразрядных ламп, чем трансформаторы с таким же напряжением холостого хода, но с индуктивными выходными характеристиками. Однако газоразрядные лампы, на которые подается питание от таких трансформаторов, могут зажигаться медленно, особенно при низких температурах. Слишком медленное зажигание может приводить к ложному срабатыванию устройства защиты от обрыва.
Устройство защиты от обрыва должно пройти испытания согласно инструкциям изготовителя. По результатам этих испытаний должно быть установлено, что компоненты устройства работают правильно, а также правильно смонтированы.
14.7.4.5 Датчики (один или несколько) должны быть подключены к устройствам отключения выходной мощности (одному или нескольким) одним из следующих способов:
- подключение каждого датчика к одному устройству, которое может быть размещено в корпусе пускорегулирующего аппарата;
- подключение датчиков нескольких пускорегулирующих аппаратов к одному устройству защиты, подключенному к источнику питания этих аппаратов. Количество датчиков, которые могут быть подключены к устройству защиты, определяется в соответствии с требованиями изготовителя этого устройства.
14.7.4.6 Если в состав цепи входит устройство прерывистого действия (автоматический переключатель), то должны быть приняты надлежащие меры для обеспечения правильной работы защиты.
Примечание - Цель при этом - избежать случаев, когда устройство защиты продолжает выполнять отключение и включать цепь при наличии состояния отказа.
14.7.4.7 Датчики и средства защиты должны быть совместимы в эксплуатации.
14.7.4.8 Проверку
соответствия требованиям 14.7.4.1 - 14.7.4.7 проводят осмотром, измерениями и испытаниями, в зависимости от того, какой способ проверки применим.
14.7.5 Инверторы и преобразователи
Инверторы и преобразователи должны соответствовать IEC 61347-2-10.
Проверку проводят осмотром.
14.7.6 Трансформаторы
Трансформаторы должны соответствовать IEC 61050.
Проверку проводят осмотром.
Примечание - В Европе вторичное номинальное напряжение холостого хода относительно земли должно быть не более 5 кВ, между клеммами - не более 10 кВ.
14.7.7 Опоры для газоразрядных ламп
14.7.7.1 Опоры для газоразрядных ламп должны быть изолированы от земли таким образом, чтобы выдерживать номинальное выходное напряжение холостого хода пускорегулирующего аппарата, подающего питание на эти лампы.
Примечание - Опоры могут быть изготовлены из металла, помещенного на изолятор, или полностью из изолирующего материала.
Проверку проводят осмотром.
14.7.7.2 Опоры должны быть установлены таким образом, чтобы при нормальных условиях эксплуатации они надежно удерживали лампу, не создавая механических повреждений.
Примечание - Желательно, чтобы опоры были оснащены средствами регулировки. Это позволит настраивать конструкцию с учетом производственного допуска между газоразрядной лампой и деталями для ее монтажа.
Проверку проводят осмотром.
14.7.7.3 Состояние изоляционного материала не должно ухудшаться под действием ультрафиолетового излучения, а также озона, присутствующих вблизи лампы. Характеристики самовозгораемости опор должны соответствовать IEC 60598-1 (пункт 13.3).
Примечание - Примеры подходящих материалов - стекло, глазурованная керамика, поликарбонаты.
Проверку проводят осмотром.
14.7.8 Высоковольтные соединения
14.7.8.1 В дополнение к требованиям, приведенным в IEC 60598-1 (пункт 4.11), соединение газоразрядных ламп должно быть выполнено посредством клемм, проводов или других компонентов, соответствующих требованиям 14.7.8.2.
14.7.8.2 Механическая прочность высоковольтных соединений должна соответствовать нормальным условиям эксплуатации. Соединение между высоковольтными проводами и электродом может быть выполнено следующими способами:
- пайкой;
- посредством соответствующего устройства.
Примечание - Такие соединения могут не применяться, если соединительные провода перевиты, по меньшей мере, тремя полными витками и имеют выступающие части на концах отдельных проводов длиной не более 13 мм, завернутые поверх жгута.
Проверку проводят осмотром.
На
рисунках 1,
2 и
3 показаны примеры сборки газоразрядных ламп и соответствующих опор.
14.8 Внешние провода и провода внутреннего монтажа
Применяют положения IEC 60598-1 (раздел 5). Кроме того, для высоковольтных цепей применяют следующие требования.
14.8.1 Высоковольтные кабели должны выбираться из перечня, приведенного в
приложении A.
Примечание - Использование кабелей с изоляцией из ПВХ вне помещений допускается при условии их соответствия действующему национальному стандарту или эквивалентному документу.
Проверку проводят осмотром.
14.8.2 Все кабели должны соответствовать условиям окружающей среды, предполагаемым для места, где будет смонтирован светильник.
Проверку проводят осмотром.
14.8.3 Кабели можно использовать без дополнительных механических средств защиты, требуемых согласно таблице 1, однако в этом случае необходимо следить за тем, чтобы кабели не получали механических повреждений.
Таблица 1
Тип кабеля | Используемые кабели |
Внутри защитного корпуса | В других случаях |
A | X | X |
B | X | |
C1 и C2 | X | X |
D1 и D2 | X | X |
E | X | X |
F | X | X |
G | X | |
H | X | X |
K | X | X |
Примеры защитных корпусов - короба, стальные трубы, гибкие армированные кабелепроводы. |
Проверку проводят осмотром.
14.8.4 Кабели типа "K" должны применяться только для непрерывной работы с напряжениями не выше 2,5 кВ относительно земли.
Примечание - Кабели типов A - H должны применяться для напряжений относительно земли до 5 кВ.
Проверку проводят осмотром.
14.8.5 Высоковольтные кабели должны быть как можно короче.
Проверку проводят осмотром.
14.8.6 Тип кабеля, используемого между выходными клеммами инвертора или преобразователя и газоразрядной лампой, должен соответствовать указаниям изготовителя в отношении типа. Кроме того, этот кабель должен быть пригодным для эксплуатации при следующих условиях:
- при высокой частоте;
- при выходном напряжением инвертора или преобразователя.
Проверку проводят осмотром.
14.8.7 Если пускорегулирующие аппараты имеют только одну высоковольтную клемму, то кабель между газоразрядной лампой и клеммой заземления (возвратной клеммой) пускорегулирующего аппарата должен соответствовать требованиям, приведенным в
таблице 1.
Проверку проводят осмотром.
Применяются положения IEC 60598-1 (раздел 7), а также следующие.
14.9.1 Допускается использование высоковольтных экранированных кабелей при условии, что площадь поперечного сечения экрана составляет не менее 1,5 мм2. Соединения с экраном должны быть выполнены путем раскручивания жгута и его последующего скручивания; таким образом, необходимо изготовить специальный кабель соответствующей длины для соединения с клеммой заземления. Не допускается соединение посредством кольцевых пружин, охватывающих жгут.
Проверку проводят осмотром.
14.9.2 Не допускается подключение клемм и контактов заземления к нейтральной клемме главного источника питания лампы на газосветных трубках.
Проверку проводят осмотром.
14.10 Защита от поражения электрическим током
Применяют положения IEC 60598-1 (раздел 8).
14.11 Защита от проникновения пыли, твердых частиц и влаги
Применяют положения IEC 60598-1 (раздел 9).
14.12 Сопротивление и электрическая прочность изоляции
Положения IEC 60598-1 (раздел 9) не применяют.
Вместо них применяют положения IEC 61050 (раздел 15) и IEC 61347-2-10 (раздел 12), в зависимости от того, какие из них применимы.
14.13 Пути утечки и воздушные зазоры
Применяют положения IEC 60598-1 (раздел 11). Кроме того, для высоковольтных цепей применяют следующие требования.
14.13.1 Пути утечки и воздушные зазоры между следующими компонентами:
a) токоведущие части разной полярности;
b) токоведущие части и заземление, или токоведущие части, к которым возможно прикосновение стандартным испытательным пальцем по IEC 60529, должны соответствовать требованиям, приведенным в
таблицах 2,
3,
4,
5.
Примечание 1 - Напряжения, указанные в
таблицах 2,
3,
4,
5, представляют собой номинальные выходные напряжения холостого хода между клеммами, или номинальные выходные напряжения холостого хода между клеммой и землей (в зависимости от конкретного случая) для пускорегулирующего аппарата, подающего питание на высоковольтную цепь.
Примечание 2 - В большинстве случаев изготовителю требуется учитывать пути утечки и воздушные зазоры между токоведущими частями и землей, поэтому, значения напряжения, приведенные в
таблицах 2 -
5, рассматриваются как выходные напряжения холостого хода относительно земли. Полное выходное напряжение холостого хода требуется применять лишь в редких случаях, когда рассматриваются пути утечки и воздушные зазоры между токоведущими клеммами. Например, для трансформатора с номинальными параметрами 5 кВ - E - 5 кВ из
таблиц 2 -
5 (в зависимости от конкретного случая) выбираются значения путей утечки и воздушных зазоров для напряжения 5 кВ (а не 10 кВ).
Примечание 3 - Пример применения путей утечки и воздушных зазоров приведен на
рисунке 4.
Расстояния от электрода до, например, заземленной металлической части должно измеряться вдоль кратчайшего пути утечки и зазора (см.
рисунок 5).
Путь утечки и воздушный зазор, в миллиметрах, между стеклянной стенкой лампы или любым металлическим зажимом, прикрепленным к лампе, и заземленной металлоконструкцией должны быть не менее следующих величин:
путь утечки: | D = U; |
воздушный зазор: | C = 0,75 x U, |
где U - номинальное выходное напряжение холостого хода относительно земли для пускорегулирующего аппарата, подающего питание на аппаратуру.
Таблица 2
Пути утечки и зазоры для цепей стандартных светильников,
работающих при номинальной сетевой частоте
U, кВ | Минимальный путь утечки, мм | Минимальный воздушный зазор, мм |
> 1,00 - 1,75 | 11 | 8 |
> 1,75 - 2,25 | 13 | 9 |
> 2,25 - 3,00 | 16 | 11 |
> 3,00 - 4,00 | 19 | 13 |
> 4,00 - 5,00 | 23 | 15 |
> 5,00 - 6,00 | 27 | 17 |
> 6,00 - 8,00 | 32 | 20 |
> 8,00 - 10,0 | 40 | 25 |
Таблица 3
Пути утечки и воздушные зазоры для цепей стандартных
светильников, работающих при частоте свыше 1 кГц
U, кВ | Минимальный путь утечки, мм | Минимальный воздушный зазор, мм |
> 1,00 - 1,75 | 13 | 10 |
> 1,75 - 2,25 | 16 | 11 |
> 2,25 - 3,00 | 19 | 13 |
> 3,00 - 4,00 | 23 | 16 |
> 4,00 - 5,00 | 28 | 18 |
> 5,00 - 6,00 | 32 | 20 |
> 6,00 - 8,00 | 38 | 24 |
> 8,00 - 10,0 | 48 | 30 |
Таблица 4
Пути утечки и воздушные зазоры для цепей нестандартных
светильников, работающих при номинальной сетевой частоте
U, кВ | Минимальный путь утечки, мм | Минимальный воздушный зазор, мм |
> 1,00 - 1,75 | 17 | 11 |
> 1,75 - 2,25 | 21 | 13 |
> 2,25 - 3,00 | 25 | 15 |
> 3,00 - 4,00 | 31 | 18 |
> 4,00 - 5,00 | 37 | 21 |
> 5,00 - 6,00 | 44 | 24 |
> 6,00 - 8,00 | 53 | 28 |
> 8,00 - 10,0 | 65 | 34 |
Таблица 5
Пути утечки и воздушные зазоры для цепей нестандартных
светильников, работающих при частоте свыше 1 кГц
U, кВ | Минимальный путь утечки, мм | Минимальный воздушный зазор, мм |
> 1,00 - 1,75 | 20 | 13 |
> 1,75 - 2,25 | 25 | 16 |
> 2,25 - 3,00 | 30 | 18 |
> 3,00 - 4,00 | 37 | 22 |
> 4,00 - 5,00 | 44 | 25 |
> 5,00 - 6,00 | 53 | 29 |
> 6,00 - 8,00 | 64 | 34 |
> 8,00 - 10,0 | 78 | 41 |
Проверку проводят измерением.
14.13.2 Если возможный путь включает как путь утечки, так и воздушные зазоры (см.
рисунок 5), то полная длина пути должна быть не меньше минимального зазора, заданного в соответствующей таблице.
Примечание - В качестве примера рассмотрим светильник для газоразрядных ламп для эксплуатации вне помещений (см.
таблицу 4), с питанием от трансформатора, имеющего номинальное выходное напряжение холостого хода 10 кВ (относительно земли - 5 кВ). Полные расстояния между электродом с землей (см.
рисунок 5) должны превышать 21 мм; эта величина получена сложением значений всех путей утечки и воздушных зазоров относительно земли.
Проверку проводят измерением.
14.14 Испытания на старение и тепловые испытания
Применяются положения IEC 60598-1 (раздел 12).
14.15 Теплостойкость, огнестойкость и устойчивость к токам поверхностного разряда
Применяются положения IEC 60598-1 (раздел 13).
14.16 Винтовые контактные зажимы
Применяются положения раздела 14 стандарта IEC 60598-1.
14.17 Безвинтовые контактные зажимы и электрические соединения
Применяются положения IEC 60598-1 (раздел 15).
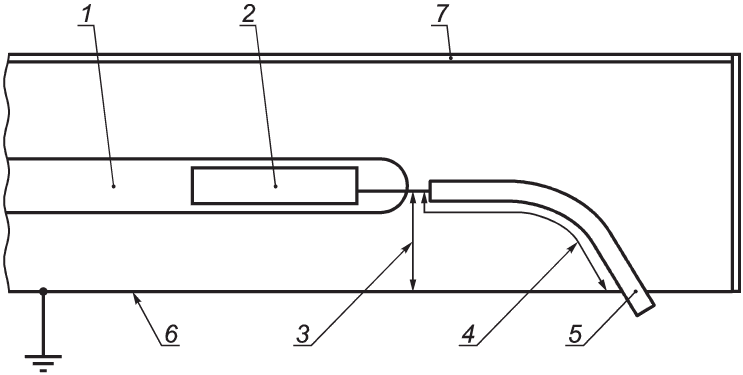
| | ИС МЕГАНОРМ: примечание. В официальном тексте документа, видимо, допущена опечатка: имеется в виду п. 14.7.7, а не п. 4.7.7. | |
1 - путь утечки и воздушный зазор в соответствии
с требованиями
14.13;
2 - опора для газоразрядной лампы
в соответствии с требованиями
4.7.7;
3 - изоляционная втулка
в соответствии с требованиями
14.7.1;
4 - соединение
в соответствии с требованиями
14.7.8;
5 - кабель
Рисунок 1 - Пример размещения компонентов
в закрытом светильнике для лампы с холодным катодом
1 - газоразрядная лампа; 2 - опора для газоразрядной лампы
в соответствии с требованиями
14.7.7;
3 - наружная
поверхность ограждающей панели; 4 - зажим-фиксатор проводки;
5 - корпус электрода; 6 - электрод с металлической крышкой
клемм; 7 - контактная пружина из фосфористой бронзы;
8 - изоляционная крышка; 9 - высоковольтный кабель
Рисунок 2 - Пример корпуса электрода,
проходящего через ограждающую панель
1 - газоразрядная лампа; 2 - опора для газоразрядной лампы
в соответствии с требованиями
14.7.7;
3 - металлическая
панель; 4 - уплотнение; 5 - пути утечки и воздушные зазоры
в соответствии с требованиями
14.13;
6 - кабель;
7 - соединение в соответствии с требованиями
14.7.8;
8 - изоляционная втулка в соответствии с требованиями
14.7.1
Рисунок 3 - Пример размещения лампы, смонтированной
на поверхности, с электродом, проходящим
через металлическую панель
1 - лампа; 2 - электрод; 3 - воздушный зазор относительно
земли; 4 - типичный путь утечки по поверхности изоляции;
5 - кабель; 6 - заземленная металлоконструкция;
7 - изоляционный материал
Рисунок 4 - Пример размещения компонентов с указанием
путей утечки и воздушных зазоров
1 - лампа; 2 - изоляционная втулка; 3 - электрод;
4 - воздушный зазор между изоляционной втулкой и лампой
(увеличен для наглядности); 5 - кабель; 6 - полное
расстояние соответствует величинам воздушного зазора,
указанным в
таблицах 2 -
5;
7 - возможный путь трекинга,
проходящий вокруг втулки электрода. Этот путь включает
как пути утечки, так и воздушные зазоры;
8 - заземленная металлоконструкция
Рисунок 5 - Влияние изоляционной втулки на пути утечки
и воздушные зазоры
(справочное)
ПЕРЕЧЕНЬ КАБЕЛЕЙ ВЫСОКОГО НАПРЯЖЕНИЯ, УКАЗАННЫХ
В ДЕЙСТВУЮЩИХ СТАНДАРТАХ ИЛИ ЭКВИВАЛЕНТНЫХ ДОКУМЕНТАХ
Таблица A.1
Тип | Конструкция | Описание | U0/U, кВ | Наружный диаметр, мм | Медь, мм2 |
A | | Кабель с резиновой изоляцией в свинцовой оболочке | 5/10 | 8,2 - 9,8 | 1,5 |
B | | Кабель с изоляцией из силиконовой резины, неэкранированный, без оболочки | 5/10 | 6,0 - 7,2 | 1,0 |
C1 | | Кабель с изоляцией из силиконовой резины, неэкранированный, в оболочке из ПВХ | 5/10 | 7,8 - 9,0 | 1,0 |
C2 | Кабель с изоляцией из силиконовой резины, неэкранированный, в оболочке, не содержащей галогенов |
D1 | | Кабель с изоляцией из силиконовой резины, экранированный, в оболочке из ПВХ | 5/10 | 8,8 - 10,2 | 1,0 |
D2 | Кабель с изоляцией из силиконовой резины, экранированный, в оболочке, не содержащей галогенов |
E | | Кабель с изоляцией из ПВХ, экранированный, с дренажным проводом, в оболочке из ПВХ | 5/10 | 9,5 - 11,5 | 1,5 |
F | | Кабель с изоляцией из ПВХ, с гибким защитным проводником, в оболочке из ПВХ. Дренажный провод необязателен | 5/10 | 8,5 - 10,5 | 1,5 |
G | | Кабель с изоляцией из ПВХ, неэкранированный, без оболочки | 5/10 | 6,2 - 7,5 | 1,5 |
H | | Кабель с комбинированной изоляцией из полиэтилена и ПВХ | 5/10 | 7,0 - 7,8 | 1,0 |
K | | Кабель с комбинированной изоляцией пониженной толщины из полиэтилена и ПВХ | 2,5/5 | 4,0 - 4,8 | 1,0 |
(справочное)
СВЕДЕНИЯ О СООТВЕТСТВИИ ССЫЛОЧНЫХ МЕЖДУНАРОДНЫХ СТАНДАРТОВ
МЕЖГОСУДАРСТВЕННЫМ СТАНДАРТАМ
Таблица ДА.1
Обозначение ссылочного международного стандарта | Степень соответствия | Обозначение и наименование соответствующего межгосударственного стандарта |
IEC 60529:2013 | MOD | |
IEC 61050:1991 | IDT | ГОСТ IEC 61050-2011 "Трансформаторы для трубчатых разрядных ламп с напряжением холостого хода, превышающим 1000 В (прежнее название - "Неоновые трансформаторы"), Общие требования и требования безопасности" |
IEC 61347-2-10:2009 | IDT | ГОСТ IEC 61347-2-10-2014 "Аппараты пускорегулирующие для ламп. Часть 2-10. Дополнительные требования к электронным инверторам и преобразователям для высокочастотных трубчатых газоразрядных ламп (неоновых ламп) холодного запуска" |
IEC 60417-DB-12M:2002 | - | |
<*> Соответствующий межгосударственный стандарт отсутствует. До его принятия рекомендуется использовать перевод на русский язык данного международного стандарта. Примечание - В настоящей таблице использованы следующие условные обозначения степени соответствия стандартов: - IDT - идентичные стандарты; - MOD - модифицированный стандарт. |
EN 50107-1 | Signs and luminous-discharge-tube installations operating from a no-load rated output voltage exceeding 1 kV but not exceeding 10 kV - Part 1: General requirements (Знаки и установки с газосветными трубками, работающие при номинальном выходном напряжении холостого хода в диапазоне от 1 кВ до 10 кВ. Часть 1. Общие требования) |
EN 50107-2 | Signs and luminous-discharge-tube installations operating from a no-load rated output voltage exceeding 1 kV but not exceeding 10 kV - Part 2: Requirements for earth-leakage and open-circuit protective devices (Знаки и установки с газосветными трубками, работающие при номинальном выходном напряжении холостого хода в диапазоне от 1 кВ до 10 кВ. Часть 2. Требования к защитным размыкающим устройствам, срабатывающим по току утечки на землю) |
EN 50143 | Cables for signs and luminous-discharge-tube installations operating from a no-load rated output voltage exceeding 1 kV but not exceeding 10 kV (Кабели для знаков и установок с люминесцентными газоразрядными трубками, работающих от выходного напряжения холостого хода, превышающего 1000 В, но не более 10000 В) |
HD 384 | Electrical installations of buildings (Электроустановки зданий) |
УДК 628.94:621.387.332(083.74)(476) | | IDT |
Ключевые слова: светильники, светильники для трубчатых газоразрядных ламп, дополнительные требования, испытания |