Главная // Актуальные документы // Актуальные документы (обновление 01.03.2026 по 01.04.2026) // ГОСТ (Государственный стандарт)
СПРАВКА
Источник публикации
М.: Стандартинформ, 2019
Примечание к документу
Документ введен в действие с 01.01.2015.
Название документа
"ГОСТ ISO 2137-2013. Межгосударственный стандарт. Нефтепродукты. Смазки пластичные и петролатум. Определение пенетрации конусом"
(введен в действие Приказом Росстандарта от 28.08.2013 N 673-ст)

"ГОСТ ISO 2137-2013. Межгосударственный стандарт. Нефтепродукты. Смазки пластичные и петролатум. Определение пенетрации конусом"
(введен в действие Приказом Росстандарта от 28.08.2013 N 673-ст)


Содержание


Введен в действие
Приказом Федерального
агентства по техническому
регулированию и метрологии
от 28 августа 2013 г. N 673-ст
МЕЖГОСУДАРСТВЕННЫЙ СТАНДАРТ
НЕФТЕПРОДУКТЫ. СМАЗКИ ПЛАСТИЧНЫЕ И ПЕТРОЛАТУМ
ОПРЕДЕЛЕНИЕ ПЕНЕТРАЦИИ КОНУСОМ
Petroleum products. Lubricating greases and petrolatum.
Determination of cone penetration
(ISO 2137:2007, Petroleum products and lubricants -
Determination of cone penetration of lubricating greases
and petrolatum, IDT)
ГОСТ ISO 2137-2013
МКС 75.140
75.100
Дата введения
1 января 2015 года
Предисловие
Цели, основные принципы и общие правила проведения работ по межгосударственной стандартизации установлены ГОСТ 1.0 "Межгосударственная система стандартизации. Основные положения" и ГОСТ 1.2 "Межгосударственная система стандартизации. Стандарты межгосударственные, правила и рекомендации по межгосударственной стандартизации. Правила разработки, принятия, обновления и отмены"
Сведения о стандарте
1 ПОДГОТОВЛЕН Межгосударственным техническим комитетом по стандартизации МТК 31 "Нефтяные топлива и смазочные материалы", Открытым акционерным обществом "Всероссийский научно-исследовательский институт по переработке нефти" (ОАО "ВНИИ НП") на основе собственного перевода на русский язык англоязычной версии стандарта, указанного в пункте 5
2 ВНЕСЕН Федеральным агентством по техническому регулированию и метрологии
3 ПРИНЯТ Межгосударственным советом по стандартизации, метрологии и сертификации (протокол от 28 августа 2013 г. N 58-П)
За принятие проголосовали:
Краткое наименование страны по МК (ИСО 3166) 004-97
Код страны по МК (ИСО 3166) 004-97
Сокращенное наименование национального органа по стандартизации
Армения
AM
Минэкономики Республики Армения
Беларусь
BY
Госстандарт Республики Беларусь
Киргизия
KG
Кыргызстандарт
Молдова
MD
Молдова-Стандарт
Россия
RU
Росстандарт
Таджикистан
TJ
Таджикстандарт
Узбекистан
UZ
Узстандарт
4 Приказом Федерального агентства по техническому регулированию и метрологии от 28 августа 2013 г. N 673-ст межгосударственный стандарт ГОСТ ISO 2137-2013 введен в действие в качестве национального стандарта Российской Федерации с 1 января 2015 г.
5 Настоящий стандарт идентичен международному стандарту ISO 2137:2007 "Нефтепродукты и пластичные смазки. Определение пенетрации пластичных смазок и петролатума конусом" ("Petroleum products and lubricants - determination of cone penetration of lubricating greases and petrolatum", IDT).
Международный стандарт разработан Техническим комитетом ISO/TC 28 "Нефтепродукты и смазочные материалы" Международной организации по стандартизации (ISO).
Наименование настоящего стандарта изменено относительно наименования указанного международного стандарта для приведения в соответствие с ГОСТ 1.5 (подраздел 3.6).
При применении настоящего стандарта рекомендуется использовать вместо ссылочных стандартов соответствующие им межгосударственные стандарты, сведения о которых приведены в дополнительном приложении ДА
6 ВВЕДЕН ВПЕРВЫЕ
7 ПЕРЕИЗДАНИЕ. Август 2019 г.
Информация о введении в действие (прекращении действия) настоящего стандарта и изменений к нему на территории указанных выше государств публикуется в указателях национальных стандартов, издаваемых в этих государствах, а также в сети Интернет на сайтах соответствующих национальных органов по стандартизации.
В случае пересмотра, изменения или отмены настоящего стандарта соответствующая информация будет опубликована на официальном интернет-сайте Межгосударственного совета по стандартизации, метрологии и сертификации в каталоге "Межгосударственные стандарты"
Предупреждение - Применение настоящего стандарта связано с использованием в процессе испытания опасных материалов, операций и оборудования. В настоящем стандарте не предусмотрено рассмотрение всех вопросов обеспечения безопасности. Пользователь настоящего стандарта несет ответственность за установление соответствующих правил по технике безопасности и охране труда, а также определяет целесообразность применения законодательных ограничений перед его использованием.
1 Область применения
Настоящий стандарт устанавливает методы определения консистенции пластичных смазок и петролатума измерением пенетрации стандартизованным конусом.
Смазки в зависимости от их консистенции, измеренной пенетрацией перемешанной смазки, подразделяют в соответствии с классификацией NLGI (Национального института смазочных материалов США).
Классификация NLGI предусматривает девять классов консистенции смазки, соответствующих установленному диапазону пенетрации смазки после 60 двойных ходов перемешивания. Классификация NLGI приведена в стандарте [1].
В разделе 7 приведены четыре метода определения консистенции неперемешанной, перемешанной, продолжительно перемешанной и брикетированной пластичных смазок измерением пенетрации конусом с полной шкалой. Можно измерить пенетрацию до 500 единиц.
В разделе 8 приведено определение консистенции пластичных смазок с малой массой образцов пенетрометром с конусом на одну четверть или одну половину шкалы в отличие от конуса, используемого в разделе 7. Этот метод можно использовать для смазок, имеющих пенетрацию 175 - 385 единиц измерения конусом с полной шкалой, и применяют только в случае, если масса образца не позволяет использовать конус, указанный в разделе 7. Несмотря на то, что в 10.2 рассмотрена возможность преобразования полученных значений в пенетрацию конусом с полной шкалой, метод не заменяет пенетрацию конусом с полной шкалой, указанным в разделе 7. Ограничение применения конуса с одной четвертью шкалы обусловлено неудовлетворительной прецизионностью (см. 8.1).
Примечание 1 - Пенетрация неперемешанных смазок обычно не дает такого ясного представления о консистенции пластичных смазок, как перемешанных. Для определения консистенции смазок предпочтительно использовать перемешанные смазки.
Примечание 2 - Определение пенетрации смазок в брикетированном виде можно проводить для достаточно твердых продуктов, которые могут сохранять форму в условиях испытания. Пенетрация таких смазок обычно ниже 85 единиц.
Метод определения консистенции петролатума с пенетрацией до 300 единиц конусом с полной шкалой приведен в разделе 9. Этот метод можно также применять для оценки консистенции сырого парафина.
2 Нормативные ссылки
В настоящем стандарте использованы нормативные ссылки на следующие стандарты. Для датированных ссылок применяют только указанное издание ссылочного стандарта, для недатированных - последнее издание (включая все изменения).
ASTM D 4057, Standard practice for manual sampling of petroleum and petroleum products (Стандартная практика по ручному отбору проб нефти и нефтепродуктов)
3 Термины и определения
В настоящем стандарте применены следующие термины с соответствующими определениями:
3.1 пенетрация конусом (cone penetration): Глубина погружения стандартизованного конуса в испытуемый образец в указанных условиях (нагрузка, время, температура).
Примечание 1 - Пенетрация выражается в десятых долях миллиметра (0,1 мм).
Примечание 2 - По стандарту [2].
3.2 перемешивание (working): Обработка пластичной смазки в смесителе.
3.3 пенетрация неперемешанной смазки (unworked penetration): Пенетрация конусом испытуемого образца, который подвергся только минимальному изменению при переносе из контейнера с образцом в чашу смесителя.
3.4 пенетрация перемешанной смазки (worked penetration): Пенетрация конусом испытуемого образца после перемешивания с использованием определенного числа ходов в смесителе.
3.5 пенетрация продолжительно перемешанной смазки (prolonged worked penetration): Пенетрация конусом испытуемого образца, перемешанного с использованием большего число ходов в смесителе, чем определено по 3.4.
3.6 пенетрация брикетированной смазки (block penetration): Пенетрация конусом, определенная на испытуемом образце, обладающем достаточной твердостью, чтобы сохранять свою форму без контейнера.
4 Сущность методов
Пенетрацию пластичной смазки определяют при температуре 25 °C конусом пенетрометра, который свободно падает в течение 5 с.
Пенетрацию неперемешанной смазки определяют на образцах, перенесенных в чашу смесителя с минимальным изменением исходного состояния.
Пенетрацию перемешанной смазки определяют сразу же после перемешивания в стандартном смесителе в результате 60 двойных ходов плунжера.
Пенетрацию продолжительно перемешанной смазки определяют на образцах, перемешанных с использованием более чем 60 двойных ходов плунжера.
Пенетрацию брикетированных смазок определяют на поверхности свежеприготовленного куба, вырезанного из куска смазки стандартным резаком.
Пенетрацию петролатума определяют на предварительно расплавленном и охлажденном образце в установленных условиях и измеряют как для пластичной смазки.
5 Аппаратура
5.1 Пенетрометр, аналогичный приведенному на рисунке 1, позволяющий измерять пенетрацию пластичной смазки конусом в десятых долях миллиметра.
1 - центрирующее устройство
Примечание - На рисунке приведен пенетрометр в сборе; конус или пластину можно перемещать по вертикали.
Рисунок 1 - Пенетрометр
Конус или стол пенетрометра должны регулироваться так, чтобы положение стрелки индикатора на отметке "нуль" сохранялось при точном размещении острия конуса на поверхности испытуемого образца. При свободном падении конус должен без заметного трения опускаться не менее чем на 62 мм.
Острие конуса не должно ударяться о дно сосуда с образцом. Аппарат снабжают зажимными винтами и ватерпасом для обеспечения строго вертикального положения оси конуса.
Примечание - Измерение глубины проникания выполняют, используя механические (механический индикатор) или электронные устройства (цифровой индикатор).
5.2 Конусы
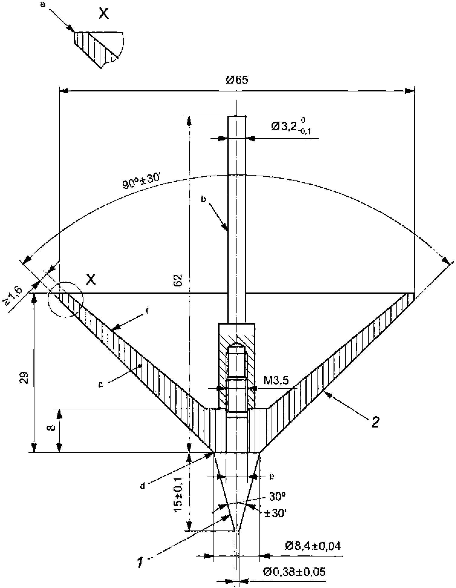
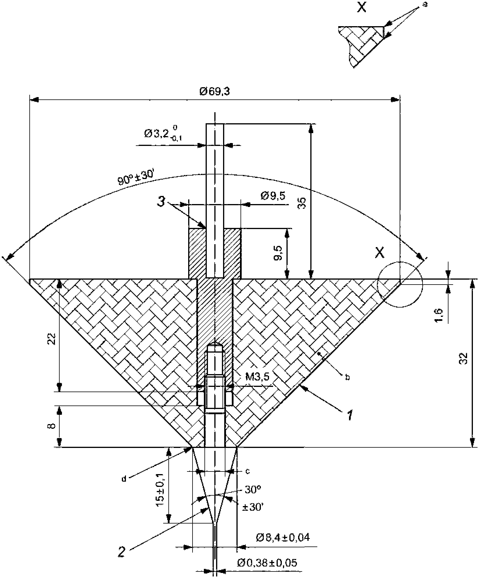
5.2.1 Конус с полной шкалой состоит из конической основной части, изготовленной из магния или другого пригодного материала, со съемным наконечником из закаленной стали.
Размеры и допуски должны соответствовать приведенным на рисунке 2. Общая масса конуса должна быть (102,50 +/- 0,05) г, масса плунжера - (47,50 +/- 0,05) г. Плунжер представляет собой шток со стопором на верхнем конце и подходящим средством для закрепления конуса на нижнем конце.
Общая масса конуса - (102,50 +/- 0,05) г.
Общая масса плунжера - (47,50 +/- 0,05) г.
Допуски на размеры - +/- 1 мм, если нет других указаний.
1 - гладкая и полированная поверхность; 2 - наконечник
из закаленной стали; 3 - ось из нержавеющей стали, плотная
подгонка до отказа; a - края не закругляют, не сглаживают;
b - магний или другой подходящий материал; c - диаметр
не более 4 мм, плотная подгонка; d - без заплечика
Рисунок 2 - Конус пенетрометра с полной шкалой
Конструкция конуса может быть изменена для достижения точно установленной массы при условии, что общий контур и распределение массы не изменяются. Наружная поверхность должна быть тщательно отполирована.
Примечание - При пенетрации до 400 единиц можно использовать произвольный конус, приведенный на рисунке 3.
Допуски на размеры - +/- 1 мм, если нет других указаний.
Общая масса конуса - (102,50 +/- 0,05) г.
Общая масса плунжера - (47,50 +/- 0,05) г.
1 - наконечник из закаленной стали; 2 - гладкая
и полированная поверхность; a - все острые края
сглаживают; b - нержавеющая сталь; c - латунь
или коррозионно-стойкая сталь; d - без заплечика;
e - диаметр не более 4 мм, плотная подгонка;
f - обработка до требуемой массы
Рисунок 3 - Произвольный конус пенетрометра
5.2.2 Конус с половиной шкалы и ось изготовляют из нержавеющей стали или латуни с наконечником из закаленной стали твердостью по Роквеллу по шкале C от 45 до 50, конструкция которого должна соответствовать размерам и допускам, представленным на рисунке 4. Ось изготовляют из нержавеющей стали. Общая масса конуса и подвижных приспособлений должна быть (37,50 +/- 0,05) г. Масса конуса - (22,500 +/- 0,025) г. Масса плунжера - (15,000 +/- 0,025) г.
Допуски на размеры - +/- 0,5 мм, если нет других указаний.
Масса конуса - (22,500 +/- 0,025) г.
Масса подвижных приспособлений - (15,000 +/- 0,025) г.
Общая масса конуса и плунжера - (37,50 +/- 0,05) г.
1 - острый угол; 2 - наконечник из закаленной стали;
a - поверхность, обрабатываемая для получения нужной массы;
b - полированная наружная поверхность
Рисунок 4 - Конус с половиной шкалы
5.2.3 Конус с одной четвертью шкалы и ось
Конус изготовляют из пластика или другого материала низкой плотностью с наконечником из закаленной стали твердостью по Роквеллу по шкале C от 45 до 50. Конструкция конуса должна соответствовать размерам и допускам, представленным на рисунке 5. Ось может быть изготовлена из сплава магния. Общая масса конуса и подвижных приспособлений должна быть (9,380 +/- 0,025) г. Общую массу конуса и его подвижных приспособлений можно регулировать, помещая небольшой грузик в углубление на оси.
Допуски на размеры - +/- 0,25 мм, если нет других указаний.
Общая масса конуса и плунжера - (9,380 +/- 0,025) г.
1 - наконечник из закаленной стали, угол 30° +/- 30'
Рисунок 5 - Конус с одной четвертью шкалы
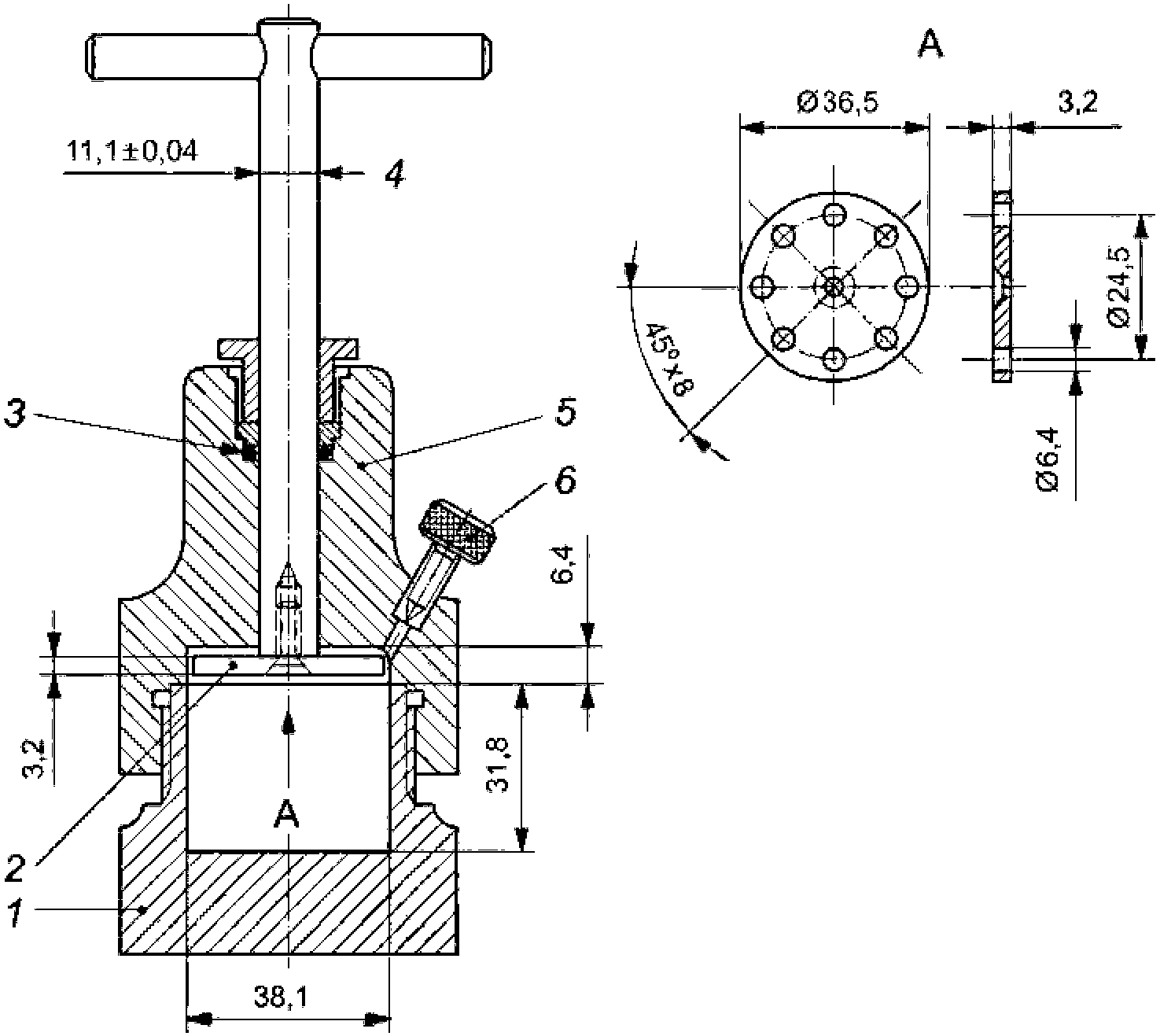
5.3 Смесители
5.3.1 Смеситель для определения пенетрации конусом с полной шкалой приведен на рисунке 6. Неуказанные размеры не нормируются и могут изменяться в соответствии с техническими требованиями. Для закрепления крышки и предохранения аппарата от повреждения можно использовать другие способы. Смеситель может быть ручным или автоматическим. Конструкция смесителя должна обеспечивать поддержание скорости (60 +/- 10) ходов в минуту при длине хода не менее 63 мм. В вентиляционный клапан должна быть предусмотрена установка термометра, стандартизованного при 25 °C.
Допуски на размеры - +/- 0,25 мм, если нет других указаний.
1 - уплотнение; 2 - ручка; 3 - термометр; 4 - уплотнительная
шайба; 5 - датчик температуры; 6 - вентиляционный клапан;
7 - адаптер; 8 - крышка; 9 - кольцевая резиновая прокладка;
10 - перепускное кольцо для сбора избытка смазки;
a - концентричная фаска внутренней поверхности чаши
для закрепления в центрирующем устройстве (при наличии);
X - перфорированная круглая пластина: по окружности 1
диаметром 33,35 мм - 12 отверстий, по окружности 2
диаметром 49,20 мм - 17 отверстий, по окружности 3
диаметром 65,10 мм - 22 отверстия (диаметр всех
отверстий - в диапазоне от 6,40 до 6,53 мм)
Рисунок 6 - Смеситель для пенетрации конусом с полной шкалой
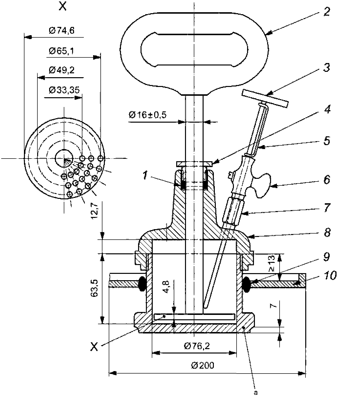
5.3.2 Смеситель для определения пенетрации конусом с половиной шкалы приведен на рисунке 7.
Допуски на размеры - +/- 0,25 мм, если нет других указаний.
Материал - нержавеющая сталь. Вместимость - 50 см3.
1 - основание; 2 - перфорированная пластина A; 3 - кольцо;
4 - ось; 5 - крышка; 6 - клапан
Рисунок 7 - Смеситель для пенетрации конусом
с половиной шкалы
Можно применять другие способы фиксации крышки и смесителя. Смеситель может быть как ручной, так и автоматический. Конструкция смесителя должна обеспечивать поддержание скорости (60 +/- 10) ходов в минуту с длиной хода не менее 35 мм.
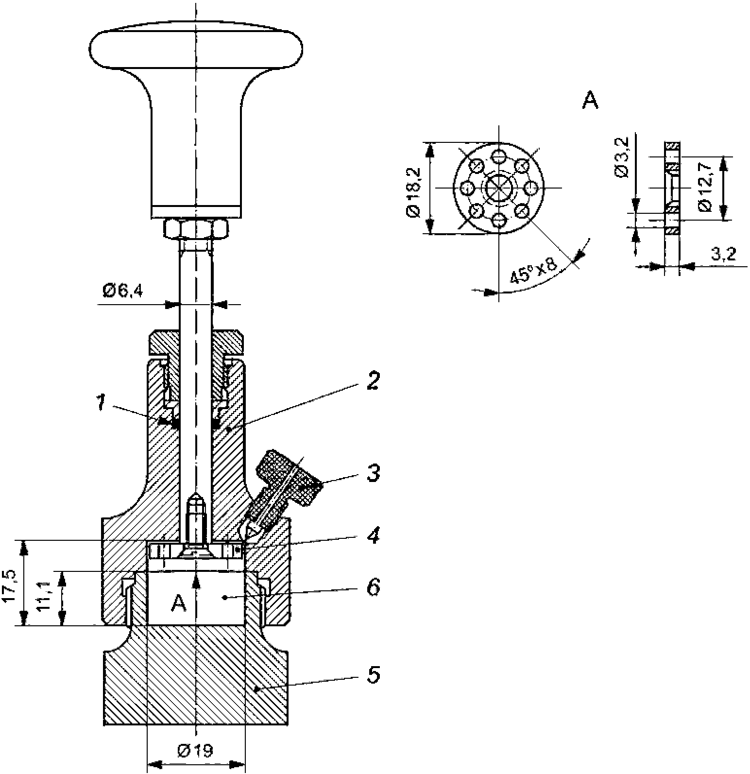
5.3.3 Смеситель для определения пенетрации конусом с одной четвертью шкалы приведен на рисунке 8.
Допуски на размеры - +/- 25 мм, если нет других указаний.
Материал - нержавеющая сталь.
1 - кольцевая прокладка; 2 - крышка; 3 - клапан;
4 - перфорированная круглая пластинка A; 5 - основание;
6 - камера диаметром 19,0 мм, высотой 17,5 мм
(вместимостью с пластинкой - 4 см3)
Рисунок 8 - Смеситель для пенетрации конусом
с одной четвертью шкалы
Можно применять другие методы фиксации крышки и смесителя. Смеситель может быть как ручной, так и автоматический. Конструкция должна обеспечивать поддержание скорости (60 +/- 10) ходов в минуту с длиной хода не менее 14 мм.
5.3.4 Перепускное кольцо (произвольное) (рисунок 6) используют для возвращения вытесненной смазки в чашу смесителя. При измерении пенетрации перепускное кольцо помещают не менее чем на 13 мм ниже кромки чаши. Полезен ободок на перепускном кольце высотой 13 мм.
5.4 Резак для смазки с острым скошенным, жестко закрепленным лезвием, приведенный на рисунке 9. Лезвие должно быть прямым и заостренным, как показано на рисунке 9.
Допуски на размеры - +/-25 мм, если нет других указаний.
1 - основание; 2 - трубка; 3 - лезвие размером 65 x 185 мм
из закаленной стали; обе поверхности шлифуют до толщины
1,2 мм, нижнюю кромку доводят; 4 - клееная фанера
или твердая древесина толщиной 6,4 мм; структура поверхности
фанеры должна быть перпендикулярна к лезвию резака
Рисунок 9 - Резак для смазки
5.5 Водяная баня, оснащенная устройством для удерживания собранного смесителя, обеспечивающая поддержание температуры (25,0 +/- 0,5) °C. При определении пенетрации брикетированной смазки используют воздушную баню температурой (25,0 +/- 0,5) °C, можно использовать герметично закрытый контейнер, помещенный в водяную баню.
Примечание - Вместо водяной бани можно использовать воздушную баню или камеру с постоянной температурой.
5.6 Термометр, калиброванный при температуре 25 °C, для водяной или воздушной бани.
5.7 Термостат для расплавления образцов петролатума, обеспечивающий поддержание температуры (85 +/- 2) °C.
5.8 Шпатель из коррозионно-стойкого материала с жестким лезвием прямоугольной формы шириной приблизительно 32 мм и длиной не менее 150 мм для определения пенетрации конусом с половиной и одной четвертью шкалы; ширина лезвия - приблизительно 13 мм.
5.9 Таймер с ценой деления 0,1 с.
5.10 Цилиндрические металлические контейнеры диаметром (100 +/- 5) мм с плоским дном высотой не менее 65 мм, толщиной стенок не менее 1,6 мм, с хорошо подогнанной водонепроницаемой крышкой (9.1.3) для образцов петролатума.
Для перемешивания петролатума не следует использовать контейнеры типа баночек для мази с гибкими стенками из-за сгибания стенок при перемешивании.
6 Отбор проб
Если в спецификации на продукцию нет других указаний, пробы отбирают по ASTM D 4057. Образцы смазки проверяют на наличие признаков неоднородности, таких как отделение масла, фазовые изменения или общее загрязнение. При обнаружении неоднородности отбирают новый образец. Объем образца должен обеспечивать заполнение требуемого количества чаш.
7 Методы определения пенетрации пластичной смазки конусом с полной шкалой
7.1 Процедура определения пенетрации неперемешанной смазки
7.1.1 Подготовка образца для испытания
7.1.1.1 Отбирают достаточное количество образца (не менее 0,5 кг), чтобы наполнить чашу смесителя (5.3.1). Если пенетрация более 200 единиц, объем образца должен в три раза превышать объем, необходимый для заполнения чаши.
7.1.1.2 Пустой смеситель в собранном виде или металлическую емкость равноценными внутренними размерами и соответствующий объем образца, находящегося в металлической емкости, помещают в водяную баню (5.5) температурой 25 °C (см. примечание к 5.5 и два последних абзаца данного подпункта) на время, достаточное для доведения температуры образца до температуры (25,0 +/- 0,5) °C. Образец переносят из емкости, желательно в один прием, в чашу смесителя или металлическую емкость такими же внутренними размерами. При переносе стараются подвергать смазку по возможности минимальному механическому воздействию. Удаляют воздух, попавший в емкость, постукивая по ее стенке, и уплотняют смазку с помощью шпателя (5.8) минимальным количеством движений, но так, чтобы емкость была заполнена доверху, а в смазке не осталось пузырьков воздуха. Избыток смазки, выступающей над ободком, снимают острым краем шпателя, держа его под углом 45° в направлении движения по ободку. Не следует выравнивать и сглаживать поверхность смазки перед определением пенетрации неперемешанной смазки. Сразу проводят измерения.
Пенетрация мягких смазок зависит от диаметра емкости. Поэтому испытание неперемешанных смазок с пенетрацией выше 265 единиц следует проводить в контейнере, диаметр которого равен диаметру чаши смесителя. Результаты испытания смазок с пенетрацией ниже 265 единиц существенно не меняются, если диаметр контейнера больше диаметра чаши смесителя.
Если начальная температура образца отличается от 25 °C более чем на 8 °C или если используют альтернативный метод доведения температуры образца до температуры 25 °C, перед испытанием образец выдерживают в течение дополнительного времени, достаточного для обеспечения температуры, равной (25,0 +/- 0,5) °C. Аналогично, если масса образца более 0,5 кг, его выдерживают дополнительное время для обеспечения температуры образца, равной (25,0 +/- 0,5) °C. Испытание можно продолжать, если образец находится при постоянной температуре (25,0 +/- 0,5) °C.
7.1.2 Очистка конуса и плунжера
Перед проведением каждого испытания конус пенетрометра тщательно очищают. Чтобы избежать изгиба оси конуса, при очистке ее следует держать в поднятом положении. Удаляют попавшую смазку или масло с оси, так как это может быть причиной торможения плунжера. Не допускается вращение конуса, поскольку это приводит к изнашиванию спускового механизма.
Примечание - Для определения пенетрации до 400 единиц можно применять произвольный конус, приведенный на рисунке 3.
7.1.3 Измерение пенетрации
7.1.3.1 Чашу помещают на столик пенетрометра, отрегулированный строго горизонтально, и проверяют ее неподвижность. Регулируют механизм установки конуса на нулевую отметку и тщательно настраивают прибор так, чтобы наконечник конуса касался поверхности образца в точке по 7.1.3.2 или 7.1.3.3. Точную установку помогает провести тень от наконечника. Если пенетрация смазки составляет более 400 единиц, центрируют чашу в пределах 0,3 мм от наконечника конуса. Одним из способов центрирования чаши является применение центрирующего устройства (рисунок 1). Быстро отпускают ось конуса на (5,0 +/- 0,1) с и снова зажимают ее в этом положении. Спусковой механизм не должен препятствовать движению оси. Медленно опускают стержень индикатора до упора с осью конуса и снимают показание значения пенетрации по шкале индикатора.
7.1.3.2 Если пенетрация образца составляет более 200 единиц, следует тщательно центрировать конус в контейнере. Порцию образца можно использовать только для одного испытания.
7.1.3.3 Если пенетрация образца составляет менее 200 единиц, проводят в одном контейнере три испытания, определяя пенетрацию по трем радиусам под углом 120° приблизительно посередине между центром и стенкой сосуда так, чтобы конус не ударялся о стенку сосуда и не падал на поверхность, поврежденную в результате предыдущего испытания.
7.1.3.4 Проводят три определения на образце в трех контейнерах (7.1.3.2) или в одном контейнере (7.1.3.3) и записывают полученные значения.
7.2 Процедура определения пенетрации перемешанной смазки
7.2.1 Подготовка испытуемого образца
7.2.1.1 Образец
Используют достаточное количество образца (не менее 0,5 кг) для избыточного заполнения чаши смесителя (5.3.1).
7.2.1.2 Перемешивание
В чашу чистого смесителя (5.3.1) помещают избыточное количество образца смазки так, чтобы в центре чаши образец смазки возвышался над краем приблизительно на 13 мм, уплотняют смазку шпателем, избегая попадания воздуха. Во время заполнения чаши ее периодически постукивают для полного удаления воздуха. Собирают смеситель при поднятом плунжере и открытом вентиляционном клапане, опускают плунжер до дна. Вставляют термометр через вентиляционный клапан так, чтобы его кончик находился в центре смазки. Собранный смеситель помещают в водяную баню температурой 25 °C (примечание к 5.5 и 7.1.1.2, второй и третий абзацы) и выдерживают до тех пор, пока показание термометра для содержимого смесителя на достигнет (25,0 +/- 0,5) °C. Затем удаляют смеситель из бани и вытирают воду с его поверхности. Вынимают термометр и закрывают вентиляционный клапан. Смазку перемешивают с использованием 60 полных двойных ходов плунжера (63,0 - 71,5 мм) в течение 1 мин и возвращают плунжер в верхнее положение. Открывают вентиляционный клапан, снимают верхнюю часть и плунжер и по возможности возвращают смазку, прилипшую к плунжеру, в чашу. Поскольку пенетрация перемешанной пластичной смазки значительно изменяется в состоянии покоя, сразу проводят процедуры по 7.2.2 и 7.2.3.
При необходимости погружения в воду смесителя выше его затвора для предотвращения попадания воды в смеситель следят, чтобы крышка была герметичной.
7.2.2 Подготовка образца к испытанию
7.2.2.1 Перемешанный образец смазки (7.2.1.2) готовят в чаше для испытаний таким образом, чтобы его структура была однородной и воспроизводимой.
7.2.2.2 Для заполнения пустот от плунжера и удаления воздушных карманов резко постукивают чашей по столу или об пол и уплотняют шпателем (5.8). Постукивание должно быть достаточно энергичным для того, чтобы удалить захваченный воздух, при этом соблюдают осторожность, чтобы не выплеснуть испытуемый образец из чаши. При выполнении этих операций следует проводить минимальное количество движений, так как непрерывное перемешивание смазки может привести к увеличению 60 установленных для перемешивания ходов плунжера.
7.2.2.3 Удаляют избыток смазки, выступающий за ободок чаши, выравнивая поверхность перемещением лезвия шпателя, наклоненного в направлении движения под углом приблизительно 45°, по ободку чаши. Снятую смазку сохраняют.
7.2.2.4 При испытании мягких смазок сохраняют смазку, снятую с чаши, чтобы пополнять ею чашу для последующих испытаний. Наружная поверхность чаши должна быть чистой, чтобы смазку, выдавливаемую конусом пенетрометра за пределы чаши, можно было возвратить обратно для подготовки образца к следующему испытанию.
7.2.3 Измерение пенетрации
7.2.3.1 Пенетрацию образца определяют в соответствии с 7.1.2 и 7.1.3.
7.2.3.2 Сразу же последовательно на одной и той же испытуемой массе проводят еще два определения. Возвращают в чашу смазку, ранее снятую шпателем (7.2.2.3). После этого повторяют процедуру, указанную в 7.2.2 и 7.2.3.1. Полученные результаты регистрируют.
7.3 Процедура определения пенетрации продолжительно перемешанной смазки
7.3.1 Подготовка аппарата и образца
7.3.1.1 Температура
Температура помещения, в котором проводят испытания, должна быть от 15 °C до 30 °C. В дальнейшем температуру смесителя не контролируют, однако перед испытанием смазка должна находиться в комнате достаточное время для достижения температуры от 15 °C до 30 °C.
7.3.1.2 Перемешивание
Заполняют чистую чашу смесителя смазкой и собирают смеситель в соответствии с 7.2.1.2. Смазку перемешивают при определенном или согласованном количестве двойных ходов плунжера. Для сокращения потерь смазки при перемешивании особое внимание следует обратить на прокладку в крышке смесителя.
7.3.2 Измерение пенетрации
Помещают смеситель сразу после перемешивания на 1 ч 30 мин в водяную или воздушную баню температурой (25,0 +/- 0,5) °C. Затем вынимают смеситель из бани и перемешивают смазку с использованием еще 60 двойных ходов (63,0 - 71,5 мм) плунжера. Готовят образец и определяют пенетрацию, как указано в 7.2.2 и 7.2.3.
7.4 Процедура определения пенетрации брикетированных смазок
7.4.1 Подготовка испытуемого образца
7.4.1.1 Берут достаточное количество образца смазки достаточно твердой консистенции, чтобы из нее можно было вырезать кубик с ребром 50 мм.
7.4.1.2 При комнатной температуре резаком для пластичной смазки (5.4) вырезают от края образца кубик с ребром приблизительно 50 мм, который будут использовать в качестве пробы. Держат пробу таким образом, чтобы нескошенный конец ножа был направлен к кубику, отрезают слой толщиной 1,5 мм от каждой из трех поверхностей, прилегающих к одному углу. Для идентификации этих поверхностей можно срезать верхушку угла. Не следует прикасаться к вновь обработанным поверхностям, которые будут использованы для испытания, а также помещать подготовленные стороны на подставку или лезвие ножа. Выдерживают образец в воздушной бане постоянной температурой 25 °C не менее 1 ч (7.1.1.2, последний абзац) для доведения температуры образца до (25,0 +/- 0,5) °C.
7.4.2 Измерение пенетрации
Помещают образец на стол пенетрометра, отрегулированный в строго горизонтальном положении, одной из подготовленных поверхностей вверх и зажимают по углам для выравнивания и устойчивого расположения на столе. Конус устанавливают на отметке "нуль" и тщательно регулируют аппарат таким образом, чтобы кончик конуса касался центра поверхности образца. Пенетрацию определяют по 7.1.2 и 7.1.3. Проводят три испытания на поверхности образца на расстоянии не менее 6 мм от края и на максимальном расстоянии друг от друга, чтобы деформированная часть поверхности не попала в зону испытания, избегая включений воздуха и других видимых дефектов на поверхности. Если результат какого-либо испытания отличается от других результатов более чем на три единицы, проводят дополнительные испытания до тех пор, пока не будут получены три значения с расхождениями не более трех единиц.
7.4.3 Дополнительные определения
Для компенсации влияния структуры смазки на окончательный результат при испытании пластичных смазок с волокнистой структурой повторяют процедуру согласно 7.4.2 на каждой из трех подготовленных поверхностей образца и записывают среднеарифметическое значение.
По соглашению сторон испытания неволокнистых пластичных смазок с гладкой текстурой можно проводить только на одной поверхности.
8 Методы определения пенетрации пластичных смазок конусом с половиной и одной четвертью шкалы
8.1 Общие положения
Из-за плохой прецизионности конус с одной четвертью шкалы применяют по возможности ограниченно, только если объема пластичной смазки для испытания недостаточно для использования конуса с половиной шкалы. Не рекомендуется применять конус с одной четвертью шкалы для определения изменения пенетрации смазок после механических испытаний на сдвиг в подшипниках или на конкретной испытательной аппаратуре.
8.2 Процедура определения пенетрации неперемешанной смазки
8.2.1 Подготовка образца
Отбирают достаточное количество образца и заполняют чашу смесителя (5.3.2 или 5.3.3) с избытком. Если пенетрация конусом с одной четвертью шкалы более 47 единиц или конусом с половиной шкалы более 97 единиц, объем образца должен быть в три раза больше объема чаши, так как в одной чаше проводят только одно испытание. Далее действуют по 7.1.1.2.
8.2.2 Очистка конуса и плунжера
Перед каждым испытанием тщательно очищают конус (5.2.2 или 5.2.3). Во время чистки конус должен занимать самое высокое положение во избежание изгибания оси. Удаляют попавшую смазку или масло с оси, так как это может затруднить ее движение. Не допускают вращения конуса для предотвращения изнашивания спускового механизма.
8.2.3 Измерение пенетрации
8.2.3.1 Проводят предварительное определение пенетрации, как указано ниже, опуская конус в центр поверхности испытуемого образца. Эту операцию можно исключить, если известно приблизительное значение пенетрации.
8.2.3.2 Если пенетрация испытуемого образца конусом с одной четвертью шкалы (5.2.3) более 47 единиц, а конусом с половиной шкалы (5.2.2) более 97 единиц, конус располагают в центре емкости, поскольку образец можно использовать только для одного испытания.
8.2.3.3 Если пенетрация испытуемого образца конусом с одной четвертью шкалы менее или равна 47 единицам, а конусом с половиной шкалы менее или равна 97 единицам, проводят три испытания в одной емкости, помещая конус по трем радиусам под углом 120° посередине между центром и стенкой емкости, следя за тем, чтобы конус не касался стенок емкости, а также поверхности смазки, затронутой во время предыдущего испытания.
8.2.3.4 Далее испытание проводят по 7.1.3.1 и 7.1.3.4.
8.3 Определение пенетрации перемешанных пластичных смазок
8.3.1 Подготовка образца
8.3.1.1 Образец
Отбирают достаточный объем образца, чтобы заполнить чашу смесителя (5.3.2 или 5.3.3).
8.3.1.2 Перемешивание
Перемешивание проводят в соответствии с 7.2.1.2, делая горку высотой приблизительно 6 мм, в смесителе без термометра.
8.3.2 Подготовка испытуемого образца
Подготовку испытуемого образца проводят в соответствии с 7.2.2.
8.3.3 Измерение пенетрации
8.3.3.1 Пенетрацию пробы измеряют сразу после очистки конуса и плунжера по 8.2.2 в соответствии с 8.2.3.1 - 8.2.3.3.
8.3.3.2 Испытание проводят по 7.1.3.1. Последовательно на одной и той же испытуемой массе проводят два определения. Сначала возвращают в чашу смазку, ранее снятую шпателем (7.2.2.3). Повторяют процедуру по 7.2.2, 8.2.2, 8.2.3.1 - 8.2.3.3 и 7.1.3.1. Записывают три полученные значения.
9 Определение пенетрации петролатума
9.1 Подготовка образца для испытания
9.1.1 Отбирают приблизительно 1 кг образца для петролатума с пенетрацией более 200 единиц и приблизительно 700 г для петролатума с пенетрацией, равной или менее 200 единиц.
9.1.2 Если пенетрация петролатума более 200 единиц, готовят три отдельных образца для испытания. При пенетрации, равной или менее 200 единиц, готовят один образец для испытания по 9.1.3.
9.1.3 Образец расплавляют в термостате (5.7), поддерживаемом при температуре (85 +/- 2) °C. В термостат помещают требуемое количество контейнеров для испытания образцов (5.10) и нагревают до температуры 85 °C. Когда испытуемый образец расплавится и его температура установится в пределах 3 °C от заданной температуры, образец и нагретые контейнеры удаляют из термостата. Заполняют образцом необходимое количество контейнеров, оставляя незаполненными 6 мм от края контейнера. Наполненные контейнеры охлаждают при температуре (25 +/- 2) °C в течение 16 - 18 ч в месте, защищенном от резких колебаний воздуха. За 2 ч до проведения испытаний заполненные контейнеры помещают в водяную баню (5.5) для доведения температуры до (25 +/- 2) °C. Поверхность образцов для испытаний не следует выравнивать или перемешивать. Вынимают контейнер с образцом из водяной бани и сразу проводят определение. Вода (при контакте) оказывает влияние на некоторые компаундированные петролатумы. Такие образцы закрывают крышкой как при испытании пластичных смазок по разделу 7. На некомпаундированные петролатумы вода не влияет, и нет необходимости их закрывать.
Некоторые петролатумы, содержащие парафиновые углеводороды с высокой температурой плавления, могут иметь более высокие температуры потери текучести. В этом случае данные прецизионности, приведенные в таблице 3, к результатам применять нельзя. Если комнатная температура отличается от 25 °C на 2 °C или более, температуру конуса непосредственно перед испытанием образца доводят до (25,0 +/- 0,5) °C погружением в водяную баню (5.5) и затем вытирают неволокнистой тканью. Если комнатная температура значительно отличается от 25 °C, может потребоваться частая регулировка температуры конуса.
9.2 Измерение пенетрации
Проводят испытания в соответствии с 7.2.1 и 7.1.3. При испытании некоторых более твердых петролатумов в центре образца наблюдается заметное понижение уровня поверхности. Испытания таких образцов проводят в точках, удаленных от центра, так как результаты могут отличаться от значений, полученных в центре.
10 Вычисления
10.1 Вычисления пенетрации конусом с полной шкалой
Вычисляют среднеарифметическое значение результатов определения пенетрации.
10.2 Пересчет значений, полученных при применении конусов с половиной и одной четвертью шкалы, в значения пенетрации конусом с полной шкалой
10.2.1 Общие положения
При необходимости значение пенетрации, полученное при использовании оборудования с конусом с одной четвертью шкалы, можно перевести в значения пенетрации конусом с полной шкалой в соответствии с разделом 7, используя уравнения (1) и (2), приведенные в 10.2.2 и 10.2.3.
10.2.2 Конус с одной четвертью шкалы
Пенетрацию P конусом с полной шкалой можно вычислить по формуле
P = 3,75p + 24, (1)
где p - пенетрация конусом, определенная при использовании оборудования с одной четвертью шкалы.
10.2.3 Конус с половиной шкалы
Пенетрацию P конусом с полной шкалой можно вычислить по формуле
P = 2p + 5, (2)
где p - пенетрация конусом, определенная при использовании оборудования с половиной шкалы.
11 Обработка результатов
Результаты округляют до ближайшей единицы (0,1 мм).
12 Прецизионность
12.1 Общие положения
Прецизионность, определенная статистическим исследованием результатов межлабораторных испытаний в соответствии со стандартом [3], приведена в 12.2 и 12.3.
12.2 Повторяемость
Расхождение между двумя результатами испытаний, полученными одним и тем же оператором на одной и той же аппаратуре в постоянно действующих условиях на идентичном испытуемом материале при нормальном и правильном выполнении метода испытания, превышает значения, указанные в таблицах 1 - 3, только в одном случае из двадцати.
Таблица 1
Прецизионность при определении пенетрации пластичной
смазки конусом с полной шкалой
В единицах, кратных 0,1 мм
Смазка
Диапазон пенетрации
Повторяемость
Воспроизводимость
Неперемешанная
85 - 475
8
19
Перемешанная
130 - 475
7
20
Продолжительно перемешанная
130 - 475
15 <a>
27 <a>
Брикетированная
До 85
7
11
<a> Определяют при 100 000 полных ходов при температуре окружающей среды от 15 °C до 30 °C.
Таблица 2
Прецизионность при определении пенетрации пластичной
смазки конусом с половиной и одной четвертью шкалы
В единицах, кратных 0,1 мм
Пенетрация
Шкала
Повторяемость
Воспроизводимость
Неперемешанная
1/2
5 (10)
13 (26)
Перемешанная
1/2
3 (6)
10 (20)
Неперемешанная
1/4
3 (11)
10 (38)
Перемешанная
1/4
3 (11)
7 (26)
Примечание - Значения в скобках представляют значения повторяемости и воспроизводимости пенетрации, пересчитанные на определение конусом с полной шкалой.
Таблица 3
Прецизионность для петролатума
Повторяемость
2 + 0,05P
Воспроизводимость
9 + 0,12P
Примечание - P - пенетрация, выраженная в единицах, кратных 0,1 мм.
12.3 Воспроизводимость
Расхождение между двумя единичными и независимыми результатами испытаний, полученными разными операторами, работающими в разных лабораториях на идентичном испытуемом материале при нормальном и правильном выполнении метода испытания, может превышать значения, указанные в таблицах 1 - 3, только в одном случае из двадцати.
13 Протокол испытаний
Протокол испытаний должен содержать:
a) обозначение настоящего стандарта, используемую процедуру (по разделам 7 - 9), процедуру определения пенетрации перемешанной, неперемешанной, продолжительно перемешанной или брикетированной смазок конусом и используемый конус (полная шкала, произвольный, половина и одна четверть шкалы);
b) тип и полную идентификацию испытуемого продукта;
c) результаты испытания (раздел 11);
d) любое отклонение от установленной методики настоящего стандарта;
e) дату проведения испытаний.
Приложение ДА
(справочное)
СВЕДЕНИЯ О СООТВЕТСТВИИ ССЫЛОЧНЫХ СТАНДАРТОВ
МЕЖГОСУДАРСТВЕННЫМ СТАНДАРТАМ
Таблица ДА.1
Обозначение ссылочного стандарта
Степень соответствия
Обозначение и наименование межгосударственного стандарта
ASTM D 4057
-
<*> Соответствующий межгосударственный стандарт отсутствует. До его принятия рекомендуется использовать перевод на русский язык данного стандарта.
БИБЛИОГРАФИЯ
[1]
ISO 6743-99:2002
Lubricants, industrial oils and related products (class L) - Classification - Part 99: General
[2]
ISO 1998-2:1988
Petroleum industry - Terminology - Part 2: Properties and tests
[3]
ISO 4259:2006 <1>
Petroleum products - Determination and application of precision data in relation to methods of test
--------------------------------
<1> Заменен на ISO 4259-1:2017 и ISO 4259-2:2017.
УДК 665.765:006.354
МКС 75.140
Ключевые слова: нефтепродукты, пластичные смазки, петролатум, определение пенетрации конусом