Главная // Актуальные документы // Актуальные документы (обновление 01.03.2026 по 01.04.2026) // ГОСТ (Государственный стандарт)СПРАВКА
Источник публикации
М.: ФГБУ "Институт стандартизации", 2026
Примечание к документу
Документ
вводится в действие с 01.12.2026.
Название документа
"ГОСТ ISO 13856-1-2023. Межгосударственный стандарт. Безопасность машин. Сенсорные защитные устройства. Часть 1. Общие принципы расчета и испытания сенсорных ковриков и полов"
(введен в действие Приказом Росстандарта от 18.12.2025 N 1747-ст)
"ГОСТ ISO 13856-1-2023. Межгосударственный стандарт. Безопасность машин. Сенсорные защитные устройства. Часть 1. Общие принципы расчета и испытания сенсорных ковриков и полов"
(введен в действие Приказом Росстандарта от 18.12.2025 N 1747-ст)
агентства по техническому
регулированию и метрологии
от 18 декабря 2025 г. N 1747-ст
МЕЖГОСУДАРСТВЕННЫЙ СТАНДАРТ
БЕЗОПАСНОСТЬ МАШИН. СЕНСОРНЫЕ ЗАЩИТНЫЕ УСТРОЙСТВА
ЧАСТЬ 1
ОБЩИЕ ПРИНЦИПЫ РАСЧЕТА И ИСПЫТАНИЯ
СЕНСОРНЫХ КОВРИКОВ И ПОЛОВ
Safety of machinery. Pressure-sensitive protective devices.
Part 1. General principles for design and testing
of pressure-sensitive mats and pressure-sensitive floors
(ISO 13856-1:2013, IDT)
ГОСТ ISO 13856-1-2023
Дата введения
1 декабря 2026 года
Цели, основные принципы и общие правила проведения работ по межгосударственной стандартизации установлены
ГОСТ 1.0 "Межгосударственная система стандартизации. Основные положения" и
ГОСТ 1.2 "Межгосударственная система стандартизации. Стандарты межгосударственные, правила и рекомендации по межгосударственной стандартизации. Правила разработки, принятия, обновления и отмены"
1 ПОДГОТОВЛЕН Республиканским государственным предприятием на праве хозяйственного ведения "Казахстанский институт стандартизации и метрологии" Комитета технического регулирования и метрологии Министерства торговли и интеграции Республики Казахстан на основе собственного перевода на русский язык англоязычной версии стандарта, указанного в
пункте 5
2 ВНЕСЕН Комитетом технического регулирования и метрологии Министерства торговли и интеграции Республики Казахстан
3 ПРИНЯТ Межгосударственным советом по стандартизации, метрологии и сертификации по результатам голосования в АИС МГС (протокол от 25 сентября 2023 г. N 165-П)
За принятие проголосовали:
Краткое наименование страны по МК (ИСО 3166) 004-97 | Код страны по МК (ИСО 3166) 004-97 | Сокращенное наименование национального органа по стандартизации |
Армения | AM | ЗАО "Национальный орган по стандартизации и метрологии" Республики Армения |
Беларусь | BY | Госстандарт Республики Беларусь |
Казахстан | KZ | Госстандарт Республики Казахстан |
Киргизия | KG | Кыргызстандарт |
Россия | RU | Росстандарт |
Таджикистан | TJ | Таджикстандарт |
4
Приказом Федерального агентства по техническому регулированию и метрологии от 18 декабря 2025 г. N 1747-ст межгосударственный стандарт ГОСТ ISO 13856-1-2023 введен в действие в качестве национального стандарта Российской Федерации с 1 декабря 2026 г.
5 Настоящий стандарт идентичен международному стандарту ISO 13856-1:2013 "Безопасность машин. Сенсорные защитные устройства. Часть 1. Общие принципы расчета и испытания сенсорных ковриков и полов" ("Safety of machinery - Pressure-sensitive protective devices - Part 1: General principles for design and testing of pressure-sensitive mats and pressure-sensitive floors", IDT).
Международный стандарт разработан Техническим комитетом по стандартизации ISO/TC 199 "Безопасность машин" совместно с Техническим комитетом CEN/TC 114 "Безопасность машин".
При применении настоящего стандарта рекомендуется использовать вместо ссылочных международных стандартов соответствующие им межгосударственные стандарты, сведения о которых приведены в дополнительном
приложении ДА
6 ВВЕДЕН ВПЕРВЫЕ
Информация о введении в действие (прекращении действия) настоящего стандарта и изменений к нему на территории указанных выше государств публикуется в указателях национальных стандартов, издаваемых в этих государствах, а также в сети Интернет на сайтах соответствующих национальных органов по стандартизации.
В случае пересмотра, изменения или отмены настоящего стандарта соответствующая информация будет опубликована на официальном интернет-сайте Межгосударственного совета по стандартизации, метрологии и сертификации в каталоге "Межгосударственные стандарты"
Структура стандартов безопасности в области машиностроения выглядит следующим образом:
a) стандарты типа A (основные стандарты безопасности), содержащие основные концепции, принципы проектирования и общие аспекты, применимые ко всем машинам;
b) стандарты типа B (общие стандарты безопасности), относящиеся к одному аспекту безопасности или одному типу защиты, которые могут использоваться в широком спектре машин:
- стандарты типа B1 по конкретным аспектам безопасности (например, безопасные расстояния, температура поверхности, шум);
- стандарты типа B2 по мерам безопасности (например, двуручное управление, блокирующие устройства, сенсорные устройства, ограждения);
c) стандарты типа C (стандарты безопасности машин), касающиеся подробных требований безопасности для конкретной машины или группы машин.
Настоящий стандарт является стандартом типа B2 в соответствии с ISO 12100.
Требования настоящего стандарта могут быть дополнены или изменены стандартом типа C.
Для машин, на которые распространяется действие стандарта типа C, которые были спроектированы и изготовлены в соответствии с требованиями настоящего стандарта, требования стандарта типа C имеют приоритет.
Защитные средства для машин (см. ISO 12100:2010, 3.21) могут быть обеспечены различными способами.
К таким средствам относятся ограждения, препятствующие доступу в опасную зону с помощью физического барьера (например, блокирующие ограждения в соответствии с ISO 14119 или фиксированные ограждения в соответствии с ISO 14120), и защитные устройства (например, электросенсорное защитное оборудование в соответствии с IEC 61496-1 или сенсорные защитные устройства в соответствии с настоящим стандартом).
Разработчики стандартов типа C и проектировщики машин/установок рассматривают наилучший способ достижения требуемого уровня безопасности с учетом предполагаемого применения и результатов оценки рисков (см. ISO 12100).
Требуемым решением также может быть объединение нескольких из этих различных средств: поставщик оборудования/установки и пользователь вместе тщательно изучают существующие опасности и ограничения, прежде чем принимать решение о выборе способа обеспечения безопасности.
Сенсорные защитные устройства используются в широком спектре приложений с различными условиями использования, связанными, например, с экстремальными нагрузками или электрическими, физическими и химическими факторами. Они связаны с блоками управления машины, чтобы гарантировать, что машина вернется в безопасное состояние, если срабатывает сенсорное защитное устройство.
ISO 13856 ограничивается конструкцией защитных сенсорных устройств, чтобы их можно было использовать, когда оценка риска, проводимая изготовителем машины, и/или соответствующий стандарт типа C, если таковой имеется, показывают, что это целесообразно.
Настоящий стандарт устанавливает общие требования и принципы к конструированию и испытаниям сенсорных ковриков и полов, как правило, приводимых в действие ногами, для использования в качестве устройства для защиты людей от опасных механизмов. Приведены минимальные требования безопасности в отношении эксплуатационных характеристик, маркировки и документации.
Настоящий стандарт распространяется на сенсорные коврики и полы независимо от вида используемой энергии (например, электрической, гидравлической, пневматической или механической), предназначенной для обнаружения:
- людей массой более 35 кг;
- людей массой более 20 кг (например, детей).
Настоящий стандарт не применяется для распознавания людей массой менее 20 кг. В настоящем стандарте не указано следующее, в зависимости от применения:
a) размеры или конфигурация эффективной поверхности сенсорных коврика(ов) или пола для любого конкретного применения;
b) когда сенсорные коврики и полы применимы в конкретной ситуации;
c) уровни эффективности защиты (PL) для связанных с безопасностью частей систем управления (SRP/CS), кроме обеспечения минимального уровня.
Настоящий стандарт содержит руководство по эксплуатации для пользователя в целях надлежащего монтажа и эксплуатации сенсорных ковриков и полов.
В настоящем стандарте использованы нормативные ссылки на следующие стандарты [для датированных ссылок применяют только указанное издание ссылочного стандарта, для недатированных - последнее издание (включая все изменения)]:
ISO 12100:2010, Safety of machinery - General principles for design - Risk assessment and risk reduction (Безопасность машин. Общие принципы конструирования. Оценка рисков и снижение рисков)
ISO 13849-1:2006, Safety of machinery - Safety-related parts of control systems - Part 1: General principles for design (Безопасность машин. Детали систем управления, связанные с обеспечением безопасности. Часть 1. Общие принципы проектирования)
ISO 13849-2, Safety of machinery - Safety-related parts of control systems - Part 2: Validation (Безопасность машин. Детали систем управления, связанные с обеспечением безопасности. Часть 2. Валидация)
ISO 13855, Safety of machinery - Positioning of safeguards with respect to the approach speeds of parts of the human body (Безопасность машин. Позиционирование защитного оборудования с учетом скорости сближения частей человеческого тела)
ISO 15552, Pneumatic fluid power - Cylinders with detachable mountings, 1000 kPa (10 bar) series, bores from 32 mm to 320 mm - Basic, mounting and accessories dimensions (Приводы пневматические. Цилиндры со съемными креплениями серии 1000 кПа (10 бар), отверстиями диаметром от 32 мм до 320 мм. Основные, присоединительные размеры и размеры вместе со вспомогательными принадлежностями)
IEC 60068-2-6, Environmental testing - Part 2-6: Tests - Test Fc: Vibration (sinusoidal) (Испытания на воздействие внешних факторов. Часть 2-6. Испытания. Испытание Fc: Вибрация (синусоидальная))
IEC 60068-2-14, Environmental testing - Part 2-14: Tests - Test N: Change of temperature (Испытания на воздействие внешних факторов. Часть 2-14. Испытания. Испытание N: Изменение температуры)
IEC 60068-2-78, Environmental testing - Part 2-78: Tests - Test Cab: Damp heat, steady state (Испытание на воздействие внешних факторов. Часть 2-78. Испытания. Испытание Cab: Влажное тепло, установившийся режим)
IEC 60204-1:2005, Safety of machinery - Electrical equipment of machines - Part 1: General requirements (Безопасность машин. Электрооборудование машин и механизмов. Часть 1. Общие требования)
IEC 60529, Degrees of protection provided by enclosures (IP code) (Степени защиты, обеспечиваемые корпусами (Код IP))
IEC 61000-4-2, Electromagnetic compatibility (EMC) - Part 4-2: Testing and measuring techniques - Electrostatic discharge immunity test (Электромагнитная совместимость. Часть 4-2. Методики испытаний и измерений. Испытание на невосприимчивость к электростатическому разряду)
IEC 61000-4-3, Electromagnetic compatibility (EMC) - Part 4-3: Testing and measurement techniques - Radiated, radio-frequency, electromagnetic field immunity test (Электромагнитная совместимость. Часть 4-3. Методы испытаний и измерений. Испытание на устойчивость к излучаемому радиочастотному электромагнитному полю)
IEC 61000-4-4, Electromagnetic compatibility (EMC) - Part 4-4: Testing and measurement techniques - Electrical fast transient/burst immunity test (Электромагнитная совместимость (ЭМС). Часть 4-4. Методы испытаний и измерений. Испытание на невосприимчивость к быстрым переходным процессам и всплескам)
IEC 61000-4-5, Electromagnetic compatibility (EMC) - Part 4-5: Testing and measurement techniques - Surge immunity test (Электромагнитная совместимость (ЭМС). Часть 4-5. Методы испытаний и измерений. Испытание на устойчивость к выбросу напряжения)
IEC 61000-6-2, Electromagnetic compatibility (EMC) - Part 6-2: Generic standards - Immunity for industrial environments (Электромагнитная совместимость (ЭМС). Часть 6-2. Общие стандарты. Стандарт помехоустойчивости для промышленных обстановок)
IEC 61439-1:2011, Low-voltage switchgear and controlgear assemblies - Part 1: General rules (Аппаратура коммутационная и механизмы управления низковольтные комплектные. Часть 1. Общие правила)
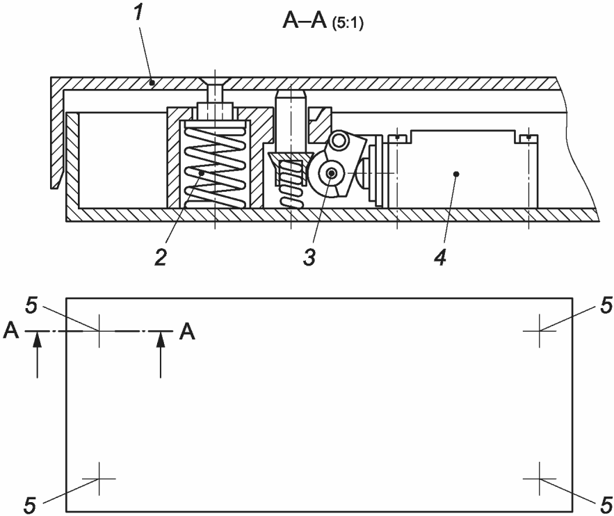
В настоящем стандарте применены термины по ISO 12100, ISO 13849-1, а также следующие термины с соответствующими определениями:
3.1
сенсорный коврик (pressure-sensitive mat) (далее - коврик): Защитное устройство, чувствительное к давлению (ISO 12100:2010, 3.28.5), состоящее из датчика
(3.3) или датчиков, блока управления
(3.5) и одного или нескольких устройств переключения выходного сигнала
(3.6), обнаруживающих присутствие человека, стоящего на нем или наступающего на него, и где эффективная сенсорная зона
(3.4) деформируется локально, когда активируется (срабатывает) датчик.
Примечание - На
рисунке 1 показан схематичный рисунок коврика.
Условные обозначения:
1 - сенсорные коврик или пол; 2 - датчик(и); 3 - блок
управления
<*>;
4 - устройство(а) переключения выходного
сигнала
<*>;
5 - часть системы управления машиной
для обработки выходного сигнала коврика или пола;
a - активирующее усилие; b - выход датчика; c - сигнал
замкнутого/разомкнутого состояния ВКЛ/ВЫКЛ; d - сигнал
ручного сброса
<**>; e - сигнал сброса от системы
управления машиной (при необходимости); f - контрольные
сигналы (дополнительно); g - сигнал ручного сброса в систему
управления машиной
<***>; h - система(ы) управления машиной
--------------------------------
<*> Может быть расположен в системе управления машиной или как часть системы управления машиной.
<**> При необходимости можно использовать в качестве альтернативы пункту g.
<***> При необходимости может быть использовано в качестве альтернативы d.
Рисунок 1 - Схематическое изображение сенсорного
коврика/пола для работы с машиной
3.2
сенсорный пол (pressure-sensitive floor) (далее - пол): Защитное устройство, чувствительное к давлению (ISO 12100:2010, 3.28.5), состоящее из датчика
(3.3) или датчиков, блока управления
(3.5) и одного или нескольких устройств переключения выходного сигнала
(3.6), которые обнаруживают человека, стоящего на нем или наступающего на него, и где эффективная сенсорная зона
(3.4) перемещается как единое целое, когда активируется датчик.
Примечание - На
рисунке 1 показан схематичный рисунок пола.
3.3
датчик (sensor): Часть сенсорного коврика
(3.1) или сенсорного пола
(3.2), которая содержит эффективную сенсорную зону
(3.4).
Примечание - Приложение активирующего усилия к рабочей площади вызывает появление сигнала от датчика к блоку управления для изменения его состояния.
3.4
эффективная сенсорная зона (effective sensing area): Часть верхней поверхности датчика
(3.3) или комбинации датчиков сенсорного коврика
(3.1), или сенсорного пола
(3.2), внутри которого будет происходить реакция (отклик) на активирующую силу.
Примечание - См.
4.2 относительно требований к активирующей силе (срабатывания).
3.5
блок управления (control unit): Устройство, реагирующее на состояние датчика
(3.3) и контролирующее состояние устройства переключения выходного сигнала
(3.6).
Примечание - Блок управления также может контролировать целостность коврика или пола (см. ссылки на категории и уровни производительности в соответствии с ISO 13849-1) и может содержать помещения для обработки сигнала сброса. Блок управления может быть интегрирован с системой управления машиной.
3.6
устройство переключения выходного сигнала (output signal switching device): Часть сенсорного коврика
(3.1) или сенсорного пола
(3.2), который реагирует в ответ, вызывая блокирующее состояние "ВЫКЛ", когда датчик
(3.3) или функция контроля активированы.
Примечание - Устройство переключения выходного сигнала может быть интегрировано с системой управления машиной.
3.7
активирующее усилие (actuating force): Любое усилие, которое оказывает давление на эффективную сенсорную поверхность
(3.4) и создает блокирующее разомкнутое состояние "ВЫКЛ" в устройстве переключения выходного сигнала
(3.6).
3.8
сброс настроек (reset): Функция, которая разрешает рабочее состояние "ВКЛ" в устройстве переключения выходного сигнала
(3.6), при условии выполнения определенных условий.
3.9
включенное состояние (ON state): Состояние, при котором выходная цепь устройства переключения выходного сигнала
(3.6) замкнута и возможно протекание тока или жидкости.
3.10
выключенное состояние (OFF state): Состояние, при котором выходная цепь устройства переключения выходного сигнала
(3.6) разомкнута и протекание тока или жидкости невозможно.
3.11
время отклика (response time): Время между началом приложения силы к эффективной сенсорной зоне
(3.4) и реализацией разомкнутого состояния "ВЫКЛ" устройства переключения выходного сигнала
(3.6).
Примечание - Требования к времени отклика см. в
4.3.
3.12
зона нечувствительности (dead zone): Часть верхней поверхности датчика
(3.3) за пределами эффективной сенсорной зоны
(3.4).
4 Требования к проектированию и испытаниям
4.1 Общие положения
Следующие требования основаны на предположении, что пользователь (например, изготовитель машины или пользователь оборудования) определяет пригодность сенсорных коврика или пола, требуемый уровень эффективности защиты (PL), размеры и ориентацию. Также предполагается, что настоящая информация предоставляется изготовителю сенсорного защитного устройства.
Сенсорные коврики и полы должны обнаруживать стоящего или наступающего на эффективную сенсорную зону человека.
Сенсорный коврик или пол должны реагировать на активирующее усилие в соответствии с
таблицей 1, когда соответствующий испытательный образец (см.
рисунок 2) опускается на эффективную сенсорную зону при максимальной скорости 2 мм·с
-1 в диапазоне рабочих температур.
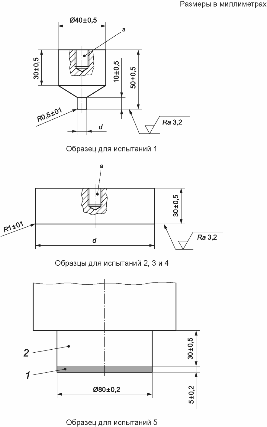
Таблица 1
Применение | Образец для испытаний | Активирующее усилие |
N | d mm | N |
Для ковриков и полов, предназначенных для распознавания людей массой более 35 кг | 1 | 11 | 300 |
2 | 80 | 300 |
3 | 200 | 600 |
Дополнительное испытание для ковриков и полов, предназначенных для распознавания людей (например, детей) массой более 20 кг | 4 | 40 | 150 |
Условные обозначения:
1 - наклеенный резиновый "башмак", твердость по Шору
(60 +/- 5) A;
2 - сталь;
d - см.
таблицу 1; a - предложение
только по монтажу
Рисунок 2 - Образцы для испытаний с 1 по 6
Рисунок 2, лист 2
Образцы для испытаний 1, 2 и 3 применяются к коврикам и полам, предназначенным для обнаружения людей массой более 35 кг. Образец для испытаний 4 дополнительно используют на ковриках и полах, предназначенных для распознавания людей (например, детей) массой более 20 кг.
4.2.2 Комбинации датчиков
Если эффективная сенсорная зона состоит из нескольких датчиков, стыки и соединения должны соответствовать требованиям
4.2.1, за исключением того, что только образец 2 в соответствии с
таблицей 1 применяют к коврикам и полу, предназначенным для распознавания лиц массой более 35 кг.
Если сенсорные коврики и полы предназначены для распознавания людей (например, детей) весом 20 кг или более, то применяются только образцы 2 и 4.
Для других участков эффективной сенсорной зоны применяют положения
4.2.1.
См. метод испытаний в
7.5.
Время отклика должно быть установлено изготовителем и не должно превышать 200 мс в рабочем диапазоне температур. Время отклика - это время между
a) и
b):
a) момент, когда образец для испытаний вертикально касается эффективной сенсорной зоны со скоростью 0,25 м·с
-1;
b) момент, когда устанавливается разомкнутое состояние устройства переключения выходного сигнала (см.
рисунки A.1,
A.2 и
A.3).
Примечание - Устанавливается предел 200 мс, чтобы предотвратить отключения защитного устройства при применении коротких импульсов, связанных с шагом ноги.
См. метод испытаний в
7.6.
4.4.1 После приложения статической силы (2000 +/- 50) Н в пределах эффективной сенсорной зоны с помощью образца 2 (см.
рисунок 2) в течение 8 ч устройство переключения выходного сигнала должно изменить свое состояние в течение 2 мин после снятия нагрузки. Для сенсорных ковриков через 1 ч глубина деформации должна составлять не более 2 мм в самой нижней части верхней поверхности; для полов не должно быть никаких остаточных деформаций.
4.4.2 После приложения статической силы (750 +/- 20) Н в пределах эффективной сенсорной зоны через образец 1 (см.
рисунок 2) в другом месте, чем в
4.4.1, в течение 8 ч устройство переключения выходного сигнала должно изменить свое состояние в течение 2 мин после снятия усилия. Для сенсорных ковриков через 1 ч глубина деформации не должна составлять более 2 мм в самой нижней части верхней поверхности; для сенсорных полов не должно быть никакой остаточной деформации.
См. метод испытаний в
7.7.
4.5.1 Сенсорный коврик или пол должны выполнять свою функцию в течение штатных ожидаемых операций.
4.5.1.1 Ожидаемое количество операций коврика или пола должно составлять не менее 100 000 операций в каждой из пяти локаций (всего 500 000 операций). Если эффективная сенсорная зона состоит из комбинации датчиков, это требование распространяется на комбинацию датчиков.
4.5.1.2 Кроме того, ожидаемое количество операций только для одного датчика составляет один миллион операций в другом месте.
4.5.2 При выполнении требований
4.4 и
4.5.1 коврик или пол должен соответствовать требованиям
4.2 и
4.3.
4.6 Выходной сигнал датчика
См. метод испытаний в
7.8.
Когда активирующее усилие приложено к эффективной сенсорной зоне или присутствует на эффективной сенсорной зоне при включении питания, выходной сигнал датчика должен измениться на значение или состояние, при котором устройство переключения выходного сигнала переходит в разомкнутое состояние "ВЫКЛ". Настоящее значение или состояние должно поддерживать устройство переключения выходного сигнала в выключенном состоянии, по крайней мере, до тех пор, пока не будет устранено активирующее усилие (см.
рисунки A.1,
A.2 и
A.3).
Когда коврик или пол имеют сброс, устройство переключения выходного сигнала должно изменить свое состояние только после подачи сигнала сброса после снятия активирующего усилия.
4.7 Реакция устройства переключения выходного сигнала на активирующее усилие
4.7.1 Общие положения
См. метод испытаний в
7.9.
При воздействии любого активирующего усилия на эффективную сенсорную зону устройство переключения выходного сигнала должно измениться из замкнутого состояния "ВКЛ" в разомкнутое состояние "ВЫКЛ". Аналогичным образом разомкнутое состояние "ВЫКЛ" также должно генерироваться, когда активирующее усилие уже присутствует на эффективной сенсорной зоне при включении питания.
Устройство переключения выходного сигнала должно оставаться в выключенном состоянии, по крайней мере, до снятия активирующей силы с эффективной сенсорной зоны.
4.7.2 Устройство со сбросом
Для коврика или пола со сбросом, сигнал сброса должен подаваться вручную либо непосредственно на блок управления устройством безопасности, либо через систему управления машиной (см.
рисунок 1).
Сброс должен выполнять две функции:
a) включение запрещающей блокировки - при включении питания устройство (устройства) переключения выходного сигнала должно оставаться в разомкнутом положении "ВЫКЛ" до подачи сигнала сброса;
b) повторное включение запрещающей блокировки.
После устранения активирующего усилия выход устройства переключения выходного сигнала должен переходить в состояние "ВКЛ" только после подачи сигнала сброса.
Если сигнал сброса подается непрерывно до или во время приложения активирующего усилия, выход устройства переключения выходного сигнала не должен переходить во включенное состояние при снятии активирующего усилия без применения дополнительного сигнала сброса (см.
рисунки A.1 и
A.2).
Сигнал сброса должен управлять выходным сигналом датчика и устройством переключения выходного сигнала (см.
рисунок A.1) или он должен управлять только выходным сигналом устройства (устройств) переключения выходного сигнала (см.
рисунок A.2).
4.7.3 Устройство без сброса
Для коврика или пола без сброса выходной сигнал устройства переключения сигнала должен переходить в состояние "ВКЛ" при включении питания и после того, как активирующее усилие было удалено (см.
рисунок A.3).
Если используется устройство без сброса, то в системе управления машиной должна быть предусмотрена функция сброса системы (см. ISO 13849-1:2006, 5.4).
4.8 Доступ для технического обслуживания
Метод испытания см. в
7.10.
Если требуется доступ внутрь любой части коврика или пола, это возможно только с помощью ключа или инструмента. Все средства крепления корпуса, кроме ключа или инструмента для открывания, должны быть закреплены.
Метод испытания см. в
7.11.
Регулировка активирующего усилия и времени реагирования не должна быть доступна пользователю.
Если поставщик считает возможной индивидуальную замену узла коврика или пола, то она должна выполняться без ухудшения общих характеристик коврика или пола и не должна требовать регулировки.
См.
7.12 для метода испытаний.
Правильное выравнивание вилки/розетки должно быть ясно указано по типу, форме, маркировке или обозначению (или их сочетанием).
Если компоненты различных конфигураций внутри коврика или пола являются взаимозаменяемыми, неправильное размещение или замена этих компонентов не должны привести к неисправности, связанной с опасностью.
Если датчик или подсистема подключены с помощью вилки и розетки, снятие или отсоединение датчика или подсистемы на вилке и розетке от блока управления или внутри него должно вызывать переключение выходного сигнала устройства в разомкнутое состояние "ВЫКЛ".
4.11.1 Общие положения
Метод испытания см. в
7.13.
Коврик или пол должны продолжать работать в соответствии с настоящим стандартом в условиях окружающей среды, указанных в
4.11.2 -
4.11.5, или в любом более широком диапазоне, указанном изготовителями.
Коврик или пол должны соответствовать требованиям
4.2.1 и
4.3 в диапазоне температур от 5 °C до 40 °C.
Примечание - Расширенные диапазоны температуры окружающей среды могут составлять от минус 25 °C до 40 °C и от 5 °C до 70 °C.
Требования по влажности должны выполняться в соответствии с IEC 60068-2-78 в течение четырех дней.
4.11.4 Электромагнитная совместимость (защищенность)
Коврик или пол должны устойчиво функционировать в обычном режиме, соответствующем уровню/классу 3 в соответствии с
таблицей 4 (см.
7.13.4).
Требования относительно вибрации должны применяться только к блоку управления и устройству переключения выходного сигнала и должны соответствовать IEC 60068-2-6. Применяются следующие положения:
- диапазон частот от 10 до 55 Гц;
- перемещение 0,15 мм;
- 10 циклов по каждой оси;
- частота развертки - одна октава в минуту.
Если датчик прикреплен к узлу машины, следует учитывать влияние вибрации. См. также
приложение B.
Примечание - В настоящем стандарте нецелесообразно устанавливать специальные требования к датчикам из-за разнообразия их размеров и форм. Датчики обычно закрепляются к основанию, и в этом случае вибрация, как правило, некритична.
4.12 Источник питания
Метод испытания см. в
7.14.
Коврик или пол должны соответствовать требованиям IEC 60204-1:2005, 4.3.
4.12.2 Неэлектрическое питание
Для неэлектрических источников питания изготовитель должен установить номинальный уровень и допустимый диапазон, в пределах которого обеспечивается нормальное функционирование.
Если устройства защиты от избыточного давления не предусмотрены, то превышение номинального уровня давления не должно приводить к возникновению неисправности, связанной с опасностью.
Уменьшение давления ниже номинального уровня не должно приводить к возникновению неисправности, связанной с опасностью (см. также ISO 4413 и ISO 4414).
Примечание - Для такого типа оборудования не установлены методы испытаний.
4.13.1 Общие положения
Метод испытания см. в
7.15.
Компоненты электрооборудования коврика или пола должны:
- соответствовать действующим международным стандартам;
- быть пригодными для использования по назначению;
- эксплуатироваться в пределах установленных для них номинальных значений.
4.13.2 Защита от поражения электрическим током
Защита от поражения электрическим током должна быть обеспечена в соответствии с IEC 60204-1:2005, 6.1, 6.2 и 6.3.
4.13.3 Защита от перегрузки по току
Защита от перегрузки по току должна быть обеспечена в соответствии с IEC 60204-1:2005, 7.2.1, 7.2.3, 7.2.7, 7.2.8 и 7.2.9.
Примечание - Пользователю может потребоваться информация по коврику или полу относительно максимальных номинальных параметров предохранителей или настройки устройств защиты от перегрузки по току для цепи (цепей), соединенной с выходным переключателем (переключателями).
4.13.4 Уровень загрязнения
Электрооборудование должно быть пригодно для уровня загрязнения 2 в соответствии с IEC 61439-1:2011, 7.1.3.
4.13.5 Зазор и расстояния на сползание
Электрооборудование должно быть спроектировано и изготовлено в соответствии с IEC 61439-1:2011, 8.3 и 10.4.
4.13.6 Электропроводка
Электрооборудование должно быть подключено в соответствии с IEC 61439-1:2011, 11.10.
Метод испытания см. в
7.16.
4.14.1 Датчик
Корпус датчика должен соответствовать IP54 в соответствии с IEC 60529.
Если изготовитель указывает, что датчик можно погружать в воду, минимальный уровень корпуса датчика должен быть IP67 в соответствии с IEC 60529.
4.14.2 Корпус блока управления и устройства переключения выходного сигнала
Корпус блока управления должен соответствовать IP54 в соответствии с IEC 60529. Блок управления предназначен для установки в другой корпус аппаратуры управления и этот корпус должен соответствовать минимуму IP54 в соответствии с IEC 60529, блок управления должен иметь минимум IP2X в соответствии с IEC 60529. Корпус, содержащий устройство (устройства) переключения выходного сигнала, также должен соответствовать этим требованиям.
4.15 Уровни эффективности защиты и категории для компонентов систем управления, связанных с безопасностью (SRP/CS) в соответствии с ISO 13849-1
4.15.1 Соответствующие уровни эффективности защиты PL для конкретных применений см. в соответствующих стандартах типа C. В отсутствие соответствующего стандарта типа C изготовитель оборудования или интегратор машины (см. определение в ISO 11161:2007, 3.10) должны провести оценку риска для определения требуемого уровня эффективности защиты PL, используя рекомендации, приведенные в ISO 13849-1.
Метод испытания см. в
7.17.
4.15.2 Коврики и полы должны соответствовать требованиям уровня эффективности защиты (PL) и категории, для которой они указаны и отмечены. Уровни эффективности защиты PL и категории указаны в ISO 13849-1.
4.15.3 Коврики и полы должны соответствовать, по меньшей мере, требованиям PL = c по ISO 13849-1.
Примечание - Механическое повреждение поверхности датчика, не влияющее на функцию безопасности (например, царапины при шлифовке), не считаются неисправностями.
4.15.4 Среднее количество циклов до выхода из строя 10% компонентов (B
10d - значения для ковриков и полов) определяют в соответствии с испытанием, приведенным в
7.7, но только в локации 8.
Результаты испытаний должны быть задокументированы и должны включать, как минимум, следующую информацию:
- температуру (окружающей среды);
- рабочее напряжение и рабочий ток;
- тип загрузки;
- частоту переключения;
- место испытаний;
- испытательную нагрузку;
- скорость активации;
- количество операций;
- значения B10d;
- виды неисправностей;
- испытатель, испытательная лаборатория, дата и подпись.
Примечание - Определение значений B10d осуществляется изготовителем.
4.15.5 Если требуется, чтобы коврик соответствовал категории 3, его структура может отличаться от назначенной структуры согласно ISO 13849-1:2006, 6.2, при условии, что достигнут требуемый уровень эффективности защиты PL.
Исключения неисправностей должны быть перечислены и пояснены в руководстве по эксплуатации. Исключений неисправностей, которые недопустимы из-за прогнозируемого неправильного применения коврика или пола, не должно быть.
Если для определения уровня эффективности защиты PL используется исключение неисправностей, диагностический охват не требует расчета или включения при определении уровня эффективности защиты PL. В этих условиях высокое ожидание периода до опасной неисправности (MTTFd) должно присутствовать для достижения уровня эффективности защиты d.
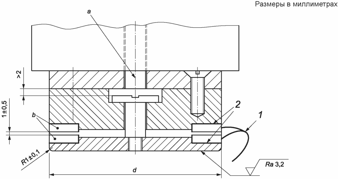
4.16 Установка датчиков
См. метод испытаний в
7.1.2.
Должны быть предусмотрены средства для крепления датчиков в их предполагаемом месте.
4.17 Опасность спотыкания
См. метод испытаний в
7.1.2.
Для датчиков, имеющих пандус (скат) или для которых пандус поставляется как вспомогательная деталь, наклон пандуса не должен превышать 20° от горизонтали. Пандус не должен создавать физических препятствий или других опасностей.
Для датчиков высотой более 4 мм, находящихся в состоянии активации или без активации, необходима либо утопленная установка, либо предоставление пандуса, соответствующего приведенным выше требованиям, указанным в руководстве по эксплуатации.
При наличии комбинации датчиков и/или дополнительных покрытий должны быть предусмотрены меры по снижению до минимума возможной опасности споткнуться на стыках и соединениях между датчиками.
Примечание - См. указанные размеры в ISO 14122-2.
4.18 Сопротивление скольжению
Метод испытания см. в
7.18.
На верхней поверхности датчика должны быть предусмотрены средства для сведения к минимуму проскальзывания при ожидаемых условиях эксплуатации.
Примечание - См. также ISO 14122-2.
4.19 Дополнительные покрытия верхних поверхностей датчика
Метод испытания см. в
7.19.
Требования
раздела 4 должны также применяться к датчику, оснащенному дополнительными или альтернативными покрытиями, например защитными пленками.
4.20 Неисправности, связанные с блокировкой или заклиниванием
Метод испытания см. в
7.20.
Должен отсутствовать риск неисправности, связанной с накоплением грязи или производственных отходов под датчиком, комбинацией датчиков или под их соединительными деталями.
5.1 Общие положения
Метод испытаний см. в
7.1.2.
Коврик или пол должны быть маркированы в соответствии с ISO 12100:2010, 6.4.4 и IEC 60204-1:2005, раздел 16.
Все этикетки и маркировка должны быть надежно закреплены и долговечны в течение ожидаемого срока службы детали коврика или пола, к которому они прикреплены (см. IEC 61310-2).
5.2 Маркировка блока управления
Этикетка(и) блока управления должна(ы) также содержать следующую информацию или указывать, где эту информацию можно найти:
- уровень эффективности защиты PL и категория в соответствии с ISO 13849-1 для коврика или пола;
- время отклика коврика или пола;
- наличие или отсутствие сброса;
- средства идентификации, например серийный номер, обозначение типа.
Этикетка датчика также должна содержать следующую информацию или указывать, где эту информацию можно найти:
- пригодность для обнаружения людей (например, детей) массой более 20 кг;
- средства идентификации, например серийный номер, обозначение типа.
5.4 Маркировка других компонентов
Компоненты коврика или пола, которые могут быть заменены в соответствии с информацией для использования, должны быть опознаваемыми.
6 Руководство по эксплуатации
6.1 Общие положения
Информация, предоставляемая пользователю, и способ ее представления должны соответствовать ISO 12100:2010, 6.4.
6.2 Руководство по эксплуатации
6.2.1 Общие положения
Метод испытаний см. в
7.1.2.
Руководство по эксплуатации (например, руководство) должно содержать всю информацию, необходимую для безопасной установки, эксплуатации и технического обслуживания устройства, в соответствии с
6.2.2 -
6.2.6.
Руководство по эксплуатации должно содержать на первой странице средства идентификации, требуемые по
5.2 и
5.3. См. также
приложения B и
D.
6.2.2 Характеристики устройства
a) Категория или категории, уровень эффективности защиты PL и средняя вероятность опасной неисправности в час в соответствии с ISO 13849-1.
b) Ограничения по размеру и форме для отдельных датчиков, включая эффективную сенсорную зону.
c) Пределы комбинации количества и размеров датчиков, которые могут использоваться с одним блоком управления.
d) Соединения между компонентами.
e) Ограничения длины соединения между отдельными компонентами коврика или пола и типами соединителей, например, спецификация кабеля, вилки и розетки.
f) Монтажные схемы - способы комбинирования датчиков.
g) Крепления датчика и блока управления.
h) Масса датчика на квадратный метр и масса блока управления.
i) Дополнительные детали покрытия датчика (где применимо).
j) Время отклика.
k) Требования к источнику питания.
l) Характеристики корпуса блока управления в соответствии с IEC 60529.
m) Способность устройства переключения выходного сигнала.
n) Конфигурация устройства переключения выходного сигнала.
o) Пригодность для сенсорного обнаружения вспомогательных средств для ходьбы, т.е. трости и ходунков.
p) Формула для расчета требуемой эффективной сенсорной зоны по отношению к опасному месту должна предоставляться. Должны быть приведены типовые примеры применения формулы (см. ISO 13855 и
C.3.3).
q) Диапазон применений и условий, для которых устройство (устройства) предназначено или одобрено, включая категорию и PL, которым оно соответствует. Следует также привести примеры неподходящих приложений.
r) Схематическое изображение функций безопасности и примеры электрической схемы интерфейса управления машиной.
s) Номинальные параметры, характеристики и расположение всех входных/выходных клемм.
t) Руководство по химической, физической и экологической устойчивости (например, устойчивость к растворителям, допустимая весовая нагрузка, диапазон рабочих температур, допустимое изменение мощности).
u) Руководство по пригодности для колесных транспортных средств, которые могут трогаться с места, тормозить или включаться на поверхности датчика.
v) Разработано ли устройство (устройства) со сбросом или без сброса в соответствии с
4.7, и, когда устройство без сброса, необходимость сброса должна быть предоставлена изготовителем или пользователем оборудования (см. ISO 13849-1:2006, 5.2).
6.2.3 Упаковка, транспортировка, обращение и хранение
a) Описание упаковки и способов распаковки во избежание повреждения устройства (устройств).
b) Методы транспортировки и обращения, предотвращающие повреждение или травмы.
c) Требования к хранению (например, горизонтальное положение, температурный диапазон).
6.2.4 Установка и ввод в эксплуатацию
a) Указание на то, что инструкция по эксплуатации должна быть полностью прочитана перед выполнением любых работ по установке.
b) Требования к поверхности, на которой должен быть установлен датчик.
c) Способ установки, включая необходимые инструменты (см. руководство в
приложении B).
d) Конструктивные особенности эффективной сенсорной зоны и зон нечувствительности и способы их оптимизации во время установки (включая чертеж, где это необходимо).
e) Требования к пандусам в соответствии с
4.17, если это необходимо.
f) Подробная информация о любом углублении в полу, необходимом для уменьшения высоты датчика во избежание срабатывания.
g) График испытаний, позволяющий провести ввод в эксплуатацию после установки, чтобы определить, что устройство работает.
h) Предупреждение о том, что общая безопасность машины и ее средств защиты зависит от целостности интерфейса между ними.
i) Инструкция по проверке соответствия категории(й) и уровня эффективности защиты (PL) устройства в соответствии с ISO 13849-1.
j) Указание исключений ошибок (см. ISO 13849-1:2006, раздел 11).
k) Объяснение, как был рассчитан PL, со ссылкой на переменные параметры времени средней операции (в часах в день и днях в году) и среднее время между началом двух последовательных циклов рассматриваемого компонента (время цикла).
l) Заявление о том, что интегратор должен определить PL для своего приложения.
6.2.5 Руководство по эксплуатации
a) Назначение и принцип действия активирующих механизмов и индикаторов, т.е. пуск и повторный пуск.
b) Информация об ограничениях использования.
c) Инструкции по выявлению неисправности.
6.2.6 Техническое обслуживание
a) Предупреждение о том, что перед любой попыткой технического обслуживания следует полностью прочитать раздел руководства по обслуживанию.
b) Определение задач, которые требуют специальных технических знаний или особых навыков и, следовательно, должны выполняться исключительно специально обученным и квалифицированным персоналом.
c) Спецификация типа и частоты проверок и технического обслуживания.
d) Инструкция по очистке.
e) Информация, например чертежи и схемы, позволяющие обученному персоналу проводить поиск неисправностей, обслуживание и ремонт.
f) Детали испытаний, необходимых после замены компонентов, чтобы установить, что функции устройства соответствуют проекту.
g) Предупреждение о том, что все крышки, зажимы, окантовочные планки и крепления, снятые во время технического обслуживания, должны быть отремонтированы после технического обслуживания и что, если такие детали не установлены должным образом, требования к устройству не могут быть выполнены.
h) Перечень элементов, заменяемых пользователем, указан достаточно подробно, чтобы поддерживать систему, которая соответствует настоящему стандарту.
i) Указание тех компонентов, которые могут быть заменены пользователем, и предупреждение о том, что могут использоваться только компоненты, одобренные изготовителем.
j) Название и адрес изготовителя и компетентной сервисной организации.
6.2.7 Требования к обучению
В руководстве по эксплуатации должны быть даны рекомендации по минимальным требованиям к обучению персонала пользователя, включая монтажников, операторов и обслуживающий/инспекционный персонал, чтобы убедиться, что устройства устанавливаются, используются и обслуживаются в соответствии с настоящим стандартом.
6.2.8 Периодические испытания
Инструкция по эксплуатации должна содержать информацию о проверках датчика в процессе эксплуатации. Для этой цели требуется следующая информация:
a) заявление о том, что датчик должен периодически испытываться с приложением статической силы 300 Н через плоскую поверхность диаметром 80 мм (соответствует испытательному образцу 2) в пределах эффективной сенсорной зоны;
b) указание на то, что интервал испытаний зависит от использования коврика или пола и что он должен быть указан оператором в соответствии с требованиями национального законодательства;
c) указание максимального интервала испытаний, например испытание не реже одного раза в три месяца.
7.1.1 Типовые испытания N 1 - 17, приведенные в
7.4 -
7.20, должны быть проведены для определения того, что коврик или пол соответствует требованиям настоящего стандарта. Если только не указано иное, типовые испытания должны проводиться на готовом к использованию коврике или полу при температуре (23 +/- 5) °C.
Ниже приведены некоторые факторы, которые могут повлиять на характеристики коврика или пола:
a) размер площади поверхности датчика;
b) материал верхнего или дополнительного покрытия эффективной сенсорной зоны;
c) комбинация датчиков;
d) длина соединительных кабелей или трубок.
Следовательно, каждое из испытаний по
7.4 -
7.20 следует проводить при наименее благоприятном сочетании этих факторов.
7.1.2 Если не указаны специальные методы испытаний, проверка должна проводиться путем осмотра.
7.2 Образец для испытаний датчика
Образцы для испытаний должны иметь датчик(и) размером не менее (0,5 x 1,0) м.
Если коврик или пол имеют только один датчик, требуется два датчика для испытаний. Один датчик должен использоваться для проверки требований
4.2,
4.3,
4.4 и
4.5.1.1 (100 000 операций в каждом из пяти мест, что в сумме дает 500 000 операций). Другой датчик используется для проверки требований
4.5.1.2 (один миллион операций в одном месте) и
4.10.
Если коврик или пол рассчитаны на создание эффективной сенсорной поверхности на основе комбинации датчиков, то требуется количество датчиков для соединения с одним блоком управления. Комбинация датчиков должна использоваться для проверки требований
4.2 и
4.3. Датчик, выбранный для места локации с 1 по 16 в соответствии с
рисунком 3, должен использоваться для проверки требования
4.4. Один из остальных датчиков должен использоваться для проверки требований
4.5.1.2 (один миллион операций в одном месте) и
4.10. После испытаний должно быть проверено требование
4.5.2.
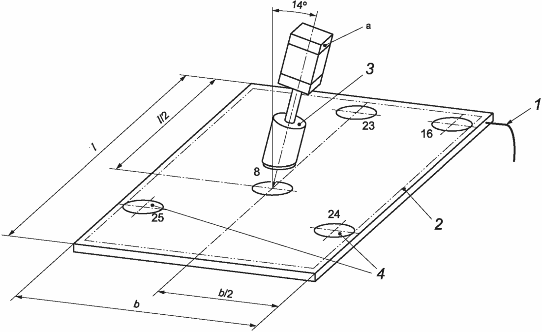
Условные обозначения:
1 - соединительный кабель (образец); 2 - зона
нечувствительности (мертвая зона); a, b - расстояния между
испытательными точками; d - диаметр соответствующего
образца для испытаний
Рисунок 3 - Испытательные точки эффективной сенсорной
зоны одиночного датчика
7.3 Образцы для испытаний под нагрузкой
Настоящие испытания должны проводиться с образцами для испытаний, показанными на
рисунке 2. Образцы для испытаний должны быть изготовлены из алюминиевого сплава, если иное не указано на
рисунке 2.
7.4 Испытание N 1. Активирующее усилие
7.4.1 Одиночный датчик при температуре окружающей среды
Образцы для испытаний и их соответствующие активирующие усилия в соответствии с
таблицей 1 должны быть приложены перпендикулярно эффективной сенсорной зоне во всех местах, показанных на
рисунке 3, и в пяти местах, которые считаются критически важными для выполнения требований по активирующему усилию/отклику
4.2 (см.
приложение C). На
рисунках 3,
4 и
5 диаметры кружков, показанных для местоположений, представляют диаметр соответствующего образца для испытаний.
Условные обозначения:
1 - соединительный кабель (образец);
2 - зона нечувствительности; 3 - соединительная линия;
b - расстояние между испытательными точками
Рисунок 4 - Испытательные точки на стыках между датчиками
Условные обозначения:
1 - соединительный кабель (образец);
2 - зона нечувствительности; 3 - соединительная линия;
a, b - расстояния между испытательными точками
Рисунок 5 - Испытательные точки на стыках и на соединении
между датчиками
Образец для испытания 4 следует применять только в том случае, если коврик или пол спроектированы для обнаружения людей (например, детей) весом более 20 кг. Дополнительные испытания проводятся на одном из произвольных местоположений с образцом для испытаний 2 в пределах заданных вариантов питания.
7.4.2 Одиночный датчик в указанном диапазоне рабочих температур
Образцы для испытаний и их соответствующие активирующие усилия в соответствии с
таблицей 1 должны быть приложены перпендикулярно эффективной сенсорной зоне в точках 1, 8 и 16, как показано на
рисунке 3, в пределах диапазона и начиная с самой высокой температуры. Датчик должен достичь температурного равновесия перед испытанием.
Если активирующее усилие, необходимое для приведения в действие устройства переключения выходного сигнала, в любом случае более чем на 10% ниже усилия, указанного в
таблице 1 для соответствующего образца, предполагается, что коврик или пол дают аналогичные результаты по всей площади. Если усилие не находится в этих пределах, но ниже уровня, указанного в
таблице 1, то испытание проводится в пределах температурного диапазона во всех местах на датчиках, показанных на
рисунке 3, а также на критических пунктах, указанных в
7.4.1.
7.4.3 Комбинация датчиков при температуре окружающей среды
Если два или более датчика объединены в одну эффективную сенсорную зону, проводятся те же испытания, что и по
7.4.1, на одном датчике при температуре окружающей среды. Кроме того, следующие испытательные образцы должны быть приложены перпендикулярно к эффективной сенсорной зоне в местах на соединениях в соответствии с
рисунком 4 или местах на стыке и соединении согласно
рисунку 5 - в зависимости от ситуации:
- для ковриков и полов, предназначенных для распознавания людей весом более 35 кг: испытательный образец 2 и его активирующее усилие - в соответствии с
таблицей 1;
- для ковриков и полов, предназначенных для распознавания людей (например, детей) весом более 20 кг: испытательные образцы 2 и 4 и их активирующие усилия указаны в
таблице 1.
7.4.4 Комбинации датчиков в указанном диапазоне рабочих температур
Если два или более датчика объединены в одну эффективную сенсорную зону, проводятся те же испытания, что и по
7.4.2, на одном датчике в пределах диапазона температур. Датчики должны достичь температурного равновесия перед испытанием.
Кроме того, следующие испытательные образцы должны быть приложены перпендикулярно к эффективной зоне обнаружения на места 17, 19 и 21 в соответствии с
рисунком 4, в пределах температуры или места 17, 19, 22, 27 и 28 только в соответствии с
рисунком 5 и при соответствующих пределах рабочих температур:
- для ковриков и полов, предназначенных для обнаружения людей весом более 35 кг: образец 2 и его активирующее усилие - в соответствии с
таблицей 1;
- для ковриков и полов, предназначенных для обнаружения людей (например, детей) массой более 20 кг: испытательные образцы 2 и 4 и их активирующие усилия - в соответствии с
таблицей 1.
7.5 Испытание N 2. Время отклика
Для этого испытания следует использовать конфигурацию датчика, которая, по предположению, даст наибольшее время отклика.
Время отклика измеряется с помощью образца для испытаний 7 (см.
рисунок 6),

массой и диаметром
d образца для испытаний 2 в соответствии с
таблицей 1. Если коврик или пол предназначены для распознавания людей (например, детей) весом более 20 кг, испытание проводят с использованием образца 8 (см.
рисунок 6),

массы и диаметром
d образца для испытаний 4 по
таблице 1.
Условные обозначения:
1 - соединительный кабель; 2 - изоляция; d - диаметр;
a - предложение только по монтажу; b - пропускание
Рисунок 6 - Образцы для испытаний 7 и 8.
Используются для измерения времени отклика
Образцы для испытаний (см.
рисунок 6) сконструированы таким образом, что, когда нижняя часть образца для испытаний касается эффективной сенсорной зоны с усилием менее 10 Н, вырабатывается электрический сигнал. Образцы для испытаний должны прикладываться перпендикулярно со скоростью

к эффективной сенсорной зоне. Время между инициированием электрического сигнала от образца для испытаний и начала разомкнутого состояния "ВЫКЛ" устройства переключения выходного сигнала должно быть измерено. Испытания должны проводиться в точках 1, 4, 8 и 16, как показано на
рисунке 3, и в случайном месте, которое, как ожидается, даст наибольшее время отклика.
При расположении комбинации датчиков в соответствии с
рисунком 4 испытания проводят в местах 1, 4, 8 и 16, показанных на
рисунке 3, в случайном порядке на датчике, который, как ожидается, даст наибольшее время отклика вследствие его расположения в комбинации, и в местах 17 и 19 в соответствии с
рисунком 4.
При расположении комбинации датчиков в соответствии с
рисунком 5 испытания проводят в местах 1, 4, 8 и 16, показанных на
рисунке 3, в случайном месте на датчике, который, как ожидается, даст самое длинное время отклика вследствие его расположения в комбинации, а также в местах 17, 19, 22, 27 и 28 в соответствии с
рисунком 5.
Испытания должны проводиться во всех указанных выше местоположениях при температуре (23 +/- 5) °C.
В пределах указанного диапазона температур испытания проводят только в местах 1 и 16, показанных на
рисунке 3, и в точке 17, показанной на
рисунке 4, или в точках 17, 22 и 27, показанных на
рисунке 5.
Дополнительные испытания должны проводиться в одном произвольном месте на одном датчике при температуре (23 +/- 5) °C в пределах заданного диапазона изменения электропитания. Максимальное измеренное время должно быть меньше или равняться заявленному времени отклика.
7.6 Испытание N 3. Статическая нагрузка
7.6.1 Статическая сила (2000 +/- 50) Н должна быть приложена перпендикулярно к эффективной сенсорной зоне через образец 2 (см.
рисунок 2) в течение 8 ч на датчике в произвольном порядке в пределах 120 мм от края эффективной сенсорной зоны.
Устройство переключения выходного сигнала должно перейти в замкнутое состояние "ВКЛ" в течение 2 мин после снятия приложенного усилия; если система имеет сброс, он должен быть приведен в действие. Деформация поверхности эффективной сенсорной зоны, вызванная образцом для испытания, должна быть измерена через 1 ч после прекращения действия усилия. Глубина деформации не должна превышать 2 мм, измеренная от самой нижней части верхней поверхности.
7.6.2 Статическая сила (750 +/- 20) Н должна быть приложена перпендикулярно к эффективной сенсорной зоне через образец 1 (см.
рисунок 2) в течение 8 ч - в другом месте в пределах 120 мм от края эффективной сенсорной зоны.
Устройство переключения выходного сигнала должно перейти в разомкнутое состояние "ВКЛ" в течение 2 мин после снятия подачи усилия; если система имеет сброс, он должен быть приведен в действие. Деформация поверхности эффективной сенсорной зоны, создаваемая образцом для испытания, должна быть измерена через 1 ч после прекращения действия усилия. Глубина деформации не должна превышать 2 мм, измеренная от самой нижней части верхней поверхности.
7.6.3 В течение 30 мин после измерения деформации по
7.6.1 и
7.6.2 активирующее усилие и время отклика должны быть проверены в месте проведения испытания. Для проверки активирующей силы и времени отклика необходимо применить испытательный образец 2 (см.
таблицу 1). Образец 4 также применяют, когда коврики и полы предназначены для распознавания людей (например, детей) весом более 20 кг.
7.6.4 Для полов, встроенных в машину, испытания по
7.6.1 до
7.6.3 должны выполняться после установки пола в машине или в условиях, имитирующих предполагаемую установку.
Место, используемое для приложения силы, должно быть выбрано таким образом, чтобы обеспечивалась наибольшая предполагаемая деформация (например, по возможности дальше от опорных точек или опорных поверхностей сенсорной пластины датчика).
7.7 Испытание N 4. Количество операций
7.7.1 Испытания по требованию
4.5.1.1 (100 000 операций в каждом из пяти мест) должны проводиться, как показано на
рисунках 7 и
8, с использованием образца 6 (см.
рисунок 2). Приведение в действие должно осуществляться путем подачи рабочего давления (3,8 +/- 0,2) бар к пневмоцилиндру в соответствии с ISO 15552 диаметром 50 мм и ходом 125 мм. Это рабочее давление также должно существовать на входе клапана (управление цилиндром) в момент, когда испытуемый образец соприкасается с эффективной сенсорной зоной. Это может быть достигнуто с помощью клапана с номинальным диаметром 6 мм, который напрямую соединен с пневматическим цилиндром или через короткую воздушную линию. Эта линия должна иметь номинальный диаметр не менее 10 мм и длину менее 200 мм. Клапан управления потоком должен быть установлен на стороне выхода для достижения скорости удара

образца для испытаний.
Условные обозначения:
1 - соединительный кабель (образец); 2 - зона
нечувствительности; 3 - испытательный образец 6
(см.
рисунок 2);
4 - случайные локации;
l - длина датчика;
b - ширина датчика; a - внутренний диаметр пневматического
цилиндра 50 мм, ход 125 мм в соответствии с ISO 15552
Рисунок 7 - Расположение пневматического цилиндра и места
для испытания "Количество операций", применяемого
к одиночному датчику (горизонтальная составляющая усилия,
действующая параллельно самому длинному краю датчика)
Условные обозначения:
1 - соединительный кабель (образец); 2 - зона
нечувствительности;
3 - образец 6 (см.
рисунок 2);
4 - случайные локации; l - длина датчика; b - ширина
датчика; a - внутренний диаметр пневматического
цилиндра 50 мм, ход 125 мм в соответствии с ISO 15552
Рисунок 8 - Расположение пневматического цилиндра и места
для испытания "Количество операций", применяемого
к одиночному датчику (горизонтальная составляющая усилия,
действующая параллельно кратчайшему краю датчика)
Если эффективная сенсорная зона состоит из комбинации датчиков, испытательный образец 6 должен применяться на местоположения 8, 16, 23, 24 и 26, как показано на
рисунках 9 и
10. Одно из этих местоположений должно совпадать с местом, где было выполнено испытание
7.6.1. Для этого испытания операции через образец 6 (см.
рисунок 2) в эффективной сенсорной зоне должны проводиться в двух направлениях, показанных на
рисунках 7 -
10. В каждом направлении должно быть выполнено 50 000 операций в каждом месте (что в итоге дает 100 000 операций всего). Во время настоящего испытания испытуемый образец 6 прикладывают по 20 раз к каждому месту последовательно до тех пор, пока всего будет выполнено 50 000 операций на каждом месте и в каждом направлении.
Условные обозначения:
1 - соединительный кабель (пример); 2 - зона
нечувствительности;
3 - образец 6 (см.
рисунок 2);
4 - случайные локации; 5 - случайные места на линии стыка;
6 - соединительная линия; l - длина датчика; b - ширина
датчика; a - внутренний диаметр пневматического цилиндра
составляет 50 мм, ход 125 мм в соответствии с ISO 15552
Рисунок 9 - Схема пневматики для испытания "Число операций"
применительно к комбинации датчиков (горизонтальная
составляющая усилия, действующая параллельно самому
длинному краю датчика)
Условные обозначения:
1 - соединительный кабель (образец); 2 - зона
нечувствительности;
3 - образец 6 по
рисунку 2;
4 - случайные локации; 5 - случайные локации на линии стыка;
6 - соединительная линия; l - длина датчика; b - ширина
датчика; a - внутренний диаметр пневматического цилиндра
50 мм, ход 125 мм в соответствии с ISO 15552
Рисунок 10 - Расположение пневматического цилиндра и места
для испытания "Количество операций", применяемого
к комбинации датчиков (горизонтальная составляющая силы,
действующая параллельно кратчайшему краю датчика)
Во время настоящего испытания устройство переключения выходного сигнала подключается к датчику, и коврик или пол должны быть в рабочем состоянии. Датчик должен фиксироваться с помощью крепления элементов, указанных изготовителем в руководстве по эксплуатации.
7.7.2 Проверка требования
4.5.1.2 (один миллион операций в одном месте) должна проводиться на одиночный датчик с отключенным устройством переключения выходного сигнала, путем применения образца 5 (см.
рисунок 2) массой (75 +/- 1) кг и со скоростью вертикального удара

. Образец для испытаний должен быть приложен один миллион раз в случайном месте на линии на расстоянии 120 мм от края эффективной сенсорной зоны.
Поверхность испытательного оборудования, которая поддерживает датчик, не должна перемещаться более чем на 1,0 мм в направлении вертикали во время выполнения испытания.
Для этого испытания время одного интервала активирования должно составлять

. Во время каждого интервала испытательный образец 5 должен прикасаться к эффективной сенсорной зоне в течение (0,8 +/- 0,2) с.
7.7.3 Функционирование коврика или пола должно быть проверено сразу после завершения испытаний, требуемых по
7.7.1 и
7.7.2. Испытание активизирующей силы/отклика по
7.4 должно быть выполнено с использованием испытательного образца 2 (см.
рисунок 2), и должно быть выполнено испытание на время отклика, указанное в
7.5 с использованием образца 7 (см.
рисунок 6) в местах, где проводились испытания по
7.7.1 и
7.7.2. После завершения испытаний по
7.7.1 и
7.7.2 коврик или пол должен соответствовать требованиям
4.2 и
4.3.
Если коврик или пол предназначены для обнаружения людей (например, детей) массой более 20 кг, следует провести дополнительные испытания на активирующее усилие с использованием образца 4 (см.
рисунок 2 и
таблицу 1), а время отклика с использованием образца 8 (см.
рисунок 6) должно применяться к тем же местам, как предыдущие испытания.
7.8 Испытание N 5. Выходное состояние датчика
Испытательный образец 2 (см.
рисунок 2) с надлежащим активирующим усилием в соответствии с
таблицей 1 должен быть приложен перпендикулярно к эффективной сенсорной зоне, в одной случайно выбранной позиции в течение не более 8 ч с включенным питанием датчика, а также датчика в выключенном состоянии и с включенным питанием после приложения усилия.
Если предусмотрен сброс, он должен быть приведен в действие.
Выходное состояние датчика должно измениться при приложении к нему активирующего усилия и при включении питания при наличии активирующего усилия.
Выходное состояние датчика должно оставаться в этом состоянии до тех пор, пока активирующее усилие не будет снято в соответствии с
рисунками A.1,
A.2 и
A.3.
Во время выполнения этого испытания выходной уровень датчика не должен изменяться так, чтобы выходной переключатель возвратился в замкнутое состояние ("ВКЛ").
7.9 Испытание N 6. Реакция устройства переключения выходного сигнала на активирующее усилие
Взаимодействие отдельных функций, как показано на
рисунках A.1,
A.2 и
A.3, должно быть испытано с использованием испытательного образца 2 (см.
рисунок 2) с соответствующим активирующим усилием в соответствии с
таблицей 1, приложенным перпендикулярно к эффективной сенсорной зоне в одной случайной позиции при комнатной температуре.
7.10 Испытание N 7. Доступ для технического обслуживания
Проверка осуществляется путем осмотра.
7.11 Испытание N 8. Регулировки
Проверка должна заключаться в осмотре и замене узлов, разрешенных изготовителем.
7.12 Испытание N 9. Соединения
Все непохожие вставные компоненты, взаимозаменяемые внутри коврика или пола, должны заменяться по одному, и каждый вставной компонент должен отключаться при включении питания.
7.13 Испытание N 10. Внешние условия
7.13.1 Функциональное испытание
В начале и в конце испытаний по
7.13.2 -
7.13.5 функции коврика и пола должны быть проверены с использованием испытательного образца 2 (см.
рисунок 2) с его соответствующим активирующим усилием по
таблице 1, приложенным перпендикулярно со скоростью (100 +/- 5) мм·с
-1 к эффективной сенсорной зоне в одной случайной позиции при комнатной температуре. Во время этой процедуры устройство переключения выходного сигнала должно измениться из состояния "ВКЛ" в состояние "ВЫКЛ".
7.13.2 Испытание N 10.1. Температура
Испытание проводят в соответствии с
таблицей 2 в диапазоне температур, указанном изготовителем.
Таблица 2
Метод испытаний | Примечания |
IEC 60068-2-14, Испытание Nb | Коврик или пол подключается к источнику питания |
Для нагрева и охлаждения скорость изменения температуры должна составлять (0,8 +/- 0,3) °C/мин на всем протяжении диапазона температур. Во время испытания, которое должно проводиться в соответствии с IEC 60068-2-14, функциональное испытание по
7.13.1 должно проводиться с интервалом в 1 мин. Настоящее испытание может быть выполнено с помощью датчика с эффективной сенсорной зоной, меньше указанной в
пункте 7.2. Размеры эффективной сенсорной зоны должны составлять не менее 400 x 200 мм.
7.13.3 Испытание N 10.2. Влажность
Требования, касающиеся устойчивости к влаге, должны быть проверены по
таблице 3 в четырехдневный срок.
Таблица 3
Метод испытаний | Примечания |
IEC 60068-2-78, Испытательная камера температура: (40 +/- 2) °C относительная влажность: (93 +/- 3)% | Коврик или пол не подключен к источнику питания |
Сразу после испытания на влагостойкость сопротивление изоляции должно соответствовать IEC 61439-1:2011, 11.9.
7.13.4 Испытание N 10.3. Электромагнитная совместимость (помехоустойчивость)
Требования, связанные с безопасностью, должны быть проверены в соответствии с IEC 61000-6-2.
Помехоустойчивость должна быть проверена для следующих состояний в соответствии с процедурами испытаний с указанными характеристическими значениями, приведенными в
таблице 4, и в условиях, указанных в
7.13.1:
- коврик или пол с подводом энергии;
- коврик или пол с подводом энергии с приложенным активирующим усилием;
- коврик или пол с подводом энергии, после снятия активирующего усилия и до выполнения сброса.
Таблица 4
Электромагнитная совместимость (защищенность)
Испытания и характерные значения | Методы испытаний |
Установка выброса, класс 3 | IEC 61000-4-5 (питание, заземление и линии входа/выхода) |
Быстроизменяющиеся и импульсные электрические сигналы, уровень 3 | IEC 61000-4-4 (продолжительность испытания: 2 минуты, питание, заземление и линии входа/выхода) |
Электростатический разряд, уровень 3 | IEC 61000-4-2 |
Радиочастотное электромагнитное излучение, уровень 3 | IEC 61000-4-3 |
7.13.5 Испытание N 10.4. Вибрация
Требования к вибрации на блоке управления и устройстве переключения выходного сигнала должны быть проверены в соответствии с
таблицей 5. Должно быть проведено функциональное испытание в соответствии с
7.13.1 в начале и в конце испытания и с 10-секундными интервалами во время этого испытания.
Таблица 5
Метод испытаний | Примечания |
IEC 60068-2-6, испытание Fc | Коврик или пол присоединен к источнику питания |
7.14 Испытание N 11. Электропитание
Требования
4.12.1 должны быть проверены в соответствии с IEC 60204-1:2005, раздел 4.
7.15 Испытание N 12. Электрооборудование
Следует проверить соответствие электрического оборудования требованиям
4.13.
7.16 Испытание N 13. Корпус
Все корпуса должны быть испытаны в соответствии с IEC 60529.
7.17 Испытание N 14. Уровень эффективности защиты PL по ISO 13849-1
Функции и категории безопасности должны быть подтверждены в соответствии с ISO 13849-2. Достигнутый уровень эффективности защиты PL необходимо сравнить с требуемым PL.
7.18 Испытание N 15. Сопротивление скольжению
Примечание - На момент публикации настоящего стандарта не существовало стандарта, который рассматривал бы испытание на сопротивление скольжению. Общие рекомендации приведены в ISO 14122-2.
7.19 Испытание N 16. Дополнительные покрытия верхних поверхностей датчика
Настоящее испытание проводят путем выбора наименее благоприятной комбинации факторов для каждого испытания согласно
7.1 -
7.18.
7.20 Испытание N 17. Неисправность из-за блокировки или заклинивания
Требование
4.20 должно быть подтверждено осмотром и, если возникают вопросы, то специальным испытанием.
(обязательное)
ДИАГРАММЫ ДЛЯ КОВРИКОВ/ПОЛОВ
С ФУНКЦИЕЙ ВОССТАНОВЛЕНИЯ (СБРОСА) И БЕЗ НЕЕ
На
рисунках A.1 -
A.3 показана реакция (отклик) устройства переключения выходного сигнала на активирующее усилие (см.
4.7).
Условные обозначения:
a) - питание коврика/пола; b) - активирующее усилие;
c) - сигнал сброса; d) - выход датчика; e) - выход
устройства переключения выходного сигнала; t - время;
tr - время отклика
A - подача питания на коврик или пол "ВКЛ": выход устройства переключения выходного сигнала остается в выключенном состоянии, поскольку коврик или пол не сбрасываются;
B - достигнутый сброс: выход устройства переключения выходного сигнала переходит в замкнутое состояние "ВКЛ", поскольку выход датчика включен из-за срабатывания кнопки сброса без приложения активирующего усилия к датчику;
C - выход устройства переключения выходного сигнала переходит в разомкнутое состояние "ВЫКЛ", поскольку выход датчика выключен из-за активирующего усилия на датчик;
D - начальная точка сигнала сброса: действие кнопки сброса не влияет на выход устройства переключения выходного сигнала, поскольку сигнал еще не завершен, а активирующее усилие все еще присутствует;
E - присутствовал сигнал сброса: прекращение сигнала сброса не влияет на выход устройства переключения выходного сигнала до тех пор, пока усилие присутствует на датчике; выход устройства переключения выходного сигнала остается в разомкнутом состоянии "ВЫКЛ";
F - активирующее усилие снято с датчика: выход устройства переключения выходного сигнала остается в разомкнутом состоянии "ВЫКЛ", т.к. сброс не применяется;
G - сброс достигнут: выход устройства переключения выходного сигнала переходит в замкнутое состояние "ВКЛ", поскольку выход датчика включен из-за срабатывания кнопки сброса без приложения активирующего усилия к датчику;
H - подача питания на коврик или пол переходит в разомкнутое состояние "ВЫКЛ": выход устройства переключения выходного сигнала переходит в состояние "ВЫКЛ", поскольку выход датчика выключен
Рисунок A.1 - Зависимость между активирующим усилием,
сигналом сброса, выходным сигналом датчика и выходным
сигналом устройств(а) переключения выходного сигнала
(выход датчика инициируется сбросом)
Условные обозначения:
a) - питание коврика/пола; b) - активирующее усилие;
c) - сигнал сброса; d) - выход датчика; e) - выход
устройства (устройств) переключения выходного сигнала;
t - время; tr - время отклика
A - подача питания на коврик или пол "ВКЛ": выход устройства переключения выходного сигнала остается в выключенном состоянии, поскольку коврик или пол не сбрасываются; выход датчика включается, когда питание включено;
B - сброс достигается без приложения усилия к датчику: выход устройства переключения выходного сигнала переходит в замкнутое состояние "ВКЛ" вследствие срабатывания кнопки сброса при включенном выходе датчика;
C - активирующее усилие на датчик: выход датчика отключен, выход устройства переключения выходного сигнала переходит в выключенное состояние;
D - начальная точка сигнала сброса: действие кнопки сброса не влияет на выход переключения выходного сигнала устройства, поскольку сигнал еще не завершен, а приводное усилие все еще присутствует;
E - присутствовал сигнал сброса: прекращение сигнала сброса не влияет на выход устройства переключения выходного сигнала до тех пор, пока усилие присутствует на датчике; выход устройства переключения выходного сигнала остается в разомкнутом состоянии "ВЫКЛ";
F - активирующее усилие снято с датчика: выход датчика включается, но выход устройства переключения выходного сигнала остается в разомкнутом состоянии "ВЫКЛ", поскольку сброс не применяется после снятия усилия;
G - сброс достигается без приложения активирующего усилия к датчику: выход устройства переключения выходного сигнала переходит в замкнутое состояние "ВКЛ" из-за нажатия кнопки сброса при включенном выходе датчика;
H - подача питания на коврик или пол "ВЫКЛ": выход устройства переключения выходного сигнала переходит в разомкнутое состояние "ВЫКЛ", поскольку выход датчика выключен
Рисунок A.2 - Соотношение между активирующей силой,
сигналом сброса, выходным сигналом датчика и выходным
сигналом устройства переключения выходного сигнала
(выход датчика не зависит от сброса)
Условные обозначения:
a) - питание коврика/пола; b) - активирующее усилие;
c) - выход датчика; d) - выход устройства (устройств)
переключения выходного сигнала; t - время;
tr - время отклика
A - включение питания коврика или пола: выход датчика включается при включении питания;
B - выход устройства переключения выходного сигнала переходит в замкнутое состояние "ВКЛ", поскольку на датчик не действует активирующее усилие;
C - активирующее усилие на датчик: выход датчика отключается, переключая выход устройства переключения выходного сигнала в положение "ВЫКЛ";
G - выход устройства переключения выходного сигнала переходит в состояние "ВКЛ", так как выход датчика включается из-за снятия активирующего усилия с датчика;
H - подача питания на коврик или пол "ВЫКЛ": выход устройства переключения выходного сигнала переходит в состояние "ВЫКЛ", поскольку выход датчика выключен
Примечание - Сброс обеспечивается системой управления машины, см.
рисунок 1 и
4.7.2.
Рисунок A.3 - Зависимость между активирующей силой, выходным
сигналом датчика и выходным сигналом устройства переключения
(без сброса)
(справочное)
РЕКОМЕНДАЦИИ ПО ПРИМЕНЕНИЮ
B.1 Общие положения
Настоящие рекомендации по применению представлены для изготовителей в качестве рекомендаций для включения в инструкцию по эксплуатации. При выборе ковриков или полов необходимо составить план, который содержит, среди прочего, рекомендации, приведенные в
B.2 -
B.5.
B.2 Монтажная поверхность (расположение)
Качество поверхности должно соответствовать требованиям, заявленным изготовителем.
Пример - Неровности могут нарушить работу датчика коврика или пола и, следовательно, должны быть уменьшены до приемлемого минимума.
Следует учитывать точки ввода кабеля к датчикам, чтобы обеспечить:
- расположение блоков управления в соответствующих местах;
- отсутствие опасности споткнуться из-за соединительных кабелей;
- отсутствие в защищаемых зонах зоны нечувствительности.
Пример - Датчики могут иметь зону нечувствительности рядом с точкой ввода соединительных кабелей.
B.3 Размер датчика
При рассмотрении размеров датчика следует учитывать минимальное расстояние до опасной зоны согласно ISO 13855.
B.4 Критерии выбора
Ниже приведены некоторые особенности, которые следует учитывать при выборе системы:
a) подходит ли коврик или пол или требуются дополнительные меры (например, ограждения);
b) определение требуемой категории и PL для связанных с безопасностью частей системы управления коврика или пола в соответствии с ISO 13849-1 и/или соответствующим стандартом типа C;
c) использовать как отдельное устройство или в сочетании с другими устройствами;
d) возможность комбинировать датчики;
e) избегание зон нечувствительности;
f) частота рабочих циклов и срок службы системы;
g) способность устройства переключения выходного сигнала;
h) статическая нагрузка, например, когда части машин опираются на поверхность;
i) нагрузка колесным транспортом, т.е. вождение, торможение и повороты;
j) температура и влажность;
k) резкие перепады температуры и влажности;
l) воздействия химических веществ, таких как масла, растворители, смазочно-охлаждающие жидкости и их комбинации;
m) последствия наводнения, т.е. при очистке и при протечках;
n) воздействие инородных тел, таких как стружка, пыль и песок;
o) дополнительное покрытие датчика;
p) нагрузки от вибрации, ударов и т.п.;
q) сильные электромагнитные помехи, такие как некоторые типы сварочного оборудования и радиопередатчики;
r) колебания напряжения питания за пределами технического требования, приведенного в IEC 60204-1, которые могут быть вызваны переключениями больших нагрузок;
s) уровни чувствительности, которые могут отличаться от требований настоящего стандарта;
t) необходимость сброса и расположение кнопки сброса;
u) необходимость специальных формулировок, знаков и маркировки;
v) крепление датчика.
B.5 Сравнение правильно спроектированной и неправильно спроектированной установки
a - установлены дополнительные стационарные ограждения, препятствующие доступу в опасную зону машины;
b - стационарное ограждение устроено и сконструировано таким образом, что доступ в опасную зону между фиксированным ограждением и датчиками отсутствует. Стационарное ограждение обеспечивает доступ в опасную зону только через датчики;
c - наклонная крышка не позволяет оператору стоять сбоку от эффективного сенсорного поля и в опасной зоне;
d - датчики установлены правильно;
e - зоны нечувствительности датчиков расположены таким образом, что защитная функция не нарушается;
f - опасность споткнуться о край датчика снижается за счет пандуса в точке доступа. Пандус может также защитить соединительные кабели;
g - кабельный канал устанавливается снаружи стационарного ограждения;
h - кнопка сброса расположена в хорошо защищенном месте, откуда полностью видна опасная зона
Рисунок B.1 - Правильно спроектированная установка
a - стационарных ограждений опасной зоны недостаточно;
b - опасная зона не защищена сзади и доступна над стационарным ограждением и под ограждением, которое является слишком малым;
c - оператор может стоять на опорной плите машины в опасной зоне;
d - датчики не закреплены должным образом;
e - зоны нечувствительности датчиков расположены так, что оператор может добраться до опасной зоны;
f - незащищенные края датчиков и тянущиеся кабели представляют опасность споткнуться, они не защищены от механических повреждений;
g - кабельный канал установлен внутри стационарного ограждения и может использоваться не по назначению для обеспечения доступа к опасным местам зоны;
h - блок управления установлен в уязвимой позиции и может быть подвержен механическим повреждениям при прохождении транспорта;
i - датчики не должны устанавливаться на транспортных путях;
j - сервисная труба установлена над датчиками. При ее использовании не по назначению может наклониться над датчиками в опасную зону;
k - функционирование и ожидаемый срок службы датчиков будут снижены из-за неровностей грунта;
l - возможен доступ в опасную зону из-за опорных плит стационарного ограждения;
m - датчик не закреплен и представляет опасность споткнуться
Рисунок B.2 - Неправильно спроектированная установка
(справочное)
РЕКОМЕНДАЦИИ ПО ПРОЕКТИРОВАНИЮ
C.1 Общие положения
Настоящие рекомендации по проектированию представлены в качестве руководства для изготовителей, пользователей и органов, проводящих испытания. Невыполнение этих рекомендаций не обязательно означает, что продукт небезопасен. Возможно, например, что конкретная проектная проблема была решена альтернативным способом.
C.2 Условия
C.2.1 Частая активация
При проектировании ковриков и пола следует учитывать тот факт, что они также используются в применениях, где они часто приводятся в действие. В случае использования на производственном оборудовании, например, нагрузку устройства более трех миллионов операций в одной позиции можно ожидать через год. В случае ковриков это может привести к изменению чувствительности в месте приложения усилия стопы.
C.2.2 Редкая активация
При проектировании ковриков и полов следует учитывать тот факт, что они также используются в тех случаях, где они приводятся в действие только время от времени, и тогда они должны обеспечивать надежную работу.
C.2.3 Кабели датчиков
Если для обнаружения повреждения кабеля используются два входящих и два исходящих провода, провода следует подсоединять в противоположных концах контактного элемента для обеспечения целостности контактного элемента. Если провода подключены близко друг к другу и на контактном элементе имеется разомкнутая цепь, может возникнуть небезопасная ситуация.
C.2.4 Исключительно тяжелые нагрузки
В некоторых ситуациях на датчик могут воздействовать тяжелые грузы, например, вилочные погрузчики, во время обслуживания или смены инструмента. Если это требуется, пользователь должен четко обозначить потребность у изготовителя/поставщика.
C.3 Сенсорные коврики
C.3.1 Общие положения
Датчик коврика обычно имеет форму сэндвича, состоящего из верхней поверхности, сенсорного элемента и основания.
C.3.2 Поверхность датчика
Верхняя поверхность датчика должна представлять материал, способный выдерживать ожидаемые рабочие условия. Кроме того, прикладываемые силы не должны приводить к остаточной деформации, способной образовывать "мостики" над деталью эффективного сенсорного поля.
Верхняя поверхность датчика должна быть нескользкой в течение всего срока службы.
Следует учитывать воздействие жидкостей, которые могут воздействовать на верхнюю поверхность датчика при применении. Например, некоторые жидкости могут вызывать долговременное ухудшение или вздутие, что вызовет небезопасное состояние.
C.3.3 Эксплуатационные характеристики датчика
Датчики могут иметь определенные области, которые менее чувствительны, чем другие, а также области, которые более подвержены повреждению, чем другие. Чувствительность часто снижается по краям датчика, вблизи места соединения точки с входными кабелями, трубками, волокнами или соединительными проводами, а также в точках, где разрознены сенсорные пластины. Необходимо учитывать указанные активирующие усилия.
Испытания на долговечность следует проводить в зонах, которые более подвержены повреждениям и преждевременному выходу из строя. Они включают кабельные вводы, соединения между входящим кабелем и датчиком и паяные или другие соединения внутри датчика.
C.3.4 Внутренний воздушный зазор
Любой зазор внутри датчика коврика должен быть сведен к минимуму. Попадание веществ в виде мелких или крупных частиц, паразитов или жидкости, которые могут присутствовать в зоне коврика, может вызвать коррозию датчика или потерю чувствительности.
Не всегда удается обнаружить очень малое отверстие на поверхности коврика во время регулярного осмотра. Однако это отверстие может быть достаточным для проникания инородных тел или жидкости внутрь коврика. Чем больше воздушный зазор, тем больше инородных тел, жидкости или грязи может попасть внутрь через зазор и образовать барьер, препятствующий активации датчика.
C.3.5 Коврики с электрическими датчиками
В некоторых конструкциях используются электрические контактные пластины. Контактные пластины обычно разделены воздушной прослойкой (зазором), закрывающейся при приложении усилия к поверхности. Пружины, изолирующие прокладки или упругая пена разъединяют контактные пластины так, чтобы образовался воздушный зазор. Следует учитывать последствия выхода из строя пружин, изолирующих прокладок, упругой пены и контактных пластин. Следует также учитывать соединения датчиков.
В других типах конструкций электрических датчиков выходной сигнал датчика будет изменяться линейным образом в зависимости от приложенного усилия. Это может быть в виде переменного сопротивления, емкости или другого эффекта.
Следует учитывать долговременную стабильность различных деталей в условиях эксплуатации и последствия попадания воды или других химических веществ.
C.3.6 Коврики с пневматическими датчиками
Если к эффективному сенсорному полю пневматического датчика прикладывается усилие, это создает изменение давления, т.е. сигнал. Время между приложением усилия и выходным сигналом зависит от местоположения приложенного усилия. Следует учитывать максимально длительный период времени.
Целостность пневматического датчика (и пневмосистемы) нарушается, например, при наличии отверстий или разрезов на датчике или когда трубка между датчиком и выключателем сломана. В таких случаях пневматический сигнал не передается в систему управления, и коврики не представляют опасности (т.е. человек, наступивший на коврик, не определяется).
Пневматический датчик не обнаруживает человека, который уже находится рядом с датчиком, при включении питания.
По этим причинам пневматические датчики могут использоваться исключительно в тех случаях, когда существует необходимость снижения только низкого уровня риска.
C.3.7 Коврики с оптоволоконными датчиками
Когда к эффективному чувствительному полю оптоволоконного датчика прикладывается усилие, меняется свет, проходящий через оптическое волокно. Следует учитывать длительные изменения, которые могут произойти в излучателях и детекторах света и в оптическом волокне.
На этапе проектирования следует учесть, чтобы свет не попадал напрямую от излучателя к детектору, минуя оптическое волокно.
C.3.8 Соединительные кабели
На практике можно предвидеть, что датчики можно перетаскивать за соединительные кабели. Как следствие, соединение между соединительным кабелем и датчиком имеет важное значение. Кабель должен выдерживать как резкие, так и устойчивые тяги, и непрерывное сгибание. В качестве альтернативы можно использовать простое средство, с помощью которого кабель отсоединяется без повреждений и покидает безопасную ситуацию.
C.3.9 Опасность споткнуться
Существует опасность споткнуться, когда разница высот соседних горизонтальных поверхностей составляет не менее 4 мм. Должны быть предусмотрены меры, исключающие опасность споткнуться о край датчика. Подходящим решением является установка датчика заподлицо с основанием (землей) или на пандусе с уклоном 20°. Датчики, которые можно комбинировать, должны быть сконструированы таким образом, чтобы они не создавали опасности споткнуться в комбинированном состоянии. Следует учитывать ухудшение с истечением срока службы в неблагоприятных условиях.
C.4 Сенсорные полы
C.4.1 Общие положения
Полы оснащены датчиком с жестким эффективным сенсорным полем, таким как изготовленные стальные пластины.
C.4.2 Поверхности датчика
Верхняя поверхность датчика должна быть из материала, способного выдерживать ожидаемые рабочие условия. Кроме того, прикладываемые силы не должны приводить к остаточной деформации, способной образовывать "мостики" над деталью эффективной сенсорной зоны.
Верхняя поверхность датчика должна быть нескользкой в течение всего срока службы.
Следует учитывать воздействие жидкостей, возможные при применении. Например, некоторые жидкости могут вызвать долговременное ухудшение или вздутие до опасного состояния.
C.4.3 Блокировка хода контакта поверхности датчика
Возможно, движение жесткой сенсорной поверхности может быть заблокировано по следующим причинам:
- заклинивание сенсорной поверхности;
- скопление инородных тел, таких как, например, стружка, пыль и песок под поверхностью датчика;
- коробление поверхности датчика;
- заедание направляющих штифтов поверхности датчика из-за коррозии или обледенения.
Блокирование движения жесткой сенсорной поверхности следует учитывать при оценке риска. Как правило, полы можно использовать только в тех случаях, когда необходимо снижение риска.
C.4.4 Использование позиционных переключателей
C.4.4.1 Если позиционные переключатели используются в полах, их следует выбирать, расположить и интегрировать в систему управления таким образом, чтобы они не могли представлять опасности (см.
рисунок C.1).
Условные обозначения:
1 - подвижная жесткая сенсорная поверхность;
2 - пружина, отталкивающая поверхность датчика назад после схода с пластины;
3 - позиционный переключатель (датчик положения) с прямым механическим управлением;
4 - кулачок, передающий движение поверхности датчика на позиционный переключатель;
5 - позиционный переключатель (датчик положения)
Рисунок C.1 - Использование позиционных переключателей
C.4.4.2 Неисправности позиционных выключателей, используемых в чувствительных к давлению полах, могут быть вызваны:
- коррозией позиционных выключателей вследствие воздействия химических веществ;
- блокировкой позиционных выключателей из-за нечастого использования;
- системами с кулачковым управлением: чрезмерный износ или перекос кулачков;
- тем, что позиционные переключатели ослаблены на кронштейнах, что приводит к смещению.
Неисправности позиционных выключателей следует учитывать при оценке риска. Полы, как правило, можно использовать только в тех случаях, когда требуется лишь незначительное снижение риска.
C.4.5 Соединительные кабели
Соединительные кабели должны быть проложены таким образом, чтобы не создавать опасности спотыкания или зоны нечувствительности и опасности их повреждения.
C.4.6 Опасность споткнуться
Существует опасность споткнуться, когда разница высот смежных горизонтальных поверхностей составляет 4 мм и более. Необходимо предусмотреть меры, исключающие опасность споткнуться на краях датчика. Подходящим решением является установка датчика заподлицо с основанием или на пандусе с уклоном 20°. Датчики, которые могут быть комбинированными, должны быть сконструированы таким образом, чтобы они не создавали опасности спотыкания в комбинированном состоянии. Следует учитывать снижение срока службы в неблагоприятных условиях. Перемещение поверхности датчика не должно быть настолько большим, чтобы возникала опасность спотыкания на ее границах с окружающими неподвижными поверхностями (см.
рисунок C.2).
Условные обозначения:
1 - сенсорная поверхность;
2 - смежные горизонтальные поверхности
C.4.7 Снятие покрытия датчика
Пол должен быть сконструирован таким образом, чтобы снятие покрытия датчика не приводило к неисправности, связанной с опасностью.
Необходимо дополнительное устройство для обнаружения снятия покрытия датчика (не показано на
рисунке C.1).
(справочное)
ПО УСТАНОВКЕ, ВВОДУ В ЭКСПЛУАТАЦИЮ И ИСПЫТАНИЯМ
D.1 Общие положения
Настоящее приложение представлено в качестве рекомендации изготовителям и пользователям по установке, вводу в эксплуатацию, испытаниям после установки и регулярным испытаниям.
Вся информация по установке, техническому обслуживанию и испытанию ковриков и пола должна быть предоставлена пользователю. Должны быть даны рекомендации, включая фиксацию, смазку, регулярные проверки и замену механических и электрических деталей. Пользователи также должны быть обеспечены соответствующими процедурами испытаний или системами для проверки работы коврика или пола в соответствии со спецификацией.
D.2 Установка
D.2.1 Для обеспечения правильной установки должна быть предоставлена информация по механическим и электрическим требованиям для конкретного применения и, при необходимости, сборочные чертежи.
D.2.2 Изготовитель должен указать технические знания и особые навыки, которые требуются для установления коврика или пола.
D.2.3 Должны быть изложены методы испытаний и методы контроля для испытаний после установки.
D.3 Ввод в эксплуатацию
D.3.1 Ввод в эксплуатацию должен включать проверку и испытания, проводимые обученными и компетентными лицами.
D.3.2 Результаты проверки и испытаний должны быть внесены в протокол, а копии этого протокола должны храниться у пользователя.
D.3.3 При вводе в эксплуатацию должны быть выполнены, в частности, следующие проверки:
a) монтажная поверхность и условия окружающей среды подходят для используемого коврика или пола;
b) минимальное расстояние соответствует требованиям ISO 13855;
c) датчик надежно закреплен и не создает опасности спотыкания;
d) отсутствуют зоны нечувствительности, обеспечивающие путь доступа в опасную зону;
e) отключение источника питания с коврика или пола препятствует дальнейшей работе машины, которую нельзя повторно активировать, пока не будет восстановлено питание и не сработает сброс;
f) опасное движение невозможно, пока к эффективной сенсорной зоне приложено активирующее усилие;
g) при необходимости были предусмотрены дополнительные меры безопасности для предотвращения доступа к опасным узлам машин с любого направления, не защищенных ковриком или полом;
h) присутствие человека между опасной зоной и датчиком исключено или, если это невозможно, проверить, приняты ли дополнительные защитные меры;
i) правильность работы всех контрольных ламп;
j) проверены коврик или пол на всем протяжении эффективной сенсорной зоны;
k) поскольку адекватная безопасность, необходимая для машины, зависит от полноты безопасности интерфейса между машиной и ее защитными устройствами, проверено, что категория и/или PL соответствует данным, указанным в соответствии с ISO 13849-1, стандартом типа C или оценкой риска. Тем самым гарантируется, что цепи управления машиной и соединения с защитными устройствами находятся в исправном состоянии в соответствии с интерфейсными соединениями, согласованными между изготовителем системы управления и изготовителем сенсорного защитного устройства;
l) если предусмотрена функция подавления, проверено, что она осуществляется только в штатном режиме машины, например, в период, когда полностью отсутствует опасность (см. ISO 13849-1 и, для проектирования функции подавления, см. также IEC/TS 62046).
D.4 Регулярные проверки и испытания
D.4.1 Рекомендуется проводить регулярные осмотры, проверки и испытания квалифицированными и компетентными специалистами. Изготовитель коврика или пола должен указать частоту проверок, основанную на опыте использования.
D.4.2 Проверки, указанные в
D.3.3, должны периодически повторяться.
D.4.3 Во время периодических проверок установить, что в систему не вносились никакие обновления и не произошли изменения (например, износ прокладок), которые влияют на общую безопасность системы.
D.4.4 Проверить, что все корпуса блоков управления закрыты и находятся в хорошем состоянии и могут быть открыты только с помощью ключа или инструмента. Проверить, что ключи удалены для хранения назначенным персоналом. Если коврик или пол не проходят каких-либо из вышеперечисленных испытаний, их следует изолировать и состояние запротоколировать. Коврик или пол должны быть повторно введены в эксплуатацию только после устранения всех неисправностей.
D.5 Испытания после технического обслуживания
После проведения технического обслуживания необходимо провести полную проверку системы в соответствии с
D.4. Особое внимание следует уделить функционированию тех компонентов, которые были заменены или отремонтированы.
(справочное)
СВЕДЕНИЯ О СООТВЕТСТВИИ ССЫЛОЧНЫХ МЕЖДУНАРОДНЫХ СТАНДАРТОВ
МЕЖГОСУДАРСТВЕННЫМ СТАНДАРТАМ
Таблица ДА.1
Обозначение ссылочного международного стандарта | Степень соответствия | Обозначение и наименование соответствующего межгосударственного стандарта |
ISO 12100:2010 | IDT | ГОСТ ISO 12100-2013 "Безопасность машин. Основные принципы конструирования. Оценки риска и снижения риска" |
ISO 13849-1:2006 | IDT | ГОСТ ISO 13849-1-2014 "Безопасность оборудования. Элементы систем управления, связанные с безопасностью. Часть 1. Общие принципы конструирования" |
ISO 13849-2 | IDT | ГОСТ ISO 13849-2-2023 "Безопасность оборудования. Элементы систем управления, связанные с безопасностью. Часть 1. Общие принципы конструирования" |
ISO 13855 | IDT | ГОСТ ИСО 13855-2006 "Безопасность оборудования. Расположение защитных устройств с учетом скоростей приближения частей тела человека" |
ISO 15552 | - | |
IEC 60068-2-6 | - | |
IEC 60068-2-14 | - | |
IEC 60068-2-78 | - | |
IEC 60204-1:2005 | - | |
IEC 60529 | MOD | |
IEC 61000-4-2 | MOD | ГОСТ 30804.4.2-2013 "Совместимость технических средств электромагнитная. Устойчивость к электростатическим разрядам. Требования и методы испытаний" |
IEC 61000-4-3 | IDT | ГОСТ IEC 61000-4-3-2016 "Электромагнитная совместимость (ЭМС). Часть 4-3. Методы испытаний и измерений. Испытание на устойчивость к излучаемому радиочастотному электромагнитному полю" |
IEC 61000-4-4 | IDT | ГОСТ IEC 61000-4-4-2016 "Электромагнитная совместимость (ЭМС). Часть 4-4. Методы испытаний и измерений. Испытание на устойчивость к электрическим быстрым переходным процессам (пачкам)" |
IEC 61000-4-5 | IDT | ГОСТ IEC 61000-4-5-2017 "Электромагнитная совместимость (ЭМС). Часть 4-5. Методы испытаний и измерений. Испытание на устойчивость к выбросу напряжения" |
IEC 61000-6-2 | MOD | ГОСТ 30804.6.2-2013 "Совместимость технических средств электромагнитная. Устойчивость к электромагнитным помехам технических средств, применяемых в промышленных зонах. Требования и методы испытаний" |
--------------------------------
<1> В Российской Федерации действует
ГОСТ Р МЭК 60068-2-78-2009 "Испытания на воздействия внешних факторов. Часть 2-78. Испытания. Испытание Cab: Влажное тепло, постоянный режим", идентичный IEC 60068-2-78:2001.
<2> В Российской Федерации действует
ГОСТ Р МЭК 60204-1-2007 "Безопасность машин. Электрооборудование машин и механизмов. Часть 1. Общие требования", идентичный IEC 60204-1:2005.
Окончание таблицы ДА.1
Обозначение ссылочного международного стандарта | Степень соответствия | Обозначение и наименование соответствующего межгосударственного стандарта |
IEC 61439-1:2011 | IDT | |
<*> Соответствующий межгосударственный стандарт отсутствует. До его принятия рекомендуется использовать перевод на русский язык данного международного стандарта. Примечание - В настоящей таблице использованы следующие условные обозначения степени соответствия стандартов: - IDT - идентичные стандарты; - MOD - модифицированные стандарты. |
--------------------------------
<1> Действует
ГОСТ IEC 61439-1-2024 "Устройства комплектные низковольтные распределения и управления. Часть 1. Общие требования", идентичный IEC 61439-1:2020.
[1] | ISO 4413 | Hydraulic fluid power - General rules and safety requirements for systems and their components (Гидравлика. Общие правила и требования безопасности, касающиеся систем и их компонентов) |
[2] | ISO 4414 | Pneumatic fluid power - General rules and safety requirements for systems and their components (Пневматика. Общие правила и требования безопасности, касающиеся систем и их компонентов) |
[3] | ISO 7250 (all parts) | Basic human body measurements for technological design (Основные антропометрические измерения для технического проектирования) |
[4] | ISO 11161:2007 | Safety of machinery - Integrated manufacturing systems - Basic requirements (Безопасность машин и механизмов. Интегрированные производственные системы. Основные требования) |
[5] | ISO 11429 | Ergonomics - System of auditory and visual danger and information signals (Эргономика. Система звуковых и визуальных сигналов опасности и информационных сигналов) |
[6] | ISO 13854 | Safety of machinery - Minimum gaps to avoid crushing of parts of the human body (Безопасность машин. Минимальные расстояния, предохраняющие части тела человека от повреждений) |
[7] | ISO 13857 | Safety of machinery - Safety distances to prevent hazard zones being reached by upper and lower limbs (Безопасность машин. Безопасные расстояния для предохранения верхних и нижних конечностей от попадания в опасную зону) |
[8] | ISO 14119 | Safety of machinery - Interlocking devices associated with guards - Principles for design and selection (Безопасность машин. Блокировочные устройства для ограждений. Принципы конструкции и выбора) |
[9] | ISO 14120 | Safety of machinery - Guards - General requirements for the design and construction of fixed and movable guards (Безопасность машин. Защитные ограждения. Общие требования к проектированию и конструированию стационарных и съемных защитных ограждений) |
[10] | ISO 14122-2:2001 | Safety of machinery - Permanent means of access to machinery - Part 2: Working platforms and walkways (Безопасность машин. Постоянные средства доступа к машинам. Часть 2. Рабочие платформы и мостики) |
[11] | IEC 60073 | Basic and safety principles for man-machine interface, marking and identification - Coding principles for indication devices and actuators (Основополагающие принципы и принципы безопасности для интерфейса человек-машина, маркировка и идентификация. Принципы кодирования для индикаторов и пускателей) |
[12] | IEC 61310-1 | Safety of machinery - Indication, marking and actuation - Part 1: Requirements for visual, acoustic and tactile signals (Безопасность машин. Индикация, маркировка и приведение в действие. Часть 1. Требования к визуальным, звуковым и тактильным знакам) |
[13] | IEC 61310-2 | Safety of machinery - Indication, marking and actuation - Part 2: Requirements for marking (Безопасность машинного оборудования. Индикация, маркировка и приведение в действие. Часть 2. Требования для маркировки) |
[14] | IEC 61496-1 | Safety of machinery - Electro-sensitive protective equipment - Part 1: General requirements and tests (Безопасность механизмов. Защитная электрочувствительная аппаратура. Часть 1. Общие требования и испытания) |
[15] | IEC/TS 62046 | Safety of machinery - Application of protective equipment to detect the presence of persons (Безопасность машин. Применение защитного оборудования для обнаружения присутствия людей) |
УДК 62.7:006.354 | | IDT |
Ключевые слова: защитные устройства, чувствительные к давлению, сенсорные ковры, сенсорные полы |