Главная // Актуальные документы // Актуальные документы (обновление 01.02.2026 по 01.03.2026) // ГОСТ (Государственный стандарт)СПРАВКА
Источник публикации
М.: ФГБУ "Институт стандартизации", 2025
Примечание к документу
Документ
вводится в действие с 01.01.2027 с правом досрочного применения.
Название документа
"ГОСТ IEC 61000-4-19-2024. Межгосударственный стандарт. Электромагнитная совместимость. Часть 4-19. Методы испытаний и измерений. Испытание на устойчивость к кондуктивным помехам дифференциального вида и помехам при передаче сигналов в диапазоне частот от 2 до 150 кГц на портах электропитания переменного тока"
(введен в действие Приказом Росстандарта от 13.11.2025 N 1373-ст)
"ГОСТ IEC 61000-4-19-2024. Межгосударственный стандарт. Электромагнитная совместимость. Часть 4-19. Методы испытаний и измерений. Испытание на устойчивость к кондуктивным помехам дифференциального вида и помехам при передаче сигналов в диапазоне частот от 2 до 150 кГц на портах электропитания переменного тока"
(введен в действие Приказом Росстандарта от 13.11.2025 N 1373-ст)
агентства по техническому
регулированию и метрологии
от 13 ноября 2025 г. N 1373-ст
МЕЖГОСУДАРСТВЕННЫЙ СТАНДАРТ
ЭЛЕКТРОМАГНИТНАЯ СОВМЕСТИМОСТЬ
ЧАСТЬ 4-19
МЕТОДЫ ИСПЫТАНИЙ И ИЗМЕРЕНИЙ
ИСПЫТАНИЕ НА УСТОЙЧИВОСТЬ К КОНДУКТИВНЫМ ПОМЕХАМ
ДИФФЕРЕНЦИАЛЬНОГО ВИДА И ПОМЕХАМ ПРИ ПЕРЕДАЧЕ СИГНАЛОВ
В ДИАПАЗОНЕ ЧАСТОТ ОТ 2 ДО 150 кГц НА ПОРТАХ
ЭЛЕКТРОПИТАНИЯ ПЕРЕМЕННОГО ТОКА
Electromagnetic compatibility. Part 4-19. Testing
and measurement techniques. Test for immunity to conducted,
differential mode disturbances and signalling
in the frequency range 2 to 150 kHz at a.c. power ports
(IEC 61000-4-19:2014, Electromagnetic compatibility (EMC) -
Part 4-19: Testing and measurement techniques -
Test for immunity to conducted, differential mode
disturbances and signalling in the frequency range
2 kHz to 150 kHz at a.c. power ports, IDT)
ГОСТ IEC 61000-4-19-2024
Дата введения
1 января 2027 года
с правом досрочного применения
Цели, основные принципы и общие правила проведения работ по межгосударственной стандартизации установлены
ГОСТ 1.0 "Межгосударственная система стандартизации. Основные положения" и
ГОСТ 1.2 "Межгосударственная система стандартизации. Стандарты межгосударственные, правила и рекомендации по межгосударственной стандартизации. Правила разработки, принятия, обновления и отмены"
1 ПОДГОТОВЛЕН Открытым акционерным обществом "Испытания и сертификация бытовой и промышленной продукции "БЕЛЛИС" на основе собственного перевода на русский язык англоязычной версии стандарта, указанного в
пункте 5
2 ВНЕСЕН Государственным комитетом по стандартизации Республики Беларусь
3 ПРИНЯТ Межгосударственным советом по стандартизации, метрологии и сертификации (протокол от 31 мая 2024 г. N 173-П)
За принятие проголосовали:
Краткое наименование страны по МК (ИСО 3166) 004-97 | Код страны по МК (ИСО 3166) 004-97 | Сокращенное наименование национального органа по стандартизации |
Армения | AM | ЗАО "Национальный орган по стандартизации и метрологии" Республики Армения |
Беларусь | BY | Госстандарт Республики Беларусь |
Казахстан | KZ | Госстандарт Республики Казахстан |
Киргизия | KG | Кыргызстандарт |
Россия | RU | Росстандарт |
Таджикистан | TJ | Таджикстандарт |
Узбекистан | UZ | Узбекское агентство по техническому регулированию |
4
Приказом Федерального агентства по техническому регулированию и метрологии от 13 ноября 2025 г. N 1373-ст межгосударственный стандарт ГОСТ IEC 61000-4-19-2024 введен в действие в качестве национального стандарта Российской Федерации с 1 января 2027 г. с правом досрочного применения
5 Настоящий стандарт идентичен международному стандарту IEC 61000-4-19:2014 "Электромагнитная совместимость (ЭМС). Часть 4-19. Методы испытаний и измерений. Испытание на устойчивость к кондуктивным помехам дифференциального вида и помехам при передаче сигналов в диапазоне частот от 2 до 150 кГц на портах электропитания переменного тока" ("Electromagnetic compatibility (EMC) - Part 4-19: Testing and measurement techniques - Test for immunity to conducted, differential mode disturbances and signalling in the frequency range 2 kHz to 150 kHz at a.c. power ports", IDT).
Наименование настоящего стандарта изменено относительно наименования указанного международного стандарта для приведения в соответствие с ГОСТ 1.5-2001
(подраздел 3.6).
Международный стандарт разработан подкомитетом IEC/SC 77A "Низкочастотные явления" Технического комитета по стандартизации IEC/TC 77 "Электромагнитная совместимость" Международной электротехнической комиссии (IEC).
При применении настоящего стандарта рекомендуется использовать вместо ссылочных международных стандартов соответствующие им межгосударственные стандарты, сведения о которых приведены в дополнительном
приложении ДА
6 ВВЕДЕН ВПЕРВЫЕ
Информация о введении в действие (прекращении действия) настоящего стандарта и изменений к нему на территории указанных выше государств публикуется в указателях национальных стандартов, издаваемых в этих государствах, а также в сети Интернет на сайтах соответствующих национальных органов по стандартизации.
В случае пересмотра, изменения или отмены настоящего стандарта соответствующая информация будет опубликована на официальном интернет-сайте Межгосударственного совета по стандартизации, метрологии и сертификации в каталоге "Межгосударственные стандарты"
Стандарты серии IEC 61000 публикуются отдельными частями в соответствии со следующей структурой:
- часть 1: | Общие положения: - Общее рассмотрение (введение, фундаментальные принципы); - Определения, терминология; |
- часть 2: | Электромагнитная обстановка: - Описание электромагнитной обстановки; - Классификация электромагнитной обстановки; - Уровни электромагнитной совместимости; |
- часть 3: | Нормы: - Нормы помехоэмиссии; - Нормы помехоустойчивости (в тех случаях, когда они не являются предметом рассмотрения техническими комитетами, разрабатывающими стандарты на продукцию); |
- часть 4: | Методы испытаний и измерений: - Методы измерений; - Методы испытаний; |
- часть 5: | Руководства по установке и помехоподавлению: - Руководство по установке; - Методы помехоподавления и устройства; |
- часть 6: | Общие стандарты; |
- часть 9: | Разное |
Каждая часть состоит из разделов, которые могут быть опубликованы как международные стандарты или как технические отчеты. Некоторые из них уже опубликованы. Другие будут опубликованы с номером части, за которым следуют дефис и второй номер, идентифицирующий раздел (например, 61000-6-1).
Настоящий стандарт устанавливает требования устойчивости и методы испытаний электрического и электронного оборудования к кондуктивным помехам дифференциального вида и при передаче сигналов в диапазоне частот от 2 до 150 кГц на портах электропитания переменного тока.
Целью настоящего стандарта является установка общих и воспроизводимых подходов к испытанию электрического и электронного оборудования при воздействии помех дифференциального вида и передаче сигналов на порты электропитания переменного тока. Настоящий стандарт устанавливает:
- испытательные формы сигнала;
- диапазон испытательных уровней;
- испытательное оборудование;
- испытательную установку;
- порядок проведения испытаний;
- порядок проведения проверки.
Эти испытания предназначены для демонстрации устойчивости электрического и электронного оборудования, работающего от электрической сети с напряжением до 280 В (между фазой и нейтралью или между фазой и землей, если нейтраль не используется) и частотой 50 или 60 Гц, подвергаемого воздействию кондуктивных помех дифференциального вида, например исходящих от силовой электроники и систем линий электропередачи (ЛЭП).
Примечание - В некоторых странах максимальное напряжение между фазой и нейтралью может быть до 350 В.
Устойчивость к гармоникам и интергармоникам, включая сетевую передачу сигналов, на портах электропитания переменного тока до 2 кГц в дифференциальном режиме соответствует IEC 61000-4-13.
Помехоэмиссия в диапазоне частот от 2 до 150 кГц часто имеет составляющие как дифференциального, так и общего несимметричного вида. В настоящем стандарте приведены испытания на устойчивость только для помех дифференциального вида и при передаче сигналов. Также рекомендуется проводить испытания для общего несимметричного вида в соответствии с IEC 61000-4-16.
В настоящем стандарте использованы нормативные ссылки на следующие стандарты [для датированных ссылок применяют только указанное издание ссылочного стандарта, для недатированных - последнее издание (включая все изменения)]:
IEC 61000-4-13:2002, Electromagnetic compatibility (EMC) - Part 4-13: Testing and measurement techniques - Harmonics and interharmonics including mains signalling at a.c. power port, low frequency immunity tests + Amendment 1:2009 (Электромагнитная совместимость (ЭМС). Часть 4-13. Методы испытаний и измерений. Испытание на помехоустойчивость к низким частотам гармоник и интергармоник, включая передачу сигналов на сеть электропитания переменного тока)
IEC 61000-4-16:1998 <1> Electromagnetic compatibility (EMC) - Part 4-16: Testing and measurement techniques - Test for immunity to conducted, common mode disturbances in the frequency range 0 Hz to 150 kHz + Amendment 1:2001 + Amendment 2:2009 (Электромагнитная совместимость (EMC). Часть 4-16. Методы испытаний и измерений. Испытание на помехоустойчивость к кондуктивным помехам общего вида в диапазоне частот от 0 Гц до 150 кГц)
--------------------------------
<1> Заменен на IEC 61000-4-16:2023. Однако для однозначного соблюдения требования настоящего стандарта, выраженного в датированной ссылке, рекомендуется использовать только указанное в этой ссылке издание.
3 Термины, определения и сокращения
В настоящем стандарте применены следующие термины с соответствующими определениями.
Примечание - Термины применяются к кондуктивным помехам дифференциального вида и при передаче сигналов в ограниченной области действия в диапазоне частот от 2 до 150 кГц (не все из этих определений имеются в IEC 60050-161).
3.1 Термины и определения
3.1.1 вспомогательное оборудование; ВО (auxiliary equipment; AE): Оборудование, необходимое для настройки всех функций испытуемого оборудования, а также для оценки качества функционирования (работы) испытуемого оборудования во время проведения испытаний.
3.1.2 порт (port): Граница между конкретным оборудованием и внешней электромагнитной обстановкой.
3.1.3 порт электропитания переменным током (a.c. power port): Порт для подключения к электрической сети.
3.1.4 связь (coupling): Соединение между цепями, предназначенное для передачи энергии.
3.1.5 устройство связи (coupling network): Электрическое устройство, предназначенное для передачи энергии между цепями.
3.1.6 устойчивость (к помехам) (immunity (to a disturbance)): Способность устройства, оборудования или системы функционировать без ухудшения рабочих характеристик при воздействии электромагнитных помех.
[ИСТОЧНИК: IEC 60050-161:1990 (терминологическая статья 161-01-20)]
3.1.7 напряжение дифференциального вида; симметричное напряжение (differential mode voltage (symmetrical voltage)): Напряжение между любыми двумя проводниками из заданной группы активных проводников.
[ИСТОЧНИК: IEC 60050-161:1990 (терминологическая статья 161-04-08)]
3.1.8 ток дифференциального вида; симметричный ток; IDiff (differential mode current; IDiff): Половина векторной разности токов, протекающих в двухпроводном кабеле или в любых двух проводниках многопроводного кабеля.
3.1.9 ток нагрузки; ILoad (load current; ILoad): Для испытуемого оборудования, в котором имеется специальный порт для измерения переменного тока, это ток промышленной частоты, протекающий по пути следования тока в испытуемое оборудование, например, через электроизмерительное устройство, как правило - между его токоведущими проводами IIN и IOUT.
3.2 Сокращения
ИО (EUT) - испытуемое оборудование;
ЛЭП (PLC) - линии электропередачи;
НВ (CW) - непрерывная волна;
НН (LV) - низковольтное напряжение;
СН (MV) - средневольтное напряжение;
УП (NB) - узкополосный;
УСР (CDN) - устройство связи и развязки;
ШП (BB) - широкополосный.
Кондуктивные помехи дифференциального вида и при передаче сигналов в диапазоне частот от 2 до 150 кГц могут влиять на надежность функционирования оборудования и систем, установленных в любой электромагнитной обстановке. Следовательно, в данном диапазоне частот необходимо учитывать помехи дифференциального вида и при передаче сигналов.
Поскольку эти помехи при дифференциальном включении и при передаче сигналов в наибольшей степени проявляются на портах электропитания переменного тока и являются незначительными для всех остальных портов, то требования настоящего стандарта применяются только для портов питания переменного тока.
Источниками помех при дифференциальном включении и при передаче сигналов обычно являются:
- системы линий электропередачи;
- силовое электронное оборудование (например, преобразователи энергии, система освещения).
В
приложении A содержатся сведения об источниках помех, объектах воздействия помех и последствиях этих воздействий.
В
приложении D указывается обоснование для выбора профилей испытательных волн и некоторые рекомендации по выбору испытаний.
Для помех дифференциального вида и при передаче сигналов необходим соответствующий уровень устойчивости. Для подтверждения такой устойчивости в рамках данного стандарта в диапазоне частот от 2 до 150 кГц установлены два испытания: для напряжения и тока соответственно:
- испытание с перестройкой частоты проводят с помощью импульсов непрерывной волны с перерывами между каждым импульсом;
- испытание проводят с помощью пачек прямоугольно-модулированных импульсов с четырьмя различными частотами модуляции.
Как правило, испытания напряжением применяются ко всему оборудованию, а испытания током предназначены для оборудования с портами для измерения переменного тока, например электроизмерительного устройства.
Комитеты, разрабатывающие стандарты на продукцию, свободны в выборе между испытаниями током и напряжением, испытательными уровнями, типами и частотами модуляции.
Тем не менее рекомендуется, чтобы проведение испытания на устойчивость включало по крайней мере испытание с перестройкой частоты с помощью импульсов НВ с перерывами между каждым импульсом и испытание прямоугольно-модулированными импульсами с частотами модуляции 3 и 101 Гц для промышленной частоты 50 Гц (или 4 и 121 Гц для частоты 60 Гц), которые отражают помехи, вызванные инверторами и основными системами связи.
Примечание - С учетом проводимой работы по уровням совместимости (см. IEC 61000-2-2 и IEC 61000-2-12) испытательные уровни, предложенные в разделе 5, в будущем могут быть пересмотрены.
5 Испытательные уровни и профили волн в диапазоне частот от 2 до 150 кГц
5.1 Испытательные уровни для испытания дифференциальным напряжением
5.1.1 Общие положения
Испытательные уровни для испытания дифференциальным напряжением на портах электропитания переменного тока в диапазоне частот от 2 до 150 кГц указаны в
таблице 1.
Руководство по выбору испытательного уровня указано в
приложении B.
Испытательный уровень в
первом столбце таблицы 1 соответствует классу электромагнитной обстановки (класс 1, класс 2 и т.д.), определенному из
приложения B. В таблице 1 приведены предпочтительные значения уровней испытательного напряжения для оборудования, используемого в условиях соответствующего класса электромагнитной обстановки.
Таблица 1
Испытательные уровни для испытания дифференциальным
напряжением в диапазоне частот от 2 до 150 кГц
| Немодулированное испытательное напряжение холостого хода, В (среднеквадратичное значение) |
2 - 9 кГц | 9 - 95 кГц | 95 - 150 кГц |
1 | 0,5 | 0,5 - 0,1 | 0,1 |
2 | 3 | 3 - 0,6 | 0,6 |
3 | 12 | 12 - 2,4 | 2,4 |
4 | 20 | 20 - 10 | 10 |
| Специальное | Специальное | Специальное |
<a> X - может быть любым уровнем, выше, ниже или между другими уровнями. Этот уровень должен быть указан в стандарте на конкретное оборудование. |
В соответствии с
рисунком 1, на котором приведен профиль зависимости от частоты для каждого значения испытательного напряжения холостого хода из
таблицы 1, испытательное напряжение изменяется следующим образом:
- в диапазоне частот от 2 до 9 кГц уровень имеет постоянное значение;
- в диапазоне частот от 9 до 95 кГц логарифм уровня линейно убывает относительно логарифма частоты;
- в диапазоне частот от 95 до 150 кГц уровень имеет постоянное значение.
Рисунок 1 - Отношение частоты к профилю амплитуды
для испытания дифференциальным напряжением
В соответствии с современными исследованиями (см.
приложение A) требуются испытания в дифференциальном режиме с двумя типами модуляции: одно с импульсами непрерывной волны с перерывами между каждым импульсом (см. 5.1.2 и
5.2.2 соответственно), а другое с пачками прямоугольно-модулированных импульсов (см.
5.1.3 и
5.2.3 соответственно).
5.1.2 Профиль испытательной волны с импульсами НВ с перерывами
Испытание проводят посредством подачи последовательных импульсов синусоидального сигнала (НВ) с возрастающей частотой
fi в диапазоне от 2 до 150 кГц и перерывами определенной продолжительности следующим образом (см. также
рисунок 2):
- каждый импульс НВ имеет продолжительность (время выдержки) Tpulse;
- уровень испытательного сигнала (напряжение или ток) между импульсами непрерывной волны в течение времени Tpause = 300 мс (допустимое отклонение +/- 200 мс) равен нулю;
- время выдержки Tpulse должно быть не менее времени, необходимого ИО для срабатывания и реагирования на импульс, но не менее 3 с. Комитеты, разрабатывающие стандарты на продукцию, могут рассмотреть вопрос о необходимости увеличения времени выдержки;
- продолжительность одного испытательного цикла для соответствующей испытательной частоты непрерывной волны составляет Tpulse + Tpause;
- начальная частота испытательного сигнала непрерывной волны должна быть 2 кГц. Частоту последующих последовательностей испытательных сигналов непрерывной волны увеличивают на 2% по отношению к предыдущей испытательной частоте: fi = 1,02fi-1;
- нет необходимости синхронизировать время отключения в конце импульса непрерывной волны (начало перерыва) и время включения в начале импульса непрерывной волны (конец перерыва) испытательных напряжений (на частотах fi, fi+1, ...) с пересечением нуля испытательным сигналом непрерывной волны.
Рисунок 2 - Профиль испытательной волны
с импульсами НВ с перерывами
5.1.3 Профиль испытательной волны с прямоугольно-модулированными импульсами
Испытание проводят посредством подачи последовательных импульсов с возрастанием частоты в диапазоне от 2 до 150 кГц, которые подвергаются импульсной модуляции на четырех различных частотах модуляции с рабочим циклом 50%, следующим образом (см. также
рисунок 3):
- последовательность импульсов на частоте fi для выбранной частоты модуляции имеет продолжительность (время выдержки) Tdwell = 3 с;
- начальная частота импульсов должна быть 2 кГц. Частоту последующих последовательных импульсов увеличивают на 2% по отношению к предыдущей испытательной частоте: fi = 1,02fi-1. Между двумя отрезками времени выдержки есть перерыв, равный 300 мс (допустимое отклонение - +/- 200 мс). Для четырех указанных испытаний с прямоугольно-модулированными импульсами частоты модуляции fmod зависят от применяемой промышленной частоты электрической сети следующим образом:
- 50 Гц - 3, 101, 301, 601 Гц;
- 60 Гц - 4, 121, 361, 721 Гц;
- период модуляции Tmod для определенной частоты модуляции fmod имеет следующее выражение: Tmod = 1/fmod;
- нет необходимости синхронизировать время отключения в конце импульса и время включения в начале импульса с пересечением импульсами нуля.
Рисунок 3 - Профиль испытательной волны
с прямоугольно-модулированными импульсами для испытания
дифференциальным напряжением
5.2 Испытательные уровни для испытания дифференциальным током
5.2.1 Общие положения
Испытательные уровни в диапазоне частот от 2 до 150 кГц для испытания дифференциальным током показаны в
таблице 2.
Руководство по выбору испытательного уровня указано в
приложении B.
Испытательный уровень в
первом столбце таблицы 2 соответствует классу электромагнитной обстановки (класс 1, класс 2 и т.д.), определенному из
приложения B. В таблице 2 приведены предпочтительные значения уровней испытательного напряжения для оборудования, используемого в условиях соответствующего класса электромагнитной обстановки.
Таблица 2
Испытательные уровни в диапазоне частот от 2 до 150 кГц
для испытания дифференциальным током
| Немодулированный испытательный ток, А (среднеквадратичное значение) |
2 - 30 кГц | 30 - 150 кГц |
1 | 1 | 0,5 |
2 | 2 | 1 |
3 | 3 | 1,5 |
4 | 4 | 2 |
| Специальный | Специальный |
На пограничной частоте применяется более высокий уровень. <a> X - может быть любым уровнем, выше, ниже или между другими уровнями. Этот уровень должен быть указан в стандарте на конкретное оборудование. |
Установлены два типа испытательного модулированного дифференциального тока: один с импульсами непрерывной волны с перерывами между каждым импульсом (см. 5.2.2), а второй с пачками прямоугольно-модулированных импульсов (см.
5.2.3). Комитеты, разрабатывающие стандарты на продукцию, должны определять, оба типа следует применять или только какой-то один.
5.2.2 Профиль испытательной волны с импульсами НВ с перерывами
Применяется такой же профиль испытательной волны, как и при испытании дифференциальным напряжением в
5.1.2. Комитеты, разрабатывающие стандарты на продукцию, могут устанавливать размеры шага перестройки частоты меньше указанных в
5.1.2. Например, данный профиль испытательной волны применяется для электроизмерительных устройств.
5.2.3 Профиль испытательной волны с прямоугольно-модулированными импульсами
Применяется такой же профиль испытательной волны, как и при испытании дифференциальным напряжением в
5.1.3. Комитеты, разрабатывающие стандарты на продукцию, могут устанавливать размеры шага перестройки частоты меньше указанных в
5.1.3.
6 Испытательное оборудование
6.1 Испытательные генераторы
6.1.1 Общие положения
Характеристики испытательного генератора, обеспечивающего проведение испытания дифференциальным напряжением, приведены в
6.1.2. Характеристики испытательного генератора, обеспечивающего проведение испытания дифференциальным током, приведены в
6.1.3.
Во всех испытательных генераторах должны быть предусмотрены меры по предупреждению значительных помех, которые при их эмиссии в электрическую сеть могут повлиять на результаты испытаний.
Как для испытания дифференциальным напряжением, так и для испытания дифференциальным током в качестве испытательного генератора может быть использован один и тот же электронный источник питания переменного тока. Для генератора дифференциального напряжения значения
C и
L, представленные на
рисунке 4, определяются требованиями к рабочим характеристикам.
6.1.2 Рабочие характеристики генератора дифференциального напряжения
Как правило, генератор дифференциального напряжения включает в себя генератор сигналов, обеспечивающий перекрытие заданной полосы частот и подачу импульсов НВ, как показано на
рисунке 2, и модулированных импульсов, как показано на
рисунке 3.
Генератор дифференциального напряжения:
- форма испытательного напряжения: | синусоидальная, коэффициент нелинейных искажений менее 5% для всего диапазона частот; |
- диапазон выходного напряжения холостого хода (среднеквадратичное значение): | от 0,1 (-10%) до 20 В (+10%); |
- выходное сопротивление на контактных зажимах ИО: | 10 Ом; +/- 30% по всему диапазону частот от 2 до 150 кГц; |
- диапазон частот: | от 2 до 150 кГц; |
- фазовый угол включения и выключения выходного напряжения: | без синхронизации с источником питания; |
- отклонение испытательного уровня дифференциального напряжения: | +/- 5%. |
Данные параметры должны быть проверены на порте устройства связи, к которому подключено ИО, при короткозамкнутом порте питания.
Пример схемы генератора дифференциального напряжения приведен на рисунке 4.
Компоненты:
Генератор: 2 - 150 кГц
Cc - Конденсатор связи
Cd - Конденсатор развязки
L - Индуктивность развязки
УСР - Устройство связи и развязки
Рисунок 4 - Пример упрощенной принципиальной схемы
с указанием основных элементов генератора
дифференциального напряжения
6.1.3 Рабочие характеристики генератора дифференциального тока
Как правило, генератор дифференциального тока включает в себя генератор сигналов, обеспечивающий перекрытие заданной полосы частот и подачу импульсов непрерывной волны, как показано на
рисунке 2, и модулированных импульсов, как показано на
рисунке 3.
Генератор дифференциального тока:
- форма испытательного напряжения: | синусоидальная, коэффициент нелинейных искажений менее 5% для всего диапазона частот; |
- диапазон выходного тока короткого замыкания (среднеквадратичное значение): | |
- выходное сопротивление: | 1 Ом; +/- 30% по всему диапазону частот от 2 до 150 кГц; |
- диапазон частот: | от 2 до 150 кГц; |
- фазовый угол включения и выключения выходного тока: | без синхронизации с источником питания; |
- отклонение испытательного уровня дифференциального тока: | +/- 5%. |
Примечание - Для испытания электроизмерительных устройств с трансформаторным включением может потребоваться значение выходного тока короткого замыкания 0,01 А вместо 0,5 А.
Данные параметры должны быть проверены на порте испытательной схемы, к которому подключено ИО. Значение выходного сопротивления 1 Ом образуется путем деления напряжения холостого хода на выходной ток короткого замыкания, измеренного на той же частоте.
Более подробная информация по испытанию конкретного оборудования, такого как электроизмерительные устройства, содержится в
приложении C.
6.2 Проверка характеристик испытательных генераторов
6.2.1 Общие положения
Чтобы иметь возможность сравнивать результаты, полученные от различных испытательных генераторов, необходимо калибровать или проверять испытательные генераторы по наиболее важным характеристикам.
Проверке подлежат следующие характеристики генераторов:
- форма выходного испытательного напряжения в режиме холостого хода;
- форма выходного испытательного тока в режиме короткого замыкания;
- точность установки выходного напряжения/тока;
- выходное сопротивление генератора;
- точность установки частоты.
6.2.2 Проверка генераторов
Проверка генераторов должна проводиться: для генератора дифференциального напряжения в режиме холостого хода с помощью дифференциального пробника с сопротивлением не менее 1 МОм, для генератора дифференциального тока в режиме короткого замыкания с помощью шунта с сопротивлением не более 0,01 Ом, с использованием осциллографа или другого эквивалентного измерительного прибора с пропускной способностью измерительного канала не менее 10 МГц.
Точность установки должна быть достаточной для соблюдения требований по напряжению, току и выходному сопротивлению.
Для правильной установки настроек генератора и испытательного уровня модулированного импульса должны быть выполнены процедуры, описанные в
5.1.2 и
5.1.3.
Генератор для испытания дифференциальным напряжением должен соответствовать
6.1.2, а испытательные уровни -
таблице 1.
Генератор для испытания дифференциальным током должен соответствовать
6.1.3, а испытательные уровни -
таблице 2.
Устройство связи и развязки (УСР) должно соответствовать требованиям
6.2.3.
Для проверки дифференциального напряжения с помощью дифференциального пробника напряжения на порте УСР, к которому подключено ИО, должно быть измерено напряжение холостого хода.
Для проверки дифференциального тока с помощью шунта на порте УСР должен быть измерен ток короткого замыкания.
Проверка выходного сопротивления производится путем деления измеренных значений напряжения холостого хода на выходной ток короткого замыкания на частотах 2 и 150 кГц.
6.2.3 Проверка устройства связи и развязки
Характеристики затухания (от источника питания к ИО) УСР, показанные на
рисунке 4, должны быть проверены в измерительной системе с сопротивлением 10 Ом с помощью симметрирующего устройства (balun) для согласования выходного сопротивления и анализатора цепей. Порт генератора должен быть нагружен сопротивлением 10 Ом, или должен быть использован генератор со значением полного выходного сопротивления 10 Ом. Базовая схема испытательной установки показана на рисунке 5.
Рисунок 5 - Испытательная установка для проверки УСР
в измерительной системе с сопротивлением 10 Ом
Предел минимального ослабления устройства связи и пример измерения показаны на рисунке 6. Предел линейно уменьшается с логарифмом частоты от 10 дБ при 2 кГц до 50 дБ при 50 кГц и остается постоянным на уровне 50 дБ в диапазоне частот от 50 до 150 кГц.

- пример измерения;

- предел
Рисунок 6 - Предел характеристик затухания
в измерительной системе с сопротивлением 10 Ом
7 Испытательные установки
7.1 Испытательная установка для испытания дифференциальным напряжением
На рисунке 7 показана испытательная установка для испытания дифференциальным напряжением, описанным в
5.1.2 и
5.1.3.
Рисунок 7 - Пример испытательной установки для испытания
дифференциальным напряжением при наличии
вспомогательного оборудования
ИО должно быть подключено к системе защитного заземления в соответствии с технической документацией на ИО. ИО должно быть установлено и подключено в соответствии с технической документацией на ИО.
Полезные сигналы к ИО могут подаваться от ВО или имитатора, например PLC-модема.
При испытаниях необходимо использовать кабели, предусмотренные технической документацией на ИО. Если в технической документации не установлены требования к кабелям, то используют неэкранированные кабели, пригодные для использования с данными типами сигналов.
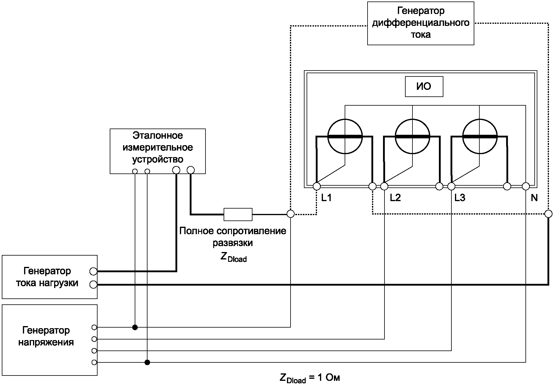
7.2 Испытательная установка для испытания дифференциальным током
Испытательная установка для испытания дифференциальным током, показанная на рисунке 8, используется совместно с испытательным оборудованием, например, таким как электроизмерительные устройства, в котором имеется порт для измерения переменного тока. Первый ток представляет собой ток нагрузки ILoad на промышленной частоте, а второй - дифференциальный ток IDiff в диапазоне частот от 2 до 150 кГц, протекающий по пути следования тока в ИО. Оба тока, ILoad и IDiff, генерируются независимо друг от друга.
Рисунок 8 - Пример испытательной установки
для испытания дифференциальным током
Подробности метода получения испытательного дифференциального тока IDiff, протекающего через порт для измерения переменного тока ИО, не приводятся в качестве характеристики или требований. Важным параметром является уровень тока IDiff, протекающего через порт для измерения переменного тока ИО.
Метод получения как дифференциального тока IDiff, так и тока нагрузки ILoad не представляет интереса с точки зрения результатов испытания.
ИО должно быть установлено и подключено в соответствии с технической документацией на ИО.
При испытаниях необходимо использовать кабели, предусмотренные технической документацией на ИО. Если в технической документации не установлены требования к кабелям, то используют неэкранированные кабели, пригодные для использования с данными типами сигналов.
8 Порядок проведения испытаний
Процедура испытаний включает:
- проверку стандартных условий испытаний в лаборатории;
- проверку испытательного оборудования;
- проверку правильности функционирования испытуемого оборудования;
- выполнение испытания.
По окончании выполнения процедуры испытания требуется оценка результатов испытаний (см.
раздел 9).
Чтобы минимизировать влияние окружающей среды на результаты испытаний, они должны быть проведены в климатических условиях и в условиях электромагнитной обстановки, установленных в
8.2.1 и
8.2.2.
8.2 Стандартные условия испытаний в лаборатории
8.2.1 Климатические условия
Если иное не установлено в основополагающих стандартах или стандартах на продукцию, климатические условия в лаборатории должны быть в пределах, установленных изготовителями ИО и испытательного оборудования для нормального их функционирования.
Испытания не должны проводиться, если уровень относительной влажности в лаборатории настолько высок, что это приводит к образованию конденсата на ИО, или испытательном оборудовании.
При наличии обоснованных доказательств влияния условий окружающей среды на явления, рассматриваемые в настоящем стандарте, технический комитет, ответственный за разработку настоящего стандарта, должен быть об этом проинформирован.
8.2.2 Электромагнитная обстановка
Электромагнитная обстановка в испытательной лаборатории не должна влиять на результаты испытаний.
Конфигурация, расположение, установка и порядок включения ИО должны соответствовать его типовому применению.
Испытания проводят в соответствии с программой испытаний, где указывают:
- вид испытаний;
- испытательный уровень;
- продолжительность испытаний;
- порты ИО, подлежащие воздействию помехи;
- характерные условия эксплуатации ИО;
- ВО.
Испытания проводят в следующей последовательности:
- предварительная проверка рабочих характеристик ИО;
- проверка параметров и характеристик входных сигналов при необходимости;
- подача помех.
Испытательный сигнал должен быть подан в течение времени, достаточного для оценки качества функционирования ИО.
Качество функционирования ИО должно контролироваться непрерывно. Любое ухудшение качества функционирования должно быть отмечено в протоколе испытаний.
Испытательный генератор подключают к портам питания переменным током.
Для многофазного ИО испытания дифференциальными током и напряжением должно проводиться поэтапно между L1,2,3 и N, L1 и L2, L2 и L3, L3 и L1, если иное не установлено комитетами, разрабатывающими стандарты на продукцию.
Работоспособность ИО должна проверяться согласно требованиям, установленным в программе.
9 Оценка результатов испытаний
Результаты испытаний классифицируют исходя из прекращения функционирования ИО или ухудшения его рабочих характеристик, с учетом критериев качества функционирования, установленных изготовителем или заявителем на процедуру испытаний или согласованных между изготовителем и потребителем оборудования. Рекомендуемая классификация включает следующее:
a) нормальное функционирование в рамках предельных значений, установленных изготовителем, заявителем или потребителем;
b) временное прекращение функционирования, или ухудшение рабочих характеристик, или постепенный отказ с восстановлением нормального функционирования при прекращении воздействия помехи, осуществляемые без вмешательства оператора;
c) временное прекращение функционирования или ухудшение рабочих характеристик, коррекция которых требует вмешательства оператора;
d) прекращение функционирования или ухудшение рабочих характеристик, восстановление которых невозможно из-за повреждения компонентов или программного обеспечения оборудования или потери данных.
В технической документации на ИО могут быть указаны нарушения функционирования ИО, которые рассматриваются как незначительные и допустимые.
Приведенная классификация может использоваться в качестве руководства при определении критериев качества функционирования оборудования при разработке основополагающих стандартов, стандартов на продукцию или группу продукции или в качестве основания для согласования критериев качества функционирования между изготовителем и покупателем, например, при отсутствии соответствующего основополагающего стандарта или стандарта на продукцию или группу продукции.
Протокол испытаний должен содержать всю информацию, необходимую для воспроизведения испытания. В частности, должно быть указано следующее:
- пункты программы испытаний, требуемые в соответствии с
разделом 8;
- обозначение ИО и любого связанного с ним оборудования (например, торговая марка, тип продукции, серийный номер);
- обозначение испытательного оборудования (например, торговая марка, тип продукции, серийный номер);
- любые особые условия окружающей среды при испытаниях, например в случае использования экранированной камеры;
- любые особые условия, необходимые для проведения испытания;
- критерии качества функционирования, установленные изготовителем, заявителем или потребителем;
- критерии качества функционирования, установленные в основополагающем стандарте, стандарте на продукцию или группу продукции;
- любые отклонения в функционировании ИО, наблюдаемые во время или после испытательного воздействия, а также продолжительность указанных отклонений;
- обоснование принятия решения о соответствии/несоответствии ИО (на основе критериев качества функционирования, указанных в основополагающем стандарте, стандарте на продукцию или группу продукции либо согласованных между изготовителем и потребителем);
- любые особые условия эксплуатации (например, длина или тип кабеля, экранирование или заземление) или какие-либо условия эксплуатации ИО, которые требовались для обеспечения соответствия.
(справочное)
ИСТОЧНИКИ ПОМЕХ, ОБЪЕКТЫ ВОЗДЕЙСТВИЯ ПОМЕХ И ПОСЛЕДСТВИЯ
До сих пор составляющие напряжения/тока, вызванные кондуктивными помехами и помехами при передаче сигнала в диапазоне частот от 2 до 150 кГц, учитывались в стандартизации лишь в ограниченной степени.
До сих пор не было установлено никаких требований по устойчивости относительно соответствующих дифференциальных токов и напряжений, а также не были установлены общие ограничения по эмиссии. Ведется работа над уровнями электромагнитной совместимости в качестве основы для установления предельных значений для эмиссии и требований устойчивости к помехам.
В диапазоне частот от 2 до 150 кГц электромагнитные помехи в основном являются результатом влияния:
- электрического оборудования, создающего в процессе своей работы непреднамеренные составляющие напряжения/тока, отличные от частоты электрической сети;
- из-за использования магистральными системами связи распределительной сети для преднамеренной передачи сигналов.
Соответствующие составляющие напряжения и тока проявляют следующее поведение во временном интервале:
- наличие постоянной огибающей в течение более длительных периодов времени, до нескольких минут;
- наличие непостоянной огибающей, с типовой продолжительностью от нескольких десятков миллисекунд до нескольких сотен миллисекунд.
В настоящее время электрическими устройствами, связанными с электромагнитными помехами, являются:
a) в качестве источника помех:
1) инверторы (например, приводы элеваторов, приводы горнолыжных подъемников, фотоэлектрические установки);
2) умные электроизмерительные устройства с передачей данных по ЛЭП;
3) импульсные источники питания (например, в компактных лампах, компьютерах, телевизорах);
4) источники бесперебойного питания;
5) приводы с регулируемой скоростью вращения (например, тепловые насосы);
6) DVD-плееры;
b) в качестве объекта воздействия помех, с ухудшением производительности или наступлением отказа:
1) умные электроизмерительные устройства с передачей данных по ЛЭП;
2) полупроводниковые электроизмерительные приборы;
3) светильники с сенсорной регулировкой яркости (ЛСР);
4) системы связи (например, система Ethernet, ISDN-модемы, ADSL-модемы, АТС IP-сетей, маршрутизаторы);
5) бесконтактные устройства считывания с карт;
6) терминалы для кредитных карт;
7) системы охранной сигнализации;
8) электронные системы управления (например, в системах отопления, уличного освещения, светофоров, писсуаров);
9) бытовая техника (например, утюги с пароувлажнением, кофемашины, микроволновые печи, керамические конфорочные панели, стиральные машины);
10) мониторы (положение курсора);
11) смарт-ключи автотранспортных средств;
12) теле- и радиоприемники;
13) системы сигналов времени;
14) устройства радиолюбительской связи;
c) электрические устройства, имеющие следующие примеры ухудшения производительности или причины наступления отказа:
1) помехи при приеме сигналов удаленных передатчиков устройствами радиолюбительской связи;
2) электронные измерительные системы с:
i. неправильным отображением энергии, проходящей через электроизмерительное устройство;
ii. отказом связи/временной потерей функции передачи данных из-за воздействия сигналов помехи;
iii. отказом связи из-за ослаблений вследствие шунтирования сетевым оборудованием пользователя;
3) помехи в работе электронной системы управления:
i. непреднамеренное переключение в светильниках с сенсорной регулировкой яркости (между режимами освещения, выключением, включением);
ii. непреднамеренное включение и выключение уличного освещения;
iii. электронные часы начинают спешить;
iv. самопроизвольное включение бытовых приборов в течение нескольких часов после окончания времени эксплуатации;
v. переключение устройства управления водой автоматического писсуара в режим непрерывной работы;
vi. потеря светофором своей функциональности;
vii. неправильная работа систем отопления из-за неисправности датчиков;
viii. неправильная работа переключения реле в керамической конфорочной панели;
ix. недостаточное нагревание, потеря влаги в утюгах с пароувлажнением.
Были исследованы механизмы возникновения помех (
[1],
[2],
[3],
[4],
[5],
[6],
[7],
[8] <1>), в частности механизмы, касающиеся протекания помех между умными электроизмерительными устройствами и светильниками с сенсорной регулировкой яркости, а также между инверторами и умными электроизмерительными устройствами.
--------------------------------
<1> Числа в квадратных скобках являются ссылками на материалы
библиографии.
Испытания по выявлению механизма возникновения помех между умными электроизмерительными устройствами и светильниками с сенсорной регулировкой яркости показывают, что:
1) независимо от метода модуляции при подаче непрерывных помех (немодулированных или модулированных) в линию через сеть связи/развязки в общем несимметричном режиме не происходит никакого взаимодействия между оборудованием из-за таких помех;
2) напротив, аналогичные испытания с кратковременными несимметричными и симметричными сигналами с увеличивающейся амплитудой, проходящими через трансформатор ЛЭП, привели к появлению различных эффектов переключения в светильниках с сенсорной регулировкой яркости в зависимости от испытательного напряжения и метода связи (в том числе включение выключенного вертикального устройства освещения до первой ступени яркости), а при взаимодействии с регулятором яркости - только при нарастании крутизны (не при непрерывных помехах или убывании крутизны).
В некоторых случаях, когда электроизмерительные устройства регистрировали только часть энергии, фактически передаваемой в общую электрическую сеть от фотоэлектрического инвертора, исследования показали, что:
- данная неисправность была вызвана пульсациями тока инвертора, которые при определенных обстоятельствах могут влиять на электроизмерительное устройство;
- в большинстве случаев такие пульсации тока инверторов происходят на частоте в диапазоне от 3 до 150 кГц, которая является частотой переключения инвертора (несколько десятков кГц) и ее гармониками.
Эмиссия, создаваемая инверторами, представляет собой дифференциальные токи, возникающие в сетях с низким полным сопротивлением. Узкополосные системы ЛЭП создают эмиссию в той же полосе частот.
Для расширения знаний об оборудовании, которое уже известно в качестве источника помех, или об оборудовании, которое может быть потенциальным источником помех или объектом воздействия помех в случае электромагнитной эмиссии и связанных с ней механизмов возникновения помех, необходимы дополнительные исследования.
Тем не менее имеющиеся результаты исследований показывают, что в качестве генератора таких помех выступают кратковременные составляющие напряжения/тока с дифференциальной связью, с медленно повторяющимися характеристиками искажения, в частности внезапное увеличение ВЧ-напряжения.
Что касается реальных электрических сетей, то следует учитывать, что сигналы в общем несимметричном режиме (CM-сигналы) или дифференциальном режиме (DM-сигналы) в чистом виде никогда не возникают, потому что полное сопротивление несимметричной сети и полное сопротивление подключенного оборудования преобразуют DM-сигналы в CM-сигналы и наоборот.
Следовательно, для диапазона частот от 2 до 150 кГц испытания с непрерывными немодулированными сигналами и с связью только в общем несимметричном режиме не могут полностью учесть влияние эффектов таких составляющих напряжения/тока.
Определение источника и связующих механизмов электромагнитных помех в диапазоне частот от 2 до 150 кГц позволяет составить некоторые руководства по уровням напряжения, ожидаемым в точке подключения потребителя к сетям СН и НН в нормальных условиях (см. EN 50160).
Указания также можно получить в IEC 61000-2-5, в котором указаны уровни передачи сигналов в электрической сети в данном диапазоне частот. Для ЛЭП уровни сигналов указаны в IEC 61000-3-8 и в серии EN 50065.
На рисунках A.1 и
A.2 показаны действующие стандарты, касающиеся непреднамеренной и преднамеренной эмиссии.
Рисунок A.1 - Стандарты, касающиеся уровней напряжения
из-за непреднамеренной эмиссии в диапазоне частот
от 2 до 150 кГц
Рисунок A.2 - Стандарты, касающиеся уровней напряжения
из-за преднамеренной эмиссии в диапазоне частот
от 2 до 150 кГц
Примечание - На
рисунках A.1 и
A.2 представлена только общая сводка. Оригинальные стандарты содержат важные детали, такие как различные методы измерения, которые затрудняют сравнение друг с другом некоторых кривых. С учетом кривых на
рисунках A.1 и
A.2 уровни, указанные в
таблице 1, можно считать приемлемыми испытательными уровнями, пока не будут выбраны окончательные уровни электромагнитной совместимости, которые будут применяться в других стандартах ЭМС и в стандартах на продукцию.
(справочное)
ВЫБОР ИСПЫТАТЕЛЬНЫХ УРОВНЕЙ
Данный стандарт описывает различные виды испытаний. Применимость каждого испытания, испытательного уровня и критерия качества функционирования должна быть определена в стандарте на конкретный вид оборудования.
В частности, испытательные уровни, указанные в
таблице 1 и
таблице 2, выбираются исходя из следующих различных условий электромагнитной обстановки, основанных на различных мерах защиты подключенных к сети установок и оборудования, которое может быть установлено в любом месте от наводимых помех. Например, выбором такого критерия может быть степень ослабления сигналов от источников помех.
Для обеспечения единообразия с IEC 61000-4-16, который применяется для общего несимметричного режима и охватывает такой же диапазон частот, при классификации электромагнитной обстановки могут быть использованы следующие правила:
Класс 1: Хорошо защищенная электромагнитная обстановка.
Для установки характерны следующие признаки:
- сеть электропитания оборудования отделена от общей распределительной сети электропитания, например, изолирующим трансформатором;
- электронное оборудование заземлено и используются специальные устройства фильтрации для предотвращения появления помех как от оборудования в сеть, так и из сети в оборудование путем ослабления потенциальных помех сигналов в дифференциальном режиме, передаваемых через установку.
Такие специальные установки можно встретить только в лаборатории и особо защищенных производственных условиях. Примером может служить электромагнитная обстановка внутри компьютерных залов.
Класс 2: Защищенная электромагнитная обстановка.
Для установки характерны следующие признаки:
- оборудование непосредственно соединено с низковольтной системой электропитания;
- электронное оборудование заземлено и используются специальные устройства фильтрации для предотвращения появления помех как от оборудования в сеть, так и из сети в оборудование путем ослабления потенциальных помех сигналов в дифференциальном режиме, передаваемых через установку.
Такие установки могут присутствовать в коммерческой, жилой и промышленной среде, где были приняты специальные меры для предотвращения воздействия помех. Использование силовых преобразователей, создающих значительные токи утечки в систему заземления, не учитывается.
Примером может служить электромагнитная обстановка в помещениях управления промышленных предприятий и электростанций.
Класс 3: Стандартная электромагнитная обстановка в жилых, коммерческих и небольших производственных помещениях.
Для установки характерны следующие признаки:
- оборудование непосредственно соединено с низковольтной или средневольтной системой электропитания;
- электронное оборудование соединено с системой заземления установки;
- используются силовые преобразователи, создающие значительные токи утечки в систему заземления.
Класс 4: Жесткая промышленная электромагнитная обстановка.
Для установки характерны следующие признаки:
- оборудование непосредственно соединено с низковольтной или средневольтной системой электропитания;
- электронное оборудование соединено с системой заземления высоковольтного оборудования и систем;
- используются силовые преобразователи, создающие значительные токи утечки в систему заземления.
Примером может служить электромагнитная обстановка на электростанциях, высоковольтных подстанциях, расположенных на открытом воздухе, и комплектных распределительных устройствах с элегазовой изоляцией (КРУЭ).
Как правило, данный испытательный уровень не применяется в жилой или коммерческой электромагнитной обстановке.
Класс X: Специальная электромагнитная обстановка, требующая дополнительного анализа.
Класс электромагнитной обстановки устанавливается ниже или выше указанных уровней в зависимости от исследованных и проанализированных условий эксплуатации оборудования.
(справочное)
РУКОВОДСТВО ПО ЭЛЕКТРОИЗМЕРИТЕЛЬНОМУ ОБОРУДОВАНИЮ,
ПРИМЕНЯЕМОМУ ПРИ ИСПЫТАНИЯХ
C.1 Пример общей структуры испытательного генератора для проведения испытания дифференциальным током
Примеры испытательного оборудования и испытательной установки приведены на рисунках C.1,
C.2 и
C.3.
Рисунок C.1 - Упрощенная принципиальная схема
испытательного генератора дифференциального тока
Важно, чтобы в диапазоне частот от 2 до 150 кГц выходное полное сопротивление испытательного генератора (внутреннее сопротивление усилителя плюс полное сопротивление развязки ZDdiff) было не менее чем в 100 раз больше полного сопротивления ИО (электроизмерительного устройства).
Токоизмерительное устройство применяется для проверки того, чтобы во время испытания испытательные дифференциальные токи находились в пределах, установленных стандартом на продукцию.
C.2 Пример испытательной цепи
Ток нагрузки, протекающий через генератор дифференциального тока, не должен воздействовать на его нормальную работу.
Примечание 1 - Полное сопротивление развязки ZDload, равное 1 Ом, оказывает достаточно малое влияние на испытательный дифференциальный ток, так как полное сопротивление по пути следования тока в цепи измерительного устройства (в том числе все контактные сопротивления) составляет не более 10 мОм.
При токе нагрузки 10 А получаем мощность рассеивания 100 Вт при полностью активном полном сопротивлении ZDload, равном 1 Ом. Могут быть выбраны другие значения для ZDload при условии, что коэффициент мощности находится в пределах, требуемых стандартом на изделие.
Примечание 2 - В некоторых случаях может быть целесообразно отделить цепи напряжения от цепей тока (например, применением установленных параллельно конденсаторов с низким значением емкости).
Рисунок C.2 - Пример испытательной цепи
C.3 Пример испытательной установки вместе с принципиальной схемой
На рисунке пунктирными линиями обозначены линии сигналов управления (например, через разъем RS 232 и шину IEC 488).
Рисунок C.3 - Пример испытательной установки
С помощью токоизмерительного устройства (1) измеряют дифференциальный ток, протекающий между LIN и LOUT. С помощью программного обеспечения (2) пошагово увеличивают уровень генератора сигналов (3) от нуля до желаемого испытательного уровня. Уровень сигнала увеличивают до тех пор, пока испытательный уровень не будет достигнут. Затем в течение выбранного времени выдержки подают сигнал (пока показания значений энергии не станут стабильными или в соответствии с критериями, указанными производителем). Во время выдержки измеряют напряжение (4) и ток (5) электрической сети, а также с помощью выходного датчика (6) измеряют период импульсов. Среднее значение тока, напряжения и периода затем используется для расчета дополнительной погрешности, выраженной в процентах.
Особое внимание следует уделить кабелям, чтобы избежать образования токовых петель, создающих сильные магнитные поля вокруг кабелей, которые непосредственно через взаимодействие магнитных полей могут воздействовать на измерительное устройство.
Примечание - В данной испытательной установке небольшая часть испытательного дифференциального тока протекает через цепь тока нагрузки (7), а не через ИО. Однако эта часть незначительна, так как полное сопротивление по пути следования тока очень мало по сравнению с резистором развязки в цепи тока нагрузки. Этим током можно пренебречь или определить его значение перед испытанием и скорректировать при расчете или формировании сигнала. Также могут использоваться другие меры, такие как индуктор в качестве фильтра нижних частот на пути следования тока.
(справочное)
ПРОФИЛИ ИСПЫТАТЕЛЬНОЙ ВОЛНЫ
Характеристики для проведения испытания, приведенные в
разделе 5, основаны на двух проявляющихся типах помех, которые приводят к двум различным профилям испытательной волны, как подробно описано ниже:
1) Профиль испытательной волны с импульсами непрерывной волны с перерывами между каждым импульсом, который представляет собой электромагнитные помехи из-за длительной передачи сигналов по ЛЭП или эмиссии от преобразователей с переменного на постоянный ток или с постоянного на переменный ток.
Для имитации характера составляющих напряжения/тока и, следовательно, для соответствующей проверки восприимчивости электрического оборудования применяется испытание с амплитудно-модулированным переменным напряжением/током с несущей частотой в диапазоне от 2 до 150 кГц.
Между двумя импульсами непрерывной волны предусмотрен перерыв, обычно представляющий собой ограниченную по времени непрерывную волну напряжения/тока для имитации включения и выключения создающего помеху устройства через определенный период времени. Применение более коротких перерывов может привести к ситуации, когда заданную восприимчивость (например, для устройств с сенсорным управлением) невозможно было бы установить из-за времени отклика какой-либо электронной схемы.
Для целей испытания импульсами непрерывной волны, указанного в настоящем стандарте, продолжительность этих перерывов установлена на 300 мс.
2) Профиль испытательной волны с прямоугольно-модулированными импульсами, который представляет собой составляющие напряжения/тока, с частотами в диапазоне нескольких десятков кГц, чья огибающая изменяется во времени. Временная характеристика этой огибающей определяет серьезность воздействия помех.
Определены четыре частоты модуляции:
- 101, 301 и 601 Гц для промышленной частоты сети 50 Гц или 121, 361 и 721 Гц для промышленной частоты сети 60 Гц, применяемые для электромагнитных помех, вызванных непреднамеренными составляющими напряжения/тока однофазного или трехфазного инвертора с переменного на постоянный ток или с постоянного на переменный ток, работающего синхронно с частотой сети;
- 3 Гц (для промышленной частоты сети 50 Гц) или 4 Гц (для промышленной частоты сети 60 Гц), применяемые для электромагнитных помех, вызванных преднамеренно создаваемыми вводными сигналами ЛЭП.
(справочное)
СВЕДЕНИЯ О СООТВЕТСТВИИ ССЫЛОЧНЫХ МЕЖДУНАРОДНЫХ СТАНДАРТОВ
МЕЖГОСУДАРСТВЕННЫМ СТАНДАРТАМ
Таблица ДА.1
Обозначение ссылочного международного стандарта | Степень соответствия | Обозначение и наименование соответствующего межгосударственного стандарта |
IEC 61000-4-13:2002 + Amendment 1:2009 | IDT | ГОСТ IEC 61000-4-13-2016 "Электромагнитная совместимость (ЭМС). Часть 4-13. Методы испытаний и измерений. Воздействие гармоник и интергармоник, включая сигналы, передаваемые по электрическим сетям, на порт электропитания переменного тока. Низкочастотные испытания на помехоустойчивость" |
IEC 61000-4-16:1998 + Amendment 1:2001 + Amendment 2:2009 | - | |
<*> Соответствующий межгосударственный стандарт отсутствует. До его принятия рекомендуется использовать перевод на русский язык данного международного стандарта. Примечание - В настоящей таблице использовано следующее условное обозначение степени соответствия стандарта: - IDT - идентичный стандарт. |
--------------------------------
<1> Действует
ГОСТ IEC 61000-4-16-2023 "Электромагнитная совместимость (ЭМС). Часть 4-16. Методы испытаний и измерений. Испытание на помехоустойчивость к кондуктивным помехам общего вида в диапазоне частот от 0 Гц до 150 кГц", идентичный IEC 61000-4-16:2015.
| J. Kirchhof, G. Klein. Results of the OPTINOS Project - Deficits and Uncertainties in Photovoltaic Inverter Test Procedures, Fraunhofer IWES Institute for Wind Energy and Energy System Technology, 24th European Photovoltaic Solar Energy Conference and Exhibition, 21st to 25th September 2009, Hamburg (Дж. Кирххоф, Г. Кляйн, Результаты проекта OPTINOS. Недостатки и неопределенности в процедурах испытаний фотоэлектрических инверторов. Институт ветроэнергетики и технологий энергетических систем им. Фраунгофера (IWES), 24-я Европейская конференция и выставка по фотоэлектрической солнечной энергии, 21 - 25 сентября 2009 г., Гамбург) |
| S.  , M. Wahlberg, M. Bollen, A. Larsson, M. Lundmark. Measurements of Interaction between Equipment in the Frequency Range 9 to 95 kHz, 20th CIRED Conference, Prague, 8 - 11/09, Paper 0231 (С. Реннберг, М. Уолберг, М. Боллен, А. Ларссон, М. Лундмарк. Измерения взаимодействий между оборудованием в диапазоне частот от 9 кГц до 95 кГц, 20-я конференция CIRED, Прага, 8 - 11/09, доклад 0231) |
| Seibersdorf Laboratories. Test House for EMC: Certificate No. EMV-E 40/09 concerning disturbances from AMR systems to consumer products connected to the public electricity supply network (dimmer lamps, ceramic hobs), as of 14/10/09 (Лаборатории Зайберсдорфа. Испытательный центр ЭМС. Сертификат N EMV-E 40/09 от 14.10.09 о воздействии помех от систем АМР на оборудование, подключенное к сети электроснабжения общего пользования (светильники с сенсорной регулировкой, керамические конфорочные панели)) |
|  report No. M/EMV-09/164, as of 14/5/09 (Conformity test of AMR-PLC meter + concentrator as partner equipment for data transmission, according to EN 50065-1) (Протокол  N M/EMV-09/164 от 14.05.09 на соответствие EN 50065-1. Испытание счетчика AMR-PLC + концентратор в качестве сопроводительного оборудования для передачи данных) |
|  report No. M/EMV-09/165, as of 14/5/09 (Conformity tests table lamps, according to EN 61547) (Протокол  N M/EMV-09/165 от 14.05.09 на соответствие EN 61547. Испытания настольных ламп) |
| S.  , M. Bollen, M. Wahlberg. Interaction between Narrowband Power-Line Communication and End-User Equipments, IEEE Transactions on power delivery, Vol. 26, No. 3, 3 July 2011 (С. Реннберг, М. Боллен, М. Уолберг. Взаимодействие между узкополосной связью по линиям электропередач и оборудованием конечного пользователя. Соглашение IEEE по передаче электроэнергии, Vol. 26, N 3, 3 июля 2011 г.) |
| SC205A/Sec0260/R - Study report on electromagnetic interference between electrical equipment/systems in the frequency range below 150 kHz, CENELEC SC 205A, April 2010 (SC205A/Sec0260/R. Отчет об исследовании электромагнитных помех между электрическим оборудованием/системами в диапазоне частот менее 150 кГц, CENELEC SC 205A, апрель 2010 г.) |
| SC205A/Sec0339/R - Study report on electromagnetic interference between electrical equipment/systems in the frequency range below 150 kHz, CENELEC SC 205A, April 2013 (SC205A/Sec0339/R. Отчет об исследовании электромагнитных помех между электрическим оборудованием/системами в диапазоне частот менее 150 кГц, CENELEC SC 205A, апрель 2013 г.) |
[9] | IEC 60050 (all parts) | International Electrotechnical Vocabulary (IEV) (available at http://www.electropedia.org) (Международный электротехнический словарь (IEV)) (доступен на http://www.electropedia.org) |
[10] | IEC 60050-161 | International Electrotechnical Vocabulary (IEV) - Part 161: Electromagnetic compatibility (Международный электротехнический словарь. Глава 161. Электромагнитная совместимость) |
[11] | IEC 60068-1 | Environmental testing - Part 1: General and guidance (Испытания на воздействие внешних факторов. Часть 1. Общие положения и руководство) |
[12] | IEC 61000-2-2:2002 | Electromagnetic compatibility (EMC) - Part 2-2: Environment - Compatibility levels for low-frequency conducted disturbances and signalling in public low voltage power supply systems (Электромагнитная совместимость (ЭМС). Часть 2-2. Условия окружающей среды. Уровни совместимости для низкочастотных кондуктивных помех и передача сигналов в низковольтных системах коммунального электроснабжения) |
[13] | IEC/TR 61000-2-5:2011 | Electromagnetic compatibility (EMC) - Part 2-5: Environment - Description and classification of electromagnetic environments (Электромагнитная совместимость (ЭМС). Часть 2-5. Условия окружающей среды. Описание и классификация уровней электромагнитной среды) |
[14] | IEC 61000-2-12:2003 | Electromagnetic compatibility (EMC) - Part 2-12: Environment - Compatibility levels for low-frequency conducted disturbances and signalling in public medium-voltage power supply systems (Электромагнитная совместимость (ЭМС). Часть 2-12. Условия окружающей среды. Уровни совместимости низкочастотных кондуктивных помех и передачи сигналов в системах коммунального электроснабжения средней мощности) |
[15] | IEC 61000-3-8:1997 | Electromagnetic Compatibility (EMC) - Part 3: Limits - Section 8: Signalling on low-voltage electrical installations - Emission levels, frequency bands and electromagnetic disturbance levels (Электромагнитная совместимость (ЭМС). Часть 3. Нормы. Раздел 8. Сигнализация на электрических установках низкого напряжения. Нормы излучения, частные диапазоны и уровни электромагнитных помех) |
[16] | IEC/TS 62578:2009 | Power electronics systems and equipment - Operation conditions and characteristics of active infeed converter applications (Системы силовой электроники и оборудование. Эксплуатационные режимы и характеристики применений активного загрузочного конвертера) |
[17] | CISPR 14-1:2005 | Electromagnetic compatibility - Requirements for household appliances, electric tools and similar apparatus - Part 1: Emission + Amendment 1:2008 + Amendment 2:2011 (Совместимость электромагнитная. Требования к бытовой аппаратуре, электрическому инструменту и аналогичным приборам. Часть 1. Помехоэмиссия) |
[18] | CISPR 15:2013 | Limits and methods of measurement of radio disturbance characteristics of electrical lighting and similar equipment (Нормы и методы измерения характеристик радиопомех от электрического осветительного и аналогичного оборудования) |
[19] | EN 50160:2010 | Voltage characteristics of electricity supplied by public distribution networks (Характеристики напряжения в общественных сетях электроснабжения) |
[20] | EN 50065 (all parts) | Signalling on low-voltage electrical installations in the frequency range 3 kHz to 148,5 kHz (Передача сигналов по низковольтным электрическим сетям в диапазоне частот от 3 кГц до 148,5 кГц) |
[21] | EN 50065-1:2011 | Signalling on low-voltage electrical installations in the frequency range 3 kHz to 148,5 kHz - Part 1: General requirements, frequency bands and electromagnetic disturbances (harmonised) (Передача сигналов по низковольтным электрическим сетям в диапазоне частот от 3 кГц до 148,5 кГц. Часть 1. Общие требования, диапазоны частот и электромагнитные помехи) |
[22] | TR 50579:2012 | Electricity metering equipment - Severity levels, immunity requirements and test methods for conducted disturbances in the frequency range 2 - 150 kHz (Оборудование для электрических измерений (переменный ток). Уровни нагрузки, требования к помехоустойчивости и методы испытаний для кондуктивных помех в диапазоне частот от 2 кГц до 150 кГц) |
УДК 621.396/.397.001.4:006.354 | | IDT |
Ключевые слова: кондуктивные помехи, устойчивость, оборудование, испытательный генератор, испытательная установка, электромагнитная совместимость, методы испытаний, оценка результатов испытаний |