Главная // Актуальные документы // Актуальные документы (обновление 2025.02.03-2025.03.01) // ГОСТ Р (Государственный стандарт)
СПРАВКА
Источник публикации
М.: ФГБУ "Институт стандартизации", 2024
Примечание к документу
Документ введен в действие с 01.12.2024.

Название документа
"ГОСТ Р ИСО 9016-2024. Национальный стандарт Российской Федерации. Испытания разрушающие сварных швов металлических материалов. Испытание на ударный изгиб. Расположение образца для испытаний, ориентация надреза и испытание"
(утв. и введен в действие Приказом Росстандарта от 12.11.2024 N 1649-ст)

"ГОСТ Р ИСО 9016-2024. Национальный стандарт Российской Федерации. Испытания разрушающие сварных швов металлических материалов. Испытание на ударный изгиб. Расположение образца для испытаний, ориентация надреза и испытание"
(утв. и введен в действие Приказом Росстандарта от 12.11.2024 N 1649-ст)


Содержание


Утвержден и введен в действие
Приказом Федерального
агентства по техническому
регулированию и метрологии
от 12 ноября 2024 г. N 1649-ст
НАЦИОНАЛЬНЫЙ СТАНДАРТ РОССИЙСКОЙ ФЕДЕРАЦИИ
ИСПЫТАНИЯ РАЗРУШАЮЩИЕ СВАРНЫХ ШВОВ МЕТАЛЛИЧЕСКИХ МАТЕРИАЛОВ
ИСПЫТАНИЕ НА УДАРНЫЙ ИЗГИБ
РАСПОЛОЖЕНИЕ ОБРАЗЦА ДЛЯ ИСПЫТАНИЙ,
ОРИЕНТАЦИЯ НАДРЕЗА И ИСПЫТАНИЕ
Destructive tests on welds in metallic materials.
Impact tests. Test specimen location,
notch orientation and examination
(ISO 9016:2022, IDT)
ГОСТ Р ИСО 9016-2024
ОКС 25.160.40
Дата введения
1 декабря 2024 года
Предисловие
1 ПОДГОТОВЛЕН Саморегулируемой организацией Ассоциация "Национальное Агентство Контроля Сварки" (СРО Ассоциация "НАКС") на основе собственного перевода на русский язык англоязычной версии стандарта, указанного в пункте 4
2 ВНЕСЕН Техническим комитетом по стандартизации ТК 364 "Сварка и родственные процессы"
3 УТВЕРЖДЕН И ВВЕДЕН В ДЕЙСТВИЕ Приказом Федерального агентства по техническому регулированию и метрологии от 12 ноября 2024 г. N 1649-ст
4 Настоящий стандарт идентичен международному стандарту ИСО 9016:2022 "Испытания разрушающие сварных швов металлических материалов. Испытание на ударный изгиб. Расположение образца для испытаний, ориентация надреза и испытание" (ISO 9016:2022 "Destructive tests on welds in metallic materials - Impact tests - Test specimen location, notch orientation and examination", IDT).
Международный стандарт разработан подкомитетом ПК 5 "Испытания и контроль сварных швов" Технического комитета ИСО/ТК 44 "Сварка и родственные процессы".
При применении настоящего стандарта рекомендуется использовать вместо ссылочных международных стандартов соответствующие им национальные стандарты, сведения о которых приведены в дополнительном приложении ДА
5 ВЗАМЕН ГОСТ Р ИСО 9016-2011
Правила применения настоящего стандарта установлены в статье 26 Федерального закона от 29 июня 2015 г. N 162-ФЗ "О стандартизации в Российской Федерации". Информация об изменениях к настоящему стандарту публикуется в ежегодном (по состоянию на 1 января текущего года) информационном указателе "Национальные стандарты", а официальный текст изменений и поправок - в ежемесячном информационном указателе "Национальные стандарты". В случае пересмотра (замены) или отмены настоящего стандарта соответствующее уведомление будет опубликовано в ближайшем выпуске ежемесячного информационного указателя "Национальные стандарты". Соответствующая информация, уведомление и тексты размещаются также в информационной системе общего пользования - на официальном сайте Федерального агентства по техническому регулированию и метрологии в сети Интернет (www.rst.gov.ru)
1 Область применения
Настоящий стандарт устанавливает метод, применяемый при описании расположения образцов для испытаний и ориентации надреза, а также протоколов испытаний на ударный изгиб стыковых сварных соединений.
Настоящий стандарт распространяется на испытания на ударный изгиб соединений металлических материалов всех видов продукции, изготовленных с применением любых процессов сварки плавлением и сварки давлением.
Настоящий стандарт применяется в дополнение к серии ИСО 148 и содержит обозначение образца для испытаний и дополнительные требования к протоколу испытаний.
2 Нормативные ссылки
В настоящем стандарте использованы нормативные ссылки на следующие стандарты [для датированных ссылок применяют только указанное издание ссылочного стандарта, для недатированных - последнее издание (включая все изменения)]:
ISO 148-1, Metallic materials - Charpy pendulum impact test - Part 1: Test method (Металлические материалы. Испытание на ударный изгиб маятниковым копром по Шарпи. Часть 1. Метод испытания)
3 Термины и определения
В настоящем стандарте термины и определения отсутствуют.
ИСО и МЭК поддерживают терминологические базы данных для использования в стандартизации по следующим адресам:
- платформа онлайн-просмотра ИСО, доступная по адресу: http://www.iso.org/obp;
- Электропедия МЭК, доступная по адресу: http://www.electropedia.org/.
4 Принцип
Испытание на ударный изгиб должно соответствовать ИСО 148-1. Температуру испытания, расположение, тип и размер образца для испытаний, а также ориентацию надреза определяют соответствующим стандартом на продукцию.
В дополнение к требованиям, изложенным в ИСО 148-1, разметку надреза допускается проводить по макрошлифам.
5 Методика обозначения
5.1 Буквенная система
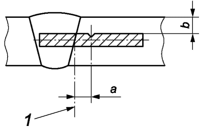
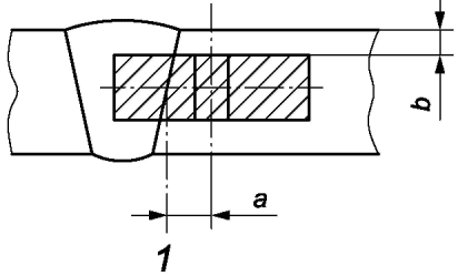
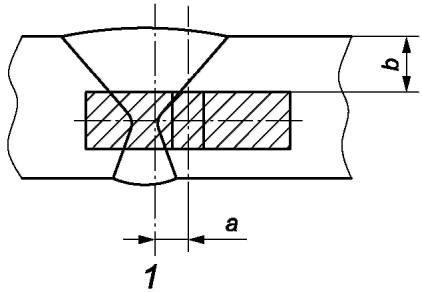
Обозначение основано на системе букв, обозначающих тип, место расположения и ориентацию надреза, а также на системе цифр, обозначающих расстояние в миллиметрах от надреза до базовой линии RL. Методика обозначения приведена в таблицах 1 и 2. Образец для испытаний вырезают из сварного соединения таким образом, чтобы его продольная ось была перпендикулярной оси сварного шва.
5.2 Обозначение
Обозначение состоит из следующих символов:
- первый символ
U: U-образный надрез по Шарпи,
V: V-образный надрез по Шарпи;
- второй символ
W: надрез в металле сварного шва, базовой линией является центральная линия сварного шва в месте расположения образца для испытаний,
H: надрез в зоне термического влияния; базовой линией является линия сплавления или линия соединения (надрез расположен в зоне термического влияния);
- третий символ
S: надрез на поверхности образца, параллельной лицевой поверхности.
Примечание - Данная ориентация надреза эквивалентна обозначению "надрез на поверхности", применяемому при разрушающих механических испытаниях;
T: надрез по толщине;
- четвертый символ
a: расстояние от базовой линии до оси надреза (если надрез выполняют по базовой линии, то a = 0, что указывают в обозначении);
- пятый символ
b: расстояние от лицевой поверхности сварного соединения до ближайшей поверхности образца (если поверхность образца является лицевой поверхностью сварного соединения, то b = 0, что указывают в обозначении).
Примечание - При двухсторонней сварке V-образных, K-образных и аналогичных сварных швов за лицевую сторону сварного шва принимают сторону с наибольшей шириной сварного шва или сторону начала сварки.
5.3 Дополнительная информация
Если простого обозначения недостаточно для определения расположения или ориентации надреза, то предоставляют эскиз отбора образцов.
6 Примеры обозначений
Примеры обозначений приведены в таблицах 1 и 2 и на рисунке 1.
Таблица 1
Обозначение образцов с надрезом на поверхности, параллельной
лицевой поверхности образца для испытаний (символ S)
Обозначение
Центр сварного шва
Обозначение
Линия сплавления/соединения
Изображение
Изображение
VWS a/b
VWS a/b (сварка давлением)
VWS a/b (сварка плавлением)
1 - базовая линия, t - размер образца в поперечном сечении.
Таблица 2
Обозначение образцов с надрезом на поверхности,
перпендикулярной лицевой поверхности образца
для испытаний (символ T)
Обозначение
Центр сварного шва
Обозначение
Линия сплавления/соединения
Изображение
Изображение
VWT 0/b
VHT 0/b
VWT a/b
VHT a/b
VWT 0/b
VHT a/b
VWT a/b
VHT a/b
1 - базовая линия, t - размер образца в поперечном сечении.
Размеры в миллиметрах
1 - ось надреза; 2 - основной металл; 3 - зона
термического влияния; 4 - линия сплавления;
5 - металл шва
Рисунок 1 - Типовые примеры обозначений
7 Испытание
Испытания образцов, приведенных в настоящем стандарте, проводят в соответствии с ИСО 148-1.
8 Протокол испытания
Протокол испытания дополнительно к информации, приведенной в ИСО 148-1, должен содержать следующую информацию:
- ссылку на настоящий стандарт;
- обозначение образца для испытаний;
- вид и размеры выявленных дефектов, при наличии;
- эскиз, если требуется;
- иную информацию, если она установлена в стандартах на испытание и/или соглашением сторон.
Пример типового протокола испытания приведен в приложении А.
Приложение А
(справочное)
ПРИМЕР ПРОТОКОЛА ИСПЫТАНИЯ
N: ________________________________________________________________________
В соответствии с предварительными
техническими требованиями
к процедуре сварки (pWPS):
________________________________________________________
В соответствии с
результат испытания:
________________________________________________________
Производитель: ____________________________________________________________
Цель испытания: ___________________________________________________________
Вид продукции: ____________________________________________________________
Основной металл: __________________________________________________________
Сварочный материал: _______________________________________________________
Таблица А.1
Испытание на ударный изгиб в соответствии с ИСО 9016:2022
Образец N
Обозначение
Размер
Температура испытания
Ударная вязкость
Примечание
мм
°C
Дж/см2
Место разрушения <a>
Вид разрушения <a>
Вид и размер дефектов
<a> Если требуется.
Эксперт или экспертный орган: Утверждаю:
___________________________________ ___________________________________
(ФИО, дата, подпись) (ФИО, дата, подпись)
Приложение ДА
(справочное)
СВЕДЕНИЯ О СООТВЕТСТВИИ ССЫЛОЧНЫХ МЕЖДУНАРОДНЫХ
СТАНДАРТОВ НАЦИОНАЛЬНЫМ СТАНДАРТАМ
Таблица ДА.1
Обозначение ссылочного международного стандарта
Степень соответствия
Обозначение и наименование соответствующего национального стандарта
ISO 148-1
IDT
ГОСТ Р ИСО 148-1-2013 "Материалы металлические. Испытание на ударный изгиб на маятниковом копре по Шарпи. Часть 1. Метод испытания"
Примечание - В настоящей таблице использовано следующее условное обозначение степени соответствия стандарта:
- IDT - идентичный стандарт.
БИБЛИОГРАФИЯ
ISO 148-2
Metallic materials - Charpy pendulum impact test - Part 2: Verification of testing machines (Металлические материалы. Испытание на ударный изгиб маятниковым копром по Шарпи. Часть 2. Проверка машин для испытаний)
ISO 148-3
Metallic materials - Charpy pendulum impact test - Part 3: Preparation and characterization of Charpy V-notch test pieces for indirect verification of pendulum impact machines (Металлические материалы. Испытание на ударный изгиб маятниковым копром по Шарпи. Часть 3. Подготовка и определение характеристик образцов для испытаний с V-образным надрезом по Шарпи для косвенной проверки маятниковых копров)
УДК 621.791:006.354
ОКС 25.160.40
Ключевые слова: испытание сварных соединений, разрушающие методы, испытание на ударный изгиб