Главная // Актуальные документы // Актуальные документы (обновление 2025.01.06-2025.02.01) // Журнал (форма)СПРАВКА
Источник публикации
В данном виде документ опубликован не был.
Первоначальный текст документа опубликован в издании
М.: Российское Классификационное Общество, 2023.
Информацию о публикации документов, создающих данную редакцию, см. в справке к этим документам.
Примечание к документу
Извещение о внесении изменений в Правила Российского Классификационного Общества, утв. Приказом ФАУ "Российское Классификационное Общество" от 11.11.2024 N 84-п, введено в действие с 14.11.2024.
Название документа
"Правила технического наблюдения за постройкой судов и изготовлением материалов и изделий для судов (ПТНП)"
(утв. Приказом ФАУ "Российский Речной Регистр" от 09.09.2015 N 36-п)
(ред. от 11.11.2024)
"Правила технического наблюдения за постройкой судов и изготовлением материалов и изделий для судов (ПТНП)"
(утв. Приказом ФАУ "Российский Речной Регистр" от 09.09.2015 N 36-п)
(ред. от 11.11.2024)
Приказом Федерального
автономного учреждения
"Российский Речной Регистр"
от 9 сентября 2015 г. N 36-п
ПРАВИЛА
ТЕХНИЧЕСКОГО НАБЛЮДЕНИЯ ЗА ПОСТРОЙКОЙ СУДОВ
И ИЗГОТОВЛЕНИЕМ МАТЕРИАЛОВ И ИЗДЕЛИЙ ДЛЯ СУДОВ (ПТНП)
| | Список изменяющих документов (в ред. изменений и дополнений, утв. Приказами Федерального автономного учреждения "Российский Речной Регистр" от 10.12.2018 N 94-п, от 30.10.2020 N 58-п, от 28.06.2021 N 42-п и Приказами Федерального автономного учреждения "Российское Классификационное Общество" от 23.08.2022 N 74-п, от 21.02.2023 N 11-п, от 29.09.2023 N 82-п, Классификационное Общество", от 11.11.2024 N 84-п) | |
Вступили в силу
с 30 марта 2019 года
В соответствии с
Уставом федерального автономного учреждения "Российское Классификационное Общество", утвержденного распоряжением Минтранса России от 05.05.2022 N ВС-117-р, федеральное автономное учреждение "Российский Речной Регистр" переименовано в федеральное автономное учреждение "Российское Классификационное Общество" (Российское Классификационное Общество, РКО). В связи с этим в настоящие Правила внесены соответствующие изменения.
Правила технического наблюдения за постройкой судов и изготовлением материалов и изделий для судов (ПТНП) утверждены приказом федерального автономного учреждения "Российский Речной Регистр" от 09.09.2015 N 36-п, переизданы с учетом изменений, внесенных на дату утверждения приказа федерального автономного учреждения "Российский Речной Регистр" от 10.12.2018 N 94-п и вступили в силу с 30.03.2019.
Настоящее переиздание Правил технического наблюдения за постройкой судов и изготовлением материалов и изделий для судов (ПТНП) включает в себя изменения и дополнения, утвержденные приказами федерального автономного учреждения "Российский Речной Регистр":
от 30.10.2020 N 58-п. Введены в действие с 02.11.2020;
от 28.06.2021 N 42-п. Введены в действие с 01.07.2021.
и приказами федерального автономного учреждения "Российское Классификационное Общество":
от 23.08.2022 N 74-п. Введены в действие с 26.08.2022;
от 21.02.2023 N 11-п. Введены в действие с 24.02.2023;
от 29.09.2023 N 82-п. Введены в действие с 02.10.2023.
Ответственный за выпуск - Н.А. Ефремов
Оригинал-макет - И.В. Голубев
1.1 ОБЛАСТЬ РАСПРОСТРАНЕНИЯ
1.1.1 Настоящие Правила технического наблюдения за постройкой судов и изготовлением материалов и изделий для судов (далее - Правила) на основании и в развитие норм
Положения о классификации и об освидетельствовании судов (далее - Положение о классификации) устанавливают формы, порядок, методы и объем технического наблюдения, осуществляемого Российским Классификационным Обществом в целях проверки выполнения требований
Правил классификации и постройки судов (далее - ПКПС) и
Правил предотвращения загрязнения окружающей среды с судов (далее - ППЗС).
1.1.2 Настоящие Правила применяются Российским Классификационным Обществом при осуществлении технического наблюдения за постройкой, переоборудованием, модернизацией и ремонтом судов, изготовлением материалов и изделий, ремонтом изделий, предназначенных для применения на судах, и при рассмотрении и согласовании технической документации.
1.2 ТЕРМИНЫ И ИХ ОПРЕДЕЛЕНИЯ
1.2.1 Термины и их определения, относящиеся к общей терминологии Правил, приведены в 2.1 ч. 0 ПКПС.
1.2.2 В настоящих Правилах используются следующие термины.
.1 Выборочный контроль - см. 2.2.6 ч. 0 ПКПС.
.2 Заявление о соответствии - документ организации-изготовителя, подтверждающий соответствие изготовленных объектов технического наблюдения Правилам и согласованной с Российским Классификационным Обществом технической документации. Форма заявления о соответствии устанавливается Российским Классификационным Обществом.
.3 Изготовитель - юридическое лицо или индивидуальный предприниматель, осуществляющее строительство судна, изготовление и распространение материалов и (или) изделий для судов или передающее право на распространение другому юридическому лицу или индивидуальному предпринимателю, модернизирующее изделия для судов, официально наносящее на суда и изделия для них товарный знак или другое отличительное обозначение, тем самым принимая на себя обязательства изготовителя.
.4 Изделие серийного производства (серийное изделие) - изделие, принадлежащее к периодически повторяющимся партиям изготавливаемых или ремонтируемых изделий.
.5 Испытания при одобрении типа - контрольные испытания материалов или изделий, проводимые с целью установления соответствия их свойств (характеристик) согласованной технической документации и Правилам.
.6 Испытательная лаборатория - независимая испытательная лаборатория или подразделение организации, осуществляющие регламентируемые Правилами испытания при строительстве, переоборудовании, модернизации и ремонте судов, изготовлении материалов и изделий.
.7 Одобрение типа материала или изделия - определение Российским Классификационным Обществом соответствия типовых образцов материалов или изделий требованиям Правил, изготавливаемых в условиях непрерывного производства.
.8 Одобрено - термин, применяемый Российским Классификационным Обществом при положительных результатах проверки соответствия материалов и изделий требованиям Правил.
.9 Организация по классификации - организация, уполномоченная Минтрансом России на классификацию и освидетельствование судов.
.10 Программа испытаний - документ, устанавливающий, объект, виды, последовательность и объем проводимых испытаний, порядок, условия, место и сроки проведения испытаний, обеспечение и отчетность по ним, а также ответственность за обеспечение и проведение испытаний.
.11 Протокол испытаний - документ, содержащий сведения об объекте испытаний, примененных методах, средствах и условиях испытаний, результаты испытаний, а также заключение по результатам испытаний.
.12 Разовая поставка - материал или изделие, поставляемые однократно на суда, имеющие класс Российского Классификационного Общества или строящиеся на класс Российского Классификационного Общества.
.13 Ремонт судна - комплекс операций по восстановлению исправного или работоспособного состояния судна на определенный интервал времени.
.14 Сертификат - документ Российского Классификационного Общества, подтверждающий, что данные материалы или изделия соответствуют требованиям Правил и согласованной технической документации.
.15 "СОГЛАСОВАНО" - штамп, применяемый Российским Классификационным Обществом при подтверждении соответствия технической документации требованиям Правил.
.16 Стендовые испытания - испытания, проводимые на испытательном оборудовании.
.17 Техническая документация - конструкторская, технологическая документация, а также иные технические документы на объекты технического наблюдения, содержащие необходимые данные для проверки выполнения требований Правил.
.18 Типовой материал или изделие - материал или изделие, относящееся к группе материалов или изделий, обладающих близкими физико-механическими свойствами или конструктивными и технологическими признаками. Применяются по назначению без отнесения к конкретному судну или объекту технического наблюдения.
.19 Типовой образец - представитель типового материала или изделия, используемый при испытании и контроле.
1.3 РАБОТЫ, ВЫПОЛНЯЕМЫЕ ГЛАВНЫМ УПРАВЛЕНИЕМ
1.3.1 В части технического наблюдения за проектированием, постройкой судов, изготовлением материалов и изделий Главное управление:
.1 рассматривает и согласовывает технические проекты на постройку судов;
.2 рассматривает проекты национальных стандартов;
.3 рассматривает и согласовывает техническую документацию на изготовление материалов и изделий при одобрении типа этих материалов или изделий;
.4 рассматривает и согласовывает технические проекты переклассификации судов;
.5 рассматривает и согласовывает компьютерные приложения, используемые для целей проектирования;
.6 принимает участие в техническом наблюдении за проведением испытаний головных судов (объектов), построенных по проектам, согласованным с Российским Классификационным Обществом;
.7 осуществляет техническое наблюдение за проведением испытаний типовых образцов материалов и изделий, изготовленных по документации, согласованной с Российским Классификационным Обществом, с выдачей Свидетельства об одобрении типового материала или изделия;
.8 проверяет копии судовых документов, выдаваемых филиалами на головные суда после постройки или переоборудования;
.9 рассматривает и согласовывает перечень замен, равноценных требованиям Правил;
.10 осуществляет техническое наблюдение за выполнением Правил при изготовлении материалов и изделий, в случаях, если организации-изготовители находятся вне границ деятельности филиалов, с выдачей соответствующих документов;
.11 проводит освидетельствование организаций, изготавливающих материалы и изделия, выполняющих работы в соответствии с требованиями Российского Классификационного Общества, и испытательных лабораторий, выполняющих испытания, регламентируемые Правилами, если они находятся вне границ деятельности филиалов, оформляет и выдает Свидетельства о признании этим организациям и лабораториям;
.12 осуществляет общее руководство филиалами, решает технические и другие вопросы, возникающие при выполнении филиалами своих функций;
.13 совершенствует нормативные документы по классификации.
1.4 РАБОТЫ, ВЫПОЛНЯЕМЫЕ ФИЛИАЛОМ
1.4.1 В части технического наблюдения за проектированием, постройкой, модернизацией, переоборудованием и ремонтом судов, изготовлением материалов и изделий, а также ремонтом изделий, филиал:
.1 рассматривает и согласовывает технические (технорабочие) проекты:
плавучих объектов, судов технического флота, несерийных самоходных и несамоходных судов других типов и назначений, за исключением буксиров, ледоколов, высокоскоростных судов, экранопланов и судов новых конструктивных типов;
подкрепления корпусов или подготовки судов для эксплуатации или разового перехода (перегона) вне установленного района плавания;
переоборудования, модернизации и ремонта судов всех типов и назначений, за исключением переклассификации судов;
.2 рассматривает и согласовывает рабочую документацию для строящихся, переоборудуемых, модернизируемых и ремонтируемых судов;
.3 рассматривает и согласовывает техническую документацию на изготовление материалов и изделий, по которым не предусмотрено одобрение типа, а также на ремонт изделий;
.4 осуществляет техническое наблюдение за выполнением требований Правил при постройке, переоборудовании, модернизации и ремонте судов, изготовлении материалов и изделий, при ремонте судовых технических средств;
.5 составляет и выдает на построенные, переоборудованные, модернизированные и отремонтированные суда документы Российского Классификационного Общества и представляет копии этих документов Главному управлению в установленном объеме;
.6 рассматривает и согласовывает стандарты организаций и технологические процессы;
.7 проводит освидетельствование организаций и испытательных лабораторий, за исключением находящихся вне границ деятельности филиала, с оформлением и выдачей Свидетельства о признании;
.8 выполняет другие работы по поручению Главного управления, в том числе указанные в
1.3.
2 ОСНОВНЫЕ ПОЛОЖЕНИЯ ПО ТЕХНИЧЕСКОМУ НАБЛЮДЕНИЮ
2.1.1 Техническое наблюдение за изготовлением объектов технического наблюдения осуществляется путем поэтапных проверок этих объектов при изготовлении, в том числе на конечной стадии производства (готовые материалы или изделия).
Проверки проводятся экспертом Российского Классификационного Общества или уполномоченным Российским Классификационным Обществом лицом организации после проведения контроля изготавливаемых материалов и изделий персоналом организации-изготовителя и оформления этой организацией документов о качестве операции, изготовления или монтажа объектов технического наблюдения.
В процессе проверок эксперт Российского Классификационного Общества или уполномоченное Российским Классификационным Обществом лицо организации не должны принимать решения, отличающиеся от установленных Правилами.
Номенклатура объектов технического наблюдения, осуществляемого Российским Классификационным Обществом, и формы технического наблюдения указаны в
табл. П1.1 (далее - Номенклатура).
2.1.2 Все работы по техническому наблюдению выполняются Российским Классификационным Обществом по заявкам и, как правило, на основании договоров с организациями, осуществляющими проектирование, постройку, переоборудование, модернизацию и ремонт судов, а также изготавливающими материалы и изделия для судов.
(п. 2.1.2 в ред.
Извещения, утв. Приказом ФАУ "Российское Классификационное Общество" от 11.11.2024 N 84-п)
2.1.3 Проверка качества объектов технического наблюдения Российского Классификационного Общества осуществляется методами, определенными в настоящих Правилах, и распространяется только на регламентированные настоящими Правилами свойства объектов.
2.1.4 Российское Классификационное Общество, осуществляя техническое наблюдение, не заменяет функции служб технического контроля организации и судовладельца.
2.1.5 Техническое наблюдение за изготовлением материалов и изделий, постройкой, модернизацией и переоборудованием судов, осуществляется по согласованной технической документации и согласованным технологическим процессам.
Если материалы и изделия, указанные в
Номенклатуре, изготавливаются и (или) испытываются в соответствии с национальными стандартами, в результате применения которых обеспечивается соблюдение требований Правил, то техническое наблюдение осуществляется с учетом требований указанных стандартов.
2.1.6 Порядок рассмотрения и согласования технической документации на объекты технического наблюдения, объем освидетельствований при техническом наблюдении в организации и технологические операции, подлежащие контролю, определены соответствующими разделами настоящих Правил.
2.1.7 Российское Классификационное Общество на договорной основе может поручить (доверить) осуществление технического наблюдения за постройкой судна или изготовлением материалов и изделий другой классификационной или иной компетентной организации, признанной Российским Классификационным Обществом, а также принять поручение другой классификационной или иной организации на осуществление технического наблюдения.
Объем и порядок технического наблюдения, а также форма и перечень выдаваемых документов в этих случаях определяются в соответствующих договорах (см.
2.7).
2.1.8 Материалы и изделия, являющиеся объектами технического наблюдения, допускаются к установке на суда при наличии сертификатов или других документов Российского Классификационного Общества или иной организации по классификации, выданных по поручению Российского Классификационного Общества, подтверждающих соответствие устанавливаемых материалов и изделий требованиям Правил.
2.1.9 Техническое наблюдение за изготавливаемыми организацией материалами и комплектующими изделиями, используемыми в этой организации для изготовления изделий, а также при постройке или ремонте судна, осуществляется экспертом в рамках технического наблюдения за изготовлением изделий, постройкой и ремонтом судна. Осуществление технического наблюдения подтверждается записью в извещении о вызове эксперта (далее - Извещение),
форма которого установлена приложением 2.
При изготовлении указанных выше материалов и комплектующих изделий для поставок иным организациям, в том числе в качестве сменно-запасных частей, техническое наблюдение осуществляется по формам, указанным в
Номенклатуре, с выдачей документов, указанных в
2.2.6.
В
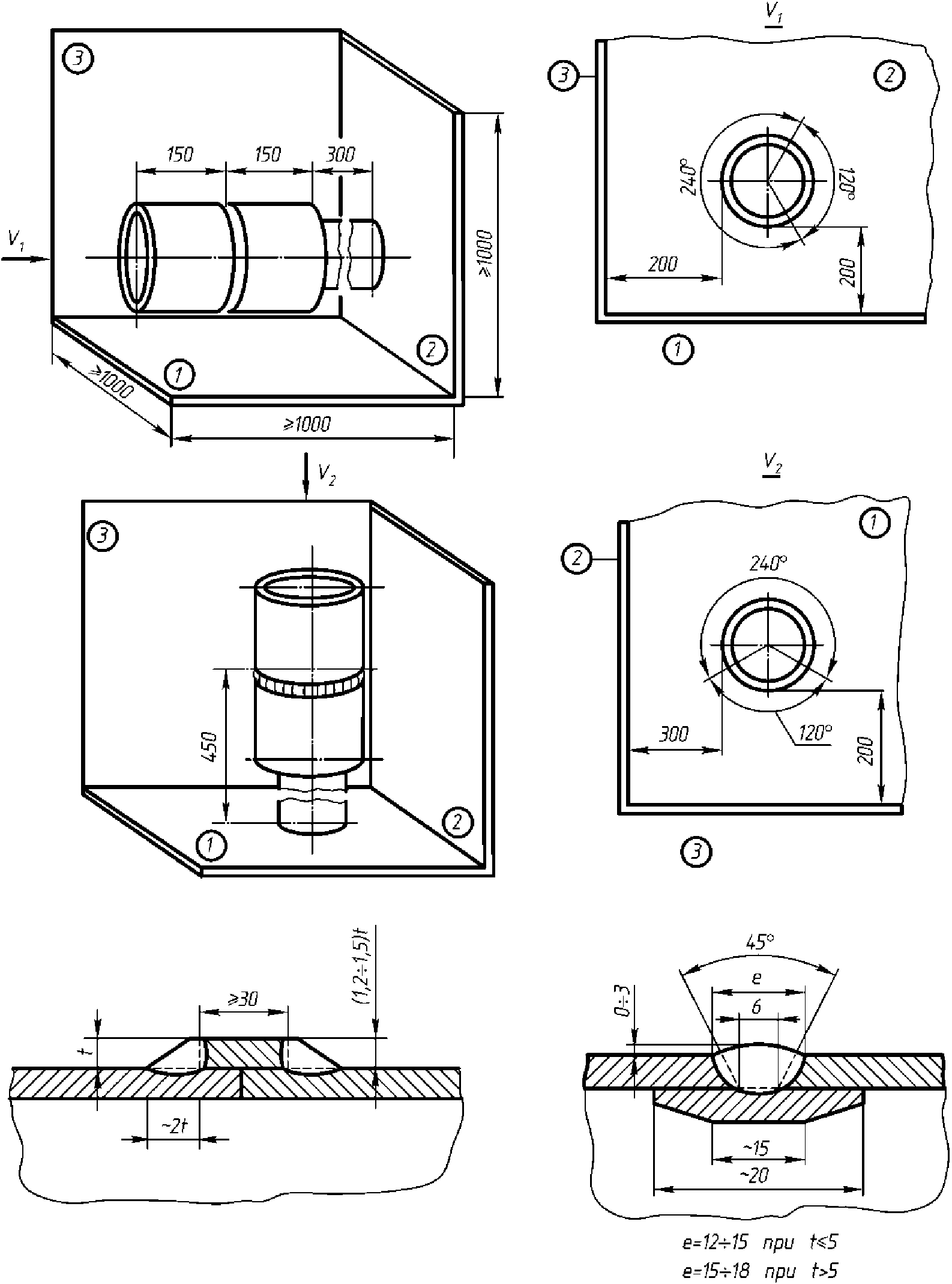
Извещении на предъявление работ должны содержаться сведения о сварщиках, выполнявших предъявляемые работы, если требования по сварке конструкций и объектов предусмотрены Правилами (см.
2.9.1), включая их фамилии, имена и отчества (при наличии), а также реквизиты Свидетельства о допуске сварщика.
2.1.10 Новые материалы и изделия (в том числе находящиеся на консервации), не имеющие документов Российского Классификационного Общества, по результатам их освидетельствования могут быть допущены к установке на конкретное судно или использованы для изготовления изделий, в следующем порядке:
.1 судостроительная или судоремонтная организации, организация-изготовитель изделий предоставляет в Российское Классификационное Общество для рассмотрения документацию организации-изготовителя на материалы и изделия в объеме, необходимом для определения соответствия материалов или изделий требованиям Правил, а также программу испытаний, позволяющую произвести оценку соответствия требованиям Правил. Для двигателей в составе документации должен направляться на рассмотрение в Российское Классификационное Общество технический паспорт выбросов вредных (загрязняющих) веществ в отработавших газах и дымности (оформляется в соответствии с
ГОСТ 31967) либо, в отсутствии указанных в настоящем подпункте документов, иные документы о предотвращении загрязнения воздушной среды из двигателя (Свидетельство EIAPP, технический файл двигателя и т.п.).
Документация направляется вместе с
Извещением, содержащим наименование материала или изделия и его идентификационные признаки (например, наименование изготовителя, серийный номер или номер партии);
.2 на рассмотренную документацию и программу испытаний, в случае их соответствия требованиям Правил, проставляется штамп "Принято к сведению";
.3 в случае установления соответствия документации требованиям Правил проводятся испытания в объеме, установленном принятой к сведению программе испытаний;
.4 эксперт проводит освидетельствование материала или изделия, в объеме, установленном Правилами;
.5 соответствие материала или изделия требованиям Правил подтверждается выдачей свидетельства формы РКО-1.25.1 на изделия, имеющие индивидуальный идентификационный номер, а на изделия, не имеющие индивидуального идентификационного номера, и материалы - записью в
Извещении, с которым материал или изделие был направлен эксперту для проведения освидетельствования. На двигатели также выдается Свидетельство о соответствии судового двигателя техническим нормативам выбросов вредных (загрязняющих) веществ в атмосферный воздух (форма РКО-1.30).
Протокол испытаний и принятая к сведению документация (копия документации) прикладываются к
Извещению, на основании которого экспертом осуществлялось освидетельствование материала или изделия.
Результаты освидетельствования, распространяются только на те материалы или изделия, которые были предъявлены
Извещением, указанным в
2.1.10.1, и прошли процедуру освидетельствования, указанную в настоящем пункте.
При повторном предъявлении Российскому Классификационному Обществу к освидетельствованию материалов или изделий, указанных в настоящем пункте, освидетельствование осуществляется в соответствии с требованиями настоящего пункта в полном объеме.
2.1.11 Положения
2.1.10 не применяются в следующих случаях:
.1 на материалы и изделия имеется действующий сертификат (свидетельство) об одобрении типового материала или изделия;
.2 материал или изделие применяется при строительстве серии судов;
.3 на аналогичные по характеристикам изделия имеется действующий сертификат (свидетельство) об одобрении типового изделия.
2.1.12 Материалы и изделия, которые планируется использовать для установки на суда при модернизации, переоборудовании или ремонте, демонтируются с судов, находящихся (находившихся) в классе Российского Классификационного Общества, по согласованию с филиалом.
Демонтаж с судна материалов или изделий, которые планируется использовать для установки на суда при модернизации, переоборудовании или ремонте, в случае отсутствия документов Российского Классификационного Общества на них, подтверждающих их соответствие требованиям Правил (форм РКО-8.1, РКО-8.3, РКО-1.25.1, РКО-1.25к, РКО-1.25м), осуществляется в присутствии эксперта Российского Классификационного Общества.
На демонтируемые материалы и изделия составляется акт освидетельствования демонтируемых материалов и изделий (форма РКО-10.3), за исключением случаев, указанных в
абзацах четвертом и
пятом настоящего пункта.
В случае отсутствия на демонтируемые изделия документации, необходимой для определения их технического состояния, а на главные и вспомогательные двигатели - формуляров, паспортов, других документов, содержащих, в том числе, сведения организации-изготовителя о назначенных и остаточных ресурсах (сроках службы), акт освидетельствования на демонтируемые изделия не составляется, а изделия не допускаются к дальнейшей установке на суда с классом Российского Классификационного Общества.
Акт освидетельствования демонтируемых изделий не составляется в случае наличия документов Российского Классификационного Общества на изделие, подтверждающих их соответствие требованиям Правил (форм РКО-8.1, РКО-8.3, РКО-1.25.1, РКО-1.25к, РКО-1.25м).
Материалы или изделия, не имеющие индивидуального идентификационного номера, прошедшие процедуру освидетельствования при демонтаже, идентифицируются экспертом любым подходящим способом - клеймом либо печатью эксперта (например, на бирке) и т.п.
2.1.13 Демонтированные с судов с классом Российского Классификационного Общества материалы или изделия, прошедшие процедуру определения технического состояния согласно требованиям
абзацев четвертого и
пятого настоящего пункта, могут быть допущены к установке на другие суда при модернизации, переоборудовании или ремонте в случае, если на них имеются документы Российского Классификационного Общества (форм РКО-8.1, РКО-8.3, РКО-1.25.1, РКО-1.25к, РКО-1.25м) или акт освидетельствования демонтируемых материалов и изделий (формы РКО-10.3), а также документация, требуемая
ПОСЭ для определения технического состояния изделий.
На двигатели главные и вспомогательные, помимо вышеизложенного, должны быть в наличии формуляры, паспорта, другие документы, содержащие, в том числе, сведения организации-изготовителя о назначенных и остаточных ресурсах (сроках службы).
Решение о возможности использования на судне материалов и изделий, демонтированных с других судов с классом Российского Классификационного Общества, принимает филиал, осуществляющий техническое наблюдение за модернизацией, переоборудованием или ремонтом судна по результатам определения технического состояния материалов и изделий.
Определение технического состояния материалов или изделий, указанных в
абзаце первом настоящего пункта и планируемых к установке на суда, осуществляется в соответствии с
приложениями 2 -
4 к ПОСЭ в отношении изделий или в соответствии с
ч. X ПКПС в отношении материалов.
По результатам определения технического состояния при необходимости проводится ремонт изделий в требуемом объеме. Техническое наблюдение за ремонтом изделий осуществляется в соответствии с требованиями настоящих Правил.
По результатам определения технического состояния изделий, а также технического наблюдения за ремонтом изделий, при положительных результатах механических испытаний и определения химического состава материалов оформляются свидетельства формы РКО-1.25к или РКО-1.25м на изделия с индивидуальными идентификационными номерами, сертификат формы РКО-8.3 - на капитально отремонтированный двигатель. На изделия, не имеющие индивидуальных идентификационных номеров, и материалы вносятся записи в
Извещения, которыми были направлены материалы или изделия для проведения освидетельствования.
2.2 ФОРМЫ ТЕХНИЧЕСКОГО НАБЛЮДЕНИЯ
2.2.1 Настоящими Правилами предусмотрены следующие формы технического наблюдения за постройкой, переоборудованием, модернизацией и ремонтом судов, изготовлением материалов и изделий:
.1 техническое наблюдение эксперта
(форма Р) - техническое наблюдение, осуществляемое Российским Классификационным Обществом;
.2 техническое наблюдение Российского Классификационного Общества и организации
(форма ОР) - техническое наблюдение за изготовлением материалов и изделий, осуществляемое совместно экспертом Российского Классификационного Общества и персоналом организации;
.3 техническое наблюдение эксперта посредством типового одобрения
(форма ОТ) - техническое наблюдение за изготовлением материалов и изделий, осуществляемое Российским Классификационным Обществом при типовом одобрении без участия в приемке конечного материала или изделия;
.4 техническое наблюдение в форме Признанной документации
(форма ПД) - техническое наблюдение, при котором соответствие материала или изделия требованиям Правил подтверждается только путем рассмотрения и согласования технической документации, без наблюдения за его изготовлением или при монтаже (сборке) на судне;
.5 техническое наблюдение иной организацией по классификации - техническое наблюдение, осуществляемое иным классификационным обществом по поручению Российского Классификационного Общества (договору с Российским Классификационным Обществом).
2.2.2 Формы технического наблюдения, приведенные в
графах 2 и
3 Номенклатуры, распространяются на материалы и изделия, подлежащие многократным поставкам. Техническое наблюдение при разовых поставках осуществляется в соответствии с
2.3.18 и
2.3.19. Результаты рассмотрения документации и испытаний при разовых поставках распространяются только на заявленный экземпляр объекта технического наблюдения.
2.2.3 В предусмотренных Номенклатурой случаях
(гр. 3) организация совместно с Российским Классификационным Обществом может выбрать форму технического наблюдения -
Р или
ОР.
Возможность применения формы технического наблюдения
ОР определяется филиалом (Главным управлением) по результатам освидетельствования организации-изготовителя.
2.2.4 Техническое наблюдение за постройкой, модернизацией, переоборудованием и ремонтом судов, одобрением типа материалов и изделий осуществляется только экспертами Российского Классификационного Общества или работниками иной организации по классификации по поручению Российского Классификационного Общества или по договору с Российским Классификационным Обществом (см.
2.7).
Проводятся предусмотренные Правилами испытания имеющими Свидетельство о признании Российского Классификационного Общества на их проведение испытательными лабораториями. Электрическое оборудование, устанавливаемое и переносное оборудование, применяемое во взрывоопасных помещениях и пространствах, должно иметь, помимо сертификатов, предусмотренных Правилами, также сертификаты соответствия, оформленные по результатам подтверждения соответствия в форме обязательной сертификации в соответствии с Федеральным
законом от 27.12.2002 N 184-ФЗ "О техническом регулировании", внесенные в единый реестр Российской национальной системы аккредитации, содержащие в маркировке взрывозащиты сведения, подтверждающие соответствие уровня и вида взрывозащиты установленным в Правилах требованиям. Испытания в присутствии эксперта проводятся в случае, когда Правилами предусмотрено проведение испытаний в присутствии эксперта, либо если испытательная лаборатория не признана Российским Классификационным Обществом на проведение этих испытаний.
Участие эксперта в испытании судов, материалов и изделий, испытании, проводимом на допуск сварщиков, подтверждается подписью эксперта под надписью "Проведено при техническом наблюдении (освидетельствовании) эксперта", проставляемой на документе, составленном по результатам испытаний (протокол, акт).
2.2.5 Процедуры технического наблюдения за изготовлением материалов и изделий приведены в
табл. 2.2.5
Таблица 2.2.5
Формы и процедуры технического наблюдения
за изготовлением материалов и изделий
Варианты применения форм технического наблюдения | Формы технического наблюдения | Процедуры технического наблюдения |
| | Признание организации-изготовителя (см. 2.8) | Одобрение типа (см. 2.3.8) | Рассмотрение технической документации (см. 3.4) | Техническое наблюдение, осуществляемое экспертом (см. 2.3.17) | Техническое наблюдение, осуществляемое экспертом совместно с персоналом организации (см. 2.4) |
1 | Р | Р | + | + | + | + | - |
1а | Р | ОР | + | + | + | - | + |
2 | - | Р | + | - | + | + | - |
2а | - | ОР | + | - | + | - | + |
3 | Р | ОТ | + | + | + | - | - |
4 | - | ПД | - | - | + | - | - |
Заявитель вправе направить в Российское Классификационное Общество заявку на каждую процедуру в отдельности либо на несколько процедур технического наблюдения.
В случае разовых поставок (см.
2.2.2) признание организации-изготовителя не требуется.
2.2.6 В зависимости от применяемой формы технического наблюдения на объекты
Номенклатуры оформляются документы, подтверждающие их соответствие требованиям Правил:
.1 форма Р - на новые материалы и изделия (формы РКО-8.1 или РКО-1.25.1), на элементы корпусных конструкций эксплуатировавшихся судов (форма РКО-1.25к), на судовые технические средства и оборудование, демонтированные с эксплуатировавшихся судов (форма РКО-1.25м), на капитально отремонтированные двигатели (форма РКО-8.3);
.2 форма ОР - на новые материалы и изделия (форма РКО-8.1);
.3 форма ОТ - на новые материалы и изделия оформляется документ организации-изготовителя, содержащий информацию о Свидетельстве об одобрении типа (см.
2.3.13) с указанием даты его выдачи и номера, либо с приложением копии Свидетельства об одобрении типа, заверенной организацией-изготовителем;
.4 форма ПД - на новые материалы и изделия оформляется документ организации-изготовителя, содержащий дату и номер письма о согласовании технический документации, в соответствии с которой осуществляется изготовление материала или изделия.
2.2.7 На материалы и изделия, выпускаемые партиями, выдается один сертификат на партию. В этом случае каждое изделие следует поставлять с документами организации-изготовителя, имеющими ссылку на этот сертификат. В сопроводительной документации на поставляемое изделие (партию или ее часть) должна иметься заверенная организацией-изготовителем копия сертификата.
В случае если выдавался сертификат на единицу продукции, она должна поставляться с оригиналом сертификата.
2.2.8 По результатам технического наблюдения на судно выдаются документы, предусмотренные
ПОСЭ, в зависимости от вида освидетельствования, которым оканчивается техническое наблюдение за постройкой, переоборудованием, модернизацией или ремонтом судна.
2.3 ТЕХНИЧЕСКОЕ НАБЛЮДЕНИЕ, ОСУЩЕСТВЛЯЕМОЕ ЭКСПЕРТОМ
(ФОРМА Р)
2.3.1 Для определения объема и порядка проверок объекты технического наблюдения, напротив которых в
графах 3,
5 -
7 Номенклатуры проставлен символ "Р", Российское Классификационное Общество и организация-изготовитель составляют
перечень контрольных проверок объектов и технологических операций (далее - Перечень). В
Перечне приводятся объекты технического наблюдения, указанные в
Номенклатуре, а также отдельные технологические операции и работы, осуществляемые под техническим наблюдением Российского Классификационного Общества.
Форма Перечня приведена в приложении 3.
2.3.2 Перечень составляют на основании требований Правил с учетом конкретных условий технического наблюдения.
Перечень является приложением к договору о техническом наблюдении.
Каждому пункту
Перечня соответствует одно предъявление Российскому Классификационному Обществу, охватывающее один или несколько однородных объектов технического наблюдения, или объем работ, законченных на данной стадии изготовления. При этом учитываются технологическая последовательность и условия изготовления ответственных деталей и сборки изделия.
Типовой
Перечень приведен в приложении 4.
2.3.3 Для выполнения проверок и участия в испытаниях объектов технического наблюдения эксперту направляется письменное
Извещение не позднее чем за сутки до даты их проведения.
В случае обнаружения нарушений требований Правил экспертом предъявляется требование по устранению выявленных нарушений и повторному предъявлению объекта технического наблюдения к проверке или испытаниям. После выполнения требований эксперту направляется повторное извещение.
2.3.4 Результаты проверок и испытаний объектов технического наблюдения эксперт записывает в
Извещении, а также в построечном журнале (при его наличии),
форма которого приведена в приложении 5.
2.3.5 Помимо проверок в соответствии с
Перечнем эксперт осуществляет проверки качества изготовления деталей, узлов и элементов конструкций, входящих в состав объектов технического наблюдения, предъявляемых в соответствии с
Перечнем, соблюдения технологических процессов, согласованных с Российским Классификационным Обществом (см.
3.1.10), соблюдения условий выдачи Свидетельства о признании и (или) договора о техническом наблюдении. Результаты проверок отражаются в журнале технического наблюдения,
форма которого приведена в приложении 6.
2.3.6 При обнаружении дефектов, требующих устранения, объект технического наблюдения предъявляется к повторной проверке Российскому Классификационному Обществу после устранения этих дефектов.
2.3.7 По результатам выполненных проверок и испытаний материалов или изделий эксперт оформляет на них соответствующие документы Российского Классификационного Общества. При этом в случаях, предусмотренных
2.1.12 и
приложением 1, выполняется клеймение материалов и изделий. Информация о наличии клейма Российского Классификационного Общества на этих материалах и изделиях указывается в выданных на них документах Российского Классификационного Общества.
Одобрение типа материалов и изделий
2.3.8 В отношении объектов технического наблюдения, напротив которых в
гр. 2 Номенклатуры проставлен символ "Р", проводится процедура одобрения типа.
2.3.9 Для получения Свидетельства об одобрении типа материала или изделия организация обращается в Российское Классификационное Общество с заявкой.
С заявкой представляется техническая документация на материал или изделие (см.
3.4) в объеме, достаточном для определения соответствия заявленного материала или изделия требованиям Правил.
2.3.10 При рассмотрении и согласовании технической документации устанавливается объем и порядок технического наблюдения за испытаниями заявленных объектов технического наблюдения. Объем испытаний должен быть не меньше предусмотренного Правилами для типовых материалов и изделий.
2.3.11 Для разных типоразмеров изделия проводятся испытания типового образца, в конструкции которого учтены основные особенности всего ряда изделий.
Испытания материалов и изделий должны быть проведены в признанных Российским Классификационным Обществом испытательных лабораториях, подразделениях организации-изготовителя (см.
2.8.7).
При одобрении типа могут быть учтены результаты испытаний, проведенных не позднее, чем за шесть лет до даты одобрения типа в организации, имевшей действующее на момент таких испытаний Свидетельство о признании, подтверждающее возможность их проведения, либо в присутствии эксперта Российского Классификационного Общества или работника иного классификационного общества, действующего по поручению Российского Классификационного Общества (см.
2.7) с целью одобрения типа данного материала или изделия. Электрическое оборудование, устанавливаемое и переносное оборудование, применяемое во взрывоопасных помещениях и пространствах, должно иметь, помимо сертификатов, предусмотренных Правилами, также сертификаты соответствия, оформленные по результатам подтверждения соответствия в форме обязательной сертификации в соответствии с Федеральным
законом от 27.12.2002 N 184-ФЗ "О техническом регулировании", внесенные в единый реестр Российской национальной системы аккредитации, содержащие в маркировке взрывозащиты сведения, подтверждающие соответствие уровня и вида взрывозащиты установленным в Правилах требованиям.
2.3.12 Результаты проверок и испытаний оформляются записью в акте освидетельствования типового образца (форма РКО-10.1).
2.3.13 Свидетельство об одобрении типа материала или изделия (формы РКО-11.1, РКО-11.3) выдается Российским Классификационным Обществом в целях удостоверения того, что установленные путем проверок и испытаний конструкция, свойства, параметры, характеристики типового материала или изделия соответствуют согласованной технической документации и требованиям Правил для применения по назначению на судах и других объектах технического наблюдения Российского Классификационного Общества.
Свидетельство об одобрении типа материала или изделия не заменяет сертификат, выдаваемый на серийные материалы и изделия.
2.3.14 Свидетельство об одобрении типа материала или изделия действительно до истечения срока действия согласования технической документации на материал или изделие (см.
3.1.8).
2.3.15 По окончании срока действия Свидетельства об одобрении типа материала или изделия организация-изготовитель должна пройти процедуру, указанную в
2.3.9 -
2.3.11.
При определении объема проверок и испытаний должны быть учтены результаты освидетельствования организации-изготовителя при проведении процедуры ее признания Российским Классификационным Обществом, результаты технического наблюдения за изготовлением материалов или изделий за истекший период, а также информация об объеме и характере претензий, поступивших от потребителей и иных заинтересованных лиц.
2.3.16 Действие выданного Свидетельства об одобрении типа материала или изделия прекращается до истечения его срока действия в следующих случаях:
.1 конструкция изделия, его свойства и иные характеристики изменены без согласования с Российским Классификационным Обществом;
.2 не выполняются установленные Правилами требования в отношении пригодности материала или изделия к дальнейшей эксплуатации на судне;
.3 если действие согласования технической документации в отношении материала или изделия прекращается.
Техническое наблюдение за изготовлением материалов
и изделий, осуществляемое экспертом
2.3.17 В случаях, предусмотренных Номенклатурой (символ "Р" в
гр. 3), техническое наблюдение за изготовлением материалов и изделий осуществляется экспертом Российского Классификационного Общества.
2.3.18 Для получения сертификата на материалы или изделия организация-изготовитель обращается в Российское Классификационное Общество с заявкой, к которой прилагается техническая документация на материалы или изделия в объеме, регламентируемом Правилами (см.
3.4). По результатам рассмотрения технической документации определяются требования к объему проверок и испытаний, а также осуществляется ее согласование (см.
3.4.8).
Если документация на материалы или изделия ранее была согласована и имеет действующий статус согласования (см.
3.1.8 и
3.1.9), то в заявке
(Извещении) указывается номер письма о согласовании технической документации (повторное согласование не требуется).
2.3.19 При установлении по результатам проверок и испытаний (см.
разд. 5 -
10) соответствия материала или изделия требованиям согласованной технической документации и Правил экспертом выдаются сертификаты (форма РКО-8.1).
2.4 ТЕХНИЧЕСКОЕ НАБЛЮДЕНИЕ, ОСУЩЕСТВЛЯЕМОЕ РОССИЙСКИМ
КЛАССИФИКАЦИОННЫМ ОБЩЕСТВОМ И ОРГАНИЗАЦИЕЙ (ФОРМА ОР)
2.4.1 В предусмотренных Номенклатурой случаях (символ "ОР" в
гр. 3) при условии подтверждения возможности осуществлять техническое наблюдение Российского Классификационного Общества совместно с организацией-изготовителем (см.
2.2.3) применяется форма технического наблюдения ОР.
2.4.2 Для применения данной формы технического наблюдения организация обращается в Российское Классификационное Общество с заявкой. При подтверждении возможности применения формы технического наблюдения ОР (см.
2.2.3) с организацией заключается договор о техническом наблюдении.
2.4.3 Форма ОР применяется при соблюдении следующих условий:
.1 (признан утратившим силу);
.2 организация-изготовитель имеет Свидетельство о признании, подтверждающее возможность организации выпускать заявленную продукцию (см.
2.8.11);
.3 организация-изготовитель имеет Свидетельство об одобрении типа, выданное на выпускаемую продукцию, если это предусмотрено
Номенклатурой (см.
2.3.13);
.4 техническая документация, по которой изготавливаются материалы и изделия, имеет действующее согласование с Российским Классификационным Обществом (см.
3.1.8,
3.1.9);
.5 в организации-изготовителе назначено лицо (лица), уполномоченное на контроль соблюдения требований Правил, условий договора и оформления документации, представляемой в Российское Классификационное Общество (далее - уполномоченное лицо);
.6 между Российским Классификационным Обществом и организацией-изготовителем заключен договор о техническом наблюдении за изготовлением материалов или изделий.
2.4.4 Уполномоченное лицо организации осуществляет контроль соответствия конструкций, свойств, параметров, характеристик материалов или изделий, на которые распространяется договор, согласованной Российским Классификационным Обществом технической документации и требованиям Правил.
При положительных результатах контроля уполномоченное лицо организации направляет в Российское Классификационное Общество заявление о соответствии, форма которого определяется Российским Классификационным Обществом, с приложением протоколов приемо-сдаточных (контрольных) испытаний.
2.4.5 При положительных результатах рассмотрения заявления о соответствии и приложенных к нему результатов испытаний или иных документов, подтверждающих соответствие материалов или изделий согласованной технической документации и Правил, экспертом Российского Классификационного Общества выдается сертификат (форма РКО-8.1) или другой документ для данного вида продукции, если он предусмотрен Правилами.
2.5 ТЕХНИЧЕСКОЕ НАБЛЮДЕНИЕ В ФОРМЕ ТИПОВОГО ОДОБРЕНИЯ
(ФОРМА ОТ)
2.5.1 В случаях, указанных в Номенклатуре (символ "ОТ" в
гр. 3), при изготовлении материалов и изделий применяется форма технического наблюдения ОТ.
2.5.2 Техническое наблюдение в форме ОТ заключается в проведении процедуры одобрения типа материала или изделия без последующего наблюдения за их изготовлением.
2.5.3 Форма ОТ применима при соблюдении следующих условий:
.1 организация-изготовитель имеет действующее на момент выпуска материала или изделия Свидетельство о признании, подтверждающее возможность выпуска организацией этой продукции (см.
2.8.11);
.2 организация-изготовитель имеет действующее на момент выпуска материала или изделия Свидетельство об одобрении типа, выданное на выпускаемую продукцию (см.
2.3.13).
2.5.4 С целью подтверждения соответствия сварочных материалов и их качества согласованной технической документации, а также с целью подтверждения возможности применения формы ОТ ежегодно в присутствии эксперта проводятся испытания этих сварочных материалов.
Объем ежегодных испытаний сварочных материалов устанавливается в соответствии с требованиями 4.1.5 ч. XIV ПКПМС.
Отметка о проведенной проверке проставляется на обороте Свидетельства об одобрении сварочных материалов (форма РКО-11.3).
2.5.5 Техническое наблюдение в форме ОТ прекращается при несоблюдении условий, установленных в
2.5.3 и
2.5.4.
2.6 ТЕХНИЧЕСКОЕ НАБЛЮДЕНИЕ В ФОРМЕ ПРИЗНАННОЙ ДОКУМЕНТАЦИИ
(ФОРМА ПД)
2.6.1 Техническое наблюдение в форме признанной документации за изготовлением материалов и изделий применяется в случаях, указанных в Номенклатуре (символ "ПД" в
гр. 3).
2.6.2 Технический контроль качества продукции при форме ПД осуществляется службами технического контроля организации-изготовителя в соответствии с согласованной технической документацией.
2.6.3 Форма ПД применяется при соблюдении следующих условий:
.1 техническая документация на материал или изделие имеет действующее согласование с Российским Классификационным Обществом (см.
разд. 3);
.2 материалы и изделия соответствуют согласованной Российским Классификационным Обществом документации.
2.6.4 При несоответствии материалов и изделий согласованной технической документации Российское Классификационное Общество не допускает их применение на судах независимо от наличия документов, выданных организацией-изготовителем.
2.7 ТЕХНИЧЕСКОЕ НАБЛЮДЕНИЕ, ОСУЩЕСТВЛЯЕМОЕ ИНОЙ ОРГАНИЗАЦИЕЙ
ПО КЛАССИФИКАЦИИ ПО ПОРУЧЕНИЮ РОССИЙСКОГО КЛАССИФИКАЦИОННОГО
ОБЩЕСТВА ИЛИ ОСУЩЕСТВЛЯЕМОЕ РОССИЙСКИМ КЛАССИФИКАЦИОННЫМ
ОБЩЕСТВОМ ПО ПОРУЧЕНИЮ ИНОЙ ОРГАНИЗАЦИИ ПО КЛАССИФИКАЦИИ
2.7.1 Техническое наблюдение, осуществляемое иной организацией по классификации, уполномоченной на классификацию и освидетельствование судов в соответствии с законодательством Российской Федерации, по поручению Российского Классификационного Общества или Российским Классификационным Обществом по поручению иной организации по классификации осуществляется на основании договора о взаимозамещении и (или) в соответствии с конкретным поручением.
2.7.2 В договоре о взаимозамещении и (или) в поручении должны быть определены:
.1 объекты и объем проверок;
.2 применяемые требования Правил;
.3 порядок согласования технической документации;
.4 выдаваемые документы;
.5 порядок оплаты работ, осуществляемых в рамках технического наблюдения.
2.7.3 При техническом наблюдении, осуществляемом иной организацией по классификации по поручению Российского Классификационного Общества или Российское Классификационное Общество по поручению иной организации по классификации, на объекты технического наблюдения выдаются сертификаты и иные документы организации, осуществляющей техническое наблюдение.
Если в договоре и (или) поручении не оговорено иное, сертификаты или другие документы, выдаваемые организацией по классификации, осуществляющей техническое наблюдение по поручению другой организации по классификации, должны иметь следующую отметку:
"По поручению ____________________________________________________ (наименование организации по классификации) N ____ от ____________ 20___ г.". |
2.7.4 Если в договоре и (или) поручении не оговорено иное, проверки в процессе технического наблюдения осуществляются с помощью методик и в соответствии с Правилами Российского Классификационного Общества.
2.7.5 Поручения на техническое наблюдение от другой организации по классификации принимает Главное управление. Филиалы выполняют работы по поручениям другой организации по классификации только при наличии письменного указания Главного управления.
2.8 ПРИЗНАНИЕ ОРГАНИЗАЦИЙ
2.8.1 Российское Классификационное Общество проводит признание организаций, осуществляющих проектирование, строительство, ремонт, модернизацию и переоборудование судов, изготовление и ремонт изделий, изготовление материалов, предназначенных для установки на судах, организаций, выполняющих работы, результаты которых используются Российским Классификационным Обществом при осуществлении классификации, а также испытательных лабораторий, проводящих испытания, требуемые при постройке судов и изготовлении материалов и изделий.
2.8.2 Условия признания организации Российским Классификационным Обществом в общем случае включают:
.1 соответствие Правилам результатов испытаний, выполненных по согласованной Российским Классификационным Обществом программе (для видов деятельности:
строительство, переоборудование, модернизация и ремонт судов;
изготовление материалов и (или) изделий для установки на судах;
ремонт изделий; испытания, регламентируемые Правилами;
дефектация элементов судна и судовых технических средств);
.2 наличие у организации ресурсов для производства (выполнения) соответствующих Правилам продукции, работ, услуг, применяемых методов контроля качества продукции:
собственных или арендуемых производственных площадей (за исключением случаев, когда работы могут выполняться без использования собственных или арендуемых площадей);
работников, имеющих квалификацию на проведение работ и испытаний, предусмотренных Правилами и (или) согласованной технической документации, технологическим процессом (например, специалистов по ультразвуковому контролю, по капиллярному контролю);
оборудования (станочного, стендового, сварочного, испытательного и т.п.), используемого организацией для выполнения заявленных работ, и средств измерений;
согласованной технической документации и технологических процессов (см.
3.1.10);
.3 обеспечение организацией с использованием применяемой технологии производства, выполнения работ или проведения испытаний и системы внутреннего контроля в организации надлежащего уровня и стабильности качества продукции, выполнения работ, проведения испытаний;
.4 обеспечение организацией достоверности результатов проверок и испытаний путем аттестации испытательного оборудования, поверки и калибровки средств измерений;
.5 для организаций, передавших часть процессов производства, проектирования или испытаний сторонним организациям (подряд) - наличие документов, позволяющих обеспечить контроль и регулирование переданных процессов сторонней организации(ям) (подрядчикам).
Уточнения условий признания по видам деятельности, указанным в
2.8.1, установлены в
2.8.3 -
2.8.7.
2.8.3 Организация, осуществляющая деятельность, предусмотренную
2.8.1, должна представить следующие правоустанавливающие и регистрационные документы в соответствии с национальным законодательством страны, в которой зарегистрирована организация:
для юридических лиц:
учредительные документы (устав, учредительный договор или положение, решение о назначении единоличного (иного) исполнительного органа);
документ (Свидетельство), подтверждающий факт внесения записи о юридическом лице в Единый государственный реестр юридических лиц (для организации, находящейся за пределами Российской Федерации, - документ, подтверждающий ее регистрацию в качестве юридического лица соответствующего государства);
Свидетельство о постановке организации на учет в налоговом органе (для организаций, зарегистрированных на территории Российской Федерации).
для индивидуальных предпринимателей:
документ (Свидетельство), подтверждающий факт внесения записи об индивидуальном предпринимателе в Единый государственный реестр индивидуальных предпринимателей (для индивидуального предпринимателя, находящегося за пределами Российской Федерации, документ, подтверждающий его регистрацию в качестве индивидуального предпринимателя соответствующего государства);
Свидетельство о постановке индивидуального предпринимателя на учет в налоговом органе (для индивидуальных предпринимателей, зарегистрированных на территории Российской Федерации).
2.8.4 Устанавливаются следующие дополнительные к
2.8.2.2 требования к организации, осуществляющей постройку и ремонт судов:
.1 (признан утратившим силу).
.2 наличие сварщиков, имеющих Свидетельство о допуске сварщика (см.
2.9);
.3 наличие в организации внутренней системы контроля качества выполняемых организацией работ, включающей в себя входной контроль, пооперационный контроль, выходной контроль, периодическую поверку и (или) калибровку средств измерений;
.4 наличие согласованных технологических процессов на требуемые Правилами работы.
2.8.5 Устанавливаются следующие дополнительные к
2.8.2.2 требования к организации, осуществляющей изготовление материалов и изделий для установки на судах:
.1 наличие сварщиков, имеющих Свидетельство о допуске сварщика (если требования по сварке конструкций и объектов предусмотрены Правилами);
.2 наличие согласованной технической документации, по которой осуществляется изготовление материалов и изделий.
2.8.6 Устанавливаются следующие дополнительные к
2.8.2.2 требования к специализированному участку (станции), выполняющему техническое обслуживание, проверку и испытания надувных спасательных средств, индивидуальных спасательных средств:
.1 наличие документа изготовителя надувных спасательных средств, подтверждающего возможность выполнения этих работ в соответствии с его требованиями (для надувных спасательных средств);
.2 наличие закрытого, отапливаемого, вентилируемого и освещенного помещения, площадь и высота которого обеспечивает возможность переворачивания самых больших плотов в надутом состоянии (или должны быть предусмотрены другие эффективные средства обеспечения осмотра днища без переворачивания плота), и (или) помещение необходимой высоты, имеющее бетонный пол для испытаний спасательных кругов. В помещении должны контролироваться температура и влажность;
.3 наличие помещения для технического обслуживания надувных спасательных средств, оборудованного:
средствами и приборами для обслуживания спасательных средств и разобщающих механизмов в соответствии с требованиями изготовителя для технического обслуживания, проверок и испытаний надувных спасательных средств, включая их системы газонаполнения;
материалами и комплектующими для осуществления ремонта надувных спасательных средств, количество и качество которых должно быть согласовано изготовителями.
Помещение для проверки и испытания индивидуальных спасательных средств должно быть оборудовано:
бассейном для испытания плавучести. Вода для испытаний спасательных средств должна быть пресной и поступать из водопровода питьевой воды или предварительно очищаться от взвешенных веществ и нефтепродуктов;
устройством для испытаний на прочность;
набором поверенных грузов различной массы, при обеспечении всех схем нагружения при испытаниях спасательных средств;
компрессором или воздушным насосом для проверок герметичности;
калибрами и мерительным инструментом для проверки формы и линейных размеров спасательных средств;
манометрами и термометрами.
Должны быть предусмотрены места для хранения отдельно различных видов спасательных средств, ожидающих осмотра, испытаний, ремонта или отправки. Условия хранения должны соответствовать требованиям изготовителя;
.4 наличие квалифицированного персонала, имеющего документы изготовителя на право выполнения работ по обслуживанию и ремонтным работам (для надувных спасательных средств);
.5 наличие комплекта технической документации, необходимой для технического обслуживания, проверки и испытания спасательных средств.
2.8.7 Компетентность подразделений организаций, осуществляющих регламентируемые Правилами испытания при строительстве, переоборудовании, модернизации и ремонте судов и плавучих объектов, изготовлении материалов и изделий, ремонте изделий, проверяется при освидетельствовании этих организаций.
Компетентность юридически независимых испытательных лабораторий, осуществляющих регламентируемые Правилами испытания, проверяется при их освидетельствовании.
2.8.8 Для получения Свидетельства о признании организация направляет в Российское Классификационное Общество заявку с приложением к ней справки, содержащей информацию (сведения) о соответствии организации условиям признания (см.
2.8.2 -
2.8.7).
В случае выявления при рассмотрении представленной заявки и прилагаемой к ней информации несоответствия организации условиям признания (см.
2.8.2) Российское Классификационное Общество отказывает организации в проведении освидетельствования организации, направив ей в письменном виде мотивированные причины отказа.
2.8.9 По результатам рассмотрения заявки и прилагаемой к ней информации в случае установления их соответствия
2.8.2 -
2.8.7 эксперт проводит освидетельствование организации для оценки ее способности выполнять работы (оказывать услуги) или производить продукцию в соответствии с требованиями Правил, соответствия организации условиям признания, приведенным в
2.8.2 -
2.8.6, а также проверки сведений, изложенных в заявке и прилагаемой к ней информации.
Если организация, претендующая на получение Свидетельства о признании, передает иным организациям (подрядчикам) выполнение операций согласованного с Российским Классификационным Обществом технологического процесса (см.
3.1.10) или предусмотренных Правилами испытаний, Российское Классификационное Общество принимает решение об освидетельствовании подрядчика. Освидетельствование подрядчика обеспечивается организацией, претендующей на получение Свидетельства о признании.
2.8.10 При освидетельствовании испытательных лабораторий (подразделений организаций, осуществляющих регламентируемые Правилами испытания при строительстве, переоборудовании, модернизации и ремонте судов и плавучих объектов, изготовлении материалов и изделий, ремонте изделий) проверяется возможность выполнения регламентированных Правилами методов испытаний посредством проведения контрольных испытаний, проведенных в присутствии эксперта по программе, согласованной с Российским Классификационным Обществом.
Объем испытаний устанавливается в соответствии с требованиями Правил. При освидетельствовании организации, изготавливающей материалы и изделия, Российским Классификационным Обществом учитываются результаты испытаний объектов технического наблюдения в данной организации, проведенных при одобрении типового материала или изделия в присутствии эксперта Российского Классификационного Общества не позднее чем за два предшествующих года до даты проведения освидетельствования организации.
2.8.11 По результатам проведенного освидетельствования организации экспертом оформляется акт освидетельствования организации (форма РКО-10.2), в котором указываются результаты проведенного освидетельствования.
По результатам рассмотрения заявки и прилагаемой к ней информации, акта освидетельствования Российское Классификационное Общество принимает решение о выдаче (отказе в выдаче) организации Свидетельства о признании на те виды работ (услуг), возможность выполнения которых подтверждена при освидетельствовании. В Свидетельстве о признании испытательных лабораторий или организаций, имеющих в своем составе подразделения, осуществляющие регламентируемые Правилами испытания, указывается перечень испытаний, на которые признана организация.
Свидетельство о признании выдается на те виды деятельности, которые фактически выполняются организацией.
2.8.12 Срок действия Свидетельства о признании - два года.
По истечении срока действия Свидетельства о признании организация подлежит освидетельствованию в порядке, установленном требованиями
2.8.8 -
2.8.11.
Допускается не представлять правоустанавливающие и регистрационные документы, указанные в
2.8.3, если они не претерпели изменений с момента предыдущей подачи заявки. В представляемой справке (см.
2.8.8) должна быть ссылка на ранее представленные документы.
2.8.13 Проверка соблюдения организацией условий признания осуществляется в следующих случаях:
нарушение организацией требований, установленных
2.8.2;
внесение без согласования с Российским Классификационным Обществом изменений в техническую документацию, когда необходимость такого согласования установлена Правилами;
выявление недопустимых дефектов или нарушений стабильности качества продукции, выпускаемой организацией;
выполнение работ или проведение испытаний с нарушением требований, установленных
Положением о классификации и Правилами, или представления Российскому Классификационному Обществу недостоверной информации о результатах выполненных работ или проведенных испытаний;
сокращение в организации производственных мощностей, а также наличие иных изменений, в результате которых выполнение организацией работ, на которые выдано Свидетельство о признании, в соответствии с требованиями Правил становится невозможным;
выявление недостатков в работе организации при осуществлении технического наблюдения в организации.
Проверка соблюдения условий признания не проводится для организаций, осуществляющих проектирование судов. В случае повторного обнаружения Российским Классификационным Обществом при рассмотрении проектной документации ранее выявленных и не устраненных проектной организацией нарушений требований Правил, Российское Классификационное Общество направляет в проектную организацию уведомление о необходимости провести корректирующие мероприятия, направленные на повышение качества проектных работ с последующим уведомлением Российского Классификационного Общества о принятых мерах. Свидетельство о признании в этом случае аннулируется при выявлении не устраненных указанных в уведомлении замечаний.
В случае выявления основания для проведения проверки соблюдения условий признания Российское Классификационное Общество уведомляет организацию о проводимой проверке и ее сроках.
2.8.14 По результатам проверки соблюдения организацией условий признания оформляется акт, на основании которого Российское Классификационное Общество принимает одно из следующих решений:
.1 подтвердить действие Свидетельства о признании;
.2 рекомендовать организации провести корректирующие мероприятия в согласованные с Российским Классификационным Обществом сроки по устранению выявленных несоответствий в деятельности признанной организации и их последствий;
.3 приостановить действие Свидетельства о признании на один или несколько видов деятельности, на которые выдано Свидетельство о признании, если корректирующие мероприятия, указанные в
2.8.14.2, не были выполнены в срок, согласованный с Российским Классификационным Обществом, на время проведения корректирующих мероприятий в согласованные с Российским Классификационным Обществом сроки;
.4 аннулировать действие Свидетельства о признании в отношении одного или нескольких видов деятельности, на которые выдано Свидетельство о признании, если корректирующие мероприятия не были выполнены в срок, согласованный с Российским Классификационным Обществом.
.5 прекратить действие Свидетельства о признании в случае:
нарушения качества выполнения работ, на которые выдано Свидетельство о признании;
выполнения работ или проведения испытаний с нарушением требований, установленных Правилами;
сокращения в организации производственных мощностей, а также наличие иных изменений, в результате которых выполнение организацией в соответствии с требованиями Правил работ, на которые выдано Свидетельство о признании, становится невозможным.
Проверка выполнения корректирующих мероприятий осуществляется Российским Классификационным Обществом в согласованные с организацией сроки. По результатам проверки оформляется акт, служащий основанием для приостановления, подтверждения или аннулирования Свидетельства о признании.
В случае аннулирования Свидетельства о признании в отношении одного или нескольких видов деятельности, указанных в Свидетельстве о признании, повторная выдача Свидетельства о признании в отношении работ, по которым было аннулировано Свидетельство о признании, осуществляется в порядке, установленном настоящим разделом, для получения Свидетельства о признании.
2.8.15 В период действия Свидетельства о признании организация:
информирует Российское Классификационное Общество в двухнедельный срок о любых изменениях в области своей деятельности, указанной в Свидетельстве о признании;
обеспечивает доступ Российскому Классификационному Обществу к информации о мерах, предпринятых для обеспечения качества, методикам проведения испытаний, процессам испытаний, оборудованию, отчетным документам и статистическим данным, касающимся области своей деятельности, указанной в Свидетельстве о признании.
2.8.16 Переоформление Свидетельства о признании производится в случаях:
.1 реорганизации юридического лица в форме преобразования;
.2 изменения наименования организации или юридического адреса, либо изменения имени, фамилии или места жительства индивидуального предпринимателя без изменения фактического адреса выполнения работ;
.3 расширения объемов работ, на которые ранее было выдано Свидетельство о признании;
.4 исключения работ, на которые ранее было выдано Свидетельство о признании.
2.8.17 Основанием для переоформления Свидетельства о признании в случаях, указанных в
2.8.16.1,
2.8.16.2 и
2.8.16.4, является письменное обращение организации держателя Свидетельства о признании с приложением копий документов, подтверждающих указанные изменения, и оригинала действующего Свидетельства о признании.
Переоформленному Свидетельству о признании присваивается новый номер. Начало действия переоформленного Свидетельства о признании устанавливается с даты его подписания, срок действия Свидетельства о признании не продлевается.
Основанием для переоформления Свидетельства о признании в случае, указанном в
2.8.16.3, является прохождение процедуры признания организации в соответствии с
2.8.8 -
2.8.11.
Переоформленному в случае, указанном в
2.8.16.3, Свидетельству о признании присваивается новый номер. Начало действия переоформленного Свидетельства о признании устанавливается с даты его подписания. Срок действия Свидетельства о признании не продлевается в случае прохождения процедуры признания организации в соответствии с
2.8.8 -
2.8.11, ограниченной только дополняемыми объемами работ. В случае прохождения процедуры признания организации в соответствии с
2.8.8 -
2.8.11 в полном объеме заявляемых организацией работ, срок действия Свидетельства о признании устанавливается два года. Действие ранее выданного Свидетельства о признании прекращается.
2.8.18 Организация, осуществляющая деятельность по обслуживанию, проверке, в том числе преднавигационной проверке (см.
13.1.5 ПОСЭ) средств радиосвязи и навигационного оборудования, должна:
.1 иметь минимальный перечень оборудования, который включает в себя:
оборудование для измерения частоты, напряжения, силы тока и сопротивления;
оборудование для измерения мощности и коэффициента бегущей волны в диапазонах УКВ и ПВ/КВ;
оборудование для измерения модуляции излучения в диапазонах УКВ и ПВ/КВ;
оборудование для проверки работоспособности автоматической идентификационной системы (АИС);
приборы для проверки плотности электролита аккумуляторов;
иное оборудование, указанное изготовителем в эксплуатационно-технической документации, необходимое для проведения проверок и испытаний параметров и характеристик, установленных изготовителем и подлежащих контролю в процессе эксплуатации изделия (см.
3.4.2).
Организации не требуется иметь весь перечень указанного оборудования, достаточно иметь то оборудование, которое требуется организации для обслуживания и проверки конкретных типов средств радиосвязи или навигационного оборудования (например, только для УКВ радиостанции или для АИС), указанных в заявке организации;
.2 иметь актуализированную версию Регламента радиосвязи, техническую документацию на изделия, инструкции организаций-изготовителей, необходимые стандарты по проведению испытаний и проверке параметров и характеристик обслуживаемых и проверяемых средств радиосвязи и навигационного оборудования, инструкции по эксплуатации для применяемого испытательного и проверочного оборудования;
.3 вести документированный учет применяемого испытательного (измерительного) оборудования, содержащий информацию об изготовителе, типе, идентификационном номере оборудования, а также учет технического обслуживания, калибровки и поверки этого оборудования;
.4 вести документированный учет проведенных проверок и испытаний, а также оформленных отчетов по результатам проверок и испытаний. В принятой в организации форме документированного учета, кроме установленных организацией необходимых ей сведений, должны быть указаны:
наименование и адрес организации (подразделения), проводившей проверки и/или испытания;
идентификация отчета о проведенных проверках и/или испытаниях, например номер отчета (акта);
наименование и контактная информация заказчика;
описание (наименование, тип и серийный номер) изделия, в отношении которого проводили проверку и/или испытания;
дату проведения проверки и/или испытания;
подпись с расшифровкой сотрудника, внесшего запись в документированный учет, дату и подпись представителя заказчика в получении отчета о проведенных проверках и испытаниях;
.5 отчет о проведенных проверках и/или испытаниях, кроме установленных организацией необходимых ей сведений, должен содержать:
наименование и адрес организации, проводившей проверки и/или испытания;
идентификация отчета о проведенных проверках и/или испытаниях, например номер отчета (акта);
наименование, тип и серийный номер изделия, в отношении которого проводились проверки и/или испытания;
результаты проведенных проверок и/или испытаний, которые должны содержать сведения о проверяемых параметрах, требуемых результатах, полученные результаты проверки этих параметров и заключение об их соответствии/несоответствии требуемым результатам;
дату проведения проверки и/или испытания;
Ф.И.О., должность и подпись лица, проводившего проверку и/или испытание и подписавшего отчет;
.6 хранить отчеты о проведенных проверках и/или испытаниях не менее 5 лет с даты проведения проверки и/или испытания;
.7 организация, осуществляющая береговое техническое обслуживание (БТО) аварийных радиобуев спутниковой системы КОСПАС-САРСАТ (АРБ-406), включая ежегодные проверки, руководствуется
СТО 318.6.23-2006 "Положение о ежегодной комплексной проверке и береговом техническом обслуживании морских аварийных радиобуев Международной спутниковой системы КОСПАС-САРСАТ", утвержденным Федеральным агентством морского и речного транспорта от 14.03.2006 N АД-37/1 и дополнительно иметь следующее оборудование и документацию;
комплект поверенного оборудования, предназначенного для проведения БТО АРБ-406;
экранированное помещение или соответствующее экранирующее оборудование, исключающее возможность передачи сигнала от проверенного АРБ-406 на спутник;
комплект запасных частей, рекомендуемых изготовителем для технического обслуживания радиобуев, запасные элементы питания, предписанные изготовителем в согласованной технической документации;
последнюю версию программного обеспечения, предоставляемого изготовителем АРБ-406 или изготовителем оборудования, используемого при проверке АРБ, а также доступ к обновлению указанного программного обеспечения.
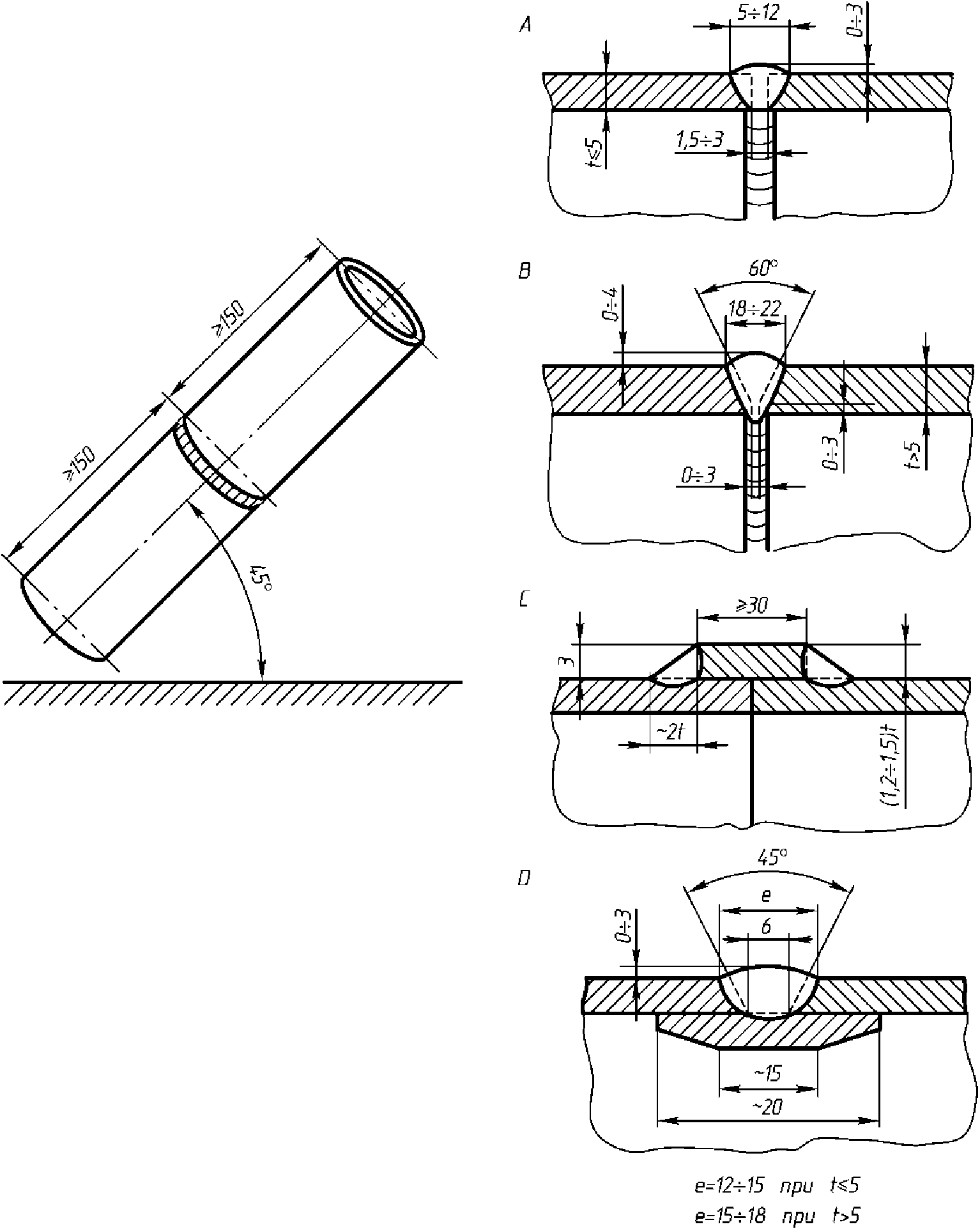
2.9.1 В настоящей главе приведены условия получения Свидетельства о допуске сварщика (оператора) для выполнения следующих работ:
.1 сварки корпусов судов;
.2 сварки судовых трубопроводов;
.3 сварки судовых паровых котлов и сосудов, работающих под давлением;
.4 заварки дефектов поковок и отливок.
2.9.2 Для получения Свидетельства о допуске сварщик должен пройти испытания, которые включают в себя проверку его теоретических и практических знаний. Испытания на допуск проводят по
методике, установленной в приложении 7.
Испытания на допуск сварщика могут быть совмещены с квалификационными испытаниями по месту обучения или работы сварщика.
2.9.3 Заявка на получение Свидетельства о допуске сварщика должна содержать следующие данные: фамилию, имя, отчество, год рождения, место работы, дату и место выдачи квалификационного документа. К заявке также прилагаются копия квалификационного документа сварщика, справка о стаже работы сварщика по специальности, копии сертификатов на сварочные материалы и основные материалы проб, которые будут использоваться при проведении практических испытаний.
2.9.4 Материалы для изготовления проб должны быть одобрены Российским Классификационным Обществом и иметь соответствующие сертификаты.
Сварка проб должна выполняться одобренными Российским Классификационным Обществом сварочными материалами и способами сварки.
2.9.5 Если при изготовлении проб выявлены неисправности оборудования (падение напряжения, исчезновение тока и т.д.), отслоение обмазки электрода и другие, не зависящие от сварщика дефекты, то изготавливаются повторные пробы в том же количестве.
2.9.6 Результаты испытаний оформляются протоколом. Протокол визируется экспертом, участвовавшим в испытаниях.
2.9.7 При положительных результатах испытаний Российское Классификационное Общество выдает Свидетельство о допуске сварщика (форма РКО-1.23), подтверждающее допуск сварщика к выполнению сварочных работ, указанных в
2.9.1, при определенных в нем условиях (материал, способ сварки, положение сварки).
Срок действия Свидетельства о допуске сварщика - два года.
2.9.8 Свидетельство теряет силу в следующих случаях:
.1 если в период действия Свидетельства сварщик не выполнял сварочных работ на объектах технического наблюдения Российского Классификационного Общества, указанных в Свидетельстве о допуске сварщика, более чем шесть месяцев подряд;
.2 если Российское Классификационное Общество в процессе технического наблюдения (запись в
Извещении) установлено, что более 10% выполненных сварщиком сварных швов не удовлетворяют требованиям Правил.
2.9.9 Подтверждением выполнения сварщиком работ, указанных в Свидетельстве, является запись на обороте Свидетельства руководителя сварщика или уполномоченного сотрудника работодателя, подтверждающая, что сварщиком за прошедшие полгода с даты внесения последней записи или выдачи Свидетельства выполнялись работы, указанные в Свидетельстве, в соответствии с требованиями Правил. Данная запись вносится каждые шесть месяцев.
2.9.10 Для получения нового Свидетельства сварщику следует пройти испытания на допуск согласно
2.9.2 -
2.9.7.
По истечении срока действия Свидетельства о допуске сварщика новое Свидетельство выдается без проведения испытаний при выполнении следующих условий:
предоставлении документальных подтверждений информации, указанной в
2.9.9;
предоставлении результатов испытаний на обнаружение внутренних дефектов (радиографическая или ультразвуковая дефектоскопия) или результатов разрушающих испытаний швов, выполненных сварщиком. Должны быть проведены два или более испытаний за последние шесть месяцев;
соответствии качества сварных швов требованиям 8.3 ч. X ПКПС.
Новое свидетельство может быть выдано на очередной срок без проведения испытаний при выполнении вышеизложенных условий не более двух раз подряд.
3 РАССМОТРЕНИЕ И СОГЛАСОВАНИЕ ТЕХНИЧЕСКОЙ ДОКУМЕНТАЦИИ
3.1.1 Техническая документация на строительство, переоборудование, модернизацию и ремонт судов, изготовление материалов и изделий, ремонт изделий, а также компьютерные приложения, используемые для целей проектирования, согласовываются Российским Классификационным Обществом с целью проверки выполнения требований Правил.
3.1.2 Техническая документация должна быть представлена в Главное управление (см.
1.3) или в филиал (см.
1.4), в географических границах деятельности которого находится проектная организация. Техническая документация представляется на рассмотрение в виде подлинников или копий, подписанных (утвержденных) организацией, являющейся разработчиком технической документации.
3.1.3 При наличии в составе документации технических решений, обеспечивающих такой же уровень безопасности, какой обеспечивался бы выполнением требований Правил, (равноценных замен) организация, являющаяся разработчиком технической документации, представляет Российскому Классификационному Обществу перечень этих технических решений с изложением их содержания и технических обоснований.
3.1.4 Документация представляется на рассмотрение в объеме, позволяющем убедиться, что требования Правил выполняются. Типовой
перечень технической документации, представляемой на рассмотрение Российскому Классификационному Обществу, приведен в приложении 8.
3.1.5 Проектной организацией по согласованию с Российским Классификационным Обществом может быть выбран один из следующих вариантов представления Российскому Классификационному Обществу на согласование технической документации:
.1 в два этапа: сначала представляется документация в объеме технического проекта, а затем - рабочая документация;
.2 в один этап: представляется техническая документация в объеме, содержащем все необходимые сведения, дающие возможность определить соответствие проектируемого судна или изделия требованиям Правил и обеспечить техническое наблюдение за изготовлением основных конструктивных узлов (технорабочий проект).
3.1.6 Документация представляется на рассмотрение в двух экземплярах. Один экземпляр - на бумажном носителе, второй - на электронном носителе (впоследствии - экземпляр Российского Классификационного Общества) с приложением к нему на бумажном носителе ведомости документов проекта, оформленной в соответствии с
3.1.7.1.
(абзац второй признан утратившим силу).
3.1.7 К предоставляемым документам предъявляются следующие требования:
.1 каждый документ должен содержать информацию, обеспечивающую возможность его идентификации, в том числе:
наименование документа;
обозначение (номер) документа, присвоенное(ый) организацией-разработчиком в соответствии с национальными стандартами;
наименование организации-разработчика документа;
реквизиты должностных лиц (должности, фамилии и инициалы), разработавших, проверивших и утвердивших документ, а также их подписи;
даты подписания документа должностными лицами;
.2 документы на бумажных носителях должны:
быть оформлены разборчиво. Применение различных шрифтов в одном документе не допускается;
не иметь подчисток, приписок, зачеркнутых слов и иных неоговоренных исправлений;
не иметь повреждений, наличие которых не позволяет однозначно истолковать содержание документа;
.3 документы на электронных носителях должны:
быть оформлены в формате PDF (PDF/A);
быть аутентичны документам с одинаковыми обозначениями и оформленным на бумажных носителях;
иметь встроенные шрифты, использованные при проектировании;
иметь отдельную страницу для каждого чертежа;
оформляться в виде отдельного файла с указанием наименования и обозначения (номера) документа.
3.1.8 Срок действия согласования технической документации и компьютерных приложений составляет шесть лет. По истечении этого срока или в случае, когда перерыв между датами согласования технической документации и началом постройки, в том числе каждого нового судна в серии, переоборудования или модернизации каждого судна, превышает три года, техническая документация подлежит пересогласованию.
Согласование технической документации на ремонт судов, а также на ремонт изделий осуществляется без ограничения срока.
3.1.9 Действие согласования технической документации прекращается в случае:
.1 если перерыв между датами согласования технической документации и началом постройки судна, изготовления материалов и (или) изделий превышает 3 года;
.2 внесения изменений в согласованную ранее техническую документацию без согласования с Российским Классификационным Обществом.
3.1.10 Технологические процессы строительства и ремонта судов, изготовления материалов и изделий подлежат согласованию с Российским Классификационным Обществом, в случае, если Правилами установлены требования в отношении технологических операций или технологических процессов.
3.1.11 В технологическом процессе должны быть указаны: перечень операций, оборудование, материалы (в предусмотренных Правилами случаях), методы контроля (испытаний), средства измерений, способы правки (в предусмотренных Правилами случаях).
Технологический процесс сборки и сварки судовых конструкций и корпуса судна должен содержать:
.1 описание способов сварки и характеристики применяемых при постройке или ремонте корпуса судна сварочного оборудования, технологической оснастки и сварочных материалов;
.2 схему постройки или ремонта корпуса судна с разбивкой на блоки и секции;
.3 принципиальную технологию сборки и сварки типовых полотнищ, плоских и объемных секций и блоков, а также корпуса на стапеле с указанием последовательности сборочно-сварочных работ, способов и режимов сварки;
.4 указания по технологии сварки.
3.1.12 Согласование Российским Классификационным Обществом технической документации оформляется постановкой на чертежах или документах штампов с указанием номера и даты письма-заключения.
Образцы штампов утверждаются Главным управлением.
3.1.13 Согласование технической документации структурным подразделением Российского Классификационного Общества действительно для всех подразделений Российского Классификационного Общества. Это согласование может быть отменено или изменено только подразделением, согласовавшим указанную техническую документацию, или вышестоящим (по подчиненности) структурным подразделением Российского Классификационного Общества.
Техническая документация, согласованная одним из подразделений Российского Классификационного Общества, принимается другими подразделениями для осуществления технического наблюдения без дополнительного согласования, если по условиям выполнения работ при техническом наблюдении Российского Классификационного Общества в конкретной организации не требуется корректировка или внесение изменений в указанную техническую документацию.
3.1.14 Изменения, вносимые разработчиками в ранее согласованную с Российским Классификационным Обществом техническую документацию, должны быть согласованы с тем структурным подразделением Российского Классификационного Общества, которое рассматривало техническую документацию, за исключением случаев, предусмотренных
3.1.13.
3.1.15 Изменения, вносимые в техническую документацию, в процессе постройки, переоборудования, модернизации и ремонта судна, изготовления, ремонта изделия или изготовления материала, в технологический процесс, согласовывает подразделение Российского Классификационного Общества, которое согласовало указанную документацию, или подразделение, осуществляющее техническое наблюдение. Подразделение, осуществляющее техническое наблюдение, может передавать решения принципиального характера на рассмотрение и согласование тому подразделению Российского Классификационного Общества, которое согласовывало указанную документацию.
Изменения, согласованные только для определенного объекта, не распространяются на последующие объекты без предварительного рассмотрения и согласования Российского Классификационного Общества.
Разрешение на отступление от технического проекта, рабочей документации, технической документации на материалы или изделия, технологического процесса, оформляется
картой разрешения на отступление (приложение 9) со ссылкой на письмо филиала или на согласовательный документ Российского Классификационного Общества.
3.1.16 При рассмотрении технической документации Российское Классификационное Общество не проверяет правильность выполнения вычислительных операций, использованных при расчетах, в том числе по согласованным с Российским Классификационным Обществом программам, а рассматривает конечные результаты расчетов. Расчеты должны выполняться в соответствии с указаниями Правил или методиками, согласованными с Российским Классификационным Обществом.
В отдельных случаях Российское Классификационное Общество проводит дополнительную экспертизу достоверности конечных результатов расчетов.
3.2 ТЕХНИЧЕСКИЕ ПРОЕКТЫ СУДОВ
3.2.1 Технические проекты судов представляются на рассмотрение Главному управлению или филиалу с сопроводительным письмом и полным перечнем представленных на рассмотрение документов.
3.2.2 Возможно представление проектов отдельными частями (корпусной, механической, электрической) по согласованию с Российским Классификационным Обществом. При этом с первой частью документации представляются спецификация и чертежи общего расположения.
Если по результатам рассмотрения документации по другим частям будут выставлены замечания, требующие корректировки ранее согласованной части, то эта часть должна быть откорректирована и согласована с Российским Классификационным Обществом.
3.2.3 Для новых типов судов, требования к которым в Правилах отсутствуют или изложены не в полной мере, Российское Классификационное Общество может затребовать дополнительно необходимые с его точки зрения документы и сведения.
3.2.4 Срок рассмотрения технических проектов, поступивших на рассмотрение в объеме, регламентируемом Правилами, не должен превышать 30 рабочих дней.
3.2.5 По каждому рассмотренному проекту или внесенным в него изменениям Российское Классификационное Общество составляет письменное заключение.
В случае отказа в согласовании проекта Российское Классификационное Общество указывает мотивы отказа и излагает свои замечания в письме-заключении.
В письме-заключении о согласовании проекта указывается класс судна, район плавания и высота надводного борта, приводится перечень согласованных документов и поставленные на них штампы. В случае необходимости указываются ограничения по ветро-волновому режиму, роду перевозимого груза и т.д. Далее указываются замечания (при их наличии), подлежащие выполнению при корректировке проекта или при разработке рабочих чертежей.
В письме-заключении о согласовании изменений или дополнений, внесенных в ранее согласованную с Российским Классификационным Обществом документацию технического проекта судна, указывается перечень согласованных документов и поставленные на них штампы.
3.2.6 Согласование Российским Классификационным Обществом технических проектов, поступивших на бумажном носителе, оформляется постановкой на чертежах или документах штампов (см.
3.1.12).
3.2.7 Комплект согласованного технического проекта на бумажных носителях Российское Классификационное Общество вместе с заключением направляет разработчику.
3.2.8 Технические проекты на постройку судна с истекшим сроком действия согласования (см.
3.1.8,
3.1.9.1) подлежат корректировке с целью учета изменений в Правилах, внесенных с момента согласования проекта. Представленный на рассмотрение проект должен содержать пояснительную записку с анализом соответствия проекта Правилам (изменениям), введенным в действие после предыдущего рассмотрения проекта. В случае несоответствия проекта требованиям Правил в этом же документе приводится обоснование целесообразности приведения проекта в соответствие с этими Правилами или обоснование возможности сохранения отдельных технических решений по первоначальному проекту.
Допускается комплектование проектов, представляемых на пересогласование, чертежами из комплекта рабочей документации. При этом вместе с новыми чертежами рабочей документации представляется извещение об аннулировании или ограничении применяемости ранее согласованных рабочих чертежей.
3.2.9 Порядок рассмотрения и согласования технических проектов распространяется также на техническую документацию, представляемую Российскому Классификационному Обществу в один этап.
3.2.10 Главное управление в порядке контроля рассматривает проекты, согласованные филиалом. В этом случае по запросу Главного управления экземпляр согласованного проекта филиал направляет на контрольное рассмотрение, после которого проект вместе с заключением Главное управление возвращает в филиал. Заключение Главного управления в случае наличия замечаний филиал доводит до сведения проектной организации и обеспечивает контроль устранения замечаний.
3.3.1 Условия рассмотрения рабочей документации (место, время, порядок, способ выполнения документов) определяются проектной организацией по согласованию с филиалом.
3.3.2 Рабочая документация выполняется в соответствии с согласованным Российским Классификационным Обществом техническим проектом с учетом требований Правил и национальных стандартов, если в Правилах указано на необходимость их применения.
3.3.3 Согласование рабочей документации и изменений, вносимых в указанную документацию, оформляется письмом-заключением. На согласованную рабочую документацию ставится штамп (см.
3.1.12). Штамп о согласовании ставится на первом листе документа после устранения всех замечаний филиала.
3.3.4 Проектант заверяет все копии рабочей документации, согласованной филиалом.
3.3.5 После повторного согласования технического проекта (см.
3.2.8,
3.3.6) рабочая документация корректируется.
При этом рабочая документация, выпускаемая под новым номером, согласовывается с постановкой штампа на ней, а корректируемая документация с сохранением номера согласовывается с постановкой штампа на извещении об изменении.
3.3.6 После согласования рабочей документации, вновь разработанной или откорректированной по результатам пересогласования технического проекта, разработчик выпускает перечень материалов рабочего проекта, согласованный с филиалом. В перечне ставятся отметки о дате согласования каждого документа.
3.3.7 Обезличенная документация, разработанная в соответствии с национальными стандартами, подлежит согласованию с филиалом в составе рабочей документации.
3.4 ТЕХНИЧЕСКАЯ ДОКУМЕНТАЦИЯ НА МАТЕРИАЛЫ И ИЗДЕЛИЯ
3.4.1 Российское Классификационное Общество рассматривает и согласовывает техническую документацию на изготовление изделий и материалов, ремонт изделий, включенных в
Номенклатуру. Если проектантом (разработчиком технической документации) приняты отраженные в представленной на рассмотрение технической документации решения, которые не отвечают отдельным требованиям Правил, на рассмотрение Российскому Классификационному Обществу в составе комплекта технической документации представляются обоснования, подтверждающие, что принятые решения являются с точки зрения безопасности не менее эффективными, чем решения, регламентированные Правилами.
(в ред.
Извещения, утв. Приказом ФАУ "Российское Классификационное Общество" от 11.11.2024 N 84-п)
3.4.2 Техническая документация на изготовление изделия представляется на рассмотрение Российскому Классификационному Обществу в соответствии с
3.1.6.
Типовой перечень представляемой документации указан в
разд. 5 приложения 8. Технические условия или заменяющие их документы (далее - технические условия) должны включать в себя:
В разделе "Описание характеристик изделия" приводятся основные параметры и характеристики (свойства) изделия, область применения, требования к материалам, комплектность, маркировка.
В разделе "Требования охраны окружающей среды" устанавливаются требования по утилизации изделия.
В разделе "Правила приемки" указывается порядок контроля изделия службами технического контроля организации-изготовителя, объем предъявляемых партий.
В разделе "Указания по эксплуатации" приводятся указания по монтажу изделия на месте его эксплуатации (применения), условия эксплуатации, в случае наличия таких требований в Правилах, а также установленные изготовителем параметры и характеристики изделия, подлежащие контролю в условиях эксплуатации.
В представляемой программе испытаний устанавливаются методика испытаний, необходимость проведения которых предусмотрена Правилами, режимы испытаний, средства измерений.
3.4.3 Если материалы и изделия (их части) для судов спроектированы и изготовлены в соответствии с требованиями национальных стандартов (см.
2.1.5), то документами, которые подлежат согласованию, являются документы, указанные в
приложении 8: расчеты, чертежи общего вида и ответственных деталей, сборочные чертежи, принципиальные схемы, расчеты, программа испытаний и др.
3.4.4 Техническая документация на сборочные единицы или агрегаты, в состав которых входят комплектующие изделия, указанные в
Номенклатуре и поставляемые организациями-контрагентами (генераторы, редукторы, первичные двигатели генераторов, компрессоров, насосов, палубных механизмов, системы автоматики и т.п.), согласовывается после согласования технической документации на комплектующие изделия.
Российское Классификационное Общество согласовывает техническую документацию на изделия в сборе при наличии не согласованной с ним технической документации материалов и комплектующих изделий, если результаты функциональных, механических и климатических испытаний этих комплектующих изделий в составе изделий в сборе и их испытаний на электромагнитную совместимость (для электрического оборудования) признаны соответствующими требованиям Правил.
3.4.5 Если изделия разрабатываются не как типовые, а для определенного судна, техническая документация на них рассматривается Российским Классификационным Обществом в составе технической документации судна.
3.4.6 Техническая документация на изготовление материалов должна содержать сведения о методе изготовления, химическом составе, механических и технологических свойствах, объеме и порядке проведения контроля и приемок, оформлении результатов испытаний и порядке маркировки.
Виды испытаний, методы контроля и правила приемки устанавливаются в соответствии с ч. X ПКПС.
С технической документацией представляется программа испытаний.
3.4.7 Срок рассмотрения технической документации, представленной в объеме, предусмотренном Правилами, на один тип материала или изделия не должен превышать 15 рабочих дней.
3.4.8 По результатам рассмотрения технической документации (изменений в ранее согласованную техническую документацию) на материалы или изделия Российское Классификационное Общество оформляет письмо-заключение. В письме-заключении о согласовании технической документации или изменений в нее приводится перечень согласованных документов и поставленные на них штампы
(3.1.12).
3.4.9 Комплект согласованной технической документации на бумажных носителях Российское Классификационное Общество вместе с письмом-заключением возвращает разработчику.
3.5 КОМПЬЮТЕРНЫЕ ПРИЛОЖЕНИЯ
3.5.1 В настоящей главе под компьютерным приложением понимается комплекс взаимосвязанных программных, графических и текстовых модулей, предназначенный для решения поставленной расчетной задачи с помощью компьютера.
3.5.2 Компьютерные приложения, предназначенные для выполнения расчетов в соответствии с требованиями Правил, подлежат одобрению Российским Классификационным Обществом.
Программные продукты, используемые для облегчения расчетов, возможности которых ограничены техникой выполнения вычислений, или приложения, применяемые для определения значений вспомогательных величин при разработке технической документации, Российское Классификационное Общество принимает к сведению без одобрения.
3.5.3 Для получения Сертификата об одобрении компьютерных приложений Российскому Классификационному Обществу предоставляются следующие материалы:
.1 дистрибутив или демонстрационная версия приложения;
.2 руководство пользователя, в котором содержатся требования к конфигурации компьютера, сведения об авторах, описание входных и выходных форм;
.3 подробное описание методики расчета, реализованной в приложении, с представлением всех используемых уравнений, их аппликации, указанием эмпирических коэффициентов, методов решения вычислительных задач, в обоснованных случаях - критериев сходимости, ограничений на область применения и т.д.
В этом описании должны быть приведены анализ соответствия реализованной в приложении методики расчета и принятых допущений требованиям Правил и ссылки на литературные источники;
.4 тестовые (контрольные) примеры расчетов с полным списком исходных данных и объяснением особенностей их выбора, всеми выходными формами и трактовкой результатов расчета.
Проверка достоверности расчетов, выполненных с помощью рассматриваемого приложения, может быть осуществлена путем проведения расчетов по исходным данным контрольной задачи, выданным Российским Классификационным Обществом, и последующего сопоставления итоговых данных с результатами расчета, проведенного с помощью эталонного приложения, или с результатами натурных и (или) модельных экспериментов.
Тестовые примеры должны охватывать весь диапазон возможного изменения основных параметров.
Российскому Классификационному Обществу могут быть также представлены сведения о признании данного приложения другими классификационными или иными компетентными организациями. В этих случаях по согласованию с Российским Классификационным Обществом объем представляемых материалов может быть уменьшен.
В случае, когда в приложении учтены требования Правил, необходимо указать на это обстоятельство и дать ссылку на год издания Правил.
Документация должна иметь номер, название и быть зарегистрирована в установленном порядке.
3.5.4 При положительных результатах рассмотрения и проверки представленного приложения в соответствии с требованиями настоящих Правил Российское Классификационное Общество выдает Сертификат об одобрении компьютерного приложения (форма РКО-8.4).
3.5.5 В случае предоставления Российскому Классификационному Обществу расчетов, входящих в техническую документацию судна, выполненных с помощью компьютерного приложения, имеющего Сертификат об одобрении, в соответствующем месте расчета приводится ссылка на номер Сертификата, выданного Российским Классификационным Обществом.
3.5.6 Если в программные модули приложения, имеющего Сертификат об одобрении компьютерного приложения, его разработчик внес изменения, затрагивающие предмет согласования, без согласования с Российским Классификационным Обществом, этот Сертификат аннулируется Российским Классификационным Обществом независимо от срока его действия.
4 ТЕХНИЧЕСКОЕ НАБЛЮДЕНИЕ ЗА ПОСТРОЙКОЙ И РЕМОНТОМ СУДОВ
4.1.1 Порядок контрольных проверок объектов технического наблюдения, виды проверок и испытаний устанавливаются
Перечнем (см.
2.3.1).
4.1.2 Перед монтажом двигателей и других технических средств, устройств, систем, оборудования и снабжения эксперт проверяет, имеют ли указанные объекты документы, указанные в
2.2.6.
4.1.3 После завершения работ по корпусу судна, монтажа двигателей и других технических средств, устройств, систем, оборудования и снабжения эксперт осуществляет техническое наблюдение за проведением швартовных и ходовых испытаний судна по программе, разработанной в соответствии с требованиями Правил и проектной документацией судна, согласованной Российским Классификационным Обществом.
4.1.4 В программе швартовных и ходовых испытаний учитываются требования технической документации на изделия, а также программы испытаний организаций-изготовителей установленных на судно изделий.
При наличии методик проведения испытаний, согласованных с Российским Классификационным Обществом, программа швартовных и ходовых испытаний должна содержать ссылки на эти методики.
4.1.5 Программу швартовных и ходовых испытаний согласовывает то же структурное подразделение Российского Классификационного Общества, которое рассматривало материалы технического проекта судна.
4.1.6 В программу швартовных и ходовых испытаний включаются следующие разделы:
.1 подготовка к испытаниям;
.2 швартовные испытания;
.3 ходовые испытания;
.4 ревизия;
.5 контрольный выход, контрольные испытания.
Эксперт принимает непосредственное участие в испытаниях судов на всех этапах проведения испытаний. В ходе подготовки к испытаниям он проверяет комплектность документов построечного периода (заводские акты приемки, протоколы испытаний, построечный журнал, документы служб технического контроля и т.д.) и эксплуатационных документов на комплектующие изделия.
4.1.7 Управление оборудованием при испытаниях производится в соответствии с правилами технической эксплуатации и инструкциями по его обслуживанию.
4.1.8 Эксперт не имеет права самостоятельно управлять оборудованием или вмешиваться в действия приемной комиссии (сдаточной команды), назначенной для проведения испытаний. Если действия персонала могут привести к аварии или порче оборудования, эксперт имеет право через представителей службы технического контроля и ответственного за проведение испытаний (ответственного сдатчика) потребовать прекращения таких действий.
4.1.9 Во время испытаний объектов технического наблюдения приостанавливаются все работы, мешающие проведению испытаний или создающие опасность для участников испытаний, освобождаются от посторонних предметов производственные площади вокруг объекта испытания, обеспечивается освещение и вентиляция.
4.1.10 Швартовные и ходовые испытания производят в соответствии с планом-графиком, согласованным экспертом.
4.1.11 Если результаты испытаний объектов технического наблюдения не соответствуют требованиям Правил или согласованной документации, их подвергают повторным испытаниям после устранения причин, вызвавших неудовлетворительные результаты испытаний.
Способы устранения дефектов и объем повторных испытаний согласовываются экспертом.
4.1.12 Возможность перерыва в испытаниях объекта на режимах, требующих непрерывной работы, предусматривается в программе испытаний, а вопрос о продолжении испытаний и условиях их проведения (увеличение длительности и объема) согласовывается с экспертом с учетом причин, вызвавших прекращение испытаний.
4.1.13 При повторном вынужденном перерыве одного и того же режима непрерывной работы испытания прекращают до устранения причин, вызвавших перерыв, с последующим проведением повторных испытаний в полном объеме. Время проведения испытаний согласовывается с экспертом.
4.1.14 Испытания объектов прекращаются в следующих случаях:
.1 при обнаружении неисправностей или дефектов, устранение которых требует большего перерыва, чем установлено программой;
.2 при аварийном состоянии объекта;
.3 при ухудшении метеорологических условий, представляющих угрозу безопасности судна.
4.1.15 Решение о прекращении испытаний в зависимости от причин, требующих прекращения испытаний, принимает организация-строитель судна или заказчик. При выявлении случаев, указанных в
4.1.14, эксперт имеет право потребовать от ответственного за проведение испытаний (ответственного сдатчика) прекращения испытаний.
Вне зависимости от того, кем принято решение о прекращении испытаний, объект технического наблюдения подвергается повторным испытаниям, продолжительность и объем которых согласовывается с экспертом.
4.1.16 При прекращении испытаний объекта составляется акт с указанием причин прекращения испытаний, а также требований и мероприятий по их устранению, подлежащих выполнению до проведения повторных испытаний.
4.1.17 После окончания испытаний эксперту на визирование представляется приемный акт с приложением протоколов и таблиц приемо-сдаточных испытаний.
4.1.18 В случае строительства судна в двух или более судостроительных организациях документы Российского Классификационного Общества оформляет эксперт, осуществляющий техническое наблюдение за достройкой и испытаниями судна.
Эксперт, осуществлявший техническое наблюдение на начальных этапах постройки судна, составляет соответствующий акт с перечислением выполненных работ по
Перечню (см.
2.3.5) и направляет его в филиал, осуществляющий техническое наблюдение за достройкой судна. В акте должны содержаться сведения, необходимые для заполнения документов Российского Классификационного Общества. Использование форм Российского Классификационного Общества для составления акта не допускается.
4.1.19 После окончания постройки судна проверяется наличие закрепленной маркировочной таблички, содержащей следующую информацию:
.1 наименование, местоположение и фирменный знак организации-строителя судна;
.2 серийный (строительный) номер;
.3 год постройки судна;
.4 тип судна и его главные параметры;
.5 номер (обозначение) проекта;
.6 грузоподъемность или пассажировместимость;
.7 максимальная мощность главных двигателей (для самоходных судов);
.8 максимальная скорость движения (для самоходных судов).
4.2.1 Швартовные испытания проводятся с целью проверки:
.1 качества выполнения работ по корпусу судна, размещения, комплектности и качества монтажа, регулировки и работоспособности двигателей, устройств, систем, оборудования и снабжения, а также соответствия их параметров требованиям Правил и согласованной технической документации;
.2 готовности судна, его главных и вспомогательных двигателей, устройств, оборудования и снабжения к проведению ходовых испытаний.
4.2.2 До начала швартовных испытаний эксперту предъявляются:
.1 документы, удостоверяющие окончание монтажных и других работ;
.2 программа швартовных испытаний;
.3 план-график швартовных испытаний, подлежащий согласованию с экспертом;
.5 перечень замен, равноценных требованиям Правил (см.
3.1.3), карту разрешения на отступление (см.
3.1.15);
.6 формуляры и паспорта на судовые технические средства;
.8 описание объектов технического наблюдения и инструкции по их обслуживанию;
.9 методики испытаний (в том числе имитационных со схемами имитационных устройств).
4.2.3 Дата и время начала швартовных испытаний определяются организацией-строителем судна по согласованию с экспертом.
4.2.4 На швартовных испытаниях проверяются и испытываются технические средства, устройства, оборудование, системы, для испытания которых не требуются ходовые режимы.
4.3.1 Ходовые испытания проводятся с целью:
.1 проверки основных параметров главных двигателей и всей энергетической установки, а также их соответствия спецификационным характеристикам;
.2 проверки работы энергетической установки при маневрировании на переднем и заднем ходу судна;
.3 проверки реверсивных свойств главных двигателей;
.4 проверки работоспособности главных двигателей и всей энергетической установки в условиях, приближенных к эксплуатационным;
.5 проверки характеристик маневренности и управляемости судна;
.6 проверки средств автоматизации в условиях, приближенных к эксплуатационным;
.7 окончательной проверки объектов, за исключением тех, которые будут подвергнуты ревизии и последующим контрольным испытаниям;
.8 проверки работоспособности палубных механизмов, устройств, аппаратов, навигационного, радио- и электрооборудования в условиях, приближенных к эксплуатационным;
.9 измерения параметров крутильных колебаний системы "двигатель - валопровод - движитель" и параметров вибрации корпусных конструкций и технических средств;
.10 подтверждения возможности присвоения судну предусмотренного проектом класса Российского Классификационного Общества в соответствии с его назначением.
4.3.2 До начала ходовых испытаний эксперту предъявляются:
.1 документы службы технического контроля, удостоверяющие окончание швартовных испытаний;
.2 программа ходовых испытаний, согласованная Российским Классификационным Обществом;
.3 план-график ходовых испытаний, согласованный с экспертом;
.4 методики испытаний;
.5 Информация об остойчивости и непотопляемости судна;
.6 протокол кренования и расчеты остойчивости (для головного судна);
4.3.3 После предъявления эксперту документов, указанных в
4.3.2, а также завершения швартовных испытаний и устранения обнаруженных дефектов эксперту направляется извещение с указанием намеченной даты начала ходовых испытаний.
В извещении подтверждается готовность судна к ходовым испытаниям и указываются сведения о числе участников ходовых испытаний, наличии коллективных и индивидуальных спасательных средств и судового снабжения.
4.3.4 При удовлетворительных результатах швартовных испытаний эксперт письменно подтверждает возможность выхода судна на ходовые испытания.
4.3.5 Район проведения ходовых испытаний и ограничения по погодным условиям согласовываются с экспертом на соответствие условиям, предусмотренным требованиями Правил и согласованной технической документации. Район проведения ходовых испытаний должен быть безопасным, пригодным для выполнения программы испытаний в полном объеме и получения достоверных результатов испытаний.
4.3.6 На ходовых испытаниях осуществляется проверка работы всех технических средств, устройств, систем и оборудования. Обнаруженные дефекты устраняются, в случае необходимости проводятся повторные испытания.
4.3.7 Результаты испытаний заносятся в протоколы и журналы с указанием значений контролируемых параметров, необходимых для оценки правильности функционирования технических средств, устройств, систем и другого оборудования.
4.3.8 По окончании ходовых испытаний эксперт передает организации в письменном виде замечания, выявленные в процессе ходовых испытаний.
4.4 РЕВИЗИЯ И КОНТРОЛЬНЫЙ ВЫХОД
4.4.1 По окончании ходовых испытаний или испытаний в ходовых режимах без движения судна с применением имитационных методов, устранения замечаний и выполнения требований эксперта (см.
4.3.8) организацией с участием эксперта составляется перечень объектов, подлежащих ревизии, с указанием объема работ. Перечень составляется с учетом результатов швартовных и ходовых испытаний, а также технического наблюдения за однотипными объектами.
4.4.2 В процессе ревизии производится разборка отдельных узлов объектов технического наблюдения для определения их состояния и необходимости контрольных испытаний после ревизии.
4.4.3 Результаты ревизии оформляются актом, в котором приведены:
.1 перечень объектов технического наблюдения, подлежащих ревизии;
.2 описание обнаруженных дефектов;
.3 причины появления дефектов;
.4 перечень мер по устранению дефектов.
Эксперт подписывает акт только в отношении объектов технического наблюдения Российского Классификационного Общества.
4.4.4 До контрольного выхода устраняются все обнаруженные в процессе швартовных и ходовых испытаний и ревизии дефекты и выявленные нарушения Правил.
4.4.5 Необходимость контрольного выхода согласовывается с экспертом. Контрольный выход требуется в случаях, когда:
.1 объект технического наблюдения подвергался ревизии, и контрольные испытания его не могут быть проведены без контрольного выхода;
.2 параметры, характеризующие правильное функционирование объекта технического наблюдения, могут быть подтверждены только при контрольном выходе;
.3 по результатам швартовных и ходовых испытаний и (или) ревизии потребовалась замена объекта полностью или замена узлов, работоспособность которых может быть подтверждена только при контрольном выходе;
.4 невозможно достигнуть средствами имитации требуемых режимов или при отсутствии таких средств.
4.4.6 Положительные результаты швартовных и ходовых испытаний, а также контрольного выхода являются основанием для оформления документов Российского Классификационного Общества на построенное судно.
4.4.7 В случаях отправления судна заказчику по железной дороге или другим транспортным средством филиал, проводивший техническое наблюдение за постройкой, назначает судну регистровый номер, оформляет комплект документов Российского Классификационного Общества и направляет его в адрес филиала, в районе деятельности которого будет эксплуатироваться судно. В акте первоначального освидетельствования указывается требование о предъявлении судна к внеочередному освидетельствованию филиала Российского Классификационного Общества для постановки на учет.
Филиал, в район деятельности которого прибыло судно, проводит внеочередное освидетельствование с контрольной проверкой судна и его элементов в ходовом режиме, устанавливает срок следующего освидетельствования и ставит судно на классификационный учет филиала.
4.5 ОСОБЕННОСТИ ТЕХНИЧЕСКОГО НАБЛЮДЕНИЯ
ЗА ИСПЫТАНИЯМИ ГОЛОВНЫХ СУДОВ
4.5.1 Испытания головного судна проводятся по расширенной, в сравнении с серийными судами, программе, включающей проверку характеристик и определение параметров, которые будут использованы для серийных судов без таких проверок.
4.5.2 В программу испытаний головного судна включаются:
.1 проведение опыта кренования в соответствии с ч. II ПКПС;
.2 определение маневренных качеств;
.3 измерение параметров вибрации корпусных конструкций и отдельных объектов судовой техники;
.4 проверка прочности и мореходных качеств на волнении (см.
4.5.4);
.5 измерения параметров крутильных колебаний системы "двигатель - валопровод - движитель";
.6 ходовые испытания в условиях, максимально приближенных к эксплуатационным;
.7 испытания судовой энергетической установки в увеличенных по сравнению с серийными судами объемах;
.8 ревизия в увеличенном по сравнению с серийными судами объеме;
.9 контрольный выход с соблюдением условий ходовых испытаний.
4.5.3 Испытания головных судов, в том числе толкаемых составов, с целью определения маневренных качеств в части управляемости и инерционных характеристик, проводят по методике, согласованной с Российским Классификационным Обществом.
4.5.4 Головные суда и составы новых конструктивных типов и суда с соотношениями главных размерений, выходящими за пределы, установленные Правилами, испытывают в условиях расчетного ветро-волнового режима с учетом следующего:
.1 испытывают прочность судна и сцепов с непосредственным измерением напряжений по специально разработанной программе;
.2 проверяют управляемость при ветре;
.3 оценивают параметры качки;
.4 ведут общее наблюдение за состоянием судна (заливаемостью, работой движителей и судового оборудования при качке).
Указанные испытания проводят по программе и в сроки, согласованные с Российским Классификационным Обществом.
4.5.5 После завершения испытаний головного судна разработчиком проекта судна определяется перечень мероприятий, подлежащих выполнению на последующих судах серии. Этот перечень согласовывается Российским Классификационным Обществом.
4.5.6 В случае применения новых материалов, типовых образцов изделий и оборудования в зависимости от назначения судна предусматриваются эксплуатационные испытания по согласованной с Российским Классификационным Обществом программе.
Протоколы эксплуатационных испытаний представляются в филиал в согласованные сроки после окончания испытаний.
4.5.7 Необходимость проведения эксплуатационных испытаний не является препятствием для оформления и выдачи на судно документов Российского Классификационного Общества.
4.6 ОСОБЕННОСТИ ТЕХНИЧЕСКОГО НАБЛЮДЕНИЯ
ЗА ИМИТАЦИОННЫМИ ИСПЫТАНИЯМИ
4.6.1 Имитационные испытания проводятся при строительстве серий судов по методике, разработанной с учетом РД5Р.0202.
4.6.2 Целесообразность и методы проведения имитационных испытаний определяют судостроительная организация, проектант и заказчик.
4.6.3 Имитационные устройства, способы их крепления и вызываемые ими воздействия (вибрация и т.п.) не должны отрицательно влиять на испытываемый объект или на судовые конструкции.
Отладка имитационных устройств и сравнительные испытания проводятся на серийных и на головных судах.
4.6.4 Требования настоящей главы не распространяются на головные суда и типовые образцы объектов технического наблюдения.
Целью совместного проведения имитационных и натурных испытаний на головных судах и типовых объектах является оценка возможности замены натурных испытаний имитационными испытаниями последующих серийных объектов.
4.6.5 При проведении имитационных испытаний проверяются все контрольные параметры испытываемого объекта, регламентируемые Правилами.
Если имитационные испытания позволяют определить лишь некоторые параметры, остальные определяются при натурных испытаниях.
4.6.6 С целью обоснования возможности применения имитационных методов на одном и том же судне выполняют сравнительные испытания (натурные на свободной воде и имитационные) с последующим анализом их результатов, разработкой и согласованием рабочей программы (методики) имитационных испытаний судов данной серии.
4.6.7 Сравнительные испытания проводят по программе (методике), согласованной с Российским Классификационным Обществом.
4.6.8 Программа (методика) сравнительных испытаний включает в себя:
.1 пояснительную часть, включающую теоретическое обоснование принятого имитационного метода испытаний, схемы (чертежи) имитационных устройств и соединений их с испытываемыми объектами, схемы полигонов, сведения о количестве судов, на которых проводятся сравнительные испытания;
.2 указания по проверке качества монтажа и требования к проведению испытаний в швартовном режиме;
.3 указания по проведению имитационных испытаний, включая указания по контролю и измерению параметров, а также по обеспечению значений контролируемых параметров;
.4 указания о методике сравнения и о требуемой сопоставимости параметров, полученных при опытных имитационных и натурных испытаниях.
4.6.9 По результатам сравнительных испытаний не менее чем на двух судах оформляется документ, завизированный экспертом, в котором приводятся значения сопоставимых или сопоставляемых параметров, данные о сходимости результатов испытаний и заключение о возможности проведения имитационных испытаний на последующих судах серии.
4.6.10 Имитационные испытания проводятся в соответствии с программой (методикой), составленной по результатам сравнительных испытаний и согласованной с Российским Классификационным Обществом.
4.6.11 Программа (методика) имитационных испытаний включает в себя:
.1 общие положения;
.2 требования к техническому состоянию предъявляемого к испытаниям объекта;
.3 требования к техническому состоянию имитационного устройства или иного обеспечивающего устройства или оборудования;
.4 методические указания по подготовке к испытаниям и их проведению, включая указания по контролю и измерению параметров. Указываются также значения параметров, которые должны быть достигнуты с помощью имитационного устройства;
.5 схемы имитационных устройств и полигонов;
.6 указания о проведении контрольных сравнительных испытаний и их периодичности.
4.6.12 В случае применения имитационных методов во время испытаний судовых технических средств и оборудования после ревизии используются те же имитационные методы, которые применялись для проверки объектов на ходовых режимах.
4.6.13 На судах серийной постройки, испытываемых имитационными методами, с целью подтверждения достоверности и стабильности результатов имитационных испытаний в согласованные с Российским Классификационным Обществом сроки или на судах с заранее назначенными строительными номерами (например, каждое 3-е, 5-е, 10-е и т.д.) проводят контрольные сравнительные испытания с использованием полной программы натурных испытаний.
Периодичность (частоту) сравнительных контрольных испытаний устанавливает судостроительная организация с учетом стабильности качества изготовления и монтажа объектов технического наблюдения и сходимости результатов натурных и имитационных испытаний.
4.7 ОСОБЕННОСТИ ТЕХНИЧЕСКОГО НАБЛЮДЕНИЯ
ЗА ПЕРЕОБОРУДОВАНИЕМ, МОДЕРНИЗАЦИЕЙ И РЕМОНТОМ СУДОВ
4.7.1 Российское Классификационное Общество осуществляет техническое наблюдение за переоборудованием, модернизацией и ремонтом судов в эксплуатации.
4.7.2 Техническое наблюдение за переоборудованием, модернизацией и ремонтом судов осуществляется в соответствии с согласованной технической документацией.
Техническая документация представляется на согласование по тем частям корпуса, судовых технических средств и оборудования судна, которые подлежат переоборудованию, модернизации, восстановлению или ремонту.
4.7.3 Техническая документация на ремонт разрабатывается в случае:
отсутствия у организации рабочей или проектной документации на ремонтируемое судно, рабочей или эксплуатационной документации на ремонтируемые объекты технического наблюдения;
невозможности выполнения ремонтных работ по имеющейся технической документации в связи с функциональными возможностями технологического оборудования или существующих в организации технологий (производственных, контроля и испытаний).
4.7.4 Техническое наблюдение за переоборудованием, модернизацией и ремонтом судов осуществляется на договорной основе.
4.7.5 При техническом наблюдении за ремонтом судов должны быть выполнены требования настоящих Правил в отношении:
.2 порядка согласования проектной документации (см.
разд. 3);
.3 объема технического наблюдения (характера проверок и испытаний, в том числе швартовных и ходовых);
.4 применения материалов и сварки;
.5 объема технической документации, представляемой на рассмотрение Российскому Классификационному Обществу.
4.7.6 Объемы и методы ремонта, определенные судоремонтной организацией, согласовываются с экспертом.
4.7.7 Дефектация элементов судна выполняется судовладельцем с учетом требования Правил или специально разработанных для судов данного проекта нормативов, относящихся к определению технического состояния (см.
приложения 2 -
4 к ПОСЭ).
4.7.8 Результаты контрольных проверок объема и качества работ, производимых в процессе технического наблюдения за переоборудованием, модернизацией и ремонтом судов, замечания и требования эксперта оформляются в виде документов, предусмотренных настоящими Правилами.
4.8 ОСОБЕННОСТИ ТЕХНИЧЕСКОГО НАБЛЮДЕНИЯ ЗА КАПИТАЛЬНЫМ
РЕМОНТОМ ДВИГАТЕЛЕЙ ВНУТРЕННЕГО СГОРАНИЯ
4.8.1 Техническое наблюдение за капитальным ремонтом двигателей внутреннего сгорания осуществляется по согласованию с Российским Классификационным Обществом технической документации, в организации, имеющей Свидетельство о признании, подтверждающее возможность выполнения данного вида ремонта.
4.8.2 Сборка двигателей внутреннего сгорания выполняется при техническом наблюдении Российского Классификационного Общества с учетом требований
6.2.4.
4.8.3 После капитального ремонта двигателей внутреннего сгорания Российским Классификационным Обществом осуществляется техническое наблюдение за проведением их испытаний. Капитально отремонтированные двигатели внутреннего сгорания подвергаются тем же видам испытаний и в том же объеме, что и после их изготовления. Испытания проводятся по программе, согласованной с Российским Классификационным Обществом.
4.8.4 Испытания капитально отремонтированных двигателей внутреннего сгорания для проверки соответствия параметров по содержанию вредных (загрязняющих) веществ и дымности выпускных газов нормируемым значениям выполняются по согласованной Российским Классификационным Обществом программе испытаний, разработанной в соответствии с
приложением 12. Наибольшие допустимые значения этих параметров выбираются с учетом требований
6.2.3 и
6.2.6 ППЗС.
4.8.5 При получении положительных результатов испытаний капитально отремонтированных двигателей внутреннего сгорания, подтверждающих выполнение требований Правил и согласованной Российским Классификационным Обществом технической документации, оформляются Сертификат на капитально отремонтированный двигатель (форма РКО-8.3) и Свидетельство о соответствии судового двигателя техническим нормативам выбросов вредных (загрязняющих) веществ в атмосферный воздух (форма РКО-1.30).
5 КОРПУС И ЕГО ОБОРУДОВАНИЕ
5.1.1 Настоящий раздел устанавливает требования к осуществлению технического наблюдения за постройкой металлических, железобетонных и пластмассовых корпусов судов, а также судовых надстроек и рубок независимо от степени их участия в общем изгибе корпуса.
5.1.2 Порядок и объем проверок и испытаний корпусных конструкций определяются в соответствии с
Перечнем (см.
2.3.1), разработанным с учетом особенностей технологических процессов, методов формирования корпуса и надстроек, способов сварки, методов и способов контроля, принятых в данной судостроительной организации.
5.1.3 При осуществлении технического наблюдения за качеством изготовления корпусных конструкций проверяются:
.1 наличие сертификатов на листовой, полосовой, профильный, сортовой прокат, трубы, литые и кованые изделия, документов на сварочные материалы;
.2 соответствие данных, указанных в сертификатах и других документах на материалы, требованиям Правил и технической документации, согласованной с Российским Классификационным Обществом, применительно к проверяемой конструкции;
.3 соответствие категории стали, марки материала и номера плавки, указанных на детали, данным сертификата. Если номер плавки на детали отсутствует или заменен условным знаком, он определяется по документам согласно действующему в организации порядку;
.4 соответствие марок материалов требованиям чертежей.
5.1.4 Наружным осмотром проверяются:
.1 соответствие конструкции объекта технического наблюдения чертежам и технической документации, совмещение, сопряжение и соединение деталей, узлов и других элементов, качество выполнения механической обработки и установленных конструктивных требований;
.2 выполнение требований Правил, касающихся объекта технического наблюдения;
.3 отсутствие видимых дефектов и отклонений от формы изделия, качество удаления временных монтажных деталей и приспособлений;
.4 соответствие типа сварных соединений и параметров выполненного шва требованиям чертежа и таблицы сварки, отсутствие наружных дефектов.
5.1.5 Выборочно проверяются на соответствие указанным в чертежах следующие конструктивные параметры:
.1 толщины деталей из листового материала;
.2 размеры деталей сварных и катаных балок, книц, ребер, элементов фундаментов, комингсов, шельфов;
.3 расстояние между балками набора;
.4 отстояние сварных соединений от балок, концов книц;
.5 разнесение сварных швов;
.6 размеры вырезов, расстояние между ними, их отстояние от кромок деталей и опор, радиусы скруглений;
.7 скосы балок, притупления, зазоры у торцов;
.8 значения разностенностей, смещения связей и деталей;
.9 прямолинейность связей, углы их присоединения к полотнам и балкам;
.10 значения параметров местных деформаций (выпучин, вмятин, гофров, ребристости полотнища и иных построечных сварочных деформаций), которые должны находиться в пределах, указанных в технологической документации
(приложение 8);
.11 размеры конструктивных элементов сварных швов (ширина шва, форма и высота усиления, катет шва, длина и шаг прерывистых швов);
.12 размеры конструктивных элементов заклепочных швов (ширина перекроя и полок угольника, шаг заклепочного шва, расстояние между рядами заклепок и от оси заклепок до кромки листа, размеры элементов заклепок).
5.1.6 При проверке качества сварочных работ эксперт руководствуется требованиями ч. X ПКПС.
5.1.7 При периодических проверках сварочного производства организации (см.
2.3.5) эксперт проверяет:
.1 качество сварочных материалов;
.2 способы сварки;
.3 квалификацию сварщиков и специалистов неразрушающего контроля (см.
2.8.2.2);
.4 подготовку соединения к сборке и сварке, качество прихваток сварных соединений и швов;
.5 соблюдение технологии, включая защиту от неблагоприятных погодных условий;
.6 методы и объем контроля качества сварных соединений.
5.1.8 При осуществлении технического контроля в соответствии с
Перечнем необходимо убедиться, что сварные швы не имеют дефектов в виде: трещин в шве и околошовной зоне, незаваренных кратеров, не заполненной металлом разделки, смещений и сужений швов, шлаковых, металлических (вольфрамовых), оксидных и флюсовых включений на поверхности шва, свищей, пор, раковин, западаний между валиками, седловин, бугристости и чешуйчатости, подрезов, неплавного перехода шва к основному металлу, неправильной формы шва.
5.1.9 Эксперт проверяет выполнение персоналом организации контроля качества сварных швов неразрушающими методами, если Правилами предусмотрен такой контроль. При этом проверяется:
.1 наличие согласованной схемы контроля сварных швов;
.2 соответствие метода контроля согласованному с Российским Классификационным Обществом;
.3 соответствие количества испытанных участков сварных швов и мест их расположения схеме контроля с учетом дополнительных и контрольных испытаний;
.4 результаты испытаний по документам организации.
5.1.10 Выборочно проверяются рентгено- и гамма-снимки, документы ультразвукового контроля. Для определения характера дефекта производится вскрытие швов.
5.1.11 Испытания корпуса на непроницаемость проводят по согласованной с Российским Классификационным Обществом схеме испытаний, разработанной в соответствии с
приложением 10.
5.1.12 При техническом наблюдении за проведением испытаний на непроницаемость проверяются:
.1 подготовка помещения (отсека) к испытаниям;
.2 методы и условия проведения испытаний;
.3 полнота охвата испытаниями конструкций и швов;
.4 последовательность и методика выполнения технологических операций и проведение организацией пооперационного контроля;
.5 правильность оценки непроницаемости;
.6 качество исправления дефектных мест.
5.2 ТЕХНИЧЕСКОЕ НАБЛЮДЕНИЕ ЗА ИЗГОТОВЛЕНИЕМ
УЗЛОВ, СЕКЦИЙ И БЛОКОВ СЕКЦИЙ
5.2.1 В процессе изготовления корпусных деталей, сборки узлов, секций и блоков необходимо осуществлять установленные технологическим процессом и стандартами пооперационный и поэтапный контроль.
5.2.2 Стенды, кондукторы, постели и другая оснастка до сборки должны быть предварительно выверены, чтобы обеспечивались допускаемая погрешность габаритных размеров собираемых узлов, секций и блоков, плавность их обводов в соответствии с чертежами и ординатами, снятыми с плаза.
5.2.3 При постройке корпусов серийных судов техническое наблюдение на данном этапе включает периодические осмотры изготовленных секций и отдельных узлов. Их проверки проводятся на последующих стадиях постройки корпуса: в составе блоков секций, частей корпуса на предстапельных позициях или в составе корпуса на стапеле.
5.2.4 При осуществлении технического наблюдения за постройкой секций осуществляется:
.1 контроль материала согласно
5.1.3;
.2 наружный осмотр секций согласно
5.1.4, элементов сварных конструкций согласно
5.1.8;
.3 проверка размеров согласно
5.1.5;
.4 дефектоскопия сварных швов согласно
5.1.9;
.5 проверка условий проведения и результатов испытаний на непроницаемость согласно
5.1.11 и
5.1.12.
5.2.5 Секции и отдельные узлы подаются к местам формирования блоков полностью готовыми, принятыми службой технического контроля организации и, если это предусмотрено
Перечнем, после проверки экспертом.
5.2.6 Блоки предъявляются к проверке согласно
Перечню после полного окончания сборочно-сварочных и правочных работ и испытаний на непроницаемость.
5.2.7 При осуществлении технического наблюдения за постройкой блоков необходимо убедиться, что:
.1 качество монтажа секций, входящих в блоки, обеспечивает непрерывность связей корпуса. Стыкование продольных связей корпуса, предопределяющих общую прочность, проверяют с особой тщательностью;
.2 забойные детали и узлы обеспечивают качественный монтаж межсекционных соединений;
.3 в секциях и забойных узлах и деталях припуски находятся в пределах допуска, установленного технической документацией, в местах межсекционных соединений имеются вырезы, позволяющие качественно выполнять стыковые сварные швы;
.4 сварка монтажных соединений по наружной обшивке выполнена сначала с внутренней стороны, а затем, после удаления корня шва, - с наружной стороны корпуса;
.5 параметры деформаций не превышают значений, установленных в
приложении 11.
5.3 ТЕХНИЧЕСКОЕ НАБЛЮДЕНИЕ ЗА ПОСТРОЙКОЙ
МЕТАЛЛИЧЕСКОГО КОРПУСА НА СТАПЕЛЕ
5.3.1 Секции и блоки подаются на стапель полностью готовыми, принятыми службой технического контроля судостроительной организации и в случаях, предусмотренных
Перечнем, после проверки экспертом.
Секции и блоки проверяются на соответствие согласованной технической документации. Необходимость и технология установки временных подкреплений и деталей, значения припусков по монтажным кромкам с целью обеспечения надлежащего качества стапельной сборки Российским Классификационным Обществом не определяются.
5.3.2 В процессе технического наблюдения за стапельной сборкой судна эксперт проверяет:
.1 правильность установки секций и блоков относительно базовых линий стапеля и ранее установленных секций и блоков;
.2 правильность стыкования секций по обшивке и по набору и подготовки межсекционных соединений под сварку;
.3 размеры и качество сварных швов;
.4 значения сварочных деформаций корпуса, надстроек и качество правки деформаций (см.
приложение 11).
5.3.3 Если секции или блоки были осмотрены и проверены при их изготовлении, в объем технического наблюдения включается осмотр с целью удостовериться в отсутствии повреждений в результате транспортировки и монтажа.
5.3.4 К осмотру и проверкам предъявляют помещения корпуса согласно
Перечню после полного окончания всех работ по сборке, сварке, клепке и правке, а также установки всех деталей насыщения, присоединяемых непосредственно к корпусным конструкциям. Конструкции, примыкающие к проверяемому помещению, окончательно свариваются на расстоянии не менее 1 м от этого помещения.
5.3.5 При обнаружении трещин в корпусных конструкциях эксперт ставит в известность организацию и проверяет состояние конструкций. При обнаружении трещин принимаются меры к выявлению и устранению причин возникновения трещин. Работы по корпусу в районах, указанных экспертом, прекращаются. Поврежденные конструкции удаляются из корпуса или исправляются с полным устранением трещин по согласованной филиалом технологии.
5.3.6 При анализе результатов неразрушающего контроля проверяются напряженные связи, районы, подверженные вибрации, а также качество угловых и тавровых швов, сварка которых предусмотрена с полным проваром. Проверки непроницаемости сварных швов совмещаются с испытаниями непроницаемости корпуса в целом по согласованной с филиалом схеме. Результаты испытаний непроницаемости швов, выполненных до проведения испытания корпуса в целом, проверяются по документам организации.
5.3.7 В процессе технического наблюдения за постройкой корпуса судна на стапеле эксперт проверяет последовательность формирования корпуса, а также контролирует выполнение организацией проверок положения корпуса на стапеле и ведение стапельного журнала.
5.4 ТЕХНИЧЕСКОЕ НАБЛЮДЕНИЕ ЗА ПОСТРОЙКОЙ
ЖЕЛЕЗОБЕТОННЫХ СУДОВ
5.4.1 В процессе технического наблюдения за постройкой судна проверяется:
.1 качество материалов, используемых для постройки корпуса судна, по сертификатам и данным лабораторных анализов;
.2 качество заготовок арматурной стали, правильность изготовления арматурных каркасов и сеток, установки и крепления арматуры с закладными деталями и прокладками защитного слоя;
.3 правильность дозировки компонентов бетона, качество приготовления бетонной смеси, ее укладки и виброуплотнения;
.4 соблюдение температуры и режима влажности, сроков твердения бетона, а также прочность бетона перед снятием секций с матриц;
.5 соответствие секций проектным требованиям после их снятия с матриц и оформление паспортов или журналов секций;
.6 подготовленность стапеля, его нивелировку и разметку;
.7 правильность установки секции на стапеле, монтажа, сварки и зачистки арматурных стыков, установки закладных деталей и прокладок защитного слоя в монтажных стыках, подготовки кромок секций к бетонированию;
.8 правильность бетонирования монтажных стыков, качество бетона, соблюдение температуры и режима влажности при его твердении;
.9 соответствие элементов корпуса проекту перед передвижкой со стапельного места. При этом корпус осматривается снаружи и изнутри, и проверяются размеры всех элементов. До передвижки судна проверяется прочность бетона монтажных стыков.
5.4.2 При изготовлении железобетонного корпуса монолитным способом проверяется правильность установки опалубки и толщина защитного слоя, создание необходимого температурно-влажностного режима при созревании бетона и сроки распалубки.
При перерывах в бетонировании проверяется подготовка поверхностей ранее уложенного бетона.
5.4.3 При техническом наблюдении за проведением испытаний контроль корпуса железобетонного судна проводится по согласованной филиалом схеме испытаний, разработанной в соответствии с методами и объемом испытаний по ОСТ5Р.0276.
5.5 ТЕХНИЧЕСКОЕ НАБЛЮДЕНИЕ ЗА ПОСТРОЙКОЙ ПЛАСТМАССОВЫХ СУДОВ
5.5.1 В процессе технического наблюдения за постройкой судна проверяются:
.1 результаты лабораторных анализов материалов перед их использованием. Основные показатели должны соответствовать технической документации на изготовление этих материалов;
.2 качество рабочей поверхности оснастки;
.3 соответствие оснастки рабочим чертежам и плазовым обводам.
5.5.2 При подготовке к формованию корпусных конструкций эксперт оценивает:
.1 качество приготовления и нанесения разделительных составов;
.2 качество приготовления связующих и правильность раскроя армирующих материалов.
5.5.3 В процессе формования корпусных конструкций проверяется:
.1 правильность укладки стеклоткани, направление основы и количества слоев, зазоры между стыкуемыми полотнищами;
.2 равномерность пропитки и уплотнения армирующего материала;
.3 отсутствие посторонних включений;
.4 наличие технологических припусков для физико-механических испытаний.
5.5.4 После формования корпусных конструкций контролируется время их выдержки в соответствии с технической документацией.
5.5.5 При осмотре готовых узлов и секций проверяется отсутствие:
.1 недопустимого отклонения размеров секций от указанных в чертежах;
.2 наружных и внутренних дефектов;
.3 недопустимого отклонения от заданных толщин, прямолинейности и разностенности.
5.5.6 В процессе изготовления секций, блоков корпусов и надстроек температура и относительная влажность воздуха протоколируются.
5.5.7 Эксперт проверяет физико-механические свойства материала конструкций корпуса, определенные разрушающим методом в соответствии с требованиями Правил (по результатам лабораторных испытаний сухих образцов).
5.5.8 Эксперт должен убедиться, что корпуса судов из стеклопластика ремонтируются с применением тех же материалов, что и при постройке. Технология ремонта корпусов должна быть согласована с филиалом.
5.6 ТЕХНИЧЕСКОЕ НАБЛЮДЕНИЕ ЗА ИЗГОТОВЛЕНИЕМ
КОНСТРУКТИВНОЙ ПРОТИВОПОЖАРНОЙ ЗАЩИТЫ
5.6.1 При осуществлении технического наблюдения за изготовлением противопожарных конструкций на строящемся судне проверяются:
.1 сертификаты на материалы;
.2 толщина изоляции и размеры воздушных зазоров, качество крепления изоляции к металлической основе, соблюдение технологии нанесения изоляционных материалов при формировании противопожарных переборок и палуб;
.3 узлы прохода труб электротрасс и вентиляционных каналов через противопожарные перекрытия;
.4 оборудование пожароопасных помещений;
.5 оборудование хранилищ жидкого топлива и смазочных материалов;
.6 выполнение требований, связанных с назначением судна.
5.6.2 В процессе технического наблюдения за изготовлением противопожарных дверей и других закрытий проверяются:
.1 работоспособность и плотность закрытия;
.2 их открытие и закрытие от усилия одного человека;
.3 работа закрывающего устройства самозакрывающихся дверей при управлении с местного и дистанционного (при его наличии) постов;
.4 закрытия вентиляционных каналов, кольцевых пространств вокруг дымовых труб, световых люков машинных, котельных и насосных отделений.
5.6.3 Качество материалов, применяемых для внутренней изоляции и оборудования, проверяется экспертом по документам на материалы и методом наружного осмотра на соответствие согласованной проектной документации.
5.7 ТЕХНИЧЕСКОЕ НАБЛЮДЕНИЕ ЗА ИЗГОТОВЛЕНИЕМ ОБОРУДОВАНИЯ
ПОМЕЩЕНИЙ, ЗАКРЫТИЙ, ОГРАЖДЕНИЙ, ТРАПОВ И ЭЛЕМЕНТОВ
УСТРОЙСТВ, ПРИСОЕДИНЯЕМЫХ К ПОДВОДНОЙ ЧАСТИ КОРПУСА
5.7.1 При осуществлении технического наблюдения применительно к коридорам, выходам, дверям и трапам проверяется соответствие чертежам и Правилам:
.1 проходов, предназначенных для быстрой эвакуации людей к местам посадки в спасательные шлюпки и плоты;
.2 типа и размеров дверей;
.3 направления открытия дверей;
.4 длины тупиков в коридорах;
.5 ширины выходов из зрительных залов, жилых и служебных помещений;
.6 ширины магистральных коридоров в районе жилых помещений пассажиров и экипажа;
.7 ширины наклонных трапов и размеров площадок.
5.7.2 После окончания монтажа закрытий эксперт проверяет:
.1 соответствие конструкций устройств и закрытий чертежу;
.2 прилегание уплотнительных прокладок к кромкам буртов;
.3 легкость и беспрепятственность (плавность) их открытия, закрытия, передвижения и задраивания;
.4 соответствие высоты комингсов чертежу и требованиям Правил;
.5 качество сварных швов в местах соединения закрытий с корпусом, надстройками и рубками;
.6 крепление съемных щитов для стекол;
.7 результаты испытаний на непроницаемость.
5.7.3 При техническом наблюдении за изготовлением леерного ограждения, фальшборта и переходных мостиков проверяется:
.1 качество сварных соединений фальшборта и переходных мостиков;
.2 соответствие требованиям Правил расстояния от палубы до нижнего леера леерных ограждений и расстояния между другими леерами;
.3 соответствие требованиям Правил высоты фальшбортов и леерных ограждений.
5.7.4 После окончания монтажа крыльевого устройства проверяется:
.1 соответствие проекту углов атаки крыльев;
.2 крепление крыльевого устройства к корпусу;
.3 наличие и эффективность стопорных приспособлений, исключающих самоотвинчивание гаек.
5.7.5 После окончания монтажа гибкого ограждения СВП проверяются:
.1 установка и крепление гибкого ограждения;
.2 наличие и эффективность стопорных приспособлений, исключающих самоотвинчивание гаек.
5.8 ПРОВЕРКА ГОТОВНОСТИ КОРПУСА К СПУСКУ НА ВОДУ
5.8.1 Корпус спускается на воду в соответствии с согласованным Российским Классификационным Обществом технологическим процессом (см.
3.1.10).
5.8.2 До согласования на спуск эксперт проверяет документы организации и документы Российского Классификационного Общества, оформленные в процессе технического наблюдения, подтверждающие проведение поэтапного контроля и испытаний:
.1 конструкций корпуса;
.2 непроницаемости корпусных конструкций;
.3 сварных швов;
.4 установки дейдвудных труб, гребных валов и винтов, рулей, насадок и заслонок, подруливающих устройств, в случае, если эти работы не выполняются на плаву;
.5 донно-бортовой арматуры;
.6 непроницаемости мест крепления навигационной аппаратуры к корпусу;
.7 монтажа и крепления крыльевых устройств СПК и гибких ограждений СВП;
.8 монтажа подруливающего устройства;
.9 установки и надежности закрытий горловин в настиле внутреннего дна и цистернах, закрытий отверстий в непроницаемых переборках;
.10 заделки технологических отверстий в корпусе;
.11 нанесения грузовой марки и марок углубления;
.12 главных размерений и формы корпуса с приложением таблиц измерений;
.13 полноту и качество нанесения лакокрасочных покрытий на подводную часть корпуса (см.
5.8.6 и
5.8.7).
5.8.3 При положительных результатах проверок, предусмотренных
5.8.2, эксперт оформляет согласие на спуск судна записью в извещении и протоколе о готовности судна к спуску на воду.
5.8.4 По результатам осмотра всех отсеков судна после спуска судна на воду службой технического контроля оформляется акт, который предъявляется эксперту.
5.8.5 Подводная часть судна предъявляется к осмотру в доке или на слипе, если:
.1 повреждена подводная часть корпуса при спуске;
.2 обнаружена течь в подводной части корпуса;
.3 выявлены дефекты либо есть основания опасаться недопустимых дефектов в подводной части, образовавшихся при спуске, достройке или при проведении испытаний судна.
5.8.6 Выбор схемы покрытий, окраски и цементировки, контроль качества их нанесения на судах внутреннего плавания, включая выполнение указаний технологической документации, Российским Классификационным Обществом не осуществляется.
5.8.7 На судах смешанного плавания Российское Классификационное Общество осуществляет техническое наблюдение за работами по окраске подводной части корпуса, грузовых помещений и балластных цистерн сухогрузных и нефтеналивных судов. При техническом наблюдении эксперт проверяет соответствие применяемых лакокрасочных материалов ведомости окраски, согласованной с Российским Классификационным Обществом, наличие документов (см.
2.2.6.3) на лакокрасочные материалы (для внутренних помещений) и соблюдение технологии нанесения их на корпусные конструкции.
6 ЭНЕРГЕТИЧЕСКАЯ УСТАНОВКА И СИСТЕМЫ
6.1.1 Настоящий раздел устанавливает требования по осуществлению технического наблюдения в процессе изготовления, монтажа и испытаний изделий, подлежащих согласно
разд. 4 Номенклатуры техническому наблюдению Российского Классификационного Общества: главных и вспомогательных двигателей внутреннего сгорания, редукторов и реверс-редукторных передач, разобщительных муфт и упругих муфт, компрессоров, насосов, вентиляторов, сепараторов, палубных механизмов, валопроводов, движителей, систем и трубопроводов, котлов, теплообменных аппаратов и сосудов под давлением, а также холодильного оборудования.
6.1.2 Порядок и объем проверок и испытаний объектов, указанных в
6.1.1, определяется
Перечнем, разработанным организацией на основании
Номенклатуры и требований Правил с учетом особенностей изготовления, сборки, монтажа, методов и способов контроля, принятых в организации и согласованных с филиалом.
6.1.3 На все материалы, включая поковки и отливки, комплектующее оборудование и изделия, использованные при изготовлении объектов, указанных в
6.1.1, и их деталей или предназначенные для комплектации, предъявляются сертификаты или другие документы, подтверждающие, что материал, изделие и технология их изготовления соответствуют требованиям технической документации, согласованной с Российским Классификационным Обществом. В установленных
Номенклатурой случаях на деталях или изделиях ставятся клейма.
6.1.4 Техническое наблюдение в процессе изготовления деталей и при их монтаже включает в себя проверку соответствия результатов измерений во всех контрольных точках и сечениях, указанных в рабочей документации и инструкциях по монтажу и эксплуатации изделий, и результатов неразрушающего контроля деталей в случаях, предусмотренных Правилами, документацией, согласованной с Российским Классификационным Обществом. Измерению подлежат линейные, угловые размеры, монтажные зазоры, отклонения от формы, параметры шероховатости, твердость, структура материала.
6.1.5 При техническом наблюдении за исправлением поверхностных дефектов отливок, поковок и сварных конструкций руководствуются требованиями технической документации, согласованной с Российским Классификационным Обществом, и требованиями ч. X ПКПС. После исправления дефектов детали и изделия подлежат проверке неразрушающими методами контроля, если это установлено требованиями Правил и технической документации.
6.1.6 При техническом наблюдении за изготовлением объектов и их составных частей эксперт:
.1 проверяет по документам качество материала и термической обработки, наличие комплектующего оборудования;
.2 контролирует проведение гидравлических и воздушных испытаний изделий;
.3 проводит выборочный наружный осмотр и проверку качества обработки, соответствие размеров рабочим чертежам, соблюдение технологии и использование требуемых технологической документацией методов дефектоскопии;
.4 проверяет соответствие изготовленных деталей, узлов и объектов технического наблюдения требованиям технической документации;
.5 проверяет наличие маркировки, предусмотренной согласованной технической документацией.
6.1.7 Изделия, подвергаемые в соответствии с требованиями Правил гидравлическому испытанию, к моменту его проведения должны быть термически и механически обработаны.
При гидравлическом испытании изделий остаточные деформации, отпотевание и пропуски жидкости являются браковочными признаками.
6.1.8 Результаты гидравлических испытаний заносят в журнал испытаний, в котором указываются:
.1 наименование изделия;
.2 производственный номер;
.3 номер чертежа;
.4 значение рабочего давления;
.5 значение пробного гидравлического давления;
.6 результаты испытаний и сведения о допущенных исправлениях дефектов;
.7 дата испытаний.
Достоверность перечисленных сведений должна быть подтверждена подписью представителя службы технического контроля организации.
6.1.9 На деталях и изделиях, прошедших испытания, на видном месте выбивают номер детали, клеймо службы технического контроля организации-изготовителя, значения рабочего и пробного давлений.
Предохранительные клапаны объектов судовой техники после гидравлического испытания должны быть отрегулированы в соответствии с Правилами, опробованы воздухом и опломбированы персоналом службы технического контроля организации.
6.1.10 (признан утратившим силу).
6.1.11 (признан утратившим силу).
6.1.12 (признан утратившим силу).
6.1.13 (признан утратившим силу).
6.1.14 (признан утратившим силу).
Общие требования к проведению стендовых испытаний
6.1.15 После изготовления и приемки изделий службой технического контроля организации-изготовителя, в случаях предусмотренных Правилами и согласованной технической документацией проводятся стендовые испытания в присутствии эксперта по программе, согласованной с Российским Классификационным Обществом.
6.1.16 До начала испытаний изделия эксперту представляют:
.1 документ организации о готовности стенда к испытаниям;
.2 схему оборудования, размещения контрольно-измерительных приборов и паспорт стенда;
.3 документы о поверке или калибровке контрольно-измерительных приборов стенда или штатных приборов;
.4 документ службы технического контроля организации о проведении заводских испытаний с представлением результатов по контролируемым параметрам;
.5 техническую документацию на изготовление и поставку изделия, а также комплектующего оборудования в случае его установки на стенд с изделием, подлежащим испытанию;
.6 описание и инструкцию по обслуживанию, чертежи, результаты измерений деталей и монтажных размеров;
.7 заполненный формуляр (паспорт) на испытываемый объект;
.8 программу испытаний (в случаях, когда она является составной частью согласованной технической документации).
6.1.17 Нарушение непрерывности режимов испытаний вследствие неисправностей при вынужденной остановке испытываемого объекта допускается один раз продолжительностью не более 15 мин. После устранения неисправности объект испытывается повторно, начиная с режима, на котором произошла вынужденная остановка.
При остановке продолжительностью более 15 мин, повторной остановке объекта испытаний или при замене составных частей испытываемого объекта испытание считается несостоявшимся. Оно может быть возобновлено только после анализа и устранения всех причин и недостатков, препятствующих непрерывной работе рассматриваемого объекта.
6.1.18 После стендовых испытаний проводится ревизия узлов и деталей изделия. Объем ревизии и разборки определяется по результатам проверок или испытаний и уточняется с учетом характера дефектов, обнаруженных при проведении ревизии.
6.1.19 Если проводилась ревизия с частичной разборкой изделия, то заключительным этапом проверок этого изделия являются контрольные испытания, проводимые в присутствии эксперта. Контрольные испытания проводятся на режиме номинальной нагрузки или на режиме нагрузки, ожидаемой в эксплуатации.
Технические параметры, полученные при проведении контрольных испытаний, вносятся в документацию сопровождения изделия (формуляр, паспорт, руководство по эксплуатации и т.д.).
6.2 ТЕХНИЧЕСКОЕ НАБЛЮДЕНИЕ ЗА ИЗГОТОВЛЕНИЕМ
Двигатели внутреннего сгорания
6.2.1 При техническом наблюдении за изготовлением деталей и узлов двигателей внутреннего сгорания проверяется их соответствие требованиям Правил и согласованной технической документации в отношении:
.1 конструкции, материалов, химико-термической обработки, механических и физико-химических свойств поверхности;
.2 размеров, формы, расположения и шероховатости базовых поверхностей сопряжения, прямолинейности осей, посадок сопрягаемых деталей;
.3 качества сварных, резьбовых и других соединений, фиксации и стопорения соединяемых деталей;
.4 равномерности и прочности сцепления антифрикционных, противоизносных и других покрытий;
.5 наличия дефектов, их характера и способа устранения;
.6 дефектоскопии литых и кованых деталей, сварных швов;
.7 гидравлических испытаний (см.
6.2.2);
.8 наличия технологических баз, приливов и отверстий, припусков на окончательную обработку;
.9 отклонения от профиля и площади контакта в зацеплении зубчатых передач;
.10 статической и динамической балансировки коленчатых валов;
.11 определения содержания вредных (загрязняющих) веществ в выпускных газах.
6.2.2 Детали, трубопроводы и узлы двигателей, работающие при избыточном давлении, после окончательной механической обработки до нанесения защитных покрытий должны быть испытаны пробным давлением в соответствии с требованиями
табл. 6.2.2.
Таблица 6.2.2
Значение давления при гидравлических испытаниях
Наименование детали, узла | Пробное давление, МПа |
Крышка цилиндра - полость охлаждения Втулка цилиндра по всей длине полости охлаждения Головка поршня - полость охлаждения (после сборки со штоком, если он служит уплотнением) | 0,7 |
Цилиндровый блок - полость охлаждения Выпускной клапан (корпус) - полость охлаждения Турбонагнетатель - полость охлаждения Газовый коллектор - полость охлаждения Охладители <1> (с обеих сторон) Насосы, навешенные на двигатель, (масляные, водяные, топливные, осушительные) - рабочие полости Компрессоры, навешенные на двигатель, включая цилиндры, крышки и воздухоохладители со стороны воды | 0,4 при 0,4 >= 1,5p, 1,5p при 0,4 < 1,5p |
Компрессоры, навешенные на двигатель, включая цилиндры, крышки и воздухоохладители со стороны воздуха | 1,5p |
Корпуса топливных насосов высокого давления (со стороны нагнетания), форсунки и топливные трубки | 1,5p или p + 30, в зависимости от того, какое меньше |
<1> Охладители наддувочного воздуха подлежат гидравлическому испытанию только со стороны воды. Примечания. 1. p - рабочее давление, МПа. 2. Данные нормы гидравлических испытаний не распространяются на топливные насосы с регулирующей кромкой плунжера. |
6.2.3 На сборку двигателя подаются узлы и детали, принятые службой технического контроля организации. Перед подачей на сборку они предъявляются эксперту.
6.2.4 При техническом наблюдении за сборкой двигателя проверяются:
.1 установка фундаментной рамы в положении, определенном технической документацией;
.2 соосность постелей рамовых подшипников;
.3 пригонка вкладышей рамовых подшипников по постелям и опорно-упорного подшипника;
.4 укладка коленчатого вала с проверкой прилегания коренных шеек к подшипникам, линию вала, биение коренных шеек и раскепы коленчатого вала;
.5 монтаж и крепление блока цилиндров, пригонку поверхностей сопряжения;
.6 усилие затяга резьбовых соединений;
.7 раскепы (повторно) после затяжки анкерных связей и установки маховика;
.8 монтаж и центрирование приводов газораспределения, распределительного вала и навешенных агрегатов;
.9 монтаж деталей цилиндро-поршневой группы;
.10 монтаж цилиндровых крышек в сборе;
.11 монтаж и центрирование воздухонагнетателей;
.12 монтаж систем двигателя;
.13 стопорение деталей.
6.2.5 После окончания сборки, обкатки и регулировки эксперт осуществляет техническое наблюдение за проведением стендовых испытаний двигателей по программе, согласованной с Российским Классификационным Обществом.
6.2.6 При техническом наблюдении за проведением стендовых испытаний эксперт руководствуется требованиями
6.1.15 -
6.1.19 с учетом следующего:
.1 главные двигатели, предназначенные для работы на винт фиксированного шага, испытывают по винтовой характеристике;
.2 двигатели, предназначенные для привода генераторов, насосов, компрессоров, испытывают по нагрузочной характеристике;
.3 новые конструктивные решения в комплексе "двигатель - передача - движитель" испытываются по программе, учитывающей такие решения;
.4 двигатели на стенде испытывают со всеми штатными приборами, аппаратами и устройствами автоматического управления, аварийно-предупредительной сигнализации (АПС) и защиты;
.5 продолжительность стендовых испытаний устанавливают в соответствии с
табл. 6.2.6.5. При этом учитывают, что:
двигатели, работающие по нагрузочной характеристике, испытывают на
режимах 1 -
6 при номинальной частоте вращения;
режимы 5 и
6 при проведении испытаний являются обязательными;
продолжительность установившихся режимов работы двигателей должна быть достаточной для стабилизации параметров рабочего процесса после выхода на режим и выполнения измерений и проверок, предусмотренных программой испытаний;
при проведении контрольных испытаний (см.
6.2.8) продолжительность работы двигателей на
режиме 5 может составлять не более 25% времени, указанного в
табл. 6.2.6.5, но должна быть не менее 0,5 ч;
Таблица 6.2.6.5
Режимы работы двигателей и их продолжительность
при стендовых испытаниях
N режима | Значения параметров работы двигателя, % от значений на номинальном режиме | Продолжительность испытаний двигателя, ч, при номинальной частоте вращения, мин-1 |
Мощность | Частота вращения | Момент | < 200 | от 200 до 500 | св. 500 до 1000 | > 1000 |
Режим холостого хода |
| Не нормируется | 0 | 0,5 | 0,5 | 0,25 | 0,25 |
Режимы работы под нагрузкой по винтовой характеристике на переднем ходу |
2 | 25 | 63 | 39 | 1,0 | 1,0 | 0,5 | 0,25 |
3 | 50 | 80 | 63 | 1,0 | 1,0 | 0,5 | 0,5 |
4 | 75 | 91 | 83 | 1,0 | 1,0 | 0,5 | 0,5 |
| 100 | 100 | 100 | 8,0 | 6,0 | 4,0 | 1,0 |
| 110 | 103 | 107 | 0,5 | 0,5 | 0,5 | 0,5 |
Режим заднего хода |
| Не нормируется | 1,0 | 1,0 | 0,5 | 0,5 |
Режим минимальной устойчивой частоты вращения |
| Не нормируется | 0,5 | 0,5 | 0,25 | 0,25 |
Общая продолжительность испытаний | 14 | 12 | 7 | 3,75 |
Примечание. Режимы 7 и 8 применяются, если конструкцией двигателей предусмотрена работа на этих режимах. |
.6 до выведения двигателя на режим проверяют системы управления, регулирования, АПС и защиты, блокировки и отключения, пуско-реверсивные характеристики двигателя, работу регуляторов;
.7 испытания систем автоматизированного управления проводят по отдельной программе, согласованной с Российским Классификационным Обществом;
.8 работа двигателя проверяется на всех режимах, предусмотренных программой-методикой, при этом фиксируют параметры рабочего процесса и показатели, предусмотренные технической документацией и программой испытаний;
.9 измерение параметров рабочего процесса выполняют не менее двух раз после выхода двигателя на установившийся режим;
.10 измерение параметров крутильных колебаний (в случаях, предусмотренных 6.1.1 ч. IV ПКПС).
6.2.7 Испытания двигателей для проверки соответствия их параметров содержания вредных (загрязняющих) веществ и дымности выпускных газов нормируемым значениям выполняются по согласованной Российским Классификационным Обществом программе, разработанной в соответствии с
приложением 12. Тип и модель двигателя для проведения испытаний в качестве базового двигателя семейства выбираются изготовителем.
При изготовлении серийных двигателей одного семейства их параметры и предельно допустимые значения по содержанию вредных (загрязняющих) веществ и дымности выпускных газов принимаются по результатам испытаний базового двигателя семейства.
В случае, если в конструкцию двигателя внесены изменения, влияющие на содержание вредных (загрязняющих) веществ и дымности в отработавших газах двигателя, указанные в
абзацах первом настоящего пункта измерения выполняются также и у серийного двигателя.
6.2.8 При проведении технического наблюдения учитывается, что после стендовых испытаний, предусмотренных программой испытаний, а также в зависимости от результатов проверок, указанных в
6.2.6, сборочные единицы и детали двигателя подвергаются ревизии с их осмотром и измерениями в согласованном с экспертом объеме.
6.2.9 В случаях, когда при ревизии двигателя выполнялась его частичная разборка, проводятся контрольные испытания двигателя с проверкой при техническом наблюдении эксперта Российского Классификационного Общества параметров рабочего процесса и показателей двигателя и его нижеперечисленных устройств и систем:
.1 пусковых устройств;
.2 реверсивного устройства;
.3 системы АПС и защиты, предохранительных устройств;
.4 системы автоматизированного управления;
.5 системы регулирования частоты вращения.
6.2.10 Эксперт должен убедиться, что в случае неудовлетворительных результатов проверок после устранения изготовителем дефектов, влияющих на работоспособность данного узла или системы, в полном объеме и в соответствии с
6.2.8 проведены повторные проверки двигателя в действии.
6.2.11 Организация-изготовитель комплектует двигатель следующими документами сопровождения:
.1 технический формуляр;
.2 комплект узловых и сборочных чертежей двигателя в объеме, предписываемом техническими условиями;
.3 формуляры навешенных агрегатов, поставляемые организациями-изготовителями;
.4 технический паспорт и инструкция по эксплуатации и техническому обслуживанию с подробным описанием узлов двигателя и специального инструмента;
.5 ведомость запасных частей;
.6 паспорта на контрольно-измерительные приборы;
.7 акт организации о приемке двигателя после сборки;
.8 протокол стендовых испытаний двигателя (проверочных);
.9 акт организации о ревизии двигателя после испытания;
.10 технический паспорт выбросов вредных (загрязняющих) веществ в отработавших газах и дымности (оформляется в соответствии с
ГОСТ 31967);
.11 журнал регистрации параметров двигателя для записи всех изменений комплектации и регулировок (может являться составной частью паспорта или формуляра двигателя). В журнале должно содержаться описание всех изменений, затрагивающих проектные характеристики двигателя, включая регулировки, замену частей или конструктивные изменения компонентов двигателя, позволяющие оценить уровень выбросов.
6.2.12 При получении положительных результатов стендовых испытаний, определенных разд. 6 Правил, подтверждающих выполнение требований Правил и согласованной Российским Классификационным Обществом технической документации, на двигатель оформляются Сертификат (форма РКО-8.1) и Свидетельство о соответствии судового двигателя техническим нормативам выбросов вредных (загрязняющих) веществ в атмосферный воздух (форма РКО-1.30).
Валопроводы
6.2.13 При техническом наблюдении за изготовлением валов проверяются:
.1 соответствие качества материала требованиям согласованной технической документации, режим термической обработки и результаты дефектоскопии;
.2 шероховатость, размеры и форма рабочих поверхностей;
.3 радиальное биение валов, торцовое биение плоскостей фланцев и гребней упорных валов, концентричность наружных и внутренних поверхностей или разностенность полых валов;
.4 форма сечения и разделка шпоночного паза, положение шпоночного паза относительно оси вала и конуса;
.5 сборка и соблюдение соосности при соединении валов, натяги и зазоры в соединениях;
.6 поверхность под посадку облицовки, которая должна иметь достаточный допуск для соблюдения предусмотренной чертежами посадки.
6.2.14 Окончательно обработанные валы подвергают наружному осмотру. При этом эксперт устанавливает, что:
.1 параметры поверхностных дефектов не превышают норм, указанных в технических требованиях чертежа;
.2 шейки валов не имеют забоин, царапин, рисок, заусенцев;
.3 резьба на валах чистая, без заусенцев и сорванных ниток;
.4 галтели выполнены плавно, у пазов нет острых кромок и заусенцев.
При положительных результатах проверок, дефектоскопии и измерений на валы ставятся клейма Российского Классификационного Общества, если это предусмотрено
Номенклатурой.
6.2.15 В процессе изготовления и после окончательной обработки облицовок эксперт проверяет:
.1 соответствие свойств материала требованиям технической документации;
.2 результаты дефектоскопии;
.3 наружную поверхность облицовок на отсутствие дефектов;
.4 размеры, обеспечивающие гарантированный натяг при посадке облицовки на вал;
.5 результаты гидравлического испытания на плотность облицовки или сваренных обечаек до посадки на вал (см.
6.2.16).
6.2.16 Эксперт должен убедиться в том, что гидравлические испытания облицовок гребных валов и дейдвудных труб проводятся испытательным давлением не менее 0,2 МПа.
6.2.17 После посадки облицовки на гребной вал и окончательной обработки эксперт контролирует результаты выполненных изготовителем следующих проверок:
.1 наружной поверхности облицовок на отсутствие поверхностных дефектов;
.2 размеров, формы, шероховатости и радиального биения рабочих поверхностей;
.3 качества сварных швов облицовок, сваренных на валу, по результатам испытаний на плотность воздухом или маслом под давлением 0,2 МПа и (или) с использованием методов цветной дефектоскопии;
.4 качества уплотнения концов облицовки.
6.2.18 Гидроизоляция валов проверяется на отсутствие потеков, вздутий, воздушных включений.
6.2.19 Окончательно изготовленные муфты, соединительные болты, упорные и опорные подшипники, дейдвудные устройства, уплотнения и сальники проверяются экспертом до постановки их на место. Окончательный контроль фланцевых полумуфт по наружным и торцевым поверхностям выполняется после их посадки на вал.
Передачи, разобщительные и упругие муфты
6.2.20 При техническом наблюдении за изготовлением деталей и узлов передач и разобщительных муфт главных двигателей эксперт обязан убедиться в том, что:
.1 обработанные шейки валов, поверхности под посадку, параметры нарезки зубьев, зубчатые венцы, поверхности под уплотнения и соединения, шпоночные пазы, резьбы, отклонения от профиля, радиальное биение, перпендикулярность торцовых поверхностей к оси вала, торцовое биение, химико-термическая обработка, защитные покрытия соответствуют требованиям технической документации, согласованной с Российским Классификационным Обществом;
.2 ответственные детали подвергнуты дефектоскопии;
.3 посадки в соединениях выполнены с требуемым натягом (зазором);
.4 окончательно собранные и обработанные зубчатые колеса, шестерни, валы с муфтами и полумуфтами в сборе в соответствии с 4.3.2 ч. IV ПКПС должны быть подвергнуты статической и (или) динамической балансировке.
6.2.21 После завершения сварочных работ и проведения термообработки при контроле окончательно обработанных деталей корпусов редукторов и муфт эксперт проверяет:
.1 сварные швы, в том числе с использованием методов дефектоскопии;
.2 обработанные опорные поверхности фундаментов и фланцевых соединений отдельных частей корпуса;
.3 расточку постелей под подшипники и уплотнения;
.4 соосность расточек постелей под подшипники каждого вала;
.5 качество и надежность соединения отдельных частей корпуса редуктора или муфты;
.6 взаимное расположение осей валов, находящихся в зацеплении.
Корпус редуктора подвергается испытанию на непроницаемость, а корпус гидромуфты - гидравлическому испытанию.
6.2.22 При сборке редукторов и муфт эксперт проверяет:
.1 пригонку подшипников по постелям, шейкам штатных валов или фальшвалов, зазоры в опорных и упорных подшипниках;
.2 межцентровое расстояние и взаимное расположение осей валов;
.3 зазоры и контакт зубьев в зубчатом зацеплении;
.4 качество монтажа муфт, навешенных агрегатов и систем, обслуживающих редуктор;
.5 центровку редуктора с приводным двигателем и нагрузочным устройством;
.6 качество монтажа ведущей и ведомой частей муфты.
6.2.23 Для проведения стендовых испытаний передачи и разобщительные муфты укомплектовываются в соответствии с согласованной технической документацией. При проведении стендовых испытаний учитываются положения
6.1.15 -
6.1.19.
6.2.24 После окончания испытаний передачи и муфты подвергаются ревизии и проводятся контрольные испытания, на которых проверяются:
.1 реверсирование, предусмотренное конструкцией передачи;
.2 отключение передачи от первичного двигателя или нагрузки;
.3 системы АПС и предохранительные устройства;
.4 системы автоматизированного управления;
.5 плавность изменения частоты вращения первичного двигателя в диапазоне от минимально устойчивой до номинальной.
Движители
6.2.25 При техническом наблюдении за изготовлением движителей и их деталей эксперт проверяет:
.1 соответствие параметров конструкции и размеров требованиям технической документации, согласованной с Российским Классификационным Обществом;
.2 качество материалов заготовок, поковок и отливок, идущих на изготовление движителей и комплектующих деталей (по представленным документам);
.3 результаты дефектоскопии, выполненной в соответствии с технологической документацией;
.4 отсутствие поверхностных и внутренних дефектов в соответствии с требованиями согласованной с Российским Классификационным Обществом технической документации на движители;
.5 взаимозаменяемость и разницу в массе между штатными и запасными лопастями у винтов со съемными лопастями;
.6 результаты статической и (или) динамической балансировки гребных винтов и роторов водометных движителей после механической обработки и в окончательно собранном виде.
6.2.26 Объем технического наблюдения за деталями движителей специальной конструкции (например, крыльчатых, колонок, гребных колес), а также виды, последовательность проверок и испытаний, проводимых при техническом наблюдении за их изготовлением, определяются Российским Классификационным Обществом.
Компрессоры, насосы, вентиляторы, сепараторы
6.2.27 При техническом наблюдении за изготовлением деталей и узлов компрессоров, насосов, вентиляторов и сепараторов экспертом проверяется их соответствие требованиям Правил и согласованной технической документации. При этом руководствуются применимыми положениями
6.1.6 и другими требованиями настоящих Правил.
6.2.28 При техническом наблюдении за проведением гидравлических испытаний деталей компрессоров, насосов, вентиляторов, работающих при избыточном давлении, которые выполняются после их окончательной механической обработки до нанесения защитных покрытий, эксперт проверяет также результаты этих испытаний. При этом проверяется правильность выбора пробного гидравлического давления, определяемого по формуле, МПа:
pпр = (1,5 + 0,1k)p, (6.2.28)
p - рабочее давление, МПа.
Во всех случаях значение пробного давления должно приниматься не ниже давления, соответствующего полному открытию предохранительного клапана, но не ниже 0,4 МПа для охлаждаемых полостей деталей и различного рода уплотнений и не ниже 0,2 МПа в других случаях.
В случае превышения указанных в
табл. 6.2.28 значений рабочего давления, пробное давление должно быть согласовано с Российским Классификационным Обществом.
Таблица 6.2.28
Рабочая температура, °C, до | Значение k при рабочем давлении p не более, МПа |
для стали углеродистой | для стали молибденовой и молибдено-хромистой с Mo >= 0,4% | для чугуна | для бронзы, латуни, меди |
p | | p | | p | | p | |
120 | - | 0 | - | 0 | 6 | 0 | 2 | 0 |
200 | 20 | 2 | 3 | 3,5 |
250 | 1 | 3 | 7 |
300 | 3 | 4 | - | - |
350 | 5 | 20 | - | - |
400 | 10 | 8 | 1 |
430 | 11 | 2 |
450 | 17 | 3,5 |
475 | - | - | 6 |
500 | 11 |
6.2.29 Детали и узлы насосов, вентиляторов, заполняемые нефтепродуктами или их парами под гигроскопическим или атмосферным давлением, должны подвергаться испытаниям на плотность. В сварных конструкциях испытанию на плотность подвергают только сварные швы.
6.2.30 При техническом наблюдении за сборкой и монтажом компрессоров, насосов, вентиляторов и сепараторов эксперту необходимо убедиться в том, что:
.1 валы уложены в подшипники, пригнанные по постелям и шейкам валов;
.2 требуемые зазоры в подшипниках, уплотнениях, между рабочими органами и корпусами соблюдены;
.3 вал сцентрирован с первичным двигателем;
.4 обеспечен требуемый контакт в зубчатых зацеплениях;
.5 предохранительные устройства и устройства безопасности отрегулированы.
6.2.31 После сборки, обкатки и регулировки эксперт осуществляет техническое наблюдение за проведением стендовых испытаний (см.
6.1.15 -
6.1.19), при которых проверяют работоспособность компрессоров, насосов, вентиляторов и сепараторов и фиксируют все параметры, предусмотренные технической документацией, а также проверяют в действии:
.1 средства автоматики;
.2 предохранительные устройства.
6.2.32 Предохранительные устройства проверяются в действии и пломбируются персоналом службы технического контроля организации-изготовителя.
Котлы, теплообменные аппараты и сосуды под давлением
6.2.33 Техническое наблюдение за изготовлением котлов, теплообменных аппаратов и сосудов под давлением, их деталей и узлов, выполнением технологических операций осуществляется экспертом в соответствии с технической документацией, согласованной с Российским Классификационным Обществом.
6.2.34 Отсутствие дефектов листов, поковок и отливок, предназначенных для изготовления деталей и узлов котлов, теплообменных аппаратов и сосудов под давлением, устанавливают путем наружного осмотра их поверхностей.
6.2.35 Размеры деталей до сборки объектов технического наблюдения проверяются на соответствие указанным в чертежах и техническим требованиям чертежей.
6.2.36 При техническом наблюдении за сборкой деталей и узлов рассматриваемых объектов проверяется соответствие зазоров между элементами допускам, указанным в технической документации, согласованной с Российским Классификационным Обществом. Не допускается подгонять сопрягаемые элементы путем создания чрезмерного натяга, либо ударной правки в холодном состоянии.
6.2.37 Перед сваркой проверяется разделка кромок и зазоры, которые должны быть выдержаны в соответствии с чертежами, согласованными с Российским Классификационным Обществом. Поверхность кромок не должна иметь трещин, расслоений и других дефектов.
6.2.38 Сварочные работы выполняются сварочными материалами, указанными в согласованной с Российским Классификационным Обществом технической документации.
6.2.39 Контроль качества сварных соединений проводится после термической обработки, если таковая предусматривается.
Объем контроля и методы контроля стыковых сварных соединений должны быть указаны в технической документации.
6.2.40 Арматура котлов, теплообменных аппаратов и сосудов под давлением до установки на штатные места подвергается гидравлическим испытаниям на прочность (см.
6.2.28).
6.2.41 Детали и узлы котлов, теплообменных аппаратов и сосудов под давлением перед их сборкой подвергаются гидравлическому испытанию на прочность пробным давлением по нормам, предусмотренным
ГОСТ 22161.
Гидравлическое испытание пробным давлением проводится в присутствии эксперта при выполнении следующих условий:
.1 все работы по сборке, сварке и контролю сварных швов закончены и приняты службой технического контроля организации-изготовителя (предъявляется документ службы технического контроля организации-изготовителя о готовности детали или узла к гидравлическому испытанию);
.2 элементы объекта технического наблюдения не имеют изоляции и других защитных покрытий;
.3 деталь или узел осмотрены экспертом.
6.2.42 Котлы, теплообменные аппараты и сосуды под давлением в собранном виде без арматуры до нанесения изоляции и каких-либо защитных покрытий должны быть подвергнуты внутреннему освидетельствованию и гидравлическим испытаниям на прочность пробным давлением по нормам, предусмотренным
ГОСТ 22161.
Холодильные установки
6.2.43 Техническое наблюдение за изготовлением холодильного оборудования транспортных рефрижераторных и промысловых судов осуществляется по согласованной технической документации.
6.2.44 В объем технического наблюдения при изготовлении указанного в
6.2.43 холодильного оборудования входит:
.1 проверка технической документации;
.2 проверка деталей, узлов, комплектующих изделий;
.3 проверка качества сварных и паяных соединений;
.4 техническое наблюдение за проведением гидравлических испытаний на прочность;
.5 техническое наблюдение за проведением пневматических испытаний на плотность;
.6 техническое наблюдение за проведением испытания на герметичность вакуумированием;
.7 техническое наблюдение за проведением стендовых испытаний.
6.2.45 При техническом наблюдении за изготовлением холодильного оборудования руководствуются применимыми положениями
6.2.1 -
6.2.39 и требованиями технической документации, согласованной с Российским Классификационным Обществом.
6.2.47 Элементы, работающие под давлением холодильного агента, подвергаются гидравлическим испытаниям на прочность пробным давлением не менее 1,5
p, где
p - расчетное давление, принятое в соответствии с
табл. 6.2.47 в зависимости от группы холодильного агента, за исключением картеров поршневых компрессоров, для которых пробное давление должно быть не менее расчетного.
Элементы, работающие под давлением жидкого хладоносителя или воды, подвергаются гидравлическим испытаниям давлением, равным 1,5 рабочего давления, но не менее 0,4 МПа.
Таблица 6.2.47
Расчетное давление холодильного агента
Группа холодильного агента | Символ | Химическая формула | Расчетное давление, МПа |
I | R134a | C2H2F4 | 1,2 |
R22 | CHF2Cl | 2,0 |
| C2HF6 | 2,0 |
II | R717 | NH3 (аммиак) | 2,0 |
III | R290 | C3H8 (пропан) | 1,6 |
R1270 | C3H6 (пропилен) | 2,0 |
<*> При умеренных температурах конденсации вместо R22, который не допускается для новых установок с 01.01.2020 г. |
6.2.48 Элементы, работающие под давлением холодильного агента, подвергаются пневматическим испытаниям на плотность пробным давлением не менее расчетного, принятого в соответствии с
6.2.47, за исключением картеров поршневых компрессоров, для которых пробное давление должно быть не менее 0,8 расчетного.
6.2.49 Оборудование, работающее при давлении ниже атмосферного, испытывается на герметичность вакуумированием при остаточном давлении не более 0,8 кПа.
6.2.50 Арматура в сборе и приборы автоматики, имеющие запорные органы, кроме указанных испытаний подвергаются пневматическим испытаниям на плотность закрытия пробным давлением, равным расчетному в соответствии с
6.2.47.
6.2.51 Компрессоры, насосы холодильного агента, жидкого хладоносителя и охлаждающей воды, теплообменные и другие аппараты, сосуды, работающие под давлением холодильного агента, трубы и арматура, предназначенные для давления 1,0 МПа и более, приборы систем автоматического управления, контроля и защиты, а также приборы, измеряющие и регистрирующие температуру в холодильных помещениях после сборки испытываются в соответствии с требованиями
6.2.28.
6.2.52 При техническом наблюдении за проведением стендовых испытаний и ревизии холодильного оборудования руководствуются требованиями
6.1.15 -
6.1.19 с учетом следующего:
.1 стенд для испытания компрессора должен обеспечить работу компрессора по полному холодильному циклу с применением спецификационных холодильного агента, масла и поддержанием паспортных параметров холодильного агента и условий окружающей среды (температуры охлаждающей воды +32 °C, окружающего воздуха +50 °C);
.2 испытания типовых образцов компрессоров проводятся на режимах номинальной мощности и холостого хода с целью определения холодопроизводительности, объемной подачи, потребляемой мощности и расхода масла;
.3 у компрессоров со встроенными электродвигателями проверяют пусковые характеристики, температуру и сопротивление изоляции;
.4 продолжительность испытаний типовых компрессоров составляет не менее 500 ч, из которых 150 ч приходятся на работу в режиме максимальной разности давлений и 150 ч - в режиме максимальной мощности;
.5 насосы холодильного агента испытывают с применением спецификационного холодильного агента;
.6 продолжительность испытаний насоса холодильного агента должна быть достаточной для определения его спецификационных характеристик, но не менее 8 ч;
.7 теплообменные аппараты (типовые образцы), работающие под давлением холодильного агента, подвергаются стендовым теплотехническим испытаниям (измерение температуры холодильного агента) с применением спецификационного холодильного агента и с учетом конструкции и назначения аппарата. Стендовое оборудование должно обеспечить работу аппарата с осуществлением полного холодильного цикла.
Системы
6.2.53 Арматура трубопроводов изготавливается в соответствии с требованиями
10.3 и
10.4 ч. IV ПКПС по технической документации, согласованной с Российским Классификационным Обществом.
6.2.54 При осуществлении технического наблюдения за изготовлением арматуры трубопроводов эксперт проверяет:
.1 соответствие материала требованиям технической документации;
.2 качество обработки и притирки рабочих и уплотнительных поверхностей;
.3 соответствие характеристик применяемых в арматуре пружин, вставок, мембран требованиям технической документации;
.4 результаты гидравлических испытаний (см.
6.2.57);
.5 правильность функционирования местных и дистанционных приводов арматуры;
.6 регулирующую, предохранительную, измерительную арматуру и автоматически действующие клапаны. При этом учитывается, что перечисленная арматура подлежит проверке в действии на стенде для подтверждения характеристик работы, предусмотренных технической документацией.
6.2.55 При проверке результатов гидравлических испытаний арматуры убеждаются в правильности выбора испытательного давления, которое для арматуры, предназначенной для расчетного давления более 0,1 МПа, выбирается по методике, приведенной в
6.2.28 применительно к испытаниям деталей компрессоров, насосов, вентиляторов, работающих при избыточном давлении, а в других случаях должно быть для арматуры:
.1 предназначенной для расчетного давления 0,1 МПа и менее, а также для работы в условиях вакуума - не менее 0,2 МПа;
.2 устанавливаемой на кингстонные и ледовые ящики - не менее 0,3 МПа;
.3 в сборе, испытываемой на герметичность закрытия - равным расчетному давлению.
6.2.56 Типовые образцы арматуры дополнительно проверяются в течение не менее 3 ч в условиях вибрации, предельных значений температур и давлений, на других специальных режимах, определяемых назначением арматуры (проверки на огнестойкость, невоспламеняемость паров горючих смесей, предотвращение случайного попадания воды, надежность при гидравлическом ударе, гидравлическое сопротивление).
6.2.57 При изготовлении трубопроводов классов I и II (см.
10.1.2 ч. IV ПКПС), а также всех паровых, питательных, сжатого воздуха и трубопроводов топливной системы независимо от их класса с расчетным давлением более 0,35 МПа эксперт осуществляет техническое наблюдение за проведением гидравлических испытаний трубопроводов, выполняемых до нанесения на трубопроводы изоляции и покрытий, в том числе проверяет результаты этих испытаний. При этом контролируется правильность назначения пробного давления, которое должно составлять 1,5 расчетного давления.
Для трубопроводов грузовой системы танкеров, предназначенных для перевозки опасных грузов наливом (кроме сжиженных газов), пробное избыточное давление должно составлять не менее 1 МПа.
Для трубопроводов сжиженного газа от сосудов до редукционных клапанов испытательное давление должно составлять не менее 2,5 МПа.
6.2.58 При изготовлении трубопроводов и арматуры систем пожаротушения эксперт осуществляет техническое наблюдение за проведением гидравлических испытаний указанных объектов, в том числе проверяет результаты гидравлических испытаний пробным давлением, значение которого должно соответствовать данным
табл. 6.2.58.
При применении данных
табл. 6.2.58 необходимо учитывать следующее:
арматура в сборе испытывается на герметичность закрытия давлением не менее 1,25p;
клапаны углекислотных сосудов испытываются на плотность наибольшим давлением разрыва предохранительных мембран;
системы на судне испытываются в сборе после выполнения всех монтажных работ.
Таблица 6.2.58
Пробное давление при проведении гидравлических испытаний
трубопроводов и арматуры систем пожаротушения
Испытываемые системы и узлы | Пробное гидравлическое давление, МПа, при испытаниях |
в цехе | на судне |
1. Трубопроводы систем пено- и водотушения | - | В действии |
2. Углекислотная система: | | |
.1 трубопроводы от сосудов до пусковых клапанов; транзитные трубопроводы, проходящие через помещения | - | 1,5p |
.2 трубопроводы от пусковых клапанов до сопел | - | 5 |
3. Пневматические трубопроводы | 1,5p | 1p воздухом |
4. Сосуды, резервуары, цистерны: | | |
.1 работающие под давлением, в том числе сосуды без клапанов | 1,5p | 1p воздухом |
.2 работающие без давления | Наливом до верха воздушной трубы | В сборе с системой |
.3 сосуды с ввернутыми клапанами | 1p воздухом | - |
5. Арматура | 1,5p, но >= 0,2 | - |
Примечания. 1. p - наибольшее рабочее давление в системе, для углекислотной системы - расчетное давление в сосуде или резервуаре, МПа. 2. Трубопроводы, указанные в 2.1, испытанные в цехе гидравлическим давлением 1,5 p, на судне могут испытываться воздухом давлением 1 p. |
6.2.59 Эксперт проверяет занесение в журнал результатов гидравлических испытаний (см.
6.1.8) с указанием пробного давления, номеров сертификатов на трубы и сведений о проведении испытаний сварных швов.
6.2.60 Если по техническим причинам не представляется возможность выполнить полностью гидравлические испытания трубопроводов до установки их на судно, то допускается проведение испытаний их отдельных участков, в особенности монтажных соединений.
6.2.61 Испытания пробным давлением труб трубопроводов любого класса с внутренним диаметром менее 15 мм не проводятся.
6.2.62 Клеймо службы технического контроля организации о проведенных гидравлических испытаниях ставят на боковой стороне одного из фланцев трубы или корпуса.
6.2.63 Глушители и искрогасители газовыпускных систем и дымоходов котлов испытываются по программе, согласованной с Российским Классификационным Обществом.
6.3 ТЕХНИЧЕСКОЕ НАБЛЮДЕНИЕ ЗА МОНТАЖОМ
И ИСПЫТАНИЯМИ НА СУДНЕ
Общие требования
6.3.1 До начала монтажа изделий на судне эксперт проверяет выполнение требований Правил к оборудованию машинных помещений, постам управления, устройствам проходов, выходных путей и трапов, свободному доступу для обслуживания и ремонта механизмов, котлов, трубопроводов, арматуры.
6.3.2 Перед монтажом на судне изделия подвергаются наружному осмотру. Эксперт проверяет:
.1 наличие и правильность заполнения сопроводительных документов, маркировки и клейм в соответствии с формой технического наблюдения;
.2 сохранность стендовой сборки объекта судовой техники и комплектность поставки;
.3 соответствие фундаментов, их установки, расположения и подготовки опорных поверхностей требованиям согласованной технической документации.
Двигатели внутреннего сгорания, передачи,
разобщительные и упругие муфты
6.3.3 Установка и монтаж главных двигателей, элементов судовых передач и деталей валопровода проводятся после завершения всех корпусных работ и испытания на непроницаемость отсеков и междудонных цистерн в районе машинного отделения и линии валопровода, включая окончание работ по изготовлению фундаментов.
6.3.4 При монтаже на судне главного двигателя, находящегося в разобранном виде, проверки и техническое наблюдение осуществляются в соответствии с требованиями
6.2, включая подготовку фундамента и монтажа фундаментной рамы.
6.3.5 Монтаж изделий производится в соответствии с согласованной технической документацией в зависимости от их типа и конструкции.
6.3.6 При техническом наблюдении за монтажом передач и муфт проверяется:
.1 надежность крепления корпусов передач к судовым фундаментам;
.2 качество монтажа узлов и деталей, участвующих в передаче крутящего момента, на валах.
6.3.7 Техническое наблюдение за монтажом и испытаниями объектов, приводимых в действие от главных двигателей, осуществляется одновременно с техническим наблюдением за монтажом и испытаниями главных двигателей.
6.3.8 После окончания монтажных работ проводится осмотр изделий для проверки качества монтажа и его соответствия рабочим чертежам, согласованным с Российским Классификационным Обществом.
Валопроводы
6.3.9 Монтаж дейдвудного устройства и валопровода на судне производится после окончания корпусных работ, включая работы по фундаментам под главные двигатели и подшипники валопровода, испытания отсеков и цистерн в районе расположения валопровода и машинного отделения, определения теоретической оси валопровода.
6.3.10 До монтажа дейдвудного устройства и валопровода все сосредоточенные грузы, силы тяжести которых могут привести к деформации корпуса, должны быть установлены и закреплены на своих штатных местах, а изменение положения корпуса в районе расположения валопровода и машинного отделения не должно превышать +/- 3 мм относительно его положения, зафиксированного в начале работ.
6.3.11 При техническом наблюдении за монтажом дейдвудного устройства проверке подлежат:
.1 качество пробивки теоретической оси валопровода;
.2 размеры, отклонение формы и шероховатость посадочных поясов и торцовых поверхностей кронштейна, мортир, приварыша ахтерпиковой переборки, посадочных поясов дейдвудной трубы и втулок подшипников;
.3 соответствие посадок сопрягаемых поверхностей требованиям чертежа;
.4 усилия по запрессовке деталей, надежность их крепления и стопорения.
После монтажа проводят контрольные измерения внутренних диаметров и осмотр дейдвудных подшипников.
Если дейдвудная труба установлена после испытания корпуса на непроницаемость, то эти испытания применительно к соответствующему отсеку корпуса проводят повторно.
6.3.12 Перед монтажом валопровода проверяются:
.1 установка фундаментов под подшипники и обработка их опорных поверхностей - отклонение от плоскостности, шероховатость, толщина опорных листов фундаментов;
.2 валы (гребной, упорный, промежуточные), подшипники, муфты соединительные, дейдвудные устройства путем наружного осмотра и документы к ним;
.3 качество пригонки гребного винта и полумуфты к гребному валу;
.4 зазоры в дейдвудных и кронштейновых подшипниках по результатам обмеров шеек гребного вала и подшипников.
6.3.13 После установки гребного вала проверяют:
.1 зазоры в подшипниках;
.2 положение гребного вала в дейдвудном устройстве в осевом направлении;
.3 качество установки дейдвудных сальников или иных уплотнений дейдвудного устройства и укладку сальниковой набивки.
6.3.14 Перед монтажом движителя проверяют:
.1 наличие документов, клейм;
.2 отсутствие поверхностных дефектов (путем наружного осмотра);
.3 качество подготовки посадочных поверхностей отверстия ступицы, пригонки конусного отверстия ступицы по валу;
.4 пригонку шпонок в шпоночных соединениях.
6.3.15 При техническом наблюдении за монтажом гребного винта или роторов водометных движителей проверяют:
.1 осевое перемещение гребного винта относительно вала;
.2 усилие напрессовки и натяг в соединении;
.3 равномерность и плотность прилегания гайки обтекателя к ступице и надежность ее стопорения;
.4 усилие затяжки и стопорение деталей крепления съемных лопастей;
.5 зазоры между насадкой и лопастями винта или в проточной части водометного движителя.
6.3.16 Перед монтажом и центрированием валопровода проверяют:
.1 диаметры шеек валов и внутренних расточек вкладышей подшипников по результатам контрольных измерений с целью определения зазоров в подшипниках;
.2 качество монтажа подшипников качения на валах;
.3 укладку валов в подшипники и установку подшипников на фундаменты;
.4 взаимное расположение валов относительно друг друга по контрольным меткам при соединении их в цехе;
.5 обработку крепежных болтов и отверстий в фундаментах и подшипниках.
6.3.17 Центрирование валопровода должно быть выполнено так, чтобы при любых вариантах загрузки судна и допустимых износах валов и подшипников при эксплуатации напряжения в валах и нагрузки на подшипники не превышали допускаемые значения.
6.3.18 Отверстия под болты фланцевых соединений обрабатывают совместно для обоих фланцев соединяемых валов по фактическим размерам, при этом проверяется плотность прилегания головок болтов и гаек к поверхности фланцев.
6.3.19 При техническом наблюдении за монтажом валопровода и после окончания сборки всех соединений, закрепления подшипников проверяют:
.1 положение валов в подшипниках и прилегание опорных вкладышей к шейкам валов;
.2 зазоры в упорном подшипнике между гребнем и сегментами, осевые зазоры между упорными буртами и галтелями валопровода или торцами вкладышей подшипников;
.3 пригонку подкладок под опорные лапы корпусов подшипников;
.4 обработку отверстий под призонные болты в фундаментах и подшипниках;
.5 надежность крепления и стопорения болтов;
.6 раскепы коленчатого вала главного двигателя после присоединения его к валопроводу.
6.3.20 Окончательный контроль центрирования валопровода проводится на плаву после пригонки подкладок под подшипники при водоизмещении не менее 85% от водоизмещения судна порожнем.
Эксперт должен проверить представленные ему результаты измерения параметров центрирования (изломов и смещений осей валов), занесенные в таблицы, в которых приводятся также расчетные и допускаемые значения этих параметров.
6.3.21 Монтаж, сборка и контроль установки валоповоротного устройства, датчика тахометра, тормоза валопровода, устройств отбора мощности проводятся в соответствии с требованиями технической документации, согласованной с Российским Классификационным Обществом.
6.3.22 Проверка экспертом параметров центрирования коленчатого вала главного двигателя с валопроводом или редуктором проводится одновременно с центрированием валопровода или после этого. Значения измеренных параметров не должны превышать указанных в технической документации изготовителя на монтаж указанных объектов. Отклонения в прямолинейности рамы и раскепы коленчатого вала не должны превышать норм, установленных организацией-изготовителем двигателя.
6.3.23 Эксперт должен проверить, что при центрировании коленчатого вала двигателя и электрогенератора при жестком их соединении (у главных агрегатов на судах с электродвижением) выдержаны допуски, указанные в технической документации организации-изготовителя генератора, а при центрировании вала якоря гребного электродвигателя и упорного вала - допуски, установленные организацией-изготовителем гребного электродвигателя.
Компрессоры, насосы, вентиляторы, сепараторы
6.3.24 Техническое наблюдение за монтажом компрессоров, насосов, вентиляторов и сепараторов ведется в соответствии с согласованной технической документацией. Объем технического наблюдения определяется с учетом типа, назначения и конструкции объекта технического наблюдения.
Котлы, теплообменные аппараты и сосуды под давлением
6.3.25 Установку котлов, теплообменных аппаратов и сосудов под давлением выполняют в соответствии с требованиями рабочей документации на монтаж, согласованной с Российским Классификационным Обществом. До начала монтажа необходимо убедиться в том, что все работы по сборке и сварке судовых фундаментов закончены, а сами указанные выше объекты имеют документы службы технического контроля, подтверждающие возможность их использования.
6.3.26 Внутреннее освидетельствование котла со штатной арматурой и измерительными приборами эксперт проводит после окончания монтажных работ, установки котла на фундамент и крепления, но до установки изоляции, обшивки и футеровки.
Внутреннее освидетельствование теплообменных аппаратов проводит служба технического контроля организации.
Внутреннее освидетельствование сосудов под давлением проводит эксперт.
Если котел поступает в полностью собранном виде (с изоляцией, футеровкой и обшивкой) и при наличии сопроводительных документов, внутреннее освидетельствование проводят в доступных местах.
6.3.27 При внутреннем освидетельствовании котла эксперту необходимо убедиться в том, что:
.1 элементы котла и сварные швы не имеют повреждений и дефектов;
.2 водогрейные, экранные и опускные трубы не деформированы и в них нет пробок, что проверяется с помощью калиброванных шариков;
.3 установка водоуказательных приборов относительно поверхности нагрева выполнена в соответствии с требованиями Правил;
.4 внутреннее оборудование барабанов и коллекторов соответствует чертежу и закреплено;
.5 арматура и контрольно-измерительные приборы, установленные на котле, соответствуют чертежам;
.6 на контрольно-измерительные приборы имеются документы о поверке метрологической организации;
.7 барабаны и коллекторы котлов, а также коллекторы пароперегревателей защищены от непосредственного воздействия теплового потока излучения.
6.3.28 Гидравлическое испытание котла на плотность со всеми трубопроводами, арматурой и приборами проводится в присутствии эксперта после установки котла на судно пробным давлением по нормам, предусмотренным
ГОСТ 22161.
Главный паропровод, питательный напорный трубопровод, трубы продувания и водомерные приборы со всей арматурой подвергаются гидравлическому испытанию совместно с котлом.
Если котел поступает в полностью собранном виде (с изоляцией, футеровкой, обшивкой) и при наличии сопроводительных документов, подтверждающих проведение гидравлических испытаний, гидравлическое испытание котла на судне не проводится.
Гидравлическое испытание паропровода на судне проводится в обязательном порядке.
6.3.29 Пробное давление при испытании котла следует выдерживать в течение 5 - 10 мин. На время выдержки под пробным давлением подкачивающий насос должен быть отключен, при этом давление в котле не должно снижаться. Затем давление снижается до рабочего и поддерживается постоянным до окончания осмотра.
6.3.30 Котел считается прошедшим испытание, если не будет обнаружено течи или отпотевания в сварных швах, пропусков воды в вальцовочных соединениях труб, в присоединительных фланцах арматуры, соединениях контрольно-измерительных приборов, а также местных выпучин, остаточных деформаций и признаков нарушения каких-либо соединений.
6.3.31 Техническое наблюдение за проведением гидравлических испытаний на плотность, воздушного испытания и наружное освидетельствование сосудов под давлением вместе со всей арматурой и трубопроводами системы, в состав которой входят сосуды под давлением, осуществляются после монтажа системы на судне. Гидравлическое испытание проводится пробным давлением, составляющим 1,5 рабочего давления в системе.
6.3.32 Сосуды под давлением после гидравлического испытания подвергаются воздушному испытанию
(ГОСТ 22161) на рабочее давление для проверки плотности соединений.
После проверки и регулировки в соответствии с требованиями Правил предохранительные клапаны пломбируются персоналом службы технического контроля организации-изготовителя.
6.3.33 После монтажа на судне эксперт осуществляет техническое наблюдение за паровой пробой котла. При этом учитывается следующее:
.1 продолжительность испытаний составляет 4 - 8 ч при рабочем давлении пара;
.2 пар от котла не расходуется, все клапаны от котла закрыты, за исключением клапана продувания коллектора пароперегревателя;
.3 уровень воды в котле поддерживается в рабочем диапазоне;
.4 изоляция и обшивка котла сняты таким образом, чтобы обеспечивалась возможность выполнения требований
6.3.34.
В случае поступления котла в полностью собранном виде (с изоляцией, футеровкой, обшивкой) и при наличии документов организации-изготовителя о результатах проведенных паровых проб котла, паровая проба котла после его монтажа на судне не проводится.
После паровой пробы котла проводятся швартовные и ходовые испытания. Утилизационные котлы под паром испытывают при работе двигателей на швартовных или ходовых испытаниях.
6.3.34 При техническом наблюдении за паровой пробой котла проверяются:
.1 плотность сварных, заклепочных, резьбовых и вальцовочных соединений котла, фланцевых соединений арматуры и паропроводов;
.2 плотность обшивки котла и дымоходов;
.3 наличие и размеры тепловых зазоров в отверстиях опор крепления котла на фундаменте для обеспечения возможности теплового расширения котла и наличие зазоров в устройствах для предупреждения смещений котла;
.4 наличие и параметры тепловых деформаций частей котла.
При удовлетворительных результатах испытания котла под паром и устранения выявленных в процессе испытаний дефектов производится монтаж изоляции и обшивки.
Холодильные установки
6.3.35 При техническом наблюдении за монтажом и испытаниями холодильной установки на транспортных рефрижераторных и промысловых судах руководствуются применимыми положениями
6.3.1 -
6.3.33 с учетом следующего:
.1 комплектующие изделия и оборудование холодильной установки, поставляемые в судостроительную организацию, проверяются экспертом по сертификатам или документам организации-изготовителя холодильного оборудования;
.2 оборудование и изделия, изготавливаемые судостроительной организацией, подлежат проверке и испытаниям до их монтажа согласно
6.2.44 -
6.2.53.
6.3.36 После окончания сборочно-сварочных корпусных работ и до монтажа изоляции осуществляется техническое наблюдение за испытанием помещения холодильной установки на герметичность, при этом учитывается, что:
.1 значение пробного (избыточного) давления воздуха при проведении испытаний на герметичность принимается равным 2 кПа;
.2 падение давления сжатого воздуха в течение 1 ч не должно превышать 25% первоначального пробного давления, т.е. по истечении 1 ч давление в испытуемом помещении должно быть не менее 1,5 кПа.
6.3.37 В процессе технического наблюдения за монтажом холодильных установок эксперт проверяет:
.1 выполнение требований Правил по оборудованию постов управления и мест обслуживания, устройству проходов, выходов основных и аварийных путей, а также их закрытий;
.2 соответствие расположения холодильного оборудования (включая устройства и приборы управления, контроля, сигнализации и защиты) требованиям согласованной технической документации;
.3 правильность монтажа трубопроводов и надежность защиты их от повреждений;
.4 крепление холодильного оборудования;
.5 центрирование агрегатов холодильной установки;
.6 качество монтажа изоляции, в том числе тип (марку) изоляционных материалов, толщину и надежность крепления изоляции, качество изоляции монтажных узлов в районе набора, мест прохода труб, люков и дверей.
6.3.38 При техническом наблюдении за изготовлением и монтажом систем холодильных установок эксперт проверяет:
.1 качество сварных стыковых соединений трубопроводов холодильного агента одним из методов неразрушающего контроля.
Сварные соединения внахлестку, на подкладном кольце и другие, проверка качества которых неразрушающим методом невозможна, испытывают гидравлическим давлением, равным 1,5 рабочего давления;
.2 работу запорной арматуры и трубопроводов системы холодильного агента после испытания системы на плотность поэтапным подключением участков системы по группам потребителей холода и повышением давления на этих участках до 1,1 рабочего давления;
.3 узлы прохода воздухопроводов систем воздушного охлаждения и вентиляции через водонепроницаемые и противопожарные конструкции;
.4 расположение приемных и выходных отверстий вентиляционных каналов, наличие пламепрерывающей арматуры на концах воздухопроводов и искробезопасное исполнение вентиляторов взрывоопасных помещений;
.5 газонепроницаемость и воздухонепроницаемость воздухопроводов до и после выполнения изоляционных работ;
.6 изоляцию воздухопроводов.
6.3.39 Испытание системы холодильного агента на плотность пробным давлением газовой среды, равным рабочему (см. 9.3.2 ч. IV ПКПС) после завершения монтажных работ, проводится в течение 18 ч. При этом суммарное понижение давления за время испытаний вследствие адсорбции и течи должно быть не более 2% первоначального значения пробного давления.
Такое испытание проводят с применением сухого воздуха, углекислого газа или азота с температурой насыщения водяных паров не выше 45 °C.
После испытаний на плотность для проверки системы аварийного слива холодильного агента давление сбрасывают поочередным открытием вентилей на станции аварийного слива.
6.3.40 После испытания на плотность система холодильного агента должна быть осушена и испытана на герметичность вакуумированием при остаточном давлении не более 1 кПа.
6.3.41 При техническом наблюдении за испытанием системы холодильного агента на герметичность учитывается, что испытания должны проводиться в течение 12 ч после вакуумирования до остаточного давления не более 1 кПа.
Система признается выдержавшей испытание, если суммарное повышение давления (вследствие парогазовой десорбции и проникновения воздуха за время испытаний) составит не более 25% первоначального значения остаточного давления.
После завершения испытаний на герметичность проверяют качество осушения системы холодильного агента.
Абсолютное содержание воды после осушения по данным лабораторного анализа не должно превышать 0,15 г/м3.
6.3.42 Системы хладоносителя и охлаждающей воды испытывают на плотность (см.
6.2.48) рабочим давлением с выдержкой не менее 1 ч.
6.3.43 Предохранительные клапаны, предназначенные для комплектации холодильных установок, проверяют и испытывают в испытательной лаборатории до их установки на судно, при этом:
.1 клапан должен быть отрегулирован на подрыв в диапазоне 1,1 - 1,2 рабочего давления;
.2 клапан должен закрываться после срабатывания при давлении не менее 0,85 рабочего давления;
.3 должна быть проверена плотность затвора клапана погружением в воду путем вторичного подъема давления до расчетного после его закрытия в результате срабатывания.
Системы
6.3.44 При техническом наблюдении за монтажом систем и трубопроводов проверяется:
.1 комплектность и соответствие элементов системы требованиям согласованной технической документации;
.2 качество очистки и обработки элементов системы, нанесенных антикоррозионных покрытий;
.3 факт проведения и результаты гидравлических испытаний арматуры, трубопроводов, аппаратов до установки их на судно;
.4 правильность размещения и установки трубопроводов, арматуры, контрольно-измерительных приборов и средств автоматики, соответствие радиусов гиба труб указанным в чертежах;
.5 окончание сборки, сварки и испытаний корпусных конструкций на непроницаемость, в том числе и после установки приварных деталей насыщения;
.6 надежность и правильность установки донно-бортовой арматуры, элементов протекторной защиты;
.7 установка штатных прокладок, крепежа, надежность крепления трубопроводов, компрессоров;
.8 удобство и безопасность технического обслуживания и ремонта трубопроводов и арматуры;
.9 наличие устройств для продувания и спуска среды, отсутствие возможных зон застоя жидкости, исключение возможности возникновения гидравлического удара, наличие уклонов трубопроводов;
.10 наличие изоляции, кожухов, ограждений, защиты от механических повреждений;
.11 наличие отличительных планок на арматуре, отличительной окраски трубопроводов, указателей положения запорных органов;
действие местных и дистанционных приводов, обеспеченность свободного доступа к ним;
.12 расположение и конструкция приемных отростков и отливных отверстий;
.13 безопасность мероприятий по предотвращению затопления отсеков, проникновения взрывопожароопасных и ядовитых газов и паров в служебные и жилые помещения.
.14 наличие заземления и проверка (выборочная) сопротивления заземления электропроводных пластмассовых трубопроводов.
После окончания монтажа проводятся гидравлические испытания систем (см.
6.2.57) на прочность и плотность на судне или воздушные испытания, если такая замена предусматривается Правилами.
6.3.45 При проведении гидравлических испытаний металлических трубопроводов систем пробное давление принимается с учетом положений
6.2.57.
6.3.46 Все трубопроводы после сборки их на судне должны быть испытаны на плотность в рабочих условиях, за исключением:
.1 змеевиков подогрева и трубопроводов жидкого и газообразного топлива, которые должны быть испытаны давлением 1,5p, но не менее 0,4 МПа;
.2 трубопроводов сжиженного газа, которые должны быть испытаны на плотность (воздухом, галоидами и т.п.) в зависимости от рабочего давления.
6.3.47 Если гидравлические испытания трубопроводов в сборе выполняются на судне, испытания на плотность и прочность могут быть совмещены.
6.3.48 Испытания воздушных, переливных и измерительных труб должны производиться вместе с цистернами, к которым они подведены.
6.3.49 Пластмассовые трубопроводы, входящие в состав судовых систем, обеспечивающих основное назначение судна, его живучесть и непотопляемость, после монтажа испытываются гидравлическим давлением, превышающим расчетное давление в системе не менее чем в 1,5 раза.
6.3.50 Пластмассовые трубопроводы, не указанные в
6.3.46, испытываются на плотность рабочим давлением.
Общие требования
6.4.1 Целью швартовных испытаний является проверка качества монтажа и регулировки объектов, указанных в
6.1.1, соответствия их параметров и характеристик спецификационным требованиям и определение готовности судна к ходовым испытаниям.
6.4.2 Перед началом швартовных испытаний должны быть закончены и приняты службой технического контроля организации-строителя (организации, выполняющей переоборудование, модернизацию, ремонт) судна все работы, связанные с монтажом, обкаткой и регулировкой судовых технических средств, оборудования и систем. Объекты предъявляются к швартовным испытаниям после подготовки к работе по прямому назначению совместно с системами и устройствами, обслуживающими эти объекты или составными частями которых являются эти объекты.
6.4.3 Швартовные испытания объектов в действии по прямому назначению проводят только со штатным оборудованием на режимах и в объеме, предусмотренных программой-методикой испытаний, согласованной с Российским Классификационным Обществом.
6.4.4 Перед началом швартовных испытаний эксперт должен убедиться в завершении всех работ, связанных с монтажом, обкаткой и регулировкой объектов судовой техники и систем.
Общие положения по техническому наблюдению при швартовных испытаниях установлены в
4.2.
6.4.5 В процессе швартовных испытаний эксперт осуществляет техническое наблюдение за проверками работы ручного, дистанционного и автоматического управления, средств блокировки, АПС и защиты, средств связи между машинным отделением, рулевой рубкой и постами управления.
6.4.6 При техническом наблюдении за проведением швартовных испытаний проверяется фиксирование всех значений параметров, предусмотренных программой-методикой испытаний.
6.4.7 В случае вынужденных перерывов в работе объектов судовой техники при проверке их в действии решение о продолжении режима, увеличении его продолжительности и повторении принимается по согласованию с экспертом с учетом причин, вызвавших остановку.
Двигатели внутреннего сгорания
6.4.8 При техническом наблюдении за испытаниями двигателей проверяется:
.1 готовность к работе агрегатов и систем, обслуживающих двигатели;
.2 пусковые и реверсивные качества двигателей в соответствии с Правилами, достаточность объема воздухохранителей или емкости аккумуляторных батарей;
.3 система автоматического регулирования частоты вращения и действие предельных выключателей;
.4 параметры двигателей в соответствии с технической документацией.
6.4.9 Режимы нагрузок и продолжительность швартовных испытаний главных и вспомогательных двигателей должны соответствовать указанным в
табл. 6.4.9. Продолжительность швартовных испытаний двигателей головных судов на режиме 100% увеличивается по сравнению с указанной в
табл. 6.4.9 в два раза.
Таблица 6.4.9
Режимы и продолжительность швартовных испытаний двигателей
Двигатель, работающий по характеристике | Продолжительность испытаний, ч, при мощности двигателя, кВт |
винтовой, крутящий момент, | нагрузочной, мощность, | до 750 | свыше 750 |
% от номинального значения |
- | Холостой ход | 0,25 | 0,5 |
39 | 25 | 0,25 | 0,5 |
63 | 50 | 0,25 | 0,5 |
83 | 75 | 0,25 | 0,5 |
100 | 100 | 1,00 | 2,0 |
- | 110 | 0,25 | 1,0 |
Задний ход | - | 0,50 | 0,5 |
6.4.10 Измерение параметров производят при установившемся тепловом состоянии двигателя не менее двух раз на каждом режиме после окончания всех переходных процессов.
Валопроводы, передачи, разобщительные и упругие муфты
6.4.11 Валопровод, передачи и муфты испытываются при их работе совместно с главным двигателем. При техническом наблюдении эксперт проверяет:
.1 температуру опорных и упорных подшипников;
.2 отсутствие стука в дейдвудном устройстве, в передачах и муфтах, подшипниках;
.3 вибрацию двигателей, подшипников и фундаментов;
.4 эффективность уплотнений дейдвудных устройств;
.5 подачу воды в дейдвудную трубу.
Компрессоры, насосы, вентиляторы, сепараторы
6.4.12 Компрессоры, насосы, вентиляторы и сепараторы испытывают совместно с устройствами и системами, в состав которых они входят.
При техническом наблюдении за этими испытаниями проверяется:
.1 возможность управления с местного, дистанционного, аварийного и запасных постов;
.2 правильность функционирования средств автоматизации, сигнализации и защиты, возможность регулирования привода;
.3 спецификационные параметры объектов в соответствии с технической документацией;
.4 эффективность действия предохранительных, перепускных, разобщительных и тормозных устройств;
.5 плотность соединений и трубопроводов;
.6 усилия на рукоятках ручных приводов.
Системы
6.4.13 При техническом наблюдении за испытаниями системы сжатого воздуха с обслуживающими ее компрессорами эксперт проверяет:
.1 действие предохранительных, редукционных и пусковых быстрозапорных клапанов и показания манометров;
.2 продолжительность заполнения воздухохранителей сжатым воздухом до предусмотренного рабочего давления;
.3 своевременность автоматического включения и выключения компрессоров, продолжительность автоматической продувки их при пуске;
.4 расход воздуха на тифон и его работу;
.5 состояние и работу электрооборудования и сигнализации в рулевой рубке о работе компрессора;
.6 температуру воздуха, поступающего в воздухохранитель.
6.4.14 При испытании топливной системы проверяется:
.1 стабильность работы топливоподкачивающих насосов в заданном режиме и возможность дистанционного отключения;
.2 продолжительность заполнения расходных цистерн;
.3 срабатывание сигнализации по минимально допустимому уровню топлива в цистерне;
.4 техническое состояние и работоспособность электрооборудования;
.5 правильность функционирования устройств дистанционного закрытия клапанов расходных цистерн и цистерн основного запаса, а также переливных труб;
.6 устойчивость работы двигателей при переводе их с тяжелого топлива на дизельное и обратно;
.7 правильность функционирования системы подготовки тяжелого топлива (сепараторов, фильтровальных установок, подогревателей, автоматики поддержания заданной температуры топлива).
6.4.15 При техническом наблюдении за испытаниями масляной системы эксперт проверяет в действии систему дистанционного управления прокачкой маслом двигателей из рулевой рубки, термостаты и маслоперекачивающие насосы, систему прокачки маслом главных двигателей ручным насосом и насосом с приводом от источника энергии (с местного поста управления или из центрального поста управления).
6.4.16 При испытании системы охлаждения проверяется:
.1 температура воды на входе и выходе из охладителей и двигателя;
.2 подача воды на охлаждение компрессоров газовыпускного трубопровода, дейдвудного устройства;
.3 правильность функционирования устройства автоматического регулирования температуры охлаждающей воды;
.4 возможность переключения внутреннего контура охлаждения на забортную воду или резерв;
.5 срабатывание сигнализации по минимальному уровню воды в расширительном бачке внутреннего контура.
6.4.17 При испытании судовых систем в действии проверяется:
.1 возможность выполнения всех операций управления, предусмотренных технической документацией;
.2 надежность работы арматуры, ее приводов, предохранительных и перепускных устройств;
.3 плотность соединений;
.4 исправность и правильность показаний штатных контрольно-измерительных приборов и средств автоматики;
.5 отсутствие недопустимых вибрации, нагрева, посторонних шумов;
.6 выполнение специальных требований, обусловленных назначением системы и предусмотренных Правилами.
Котлы, теплообменные аппараты и сосуды под давлением
6.4.18 На швартовных испытаниях производится проверка паровых котлов, теплообменных аппаратов и сосудов под давлением в действии по программе, согласованной с Российским Классификационным Обществом.
6.4.19 Готовность парового котла к швартовным испытаниям должна быть подтверждена документом службы технического контроля судостроительной организации.
6.4.20 В процессе швартовных испытаний котла проверяется:
.1 работа топливной системы, в том числе топливоподкачивающего насоса, фильтров, арматуры, подогревателей топлива, заполнение расходной топливной цистерны;
.2 работа форсунок и качество горения (визуально);
.3 работа конденсатно-питательной системы: питательных насосов, фильтров, арматуры, качество конденсата в теплом ящике и контрольной цистерне и качество водоподготовки;
.4 работа вентиляторов, шиберов, плотность воздушных каналов;
.5 плотность кожухов котла и дымохода;
.6 работоспособность автоматики;
.7 работа электрооборудования;
.8 амплитуда и частота вибрации котла и его элементов.
6.4.21 Котел испытывается на всех режимах, предусмотренных инструкцией по эксплуатации и программой испытаний. При этом испытания автономных котлов на швартовных испытаниях являются окончательными.
6.4.22 Результаты испытания котла и паропровода под паром отражаются в акте первоначального освидетельствования судна.
6.4.23 Наружный осмотр котлов в комплекте с арматурой, оборудованием, насосами, фильтрами, теплообменными аппаратами, трубопроводами и другими элементами системы проводится под паром при рабочем давлении.
6.4.24 При наружном осмотре котла проверяются:
.1 уровень воды в котле путем продувки каналов водомерного стекла паром и водой, а также продувки пробных кранов;
.2 правильность нанесения риски на пробке краника котельного манометра;
.3 исправность водоуказательных приборов;
.4 пломбы или штампы (с указанием сроков калибровки) на манометрах и наличие красной черты на их шкалах;
.5 исправность дистанционных приводов разобщительных клапанов паропроводов, топливного и стопорного клапанов;
.6 исправность действия клапанов верхнего и нижнего продувания котла;
.7 регулировка предохранительных клапанов, при этом на котле с пароперегревателем в первую очередь должен срабатывать предохранительный клапан пароперегревателя, а при дальнейшем повышении давления - предохранительные клапаны насыщенного пара, установленные на котле. Проверка регулировки предохранительных клапанов должна проводиться при ручном управлении работой котла;
.8 исправность действия ручных приводов подрыва предохранительных клапанов из котельного помещения и за его пределами;
.9 исправность действия питательных средств (насосов, трубопроводов, арматуры);
.10 правильность функционирования систем автоматики котла, аварийной защиты и сигнализации;
.11 устойчивость работы котла при переходе с автоматического на ручное управление и наоборот;
.12 отсутствие течи, пропаривания и выпучивания в доступных осмотру огневых частях, состояние кирпичной кладки топки, исправность запоров топочных дверей;
.13 общее состояние хранилищ топлива и их воздушных труб, топливопроводов, топливных насосов, форсунок;
.14 качество изоляции котла и паропроводов.
При удовлетворительных результатах регулировки предохранительных клапанов один из клапанов, установленный непосредственно на котле, пломбируется представителем службы технического контроля судостроительной организации.
6.4.25 Проверку теплообменных аппаратов в действии выполняют совместно с обслуживаемыми системами, трубопроводами и устройствами с целью проверки качества их монтажа и надежности в работе. При этом проверяется:
.1 работа на спецификационных параметрах рабочей среды;
.2 исправность действия арматуры, контрольно-измерительных приборов и регулирующих устройств;
.3 регулировка предохранительных и сигнально-защитных устройств;
.4 крепление и конструкция устройств, компенсирующих тепловые расширения.
6.4.26 Для проверки качества монтажа сосудов под давлением и возможности их применения по прямому назначению они испытываются в составе судовых систем под рабочим давлением. При этом проверяются:
.1 исправность арматуры, контрольно-измерительных приборов и регулирующих устройств;
.2 регулировка предохранительных устройств, наличие пломб на предохранительных клапанах;
.3 действие устройств для удаления из сосуда влаги;
.4 пломбы или штампы на манометрах (с указанием сроков их калибровки), наличие на шкалах манометров красной черты, которой отмечается допустимое давление.
Холодильные установки
6.4.27 Испытания холодильной установки в действии проводятся с целью подтверждения эффективности ее работы в судовых условиях, а также надежности и безопасности установки.
6.4.28 Испытания холодильной установки в действии проводят в присутствии эксперта по программе, согласованной с Российским Классификационным Обществом. Проверку работы всех агрегатов холодильной установки проводят как в автоматическом, так и в аварийном ручном режимах управления.
6.4.29 При техническом наблюдении за испытаниями холодильной установки проверяется:
.1 правильность функционирования основного и резервного холодильного оборудования (компрессоров, сепараторов, аппаратов, систем, терморегуляторов, контрольно-измерительных приборов, запорной и регулирующей арматуры, аварийно-предупредительной сигнализации и защиты, устройств дистанционного управления), а также исправность электрооборудования, автоматики, систем, обслуживающих помещение холодильной установки и охлаждаемые помещения;
.2 возможность достижения низших спецификационных значений температур в охлаждаемых помещениях и необходимое для этого время;
.3 возможность поддержания спецификационных температур в охлаждаемых помещениях в течение 24 ч с периодическим подключением резервного оборудования при условии его непрерывной работы в течение 10 - 12 ч. Для головных судов при этом определяют холодопроизводительность;
.4 эффективность изоляции по осредненному значению коэффициента теплопередачи и динамику изменения температуры воздуха при неработающей холодильной установке (для головных судов) в течение 24 ч.
6.4.30 Если испытания холодильной установки проводились при температурах кипения и конденсации холодильного агента, отличных от проектных более чем на 1 °C по температуре кипения и на 2 °C по температуре конденсации, то выполняется пересчет холодопроизводительности на проектные условия.
6.4.31 Холодопроизводительность и осредненный коэффициент теплопередачи считаются подтвержденными, если они отличаются не более чем на 5% от проектных значений.
6.4.32 Обработанные результаты испытаний холодильной установки представляются эксперту для оформления документов Российского Классификационного Общества.
К отчетной документации испытаний холодильной установки в действии прилагается заключение о соответствии характеристик установки и ее оборудования спецификационным.
6.5.1 Целью ходовых испытаний является комплексная проверка в действии энергетической установки и систем в условиях, соответствующих эксплуатационным.
6.5.2 Ходовые испытания проводятся после устранения дефектов, выявленных при швартовных испытаниях, по программе, согласованной с Российским Классификационным Обществом. В программе ходовых испытаний предусматривается проверка всех параметров, предписанных спецификацией судна и технической документацией на судовые технические средства или аналогичной технической документацией.
6.5.3 Режимы нагрузок и продолжительность работы главных двигателей на этих режимах в процессе ходовых испытаний должны соответствовать указанным в
табл. 6.5.3. Продолжительность ходовых испытаний главных двигателей головных судов на режиме 100%-й мощности увеличивается по сравнению с указанной в
табл. 6.5.3 в два раза.
Таблица 6.5.3
Режимы и продолжительность ходовых испытаний
главных двигателей
N режима | Частота вращения | Мощность | Продолжительность испытаний, ч |
% от номинального значения для двигателя, работающего по характеристике |
винтовой | нагрузочной |
Режим минимально устойчивой частоты вращения |
1 | Не нормируется | 0,25 |
Режимы работы под нагрузкой |
2 | 63 | 25 | 0,50 |
3 | 80 | 50 | 0,50 |
4 | 91 | 75 | 0,50 |
5 | 100 | 100 | 4,00 |
6 | 103 | 110 | 1,00 |
Режим, соответствующий номинальной мощности заднего хода |
7 | Не нормируется | 0,50 |
Дизель-генераторы в процессе ходовых испытаний проверяются в действии по прямому назначению.
6.5.4 Котлы, теплообменные аппараты, компрессоры, насосы, вентиляторы, сепараторы, сосуды под давлением, холодильные установки, общесудовые системы и системы, обслуживающие энергетическую установку судна, на ходовых испытаниях проверяют в действии по прямому назначению.
6.5.5 После ходовых испытаний паровые котлы предъявляются для внутреннего освидетельствования.
Эксперту предъявляются результаты измерений жаровых труб, проведенных службой технического контроля судостроительной организации после швартовных и ходовых испытаний, для сопоставления их с результатами измерений, полученных при изготовлении котла в цехе, или указанными в технической документации.
6.5.6 Палубные механизмы испытываются совместно с входящими в них устройствами на режимах, предусмотренных программой испытаний, согласованной с Российским Классификационным Обществом.
6.5.7 В случаях, предусмотренных Правилами, на ходовых испытаниях осуществляется измерение параметров крутильных колебаний валопровода по отдельной программе, согласованной с Российским Классификационным Обществом.
Измерения выполняют на режимах винтовой характеристики от минимально устойчивой до максимальной частоты вращения.
В случае выявления запретной зоны частот вращения числовые значения ее границ заносят в паспорт судна, а запретные зоны на шкалах тахометров помечают в соответствии с 6.4.3 ч. IV ПКПС. О наличии запретных зон должна быть сделана запись в Свидетельстве (форма РКО-1.0), выдаваемом на судно.
6.5.8 Если при техническом наблюдении за проверками в действии котлов, теплообменных аппаратов и сосудов под давлением на швартовных испытаниях имеются замечания к их работе, то после устранения этих замечаний осуществляется техническое наблюдение за испытаниями котлов в соответствии с
6.4.18 -
6.4.25, теплообменных аппаратов и сосудов под давлением - в соответствии с
6.4.26 -
6.4.28. Утилизационные котлы на ходовых испытаниях испытываются в соответствии с
6.4.21 -
6.4.24.
6.5.9 Если при техническом наблюдении за испытаниями в действии холодильных установок на швартовных испытаниях имеются замечания к их работе, то после устранения этих замечаний осуществляется техническое наблюдение за испытаниями холодильных установок в действии согласно
6.3.44 -
6.3.49 на ходовых испытаниях. При проведении испытаний должны быть задействованы все контуры холодильных установок. Контроль работы элементов холодильных установок проводится как в автоматическом, так и в аварийном (ручном) режиме управления.
7 СУДОВЫЕ УСТРОЙСТВА И СНАБЖЕНИЕ
7.1.1 Настоящий раздел содержит требования по осуществлению технического наблюдения за изготовлением судовых устройств, оборудования и снабжения, а также за монтажом и испытаниями указанных объектов на судне в соответствии с
Номенклатурой.
7.1.2 Материалы, применяемые для изготовления изделий, должны соответствовать требованиям ч. V и ч. X ПКПС.
7.1.3 Техническое наблюдение за изготовлением и испытаниями рулевых машин, поворотных винторулевых колонок, подруливающих устройств и палубных механизмов (брашпили, шпили, якорные, швартовные, буксирные и шлюпочные лебедки) осуществляется с учетом применимых требований, установленных в
разд. 6 настоящих Правил.
7.1.4 При техническом наблюдении за изготовлением палубных механизмов, грузоподъемных устройств и их узлов следует руководствоваться
разд. 6.
7.2 ТЕХНИЧЕСКОЕ НАБЛЮДЕНИЕ ЗА ИЗГОТОВЛЕНИЕМ
Общие требования
7.2.1 Техническое наблюдение за изготовлением устройств, оборудования и снабжения включает:
.1 проверку технической документации;
.2 контроль материалов;
.3 внешний осмотр изделий;
.4 проверку правильности измерений;
.5 контроль дефектоскопии;
.6 испытания.
Рулевое устройство
7.2.2 При осмотре деталей рулевого и подруливающего устройств, винторулевых колонок дополнительно к перечню, указанному в
7.2.1, проверяются:
.1 сборка руля (насадки), качество шпоночных пазов;
.2 защита внутренних полостей изделий от коррозии или их заполнение;
.3 качество обработки отверстий под плотно пригнанные болты;
.4 установка заглушек и спускных пробок на пустотелых перьях рулей и поворотных насадках после их заполнения инертной массой.
Якорное устройство
7.2.3 При осмотре якорей дополнительно к перечню, указанному в
7.2.1, проверяют:
.1 документы об испытаниях бросанием;
.2 качество сварки сварных якорей;
.3 кривизну веретена якоря;
.4 массу якоря.
7.2.4 Техническое наблюдение за изготовлением цепей якорных и комплектующих их деталей включает:
.1 проверку документов на применяемые материалы;
.2 проверку документов на комплектующие детали (для цепей);
.3 осмотр на соответствие размерам (для цепей);
.4 рассмотрение результатов испытаний;
.5 контроль маркировки;
.6 клеймение.
Сцепное устройство
7.2.5 При одобрении типа образцы сцепного оборудования испытывают на стенде пробной нагрузкой с тензометрированием ответственных деталей по программе, согласованной с Российским Классификационным Обществом.
Значения пробной нагрузки и допускаемых напряжений в деталях сцепного оборудования установлены в ч. V ПКПС.
7.2.6 При техническом наблюдении за изготовлением серийного сцепного оборудования проверяются:
.1 соответствие качества изготовления основных деталей и сцепного оборудования в целом технической документации на изготовление;
.2 кинематика и взаимодействие всех деталей, раскрытие замка под расчетной нагрузкой и прочность замка при испытании пробной нагрузкой на стенде (без тензометрирования).
Грузоподъемное устройство
7.2.7 При осуществлении технического наблюдения за грузоподъемными устройствами, устанавливаемыми на судах, классифицируемых Российским Классификационным Обществом, проверяется:
.1 качество основных и сварных материалов, применяемых для изготовления металлоконструкций и их соответствие технической документации, согласованной с Российским Классификационным Обществом;
.2 наличие необходимых документов на комплектующие изделия согласно
Номенклатуре;
.3 качество изготовления деталей, узлов и сборки грузоподъемного устройства согласно
Перечню;
.4 правильность проведения испытаний съемных деталей согласно
7.2.9 -
7.2.11, грузоподъемного устройства в собранном виде на стенде по программе, согласованной с Российским Классификационным Обществом.
7.2.8 Клеймение испытанных грузоподъемных устройств проводится в соответствии с 6.17 ч. V ПКПС.
7.2.9 Все вновь изготовленные съемные детали грузоподъемных устройств (блоки, гаки, цепи, талрепы, канатные патроны и др.) испытывают пробной нагрузкой под наблюдением работника организации, имеющего компетенцию на проведение данного вида испытаний. Испытание проводится на машине, тарированной соответствующим образом, или путем подвешивания груза определенной массы к испытываемым деталям в соответствии с
табл. 7.2.9.
Таблица 7.2.9
Масса грузов при испытаниях съемных деталей
грузоподъемных устройств пробной нагрузкой
Съемные детали | Масса груза mSWL, т, соответствующая допускаемой нагрузке SWL | Масса пробного груза, т |
Цепи, вертлюги, скобы, гаки и т.п. | mSWL <= 25 | 2mSWL |
mSWL > 25 | 1,22mSWL + 20 |
Одношкивные блоки без крепления на них коренного конца грузового троса | mSWL | 4mSWL |
Одношкивные блоки с креплением на них коренного конца грузового троса | mSWL | 6mSWL |
Многошкивные блоки | mSWL <= n25 | 2mSWL |
25 < mSWL <= 160 | 0,93mSWL + 27 |
mSWL > 160 | 1,1mSWL |
Пробная нагрузка прикладывается статически, время выдержки под нагрузкой должно быть не менее 5 мин.
После испытания все детали подвергаются осмотру на отсутствие дефектов или остаточных деформаций. Блоки должны быть разобраны для осмотра осей и шкивов.
Все съемные детали предъявляются к осмотру и испытаниям с антикоррозионным покрытием (за исключением окраски).
Клеймение испытанных деталей производится в соответствии с
Номенклатурой.
7.2.10 Если съемные детали грузоподъемного устройства объединены в узел, этот узел испытывается в сборе.
При этом испытания съемных деталей по отдельности не производятся.
7.2.11 Типовые образцы съемных деталей испытывают предельной нагрузкой, равной двойной пробной нагрузке, в течение времени, установленного изготовителем в программе испытаний.
Съемные детали кранов грузоподъемностью 100 т и более не испытываются предельной нагрузкой, если расчетами и результатами испытаний пробной нагрузкой подтверждена их прочность.
Количество деталей из партии, подлежащих такому испытанию, определяется по согласованию с Российским Классификационным Обществом.
Патроны и прессуемые зажимы для заделки концов стальных канатов, а также коуши испытывают вместе с канатом после его заделки.
Деталь считается выдержавшей испытание, если при предельной нагрузке она не разрушилась.
Детали, испытанные предельной нагрузкой, не подлежат ремонту и использование по прямому назначению.
Испытания предельной нагрузкой проводятся в присутствии эксперта. Результаты испытаний отражаются в акте (см.
2.3.12).
Крыльевое устройство
7.2.12 При техническом наблюдении за изготовлением крыльевого устройства дополнительно к указанному в
7.2.1 проверяют:
.1 сборку крыльевого устройства;
.2 защиту внутренних полостей изделий от коррозии или их заполнение;
.3 установку заглушек и спускных пробок на пустотелых конструкциях крыльевого устройства.
Палубные механизмы
7.2.13 При техническом наблюдении за изготовлением деталей палубных механизмов, работающих при избыточном давлении, проверяются результаты гидравлических испытаний, проводимых после окончательной механической обработки до нанесения защитных покрытий. Пробное гидравлическое давление
pпр, МПа, при проведении таких испытаний определяется в соответствии с требованиями
6.2.28 к пробному давлению при проведении гидравлических испытаний деталей компрессоров, насосов, вентиляторов, работающих при избыточном давлении.
7.2.14 Детали и узлы палубных механизмов (корпуса редукторов, поддоны и т.п.) заполняемые нефтепродуктами или их парами под гидростатическим или атмосферным давлением, должны подвергаться испытаниям на плотность капиллярным методом контроля. В сварных конструкциях испытанию на плотность достаточно подвергать только сварные швы.
7.2.15 Палубные механизмы по окончании сборки, регулировки и обкатки до установки на судно должны быть испытаны на стенде под нагрузкой по согласованной с Российским Классификационным Обществом программе (в соответствии с ч. V ПКПС).
Допускается заменять стендовые испытания испытаниями на судне.
Гидравлические приводы
7.2.16 Детали гидравлических приводов, находящиеся под нагрузкой, проверяются на прочность при действии усилий, соответствующих рабочему давлению, при этом эквивалентные напряжения в деталях не должны превышать 0,4 предела текучести материала детали.
Спасательные средства
7.2.17 Техническое наблюдение за изготовлением спасательных шлюпок, плотов, приборов, кругов и жилетов осуществляют в соответствии с требованиями
7.2.1.
Типовые образцы спасательных средств испытываются по согласованной с Российским Классификационным Обществом программе испытаний в соответствии с методическими
указаниями, приведенными в приложении 13.
Сигнальные средства
7.2.18 Типовые образцы пиротехнических сигнальных средств испытываются по согласованной с Российским Классификационным Обществом программе испытаний в соответствии с методическими
указаниями, приведенными в приложении 14.
7.2.19 При техническом наблюдении за сигнально-отличительными фонарями дополнительно к перечню, указанному в
7.2.1, проверяются:
.1 взаимозаменяемость деталей;
7.2.20 Стендовые испытания типовых образцов фонарей, кроме указанных в
7.2.18, проводятся по согласованной программе испытаний, разработанной в соответствии с
приложением 15, и включают в себя:
.1 функциональные испытания;
.2 испытания на вибропрочность, на виброустойчивость и на ударные нагрузки;
.3 проверку работы при высоких и низких температурах окружающего воздуха;
.4 проверку на коррозионную стойкость;
.5 проверку на термостойкость;
.6 проверку на влагостойкость;
.7 проверку работы при крене и дифференте;
.8 проверку степени защиты от соприкосновения с токоведущими частями;
.9 светотехнические испытания.
Канаты
7.2.21 Техническое наблюдение за изготовлением канатов стальных, синтетических и растительных заключается в:
.1 контроле примененных материалов при изготовлении продукции по сопроводительной документации;
.2 рассмотрении результатов испытаний, проведенных по согласованной программе испытаний;
.3 визуальном контроле и измерении.
7.3 ТЕХНИЧЕСКОЕ НАБЛЮДЕНИЕ ЗА МОНТАЖОМ
И ИСПЫТАНИЯМИ НА СУДНЕ
Рулевое устройство
7.3.1 После окончания монтажа рулевого и подруливающего устройств эксперт проверяет:
.1 сертификаты на цепи и канаты, акты о гидравлическом испытании системы гидравлики;
.2 надежность установки и крепления основного рулевого привода на судовом фундаменте;
.3 правильность нанесения контрольных рисок среднего положения руля (насадки), правильность градуировки указателя положения руля (насадки) у сектора;
.4 центрирование привода;
.5 качество установки подшипников баллера;
.6 прилегание опорных поверхностей рулевого привода к прокладкам и прокладок к опорным частям фундамента, а также головок фундаментных болтов и гаек к поверхностям привода и полкам фундамента;
.7 плотность соединений трубопроводов гидравлических систем рулевого и подруливающего устройств;
.8 легкость поворота пера руля или поворотной насадки при отсоединенном приводе;
.9 монтажные соединения баллера с пером руля или поворотной насадкой, наличие клейма Российского Классификационного Общества на баллере, если это предусмотрено
Номенклатурой;
.10 установку боковых упоров рулевого привода;
.11 сальниковое уплотнение баллера и непроницаемость уплотнения конусных соединений;
.12 установку и крепление запасного рулевого привода;
.13 зазоры в петлях и подшипниках;
.14 зазоры, регламентирующие перемещение руля либо насадки в аксиальном направлении (вверх) в зависимости от конструкции рулевого привода;
.15 наличие стопорных приспособлений, исключающих самоотвинчивание движущихся деталей устройства;
.16 углы перекладки руля или поворотной насадки до соприкосновения с ограничителем поворота на корпусе и размер площади поверхности касания;
.17 соответствие показаний аксиометров положению рулей или насадок.
7.3.2 При швартовных испытаниях рулевого устройства проверяется:
.1 работоспособность устройства с приводом от источника энергии путем непрерывной перекладки руля или насадки с борта на борт в течение 30 мин;
.2 возможность работы устройства от аварийного источника питания в течение 15 мин;
.3 время перекладки руля или насадки с борта на борт и от среднего положения на левый и правый борт в отдельности при питании от основного и аварийного источников электроэнергии. В случае использования главного двигателя в качестве привода для гидронасоса рулевого устройства время перекладки руля измеряется на режиме малого и полного ходов;
.4 надежность переключения с основного привода на запасный и обратно не менее трех раз и при различных положениях руля или насадки;
.5 работоспособность устройства с запасным приводом путем шестикратной перекладки руля или насадки с борта на борт, время перекладки на угол от 20° одного борта до 20° другого борта и необходимое для выполнения этой операции количество людей;
.6 исправность ограничителей хода рулевой машины и угла поворота сектора;
.7 исправность средств связи постов управления судном и аксиометров;
.8 нагрев подшипников рулевой машины, редукторов и других частей;
.9 перекладка руля или насадки с помощью румпеля (румпель-талей).
7.3.3 При техническом наблюдении за проведением швартовных испытаний подруливающего устройства проверяется:
.1 работа устройства в течение 30 мин;
.2 упор подруливающего устройства с помощью прямых измерений при попеременной работе на правый и левый борт (на головных судах);
.3 правильность функционирования сигнализации в рубке.
7.3.4 Ходовые испытания рулевого устройства головных судов проводят одновременно с проверкой маневренных качеств судна при проектных осадках в грузу и порожнем, а буксиров и толкачей - без состава и с составом.
7.3.5 В процессе ходовых испытаний рулевого устройства судов, указанных в
7.3.4, проверяются:
.1 безотказность перекладки руля (насадок) с борта на борт, а также с любого произвольного положения на борт или в диаметральной плоскости при полном, среднем и малом ходах вперед и назад;
.2 безотказность устройства в режимах испытаний мореходных качеств судна;
.3 время перекладки рулей или насадок с борта на борт и от диаметральной плоскости на каждый борт при полном и малом ходе вперед (для электрифицированного привода при питании от основного и аварийного источников электроэнергии);
.4 исправность контрольных ламп, конечных выключателей, сигнализации по перегрузке;
.5 показания аксиометров и их соответствие положениям пера руля или насадки;
.6 усилие на штурвале ручного привода;
.7 усилие на рукоятке реверса водометных движителей;
.8 надежность и удобство перехода с основного привода на запасный и обратно при разных скоростях судна и различных углах отклонения рулей или насадок.
7.3.6 На серийных судах рулевое устройство необходимо испытывать в соответствии с
7.3.5.1 и
7.3.5.3 -
7.3.5.5.
Якорное устройство
7.3.7 После окончания монтажа якорного устройства эксперт проверяет:
.1 установку и крепление брашпиля или якорных шпилей на судовом фундаменте;
.2 установку и крепление на судовом фундаменте стопоров якорного устройства;
.3 монтаж якорных цепей - сборку соединительных звеньев;
.4 оборудование цепных ящиков;
.5 установку устройств для крепления и отдачи коренных концов якорных цепей;
.6 якорные цепи и якоря в сборе на соответствие чертежам, включая наличие клейм и соответствие узлов и деталей по сертификатам;
.7 калибры сварных швов фундаментов под элементы якорных устройств;
.8 отсутствие изломов в плане якорной цепи;
.9 установку оборудования системы дистанционного управления.
7.3.8 На швартовных испытаниях якорное устройство проверяют в действии поочередным вытравливанием нескольких смычек каждой цепи и последующим выбиранием их с помощью привода от источника энергии и ручного привода.
В процессе испытаний проверяется:
.1 правильность прохождения звеньев цепи по звездочкам, через стопоры и якорные клюзы;
.2 работоспособность стопоров и ленточных тормозов брашпиля, шпиля или якорной лебедки (выполнить два-три торможения при вытравливании цепи или каната);
.3 обеспечение свободного выхода цепи и якоря из клюза, обратного их входа, а также прилегания лап якоря к борту судна;
.4 надежность и быстрота отдачи якоря при разъединении звездочек с валом брашпиля;
.5 плотность закрытия клюзовых и цепных труб;
.6 безотказность устройства дистанционной отдачи якорей;
.7 соответствие скорости выбирания якорных цепей паспортным данным механизма;
.8 самоукладка всей вытравленной якорной цепи в цепном ящике.
7.3.9 В процессе ходовых испытаний на головных судах и составах проверяется обеспечение якорным устройством надежной стоянки и безопасной эксплуатации в районах плавания, указанных в техническом задании.
При этом проверяют:
.1 достаточность держащей силы якорей для удержания одиночного судна или толкача с составом на течении;
.2 работоспособность якорного устройства при подъеме якорей с расчетных глубин якорной стоянки.
7.3.10 Работу якорных устройств на серийных судах проверяют на максимальных глубинах района испытания, а также в речных условиях на течении.
7.3.11 В процессе испытаний носового якорного устройства проверяется:
.1 работоспособность ленточных тормозов при отключенном приводе путем торможения при вытравливании якорной цепи или якорного каната;
.2 работоспособность палубных стопоров;
.3 возможность выбирания с помощью брашпиля каждого якоря с отрывом его от грунта и скорость подъема;
.4 возможность отдачи обоих якорей с помощью брашпиля с неотключенным приводом на всех предусмотренных проектом режимах работы;
.5 возможность одновременного подъема двух висящих якорей и скорость их подъема;
.6 безотказность устройства дистанционной отдачи якорей из рубки;
.7 исправность ручного привода брашпиля или якорной лебедки;
.8 правильность прохождения звеньев якорной цепи по звездочкам брашпиля, через стопоры и клюзы в процессе проведения всех видов испытания, а также якорного каната через канатоукладчик.
7.3.12 В процессе испытаний кормового якорного устройства проверяют:
.1 надежность отдачи якоря с отключенным с помощью тормоза приводом якорного механизма;
.2 возможность отдачи якоря, отрыва его от грунта и выбирания с помощью якорного механизма и скорость выбирания;
.3 работоспособность палубных стопоров.
Буксирное и сцепное устройства
7.3.13 После окончания монтажа буксирного устройства эксперт проверяет:
.1 установку и крепление буксирных лебедок на фундаменте;
.2 соответствие типа, диаметра или окружности и длины буксирного каната чертежу или ведомости;
.3 регулировку механического затвора буксирного гака;
.4 правильность установки ограничителей буксирного каната;
.5 работоспособность устройства дистанционной отдачи буксирного каната при всех возможных углах его отклонения от диаметральной плоскости;
.6 расположение и устройство направляющих роликов, блоков, отсутствие соскальзывания каната или трения его о корпусные конструкции.
7.3.14 При швартовных испытаниях буксирного устройства проверяются:
.1 подвижность буксирного гака с закрепленным на нем канатом;
.2 возможность свободной отдачи буксирного каната с гака;
.3 правильность функционирования устройства дистанционной отдачи каната из рубки;
.4 правильность функционирования буксирной лебедки при выбирании и травлении каната;
.5 работоспособность механизмов и тормозов буксирной лебедки.
7.3.15 При швартовных испытаниях головных буксирных судов и толкачей с составом проверяют:
.1 исправность буксирной лебедки;
.2 безотказность тормозов и канатоукладчика;
.3 возможность свободного передвижения каната по буксирным дугам и эффективность стопорения его на ограничителях.
7.3.16 После окончания монтажа сцепного устройства эксперт проверяет:
.1 наличие формуляра на сцепное оборудование;
.2 надежность крепления сцепного оборудования к фундаменту;
.3 наличие подкрепления корпуса судна в районе установки сцепного оборудования.
7.3.17 При швартовных испытаниях сцепного устройства проверяются:
.1 правильность функционирования механизма изменения вылета;
.2 правильность функционирования клешней и запорных крюков;
.3 работоспособность кулачков головки путем поворота их с помощью лебедки и обратного поворота под действием пружин;
.4 правильность функционирования нажимных хвостовиков для двухзамковых сцепов;
.5 правильность функционирования лебедки при подъеме и опускании замка по всей высоте упора;
.6 правильность функционирования держателя замка и сбрасывающего устройства;
.7 правильность функционирования ключа замка и устройства для крепления по-походному для канатных сцепов;
.8 натяжение канатов натяжной станцией;
.9 исправность канатоукорачивающего устройства.
После проверки работоспособности механизмов производят контрольную сцепку-расцепку, проверяют работу устройств, исключающих самопроизвольное раскрытие замка. Раскрытие замка осуществляют с местного и дистанционного постов управления.
Контрольная сцепка и расцепка сцепного устройства толкачей и носовых замков несамоходных судов может производиться на стендах, имитирующих кормовую оконечность баржи.
На головных судах и составах прочностные характеристики сцепного устройства проверяются во время ходовых испытаний путем прямых измерений напряжений или усилий, возникающих в сцепном устройстве.
Швартовное устройство
7.3.18 После окончания монтажа швартовного устройства проверяются:
.1 установка и крепление на фундаментах швартовных шпилей или лебедок и другого оборудования швартовного устройства;
.2 взаимное расположение, высота установки элементов швартовного устройства, а также наличие свободных площадей и подходов к ним;
.3 соответствие типа, окружности и длины швартовных канатов указаниям чертежа (ведомости снабжения);
.4 качество монтажа трубопроводов и насосов гидросистемы.
Грузоподъемное устройство
7.3.19 После завершения монтажа и проверок грузоподъемного устройства организация проводит предварительные испытания всех агрегатов на холостом ходу. При удовлетворительных результатах пробных испытаний грузоподъемное устройство с соответствующей документацией предъявляется эксперту для окончательных испытаний.
7.3.20 До начала испытаний на судне грузоподъемного устройства эксперт проверяет следующие документы:
.1 извещение о приемке и готовности устройства к испытанию;
.2 паспорт или сертификат (для кранов);
.3 программу испытаний;
.4 сертификаты на цепи, канаты, съемные детали грузоподъемного устройства, а также на материалы ответственных деталей машин, металлических частей кранов, рангоута и на сварочные материалы;
.5 акты проверки качества сварных соединений и сведения о дипломировании сварщиков, выполнивших ответственные сварочные работы;
.6 паспорта на механизмы и агрегаты;
.7 спецификацию на грузоподъемное устройство;
.8 чертежи и схемы.
7.3.21 До начала испытаний эксперт проводит осмотр грузоподъемного устройства с целью проверки:
.1 надежности креплений агрегатов к фундаментам и фундаментов к палубе;
.2 правильности сборки грузоподъемного устройства;
.3 удобства размещения постов управления;
.4 безопасности укладки каната на барабан;
.5 наличия приборов и устройств безопасности, предохранительных приспособлений и ограждений.
7.3.22 Установленное на судно грузоподъемное устройство подвергают статическим и динамическим испытаниям пробной нагрузкой.
Применение динамометра вместо пробного груза не допускается.
У кранов с переменным вылетом пробный груз поднимают при максимальном и минимальном вылетах, а при переменной в зависимости от вылета грузоподъемности - при максимальном и минимальном вылетах для каждой установленной грузоподъемности.
При испытаниях пробной нагрузкой ограничитель грузоподъемности отключают.
7.3.23 При статическом испытании крана используется пробный груз массой 125% номинальной грузоподъемности, при этом стрелу устанавливают в положение, отвечающее наименьшей устойчивости крана, груз поднимают на высоту 100 - 200 мм. В неподвижном состоянии пробный груз должен удерживаться краном в течение не менее 10 мин.
При динамическом испытании крана должен быть использован пробный груз массой 110% номинальной грузоподъемности. Все виды движения выполняются на полной скорости.
Изменение вылета при испытаниях осуществляется во всем диапазоне возможных значений вылета между двумя допустимыми крайними положениями стрелы.
Надежность работы тормозов грузовых лебедок стрел и кранов проверяют быстрым опусканием пробного груза приблизительно на 3 м и резким его торможением. Это испытание проводят не менее чем в двух положениях стрелы.
Проверяют также удержание пробного груза на весу при отключенном приводе лебедки.
7.3.24 После испытания крана пробной нагрузкой он испытывается грузом, масса которого равна грузоподъемности, при работе механизмов подъема, поворота, изменения вылета и передвижения с максимальной скоростью; при этом резким торможением должна быть проверена работа тормозов механизмов подъема, поворота, изменения вылета и передвижения.
При испытаниях проверяют также работу конечных выключателей и указателей вылета.
Если у крана предусмотрено совмещение движений (подъема, изменения вылета, поворота и передвижения), проверяют работу его при допускаемых вариантах такого совмещения.
Ограничители грузоподъемности проверяют на срабатывание подъема груза, соответствующего установке ограничителя.
7.3.25 При испытании крана следует наблюдать за состоянием стальных конструкций, стрел, механизмов, ответственных деталей и креплений.
Необходимо обратить особое внимание на устойчивость крана, равномерность прилегания к основанию нижних частей всех опор, крепление и работу противовеса и тормозного устройства.
Следует убедиться в том, что при самом низком рабочем положении грузозахватного органа на барабане лебедки остается не менее полутора витков каната.
7.3.26 При испытании кранов передвижного типа следует убедиться, что катки не отделяются от рельсов.
7.3.27 После испытаний все металлоконструкции, агрегаты и детали грузоподъемного устройства осматриваются экспертом с целью выявления возможных дефектов.
При обнаружении дефектов следует установить причины их появления, устранить дефекты согласованными с Российским Классификационным Обществом способами и провести повторные испытания.
7.3.28 При положительных результатах испытаний грузоподъемного устройства оформляются документы Российского Классификационного Общества.
Шлюпочное устройство, спасательные средства
7.3.29 После установки на судно каждое шлюпочное устройство испытывают при спуске и подъеме шлюпки. При этом нагрузка применяется в соответствии с ч. V ПКПС.
7.3.30 До начала испытаний шлюпочного устройства пробным грузом проводят осмотр спусковых устройств в сборе. При этом эксперт проверяет:
.1 качество монтажа и комплектность спусковых устройств;
.2 наличие клейм и маркировки изделий, узлов и деталей, их соответствие представленным сертификатам;
.3 затяжку крепежных болтов, плотность прилегания лап станин к фундаментам, качество сварных швов фундаментов и подкреплений под ними;
.4 надежность закрепления концов лопарей на барабанах лебедок, а также коренных концов лопарей;
.5 вылет шлюпбалки;
.6 обеспечение возможности наблюдения за процессом спуска-подъема шлюпки с поста управления лебедкой;
.7 правильность функционирования ручного привода лебедок шлюпбалок, винтового привода заваливающихся шлюпбалок.
7.3.31 При испытании шлюпочного устройства проверяется:
.1 надежность срабатывания ручного тормоза лебедки во время спуска шлюпки. Торможение должно быть плавным, но эффективным;
.2 плавность движения катков по направляющим скатывающихся шлюпок;
.3 прохождение лопарей по шкивам и направляющим роликам, а также в местах, закрытых кожухами;
.4 скорость спуска шлюпки;
.5 равномерность наматывания каната на барабан лебедки;
.6 необходимая длина лопарей для спуска шлюпки каждого борта до уровня самой низкой ватерлинии судна в балласте при крене 15° на любой борт;
.7 канатоемкость барабана лебедки (достаточное возвышение реборды барабана по торцам над верхним рядом полностью уложенного каната);
.8 время спуска шлюпки.
7.3.32 Проверку заваливания стрел шлюпбалок выполняют путем многократного (не менее трех раз) вываливания и заваливания стрел и шлюпбалок, спуска и подъема шлюпки с грузом, равным массе полного комплекта снабжения и спусковой команды. При этом проверяют:
.1 плавность перемещения стрел шлюпбалок;
.2 плавность движения катков по направляющим скатывающихся шлюпбалок;
.3 усилие на рукоятке ручного привода;
.4 автоматическое отключение (блокировку) питания электрического привода при включении ручного (с присоединенной рукояткой ручного привода);
.5 наличие и регулировку конечных выключателей.
7.3.33 Спасательные шлюпки с механическим приводом и моторные шлюпки испытывают на ходу с целью проверки в действии привода и (или) двигателя. При наличии радиооборудования, навигационного оборудования, прожекторов, системы орошения и сжатого воздуха (на танкерных шлюпках) проводят проверку указанных объектов по назначению.
7.3.34 При установке спасательных плотов проверяется соответствие типа, количества, вместимости, размещения, клейм и маркировки плотов требованиям согласованной технической документации, наличие сертификатов Российского Классификационного Общества.
7.3.35 Эксперт проверяет соответствие количества, размещения и крепления спасательных приборов на судне требованиям технической документации, согласованной с Российским Классификационным Обществом, наличие сертификатов Российского Классификационного Общества и документов организации-изготовителя, а также исправность спасательных приборов и их комплектность.
7.3.36 Спасательные жилеты осматривают и проверяют их соответствие документам организации-изготовителя и сертификатам Российского Классификационного Общества.
7.3.37 Предметы снабжения спасательных шлюпок проверяют на соответствие документации, согласованной с Российским Классификационным Обществом, и требованиям ч. V ПКПС.
Проверяют также комплектность предметов снабжения, размещение их в шлюпке и наличие документов организации-изготовителя.
7.3.38 При осуществлении технического наблюдения за сигнальными средствами в период постройки судов выполняют проверки:
.1 соответствия сигнальных средств документации, согласованной с Российским Классификационным Обществом;
.2 установки сигнальных средств на судах.
7.3.39 Проверка соответствия сигнальных средств согласованной технической документации включает в себя контроль паспортов и сертификатов, проверку сигнальных средств и сопоставление сопроводительных документов с маркировкой и клеймами, нанесенными на сигнальных средствах.
7.3.40 Проверка установки сигнальных средств на судах включает в себя наружный осмотр и контрольные измерения (проверки) с целью определения:
.1 правильности расположения стационарных сигнальных средств в вертикальной и горизонтальной плоскостях и относительно диаметральной плоскости судна;
.2 правильности установки и крепления сигнальных средств;
.3 удобства демонтажа сигнальных средств и замены сменно-запасных частей;
.4 правильности монтажа электрических кабелей и защитного заземления сигнальных средств;
.5 эффективности защиты от радиопомех, создаваемых электрическими сигнальными средствами;
.6 качества монтажа систем трубопроводов сжатого воздуха, пара или другого агента для приведения в действие звуковых сигнальных средств;
.7 работоспособности конструкций и безопасности устройств и приспособлений для приведения в действие сигнальных пиротехнических средств, а также мест их хранения.
7.3.41 При техническом наблюдении за пожарным, навигационным и аварийным снабжением, сигнальными пиротехническими и звуковыми средствами проверяются:
.1 наличие документов на предметы снабжения и срок их действия;
.2 комплектность снабжения согласно проекту и Правилам;
.3 размещение и крепление предметов снабжения на судне согласно проекту.
| | ИС МЕГАНОРМ: примечание. В официальном тексте документа, видимо, допущена опечатка: Федеральный закон N 123-ФЗ принят 22.07.2008, а не 02.07.2008 | |
7.3.42 В дополнение к требованиям
7.3.41.1 проверяется установка огнетушителей на судне и наличие сертификата о соответствии огнетушителей техническому
регламенту о требованиях пожарной безопасности (Федеральный закон от 02.07.2008 N 123-ФЗ).
Аппарельное устройство
7.3.43 После завершения монтажа аппарели проверяются:
.1 выполнение применимых требований, установленных
5.7.2;
.2 акты гидравлических испытаний системы гидравлики;
.3 надежность крепления привода аппарели на судовом фундаменте;
.4 центрирование привода;
.5 зазоры в петлях и подшипниках;
.6 наличие стопорных приспособлений, исключающих самоотвинчивание движущихся деталей устройства.
7.3.44 При швартовных испытаниях аппарельного устройства проверяются:
.1 работа аппарели на подъем и опускание, ее удержание в заданном положении, работа устройства аварийного опускания и задраивающих устройств при их наличии;
.2 сигнализация;
.3 исправность отключающих устройств безопасности.
8 ЭЛЕКТРИЧЕСКОЕ ОБОРУДОВАНИЕ
8.1.1 Настоящий раздел содержит требования по осуществлению Российским Классификационным Обществом технического наблюдения за изготовлением, монтажом на судне и испытаниями электрического оборудования, указанного в
Номенклатуре.
8.1.2 Техническое наблюдение Российского Классификационного Общества за электрическим оборудованием предусматривает:
.1 согласование технической документации, программ испытаний электрического оборудования;
.2 техническое наблюдение за изготовлением и испытаниями электрического оборудования;
.3 техническое наблюдение за монтажом и испытаниями электрического оборудования на судах.
8.1.3 Техническое наблюдение за электрическим оборудованием бытовых, хозяйственных приборов, технологического оборудования ограничивается проверками:
.1 сопротивления изоляции, состояния заземлений и устройств защиты;
.2 исправности подключения к источникам электрической энергии, включая выбор типа сечения кабеля, а также способа прокладки кабеля;
.3 уровня взрывозащищенности, при размещении приборов и оборудования во взрывоопасных помещениях и пространствах;
.4 крепления бытовых, хозяйственных приборов, технологического оборудования.
(п. 8.1.3 в ред.
Извещения, утв. Приказом ФАУ "Российское Классификационное Общество" от 11.11.2024 N 84-п)
8.1.4 Все виды электрического оборудования, монтажных работ, арматуры, и материалов, которые после их установки и завершения работ оказываются недоступными для контроля, предъявляются эксперту на той стадии работ, когда возможно осуществление предусмотренных Правилами проверок.
8.2 ТЕХНИЧЕСКОЕ НАБЛЮДЕНИЕ ЗА ИЗГОТОВЛЕНИЕМ
8.2.1 Техническое наблюдение за изготовлением электрического оборудования включает в себя:
.1 проверку наличия согласованной технической документации и программы испытаний;
.2 контроль применяемых материалов в части выполнения требований 2.4 ч. VI ПКПС;
.3 осмотр изделия;
.4 наблюдение за испытаниями.
8.2.2 При осмотре проверяют:
.1 документы на материалы, примененные при изготовлении;
.2 техническое состояние комплектующих, входящих в состав осматриваемого изделия;
.3 качество монтажа электрической схемы изделия;
.4 прочность соединения и крепление узлов, токоведущих частей, сварных, паяных, винтовых и других конструктивных и контактных соединений;
.5 наличие антикоррозийных покрытий;
.6 наличие необходимых маркировок и надписей;
| | ИС МЕГАНОРМ: примечание. Нумерация пунктов дана в соответствии с официальным текстом документа. | |
.8 техническое состояние контактных и защитных оконцеваний кабелей и проводов;
.9 исправность конструкций, обеспечивающих электробезопасность.
8.2.3 Типовые образцы испытываются по согласованной РКО программе испытаний, разработанной в соответствии с
таблицей 8.2.3.
Объект технического наблюдения | Виды испытаний |
Сопротивление изоляции | Электрическая прочность изоляции | Функциональные испытания | Испытания на повышенную частоту вращения и перегрузку | Испытание на стоянку под током | Стойкость к ударному току короткого замыкания | Вибропрочность и виброустойчивость | Ударопрочность и удароустойчивость | Устойчивость к качке и длительным наклонам | Теплоустойчивость | Холодоустойчивость | Влагоустойчивость | Воздействие соляного (морского) тумана | Защитное исполнение оболочки | Электромагнитная совместимость | Солнечная радиация | Устойчивость к воздействию масла (нефти) | На нераспространение горения |
1. Автоматизация |
1.1 Системы индикации, АПС и защиты энергетических установок и их элементов, устройства для экстренной остановки главных двигателей | + | + | | - | - | - | - | | | | | | | + | + | | - | - |
1.2 Системы автоматизации и управления главными двигателями (гребной электрической установкой) и движителями | + | + | | - | - | - | - | | | | | | | + | + | | - | - |
1.3 Системы автоматизации и управления вспомогательными двигателями, устройства для автоматической остановки судовых технических средств вспомогательного назначения | + | + | | - | - | - | - | | | | | | | + | + | | - | - |
1.4 Системы управления судовыми техническими средствами (в том числе, контроллеры и элементы систем автоматики) | + | + | | - | - | - | - | | | | | | | + | + | | - | - |
2. Электрооборудование |
2.1 Гребные электрические двигатели | + | + | + | + | | - | + | + | + | + | - | + | | + | | - | - | - |
2.2 Генераторы | + | + | + | + | - | + | + | + | + | + | - | + | | + | | - | - | - |
2.3 Аккумуляторы и аккумуляторные батареи | + | + | + | - | - | - | + | + | + | - | - | - | | - | - | - | - | - |
2.4 Источники бесперебойного питания | + | + | + | - | + | - | + | + | + | - | - | - | | - | - | - | - | - |
2.5 Статические источники энергии | + | + | + | - | - | - | + | + | + | - | - | - | | - | - | - | - | - |
2.6 Трансформаторы | + | + | + | - | - | - | + | + | + | + | - | + | | + | | - | - | - |
2.7 Преобразователи вращающиеся и статические (выпрямители, инверторы, преобразователи частоты, устройства плавного пуска) | + | + | + | - | - | - | + | + | + | + | - | + | | + | + | - | - | - |
2.8 Усилители электромашинные | + | + | + | - | - | - | + | + | + | + | - | + | | + | | - | - | - |
2.9 Аппаратура защитная, регулировочная и коммутационная (автоматические выключатели, разъединители, реле, выключатели, предохранители и др.) | + | + | + | - | - | - | + | + | + | + | + | + | | + | | | - | - |
2.10 Реакторы, конденсаторные установки повышения коэффициента мощности | + | + | + | - | - | - | + | + | + | + | + | + | | + | + | - | - | - |
2.11 Корпуса распределительных щитов и электрошкафов, пультов управления | - | - | | - | - | - | + | + | + | - | - | - | | + | - | - | - | - |
2.12 Электрические двигатели постоянного и переменного тока мощностью 0,5 кВт и более ответственных судовых технических средств | + | + | + | + | | - | + | + | + | + | + | + | | + | | - | - | - |
2.13 Электрические двигатели постоянного и переменного тока мощностью 0,5 кВт и более неответственных судовых технических средств | + | + | + | - | - | - | + | + | + | + | + | + | | + | - | - | - | - |
2.14 Аппаратура пусковая электродвигателей | + | + | + | - | - | - | + | + | + | + | + | + | | + | - | - | - | - |
2.15 Светильники стационарные | + | + | + | - | - | - | + | + | + | + | + | + | | + | | - | - | - |
2.16 Арматура установочная сетей освещения (выключатели, розетки) | + | + | + | - | - | - | + | + | + | + | + | + | | + | - | - | - | - |
2.17 Световые эвакуационные указатели (фотолюминесцентные и электрические) | | | + | - | - | - | | | | + | + | + | | - | - | - | - | - |
2.18 Прожекторы | + | + | + | - | - | - | + | + | + | + | + | + | | + | | - | - | - |
2.19 Телеграфы электрические машинные, указатели положения пера руля и лопастей ВРШ, тахометры гребного вала | + | + | + | - | - | - | + | + | + | + | + | + | | + | + | - | - | - |
2.20 Связь служебная телефонная | + | + | + | - | - | - | + | + | + | + | - | + | | + | + | - | - | - |
2.21 Сигнализация авральная (приборы и замыкатели световых и звуковых сигналов) | + | + | + | - | - | - | + | + | + | + | + | + | | + | + | - | - | - |
2.22 Сигнализация непроницаемых дверей | + | + | + | - | - | - | + | + | + | + | + | + | | + | + | - | - | - |
2.23 Кабели | + | + | - | - | - | - | - | - | - | + | + | + | | - | - | | - | + |
2.24 Провода | + | + | - | - | - | - | - | - | - | + | + | + | | - | - | | - | + |
2.25 Кабели цепей управления и сигнализации | + | + | - | - | - | - | - | - | - | + | + | + | | - | - | | - | + |
2.26 Подогреватели электрические топлива и масла | + | + | + | - | - | - | + | + | + | + | + | + | | + | - | - | - | - |
2.27 Грелки, электрокамины, камбузные электронагревательные приборы, электроводонагревательные устройства | + | + | + | - | - | - | + | + | + | + | + | + | | + | - | - | - | - |
2.28 Кабели нагрева | + | + | - | - | - | - | - | - | - | + | + | + | | - | - | | - | + |
2.29 Электрооборудование грузоподъемных устройств | + | + | + | - | - | - | + | + | + | + | + | + | | + | - | - | - | - |
2.30 Электрооборудование установок кондиционирования воздуха | + | + | + | - | - | - | + | + | + | + | + | + | | + | | - | - | - |
2.31 Датчики систем управления и АПС | + | + | + | - | - | - | - | + | + | + | + | + | | + | - | - | - | - |
<1> Только в части создаваемого уровня радиопомех. <2> Только объекты, устанавливаемые на суда, допущенные к эксплуатации в бассейнах разряда "О-ПР", "М-ПР" и "М-СП". <3> Только электрические. <4> Если в составе содержатся программируемые электронные системы и элементы, изготовитель разрабатывает и представляет РКО на рассмотрение соответствующую техническую документацию и/или проводит соответствующие испытания. <5> Только если оборудование предназначено для установки на открытых участках палубы, подверженных солнечной радиации. <6> Только для коммутаторов сигнально-отличительных огней. <7> Для гребных электрических двигателей, двигателей, предназначенных для якорных и швартовных механизмов, и двигателей непосредственного привода рулевых устройств. <8> Кроме светильников и прожекторов с лампами накаливания и без преобразователей напряжения и пускорегулирующих устройств. <9> При установке в рулевой рубке или в помещениях с навигационным или радиооборудованием проверяются на уровень излучаемых радиопомех. <10> Функциональные испытания пульта управления судном проводятся на судне. |
8.2.4 Типовые образцы кабельных изделий испытываются на нераспространение горения по методике, приведенной в
приложении 16.
8.2.5 Серийные изделия подлежат испытаниям в соответствии с
1 -
3 приложения 15.
8.3 ТЕХНИЧЕСКОЕ НАБЛЮДЕНИЕ ЗА МОНТАЖОМ НА СУДНЕ
8.3.1 При обследовании фундаментов и других опорных конструкций для установки электрического и электронного оборудования проверке подлежат:
.1 качество выполненных работ, отсутствие острых кромок и других дефектов, способных привести к повреждениям устанавливаемого электрического и электронного оборудования;
.2 возможность доступа для обслуживания электрического и электронного оборудования;
.3 соответствие места установки электрического и электронного оборудования требованиям Правил (не допускается установка на обшивке корпуса судна, стенках цистерн топлива, масла, воды, сосудов под давлением) и согласованной технической документации;
.4 удаленность мест установки электрического и электронного оборудования и его частей, находящихся под напряжением, от обшивки корпуса, настилов палуб и платформ;
.5 удаленность электрического и электронного оборудования от горючих материалов, источников теплоты, мест выделений газов, паров, а также трубопроводов, цистерн, клапанов и другой арматуры, способных создать условия для повреждения электрического и электронного оборудования или вызвать возгорание окружающих материалов.
8.3.2 При обследовании гребных электрических установок проверяется:
.1 отсутствие фланцевых и резьбовых соединений трубопроводов, клапанов и другой арматуры над электрическими машинами гребной электрической установки;
.2 размещение водяных охладителей, их трубопроводов, наличие клапанов в водяных магистралях, спускных клапанов.
8.3.3 При обследовании кабельной сети проверке подлежат:
.1 удаление трасс прокладки кабелей от мест возможного попадания масла и нефтепродуктов;
.2 исправность конструкции опорных устройств для кабелей;
.3 достаточность и частота креплений кабеля на опорных конструкциях;
.4 раздельная прокладка кабелей различных назначений и различных напряжений;
.5 конструкции и способы установки труб, компенсационных устройств и способы крепления в них кабелей, каналы, желоба, стояки, стаканы, каркасы шинопроводов, проходные кабельные коробки, специальные уплотнительные конструкции и другие устройства для прокладки кабелей через переборки и палубы на предмет соответствия требованиям технической документации;
.6 правильность прокладки кабелей во взрывоопасных помещениях и пространствах и пожароопасных помещениях;
.7 маркировка, оконцевание жил кабелей и проводов.
8.3.4 При обследовании аккумуляторов проверяется:
.1 соответствие аккумуляторного помещения (шкафа) и размещения аккумуляторов требованиям Правил;
.2 надежность закрепления батарей;
.3 отсутствие застойных зон в подволоке аккумуляторных помещений;
.4 наличие автономной вентиляции аккумуляторного помещения;
.5 исправность блокировки, предотвращающей включение аккумуляторов на зарядку до включения вентиляции аккумуляторного помещения;
.6 меры защиты от взрыва.
8.3.5 Техническое наблюдение за монтажом на судне электрического оборудования бытовых, хозяйственных приборов, технологического оборудования заключается в проверке:
.1 подключения к источникам электрической энергии, включая выбор типа и сечения кабеля, а также способа прокладки кабеля;
.2 средств защиты, изоляции заземления, электромагнитной совместимости (при установке бытовых, хозяйственных приборов и технологического оборудования в помещениях, в которых эксплуатируются судовые средства радиосвязи и навигации, систем управления техническими судовыми средствами, в составе которых применены электронные компоненты), уровня взрывозащищенности (при размещении приборов и оборудования во взрывоопасных помещениях и пространствах) и крепления бытовых, хозяйственных приборов, технологического оборудования.
(п. 8.3.5 в ред.
Извещения, утв. Приказом ФАУ "Российское Классификационное Общество" от 11.11.2024 N 84-п)
8.3.6 Эксперт должен удостовериться в том, что после установки на штатные места все электрическое оборудование по степени защиты, комплектации, количеству, электрической защите, кабельной сети, размещению в помещениях и пространствах судна, удобству технического обслуживания, устройствам управления и регулировки, ограждениям, мероприятиям противопожарной безопасности и взрывобезопасности, защите от поражения электрическим током, защитному заземлению и другим характеристикам и параметрам соответствует своему назначению и обеспечивает безопасность плавания судна.
8.3.7 Осмотр установленного электрического оборудования проводят после прокладки, закрепления и подключения всех кабелей к оборудованию.
8.3.8 При проверке монтажа электрического оборудования нефтеналивных судов дополнительно контролируют выполнение требований Правил к оборудованию этих судов.
8.3.9 При обследовании СИЭ и СИЭ ТЭ проверяется:
.1 соответствие помещения для размещения СИЭ требованиям Правил;
.2 надежность крепления кабельных соединений и заземления СИЭ;
.3 уровень заряда СИЭ (за исключением СИЭ ТЭ);
.4 давление системы инертного газа СИЭ ТЭ;
.5 наличие утечек водорода в помещении СИЭ ТЭ.
8.4.1 Питание всех потребителей на швартовных испытаниях должно осуществляться от штатных источников электрической энергии.
В случае, когда штатные потребители электрической энергии не обеспечивают требуемую на швартовных испытаниях нагрузку судовых генераторов, используются специальные нагрузочные устройства.
8.4.2 Параметры, проверяемые при швартовных испытаниях электрической установки построенного судна, указаны в
приложении 17.
8.4.3 В процессе швартовных испытаний гребной электрической установки проверяется:
.1 правильность функционирования установки на передний и задний ход во всех вариантах переключений, предусмотренных проектной документацией;
.2 исправность средств пуска главных дизель-генераторов, резервных возбудителей, вентиляторов, агрегатов охлаждения и смазки;
.3 возможность управления установкой с местных и дистанционных постов;
.4 степень искрения под щетками при нагрузке и реверсах;
.5 исправность аппаратов защиты, сигнализации и блокировки;
.6 сопротивление изоляции электрических машин, кабельной сети и вспомогательных агрегатов системы электродвижения в холодном и прогретом состояниях;
.7 согласованность показаний указателей частоты вращения гребного вала в машинном отделении и в рулевой рубке.
8.4.4 Генераторы судовой электростанции испытывают на всех режимах совместно с главным распределительным щитом.
При испытании проверяется:
.1 работоспособность генераторов согласно программе испытаний;
.2 устойчивость параллельной работы при различной нагрузке и переключении нагрузки с одних генераторов на другие;
.3 исправность регуляторов напряжения и устройств распределения активной и реактивной нагрузок между генераторами;
.4 настройка автоматических аппаратов защиты генераторов;
.5 степень искрения под щетками генераторов;
.6 сопротивление изоляции;
.7 исправность автоматических устройств синхронизации и распределения нагрузки.
8.4.5 При проверке в действии аккумуляторных батарей проверяется:
.1 плотность и уровень электролита в аккумуляторах;
.2 сопротивление изоляции;
.3 работа зарядного устройства и батареи в режиме разряда;
.4 срабатывание автоматических средств защиты (от обратного тока и пр.);
.5 емкость батареи на разряд по прямому назначению и напряжение на ее зажимах;
.6 эффективность вентиляции помещения или шкафа (на головных судах).
8.4.6 При испытании распределительных устройств проверяются:
.1 работоспособность устройств под нагрузкой на всех режимах в сочетаниях и вариантах нагрузок, предусмотренных проектом судна;
.2 возможность перевода управления установками с основных постов (пультов) на местные и бесперебойность работы их при таком управлении;
.3 соответствие задаваемых положений органов управления фактическим режимам работы управляемого объекта;
.4 настройка автоматических аппаратов защиты (путем осмотра значений уставок срабатывания и выборочных испытаний автоматов, кроме защиты от токов короткого замыкания), блокировок и сигнализации;
.5 показания измерительных и регистрирующих приборов;
.6 сопротивление изоляции.
8.4.7 При испытаниях электрических приводов выявляются характеристики каждого электрического привода и соответствие его назначению.
Помимо таких испытаний, проверяется:
.1 работоспособность привода под нагрузкой в течение времени, установленного в программе испытаний (с применением в необходимых случаях измерительных приборов);
.2 возможность управления приводом с дистанционного и местного постов и отключения с помощью аварийных выключателей;
.3 правильность функционирования конечных выключателей, тормозов, блокировок, устройств контроля, аппаратов автоматической защиты и сигнализации;
.4 соответствие значений уставок тепловой защиты токам защищаемых электрических двигателей;
.5 сопротивление изоляции электрических двигателей и аппаратуры в холодном и нагретом состояниях.
8.4.8 При испытаниях приборов управления и сигнализации проверяется:
.1 согласованность действия задающих и исполнительных приборов;
.2 исправность сигнализации, устройств, аппаратов;
.3 срабатывание авральной и пожарной сигнализации;
.4 сопротивление изоляции.
8.4.9 Во время испытаний аварийной электрической установки проверяются:
.1 безотказность автоматического пуска аварийного дизель-генератора;
.2 безотказность автоматического подключения аварийного генератора к шинам аварийного распределительного щита;
.3 бесперебойность подключения потребителей к питанию от аварийного источника электрической энергии (дизель-генератора или аккумуляторной батареи);
.4 бесперебойность подключения потребителей к питанию от аварийного кратковременного источника электрической энергии (если таковой предусмотрен);
.5 значения параметров аварийного дизель-генератора путем измерений напряжения, частоты вращения и силы тока при работе всех аварийных потребителей.
8.4.10 Проверке подлежит правильность функционирования блокирующих устройств электрического привода шлюпочной лебедки при включении ручного привода и конечных выключателей.
8.4.11 Проверке подлежит исправность светильников основного и аварийного освещения.
8.4.12 Проводится проверка исправности сигнально-отличительных фонарей и сигнализации об их неисправности.
8.4.13 При испытании аппарельного устройства проверке подлежат системы телевизионного наблюдения и АПС.
8.4.14 При проверке в действии СИЭ и СИЭ ТЭ проверяют:
.1 работоспособность автоматизированных систем защит и продувки СИЭ ТЭ;
.2 сопротивление изоляции;
.3 работу зарядного устройства (при заряде от берегового зарядного устройства проверяется работоспособность СИЭ в режиме заряда) и СИЭ в режиме разряда;
.4 срабатывание автоматических средств защиты;
.5 емкость СИЭ при разряде и напряжение на ее зажимах (кроме СИЭ ТЭ);
.6 эффективность вентиляции помещения СИЭ или шкафа (на головных судах);
.7 при наличии на судне, кроме СИЭ, основного источника электрической энергии другого вида, проверяется режим заряда СИЭ от этого источника, если это предусмотрено конструкторской документацией.
8.5.1 На ходовых испытаниях проверяют работу электрической установки судна во всех режимах, предусмотренных программой, при фактических нагрузках и условиях, имеющих место на ходу судна, а также правильность функционирования электрического оборудования. При разработке программы продолжительность испытаний и проверок электрического оборудования назначают с учетом времени, установленного в соответствующих разделах настоящих Правил.
8.5.2 При испытании судовой электростанции проверяют:
.1 достаточность мощности генераторов и/или СИЭ для питания потребителей в соответствии с таблицей режима нагрузок для всех режимов работы судна, кроме стояночного;
.2 включение аварийного источника электрической энергии при исчезновении напряжения на главном распределительном щите и питание от него необходимых судовых потребителей;
.3 включение аварийно-переходного источника электрической энергии (если он предусмотрен конструкторской документацией) на время ввода в действие аварийного дизель-генератора.
8.5.3 При испытании гребной электрической установки осуществляют:
.2 анализ результатов измерения продолжительности реверса при разных скоростях судна.
8.5.4 Электрические приводы насосов, компрессоров, сепараторов, вентиляторов и других объектов судовой техники проверяют при работе по прямому назначению с целью проверки надежности (бесперебойности) работы, включения и отключения, перехода на резервный комплект, если таковой предусмотрен, действия дистанционных пультов на включение и отключение электрического привода, автоматического включения резервных электрических приводов по сигналам от регулируемых параметров рабочей среды на автоматизированных установках.
Проверки работающего электрического оборудования проверяют на отсутствие перегрузок, недопустимых превышений температуры корпусов, оболочек, панелей, подшипников. Проверяют также параметры как собственной вибрации, так и вибрации, вызванной работой главных двигателей и других объектов судовой техники или движителями судна.
8.5.5 Электрические приводы рулевых устройств, их системы питания (основные и дублирующие линии питания), системы управления, индикации положения пера руля, сигнализации о работе электрического привода и его остановке, проверяют при работе рулевого устройства на всех предусмотренных режимах.
8.5.6 Проверку приводов рулевых устройств проводят как при работе двух (если установлены) электрических агрегатов рулевого привода, так и каждого силового агрегата в отдельности со всех предусмотренных постов дистанционного и местного управления при питании электрических приводов силовых агрегатов и системы управления от основной и дублирующей линий питания.
При этом цикл перекладок руля с борта на борт, предусмотренных в
разд. 7, выполняется не менее пяти раз для каждого агрегата с каждого поста и для каждой линии питания.
8.5.7 Проверку электрических приводов якорных и швартовных устройств, шлюпочных лебедок проводят при испытаниях перечисленных устройств, при постановке судна на якорь и снятии с якоря, отходе от причала, швартовке и стоянке судна на якоре.
8.5.8 На ходовых испытаниях измеряют сопротивление изоляции электрического оборудования как во время его работы с помощью щитовых приборов для измерения сопротивления изоляции, так и переносным мегаомметром сразу после вывода из действия при температуре оборудования, установившейся во время работы.
8.5.9 Электрические машины с коллекторами и контактными кольцами проверяют на степень искрения.
8.5.10 После ходовых испытаний устанавливают объем ревизии, при проведении которой вскрываются подшипники электрических машин, которые нагревались на ходовых испытаниях с превышением нормы, установленной в технической документации.
8.5.11 При вскрытии электрической машины проверяют:
.1 техническое состояние поддерживающих конструкций статорной обмотки;
.2 расположение пазовых клиньев обмоток;
.3 техническое состояние и расположение полюсов с их обмотками;
.4 надежность крепления вращающихся частей.
9 СРЕДСТВА РАДИОСВЯЗИ И НАВИГАЦИОННОЕ ОБОРУДОВАНИЕ
9.1.1 Настоящий раздел устанавливает требования по осуществлению технического наблюдения Российским Классификационным Обществом за изготовлением, монтажом на судне и испытаниями средств радиосвязи и навигационного оборудования в соответствии с
Номенклатурой.
9.1.2 Техническое наблюдение Российского Классификационного Общества за средствами радиосвязи и навигационным оборудованием для судов предусматривает:
.1 согласование технической документации, программ испытаний;
.2 техническое наблюдение за изготовлением и испытаниями;
.3 техническое наблюдение за монтажом и испытаниями.
9.1.3 Российское Классификационное Общество не осуществляет техническое наблюдение за изготовлением навигационного снабжения, за исключением технического наблюдения за изготовлением электронного кренометра, вместе с тем, при проведении швартовных и ходовых испытаний проверяет наличие навигационного снабжения на судне на соответствие нормам, указанным в 10.2.2 ч. V ПКПС.
Электронный кренометр, предназначенный для целей навигации и/или передачи информации в регистратор данных рейса (РДР), интегрированные судовые системы, системы, предназначенные для поддержки процесса принятия решения на судне, с целью предотвращения аварийных ситуаций, подлежат техническому наблюдению Российским Классификационным Обществом, должны соответствовать требованиям
3.29 ч. VIII ПКПС и проверяться в соответствии с
2.20 табл. 9.2.3 Правил.
Требования
3.29 ч. VIII ПКПС не применяются к электронным кренометрам, предназначенным для других целей, например, для мониторинга состояния груза. Такие электронные кренометры должны соответствовать требованиям
1.1.2 ч. VI ПКПС и проверяться в соответствии с
2.25 табл. 9.2.3 Правил.
9.2 ТЕХНИЧЕСКОЕ НАБЛЮДЕНИЕ ЗА ИЗГОТОВЛЕНИЕМ
9.2.1 Техническое наблюдение за изготовлением средств радиосвязи и навигационного оборудования включает в себя:
.1 проверку наличия согласованной технической документации и программы испытаний;
.2 проверку документов на комплектующие изделия (если комплектующие изделия предусмотрены согласованной документацией);
.3 осмотр изделия;
.4 наблюдение за испытаниями.
9.2.2 При осмотре изделия эксперт:
.1 проверяет документы на материалы, примененные при изготовлении;
.2 выполняет наружный и внутренний осмотр изделия;
.3 проверяет правильность функционирования изделия;
.4 проверяет наличие необходимых маркировок и надписей.
9.2.3 Типовые образцы средств связи и навигационного оборудования испытываются по согласованной программе испытаний, разработанной в соответствии с
табл. 9.2.3.
Таблица 9.2.3
Перечень испытаний, проводимых при подтверждении
соответствия требованиям средств радиосвязи
и навигационного оборудования
Объект технического наблюдения | Номера глав (пунктов) приложения 15, в соответствии с требованиями которых проводятся испытания и проверки при одобрении типа изделий и в иных, установленных Правилами случаях, предусматривающих подтверждение соответствия требованиям ПКПС |
1 Средства связи |
1.1 УКВ радиоустановка, в т.ч. оборудование ЦИВ, УКВ-радиотелефонная станция (300,025 - 300,500 МГц) | |
1.2 ПВ, ПВ/КВ-радиоустановка, в т.ч. оборудование ЦИВ и УБПЧ, приемник наблюдения за ЦИВ | |
1.3 Средства спутниковой связи | |
1.4 Приемник РГВ | |
1.5 Приемник КВ буквопечатающий телеграфии для приема ИБМ | |
1.6 Приемник службы НАВТЕКС | |
1.7 Спутниковый АРБ, ПРБ системы КОСПАС-САРСАТ, УКВ аварийный радиобуй (УКВ АРБ) | |
1.8 Устройство определения местонахождения терпящих бедствие (судовое и спасательных средств): радиолокационный ответчик (РЛО) или передатчик автоматической идентификационной системы (АИС) | |
1.9 Стационарная УКВ-аппаратура двусторонней радиотелефонной связи спасательных средств | |
1.10 УКВ-аппаратура двусторонней радиотелефонной связи спасательных средств (носимая). | |
1.11 Носимая УКВ-аппаратура двусторонней радиотелефонной связи | 1 <3>, 2 <3>, 3, 6 - 14.1, 14.2.1, 14.2.2 <3>, 14.2.3, 14.3.1, 14.3.4 <4>, 14.3.5 <3> - 14.3.8 <3>, 14.3.9, 16 <2>, <4>, 17 <2>, <4> |
1.12 Стационарная УКВ-аппаратура двусторонней радиотелефонной связи с воздушными судами | |
1.13 Носимая УКВ-аппаратура двусторонней радиотелефонной связи с воздушными судами | 1 <3>, 2 <3>, 3, 6 - 14.1, 14.2.1, 14.2.2 <3>, 14.2.3, 14.3.1, 14.3.4 <4>, 14.3.5 <3> - 14.3.8 <3>, 14.3.9, 15 <4>, 16 <2>, <4>, 17 <2>, <4> |
1.14 Портативная (носимая) УКВ-радиотелефонная станция (300,025 - 300,225 МГц) | 1 <3>, 2 <3>, 3, 6 - 11, 12 <8>, 13, 14.1, 14.2.1, 14.2.2 <3>, 14.2.3, 14.3.1, 14.3.4 <4>, 14.3.5 <3> - 14.3.8 <3>, 14.3.9, 16 <2>, <4>, 17 <2>, <4> |
1.15 Устройства громкоговорящей связи и трансляции, средства переговорной связи, оборудование внутрисудовой связи | |
1.16 Антенные устройства | |
1.17 Система охранного оповещения | |
1.18 Приборы (преобразователи) для электропитания радиооборудования, зарядные устройства | |
1.19 Устройство отделения и включения свободно всплывающего аварийного радиооборудования | |
1.20 Интегрированная система средств радиосвязи ГМССБ (ИССР) | |
1.21 Иное оборудование, не указанное в настоящей таблице и устанавливаемое в соответствии с 1.3.5 ч VII ПКПС | |
2 Навигационное оборудование |
2.1 Компас магнитный основной | |
2.2 Компас магнитный запасной | |
2.3 Устройство дистанционной передачи курса | |
2.4 Компас гироскопический или другое средство для определения и отображения курса немагнитными средствами | |
2.5 Радиолокационная станция со средством: - электронной прокладки (СЭП) - автосопровождения (САС) | |
2.6 Приемоиндикатор ГЛОНАСС, ГЛОНАСС/GPS, ГАЛИЛЕО и БЕЙДОУ, приемники дифференциальных поправок подсистем ГЛОНАСС (ДГЛОНАСС) и GPS (DGPS) | |
2.7 Электронная картографическая навигационно-информационная система (ЭКНИС), система отображения электронных навигационных карт и информации (СОЭНКИ), электронная картографическая система (ЭКС) и электронная картографическая система на мобильной вычислительной технике (ЭКС МВТ) | |
2.8 Эхолот | |
2.9 Лаг | |
2.10 Аппаратура автоматической идентификационной системы (АИС) | |
2.11 Регистратор данных рейса (РДР и РДР-У) | |
2.12 Аппаратура приема внешних звуковых сигналов | |
2.13 Система сигнализации о несении ходовой вахты | |
2.14 Система автоматического управления судном по курсу и (или) траектории | |
2.15 Радиолокационный отражатель (РЛО) | |
2.16 Аппаратура ночного видения для высокоскоростных судов | |
2.17 Секстан навигационный | |
2.18 Хронометр | |
2.19 Система опознавания судов и слежения за ними на дальнем расстоянии | |
2.20 Электронный кренометр | |
2.21 Интегрированная навигационная система | |
2.22 Многосистемный радионавигационный приемник | |
2.23 Интегрированная система рулевой рубки | |
2.24 Приемоиндикатор глобальной навигационной системы (ГНС) | |
2.25 Иное оборудование, не указанное в настоящей таблице, имеющее в своем составе электрические или электронные компоненты | |
Примечание: При оценке соответствия оборудования следует руководствоваться действующей редакцией указанных в настоящем примечании Рекомендаций Международного союза электросвязи (ITU), стандартов Международной электротехнической комиссии (IEC) и Международной организации по стандартизации (ISO). -------------------------------- <1> Проводятся испытания оборудования, устанавливаемого на открытой (верхней) палубе, а также испытания оборудования, устанавливаемого на верхней палубе и входящего в состав изделия, устанавливаемого во внутренних помещениях судна. <2> Проводятся испытания носимого (переносного) оборудования ГМССБ. Проводятся также испытания оборудования, для которого изготовитель установил требования к устойчивости от воздействия масла (нефти) и/или падения в воду. <3> Проводятся испытания зарядного устройства аккумуляторных батарей, входящего в комплект оборудования. <4> Не проводятся испытания зарядного устройства аккумуляторных батарей, входящего в комплект оборудования. <5> Испытания не проводятся для антенн, в конструкции которых излучающая часть антенны имеет электрическое соединение с корпусом. <6> На испытаниях проверяется только прочность и надежность устройства, предназначенного для крепления оборудования. <7> Проводятся испытания на соответствие требованиям первой характеристической цифры от 0 до 4 кода IP по ГОСТ-14254 (IEC 60529), подтверждающие, что обеспечивается защита людей от доступа к опасным частям. <8> Испытания на воздействие соляного (морского) тумана не проводятся для оборудования, предназначенного для установки на судах, эксплуатирующихся исключительно в водных бассейнах разрядов "Л", "Р", "О" и "М". <9> Проводятся в т.ч. проверки и испытания радиооборудования ГМССБ в соответствии с ITU-R M.489, ITU-R M.493, ITU-R M.541 и IEC 61097-3, IEC 61097-8. <10> Проводятся в т.ч. проверки и испытания примененных в изделии физических интерфейсов и форматов сопряжения, указанных в технической документации на изделие, в соответствии с IEC 61162-1, IEC 61162-2, IEC 61162-3, IEC 61162-450, электронные картографические навигационные системы проверяются в соответствии с приложением 5 к ч. VIII ПКПС. Магнитный компас проверяется только в том случае, если в нем предусмотрена функция генерировать и отправлять данные на другое оборудование. Проверки и испытания управления примененными в изделии аварийными оповещениями проводятся в соответствии с IEC 62923-1 и IEC 62923-2. |
<11> Проводятся в т.ч. проверки и испытания СЗС, применяемых в ГМССБ, в соответствии с IEC 61097-16, СЗС Инмарсат-С проверяется и испытывается в соответствии с IEC 61097-4. <12> Проводятся в т.ч. проверки и испытания радиооборудования ГМССБ в соответствии с ITU-R M.492, ITU-R M.540, ITU-R M.625 и ITU-R M.688. <13> Проводятся в т.ч. проверки и испытания радиооборудования ГМССБ в соответствии с ITU-R M.540, ITU-R M.625 и IEC 61097-6. <14> Проводятся в т.ч. проверки и испытания радиооборудования ГМССБ в соответствии с ITU-R M.633, ITU-R M.690 и IEC 61097-2. <15> Проводятся в т.ч. проверки и испытания радиооборудования ГМССБ: РЛО в соответствии с ITU-R M.628 и IEC 61097-1, АИС в соответствии с ITU-R M.1371 и IEC 61097-14. <16> Проводятся в т.ч. проверки и испытания радиооборудования ГМССБ в соответствии с ITU-R M.489 и IEC 61097-12. <17> Проводятся в т.ч. проверки и испытания радиооборудования ГМССБ в соответствии с IEC 62940. Для функций и блоков ГМССБ, включенных в ИССР, применяются требования, в т.ч. требования к проверкам и испытаниям, установленные к характеристикам и функциям конкретного отдельного радиооборудования ГМССБ. <18> Для РЛС, устанавливаемых на суда классов "О-ПР", "М-ПР" и "М-СП", проводятся в т.ч. проверки и испытания в соответствии с IEC 62288 и IEC 62388. <19> Проводятся в т.ч. проверки и испытания: для всех ГНСС в соответствии с IEC 62288, а также для ГЛОНАСС - IEC 61108-2, для GPS - IEC 61108-1, для ГАЛИЛЕО - IEC 61108-3, для БЕЙДОУ - IEC 61108-5, для ДГЛОНАСС - IEC 61108-2, IEC 61108-4, для DGPS - IEC 61108-1, IEC 61108-4. <20> Проводятся в т.ч. проверки и испытания в соответствии с IEC 61174 и IEC 62288. <21> Проводятся в т.ч. проверки и испытания в соответствии с IEC 62288 и ISO 9875. <22> Проводятся в т.ч. проверки и испытания в соответствии с IEC 62288 и IEC 61023. <23> Проводятся в т.ч. проверки и испытания в соответствии с ITU-R M-1371 и IEC 62288. АИС класса A также проверяется в соответствии с IEC 61993-2. <24> Проводятся в т.ч. проверки и испытания в соответствии с IEC 62288 и дополнительно: РДР - IEC 61996-1, РДР-У - IEC 61996-2. |
<25> Проводятся в т.ч. проверки и испытания в соответствии с IEC 61924-2 и IEC 62288. Функциональные, эксплуатационные и технические требования к системам и оборудованию (в т.ч. требования к проверкам и испытаниям) являющимся частью ИНС или если они не являются частью ИНС, но подключенным к ИНС, должны соответствовать отдельным требованиям, установленным для этих систем и оборудования. <26> Проводятся в т.ч. проверки и испытания в соответствии с IEC 62288 и ISO 14859. <27> Проводятся в т.ч. проверки и испытания в соответствии с IEC 62288 и IEC 62616. <28> Для системы автоматического управления судном: по траектории проводятся проверки и испытания, в т.ч. в соответствии с IEC 62065, для систем управления по курсу, в т.ч. в соответствии с ISO 11674. <29> Проводятся проверки и испытания: пассивного отражателя в соответствии с ISO 8729-1, активного отражателя в соответствии с ITU-R M.1176 и ISO 8729-1. <30> Проводятся проверки и испытания в соответствии с ISO 16273 и IEC 62288. <31> Проводятся в т.ч. проверки и испытания в соответствии с ISO 25862. <32> Проводятся в т.ч. проверки и испытания в соответствии с IEC 62288, а также ISO 22090-1 - устройства, использующие гироскопический принцип и ISO 22090-3 - устройства, использующие принцип ГНСС. <33> Проводятся в т.ч. проверки и испытания в соответствии с IEC 62288 и ISO 8728. Гирокомпасы для высокоскоростных судов проверяются в соответствии с ISO 16328. <34> Проводятся в т.ч. проверки и испытания радиооборудования ГМССБ в соответствии с: ITU-R M.493, ITU-R M.541, ITU-R M.1173, IEC 61097-3, IEC 61097-9, а также: ПВ/КВ радиоустановка проверяется на соответствие ITU-R M.476, ITU-R M.492 и ITU-R M.625, приемник наблюдения за ЦИВ проверяется на соответствие IEC 61097-8 и не проверяется на соответствие IEC 61097-9. <35> Проводятся проверки и испытания только оборудования, устанавливаемого в помещениях, в которых эксплуатируются судовые средства радиосвязи, навигации и системы управления техническими средствами, в составе которых имеются электронные компоненты. |
9.2.4 Серийные изделия подлежат испытаниям в соответствии с
1 -
3 приложения 15.
9.3 ТЕХНИЧЕСКОЕ НАБЛЮДЕНИЕ ЗА МОНТАЖОМ
И ИСПЫТАНИЯМИ НА СУДНЕ
9.3.1 При контроле размещения оборудования, аппаратов и устройств проверяют:
.1 наличие документов, подтверждающих соответствие изделия требованиям Правил;
.2 размещение, монтаж изделий в соответствии с согласованной документацией;
.3 удобство расположения, обслуживания и ремонта передатчиков, приемников, индикаторов, пультов управления, пусковых устройств, преобразователей и пр.;
.4 комплектность эксплуатационных документов.
9.3.2 При контроле монтажных работ проверяют:
.1 надежность крепления аппаратуры;
.2 надежность крепления антенн;
.3 расположение антенн относительно металлических частей судна;
.4 прокладку, крепление и проходы кабелей через непроницаемые палубы и переборки;
.5 соответствие чертежам марок и сечений кабелей;
.6 состояние наружных оболочек кабелей;
.7 запас кабеля перед вводом в аппаратуру;
.8 непрерывность экранирования силовой кабельной сети и радиочастотных кабелей;
.9 заземление оболочек кабельной сети, корпусов радиоаппаратуры на корпус судна;
.10 сопротивление изоляции антенн (за исключением антенн, имеющих короткозамкнутую конструкцию по постоянному току), кабельной сети и источников питания;
.11 наличие ограждений токоведущих и вращающихся частей оборудования;
.12 установку защитных устройств у ввода передатчиков;
.13 значение сопротивления защитного заземления.
9.3.3 Средства радиосвязи и навигационное оборудование после монтажа и регулировки подвергаются швартовным и ходовым испытаниям по программам, согласованным с Российским Классификационным Обществом. Питание аппаратуры должно осуществляться от судовой электрической сети.
9.3.4 При испытании средств радиосвязи выполняют проверку:
.1 параметров и работоспособности по согласованной программе испытаний в соответствии с функциональным назначением радиостанции, с учетом инструкции по эксплуатации;
.2 качества приема и наличия помех во всех диапазонах приемника;
.3 эффективности защиты радиоприема от помех, создаваемых судовым электрическим оборудованием.
9.3.5 При испытании устройства громкоговорящей связи и трансляции проверяют:
.1 правильное функционирование дистанционного управления устройством громкоговорящей связи и трансляции (пуск, выключение, коммутация трансляционных линий, сброс программ и включение системы принудительного вещания) с любого из командных микрофонных постов независимо от того, в каком положении находятся органы управления всех остальных командных микрофонных постов;
.2 качество передачи служебных распоряжений с командных микрофонных постов во все жилые и общественные помещения, а также на открытые палубы судна;
.3 наличие приоритета служебных распоряжений над трансляцией радиовещания и звукозаписи в том случае, если для этих целей не предназначено дополнительное командное трансляционное устройство;
.4 действие световой сигнализации в каждом микрофонном посту, которая должна включаться при пуске командного трансляционного устройства;
.5 сохранение работоспособности трансляционной линии в случае короткого замыкания в ответвлениях к громкоговорителям;
.6 отсутствие штепселей в ответвлениях к громкоговорителям;
.7 отсутствие помех от судового электрического оборудования и средств радиосвязи.
9.3.6 При испытании аварийного радиобуя проверяют:
.1 наличие действующих документов, подтверждающих регистрацию аварийного радиобуя в международном координационно-вычислительном центре системы КОСПАС-САРСАТ и соответствие записей в регистрационных документах о модели, номере изделия и наименовании судна за которым зарегистрирован радиобуй, а также наличие в маркировке буя сведений о дате истечения срока хранения аккумулятора и дате очередного берегового технического обслуживания, которые не должны превышать установленного срока на момент проверки;
.2 наличие документов о проведении проверок испытательной лабораторией.
9.3.7 При испытании навигационного оборудования осуществляют проверку по согласованной программе испытаний в соответствии с его назначением с учетом инструкции по эксплуатации.
10.1.1 Настоящий раздел устанавливает требования по техническому наблюдению за изготовлением и монтажом материалов, указанных в
разд. 10 Номенклатуры.
10.2 ТЕХНИЧЕСКОЕ НАБЛЮДЕНИЕ ЗА ИЗГОТОВЛЕНИЕМ
10.2.1 Техническое наблюдение за изготовлением материалов включает:
.1 проверку наличия согласованной технической документации и программы испытаний;
.2 наблюдение за испытаниями;
.3 освидетельствование при одобрении типа;
.4 освидетельствование при изготовлении, в случае, если это предусмотрено
Номенклатурой.
10.2.2 При техническом наблюдении за изготовлением материалов эксперт проверяет выполненные органами технического контроля организации испытания и приемки в объеме, указанном в технической документации.
10.2.3 Испытания материалов при одобрении типа осуществляются в присутствии эксперта в соответствии с программой испытаний.
Испытания типовых образцов могут быть совмещены с испытаниями с целью получения Свидетельства о признании.
10.2.4 При освидетельствовании металлов и сплавов, поковок и отливок эксперт проверяет:
.1 документы о проведенных испытаниях, предусмотренных Правилами и согласованной технической документацией;
.2 документы организации о проведенной приемке, предусмотренной согласованной технической документацией;
.3 документы, подтверждающие изготовление продукции по согласованному технологическому процессу (в случаях, предусмотренных Правилами);
.4 качество поверхности на отсутствие дефектов (осмотр);
.5 наличие дефектов, их характера и способа устранения;
.6 маркировку.
11 ОБОРУДОВАНИЕ ДЛЯ ПРЕДОТВРАЩЕНИЯ ЗАГРЯЗНЕНИЯ
ОКРУЖАЮЩЕЙ СРЕДЫ С СУДОВ
11.1.1 Настоящий раздел устанавливает требования по техническому наблюдению за изготовлением и испытаниями оборудования для предотвращения загрязнения окружающей среды с судов, а также за монтажом и испытаниями на судах в соответствии с
Номенклатурой.
11.1.2 Изготовление оборудования, деталей и узлов, а также выполнение монтажа осуществляют в соответствии с согласованной с Российским Классификационным Обществом технической документацией, указанной в
приложении 8.
11.1.3 Оборудование должно иметь табличку, на которой указывается назначение оборудования, название организации-изготовителя, тип и модель, заводской номер и год изготовления.
11.2 ТЕХНИЧЕСКОЕ НАБЛЮДЕНИЕ ЗА ИЗГОТОВЛЕНИЕМ
11.2.1 Техническое наблюдение за изготовлением оборудования для предотвращения загрязнения окружающей среды с судов включает:
.1 проверку наличия согласованной технической документации и программы испытаний;
.2 осмотр материала и комплектующих изделий, проверку сопроводительных документов;
.3 проверку изготовленных деталей и узлов на соответствие технической документации, согласованной с Российским Классификационным Обществом;
.4 проверку сварочных работ;
.5 гидравлические испытания;
.6 проверку оборудования в действии.
11.2.2 Элементы систем, входящих в состав оборудования, подвергаются гидравлическим испытаниям в соответствии с требованиями
разд. 6.
11.2.3 Типовой образец оборудования подвергается испытаниям по программе, согласованной с Российским Классификационным Обществом, на стенде.
При замене испытаний на стенде испытаниями на борту судна они проводятся по программе-методике, согласованной с Российским Классификационным Обществом.
Объем приемо-сдаточных испытаний серийных изделий устанавливается при составлении и согласовании программы испытаний с учетом результатов испытаний типового изделия.
11.2.4 Качество монтажа трубопроводов, арматуры и кабелей проверяется наружным осмотром. Плотность соединений арматуры и трубопроводов проверяется при гидравлических испытаниях.
11.2.5 Предохранительные устройства фильтрующего оборудования и установки для обработки сточных вод проверяются на срабатывание при давлении, не превышающем 1,1 рабочего.
11.2.6 Перед началом монтажа футеровки инсинератора осматривают стенки, которые не должны иметь бухтин, прогибов и неровностей, превышающих 10 мм на 1 м.
После монтажа визуально проверяется качество выполненной футеровки инсинератора, при этом поверхность кирпичной кладки должна быть ровной. Отдельные уступы по стыкам не должны быть более 3 мм, и неровность не должна быть более 10 мм на 1 м. Футеровка или отдельные ее части не должны смещаться.
Отклонение диаметра фурменного отверстия от заданных размеров не должно превышать +/- 5 мм, а несовпадение осей фурменного отверстия и форсунки - 2 мм.
После окончательной сборки проводят испытание кожуха инсинератора на плотность воздухом (если это предусмотрено технической документацией). При этом давление и возможные протечки воздуха должны отвечать требованиям технической документации, согласованной с Российским Классификационным Обществом.
11.3 ТЕХНИЧЕСКОЕ НАБЛЮДЕНИЕ ЗА МОНТАЖОМ
И ИСПЫТАНИЯМИ НА СУДНЕ
11.3.1 При проверке монтажа оборудования эксперт контролирует соответствие выполненных работ требованиям технической документации, согласованной с Российским Классификационным Обществом.
11.3.2 Отстойные танки, цистерны изолированного балласта, сборные цистерны нефтесодержащих и сточных вод проверяются на соответствие рабочей документации, согласованной с Российским Классификационным Обществом, и испытываются на непроницаемость на стадии формирования корпуса.
Конструкции, оборудование и системы считаются выдержавшими испытания, если не будет обнаружено течи или отпотевания в сварных швах, пропусков воды в вальцовочных соединениях труб, а также в присоединительных фланцах и соединениях контрольно-измерительных приборов.
11.3.3 При проверке монтажа шлангов, входящих в судовое снабжение и используемых для перекачки нефти, нефтесодержащих или сточных вод, проверяется маркировка, позволяющая идентифицировать изделия, а также документы организации-изготовителя, в которых должно быть указано:
вид жидкости, допускаемой для перекачки по шлангу;
дата изготовления;
рабочее давление;
дата испытаний и пробное давление при этих испытаниях.
11.3.4 После завершения работ по монтажу и гидравлических испытаний проводится проверка оборудования в действии по согласованной с Российским Классификационным Обществом программе, составленной с учетом требований, установленных в
приложении 18.
(обязательное)
НОМЕНКЛАТУРА ОБЪЕКТОВ ТЕХНИЧЕСКОГО НАБЛЮДЕНИЯ,
ОСУЩЕСТВЛЯЕМОГО РОССИЙСКИМ КЛАССИФИКАЦИОННЫМ ОБЩЕСТВОМ
1 В настоящей Номенклатуре
(табл. П1.1) устанавливается перечень объектов, за изготовлением, монтажом и испытаниями которых в соответствии с Правилами осуществляет техническое наблюдение Российское Классификационное Общество, выполняя в установленных в настоящей Номенклатуре случаях их клеймение, а также применимые формы технического наблюдения. Номера разделов
табл. П1.1, за исключением
разд. 11, повторяют номера соответствующих частей
ПКПС.
2 В настоящей Номенклатуре приняты следующие условные обозначения:
Р - техническое наблюдение, осуществляемое Российским Классификационным Обществом;
ОР - техническое наблюдение, осуществляемое совместно Российским Классификационным Обществом и персоналом организации;
ОТ - техническое наблюдение в форме одобрения типа;
ПД - техническое наблюдение в форме признанной документации;
К - клеймение. При техническом наблюдении в форме ОР клеймение не выполняется.
Таблица П1.1
Номенклатура объектов технического наблюдения
Объект технического наблюдения | Форма технического наблюдения, осуществляемого Российским Классификационным Обществом |
при изготовлении | Клеймение | при постройке судна |
| Швартовные испытания | |
| |
1 | 2 | 3 | 4 | 5 | 6 | 7 |
1 Корпус судна и его оборудование |
1.1 Обшивка наружная с набором. Палубы и платформы | - | Р | - | Р | - | - |
1.2 Дно второе, борта внутренние | - | Р | - | Р | - | - |
1.3 Переборки продольные и поперечные, встроенные и вкладные цистерны. Фермы и пиллерсы | - | Р | - | Р | - | - |
1.4 Тоннели гребных валов | - | Р | - | Р | - | - |
1.5 Надстройки, рубки, комингсы грузовых трюмов | - | Р | - | Р | - | - |
1.6 Фундаменты под главные и вспомогательные двигатели и котлы | - | Р | - | Р | - | - |
1.7 Штевни, кили, кронштейны гребных валов | - | Р | - | Р | - | - |
1.8 Устройства крыльевые СПК, ограждения гибкие СВП | - | Р | - | Р | Р | Р |
1.9 Дейдвудные и гельмпортовые трубы, насадки неповоротные, трубы и каналы водометные | - | Р | - | Р | - | - |
1.10 Ограждения, поручни, переходные мостики: | | | | | | |
.1 фальшборт, ограждение леерное, поручни, мостики переходные | - | Р | - | Р | - | - |
.2 комингсы, тамбуры и другие ограждения отверстий в корпусе судна | - | ПД | - | Р | - | - |
1.11 Объемные элементы (модули плавучести) из неметаллических материалов, для изготовления (формирования) корпуса | Р | Р/ОР | - | Р | - | - |
(п. 1.11 введен Извещением, утв. Приказом ФАУ "Российское Классификационное Общество" от 11.11.2024 N 84-п) |
3 Противопожарная защита |
3.1 Конструктивная противопожарная защита: | | | | | | |
.1 переборки и палубы противопожарные | Р | ОТ | - | Р | - | - |
.2 двери противопожарные | Р | Р/ОР | - | Р | Р | - |
.3 пожарные заслонки | - | ПД | - | Р | - | - |
.4 огнестойкие перекрытия | Р | ОТ | - | Р | - | - |
.5 проходы (вырезы) в огнестойких перекрытиях классов "A", "B" и "C", в т.ч.: электрических кабелей; трубопроводов; шахт; каналов; вентиляции; арматуры освещения и других подобных устройств (в зависимости от класса перекрытия) | Р | ОТ | - | Р | - | - |
.6 системы сигнализации и управления противопожарными дверьми | Р | ОТ | - | Р | Р | Р |
.7 огнепреградители | Р | ОТ | - | Р | - | - |
(пп. 7 в ред. Извещения, утв. Приказом ФАУ "Российское Классификационное Общество" от 11.11.2024 N 84-п) |
.8 (признан утратившим силу) |
3.2 Противопожарное оборудование и системы пожаротушения | | | | | | |
3.2.1 Системы пожаротушения, водораспыления и инертных газов | - | ПД | - | Р | Р | - |
3.2.2 Изделия и арматура для систем пожаротушения, водораспыления и инертных газов: | | | | | | |
.1 резервуары для хранения огнетушащего вещества | - | ПД | - | Р | - | - |
.2 пневмогидравлические цистерны | - | Р/ОР | - | Р | - | - |
.3 сосуды и аппараты, работающие под давлением в системах пожаротушения | Р | Р/ОР | - | Р | Р | - |
.4 баллоны углекислого газа, сжатого воздуха и азота | Р | Р/ОР | - | Р | - | - |
.5 насосы систем пожаротушения | Р | Р/ОР | - | Р | Р | - |
.6 арматура систем пожаротушения, водораспыления и инертных газов | Р | ОТ | - | Р | - | - |
.7 пеногенераторы | - | ПД | - | Р | - | - |
.8 генераторы аэрозоля | Р | ОТ | - | Р | - | - |
.9 мотопомпы | Р | Р/ОР | - | Р | Р | - |
.10 пенообразователь | Р | ОТ | - | Р | - | - |
.11 газоанализаторы | - | ПД | - | Р | - | - |
.12 распылители для систем водораспыления и водяного тумана | - | ПД | - | Р | Р | - |
.13 стволы комбинированного типа (дающие как распыленную, так и компактную струю) | - | ПД | - | Р | Р | - |
.14 переносной пенный комплект | Р | ОТ | - | Р | Р | - |
3.2.3 Устройства безопасности в газоотводных системах для предотвращения прохождения пламени в грузовые танки танкеров | Р | ОТ | - | Р | Р | Р |
(п. 3.2.3 в ред. Извещения, утв. Приказом ФАУ "Российское Классификационное Общество" от 11.11.2024 N 84-п) |
3.3 Установки, используемые для хозяйственных нужд, бытовые установки и системы пожаротушения | | | | | | |
3.3.1 Системы газообразного топлива, используемого для хозяйственных нужд | - | Р | - | Р | Р | - |
| | ИС МЕГАНОРМ: примечание. В официальном тексте документа, видимо, допущена опечатка: п. 2.3.3 отсутствует. | |
|
.1 оборудование для систем газообразного топлива, используемого для хозяйственных нужд, за исключением указанного в 2.3.3 | - | Р/ОР | - | Р | Р | - |
3.3.2 Система пожаротушения каналов вытяжной вентиляции камбузных плит | - | Р | - | Р | Р | - |
.1 оборудование для систем автоматического или ручного пожаротушения каналов вытяжной вентиляции камбузных плит | - | Р/ОР | - | Р | - | - |
3.3.3 Бытовые нагревательные установки, работающие на газе, жидком или твердом топливе: | | | | | | |
.1 плиты камбузные | Р | ОТ | - | Р | Р | - |
.2 установки сжиженного газа бытовые | Р | Р/ОР | - | Р | Р | - |
.3 грелки и печи, регламентированные Правилами | - | ПД | - | Р | Р | - |
3.4 Пожарная сигнализация | | | | | | |
3.4.1 Системы сигнализации обнаружения пожара, оповещения о пожаре и предупреждения о пуске средств объемного пожаротушения, в том числе: | Р | ОТ | - | Р | Р | Р |
.1 дымовые, световые, тепловые, ручные извещатели | Р | ОТ | - | Р | Р | Р |
.2 приборы и аппаратура для систем автоматического пожаротушения и пожарной сигнализации | Р | ОТ | - | Р | Р | Р |
.3 устройства сигнально-пусковые охранно-пожарные | Р | ОТ | - | Р | Р | Р |
3.5 Противопожарное снабжение | | | | | | |
.1 противопожарное снабжение, за исключением указанного в 3.5.2 | - | - | - | Р | - | - |
.2 автономные дыхательные аппараты, входящие в комплекты снаряжения для пожарного | Р | ОТ | - | Р | - | - |
4 Энергетическая установка и системы |
4.1 Двигатели главные и вспомогательные: | Р | Р/ОР | К | Р | Р | Р |
| - | Р/ОР | - | - | - | - |
.2 картеры | - | Р/ОР | - | - | - | - |
.3 блок цилиндров | - | Р/ОР | - | - | - | - |
.4 втулки цилиндров | - | Р/ОР | - | - | - | - |
.5 крышки цилиндров | - | Р/ОР | - | - | - | - |
.6 связи анкерные | - | ПД | - | - | - | - |
.7 поршни | - | Р/ОР | - | - | - | - |
.8 поршневые пальцы | - | ПД | - | - | - | - |
.9 шатуны | - | Р/ОР | - | - | - | - |
.10 валы коленчатые | - | Р/ОР | К | - | - | - |
.11 подшипники коренные, шатунные, верхней головки шатуна | - | Р/ОР | - | - | - | - |
.12 болты и шпильки коренных подшипников, цилиндровых крышек | - | ПД | - | - | - | - |
.13 вал распределительный | - | Р/ОР | - | - | - | - |
.14 регуляторы частоты вращения, предельные выключатели | - | Р/ОР | - | - | - | - |
.15 болты шатунные | - | Р/ОР | - | - | - | - |
.16 насосы: топливный, масляный, охлаждения | - | Р/ОР | - | - | - | - |
.17 турбонагнетатель | Р | Р/ОР | - | - | - | - |
.18 шестерни привода распределительного вала | - | ПД | - | - | - | - |
.19 демпферы (антивибраторы) | - | Р/ОР | - | - | - | - |
4.2 Валопроводы: | - | ПД | - | Р | Р | Р |
.1 валы упорные, промежуточные, гребные | - | Р/ОР | - | Р | - | - |
.2 облицовка и гидроизоляция гребных валов | - | ПД | - | Р | - | - |
.3 подшипники упорные и опорные | - | Р/ОР | - | Р | - | - |
.4 подшипники гребных валов | - | Р/ОР | - | Р | - | - |
.5 муфты соединительные валов валопровода | - | Р/ОР | - | Р | - | - |
.6 дейдвудные устройства и переборочные уплотнения дейдвудных устройств | - | Р/ОР | - | Р | - | - |
.7 болты соединительные валопроводов | - | ПД | - | Р | - | - |
4.3 Передачи и муфты разобщительные главных двигателей: | Р | Р/ОР | К | Р | Р | Р |
.1 корпуса редукторов и муфт | - | Р/ОР | - | - | - | - |
.2 колеса зубчатые | - | Р/ОР | - | - | - | - |
.3 валы редукторов | - | Р/ОР | - | - | - | - |
4.4 Движители: | | | | | | |
.1 винты гребные | - | Р/ОР | К | Р | Р | Р |
.2 движители крыльчатые | - | Р/ОР | К | Р | Р | Р |
.3 водометные движители | - | Р/ОР | К | Р | Р | Р |
.4 винты воздушные | - | Р/ОР | К | Р | Р | Р |
4.5 Компрессоры, насосы, вентиляторы и сепараторы | Р | Р/ОР | К | Р | Р | Р |
4.5.1 Компрессоры воздушные с приводом от источника энергии: | Р | Р/ОР | К | Р | Р | Р |
.1 коленчатые валы компрессоров, насосов | - | Р/ОР | - | - | - | - |
.2 валы компрессоров, насосов, вентиляторов и сепараторов | - | Р/ОР | - | - | - | - |
.3 рабочие колеса, крылатки компрессоров, насосов, вентиляторов и сепараторов | - | Р/ОР | - | - | - | - |
.4 штоки поршневые компрессоров, насосов | - | Р/ОР | - | - | - | - |
.5 шатуны компрессоров, насосов | - | Р/ОР | - | - | - | - |
.6 поршни компрессоров, насосов | - | Р/ОР | - | - | - | - |
.7 втулки цилиндровые компрессоров, насосов | - | Р/ОР | - | - | - | - |
.8 крышки цилиндров компрессоров, насосов | - | Р/ОР | - | - | - | - |
.9 блоки цилиндров компрессоров | - | Р/ОР | - | - | - | - |
4.5.2 Насосы, за исключением насосов с ручным приводом | Р | Р/ОР | - | Р | Р | Р |
4.5.3 Насосы с ручным приводом и эжекторы | - | ПД | - | Р | Р | - |
4.5.4 Вентиляторы, входящие в состав систем, регламентированных Правилами | Р | Р/ОР | - | Р | Р | Р |
4.5.5 Сепараторы | Р | Р/ОР | - | Р | Р | Р |
4.5.6 Воздушные нагнетатели для судов с динамическим принципом поддержания | - | Р/ОР | - | Р | Р | Р |
4.6 Котлы, теплообменные аппараты и сосуды под давлением | | | | | | |
4.6.1 Паровые котлы | Р | Р/ОР | К | Р | Р | Р |
.1 корпуса, обечайки, днища и барабаны | - | Р/ОР | - | - | - | - |
.2 коллекторы и камеры | - | Р/ОР | - | - | - | - |
.3 трубы жаровые | - | Р/ОР | - | - | - | - |
.4 связи котельные | - | Р/ОР | - | - | - | - |
.5 устройства топочные | - | Р/ОР | - | - | - | - |
.6 экономайзеры | - | Р/ОР | - | - | - | - |
.7 паросборники | - | Р/ОР | - | - | - | - |
.8 пароперегреватели | - | Р/ОР | - | - | - | - |
4.6.2 Аппараты теплообменные и сосуды под давлением, которые в рабочем состоянии полностью или частично заполнены газом или паром с рабочим давлением 0,07 МПа и более, вместимостью 0,025 м3 и более или с произведением рабочего давления, МПа, на вместимость, м3, составляющим 0,03 МПа·м3 и более: | | | | | | |
.1 подогреватели топлива и масла, судовые подогреватели воды | Р | ОТ | - | Р | Р | - |
.2 испарители паровых котлов | Р | ОТ | - | Р | Р | - |
.3 охладители топлива, масла и воды главных и вспомогательных двигателей | Р | ОТ | - | Р | Р | Р |
.4 конденсаторы паровые | Р | ОТ | - | Р | Р | - |
.5 фильтры топлива, масла и воды | - | ПД | - | Р | Р | - |
.6 сосуды под давлением | Р | Р/ОР | К | Р | Р | - |
4.6.3 Арматура: | | | | | | |
.1 арматура для котлов, сосудов под давлением и теплообменных аппаратов | Р | ОТ | - | - | Р | - |
.2 клапаны предохранительные | Р | ОТ | - | - | Р | Р |
4.7 Холодильные установки: | Р | Р/ОР | - | Р | Р | - |
.1 компрессоры холодильного агента | Р | Р/ОР | - | Р | Р | - |
.2 насосы холодильного агента, жидкого хладоносителя, охлаждающей воды | Р | Р/ОР | - | Р | Р | - |
.3 теплообменные и другие аппараты, а также сосуды, работающие под давлением холодильного агента, жидкого хладоносителя или охлаждающей воды | Р | ОТ | - | Р | Р | - |
.4 арматура | Р | ОТ | - | Р | Р | - |
.5 изоляция охлаждающих помещений, трубопроводов и оборудования судовых холодильных установок | - | ПД | - | Р | Р | - |
4.8 Установки кондиционирования воздуха жилых и служебных помещений | - | Р/ОР | | Р | Р | Р |
4.9 Системы | | | | | | |
4.9.1 Системы общесудовые, в том числе осушительная, балластная, система жидких грузов, подогрева груза, инертных газов, задымления, вентиляции взрывоопасных помещений, газоотвода нефтеналивных судов; системы воздушных, газоотводных, переливных и измерительных трубопроводов, система вентиляции; система парового отопления | - | Р | - | Р | Р | Р |
4.9.2 Системы энергетической установки, в том числе топливная, масляная, охлаждения, сжатого воздуха, питательной воды, газовыпускная, паропроводов и продувания | - | Р | - | Р | Р | Р |
4.9.3 Арматура, предназначенная для давления 1,0 МПа и более, в том числе трубы и арматура трубопроводов классов I и II донная, бортовая, а также арматура, устанавливаемая на таранной переборке | Р | ОТ | - | Р | Р | Р |
4.9.4 Изделия и арматура судовых систем гидравлики: золотники, клапаны судовых систем гидравлики, насосные агрегаты судовых систем гидравлики, манипуляторы судовые, переключатели, дроссели судовые, гидромоторы судовые, фильтры гидравлические, пневмогидроаккумуляторы, гидромашинки, гидроцилиндры | Р | ОТ | - | Р | - | - |
4.9.5 Соединения трубопроводов | - | ПД | - | Р | Р | - |
4.9.6 Арматура ручная, дистанционно управляемая и автоматическая, в том числе | Р | ОТ | - | Р | - | - |
.1 узлы и детали судовой арматуры | - | ПД | - | Р | - | - |
4.9.7 Гибкие соединения и шланги судовые | - | ПД | - | Р | - | - |
4.9.8 Компенсаторы | - | ПД | - | Р | - | - |
4.9.9 Глушители и искрогасители газовыпускных систем и дымоходов | Р | ОТ | - | Р | Р | Р |
4.9.10 Газовыпускные трубопроводы из композитных и силиконовых материалов, резины, пластика и т.п. материалов | - | ПД | - | Р | Р | Р |
4.10 Автоматизация: | | | | | | |
.1 системы индикации, АПС и защиты энергетических установок и их элементов, устройства для экстренной остановки главных двигателей | Р | Р/ОР | - | Р | Р | Р |
.2 системы автоматизации и управления главными двигателями (гребной электрической установкой) и движителями | Р | Р/ОР | - | Р | Р | Р |
.3 системы автоматизации и управления вспомогательными двигателями, устройства для автоматической остановки судовых технических средств вспомогательного назначения | Р | Р/ОР | - | Р | Р | Р |
.4 системы управления судовыми техническими средствами (в том числе, контроллеры и элементы систем автоматики) | Р | Р/ОР | - | Р | Р | Р |
4.11 Амортизаторы (виброизоляторы) | - | ПД | - | - | - | - |
4.12 Дизель-генераторы, дизель-редукторные, дизель-компрессорные и дизель-насосные агрегаты | Р | Р/ОР | - | Р | Р | Р |
5 Судовые устройства и снабжение |
5.1 Устройства рулевые, в том числе: | - | ПД | - | Р | Р | Р |
.1 баллеры и рудерписы | Р | Р/ОР | К | Р | - | - |
.2 перо руля и поворотная насадка в сборе | Р | Р/ОР | - | Р | - | - |
.3 подшипники баллеров | Р | Р/ОР | - | Р | - | - |
.4 детали соединений: баллеров, баллера с пером руля, с поворотной насадкой, румпеля или сектора с баллером | - | ПД | - | Р | - | - |
.5 румпели, секторы | - | ПД | - | Р | - | - |
.6 ограничители перекладки пера руля, поворотной насадки и их детали | - | ПД | - | Р | - | - |
.7 детали валиковой проводки рулевых приводов | - | ПД | - | Р | - | - |
.8 детали штуртросной проводки | - | ПД | - | Р | - | - |
.9 системы рулевого управления, приводы рулевые и машины рулевые | - | Р/ОР | - | Р | Р | Р |
5.2 Средства активного управления судами | | | | | | |
5.2.1 Винто-рулевые колонки в сборе, подруливающие устройства | Р | Р/ОР | - | Р | Р | Р |
.1 узлы и детали, применяемые в качестве составных элементов винто-рулевых колонок и подруливающих устройств | - | Р/ОР | - | - | - | - |
5.3 Устройства якорные: | - | Р | - | Р | Р | Р |
.1 якоря | Р | Р/ОР | К | Р | - | - |
.2 цепи якорные и детали их соединения | Р | Р/ОР | К | Р | - | - |
.3 стопоры якорные | Р | Р/ОР | - | Р | - | - |
.4 устройство для отдачи коренного конца якорной цепи или каната | Р | Р/ОР | - | Р | - | - |
.5 клюзы якорные палубные и бортовые | - | - | - | Р | - | - |
.6 брашпили, шпили и лебедки якорные | Р | Р/ОР | - | Р | Р | Р |
5.4 Устройства швартовные: | - | Р | - | Р | Р | - |
.1 кнехты, утки, киповые планки, роульсы и стопоры | - | ПД | - | Р | Р | - |
.2 шпили и лебедки швартовные | Р | Р/ОР | К | Р | Р | - |
5.5 Устройства буксирные и сцепные: | - | Р | - | - | Р | Р |
.1 битенги, кнехты, киповые планки, клюзы, стопоры, роульсы, утки | - | ПД | - | Р | - | Р |
.2 гаки буксирные | Р | Р/ОР | К | Р | - | - |
.3 дуги буксирные с деталями крепления их к корпусу, арки буксирные | - | ПД | - | Р | - | - |
.4 устройство для отдачи буксирного каната | - | ПД | - | Р | Р | - |
.5 автосцепы торцовые и бортовые | Р | Р/ОР | К | Р | Р | Р |
.6 натяжные станции, канатоукорачивающие устройства, амортизаторы | Р | Р/ОР | - | Р | Р | Р |
.7 поворотно-упорные устройства | Р | Р/ОР | - | Р | Р | Р |
.8 лебедки буксирные | Р | Р/ОР | К | Р | Р | Р |
5.6 Устройства грузоподъемные (краны, стрелы грузовые, лифты): | Р | Р/ОР | К | Р | Р | - |
.1 металлоконструкции | Р | Р/ОР | - | Р | Р | - |
.2 (признан утратившим силу) | | | | | | |
.3 кабины управления | Р | Р/ОР | - | Р | Р | - |
.4 ограждения | Р | Р/ОР | - | Р | Р | - |
.5 съемные детали | - | ПД | - | Р | Р | - |
.6 гаки | Р | Р/ОР | К | Р | Р | - |
.7 оборудование лифтов (шахтные двери, противовесы, буфера, устройства безопасности) | Р | ОТ | - | Р | Р | Р |
.8 механизмы грузоподъемных устройств | Р | ОТ | - | Р | Р | - |
.9 грузовые и мачтовые устройства судовые | - | ПД | - | Р | Р | - |
.10 краны, кран-балки, тельферы судовые | Р | Р/ОР | - | Р | - | - |
.11 элеваторы и другие погрузочно-разгрузочные механизмы судовые | Р | Р/ОР | - | Р | - | - |
.12 цепи приводные, тяговые и грузовые пластинчатые | - | ПД | - | Р | Р | - |
5.7 Устройства для подъема рулевой рубки, устройства люковых закрытий: | - | Р | - | Р | Р | - |
.1 металлоконструкции | - | ПД | - | Р | Р | - |
.2 (признан утратившим силу) | | | | | | |
.3 механизмы подъема | Р | Р/ОР | - | Р | Р | - |
.4 оборудование люковых закрытий (лебедки, приводы и т.д.) | Р | Р/ОР | К | Р | Р | - |
5.8 Спасательные средства: | - | - | - | - | Р | - |
.1 шлюпки, плоты и приборы спасательные | Р | Р/ОР | К | Р | Р | - |
.2 шлюпбалки и спусковые устройства спасательных шлюпок и плотов, в том числе спусковые устройства для скоростных дежурных шлюпок, спусковые устройства для спуска методом свободного всплытия спасательных средств, гидростатические разобщающие устройства, в том числе разобщающая система для спасательных шлюпок, спускаемых методом свободного падения, разобщающий механизм для спасательных и дежурных шлюпок, спасательных плотов, спускаемых с помощью лопаря или лопарей, спусковое (эвакуационное) устройство | Р | Р/ОР | - | Р | Р | - |
.3 шлюпочный привод, в том числе двигатели для спасательных и дежурных шлюпок, подвесные моторы для дежурных шлюпок | Р | ОТ | - | Р | Р | - |
.4 устройство управления спуском танкерных шлюпок | - | ПД | - | Р | Р | - |
.5 снабжение шлюпок и плотов | - | ПД | - | Р | - | - |
.6 круги, жилеты (в том числе для детей), плавучие спасательные лини, гидрокостюмы спасательные, теплозащитные средства | Р | Р/ОР | - | Р | - | - |
.7 лебедки шлюпочные, лебедки топенантные, спасательные | Р | Р/ОР | К | Р | Р | - |
.8 линеметательные устройства | - | Р/ОР | - | - | - | - |
.9 автоматически действующие шашки для спасательных кругов | Р | Р/ОР | - | - | - | - |
.10 радиолокационные отражатели для спасательных средств | Р | ОТ | - | - | Р | - |
(пп. 10 в ред. Извещения, утв. Приказом ФАУ "Российское Классификационное Общество" от 11.11.2024 N 84-п) |
5.9 Сигнальные средства: | - | - | - | - | Р | Р |
.1 рангоут и такелаж сигнальных мачт | - | ПД | - | Р | - | - |
.2 фонари сигнально-отличительные | Р | Р/ОР | К | Р | Р | Р |
.3 средства сигнальные звуковые | Р | Р/ОР | К | Р | Р | Р |
| | ИС МЕГАНОРМ: примечание. Нумерация пунктов дана в соответствии с официальным текстом документа. | |
|
.5 самозажигающиеся огни спасательных средств | - | Р/ОР | - | Р | - | - |
.6 фигуры сигнальные | - | ПД | - | - | - | - |
.7 сигнальные пиротехнические средства | Р | ОТ | - | Р | - | - |
5.10 Навигационное снабжение | - | - | - | - | Р | - |
5.11 Аварийное снабжение | - | - | - | Р | - | - |
5.12 Канаты судовые всех назначений (стальные, растительные и синтетические) | Р | Р/ОР | - | Р | Р | - |
5.13 Дельные вещи, оборудование помещений и закрытия отверстий в корпусе, палубах, надстройках и рубках: | | | | | | |
.1 горловины | Р | Р/ОР | - | Р | Р | - |
.2 водогазонепроницаемые и проницаемые двери (в том числе водогазонепроницаемые двери с клиновыми задрайками, клинкетные двери, проницаемые каютные створчатые и задвижные двери, камбузные двери, проницаемые двери общего назначения) с органами и приводами управления закрытия дверей, средствами индикации и сигнализации, закрытия лацпортов | Р | Р/ОР | - | Р | Р | - |
.3 иллюминаторы, окна и световые люки, навесные съемные внутренние штормовые крышки | Р | Р/ОР | - | Р | Р | - |
.4 сходные трапы (наклонные и вертикальные), забортные, лоцманские штормтрапы, посадочные штормтрапы, устройства для передачи лоцмана | - | ПД | - | Р | - | - |
.5 леерные и тентовые стойки, стойки штормовых лееров | - | ПД | - | Р | - | - |
.6 разные дельные вещи: винтовые талрепы, такелажные скобы, коуши, глаголь-гаки, храпцы, люверсы, уплотнительные прокладки, крепежные изделия, мелкие дельные вещи (дверцы, форточки, шторки и др.) и т.п. | - | ПД | - | Р | Р | - |
.7 крышки грузовых люков | Р | Р/ОР | - | Р | Р | - |
.8 крышки сходных, световых, вентиляционных люков, горловин и цистерн | Р | Р/ОР | - | Р | Р | |
.9 раструбы и головки вентиляционные | - | ПД | - | Р | Р | - |
.10 приводы закрытий грузовых трюмов | Р | Р/ОР | К | Р | Р | |
6 Электрическое оборудование |
6.1 Установка гребная электрическая: | | | | Р | Р | Р |
.1 гребные электрические двигатели | Р | Р | К | Р | Р | Р |
6.2 Источники электрической энергии основные и аварийные: | | | | | | |
.1 генераторы | Р | Р/ОР | К | Р | Р | Р |
.2 аккумуляторные батареи | Р | Р/ОР | - | Р | Р | Р |
.3 источники бесперебойного питания | Р | ОТ | - | Р | Р | Р |
.4 статические источники энергии <1> | Р | ОР | - | Р | Р | Р |
6.3 Трансформаторы силовые и осветительные, преобразователи электрической энергии: | | | | | | |
.1 трансформаторы | Р | Р/ОР | - | Р | Р | Р |
.2 преобразователи вращающиеся и статические (выпрямители, инверторы, преобразователи частоты, устройства плавного пуска) | Р | Р/ОР | - | Р | Р | Р |
.3 усилители электромашинные | Р | Р/ОР | - | Р | Р | Р |
6.4 Устройства распределительные (щиты распределительные главные и аварийные, щиты распределительные, пульты контроля, управления и сигнализации): | - | Р | - | Р | Р | Р |
.1 аппаратура защитная, регулировочная и коммутационная (автоматические выключатели, разъединители, реле, выключатели, предохранители и др.) | Р | ОТ | - | - | - | - |
.2 реакторы, конденсаторные установки повышения коэффициента мощности | Р | ОТ | - | Р | - | - |
.3 (признан утратившим силу) | | | | | | |
.4 корпуса распределительных щитов и электрошкафов | Р | ОТ | - | - | - | - |
6.5 Электрические двигатели постоянного и переменного тока мощностью 0,5 кВт и более: | | | | | | |
.1 ответственных судовых технических средств | Р | Р/ОР | - | Р | Р | Р |
.2 неответственных судовых технических средств | Р | ОТ | - | Р | Р | - |
6.6 Аппаратура пусковая электродвигателей | Р | ОТ | - | Р | Р | Р |
6.7 Освещение основное помещений и мест расположения ответственных устройств, путей эвакуации и аварийное освещение: | | | | | | |
.1 светильники стационарные | Р | ОТ | - | Р | Р | Р |
.2 арматура установочная сетей освещения (выключатели, розетки, соединительные/ответвительные коробки) | Р | ОТ | - | Р | Р | Р |
.3 световые эвакуационные указатели (фотолюминесцентные и электрические) | Р | ОТ | - | Р | - | - |
.4 безопасные электрические лампы (ручные фонари), аккумуляторные фонари | - | ПД | - | Р | - | - |
.5 прожекторы | Р | ОТ | - | Р | Р | Р |
6.8 Телеграфы электрические машинные, указатели положения пера руля и лопастей ВРШ, тахометры гребного вала | Р | Р/ОР | - | Р | Р | Р |
6.9 Связь служебная телефонная | Р | Р/ОР | - | Р | Р | Р |
6.10 Сигнализация авральная (приборы и замыкатели световых и звуковых сигналов) | Р | ОТ | - | Р | Р | - |
6.11 Сигнализация непроницаемых дверей | Р | ОТ | - | Р | Р | Р |
6.12 (признан утратившим силу) |
6.13 Сеть кабельная: | | | | | | |
.1 кабели цепей питания | Р | ОР | - | Р | Р | Р |
.2 провода | Р | ОР | - | Р | Р | Р |
.3 кабели цепей управления и передачи информации | Р | ОР | - | Р | Р | Р |
.4 арматура кабельная (устройства и изделия для соединения и подключения кабелей) | Р | ОТ | - | Р | Р | Р |
6.14 Устройства молниеотводные и заземления, катодная защита; устройства заземления корпуса судна на нефтеналивных судах | - | ПД | - | Р | - | - |
6.15 Подогреватели электрические топлива и масла | Р | Р/ОР | - | Р | Р | Р |
6.16 Электрические нагревательные и отопительные приборы: | | | | | | |
.1 грелки, электрокамины, камбузные электронагревательные приборы, электроводонагревательные устройства | Р | Р/ОР | - | Р | Р | Р |
.2 кабели нагрева | Р | Р/ОР | - | Р | Р | Р |
6.17 Электрооборудование грузоподъемных устройств | Р | ОТ | - | Р | - | - |
6.18 Электрооборудование установок кондиционирования воздуха | Р | Р/ОР | - | Р | Р | Р |
6.19 Датчики систем управления и АПС | Р | ОТ | - | Р | Р | Р |
6.20 Исключен с 14.11.2024. - Извещение, утв. Приказом ФАУ "Российское Классификационное Общество" от 11.11.2024 N 84-п. |
6.21 Система внешнего/внутреннего видеонаблюдения: | Р | ОР | - | Р | Р | Р |
.1 видеокамеры | Р | ОТ | - | - | - | - |
.2 видеотерминалы | Р | ОТ | - | - | - | - |
.3 датчики и другие элементы | Р | ОТ | - | - | - | - |
7 Средства радиосвязи |
7.1 УКВ радиоустановка, УКВ-радио-телефонная станция | Р | Р/ОР | - | Р | Р | Р |
(п. 7.1 в ред. Извещения, утв. Приказом ФАУ "Российское Классификационное Общество" от 11.11.2024 N 84-п) |
7.2 ПВ, ПВ/КВ-радиоустановка | Р | Р/ОР | - | Р | Р | Р |
7.3 Средства спутниковой связи | Р | Р/ОР | - | Р | Р | Р |
7.4 Приемник РГВ | Р | Р/ОР | - | Р | Р | Р |
7.5 Приемник КВ буквопечатающий телеграфии для приема ИБМ | Р | Р/ОР | - | Р | Р | Р |
7.6 Приемник службы НАВТЕКС | Р | Р/ОР | - | Р | Р | Р |
7.7 Спутниковый АРБ системы КОСПАС-САРСАТ, УКВ аварийный радиобуй (УКВ АРБ) | Р | Р/ОР | - | Р | Р | Р |
7.8 Устройство определения местонахождения терпящих бедствие: радиолокационный ответчик (РЛО) или передатчик автоматической идентификационной системы (АИС) | Р | Р/ОР | - | Р | Р | Р |
7.9 УКВ-аппаратура двусторонней радиотелефонной связи спасательных средств и связи с воздушными судами | Р | Р/ОР | - | Р | Р | Р |
7.10 Портативная (носимая) УКВ-радиотелефонная станция (300,025 - 300,225 МГц) | Р | Р/ОР | - | Р | Р | Р |
7.11 Устройства громкоговорящей связи и трансляции, средства переговорной связи, оборудование внутрисудовой связи | Р | Р/ОР | - | Р | Р | Р |
7.12 Антенные устройства | Р | Р/ОР | - | Р | Р | Р |
7.13 Система охранного оповещения | Р | Р/ОР | - | Р | Р | Р |
7.14 Приборы (преобразователи) для электропитания радиооборудования, зарядные устройства | Р | Р/ОР | - | Р | Р | Р |
7.15 Помещения для размещения радиооборудования | - | - | - | Р | - | - |
7.16 Интегрированная система средств радиосвязи ГМССБ | Р | Р/ОР | - | Р | Р | Р |
8 Навигационное оборудование |
8.1 Компасы магнитные | Р | Р/ОР | - | Р | Р | Р |
8.2 Компасы гироскопические | Р | Р/ОР | - | Р | Р | Р |
8.3 Устройства дистанционной передачи курса | Р | Р/ОР | - | Р | Р | Р |
8.4 Станции радиолокационные (СЭП, САС, САРП) | Р | Р/ОР | - | Р | Р | Р |
8.5 Лаги (устройства измерения скорости и пройденного расстояния) | Р | Р/ОР | - | Р | Р | Р |
8.6 Эхолоты | Р | Р/ОР | - | Р | Р | Р |
8.7 Системы управления курсом/траекторией судна (авторулевые) | Р | Р/ОР | - | Р | Р | Р |
8.8 Измерители скорости поворота | Р | Р/ОР | - | Р | Р | Р |
8.9 Приемоиндикаторы глобальных навигационных спутниковых систем | Р | Р/ОР | - | Р | Р | Р |
8.10 Регистраторы данных рейса | Р | Р/ОР | - | Р | Р | Р |
8.11 Системы приема внешних звуковых сигналов | Р | Р/ОР | - | Р | Р | Р |
8.12 Аппаратура автоматической идентификационной системы (АИС) | Р | Р/ОР | - | Р | Р | Р |
8.13 Электронные картографические системы (СОЭНКИ, ЭКНИС, ЭКС) | Р | Р/ОР | - | Р | Р | Р |
8.14 Системы контроля несения ходовой вахты (СКНХВ) | Р | Р/ОР | - | Р | Р | Р |
8.15 Радиолокационные отражатели судовые | Р | ОТ | - | - | Р | - |
(п. 8.15 в ред. Извещения, утв. Приказом ФАУ "Российское Классификационное Общество" от 11.11.2024 N 84-п) |
8.16 Системы опознавания судов и слежения за ними на дальнем расстоянии (ОСДР) | Р | Р/ОР | - | Р | Р | Р |
8.17 Электронный кренометр | Р | Р/ОР | - | Р | Р | Р |
8.18 Интегрированная навигационная система | Р | Р/ОР | - | Р | Р | Р |
8.19 Многосистемный радионавигационный приемник | Р | Р/ОР | - | Р | Р | Р |
8.20 Интегрированная система рулевой рубки | Р | Р/ОР | - | Р | Р | Р |
8.21 Приемоиндикатор глобальной навигационной системы (ГНС), глобальной навигационной спутниковой системы (ГНСС) | Р | Р/ОР | - | Р | Р | Р |
9 Оборудование судов, перевозящих опасные грузы |
9.1 Системы грузовые химовозов и газовозов, в том числе: | - | ПД | - | Р | Р | Р |
.1 изделия и арматура грузовых систем химовозов и газовозов: грузовые шланги, арматура, соединения трубопроводов, клапаны предохранительные, сильфонные компенсаторы | Р | Р/ОР | - | - | - | - |
|
10.1 Металлы и их сплавы: | | | | | | |
.1 прокат листовой и профильный | Р | Р/ОР | К | - | - | - |
.2 трубы для котлов, теплообменных аппаратов и судовых трубопроводов | Р | Р/ОР | - | - | - | - |
.3 материал для заклепок и заклепки | - | ПД | - | - | - | - |
.4 арматурная сталь для железобетонного судостроения | - | ПД | - | Р | - | - |
.5 материал для цепей и деталей их соединения | Р | ОТ | - | - | - | - |
10.2 Поковки и отливки: | | | | | | |
.1 штевней, кронштейнов гребных валов | Р | Р/ОР | К | - | - | - |
.2 баллеров рулей поворотных насадок | Р | Р/ОР | К | - | - | - |
.3 румпелей, секторов, деталей пера руля и поворотных насадок | - | Р/ОР | - | - | - | - |
.4 труб дейдвудных и втулок | - | Р/ОР | - | - | - | - |
.5 якорей | - | ПД | - | - | - | - |
.6 цепей якорных | - | ПД | - | - | - | - |
.7 гаков буксирных | Р | ОТ | - | - | - | - |
.8 винтов гребных | Р | ОТ | - | - | - | - |
.9 валов коленчатых, гребных, промежуточных и упорных | Р | Р/ОР | К | - | - | - |
.10 шатунов | - | Р/ОР | - | - | - | - |
.11 шестерен, колес и валов передач главных элементов энергетической установки | - | Р/ОР | - | - | - | - |
.12 днищ, коллекторов и связей котлов теплообменных аппаратов и сосудов под давлением | - | Р/ОР | - | - | - | - |
10.3 Материалы неметаллические: | | | | | | |
.1 стеклопластики, пластмассы и материалы органического происхождения | Р | ОТ | - | Р | - | - |
.2 бетон для конструкций корпусов судов и надстроек | Р | ОТ | - | Р | - | - |
.3 пенопласты | Р | ОТ | - | - | - | - |
.4 материалы облицовочные, зашивка, обрешетник, покрытия палуб и корпусных конструкций (антикоррозийные, необрастающие, лакокрасочные, противошумные, вибропоглощающие, противоскользящие и т.п.), декоративная отделка и т.п. | Р | ОТ | - | Р | - | - |
.5 фотолюминесцентные, светоотражающие (световозвращающие) материалы и т.п. | Р | ОТ | - | Р | - | - |
.6 слоистые текстильные материалы | Р | ОТ | - | Р | - | - |
.7 материалы заполнения вырезов, неметаллические, для трубопроводов, проходящих через конструкции типа "A" или "B" | Р | Р/ОР | - | Р | - | - |
.8 материалы для топливных трубопроводов, их клапанов и арматуры | - | Р/ОР | - | Р | - | - |
.9 ткани, ковры, мебель | - | ПД | - | Р | - | - |
10.4 Материалы изоляционные, огнестойкие, огнезащитные составы, в том числе материалы для поверхностей и покрытия палуб с характеристиками медленного распространения пламени, краски, лаки и другие отделочные материалы, материалы, ограничивающие распространение огня | Р | ОТ | - | Р | - | - |
10.5 Материалы сварочные: | | | | | | |
.1 электроды сварочные | Р | ОТ | - | - | - | - |
.2 проволока сварочная, сочетание проволока-флюс/защитный газ | Р | ОТ | - | - | - | - |
.3 грунты защитные, позволяющие выполнять сварку без их удаления | Р | ОТ | - | - | - | - |
11 Оборудование для предотвращения загрязнения с судов |
11.1 Системы, оборудование и устройства для предотвращения загрязнения нефтью: | | | | | | |
.1 системы перекачки, сдачи и сброса нефтесодержащих вод, в том числе системы автоматического измерения, регистрации и управления сбросом нефти для нефтяного танкера | - | ПД | - | Р | Р | Р |
.2 система автоматического измерения, регистрации и управления сбросом балластных и промывочных вод | - | ПД | - | Р | Р | Р |
.3 сборные цистерны, отстойные танки | - | ПД | - | Р | Р | - |
.4 фильтрующее оборудование, в том числе оборудование для фильтрации нефти | Р | Р/ОР | К | Р | Р | Р |
.5 сигнализаторы | Р | Р/ОР | - | Р | Р | Р |
.6 устройство для автоматического прекращения сброса нефтесодержащих вод | Р | Р/ОР | - | Р | Р | Р |
.7 приборы для определения границы раздела "нефть - вода" в отстойных танках | Р | Р/ОР | - | Р | Р | Р |
11.2 Судовой комплект для борьбы с разливами нефти: | | | | | | |
.1 плавучее боновое ограждение | Р | Р/ОР | - | Р | - | - |
.2 плавучий якорный буй | Р | ОТ | - | Р | - | - |
.3 якорный и швартовный канаты | - | ПД | - | Р | - | - |
.4 сорбент | Р | ОТ | - | - | - | - |
.5 устройство для подачи сорбента | Р | ОТ | - | Р | - | - |
.6 устройство для сбора нефти и отработанного сорбента | - | ПД | - | Р | - | - |
.7 емкость для сбора, хранения и транспортировки отработанного сорбента | - | ПД | - | Р | - | - |
11.3 Системы, оборудование и устройства для предотвращения загрязнения сточными водами: | | | | | | |
.1 система перекачки, сдачи и сброса сточных вод | - | ПД | - | Р | Р | - |
.2 сборные цистерны | - | ПД | - | Р | Р | - |
.3 установка для обработки сточных вод | Р | Р/ОР | К | Р | Р | Р |
11.4 Оборудование и устройства для предотвращения загрязнения мусором: | | | | | | |
.1 устройство для сбора мусора | - | ПД | - | - | - | - |
.2 инсинераторы | Р | Р/ОР | К | Р | Р | Р |
.3 устройства для обработки мусора | - | ПД | - | Р | Р | - |
11.5 Оборудование и устройства контроля содержания вредных (загрязняющих) веществ, дымности выпускных газов и для уменьшения загрязнения атмосферы с судов: | - | ПД | - | - | - | - |
.1 системы очистки, предназначенные для снижения содержания вредных (загрязняющих) веществ в выпускных газах | - | ПД | - | Р | Р | - |
<1> Тяговые батареи для электротранспорта, а также стационарные системы для накопления электроэнергии - продукция для аварийного и бесперебойного энергоснабжения, накопительные системы для возобновляемых источников энергии. |
(обязательное)
ФОРМА ИЗВЕЩЕНИЯ О ВЫЗОВЕ ЭКСПЕРТА
Эксперту _______________________________ филиала Российского Классификационного Общества Извещение N _______________________ "___" _________________ 20____ г. _________________________________________________________________ (наименование организации) Судно, строительный N ______________________________________________ Проект N ___________________________________________________________ Настоящим извещением предъявляется Вам для контрольной проверки ______ ___________________________________________________________________ (наименование продукции, содержание предъявляемой работы) Работы выполнены согласно чертежам N ___________________________, спецификации N ________________________, программе испытаний N _____________________________________________, ТД N ______________________________________________________________ Работы, указанные в 2.9.1 ПТНП, выполнялись сварщиками _______________ ___________________________________________________________________ (фамилия, и.о.; N Свидетельства о допуске сварщика) ___________________________________________________________________ ___________________________________________________________________ Предъявляемая продукция удовлетворяет требованиям чертежей, ТД, технологических процессов и полностью укомплектована. Представитель службы технического контроля |
_________________________________ (подпись) | ________________________________ (фамилия, и.о.) |
Заключение по результатам контрольной проверки ___________________________________________________________________ ___________________________________________________________________ Эксперт ___________________________________________________________ филиала Российского Классификационного Общества _____________________________________________________________________ |
_________________________________ (подпись) | _______________________________ (фамилия, и.о.) |
"___" _____________ 20___ г. С заключением по результатам контрольной проверки ознакомлен: Представитель службы технического контроля |
_________________________________ (подпись) | ________________________________ (фамилия, и.о.) |
"___" _____________ 20___ г. |
(обязательное)
ФОРМА ПЕРЕЧНЯ КОНТРОЛЬНЫХ ПРОВЕРОК ОБЪЕКТОВ
И ТЕХНОЛОГИЧЕСКИХ ОПЕРАЦИЙ, ОБЯЗАТЕЛЬНЫХ
ДЛЯ ПРЕДЪЯВЛЕНИЯ ФИЛИАЛУ
Наименование объекта технического наблюдения | Документы, представляемые службой технического контроля, подтверждающие соответствие объекта проекту, стандартам или ТД | Порядок контрольной проверки объекта экспертом | Оформление заключения экспертом и клеймение |
1 | 2 | 3 | 4 |
| | | |
| | | |
Примечания.
1. Перечень составляется в соответствии с требованиями Правил с учетом
Номенклатуры, форм и методов технического наблюдения в данной организации.
2. Клеймение ремонтируемых деталей, оставленных на судне без замены, Российское Классификационное Общество не проводит.
3. Образец клейма Российского Классификационного Общества:
(справочное)
ТИПОВОЙ ПЕРЕЧЕНЬ КОНТРОЛЬНЫХ ПРОВЕРОК ОБЪЕКТОВ
И ТЕХНОЛОГИЧЕСКИХ ОПЕРАЦИЙ, ОБЯЗАТЕЛЬНЫХ
ДЛЯ ПРЕДЪЯВЛЕНИЯ ФИЛИАЛУ
Типовой перечень контрольных проверок объектов и технологических операций
(табл. П4.1) скомпонован по объектам технического наблюдения и не устанавливает последовательность их предъявления эксперту. Последовательность предъявлений эксперту определяется в каждом конкретном случае с учетом технологических процессов изготовления, сборки, монтажа и испытаний объектов технического наблюдения и судна в целом.
Перечень подлежит уточнению в соответствии с объемом работ по постройке, модернизации, переоборудованию или ремонту судна.
Таблица П4.1
Типовой перечень контрольных проверок объектов
и технологических операций, обязательных
для предъявления филиалу
Наименование объекта технического наблюдения | Документы, представляемые службой технического контроля, подтверждающие соответствие объекта проекту, стандартам или техническим условиям | Порядок контрольной проверки объекта экспертом <1> | Оформление заключения экспертом и клеймение |
1 Наблюдение за постройкой судна |
1.1 Корпус |
1.1.1 Материал для постройки металлического корпуса судна (листовой и профильный прокат, электроды) | 1. Сертификаты на металлопрокат и сварочные материалы 2. Извещение о проверке качества материалов | 1. Проверка качества материала по сертификатам 2. При необходимости контрольные испытания | Запись в извещении |
1.1.2 Материал для постройки железобетонного корпуса судна (арматура, бетон, цемент) | 1. Сертификаты материала 2. Документы службы технического контроля на проверку качества цемента, песка, крупного заполнителя, воды, арматурной стали и бетона 3. Извещение о проверке качества материалов | 1. Проверка качества материалов по сертификатам 2. Проверка документов о подборе состава бетона и испытании образцов на прочность и морозостойкость | Запись в извещении |
1.1.3 Материал для постройки пластмассового корпуса судна (смолы, армирующие материалы) | 1. Сертификаты материала 2. Документы службы технического контроля о проверке образцов на прочность 3. Извещение о проверке качества материала | 1. Проверка качества материала по сертификатам 2. При необходимости контрольные испытания | Запись в извещении |
1.1.4 Секции металлического корпуса | 1. Чертежи секций 2. Сведения о квалификации сварщиков 3. Результаты дефектоскопии и испытаний на непроницаемость 4. Извещение о проверке сборочно-сварочных работ | 1. Проверка представленной службой технического контроля документации 2. Выборочная проверка соответствия проекту и качества сборочно-сварочных работ | Запись в извещении |
1.1.5 Блоки металлического корпуса | 1. Чертежи блоков 2. Сертификаты на сварочные материалы и сведения о квалификации сварщиков 3. Извещение о проверке сборочно-сварочных работ 4. Извещение о проверке качества сварных швов, включая проверку швов неразрушающими методами контроля 5. Извещение о проверке водонепроницаемости (при необходимости) | 1. Проверка представленной службой технического контроля документации 2. Выборочная проверка соответствия проекту и качества сборочно-сварочных работ 3. Выборочная проверка водонепроницаемости | Запись в извещении |
1.1.6 Металлический корпус после сборки и сварки (перед спуском и после спуска) | 1. Конструктивный чертеж корпуса 2. Монтажные чертежи секций, блоков 3. Результаты испытаний на непроницаемость корпусных конструкций, мест крепления навигационной аппаратуры к корпусу 4. Извещение о проверке главных размерений 5. Извещение о проверке конструкции после сварки 6. Извещение о проверке качества сварных швов рентгено- или гаммаграфированием, ультразвуком или другими методами 7. Извещение о готовности к спуску на воду 8. Акт службы технического контроля об осмотре судна после спуска на воду 9. Извещение об осмотре корпуса после спуска на воду | 1. Проверка представленной службой технического контроля документации 2. Выборочная проверка соответствия проекту и качества сборочно-сварочных работ 3. Осмотр корпуса на плаву | Запись в извещении |
1.1.7 Железобетонный корпус, секции железобетонного корпуса | 1. Конструктивный чертеж и чертежи секций 2. Паспорта секций 3. Журнал приемок службы технического контроля 4. Извещение о проверке качества монтажных соединений 5. Извещение о проверке водонепроницаемости 6. Извещение о проверке главных размерений 7. Извещение об осмотре судна до спуска на воду 8. Извещение об осмотре судна после спуска на воду | 1. Проверка представленной службой технического контроля документации 2. Выборочная проверка соответствия проекту | Запись в извещении |
1.1.8 Пластмассовый корпус и секции пластмассового корпуса | 1. Конструктивный чертеж и чертежи секций 2. Паспорта секций 3. Результаты лабораторных анализов материалов 4. Извещение о проверке корпуса после формования 5. Извещение о проверке водонепроницаемости | 1. Проверка представленной службой технического контроля документации 2. Выборочная проверка соответствия проекту | Запись в извещении |
1.1.9 Грузовая марка | 1. Чертеж грузовой марки 2. Извещение о проверке грузовой марки | 1. Проверка правильности нанесения грузовой марки | Запись в извещении |
1.1.10 Фундаменты и подкрепления корпуса | 1. Чертежи фундаментов и подкреплений 2. Сертификаты материала 3. Извещение о проверке фундаментов | 1. Проверка представленной службой технического контроля документации 2. Выборочная проверка соответствия проекту и качества сборочно-сварочных работ | Запись в извещении |
1.2 Судовые устройства |
1.2.1 Рулевое и подруливающее устройства | 1. Проектная техническая документация, чертежи устройства 2. Сертификаты на рулевую машину, подруливающее устройство, на комплектующие изделия и оборудование, входящие в состав устройств, в случае отдельной их поставки 3. Паспорт или формуляр рулевой машины, подруливающего устройства 4. Акты службы технического контроля на выполненные в промежуточных стадиях работы (проведение операционного контроля), гидравлического испытания системы гидравлики 5. Извещение о проверке монтажа 6. Результаты установочных, монтажных зазоров, центрирования привода 7. Извещения о швартовных и ходовых испытаниях | 1. Проверка представленной службой технического контроля документации 2. Выборочный контроль качества работ, соблюдения технологических процессов 3. Проверка на наличие клейм 4. Проверка устройств на соответствие проектной технической документации 5. Проверка в действии на швартовных и ходовых испытаниях | Запись в извещении |
1.2.2 Якорное устройство | 1. Проектная техническая документация, чертежи устройства 2. Сертификаты на брашпили, шпили и лебедки якорные, якоря, цепи якорные и детали их соединения, на комплектующие изделия и оборудование, входящие в состав устройства, в случае отдельной их поставки 3. Паспорт или формуляр брашпиля, шпиля и лебедки якорной 4. Паспорта (акты) якорей, якорных цепей и деталей их соединения, стопоров якорных, устройств для отдачи коренного конца якорной цепи или каната, клюзов якорных палубные и бортовые 5. Акты службы технического контроля на выполненные в промежуточных стадиях работы (проведение операционного контроля) 6. Извещение о проверке монтажа 7. Извещения о швартовных и ходовых испытаниях | 1. Проверка представленной службой технического контроля документации 2. Выборочный контроль качества работ 3. Проверка на наличие клейм, если предусмотрено Правилами 4. Проверка устройств на соответствие проектной технической документации 5. Проверка в действии на швартовных и ходовых испытаниях | Запись в извещении |
1.2.3 Буксирное устройство | 1. Чертежи устройства 2. Сертификат (акт) буксирного гака, буксирного каната 3. Паспорт или формуляр буксирной лебедки 4. Извещение о проверке монтажа 5. Извещения о швартовных и ходовых испытаниях | 1. Проверка представленной службой технического контроля документации 2. Выборочная проверка соответствия проекту и наличия клейм 3. Проверка в действии на швартовных и ходовых испытаниях | Запись в извещениях |
1.2.4 Сцепное устройство | 1. Чертежи устройства 2. Паспорт или формуляр автосцепа 3. Извещение о проверке монтажа 4. Извещения о швартовных и ходовых испытаниях | 1. Проверка представленной службой технического контроля документации 2. Выборочная проверка соответствия проекту и наличия клейм 3. Проверка в действии на швартовных и ходовых испытаниях | Запись в извещениях |
1.2.5 Грузоподъемное устройство | 1. Чертежи устройства 2. Сертификаты на металлопрокат и сварочные материалы 3. Сведения о квалификации сварщиков 4. Извещение о проверке качества сварных швов 5. Сертификаты цепей, канатов, съемных деталей 6. Паспорта или формуляры механизмов и: агрегатов 7. Извещение о проверке монтажа механизмов 8. Извещения о швартовных и ходовых испытаниях | 1. Проверка представленной службой технического контроля документации 2. Выборочная проверка соответствия проекту и наличия клейм 3. Проверка в действии на швартовных и ходовых испытаниях | Запись в извещениях |
1.2.6 Крыльевое устройство | 1. Чертежи 2. Сведения о квалификации сварщиков 3. Сертификаты материалов и соединительных болтов 4. Извещение о проверке сборочно-сварочных работ 5. Паспорт крыльевого устройства 6. Извещение о проверке монтажа | 1. Проверка представленной службой технического контроля документации 2. Выборочная проверка соответствия проекту | Запись в извещении |
1.3 Спасательные и сигнальные средства, навигационное снабжение |
(в ред. Извещения, утв. Приказом ФАУ "Российское Классификационное Общество" от 11.11.2024 N 84-п) |
1.3.1 Спасательные средства | 1. Чертежи шлюпочного устройства и размещения спасательных средств 2. Сертификаты канатов, блоков, материала шлюпбалки 3. Паспорта или сертификаты спасательной шлюпки, плота, кругов 4. Акт службы технического контроля на испытание шлюпбалок в цехе 5. Паспорт или формуляр лебедки 6. Извещение о проверке монтажа 7. Извещение о проверке в действии по программе | 1. Проверка представленной службой технического контроля документации 2. Выборочная проверка соответствия проекту и наличия клейм 3. Контрольная проверка в действии | Запись в извещении |
1.3.2 Сигнальные средства и навигационное снабжение | 1. Установочные чертежи 2. Комплектовочная ведомость навигационного снабжения 3. Сертификаты фонарей и сигналов 4. Извещение о проверке монтажа и комплектности 5. Извещение о проверке в действии | 1. Проверка представленной службой технического контроля документации 2. Выборочная проверка соответствия проекту и наличия клейм 3. Контрольная проверка в действии | Запись в извещении |
1.4 Оборудование помещений, защита экипажа и пассажиров |
1.4.1 Расположение и оборудование жилых и служебных помещений, проходов, дверей, иллюминаторов, фальшборта, леерного ограждения | 1. Чертежи общего расположения предметов оборудования, дверей, иллюминаторов, фальшбортов и леерного ограждения 2. Журнал приемок службы технического контроля 3. Извещение о проверке водонепроницаемости, дверей, иллюминаторов, люков | 1. Проверка представленной службой технического контроля документации 2. Выборочная проверка соответствия проекту и качества монтажных работ | Запись в извещении |
1.5 Противопожарная защита |
1.5.1 Противопожарные переборки, материалы, примененные для отделки, изоляции корпуса и надстройки, противопожарное оборудование и снабжение | 1. Чертежи изоляции и отделки помещений, расположение и количество противопожарных переборок, противопожарного оборудования и снабжения 2. Сертификаты изоляционных и отделочных материалов 3. Извещение о проверке соответствия материалов, снабжения и размещения оборудования проекту | 1. Проверка представленной службой технического контроля документации 2. Выборочная проверка соответствия проекту и качества монтажных работ | Запись в извещении |
1.6 Энергетическая установка |
1.6.1 Главные и вспомогательные двигатели | 1. Проектная техническая документация, установочные и монтажные чертежи 2. Свидетельства и Сертификаты на двигатели, формуляры (паспорта) 3. Акты службы технического контроля на выполненные в промежуточных стадиях работы (проведение операционного контроля) 4. Извещение о проверке монтажа 5. Извещение о швартовных испытаниях 6. Извещение о ходовых испытаниях | 1. Проверка представляемых службой технического контроля документов 2. Выборочный контроль качества работ 3. Проверка монтажа 4. Проверка на наличие клейм 5. Проверка на соответствие проектной технической документации, чертежам 6. Проверка в действии на швартовных и ходовых испытаниях | 1. Запись в извещении 2. Запись в актах швартовных, ходовых испытаний |
1.6.2 Валопровод и движители | 1. Проектная техническая документация, установочные и монтажные чертежи валопровода и движителя 2. Сертификаты на движители и детали валопровода 3. Паспорта (формуляры) на движители и детали валопровода 4. Акты службы технического контроля на выполненные в промежуточных стадиях работы (проведение операционного контроля) 5. Результаты установочных, монтажных зазоров, центровки валопровода на плаву 6. Извещение о проверке монтажа 7. Извещение о швартовных испытаниях 8. Извещение о ходовых испытаниях | 1. Проверка представляемых службой технического контроля документов 2. Выборочный контроль качества работ 3. Проверка монтажа 4. Проверка на наличие клейм 5. Проверка на соответствие проектной технической документации, чертежам 6. Проверка в действии на швартовных и ходовых испытаниях | 1. Запись в извещении 2. Запись в актах швартовных и ходовых испытаний |
| | ИС МЕГАНОРМ: примечание. Нумерация пунктов в четвертом столбце дана в соответствии с официальным текстом документа. | |
|
1.6.3 Котлы, теплообменные аппараты, сосуды под давлением | 1. Проектная техническая документация, установочные и монтажные чертежи 2. Сертификаты на котлы, теплообменные аппараты, сосуды под давлением, на применяемые материалы, сварочные материалы 3. Паспорта (формуляры) на котлы, теплообменные аппараты, сосуды под давлением, арматуру 4. Акты службы технического контроля на выполненные в промежуточных стадиях работы (проведение операционного контроля) 5. Извещение о проверке монтажа 6. Допуск сварщиков 7. Акт службы технического контроля о проведении внутреннего освидетельствования теплообменных аппаратов 8. Извещения о готовности котла, сосудов под давлением (со штатной арматурой и измерительными приборами) к проведению внутреннего освидетельствования 9. Извещения о готовности котла, сосудов под давлением (со всеми трубопроводами и арматурой) к проведению гидравлического испытания пробным давлением 10. Извещение о проведении паровой пробы котла (при необходимости) 11. Извещение о готовности сосудов под давлением к проведению воздушного испытания 12. Извещение о проверке в действии на швартовных и ходовых испытаниях | 1. Проверка представляемых службой технического контроля документов 2. Выборочный контроль качества работ 3. Проверка на наличие клейм 4. Проверка на соответствие проектной технической документации, чертежам 5. Внутреннее освидетельствование 6. Гидравлическое испытание 7. Воздушное испытание, наружный осмотр 8. Проверка срабатывания предохранительных клапанов, опломбировки 9. Проверка в действии на швартовных и ходовых испытаниях | 1. Запись в извещениях 2. Оформление актов форм РКО-3.11, РКО-3.12 2. Запись в актах швартовных и ходовых испытаний |
1.6.4 Холодильная установка транспортных рефрижераторных и промысловых судов | 1. Проектная техническая документация, установочные и монтажные чертежи 2. Сертификаты на комплектующие изделия и оборудование, входящие в состав холодильной установки, паспорта (формуляры) на них 3. Результаты испытаний помещений холодильной установки на герметичность 4. Акты службы технического контроля на выполненные в промежуточных стадиях работы (проведение операционного контроля) 5. Извещение о проверке монтажа 6. Результаты испытаний системы холодильного агента на плотность и герметичность, системы хладоносителя и охлаждающей воды - на плотность 7. Результаты проверки и испытаний предохранительных клапанов 8. Извещение о готовности к испытаниям в действии | 1. Проверка представленной службой технического контроля документации 2. Выборочный контроль качества работ 3. Проверка на соответствие проектной технической документации, чертежам 4. Участие в испытании в действии | Запись в извещении |
1.7 Системы и трубопроводы |
1.7.1 Системы и трубопроводы: осушительная, балластная, система жидких грузов, инертных газов, задымления, вентиляции взрывоопасных помещений, газоотвода нефтеналивных судов; системы воздушных, газоотводных, переливных и измерительных трубопроводов, система вентиляции МО; система парового отопления; гидравлических приводов судовых технических средств; топливная, масляная, водяного охлаждения, сжатого воздуха, питательной воды, газовыпускная, паропроводов и продувания | 1. Монтажные чертежи и схемы, рабочая документация 2. Сертификаты труб и арматуры 3. Паспорта (формуляры) технических средств и оборудования (насосов, компрессоров, фильтров и т.п.) 4. Документы службы технического контроля о гидравлическом испытании в цехе 5. Извещение о проверке монтажа системы на судне 6. Извещение о гидравлическом испытании системы в сборе 7. Извещение о проверке системы в действии совместно с проверкой обслуживаемого судового технического средства или оборудования по прямому назначению | 1. Проверка представленной службой технического контроля документации 2. Проверка на соответствие чертежам и схемам, рабочей документации 3. Выборочная проверка монтажа 4. Контрольная проверка системы в действии | Запись в извещении |
1.8 Электрическое, навигационное оборудование и средства радиосвязи |
1.8.1 Установка электрооборудования и прокладка кабелей с их креплением | 1. Чертежи (схемы) по установке, подключению оборудования и прокладке кабельных трасс с узлами крепления и заземления, согласованные с Российским Классификационным Обществом 2. Сертификаты на устанавливаемые изделия 3. Результаты измерения сопротивления изоляции и проверки заземления 4. Документы, подтверждающие результаты контроля персоналом организации выполненных монтажных работ | 1. Проверка представленной службой технического контроля документации 2. Проверка соответствия состава, размещения, установки, монтажа электрооборудования и прокладки кабелей, монтаж заземления электрооборудования, оплеток кабелей и экранов жил требованиям проектной документации 3. Проверка в действии на швартовных и ходовых испытаниях | Запись в извещении |
1.8.2 Электрическое оборудование хозяйственного, бытового и технологического назначения | 1. Чертежи (схемы) по установке, подключению оборудования и прокладке кабельных трасс с узлами крепления и заземления, согласованные с Российским Классификационным Обществом 2. Результаты измерения сопротивления изоляции и проверки заземления 3. Документы, содержащие результаты контроля персоналом организации выполненных монтажных работ | 1. Проверка представленной службой технического контроля документации 2. Проверка соответствия состава, размещения, установки, монтажа электрооборудования и прокладки кабелей, монтаж заземления электрооборудования, оплеток кабелей и экранов жил требованиям проектной документации | Запись в извещении |
1.8.3 Средства связи и навигационное оборудование | 1. Чертежи (схемы) по установке, подключению оборудования и прокладке кабельных трасс с узлами крепления и заземления, согласованные с Российским Классификационным Обществом 2. Сертификаты на устанавливаемые изделия 3. Результаты измерения сопротивления изоляции и проверки заземления 4. Документы, содержащие результаты контроля персоналом организации выполненных монтажных работ | 1. Проверка представленной службой технического контроля документации 2. Проверка соответствия состава, размещения, установки, монтажа оборудования и прокладки кабелей, монтаж заземления оборудования, оплеток кабелей и экранов жил требованиям проектной документации 3. Проверка в действии на швартовных и ходовых испытаниях | Запись в извещении |
1.9 Швартовные и ходовые испытания |
1.9.1 Подготовка к испытаниям | 1. Комплект документов построечного периода и документация на комплектующие изделия 2. Извещение о подготовке к испытаниям | 1. Проверка комплектности документов построечного периода и достаточность документации на комплектующие изделия | Запись в извещении |
1.9.2 Швартовные испытания | 1. Программа швартовных испытаний 2. Документы, удостоверяющие окончание монтажных и других работ, предусмотренных на построечной стадии испытаний, подписанные персоналом службы технического контроля организации, а в случаях, предусмотренных Перечнем, - экспертом; 3. План-график швартовных испытаний, согласованный с филиалом 4. Спецификация 5. Перечень замен, равноценных требованиям Правил, и согласованной технической документации 6. Формуляры и паспорта на судовые технические средства 7. Документы на приборы 8. Описания объектов технического наблюдения и инструкции по их обслуживанию 9. Методики испытаний (в том числе имитационных) со схемами имитационных устройств 10. Извещение о проведении швартовных испытаний | 1. Проверка представленной службой технического контроля документации 2. Проверка в действии на швартовных испытаниях | Запись в извещении |
1.9.3 Ходовые испытания | 1. Программа ходовых испытаний 2. Документы службы технического контроля, удостоверяющие окончание швартовных испытаний 3. План-график ходовых испытаний, согласованный с экспертом 4. Методики испытаний 5. Информация об остойчивости и непотопляемости судна 6. Протокол кренования и расчеты остойчивости (для головного судна) 7. Разработанные организацией формы протоколов и журналов для занесения результатов испытаний 8. Извещение на проведение ходовых испытаний с указанием о намеченной дате начала ходовых испытаний, о числе участников ходовых испытаний, наличии коллективных и индивидуальных спасательных средств и судового снабжения | 1. Проверка представленной службой технического контроля документации 2. Проверка в действии на ходовых испытаниях | Запись в извещении |
1.9.4 Ревизия и контрольный выход | 1. Перечень объектов, подлежащих ревизии, с указанием объема работ (в том числе внутреннее освидетельствование паровых котлов) 2. Документ службы технического контроля о результатах ревизии, включающий: перечень объектов технического наблюдения, подлежащих ревизии; описание обнаруженных дефектов; причину появления дефектов; меры по устранению дефектов; 3. Извещение об устранении дефектов; 4. Извещение о контрольном выходе (в случае необходимости) | 1. Проверка представленной службой технического контроля документации 2. Проверка устранения дефектов 3. Проверка в действии на контрольном выходе | 1. Запись в извещении 2. Выдача документов Российского Классификационного Общества |
2 Наблюдение за изготовлением судовых технических средств, оборудования и устройств |
2.1 Двигатели внутреннего сгорания |
2.1.1 Фундаментные рамы, картеры (станины) | 1. Чертежи деталей 2. Сертификаты материала 3. Таблицы результатов измерений (контрольный лист) 4. Результаты неразрушающего контроля, испытаний 5. Извещение о проверке изделия | 1. Проверка представленной службой технического контроля документации 2. Выборочный контроль качества работ, соблюдения технологических процессов 3. Проверка на соответствие чертежам | 1. Запись в извещении 2. Выдача документов Российского Классификационного Общества <2> |
2.1.2 Блоки цилиндров, головки блоков | 1. Чертежи деталей 2. Сертификаты материала 3. Таблицы результатов измерений (контрольный лист) 4. Результаты неразрушающего контроля, испытаний 5. Извещение о проверке изделия | 1. Проверка представленной службой технического контроля документации 2. Выборочный контроль качества работ, соблюдения технологических процессов 3. Проверка на соответствие чертежам | 1. Запись в извещении 2. Выдача документов Российского Классификационного Общества <2> |
2.1.3 Цилиндровые втулки, цилиндровые крышки, поршни, поршневые пальцы | 1. Чертежи деталей 2. Сертификаты материала 3. Таблицы результатов измерений (контрольный лист) 4. Результаты неразрушающего контроля, испытаний 5. Извещение о проверке изделия | 1. Проверка представленной службой технического контроля документации 2. Выборочный контроль качества работ, соблюдения технологических процессов 3. Проверка на соответствие чертежам | 1. Запись в извещении 2. Выдача документов Российского Классификационного Общества <2> |
2.1.4 Шатуны | 1. Чертежи деталей 2. Сертификаты материала 3. Таблицы результатов измерений (контрольный лист) 4. Результаты неразрушающего контроля 5. Извещение о проверке изделия | 1. Проверка представленной службой технического контроля документации 2. Выборочный контроль качества работ, соблюдения технологических процессов 3. Проверка на соответствие чертежам | 1. Запись в извещении 2. Выдача документов Российского Классификационного Общества <2> |
2.1.5 Болты шатунные, болты и шпильки коренных подшипников, цилиндровых крышек | 1. Чертежи деталей 2. Сертификаты материала 3. Результаты неразрушающего контроля, испытаний 4. Извещение о проверке изделий | 1. Проверка представленной службой технического контроля документации 2. Выборочный контроль качества работ, соблюдения технологических процессов 3. Проверка на соответствие чертежам | 1. Запись в извещении 2. Выдача документов Российского Классификационного Общества <2> |
2.1.6 Коленчатый вал | 1. Чертеж детали 2. Сертификаты материала 3. Таблицы результатов измерений (контрольный лист) 4. Результаты термообработки 5. Результаты неразрушающего контроля, испытаний 6. Результаты балансировки 7. Извещение о проверке изделия | 1. Проверка представленной службой технического контроля документации 2. Выборочный контроль качества работ, соблюдения технологических процессов 3. Проверка на соответствие чертежу | 1. Запись в извещении 2. Постановка клейма Российского Классификационного Общества 3. Выдача документов Российского Классификационного Общества <2> |
2.1.7 Распределительный (реверсивный) вал | 1. Чертеж детали 2. Сертификаты материала 3. Таблицы результатов измерений (контрольный лист) 4. Результаты термообработки 5. Результаты неразрушающего контроля, испытаний 6. Извещение о проверке изделия | 1. Проверка представленной службой технического контроля документации 2. Выборочный контроль качества работ, соблюдения технологических процессов 3. Проверка на соответствие чертежу | 1. Запись в извещении 2. Выдача документов Российского Классификационного Общества <2> |
2.1.8 Зубчатые колеса | 1. Чертежи деталей 2. Сертификаты материала 3. Таблица результатов измерений (контрольный лист) 4. Результаты термообработки 5. Извещение о проверке изделия | 1. Проверка представленной службой технического контроля документации 2. Выборочный контроль качества работ, соблюдения технологических процессов 3. Проверка на соответствие чертежам | 1. Запись в извещении 2. Выдача документов Российского Классификационного Общества <2> |
2.1.9 Амортизаторы | 1. Чертежи деталей 2. Сведения о материале 3. Результаты испытаний 4. Извещение о проверке изделия | 1. Проверка представленной службой технического контроля документации 2. Выборочный контроль качества работ, соблюдения технологических процессов 3. Проверка на соответствие чертежам | 1. Запись в извещении 2. Выдача документов Российского Классификационного Общества <2> |
2.1.10 Сборка | 1. Техническая документация 2. Документы службы технического контроля на выполненные в промежуточных стадиях работы (проведение операционного контроля) 3. Документация на комплектующие изделия 4. Извещения о проверке | 1. Проверка представленной службой технического контроля документации 2. Выборочный контроль сборки двигателя | Запись в извещении |
2.1.11 Стендовые испытания | 1. Техническая документация 2. Описание и инструкция по обслуживанию, чертежи, результаты измерений деталей и монтажных размеров 3. Документы организации: о готовности стенда к испытаниям; схема оборудования, размещения КИП и паспорт стенда; о проверке контрольно-измерительных приборов стенда или штатных приборов; техническая документация на комплектующее оборудование в случае его установки на стенд с изделием, подлежащим испытанию; 4. Заполненный формуляр (паспорт) 5. Документ службы технического контроля о проведении заводских испытаний (обкатки, регулировки, приемки) 6. Технический паспорт выбросов вредных (загрязняющих) веществ в отработавших газах и дымности либо иные документы о предотвращении загрязнения воздушной среды из двигателя (Свидетельство EIAPP, технический файл двигателя и т.п.) 7. Извещение о готовности к стендовым испытаниям | 1. Проверка представленной службой технического контроля документации 2. Проверка в действии на режимах, предусмотренных программой 3. Проверка результатов измерения выбросов вредных веществ и дымности в выпускных (отработавших) газах | Запись в извещении |
2.1.12 Ревизия | 1. Техническая документация 2. Извещение о готовности к ревизии 3. Документы службы технического контроля о ревизии двигателя после испытания 4. Извещение об устранении выявленных дефектов | 1. Проверка представленной службой технического контроля документации 2. Проверка узлов и деталей в объеме, установленном программой-методикой испытаний | Запись в извещении |
2.1.13 Контрольные испытания | 1. Техническая документация 2. Извещение о готовности к контрольным испытаниям 3. Формуляр двигателя | 1. Проверка представленной службой технического контроля документации 2. Проверка в действии после сборки и устранения дефектов, обнаруженных при стендовых испытаниях и ревизии на режимах, предусмотренных программой 3. Проверка пусковых устройств, реверсивного устройства, системы АПС и защиты, предохранительных устройств, системы автоматизированного устройства, системы регулирования частоты вращения | 1. Запись в извещении 2. Выдача документов Российского Классификационного Общества 3. Постановка клейма Российского Классификационного Общества |
2.2 Передачи, муфты, валопроводы и движители |
2.2.1 Корпуса редукторов и разобщительных муфт, колеса зубчатые, валы редукторов | 1. Чертежи деталей и узлов 2. Сертификаты материалов 3. Результаты термообработки, неразрушающего контроля, испытаний, балансировки 4. Документы службы технического контроля на выполненные в промежуточных стадиях работы (проведение операционного контроля) 5. Таблица результатов измерений 6. Извещение о проверке | 1. Проверка представленной службой технического контроля документации 2. Выборочный контроль качества работ, соблюдения технологических процессов 3. Проверка на соответствие чертежам | 1. Запись в извещении 2. Выдача документов Российского Классификационного Общества <2> |
2.2.2 Сборка редукторов и разобщительных муфт | 1. Техническая документация 2. Таблица результатов измерения монтажных зазоров, соосности (контрольный лист) 3. Документы службы технического контроля на выполненные в промежуточных стадиях работы (проведение операционного контроля) 4. Документация на комплектующие изделия 5. Извещение о проверке | 1. Проверка представленной службой технического контроля документации 2. Выборочный контроль сборки редукторов, разобщительных муфт | Запись в извещении |
2.2.3 Стендовые испытания, ревизия, контрольные испытания передач разобщительных муфт | 1. Техническая документация 2. Описание и инструкция по обслуживанию, чертежи, результаты измерений деталей и монтажных размеров 3. Документы организации: о готовности стенда к испытаниям; схема оборудования, размещения КИП и паспорт стенда; о поверке или калибровке контрольно-измерительных приборов стенда или штатных приборов; техническая документация на комплектующее оборудование в случае его установки на стенд с изделием, подлежащим испытанию; 4. Заполненный формуляр (паспорт) 5. Документ службы технического контроля о проведении заводских испытаний (обкатки, регулировки, приемки) 6. Извещения о готовности к стендовым испытаниям, к ревизии, к контрольным испытаниям | 1. Проверка представленной службой технического контроля документации 2. Проверка в действии на режимах, предусмотренных программой 3. Проверка узлов и деталей в объеме, установленном программой-методикой испытаний при ревизии 4. Проверка в действии на контрольных испытаниях после сборки и устранения дефектов, обнаруженных при стендовых испытаниях и ревизии | 1. Запись в извещении 2. Выдача документов Российского Классификационного Общества 3. Постановка клейма Российского Классификационного Общества |
2.2.4 Валы упорные, промежуточные, гребные, подшипники валопроводов, муфты соединительные | 1. Чертежи деталей 2. Сертификаты материалов 3. Таблица результатов измерений 4. Результаты неразрушающего контроля (дефектоскопии) 5. Документы службы технического контроля на выполненные в промежуточных стадиях работы (проведение операционного контроля) 6. Паспорт (формуляр) 7. Извещение о проверке | 1. Проверка представленной службой технического контроля документации 2. Выборочный контроль качества работ, соблюдения технологических процессов 3. Проверка на соответствие чертежам | 1. Запись в извещении 2. Постановка клейма Российского Классификационного Общества (для валов) 3. Выдача документов Российского Классификационного Общества <2> |
2.2.5 Винты гребные, ступицы, лопасти, движители крыльчатые, движительно-рулевые устройства, подруливающие устройства, поворотные колонки в сборе и механизмы, детали и узлы, поставляемые для их комплектации, воздушные нагнетатели | 1. Чертежи деталей 2. Сертификаты материалов 3. Результаты неразрушающего контроля, балансировки, испытаний 4. Документы службы технического контроля на выполненные в промежуточных стадиях работы (проведение операционного контроля) 5. Таблица результатов измерений 6. Паспорт (формуляр) 7. Извещение о проверке | 1. Проверка представленной службой технического контроля документации 2. Выборочный контроль качества работ, соблюдения технологических процессов 3. Проверка на соответствие чертежам | 1. Запись в извещении 2. Постановка клейма Российского Классификационного Общества (при необходимости) 3. Выдача документов Российского Классификационного Общества <2> |
2.2.6 Облицовка гребных валов | 1. Чертежи деталей 2. Сертификаты материалов 3. Результаты испытаний 4. Документы службы технического контроля на выполненные в промежуточных стадиях работы (проведение операционного контроля) 5. Таблицы результатов измерений 6. Извещение о проверке | 1. Проверка представленной службой технического контроля документации 2. Выборочный контроль качества работ, соблюдения технологических процессов 3. Проверка на соответствие чертежам | 1. Запись в извещении 2. Выдача документов Российского Классификационного Общества <2> |
2.2.7 Дейдвудные и гельмпортовые трубы, насадки неповоротные, трубы и каналы водометные | 1. Чертежи деталей 2. Сертификаты материалов 3. Результаты испытаний 4. Документы службы технического контроля на выполненные в промежуточных стадиях работы (проведение операционного контроля) 5. Таблицы результатов измерений 6. Извещение о проверке | 1. Проверка представленной службой технического контроля документации 2. Выборочный контроль качества работ, соблюдения технологических процессов 3. Проверка на соответствие чертежам | 1. Запись в извещении 2. Выдача документов Российского Классификационного Общества <2> |
2.3 Котлы |
2.3.1 Корпуса, обечайки, днища и барабаны, коллекторы и камеры, трубы жаровые, связи котельные, устройства топочные, экономайзеры, паросборники, пароперегреватели | 1. Чертежи узлов, деталей 2. Сертификаты на металлопрокат и сварочные материалы 3. Технологический процесс 4. Сведения о квалификации сварщиков 5. Результаты испытаний контрольных планок и рентгенограммы (при необходимости) 6. Документы службы технического контроля на выполненные в промежуточных стадиях работы (проведение операционного контроля) 7. Документы службы технического контроля о проведении гидравлического испытания деталей и узлов, термической обработки, о контроле качества сварных швов 8. Извещение о проверке | 1. Проверка представленной службой технического контроля документации 2. Проверка материала на наличие клейм и соответствие маркировки документам, подтверждающим качество материала 3. Выборочный контроль качества работ, соблюдения технологических процессов 4. Проверка на соответствие чертежам | 1. Запись в извещении 2. Выдача документов Российского Классификационного Общества <2> |
2.3.2 Арматура котла | 1. Документы на арматуру 2. Извещения о готовности к гидравлическим испытаниям | 1. Проверка представленной службой технического контроля документации 2. Выборочный осмотр 3. Гидравлическое испытание арматуры, наружный осмотр до и после испытания | 1. Запись в извещении 2. Выдача документов Российского Классификационного Общества <2> |
2.3.3 Сборка котла Внутреннее освидетельствование и гидравлическое испытание котлов. Паровая проба котла (при необходимости) | 1. Техническая документация 2. Паспорт котла или формуляр 3. Чертежи котла (продольный, поперечный разрезы и т.д.) 4. Документация на комплектующие изделия 5. Сведения о квалификации сварщиков 6. Документы службы технического контроля на выполненные в промежуточных стадиях работы (проведение операционного контроля) 7. Извещения о готовности в собранном виде без арматуры к внутреннему освидетельствованию, гидравлическому испытанию, паровой пробе (при необходимости), наружному осмотру 8. Таблицы результатов измерения жаровых труб до и после гидравлического испытания 9. Извещение о проверке | 1. Проверка представленной службой технического контроля документации 2. Выборочный контроль сборки котла 3. Внутреннее освидетельствование, гидравлическое испытание, наружный осмотр | 1 Запись в извещении 2. Постановка клейма Российского Классификационного Общества 3. Выдача документов Российского Классификационного Общества <2> |
2.4 Сосуды под давлением, теплообменные аппараты |
2.4.1 Резервуары (бочка, днище), трубные решетки | 1. Чертежи узлов, деталей 2. Сертификаты на металлопрокат и сварочные материалы 3. Технологический процесс 4. Сведения о квалификации сварщиков 5. Результаты испытаний контрольных планок и рентгенограммы (при необходимости) 6. Акты службы технического контроля на выполненные в промежуточных стадиях работы (проведение операционного контроля) 7. Документы службы технического контроля о проведении гидравлического испытания деталей и узлов, термической обработки, о контроле качества сварных швов 8. Извещение о проверке | 1. Проверка представленной службой технического контроля документации 2. Проверка материала на наличие клейм и соответствие маркировки документам, подтверждающим качество материала 3. Выборочный контроль качества работ, соблюдения технологических процессов 4. Проверка на соответствие чертежам | 1. Запись в извещении 2. Постановка клейма Российского Классификационного Общества 3. Выдача документов Российского Классификационного Общества <2> |
2.4.2 Арматура | 1. Документы на арматуру и головку 2. Извещения о готовности к гидравлическим испытаниям | 1. Проверка представленной службой технического контроля документации 2. Выборочный осмотр 3. Гидравлическое испытание арматуры, наружный осмотр до и после испытания | 1. Запись в извещении 2. Выдача документов Российского Классификационного Общества <2> |
2.4.3 Внутреннее освидетельствование и гидравлическое испытание котлов сосудов под давлением, теплообменных аппаратов. | 1. Техническая документация 2. Паспорта или формуляры сосудов под давлением, теплообменных аппаратов 3. Чертежи сосудов под давлением, теплообменных аппаратов 4. Документация на комплектующие изделия 5. Документы службы технического контроля на выполненные в промежуточных стадиях работы (проведение операционного контроля) 6. Извещения о готовности в собранном виде без арматуры к внутреннему освидетельствованию, гидравлическому испытанию 7. Извещение о проверке | 1. Проверка представленной службой технического контроля документации 2. Выборочный контроль сборки котла 3. Внутреннее освидетельствование, гидравлическое испытание, наружный осмотр | 1 Запись в извещении 2. Постановка клейма Российского Классификационного Общества 3. Выдача документов Российского Классификационного Общества |
2.5 Электрическое оборудование |
2.5.1 Генераторы, гребные электродвигатели | 1. Техническая документация 2. Документы приемки службой технического контроля 3. Извещение | 1. Проверка представленной службой технического контроля документации, срока ее согласования 2. Осмотр и проверка узлов и деталей 3. Испытания в действии | 1. Запись в извещении 2. Постановка клейма Российского Классификационного Общества 3. Выдача документов Российского Классификационного Общества <2> |
2.5.2 Электрораспределительные устройства (главные и аварийные распределительные щиты, щиты групповые, щиты и пульты контроля и сигнализации, прочие щиты) | 1. Техническая документация 2. Программа испытаний 3. Документы на комплектующие изделия 4. Документы приемки службой технического контроля 5. Извещение | 1. Проверка представленной службой технического контроля документации, срока ее согласования 2. Осмотр и проверка узлов и деталей 3. Испытания в действии | 1. Запись в извещении 2. Постановка клейма Российского Классификационного Общества 3. Выдача документов Российского Классификационного Общества <2> |
2.5.3 Электроприводы ответственного назначения, аккумуляторы, трансформаторы, преобразователи, осветительное оборудование, телеграфы электрические машинные, указатели положения руля и лопастей ВРШ, тахометры линии вала, аппаратура телефонная, сигнализация обнаружения пожара и пуске объемного пожаротушения, приборы нагревательные и отопительные, кабельные изделия | 1. Техническая документация 2. Программа испытаний 3. Документы на комплектующие изделия 4. Документы приемки службой технического контроля 5. Извещение | 1. Проверка представленной службой технического контроля документации, срока ее согласования 2. Осмотр и проверка узлов и деталей 3. Участие в испытаниях | 1. Запись в извещении 2. Выдача документов Российского Классификационного Общества <2> |
2.6 Палубные механизмы и судовые технические средства вспомогательного назначения |
2.6.1 Рулевые машины, подруливающие устройства, нагнетатели (для судов на воздушной подушке), якорные и швартовные механизмы (шпили, брашпили, лебедки), воздушные компрессоры, буксирные лебедки, лебедки люковых закрытий | 1. Техническая документация 2. Формуляры, паспорта 3. Программа испытаний 4. Сертификаты Российского Классификационного Общества на комплектующие изделия (если предусмотрено Правилами) 5. Извещение | 1. Проверка представленной службой технического контроля документации, срока ее согласования 2. Осмотр и проверка узлов и деталей 3. Испытания в действии | 1. Запись в извещении 2. Выдача документов Российского Классификационного Общества <2>3. Постановка клейма Российского Классификационного Общества |
2.6.2 Автосцепы торцовые и бортовые | 1. Техническая документация 2. Формуляры, паспорта 3. Программа испытаний 4. Извещение | 1. Проверка материалов по формуляру 2. Осмотр и проверка деталей и узлов 3. Участие в стендовых испытаниях | 1. Запись в извещении 2. Запись в формуляре 3. Постановка клейма Российского Классификационного Общества 4. Выдача документов Российского Классификационного Общества <2> |
2.7 Узлы и детали судовых устройств и снабжение |
2.7.1 Спасательные шлюпки и приборы | 1. Техническая документация 2. Документы на материалы 3. Программы испытаний 4. Извещение | 1 Проверка представленной службой технического контроля документации 2. Осмотр и проверка 3. Участие в испытаниях | 1. Запись в извещении 2. Выдача документов Российского Классификационного Общества 3. Постановка клейма Российского Классификационного Общества |
2.7.2 Спасательные круги, жилеты, нагрудники | 1. Техническая документация 2. Документы на материалы 3. Программы испытаний 4. Документы приемки службой технического контроля 5. Извещение | 1. Проверка представленной службой технического контроля документации 2. Осмотр и проверка 3. Участие в испытаниях | 1. Запись в извещении 2. Выдача документов Российского Классификационного Общества |
2.7.3 Сигнально-отличительные фонари | 1. Техническая документация 2. Программа испытаний 3. Документы, подтверждающие результаты контроля и проверки персоналом организации изготовленных изделий 4. Извещение | 1. Проверка представленной службой технического контроля документации 2. Осмотр и проверка фонарей 3. Испытания в действии при типовых испытаниях серийных образцов | 1. Запись в извещении 2. Выдача документов Российского Классификационного Общества |
2.7.4 Рули, насадки, баллеры рулей и насадок | 1. Техническая документация 2. Документы на материалы 3. Акт о проведении измерений 4. Извещение | 1. Проверка представленной службой технического контроля документации 2. Осмотр и проверка 3. Участие в испытаниях | 1. Запись в акте 2. Постановка клейма Российского Классификационного Общества 3. Выдача документов Российского Классификационного Общества <2> |
2.7.5 Якоря, якорные цепи | 1. Техническая документация 2. Документы на материалы 3. Извещение | 1. Проверка представленной службой технического контроля документации 2. Осмотр и проверка 3. Участие в испытаниях | 1. Запись в извещении 2. Выдача документов Российского Классификационного Общества <2> |
2.7.6 Буксирные и грузовые гаки | 1. Техническая документация 2. Документы на материалы 3. Извещение | 1. Проверка представленной службой технического контроля документации 2. Осмотр и проверка 3. Участие в испытаниях | 1. Запись в извещении 2. Выдача документов Российского Классификационного Общества <2> |
2.8 Средства радиосвязи и навигационное оборудование |
2.8.1 Средства связи и навигационное оборудование | 1. Техническая документация 2. Документы приемки службой технического контроля 3. Извещение о проверке | 1. Проверка представленной службой технического контроля документации 2. Осмотр и проверка блоков, антенн 3. Участие в испытаниях | 1. Запись в извещении 2. Выдача документов Российского Классификационного Общества |
<1> Объем технического наблюдения, осуществляемого экспертом, определен ПТНП. <2> При изготовлении изделий, предназначенных для поставки в другие организации. |
(рекомендуемое)
ФОРМА ПОСТРОЕЧНОГО ЖУРНАЛА
N п/п | Наименование контролируемого объекта (материалы, узлы, детали и т.п.) | Отметка о контроле | Примечание |
производственного мастера | Дата | представителя службы технического контроля | Дата | эксперта Российского Классификационного Общества | Дата |
1 | 2 | 3 | 4 | 5 | 6 | 7 | 8 | 9 |
| | | | | | | | |
| | | | | | | | |
(обязательное)
ФОРМА ЖУРНАЛА ТЕХНИЧЕСКОГО НАБЛЮДЕНИЯ
N п/п | Дата | N проекта, строительный N судна | Замечание эксперта | Меры руководства организации | Запись службы технического контроля об устранении замечания | Запись эксперта об устранении замечания |
1 | 2 | 3 | 4 | 5 | 6 | 7 |
| | | | | | |
| | | | | | |
(справочное)
МЕТОДИКА ИСПЫТАНИЯ НА ДОПУСК СВАРЩИКОВ
2 Испытания для получения допуска на автоматическую сварку проводятся согласно
табл. П7.2.
Таблица П7.1
Объем испытаний для получения допуска
на ручную и полуавтоматическую сварку
Вид изделия, тип конструкции | Толщина, мм | Положение сварки | | Оценка качества <2> для разрушающего контроля <3> |
Листы | <= 5, 6 - 25, > 25 | Горизонт. | P1d + P2h | Согласно 3.4 приложения 12 ч. X ПКПС (два образца для испытания на излом из каждого углового соединения) |
| P2h |
Все | P1v + (P1h-v, P10) + P2v |
| P2v + P20 |
| <= 5, > 5 | Горизонт. | P1v + P3 | Согласно 3.2 приложения 12 ч. X ПКПС (четыре образца для испытания на изгиб) |
Все | P4 + P5 |
> 5 | | P6 + P7 |
Сосуды под давлением | листы | | Все | P1v + (P1h-v, P10) |
| P6 |
Заварка дефектов поковок и отливок | - | Горизонт. | P8 | Согласно 3.4 и 3.2 приложения 12 ч. X ПКПС (по два образца для испытания на изгиб) |
<1> Согласно рис. П7.1-1 - П.7.1-8: P1d - стыковые соединения в горизонтальном положении; P1v - стыковые соединения в вертикальном положении; P1h-v - горизонтальные стыковые соединения на вертикальной плоскости; P10 - стыковые соединения в потолочном положении; P2h - угловые соединения в горизонтальном положении; P2v - угловые соединения в вертикальном положении; P20 - угловые соединения в потолочном положении. <2> Для неразрушающего контроля - уровень качества B (за исключением следующих видов дефектов: чрезмерное количество наплавленного металла; чрезмерно выпуклая поверхность; чрезмерная толщина шва и чрезмерное проплавление, для которых применяется уровень качества C) по ГОСТ Р ИСО 5817, ГОСТ Р ИСО 10042 согласно 8.3 ч. X ПКПС. <3> Российское Классификационное Общество устанавливает участки проб, из которых изготавливаются образцы. <4> Для сварных соединений, выполняемых электродами, предназначенными только для сварки угловых швов. <5> Диаметр сварных проб выбирается в зависимости от типа конструкции. <6> Для получения допуска на сварку конструкций из труб. Примечание. t - толщина пробы. |

Рис. П7.1-2. Проба P2
Рис. П7.1-3. Проба P3
Рис. П7.1-4. Проба P4
Рис. П7.1-5. Проба P5
Рис. П7.1-6. Проба P6
Рис. П7.1-7. Проба P7
Таблица П7.2
Объем испытаний для получения допуска
на автоматическую сварку
Вид изделия | Толщина или диаметр, мм | Вид проб | Оценка качества <1> для разрушающего контроля <2> |
Листы | | P1 | Согласно 5.3 или 6 приложения 12 ч. X ПКПС (четыре образца для испытания на изгиб) |
Трубы | >= 0,5D | P3 | Согласно 5.3 приложения 12 ч. X ПКПС (четыре образца для испытания на изгиб) |
| (P6) |
<1> Для неразрушающего контроля - уровень качества B (за исключением следующих видов дефектов: чрезмерное количество наплавленного металла; чрезмерно выпуклая поверхность; чрезмерная толщина шва и чрезмерное проплавление, для которых применяется уровень качества C) по ГОСТ Р ИСО 5817, ГОСТ Р ИСО 10042 согласно 8.3 ч. X ПКПС. <2> Российское Классификационное Общество определяет участки проб, из которых вырезается материал для изготовления проб. Примечания. 1. t - толщина пробы, D - диаметр пробы. 2. Положение сварки выбирается в зависимости от способа сварки и возможностей автоматического сварочного оборудования. |
(обязательное)
ТИПОВОЙ ПЕРЕЧЕНЬ ТЕХНИЧЕСКОЙ ДОКУМЕНТАЦИИ, ПРЕДСТАВЛЯЕМОЙ
НА РАССМОТРЕНИЕ РОССИЙСКОМУ КЛАССИФИКАЦИОННОМУ ОБЩЕСТВУ
Настоящим приложением определяются перечни технической документации, представляемой на рассмотрение Российскому Классификационному Обществу.
Указанные перечни являются типовыми и в зависимости от особенностей конструкции судов, элементов судна определяются проектной организацией (организацией-изготовителем) по согласованию с Российским Классификационным Обществом.
Рабочая документация на изделия судового машиностроения, электро-, радио- и навигационного оборудования представляется с учетом
Номенклатуры. Объем документации определяется проектной организацией по согласованию с филиалом.
Штамп "СОГЛАСОВАНО" ставится на документацию, отмеченную знаком "*", и всю рабочую документацию. Штамп "ПРИНЯТО К СВЕДЕНИЮ" проставляется на документацию, не отмеченную знаком "*" в
разд. 1 -
5.
1 Состав технического проекта судна
1.1 В составе технического проекта судна должны быть представлены следующие общепроектные документы:
.1 ведомость документов технического проекта;
.2 пояснительная записка к проекту;
.3* спецификация, содержащая, в том числе, раздел о предотвращении загрязнения с судов;
.4* перечень замен, равноценных требованиям Правил, если они допущены в проекте, с их обоснованием;
.5* программа и методика приемочных испытаний головного судна (представляется после утверждения технического проекта);
.6* Инструкция по загрузке, разгрузке и балластировке для грузового судна (представляется после уточнения нагрузок масс при рабочем проектировании);
.7* Информация об остойчивости и непотопляемости (представляется после уточнения нагрузок масс при рабочем проектировании);
.8* чертежи общего расположения с изображением технических средств, устройств и оборудования:
боковой вид;
продольный разрез с указанием непроницаемых переборок, палуб, платформ и иных элементов;
планы палуб, трюмов, мостиков, платформ и иных элементов;
.9* общее расположение оборудования в рулевой рубке;
.10 схема расположения взрыво- и пожароопасных зон и помещений (при их наличии);
.11 теоретический чертеж корпуса судна;
.12 расчеты нагрузки масс и положения центра тяжести, дифферента и начальной остойчивости для различных случаев нагрузки;
.13 диаграммы статической и динамической остойчивости с таблицей кренящих и опрокидывающих моментов и углов крена для различных случаев нагрузки (вычисление плеч диаграмм остойчивости можно не представлять); проверка остойчивости для различных случаев нагрузки; таблицы исходных данных при выполнении расчетов с помощью компьютерных приложений;
.14 расчет непотопляемости судов в соответствии с требованиями 4.2 ч. I ПКПС, таблицы исходных данных при выполнении расчетов с помощью компьютерных приложений;
.15 расчеты надводного борта;
.16 расчеты маневренности судна, включая таблицу маневренности;
.17 расчеты валовой вместимости;
.18 ведомость материалов, комплектующих изделий и оборудования, подлежащих поставке с документами, предусмотренными
2.2.6;
.19 схема видимости из рулевой рубки.
1.2 В составе технического проекта должна быть представлена следующая документация по корпусу:
.1* мидель-шпангоут и поперечные сечения корпуса с основными узлами набора;
.2* конструктивный чертеж корпуса и надстроек, участвующих в общем изгибе судна, с таблицей набора;
.3* растяжка наружной обшивки для судов со сложными обводами корпуса;
.4 расчеты по выбору конструкции и размеров связей корпуса, таблицы исходных данных при выполнении расчетов с помощью компьютерных приложений;
.5 расчеты общей и местной вибрации;
.6 расчеты прочности и устойчивости элементов корпуса (для однокорпусных стальных судов и катамаранов длиной более 50 м, судов с корпусом из легких сплавов, судов на подводных крыльях, судов на воздушной подушке, судов с корпусом из пластмасс);
.7 таблицы исходных данных при выполнении расчетов с помощью компьютерных приложений;
.8 расчеты прочности корпуса (для судов с корпусом из железобетона);
.9 расчеты поперечной прочности судна (для беспалубных грузовых судов и судов с отношением B/H, превышающим регламентируемое);
.10 расчеты прочности надстройки (для пассажирских судов с большими вырезами оконных проемов);
.11 общий вид люкового закрытия судна с расчетами прочности люковых крышек и основных деталей привода;
.12 расчет общей прочности корпуса в конце срока службы судна;
.13 расчеты ледовой прочности ледоколов.
1.3 В составе технического проекта должна быть представлена следующая документация на оборудование и изоляцию помещений:
.1 сведения о примененных на судне отделочных, конструкционных и изоляционных материалах с указанием мест, где они установлены, их характеристик горючести, количества горючих материалов на 1 м2 площади пола каждого помещения;
.2* схема изоляции и отделки помещений.
1.4 В составе технического проекта должна быть представлена следующая документация на общесудовые устройства:
.1* схема расположения сигнальных и отличительных средств;
.2 выбор элементов устройств и предметов снабжения по Правилам или расчеты, с помощью которых обоснован выбор этих элементов;
.3 чертежи общего расположения устройств новых типов.
1.5 В составе технического проекта должна быть представлена следующая документация по энергетической установке и системам:
.1* расположение главных и вспомогательных двигателей и оборудования в машинных помещениях, в помещении центрального поста управления, с указанием проходов и выходных путей согласно 1.9 ч. IV ПКПС;
.2* валопровод с дейдвудным устройством, движителем (поворотной винторулевой колонкой), валами и соединительными муфтами;
.3 расчет валопровода (в том числе на крутильные колебания), движителя и выбор элементов валопровода по Правилам;
.4* принципиальные схемы систем (с указанием рабочих параметров, диаметра, толщины стенки труб, материалов, из которых изготовлены трубы и арматура): охлаждения, масляной, питания топливом, пускового воздуха, газоотвода (могут быть изображены на общем виде отделения), паровых трубопроводов, конденсатно-питательной.
1.6 В составе технического проекта должна быть представлена следующая документация по общесудовым системам:
.1* принципиальные схемы систем (с указанием параметров, диаметра, толщины стенки труб, материалов, из которых изготовлены трубы и арматура): вентиляции, пожаротушения, осушительной, балластной, удаления нефтесодержащих трюмных вод, подогрева нефтепродуктов, гидропневмопривода технических средств вспомогательного назначения и палубных механизмов, бытовой установки сжиженного газа, воздушных, переливных и измерительных трубопроводов, сжатого воздуха, перекачки, сдачи и сброса нефтесодержащих и сточных вод;
.2 расчеты судовых систем: вентиляции, пожаротушения, осушительной, балластной, сжатого и пускового воздуха;
.3 расчеты вместимости цистерн систем перекачки, сдачи и сброса нефтесодержащих и сточных вод.
1.7 В составе технического проекта должна быть представлена следующая документация на холодильную установку:
.1* чертежи общего расположения холодильной установки;
.2* принципиальные схемы систем холодильного агента, хладоносителя, вентиляции, воздушного охлаждения и охлаждающей воды, систем управления, контроля, сигнализации и защиты;
.3 основные расчеты по холодильной установке.
1.8 В составе технического проекта должна быть представлена следующая дополнительная к указанной в
1.5 и
1.6 документация для нефтеналивных судов:
.1* чертежи расположения оборудования в насосном отделении;
.2* принципиальные схемы систем: грузовой, зачистной, инертного газа, газоотводной.
1.9 В составе технического проекта должна быть представлена следующая документация по автоматизации:
.1* расположение основных средств дистанционного управления и автоматизации - постов, пультов управления;
.2* принципиальные и структурные схемы дистанционного управления, автоматизации и аварийно-предупредительной сигнализации основных судовых технических средств и систем с указанием источников питания;
.3* принципиальные схемы сигнализации уровня жидкости системы перекачки, сдачи и сброса нефтесодержащих и сточных вод.
1.10 В составе технического проекта должна быть представлена следующая документация на электрооборудование:
.1* принципиальные схемы распределения электроэнергии от основных и аварийных источников: силовых сетей, освещения (до групповых щитов);
.2* принципиальные схемы главного и аварийного распределительных щитов, пультов управления и распределительных щитов нетипового исполнения;
.3* принципиальные схемы электроприводов судовых технических средств, указанных в 5.3.1, 7.5 - 7.10 и п. 4.2 табл. 4.5.1 ч. VI ПКПС;
.4* принципиальные схемы сети основного и аварийного освещения;
.5* принципиальные схемы отличительных и сигнальных фонарей;
.6* принципиальные схемы авральной и пожарной сигнализации;
.7* принципиальные схемы цепей главного тока, возбуждения, управления, контроля сигнализации, защиты и блокировки гребной электрической установки;
.8* схема заземления для судов с непроводящим корпусом;
.9* схема молниеотводного устройства (может быть приведена на общем виде судна);
.10 расчет необходимой мощности электростанции для обеспечения всех режимов работы судна, обоснования выбора числа и мощности генераторов, а также расчет мощности (емкости) аварийных источников электрической энергии;
.11 расчет площади сечения кабелей с указанием их марок, токов и защиты;
.12 расчет токов короткого замыкания и изменений напряжения;
.13 расчет шин, коммутационной и защитной аппаратуры ГРЩ и кабелей ответственных устройств на динамическую и термическую устойчивость при коротких замыканиях (при номинальной мощности генератора или параллельно работающих генераторов свыше 100 кВт);
.14 расчет грозозащиты;
.15 перечень мероприятий по обеспечению электростатической и гальванической искробезопасности (для нефтеналивных судов).
1.11 В составе технического проекта должна быть представлена следующая документация на средства связи и навигации:
.1* схемы электрические структурные навигационного оборудования, средств радиосвязи, устройства громкоговорящей связи и трансляции, средства переговорной связи, оборудования внутрисудовой связи, оборудования для приема сигналов радиовещательных станций (станций звукового и телевизионного вещания) и радиовещательной спутниковой службы;
.2* чертежи (не менее чем в двух проекциях) размещения оборудования в помещениях, предназначенных для установки радио- и навигационного оборудования;
.3* чертежи расположения антенн (в трех проекциях) могут быть указаны на общем виде судна;
.4 расчет параметров ПВ/КВ антенн и дальности радиосвязи;
.5* чертеж расположения главного (основного)/путевого (запасного) магнитного компаса.
1.12 В составе технического проекта должна быть представлена следующая документация на оборудование для предотвращения загрязнения с судов:
.1* схема расположения оборудования и устройств для предотвращения загрязнения с судов;
.2* расчет автономности плавания по условиям экологической безопасности;
.3* принципиальные схемы систем перекачки, сдачи и сброса очищенных нефтесодержащих и сточных вод, включая сборные цистерны и стандартные сливные соединения;
.4 техническое описание и принципы работы систем водоснабжения и водоотведения;
.5* программа испытаний оборудования в судовых условиях;
.6* схема опломбирования запорной арматуры системы откачки за борт нефтесодержащих и сточных вод;
.7* схема системы сбора утечного топлива и масла;
.8* для нефтеналивных судов, кроме документации, указанной в
1.12.1 -
1.12.7, должны быть представлены:
расчет вместимости грузовых, отстойных танков, танков чистого балласта;
схема размещения всех танков на судне;
схема деления на отсеки и расчеты аварийной остойчивости;
схема системы аварийной перекачки нефти;
схема расположения отверстий для сброса;
схема системы перекачки нефтяных остатков в отстойный танк;
руководство по эксплуатации выделенных для чистого балласта танков (если они предусмотрены);
руководство по эксплуатации системы автоматического измерения, регистрации и управления сбросом балластных и промывочных вод;
.9* инструкция по эксплуатации судового комплекта для борьбы с разливами нефти.
1.13 В составе технической документации для судов, на которых в качестве топлива используется природный или нефтяной газ, в дополнение к технической документации, указанной в
1.1 -
1.12, Российскому Классификационному Обществу должны быть предоставлены следующие документы, подтверждающие выполнение требований Правил:
.1 чертежи расположения емкостей для хранения запаса газового топлива с указанием расстояния от обшивки борта и днища до емкостей;
.2 чертежи опор и других конструкций, обеспечивающих крепление емкостей, указанных в
1.13.1;
.3 расчеты теплового излучения от пламени, которое может возникнуть при пожаре, воздействующего на емкости с газовым топливом, а также на другое оборудование и пространства, связанные с газовым топливом;
.4 чертежи и схемы систем и трубопроводов для газового топлива с указанием узлов, таких как компенсаторы, фланцевые соединения, запорная и регулирующая арматура, чертежи быстрозапорных устройств газосодержащих систем, схем систем подготовки газового топлива, подогрева и регулирования давления, расчеты напряжений в элементах газосодержащего оборудования и трубопроводах, содержащих газовое топливо при температуре ниже -110 °C;
.5 чертежи предохранительных и вакуумных клапанов емкостей, указанных в
1.13.1;
.6 чертежи и описание всех систем и устройств для измерения количества и характеристик газового топлива и обнаружения его утечек;
.7 схемы системы контроля и регулирования давления и температуры газового топлива;
.8 схемы и расчеты осушительной и балластной систем в газоопасных помещениях;
.9 схемы и расчеты системы вентиляции газоопасных помещений;
.10 схемы и расчеты системы газоотводных трубопроводов, предназначенной для отвода и удаления газа от предохранительных и газоотводных клапанов в атмосферу;
.11 схемы электрических приводов и систем управления установок подготовки топлива, вентиляции взрывоопасных помещений и воздушных шлюзов;
.12 схемы электрических систем измерений и сигнализации оборудования, связанного с использованием газового топлива;
.13 чертежи расположения электрического оборудования, связанного с использованием газового топлива;
.14 чертежи прокладки кабелей во взрывоопасных помещениях и газоопасных пространствах;
.15 чертежи заземления электрического оборудования, кабелей и трубопроводов, установленных в газоопасных пространствах;
.16 обоснование взрывозащищенности установленного в газоопасных помещениях и пространствах электрического оборудования в соответствии с требованиями 2.10 ч. VI ПКПС;
.17 чертежи общего расположения с указанием:
помещений для хранения и подготовки газового топлива;
дверей, люков и любых других отверстий в конструкциях, ограничивающих помещения для хранения и подготовки газового топлива и иные взрывоопасные помещения и пространства;
газоотводных трубопроводов и мест приема и выпуска воздуха системы вентиляции взрывоопасных помещений и пространств;
дверей, иллюминаторов, тамбуров, мест выхода вентиляционных каналов и других отверстий в помещениях, примыкающих к взрывоопасной зоне;
.18 чертежи общего вида с размерами емкостей газового топлива;
.19 данные о физических и химических свойствах газового топлива, предназначенного для использования на судне;
.20 расчет допускаемого давления в стандартных баллонах для КПГ, если такие применяются;
.21 чертежи предохранительных клапанов, установленных на картерах двигателей и в системе газоотводных трубопроводов, с указанием рабочих параметров клапанов;
.22 расчет-обоснование выбора огнепреградителей, установленных в системе газоотводных трубопроводов;
.23 схема расположения газоопасных зон;
.24 анализ возможных отказов потребителей газового топлива, оборудования и систем для подготовки газового топлива и подачи его потребителям;
.25 перечень мероприятий и графических материалов по защите конструкций корпуса судна от воздействия на них СПГ в местах возможных его утечек;
.26 схема расположения поддона для сбора утечек СПГ.
2 Техническая документация переоборудования,
модернизации, переклассификации или ремонта судна
2.1 Техническая документация представляется по тем частям корпуса, судовым техническим средствам и оборудованию судна, которые подлежат переоборудованию, модернизации, восстановлению или ремонту.
При изменении характеристик прочности, остойчивости, маневренности и т.д. в результате переоборудования судна представляются соответствующие расчеты или обоснования.
2.2 При внесении изменений в конструкции корпуса, переоборудовании или модернизации судна Российскому Классификационному Обществу представляется техническая документация в объеме, установленном для судна в постройке (см.
1).
2.3 Для переклассификации судна Российскому Классификационному Обществу представляется следующая документация:
.1 пояснительная записка с обоснованиями переклассификации;
.2 анализ соответствия судна требованиям Правил для нового класса по всем элементам судна;
.3* перечень замен, равноценных требованиям Правил, для нового класса с обоснованиями;
.4 анализ соответствия требованиям международных нормативных документов (для судов, совершающих международные рейсы). Направляется в порядке информации;
.5* дополнение к спецификации;
.6* программа испытаний;
.7* инструкция по загрузке и разгрузке или дополнение к ней;
.8* информация об остойчивости и непотопляемости или дополнение к ней;
.9 расчеты общей и местной прочности;
.10 дополнительные расчеты по выбору конструкции подкреплений и размеров связей корпуса;
.11 расчет высоты надводного борта и чертеж грузовой марки;
.12 обоснования, подтверждающие возможность эксплуатации главных двигателей, движительно-рулевого комплекса и судовой электростанции без нарушения их технических характеристик, определяемых документацией на поставку и Правилами;
.13* техническая документация для переклассификации судна, касающаяся подкрепления корпуса, дооборудования и снабжения, включая чертежи общего расположения;
.14 расчеты маневренности судна, включая таблицу маневренности;
.15 специальные нормативы остаточных толщин и местных остаточных деформаций, отличающиеся от регламентируемых
ПОСЭ;
.16 техническая документация из перечня, указанного в
1.12, в случае, когда такая документация требуется в связи с установкой на судно нового оборудования для предотвращения загрязнения с судов, наличие которого регламентировано
ППЗС, если судно внутреннего плавания переклассифицируется на класс "О-ПР", "М-ПР" или "М-СП".
3 Проект перегона судна вне установленного района плавания
3.1 В состав проекта перегона судна входят:
.1 пояснительная записка с указанием района и условий перегона, описанием мероприятий по обеспечению безопасности перегона (включая мероприятия организационного характера);
.2 расчеты прочности, остойчивости и высоты надводного борта, требуемых Правилами для района и условий перегона;
.3 чертежи подкреплений корпуса и надстроек;
.4* чертежи и схемы закрытий отверстий в корпусе и надстройках судна, а также установки конструкций для повышения мореходности (волноотбойников, защиты надстроек, рубок и прочих технических решений по конвертовке судна);
.5* чертежи устройств для буксировки и (или) толкания, схема обраговки;
.6* чертежи расположения сигнально-отличительных фонарей и дневных сигналов буксируемого судна;
.7 описание энергетической установки, электрического, радио- и навигационного оборудования;
.8 описание рулевого, якорного, швартовного устройств, противопожарной защиты, спасательных и сигнальных средств;
.9* перечень аварийного снабжения и схема его размещения;
.10* инструкция для капитана перегоняемого судна или для капитана судна-буксировщика, включающая установленные ограничения по погоде, указания по балластировке судна, по расходованию судовых запасов и борьбе за живучесть судна в аварийных ситуациях.
4 Техническая документация по подготовке судна к перевозке
крупногабаритных и (или) тяжеловесных грузов
4.1 Документация должна содержать следующие материалы:
.1* схемы расположения на судне перевозимого груза с указанием габаритных размеров, координат центра тяжести и массы каждой единицы груза, способов и деталей закрепления (распорные брусья, упоры, найтовы и др.);
.2* схемы расположения сигнально-отличительных фонарей и молниеотводного устройства, если они претерпевают изменения;
.3* чертежи подкреплений - переборки и полупереборки, фермы, рамные балки, опорные конструкции, разносящие нагрузки от груза; выравнивающие настилы, устройства, предотвращающие сдвиг груза при качке и швартовках;
.4 дополнительные расчеты общей и местной прочности судна и удельных нагрузок на опорные конструкции с учетом неравномерности распределения груза при загрузке-разгрузке и перевозке. При определении местных нагрузок от сосредоточенных грузов учитываются инерционные нагрузки от качки;
.5 расчеты прочности раскреплений и усилий в них с учетом сил инерции при качке и швартовках. Раскрепление можно не предусматривать, если сила трения превышает сдвигающие усилия. На основе расчетов прочности устанавливается предельно допустимое давление по опорной поверхности груза или по выравнивающим настилам;
.6* дополнительную инструкцию по погрузке-выгрузке оборудования, разработанную на основании расчетов прочности и остойчивости судна с указанием возможности и необходимости балластировки, а также с указанием последовательности, способа и схемы загрузки-разгрузки с чертежами дополнительных конструкций;
.7* дополнительную информацию об остойчивости, составленную на основании расчетов остойчивости, непотопляемости и удифферентовки. При проверке аварийной остойчивости должны быть выполнены требования ч. II ПКПС;
.8* инструкцию для капитана по обеспечению безопасной транспортировки груза, включающую организационные мероприятия, маршрут транспортировки, установленные ограничения по погоде.
5 Состав технической документации изделий
5.1 В составе технической документации на двигатели внутреннего сгорания предоставляются:
.1* технические условия или заменяющие их документы;
.2* чертежи общего вида двигателя;
.3* чертежи ответственных деталей, указанных в
4.1.1 -
4.1.19 табл. П1.1 Правил (при одобрении типа вновь разработанного двигателя);
.4* принципиальные схемы систем: топливной, смазывания, охлаждения и пусковой;
.5* принципиальные схемы: электрооборудования, дистанционного управления, автоматизации, АПС защиты (в случаях, когда данные изделия входят в комплект поставки двигателя);
.6 расчеты, предусмотренные Правилами (при одобрении типа вновь разработанного двигателя, при этом, расчет прочности коленчатого вала должен быть выполнен для типового образца двигателя с наибольшим значением мощности);
.7* программы стендовых испытаний типового образца и серийно изготовляемого двигателя;
.8 технический паспорт выбросов вредных (загрязняющих) веществ в отработавших газах и дымности либо иные документы о предотвращении загрязнения воздушной среды из двигателя (Свидетельство EIAPP, технический файл двигателя и т.п.).
5.2 При одобрении типа образцов двух топливных двигателей внутреннего сгорания или двигателей, работающих на газовом топливе, в дополнение к документам, указанным в
5.1, в составе технической документации предоставляются:
.1* схема газовой системы двигателя;
.2* схема системы газовых трубопроводов (в т.ч. расположения труб с двойной стенкой, при наличии);
.3* чертежи компонентов системы подачи газа (с указанием величин давления, размеров трубопроводов и материалов);
.4* расположения предохранительных клапанов картера двигателя, впускного ресивера, выпускного коллектора (при наличии);
.5* перечень оборудования взрывозащищенного исполнения (взрывозащищенность исполнения должна быть подтверждена сертификатом соответствия, выданным компетентной организацией);
.6 концепция безопасности;
.7 отчет об анализе рисков;
.8 спецификации газа;
.9* схема системы основного и запального жидкого топлива двигателя (для двухтопливных двигателей);
.10* чертеж защиты топливных трубопроводов высокого давления запального топлива в сборе (для двухтопливных двигателей);
.11* чертежи компонентов системы подачи запального топлива высокого давления двухтопливных двигателей, включая топливные трубопроводы и форсунки (с указанием величин давления, размеров трубопроводов и материалов);
.12* схема и описание системы воспламенения газового топлива (для двигателей, работающих на газовом топливе);
.13 расчет прочности выпускного газовоздушного коллектора для противостояния взрыву.
5.3 В составе технической документации на паровые и водогрейные котлы представляются:
.1* технические условия;
.2* сборочный чертеж с продольными и поперечными разрезами в масштабе не менее 1:10 и деталей соединения в масштабе не менее 1:2;
.3 расчет прочности котла в соответствии с Руководством по расчету на прочность котлов, теплообменных аппаратов и сосудов под давлением;
.4 расчет площадей сечений предохранительных клапанов;
.5* технологический процесс сборки и сварки;
.6* принципиальные схемы автоматизации аварийно-предупредительной сигнализации и защиты;
.7* программа испытаний типового и серийных изделий.
5.4 В составе технической документации на грузоподъемные устройства представляются:
.1* технические условия;
.2* чертежи общих видов грузоподъемного устройства, несущих металлоконструкций, механизмов;
.3 кинематическая схема;
.4* принципиальные схемы электрического оборудования;
.5 схемы приборов и устройств безопасности (с описанием их действия);
.6 расчет усилий и напряжений в элементах грузоподъемных устройств;
.7* программа испытаний типового и серийных изделий.
5.5 В составе технической документации на сцепное оборудование представляются:
.1* технические условия;
.2* программа стендовых испытаний;
.3* сборочные чертежи замка или натяжной станции;
.4* чертежи ответственных деталей;
.5 расчеты деталей на прочность.
5.6 В составе технической документации на палубные механизмы и судовые технические средства вспомогательного назначения представляются:
.1* технические условия;
.2* чертежи общего вида;
.3 сборочные чертежи ответственных узлов;
.4* принципиальные схемы управления, автоматизации АПС и защиты;
.5* расчеты, оговоренные в Правилах;
.6* программа испытаний типового и серийных изделий.
5.7 В составе технической документации на поворотные и неповоротные винторулевые колонки представляются:
.1* технические условия;
.2* чертежи общего вида;
.3 сборочные чертежи ответственных узлов;
.4* принципиальные схемы электрооборудования, гидравлики, смазки, аварийно-предупредительной сигнализации и защиты, кинематическая схема (если они не представлены в технических условиях);
.5 расчеты входного (ведущего) и выходного валов, зубчатой передачи, расчет и выбор подшипников;
.6* программа испытаний типового и серийных изделий.
5.8 В составе технической документации на зубчатые и гидравлические передачи представляются:
.1* технические условия;
.2* чертежи общего вида с разрезами;
.3 кинематическая схема;
.4 расчеты, оговоренные в Правилах;
.5 принципиальная схема управления автоматизации АПС и защиты;
.6* программа испытаний типового и серийных изделий.
5.9 В составе технической документации на электрооборудование представляются:
.1* технические условия;
.2* схемы электрические принципиальные, схемы автоматизации, АПС и защиты;
.3 расчеты, оговоренные в Правилах;
.4* программа испытаний типового и серийных изделий;
.5 чертежи общего вида.
5.10 В составе технической документации на средства связи и навигации представляются:
.1* технические условия;
.2* программа испытаний типового и серийных изделий;
.3 схемы;
.4 чертежи общего вида.
5.11 В составе технической документации на оборудование для предотвращения загрязнения с судов представляются:
на фильтрующее оборудование:
.1 техническое описание и принцип работы сепаратора или фильтра, инструкция по эксплуатации и обслуживанию;
.2* технические условия;
.3* чертежи общего вида с разрезами (конструкция сепаратора или фильтра, основные размеры, применяемые материалы и покрытия);
.4 сборочные чертежи насосов и других устройств, входящих в фильтрующую установку;
.5 чертежи сварных узлов (корпусов, фундаментной рамы и других деталей), содержащие данные по сварке;
.6 схемы обслуживающих систем в пределах фильтрующей установки;
.7* принципиальная электрическая схема установки, схема управления, регулирования, контроля, сигнализации и защиты;
.8 программа испытаний типового и серийных изделий;
.9 перечень ответственных деталей с указанием механических характеристик материала и пробного гидравлического давления;
на сигнализатор:
.10 техническое описание с указанием принципа работы и технических параметров, инструкция по эксплуатации, данные о надежности;
.11* технические условия;
.12* чертежи общего вида;
.13* спецификация с указанием применяемых материалов и комплектующих изделий;
.14* принципиальная и функциональная схемы;
.15* программа испытаний типового и серийных изделий;
на системы автоматического измерения, регистрации и управления сбросом балластных и промывочных вод:
.16 описание принципа действия с указанием технических параметров, инструкция по эксплуатации и обслуживанию, данные о надежности;
.17* технические условия;
.18* чертежи общего вида;
.19* спецификация с указанием применяемых материалов и комплектующих изделий;
.20* принципиальная и функциональная схемы;
.21* чертежи арматуры для экстренного прекращения сброса;
на установку для обработки сточных вод:
.22 техническое описание и инструкция по эксплуатации;
.23* технические условия;
.24* чертежи общего вида с разрезами (конструкция, основные размеры, применяемые материалы и покрытия);
.25* принципиальная электрическая схема;
.26* схема управления, регулирования, контроля, сигнализации и защиты;
.27* программа испытаний типового и серийных изделий;
на инсинератор:
.28 техническое описание и инструкция по эксплуатации;
.29* технические условия;
.30* чертежи общего вида с разрезами (конструкция, основные размеры, применяемые материалы и покрытия);
.31* чертежи форсуночных устройств;
.32 чертежи загрузочного устройства;
.33 схема топливной системы в пределах установки;
.34* принципиальная электрическая схема;
.35* схема управления, регулирования, контроля, сигнализации и защиты;
.36* программа испытаний типового и серийных изделий;
на устройство для сбора мусора (съемное):
.37 техническое описание;
.38* чертежи общего вида с разрезами (конструкция, основные размеры, применяемые материалы и покрытия);
на устройства для обработки мусора:
.39* техническое описание и инструкция по эксплуатации;
.40* технические условия;
.41 чертежи общего вида с разрезами (конструкция, основные размеры, применяемые материалы и покрытия);
.42* принципиальная электрическая схема.
6 Рабочая документация судна, подлежащая
согласованию филиалом
6.1 По корпусу и надстройке филиалу на согласование представляются следующие чертежи и текстовые документы:
.1 мидель-шпангоут и поперечные сечения;
.2 конструктивный чертеж корпуса с таблицей набора;
.3 конструктивный чертеж надстроек;
Примечание. Здесь и далее под словом "надстройки" понимаются надстройки и рубки, участвующие в общем изгибе судна.
.4 растяжка наружной обшивки корпуса и внутренних бортов;
.5 настил палуб и второго дна;
.6 альбом типовых узлов и конструкций по корпусу и надстройке;
.7 таблица сварки;
.8 схема просвечивания сварных швов;
.9 штевни, кили, кронштейны гребных валов, дейдвудные трубы, втулки, неповоротные насадки;
.10 плоскостные секции палуб, платформ, бортов днища, поперечных и продольных непроницаемых переборок, внутренних бортов и настил второго дна, за исключением одинаковых секций в пределах цилиндрической вставки;
.11 объемные секции двойного дна, оконечностей судна и надстроек, за исключением одинаковых секций второго дна и двойных бортов в пределах цилиндрической вставки;
.12 блок-секции корпуса судна;
.13 фундаменты под главные двигатели, упорный подшипник, сцепное оборудование, грузовые краны;
.14 грузовые, палубные, световые и аварийные люки и их закрытия, непроницаемые двери, окна, иллюминаторы и другие дельные вещи согласно
Номенклатуре;
.15 фальшборты и леерные ограждения, металлические привальные брусья, упоры для толкания, сцепные балки;
.16 расположения лазов, трапов, наружных выходов с указанием высоты комингсов и габаритных размеров;
.17 расположение заборных, донных отверстий и шпигатов;
.18 противопожарные переборки и двери;
.19 инструкция и схема испытаний корпуса на непроницаемость;
.20 технологическая инструкция на сборочно-сварочные работы по изготовлению типовых и сложных узлов, секций, блоков и сборку корпуса на стапеле;
.21 схема разбивки корпуса и надстройки на секции и блоки;
.22 грузовая марка и шкалы осадок;
.23 схема технологических вырезов и отверстий;
.24 технология сварки и вварки толстостенных и кованых деталей (кронштейнов, штевней, дейдвудных труб, труб подруливающих устройств).
По железобетонному корпусу дополнительно представляются следующие чертежи:
.25 узлы соединения секций;
.26 армирование монолитных районов секций;
.27 усиление корпуса судна в районах вырезов, установки судовых технических средств, устройств и дельных вещей;
.28 установочные чертежи закладных деталей.
6.2 По рулевому и подруливающему устройствам на согласование филиалу представляется следующая документация (чертежи):
.1 общее расположение рулевого устройства;
.2 руль, баллер, сектор, основной привод руля, запасной привод руля, поворотная насадка, заслонка на судах с водометными движителями, установка руля, насадки, гельмпортовые трубы, рудерпис, подшипники баллера руля, румпель, ограничители перекладки руля и насадки;
.3 общее расположение подруливающего устройства.
6.3 По якорному устройству на согласование филиалу представляется следующая документация (чертежи):
.1 общее расположение якорного устройства;
.2 крепление жвака-галса;
.3 якорные клюзы;
.4 устройство дистанционной отдачи якорной цепи.
6.4 По спасательным средствам на согласование филиалу представляется следующая документация (чертежи):
.1 общее расположение шлюпочного устройства;
.2 шлюпбалки, их крепление и тали к ним;
.3 шлюпки и их крепление по-походному;
.4 спасательные приборы (плоты, скамейки и т.п.) и схемы их размещения.
6.5 По швартовному и буксирному устройствам на согласование филиалу представляется следующая документация (чертежи):
.1 общее расположение швартовного и буксирного устройств, буксирный гак, арки, рамные ограничители буксирного каната, битенги, клюзы;
.2 устройство для дистанционной и местной отдачи буксирного каната.
6.6 По сцепному устройству на согласование филиалу представляется следующая документация (чертежи):
.1 общее расположение сцепного устройства;
.2 установка сцепного оборудования;
.3 монтажные чертежи приводов расцепки.
6.7 По крыльевым устройствам на согласование филиалу представляется следующая документация:
.1 чертежи несущих плоскостей, стоек, кронштейнов, стабилизаторов, закрылков;
.2 сборочные чертежи;
.3 монтажная схема крыльевого устройства.
6.8 По изгибающему устройству на согласование филиалу представляется следующая документация (чертежи):
.1 общее расположение изгибающего устройства;
.2 гидроцилиндры, поворотная рама, насосная станция, упорные металлоконструкции;
.3 конструктивное оформление соединения элементов устройства с корпусом судна (фундаменты, подкрепление корпуса).
6.9 По устройству закрытия грузовых люков на согласование филиалу представляется следующая документация:
.1 чертеж общего расположения люкового закрытия;
.2 конструктивные чертежи люкового закрытия;
.3 сборочные чертежи элементов приводного устройства.
6.10 По грузоподъемным устройствам на согласование филиалу представляется следующая документация:
.1 чертеж общего вида грузоподъемного устройства;
.2 чертеж кабины управления с расположенным в ней оборудованием;
.3 чертежи узлов и деталей: металлоконструкций (стрела, хобот, фундамент опорно-поворотного устройства, стойка неподвижных блоков, рычаги и тяги противовесов, оттяжка хобота и т.д.), механизмов в сборе (подъема, замыкания, поворота, изменения вылета и передвижения), ограничителя грузоподъемности в сборе, указателя вылета, крюковой подвески в сборе, узлов крепления оттяжного и грузового канатов, крепления кольцевого токосъемника, установки концевых выключателей, блоков, гаков, ограждения;
.4 технологическая документация на монтаж.
6.11 По системам на согласование филиалу представляется следующая документация:
.1 монтажные чертежи систем энергетической установки (с указанием рабочего давления и давления гидравлических испытаний): охлаждения, масляной, питания топливом, воздуха, газоотвода, паровых трубопроводов, конденсатно-питательной;
.2 чертежи оборудования блоков систем и судовых технических средств в составе систем (при агрегатном методе проектирования, за исключением панелей);
.3 монтажные чертежи общесудовых систем (с указанием рабочего давления и давления гидравлических испытаний): вентиляции, пожаротушения, осушительной, балластной, удаления трюмных нефтесодержащих вод, подогрева грузов, гидропневмоприводов судовых технических средств вспомогательного назначения и палубных механизмов, бытовой установки сжиженного газа, воздушных, переливных и измерительных трубопроводов, сжатого воздуха;
.4 монтажные чертежи систем судов с холодильной установкой: холодильной машины, хладоносителя, воздушного охлаждения и охлаждающей воды;
.5 монтажные чертежи систем наливных судов: грузовой, зачистной, газоотводной;
.6 расчет паропровода (при его наличии) на тепловые расширения, содержащий сводную таблицу напряжений и коэффициентов запаса прочности для всех участков паропровода;
.7 сборочные чертежи сборных цистерн с указанием их вместимости;
.8 сборочные чертежи сливных соединений с указанием материалов и пробного давления.
6.12 По валопроводам и движителям на согласование филиалу представляется следующая документация (чертежи):
.1 валопровод с дейдвудным устройством и движителем;
.2 упорные, промежуточные и гребные валы валопровода;
.3 упорные и опорные подшипники;
.4 соединительные муфты с болтами;
.5 дейдвудное устройство;
.6 облицовка гребного вала;
.7 движитель;
.8 входной (ведущий) и выходной валы, зубчатая передача, гребной винт поворотной винторулевой колонки.
6.13 По энергетической установке на согласование филиалу представляется следующая документация:
.1 сборочные чертежи установки на фундаменты главных и вспомогательных двигателей, паровых и водогрейных котлов;
.2 чертежи глушителей и искрогасителей.
6.14 По автоматизации на согласование филиалу представляется следующая документация:
.1 схемы принципиальные и сборочные чертежи систем дистанционного управления (с двигателями, колонками, механизмом изменения шага и т.д.);
.2 сборочные чертежи постов и пультов управления.
6.15 По электрооборудованию на согласование филиалу представляется следующая документация:
.1 схемы электрические принципиальные, соединений, подключений, а также сборочные чертежи главного и аварийного распределительных щитов, пультов управления, групповых силовых и осветительных щитов, щитов и пультов контроля, сигнализации и управления;
.2 схемы принципиальные, соединений электроприводов судовых технических средств, указанных в 5.3.1, 7.5 - 7.10 и 4.2 табл. 4.5.1 ч. VI ПКПС;
.3 схемы соединений системы электрических машин, гребной установки, генераторов судовой электростанции, силовой сети, сети освещения, связи и сигнализации, контроля, защиты, блокировки и сигнально-отличительных фонарей;
.4 чертежи прокладки кабельных трасс по всем помещениям и пространствам судна через водонепроницаемые переборки, палубы и платформы;
.5 чертежи расположения и установки электрического оборудования по всем помещениям и пространствам судна с узлами крепления и заземления;
.6 чертежи заземления для судов с непроводящим корпусом.
6.16 По средствам связи и навигации на согласование филиалу представляется следующая документация:
.1 чертежи расположения и крепления антенных устройств, конструкции антенных вводов и их ограждений;
.2 чертежи расположения, установки оборудования по всем помещениям и пространствам судна с узлами крепления и заземления;
.3 чертежи прокладки и крепления кабельных трасс по всем помещениям и пространствам судна с узлами крепления;
.4 схемы и чертежи устройств для борьбы с помехами радиоприему;
.5 чертежи шахт эхолота, расположения и крепления вибраторов эхолота и прокладки кабеля;
.6 чертеж установки главного (основного)/путевого (запасного) магнитного компаса;
.7 схемы электрических соединений навигационного оборудования, средств радиосвязи, устройств громкоговорящей связи и трансляции, средств переговорной связи, оборудования внутрисудовой связи, оборудования для приема сигналов радиовещательных станций (станций звукового и телевизионного вещаний) и радиовещательной спутниковой службы.
6.17 Дополнительно к указанному в
6.1 -
6.16 на согласование филиалу представляется следующая документация:
.1 спецификация по общесудовой и корпусной частям, устройствам, двигателям, валопроводу, котлам, системам энергетической установки и судовым системам, электро- и радиооборудованию;
.2 программа (для серийных судов) и методика приемо-сдаточных испытаний;
.3 общий вид и расположение помещений судна;
.4 пожарные планы - планы общего расположения судна, на которых должны быть указаны: расположение постов управления; расположение огнезадерживающих и огнестойких конструкций; расположение помещений, защищаемых стационарными системами пожаротушения, с указанием местонахождения приборов и арматуры для управления их работой; расположение противопожарного и аварийного снабжения; средства доступа в различные отсеки, помещения, на палубы с указанием путей эвакуации, коридоров и дверей; расположение пожарных кранов; схема системы вентиляции, включая центральное управление вентиляторами, с указанием расположения и самих вентиляторов;
.5 схема установки сигнально-отличительных фонарей;
.6 ведомость судового снабжения в части, регламентированной Правилами;
.7 доковый чертеж;
.8 технологические процессы сборки и сварки судовых конструкций и корпуса судна (разрабатываются организацией-строителем и согласовываются участком филиала, ведущим техническое наблюдение за постройкой);
.9 программа и методика сравнительных и имитационных испытаний судна;
.10 сводка выполнения замечаний Российского Классификационного Общества по техническому проекту (без постановки штампа);
.11 перечень материалов рабочего проекта, согласованных с филиалом.
7 Техническая документация экранопланов
7.1 Общие указания
7.1.1 В
7.2 -
7.4 приведены типовые перечни проектной технической документации экраноплана, предоставляемой на рассмотрение Российскому Классификационному Обществу, и в зависимости от особенностей конструкции элементов экраноплана могут быть расширены или сокращены. Документация эскизного проекта предоставляется только для головного экраноплана серии - необходима для согласования объема опытно-конструкторских работ, выполняемых на стадии подготовки технического проекта и требуемых для создания экраноплана с заданными техническими характеристиками с учетом требований безопасности, регламентированных требованиями
Дополнения 1 к ПКПС. На документацию эскизного проекта штампы о согласовании не ставятся. На документацию технического проекта, отмеченную знаком "*", ставятся штампы о согласовании, а остальная документация принимается Российским Классификационным Обществом к сведению. Согласование всей рабочей документации, оговоренной перечнем, подтверждается постановкой штампа о согласовании.
7.2.1 Общая документация:
.1 ведомость документов эскизного проекта;
.2 пояснительная записка;
.3 спецификация;
.4 общее расположение;
.5 расчет нагрузки масс;
.6 исходная аэрогидродинамическая компоновка;
.7 исходная конструктивно-силовая схема;
.8 расчет остойчивости и непотопляемости.
7.2.2 Расчеты, выполненные с целью обоснования исходной аэрогидродинамической компоновки:
.1 аэрогидродинамический расчет;
.2 расчет продольной устойчивости и управляемости;
.3 расчет боковой устойчивости и управляемости;
.4 расчет маневренных характеристик;
.5 расчет взлетно-посадочных характеристик;
.6 расчет устойчивости и управляемости на переходных режимах движения.
7.2.3 Программы испытаний моделей, предназначенных для изучения и обоснования аэрогидродинамической компоновки:
.1 аэротрубной модели (с моделированием работы взлетно-посадочных устройств);
.2 буксируемой модели на буксируемом стенде (с моделируемым поддувом);
.3 буксируемой модели в бассейне (с моделируемым поддувом);
.4 буксируемой модели на открытой воде (с моделируемым поддувом).
7.2.4 Расчеты прочности, выполненные с целью обоснования конструктивно-силовой схемы:
.1 внешних нагрузок;
.2 общей прочности;
.3 местной прочности;
.4 показателей надежности.
7.2.5 Программы испытаний моделей, предназначенных для обеспечения разработки корпусных конструкций:
.1 упругоподобной модели (для поиска рациональной конструктивно-силовой схемы);
.2 упругоподобной буксируемой модели для исследования напряженного состояния на открытой воде;
.3 динамически упругоподобной модели для исследования аэроупругости (с моделируемым поддувом).
7.2.6 Конструктивная схема взлетно-посадочного устройства.
7.2.7 Общее расположение оборудования энергетической установки и обоснование выбора двигателей.
7.2.8 Расчет основных параметров и тяговых (поддувных) характеристик воздушного винта.
7.2.9 Расчеты, с помощью которых обосновывается выбор двигателей и РУ.
7.3 Технический проект
7.3.1 Общепроектная документация:
.1 ведомость документов технического проекта;
.2 пояснительная записка к проекту;
.3* спецификация;
.4* теоретический чертеж;
.5 кривые (таблицы) элементов теоретического чертежа (гидростатические кривые);
.6 таблица емкостей и схема непроницаемых отсеков;
.7* расчет нагрузки масс и положения центра тяжести экраноплана;
.8 расчет моментов инерции;
.9* расчет нагрузки масс, начальной остойчивости и посадки для основных эксплуатационных случаев, расчет остойчивости на больших углах крена;
.10 расчет парусности;
.11 диаграмма остойчивости;
.12* расчет непотопляемости и аварийной остойчивости;
.13* расчет надводного борта;
.14 чертеж аэрогидродинамической компоновки;
.15* чертеж общего расположения;
.16 перечень макетных работ;
.17 состав, характеристики, расположение оборудования на экраноплане;
.18 компоновка пультов и щитов;
.19 дизайнерская отработка кабины пилотов-судоводителей, требований эргономики;
.20* чертеж общего расположения в кабине пилотов-судоводителей;
.21 диаграмма углов обзора с рабочих мест пилотов-судоводителей;
.22* Информация об остойчивости и непотопляемости;
.23* общее расположение оборудования в кабине экипажа;
.24 ведомость материалов, комплектующих изделий и оборудования, подлежащих поставке с документами Российского Классификационного Общества или с документами компетентных организаций в области авиационной безопасности;
.25 перечень равноценных по отношению к требуемым Правилами замен, применение которых предусматривается техническим проектом, с изложением их содержания и необходимых технических обоснований по каждой равноценной замене;
.26 экспертное заключение специализированной организации об аэрогидродинамических свойствах экраноплана.
7.3.2 Аэрогидродинамические расчеты:
.1 расчет продольной устойчивости и управляемости на экранных высотах полета;
.2 расчет продольной устойчивости и управляемости на внеэкранных высотах полета;
.3 расчет боковой устойчивости и управляемости на экранных высотах полета;
.4 расчет боковой устойчивости и управляемости на внеэкранных высотах полета;
.5 расчет маневренных характеристик на экранных и внеэкранных высотах полета;
.6 расчет продольной устойчивости и управляемости при полете со скольжением на установившемся вираже;
.7 расчет динамики движения в условиях ветро-волновых возмущений;
.8 аэродинамический расчет;
.9 расчет ходкости;
.10 расчет предельных ветровых воздействий на режимах полета над экраном, не приводящих к потере устойчивости движения, выходу на внеэкранные режимы полета;
.11 расчет максимально допустимой скорости движения над экраном, исключающей выход на внеэкранные режимы полета.
7.3.3 Документация по корпусу:
.1* чертеж мидель-шпангоута с характерными сечениями в носовой и кормовой оконечностях корпуса;
.2* конструктивно-силовая схема планера;
.3* конструктивно-силовая схема корпуса;
.4 чертежи переборок корпуса;
.5 чертежи палуб и платформ корпуса;
.6* чертежи растяжек наружной обшивки днища, борта и тента корпуса;
.7 конструктивно-силовая схема взлетно-посадочного устройства;
.8 конструктивно-силовая схема крыла;
.9 конструктивно-силовая схема центроплана, консолей и законцовок;
.10 конструктивно-силовая схема закрылков и концевых шайб;
.11* чертежи растяжек наружной обшивки центроплана и консолей;
.12 чертежи лонжеронов крыла;
.13 чертежи нервюр крыла;
.14 чертежи соединений крыла с корпусом и разъемов крыла;
.15 конструктивно-силовая схема вертикального оперения;
.16 конструктивно-силовая схема руля направления;
.17 чертежи соединения киля с корпусом;
.18* чертежи растяжек наружной обшивки вертикального оперения;
.19 конструктивно-силовая схема стабилизатора;
.20 конструктивно-силовая схема руля высоты;
.21 чертежи разъемов стабилизатора;
.22 чертежи растяжек наружной обшивки стабилизатора;
.23 чертежи соединения стабилизатора с вертикальным оперением;
.24 чертежи подкрепления корпусных конструкций под стартовые и маршевые двигатели;
.25 схема непроницаемых и герметичных отсеков. Методы и нормы их испытаний;
.26 поагрегатный расчет внешних нагрузок при контакте с водой при взлете и посадке;
.27 поагрегатный расчет внешних нагрузок при полете;
.28 расчет статической прочности;
.29 расчеты общей прочности;
.30 расчет местной прочности;
.31 расчет аэроупругости;
.32 экспертное заключение специализированной организации о прочности корпуса и безопасности аэроупругих явлений;
.33 конструктивно-силовая схема мотогондолы стартовых двигателей;
.34 конструктивно-силовая схема мотогондолы маршевых двигателей;
.35* чертеж расположения сигнально-отличительных огней.
7.3.4 Документация на дельные вещи и изоляцию помещений:
.1 схема расположения иллюминаторов, крышек, дверей, трапов;
.2 схема теплозвукоизоляции;
.3 расчет теплоизоляции;
.4 схема вибродемпфирования;
.5 схема покрытия палубы;
.6 схема расположения оборудования в салоне;
.7 схема немеханического оборудования в санузлах;
.8 схема расположения аварийно-спасательных средств;
.9 схема расположения противопожарного имущества;
.10 схема отделки и зашивки помещений;
.11 оценка ожидаемых уровней шума.
7.3.5 Документация по судовым системам и устройствам:
.1 по общесудовым системам:
а) расчет системы пожаротушения;
б)* принципиальная схема системы пожаротушения;
в)* схема осушительной системы;
г) расчет системы водоснабжения;
д) принципиальная схема системы водоснабжения;
е) расчет системы сточных вод;
ж)* принципиальная схема системы сточных и хозяйственно-бытовых вод;
з) принципиальные схемы системы шпигатов;
и) принципиальная схема системы мембранно-анероидных приборов;
к) принципиальная схема и расчет системы обмыва стекол;
л) тепловой расчет системы кондиционирования воздуха;
м) принципиальная схема системы кондиционирования воздуха;
н) принципиальная схема вентиляции и отопления помещений;
о) расчет системы вентиляции и отопления помещений;
п) принципиальная схема системы наполнения воздухом пневмооболочек.
.2 по системе управления движением и гидравлики:
а) принципиальная схема системы гидравлики системы управления движением и взлетно-посадочного устройства;
б) энергетический расчет системы гидравлики;
в) схема расположения элементов системы гидравлики и трасс трубопроводов на экраноплане;
г) расчет швартовного, буксирного и якорного устройств;
д) принципиальная кинематическая схема системы управления;
е) общий вид пульта управления с привязкой к месту его установки на экраноплане;
ж) кинематический расчет агрегатов системы управления собственной разработки;
з) чертежи установки силовых приводов руля высоты, руля направления и элерон-закрылков;
и) чертеж общего вида амортизатора закрылков;
к) схема расположения механической проводки в корпусе, крыле, киле и стабилизаторе;
.3 по системе спасения информации, измерительному комплексу:
а) перечень параметров, регистрируемых системой спасения информации;
б) структурная схема системы спасения информации;
в) схема расположения датчиков и аппаратуры системы спасения информации;
г) перечень измеряемых параметров контрольно-записывающей аппаратуры;
д) структурная схема измерительного комплекса;
е) схема расположения датчиков и аппаратуры на экраноплане, в том числе высотометров;
.4* схема и расчет швартовного и буксирного устройств;
.5* схема якорного устройства и обоснование выбора массы якорей, диаметра и длины канатов.
7.3.6 Документация по энергетической установке экраноплана:
.1* структурно-функциональная схема энергетической системы;
.2 схема крепления стартовых двигателей;
.3 схема крепления маршевых двигателей;
.4 схема крепления вспомогательного двигателя;
.5 схема погрузки и выгрузки стартовых двигателей;
.6 схема погрузки и выгрузки маршевых двигателей;
.7 схема погрузки и выгрузки вспомогательных двигателей;
.8* схема охлаждения стартовых двигателей;
.9* схема охлаждения маршевых двигателей;
.10* схема охлаждения вспомогательного двигателя;
.11 расчет скоростных характеристик двигателей;
.12 перечень контролируемых параметров главных и вспомогательных двигателей;
.13* принципиальная схема топливной системы;
.14* принципиальная схема системы пускового воздуха и обогрева воздухоприемных устройств;
.15 принципиальная схема системы промывки газо-воздушного тракта главных и вспомогательных двигателей;
.16* принципиальная схема масляной системы маршевых двигателей;
.17* принципиальная схема системы управления двигателями;
.18 принципиальная схема воздухоприемного устройства стартовых двигателей;
.19 принципиальная схема газоотводного устройства стартовых двигателей;
.20 принципиальная схема газоотводного устройства маршевых двигателей;
.21 принципиальная схема воздухоприемного устройства вспомогательных двигателей;
.22 принципиальная схема газоотвода вспомогательных двигателей;
.23 гидравлический расчет воздухоприемного устройства и системы газоотвода вспомогательных двигателей;
.24 расчет противообледенительной системы воздухоприемных устройств двигателей;
.25 документация на экспериментальную отработку на моделях воздухоприемного устройства стартовых двигателей;
.26 принципиальная схема системы аварийного останова и ручного флюгирования воздушных винтов;
.27* схема отсеков главных и вспомогательных двигателей (мотогондолы);
.28* чертеж воздушного винта;
.29 расчет характеристик воздушного винта;
.30* технические требования на применение воздушного винта;
.31* принципиальная схема конструкции насадки воздушного винта;
.32* схема валопровода; расчет элементов валопровода на прочность (для экранопланов с поршневыми двигателями);
.33 расчет параметров крутильных колебаний валопровода (для экранопланов с поршневыми двигателями);
.34 расчет вала валопровода на усталостную прочность (для экранопланов с поршневыми двигателями).
7.3.7 Документация по автоматизации технических средств, документация системы автоматизированного управления (системы улучшения устойчивости и управляемости):
.1 принципиальные схемы и схемы электрических соединений:
а) запуска и контроля стартовых двигателей;
б) запуска и контроля маршевых двигателей;
в) запуска и контроля вспомогательных двигателей;
г) контроля вибрации стартовых двигателей;
д) контроля температуры стартовых двигателей;
е) подогрева топлива стартовых двигателей;
ж) измерения расхода топлива энергетической установки;
з) защиты маршевых двигателей от аварийных режимов работы;
и) контроля вибрации маршевых двигателей;
к) контроля температуры маршевых двигателей;
л)* масляной системы маршевых двигателей;
м)* подогрева топлива маршевых двигателей;
н) измерения массы топлива энергетической установки;
о)* топливной системы;
п) воздушной системы;
р)* гидросистемы;
с) системы кондиционирования и вентиляции;
т)* питания систем управления и контроля топливной системы;
у)* пультов управления и контроля энергетической установки и общесудовых параметров (с общими видами);
ф) системы протекторной защиты;
х)* пожарной сигнализации;
ц)* системы пожаротушения;
ч) устройств противообледенения стартовых двигателей и обслуживающих их агрегатов;
ш) устройств противообледенения маршевых двигателей и обслуживающих их агрегатов;
.2 схемы соединений систем:
а) обогрева лобовых стекол;
б) охранной сигнализации;
.3 схема САУД и требования к ней;
.4 отчет по оценке отказобезопасности;
.5 чертеж общего размещения оборудования САУД на экраноплане.
7.3.8 Документация на электрооборудование:
.1 схемы электрические принципиальные:
а)* генерирования и распределения электроэнергии переменного тока;
б)* генерирования и распределения электроэнергии постоянного тока;
в)* электроприводов;
г)* сети освещения;
д)* сигнально-отличительных фонарей;
е)* сигнализации;
ж)* пультов, главного распределительного щита;
.2 расчет провалов напряжения;
.3 расчет мощности источников электроэнергии;
.4 расчет емкости аккумуляторных батарей;
.5 расчет сечений кабелей и выбор аппаратов защиты;
.6 расчет токов коротких замыканий;
.7* схема общего расположения основного электрооборудования на экраноплане и прокладки магистральных трасс.
7.3.9 Документация средств связи и навигации:
.1* структурная схема средств связи и навигации;
.2* чертеж размещения оборудования;
.3* чертеж расположения антенн в трех проекциях (допускается указывать на общем виде судна);
.4 расчет дальности радиосвязи.
7.4.1 Общая документация:
.1 ведомость рабочей документации;
.2 пояснительная записка;
.3 спецификация;
.4 чертеж аэрогидродинамической компоновки;
.5 чертеж общего расположения;
.6 теоретические чертежи, инструкции по нивелировке, нивелировочные данные;
.7 контрольно-весовые журналы;
.8 перечень комплектующих изделий и оборудования, подлежащих входному контролю.
7.4.2 Документация по аэродинамике и динамике полета:
.1 отчет по исследованию отказобезопасности экраноплана на пилотажном стенде;
.2 отчет по исследованию на пилотажном стенде управляемого движения экраноплана, в том числе и на режиме полета с поддувом;
.3 заключение по аэродинамике.
7.4.3 Документация по прочности:
.1 чертежи типовых узлов и панелей корпусных конструкций, подлежащих испытаниям на статическую и усталостную прочность в лабораторных условиях;
.2 программа испытаний типовых узлов корпусных конструкций на статическую и усталостную прочность корпусных конструкций в лабораторных условиях;
.3 программа статических испытаний корпусных конструкций головного экраноплана;
.4 программа статистических испытаний корпусных конструкций серийного экраноплана;
.5 программа статистических испытаний элементов систем управления;
.6 программа статистических испытаний экраноплана;
.7 отчет о результатах статистических и усталостных испытаний типовых узлов корпусных конструкций в лабораторных условиях;
.8 отчет о результатах статических испытаний корпусных конструкций головного экраноплана;
.9 отчет о результатах статических испытаний корпусных конструкций серийного экраноплана;
.10 отчет о результатах статических испытаний элементов систем управления;
.11 отчет о результатах частотных испытаний экраноплана;
.12 расчеты по обоснованию остаточной прочности (живучести);
.13 заключение по ресурсу;
.14 заключение по прочности.
7.4.4 Эксплуатационная документация:
.1 ведомость эксплуатационных документов;
.2 инструкция по эксплуатации экраноплана;
.3 техническое описание.
(рекомендуемое)
КАРТА РАЗРЕШЕНИЯ НА ОТСТУПЛЕНИЕ ОТ ТЕХНИЧЕСКОГО ПРОЕКТА,
РАБОЧЕЙ ДОКУМЕНТАЦИИ, ТЕХНИЧЕСКОЙ ДОКУМЕНТАЦИИ
НА МАТЕРИАЛЫ ИЛИ ИЗДЕЛИЯ, ТЕХНОЛОГИЧЕСКОГО ПРОЦЕССА
"___" __________________ 20___ г.
____________________________________________________________
(наименование организации)
Прошу разрешить дальнейшее производство и приемку
Заказ N | Чертеж N | Наименование детали изделия | Количество | Цех  |
Содержание отступления _________________________________________
Причины отступления ____________________________________________
Начальник цеха (отдела) ________________________________________
"___" __________________ 20___ г.
Заключение: ____________________________________________________
________________________________________________________________
________________________________________________________________
Начальник конструкторского отдела | Гл. технолог (гл. сварщик, гл. металлург) | Ст. строитель заказа |
Согласовано
Представитель службы технического контроля | Представитель проектной организации | Представитель заказчика | Эксперт Российского Классификационного Общества |
Примечание. С экспертом согласовываются разрешения на отступления по тем конструкциям, документация по которым согласована с Российским Классификационным Обществом.
Разрешаю
Главный инженер ___________________________
(справочное)
ИСПЫТАНИЯ КОРПУСА НА НЕПРОНИЦАЕМОСТЬ
1 ОБЩИЕ ПОЛОЖЕНИЯ
1.1 Область распространения
1.1.1 Настоящее приложение устанавливает методы и нормы испытаний на непроницаемость (способность конструкции не пропускать воду или другие жидкости) металлических корпусов судов внутреннего и смешанного (река - море) плавания, классифицируемых Российским Классификационным Обществом.
1.1.2 Приложение распространяется на суда в постройке и в эксплуатации.
1.2 Общие требования
1.2.1 Испытаниям на непроницаемость, объем которых включает технологический процесс воздействия на конструкцию корпуса испытательными средами с оценкой непроницаемости конструкций по изменению параметров испытательных сред или путем выявления мест их проникновения, подвергаются все конструкции корпуса судна, оборудование, устройства и дельные вещи, которые в условиях эксплуатации или в предусмотренных расчетами аварийных случаях могут соприкасаться с водой или другой жидкостью и не должны пропускать ее, сохраняя свою работоспособность.
1.2.2 В целях проведения испытаний на непроницаемость отсеки и конструкции корпуса разделяются на 2 группы:
.1 отсеки и цистерны, в которых во время эксплуатации временно или постоянно будет находиться жидкость, а также форпик, ахтерпик, пустотелые рули, направляющие насадки, полые элементы крыльевых устройств, воздушные ящики, водонепроницаемые отсеки катеров, не имеющих второго дна, относятся к отсекам и конструкциям группы "а";
.2 отсеки и конструкции корпуса, надстроек и рубок, которые не входят в
группу "а", но по условиям эксплуатации должны быть непроницаемыми, в том числе сухие отсеки плавучих доков и помещения подруливающего устройства, к которым предъявляются требования по непроницаемости, относятся к отсекам и конструкциям группы "б".
1.2.3 Испытания корпуса, его отсеков и отдельных конструкций проводятся согласно схеме и таблице испытаний на непроницаемость, разработанных в соответствии с настоящим Приложением и согласованных с филиалом. В схему и таблицу испытаний на непроницаемость входят проектные документы, определяющие номенклатуру, расположение, методы и нормы испытаний отсеков и конструкций, к которым предъявляются требования по непроницаемости. При разработке этих документов предусматриваются меры по обеспечению прочности как корпусных конструкций судна, так и стапельных площадок, исходя из условий испытаний корпуса наливом воды.
При испытаниях корпуса судна в плавучем доке дополнительно оценивается остойчивость дока.
1.2.4 Все элементы корпуса, в том числе части, расположенные внутри него, обеспечивающие нахождение судна на плаву после спуска его со стапеля, а также конструкции, недоступные для осмотра и устранения дефектов на плаву, испытываются на стапеле или в доке до спуска судна на воду.
Непроницаемые конструкции корпуса, доступные для осмотра по всему контуру при нахождении судна на плаву (кроме настила второго дна и непроницаемых конструкций в междудонном пространстве), допускается испытывать на плаву, если они не были испытаны на стапеле или в доке.
1.2.5 При проведении сборочно-сварочных работ, обеспечивающих непроницаемость корпусных конструкций, дельных вещей и оборудования, прошедших ранее испытания на непроницаемость, проводится проверка местной и общей прочности.
Условия проведения испытаний и браковочные параметры согласовываются с экспертом.
1.2.6 До начала испытаний на непроницаемость качество сварных и клепаных соединений проверяется в соответствии с требованиями разд. 8 ч. X ПКПС - для сварных соединений, ОСТ5.9367 - для клепаных соединений стальных конструкций, ОСТ5.1031 - для клепаных соединений из алюминиевых сплавов.
1.2.7 Поверхность испытываемых конструкций и соединений должна быть очищена от загрязнений, а контролируемая поверхность конструкций должна быть сухой.
1.2.8 Конструкции и соединения, подлежащие испытаниям на непроницаемость, нельзя окрашивать, асфальтировать и покрывать специальными покрытиями до окончания испытаний за исключением случаев, предусмотренных в
1.2.9.
1.2.9 Конструкции, включая внутрисекционные соединения, допускается грунтовать и окрашивать в полном объеме на месте изготовления до проверки их на непроницаемость при соблюдении следующих условий:
.1 толщина основных листов, составляющих непроницаемый контур, должна быть не менее 12 мм, а толщина стенок набора, ограничивающих испытываемый контур и привариваемый к основным листам, - не менее 8 мм;
.2 все внутрисекционные соединения конструкций, входящих в непроницаемый контур, тщательно осматриваются до окрашивания (асфальтирования или нанесения специальных покрытий);
.3 стыковые и тавровые соединения, относящиеся к конструкциям
группы "а", расположенные ниже ватерлинии, перед грунтовкой и окраской проверяются на непроницаемость смачиванием керосином или обдувом сжатого воздуха;
.4 двухсторонние швы тавровых соединений без сплошного провара испытываются на непроницаемость смачиванием керосином или обдувом струей сжатого воздуха после окончательного формирования шва с одной стороны или надувом воздуха в замкнутый контур после окончания сварки с обеих сторон;
.5 на всех конструкциях должны быть закончены работы, связанные с установкой, сборкой, сваркой, правкой, клепкой корпусных конструкций и дельных вещей, а также установка, сборка, сварка и клепка всего насыщения. При этом на конструкциях, образующих испытываемый контур, должны быть закончены все сборочно-сварочные работы со стороны смежных корпусных конструкций.
1.2.10 Конструкции, испытанные и принятые на участке предварительной сборки, могут быть загрунтованы и окрашены, за исключением участков шириной 30 - 40 мм, примыкающих к монтажным кромкам. Указанные участки могут быть загрунтованы только в случаях применения грунта, не влияющего на качество сварки.
1.2.11 Испытания на непроницаемость монтажных соединений, выполненных на стапеле, проводятся до их грунтования смачиванием керосином или обдувом сжатого воздуха.
1.2.12 Не испытанные на непроницаемость после предварительной сборки конструкции, которые предназначены для нахождения в течение продолжительного времени на открытом воздухе, допускается грунтовать одним слоем, за исключением внутрисекционных сварных соединений и участков шириной 30 - 40 мм с каждой стороны шва.
1.2.13 При обеспечении судостроительной организацией стабильно высокого качества изготовления корпусных конструкций по согласованию с филиалом на серийных судах возможна замена испытаний наливом воды испытаниями надувом воздуха, условия проведения которых указаны в
сноске 1 табл. П10.4.1.
До принятия решения об испытаниях конструкций на непроницаемость надувом воздуха необходимо провести проверочный расчет прочности испытываемых конструкций.
Если расчетная прочность окажется недостаточной для восприятия избыточного давления, равного 30 кПа, то давление воздуха по согласованию с филиалом может быть снижено до 20 кПа.
Применение иных методов испытаний возможно при соблюдении требований, изложенных в
3.7.
2 КАТЕГОРИИ ИСПЫТАНИЙ
2.1 Общие положения
2.1.1 Категория испытаний определяется объемом и методами испытаний корпусных конструкций, а также дельных вещей, оборудования, устройств на непроницаемость в зависимости от назначения конструкции и технологической последовательности ее формирования. Устанавливаются 3 категории испытаний: предварительные, основные и контрольные.
2.1.2 Местная проверка на непроницаемость включает испытания на непроницаемость места устранения сквозного дефекта.
2.1.3 Общая проверка на непроницаемость включает испытания на непроницаемость всей конструкции методами, установленными для группы объектов, к которой эта конструкция относится.
2.2 Предварительные испытания
2.2.1 Предварительные испытания на непроницаемость внутрисекционных соединений корпусных конструкций проводятся при изготовлении секций и блоков корпуса с целью снижения объема испытаний на стапеле.
Объем и методы предварительных испытаний корпусных конструкций определяются судостроительной организацией самостоятельно в соответствии с принятой технологией постройки судна.
2.2.2 Предварительные испытания конструкций, на которых в дальнейшем не будут проводиться сборочно-сварочные работы (кроме сборки и сварки по монтажным кромкам), принимаются в качестве основных, если методы и нормы этих испытаний соответствуют методам и нормам основных испытаний.
2.2.3 Техническое наблюдение за предварительными испытаниями осуществляется экспертом путем выборочных проверок.
2.3 Основные испытания
2.3.1 Основные испытания на непроницаемость проводятся наливом воды в соответствии со схемой и таблицей испытаний (проектные документы, определяющие номенклатуру, расположение, методы и нормы испытаний отсеков и конструкций, к которым предъявляются требования по непроницаемости), согласованных с филиалом.
2.3.2 До начала основных испытаний на непроницаемость завершаются сборочно-сварочные работы, работы по правке конструкций, входящих в непроницаемый контур, подлежащий испытаниям.
2.3.3 Техническое наблюдение за основными испытаниями осуществляется согласно
табл. П10.4.1.
2.4 Контрольные испытания
2.4.1 Контрольные испытания на непроницаемость отсеков и конструкций
группы "а", предназначенных для хранения жидкости, проводятся надувом воздуха избыточным давлением 20 кПа после окончания монтажных работ с обеих сторон испытываемых конструкций в соответствии со схемой и таблицей испытаний, согласованных с филиалом.
2.4.2 Контрольные испытания цистерн и грузовых отсеков наливных судов наливом жидкости под напором проводятся при проверке штатных насосов и систем в период швартовых и ходовых испытаний.
2.4.3 Техническое наблюдение за контрольными испытаниями осуществляется путем выборочных осмотров. В присутствии эксперта проводятся контрольные испытания.
3 МЕТОДЫ ИСПЫТАНИЙ
3.1 Испытания наливом воды
| | ИС МЕГАНОРМ: примечание. В официальном тексте документа, видимо, допущена опечатка: п. 1.3.3 отсутствует. | |
3.1.1 Гидростатическое давление (напор) при испытаниях на непроницаемость наливом воды назначается в соответствии с требованиями, установленными
разд. 4, и определенных схемами и таблицами испытаний (см. 1.3.3).
3.1.2 При проверке отсеков и конструкций, для которых испытательный напор превышает высоту конструкции, с целью создания необходимого напора в испытываемой конструкции устанавливается напорная труба с воронкой или резиновый шланг диаметром не менее 25 мм. Допускается использование штатных воздушных и измерительных труб.
Давление, соответствующее заданному гидростатическому давлению, допускается создавать при помощи подкачивающих насосов малой производительности с диаметром нагнетательного патрубка менее диаметра напорной трубы в 1,25 раза.
3.1.3 При испытании конструкций с помощью напорной трубы не допускается образование воздушных подушек в верхних частях испытываемых конструкций. Для выполнения этого условия предусматриваются отверстия диаметром 8 - 10 мм для выпуска воздуха. После окончания испытаний эти отверстия завариваются и проверяются на непроницаемость смачиванием керосином или обдувом струей сжатого воздуха.
3.1.4 При проведении испытаний применяется техническая пресная вода без загрязнений. Допускается использование морской воды для испытаний всех конструкций, кроме цистерн пресной воды, при соблюдении следующих условий:
.1 морская вода не должна содержать примеси нефтепродуктов и других загрязнений;
.2 после окончания испытаний и слива воды поверхности конструкций промываются пресной водой;
.3 время нахождения морской воды в конструкциях не должно превышать двух суток с начала заполнения.
3.1.5 Проверяемые конструкции осматриваются через 1 ч после установления испытательного давления.
3.1.6 После окончания испытаний вода из конструкций удаляется. При отсутствии откачивающих средств или штатных отверстий допускается удаление воды через заранее высверленные и временно заглушенные отверстия. Количество, размеры, расположение отверстий определяются технической документацией, согласованной с экспертом. После слива воды отверстия завариваются и испытываются на непроницаемость в присутствии эксперта.
3.1.7 При отрицательной температуре окружающего воздуха испытания проводятся подогретой водой в предварительно прогретой конструкции. Температура воды выбирается с таким расчетом, чтобы в течение всего времени испытаний наружные поверхности испытываемых конструкций имели положительную температуру, не отпотевали и обеспечивали проникновение воды через неплотности без замерзания.
3.1.8 Конструкции считаются непроницаемыми, если на контролируемой поверхности не будет обнаружено течи в виде струи, потеков, капель и увлажнения.
3.2 Испытания поливанием струей воды под напором
3.2.1 Испытания на непроницаемость поливанием струей воды под напором проводят с помощью брандспойта с насадкой диаметром не менее 12 мм.
3.2.2 Напор воды в шланге должен обеспечивать высоту струи воды не менее 10 м.
3.2.3 Струя воды направляется перпендикулярно к испытываемой поверхности или в разъем при испытании закрытий. Расстояние от ствола до испытываемого участка должно быть не более 1,5 м, а скорость передвижения брандспойта вдоль испытываемого соединения не должна превышать 0,2 м/с.
3.2.4 Сварные соединения допускается поливать с любой стороны, а клепаных швов - только со стороны, противоположной чеканке. При вертикальном расположении сварных и клепаных соединений полив струей воды осуществляется снизу вверх.
3.2.5 Испытания поливанием струей воды под напором проводятся при положительной температуре окружающего воздуха.
Испытания при отрицательной температуре допускается проводить с использованием воды, нагретой до температуры от плюс 40 до плюс 70 °C. Испытываемые участки конструкций предварительно прогреваются до температуры выше 0 °C.
3.2.6 Конструкции считаются непроницаемыми, если на контролируемой поверхности не будет обнаружено течи в виде струй, потеков, капель и увлажнения.
3.2.7 Конструкции и устройства для закрывания отверстий, к которым Правилами не предъявляются требования об обеспечении водонепроницаемости, испытываются рассеянной струей воды.
3.3 Испытания надувом воздуха
3.3.1 Испытание проводится надувом воздуха с избыточным давлением 30 кПа.
3.3.2 На испытываемой конструкции устанавливается два манометра с ценой деления шкалы не более 2 кПа, а также предохранительный клапан.
Допускается использование жидкостных дифференциальных манометров.
Штуцеры для установки манометров, предохранительных клапанов и подключения воздушных шлангов размещаются на крышках горловин, на временных заглушках или в других местах, доступных для обслуживания.
3.3.3 Для стабилизации давления воздуха до начала испытаний отсчет времени нахождения конструкции под давлением начинается через 15 мин после окончания подачи воздуха в отсек.
3.3.4 При испытании надувом воздуха на сварные швы и другие соединения с помощью кисти или сжатого воздуха наносятся полимерные пенообразующие составы (ППС) с целью обнаружения мест протечек воздуха путем образования стойких пузырьков и коконов пены, а также изменения окраски. Пенообразующие составы в виде эмульсий мыла допускается использовать для испытания конструкций небольших размеров при отсутствии ППС.
3.3.5 Сварные швы и конструкции, испытываемые при отрицательной температуре окружающего воздуха, просушивают нагревом до полного удаления воды перед смачиванием незамерзающим пенообразующим составом.
3.3.6 Места обнаружения дефектов отмечают на конструкции мелом.
3.3.7 Неплотности сварных соединений внахлестку выявляют с помощью ППС путем подачи сжатого воздуха под избыточным давлением 50 кПа в зазор между соприкасающимися местами через штуцер, ввинченный в отверстие накладки или наварыша.
3.3.8 Конструкция считается непроницаемой, если при смачивании пенообразующим составом швов и других соединений не образуются воздушные пузырьки или коконы пены, а падение давления в испытываемой после выдержки в течение 1,0 часа не превысит 5%, а для конструкций, предназначенных для хранения дизельного топлива и (или) других легких нефтепродуктов - 1%.
3.3.9 После окончания испытаний ППС удаляют с поверхности конструкции водой или влажной ветошью.
3.4 Испытания смачиванием керосином
3.4.1 Испытания на непроницаемость смачиванием керосином проводят для контроля сварных соединений, за исключением соединений внахлестку.
3.4.2 При испытании смачиванием керосином контролируемая сторона сварного соединения покрывается меловым раствором. Швы смачиваются керосином с противоположной стороны после высыхания мелового раствора. Керосин наносится малярной кистью или тампоном.
Если меловой раствор приготовлен на воде, то после нанесения на сварные соединения он просушивается. После окончания испытаний меловое покрытие удаляется ветошью.
3.4.3 При температуре окружающего воздуха ниже 0 °C контролируемые сварные соединения прогреваются до положительной температуры и просушиваются.
Меловой раствор приготавливается на незамерзающей основе, сохраняющей белизну раствора.
3.4.4 Время выдержки при испытании керосином стыковых и односторонних угловых или тавровых соединений определяется в зависимости от толщины листа или катета шва и положения шва в пространстве согласно
табл. П10.3.4.4.
Таблица П10.3.4.4
Время выдержки при испытании керосином стыковых
и односторонних угловых или тавровых соединений
Толщина листа или катет шва, мм | Время выдержки, мин, при положении шва |
нижнем | вертикальном и горизонтальном |
< 6 | 40 | 60 |
6 - 24 | 60 | 90 |
> 24 | 90 | 120 |
При испытаниях угловых и тавровых соединений с двухсторонними швами, а также при отрицательной температуре окружающего воздуха время выдержки увеличивается в 2 раза.
3.4.5 Конструкция считается непроницаемой, если на контролируемой поверхности с нанесенным меловым раствором не появляются пятна керосина.
3.5 Испытания обдувом струей сжатого воздуха
3.5.1 Испытание обдувом струей сжатого воздуха применяется как вспомогательный метод для местных испытаний: проверка мест приварки отдельных деталей, участков, исправления дефектных сварных соединений, а также дверей, комингсов и других элементов, расположенных внутри корпуса и надстроек.
3.5.2 При испытании обдувом сжатого воздуха давление в шланге должно составлять 390 - 490 кПа.
Струя направляется перпендикулярно к испытываемой поверхности. Конец шланга снабжается ниппелем диаметром 10 - 20 мм и находится от поверхности испытываемого соединения на расстоянии не более 100 мм. Скорость перемещения наконечника шланга должна составлять не более 0,02 м/с. Пенообразующие составы (см.
3.3.4) наносятся со стороны, противоположной обдуву, с упреждением (в случае применения ППС) или синхронно с обдувом (в случае применения мыльных растворов).
3.5.3 Оценка непроницаемости конструкций должна проводиться согласно
3.3.8.
3.6 Испытания поливанием рассеянной струей воды
3.6.1 Испытания на непроницаемость рассеянной струей воды применяются для проверки непроницаемости палуб, платформ, дверей и крышек люков, при этом под рассеянной струей воды понимается нисходящая ветвь струи, выпущенной из брандспойта вверх под углом к горизонту.
3.6.2 При проведении испытаний рассеянной струей воды соблюдаются требования, изложенные в
3.2.4 -
3.2.6.
3.7 Испытания иными методами
3.7.1 Методы испытаний корпусов на непроницаемость, отличные от указанных в
3.1 -
3.6, например, люминесцентный, надувом воздуха с использованием течеискателей, вакуумирования могут быть применены после проведения опытных испытаний под наблюдением Российского Классификационного Общества. При решении вопроса о применении метода должна быть указана область его применения: в качестве основного и (или) заменяющего, для каких конструкций корпуса, типов соединений и основных параметров сварных швов, толщин свариваемых деталей, а также способов примененной сварки.
3.7.2 Технологическая инструкция по применению метода, отличного от методов, указанных в
3.1 -
3.5, подлежит согласованию с филиалом.
4 МЕТОДЫ И НОРМЫ ИСПЫТАНИЙ НА НЕПРОНИЦАЕМОСТЬ
4.1 Методы и нормы испытаний на непроницаемость установлены в
табл. П10.4.1.
Таблица П10.4.1
Методы и нормы испытаний на непроницаемость
Отсеки и конструкции | Методы и нормы для судов классов | Дополнительные указания |
"М-СП", "М-ПР", "М", "О-ПР" | "О", "Р", "Л" |
|
Форпик и ахтерпик, не предназначенные для заполнения водой | Наливом воды на высоту 0,3 м над палубой переборок или до уровня верхней кромки комингса люка (по меньшему напору) <1> | Наливом воды до уровня грузовой ватерлинии, выше этого уровня - поливанием струей воды под напором или смачиванием керосином | Ахтерпик испытывается с установленными дейдвудной и гельмпортовой трубами. Расположенные в форпике и (или) ахтерпике цистерны испытываются наливом воды до верха воздушной трубы <1> |
Междудонные отсеки | Наливом воды до высоты 0,6 м над настилом второго дна или до верха воздушной трубы (в зависимости от того, что обеспечивает больший напор) <1> | Наливом воды до высоты 0,35 м над настилом второго дна или до верха воздушной трубы (в зависимости от того, что обеспечивает больший напор) <1> | - |
Отсеки двойного борта | Наливом воды до верха воздушной трубы <1> | Наливом воды до верха воздушной трубы <1> | - |
Цистерны и отсеки, расположенные вне двойного дна | Наливом воды до верха воздушной трубы, но не ниже грузовой ватерлинии <1> | Наливом воды до верха воздушной трубы, но не ниже грузовой ватерлинии <1> | - |
Цистерны хранения для жидких нефтепродуктов судового запаса и сборные цистерны нефтесодержащих вод, расположенные вне двойного дна | Наливом воды до верха воздушной трубы, но не ниже палубы переборок <1> | Наливом воды до верха воздушной трубы, но не ниже палубы переборок <1> | - |
Грузовые отсеки наливных судов и грузовые трюмы других судов, в которые может приниматься жидкий груз или балласт | Наливом воды до верха расширительной шахты <1> | Наливом воды до верха расширительной шахты <1> | |
Коффердамы | Наливом воды до верха воздушной трубы, но не менее 2,5 м от настила, ограничивающего верх коффердама <1> | Наливом воды до верха воздушной трубы <1> | - |
Кингстонные и ледовые ящики, ящики забортной воды | Наливом воды до уровня 1,25 высоты борта, но не менее давления в системе продувания | Наливом воды до уровня 1,25 высоты борта, но не менее давления в системе продувания | При испытании ледовых ящиков (при обогреве их паром) испытательный напор воды во всех случаях не должен быть менее расчетного давления в системе обогрева. У судов с высотой борта менее 5 м высота налива принимается равной 0,5 высоты борта, но не менее 1,5 м. Контрольные испытания не проводятся |
Цистерны вкладные водяные, топливные и масляные | Наливом воды до верха воздушной или переливной трубы. Для топливных и масляных цистерн высота столба воды в трубах должна быть не менее 1 м над верхней точкой цистерны <1> | Наливом воды до верха воздушной или переливной трубы. Для топливных и масляных цистерн высота столба воды в трубах должна быть не менее 0,35 м над верхней точкой цистерны <1> | Для судов класса "О" высота столба воды в трубах должна быть не менее 1 м над верхней точкой цистерны |
Фекальные цистерны, сборные цистерны сточных вод | Наливом воды с напором, равным полуторному давлению столба воды от дна цистерны до нижнего санитарного прибора <1> | Наливом воды с напором, равным полуторному давлению столба воды от дна цистерны до нижнего санитарного прибора <1> | - |
Цепные ящики танкеров, плавательные бассейны | Наливом воды до верхней кромки цепного ящика (бассейна) | Наливом воды до верхней кромки цепного ящика (бассейна) | - |
Рули пустотелые, полости стационарных и поворотных насадок, полые элементы крыльевых устройств | Наливом воды <1> с напором p, кПа, определяемым по формуле: p = 12,5T + v2/60, где T - осадка судна в полном грузу, м; v - скорость судна, узлы. При этом напор водяного столба должен быть не менее 50 кПа | Наливом воды на высоту 1 м над верхней кромкой руля (насадки) <1> | Для судов класса "О" напор должен быть не менее, чем для рулей (насадок) судов класса "О-ПР" <1> |
|
Межбортовые отсеки, не предназначенные для хранения жидкостей | Для судов с двойным дном - поливанием струей воды под напором выше уровня второго дна. Для судов без двойного дна - наливом воды на высоту 0,6 м от наружной обшивки днища и поливанием струей воды под напором выше этого уровня | Для судов с двойным дном - поливанием струей воды под напором выше уровня второго дна. Для судов без двойного дна - наливом воды на высоту 0,35 м от наружной обшивки днища и поливанием струей воды под напором выше этого уровня. Для серийных судов для переборок допускаются испытания смачиванием керосином, для наружной обшивки - притапливанием судна до осадки на 0,05 м меньше осадки порожнем. Отсеки в целом допускается испытывать надувом воздуха с применением ППС | - |
Коффердамы вертикальные | Наливом воды до верха воздушной трубы или на высоту комингса люка (по большему напору) <1> | Наливом воды до верха воздушной трубы или на высоту комингса люка (по большему напору) <1> | - |
Грузовые трюмы сухогрузных судов, машинно-котельные и моторные отделения | Для судов с двойным дном - поливанием струей воды под напором выше уровня второго дна. Для судов без двойного дна - наливом воды на высоту 0,6 м от наружной обшивки днища и поливанием струей воды под напором выше этого уровня. Испытания подводной части обшивки корпуса допускается проводить притапливанием судна на осадку, которая меньше осадки порожнем на 0,05 м | Для судов с двойным дном - поливанием струей воды под напором выше уровня второго дна. Для судов без двойного дна - наливом воды на высоту 0,35 м от наружной обшивки днища и поливанием струей воды под напором выше этого уровня. Испытания подводной части обшивки корпуса допускается проводить притапливанием судна на осадку, которая меньше осадки порожнем на 0,05 м | |
Отсеки в междупалубном пространстве | Поливанием струей воды под напором | Поливанием струей воды под напором | То же |
Шахты лага, эхолота, воздушные ящики, отсеки плавучести | Наливом воды до уровня палубы переборок <1> | Наливом воды до уровня грузовой ватерлинии <1> | - |
Помещения подруливающего устройства | Поливанием струей воды под напором | Поливанием струей воды под напором | - |
Коридор гребного вала, включая выгородки и шахты запасного выхода; непроницаемые шахты, включая шахты МКО; вентиляционные каналы, расположенные внутри корпуса, надстроек и рубок | То же | То же | |
Цепные ящики | " | " | То же |
Якорные клюзы и цепные трубы | " | " | " |
Надстройки и рубки, включая открытые части машинно-котельных шахт и кожухов дымовых труб | " | " | " |
Открытые части палуб корпуса судна, надстроек и рубок вне районов, испытываемых наливом воды с избыточным напором или надувом воздуха | " | " | Части грузовых палуб в районе грузовых танков нефтеналивных судов испытываются совместно с испытываемыми отсеками |
Комингсы люков и вентиляционных труб, расположенные на открытых частях верхней палубы, палубы надстроек и рубок | Поливанием струей воды под напором. Комингсы - поливанием струей воды или смачиванием керосином | Поливанием струей воды под напором. Комингсы - поливанием струей воды или смачиванием керосином | - |
Палубы и выгородки в помещениях, где может скапливаться вода (душевые, ванные, умывальные, прачечные, камбузы, гальюны и т.п.) | Наливом воды на высоту комингса дверей, выше этого уровня - поливанием рассеянной струей воды. Испытания поливанием допускается заменять испытаниями смачиванием керосином. В зимний период допускается проведение испытаний всей площади палуб смачиванием керосином | Наливом воды на высоту комингса дверей, выше этого уровня - поливанием рассеянной струей воды. Испытания поливанием допускается заменять испытаниями смачиванием керосином. В зимний период допускается проведение испытаний всей площади палуб смачиванием керосином | Испытания наливом воды проводятся после окончания монтажных работ, но до нанесения каких-либо покрытий на палубы. Время выдержки при испытании наливом воды - 30 мин. |
Устройства для закрывания отверстий в непроницаемых частях корпуса |
1. Двери в водонепроницаемых переборках корпуса | Наливом воды до уровня, установленного для соответствующего отсека | Наливом воды до уровня, установленного для соответствующего отсека | - |
2. Двери по наружным стенкам надстроек и рубок | Поливанием струей воды под напором | Поливанием струей воды под напором или рассеянной струей воды в зависимости от конструктивного исполнения, предусмотренного проектом | - |
3. Двери и устройства для закрывания отверстий в непроницаемых конструкциях, расположенных внутри надстроек и рубок | Поливанием струей воды под напором или струей сжатого воздуха | Поливанием струей воды под напором (струей сжатого воздуха) или рассеянной струей воды в зависимости от конструктивного исполнения, предусмотренного проектом | - |
4. Лацпорты | Поливанием струей воды под напором | Поливанием струей воды под напором или рассеянной струей воды в зависимости от конструктивного исполнения, предусмотренного проектом | - |
5. Крышки световых и сходных люков, бортовые иллюминаторы корпуса надстроек и рубок | То же | То же | - |
6. Крышки горловин в непроницаемых палубах, платформах и переборках | " | " | - |
7. Металлические закрытия грузовых люков сухогрузных судов | " | " | - |
8. Металлические закрытия грузовых люков наливных судов, перевозящих в трюмах жидкие грузы, включая нефтепродукты | Испытания в составе грузового отсека при основных испытаниях | Испытания в составе грузового отсека при основных испытаниях | - |
<1> Конструкции подвергаются испытаниям наливом воды выше настила, ограничивающего отсек сверху, или испытаниям надувом воздуха (см. 1.2.12). Примечания. 1. Если испытание наливом воды невозможно выполнить на стапеле или в доке, оно проводится после спуска на воду. До спуска на воду все грузовые отсеки испытываются надувом воздуха. На плаву испытываются наливом воды один центральный и два бортовых отсека, определяемые по согласованию с экспертом. Испытания этих отсеков проводятся одновременно. При этом взаимное расположение испытываемых отсеков должно соответствовать наиболее тяжелым условиям нагружения. Если при испытаниях будут обнаружены дефекты конструкции или нарушения непроницаемости, испытанию подвергаются все отсеки. 2. Испытания поливанием струей воды под напором допускается заменять испытаниями сварных швов смачиванием керосином (за исключением соединений внахлестку) или обдуванием струей сжатого воздуха. При этом поверхность листов тщательно осматривается. Не допускается наличие дефектов и нарушений целостности металла. 3. Методы и нормы испытаний на непроницаемость при ремонтах и очередных освидетельствованиях судов должны соответствовать требованиям, установленным настоящей таблицей. Топливные и водяные цистерны испытываются наливом воды до верха воздушной трубы, а грузовые отсеки и коффердамы наливных судов - до верхней кромки расширительных шахт или люков. Объем испытаний при ремонте устанавливается в зависимости от характера ремонтных работ и согласовывается с экспертом. |
(справочное)
ДОПУСТИМЫЕ ЗНАЧЕНИЯ СВАРОЧНЫХ ДЕФОРМАЦИЙ ОБШИВКИ И НАБОРА
КОРПУСНЫХ КОНСТРУКЦИЙ И ОТКЛОНЕНИЙ ПРИ СБОРКЕ КОРПУСА СУДНА
1 Значения стрелок прогиба бухтин, ребристости, вмятин и "домиков" (угловое отклонение от прямолинейности) обшивки корпусных конструкций не должны превышать значений, указанных в
табл. П11.1. Значения стрелок прогиба бухтин, "домиков" и ребристости днищевой обшивки толщиной 4 - 7 мм для высокоскоростных судов в пределах шпации не должны превышать 3 мм.
Таблица П11.1
Допускаемые значения стрелок прогиба
обшивки корпусных конструкций
Группа конструкции | Наименование конструкций корпуса | Допускаемое значение стрелки прогиба, мм, не более |
| Настил верхней палубы, настил второго дна, днищевая обшивка, бортовая обшивка ниже КВЛ, верхний и нижний поясья непрерывных продольных переборок и внутренних бортов, настил палуб и стенки надстроек (в средней части судна на 0,25 длины судна в нос и корму от миделя), скуловой пояс наружной обшивки и палубный стрингер (по всей длине судна) | 5 |
| | ИС МЕГАНОРМ: примечание. Нумерация групп конструкции дана в соответствии с официальным текстом документа. | |
|
IIБ | Бортовая обшивка выше КВЛ, наружные стенки надстроек и рубок, открытые палубы, фальшборт, выгородки внутренних коридоров, кожуха дымовых труб и другие конструкции, к внешнему виду которых предъявляются повышенные требования | 6 |
| Конструкции группы IА, расположенные в оконечностях корпуса, а также главные поперечные и продольные переборки (кроме верхнего и нижнего поясьев), настилы нижних палуб, настилы платформ, внутренние выгородки и легкие переборки | 7 |
III | Палубы (зашиваемые), не включаемые в расчет общей прочности и не входящие в I и II группы; внутренние переборки и выгородки, зашиваемые с двух сторон; выгородки в кладовых, трюмах, машинных отделениях, душевых и другие конструкции, к внешнему виду которых не предъявляется особых требований | 10 |
2 Значения местных деформаций набора корпусных конструкций (стрелок прогиба, перекоса, бухтиноватостей стенок) не должны превышать значений, указанных в
табл. П11.2.
Таблица П11.2
Допускаемые значения местных деформаций
набора корпусных конструкций
Наименование деформаций | Наименование контролируемого набора | Допустимая стрелка прогиба или перекоса, мм |
Бухтиноватость плоских участков стенок набора | Флоры и кильсоны междудонного пространства | 5 |
Остальной рамный набор | 9 |
"Провал" ребра | Весь набор | 2 |
"Домик" в плоскости стенки набора | 2 |
"Домик" при стыках набора из плоскости стенки набора | 6 |
Перекос между стенкой набора и обшивкой | Весь набор при h, мм: | > 100 | 2 |
<= 100 | 4 |
Перекос между поясом и стенкой набора | > 200 | 2 |
<= 200 | 3 |
Примечание. h - высота стенки набора. |
Сварочные деформации корпусных конструкций, выходящие за пределы, указанные в настоящем приложении, устраняются. Применяемые метод и технология правки должны соответствовать технологическому процессу изготовления данной конструкции.
3 Допустимые отклонения при сборке корпуса судна установлены в
табл. П11.3.
Таблица П11.3
Допускаемые отклонения при сборке корпуса судна
Проверяемый параметр | Допускаемое отклонение | Примечание |
Смещение кромок стыкуемых листов обшивки и настилов | 0,1 толщины листа | Не более 3 мм |
Отклонение от прямолинейности стыкуемых ветвей на длине монтажной шпации: | | |
вертикального киля, стрингеров, карлингсов | 6 | |
продольных ребер жесткости | 8 | |
Отклонение от прямолинейности ветвей рамных шпангоутов, стыкуемых с флорами и бимсами на суммарной длине до 1 м | - | Не более 8 мм на всю длину |
Несовпадение любых разделенных листом связей корпуса | 0,5 толщины стенки связи | В расчет принимается меньшая толщина |
Отклонение в размере монтажной шпации | 4% от размера шпации | |
Смещение стенки переборки относительно стенки нижележащего набора | 0,5 толщины стенки набора | |
Отклонение плоскости переборки от плоскости теоретического шпангоута на вертикальность | 2 мм на 1 м высоты переборки | На всю высоту не более 15 мм |
Смещение оси баллера относительно диаметральной плоскости | +/- 3 | |
Смещение центра отверстия в ахтерштевне от оси главного вала | +/- 3 | |
Смещение центра отверстий под баллер в ахтерштевне от вертикальной оси | +/- 5 | |
Отклонение положения подошвы ахтерштевня от основной плоскости | +/- 8 | |
(справочное)
ОБСЛЕДОВАНИЕ ДВИГАТЕЛЕЙ НА СООТВЕТСТВИЕ ПРЕДЕЛЬНО ДОПУСТИМЫМ
ЗНАЧЕНИЯМ ВЫБРОСОВ ВРЕДНЫХ ВЕЩЕСТВ И ДЫМНОСТИ
ВЫПУСКНЫХ ГАЗОВ
1 ТРЕБОВАНИЯ К ГОРЮЧЕ-СМАЗОЧНЫМ МАТЕРИАЛАМ
1.1 При испытаниях двигатель должен работать на топливе и маслах, указанных в технической документации организации-изготовителя двигателя. Технические характеристики топлива и смазочного масла, используемых при проведении испытаний, должны быть зарегистрированы в протоколе испытаний.
2 АТМОСФЕРНЫЕ УСЛОВИЯ ПРИ ПРОВЕДЕНИИ ИЗМЕРЕНИЙ
2.1 На месте проведения испытаний должны быть измерены температура атмосферного воздуха на всасывании в двигатель Tа, К, атмосферное (барометрическое) давление воздуха p0, кПа, рассматриваемое как сумма парциального давления сухого воздуха и парциального давления водяных паров в атмосферном воздухе, а также относительная и абсолютная влажность воздуха, по которым вычисляют парциальное давление сухого атмосферного воздуха.
2.2 По результатам измерений рассчитывают расчетный коэффициент (атмосферный фактор) F по формулам:
для двигателей без наддува, с наддувом от приводного нагнетателя или с комбинированным наддувом:
F = (99/pсух)(Tа/298)0,7; (П12.2.2-1)
для двигателей с наддувом от свободного турбокомпрессора:
F = (99/pсух)0,7(Tа/298)1,5, (П12.2.2-2)
где pсух - парциальное давление сухого атмосферного воздуха, рассчитывается по формуле, кПа:

; (П12.2.2-3)

- парциальное давление водяных паров в атмосферном воздухе при
Tа, кПа.
2.3 Результаты испытаний считают достоверными, если в течение испытаний F остается в пределах для двигателей при испытаниях:
в судовых условиях | 0,93 - 1,07 |
стендовых | 0,98 - 1,02 |
3 ИЗМЕРЕНИЕ СОСТАВА ВЫПУСКНЫХ ГАЗОВ
3.1 Измерение состава выпускных газов проводят для режимов работы двигателя, представленных в
табл. П12.3.1, в зависимости от его назначения. Следует начинать измерения с режима номинальной мощности и далее последовательно снижать нагрузку до минимальной.
Таблица П12.3.1
Режимы работы двигателя при измерении
состава выпускных газов
Назначение двигателя | Обозначение режима | N режима | Отношение частоты вращения n коленчатого вала к частоте вращения коленчатого вала на режиме номинальной мощности nном | Отношение эффективной мощности двигателя Pe к ее номинальному значению Pe ном | Крутящий момент, % | Коэффициент весомости режима W |
Главные двигатели (кроме дизельных двигателей СПК), работающие по винтовой характеристике | E3 | 1 | 1,000 | 1,00 | - | 0,20 |
2 | 0,908 | 0,75 | 0,50 |
3 | 0,794 | 0,50 | 0,15 |
4 | 0,630 | 0,25 | 0,15 |
Главные двигатели для судов длиной менее 24 м (кроме буксиров и толкачей), работающих по винтовой характеристике | E5 | 1 | 0,100 | 1,00 | - | 0,08 |
2 | 0,910 | 0,75 | 0,13 |
3 | 0,800 | 0,50 | 0,17 |
4 | 0,630 | 0,25 | 0,32 |
5 | холостой ход | 0 | 0,30 |
Вспомогательные двигатели с переменной нагрузкой и постоянной частотой вращения (дизель-генераторы) | D2 | 1 | - | - | 100 | 0,05 |
2 | 75 | 0,25 |
3 | 50 | 0,30 |
4 | 25 | 0,30 |
5 | 10 | 0,10 |
Главные двигатели, работающие по винтовой характеристике на швартовном режиме | - | 1 | - | - | 100 | 0,55 |
2 | 83 | 0,15 |
3 | 63 | 0,15 |
4 | 39 | 0,15 |
Главные двигатели, работающие при постоянной частоте вращения | E2 | 1 | - | - | 100 | 0,20 |
2 | 75 | 0,50 |
3 | 50 | 0,15 |
4 | 25 | 0,15 |
Дизельные двигатели, работающие на привод насосов и генераторов на судах с дизель-электрической энергетической установкой | D1 | 1 | 1,000 | - | 100 | 0,30 |
2 | 75 | 0,50 |
3 | 50 | 0,20 |
3.2 Перед началом измерений газоанализаторы прогревают и калибруют в соответствии с инструкцией организации-изготовителя.
3.3 Отсчет показаний газоанализаторов проводят для каждого режима трижды с интервалом не менее 1 мин, причем первый отсчет выполняют не ранее чем через 2 мин после установления температурного состояния двигателя на режиме испытаний. Результаты трех последовательных отсчетов не должны различаться более чем на +/- 3,5%. За результат измерений принимают среднеарифметическое значение трех отсчетов. При наличии регистрирующего самописца за результат измерений принимают среднее значение непрерывной записи, проведенной в течение 1 мин, если за время записи отклонения от начального значения составляют не более +/- 3,5%.
3.4 Одновременно с измерениями состава выпускных газов регистрируют значения показателей двигателя, необходимые для определения нормируемых параметров.
3.5 По результатам испытаний двигателя оформляется протокол испытаний двигателя на соответствие техническим нормативам выбросов вредных веществ и дымности выпускных газов
(ГОСТ Р 52408).
4 ОБРАБОТКА РЕЗУЛЬТАТОВ ИЗМЕРЕНИЙ
4.1 Массовый часовой расход топлива измеряют для каждого режима проведения испытаний методами, обеспечивающими точность +/- 5%.
4.2 Расход выпускных газов
Vexh измеряют любым прямым способом с последующим приведением к нормальным атмосферным условиям либо рассчитывают по измеренным значениям расхода воздуха и топлива для каждого режима испытаний по формуле, приведенной в
6.2.5 ППЗС.
5 ИЗМЕРЕНИЕ ДЫМНОСТИ ВЫПУСКНЫХ ГАЗОВ ОПТИЧЕСКИМ МЕТОДОМ
5.1 Измерение дымности выпускных газов проводят на тех же режимах работы двигателя, что и измерение состава выпускных газов.
Схема установки дымомера оптического типа приведена на
рис. П12.5.1.
Рис. П12.5.1 Схема установки дымомера оптического типа:
1 - выпускной трубопровод; 2 - газоотборный зонд;
3 - дифференциальный манометр; 4 - газоподводная труба;
5 - теплообменник; 6 - байпасный клапан; 7 - дымомер
частичнопоточный; 8 - газоотводящие трубы; 9 - регулируемая
заслонка; 10 - источник света; 11 - собирательная линза;
12 - полнопоточный (на срезе выпускного трубопровода);
13 - разделительная перегородка; 14 - приемник света
5.2 Перед началом измерений дымомер прогревают и калибруют по эталонному светофильтру, входящему в комплект прибора, в соответствии с инструкцией изготовителя.
5.3 Измерение параметров дымности для каждого режима работы двигателя проводят не менее трех раз с промежутком между двумя последующими измерениями не менее 1 мин. После каждого измерения проверяют нулевое положение стрелки индикатора дымности и при необходимости приводят ее в нулевое положение. Измерения считают действительными, если расхождения между двумя последними показаниями по шкале N не превышают +/- 2%, а результаты трех измерений не образуют монотонно убывающей или возрастающей последовательности. Если эти условия не выполняются, то серию измерений продолжают до получения трех последовательных показаний, удовлетворяющих поставленным условиям. За результат измерения принимают среднеарифметическое значение трех показаний.
5.4 Результаты измерений включают в протокол о результатах испытаний.
6 ИЗМЕРЕНИЕ ДЫМНОСТИ ВЫПУСКНЫХ ГАЗОВ ФИЛЬТРАЦИОННЫМ МЕТОДОМ
6.1 Схема установки дымомера фильтрационного типа приведена на
рис. П12.6.1.
Рис. П12.6.1 Схема установки дымомера фильтрационного типа:
1 - прямолинейный участок выпускного трубопровода двигателя;
2 - газоотборный зонд; 3 - линия отбора; 4 - охладитель;
5 - дымомер; ОГ - выпускные газы
Перед началом измерений дымомер прогревают и калибруют по эталону отражения, входящему в комплект прибора, в соответствии с инструкцией изготовителя.
6.2 Отбор пробы проводят в соответствии с инструкцией по эксплуатации, разработанной организацией-изготовителем дымомера. Пробу пропускают через фильтр, который затем удаляют из дымомера и заменяют новым, через который пропускают новую пробу для перепроверки результата и получения его среднего значения. Увлажненные или нестандартные фильтры применять не допускается.
6.3 Измерение дымности для каждого режима работы двигателя проводят не менее трех раз с интервалом между двумя последующими измерениями не менее 1 мин. После каждого измерения проверяют нулевое положение стрелки индикатора дымности и при необходимости приводят ее в нулевое положение. Измерения считают действительными, если расхождения между двумя последними показаниями по шкале FSN не превышают +/- 0,2 FSN, а результаты трех измерений не образуют монотонно убывающей или возрастающей последовательности. Если эти условия не выполняются, то серию измерений продолжают до получения трех последовательных показаний, удовлетворяющих поставленным условиям. За результат измерения принимают среднеарифметическое значение трех показаний.
6.4 Результаты измерений и расчетов включают в протокол о результатах испытаний.
(справочное)
МЕТОДИЧЕСКИЕ УКАЗАНИЯ ПО ИСПЫТАНИЯМ
ТИПОВЫХ ОБРАЗЦОВ СПАСАТЕЛЬНЫХ СРЕДСТВ
1 Спасательные шлюпки
1.1 Испытания типовых образцов спасательных шлюпок включают:
.1 проверку главных размерений;
.2 определение массы шлюпки;
.3 определение высоты надводного борта;
.4 испытание шлюпки на прочность;
.5 испытание шлюпки на непроницаемость;
.6 испытание шлюпки на остойчивость;
.7 проверку размещением людей;
.8 испытание шлюпки на непотопляемость;
.9 испытание съемных воздушных ящиков;
.10 испытание плавучего материала шлюпки на плавучесть;
.11 испытание подъемно-спускового устройства шлюпки на прочность;
.12 проверку прочности заделки и закрепления подъемно-спускового устройства (для пластмассовых шлюпок);
.13 проверку работы шлюпки с двигателем;
.14 огневые испытания (для шлюпок нефтеналивных судов).
1.2 Проверку главных размерений и определение массы шлюпки выполняют следующим образом:
.1 для измерения шлюпку устанавливают горизонтально по уровню в продольном и поперечном направлениях.
При обмере устанавливают соответствие высоты банок и расстояния между поперечными банками, размерений L, B, H корпуса шлюпки и расстояния A проектной документации. Здесь:
L - расстояние между проекциями на ОП точек пересечения наружной поверхности обшивки с форштевнем и ахтерштевнем (транцем) на уровне нижней кромки планширя, м;
B - наибольшая ширина между наружными поверхностями обшивки;
H - высота борта посередине длины шлюпки от ОП до кромки планширя, м;
A - расстояние между осевыми линиями подъемных гаков, м;
.2 массу шлюпки, полностью укомплектованной судовыми устройствами и предметами снабжения, определяют взвешиванием. Взвешивание может производиться при помощи динамометров, укрепленных на шлюпочных гаках.
1.3 Высоту надводного борта измеряют на мидель-шпангоуте по обоим бортам шлюпки порожнем и при полной нагрузке на спокойной воде.
Массу снабжения и людей допускается заменять эквивалентной массой груза. Массу одного человека принимают равной 75 кг, а расположение центра тяжести - на высоте 0,3 м от банки.
1.4 Испытание корпуса шлюпки на прочность проводят с учетом следующих указаний:
.1 шлюпку подвешивают за подъемно-спусковое устройство и загружают распределенным на местах для сидения людей грузом массой, определяемой по формуле, кг,
Gгр = 0,25Gк + 1,25(Gл + Gс),
где Gк - масса корпуса шлюпки, кг;
Gл - масса людей, кг;
Gс - масса снабжения, кг.
Одновременно осматривают киль, кильсоны, ширстрек, планширь. Шлюпка считается выдержавшей испытания, если отсутствуют трещины и другие повреждения;
.2 шлюпку из пластмассы дополнительно испытывают на удар и сбрасывание.
Шлюпку с грузом, равным массе людей и снабжения, подвешивают за шлюпочные гаки на стропах длиной 6 м на расстоянии 0,5 м от планширя шлюпки до вертикальной поверхности (например, бетонной стенки).
Шлюпку отклоняют от вертикальной поверхности на 2,5 м и мгновенно отпускают.
Шлюпку с той же нагрузкой сбрасывают с высоты 2,5 м от нижней кромки киля до поверхности воды. Глубина воды в месте проведения испытаний должна быть не менее двух высот борта шлюпки на мидель-шпангоуте.
Шлюпка считается выдержавшей испытание, если не обнаружены остаточные деформации, трещины и другие дефекты.
Шлюпка, не выдержавшая испытаний, после устранения дефектов допускается к повторному испытанию на прочность.
1.5 Корпус шлюпки, выдержавшей проверку на прочность, испытывают на непроницаемость одним из способов:
на кильблоках - наливом воды в корпус до уровня, соответствующего осадке шлюпки с полным количеством людей или балластом, их заменяющим, и комплектом снабжения. Шлюпка считается выдержавшей испытание, если в течение 2 ч с момента заполнения на наружной поверхности шлюпки нет течи и капель;
на плаву - при осадке, соответствующей водоизмещению с полным количеством людей и комплектом снабжения. В шлюпке, находившейся на плаву 2 ч при положении на ровный киль и без крена, не должно быть течи, однако для деревянных шлюпок допускается поступление воды до уровня 20 мм от нижней кромки кильсона.
Шлюпка, не выдержавшая испытания на непроницаемость, после устранения течи испытывается повторно.
Для испытания надводной части шлюпку на кильблоках или на плаву наклоняют поочередно на правый и левый борт так, чтобы вода достигла уровня планширя. Время выдержки на каждом борту - 30 мин. Шлюпка считается выдержавшей испытание, если на контролируемой поверхности борта нет течи.
1.6 Испытание на остойчивость заключается в следующем:
.1 испытание проводят на плаву с нагрузкой, соответствующей массе допущенного количества людей и снабжения. Груз размещают на предназначенных для людей и снабжения местах. Центр тяжести груза, заменяющего людей, располагают на высоте 0,3 м от банок и закрепляют для предотвращения смещений при крене. Шлюпка не должна иметь крена;
.2 для кренования перемещают с борта на борт груз, масса которого составляет 4 - 5% полного водоизмещения. При креновании определяют момент, статически кренящий шлюпку на 10° от нулевого положения, и сравнивают его с указанным в проектной документации;
.3 проверяют достаточность высоты надводного борта, которая должна быть не менее 100 мм при нахождении 50% числа людей, допущенных к размещению, на штатных местах по одну сторону от диаметральной плоскости.
1.7 Испытания с целью проверки размещением людей проводят в месте, защищенном от течения, волн и ветра, допускается проводить испытания при течении менее 0,1 км/ч, мелкой ряби и ветре до 3 м/с (далее - тихая вода).
В шлюпке на местах для сидения размещают людей со средней массой 75 кг в спасательных жилетах в количестве, на которое рассчитана шлюпка. В результате испытания устанавливают, не мешают ли люди друг другу при гребле, и имеет ли каждый человек возможность встать и воспользоваться имеющимся снабжением.
1.8 При испытании на непотопляемость шлюпку с балластом, имитирующем людей, и комплектом снабжения заполняют водой по верхнюю кромку планширя. При этом измеряют высоту надводного борта, которая должна быть не менее 20 мм, и проверяют отсутствие крена.
Если шлюпка не выдержала испытания, то увеличивают объем воздушных ящиков или плавучего материала или снижают количество людей, допускаемое к размещению на шлюпке.
1.9 Испытание на непроницаемость съемных воздушных ящиков проводят одним из следующих способов:
.1 воздушный ящик взвешивают и полностью погружают в воду так, чтобы слой воды над его поверхностью был не менее 100 мм. Через 2 ч ящик извлекают из воды и взвешивают. Если масса ящика не изменилась, его считают выдержавшим испытание;
.2 воздушный ящик погружают в резервуар с горячей водой температурой 60 - 70 °C так, чтобы слой воды над его поверхностью был не менее 100 мм, и в течение 10 - 15 мин переворачивают ящик в воде. При негерметичности ящика нагретый воздух, расширяясь, будет выходить наружу, и пузырьки укажут место дефекта;
.3 сжатый воздух через ниппель, припаянный у одного из углов испытываемого ящика, нагнетают в воздушный ящик до избыточного давления 0,0196 МПа. Если падение давления, измеренное через 20 мин, не превышает 1% установленного (избыточного) давления, ящик считается выдержавшим испытание.
Объем ящика определяют одним из следующих способов:
точным расчетом, выполненным по результатам измерения габаритов ящика;
заполнением ящика водой, объем которой измерен в тарированном сосуде;
погружением ящика в бак, снабженный неподвижной шкалой, градуированной в единицах объема. Перед испытанием в бак опускают груз, необходимый для удержания ящика в полностью затопленном состоянии. По уровню воды в баке с опущенным грузом устанавливают нулевое деление шкалы. Ящик с уложенным на него грузом погружают в бак на глубину 100 мм от уровня воды. По шкале отмечают уровень воды и определяют объем воздушного ящика.
1.10 Испытание плавучего материала шлюпки на плавучесть проводят на образце. Перед погружением образца под воду определяют массу, которую образец способен поддерживать на воде. Затем образец полностью погружают в воду так, чтобы над его поверхностью был слой воды не менее 100 мм, и выдерживают в таком состоянии 24 ч. После этого снова определяют массу, которую образец способен поддерживать на воде.
Образец считается выдержавшим испытание, если разность между массами груза в начале и конце испытаний не превышает 10% массы груза в начале испытаний и образец после испытаний не имеет признаков повреждений, усадки, вздутий или каких-либо изменений механических свойств.
1.11 Испытание подъемно-спускового устройства шлюпки на прочность заключается в следующем:
.1 каждый шлюпочный гак (или заменяющее его устройство), а также детали подвески и крепления до установки на шлюпку должны быть испытаны в течение 10 мин грузом массой, равной Gр, кг,
Gр = 2(Gк + Gл + Gс)/n,
где Gк - масса корпуса шлюпки, кг;
Gл - масса людей, кг;
Gс - масса снабжения, кг;
n - количество гаков.
При испытаниях проверяют разобщение шлюпки с подъемно-спусковым устройством судна после спуска ее на воду как порожнем, так и с расчетной нагрузкой.
Подъемно-спусковое устройство считается выдержавшим испытание, если после снятия нагрузки в деталях нет трещин, надрывов и остаточных деформаций. Отсутствие деформаций определяется промером расстояния между тремя точками, нанесенными керном на поверхность детали;
.2 испытание всего устройства проводится одновременно с испытанием шлюпки на прочность.
1.12 При проверке прочности заделки и закрепления подъемно-спускового устройства перегруженную на 50% пластмассовую шлюпку, подвешенную за гаки, опускают со скоростью 0,6 м/с, а затем резко тормозят. Осмотром устанавливают целостность конструкции, отсутствие трещин и деформаций в корпусе шлюпки и узлах.
1.13 Проверка работы шлюпки с двигателем состоит в следующем:
.1 шлюпку на плаву нагружают грузом, соответствующим массе допущенного количества людей и снабжения. Проверяют запуск двигателя, в том числе и вручную. При этом время запуска должно быть не более 2 мин.
Проверяют маневренность шлюпки в течение 2 ч и определяют расход топлива за это время;
.2 проверяют возможность буксировки шлюпкой с двигателем спасательного плота максимальной вместимости с полным снабжением со скоростью не менее 3,7 км/ч;
.3 проверяют работу двигателя шлюпки в течение не менее 5 мин в затопленном по ось коленчатого вала состоянии шлюпки. В результате этого испытания двигатель не должен повреждаться.
1.14 Спасательные шлюпки нефтеналивных судов дополнительно подвергают огневым испытаниям.
На водную акваторию, размерами превышающую габариты шлюпки в плане, наливают керосин в количестве, достаточном при поджигании для охватывания пламенем корпуса шлюпки в течение 8 мин. Во время огневого испытания измеряют в нескольких местах температуру внутри шлюпки (она не должна превышать 60 °C). Одновременно проверяют отсутствие дыма и вредных газов в воздухе внутри шлюпки посредством анализа отобранных проб.
После огневых испытаний шлюпку испытывают на непроницаемость.
2 Спасательные плоты
2.1 Испытания типовых образцов спасательных плотов включают:
.1 взвешивание;
.2 испытание сбрасыванием;
.3 испытание прыжками;
.4 испытание буксировкой;
.5 испытание на плаву;
.6 испытание размещением людей;
.7 испытание на остойчивость;
.8 испытание заливанием;
.9 специальные испытания надувных спасательных плотов;
.10 испытание гидростатического разобщающего устройства плота.
2.2 Взвешиванию подлежит полностью укомплектованный и упакованный в контейнер или чехол спасательный плот.
2.3 При испытании сбрасыванием упакованный в чехол или контейнер спасательный плот со снаряжением сбрасывают с высоты 10 м на воду. Свободный конец фалиня вытравливают, имитируя реальные условия падения. После сбрасывания плот оставляют на плаву на 20 мин и проверяют, сохраняет ли он положительную плавучесть. Поднятый из воды плот осматривают. Если это надувной плот, то для осмотра его надувают до рабочего давления. Плот считается выдержавшим испытание, если он и его снабжение не имеют повреждений, которые приводили бы к ухудшению эксплуатационных свойств плота.
2.4 При испытании плота прыжками испытатели, имеющие массу не менее 75 кг и обутые в обувь с гладкой подошвой, совершают не менее 5 прыжков с высоты не менее 4,5 м на плот, находящийся в рабочем состоянии на воде. Испытание прыжками может быть заменено сбрасыванием на плот груза равноценной массы.
Плот считается выдержавшим испытание, если он не имеет разрывов и повреждений.
2.5 При испытании буксировкой спасательный плот в рабочем состоянии с полной нагрузкой и предметами снабжения буксируется с помощью буксирного каната, прикрепленного к буксирной петле плота, на расстояние не менее 100 м со скоростью 5,5 км/ч на тихой воде.
Плот считается выдержавшим испытание, если он сам и буксировочные приспособления не имеют повреждений.
2.6 Испытание на плаву состоит в следующем:
.1 спасательный плот с грузом, соответствующим массе расчетного количества людей и снабжения, ставят на якорь в водоеме. Плот оставляют на плаву в течение 3 суток. Если плот надувной, то один раз в день он может подкачиваться ручными мехами.
Спасательный плот должен сохранять свою форму и не получать каких-либо повреждений;
.2 при проведении испытания на плаву устанавливают, что спасательный плот при расчетной нагрузке может перемещаться на тихой воде на расстояние не менее 30 м с помощью входящих в снабжение гребков.
2.7 Испытание размещением людей состоит в следующем:
.1 на плоту размещают людей средней массой 75 кг в спасательных жилетах в количестве, на которое рассчитан плот.
При этом устанавливают, достаточно ли на плоту места для всех сидящих людей с учетом пространства над головой при имеющемся тенте, и есть ли возможность пользоваться внутри спасательного плота предметами снабжения.
При испытании также проверяют возможность легкого и быстрого, в течение 1 мин, открытия и закрытия входов, имеющихся в тенте, изнутри и снаружи.
Если тент съемный, то два испытателя в плоту устанавливают тент в течение 5 мин в рабочее состояние и проверяют также возможность открытия и закрытия входов в тенте;
.2 плот с поднятым тентом подвергается проверке в отношении предотвращения проникновения воды в подтентовое пространство при закрытых входах. Для этого входы поливают в течение 5 мин рассеянной струей воды, направленной перпендикулярно к поверхности входов, имеющихся в тенте. В результате испытания внутри плота не должно наблюдаться значительного скопления воды.
2.8 Испытание на остойчивость заключается в следующем:
.1 на спасательном плоту, находящемся на тихой воде в рабочем состоянии, размещают на одном борту расчетное количество людей. При этом устанавливают, остается ли положительный надводный борт и нет ли опасности заливания спасательного плота;
.2 для проверки остойчивости спасательного плота во время посадки два испытателя в спасательных жилетах забираются на плот из воды без посторонней помощи. Затем они поднимают из воды третьего человека, который имитирует потерю сознания. В результате испытания устанавливают, достаточно ли остойчив плот и нет ли опасности его опрокидывания.
2.9 При испытании заливанием плот на тихой воде в рабочем состоянии со снабжением и расчетным количеством людей (или балластом, имитирующим расчетную нагрузку) полностью заливают водой. При этом устанавливают, остается ли плот на плаву и не имеет ли он значительных деформаций корпуса.
2.10 Специальные испытания конструкции надувных спасательных плотов заключаются в следующем:
.1 спасательный плот надувают от системы газонаполнения при температуре окружающей среды от 18 до 20 °C.
Плот считается выдержавшим испытание, если рабочее давление достигается не более чем за одну минуту и не обнаружено деформации швов, растрескивания или каких-либо других повреждений плота;
.2 спасательный плот, упакованный и со снаряжением, необходимо выдержать не менее 24 ч в холодильной камере с температурой минус 30 °C. После этого плот надувают от системы газонаполнения.
Плот считается выдержавшим испытание, если рабочее давление плота достигается в течение не более 3 мин и не обнаружено деформации швов, растрескивания или каких-либо других повреждений плота;
.3 спасательный плот, упакованный и со снаряжением, выдерживают не менее 8 ч в камере с температурой +50 °C. После этого плот надувают путем приведения в действие системы газонаполнения.
Плот считается выдержавшим испытание, если рабочее давление плота достигается не более чем за одну минуту и не обнаружено деформации швов, растрескивания или каких-либо других повреждений плота;
.4 спасательный плот испытывают давлением. Для этого каждый надувной отсек (камеру плавучести) спасательного плота надувают сжатым воздухом до давления, в два раза превышающего рабочее давление. При этом предохранительные клапаны приводятся в нерабочее состояние.
Плот считается выдержавшим испытание, если в течение 10 мин давление не уменьшается более чем на 5% и не обнаружено каких-либо повреждений плота;
.5 испытывают плавучесть спасательного плота. При этом испытании устанавливают, что плот, у которого один из отсеков плавучести не надут, способен поддерживать на плаву с положительным надводным бортом по всему периметру расчетное количество людей со средней массой 75 кг, сидящих в нормальном положении.
2.11 Испытания гидростатического разобщающего устройства плота состоят в следующем:
.1 при температурном испытании гидростатические разобщающие устройства помещают в камеру с температурой минус 30 °C и выдерживают там в течение 8 ч, затем в камеру с температурой +50 °C на 8 ч, описанную процедуру повторяют 10 раз. В конце испытания одно гидростатическое разобщающее устройство должно быть взято из камеры с температурой минус 30 °C и приведено в действие в воде с температурой 0 °C. Другое гидростатическое разобщающее устройство должно быть взято из камеры с температурой +50 °C и приведено в действие в воде с температурой +30 °C;
.2 при испытании гидростатического разобщающего устройства на погружение в воду и на отдачу вручную к устройству прикладывают расчетную гидростатическую нагрузку, когда оно погружено в воду или находится в затопленной водой емкости для испытания давлением. Устройство должно разобщаться на глубине не более 4 м. По окончании этого испытания и установки в исходное положение гидростатическое разобщающее устройство должно быть способно разобщаться вручную, если такое разобщение предусмотрено. После этого гидростатическое разобщающее устройство открывают для осмотра. Устройство считается выдержавшим испытания, если нет значительных следов коррозии или ухудшения качества;
.3 после сборки гидростатическое разобщающее устройство, если оно входит в состав приспособлений фалиня, подвергают испытанию на разрыв усилием не менее 10 кН, приложенным в течение 30 мин. Если разобщающее устройство установлено на спасательном плоту вместимостью 25 чел., его подвергают испытанию на разрыв усилием не менее 15 кН. После испытания на разрыв устройство должно быть способно разобщаться вручную, если такое разобщение предусмотрено;
.4 испытание работоспособности устройства проводят с использованием самого малого и самого большого спасательных плотов, с которыми могут применяться гидростатические разобщающие устройства. Спасательный плот устанавливают горизонтально на раму или платформу, обладающую достаточной массой для погружения спасательного плота в воду. Гидростатическое разобщающее устройство и фалинь устанавливают так же, как и на борту судна.
Платформа, на которой установлен спасательный плот, погружается в воду следующим образом:
горизонтально;
с углом наклона 45°, а затем 100° таким образом, чтобы гидростатическое разобщающее устройство находилось у верхнего конца;
с углом наклона 45°, а затем 100° таким образом, чтобы гидростатическое разобщающее устройство находилось у нижнего конца;
вертикально.
При этих условиях гидростатическое разобщающее устройство должно разобщать спасательный плот на глубине не более 4 м.
3 Спасательные приборы
3.1 Испытания типовых образцов спасательных приборов включают:
.1 определение размерений и формы прибора;
.2 испытание на прочность;
.3 испытание корпуса металлического прибора или воздушных ящиков на непроницаемость;
.4 испытание на остойчивость;
.5 испытание на плавучесть.
3.2 Размерения L, B, H и форму прибора проверяют на соответствие технической документации. Здесь:
L - расчетная длина прибора, измеренная между крайними его точками в диаметральной плоскости, м;
B - расчетная ширина прибора, измеренная между крайними его точками в плоскости мидель-шпангоута, м;
H - расчетная высота прибора, измеренная между крайними его точками в диаметральной плоскости, м.
3.3 Прочность прибора следует проверять сбрасыванием его с высоты 10 м в воду. Прибор считается выдержавшим испытание, если на нем нет трещин, вмятин, разрывов.
3.4 Корпус металлического прибора или воздушных ящиков испытывают на непроницаемость одним из следующих способов:
поочередным нагнетанием в каждый отсек сжатого воздуха до избыточного давления 0,0196 МПа. Если по истечении 30 мин падение давления по установленному на отсеке манометру не превышает 1% избыточного, отсек считают непроницаемым;
заполнением каждого отсека водой на высоту 3 м над верхней горизонтальной касательной к отсеку, для чего в каждый отсек вертикально вставляют шланг или трубку, имеющую на нижнем конце штуцер для ввертывания в отсек, а на верхнем - стеклянную трубку. Если в течение 1 ч уровень воды в стеклянной трубке не опустится, отсек считают непроницаемым.
3.5 При испытании на остойчивость на одну из длинных сторон прибора на каждый провис спасательного леера подвешивают стальные или чугунные грузы массой 14,5 кг каждый.
Если верхняя поверхность нагруженного прибора не покрывается водой, прибор считается остойчивым.
3.6 При испытании на плавучесть испытанный на прочность и непроницаемость прибор полностью погружают в воду и выдерживают в погруженном состоянии 24 ч. По истечении указанного времени на него укладывают груз, соответствующий полному количеству людей, на которое он рассчитан, принимая по 14,5 кг на одного человека. Груз не должен быть в воде. Прибор считается выдержавшим испытание, если остается на плаву в течение 1 ч.
4 Спасательные круги
4.1 Испытания типовых образцов спасательных кругов включают:
.1 обмер и взвешивание;
.2 испытание на теплостойкость;
.3 испытание на морозостойкость;
.4 испытание на стойкость к воздействию пламени;
.5 испытание на стойкость к воздействию нефтепродуктов;
.6 испытание на прочность;
.7 испытание на плавучесть.
4.2 Путем измерений, взвешивания и осмотра устанавливают, что внутренний диаметр, масса спасательного круга и предусмотренное для него снабжение соответствуют требованиям технической документации.
4.3 При испытании на теплостойкость круг помещают в камеру с температурой +50 °C на 8 ч. Круг считается выдержавшим испытание, если он не имеет повреждений и изменений формы, а линейная усадка не превышает 2% первоначальных размеров.
4.4 При испытании на морозостойкость круг помещают в холодильную камеру с температурой минус 30 °C на 8 ч. Круг считается выдержавшим испытание, если он не имеет повреждений и изменений формы, а линейная усадка не превышает 2% первоначальных размеров.
4.5 При испытании на стойкость к воздействию пламени сосуд из огнестойкого материала размером 300 x 350 x 60 мм заполняют водой до отметки 10 мм и бензином - до отметки 40 мм. Бензин зажигают и дают свободно гореть в течение 30 с. После этого на расстоянии от 250 до 500 мм над верхней кромкой сосуда подвешивают круг, который должен находиться в открытом пламени 2 с. Круг считается выдержавшим испытание, если после удаления из пламени он не горит и не плавится.
4.6 При испытании на стойкость к нефтепродуктам круг полностью погружают в дизельное топливо на глубину 100 мм на 24 ч при комнатной температуре. После испытаний на круге не должно быть признаков каких-либо повреждений.
4.7 Круг испытывают на прочность после испытаний на теплостойкость, морозостойкость и стойкость к воздействию пламени.
Испытание на прочность заключается в следующем:
.1 круг сбрасывают 4 раза плашмя с высоты 10 м в воду или с высоты 5 м на бетонный пол. Круг считается выдержавшим испытание, если после испытания на круге нет разрывов в швах и ткани оболочки и изменения формы, а для круга с самозажигающимся буйком - нарушения работоспособности сигнального устройства;
.2 прочность круга, испытанного на прочность сбрасыванием, а также прочность крепления концов и леера к кругу проверяют последовательным подвешиванием к каждому участку леера груза массой 75 кг на 10 мин. Круг считается выдержавшим испытание, если при этом нет проскальзывания леера и смещения его заделки, разрушения крепления концов леера, а также разрывов в швах и ткани оболочки круга;
.3 прочность круга дополнительно проверяют подвешиванием круга на 20 мин с прикрепленным к нему грузом массой 90 кг. Круг и груз к кругу подвешиваются на противоположных сторонах на лентах шириной 50 мм. Круг считается выдержавшим испытание, если после испытания на нем нет разрывов, трещин или остаточной деформации.
4.8 Испытание на плавучесть проводят после испытания на прочность. Круг с подвешенным к нему грузом из стали или чугуна массой 14,5 кг опускают в воду на 24 ч. При этом груз не должен крепиться к лееру. Круг считается выдержавшим испытание, если в течение этого времени он остается на плаву. Для круга с самозажигающимся буйком одновременно проверяют способность непрерывного горения сигнального устройства в течение 2 ч с силой света не менее 2 кд.
5 Спасательные жилеты
5.1 Испытания типовых образцов спасательных жилетов включают:
.1 испытание на теплостойкость и морозостойкость;
.2 испытание на стойкость к воздействию пламени;
.3 испытание на стойкость к воздействию нефтепродуктов;
.4 испытание на прочность;
.5 испытание на плавучесть;
.6 испытание жилета для взрослого на остойчивость и удобство пользования;
.7 испытание детского жилета на остойчивость и удобство пользования;
.8 дополнительные испытания для надувного жилета.
5.2 Спасательный жилет подвергают испытаниям на теплостойкость и морозостойкость в соответствии с
4.3 и
4.4. Жилет считается выдержавшим испытания, если оболочка и плавучий материал внутри нее не имеют признаков повреждений, таких, как усадка, вздутия и растрескивания.
5.3 Спасательный жилет подвергают огневому испытанию в соответствии с
4.5. Жилет считается выдержавшим испытание, если он не поддерживает горение и не плавится после удаления его из пламени.
5.4 Спасательный жилет подвергают испытаниям на стойкость к воздействию нефтепродуктов в соответствии с
4.6. Жилет считается выдержавшим испытания, если после него оболочка и плавучий материал жилета не имеют признаков повреждений, вздутия и растрескивания.
5.5 Испытания на прочность спасательного жилета подразделяются на два типа: испытание на прочность с приложением усилия к поясу и испытание на прочность с приложением усилия вдоль жилета.
При испытании на прочность с приложением усилия к поясу спасательный жилет погружают в воду на 2 мин. Затем его вынимают из воды и застегивают так, как он застегивается, будучи надетым на человека. Затем к той части жилета, которая удерживает его на теле человека, или к подъемной петле спасательного жилета взрослого человека
(рис. П13.5.5-1) в течение 30 мин прикладывают усилие не менее 320 кг, а для детского спасательного жилета - 240 кг. Указанное усилие передается на жилет взрослого человека через цилиндр диаметром 125 мм, на детский жилет - через цилиндр диаметром 50 мм.
Рис. П13.5.5-1. Испытание спасательного жилета
на прочность с приложением усилия к поясу:
а) спасательный жилет типа "жилетка"; б) спасательный жилет
типа "хомут"; P - пробная нагрузка
При проведении испытания на прочность с приложением усилия вдоль жилета спасательный жилет погружают в воду на 2 мин. После этого его вынимают из воды и застегивают так, как он застегивается, будучи надетым на человека. Затем в течение 30 мин к плечевой части спасательного жилета взрослого человека прикладывают усилие не менее 90 кг, а для детского спасательного жилета - 70 кг. Указанное усилие передается на жилет взрослого человека через цилиндр диаметром 125 мм, на детский жилет - через цилиндр диаметром 50 мм
(рис. П13.5.5-2).
Рис. П13.5.5-2. Испытание спасательного жилета
с продольным приложением усилия:
а) спасательный жилет типа "жилетка"; б) спасательный жилет
типа "хомут"; P - пробная нагрузка
Жилет считается выдержавшим испытание, если в результате испытаний он не получил повреждений.
5.6 При испытании на плавучесть испытанный на прочность жилет полностью погружают в воду на 20 мин. Затем на жилет помещают груз, который он может поддерживать на воде, и измеряют массу груза. После этого жилет выдерживают в течение 24 ч в погруженном состоянии так, чтобы над его поверхностью был слой воды не менее 100 мм. В конце испытаний снова подбирают массу груза, который жилет после выдержки под слоем воды будет способен поддерживать на воде. Разность между массами груза в начале и конце испытания не должна превышать 5% от массы груза в начале испытания. Затем спасательный жилет взрослого человека нагружают грузом из стали или чугуна массой 20 кг, а детский спасательный жилет - массой 9 кг и опускают в воду.
Жилет считается выдержавшим испытание, если он не имеет повреждений, и с указанным выше грузом остается на плаву в течение 15 мин.
5.7 Испытания жилета для взрослого на остойчивость и удобство пользования проводят не менее 6 испытателей (в том числе 1 - 2 женщины), одетых в обычную одежду, различных роста и массы, указанных в
табл. П13.5.6, по следующей программе:
.1 испытатель должен правильно надеть спасательный жилет без посторонней помощи в течение 1 мин;
.2 испытатель в спасательном жилете должен проплыть 25 м и забраться на спасательный плот или жесткую платформу, возвышающиеся на 300 мм над поверхностью воды;
.3 испытатель в спасательном жилете должен сделать не менее трех плавных гребков брассом, а затем расслабиться с опущенной вниз головой и частично заполненными легкими, имитируя состояние потерявшего сознание человека. Из этого положения жилет должен обеспечить поворот испытателя на спину, под углом к вертикали, за время не более 5 с и поддержание головы человека над водой так, чтобы рот находился на расстоянии не менее 120 мм от поверхности воды;
.4 испытатель в спасательном жилете должен прыгнуть с высоты 4,5 м в воду ногами вниз, при этом жилет при входе в воду не должен перемещаться, травмировать, вызывать болевые ощущения.
Рост, м | Количество, чел. | Масса, кг |
1,4 - 1,6 | 1 | менее 60 |
1 | более 60 |
1,6 - 1,8 | 1 | менее 70 |
1 | более 70 |
Более 1,8 | 1 | менее 80 |
1 | более 80 |
5.8 Для детского спасательного жилета должны, насколько это практически возможно, применяться испытания на остойчивость и удобство пользования, аналогичные проводимым для взрослого. Жилеты для детей испытывают на испытателях (манекенах). Испытатели должны подбираться таким образом, чтобы в полной мере представить все размеры. В каждом интервале роста и массы требуются не менее 6 испытателей.
При испытаниях на переворачивание в воде рот испытателя должен оказываться над водой не позднее чем через 5 с.
Среднее расстояние ото рта до поверхности воды испытуемых должно быть не менее 90 мм. При этом рот отдельного испытателя ростом менее 1,27 м и массой менее 23 кг должен находиться над водой на расстоянии не менее 50 мм, а рот отдельного испытателя ростом более 1,27 м и массой более 23 кг - не менее 75 мм.
При испытаниях должно быть установлено, что спасательный жилет не перемещается, не травмирует, не сковывает подвижность в воде и вне воды.
5.9 Дополнительные испытания для надувного жилета заключаются в следующем:
.1 дополнительно после испытаний по
5.2 -
5.4 надувной жилет приводят в рабочее состояние с помощью системы автоматического надувания, вручную и ртом;
.2 прочность камер плавучести надувного жилета проверяют, надувая камеры вручную при закрытых предохранительных клапанах дополнительным давлением, в 1,25 раза превышающем рабочее.
Надувной жилет считается выдержавшим испытание, если после удержания давления в течение 30 мин, он не имеет каких-либо повреждений;
.3 спасательный жилет, одна камера плавучести которого не надута, подвергают испытаниям на плавучесть и на остойчивость и удобство пользования.
6 Гидротермокостюмы
6.1 Испытания типовых образцов гидротермокостюмов включают:
.1 испытание на теплостойкость и морозостойкость;
.2 испытание на стойкость к воздействию пламени;
.3 испытание на прочность;
.4 испытание на плавучесть;
.5 испытание на водонепроницаемость;
.6 испытание на удобство пользования.
6.2 Гидротермокостюм подвергают испытаниям, на теплостойкость и морозостойкость в соответствии с требованиями
4.3 и
4.4. Гидротермокостюм считается выдержавшим испытание, если не имеет каких-либо повреждений, растрескиваний, вздутий.
6.3 Гидротермокостюм подвергают испытанию на стойкость к воздействию пламени в соответствии с требованиями
4.5. Гидротермокостюм считается выдержавшим испытание, если он не поддерживает горение и не плавится после удаления его из пламени.
6.4 Гидротермокостюм подвергают испытаниям на прочность в соответствии с
5.5, но при этом прилагаемая нагрузка должна быть 1350 Н (при необходимости гидрокостюм разрезают для специальных приспособлений при проведении испытаний). Гидротермокостюм считается выдержавшим испытание, если в результате испытания он не получил повреждений.
6.5 Гидротермокостюм, не требующий наличия спасательного жилета, подвергают испытаниям на плавучесть в соответствии с
5.5. Гидротермокостюм считается выдержавшим испытание, если его плавучесть не уменьшается более чем на 5% после погружения его в воду на 24 ч.
6.6 Испытание на водонепроницаемость состоит в следующем:
.1 перед испытанием определяют массу испытателя в смоченном водой гидротермокостюме. После пребывания в течение 1 ч в воде испытателя в гидротермокостюме снова взвешивают. Гидротермокостюм считается выдержавшим испытание, если масса поступившей в него воды за это время не превышает 200 г.;
.2 методом, указанным в
6.6.1, определяют количество воды в гидротермокостюме после прыжка испытателя в нем в воду с высоты 4,5 м. Гидротермокостюм считается выдержавшим испытание, если при прыжке он не смещается и не повреждается, а масса поступившей в него воды не превышает (500 +/- 50) г.
6.7 Для испытаний на удобство пользования подбирают испытателей-мужчин в соответствии с
5.7.
Если гидротермокостюм требует ношения спасательного жилета, то при испытании поверх него надевают спасательный жилет.
Испытания заключаются в следующем:
.1 испытатель должен правильно без посторонней помощи надеть гидрокостюм в течение не более 2 мин;
.2 испытатель должен устойчиво плавать на тихой воде лицом вверх, при этом рот его должен быть не ниже 120 мм над поверхностью воды. Затем, расслабившись, с опущенной вниз головой испытатель имитирует потерявшего сознание человека. Из этого положения конструкция гидрокостюма должна обеспечивать поворот человека на спину, лицом вверх за 5 с;
.3 испытатель в гидрокостюме должен прыгнуть с высоты 4,5 м и в течение 1 ч пробыть в воде с температурой +5 °C. После этого измеряют температуру тела испытателя, которая не должна снижаться более чем на 2 °C
7 Теплозащитные средства
7.1 Испытания типовых образцов теплозащитных средств включают:
.1 испытание на водонепроницаемость материала и термическое сопротивление теплозащитного средства;
.2 испытание на теплостойкость и морозостойкость;
.3 испытание на стойкость к воздействию нефтепродуктов;
.4 испытание на удобство пользования.
7.2 При испытании материала на водонепроницаемость должно быть установлено, что материал, из которого изготовлено теплозащитное средство, способен сохранять свою водонепроницаемость при давлении на него столба воды высотой 2 м.
Испытанием должно быть установлено, что коэффициент теплопередачи теплозащитного средства не более 7800 Вт/(м2·К).
7.3 Теплозащитное средство подвергают испытаниям на теплостойкость и морозостойкость в соответствии с
4.3 и
4.4. Средство считается выдержавшим испытание, если при осмотре после испытаний нет признаков его повреждения.
7.4 Испытания на стойкость к нефтепродуктам.
Теплозащитное средство после закрытия всех отверстий подвергают испытанию на стойкость к воздействию нефтепродуктов в соответствии с
4.6. Средство считается выдержавшим испытание, если после очистки его поверхности после испытаний и осмотра нет никаких признаков повреждений, а его коэффициент теплопередачи не превышает 7800 Вт/(м
2·К).
7.5 Для испытаний на удобство пользования подбирают испытателей в соответствии с испытаниями спасательного жилета для взрослого на остойчивость и удобство пользования.
Испытатели, находясь в спасательном средстве на плаву, распаковывают теплозащитное средство и надевают его поверх спасательного жилета без посторонней помощи.
Если испытатели, находясь в воде в теплозащитном средстве, снимают его в течение не более 2 мин без посторонней помощи, средство считается выдержавшим испытание.
8 Спусковое и эвакуационное устройства
8.1 Испытания типовых образцов спускового и эвакуационного устройств включают:
.1 испытание на работоспособности и прочности спускового устройства;
.2 испытание судового эвакуационного ската на теплостойкость, морозостойкость и воздействие пламени;
.3 испытание судового эвакуационного ската на прочность;
.4 испытание на удобство использования судовым эвакуационным скатом.
8.2 Испытания работоспособности и прочности спускового устройства заключаются в следующем:
.1 шлюпбалки, плотбалки и спусковые устройства для спасательных шлюпок подвергают испытанию пробной статической нагрузкой, в 1,5 раза превышающей их максимальную рабочую нагрузку. Полностью вываленную за борт шлюпку раскачивают, описывая дугу приблизительно 5°, по обе стороны от вертикали в предполагаемой продольной плоскости. Сначала испытания проводят при прямом положении судна, а затем - с имитацией крена 15° на один и другой борт.
В результате проведения этого испытания не должно наблюдаться значительной деформации устройств или каких-либо других повреждений;
.2 к барабанам лебедки с максимально допустимым числом шлагов на них прикладывают пробную статическую нагрузку, в 1,5 раза превышающую рабочую нагрузку, которая должна удерживаться с помощью тормозов. Эту нагрузку затем спускают, по меньшей мере, на один полный оборот оси барабана. Пробную нагрузку, в 1,1 раза превышающую рабочую нагрузку, спускают с максимальной скоростью спуска на расстояние 3 м и резко стопорят с помощью ручных тормозов. В результате испытаний тормоза должны работать удовлетворительно;
.3 проверяют работу лебедки с помощью ручного привода, если это предусматривается конструкцией лебедки;
.4 проверяют время спуска шлюпки на воду с расчетным числом людей и снабжения. Спусковое устройство считается выдержавшим испытание, если время спуска, включая время на подготовку к спуску и вываливание за борт, не превышает 5 мин.
8.3 Судовой эвакуационный скат подвергают испытаниям на теплостойкость, морозостойкость и воздействие пламени в соответствии с указаниями
4.3 -
4.5. Судовой эвакуационный скат считается выдержавшим испытание, если при приведении его после испытаний в рабочее состояние нет признаков растрескивания корпуса, деформации швов и других дефектов.
8.4 Испытание судового эвакуационного ската на прочность заключаются в следующем:
.1 камеры плавучести судового эвакуационного ската при закрытых предохранительных клапанах надувают сжатым воздухом до давления, в 2 раза превышающего рабочее давление. Судовой эвакуационный скат считается выдержавшим испытание, если в течение 10 мин давление в его камерах плавучести не падает более чем на 5% и не обнаружено каких-либо повреждений конструкции;
.2 надутый до рабочего давления судовой эвакуационный скат устанавливают концами на жестком основании на небольшой высоте. Среднюю часть ската нагружают рассредоточенной нагрузкой массой до 150 кг (вес 1,47 кН). Судовой эвакуационный скат считается выдержавшим испытание, если он не складывается и не деформируется.
8.5 Для испытания на удобство пользования судовым эвакуационным скатом подбирают испытателей в соответствии с
5.7. При этом:
.1 судовой эвакуационный скат, упакованный в контейнер или чехол, устанавливают на высоте, на которой он должен размещаться на судне. Один испытатель приводит его в рабочее состояние. Другой испытатель крепит конец судового эвакуационного ската к спасательному средству (плоту или шлюпке). При этом визуально фиксируется угол наклона судового эвакуационного ската по отношению к горизонту, который должен быть в пределах от 30° до 35°.
Судовой эвакуационный скат считается выдержавшим испытание, если время приведения его в эксплуатационное состояние не превышает 5 мин;
.2 по установленному при рабочем давлении судовому эвакуационному скату осуществляют спуск людей, одетых в спасательные жилеты. Судовой эвакуационный скат считается выдержавшим испытание, если нет каких-либо повреждений рабочей поверхности спусковой дорожки. При этом должно быть продемонстрировано, что потеря давления в любой одной камере плавучести судового эвакуационного ската не ограничивает его использование как средства эвакуации.
(справочное)
МЕТОДИЧЕСКИЕ УКАЗАНИЯ ПО ИСПЫТАНИЯМ ТИПОВЫХ ОБРАЗЦОВ
ПИРОТЕХНИЧЕСКИХ СИГНАЛЬНЫХ СРЕДСТВ
1 Испытание на теплостойкость и морозостойкость
| | ИС МЕГАНОРМ: примечание. В официальном тексте документа, видимо, допущена опечатка: имеются в виду п.п. 4.3 и 4.4 Приложения 13, а не 4.2 и 4.3 соответственно. | |
1.1 По два образца каждого пиротехнического сигнального средства подвергают испытаниям в соответствии с методическими указаниями по испытаниям спасательных кругов на теплостойкость и морозостойкость (см.
4.2 и
4.3 приложения 13). Сигнальные средства считаются выдержавшими испытания, если нет каких-либо повреждений, растрескиваний, вздутий, а при приведении в действие сразу после испытаний они нормально функционируют.
2 Испытание на прочность
2.1 По два образца каждого пиротехнического сигнального средства сбрасывают на бетонный пол с высоты 2 м. Сигнальные средства считаются выдержавшими испытание, если нет каких-либо повреждений, а при приведении в действие они нормально функционируют.
3 Испытание на водостойкость
3.1 По два образца каждого пиротехнического сигнального средства погружают в воду на глубину 100 мм на 24 часа.
Сигнальные средства считаются выдержавшими испытания, если при приведении в действие после испытаний они нормально функционируют, а все инструктивные надписи и рисунки на корпусе четко видны.
4 Испытания работоспособности
4.1 Испытатель проводит вручную, без посторонней помощи, запуск по два образца каждого пиротехнического сигнального средства голыми руками и в перчатках.
4.2 При запуске парашютных ракет испытатель визуально убеждается, что ракета срабатывает на высоте приблизительно 300 м без повреждения парашюта и его креплений, а также фиксирует:
время продолжительности горения ракеты, которое должно быть не менее 40 с;
время спуска ракеты из точки верхней траектории.
Затем определяется скорость спуска ракеты, которая должна быть не более 5 м/с.
4.3 При приведении в действие фальшфейеров испытатель замеряет на одном время продолжительности его горения, при температуре окружающей среды. Оно должно быть не менее 1 мин. Второй фальшфейер после 30 с горения испытатель погружает в воду на глубину 100 мм. При этом фальшфейер должен продолжать гореть не менее 10 с.
4.4 Путем лабораторных испытаний при использовании вентилятора испытывают работоспособность каждого пиротехнического сигнального средства при скорости потока воздуха не менее 30 м/с. Средства считаются выдержавшими испытания, если при этой скорости воздуха они не гаснут.
(справочное)
ИСПЫТАНИЯ ЭЛЕКТРИЧЕСКОГО, РАДИО- И НАВИГАЦИОННОГО
ОБОРУДОВАНИЯ
1.1 Сопротивление изоляции оборудования и электрических кабелей по отношению к корпусу судна, а также между фазами (полюсами), измеренное во время испытаний, проводимых после постройки судна, должно быть не менее указанного в
табл. П15.1.1-1.
Таблица П15.1.1-1
Электрическое оборудование | Минимальное сопротивление изоляции при температуре окружающей среды (20 +/- 5) °C, МОм |
до начала испытаний | после испытаний |
Электрические машины | 5 | 2 |
Трансформаторы | 5 | 2 |
Распределительные щиты | 25 | 5 |
Коммутационная, защита и пускорегулирующая аппаратура (не бывшая в эксплуатации) | 10 | - |
Приборы контроля управления судном, связи, сигнализации | 20 | - |
Нагревательные и отопительные приборы | 1 | 1 |
Светильники (прожекторы) | 20 | 2 |
Установочные изделия | 20 | 5 |
Статические преобразователи | 10 | 5 |
СИЭ | 10 | 5 |
Напряжение постоянного тока, развиваемое мегаомметром при измерениях сопротивления изоляции, должно быть не менее указанного в
табл. П15.1.1-2.
Таблица П15.1.1-2
Допускаемое напряжение для мегаомметра
Номинальное напряжение, В | Наименьшее тестовое напряжение, В |
До 50 | 100 |
51 - 100 | 250 |
101 - 500 | 500 |
501 - 7200 | 1000 |
Более 7201 | 2500 |
1.2 Каждая электрическая цепь может быть разделена на разное количество участков с помощью установленных в ней выключателей (отключателей) потребителей. В пожароопасных помещениях измерение сопротивления изоляции необходимо производить после вентиляции помещений десятикратным обменом воздуха. Сопротивление изоляции СИЭ ТЭ проводится только после продувки системы подачи топлива.
1.3 Измерение сопротивления изоляции необходимо проводить непосредственно после испытаний на влагоустойчивость:
для всех распределительных устройств сопротивление изоляции измеряется между каждой шиной и корпусом и между шинами разных фаз или полярности. Измерение изоляции необходимо проводить при отключенных автоматических выключателях и удаленных предохранителях сигнальных электроламп, вольтметров и других электроизмерительных приборов, полупроводники и полупроводниковые приборы должны быть отключены;
для генераторов и электродвигателей сопротивление изоляции необходимо измерять до начала испытаний и после испытаний (не позднее 1 ч после испытаний электрооборудования в действии). Сопротивление изоляции измеряется между обмотками и корпусом и между каждой обмоткой;
для электрических кабелей сопротивление изоляции измеряется между каждым проводником кабеля и землей, а также между всеми проводниками кабеля.
1.4 Фиксация показаний величины сопротивления изоляции на мегаомметре должна проводиться после того, как приложенное напряжение установится постоянным.
2 ЭЛЕКТРИЧЕСКАЯ ПРОЧНОСТЬ ИЗОЛЯЦИИ
2.1 Электрическая прочность изоляции оборудования, за исключением относящейся к отдельным видам, указанным
2.2 -
2.4, испытывается в течение 1 мин приложением переменного синусоидального напряжения частотой 50 Гц при нормальных климатических условиях, указанного в
табл. П15.2.1.
Таблица П15.2.1
Испытание изоляции оборудования на электрическую прочность
Номинальное напряжение, В | Испытательное переменное напряжение (среднее квадратическое значение), В |
60 и менее | 500 |
61 - 250 | 1500 |
251 - 500 | 2000 |
501 - 1000 | 2 на каждый вольт номинального напряжения +1000 |
1001 - 2500 | 6500 |
2501 - 3600 | 10000 |
3601 - 7200 | 20000 |
7201 - 10000 | 28000 |
2.2 Межвитковая изоляция обмоток электрических машин (электромагнитных муфт) испытывается в режиме холостого хода машины (муфты). Испытания проводятся на нагретой машине (муфте) при температуре, близкой к температуре, максимально достигнутой при испытании на нагревание. Испытательное напряжение должно быть равным 1,3 номинального напряжения. Продолжительность испытания - 3 мин (для турбогенераторов - 5 мин), если не оговорены особые случаи.
2.3 При испытании изоляции обмоток трансформаторов обмотки должны выдерживать испытательное напряжение, указанное в
табл. П15.2.3.
Таблица П15.2.3
Испытательное напряжение обмоток трансформатора
Напряжение, В |
номинальное | испытательное |
До 1000 | 2700 |
1001 - 3000 | 9000 |
3001 - 6000 | 15400 |
6001 - 10000 | 21600 |
Межвитковая изоляция обмоток трансформаторов испытывается путем приложения к выводам одной из обмоток удвоенного напряжения повышенной частоты при разомкнутых остальных обмотках. Продолжительность испытаний - не менее 15 с.
Для трансформаторов тока межвитковая изоляция вторичной обмотки в течение 1 мин должна выдерживать в разомкнутом состоянии испытательное напряжение, которое индуцируется в ней при протекании по первичной обмотке номинального тока.
Испытание включением "толчком" (мгновенный подъем и сброс напряжения отключением без дуги вакуумным выключателем) на номинальное напряжение необходимо производить 5-кратным включением трансформатора на номинальное напряжение. При этом не должны иметь место явления, сопровождающие межвитковое замыкание (изменение шума, появление дыма, изменение цвета обмоточной изоляции и другие явления, указывающие на неудовлетворительное состояние трансформатора).
2.4 Испытательное напряжение для предохранителей, рассчитанных на напряжение до 500 В, должно составлять 3000 В.
2.5 При испытании кабелей каждая изолированная жила готового кабеля должна выдерживать в течение 5 мин без пробоя приложение однофазного синусоидального переменного напряжения с частотой 50 (60) Гц или напряжение постоянного тока, указанное в
табл. П15.2.5. Эти испытательные напряжения для готового кабеля применяются как после выдержки кабеля в воде, так и без такой выдержки, как при испытании с погружением в воду, так и без погружения.
Таблица П15.2.5
Напряжение испытания кабелей
Кабели | Испытательное напряжение, В, при токе |
переменном | постоянном |
Силовые на номинальное напряжение, В: | | |
до 250 | 1500 | 3000 |
251 - 750 | 2500 | 5000 |
751 - 1000 | 3000 | 8400 |
1001 - 3000 | 7000 | 15600 |
3001 - 10000 | 15000 | 48000 |
Сигнализации и связи на номинальное напряжение 250 В | 1500 | 3000 |
Примечания. 1. Требования таблицы распространяются на кабели с резиновой, поливинилхлоридной и полиэтиленовой изоляцией в резиновой или поливинилхлоридной оболочке. 2. Испытательное напряжение для кабелей, номинальное напряжение которых не указано в таблице, устанавливается технической документацией. 3. Для кабелей с экранированными жилами, если они составляют более 50% всех жил, испытательное напряжение может быть снижено на 25% по сравнению с напряжением, указанным в таблице. |
Результаты испытаний кабелей считаются положительными, если не выявлено пробоя изоляции или перекрытия по поверхности.
2.6 Электрическая прочность изоляции СИЭ ТЭ замеряется только после вентиляции помещений для размещения СИЭ ТЭ десятикратным обменов воздуха и продувки системы подачи топливом СИЭ ТЭ.
3 ФУНКЦИОНАЛЬНЫЕ ИСПЫТАНИЯ
3.1 Испытаниям подвергается каждый образец оборудования до проведения отдельных видов испытаний.
До проведения испытаний должно быть установлено, что комплектность оборудования, запасные части и сопротивление изоляции соответствуют технической документации.
3.2 Испытания оборудования должны проводиться при номинальных режимах, предусмотренных технической документацией, при нормальных климатических условиях.
3.3 Во время испытаний проводятся необходимые измерения и снятие характеристик. Характеристики определяются как при номинальном напряжении питания и частоте, так и при длительных (кратковременных) (см. 2.2.1 ч. VI ПКПС) отклонениях:
при длительных отклонениях напряжения на +6% и -10% и частоты на +/- 5%;
при кратковременных (одновременных) отклонениях напряжения +15 и -30% и частоты +/- 10%. Продолжительность кратковременного отклонения напряжения - не более 1,5 с, частоты - 5 с.
3.4 Оборудование, предназначенное для работы от аккумуляторных батарей, должно быть испытано при отклонении напряжения от номинального значения в пределах +30 до -25% для оборудования, питающегося от аккумуляторной батареи, подключенной к зарядному устройству, и от +20 до -25% для оборудования, не подключенного к батарее во время зарядки.
Оборудование, предназначенное для работы от СИЭ, должно быть испытано в диапазоне напряжения установленным разработчиком по программе и методике испытаний, согласованной с РКО, но в пределах +10 до -25%.
3.5 Проверяется соответствие результатов измерений и характеристик значениям, указанным в технической документации, и работоспособность оборудования в заданных параметрах.
Для оборудования, работающего под нагрузкой, снятие характеристик проводится по достижении установившейся рабочей температуры.
4 ИСПЫТАНИЯ НА ПОВЫШЕННУЮ ЧАСТОТУ ВРАЩЕНИЯ И ПЕРЕГРУЗКУ
4.1 Испытание на повышенную частоту вращения должно проводиться после испытания на кратковременную перегрузку по току, а для электрических машин, испытываемых на стоянку под током, - после испытания на стоянку под током. Испытание проводится при температуре частей электрических машин, близкой к установившейся температуре, достигаемой в конце испытаний на нагревание. Продолжительность испытания всех электрических машин, за исключением стартеров, составляет 2 мин (для стартеров - 20 с).
4.2 Электрические машины с последовательным возбуждением должны испытываться при частоте вращения, на 20% превышающей наибольшую, указанную в паспортных данных, но не менее чем на 50% превышающей номинальную. Стартеры должны испытываться при 120% частоты вращения холостого хода.
4.3 Электрические машины с регулируемой частотой вращения, а также с несколькими номинальными частотами вращения должны испытываться при частоте вращения, на 20% превышающей наибольшую указанную на паспортной табличке. Все остальные электрические машины испытываются при частоте вращения, на 20% превышающей номинальную частоту вращения.
4.4 Испытания генераторов переменного тока на перегрузку по току производятся при коэффициенте мощности нагрузки 0,6

током, составляющим 150% от номинального, в течение 120 с. Испытание генераторов постоянного тока производится током, составляющим 150% от номинального, в течение 15 с. Испытания считаются успешными, если напряжение генератора не снижается более чем на 10%.
5 ИСПЫТАНИЯ НА СТОЙКОСТЬ К УДАРНОМУ ТОКУ КОРОТКОГО ЗАМЫКАНИЯ
5.1 Испытание на стойкость конструкций электрических машин к ударному току короткого замыкания должно проводиться при выполнении следующих условий:
режим короткого замыкания должен создаваться внезапным одновременным замыканием всех трех фаз (полюсов) при работе машины на холостом ходу при напряжении, составляющем 105% номинального, и включенном устройстве автоматического регулирования напряжения;
мощность электрических машин при испытании должна быть не меньше эксплуатационной;
длина проводников от электрической машины до замыкающего устройства должна быть наименьшей, площадь сечения - наибольшей из предусмотренных технической документацией на генератор, материал проводников - медь;
параметры режима короткого замыкания должны осциллографироваться;
оценка результата испытания должна производиться путем тщательного ее осмотра, в особенности состояния и крепления лобовых частей обмотки статора, сварных швов и других механических соединений, а также по результатам испытания электрической прочности изоляции, проведенного после испытания на стойкость к току короткого замыкания.
5.2 Оценка результата испытания электрических машин мощностью более 1000 кВ/А производится, кроме того, и по показаниям, полученным от тензометрирования (определения на поверхности деталей величин деформаций), напряжений в элементах крепления активной стали и изоляции лобовых частей их деталей, а также в результате измерения вибраций тех же частей. Нормы предельных напряжений должны устанавливаться по согласованию с Российским Классификационным Обществом.
6 ИСПЫТАНИЯ НА ВИБРОПРОЧНОСТЬ И ВИБРОУСТОЙЧИВОСТЬ
6.1 Испытания оборудования на вибропрочность в отключенном состоянии проводятся в диапазоне частот 2 - 80 Гц
(табл. П15.6.1). Испытания проводятся в трех взаимно перпендикулярных плоскостях, одна из которых должна быть рабочей.
Таблица П15.6.1
Испытания изделий на вибропрочность
Диапазон частот, Гц | Испытание |
длительное | кратковременное |
Амплитуда, мм | Время, ч | Амплитуда, мм | Время, ч |
2 - 8 | 1,4 | 36 | 2,5 | 9,0 |
8 - 16 | 0,7 | 24 | 1,3 | 4,5 |
16 - 31,5 | 0,35 | 24 | 0,7 | 2,2 |
31,5 - 63 | 0,17 | 12 | 0,35 | 1 |
63 - 80 | 0,10 | 12 | 0,2 | 0,5 |
| | ИС МЕГАНОРМ: примечание. В официальном тексте документа, видимо, допущена опечатка: имеется в виду таблица П15.6.5, а не 15.6.5. | |
6.2 Испытание на обнаружение резонансных частот производится в таких же поддиапазонах частот и амплитудах, как и при испытании на виброустойчивость
(табл. 15.6.5), на всех поддиапазонах частот. Оборудование должно крепиться жестко (без амортизаторов) непосредственно к платформе испытательного стенда. Поиск резонансных частот должен проводиться плавным изменением частоты в пределах каждого диапазона при постоянной амплитуде. Продолжительность плавного изменения частоты в пределах диапазона - не менее 2 мин. Обнаруженные резонансные частоты должны быть зафиксированы как для оборудования в целом, так и для отдельных узлов или деталей для их учета при последующих испытаниях на вибропрочность и виброустойчивость. Увеличение амплитуды при резонансе более чем в 5 раз по сравнению с амплитудой колебаний точек крепления недопустимо.
6.3 Испытание оборудования на вибропрочность производится в отключенном состоянии в том диапазоне, указанном в
табл. П15.6.1, в котором возникает явление резонанса, а при отсутствии резонанса в диапазоне 16 - 31,5 Гц - с амплитудой 0,35 мм. Способ крепления оборудования к испытательной платформе должен быть таким же, как это предусмотрено при его эксплуатации. Испытания проводятся кратковременным воздействием вибрации.
Плавное изменение частоты в пределах диапазона должно производиться с постоянной амплитудой в течение не менее одной минуты. Время испытаний должно распределяться равномерно между испытательными положениями на стенде, то есть для каждого положения должно быть установлено приблизительно одинаковое количество циклов изменения частоты.
При неудовлетворительных результатах следует повторить испытания на обнаружение резонансных частот и вибропрочность длительным воздействием вибрации.
Оборудование допускается к испытаниям на виброустойчивость, если в процессе испытаний не произошло поломок частей оборудования и не обнаружено других видимых повреждений.
6.4 Испытания на виброустойчивость должны проводиться во включенном состоянии под электрической нагрузкой (под напряжением для оборудования, не имеющего нагрузку). Нагрузка указывается в программе и методике испытания конкретного оборудования. Способ крепления оборудования к испытательной платформе должен быть таким же, как это предусмотрено при его эксплуатации.
6.5 Диапазоны частот и амплитуды при испытании на виброустойчивость указаны в
табл. П15.6.5, при этом длительность испытания - это время, необходимое для проверки в действии и возникновения резонанса всего оборудования и его частей, но не менее 2 ч, на каждой резонансной частоте (если имеется) или на частоте, на которой нарушается устойчивость параметров.
Таблица П15.6.5
Диапазоны частот и амплитуды
при испытании на виброустойчивость
Диапазон частот, Гц | Амплитуда, мм |
2 - 8 | 1,0 |
8 - 16 | 0,5 |
16 - 31,5 | 0,25 |
31,5 - 63 | 0,12 |
63 - 80 | 0,1 |
Примечание. Для электрооборудования, устанавливаемого на двигателях и других источниках повышенных вибраций, нормы испытаний могут быть расширены. |
Испытание проводится путем плавного изменения частоты при постоянной амплитуде в пределах каждого диапазона. Продолжительность плавного изменения частоты в пределах каждого диапазона должна быть не менее 2 мин.
6.6 Оборудование считается выдержавшим испытание, если во время испытания не изменились коммутационные положения контактов, не выявлена нестабильность работы и значения параметров не выходили из допустимых пределов, не обнаружено поломок деталей, обрывов монтажных проводов, заклинивания подвижных частей, ослабления креплений, ухудшения состояния изоляции после испытаний.
Примечание. Испытания, требуемые настоящим разделом, относятся к оборудованию массой до 200 кг. Оборудование массой более 200 кг может подвергаться испытаниям поблочно и посекционно.
7 ИСПЫТАНИЯ НА УДАРОПРОЧНОСТЬ И УДАРОУСТОЙЧИВОСТЬ
7.1 Испытания на ударопрочность проводятся в отключенном состоянии и на удароустойчивость - во включенном состоянии в трех взаимно перпендикулярных плоскостях, одна из которых должна быть рабочей. Способ крепления оборудования к испытательной платформе должен быть таким же, как это предусмотрено при его эксплуатации.
7.2 Параметры испытаний: на ударопрочность - не менее 1000 ударов с ускорением 7
g и частотой 40 - 80 ударов в минуту; на удароустойчивость - не менее 20 ударов с ускорением 5
g и частотой 40 - 80 ударов в минуту.
Оборудование считается выдержавшим испытание, если в процессе воздействия ударов не обнаружено механических повреждений и поломок, отвинчивания крепежа, ослабления контактов и других явлений, нарушающих нормальную работу аппаратов, устройств и оборудования.
7.3 Носимое (портативное) УКВ-оборудование должно выдерживать дополнительные испытания на ударопрочность, проводимые путем сбрасывания его на твердую поверхность с высоты 1 м.
Испытательная поверхность должна состоять из сплошного куска твердой древесины толщиной не менее 150 мм и массой 30 кг или более. Высота самой нижней точки оборудования относительно испытательной поверхности в момент сбрасывания должна быть (1000 +/- 10) мм.
Выполняется серия из шести падений на испытательную поверхность - по одному падению для каждой стороны оборудования. После испытаний должна быть проведена проверка функционирования оборудования, осмотр на наличие внешних повреждений.
Оборудование считается выдержавшим испытание, если отсутствуют замечания по проверке функционирования оборудования, видимые повреждения, которые могли бы воспрепятствовать его функционированию.
Примечание. Испытания, требуемые
7.1 и
7.2, относятся к оборудованию массой до 200 кг. Оборудование массой более 200 кг может подвергаться испытаниям поблочно и посекционно.
8 ИСПЫТАНИЯ НА УСТОЙЧИВОСТЬ К КАЧКЕ И К ДЛИТЕЛЬНЫМ НАКЛОНАМ
8.1 Оборудование испытывается в двух взаимно перпендикулярных направлениях. Способ крепления оборудования к испытательной платформе должен быть таким же, как это предусмотрено при его эксплуатации.
При испытаниях на устойчивость к качке предельный угол наклона от вертикали составляет -22,5°, период качки - 4 с. Продолжительность испытаний - достаточная для проверки функционирования, но не менее 15 мин в каждом положении.
8.2 При испытаниях на устойчивость к длительным наклонам оборудование выдерживается последовательно в двух взаимно перпендикулярных направлениях с наклоном на угол +/- 22,5°, аварийное оборудование - на угол +/- 30°. Продолжительность испытаний должна быть достаточной для проверки функционирования, но не менее 15 мин в каждом из четырех положений.
8.3 Оборудование считается выдержавшим испытание, если при воздействии качки и длительных наклонов отсутствовали ложные срабатывания и не было отказов в работе при проверке функционирования.
9 ИСПЫТАНИЯ НА ТЕПЛОУСТОЙЧИВОСТЬ
9.1 При включенном оборудовании в камере со скоростью повышения температуры (3 +/- 0,5) °C/мин устанавливается рабочая температура, указанная в
9.2,
9.3. Относительная влажность должна быть не более 20%. Рабочая температура поддерживается в течение 16 ч. Затем производится не менее трех раз (при достижении теплового равновесия, в конце режима испытаний и после испытаний в холодном состоянии) проверка функционирования оборудования.
9.2 Оборудование, кроме электрических машин и светильников, предназначенное для установки в помещениях, температура окружающего воздуха которых не превышает 40 °C, должно быть испытано на теплоустойчивость при рабочей температуре окружающего воздуха 40 °C.
9.3 Оборудование, устанавливаемое на открытой палубе, в машинном отделении, камбузе, а также радио- и навигационное оборудование, устанавливаемое на открытых палубах и во внутренних помещениях, должно быть испытано на теплоустойчивость при рабочей температуре окружающего воздуха 55 °C.
9.4 Проверка работы оборудования при предельных отклонениях напряжения и частоты должна производиться после испытания на теплоустойчивость в конце режима выдержки.
Оборудование считается выдержавшим испытание, если не обнаружено явлений, нарушающих его нормальную работу, в процессе испытаний параметры не выходили за пределы допустимых, и испытания электрической прочности изоляции, измерение сопротивления изоляции в конце испытаний на горячем изделии дали положительные результаты.
9.5 Испытания электронных устройств и их составных частей в системах рулевого управления и управления энергетической установкой судна на теплоустойчивость производятся на включенном (работающем) электронном оборудовании. При проведении тепловых испытаний температура образца доводится до 55 °C в течение 30 мин. Далее эта температура поддерживается в течение 16 ч. Затем проводятся испытания на правильность функционирования оборудования и с целью подтверждения его паспортных характеристик.
10 ИСПЫТАНИЯ НА ХОЛОДОУСТОЙЧИВОСТЬ
10.1 Оборудование, предназначенное для установки в закрытых помещениях, должно быть испытано в камере в течение 6 ч при температуре минус 10 °C, а оборудование, предназначенное для установки на открытых палубах, - при температуре минус 40 °C, после чего проверяется в действии при нормальной нагрузке. Навигационное и радиооборудование проверяется в соответствии с
ГОСТ Р МЭК 60945.
10.2 Проверка изделий на предельные отклонения напряжения и частоты осуществляется сразу после включения его в рабочее состояние после камеры холода.
10.3 Скорость изменения температуры необходимо производить в пределах (3 +/- 0,5) °C/мин. Оборудование считается выдержавшим испытание, если не произошло отказа в работе, поломок, отклонений параметров.
10.4 При проведении испытаний на холодоустойчивость электронного устройства в системах рулевого управления и управления энергетической установкой судна или его составных частей изделие выключается, охлаждается до -25 °C и выдерживается при этой температуре в течение 2 ч. Затем температура повышается до -10 °C, и проводятся испытания на правильность функционирования оборудования и с целью подтверждения его паспортных характеристик.
11 ИСПЫТАНИЯ НА ВЛАГОУСТОЙЧИВОСТЬ
11.1 Оборудование, предназначенное для установки на судах, необходимо испытывать на влагоустойчивость при относительной влажности воздуха (95 +/- 3)% и температуре +25 °C в течение 5 сут; оборудование, устанавливаемое на судах, осуществляющих плавания в тропической зоне, - в течение 7 сут. Оборудование всех видов исполнения должно испытываться в штатных корпусах в полном сборе, за исключением герметичного оборудования, крышки которого во время испытаний в камерах должны быть открытыми.
11.2 Оборудование считается выдержавшим испытание, если за время пребывания в испытательной среде не наблюдалось явление пробоя или понижения сопротивления изоляции ниже значения, указанного в
разд. 1, и отклонения параметров изделия не выходили за допустимые пределы или оборудование находилось в рабочем состоянии не менее 2 ч.
12 ИСПЫТАНИЯ НА ВОЗДЕЙСТВИЕ СОЛЯНОГО (МОРСКОГО) ТУМАНА
12.1 Испытанию подлежат все изделия, устанавливаемые на судах смешанного (река - море) плавания.
12.2 Оборудование испытывается в штатных оболочках с закрытыми крышками, дверцами, с заглушенными отверстиями для ввода кабелей. Все остальные отверстия (например, вентиляционные) должны быть открыты.
12.3 Испытания проводятся путем циклического распыления (по 15 мин в течение каждого часа испытаний) в камере водного раствора соли (морской туман) при температуре +(27 +/- 2) °C:
состав раствора, г/л: хлористый натрий - 27, хлористый магний - 6, хлористый кальций - 1, хлористый калий - 1, вода дистиллированная - 1 л;
дисперсность тумана - 1 - 10 мкм (до 90 - 95 капель);
водность раствора - 2 - 3 г/м2 (в конце распыления).
12.4 Длительность испытаний в зависимости от места установки составляет:
7 сут - для оборудования, устанавливаемого на открытых палубах;
2 сут - для оборудования, устанавливаемого во внутренних помещениях.
12.5 После испытаний проверяется функционирование оборудования. Оборудование считается выдержавшим испытание, если не будет обнаружено коррозии, размягчения и нарушения лакокрасочных покрытий и не обнаружено явлений, нарушающих его нормальную работу.
13 ИСПЫТАНИЯ ЗАЩИТНОГО ИСПОЛНЕНИЯ ОБОЛОЧКИ
13.1 Оборудование должно подвергаться стендовым испытаниям в зависимости от вида защитного исполнения оболочки оборудования. Данные испытания распространяются на изделия напряжением до 1000 В. Методики испытаний степени защиты на напряжение свыше 1000 В разрабатываются в соответствии с Правилами устройства электроустановок.
13.2 Оборудование проверяется на эффективность защиты от доступа к его опасным частям, попадания внутрь изделия посторонних твердых предметов и воды. Степень защиты оборудования в зависимости от места установки указана в 2.3.6 ч. VI ПКПС, а условное обозначение и характеристики степеней защиты оборудования указаны в приложении 1 к ч. VI ПКПС.
13.3 В настоящем пункте определяется методика испытания оболочек оборудования в зависимости от степени защиты оборудования от проникновения посторонних твердых тел внутрь оболочки, обозначаемые с помощью первой характеристической цифры:
.1 Оборудование исполнения IP для первой характеристической цифры 0 степени защиты не имеет и может применяться на судах встроенным в оболочку соответствующей степени защиты.
.2 Оборудование исполнения IP для первой характеристической цифры 1 степени защиты. Приложение шара диаметром 50 мм к любым отверстиям в оболочке с силой 30 Н для всех изделий и 50 Н для электрических машин.
.3 Оборудование исполнения IP для первой характеристической цифры 2 степени защиты. Приложение испытательного щупа в любом возможном положении с силой до 30 Н, а также приложение шара диаметром 12,5 мм к любым отверстиям с той же силой.
.4 Оборудование исполнения IP для первой характеристической цифры 3 степени защиты. Приложение испытательного стержня диаметром 2,5 мм с силой до 3 Н не должен приводить к проникновению внутрь через любое отверстие в оболочке.
.5 Оборудование исполнения IP для первой характеристической цифры 4 степени защиты. Приложение испытательного стержня диаметром 1,0 мм с силой до 1 Н не должен приводить к проникновению внутрь через любое отверстие в оболочке.
.6 Оборудование исполнения IP для первой характеристической цифры 5 степени защиты. Внутри камеры создается вакуум, соответствующий перепаду давления 2·103 Па. Оборудование обдувается тальком, просеянным через сито с размерами квадратной ячейки 75 мкм в свету, из расчета 2 кг талька на 1 м3 объема камеры. Испытание проводится за время, достаточное для перекачки вакуумным насосом объема воздуха в камере в 80 - 120 раз больше, чем объем воздуха в оболочке, но не менее 2 ч.
.7 Оборудование исполнения IP для первой характеристической цифры 6 степени защиты. То же, что и для характеристической цифры 5.
13.4 Оценка результатов испытаний оборудования исполнения IP от проникновения посторонних твердых тел внутрь оболочки:
.1 Результаты считаются удовлетворительными для первых характеристических цифр 1, 2, 3, 4, если наибольшее поперечное сечение щупа не проникает ни через одно из отверстий и не соприкасается с токоведущими или движущимися частями внутри оболочки оборудования.
.2 Результаты считаются удовлетворительными для первой характеристической цифры 5, если количество талька, проникшее в оболочку оборудования, не влияет на его удовлетворительную работу (проверяются параметры и работоспособность оборудования).
.3 Результаты считаются удовлетворительными для первой характеристической цифры 6, если тальк не проник в оболочку оборудования (полная защита от проникновения пыли).
13.5 Ниже приводится методика испытания оболочек оборудования в зависимости от степени защиты оборудования от проникновения воды внутрь оболочки, обозначаемые с помощью второй характеристической цифры:
.1 Оборудование исполнения IP для второй характеристической цифры 0 степени защиты не имеет и может применяться на судах встроенным в оболочку соответствующей степени защиты.
.2 Оборудование исполнения IP для второй характеристической цифры 1 испытывается на эффективность защиты от попадания вертикально падающих капель искусственного дождя внутрь оборудования. Испытываемое оборудование устанавливается в нормальном рабочем положении под емкостью, создающей равномерное падение капель воды на всю поверхность оболочки. Поворотный стол, на который устанавливают оболочку должен иметь скорость вращения порядка 1 об/мин и эксцентриситет (расстояние между осью вращения стола и осью образца) приблизительно 100 мм. Продолжительность испытания - 10 мин.
.3 Оборудование исполнения IP для второй характеристической цифры 2 испытывается на эффективность защиты от попадания капель искусственного дождя внутрь оборудования. Испытываемое оборудование подвергается действию дождя с интенсивностью 3 мм/мин. Оборудование устанавливают в четырех фиксированных положениях с наклоном 15°. Продолжительность испытания - 2,5 мин в каждом из наклонных положений. Полная продолжительность испытаний - 10 мин.
.4 Оборудование исполнения IP для второй характеристической цифры 3 испытывается на эффективность защиты от попадания брызг внутрь оборудования. Испытываемое оборудование подвергается со всех сторон действию брызг под углом +/- 60° к вертикали, создаваемых специальным устройством с давлением воды в подводящей трубе не менее 0,1 МПа. Длительность испытания составляет 1 мин на 1 м2 рассчитанной поверхности при минимальной продолжительности испытания 5 мин.
.5 Оборудование исполнения IP для второй характеристической цифры 4 испытывается на эффективность защиты от сплошного обрызгивания оборудования. Испытываемое оборудование подвергается со всех сторон действию брызг под углом +/- 180° к вертикали, создаваемых специальным устройством с давлением воды в подводящей трубе не менее 0,1 МПа. Длительность испытания составляет 1 мин на 1 м2 рассчитанной поверхности при минимальной продолжительности испытания 5 мин.
.6 Оборудование исполнения IP для второй характеристической цифры 5 испытывается на эффективность защиты от попадания воды внутрь оборудования. Испытываемое оборудование подвергается со всех сторон обливанию струей воды из шланга с наконечником внутренним диаметром 6,3 мм с расстояния 2,5 - 3,0 м от испытываемого оборудования. Давление воды должно быть не менее 0,1 МПа для получения расхода воды 12,5 л/мин. Длительность испытания 3 мин.
.7 Оборудование исполнения IP для второй характеристической цифры 6 испытывается на эффективность защиты от попадания воды внутрь оборудования. Испытываемое оборудование подвергается со всех сторон обливанию сильной струей воды из шланга с наконечником внутренним диаметром 12,5 мм с расстояния 2,5 - 3 м от испытываемого оборудования. Давление воды регулируют для получения расхода воды 100,5 л/мин +/- 5%. Длительность испытания - 3 мин.
.8 Оборудование исполнения IP для второй характеристической цифры 7 испытывается на погружение в воду на глубину

. Испытание проводят путем полного погружения оболочки в воду в рабочем положении, как указано изготовителем, таким образом, чтобы выполнялись следующие условия:
а) нижняя точка оболочки высотой менее 850 мм должна находиться на глубине 1000 мм от уровня воды;
б) верхняя точка оболочки высотой более или равной 850 мм должна находиться на глубине 150 мм от уровня воды;
в) длительность испытаний - 30 мин;
г) температура воды не должна отличаться от температуры оборудования более чем на 5 °C. Данное требование может быть изменено для конкретного вида изделия, если испытания проводят на оборудовании под напряжением и (или) с частями, находящимися в движении. Оборудование считается выдержавшим испытание, если в корпус не поступила вода при указанном давлении за указанное время.
.9 Оборудование исполнения IP для второй характеристической цифры 8 испытывается на погружение в воду. За исключением случаев, когда имеется стандарт на оборудование, условия испытания должны быть более жесткими, чем условия определенные предыдущим пунктом, и должно быть учтено, что в рабочих условиях оболочка будет находиться неограниченно длительное время (по согласованию) в погруженном состоянии. Оборудование считается выдержавшим испытание, если в корпус оборудования не проникла вода при указанном давлении и времени.
13.6 При оценке результатов испытаний оборудования исполнения IP от проникновения воды внутрь оболочки необходимо учитывать следующее.
Допускается попадание воды внутрь оболочки:
для оборудования исполнения IP со вторыми характеристическими цифрами 1, 2, 3, 4 в виде отдельных слившихся воедино капель размером не более 30 мм;
для оборудования исполнения IP со вторыми характеристическими цифрами 5 и 6 в виде отдельных капель.
В любом случае, если определенное количество воды проникает внутрь оболочки, не должно быть:
нарушения нормальной работы оборудования и его безопасности;
накопления воды на электроизоляционных материалах, где вода может вызвать трекинг (образование токоведущих мостиков);
попадания воды на части, находящиеся под напряжением;
накопления воды вблизи кабельных вводов либо проникновения внутрь кабелей.
Для оборудования исполнения IP со вторыми характеристическими цифрами 7 и 8 попадание воды внутрь оболочки не допускается.
Оборудование считается выдержавшим испытание, если технические характеристики и (или) работоспособность и (или) электробезопасность соответствуют установленным требованиям.
13.7 Испытания защитного исполнения оболочки оборудования, проводятся, как правило, без подачи на него напряжения питания. Отдельные виды электрического оборудования, если это оговорено требованиями или программой испытаний, могут испытываться с подачей напряжения питания. При проведении таких испытаний должны быть приняты меры безопасности.
14 ИСПЫТАНИЯ НА ЭЛЕКТРОМАГНИТНУЮ СОВМЕСТИМОСТЬ
Проверка уровня напряжения и напряженности поля индустриальных радиопомех, создаваемых оборудованием, осуществляется по
ГОСТ 30805.16.1.1 (СИСПР 16-1-1) с помощью измерительных приемников с квазипиковым детектором.
Для измерения уровня:
напряжения радиопомех должен использоваться эквивалент сети и измерительный приемник с квазипиковым детектором. Ширина полосы пропускания приемника при измерениях в частотном диапазоне от 10 до 150 кГц должна быть 200 Гц, а в частотном диапазоне от 150 кГц до 30 МГц - 9 кГц;
напряженности поля радиопомех должен использоваться измерительный приемник с полосой пропускания в диапазоне частот от 150 кГц до 30 МГц и от 156 МГц до 165 МГц - 9 кГц, а в диапазоне частот от 30 МГц до 156 МГц и от 165 МГц до 2 ГГц - 120 кГц.
Оборудование подразделяется на следующие категории:
переносное;
защищенное от прямого воздействия погодных условий;
незащищенное от прямого воздействия погодных условий;
погружное или имеющее постоянный контакт с водой.
Номенклатура испытаний оборудования на электромагнитную совместимость приведена в
табл. П15.14.1.
Таблица П15.14.1
Виды испытания образцов оборудования
на электромагнитную совместимость
Изделия | Проверка уровня радиопомех | Испытания на устойчивость к электромагнитным помехам (ЭМС) |
1. Генераторы | + | |
2. Электрические двигатели | + | |
3. Преобразователи | + | + |
4. Распределительные устройства | | + |
5. Электрические аппараты (коммутационные, защитные и др.) | + | + |
6. Электроизмерительные приборы | + | + |
7. Трансформаторы | + | |
8. Электрооборудование для ДВС со стартерным пуском | + | + |
9. Светильники и пускорегулирующая аппаратура газоразрядных ламп | | + |
10. Приборы контроля и управления судном, связи и сигнализации | | + |
11. Оборудование автоматизации | + | + |
12. Фильтры защиты от радиопомех | | + |
13. Оборудование связи и навигации, а также иное электронное оборудование | + | + |
<1> Для коммутаторов сигнально отличительных фонарей. <2> Для светильников с газоразрядными лампами. <3> Для машинных телеграфов, датчиков указателей положения пера руля и лопастей, тахометров, телефонных коммутаторов и аппаратов световых сигнальных и звуковых приборов, замыкателей. |
14.2 Измерение электромагнитных помех
14.2.1 Во время измерений помех испытуемое оборудование должно работать в нормальных условиях, а положение органов управления, влияющих на уровень помех (как кондуктивных, так и излучаемых), должно быть таким, чтобы установить максимальный уровень помех, создаваемых испытуемым оборудованием. Если испытуемое оборудование имеет несколько энергетических режимов, например "работа", "готовность" и др., то определяют режим, создающий максимальный уровень помех, и именно для этого режима проводят все измерения. Антенные клеммы оборудования должны быть подключены на неизлучающий эквивалент антенны.
Допускаемые при испытаниях уровни создаваемых электромагнитных помех приведены в табл. 2.7.3-1 ч. VI ПКПС.
14.2.2 Кондуктивные помехи (все категории оборудования, кроме переносного).
При испытаниях измеряют любые сигналы, генерируемые оборудованием, появляющиеся на его портах (клеммах) подключения электропитания и способные, включенные в судовую сеть, нарушить нормальную работу другого оборудования.
Для измерения помех используют измерительный приемник с квазипиковым детектором. При испытаниях оборудование должно быть подключено к отдельному источнику питания через эквивалент сети для обеспечения определенного импеданса на клеммах питания для высоких частот и исключения нежелательного влияния посторонних помех, поступающих по общей сети питания. Ширина полосы пропускания при измерениях в частотном диапазоне от 10 до 150 кГц должна быть 200 Гц, а в частотном диапазоне от 150 кГц до 30 МГц - 9 кГц.
Соединительные кабели между клеммами питания испытуемого оборудования (постоянный и переменный ток) и эквивалентом сети питания должны быть экранированными, а их длина - не превышать 0,8 м. Если испытуемое оборудование состоит из нескольких приборов с индивидуальными портами для постоянного и переменного тока, то порты питания с одинаковым номиналом напряжения допускается подключать параллельно эквиваленту сети питания.
При выполнении измерений все измерительные приборы и испытуемое оборудование должны быть установлены на заземленной плоскости и подсоединены к ней. При невозможности использования заземленной плоскости должно быть выполнено эквивалентное заземление на металлическую раму или корпус испытуемого оборудования.
Напряжение радиочастот на клеммах сети питания испытуемого оборудования в диапазоне от 10 кГц до 30 МГц не должно превышать предельных значений, приведенных на
рис. П15.14.2.2
Рис. П15.14.2.2. Предельные уровни напряжений кондуктивных
радиопомех на клеммах источников питания оборудования:
B* - ширина полосы пропускания измерительного приемника
14.2.3 Помехи, излучаемые портом корпуса оборудования (все категории оборудования, кроме погружного).
При испытании измеряют любые сигналы, излучаемые оборудованием, кроме излучений антенны, которые могут потенциально нарушить нормальную работу другого судового оборудования, например радиоприемных устройств.
Метод испытаний
Для измерений должен использоваться измерительный приемник с квазипиковым детектором. Ширина полосы пропускания приемника в диапазоне частот от 150 кГц до 30 МГц и от 156 МГц и до 165 МГц должна быть 9 кГц, а в диапазоне частот от 30 МГц до 156 МГц и от 165 МГц до 2 ГГц - 120 кГц.
При измерениях на частотах от 150 кГц до 30 МГц должна измеряться напряженность магнитной составляющей электромагнитного поля H. В качестве измерительной антенны должна использоваться электрически экранированная рамочная антенна. Размеры такой антенны должны вписываться в квадрат со стороной 60 см. В качестве альтернативы может использоваться ферритовая стержневая антенна.
При пересчете напряженности магнитного поля в эквивалентную напряженность электрического поля должен быть учтен поправочный коэффициент для антенны 51,5 дБ.
Для частот свыше 30 МГц проводят измерение напряженности электрической составляющей электромагнитного поля E. Измерительная антенна должна представлять собой симметричный диполь резонансной длины или, в качестве альтернативы, - укороченный диполь или антенну с большим коэффициентом усиления. Размеры измерительной антенны в направлении на испытуемое оборудование не должны превышать 20% расстояния до него. На частотах свыше 80 МГц должна обеспечиваться возможность изменения высоты расположения центра антенны относительно земли в пределах от 1 до 4 м.
Помещение для проведения испытаний должно иметь металлическую заземленную плоскость. Размеры помещения должны позволять проводить измерения с расстояния 3 м.
Испытуемое оборудование должно быть представлено в полной комплектации со всеми соединительными межприборными кабелями и установлено в нормальное рабочее положение.
Если испытуемое оборудование состоит из нескольких приборов, то соединительные кабели (исключая питание антенн) между основным и остальными приборами должны быть максимальной длины, указанной в спецификации изготовителя, или не менее 20 м, если таких данных нет. Входные и выходные разъемы должны подключаться к кабелю, максимальная длина которого указывает изготовитель, или не менее 20 м, если таких данных нет, а также должны быть согласованы с импедансом другого оборудования, к которому они обычно подключаются.
Кабели должны быть собраны в бухты, уложенные на расстоянии 30 - 40 см от разъемов, к которым подключены. Если это сделать невозможно, то необходимо сделать поясняющую запись в протоколе.
Измерительная антенна должна быть размещена на расстоянии 3 м от испытуемого оборудования. Центр антенны должен быть выше заземленной плоскости, по меньшей мере, на 1,5 м. Для определения максимального уровня помех антенну, измеряющую E-поле, регулируют только по высоте, и она должна иметь возможность вращения для измерения горизонтальной и вертикальной поляризаций. Антенна должна оставаться параллельной полу. Должна быть обеспечена возможность перемещения либо антенны вокруг испытуемого оборудования для определения максимального уровня помех, либо вращения самого оборудования, размещаемого в ортогональной плоскости измерительной антенны на уровне ее средней точки для достижения того же эффекта.
Для полосы частоты от 156 до 165 МГц допускается использование приемника с пиковым детектором или анализатора спектра.
Предельные нормы излучения в диапазоне от 150 кГц до 2 ГГц, измеренные на расстоянии 3 м от корпуса испытуемого оборудования, приведены на
рис. П15.14.2.3
Рис. П15.14.2.3. Предельные уровни излучаемых
помех от портов корпуса оборудования:
B* - ширина полосы пропускания измерительного приемника
14.3 Испытания на устойчивость к воздействию
внешних электромагнитных условий
14.3.1 При проведении данных испытаний (если нет других предписаний) испытуемое оборудование должно быть представлено в своей нормальной рабочей комплектации и должно работать при нормальных условиях.
Результаты испытаний оцениваются по критериям A, B и C:
критерий A - нормальное функционирование в соответствии с установленными требованиями;
критерий B - временное ухудшение качества функционирования или прекращение выполнения установленной функции, с последующим восстановлением нормального функционирования, осуществляемым без вмешательства оператора;
критерий C - временное ухудшение качества функционирования или прекращения выполнения установленной функции, которое требует вмешательства оператора или перезапуска системы.
Условия и виды испытаний на устойчивость к электромагнитным помехам представлены в табл. 2.7.3-2 ч. VI ПКПС, в которой также указан критерий качества функционирования радиооборудования и навигационного оборудования.
Если в состав оборудования включен радиоприемник, то из испытаний на устойчивость к кондуктивным помехам исключается любая узкая полоса диапазона принимаемых рабочих частот, на которые радиоприемник откликается (ложные отклики).
Устойчивость к кондуктивным низкочастотным помехам
(все категории оборудования, кроме переносного)
14.3.2 При данном испытании имитируют воздействие гармонических составляющих напряжения в сетях питания переменного тока или пульсаций напряжения в сетях постоянного тока. Эти испытания не применяют к оборудованию с питанием исключительно от аккумулятора.
Испытания на устойчивость влияния гармонических составляющих напряжения проводятся путем наложения на напряжение питания дополнительных тестовых синусоидальных напряжений в диапазоне частот от 50 Гц до 10 кГц. Уровень прикладываемого действующего значения синусоидального напряжения составляет:
10% от напряжения питания в диапазоне частот от 50 Гц до 750 Гц;
от 10% до 1% напряжения питания в диапазоне частот от 750 Гц до 5 кГц;
1% напряжения питания в диапазоне частот от 5 кГц до 10 кГц.
Контроль функционирования испытуемого оборудования проводят во время и по окончании испытаний.
Устойчивость к кондуктивным радиочастотным помехам
(все категории оборудования, кроме переносного)
14.3.3 При данном испытании имитируют эффект возмущений, индуцируемых в цепях питания, управления и прохождения сигналов от включения источника питания, системы зажигания двигателей, работающих эхолотов и судовых радиопередатчиков на частотах ниже 80 МГц,
Испытуемое оборудование размещают на изолированной подставке, расположенной на высоте 0,1 м над поверхностью. Дополнительное оборудование, необходимое для питания испытуемого оборудования, а также сигналы, необходимые для его нормальной работы и проверки функционирования, должны быть подключены с помощью кабелей. Кабели должны быть обеспечены соответствующими устройствами связи и развязки, располагаемыми на расстоянии 0,1 - 0,3 м от испытуемого оборудования.
Испытания проводят с использованием генератора, подключаемого через схемы связи и развязки.
При этом незадействованные входные клеммы ВЧ-сигнала генератора для схемы связи/развязки нагружают сопротивлением 50 Ом. Тестовый генератор настраивают для каждой схемы связи/развязки, при этом дополнительное оборудование и испытуемое оборудование отключают и заменяют сопротивлениями номиналами 15 Ом каждый. Уровень сигнала тестового генератора должен быть настроен так, чтобы обеспечить немодулированное напряжение требуемого уровня на входных клеммах испытуемого оборудования.
Испытания проводят при следующих уровнях тестового сигнала:
действующее значение напряжения 3 В при изменяющейся частоте в диапазоне от 150 кГц до 80 МГц (степень жесткости испытаний 2);
действующее значение напряжения 10 В в точках с частотами: 2; 3; 4; 6,2; 8,2; 12,6; 16,5; 18,8; 22; 25 МГц.
Во время испытания должна использоваться амплитудная модуляция частотой 400 Гц +/- 10% при глубине модуляции (80 +/- 10)%.
Скорость изменения частоты не должна превышать 1,5·10-3 дек/с, чтобы дать возможность обнаружить любую неисправность испытуемого оборудования.
Вышеуказанные сигналы накладываются на линии электропитания, сигнальные линии и линии управления испытуемого оборудования. Контроль функционирования испытуемого оборудования проводят во время и по окончании испытаний.
Устойчивость к излучаемым радиочастотным помехам
(все категории оборудования, кроме погружного)
14.3.4 При данных испытаниях имитируют эффект воздействия радиопередатчиков, работающих на частотах свыше 80 МГц, например, судовых стационарных и портативных переносных УКВ радиостанций, находящихся рядом с оборудованием.
Испытываемое оборудование устанавливают в подходящем экранированном помещении или безэховой камере, размеры которой соизмеримы с размерами испытываемого оборудования. Испытываемое оборудование должно быть установлено в зоне равномерного (однородного) поля и быть изолировано от пола неметаллической подставкой.
Если требования к типу кабелей для испытуемого оборудования не указаны, то должны использоваться неэкранированные параллельные проводники. Эти проводники подвергают воздействию электромагнитного поля с расстояния 1 м от испытуемого оборудования.
Испытания проводят при расположении излучающей антенны лицевой стороной ко всем сторонам испытуемого оборудования. Если оборудование может использоваться в различных ориентациях (вертикальной и горизонтальной), то испытания проводят с разных сторон. Первоначально испытуемое оборудование располагают лицевой стороной, совпадающей с калибровочной плоскостью. Скорость изменения частоты должна быть 1,5·10-3 дек/с - для диапазона частот от 80 МГц до 1 ГГц и 0,5·10-3 дек/с - для диапазона частот от 1 до 2 ГГц и быть достаточно медленной, позволяющей обнаружить любые неисправности испытуемого оборудования.
Испытуемое оборудование размещают в модулированном электрическом поле напряженностью 10 В/м и при изменении частоты в диапазоне от 80 МГц до 2 ГГц. При частоте модуляции (400 +/- 40) Гц глубина модуляции должна быть (80 +/- 10)%.
Устойчивость к наносекундным импульсным помехам от быстрых
переходных процессов в цепях источников питания переменного
тока (все категории оборудования, кроме переносного)
14.3.5 При данных испытаниях имитируют быстрые низкоэнергетические переходные процессы, создаваемые оборудованием, включение которого сопровождается искрением на контактах.
К цепям питания, управления или сигналов прикладывают импульсное напряжение со следующими параметрами:
время нарастания: 5 нс (на уровне 10% и 90% амплитуды);
длительность: 50 нс (на уровне 50% амплитуды);
амплитуда: 2 кВ на дифференциальных входах источников питания переменного тока;
1 кВ на входах сигнальной и управляющей цепей;
частота повторения - 5 кГц;
характер - периодические короткие последовательности длительностью 15 мс, повторяющиеся каждые 300 мс;
продолжительность - от 3 до 5 мин для каждой положительной и отрицательной полярности импульсов.
Устойчивость к микросекундным импульсным помехам
от медленных переходных процессов в цепях
источников питания переменного тока
14.3.6 Данные испытания должны имитировать воздействие медленных импульсных выбросов высокой энергии, создаваемых тиристорными переключателями в сетях питания переменного тока.
Испытания проводят с использованием комбинированного испытательного генератора микросекундных импульсных помех в сочетании со схемой связи/развязки.
К цепям питания испытуемого оборудования прикладывают импульсное напряжение со следующими параметрами:
время нарастания - 1 мкс (на уровне 10 и 90% амплитуды);
длительность - 50 мкс (на уровне 50% амплитуды);
амплитуда - 1 кВ линия/земля, 0,5 кВ линия/линия;
частота повторения - 1 импульс в минуту;
характер воздействия - непрерывный;
продолжительность воздействия - 5 мин для каждой положительной и отрицательной полярности импульсов;
число подаваемых импульсов не менее пяти положительной полярности и пяти отрицательной полярности для каждого случая подачи помехи.
Устойчивость к кратковременным изменениям параметров в сети
питания (все категории оборудования, кроме переносного)
14.3.7 Эти испытания имитируют изменения напряжения и частоты в цепях питания из-за больших изменений нагрузки. Испытания не применяются для оборудования с питанием от постоянного тока.
Изменения параметров питающей сети должны осуществляться с использованием программируемого источника питания.
Оборудование должно оставаться работоспособным при следующих изменениях параметров питающей сети относительно номинальных значений (испытания проводят один раз в минуту по пять циклов в течение 10 мин):
напряжение: увеличение относительно номинального значения на (20 +/- 1)% продолжительностью (1,5 +/- 0,2) с;
частота: увеличение относительно номинального значения на (10 +/- 0,5)% продолжительностью (5 +/- 0,5) с и наложением друг на друга указанных изменений параметров;
напряжение: уменьшение относительно номинального значения на (20 +/- 1)% продолжительностью (1,5 +/- 0,2) с;
частота: уменьшение относительно номинального значения на (10 +/- 0,5)% продолжительностью (5 +/- 0,5) с и наложением друг на друга указанных изменений параметров.
Время нарастания и спада напряжения и частоты должно быть (0,2 +/- 0,1) с (на уровне 10 - 90% амплитуды).
Устойчивость к неисправностям источника питания
(все категории оборудования, кроме переносного)
14.3.8 Эти испытания имитируют короткие прерывания судового электропитания из-за перехода с одного источника питания на другой или при срабатывании защиты по току. Данные испытания не применяются к оборудованию с электропитанием исключительно от аккумуляторных батарей.
Оборудование должно оставаться работоспособным после каждого из трех прерываний в напряжении питания длительностью 60 с. При этом не должно разрушаться программное обеспечение и не должны теряться оперативные данные, хранимые в цифровой памяти системы.
Устойчивость к электростатическим разрядам
(все категории оборудования, кроме погружного)
14.3.9 При этих испытаниях имитируются разряды статического электричества, которые могут возникнуть при контакте человека с корпусом оборудования.
Испытания должны выполняться с использованием генератора электростатических разрядов (накопительной емкости номиналом в 150 пФ и разрядного сопротивления 330 Ом, подключаемых к разрядному наконечнику). Испытываемое оборудование должно быть установлено на изолирующую прокладку, уложенную поверх металлической заземленной пластины. При этом заземленная пластина должна выступать за габариты оборудования, по меньшей мере, на 0,5 м для всех его сторон. Разряды от генератора должны прикладываться к тем точкам и поверхностям оборудования, которые доступны персоналу при нормальной работе. При испытаниях генератор должен располагаться перпендикулярно поверхности, а места приложения разрядов могут выбираться исходя из того, чтобы обеспечивалось 20 разрядов в секунду. Каждое положение должно подвергаться испытаниям на 10 положительных и 10 отрицательных разрядов с интервалом, как минимум, 1 с между разрядами, чтобы обеспечить выявление любых неисправностей в работе оборудования. При испытаниях предпочтительным методом является контактный разряд. Если нельзя использовать контактный разряд (при наличии покрашенных поверхностей), то должен использоваться воздушный разряд.
Для имитации разрядов на объектах, расположенных или установленных около испытываемого оборудования, должны быть выполнены 10 положительных и 10 отрицательных одиночных контактных разрядов, приложенных с каждой стороны оборудования к заземленной пластине. Места приложения разрядов должны отстоять на расстоянии 0,1 м от испытываемого оборудования.
Следующие 10 разрядов должны быть приложены к центру вертикального ребра заземленной пластины связи, размер которой (0,5x0,5) м. Эти испытания должны быть проделаны для всех четырех сторон оборудования. При этом вертикальная пластина связи должна размещаться таким образом, чтобы все четыре лицевых стороны оборудования были полностью охвачены.
Оборудование должно оставаться работоспособным при тестовых уровнях напряжения разряда 6 кВ для контактного разряда и 8 кВ для воздушного разряда.
15 ИСПЫТАНИЕ НА ВОЗДЕЙСТВИЕ СОЛНЕЧНОЙ РАДИАЦИИ
15.1 Испытаниям подвергается оборудование (изделие), которое предназначено для работы на открытой палубе и которое полностью или частично во время эксплуатации будет подвергаться непрерывному воздействию солнечной радиации.
15.2 Испытания проводятся в специальной камере при температуре воздуха в тени камеры (55 + 2) °C. Оборудование размещают на подставке и подвергают непрерывному воздействию имитатора солнечной радиации в соответствии с
табл. П15.15.2 в течение 80 ч.
Интенсивность радиации с учетом отражений должна быть (1120 +/- 112) Вт/м
2 для спектрального распределения, приведенного в
табл. П15.15.2.
Таблица П15.15.2
Спектральное распределение энергии солнечной радиации
с допустимым разбросом (нормы при проверке
на устойчивость к солнечной радиации)
Спектральная зона | Радиация |
Диапазон, мкм | Плотность потока мощности, Вт/м2 | Погрешность, % |
| 0,28 - 0,32 | 5 | +/- 35 |
Ультрафиолетовая A | 0,32 - 0,40 | 63 | +/- 25 |
Видимая | 0,40 - 0,52 | 200 | +/- 10 |
0,52 - 0,64 | 186 | +/- 10 |
0,64 - 0,78 | 174 | +/- 10 |
Инфракрасная | 0,78 - 3,0 | 492 | +/- 20 |
<*> Радиация с длиной волны менее 0,30 мкм, достигающая поверхности Земли, незначительна. |
15.3 Оборудование считается выдержавшим испытание, если:
.1 не произошло деформации, растрескивания, расслоения, коробления, отклеивания деталей из пластика и других материалов;
.2 параметры и сопротивление изоляции остались в норме;
.3 не обнаружено ухудшения видимости и читаемости надписей и знаков на шкалах или на иных частях изделия.
16 ИСПЫТАНИЯ ОБОРУДОВАНИЯ НА УСТОЙЧИВОСТЬ
К ВОЗДЕЙСТВИЮ МАСЛА (НЕФТИ)
16.1 Испытуемое оборудование погружается на 3 ч в минеральное масло при температуре (19 +/- 5) °C. Масло должно иметь следующие параметры:
анилиновая точка - (120 +/- 5) °C
точка воспламенения - не менее 240 °C;
вязкость - 10 - 25 сСт при 99 °C.
16.2 После испытаний оборудование должно быть очищено от масла, проведен контроль функционирования и осмотр оборудования. Оборудование считается выдержавшим испытание, если отсутствуют замечания по проверке функционирования, отсутствуют такие признаки повреждений, как сморщивание, растрескивание, разбухание, растворение (покрытий) или изменения механических характеристик.
17.1 При испытаниях проводят серию из трех сбрасываний. Каждое сбрасывание проводят при начальном положении оборудования, отличающемся от предыдущего.
Высота самой нижней точки оборудования относительно поверхности воды в момент сбрасывания должна быть (20 +/- 1) м.
17.2 После испытаний должна быть проведена проверка функционирования оборудования, осмотр на наличие внешних повреждений и нарушения герметичности.
17.3 Оборудование считается выдержавшим испытание, если отсутствуют замечания по проверке функционирования, внешние повреждения, не нарушена герметичность.
18 ВЗРЫВОЗАЩИЩЕННОЕ ОБОРУДОВАНИЕ
18.1 Должен быть предоставлен сертификат соответствия, подтверждающий взрывозащищенность исполнения оборудования в соответствии с маркировкой взрывозащиты, внесенный в реестр Российской национальной системы аккредитации выданных сертификатов соответствия.
(справочное)
МЕТОДИЧЕСКИЕ УКАЗАНИЯ ПО ИСПЫТАНИЯМ КАБЕЛЬНЫХ ИЗДЕЛИЙ
НА НЕРАСПРОСТРАНЕНИЕ ГОРЕНИЯ
1 Испытания проводятся с целью проверки изолированного кабеля или провода на нераспространение горения.
2 Образцы представляют собой отрезок кабеля или провода длиной (600 +/- 25) мм каждый. Перед испытанием образцы выдерживают не менее 16 ч при температуре (23 +/- 5) °C и относительной влажности (50 +/- 20)%. Если кабель или провод покрыт краской или лаком, перед испытанием образец выдерживают в течение 4 ч при температуре (60 +/- 2) °C.
3 Испытательная камера состоит из металлического ящика длиной (450 +/- 25) мм, шириной (300 +/- 25) мм и высотой (1200 +/- 25) мм без передней стенки. Дно испытательной камеры должно быть защищено слоем минеральной изоляции. Испытательная камера должна размещаться в помещении, в котором нет сквозняков, но имеются системы удаления токсичных газов, выделяемых при горении.
4 Перед испытанием горелка устанавливается на горизонтальную поверхность так, чтобы пламя было направлено строго вверх, его общая длина должна составлять 125 мм, а длина внутренней "синеватой" части - 40 мм. Работу горелки проверяют введением медной проволоки диаметром (0,710 +/- 0,025) мм и длиной не менее 100 мм перпендикулярно к пламени на расстоянии, превышающем конец внутренней синеватой части пламени приблизительно на 10 мм, так, чтобы конец проволоки находился над краем сопла. Температура пламени должна быть такой, чтобы медная проволока расплавлялась не менее чем за 4 с и не более чем за 6 с.
5 Образец прикрепляют при помощи медной проволоки к двум горизонтальным опорам
(рис. П16.5-1) таким образом, чтобы расстояние между нижним краем верхней опоры и верхним краем нижней опоры составляло (550 +/- 5) мм. Нижний конец образца должен находиться на расстоянии около 50 мм от дна камеры. Расположение горелки должно быть таким, чтобы кончик внутреннего конуса пламени синего цвета касался поверхности образца на расстоянии около 75 мм выше нижнего зажима, при этом ось сопла горелки составляла с вертикальной осью образца угол 45°
(рис. П16.5-2). Внутренняя "синеватая" часть пламени должна находиться на расстоянии около 10 мм от образца.
Рис. П16.5-1. Расположение образца в испытательной камере:
1 - металлическая камера; 2 - опорный стержень и крепление
медной проволоки; 3 - образец; A - расстояние от дна камеры
до нижнего конца образца (около 50 мм)
Рис. П16.5-2. Приложение пламени горелки к образцу:
1 - нижний край верхней опоры; 2 - образец
6 Время непрерывного воздействия пламени на образец должно соответствовать указанному в
табл. П16.6. В конце испытания горелку удаляют, а пламя горелки гасят.
Таблица П16.6
Время воздействия пламени
Наружный диаметр D образца, мм | Время воздействия пламени, с |
D <= 25 | 60 |
25 < D <= 50 | 120 |
50 < D <= 75 | 240 |
D < 75 | 480 |
7 После того как горение полностью прекратится, образец тщательно протирают тканью.
Если поверхность образца осталась без повреждений, после протирки допускается наличие сажи на поверхности образца. Размягчение или какую-либо деформацию неметаллического материала не учитывают. Расстояние от нижнего края верхней опоры до начала обугленной части образца измеряют с точностью до 1 мм.
Начало обугленной части определяют следующим образом. На поверхность кабеля нажимают острым предметом, например лезвием ножа. Место, где фиксируется изменение упругой поверхности образца на хрупкую (крошащуюся), считают началом обугленной части.
8 Кабель или провод считают выдержавшим испытание, если образец не воспламеняется, или возникшее горение образца после окончания воздействия испытательным пламенем самостоятельно гаснет, и следы огня не достигают верхнего конца образца.
Кроме того, если горение распространяется вниз до точки, расположенной на расстоянии более чем на 540 мм от нижнего края верхней опоры, провод или кабель считают не выдержавшим испытание.
В случае если образец не выдержал испытание, необходимо проводить еще два испытания. Если в результате двух повторных испытаний получены удовлетворительные результаты, кабель или провод считают выдержавшим испытание.
(справочное)
ЗНАЧЕНИЕ ПАРАМЕТРОВ, ПРОВЕРЯЕМЫХ ПРИ ИСПЫТАНИИ
ЭЛЕКТРИЧЕСКОЙ УСТАНОВКИ ПОСТРОЕННОГО СУДНА
Параметры, проверяемые при испытании электрической установки судна, и требования к их значениям и погрешности измерений приведены в
табл. П17.1.
Таблица П17.1
Параметры, проверяемые при испытании электрической
установки судна, их значения и погрешность измерений
Параметр | Значение |
1. Точность поддержания напряжения автоматическим регулятором основного агрегата переменного тока, равная отношению разности напряжения холостого хода и напряжения при номинальной нагрузке к сумме этих напряжений при нагрузке  без изменения уставки регулятора напряжения | Погрешность 2,5% |
2. Точность поддержания напряжения автоматическим регулятором аварийного агрегата переменного тока, равная отношению разности напряжения холостого хода и напряжения при номинальной нагрузке к сумме этих напряжений при нагрузке с  без изменения уставки регулятора напряжения | Погрешность 3,5% |
3. Работа автоматического регулирования напряжения и частоты генератора при внезапном изменении нагрузки. На генератор, работающий на холостом ходу, включить промежуточную нагрузку, составляющую 70% (допускается иной уровень мощности в соответствии с 2.12.3.2 ч. IV ПКПС) от номинальной мощности генератора, затем выдержать паузу продолжительностью не менее 10 с, после чего произвести наброс нагрузки до 100% номинальной мощности генератора. Вновь выдержать паузу не менее 10 с, затем произвести сброс нагрузки до холостого хода | Напряжение не должно отклоняться от номинального значения более чем на +15, -30% и должно восстанавливаться за время 1,5 с до предшествующего значения с отклонением не более +/- 3% номинального значения. Частота не должна отклоняться от номинального значения более чем на 10% и должна восстанавливаться за время 5 с до предшествующего значения с отклонением не более +/- 5% номинального значения |
4. Колебания установившейся частоты (размах) дизель-генератора переменного тока при нагрузках от 25 до 100% номинальной активной мощности | Не более 1% |
5. Неравномерность распределения активной нагрузки параллельно работающих генераторов, проверяемая по разности показаний ваттметров с наибольшим и наименьшим значениями активной мощности | Не более 20% от номинальной мощности наибольшего по мощности генератора, работающего параллельно с другими генераторами (при этом обеспечивается выполнение требования 3.6.4 ч. VI ПКПС) |
6. Неравномерность распределения реактивной нагрузки параллельно работающих генераторов, проверяемая по разности показаний амперметров с наибольшей и наименьшей силой тока | Не более 20% от номинального тока наибольшего по мощности генератора, работающего параллельно с другими генераторами (при этом обеспечивается выполнение требования 3.6.5 ч. VI ПКПС) |
7. Срабатывание защиты от обратной мощности генераторов (для генераторов, предназначенных для параллельной работы) | 8 - 15% номинальной активной мощности генератора. Время срабатывания (отключение выключателя генератора) должно быть в пределах 3 - 10 с |
8. Устойчивость параллельной работы всех генераторов при суммарной нагрузке генераторов около 80% общей номинальной мощности параллельно работающих генераторов | Параллельная работа не должна сопровождаться обменными колебаниями активной или реактивной мощности |
9. Автоматическая разгрузка в две ступени при 2-х и более генераторов, работающих в параллельном режиме. Для электростанций, состоящих из 2-х дизель-генераторов без режима параллельной работы, допускается разгрузка в одну ступень (вторая ступень - отключение генератора защитой от перегрузки, осуществляемой автоматическим выключателем) | 1-я ступень: по мощности - 100% от номинальной мощности генератора; по времени - 5 с. 2-я ступень при сохранении нагрузки 100%, отключение генератора через 10 с |
10. Время запуска и включения генератора на шины под напряжением (с синхронизацией) с последующим приемом нагрузки установленного уровня (80 - 95% номинальной мощности генератора) | Не более 30 с |
11. Время запуска и приема нагрузки очередным генератором при исчезновении напряжения на шинах ГРЩ | Не более 20 с |
12. Время запуска и приема нагрузки аварийного дизель-генератора или аварийного источника энергии на основе СИЭ | Не более 30 с |
13. Сопротивление изоляции сетей, находящихся под напряжением, измеряемое штатным мегомметром на ГРЩ или АРЩ | Не менее 0,06 МОм для сетей до 100 В и 0,2 МОм для сетей до 500 В |
14. Коэффициент нелинейных искажений | Не более 10% |
15. Действующие значения нечетных гармоник в сетях с мощными полупроводниковыми преобразователями | Не более 5% от номинального напряжения |
16. Отключение питания от внешнего источника электрической энергии в случае перегрузки | При перегрузке по току более 110% |
17. Отключение питания от внешнего источника электроэнергии в случае обрыва фазы или несимметричного распределения напряжения по фазам | Обрыв одной фазы или не симметрия распределения напряжения по фазам более 10% |
18. Отключение питания от внешнего источника электроэнергии в случае снижения напряжения | Не ниже 75% номинального напряжения |
19. Превышение температуры после стоянки под током электродвигателей над температурой перед началом испытания (превышение определяется как разность максимальной температуры конца режима стоянки под током до начала ее стабильного уменьшения и температуры перед началом испытания): рулевых устройств с непосредственным электрическим приводом - в течение 60 с, якорных механизмов - не менее 30 с, швартовых механизмов - не менее 15 с. При отсутствии встроенных в обмотку датчиков температура может измеряться непосредственно на станине электродвигателя, например, присоединением термопары пирометра. Необходимость испытаний по данному пункту на судне и методика их проведения согласуются с Российским Классификационным Обществом. | Не более 30% от значений температуры в номинальном режиме (по паспортным данным) |
20. Начальный пусковой момент двигателя рулевого устройства с непосредственным электрическим приводом. Необходимость испытаний по данному пункту на судне и методика их проведения согласуется с Российским Классификационным Обществом. | Не менее 200% номинального момента |
21. Количество пусков продолжительностью в течение 5 с основного или аварийного дизель-генератора, обеспечиваемых пусковой системой (сжатого воздуха или стартерной аккумуляторной батареей) | Не менее 6 |
22. Уровень заряда СИЭ (кроме СИЭ) ТЭ и СИЭ на основе суперконденсаторов | Не ниже 45% от номинального |
23. Давление водорода в топливном хранилище СИЭ ТЭ | Согласно технической документации |
24. Давление инертного газа в системе защиты СИЭ ТЭ | Не ниже 75% от номинального давления |
25. Работоспособность систем защиты СИЭ ТЭ | 30% НВП |
(справочное)
МЕТОДИКА ПРОВЕДЕНИЯ В СУДОВЫХ УСЛОВИЯХ ИСПЫТАНИЙ СИСТЕМ,
ОБОРУДОВАНИЯ И УСТРОЙСТВ ДЛЯ ПРЕДОТВРАЩЕНИЯ ЗАГРЯЗНЕНИЯ
ОКРУЖАЮЩЕЙ СРЕДЫ
1 Общие требования
1.1 Проверка в действии оборудования для предотвращения загрязнения окружающей среды с судов проводится в период швартовных и (или) ходовых испытаний судна по программе, согласованной с Российским Классификационным Обществом.
1.2 Испытания должны проводиться на штатном оборудовании и приборах. Средства измерения, используемые при проведении испытаний, должны иметь документы об их периодической проверке, если эти приборы подлежат такой проверке.
1.3 К испытаниям допускаются объекты, монтаж которых проверен экспертом и по которым отсутствуют замечания, препятствующие проведению испытаний.
2 Фильтрующее оборудование
2.1 Испытания должны проходить при пропускной способности, на которую рассчитано оборудование.
2.2 Перед испытаниями оборудование должно быть заполнено чистой водой до появления ее из устройства для отбора проб; при этом измеряется подача штатного прокачивающего насоса (в случае поставки и монтажа фильтрующего оборудования без штатного прокачивающего насоса подача примененного судового насоса не должна превышать номинальную пропускную способность оборудования более чем в полтора раза). Через оборудование, заполненное водой, в течение 5 мин должны подаваться нефтепродукты, чтобы предварительно загрязнить его и подводящие трубы нефтью.
2.3 Затем в оборудование должна подаваться нефтеводяная смесь с содержанием нефти 5000 - 10000 млн
-1, до достижения установившегося режима. Установившимся считается такой режим, когда через оборудование пропущен объем нефтеводяной смеси, который составляет не менее двух внутренних объемов испытываемого оборудования.
Минимальное расчетное время t, необходимое для обеспечения прокачки указанного объема нефтеводяной смеси через фильтрующее оборудование, определяется по формуле, ч:
t = 2(Vс + Vф)/Q, (П18.2.3)
где Vс - объем сепаратора (фильтра), м3;
Vф - объем фильтра, м3;
Q - подача насоса, м3/ч.
2.4 Испытания, указанные в
2.3, должны проводиться в течение 30 мин. При этом на 10-й, 20-й, 30-й минутах установившегося режима производится отбор проб на входе и выходе из оборудования, а на 30-й минуте при отборе проб на выходе из оборудования осуществляется прохват воздуха посредством открывания крана на всасывающей стороне насоса и постепенного закрывания нефтяного и водяного клапанов.
2.5 Отбор и анализ проб должен выполняться в соответствии с программой испытаний, согласованной с Российским Классификационным Обществом.
2.6 Содержание нефти в стоке не должно превышать предельных значений нормируемых показателей (см.
приложение 2 ППЗС).
2.7 С целью проверки работы датчиков, наличия нефти в нефтесборнике и автоматических сливных клапанов в оборудование до срабатывания указанных датчиков подаются чистые нефтепродукты.
Указанную проверку допускается проводить путем погружения чувствительных элементов, демонтированных из нефтесборника датчиков, в емкость с чистыми нефтепродуктами.
2.8 При испытаниях проверяются:
.1 плотность соединений при работе оборудования;
.2 правильность функционирования в автоматическом режиме;
.3 правильность функционирования при ручном управлении;
.4 правильность функционирования насосных агрегатов и обслуживающих систем;
.5 правильность функционирования средств автоматизации, сигнализации и контроля.
При этом проверки допускается проводить путем создания экстремальных по значениям параметров условий непосредственно у датчиков систем.
3 Сигнализатор. Устройство для автоматического прекращения
сброса нефтесодержащих вод
3.1 Испытания проводятся на нефтесодержащих водах и воде согласно
2.2.
3.2 Испытания на функциональную работоспособность производят совместно с испытаниями фильтрующего оборудования с периодичностью отбора проб в соответствии с
2.4. При этом в точке отбора проб должно быть обеспечено давление, характерное для условий эксплуатации.
3.3 Результаты анализов проб не должны превышать погрешность прибора, которая должна оставаться в пределах +/- 10% фактического содержания нефти.
Показания прибора, сигнализирующего о превышении нефтесодержания в сбросе, должны соответствовать данным
приложения 2 к ППЗС.
3.4 При испытаниях проверяются:
.1 калибровка прибора для измерения нефтесодержания в соответствии с инструкцией организации-изготовителя;
.2 работа сигнального устройства, которое должно автоматически срабатывать при превышении заданного значения содержания либо другим способом, предусмотренным в паспорте прибора, и подавать световой и звуковой сигналы с одновременным включением регулирующих органов, прекращающих сброс за борт. Сигнальное устройство должно также автоматически срабатывать при любом нарушении работы прибора;
.3 работа устройства управления сбросом. При превышении допустимой нормы сброс нефтесодержащих вод за борт должен быть прекращен. При любой неисправности системы, а также при выключенной системе сброс должен быть прекращен;
.4 наличие местного указателя положения забортного клапана системы;
.5 работа ручного управления сбросом.
4 Системы автоматического измерения, регистрации
и управления сбросом балластных и промывочных вод
4.1 Испытания проводятся на воде. При испытаниях проверяются:
.1 работа насосов, отсутствие утечек в пробоотборной системе;
.2 работа клапанов для отбора проб с дистанционным управлением;
.3 интенсивность потока или перепад давления, в зависимости от того, какой параметр применяется, а также правильность параметров потока, при которых работает система. Это испытание должно проводиться отдельно для каждой точки отбора проб и проверяется измерением;
.4 работа сигнализации при неисправностях, вызванных условиями, внешними по отношению к системе управления сбросом, например, отсутствием потока в пробоотборной системе, отсутствием сигнала от расходомера, отсутствием питания и т.п.;
.5 показания правильности значений и синхронизации моделируемых (имитируемых) входных сигналов путем их ручного измерения при работе системы управления сбросом на воде. Для систем управления сбросом категории "А" необходимо удостовериться в том, что устройство управления сбросом приведено в действие и эти данные регистрируются;
.6 возможность восстановления нормальных условий работы после того, как мгновенная интенсивность сброса понизится ниже 30 л/морскую милю;
.7 наличие регистрации при переходе на ручное управление. При этом необходимо удостовериться в действии системы управления сбросом за борт для систем контроля категории "А";
.8 невозможность управления сбросом за борт при отключенной системе для систем контроля категории "А";
.9 положение нуля и калибровки прибора для определения содержания в сбросе в соответствии с инструкцией по эксплуатации и руководством изготовителя при работающей системе;
.10 точность любого установленного расходомера, например, путем прокачки воды по замкнутому контуру, в котором расход может рассчитываться по изменению уровня в танке. Проверка производится при расходе, соответствующем 50% номинального расхода;
.11 время срабатывания системы от момента изменения нефтесодержания в сбросе до момента выдачи сигнала на прекращение сброса, которое не должно превышать 20 с.
4.2 При испытаниях прибора автоматического измерения нефтесодержания в сбросе проверяются:
.1 расход, перепад давления или другой равноценный параметр, в зависимости от того, какой параметр применяется;
.2 устройства сигнализации, встроенные в прибор;
.3 правильность показаний для нескольких значений концентраций нефти (способ проверки должен быть согласован с Российским Классификационным Обществом).
4.3 При испытаниях секции управления сбросом нефти проверяются:
.1 все сигналы;
.2 правильность работы устройства для обработки сигналов и записывающей аппаратуры;
.3 срабатывание устройства, когда интенсивность сброса нефти превышает установленные нормы или общее количество сброшенной нефти превысит установленные нормы;
.4 подача сигнала о прекращении сброса за борт, когда возникают условия, при которых срабатывает сигнализация.
5 Приборы для определения границы
раздела "нефть - вода" в отстойных танках
5.1 Для проведения испытаний отстойный танк должен быть заполнен нефтяной смесью.
5.2 При испытании проверяются:
.1 точность определения границы раздела "нефть - вода" посредством сравнения показаний прибора с известным или замеренным иным способом положением границы раздела. Точность прибора должна обеспечивать индикацию границы раздела "нефть - вода" в пределах +/- 25 мм от фактической;
.2 время срабатывания прибора.
6 Система перекачки, сдачи и сброса нефтесодержащих вод
6.1 При испытании систем перекачки и сбора проверяется работа дистанционного контроля количества нефти в нефтесодержащей смеси и сигнализации уровня в грузовых, отстойных и сборных танках. Может быть допущена имитация количества нефти в нефтесодержащей смеси по согласованной с филиалом методике.
6.2 При испытании системы сдачи проверяются:
.1 работа устройств ручного пуска и остановки откачивающих средств;
.2 условия дистанционного отключения откачивающих средств с места наблюдения над сбросом или эффективной связи (телефонной или радио) между местом наблюдения и местом управления откачивающими средствами;
.3 возможность откачки нефтесодержащих вод и нефтеостатков из сборных танков в приемные устройства;
.4 правильность функционирования световой и звуковой сигнализации, предупреждающей о достижении верхнего предельного уровня в грузовых, отстойных и сборных танках.
7 Установка для обработки сточных вод
7.1 До начала проверки в действии установки для обработки сточных вод проверяется наличие действующего заключения органа государственного санитарного надзора.
При отсутствии заключения, дополнительно к испытаниям (см.
7.2), производятся испытания установки на санитарно-гигиеническую работоспособность, порядок и режим которых определяется представителем органа государственного санитарного надзора.
Заключение органа государственного санитарного надзора прилагается к документам Российского Классификационного Общества.
7.2 Испытания установки проводятся на воде, при которых проверяется:
.1 обеспеченность свободного стока в установку;
.2 функционирование измельчителя (мацератора) твердых включений сточных вод (если входит в комплект установки);
.3 функционирование насосных и воздуходувных агрегатов;
.4 условия срабатывания датчиков уровня, расположенных в камерах установки;
.5 функционирование дозирующих устройств подачи растворов флокулянта (коагулянта) и обеззараживающего вещества;
.6 функционирование в ручном и (или) автоматическом режиме;
.7 функционирование средств автоматизации, сигнализации и контроля (допускается методом имитации);
.8 функционирование электрических приводов и технических средств вспомогательного назначения (путем внешнего осмотра);
.9 функционирование погружных насосов (если такие насосы входят в комплект установки);
.10 функционирование системы вентиляции помещения, если установка расположена в отдельном помещении.
8 Сборные цистерны сточных вод
8.1 Испытания могут проводиться на забортной воде.
8.2 При испытаниях проверяется:
.1 обеспеченность свободного слива сточных вод;
.2 возможность промывки от водопожарной магистрали и пропаривания при наличии парового котла;
.3 возможность осушения насосом или эжектором со сбросом вод за борт;
.4 правильность функционирования световой и звуковой сигнализации, предупреждающей о достижении верхнего предельного уровня в сборных цистернах сточных вод.
9 Системы перекачки, сдачи и сброса сточных вод
9.1 Проверка в действии проводится совместно с испытаниями, указанными в
разд. 7 и
8 в зависимости от состава оборудования экологической безопасности, установленного на судне.
9.2 При испытаниях проверяются:
.1 правильность функционирования устройств для ручного пуска откачивающих средств (насосов или эжекторов);
.2 возможность откачки сточных вод из сборных цистерн в приемные устройства.
10 Инсинераторы
10.1 Испытания производятся на видах мусора, указанных в документации на инсинератор.
10.2 Обводненность нефтеотходов и (или) шлама сточных вод (если инсинератор предназначен для их сжигания) должна быть не ниже указанной в документации.
10.3 Испытания производятся на режимах, предусмотренных в документации на инсинератор. Последовательность режимов, время работы на каждом режиме, а также очередность испытаний определяются программой, согласованной с Российским Классификационным Обществом.
10.4 При испытаниях проверяются:
.1 правильность функционирования вентиляции помещения, если инсинератор расположен в отдельном помещении;
.2 условия блокировки крышек загрузочного бункера (если они имеются), которая должна исключать их одновременное открывание при загрузке мусора;
.3 условия блокировки топливной форсунки, если форсунка находится в рабочем положении, а воздух для горения подается в топку;
.4 правильность функционирования автоматических устройств, прекращающих подачу топлива к горелке в случаях прекращения подачи воздуха для горения, обрыва факела горения или обесточивания системы электропитания;
.5 правильность функционирования инсинератора в ручном и автоматическом режимах;
.6 правильность функционирования средств автоматизации, сигнализации и контроля;
.7 состояние помещения во время работы инсинератора;
.8 отсутствие выброса искр в атмосферу из газовыпускной системы.
11 Устройства для обработки мусора
11.1 При испытании проверяется правильность функционирования:
.1 вентиляции помещения, если установка расположена в отдельном помещении;
.2 механизмов загрузки мусора;
.3 устройств для измельчения мусора. Размер измельченных частиц не должен превышать 25 мм;
.4 устройства для прессования мусора, которое должно обеспечивать уменьшение его первоначального объема примерно в пять раз;
.5 систем автоматизации, сигнализации, контроля.
12 Шланги, используемые для перекачки
нефти, нефтесодержащих или сточных вод
12.1 Шланги, входящие в судовое снабжение и используемые для перекачки нефти, нефтесодержащих или сточных вод, подвергаются гидравлическим испытаниям пробным давлением, равным 1,5 рабочего давления