Главная // Актуальные документы // Журнал (форма)СПРАВКА
Источник публикации
М.: Стройиздат, 1975
Примечание к документу
Название документа
"Руководство по лабораторному определению деформационных и прочностных характеристик просадочных грунтов"
"Руководство по лабораторному определению деформационных и прочностных характеристик просадочных грунтов"
ОРДЕНА ТРУДОВОГО КРАСНОГО ЗНАМЕНИ
НАУЧНО-ИССЛЕДОВАТЕЛЬСКИЙ ИНСТИТУТ ОСНОВАНИЙ
И ПОДЗЕМНЫХ СООРУЖЕНИЙ ИМЕНИ Н.М. ГЕРСЕВАНОВА
РУКОВОДСТВО
ПО ЛАБОРАТОРНОМУ ОПРЕДЕЛЕНИЮ ДЕФОРМАЦИОННЫХ
И ПРОЧНОСТНЫХ ХАРАКТЕРИСТИК ПРОСАДОЧНЫХ ГРУНТОВ
В книге содержатся рекомендации по лабораторному определению деформационных и прочностных характеристик просадочных грунтов природной структуры и после их уплотнения различными методами. Приводится номенклатура деформационных и прочностных характеристик указанных грунтов, используемых при расчете оснований, фундаментов и зданий. Рассматриваются вопросы методики, техники испытаний и обработки их результатов.
Руководство предназначено для инженерно-технических работников изыскательских, проектных и строительных организаций.
Табл. 9, илл. 11.
Полученные в последние годы результаты по изучению особенностей деформации лессовых просадочных грунтов позволили усовершенствовать расчеты просадок оснований и в новых Строительных нормах и правилах
(СНиП II-15-74) развить прогрессивный принцип проектирования оснований, фундаментов и зданий на просадочных грунтах по предельным состояниям.
Достоверность расчета возможных величин просадочных деформаций и расчета зданий на неравномерные деформации основания в значительной степени зависит от правильности определения физико-механических характеристик просадочных грунтов.
В связи с этим при проведении инженерно-геологических изысканий особое внимание должно обращаться на обоснованность методики, тщательность и оптимальный объем определений деформационных и прочностных характеристик просадочных грунтов, включая и те новые характеристики, которые раньше в расчетах не использовались.
Проектирование оснований, фундаментов и зданий на просадочных грунтах по предельным состояниям связано с определением следующих деформационных характеристик: относительной просадочности при фактическом давлении (во многих случаях зависимости ее от давления и влажности); начального просадочного давления; начальной (критической) влажности; модулей деформации грунта с природной влажностью и в водонасыщенном состоянии, коэффициента изменчивости сжимаемости основания, а также прочностных характеристик - угла внутреннего трения и удельного сцепления просадочных грунтов с природной влажностью, в водонасыщенном состоянии, и после их уплотнения различными методами.
В настоящее время для получения характеристик просадочных грунтов служат в основном лабораторные испытания, результаты которых при необходимости корректируют на основе полевых испытаний или вводят коэффициенты условий работы в расчетные формулы.
В результате исследований, проведенных НИИ оснований, ДИИТом, РИСИ и другими организациями, обобщения опыта ведущих производственных организаций в настоящем Руководстве даются научно обоснованные рекомендации по методике, технике выполнения и обработке результатов испытаний просадочных грунтов лабораторными методами.
Руководство разработано НИИ оснований (кандидаты техн. наук В.И. Крутов, И.Г. Рабинович и А.Г. Божко) с учетом основных положений главы
СНиП II-15-74 и замечаний на Руководство, полученных от изыскательских, проектных, научно-исследовательских организаций и вузов.
1.1. Настоящее Руководство распространяется на лабораторные испытания по определению деформационных и прочностных характеристик просадочных грунтов природной структуры и после их уплотнения различными методами.
Руководство составлено в развитие глав
СНиП II-15-74 "Нормы проектирования. Основания зданий и сооружений" и
СНиП II-А.13-69 "Инженерные изыскания для строительства. Основные положения" с учетом требований ГОСТов по грунтам.
Примечание. Вопрос об отнесении грунтов площадки к просадочным решается на основе результатов инженерно-геологических изысканий, а также изучения местного опыта строительства в соответствии с номенклатурой грунтов, приведенной в главе
СНиП II-15-74.
1.2. Лабораторные испытания просадочных грунтов для определения деформационных и прочностных характеристик производятся на образцах ненарушенного сложения. Монолиты грунта для получения образцов отбираются из шурфов в соответствии с требованиями ГОСТ 12071-72 "Грунты. Отбор, упаковка, транспортирование и хранение образцов".
Количество, расположение и глубина шурфов устанавливаются заданием и программой инженерно-изыскательских работ в соответствии с нормативными документами с учетом сложности геологического строения толщи просадочных грунтов, инженерно-геологической изученности района (площадки), стадии проектирования, класса и конструктивных особенностей зданий и сооружений.
Примечание. Допускается производить отбор монолитов из скважин при условии применения грунтоносов, обеспечивающих сохранение естественной структуры и влажности грунтов.
1.3. Лабораторные испытания уплотненных лессовых грунтов производятся на образцах грунтов, отобранных из уплотненного массива, или на образцах грунтов, уплотненных в лабораторных условиях при заданной влажности до требуемой плотности.
Рекомендации по приготовлению образцов уплотненного лессового грунта приведены в
приложении 3.
1.4. Лабораторные испытания для определения деформационных характеристик просадочных грунтов природной структуры и после их уплотнения различными методами проводятся в компрессионных приборах (одометрах), а прочностных характеристик - в одноплоскостных срезных приборах.
Примечание. Руководство не распространяется на испытания просадочных и уплотненных лессовых грунтов в приборах трехосного сжатия (стабилометрах).
1.5. Деформационные характеристики просадочных грунтов, определяемые комплексно лабораторными испытаниями в компрессионных приборах, следующие: относительное сжатие грунта с природной (естественной) или заданной влажностью

, относительное сжатие грунта в водонасыщенном состоянии

, коэффициент изменчивости сжимаемости

, относительная просадочность

, начальное просадочное давление
pпр и начальная (критическая) влажность
Wпр.
Деформационные характеристики уплотненных лессовых грунтов следующие: относительное сжатие грунта с влажностью в процессе уплотнения

и в водонасыщенном состоянии

, коэффициент изменчивости сжимаемости

.
Примечания: 1. В качестве деформационных характеристик просадочных и уплотненных лессовых грунтов могут использоваться также коэффициент сжимаемости (уплотнения) a или модуль деформации по компрессионным испытаниям Eк.
2. Для относительного сжатия

следует указывать давление, при котором оно определено, для коэффициента сжимаемости
a и модуля деформации
Eк - соответствующий интервал давления.
1.6. Относительная просадочность

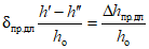
представляет собой отношение изменения толщины слоя грунта (высоты образца) в результате замачивания при заданном вертикальном давлении к его толщине в природном залегании (высоте образца при природном давлении).
Относительная просадочность является одной из основных характеристик просадочных грунтов и используется для расчета возможных величин просадок как в деформируемой зоне основания фундаментов, так и под нагрузкой от собственного веса грунта, для общей оценки просадочных свойств грунтов, определения типа грунтовых условий по просадочности, критериев начала развития просадки - начального просадочного давления pпр и начальной (критической) влажности Wпр.
1.7. Начальное просадочное давление
pпр представляет собой минимальное давление от нагрузки фундаментов или собственного веса грунта, при котором начинает проявляться просадка грунта при его полном водонасыщении. За начальное просадочное давление, по данным компрессионных испытаний, принимается величина вертикального давления на образец, при котором относительная просадочность

составляет 0,01.
Начальное просадочное давление используется при определении расчетного давления на просадочный грунт, глубины деформируемой зоны, типа грунтовых условий, глубины, с которой происходит просадка грунта от собственного веса, назначении необходимой глубины уплотнения просадочных грунтов в основании фундаментов и в других случаях.
1.8. Начальная (критическая) влажность
Wпр, т.е. минимальная влажность, при которой под действующим давлением проявляется просадка грунта (относительная просадочность

);
Wпр используется при определении зависимости просадочных свойств от степени повышения влажности, возможности проявления просадки лессовых грунтов при повышении их влажности не до полного водонасыщения, например, под экранами из уплотненного грунта и т.п.
1.9. Относительное сжатие

, определяемое отношением осадки образца грунта при заданном давлении к высоте образца при природном давлении (см.
п. 2.25), служит для оценки сжимаемости грунта. Исходя из значений относительного сжатия вычисляются коэффициент сжимаемости
a по
формуле (10) и модуль деформации по компрессионным испытаниям
Eк - по
формуле (11).
При введении поправочных коэффициентов, определяемых в результате полевых испытаний грунтов штампами, значения
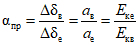
Eк используются для расчетов осадок фундаментов, по данным испытаний грунта с природной влажностью, а также суммарных величин осадок и просадок, по данным испытаний грунта в водонасыщенном состоянии. Кроме того, как отношение значений характеристик сжимаемости грунта с природной влажностью и в водонасыщенном состоянии определяется коэффициент изменчивости сжимаемости просадочного грунта

по
формуле (16), который используется в расчетах конструкций зданий на неравномерные просадки грунтов в основании.
1.10. Прочностными характеристиками просадочных грунтов природной структуры и после их уплотнения различными методами, определяемыми испытаниями на сдвиг в срезных приборах, являются угол внутреннего трения

и удельное сцепление
c. Эти характеристики используются для определения величины расчетного давления на грунты основания, устойчивости оснований и определяются, как правило, для грунтов в водонасыщенном состоянии. В тех случаях, когда замачивание грунтов в основании проектируемых фундаментов исключается, прочностные характеристики определяются при природной влажности грунта, а при низком ее значении (менее влажности на границе раскатывания) - при влажности на границе раскатывания.
1.11. Необходимый для проектирования оснований и фундаментов комплекс отмеченных в
пп. 1.5 -
1.10 характеристик, число испытаний, интервалы определения характеристик по глубине устанавливаются заданием и программой инженерно-геологических изысканий в соответствии с требованиями главы
СНиП II-15-74 и нормативных документов по изысканиям для строительства с учетом сложности геологического строения толщи просадочных грунтов на площадке строительства, типа грунтовых условий по просадочности, стадии проектирования, класса и конструктивных особенностей зданий и сооружений, нагрузок на фундаменты и их размеров и т.п.
1.12. Лабораторные испытания, проводимые с целью определения относительной просадочности и начального просадочного давления, выполняются, как правило, для каждого характерного по литологическим признакам слоя грунта, входящего в просадочную толщу, но не реже чем через 2 м по глубине.
Относительная просадочность грунта

определяется при фактическом давлении на грунт, равном сумме давлений от нагрузки фундамента и собственного веса грунта в водонасыщенном состоянии.
В тех случаях, когда размеры фундаментов и давления по их подошве не известны, целесообразно по результатам исследований для каждого литологического слоя грунта в пределах деформируемой зоны приводить зависимость относительной просадочности от давления на грунт в интервале его изменения от природного до 0,3 - 0,4 МПа <*>.
--------------------------------
<*> Физические величины выражены в "Международной системе единиц" (СИ). Единицы системы СИ, используемые в Руководстве, и их соотношения со "старыми" единицами приведены в
приложении 1.
Начальная (критическая) влажность Wпр определяется по специальному заданию для двух-трех характерных слоев просадочной толщи, в том числе в пределах деформируемой зоны.
Прочностные характеристики

и
c определяются, как правило, для слоев, залегающих в пределах деформируемой зоны, в том числе непосредственно под подошвой фундаментов.
1.13. Число частных определений деформационных и прочностных характеристик просадочных грунтов устанавливается заданием и программой инженерно-геологических изысканий и должно быть достаточным для вычисления нормативных и расчетных значений характеристик грунтов.
Нормативные значения деформационных характеристик просадочных грунтов природной структуры и после их уплотнения различными методами вычисляются как средние значения результатов их определения в компрессионных приборах. Расчетные значения деформационных характеристик принимаются равными их нормативным значениям.
Нормативные и расчетные значения прочностных характеристик просадочных грунтов природного сложения и после их уплотнения различными методами назначаются в соответствии с требованиями главы
СНиП II-15-74.
2. ОПРЕДЕЛЕНИЕ ДЕФОРМАЦИОННЫХ ХАРАКТЕРИСТИК
ПРОСАДОЧНЫХ ГРУНТОВ
2.1. Испытания по определению деформационных характеристик просадочных грунтов в компрессионных приборах заключаются в последовательном нагружении образцов с замачиванием и измерением осадок и просадок грунта в процессе нагружения и замачивания.
Эти испытания могут выполняться одним из следующих методов: "одной кривой", "двух кривых", "упрощенным". Метод испытания назначается в зависимости от задач по определению деформационных характеристик, объема испытаний и т.п. с учетом технических возможностей указанных методов, приведенных в
пп. 2.2,
2.3 и
2.6 и в
подразделе "Обработка результатов испытаний" настоящего Руководства.
Примечание. Компрессионные испытания уплотненных лессовых грунтов выполняются, как правило, по методу "одной кривой".
2.2. Просадочные, а также уплотненные лессовые грунты испытываются методом "одной кривой" на одном образце грунта. Образец нагружается ступенями со стабилизацией осадки на каждой ступени до заданного максимального давления, принимаемого равным фактическому
(п. 1.12). После стабилизации осадки на последней ступени нагрузки производится замачивание образца, которое продолжается до стабилизации просадки (см. рис. 1).
Рис. 1. График зависимости относительного
сжатия просадочного грунта от давления
по испытаниям методом "одной кривой"
1 - относительное сжатие грунта с природной или заданной
влажностью; 2 - относительная просадочность грунта
(разность ординат точек Б и А)
Испытания методом "одной кривой" позволяют определять относительную просадочность при заданном давлении (см.
пп. 1.6,
2.29) и характеристики сжимаемости грунта с природной влажностью (см.
пп. 1.9,
2.27).
Испытания просадочных грунтов данным методом целесообразно производить в тех случаях, когда фактические давления на той или иной глубине, в основании проектируемых фундаментов заранее известны (например, при определении просадки грунта от его собственного веса, при известных нагрузках и размерах фундаментов и т.п.), а другие необходимые характеристики - начальное просадочное давление, характеристики сжимаемости грунта в водонасыщенном состоянии - определены предшествующими испытаниями или будут определены в последующей стадии изысканий.
Просадочные грунты испытываются также методом "одной кривой" при необходимости определения относительного послепросадочного уплотнения лессовых грунтов, происходящего при длительной и постоянной фильтрации воды за счет процессов ползучести, химической и механической суффозии.
2.3. Испытания методом "двух кривых" производятся на двух образцах, отобранных из одного монолита с учетом требований, приведенных в
п. 2.12. Один образец грунта с природной или заданной влажностью нагружается ступенями до заданного конечного давления со стабилизацией осадок на каждой ступени. После этого образец замачивается до стабилизации просадки. Другой образец замачивается перед нагружением (без применения арретира) до полного водонасыщения, а затем при непрерывном замачивании нагружается ступенями до заданного конечного давления
(рис. 2).
Испытания данным методом позволяют определить все указанные в
пп. 1.5 -
1.9 деформационные характеристики просадочных грунтов за исключением начальной (критической) влажности и сопоставить величины относительной просадочности, получаемые методами "одной кривой" и "двух кривых".
2.4. При определении относительной просадочности в случаях неполного водонасыщения грунтов (например, при устройстве маловодопроницаемых экранов, медленном повышении влажности и т.п.) испытания проводятся по методу "двух кривых" при повышении влажности второго образца до заданного значения.
2.5. При определении начальной (критической) влажности испытания методом "двух кривых" дополняются испытаниями при тех же ступенях нагрузки еще двух-трех идентичных образцов при повышении их влажности до промежуточных значений, разделяющих предел ее изменения от природной влажности до полного водонасыщения, примерно, на равные интервалы.
Результаты испытаний по определению начальной (критической) влажности используются также для определения относительной просадочности при неполном водонасыщении грунта.
Рис. 2. График зависимости относительного сжатия
просадочного грунта от давления по испытаниям
методом "двух кривых"
1 - относительное сжатие грунта с природной влажностью;
2 - относительное сжатие грунта в водонасыщенном состоянии;
3 - относительная просадочность грунта (разность ординат
кривых 2 и 1); 4 - относительная просадочность
грунта на последней ступени нагрузки;
pпр - начальное просадочное давление
Рис. 3. График зависимости относительного сжатия грунта
от давления по испытаниям "упрощенным" методом
1 - относительное сжатие грунта с природной влажностью;
2 - относительная просадочность грунта при заданном
промежуточном давлении; 3 - относительное сжатие грунта
в водонасыщенном состоянии; 4 - относительная
просадочность грунта (разность ординат кривых 3 и 1)
при различных давлениях
2.6. "Упрощенный" метод представляет собой простую модификацию метода "двух кривых" и позволяет испытывать на одном образце грунт с природной влажностью и в водонасыщенном состоянии.
Образец грунта с природной влажностью нагружается ступенями со стабилизацией осадки на каждой ступени до заданного промежуточного давления на грунт piз, близкого к величине начального просадочного или природного давления, но не менее 0,1 МПа. После стабилизации осадки образец грунта при этом давлении замачивается.
При достижении стабилизации просадки продолжается загружение образца ступенями до заданного давления при непрерывном замачивании (аналогично образцу, испытываемому в водонасыщенном состоянии по методу "двух кривых"). Деформации образца с природной влажностью при давлении, большем
piз, и в водонасыщенном состоянии при давлении, меньшем
piз, определяются экстраполяцией согласно рекомендациям
п. 2.33 (см.
рис. 3).
Примечание. Просадочные грунты допускается испытывать по "упрощенному методу" при степени влажности, не превышающей 0,5.
Требования к компрессионным приборам
и подготовке образцов грунта для испытаний
2.7. Компрессионные приборы (одометры) для испытаний просадочных грунтов должны отвечать всем требованиям, предъявляемым к приборам для испытаний обычных (непросадочных) грунтов.
Компрессионные приборы изготовляются из нержавеющего металла и состоят из следующих основных частей:
рабочего кольца, в котором производится сжатие грунта;
цилиндрической обоймы, в которую заключается рабочее кольцо;
перфорированного штампа, служащего для передачи вертикального давления на образец грунта;
механизма нагрузки (обычно рычажная система), создающего необходимое давление на образец;
поддона с полостью для воды и перфорированной крышкой, на которую устанавливается рабочее кольцо;
измерителей вертикальных деформаций грунта (обычно индикаторы часового типа).
2.8. Для испытаний просадочных грунтов используются компрессионные приборы с рабочим кольцом площадью не менее 40 см2 (диаметром не менее 7,1 см) и высотой не менее 2 см, например приборы НИСа Гидропроекта, ЦНИИ МПС, при условии, чтобы диаметр кольца был в 3 - 5 раз больше его высоты.
Конструкция прибора должна обеспечивать:
возможность подачи воды к образцу (с учетом предпочтительности замачивания снизу) и ее отвода от образца;
центральное приложение к штампу и вертикальность передаваемой нагрузки;
возможность передачи нагрузки ступенями по 0,025 - 0,05 МПа;
постоянное давление на грунт на каждой ступени нагрузки;
допустимость приложения нагрузок до 0,5 МПа;
неподвижность рабочего кольца в процессе испытаний;
измерение вертикальных деформаций образца с точностью до 0,01 мм.
Примечание. Однородные просадочные грунты, а также уплотненные лессовые грунты допускается испытывать в приборах с рабочим кольцом площадью не менее 25 см2 (диаметром не менее 5,6 см), например приборы ППЛ-9.
2.9. Приборы, используемые для испытаний, должны быть протарированы с целью учета их собственных деформаций при определении деформаций образца. При тарировке прибора вместо грунта в кольцо закладывается специальный металлический диск с двумя бумажными фильтрами, смоченными водой. Нагружение производится ступенями с выдерживанием нагрузки в течение 2 мин до давления на диск 0,5 МПа. На каждой ступени по индикаторам определяются деформации прибора, которые должны учитываться в дальнейшем при определении деформаций грунта по результатам испытаний.
2.10. Подготовка образцов просадочного грунта ненарушенной структуры для испытаний в компрессионном приборе включает зарядку рабочего кольца испытываемым грунтом, определение физических характеристик грунта в соответствии с
п. 2.12 и сборку прибора.
Предварительно измеряется высота кольца (или начальная высота образца) и его внутренний диаметр с точностью до 0,1 мм, затем определяется масса кольца с точностью до 0,01 г, подсчитывается его площадь и объем с точностью соответственно 0,1 см2 и 0,1 см3.
| | ИС МЕГАНОРМ: примечание. Взамен ГОСТ 5182-64 Постановлением Госстандарта СССР от 16.01.1978 N 4 с 01.07.1978 введен в действие ГОСТ 5182-78. Взамен ГОСТ 5182-78 Постановлением Госстроя СССР от 24.10.1984 N 177 с 01.07.1985 введен в действие ГОСТ 5180-84. | |
2.11. Зарядка рабочих колец испытываемым грунтом производится ручным винтовым прессом в соответствии с требованием ГОСТ 5182-64 "Грунты. Методы лабораторного определения объемного веса" в следующем порядке: на верхнюю сторону монолита, гладко зачищенную ножом, ставится острым краем кольцо прибора;
на кольцо надевается металлическая насадка с отверстиями для выхода воздуха;
грунт вокруг кольца подрезается острым ножом так, чтобы под кольцом образовался столбик грунта диаметром, несколько большим диаметра кольца;
кольцо "надевается" на столбик грунта путем плавной передачи усилий от винтового пресса, не допуская перекосов кольца и образования зазоров между его стенками и грунтом;
после заполнения грунтом кольца и части насадки столбик грунта на 10 - 15 мм ниже кольца подрезается;
избыток грунта с обеих сторон кольца срезается тонкими слоями и затем поверхности образца тщательно зачищаются в уровень с краями кольца ножом с прямым лезвием.
Сразу же после зарядки кольцо с грунтом взвешивается, покрывается с обеих сторон кружками фильтровальной бумаги, устанавливается на крышку поддона компрессионного прибора. Далее производится сборка прибора: завинчивается соединительная муфта, устанавливается штамп и над ним укрепляются индикаторы деформаций грунта. Начальные показания индикаторов записываются в рабочем журнале.
2.12. Для испытываемых образцов грунта определяются объемная масса, объемная масса скелета, влажность, коэффициент пористости и степень влажности, значения влажности на границах раскатывания и текучести, число пластичности.
| | ИС МЕГАНОРМ: примечание. Взамен ГОСТ 5182-64 Постановлением Госстандарта СССР от 16.01.1978 N 4 с 01.07.1978 введен в действие ГОСТ 5182-78. Взамен ГОСТ 5182-78 Постановлением Госстроя СССР от 24.10.1984 N 177 с 01.07.1985 введен в действие ГОСТ 5180-84. | |
Объемная масса

определяется в соответствии с ГОСТ 5182-64 "Грунты. Методы лабораторного определения объемного веса" и вычисляется по формуле

, (1)
где mк.г - масса кольца с грунтом, г;
mк - масса пустого кольца, г;
Vк - объем кольца (образца грунта), см3.
Влажность грунта W определяется согласно ГОСТ 5179-64 "Грунты. Метод лабораторного определения влажности" по двум пробам грунта нарушенной структуры, отбираемым из монолита при зарядке рабочих колец (значения W выражаются в долях единицы).
Объемная масса скелета грунта

, коэффициент пористости
e и степень влажности
G рассчитываются соответственно по формулам

; (2)

; (3)

, (4)
где

- плотность грунта, г/см
3;

- плотность воды, принимаемая равной 1 г/см
3.
Влажность на границе раскатывания Wр определяется по ГОСТ 5183-64 "Грунты. Метод лабораторного определения границы раскатывания", а влажность на границе текучести Wт - по ГОСТ 5184-64 "Грунты. Метод лабораторного определения границы текучести".
Примечания: 1. Вырезанные образцы грунта не должны содержать видимых крупных включений пор и ходов землероев, остатков корней растений, зазоров между грунтом и кольцом и т.п. При обнаружении их образцы бракуются и вырезаются новые.
2. Образцы грунта, используемые для испытаний методом "двух кривых", не должны отличаться по объемной массе скелета грунта более чем на 0,03 г/см3. Если из трех вырезанных из монолита образцов не представляется возможным подобрать два образца, удовлетворяющих указанному требованию, испытания производятся "упрощенным" методом.
3. Плотность (удельный вес), влажность на границах раскатывания и текучести, гранулометрический состав грунта определяются не для каждого образца, а только для отдельных характерных инженерно-геологических слоев.
2.13. Нагружение образцов в процессе испытаний просадочных лессовых грунтов в компрессионных приборах методами, изложенными в
пп. 2.1 -
2.6, производится, как правило, ступенями нагрузки, соответствующими увеличению давления на образец

.
При испытании просадочных лессовых грунтов в водонасыщенном состоянии ступень нагрузки может уменьшаться до

в интервале изменения давления от 0 до 0,15 МПа, а при испытании уплотненных лессовых грунтов увеличиваться до

.
Каждая ступень нагрузки выдерживается до условной стабилизации осадки образца. За условную стабилизацию принимается увеличение осадки, не превышающее 0,01 мм за 3 ч.
Величина ступени нагрузки в течение всего времени ее действия выдерживается постоянной.
Нагружение образцов производится до заданного давления, определяемого согласно указаниям
п. 1.12.
Примечание. При передаче нагрузок на образцы с помощью рычажной системы груз, соответствующий той или иной ступени нагрузки, укладывается без толчков на подвеску рычага. Величина груза M определяется по формуле

, (5)
где p - заданное давление на образец;
F - площадь образца;
f - передаточное число системы рычагов.
2.14. После приложения каждой ступени нагрузки через определенные промежутки времени производятся отсчеты по индикаторам, регистрирующим осадку образца. Показания индикаторов записываются в журнале испытаний. Первый отсчет берется через 2 мин после передачи заданной ступени нагрузки, следующие - через 5; 10; 30 мин и далее через каждый час до конца рабочего дня, а в последующие дни - через каждые 3 ч до достижения условной стабилизации осадок.
2.15. Замачивание образца водой производится в последовательности, определяемой методом испытаний (
пп. 2.1 -
2.6), при неизменном градиенте напора, не превышающем единицы.
Целесообразнее замачивать образец снизу. При этом воду заливают в поддон через трубку с воронкой; из поддона вода через отверстия поступает к образцу. В процессе замачивания уровень воды в воронке поддерживается приблизительно постоянным.
С момента начала замачивания производятся отсчеты по индикаторам: в первые полчаса не реже чем через 5 мин, во вторые полчаса - через 10 мин, во второй час - через 30 мин, далее - через каждый час до конца рабочего дня, а в последующие дни - через каждые 3 ч до достижения условной стабилизации деформаций.
Примечание. Замачивание образцов, как правило, производится питьевой водой из водопровода. В отдельных случаях при утечках растворов кислот и щелочей в основании проектируемых зданий образцы грунта замачиваются соответствующими растворами.
2.16. При испытаниях просадочных грунтов методом "одной кривой"
(п. 2.2) замачивание образцов начинается после стабилизации осадки грунта на последней ступени нагрузки и продолжается непрерывно до стабилизации просадочных деформаций - 0,01 мм за 3 ч. Отсчеты по индикаторам производятся в последовательности, указанной в
п. 2.15.
Примечание. Допускается прекращать испытания по методу "одной кривой" до наступления условной стабилизации просадочных деформаций, но не ранее чем через 4 ч с момента начала просадки при условии значительного уменьшения ее скорости к этому времени; в данном случае величина просадочной деформации, соответствующая условной стабилизации, может быть определена экстраполяцией зависимости "просадка - время" согласно рекомендациям
приложения 2.
2.17. При определении относительного послепросадочного уплотнения (см.
п. 2.2) замачивание образцов грунта, испытываемых по методу "одной кривой", выполняется до условной стабилизации послепросадочного уплотнения, но не менее чем в течение 15 суток.
За условную стабилизацию послепросадочного уплотнения принимается увеличение осадки, не превышающее 0,01 мм за 5 суток.
Отсчеты по индикаторам при длительном замачивании (после стабилизации просадки) берутся два раза в сутки - в начале и в конце рабочего времени.
Примечание. Определение относительного послепросадочного уплотнения дополняется определением содержания солей в грунте до начала и после окончания компрессионных испытаний.
2.18. Для испытаний просадочных грунтов методом "двух кривых" (см.
п. 2.3) замачивание одного из двух образцов начинается после установки рабочего кольца в компрессионном приборе и производится (без применения арретира) до передачи первой ступени нагрузки не менее 6 ч для лессов, 12 ч - для лессовидных суглинков и 24 ч - для уплотненных грунтов, а затем продолжается непрерывно до стабилизации осадки от последней ступени нагрузки.
Отсчеты по индикаторам производятся согласно указаниям
п. 2.15 в период от начала замачивания до начала нагружения (для измерения возможных деформаций набухания см.
п. 2.31) и согласно указаниям
п. 2.14 - с момента передачи первой ступени нагрузки до стабилизации осадки от последней ступени.
2.19. Для испытаний просадочных грунтов "упрощенным" методом (см.
п. 2.6) замачивание образца начинается после стабилизации осадки грунта от заданного промежуточного давления
piз и непрерывно продолжается до стабилизации осадки водонасыщенного грунта на последней ступени нагрузки. Отсчеты по индикаторам производятся в соответствии с указаниями
пп. 2.14,
2.15.
2.20. Для определения относительной просадочности в случаях неполного водонасыщения лессовых грунтов (
пп. 2.4 -
2.5) повышение влажности образцов до промежуточных значений может осуществляться заданным количеством воды, паром, капилляриметрическим методом, насыщением в вакууме.
Для повышения влажности грунта заданным количеством воды она заливается в образец, находящийся в рабочем кольце компрессионного прибора, в объеме Qз, рассчитываемом по формуле

, (6)
где Wз - заданное значение влажности грунта, доли единицы;
Wе - природная влажность;

- плотность воды, принимаемая равной 1 г/см
3;

- объемная масса скелета грунта, г/см
3;
Vк - объем кольца компрессионного прибора, см3.
После впитывания воды образец в рабочем кольце помещается на 2 суток в эксикатор (с целью выравнивания влажности по всему объему грунта), затем взвешивается; определяется объемная масса грунта после увлажнения и уточняется полученное значение влажности по формуле

, (7)
где

- объемная масса грунта после увлажнения, определяемая по
формуле (1).
2.21. При повышении влажности грунта в рабочем кольце паром вначале образец подогревается в сушильном шкафу в течение 3 - 5 мин до температуры 40 - 50 °C, затем покрывается резиновой прокладкой; помещается на металлической сетке над сосудом с кипящей водой и в течение 3 - 5 мин через него пропускается пар. После этого рабочее кольцо с грунтом помещается между двумя резиновыми прокладками и охлаждается под вентилятором, а затем взвешивается. В результате одного цикла пропаривания влажность грунта повышается обычно на 0,02 - 0,04. Полученная влажность рассчитывается по
формуле (7). При недостаточном увлажнении циклы пропаривания повторяются до тех пор, пока не будет достигнута требуемая влажность грунта в образце.
2.22. Образцы с заданной влажностью испытываются в компрессионном приборе аналогично испытаниям водонасыщенных образцов по методу "двух кривых" в соответствии с требованиями
пп. 2.3,
2.18.
После стабилизации осадок на последней ступени нагрузки образец с заданной влажностью замачивается с учетом требований
пп. 2.15,
2.16 и измеряется просадка до ее стабилизации.
2.23. В процессе испытания грунтов в компрессионных приборах особое внимание обращается на правильность зарядки и сборки прибора, плавность передачи нагрузки на рычажную систему, тщательность установки и исправность индикаторов, равномерность осадки штампа, принятый порядок замачивания и т.п.
При обнаружении в процессе опыта дефектов испытание бракуется и повторяется заново на новом образце.
2.24. По окончании испытаний прибор разгружается; рабочее кольцо с образцом извлекается из прибора, с его поверхности удаляется лишняя вода, кольцо с образцом взвешивается для определения объемной массы грунта, затем из кольца берутся две пробы на влажность.
Примечания: 1. После испытаний кроме влажности определяются объемная масса, объемная масса скелета, коэффициент пористости и степень влажности грунта соответственно по
формулам (1) -
(4) - см.
п. 2.12.
2. Для определения объемной массы грунта после испытаний по
формуле (1) объем образца подсчитывается с учетом уменьшения его высоты в результате деформаций (до разгрузки образца).
3. Все результаты измерений и определений, произведенные до, в процессе и после испытания, заносятся в журнал испытаний
(приложение 4).
Обработка результатов испытаний
2.25. Исходным документом при обработке результатов испытаний является "Журнал испытаний посадочного грунта в компрессионном приборе"
(приложение 4).
По данным журнала вычисляются величины относительного сжатия образцов

при соответствующих давлениях
pi в моменты стабилизации деформаций по формуле

, (8)
где

- сжатие (осадка) в мм образца грунта при давлении
pi;
r - поправка в мм на деформацию прибора при давлении pi;
hо - высота в мм образца грунта с природной влажностью при природном давлении, принимаемая равной:

, (9)
где hн - начальная высота образца (высота рабочего кольца компрессионного прибора), мм;

- сжатие образца грунта, мм, с природной влажностью при природном (бытовом) давлении, определяемое интерполяцией величин

.
2.26. Результаты вычисления относительного сжатия используются для построения графиков зависимости

(
рис. 1,
2,
3) с выделением на них просадочных деформаций.
Масштаб для графиков принимается: для давления
p (по горизонтали) 0,1 МПа - 40 мм; для относительного сжатия

(по вертикали вниз) 0,01 - 10 или 20 мм в зависимости от максимальных величин деформаций.
Примечания: 1. Допускается при вычислениях

вместо
hо принимать
hн.
2. При измерениях деформаций образца двумя или несколькими индикаторами деформации вычисляются как средние из результатов измерений.
3. По специальному заданию могут быть вычислены величины относительного сжатия на каждой ступени нагрузки в различные моменты времени и построены соответствующие графики изменения относительного сжатия во времени

. Примеры таких графиков и приемы их обработки приведены в
приложении 2.
2.27. В результате испытаний просадочных грунтов методом "одной кривой" (см.
пп. 2.2 и
2.16) определяются: относительное сжатие грунта с природной влажностью при различных давлениях, коэффициент сжимаемости (уплотнения) грунта с природной влажностью в 1/МПа и соответствующий модуль деформации
Eке по компрессионным испытаниям в МПа, относительная просадочность

при заданном давлении
pi.
Коэффициент сжимаемости a вычисляется по формуле

, (10)
где

,

- изменение соответственно коэффициента пористости и относительного сжатия в пределах выбираемого прямолинейного участка графика зависимости относительного сжатия от давления

;

- интервал давления в МПа, на котором вычисляется значение
a, принимаемый равным не менее 0,1 МПа;
eн - коэффициент пористости грунта природного сложения до начала испытаний, если относительное сжатие

вычисляется по отношению к
hн, или коэффициент пористости грунта с природной влажностью при природном давлении, если

вычисляется по отношению к
hо (см.
пп. 2.25,
2.26).
Примечание. Значения относительного сжатия и относительной просадочности вычисляются с точностью до 0,001, значения модуля деформации - с точностью до 0,1 МПа.
2.28. Модуль деформации по компрессионным испытаниям
Eк вычисляется по формуле

, (11)
где

- безразмерный коэффициент, зависящий от коэффициента бокового расширения грунта и принимаемый равным 0,74 для лессовидных супесей, 0,63 - для лессовидных суглинков и 0,4 - для лессовидных глин.
2.29. Относительная просадочность

при заданном давлении по испытанию методом "одной кривой" определяется как дополнительное относительное сжатие образца в результате замачивания по формуле

, (12)
где

- дополнительная деформация образца при замачивании (просадка) в мм, определяемая как разность между показаниями индикаторов в моменты условной стабилизации просадки и осадки образца при данном давлении
pi;
h - высота образца грунта с природной влажностью после сжатия при заданном давлении;
h' - высота образца после дополнительного сжатия (просадки) в результате замачивания;
На графике

величина относительной просадочности

характеризуется соответствующим вертикальным отрезком
(рис. 1).
2.30. По результатам испытаний просадочных грунтов методом "одной кривой" с длительным замачиванием (
пп. 2.2,
2.17) наряду с обработкой результатов согласно
пп. 2.25 -
2.29 строятся графики дополнительного относительного сжатия образца грунта во времени под воздействием замачивания

при заданном давлении
pi (рис. 4). На этом графике выделяются участки просадки грунта и послепросадочного уплотнения в соответствии с требованиями к условной стабилизации просадки
(п. 2.16) и послепросадочного уплотнения
(п. 2.17).
Относительная просадочность грунта по результатам испытаний на выделенном участке определяется по
формуле (12), а относительное послепросадочное уплотнение

по формуле

, (13)
где h" - высота образца грунта после длительного замачивания и стабилизации послепросадочного уплотнения;

- дополнительная деформация образца грунта в результате длительного замачивания.
Рис. 4. График изменения относительного сжатия грунта
в зависимости от времени при длительном замачивании
(по испытаниям методом "одной кривой")
Примечание. Масштаб для графиков зависимости

принимается: для относительного сжатия 0,01 - 10 или 20 мм, для времени 1 сутки - 5 или 10 мм.
2.31. По результатам испытаний просадочных грунтов методом "двух кривых" (см.
пп. 2.3,
2.18) определяются: относительное сжатие грунта с природной влажностью и в водонасыщенном состоянии при различных давлениях, коэффициенты сжимаемости грунта с природной влажностью
aе и в водонасыщенном состоянии
aв, соответствующие им модули деформации
Eке и
Eкв, коэффициент изменчивости сжимаемости

(см.
пп. 1.9,
2.34), относительная просадочность

при различных давлениях, начальное просадочное давление
pпр.
Значения коэффициентов сжимаемости
aе и
aв и модулей деформации
Eке и
Eкв определяются согласно указаниям
пп. 2.27,
2.28.
Значения относительной просадочности

при различных давлениях в заданном интервале их изменения определяются как разность соответствующих величин относительного сжатия образцов в водонасыщенном состоянии

и с природной влажностью

или разность ординат соответствующих кривых графика
рис. 2.
По полученным значениям

строится график зависимости относительной просадочности от давления

- кривая
3 на
рис. 2.
За величину начального просадочного давления принимается по графику

давление, при котором относительная просадочность

, составляет 0,01.
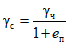
В случае набухания образца, замачиваемого до начала нагружения, определяется величина свободного относительного набухания

как отношение прироста высоты образца

к его начальной высоте
hн, т.е.

. (14)
Значение

откладывается на графике

вверх по оси ординат (см.
рис. 5).
2.32. Испытание просадочных грунтов методом "двух кривых" с замачиванием образцов на последней ступени нагрузки, как это рекомендуется в
п. 2.3, позволяет определить наряду с указанными в
п. 2.31 характеристиками относительную просадочность грунта при заданном конечном давлении (отрезок
4 на графике

,
рис. 2) аналогично определению ее методом "одной кривой" (см.
п. 2.29) и сопоставить величины относительной просадочности, получаемые методами "одной кривой" и "двух кривых" при данном давлении.
Если полученные для сопоставления значения относительной просадочности

не одинаковы, но отличаются друг от друга не более чем в 1,1 раза, то в качестве результата испытания, используемого при построении графика зависимости относительной просадочности от давления

, принимается среднее арифметическое значение из сравниваемых величин

.
В тех случаях, когда сопоставляемые значения

различаются более чем в два раза, испытание целесообразно повторить.
Если сопоставляемые значения

отличаются менее чем в два раза, но более чем в 1,1 раза, значения относительной просадочности при различных давлениях, полученные по испытаниям методом "двух кривых", умножаются на поправочный коэффициент
Kп, определяемый по формуле

, (15)
где

- величина относительной просадочности при замачивании образца на последней ступени нагрузки (при заданном конечном давлении);

- величина относительной просадочности при заданном конечном давлении, определенная как разность относительного сжатия образцов грунта в водонасыщенном состоянии и с природной влажностью.
2.33. По результатам испытаний просадочных грунтов "упрощенным" методом (см.
пп. 2.6,
2.19) определяется тот же комплекс характеристик, что и методом "двух кривых" (см.
п. 2.31).
Для определения указанных характеристик производится линейная экстраполяция двух участков графика

, характеризующих относительное сжатие образца при природной влажности и в водонасыщенном состоянии
(рис. 3), при этом первый участок графика продолжается в виде прямой линии в сторону увеличения давления, второй участок продолжается в сторону уменьшения давления до пересечения с первым участком.
Рис. 5. График зависимости относительного сжатия
просадочного грунта от давления по испытаниям методом
"двух кривых" в случае набухания грунта при замачивании
(до начала нагружения)
1 - относительное сжатие грунта с природной влажностью;
2 - относительное набухание и сжатие грунта в водонасыщенном
состоянии; 3 - относительная просадочность (разность ординат
кривых 2 и 1 после их пересечения); 4 - относительная
просадочность на последней ступени нагрузки;

- величина свободного относительного набухания
Дальнейшая обработка графика

и вычисление характеристик производится в соответствии с рекомендациями
п. 2.31.
2.34. Коэффициенты изменчивости сжимаемости просадочных грунтов определяются исходя из величин приращения относительного сжатия грунта с природной влажностью

и в водонасыщенном состоянии

в заданном интервале давления или соответствующих коэффициентов сжимаемости
aе и
aв, а также модулей деформации
Eке и
Eкв по формуле

, (16)
при этом пары значений

и

,
aв и
aе,
Eке и
Eкв должны вычисляться для одного и того же интервала изменения давления с конечным значением последнего, равным 0,2 - 0,3 МПа.
2.35. По результатам испытаний уплотненных лессовых грунтов методом "одной кривой" определяются: относительное сжатие грунта с природной влажностью при различных давлениях

, коэффициенты сжимаемости уплотненного грунта с природной влажностью
aеу и в водонасыщенном состоянии
aву и соответствующие им модули деформации
Eкеу и
Eкву, коэффициент изменчивости сжимаемости уплотненного грунта

при повышении его влажности и дополнительное относительное сжатие

уплотненного грунта в водонасыщенном состоянии.
Значение
aеу определяется по
формуле (10), а значение
aву по следующей формуле:

, (17)
где

- дополнительное относительное сжатие уплотненного грунта в водонасыщенном состоянии при конечном давлении.
2.36. Для определения начальной (критической) влажности
Wпр просадочных грунтов по результатам компрессионных испытаний образцов грунта с различной влажностью (см.
пп. 1.8,
2.5,
2.20) строятся соответствующие кривые

,
рис. 6а. На этом же графике проводится вспомогательная кривая, параллельная кривой относительного сжатия грунта с природной влажностью, соответствующая относительной просадочности (разности ординат обеих кривых)

.
По точкам пересечения этой кривой с кривыми относительного сжатия грунта при различной влажности определяются значения начальной влажности. Полученные величины начальной влажности. и соответствующих им давлений используются для построения графика зависимости начальной влажности от давления (рис. 6б). Ордината точки этого графика, соответствующая минимальному давлению, при котором проявляются просадочные свойства (в состоянии полного водонасыщения), представляет собой начальное просадочное давление. По результатам испытаний определяются также значения относительной просадочности грунта при различной конечной влажности

как разности ординат кривых

и кривой

грунта с природной влажностью. На основе этого могут быть построены графики зависимости относительной просадочности

от влажности при определенных давлениях, рис. 6в.
Рис. 6. График для определения начальной (критической)
влажности просадочного грунта
а - график зависимости относительного сжатия грунта
при различной влажности от давления; 1, 2, 3,
4 - относительное сжатие грунта при природной влажности,
полном водонасыщении и двух промежуточных значениях
влажности; 5 - вспомогательная кривая, соответствующая

;
б - график зависимости начальной (критической)
влажности от давления; в - график зависимости относительной
просадочности от влажности; 1, 2, 3, 4 - соответственно
при давлениях 0,15; 0,2; 0,25; 0,3 МПа
2.37. По результатам испытаний просадочных грунтов в компрессионном приборе оформляется паспорт испытаний (см.
приложение 7).
3. ОПРЕДЕЛЕНИЕ ПРОЧНОСТНЫХ ХАРАКТЕРИСТИК ПРОСАДОЧНЫХ ГРУНТОВ
3.1. Испытания просадочных и уплотненных грунтов на сдвиг в срезных приборах с целью определения прочностных характеристик грунта - угла внутреннего трения

и удельного сцепления
c заключаются в сдвиге одной части образца по другой его части при внешней нагрузке, нормальной к фиксированной плоскости сдвига.
Сдвиг производится в результате последовательного приложения к образцу горизонтальных сдвигающих (касательных) напряжений с определением сопротивления образца грунта сдвигу

.
Значение

вычисляется как наименьшее касательное напряжение

, (18)
при котором образец сдвигается по фиксированной плоскости при нормальном напряжении

, (19)
где N, Q - соответственно нормальная и касательная нагрузки к плоскости сдвига, ньютон (Н):
F - площадь сдвига, см2.
3.2. Для определения прочностных характеристик грунтов

и
c производятся сдвиги образцов не менее чем при трех различных значениях нормального напряжения

(см.
пп. 3.22,
3.25). При каждом значении нормального напряжения производится не менее двух параллельных испытаний.
Прочностные характеристики грунтов определяются графически или вычисляются (см.
пп. 3.30,
3.31) методом наименьших квадратов как параметры уравнения прямой, выражающей связь между

и


. (20)
Примечание. Для параллельных испытаний допускается использовать образцы грунта, вырезанные из различных монолитов, отобранных из одного и того же слоя грунта; образцы должны удовлетворять требованиям
п. 2.12.
3.3. В зависимости от задач по определению прочностных характеристик просадочных грунтов и условий их работы в основании фундаментов или в массиве грунта испытания на сдвиг в срезных приборах выполняются по одной из следующих трех схем:
1-я схема - медленного сдвига в условиях завершенной консолидации (с предварительным уплотнением образцов грунта) при природной или заданной влажности грунта.
2-я схема - медленного сдвига в условиях завершенной консолидации (с предварительным уплотнением образцов) при полном водонасыщении грунта;
3-я схема - быстрого сдвига в условиях незавершенной консолидации (без предварительного уплотнения образцов) при полном водонасыщении грунта.
Примечание. Испытания по всем схемам выполняются в условиях свободного оттока (дренирования) воды из образцов грунта.
3.4. Испытания просадочных грунтов по 1-й схеме соответствуют условиям его работы при отсутствии замачивания и просадки, позволяя получить прочностные характеристики для данных условий.
Прочностные характеристики, полученные по этой схеме, используются, в основном, для определения расчетных давлений на просадочные грунты, расчета оснований на устойчивость в случаях отсутствия замачивания грунта.
3.5. Испытания просадочных грунтов по 2-й схеме соответствуют условиям работы грунта после проявления просадок в результате его замачивания. Прочностные характеристики грунта, полученные по этой схеме испытания, используются для вычисления расчетных давлений на просадочные грунты для фундаментов зданий и сооружений, рассчитываемых на возможные величины просадок грунтов в основании.
3.6. Испытания просадочных грунтов по 3-й схеме соответствуют условиям работы грунтов в процессе их просадки.
Прочностные характеристики, полученные по этой схеме испытания, используются для расчетов фундаментов и массивов грунтов на устойчивость при возможном замачивании грунтов в процессе их просадки.
3.7. В связи с тем, что уплотнение просадочных грунтов производится (при их возможном замачивании), в основном, с целью устранения просадочных свойств, испытания уплотненных лессовых грунтов выполняются, как правило, по 2-й схеме - медленного сдвига при полном водонасыщении образцов.
3.8. Режим и длительность испытаний просадочных и уплотненных лессовых грунтов по схемам медленного сдвига устанавливаются в соответствии с ГОСТ 12248-66 "Грунты. Метод лабораторного определения сопротивления срезу песчаных и глинистых грунтов на срезных приборах в условиях завершенной консолидации" и с учетом рекомендаций
пп. 3.17 -
3.24.
При испытаниях по схемам медленного сдвига образцы выдерживаются под заданным вертикальным давлением предварительного уплотнения до условной стабилизации деформаций сжатия. В процессе испытаний сдвигающие усилия на предварительно уплотненные образцы передаются ступенями. При этом каждая новая ступень прикладывается после условной стабилизации деформаций сдвига от предыдущей ступени.
3.9. Испытания образцов просадочного грунта по схеме быстрого сдвига в условиях незавершенной консолидации производятся при полном водонасыщении образца путем передачи на него последовательно возрастающих сдвигающих усилий в течение короткого промежутка времени - 30 сек с момента приложения нормального напряжения до сдвига, не дожидаясь стабилизации деформаций уплотнения и сдвига.
Требования к срезным приборам и подготовке
образцов грунта для испытаний
3.10. Срезные приборы для испытаний на сдвиг просадочных и уплотненных лессовых грунтов должны отвечать всем требованиям, предъявляемым к приборам для испытаний обычных непросадочных грунтов.
Конструкция срезного прибора должна обеспечивать:
подачу воды к образцу и ее отвод;
центральное приложение и вертикальность передаваемой нормальной нагрузки на штамп;
приложение срезающей нагрузки в строго фиксированной плоскости среза;
возможность передачи нормальной и сдвигающей нагрузок ступенями по 0,025 - 0,05 МПа;
постоянство давления на грунт на каждой ступени нагрузки;
допустимость приложения нагрузок до 0,5 МПа;
возможность тарировки - установления величин поправок на преодоление трения подвижной и неподвижной обойм срезной коробки;
измерение деформаций сжатия и сдвига с точностью до 0,01 мм.
3.11. Для испытаний на сдвиг используются срезные приборы с рабочим кольцом площадью не менее 40 см2 (диаметром не менее 7,1 см) и высотой не более 1/2 и не менее 1/3 диаметра.
Срезные приборы состоят из следующих основных частей:
срезной коробки (срезывателя), состоящей из подвижной и неподвижной обойм;
разъемного рабочего кольца, в котором производится сдвиг образца грунта;
перфорированного штампа, служащего для передачи нормальных напряжений на образец;
механизма вертикальной нагрузки, создающего необходимые нормальные напряжения на образец;
механизма передачи сдвигающего усилия;
массивного основания для установки срезной коробки;
ванны для водонасыщения образца;
измерителей деформаций сжатия и сдвига образца (обычно индикаторы часового типа).
Примечание. Испытания однородных просадочных, а также уплотненных лессовых грунтов допускается производить в приборах с рабочим кольцом площадью не менее 25 см2 (диаметром не менее 5,6 см).
3.12. Предварительное уплотнение образцов для испытаний грунта по схеме медленного сдвига целесообразно выполнять в уплотнителе, позволяющем производить компрессионное уплотнение одновременно нескольких образцов грунта (обычно до 12) в условиях их полного водонасыщения, а также при сохранении природной или заданной влажности.
Уплотнитель по конструкции аналогичен компрессионному прибору и состоит из следующих основных частей:
рабочего кольца;
цилиндрической обоймы, в которую помещается рабочее кольцо;
перфорированного штампа;
механизма нагрузки (обычно рычажной системы с грузом);
ванны для водонасыщения образца;
стола и рамы для установки уплотнителей;
измерителей деформаций сжатия грунта.
Примечания: 1. При небольшом количестве испытаний предварительное уплотнение образцов производится непосредственно в срезном приборе.
2. Предварительное уплотнение и сдвиг образцов грунта должны выполняться в рабочих кольцах одинакового размера.
3.13. Для определения прочностных характеристик просадочных и уплотненных лессовых грунтов при испытаниях по схемам медленного сдвига рекомендуется использовать срезные приборы типа ГГП-30 (конструкции Маслова-Лурье в модернизации Гидропроекта), а при испытаниях по схеме быстрого сдвига - срезные приборы ВСВ-1 (конструкции Гидропроекта) в комплекте с прибором предварительного уплотнения ГГП-29. Все приборы снабжены одинаковыми рабочими кольцами.
3.14. Подготовка образцов просадочного грунта для испытаний в срезных приборах включает зарядку рабочего кольца испытываемым грунтом, определение физических характеристик грунта в соответствии с рекомендациями
п. 2.12.
Отбор образцов грунта для испытаний из монолитов производится аналогично отбору грунта в рабочее кольцо компрессионного прибора (см.
п. 2.11).
Примечание. До начала отбора образца должны быть определены с точностью до 0,1 мм высота и внутренний диаметр рабочей части кольца, ее масса с точностью до 0,01 г, подсчитаны площадь и объем с точностью соответственно 0,1 см2 и 0,1 см3.
3.15. При испытаниях по схеме быстрого сдвига подготовленный образец помещается в срезную коробку сдвигового прибора.
При установке образца в срезной прибор верхняя часть рабочего кольца, заполненная грунтом, закрепляется в верхней обойме срезной коробки, а в нижней обойме укладывается пористый вкладыш, фильтровальная бумага и нижняя часть рабочего кольца. Затем верхняя обойма ставится на нижнюю, образец покрывается фильтровальной бумагой, укладывается верхний перфорированный вкладыш и грунт продавливается до соприкосновения с нижним вкладышем.
После сборки срезной коробки на верхний вкладыш устанавливается штамп, производится необходимая регулировка механизмов нагрузки, устанавливается зазор величиной 0,5 - 1 мм между подвижной и неподвижной обоймами, устанавливаются индикаторы вертикальных деформаций и сдвига грунта. Начальные показания индикаторов записываются в рабочий журнал.
3.16. При испытаниях по схемам медленного сдвига образцы грунта помещаются в уплотнитель для предварительного уплотнения заданными давлениями. При этом верхняя часть рабочего кольца, заполненная грунтом, заключается в обойму уплотнителя, а затем собранная обойма устанавливается в ванну уплотнителя на перфорированный вкладыш, покрытый фильтровальной бумагой. Далее на образец кладется фильтровальная бумага, перфорированный штамп, производится регулировка механизма нагрузки, устанавливаются индикаторы вертикальных деформаций грунта. Начальные показания индикаторов записываются в рабочий журнал.
После завершения предварительного уплотнения образец грунта вынимается из уплотнителя и устанавливается в срезной прибор в соответствии с рекомендациями
п. 3.15.
3.17. Предварительное уплотнение образцов для испытаний просадочных грунтов по 1-й схеме (см.
п. 3.3) производится вертикальными давлениями 0,1; 0,2 и 0,3 МПа.
При низком значении природной влажности
Wе <
Wр предварительное уплотнение производится при влажности на границе раскатывания
Wр. Влажность образцов до заданного значения повышается в рабочих кольцах сдвиговых приборов по способам, изложенным в
пп. 2.20,
2.21.
3.18. Предварительное уплотнение образцов для испытаний просадочных грунтов, а также уплотненных лессовых грунтов по 2-й схеме производится вертикальным давлением, равным 0,3 МПа, в условиях полного водонасыщения образцов.
Для этого ванна уплотнителя заполняется водой до уровня верха образца. Замачивание производится без предотвращения возможного набухания образца (без применения арретира). Замачивание должно начинаться соответственно не позднее чем за 6 ч для лессов и 12 ч для лессовидных суглинков до передачи первой ступени нагрузки предварительного уплотнения, а замачивание образцов уплотненного лессового грунта - за 24 ч.
Примечание. При необходимости использования результатов предварительного уплотнения просадочных грунтов для определения их деформационных характеристик (относительной просадочности и др.) допускается порядок замачивания и загружения образцов грунта принимать в соответствии с принятой методикой определения деформационных характеристик в компрессионных приборах.
3.19. При предварительном уплотнении нагрузка на образец передается последовательно ступенями, соответствующими приращению давления

. Каждая ступень нагрузки выдерживается не менее 30 мин, а последняя ступень - до условной стабилизации осадки (деформации сжатия) образца. За условную стабилизацию принимается увеличение осадки, не превышающее 0,01 мм за 3 ч. Величина ступени нагрузки в течение всего времени ее действия выдерживается постоянной.
В процессе предварительного уплотнения, а также в период от начала замачивания до передачи первой ступени нагрузки производится регистрация вертикальных деформаций образцов грунта по индикаторам. Показания индикаторов записываются в рабочий журнал. Отсчеты по индикаторам на промежуточных ступенях нагрузки берутся в конце каждой ступени, а на последней ступени нагрузки - через 30 мин в течение первого часа после передачи ступени, далее через каждый час до конца рабочего дня, а в последующие дни - через каждые 3 ч до достижения условной стабилизации деформации.
Отсчеты по индикаторам в период от начала замачивания образцов до передачи первой ступени (для измерения возможных деформаций набухания) производятся через 15 мин в течение первого часа после замачивания, второго часа - через 30 мин, затем через каждый час до конца рабочего дня, а в последующие дни через каждые 3 ч.
Примечание. При передаче нагрузок предварительного уплотнения на образцы с помощью рычажной системы груз, соответствующий той или иной ступени нагрузки, укладывается без толчков на подвеску рычага. Величина груза определяется по
формуле (5).
3.20. Коэффициент пористости eп образца после условной стабилизации деформаций сжатия грунта от заданного давления предварительного уплотнения вычисляется по формуле

, (21)
а объемная масса скелета грунта

по формуле

, (22)
где eо - коэффициент пористости образца грунта до передачи давления;

- относительное сжатие образца в результате уплотнения, равное отношению приращения деформаций

к начальной высоте
h.
3.21. После предварительного уплотнения образцы грунта быстро разгружаются и переносятся в срезную коробку сдвигового прибора.
В случаях предварительного уплотнения грунта в условиях водонасыщения перед разгрузкой образца удаляется вода из ванны уплотнителя, и после переноса образца в срезную коробку заполняется водой ванна сдвигового прибора.
3.22. При испытаниях предварительно уплотненных образцов грунтов по схемам медленного сдвига на образцы передаются заданные нормальные напряжения

, величины которых в каждом цикле испытаний для определения прочностных характеристик

и
c рекомендуется принимать равными 0,1; 0,2 и 0,3 МПа.
Нормальное напряжение передается ступенями по 0,05 МПа. Каждая ступень выдерживается по 5 мин, а последняя - 30 мин с измерением деформаций сжатия образца в конце действия ступеней.
После передачи заданного нормального напряжения

удаляется крепление подвижной и неподвижной обойм и образцу грунта сообщается сдвигающее напряжение

.
3.23. Перед передачей первой ступени сдвигающего напряжения устанавливается индикатор, измеряющий деформации сдвига

, отмечается его начальное показание и далее присоединяется к срезной коробке механизм сдвигающей нагрузки. Величина ступеней сдвигающего напряжения принимается равной 5% значения нормального напряжения

, при котором производится сдвиг.
Показания индикатора, измеряющего

, снимаются через каждые 1 - 2 мин с момента приложения каждой ступени до условной стабилизации деформаций. За условную стабилизацию принимается скорость деформации, не превышающая 0,01 мм/мин.
Примечание. Допускается принимать величину первой ступени сдвигающего напряжения более 5% значения нормального напряжения, но не более 25% величины сдвигающего напряжения, при котором по предположению будет достигнут сдвиг образца.
3.24. В испытаниях по схемам медленного сдвига для определения сопротивления образца грунта сдвигу по данным условно стабилизированных значений деформаций сдвига

, достигнутых на различных ступенях сдвигающего напряжения в процессе проведения опыта, строится график зависимости

(рис. 7), вычитая из каждого значения

поправку на трение в приборе. За сопротивление образца грунта сдвигу

принимается максимальное значение сдвигающего напряжения

на отрезке

, не превышающем 5 мм. Если сдвигающее напряжение

возрастает монотонно, то за сопротивление образца грунта сдвигу

принимается

при

.
Рис. 7. График зависимости условно стабилизированных
значений деформаций сдвига

от сдвигающих напряжений
3.25. При испытаниях просадочных лессовых грунтов по 3-й схеме - быстрого сдвига (см.
пп. 3.9,
3.15) сдвиг образцов грунта производится в условиях полного водонасыщения. Для этого ванна срезной коробки заполняется водой до уровня верха образца. Замачивание образцов производится без применения арретира и должно начинаться не позднее чем за 6 ч при испытаниях лессов и 12 ч - при испытаниях лессовидных суглинков до приложения нормального напряжения и производства сдвига.
В процессе испытаний на образец передается заданное нормальное напряжение

, величину которого в каждом цикле испытаний для определения прочностных характеристик

и
c рекомендуется принимать равным 0,1; 0,2 и 0,3 МПа.
3.26. Нормальные напряжения на образец грунта при испытаниях по 3-й схеме на приборе ВСВ-1 передаются винтовым устройством. Винт вращается до тех пор, пока показание индикатора при сжатии динамометра ДС-1 не будет равно показанию, соответствующему заданной ступени нагрузки и определяемому по тарировочной таблице динамометра. Во избежание ослабления сдвигающего и нормального усилий в результате деформаций образца необходимо в процессе опыта приводить динамометры к заданным показаниям, подкручивая соответствующие винты.
3.27. Передача сдвигающего напряжения на образец винтовым устройством производится в такой последовательности:
вращением специального винта включается тормоз индикатора сжатия динамометра, измеряющего сдвигающее усилие;
снимается индикатор, регистрирующий деформации сдвига;
вращением винта, создающего вертикальную нагрузку, на грунт передается заданное нормальное напряжение;
непосредственно после приложения нормального напряжения путем равномерного быстрого вращения винта, создающего горизонтальную нагрузку, производится сдвиг в течение 30 сек.
Значение сдвигающего усилия, соответствующего максимальному показанию индикатора динамометра, находится по тарировочной таблице.
За сопротивление образца грунта сдвигу принимается достигнутое максимальное значение сдвигающего напряжения

(в момент, когда оно перестает увеличиваться при непрекращающейся деформации сдвига).
3.28. После окончания испытаний образец разгружается, рабочее кольцо с образцом извлекается из прибора, определяется влажность грунта после испытаний.
Обработка результатов испытаний
3.29. Исходным документом при обработке результатов испытаний на сдвиг является "Журнал испытаний посадочного грунта в срезном приборе" (
приложение 5,
6). В случае испытаний по 1 и 2-й схемам - медленного сдвига - используется также график зависимости стабилизированных значений деформаций сдвига

от сдвигающих напряжений
(рис. 7).
Условные обозначения
- опыт 1;
- опыт 2;
- опыт 3
Рис. 8. График зависимости сопротивления грунта сдвигу

от нормального напряжения

По данным журнала, вычерчивается в прямоугольных координатах график зависимости сопротивления грунта сдвигу от нормального напряжения

,
рис. 8. На графике величины

и

откладываются соответственно по осям абсцисс и ординат в масштабе: 0,1 МПа равен 40 или 20 мм. Число точек на графике для каждого заданного значения должно соответствовать числу параллельных определений

. Через полученные точки проводится прямая линия, занимающая среднее положение между всеми точками.
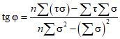
3.30. Прочностные характеристики - угол внутреннего трения

, град., и удельное сцепление
c, МПа, определяются приближенно по графику зависимости
(рис. 8) и уточняются по формулам, характеризующим эту зависимость как прямолинейную на основе способа наименьших квадратов.
При использовании графика величина удельного сцепления
c испытываемого грунта определяется как отрезок, отсекаемый прямой

на оси ординат. Тангенс угла наклона этой прямой к оси абсцисс есть тангенс угла внутреннего трения

или коэффициент трения, исходя из значения которого находится величина

.
3.31. Величины
c и

рассчитываются по формулам:

; (23)

, (24)
где
n - количество определений

при различных значениях

в данном цикле испытаний;

,

- суммы величин сопротивлений грунта сдвигу и нормальных напряжений при
n-м количестве определения

;

- сумма произведений величин сопротивлений сдвигу на соответствующие нормальные напряжения;

- сумма квадратов величин нормальных напряжений;

- квадрат суммы величин нормальных напряжений.
3.32. По результатам испытаний просадочных лессовых грунтов в срезном приборе оформляют паспорт испытаний (см.
приложение 8).
СООТНОШЕНИЕ МЕЖДУ НЕКОТОРЫМИ ЕДИНИЦАМИ ФИЗИЧЕСКИХ ВЕЛИЧИН,
ПОДЛЕЖАЩИМИ ИЗЪЯТИЮ, И ЕДИНИЦАМИ СИ
Наименование величины | Единица | Соотношение единиц |
СИ | подлежащая изъятию |
наименование | обозначение | наименование | обозначение |
Нагрузка | | ньютон | Н | килограмм-сила | кгс | 1 кгс ~= 9,8 Н ~= 10 Н |
Давление Модуль деформации Начальное просадочное давление Нормальное напряжение Касательное напряжение Удельное сцепление | | паскаль | Па | килограмм-сила на квадратный сантиметр | кгс/см2 | 1 кгс/см2 ~= 9,8 x 104 Па ~= 105 Па ~= 0,1 МПа, где МПа - мегапаскаль, равный 106 Па |
Плотность (удельный вес) Объемная масса (объемный вес) Объемная масса скелета (объемный вес скелета) | | килограмм на куб. метр (или тонна на куб. метр, или грамм на куб. сантиметр) | кг/м3 (или т/м3, или г/см3) | - | - | - |
Примечание. В скобках указаны "старые" названия величин.
РЕКОМЕНДАЦИИ ПО ОБРАБОТКЕ ДАННЫХ О РАЗВИТИИ
ДЕФОРМАЦИЙ ПРОСАДОЧНЫХ ГРУНТОВ ВО ВРЕМЕНИ
ПРИ ИСПЫТАНИЯХ В КОМПРЕССИОННОМ ПРИБОРЕ
1. По специальному заданию, исходя из результатов измерения деформаций просадочных грунтов в компрессионных приборах, могут быть вычислены величины относительного сжатия образцов

для каждой ступени нагрузки в различные моменты времени.
Значения

вычисляются в соответствии с рекомендациями
пп. 2.25 и
2.26 и служат для построения графиков изменения относительного сжатия в зависимости от времени

, рис. 9. Масштаб для графиков принимается: для времени
t - 1 ч наблюдений равен 5 или 10 мм; для относительного сжатия

- величина 0,01 равна 10 или 20 мм в зависимости от максимальных величин деформаций.
Рис. 9. Графики изменения относительного сжатия
просадочного грунта в зависимости от времени
(по испытаниям способом "двух кривых")
1, 2, 3, 4 - относительное сжатие грунта с природной
влажностью при давлении 0,05; 0,1; 0,15; 0,2 МПа;
5 - дополнительное относительное сжатие грунта
в результате замачивания (просадка) при давлении 0,2 МПа;
I - относительное набухание грунта при замачивании
без нагрузки; II, III, IV, V - относительное сжатие грунта
в водонасыщенном состоянии при давлениях
0,05; 0,1; 0,15; 0,2 МПа
2. В случае прекращения испытаний по способу "одной кривой" до наступления условной стабилизации просадочных деформаций (см.
примечание к п. 2.16) величина относительной просадочности, соответствующая условной стабилизации (0,01 мм за 3 ч), определяется экстраполяцией по формуле

, (25)
где

;

;

;

;
hо - высота образца (в мм) грунта с природной влажностью при природном давлении;

,

- значения относительной просадочности в результате замачивания через

и

часов после начала просадки.
Примечания: 1. Значения

,

и

,

для расчетов

по
формуле (25) принимаются на участке графика

, характеризуемом значительным уменьшением скорости просадочной деформации, но не ранее чем через 2 ч после начала просадки. Интервал между

и

должен составлять не менее 1 ч.
2.
Формула (25) получена исходя из аппроксимации зависимости "просадка-время" уравнением типа гиперболы

, (26)
где
a,
b - эмпирические коэффициенты, определяемые по опытным значениям

и

в заданные моменты времени

и

после начала просадки при принятом критерии условной стабилизации просадки (0,01 мм за 3 ч или скорость 0,003 мм/ч).
РЕКОМЕНДАЦИИ ПО ПРИГОТОВЛЕНИЮ ОБРАЗЦОВ
УПЛОТНЕННОГО ЛЕССОВОГО ГРУНТА
1. Образцы уплотненных лессовых грунтов (с заданными влажностью и объемной массой скелета) для определения их деформационных и прочностных характеристик приготовляются из исследуемого грунта нарушенной структуры.
Исследуемый грунт в воздушно-сухом состоянии растирается пестиком с резиновым наконечником до исчезновения комков крупнее 3 мм. Затем определяется влажность грунта по ГОСТ 5179-64.
Для повышения влажности грунта до заданного значения производится разбрызгивание расчетного объема воды в грунт при помощи пульверизатора. Расчетный объем воды определяется в см3 по формуле

, (27)
где mг.с - масса увлажняемого воздушно-сухого грунта, г;
Wз - заданная влажность в долях единицы;
Wс - влажность воздушно-сухого грунта в долях единицы;

- плотность воды, равная 1 г/см
3.
Рис. 10. Пресс ПМГ с пресс-формой конструкции Гидропроекта
а - в собранном виде; б - в разобранном виде
После увлажнения грунт тщательно перемешивается и для равномерного распределения влаги помещается в эксикатор, где выдерживается не менее 4 - 6 ч, затем производится контрольное определение влажности грунта.
2. Уплотнение подготовленного согласно
п. 1 грунта до заданной объемной массы скелета осуществляется либо обжатием образцов под прессом, либо в приборе стандартного уплотнения (падающим грузом).
Полученные значения объемной массы скелета уплотненных грунтов в рабочем кольце компрессионного или срезного прибора не должны отличаться от заданных более чем на 0,02 г/см3.
3. Уплотнение лессового грунта обжатием под прессом производится в рабочем кольце компрессионного или срезного прибора, помещаемом в специальную пресс-форму. В рабочее кольцо, заключенное в пресс-форму, укладывается расчетное количество грунта, которое в объеме рабочего кольца обеспечивает заданную объемную массу скелета. После этого производится кратковременное (в течение 1 - 2 мин) обжатие грунта под прессом.
Необходимая масса грунта рассчитывается по формуле

, (28)
где

- заданная объемная масса скелета грунта, г/см
3;
W - влажность грунта в долях единицы;
Vк - объем кольца, см3.
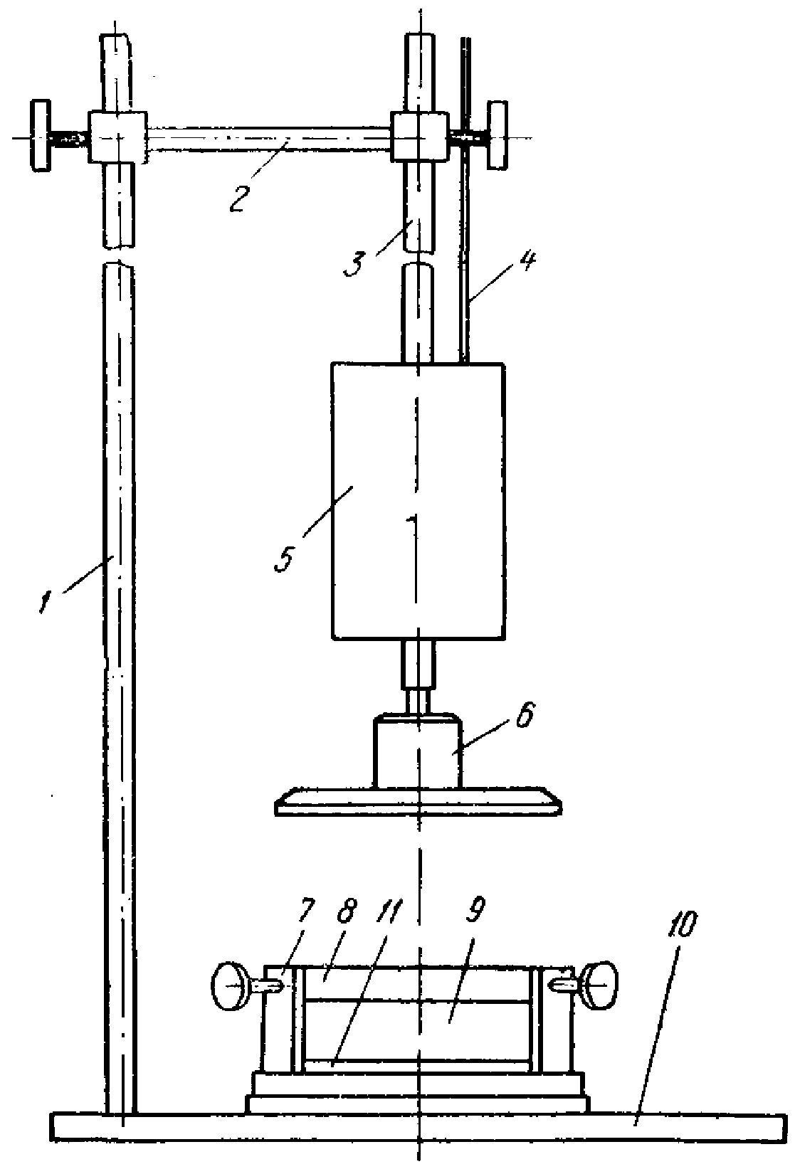
Рис. 11. Схема прибора для уплотнения лессовых грунтов
4. Для уплотнения лессового грунта обжатием под прессом рекомендуется использовать пресс ПМГ с пресс-формой конструкции Гидропроекта (см.
рис. 10). Пресс-форма состоит из нижней обоймы с резьбой и стопорным винтом, верхней обоймы и двух штампов - нижнего и верхнего.
При уплотнении грунта в пресс-форме рабочее кольцо помещается в нижнюю обойму, которая затем соединяется (на резьбе) с верхней обоймой, "одевается" на нижний штамп и застопоривается винтом. В рабочее кольцо, находящееся в обоймах, укладывается расчетная масса грунта, подготовленного согласно указаниям
п. 1, затем на грунт устанавливается верхний штамп и пресс-форма помещается под пресс.
Обжатие грунта производится при ослабленном стопорном винте до тех пор, пока оба штампа не войдут в соответствующие обоймы.
После уплотнения пресс-форма разбирается, извлекается рабочее кольцо с грунтом и производится его контрольное взвешивание.
5. Для приготовления образцов уплотненного лессового грунта рекомендуется использовать прибор стандартного уплотнения
(рис. 11), состоящий из:
цилиндра для уплотнения, включающего основание 7, рабочее кольцо 9 от компрессионного или срезного прибора, верхнее 8 и нижнее 11 съемные кольца;
подставки 10, представляющей собой деревянный щит с металлическим листом;
ударного устройства, включающего стойку 1, направляющую штангу 3, груз 5, фиксатор 2 высоты сбрасывания груза, штамп 6 на шарнирной подвеске и шнур 4 для подъема груза.
Подготовленный согласно
п. 1 грунт помещается в цилиндр для уплотнения. Высота сбрасывания груза и число ударов подбирается последовательным приближением для получения требуемой объемной массы скелета грунта.
После окончания уплотнения цилиндр для уплотнения разбирается, снимаются верхнее и нижнее кольца, затем грунт с верхней и нижней части рабочего кольца подрезается плоским ножом и кольцо с грунтом взвешивается.
ЖУРНАЛ ИСПЫТАНИЙ ПРОСАДОЧНОГО ГРУНТА
В КОМПРЕССИОННОМ ПРИБОРЕ
Организация _______________________
Лаборатория _______________________
Адрес _____________________________
Географический пункт, объект, здание, сооружение __________________________
___________________________________________________________________________
Шурф (скважина) N ____________. Глубина и дата отбора образца ____________.
Наименование грунта. ________________________________.
Лабораторный N испытаний _____________. Краткие сведения о компрессионном
приборе (N, тип, механизм передачи нагрузки) ______________________________
__________________________________________________________________________.
Условия проведения испытаний (метод и пр.)
__________________________________________________________________________.
Данные о рабочем кольце компрессионного прибора:
масса кольца

__________; высота

___________; внутренний диаметр

__________; объем

__________; передаточное число системы рычагов
компрессионного прибора ___________________________.
Даты производства испытаний:
начало ____________________ окончание ____________________
Определение физических характеристик грунта
Показатели | До испытаний | После испытаний |
Масса кольца с грунтом mкг, г | | |
Масса кольца mк, г | | |
Объем кольца Vк, см3 | | |
Объемная масса грунта  , г/см 3; | | |
Плотность грунта  , г/см 3 | | |
Масса бюксы с влажным грунтом m1 | | |
Масса бюксы с сухим грунтом m2 | | |
Масса пустой бюксы m3 | | |
Влажность (в долях единицы) | | |
Объемная масса скелета грунта, г/см3 | | |
Коэффициент пористости  | | |
Степень влажности  | | |
Влажность на границе раскатывания Wр | | - |
Влажность на границе текучести Wт | | - |
Число пластичности Wп = Wт - Wр | | - |
Результаты испытаний
Лабораторный N испытания | Дата | Время | Вес груза на подвеске рычага, Н | Давление на образец, МПа | Поправка на деформацию прибора, мм | Показания индикаторов, измеряющих вертикальные деформации образца | Деформация образца, мм | Относительное сжатие (набухание) образца | Сведения о замачивании образца |
N 1 | N 2 | среднее показание |
| | | | | | | | | | | |
Исполнитель ______________________________
(фамилия, и., о., подпись)
Журнал проверен "__" ___________ 19__ г.
___________________________________________________________________________
(должность, фамилия, и., о., подпись)
ЖУРНАЛ ИСПЫТАНИЙ ПРОСАДОЧНОГО ГРУНТА В СРЕЗНОМ ПРИБОРЕ
ПО СХЕМАМ МЕДЛЕННОГО СДВИГА
Организация _______________________
Лаборатория _______________________
Адрес _____________________________
Географический пункт, объект, здание (сооружение) _________________________
___________________________________________________________________________
Шурф (скважина) N _____________. Глубина и дата отбора образца.
___________________________________________________________________________
Наименование грунта ________________________________.
Лабораторный N испытаний ______________. Краткие сведения о срезном приборе
(N, тип, механизм передачи нагрузки) _____________________________________.
Условия проведения испытаний (схема испытаний и пр.) ______________________
__________________________________________________________________________.
Данные о рабочем кольце (его части, в которую отбирается грунт срезного
прибора:
масса кольца

___________; высота

__________; внутренний диаметр

________; объем

________; площадь сдвига
s = __________________
Передаточное число системы рычагов срезного прибора ______________________.
Передаточное число системы рычагов прибора предварительного уплотнения
___________.
Даты производства испытаний:
начало ____________________; окончание ____________________
Определение физических характеристик грунта
Показатели | До испытаний | После предварительного уплотнения | После сдвига |
в природном состоянии | в заданном состоянии |
Масса кольца с грунтом mкг, г | | | | |
Масса кольца mк, г | | | | |
Объем кольца Vк, см3 | | | | |
Объемная масса грунта  , г/см 3 | | | | |
Плотность грунта  , г/см 3 | | | | |
Масса бюксы с влажным грунтом m1 | | | | |
Масса бюксы с сухим грунтом m2 | | | | |
Масса пустой бюксы m3 | | | | |
Влажность (в долях единицы) | | | | |
Объемная масса скелета грунта  , г/см 3 | | | | |
Коэффициент пористости | | | | |
Степень влажности | | | | |
Влажность на границе раскатывания Wр | | | | |
Влажность на границе текучести Wт | | | | |
Число пластичности Wп = Wт - Wр | | | | |
а) Результаты предварительного уплотнения
Лабораторный N испытания | Дата | Время | Вес груза на подвеске рычага, Н | Давление на образец, МПа | Показания индикаторов, измеряющих вертикальные деформации образца | Деформация образца, мм | Относительное сжатие (набухание) образца | Сведения о замачивании образца |
N 1 | N 2 | среднее показание |
| | | | | | | | | | |
б) Результаты сдвигов
Лабораторный N испытания | Дата | Время | Давление предварительного уплотнения, МПа | Нормальное напряжение при сдвиге  , МПа | Сдвигающее напряжение  , МПа | Показания индикатора, измеряющего горизонтальные деформации | Деформация сдвига  , мм | Сопротивление грунта сдвигу  , МПа |
| | | | | | | | |
Исполнитель _______________________________________________________________
(должность, фамилия, и., о., подпись)
Журнал проверен "__" __________ 19__ г.
___________________________________________________________________________
(должность, фамилия, и., о., подпись)
ЖУРНАЛ ИСПЫТАНИЙ ПРОСАДОЧНОГО ГРУНТА В СРЕЗНОМ ПРИБОРЕ
ПО СХЕМЕ БЫСТРОГО СДВИГА
Организация ___________________
Лаборатория ___________________
Адрес _________________________
Географический пункт, объект, здание (сооружение)
__________________________________________________________________________.
Шурф (скважина) N ________. Глубина и дата отбора образца _____________
__________________________________________________________________________.
Наименование грунта __________________________________________________.
Лабораторный N испытаний _________________. Краткие сведения о срезном
приборе (N, тип, механизм
передачи нагрузки) ______.
__________________________
Условия проведения испытаний (схема, режим и пр.)
__________________________________________________________________________.
Данные о рабочем кольце (его части, в которую отбирается грунт)
срезного прибора:
масса кольца

__________; высота

___________; внутренний диаметр

_________; объем

__________; площадь сдвига
S = ______________.
Даты производства испытаний:
начало ____________________; окончание ____________________.
Определение физических характеристик грунта
Показатели | До испытаний | После испытаний |
в природном состоянии | в заданном состоянии |
Масса кольца с грунтом mкг | | | |
Масса кольца mк, г | | | |
Объем кольца Vк, см3 | | | |
Плотность грунта  , г/см 3 | | | |
Объемная масса грунта, г/см3 | | | |
Масса бюксы с влажным грунтом m1 | | | |
Масса бюксы с сухим грунтом m2 | | | |
Масса пустой бюксы m3 | | | |
Влажность (в долях единицы) | | | |
Объемная масса скелета грунта, г/см3 | | | |
Коэффициент пористости | | | |
Степень влажности | | | |
Влажность на границе раскатывания Wр | | | |
Влажность на границе текучести Wт | | | |
Число пластичности Wп = Wт - Wр | | | |
Результаты сдвигов
Лабораторный N испытания | Дата | Время | Нормальное напряжение при сдвиге  , МПа | Максимальное (в процессе испытания) показание индикатора динамометра, измеряющего сдвигающие напряжения, мм | Максимальное значение сдвигающего напряжения (сопротивление грунта сдвигу)  , МПа |
| | | | | |
Исполнитель _______________________________________________________________
(должность, фамилия, и., о., подпись)
Журнал проверен "__" __________ 19__ г.
___________________________________________________________________________
(должность, фамилия, и., о., подпись)
ПАСПОРТ ИСПЫТАНИЙ ПРОСАДОЧНОГО ГРУНТА
В КОМПРЕССИОННОМ ПРИБОРЕ
Организация _____________________________
Лаборатория _____________________________
Адрес ___________________________________
Географический пункт, объект, здание (сооружение) ________________________.
Шурф (скважина) N ____________. Глубина и дата отбора образца ____________.
Наименование грунта (по номенклатуре СНиП) _______________________________.
Лабораторный N испытаний ______. Компрессионный прибор N _____, тип ______.
Условия проведения испытаний (метод и прочее) ____________________________.
Начальная высота образца

______ мм; диаметр образца

_______ мм.
Физические характеристики грунта | | Результаты испытаний |
Характеристики грунта | До испытаний | После испытаний | Давление p, МПа | Грунт | Относительная просадочность  |
с природной влажностью | в водонасыщенном состоянии |
Объемная масса  , г/см 3 | | | Деформация образца  , мм | Относительное сжатие (набухание) образца  |
 , мм | |
Влажность W, доли единицы | | |
Объемная масса скелета  , г/см 3 | | |
Коэффициент пористости eн | | |
Плотность  , г/см 3 | | | | | | | | |
Степень влажности G | | |
Влажность на границе раскатывания Wр | | |
Влажность на границе текучести Wт | | |
Число пластичности Wп | | |
График зависимости относительного сжатия грунта от давления | |
| Коэффициент сжимаемости  ____ 1/МПа в интервале давления _______________ МПа. |
Компрессионный модуль деформации  ____ МПа в интервале давления ____ МПа. |
Начальное просадочное давление pпр ____________ МПа. |
Опыт провел _______________________________________________________________
(фамилия, и., о., подпись)
Проверил __________________________________________________________________
(должность, фамилия, и., о., подпись)
Зав. лабораторией _________________________________________________________
(фамилия, и., о., подпись)
Дата производства испытаний:
начало ___________________; окончание ___________________.
ПАСПОРТ ИСПЫТАНИЙ ПРОСАДОЧНОГО ГРУНТА В СРЕЗНОМ ПРИБОРЕ
Организация ________________
Лаборатория ________________
Адрес ______________________
Географический пункт, объект, здание (сооружение) ____________________.
Шурф (скважина) N _________. Глубина и дата отбора образца ___________.
Наименование грунта __________________________________________________.
Лабораторный N испытаний ____________________________. Краткие сведения
о срезном приборе ____________________________________________.
(N, тип, механизм передачи нагрузки)
Условия проведения испытаний (схема и пр.) ___________________________.
Высота образца

_______ см; площадь сдвига
S = ______ см2.
Физические характеристики грунта | | Результаты испытаний |
Характеристики | До испытаний | После предварительного уплотнения | После сдвига | | Давление предварительного уплотнения p, МПа | Нормальное напряжение при сдвиге  , МПа | Сопротивление грунта сдвигу  , МПа |
в природном состоянии | в заданном состоянии |
Объемная масса  , г/см 3 | | | | | | | | |
Влажность W, доли единицы | | | | |
Объемная масса скелета  , г/см 3 | | | | | |
Коэффициент пористости eн | | | | |
Степень влажности G | | | | |
Влажность на границе раскатывания Wр | | | | | | Прочностные характеристики: удельное сцепление c = ____________ МПа; коэффициент внутреннего трения  __________; угол внутреннего трения  _________. |
Влажность на границе текучести Wт | | | | |
Число пластичности Wп | | | | |
Плотность  , г/см 3 | | | | |
График зависимости сопротивления грунта сдвигу от нормального напряжения | |
| Опыт провел ______________________________ (фамилия, и., о., подпись) |
Проверил ______________________________ (фамилия, и., о., подпись) |
Зав. лабораторией __________________________ (фамилия, и., о., подпись) |
Даты производства испытаний: начало __________; окончание __________. |
УДК 624. 131.37:(624.131.438+624.131.54) |