Главная // Актуальные документы // Журнал (форма)СПРАВКА
Источник публикации
М.: ПЭМ ВНИИИС Госстроя СССР, 1988
Примечание к документу
Название документа
"Рекомендации по проектированию и устройству буронабивных свай, изготавливаемых с применением многосекционного вибросердечника"
"Рекомендации по проектированию и устройству буронабивных свай, изготавливаемых с применением многосекционного вибросердечника"
ПО ПРОЕКТИРОВАНИЮ И УСТРОЙСТВУ БУРОНАБИВНЫХ СВАЙ,
ИЗГОТАВЛИВАЕМЫХ С ПРИМЕНЕНИЕМ МНОГОСЕКЦИОННОГО
ВИБРОСЕРДЕЧНИКА
Настоящие Рекомендации разработаны впервые и содержат основные положения по проектированию и устройству буронабивных полых свай.
Изготовление полых свай с применением вибросердечника позволяет по сравнению с буронабивными сваями сплошного сечения до 40% сократить расход бетона, повысить качество и несущую способность свай.
Рекомендации разработаны ВНИИ гидромеханизации, санитарно-технических и специальных строительных работ (канд. техн. наук В.И. Берман, инж. И.В. Михайленко), НИИ оснований и подземных сооружений им. Н.М. Герсеванова (кандидат техн. наук Б.В. Бахолдин), при участии треста "Укрбурвод" (С.С. Шевандин, Г.Д. Шпигель, Р.А. Ярощук), под редакцией канд. техн. наук В.И. Бермана.
Рекомендации одобрены секциями Научно-технических советов ВНИИГС и НИИОСП.
Замечания и предложения по содержанию рекомендаций просьба направлять по адресу: 252680, Киев-148, ул. Семьи Сосниных, 7-а, Киевский отдел ВНИИГС или 109389, Москва, 2-я Институтская, 6, НИИОСП.
1.1. Настоящие Рекомендации распространяются на проектирование и устройство в устойчивых грунтах, способных удерживать стенки скважин от обрушения, набивных полых свай. Разработаны в развитие главы
СНиП 2.02.03-85 "Свайные фундаменты. Нормы проектирования" и СНиП 3.02.01-83 "Основания и фундаменты",
СНиП 2.03.01-84 "Бетонные и железобетонные конструкции",
СНиП III-15-76 "Бетонные и железобетонные конструкции монолитные. Правила производства и приемки работ".
1.2. Буронабивные полые сваи предназначены для значительного снижения материалоемкости и увеличения несущей способности по сравнению с набивными сваями сплошного поперечного сечения. Набивные полые сваи позволяют сблизить несущую способность сваи по материалу и по грунту основания. Их применение наиболее эффективно при действии горизонтальных или выдергивающих нагрузок.
1.3. Изготовление буронабивных полых свай выполняют с помощью навесного оборудования - многосекционного вибросердечника, базовой машиной для которого служит подъемный кран грузоподъемностью не менее 25 т, а также специального бункера-центратора.
1.4. Для изготовления свай с помощью вибросердечника применяют малоподвижные бетонные смеси с осадкой конуса 1 - 3 см на щебне фракцией не более 20 мм.
1.5. Формование буронабивных полых свай производят непосредственно в скважине дифференцированным виброуплотнением бетонной смеси.
2. ОСОБЕННОСТИ КОНСТРУИРОВАНИЯ БУРОНАБИВНЫХ ПОЛЫХ СВАЙ
И СВАЙНЫХ ФУНДАМЕНТОВ
2.1. Диаметр буронабивных полых свай следует принимать равным не менее 600 мм. Наибольшая длина полости равна длине рабочей части вибросердечника.
Примечание: Длину рабочей части вибросердечника принимают на 0,6 м меньше длины образующей его корпуса, что обусловлено центрированием вибросердечника в верхней части.
2.2. Пята и голова сваи должны иметь сплошное поперечное сечение на высоту не менее 0,5 м - для свай диаметром до 0,8 м и на высоту, равную 0,7 диаметра сваи, при диаметре сваи более 0,8 м (рис. 1 а).
Рис. 1. Типы набивных полых свай:
1 - малоподвижная бетонная смесь; 2 - литая бетонная смесь
или малоподвижная бетонная смесь, уплотненная
глубинными вибраторами
2.3. Толщина стенок ствола набивных полых свай должна быть не менее 120 мм - для свай диаметром до 700 мм, 150 мм - для свай диаметром до 1 м и 200 мм - для свай диаметром более 1 м.
2.4. При превышении длины сваи более чем на 1,5 м длины полости часть ствола сваи сплошного поперечного сечения, расположенного на 1,5 м ниже основания полости, должна быть выполнена из бетонной смеси в соответствии с рис. 1 в.
2.5. Для буронабивных полых свай, изготавливаемых из малоподвижной бетонной смеси с уширенной пятой диаметром до 1,6 м отметка нижнего торца полости не должна быть ниже отметки начала уширения (
рис. 1 б). При диаметре уширения более 1,6 м оно должно быть заполнено бетоном литой консистенции или малоподвижной бетонной смесью, уплотненной глубинными вибраторами, а ствол изготавливают из малоподвижной бетонной смеси, при этом нижний торец полости должен быть на 1,5 м выше начала уширения. Устройство уширения для набивных полых свай в песчаных грунтах следует выполнять в соответствии с
рис. 1 г.
2.6. Нижний конец свай без уширений необходимо заглублять в несущий слой не менее чем на 1 м, а с уширениями - не менее чем на диаметр уширенной пяты.
2.7. Армирование набивных полых свай выполняют по расчету и назначают конструктивно. Конструктивное армирование в однородных устойчивых грунтах допускается выполнять только в верхней части висячих свай на глубину, равную трем диаметрам свай.
2.8. Набивные полые сваи армируют сварными пространственными каркасами. Продольная рабочая арматура должна быть равномерно распределена по длине окружности. Количество стержней должно быть не менее 6, а диаметр не менее 14 мм. Расстояние между продольными стержнями должно быть не менее 40 см. Продольные стержни следует преимущественно применять из арматуры класса АIII. Допускается также их применение из арматуры класса АII и АI.
2.9. Арматурные каркасы должны иметь фиксирующие элементы, обеспечивающие требуемую толщину защитного слоя бетона как с наружной, так и с внутренней стороны
(рис. 2).
Рис. 2. Фрагмент арматурного каркаса набивной полой сваи:
1 - рабочая арматура; 2 - поперечная арматура;
3 - фиксаторы переменной ширины; 4 - фиксаторы постоянной
ширины; 5 - контур вибросердечника
Фиксирующие элементы приваривают к рабочим стержням арматуры не менее трех в одном уровне под углом 120° в плане с шагом 2 м по высоте.
Фиксирующие элементы должны иметь плавное очертание. Их следует выполнять из арматуры

.
Фиксирующие элементы, обеспечивающие наружный защитный слой бетона, имеют постоянную ширину, а внутренние - переменную, в зависимости от их расположения по высоте и от угла наклона образующей поверхности вибросердечника.
2.10. Толщина защитного слоя бетона с наружной стороны должна быть не менее 70 мм, а с внутренней стороны - не менее 30 мм.
2.11. При наличии монолитного ростверка, высота которого не менее высоты верхнего торца набивной полой сваи, принимаемого в соответствии с
п. 2.2, ствол сваи может быть предусмотрен лишь до уровня бетонной подготовки под ростверк, а арматура выступать над поверхностью бетонной подготовки на величину, достаточную для ее анкерования в ростверке. При этом полость сваи должна быть перекрыта в соответствии с требованиями, изложенными в п. 2.13.
2.12. При целесообразности изготовления головы сваи одновременно с изготовлением ствола полость сваи должна быть перекрыта в соответствии с п. 2.13. Голова сваи должна быть из бетона литой консистенции требуемой марки и иметь высоту в соответствии с требованиями, изложенными в
п. 2.2.
2.13. Полость сваи должна быть перекрыта арматурной сеткой с ячейкой 50 мм, привариваемой в двух диаметрально противоположных точках к рабочей арматуре. Арматурная сетка должна быть накрыта рубероидом, диаметр которого на 20 мм превышает диаметр полости в уровне перекрытия.
3. РАСЧЕТ НАБИВНЫХ ПОЛЫХ СВАЙ
3.1. Несущую способность набивных полых свай следует принимать по наименьшему из двух значений, полученных при расчете:
а) по сопротивлению материала ствола в соответствии с требованиями главы
СНиП 2.03.01-84 "Бетонные и железобетонные конструкции" и пп. 3.2 -
3.6;
б) по сопротивлению грунта основания сваи в соответствии с требованиями главы
СНиП 2.02.03-85 "Свайные фундаменты" и
п. 3.7. Контрольные статические испытания свай, как правило, обязательны.
3.2. Расчетную продольную нагрузку N, допускаемую на буронабивные полые сваи по сопротивлению материала неармированного ствола, следует определять из условия

, (3.1)
где

- коэффициент, учитывающий особенности способа изготовления набивных полых свай, принимаемый равным 0,9;

- коэффициент условия работы бетона, учитывающий длительность действия нагрузки, бетонирование в вертикальном положении, толщину стенки ствола и отсутствие армирования, принимаемый равным 0,585;

- расчетное сопротивление бетона, МПа, принимаемое по
табл. 13 главы СНиП 2.03.01-84;
A - площадь всего бетона поперечного сечения ствола сваи, см2;

- коэффициент, учитывающий случайный эксцентриситет продольного усилия, принимаемый равным 0,933.
3.3. Расчетную продольную нагрузку, допускаемую на набивные полые сваи:
- по сопротивлению материала армированного ствола следует определять из условия

, (3.2)
при этом величину относительной площади сжатой зоны бетона следует определять по формуле

, (3.3)
где

- случайный эксцентриситет приложения продольной силы, принимаемый равным

, м;
d - диаметр ствола сваи, см;

- полусумма внутреннего и наружного радиусов, см;

- радиус окружности, проходящей через центры тяжести стержней арматуры, см;

- сечения всей продольной арматуры, см2;

- коэффициент, определяемый по формуле

, (3.4)
здесь

принимается равным

, (3.5)

,

- расчетное сопротивление арматуры соответственно сжатию и растяжению, МПа, принимаемое по
табл. 22 главы СНиП 2.03.01-84;

- расстояние от равнодействующей в арматуре, растянутой до центра тяжести сечения, определяемое по формуле

, (3.6)
но принимаемое не более

.
Примечание. Несущая способность буронабивных полых свай диаметром 700, 800 и 1000 мм, определенная в соответствии с
пп. 3.2 и
3.3, в зависимости от класса бетона по прочности и класса арматуры, а также от процента армирования приведена в
Приложении 1.
3.4. Расчет набивных полых свай как изгибаемых элементов должен производиться по
формуле (3.2), в которую вместо

подставляют значение изгибающего момента

. При этом в
формуле (3.3) принимают N = 0.

, (3.7)
3.5. Расчет буронабивных полых свай по сопротивлению материала ствола на выдергивающую нагрузку следует выполнять в соответствии с указаниями
п. 3.26 главы СНиП 2.03.01-84.
3.6. Методика расчета, изложенная в
пп. 3.2,
3.3 и 3.5, на отдельно стоящие сваи-опоры не распространяется.
3.7. Расчетную осевую сжимающую нагрузку, допускаемую на набивные полые сваи с уширенной пятой и без уширения по несущей способности грунтов основания P, кН, следует определять по формуле

, (3.8)
где

- расчетная несущая способность грунта основания одиночной сваи, воспринимающей осевую сжимающую нагрузку, кН;

- коэффициент надежности, принимаемый равным

, если несущая способность сваи определена расчетом, и

, если несущая способность сваи определена по результатам полевых испытаний статической нагрузкой;

- коэффициент условий работы, принимаемый в случае опирания ее на лессовые или лессовидные грунты равным 0,8, в остальных случаях

;

- коэффициент условий работы грунта под нижним концом сваи, принимаемый равным 1;
R - расчетное сопротивление грунта под нижним концом сваи, кПа, принимаемое согласно требованиям
п. 4.7 главы СНиП 2.02.03-85;
A - площадь опирания набивной сваи, м2, принимаемая равной для свай без уширения - площади поперечного сечения сваи, а для свай с уширением - площади поперечного сечения уширения в месте наибольшего его диаметра;
u - периметр ствола сваи, м, принимаемый по диаметру скважины;

- коэффициент условий работы грунта по боковой поверхности набивных полых свай, принимаемый в песках, супесях и суглинках равным 0,8, а в глинах - 0,7;

- расчетное сопротивление i-го слоя грунта на боковой поверхности ствола набивных полых свай, кПа, принимаемое по
табл. 2 главы СНиП 2.02.03-85;

- толщина i-го слоя грунта, м, соприкасающегося с боковой поверхностью.
Примечание. Несущую способность сваи, нижняя часть которой в соответствии с
п. 2.7 выполнена из бетона литой консистенции и имеет сплошное поперечное сечение, а верхняя - из малоподвижной бетонной смеси с помощью вибросердечника и имеет кольцевое поперечное сечение, рассчитывают как сумму несущей способности верхней части, определенной по
формуле (3.8), и нижней части, определенной в соответствии с указаниями главы
СНиП 2.02.03-85. При этом отметку низа верхней части и верха нижней части принимают на 1 м выше проектной.
3.8. Расчет буронабивных полых свай, работающих на выдергивающую нагрузку, по несущей способности грунтов основания следует определять в соответствии с указаниями
п. 4.9 главы СНиП 2.02.03-85.
3.9. Расчет буронабивных полых свай диаметром 800 мм на совместное действие вертикальных и горизонтальных нагрузок и моментов по несущей способности грунтов основания следует определять в соответствии с указаниями
приложения 1 главы СНиП 2.02.03-85.
4. ТЕХНОЛОГИЯ ИЗГОТОВЛЕНИЯ НАБИВНЫХ ПОЛЫХ СВАЙ
4.1. Устройство набивных полых свай, ведение технической документации и контроль за качеством работ следует выполнять в соответствии с требованиями главы СНиП 3.02.01-83 "Основания и фундаменты", проекта организации работ и настоящих Рекомендаций.
4.2. Проект организации работ должен содержать:
указания по выполнению подготовительных работ;
технологическую схему производства работ;
указания по проверке и эксплуатации оборудования;
схему движения механизмов;
последовательность изготовления скважин и набивных полых свай;
требования, предъявляемые к бетонной смеси;
особенности устройства и ухода за набивными полыми сваями в зимнее время;
методы контроля качества изготовления свай.
4.3. Подготовительные работы должны включать планировку стройплощадки, разбивку и закрепление осей сооружения и свай, пробное бурение скважины, проверку работы вибросердечника.
В процессе бурения пробной скважины устанавливают соответствие грунтовых напластований проектному, дается оценка устойчивости стенок скважины.
4.4. Основным специализированным технологическим оборудованием для производства набивных полых свай является вибросердечник, представляющий собой снаряд из трубчатых секций, опирающихся друг на друга через упругие прокладки.
Принципиальная схема конического многосекционного вибросердечника ВС-530, его конструктивные особенности и техническая характеристика приведены в
Приложении 2.
Перед началом производства работ выполняют сборку вибросердечника из такого количества секций, чтобы его рабочая длина была не меньше длины проектной полости. Длина вибросердечника может превышать длину проектной полости не более чем на величину длины секции.
Базовая машина для работы с вибросердечником назначается в зависимости от условий его монтажа и усилий при извлечении.
После сборки вибросердечника гнезда под головки болтов, установленных впотай, заполняют канатной смазкой густой консистенции. Поверхность вибросердечника должна быть гладкой, очищенной от грунта и бетона. Выступы между стыковочными элементами и секциями не должны превышать 2 мм.
При предварительной проверке горизонтально расположенного вибросердечника поочередно включают каждый вибратор на 10 с, а затем включают все вибраторы, которые должны нормально работать в течение 2 мин. Затем вибросердечник устанавливают в вертикальное положение и эти операции повторяют. При изготовлении свай ежедневно перед началом работ следует производить контрольное включение каждого вибратора на 10 с.
4.5. Изготовлять набивные полые сваи следует в соответствии с технологической схемой, представленной на рис. 3.
Рис. 3. Технология изготовления набивных полых свай
I - бурение скважины; II - установка
бункера-центратора; III - установка арматурного каркаса;
IV - бетонирование нижней части сваи; V - установка
вибросердечника и виброуплотнение нижней части сваи;
VI - бетонирование ствола сваи и его виброуплотнение;
VII - извлечение вибросердечника;
VIII - формование головы сваи
1 - подъемный кран, 2 - буровая установка,
3 - буровой кондуктор, 4 - бункер-центратор, 5 - выдвижной
шток бункера-центратора, 6 - арматурный каркас,
7 - центрирующая скоба арматурного каркаса, 8 - бадья
для бетона, 9 - бетонная смесь, 10 - вибросердечник,
11 - ствол сваи, 12 - арматурная сетка головы сваи,
13 - рубероид
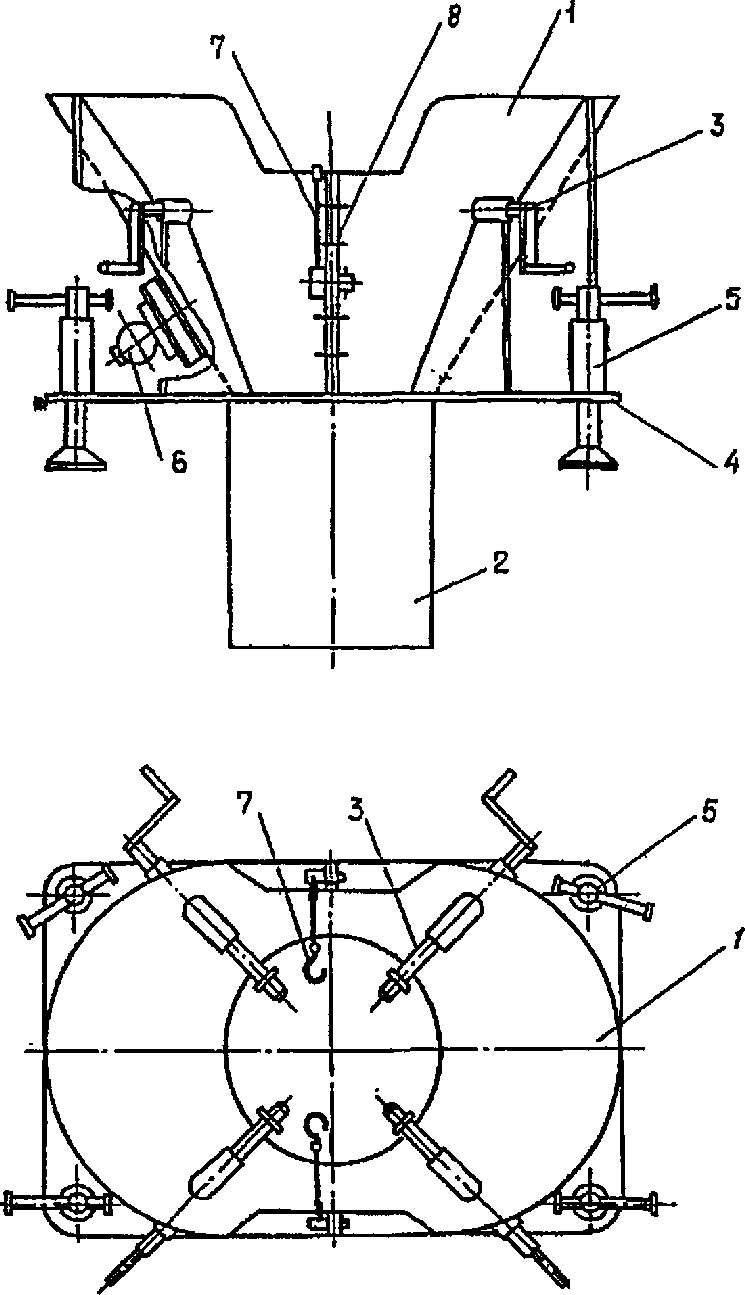
4.6. Бункер-центратор следует устанавливать на выровненной поверхности после бурения скважины и ее зачистки непосредственно перед устройством сваи.
Бункер-центратор обеспечивает соосность вибросердечника и скважины и является приемной емкостью для бетона.
Бункер-центратор должен быть установлен так, чтобы обсадной патрубок его опорной плиты соосно вошел в скважину. Для этого винтовыми домкратами бункера-центратора приводят опорную плиту в горизонтальное положение.
4.7. Арматурный каркас следует устанавливать до монтажа бункера-центратора, если армирование сваи выполняют на всю длину.
Арматурный каркас следует устанавливать после монтажа бункера-центратора при армировании сваи только в пределах верхней части. В этом случае арматурный каркас фиксируют двумя диаметрально противоположно расположенными оттяжками, которые крепят к бункеру.
4.8. Бетонирование сваи в пределах нижней части следует выполнять прямым сбросом бетонной смеси. Уровень бетонной смеси следует доводить до такой отметки, чтобы после ее виброуплотнения расстояние от нижнего торца погруженного вибросердечника до пяты сваи соответствовало требованиям, изложенным в
п. 2.2. Погружение вибросердечника в бетонную смесь нижней части определяют на основании пробного погружения. Эта величина, как правило, составляет около 1 м.
4.9. Центрирование вибросердечника производят до виброуплотнения бетонной смеси пяты с помощью выдвижных штоков бункера-центратора. Отклонение вибросердечника от оси скважины не должно при этом превышать 1 см.
4.10. Грузоподъемный механизм не должен ограничивать погружение вибросердечника в бетонную смесь при ее уплотнении.
4.11. Виброуплотнение бетонной смеси пяты следует выполнять при включенных вибраторах трех нижних секций.
Виброуплотнение пяты следует прекратить, если расстояние от нижнего торца вибросердечника до пяты сваи составляет менее 1,2 высоты пяты, предусмотренной
п. 2.2, или если скорость погружения вибросердечника после 6 мин уплотнения составляет менее 2 см/мин, или если время уплотнения превышает 8 мин.
4.12. После завершения уплотнения пяты при погружении вибросердечника более чем на 0,5 м его следует извлечь на 10 - 15 см и опустить.
4.13. Укладку бетонной смеси ствола следует выполнять при включенных вибраторах бункера-центратора и всех секций вибросердечника. Бетонную смесь в пределах каждой секции следует уплотнять в течение 5 - 9 мин, а в пределах верхней секции это время может быть увеличено.
Признаком завершения уплотнения бетонной смеси в пределах верхней секции служит появление на поверхности цементного молока, пузырьков воздуха и прекращение оседания бетонной смеси.
4.14. Перерыв в бетонировании набивных полых свай не допускается. Работа с вибросердечником при выходе из строя двух вибраторов одной и той же секции не допускается. При перерыве в бетонировании или выходе из строя двух вибраторов одной и той же секции вибросердечник следует извлечь и ствол заполнить бетоном литой консистенции.
4.15. Непрерывная работа каждого вибратора вибросердечника не должна превышать 9 мин, после чего необходим одноминутный перерыв. Перерыв в работе каждого вибратора следует выполнять поочередно, без остановки работы вибросердечника в целом.
4.16. Непосредственно после завершения виброуплотнения бетонной смеси следует освободить вибросердечник от контакта с выдвижными штоками бункера-центратора, включить все вибраторы и извлечь вибросердечник. При извлечении вибросердечника на 0,5 м все вибраторы следует отключить.
4.17. В конце рабочего дня для освобождения от цементного молока вибросердечник следует установить в вертикальное положение и включить на 2 мин все вибраторы, после чего очистить поверхность вибросердечника и промыть ее водой.
4.18. Демонтаж бункера-центратора следует выполнять непосредственно после извлечения вибросердечника.
4.19. Бетон верхней части свежеотформованной сваи следует удалить до проектной отметки, но не менее 5 см.
4.20. При бетонировании головы сваи одновременно с ростверком отметка торца сваи должна превышать отметку поверхности около свайного грунта на 10 см.
4.21. Непосредственно после оформления верхнего торца сваи его следует перекрыть арматурной сеткой, которую приваривают не менее чем в двух диаметрально противоположных точках к рабочей арматуре каркаса. Сверху арматурной сетки должен быть уложен круг рубероида, чтобы полость сваи была полностью перекрыта.
4.22. При бетонировании головы набивной полой сваи до устройства ростверка следует применять инвентарную разъемную опалубку, диаметр которой на 20 мм превышает диаметр сваи. Голову сваи сплошного поперечного сечения следует изготавливать из бетонной смеси литой консистенции с уплотнением.
4.23. При бетонировании свай в зимних условиях, т.е. при среднесуточной температуре наружного воздуха ниже плюс 5 °C и минимальной суточной температуре ниже 0 °C, необходимо предусмотреть мероприятия, обеспечивающие прочность бетона к моменту возможного замерзания не менее 40% от проектной прочности при сжатии.
Бетонную смесь следует подавать в бункер-центратор подогретой до температуры плюс 10 °C. При температуре воздуха ниже минус 25 °C устраивать набивные полые сваи запрещается.
4.24. В зимних условиях устройство головы сваи следует выполнять непосредственно после извлечения вибросердечника.
Обеспечение температурного режима выдерживания бетона следует осуществлять методом термоса в сочетании с введением в состав бетонной смеси противоморозных добавок. При этом поверхность грунта вокруг сваи в радиусе, равном диаметру сваи, должна быть очищена от снега и льда и покрыта теплоизоляционным материалом с коэффициентом общей теплопередачи не более 2 ккал/м2 x ч x град.
4.25. При изготовлении в зимних условиях набивной полой сваи, голову которой бетонируют совместно с ростверком, обеспечение температурного режима выдерживания бетона ствола следует осуществлять методом электротермической обработки - электродным подогревом. Для этого следует применять устройство для электропрогрева бетона полых тонкостенных конструкций, схема которого дана в
Приложении 4.
Разогрев бетона должен начинаться при его температуре не ниже плюс 2 °C.
Устройство для электропрогрева следует устанавливать в полости ствола непосредственно после его изготовления. После коммутации устройства для электропрогрева с источником тока и проверки его работы следует выполнить теплоизоляцию верхнего торца сваи.
4.26. При периферийном прогреве с двухсторонним расположением электродов по внешнему периметру сваи должны быть установлены (забиты) стержневые электроды из круглой стали диаметром 0,6 см, объединенные общим проводником, подключающим к одной из фаз. Вторую фазу в этом случае следует подключить к полосовым электродам устройства для электропрогрева.
4.27. При периферийном прогреве с односторонним расположением электродов подключение фаз к полосовым электродам устройства для электропрогрева следует чередовать.
4.28. Скорость подъема температуры при прогреве бетона не должна превышать 10 °C в час, а скорость остывания бетона - 5 °C в час. Наивысшая температура бетона не должна превышать 40 °C. Общее время подогрева, прогрева и остывания бетона составляет около 24 часов. Расчет параметров электротермической обработки бетонной смеси следует выполнять в соответствии с указаниями главы 7 "Руководства по производству бетонных работ" (М.: Стройиздат, 1975).
4.29. Для установки термометров в верхнем торце набивной полой сваи следует выполнить углубления.
4.30. Снятие утеплителя с прогреваемой сваи производить при остывании бетона до температуры не более плюс 3 °C. Если при этом температура воздуха ниже минус 20 °C, сваи должны немедленно быть укрыты брезентом или другим материалом.
4.31. При электропрогреве бетона работы, перечисленные в
п. 4.21, должны быть выполнены непосредственно после извлечения устройства для электропрогрева бетона.
5. КОНТРОЛЬ КАЧЕСТВА И ПРИЕМКА РАБОТ
5.1. Контроль качества набивных полых свай надо производить пооперационно в процессе их изготовления и после его завершения.
Контролю подлежат: геометрические параметры скважины и сваи, качество бетонной смеси и сваи, соблюдение технологии изготовления набивных полых свай.
В процессе производства работ по устройству набивных полых свай должен вестись
журнал их изготовления (Приложение 5).
5.2. Подвижность бетонной смеси необходимо контролировать с помощью стандартного конуса для каждой набивной полой сваи. Отклонение величины осадки конуса бетонной смеси от проектной не допускается.
5.3. Крупность щебня бетонной смеси для изготовления набивных полых свай не должна превышать 20 мм.
5.4. Прочность бетона необходимо проверять по контрольным образцам, отбираемым в количестве 3 шт. на каждые 25 м3 уложенной бетонной смеси.
5.5. Отметка высоты бетонной смеси, укладываемой до установки вибросердечника в нижнюю часть сваи, должна превышать проектную отметку нижнего торца полости сваи на 1 - 1,5 м.
Если экспериментально установлена глубина погружения вибросердечника в бетонную смесь, то высоту первоначально укладываемой порции принимают с ее учетом. При этом после уплотнения бетонной смеси ствола расстояние от нижнего торца вибросердечника до пяты сваи должно соответствовать требованиям, изложенным в
п. 2.2. Глубина погружения вибросердечника фиксируется по его перемещению относительно бункера-центратора.
5.6. Ширина фиксирующих элементов, расположенных внутри арматурного каркаса, не должна превышать проектную величину. При толщине внутреннего защитного слоя бетона 40 мм и более ширина фиксирующих элементов, расположенных внутри арматурного каркаса, может быть меньше проектной на величину до 10 мм.
5.7. Виброуплотнение бетонной смеси после ее полной укладки в пределах каждой секции должно выполняться в течение 5 - 9 мин, а в пределах верхней секции - до прекращения оседания бетонной смеси и появления на поверхности верхнего торца сваи цементного молока и пузырьков воздуха.
5.8. При извлечении вибросердечника и бункера-центратора их отклонение от оси сваи не должно превышать 10 мм.
5.9. Внутренняя поверхность ствола сваи перед перекрытием полости арматурной сеткой должна быть тщательно визуально осмотрена с помощью опускаемой в полость экранированной электролампы. При обнаружении обнаженной рабочей арматуры или раковин в бетоне площадью более 100 см2 при глубине более 10 мм ствол сваи должен быть заполнен бетонной смесью литой консистенции до отметки, превышающей на 0,5 м отметку верха обнаруженного дефекта.
5.10. При изготовлении набивных полых свай в зимних условиях нужно контролировать и фиксировать температуру бетона после формования сваи, в процессе подогрева бетона и его остывания.
5.11. После изготовления свай необходимо осуществлять контроль мероприятий по уходу за ними как за бетонными конструкциями.
5.12. Исполнение требований, изложенных в настоящем разделе, должно периодически контролироваться представителями авторского и технического надзора.
5.13. Сдача-приемка скрытых работ выполняется комиссией и оформляется актами. Приемка выполненных работ по изготовлению набивных полых свай должна производиться до устройства ростверков.
В приемо-сдаточном акте должны быть отражены все выявленные отступления от проекта и рекомендуемой технологии изготовления набивных полых свай, указаны способы и сроки их устранения, дана общая оценка качества работ.
6. ТЕХНИКА БЕЗОПАСНОСТИ ПРИ ВОЗВЕДЕНИИ НАБИВНЫХ ПОЛЫХ СВАЙ
6.1. При возведении набивных полых свай должны соблюдаться правила по технике безопасности для работы на буровых и электрических установках, грузоподъемных кранах и для строительных работ, предусмотренных нормативными документами.
6.2. К работе с вибросердечником, его проверке и ремонту допускаются только лица, получившие инструктаж по технике безопасности на рабочем месте с показом в конкретных обстоятельствах основных приемов, прошедшие обучение по специальной программе, утвержденной главным инженером строительной организации и имеющие соответствующее удостоверение.
6.3. При соединении секций вибросердечника или после его транспортирования на стройплощадку необходимо проверить надежность крепежных элементов, цельность конструктивных элементов, особенно на предмет выявления трещин, недопустимых при длительных вибрационных нагрузках, а также изолированность и надежность токопроводящих элементов и узлов.
Неисправности, обнаруженные в ходе сборки и поверки вибросердечника, должны быть ликвидированы до начала его эксплуатации.
Работать с вибросердечником, имеющим неисправности, запрещается.
6.4. Монтаж и демонтаж вибросердечника подъемными механизмами выполнять только с использованием петли верхней секции.
6.5. Лица, работающие с вибросердечником, должны иметь удостоверения такелажника.
6.6. Запрещается хранить вибросердечник без стопорных устройств на площадках, имеющих уклон.
6.7. При подъеме вибросердечника из горизонтального положения в вертикальное и опускании его из вертикального положения в горизонтальное запрещается нахождение людей в зоне возможного разворота или передвижения вибросердечника.
6.8. При вертикальном перемещении вибросердечника он должен удерживаться от раскачивания и произвольного разворота пеньковыми канатами.
6.9. При перемещении вибросердечника необходимо обеспечить свободное, без натяжения перемещение кабеля от пульта управления, оберегая его от контакта с другими предметами.
6.10. Категорически запрещается подключение вибраторов вибросердечника или отдельных секций к источнику тока без устройства их надежного заземления.
6.11. Запрещается оставлять без надзора вибросердечник с работающими вибраторами.
6.12. Работа с вибросердечником при ветре силой 5 баллов и более (10 м/с и более) запрещается.
6.13. Перед включением вибросердечника должен быть подан звуковой сигнал.
6.14. Во время работы вибросердечника запрещается прикасаться к его корпусу.
6.15. При замене (ревизии) вибраторов или других ремонтных работах необходимо обесточить вибросердечник.
6.16. При извлечении вибросердечника после формирования ствола набивной полой сваи необходимо наблюдать за показаниями динамометра растяжения, установленного между вибросердечником и крюком подъемного механизма, соблюдая предельную выдергивающую силу, предусмотренную программой производства работ.
6.17. При аварийном отключении электроэнергии и при превышении фактически измеренной выдергивающей силы допустимой величины извлекать вибросердечник необходимо с помощью системы домкратов.
6.18. Полость сваи непосредственно после ее изготовления должна быть перекрыта арматурной сеткой в соответствии с требованиями
пп. 2.13 и
4.21.
Допускается временно перекрывать полость двумя взаимно перпендикулярными стержнями диаметром не менее 20 мм, которые по всем концам должны быть приварены к рабочей продольной арматуре каркаса.
6.19. Нахождение в зоне устройства набивных полых свай баллонов с газом, вес которого тяжелее воздуха, не допускается.
НЕСУЩАЯ СПОСОБНОСТЬ НАБИВНЫХ ПОЛЫХ СВАЙ
ПО СОПРОТИВЛЕНИЮ МАТЕРИАЛА СТВОЛА, кН, ПРИ ОСЕВЫХ
ВДАВЛИВАЮЩИХ НАГРУЗКАХ СО СЛУЧАЙНЫМ ЭКСЦЕНТРИСИТЕТОМ
Класс бетона по прочности | Неармированный ствол | Арматура класса |
А-II | А-III |
Процент армирования |
0,55 | 1,0 | 1,5 | 2,0 | 2,5 | 0,55 | 1,0 | 1,5 | 2,0 |
Диаметр сваи 700 мм |
B-15 | 927 | 1304 | 1538 | 1827 | 2060 | 2327 | 1384 | 1684 | 2053 | 2355 |
B-20 | 1255 | 1661 | 1895 | 2183 | 2418 | 2679 | 1741 | 2041 | 2410 | 2711 |
B-25 | 1587 | 2025 | 2257 | 2547 | 2782 | 3047 | 2103 | 2404 | 2773 | 3075 |
Диаметр сваи 800 мм |
B-15 | 1303 | 1755 | 2147 | 2506 | 2880 | 3318 | 1890 | 2346 | 2805 | 3289 |
B-20 | 1758 | 2290 | 2646 | 3005 | 3382 | 3818 | 2390 | 2846 | 3306 | 3789 |
B-25 | 2224 | 2790 | 3156 | 3514 | 3892 | 4327 | 2900 | 3352 | 3816 | 4298 |
Диаметр сваи 1000 мм |
B-15 | 1704 | 2349 | 2910 | 3311 | 3765 | 4271 | 2484 | 3203 | 3728 | 4298 |
B-20 | 2299 | 3003 | 3565 | 3975 | 4419 | 4924 | 3137 | 3857 | 4383 | 4953 |
B-25 | 2909 | 3668 | 4231 | 4642 | 5081 | 5582 | 3803 | 4523 | 5049 | 5617 |
ТЕХНИЧЕСКАЯ ХАРАКТЕРИСТИКА КОНИЧЕСКОГО
МНОГОСЕКЦИОННОГО ВИБРОСЕРДЕЧНИКА ВС-530
Частота колебаний вибраторов, Гц (кол./мин) | 50 (30000) |
Вынуждающая сила одного вибратора, Н | 8000 |
Электродвигатель, встроенный в вибратор марки | |
ИВ-92-А: мощность, кВт | 0,6 |
напряжение, В | 36 |
частота тока, Гц | 50 |
количество, шт. | 10 |
Потребляемая мощность, кВт, не более | 6 |
Максимальное время беспрерывной работы вибросердечника, мин, не более | 10 |
Габаритные размеры вибросердечника, мм: | |
диаметр верхнего торца | 530 +/- 2 |
диаметр нижнего торца | 430 +/- 2 |
длина общая | 12742 +/- 20 |
длина рабочая | 11540 +/- 10 |
Удельная энергоемкость, кВт x ч/м3 бетона | 0,417 |
Производительность вибросердечника, м3 уплотненного бетона | |
за 1 час работы | 14,4 |
за 1 год | 1030,0 |
Расчетный срок службы вибросердечника, лет | 5 |
Уровень звукового давления, дБ, не более | 90 |
Схема конического многосекционного вибросердечника ВС-530
1 - секция вибросердечника; 2 - вибратор;
3 - опорная плита; 4 - кабель; 5 - противовакуумный клапан;
6 - крышка люка; 7 - фланец; 8 - резиновый амортизатор;
9 - оболочка секции; 10 - стяжной болт; 11 - защитный
кожух; 12 - пульт управления
Бункер-центратор
1 - корпус; 2 - патрубок; 3 - выдвижной шток; 4 - опорная
плита; 5 - винтовой домкрат; 6 - вибратор; 7 - подвеска
арматурного каркаса; 8 - фиксатор подвески
Устройство для электропрогрева бетона набивных полых свай
1 - контактная пластина; 2 - винтовой шток; 3 - толкатель;
4 - двухплечный рычаг; 5 - диэлектрическая прокладка;
6 - штурвал; 7 - опорная лапа
ФОРМА ЖУРНАЛА ПРОИЗВОДСТВА РАБОТ
ПО УСТРОЙСТВУ НАБИВНЫХ ПОЛЫХ СВАЙ
Наименование строительной организации _________________________
Объект ________________________________________________________
ЖУРНАЛ ИЗГОТОВЛЕНИЯ НАБИВНЫХ ПОЛЫХ СВАЙ
(с N ______ по N ______)
Начало: _________________ Окончание __________________
Тип бурового станка _________________________________
Тип уширителя _______________________________________
Тип вибросердечника _________________________________
NN свай | Дата, смена | Диаметр скважины, м | Абсолютная отметка поверхности грунта, м | Бурение ствола | Разбуривание уширения (число циклов и диаметр, м) | Наименование грунтов на уровне забоя | Длина арматурного каркаса, м | Бетон литой консистенции |
глубина, м | абсолютная отметка забоя скважины, м | Марка | Осадка конуса, см | Отметка верхнего уровня, м | Объем, м3 | Дополнительный объем, м3 |
1 | 2 | 3 | 4 | 5 | 6 | 7 | 8 | 9 | 10 | 11 | 12 | 13 | 14 |
Продолжение формы журнала
Бетон малоподвижной консистенции | Время работы вибросердечника, мин | Отметка нижнего торца полости сваи, м | Отметка уровня раковин ствола площадью более 100 см2 или обнажения арматуры, м | Мероприятия по ликвидации брака | Абсолютная отметка головы сваи, м | Исполнители (ф.и.о) (подписи) | Примечание |
Марка | Осадка конуса, см | Отметка уровня до установки вибросердечн., м | Объем, м3 | Общий расход бетона, м3 | при уплотнении пяты | при уплотнении ствола |
15 | 16 | 17 | 18 | 19 | 20 | 21 | 22 | 23 | 24 | 25 | 26 | 27 |