Главная // Актуальные документы // Ведомость (форма)СПРАВКА
Источник публикации
М.: Стройиздат, 1982
Примечание к документу
Название документа
"Руководство по организации строительного производства в условиях реконструкции промышленных предприятий, зданий и сооружений"
"Руководство по организации строительного производства в условиях реконструкции промышленных предприятий, зданий и сооружений"
ПО ОРГАНИЗАЦИИ СТРОИТЕЛЬНОГО ПРОИЗВОДСТВА В УСЛОВИЯХ
РЕКОНСТРУКЦИИ ПРОМЫШЛЕННЫХ ПРЕДПРИЯТИЙ, ЗДАНИЙ И СООРУЖЕНИЙ
Рекомендовано к изданию секцией организации строительного производства НТС ЦНИИОМТП.
Изложены основные особенности организации строительного производства в условиях реконструкции. Рассмотрены виды и разновидности реконструкции, влияющие на организацию работ, варианты ее проведения (без остановки производства, с частичной или полной остановкой), влияние стесненности на выполнение работ, проведение предпроектных обследований, выбор средств механизации, оценка эффективности различных вариантов, особенности выполнения основных видов работ.
Приведены рекомендации, связанные со спецификой организации реконструкции в различных отраслях промышленности, отражены особенности мероприятий по технике безопасности.
Для инженерно-технических работников строительных, проектных и научно-исследовательских организаций.
В Основных направлениях экономического и социального развития СССР на 1981 - 1985 годы и на период до 1990 года, принятых XXVI съездом КПСС, указано, что капитальные вложения в первую очередь следует направлять на реконструкцию и техническое перевооружение предприятий и на завершение ранее начатых строек. Сооружение новых и расширение действующих предприятий целесообразно начинать в том случае, если потребности народного хозяйства в данном виде продукции не могут быть обеспечены путем улучшения использования производственных мощностей с учетом их реконструкции и технического перевооружения.
Из этого следует, что в ближайшие пятилетия масштабы реконструкции промышленных предприятий будут возрастать с одновременным соответствующим уменьшением объемов нового строительства.
Организация работ при реконструкции предприятий имеет свою специфику. При проектировании организации реконструкции и в ходе ее проведения требуется учитывать большее многообразие факторов, чем при новом строительстве, наиболее важным из которых является увязка всей деятельности строительно-монтажных организаций с продолжением деятельности предприятия. В условиях реконструкции требуется выполнять специфические работы, многие из которых проводятся в стесненных условиях, ограничивающих использование распространенных средств механизации. При этом требуется обеспечить минимальную продолжительность остановки предприятия.
Данное руководство в нашей стране разработано впервые. В нем систематизированы материалы из периодических изданий и обобщен практический опыт последних лет.
Руководство разработано ЦНИИОМТП (канд. техн. наук В.П. Столяров, инженеры Л.М. Ремезов и П.А. Сигаев (ответственные исполнители) кандидаты техн. наук И.П. Балбачан, Б.В. Жадановский, В.Я. Гендин, Е.Д. Козлов, А.Г. Фуников, инженеры В.А. Алексеев, В.П. Володин, И.С. Санин, С.И. Ларичев, И.Б. Докутович) при участии:
НИИОУС при МИСИ им. В.В. Куйбышева (кандидаты техн. наук В.А. Большаков и Н.Н. Ишунин, канд. экон. наук Л.И. Колыбина, инженеры Ф.Ф. Джалилов и Б.И. Мудров);
институтов Минмонтажспецстроя СССР (инженеры А.Л. Зильберберг, К.В. Свирин, И.З. Новомирова, В.И. Бельский, В.П. Горбачев, П.С. Марченко, В.П. Туманова, Е.В. Грузинов, Б.Н. Коган, В.И. Кобцев, В.С. Нефедова, Б.В. Переметов, Д.Б. Магафуров, В.М. Михненко, З.А. Замураева);
ДИСИ (д-р техн. наук Б.В. Прыкин, канд. техн. наук А.М. Гиденко, инженеры В.А. Давыдов, В.И. Завгородний);
НИИСП Госстроя УССР (инженеры А.П. Недодатко, А.Н. Келюх, Ю.М. Чернов, Г.С. Фомина);
института Промстройпроект (Москва) (инженеры П.П. Криволапов, Б.Д. Гольдберг);
Челябинского политехнического института (кандидаты техн. наук Е.И. Казанцев, В.С. Силин, инж. Корнеев В.М.);
МИУ имени Серго Орджоникидзе (инж. А.В. Марченко);
института Гипростройдормаш (Ростов-на-Дону) (инж. Г.И. Штейнгардт).
Руководство разработано под общей редакцией канд. техн. наук В.П. Столярова и инж. Л.М. Ремезова.
Отзывы, предложения и рекомендации следует направлять по адресу: 127434, Москва, Дмитровское шоссе, 9, ЦНИИОМТП Госстроя СССР.
1. ОБЩИЕ ПОЛОЖЕНИЯ ПО ОРГАНИЗАЦИИ РЕКОНСТРУКЦИИ
ЦЕЛИ И ЗАДАЧИ, ВИДЫ И РАЗНОВИДНОСТИ РЕКОНСТРУКЦИИ
1.1. Общей задачей реконструкции является обновление производства с целью приведения его в соответствие с потребностями народного хозяйства, а также с уровнем научно-технического прогресса в данной области науки и техники.
1.2. При реконструкции предприятий должна быть достигнута одна или совокупность следующих целей:
увеличение производственной мощности (повышение пропускной способности, вместимости зданий и сооружений);
изменение вида выпускаемой продукции;
расширение номенклатуры выпускаемой продукции;
повышение качества продукции;
уменьшение затрат на выпуск продукции;
повышение производительности труда;
улучшение условий труда;
повышение пожаробезопасности;
выполнение повышающихся требований к охране окружающей среды.
Перечисленные цели могут быть достигнуты путем реконструкции или технического перевооружения предприятия. При этом техническое перевооружение представляет наиболее эффективный путь обновления производства.
1.3. По своему существу и в смысле организации техническое перевооружение может рассматриваться как разновидность реконструкции с относительно малым объемом строительно-монтажных работ в общем объеме капитальных вложений.
Организация технического перевооружения значительно проще организации реконструкции, в связи с чем этот круг вопросов в данном Руководстве рассматривается только в главах, отражающих монтаж оборудования.
1.4. Реконструкция часто сопровождается расширением предприятий - строительством новых цехов на действующих предприятиях или увеличением производственных площадей действующих цехов.
1.5. Для целей учета, планирования и финансирования имеет значение правильное наименование реконструируемых объектов. В наименованиях должен быть отражен характер работ (техническое перевооружение, реконструкция, расширение), их направленность (основное, не основное производство), масштаб работ (комбинат, завод или цех).
Примеры наименования объектов технического перевооружения и реконструкции приведены в
прил. 1.
1.6. Реконструкция предприятий разделяется на несколько видов по следующим признакам:
По величине коэффициента обновления производственных фондов Kо:
большая реконструкция ...

;
средняя .................

;
малая ...................

.
По характеру строительно-монтажных работ:
с изменением объемно-планировочных решений;
без изменения объемно-планировочных решений;
с заменой и усилением несущих конструкций;
без замены и усиления несущих конструкций;
с неограниченной возможностью применения средств механизации;
с ограниченной возможностью применения средств механизации;
с возможностью применения только средств малой механизации;
с значительными объемами ручных работ;
с большими объемами работ по разборке зданий, сооружений, конструкций;
с большим рассредоточением работ по территории предприятия.
По условиям стесненности выполнения работ:
не стесненные условия;
мало стесненные условия;
стесненные условия;
особо стесненные условия.
По конструктивным особенностям реконструируемых зданий:
с возможностью применения индустриальных конструкций;
без возможности применения индустриальных конструкций.
По соотношению объемов внутри- и внецеховых работ:
преобладание внутрицеховых работ;
преобладание внецеховых работ.
По ограничениям, накладываемым условиями выполнения работ:
без ограничений;
с ограничениями, перечисленными в
п. 1.27.
По уровню требований к технике безопасности:
с обычными требованиями;
с повышенными требованиями.
1.7. Перечисленные виды и разновидности реконструкции оказывают влияние на ее организацию. Они должны быть всесторонне оценены при разработке ПОС
(р) и ППР
(р) <*>.
--------------------------------
<*> Здесь и далее принято обозначение: ПОС
(р) - проект организации строительства в условиях реконструкции, ППР
(р) - проект производства работ в условиях реконструкции.
1.8. В состав работ по реконструкции входят во многих случаях сложные работы, требующие более тщательной проработки технологии выполнения и ответственности при их проведении. К ним относятся: усиление конструкций, их замена с временным переносом нагрузок, устройство фундаментов вблизи сооружений и других фундаментов с меньшим заглублением, замена балок и ферм на участках покрытий, расположенных в труднодоступных для монтажных кранов зонах, увеличение шага колонн без разборки покрытия, прокладка коммуникаций под дорогами и зданиями без прекращения их эксплуатации, переключение трубопроводов без прекращения их работы, устройство фундаментов с применением опускных крепей, устройство буронабивных свай с уширением, включая камуфлетные взрывы, устройство заглубленных анкеров с помощью взрывов и др.
ПРИНЦИПЫ ОРГАНИЗАЦИИ РЕКОНСТРУКЦИИ
1.9. Реконструкция промышленных предприятий должна быть организована и проводиться с учетом наибольшего сохранения без переустройства пассивной части производственных фондов - зданий и сооружений. Обновление фондов должно осуществляться главным образом путем замены и модернизации оборудования.
1.10. При проведении реконструкции должен быть получен положительный эффект по сравнению с новым строительством как по срокам создания и освоения мощностей, так и по величине удельных затрат.
1.11. Реконструкция должна проводиться по возможности без уменьшения объема выпускаемой предприятием продукции в период проведения работ. С этой целью рекомендуется:
совмещение работ по реконструкции с продолжением работы предприятия;
перенос части производства во временные здания;
увеличение числа смен работы на нереконструируемой части производства;
создание до остановки производства запаса изделий и полупродуктов за счет увеличения сменности работы на участках, подлежащих остановке;
использование полуфабрикатов (полупродуктов), поставляемых с других предприятий.
1.12. Реконструкция по времени должна по возможности совмещаться с капитальным ремонтом и финансироваться в связи с этим в установленном порядке. Для разделения, когда это требуется, затрат на реконструкцию и капитальный ремонт под последним следует понимать комплекс мероприятий по поддержанию мощности предприятий (устранение физического износа).
1.13. Работы по реконструкции предприятия должны быть организованы с учетом их беспрерывного проведения широким фронтом и окончания в короткие сроки, не превышающие нормативные. В тех случаях, когда они проводятся с остановками производства, продолжительности остановок должны быть предельно короткими. Для этого рекомендуется:
выполнение работ путем концентрации трудовых, материальных и технических ресурсов;
наиболее полная механизация;
широкое применение индустриальных конструкций, укрупненных узлов, блочного монтажа;
применение поточного и узлового методов организации, бригадного подряда на основе хозяйственного расчета, широкое развертывание социалистического соревнования;
выполнение наибольшего объема работ в доостановочный период, в том числе укрупнительной сборки оборудования и конструкций;
трехсменный режим, работа при необходимости в праздничные и выходные дни (в остановочный период);
использование для работ всех технологических остановок производства;
организация четкого и бесперебойного материально-технического обеспечения.
1.14. В ходе реконструкции дирекция предприятия обязана оказывать всемерное содействие строительно-монтажным организациям в проведении работ. Руководители строительно-монтажных организаций в свою очередь обязаны учитывать интересы предприятий и не создавать затруднений в деятельности по выпуску продукции.
1.15. При организации реконструкции должно быть обеспечено выполнение как окончательных, так и промежуточных сроков проведения работ. В связи с возможными случаями возникновения непредвиденных работ, строительно-монтажные организации должны иметь возможность увеличивать численность бригад и количество машин путем быстрой их переброски с менее срочных работ.
1.16. В связи с короткими сроками и специфическими условиями выполнения работ по реконструкции особо важное значение имеет технологичность принимаемых конструктивных решений с точки зрения их осуществления при строительстве и монтаже.
Конструктивные решения по реконструкции требуется увязывать со способами производства работ и согласовывать с исполнителями. В наибольшей мере это следует учитывать при выполнении сложных работ, перечисленных в
п. 1.8.
В конструктивных решениях, связанных с выполнением сложных работ, должно быть заранее указано, какими способами предусматривается их осуществлять. Способы выполнения основных и всех сложных работ должны найти отражение в проектах организации реконструкции - ПОС(р).
1.17. При проектировании реконструкции и ее организации необходимо предусматривать использование строительных материалов от разборки зданий и сооружений для целей самой реконструкции.
Не следует допускать сжигания материалов от разборки на территории предприятия.
1.18. Реконструкция может осуществляться:
без остановки предприятия и изменения режима его работы;
с частичной остановкой предприятия - переходом на уменьшенное число смен работы;
с частичной остановкой (прекращением работы участков, цехов, технологических линий, групп станков, отдельных агрегатов, аппаратов и т.п.);
с полной остановкой предприятия или цеха.
1.19. Во всех случаях необходимо, когда это возможно, проводить реконструкцию без остановки производства.
1.20. Решение об организации реконструкции по одному из перечисленных вариантов подготавливается дирекцией реконструируемого предприятия по согласованию с генподрядчиком и генпроектировщиком в зависимости от характера технологии реконструируемых производств и состава работ по реконструкции, утверждается в министерстве предприятия-заказчика и принимается для разработки ПОС(р) и ППР(р).
Министерством в установленном порядке определяется предприятию план выпуска продукции на период реконструкции.
1.21. При проведении реконструкции с остановкой предприятия все объемы работ разделяются на две части:
работы доостановочного периода;
работы периода остановки.
Работы доостановочного периода в свою очередь разделяются на подготовительные и основные.
Работы, не выполненные к концу периода остановки, относятся к недоделкам.
1.22. Реконструкция может проводиться:
подрядным способом - силами строительных и монтажных организаций строительных министерств или силами подрядных строительных организаций не строительных министерств;
хозяйственным способом - силами строительных подразделений предприятий;
смешанным способом, при выполнении части работ организациями-подрядчиками и другой части - силами эксплуатационного персонала или строительных подразделений предприятий.
1.23. В условиях реконструкции необходимо на всех стадиях (предпроектное обследование, проектирование, проведение работ) поддерживать связь между проектными организациями и строительными и монтажными организациями. Представители проектных организаций должны принимать участие в проводимых работах для принятия на месте решений по возникающим вопросам.
1.24. При организации и проведении реконструкции должны соблюдаться следующие положения:
работы должны выполняться только по чертежам, оформленным в установленном порядке. Отступления от чертежей должны быть согласованы заказчиком с проектной организацией;
заказчик и подрядчик должны определять и согласовывать объем, характер, очередность и сроки начала и окончания работ на всех этапах реконструкции;
заказчик и подрядчик согласовывают сроки и условия совмещенного выполнения строительно-монтажных работ с функционированием цехов и участков, включая остановки и изменения технологических режимов производства;
проектная организация с участием заказчика и генподрядчика, а применительно к специальным работам - с участием субподрядчиков, должна составить перечень и объемы работ, выполняемых в стесненных и вредных условиях, на которые распространяются удорожающие коэффициенты;
инвентарь, оснастка, приспособления, применяющиеся в специфических условиях реконструкции, должны иметь малую массу, малые габариты и быть удобными для применения в стесненных условиях.
1.25. В процессе реконструкции должна быть обеспечена безопасность труда строителей от воздействий производства, а также безопасность работников предприятий от воздействий строительства.
ОСОБЕННОСТИ ВЫПОЛНЕНИЯ СТРОИТЕЛЬНО-МОНТАЖНЫХ РАБОТ
В УСЛОВИЯХ РЕКОНСТРУКЦИИ
1.26. При проектировании организации и технологии работ по реконструкции, а также при их выполнении должны быть учтены особенности их проведения в условиях действующего предприятия.
1.27. Первая группа особенностей связана с совмещением по времени и территории технологических процессов предприятия и строительно-монтажных работ и включает:
наличие в зонах работ действующего оборудования, требующего в ряде случаев установки ограждений, устройства временных перегородок, защитных настилов, временных кровельных покрытий и других защитных устройств;
наличие различного назначения подземных, наземных, надземных, настенных коммуникаций, требующих часто их временного переноса, переключения или ограждения;
наличие заглубленных сооружений (тоннелей, подвалов, каналов, колодцев и т.п.), требующих усиления их покрытий и стенок, например, при необходимости передвижения монтажных кранов и других машин над ними;
ограничения в применении машин с двигателями внутреннего сгорания на внутрицеховых работах;
необходимость остановок строительно-монтажных работ в связи с осуществляемыми производственными и транспортными процессами предприятия;
более частое, чем при новом строительстве, применение закрытых способов прокладки коммуникаций;
необходимость тщательного выполнения мероприятий по охране окружающей среды;
необходимость постоянно поддерживать на территории предприятия и на рабочих местах чистоту и порядок, требующиеся по условиям данного производства;
необходимость предохранения оборудования от загрязнения грунтом, бетонной смесью, раствором при их транспортировании над оборудованием с помощью мостовых кранов, а также от загрязнения окрасочными составами при выполнении отделочных работ;
наличие взрыво- и пожароопасной среды на некоторых производствах.
1.28. Вторая группа особенностей связана со стесненностью. Следует учитывать общую стесненность территории предприятия, рассматривая ее применительно к размещению складов материалов, деталей, конструкций, оборудования, парков машин, временных зданий и сооружений. Общая стесненность наиболее характерна для предприятий старой застройки.
Необходимо учитывать также внешнюю и внутреннюю стесненность реконструируемых пролетов
(рис. 1), предопределяющую:
возможность расположения вблизи реконструируемого пролета площадок укрупнительной сборки, складов конструкций, деталей, материалов, подкрановых путей, средств механизации, устройства дорог;
возможность въезда во внутрицеховое пространство средств механизации, включая транспорт;
способы механизации всех основных работ по реконструкции (земляных, бетонных, монтажных и др.).
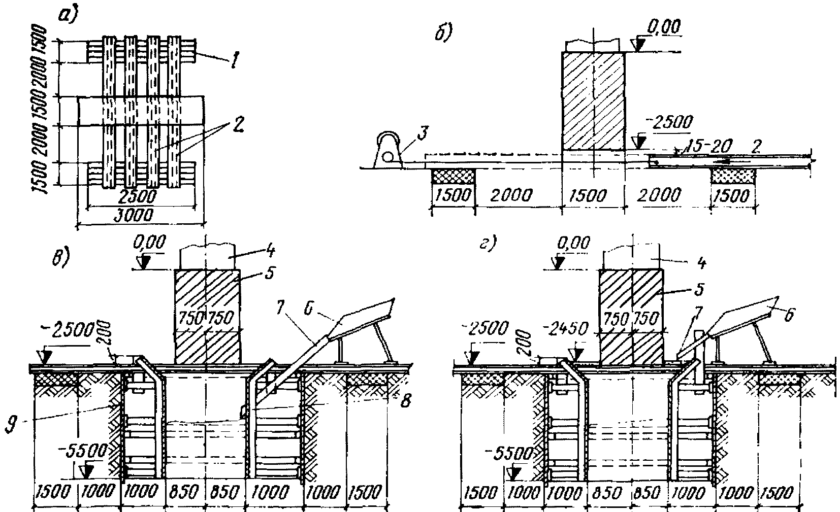
Рис. 1. Схемы внешней (а) и внутренней (б)
стесненности реконструируемых пролетов
А0 и Б1 - отсутствие стесненности; А1, А2, А3, А4, А5, А7,
А8 - частичная внешняя стесненность; А6 - полная внешняя
стесненность; Б2 - частичная внутренняя стесненность;
Б3 - полная внутренняя стесненность
При проектировании организации и технологии работ характер внутренней стесненности должен быть уточнен (станочное или другое оборудование, фундаменты, встроенные помещения, заглубленные сооружения и др.).
В связи со стесненностью необходимо учитывать недостаточную пригодность некоторых серийно выпускаемых машин для работ в условиях реконструкции.
1.29. Третья группа особенностей связана со спецификой выполнения работ в условиях реконструкции и включает:
ограничения в применении средств механизации и необходимость в связи с этим выполнения относительно больших объемов работ с применением средств малой механизации и вручную;
ограничения в применении некоторых способов производства работ (взрывания, забивки и вибропогружения свай и шпунта, уплотнения грунта трамбующими плитами, сварки и др.);
выполнение больших объемов работ по разборке, демонтажу, усилению и замене конструкций;

, чем при новом строительстве, рассредоточенность работ.
1.30. Четвертая группа особенностей связана с транспортированием по территории предприятия грузов для целей реконструкции, к ней относятся:
ограниченность провоза крупногабаритных и длинномерных грузов из-за недостаточности ширины, высоты, радиусов проездов (см.
п. 8.27 данного Руководства);
необходимость устройства и содержания переездов через действующие пути и коммуникации;
ограничения в использовании подъездных путей по времени;
ограничения скорости движения транспорта;
относительно большое количество по сравнению с новым строительством тупиковых подъездов.
1.31. Перечисленные особенности должны быть учтены и найти отражение в решениях ПОС(р) и ППР(р).
ПРЕДПРОЕКТНОЕ ОБСЛЕДОВАНИЕ ОБЪЕКТОВ
1.32. С целью подготовки или уточнения задания на проектирование реконструкции объектов рекомендуется проводить их предпроектное обследование по следующим основным направлениям:
состав и ориентировочные объемы работ;
последовательность и сроки их выполнения;
условия выполнения работ;
ресурсы и услуги, предоставляемые предприятием подрядчикам;
объем и характер последующих дополнительных специальных обследований.
1.33. Для выявления состава и ориентировочных объемов работ в ходе предпроектных и последующих обследований необходимо устанавливать:
техническое состояние конструкций зданий, оборудования, коммуникаций для решений об их использовании в ходе и после реконструкции путем усиления, замены, модернизации или ремонта с составлением ведомостей по форме, приведенной в
прил. 2;
возможность использования для целей реконструкции материалов от разборки зданий и сооружений с составлением ведомости по форме, приведенной в
прил. 3;
основные технические и технологические решения, намечаемые к осуществлению в ходе реконструкции.
При этом должно быть установлено, какие работы какими исполнителями целесообразно выполнять - силами и средствами предприятия заказчика или же с привлечением подрядных организаций (например, демонтаж оборудования, перенос коммуникаций, ограждение мест выполнения работ и др.).
| | ИС МЕГАНОРМ: примечание. В официальном тексте документа, видимо, допущена опечатка: имеется в виду таблица приложения 2, а не таблица 1. | |
| | ИС МЕГАНОРМ: примечание. В официальном тексте документа, видимо, допущена опечатка: имеются в виду первая, четвертая и шестая графы таблицы, а не вторая, пятая и седьмая соответственно. | |
1.34. Пояснение по заполнению
табл. 1. В
гр. 2 указываются: цех, корпус, пролет, где находятся конструкции или оборудование. При необходимости подготавливается схема с нанесением осей здания и приводится ссылка на схему. Здесь же приводятся краткие характеристики: для конструкций - размеры, марки материалов; для оборудования - типы, марки и др.
Гр. 5 заполняется по данным бухгалтерского учета или по прейскурантам, ценникам с учетом сроков службы.
В
гр. 7 приводятся краткие данные о техническом состоянии и пригодности для последующего использования. Например, для строительных конструкций: "не соответствуют возросшим нагрузкам, могут быть использованы для строительства зданий другого назначения", "в результате длительного использования и коррозии подлежат списанию". Для оборудования: "может быть использовано вновь", "морально устарело, но пригодно для других производств", "изношено, пригодно для разборки на запчасти", "подлежит списанию" и т.д.
В ходе предпроектных обследований должно быть обращено внимание на наличие на территории предприятия сооружений, устройств, ограждений, отвалов пустой породы, отходов, шлака, мусора и т.п., не нанесенных на генеральный план. При этом должны быть установлены объемы работ по их разборке, сносу, удалению для включения в смету на реконструкцию.
В ходе обследований должно быть также выяснено - какие работы в каких цехах будут выполняться в условиях действующего производства, в стесненных условиях; какая часть работ будет выполняться в третьи смены, в выходные и праздничные дни; какие транспортные средства заказчика могут быть использованы в ходе реконструкции; по каким транспортным схемам будут доставляться на объект материалы, детали, конструкции, оборудование и другие грузы; какие местные материалы могут быть использованы для целей реконструкции.
1.35. Последовательность выполнения работ по отдельным цехам и производствам устанавливается предприятием-заказчиком в соответствии с планом выпуска продукции в период реконструкции. Общая ее продолжительность должна соответствовать утвержденным нормам.
1.36. Условия выполнения работ предопределяют многие решения по организации реконструкции. Главными из них являются:
увязка работ по реконструкции с продолжением функционирования предприятия (без остановки производства, с частичной остановкой, с полной остановкой, ориентировочная продолжительность возможных остановок в различных цехах и др.);
режим выполнения работ по реконструкции (в одну, две, три смены или в предоставляемые "окна", в праздничные и выходные дни и др.);
факторы, влияющие на выполнение работ (стесненность, проведение их вблизи действующих агрегатов, аппаратов, транспортных технологических путей, загазованность, взрыво- и пожароопасные среды, зоны с высокими температурами и др.);
необходимость и возможность прокладки временных дорог для подвоза конструкций, материалов, деталей, оборудования;
возможность размещения временных складов для материалов, деталей, конструкций, оборудования, расположения парков машин, площадок укрупнительной сборки и др.;
необходимость проведения мероприятий по охране окружающей среды, предохранения оборудования предприятия, элементов благоустройства и др.;
основные мероприятия, обеспечивающие безопасность проведения работ и охрану труда.
1.37. В ходе предпроектных обследований должна быть выявлена возможность использования ресурсов предприятия и услуг:
получения в период реконструкции энергии (электрической, пара, сжатого воздуха, кислорода, ацетилена), воды и др.;
использования технологического транспорта предприятия (рельсового, автомобильного, мостовых кранов и др.), а также действующих коммуникаций;
привлечения рабочих предприятия на демонтаж, монтаж оборудования и другие работы;
использование производственных и бытовых помещений, столовых, медпунктов и др.
1.38. В ходе предпроектных обследований наряду с перечисленным должно быть намечено содержание последующих дополнительных специальных обследований, если они требуются для принятия окончательных решений, например выявление фактических прочностных характеристик несущих конструкций, состояния фундаментов, износа оборудования, фактического уровня грунтовых вод, наличия блуждающих токов, агрессивных примесей в грунте, в грунтовой воде и др.
1.39. Для целей монтажа оборудования, прокладки коммуникаций в программу предпроектных обследований по инициативе специализированных институтов - проектировщиков монтажа оборудования, а также специализированных монтажных организаций могут быть включены дополнительные вопросы.
1.40. Предпроектные обследования, не исключающие в необходимых случаях последующие специальные обследования, имеют целью уменьшение сроков проектирования.
1.41. В качестве методов предпроектных обследований рекомендуются:
изучение исполнительной строительной и эксплуатационной технической документации;
визуальный осмотр конструкций, сопровождающийся при необходимости вскрытиями, разборками оборудования, измерениями, включая нивелирование, снятие характеристик приборами неразрушающих методов и др.;
экспертные оценки с привлечением соответствующих специалистов.
1.42. Предпроектное обследование рекомендуется проводить группой специалистов следующего состава:
от заказчика - заместитель директора или начальник УКСа (ОКСа) или его заместитель, а по специальным вопросам - заместитель главного инженера, главный механик, главный энергетик, главный технолог;
от проектных организаций - главный инженер проекта, а по специальным вопросам - главные специалисты генпроектировщика и при необходимости главные специалисты специализированных проектных организаций;
от генподрядчика - заместитель главного инженера объединения (треста);
от субподрядных организаций (при необходимости) - главный инженер управления.
Группу предпроектных обследований возглавляет представитель заказчика. При необходимости в состав группы привлекаются представители местных Советов народных депутатов, а также органов здравоохранения, пожарной охраны, Госгортехнадзора и других ведомств.
1.43. Результаты обследования оформляются в виде документа "Материалы обследования ................ завода (фабрики) в связи с реконструкцией". После их утверждения директором реконструируемого предприятия они используются для проектной проработки.
Материалы предпроектных обследований являются документом согласования деятельности организаций - участников реконструкции.
ОСОБЕННОСТИ РЕШЕНИЯ ВОПРОСОВ МЕХАНИЗАЦИИ
В УСЛОВИЯХ РЕКОНСТРУКЦИИ
1.44. При решении вопросов механизации в условиях реконструкции, кроме рекомендаций, приводимых в настоящем Руководстве, следует использовать:
главу
СНиП "Организация строительного производства";
Инструкцию по определению экономической эффективности использования в строительстве новой техники, изобретений и рационализаторских предложений.
1.45. Особенности организации и проведения работ по реконструкции промышленных предприятий приведены в
пп. 1.26 -
1.30 настоящего Руководства. Из них вытекают особенности комплектования подразделений механизации для работы в условиях реконструкции. Они связаны главным образом с выполнением внутрицеховых работ. Требования, предъявляемые к машинам, используемым в условиях реконструкции, перечислены в
пп. 1.46 -
1.51.
1.46. Для работ при реконструкции, выполняемых в стесненных условиях, часто рассредоточенных и имеющих на одном месте малые объемы, требуется, чтобы одна и та же машина выполняла не одну, а ряд операций, т.е. была бы универсальной.
1.47. Более часто перемещаемые с одного рабочего места на другое машины должны иметь по возможности малую массу.
Для того чтобы их можно было без затруднений перемещать внутри цеха при помощи мостовых кранов над оборудованием, они должны иметь малые габариты. Для реконструкции требуются краны и экскаваторы с телескопическими стрелами, краны, оснащенные вильчатыми оголовниками.
1.48. В условиях реконструкции требуются мобильные средства механизации, быстро переводимые из транспортного в рабочее положение, быстро собираемые и разбираемые при транспортировании, позволяющие в ходе работ быстро сменять одно навесное оборудование на другое.
1.49. Машины для работ по реконструкции (внутри цехов) не должны ухудшать состояния воздушной среды, они должны иметь электрические двигатели.
Ходовая часть строительных машин для условий реконструкции с целью предохранения покрытий дорог, площадок, полов в цехах, рельсовых путей должна быть пневмоколесная или на резиновых гусеницах.
1.50. При работах как внутри, так и вне цехов, проводимых вблизи от фундаментов, ограничивается использование машин и способов, при которых возникают динамические воздействия (забивка свай молотами, уплотнение грунта трамбующими плитами на экскаваторах, погружение шпунта вибропогружателями, разбивка бетонных массивов молотами и др.). Для выполнения перечисленных работ в подразделениях механизации в условиях реконструкции должны иметься машины для вдавливания свай, шпунта, для вибротрамбования грунта, разрезания бетона и др.
Для уплотнения грунта в пазухах у фундаментов требуются эффективные средства механизации, способные уплотнять грунт до его плотности в естественном состоянии при толщине слоев 0,4 - 0,5 м. При усилении фундаментов в условиях реконструкции требуются комплекты оборудования для уплотнения грунта на глубине, химического и электрохимического закрепления грунта под подошвами фундаментов.
1.51. В условиях реконструкции часто требуются средства механизации и оборудования, не используемые или мало используемые при новом строительстве. Это крышевые стреловые, мостовые стреловые краны, спаренные мостовые краны, оборудованные тентами для защиты от осадков, оборудованные защитными настилами, предохраняющими от падения предметов, искр при огневых работах, экскаваторы с грейферными ковшами, пневмопогрузчики, кабельные краны, вибротрамбующие машины, оборудование для продавливания, прокалывания, пневмопробивки грунта и др.
При разборке конструкции, при перестановке анкерных болтов крепления оборудования, при прокладке коммуникаций в железобетонных или кирпичных конструкциях требуются машины с алмазным и твердосплавным инструментом для сверления, бурения и фрезерования железобетона, бетона и кирпича.
1.52. Подразделения механизации для работ на реконструкции следует комплектовать с учетом изложенных рекомендаций, путем соответствующего отбора технических средств, а также дооснащения и модернизации имеющихся машин.
1.53. При выборе эффективных средств механизации необходимо учитывать размеры рабочих зон, проездов в здания, пространства на пути перемещения средств механизации (например, мостовым краном над оборудованием цеха) в рабочую зону.
Должны быть также учтены требующиеся параметры машин (емкость ковша, грузоподъемность, длина стрелы, высота ее подъема, производительность машин и т.п.).
1.54. Наряду с перечисленными техническими параметрами, необходимо выполнять экономическую оценку различных вариантов механизации в соответствии с указаниями Инструкции по определению экономической эффективности использования в строительстве новой техники, изобретений и рационализаторских предложений.
При принятии в расчетах выработки машин необходимо учитывать понижающие коэффициенты, принимаемые для условий реконструкции согласно указаниям Общей части ЕНиР.
1.55. Единовременные затраты, связанные с выполнением работ по реконструкции, отличаются от затрат при новом строительстве, в них дополнительно учитывают расходы по устройству проемов в стенах, демонтажу и монтажу оборудования, связанные с работой строительных машин, на устройство эстакад, временное усиление покрытий дорог, покрытий над каналами, тоннелями, изготовление оснастки для подъема и транспортирования машин в цехах мостовыми кранами, дополнительные разборки и сборки машин и др.
Единовременные затраты определяются путем составления калькуляций, при этом используются ЕРЕР, ЕНиР, ведомственные нормативные документы.
1.56. Обоснование вариантов механизации должно быть выполнено в составе документов ППР(р).
2. ЗАКОНОДАТЕЛЬНЫЕ АКТЫ И НОРМАТИВНЫЕ ДОКУМЕНТЫ,
ОТНОСЯЩИЕСЯ К РЕКОНСТРУКЦИИ
ОБЩАЯ ЧАСТЬ
2.1. Реконструкция (техническое перевооружение) промышленных предприятий регламентируется законодательными актами директивных органов СССР и союзных республик, нормативными документами и распоряжениями, издаваемыми в пределах их компетенции Госпланом СССР, Госстроем СССР и Госснабом СССР.
2.2. В настоящую главу в порядке информации включены основные положения из действующих законодательных актов, нормативных документов и распоряжений государственных комитетов СССР, относящихся к реконструкции (по состоянию на 1/IV 1981 г.).
Для решения конкретных правовых вопросов, связанных с реконструкцией, следует пользоваться указанными документами в полном их объеме.
О ПЛАНИРОВАНИИ КАПИТАЛЬНОГО СТРОИТЕЛЬСТВА (РЕКОНСТРУКЦИИ)
2.3. Принципы планирования капитального строительства установлены
постановлением ЦК КПСС и Совета Министров СССР от 12/VII 1979 г. N 695.
Из этого постановления следует, что:
утверждается пятилетний план капитального строительства (с распределением заданий по годам), сбалансированный с ресурсами материалов, технологического и энергетического оборудования, с трудовыми и финансовыми ресурсами, а также с мощностями строительно-монтажных организаций;
предусматривается в планах капитального строительства первоочередное выделение на реконструкцию и техническое перевооружение действующих предприятий материальных ресурсов и оборудования, а также необходимых лимитов капитальных вложений, строительно-монтажных и подрядных работ;
утверждаются в пятилетних планах строительно-монтажным организациям следующие показатели по строительному производству (с распределением заданий по годам): ввод в действие производственных мощностей и объектов, в том числе за счет технического перевооружения и реконструкции действующих предприятий; общий и выполняемый собственными силами объем товарной строительной продукции (стоимость строительно-монтажных работ по сданным заказчику предприятиям, очередям, пусковым комплексам, объектам, подготовленным к выпуску продукции или оказанию услуг), с распределением общего объема по заказчикам; рост производительности труда; лимит численности рабочих и служащих; общий фонд заработной платы; прибыль (а для отдельных организаций - снижение себестоимости строительно-монтажных работ); задания по внедрению новой техники; объем поставок материалов, машин, механизмов и других материально-технических ресурсов, необходимых для выполнения плана. В годовых планах утверждаются те же показатели с конкретизацией заданий, утвержденных пятилетним планом на соответствующий год, а также платежи в государственный бюджет и ассигнования из государственного бюджета;
включаются в планы капитального строительства, только те стройки, по которым на 1 июля года, предшествующего планируемому, имеются утвержденная в установленном порядке проектно-сметная документация, а также рабочие чертежи на годовой объем работ.
О СОСТАВЛЕНИИ ТИТУЛЬНЫХ СПИСКОВ
2.4. В составе пятилетних планов капитального строительства утверждаются перечни действующих предприятий, намечаемых к реконструкции и расширению с указанием основных технико-экономических показателей.
2.5. На основе указанных в
п. 2.4 перечней строек, лимитов капитальных вложений и строительно-монтажных работ, проектов, смет и норм продолжительности строительства разрабатываются титульные списки строек на весь период строительства с разбивкой заданий по годам.
2.6. Постановлением ЦК КПСС и Совета Министров СССР от 12/VII 1979 г. N 695 установлен порядок утверждения перечней строек и титульных списков.
2.7. Утвержденные титульные списки должны быть неизменным плановым документом на весь период реконструкции, обязательным для заказчиков, подрядчиков, плановых, финансовых, банковских и снабженческих органов, поставщиков оборудования и конструкций.
2.8. Объемы строительно-монтажных работ в проектах титульных списков распределяются по годам министерствами и ведомствами - заказчиками совместно со строительными министерствами и ведомствами или по их поручению подчиненными им организациями, исходя из необходимости обеспечения ритмичной работы подрядных организаций и создания технологического задела в пределах, предусмотренных планом сроков ввода в действие производственных мощностей и объектов, с соблюдением установленной продолжительности реконструкции.
2.9. При составлении титульных списков следует руководствоваться "Указаниями о порядке разработки, согласования и утверждения титульных списков строек и заполнения унифицированных форм" Госплана СССР.
О ПРОЕКТИРОВАНИИ ОБЪЕКТОВ КАПИТАЛЬНОГО СТРОИТЕЛЬСТВА
2.10. Принципы проектирования объектов капитального строительства установлены
постановлением ЦК КПСС и Совета Министров СССР от 30 марта 1981 г. N 312.
Документом, на основе которого осуществляется проектирование реконструкции действующих предприятий и сооружений, являются разрабатываемые министерствами и ведомствами СССР и советами министров союзных республик схемы развития и размещения производительных сил по экономическим районам и союзным республикам. В составе этих схем разрабатываются материалы с необходимыми расчетами, обосновывающие целесообразность проектирования, строительства, реконструкции или расширения предприятий и сооружений, определяются расчетная стоимость строительства (реконструкции, расширения) и другие основные технико-экономические показатели.
2.11. Проектирование предприятий, зданий и сооружений осуществляется:
в одну стадию - рабочий проект со сводным сметным расчетом стоимости для предприятий, зданий и сооружений, строительство которых будет осуществляться по типовым и повторно применяемым проектам, а также для технически несложных объектов;
в две стадии - проект со сводным сметным расчетом стоимости и рабочая документация со сметами для других объектов строительства, в том числе крупных и сложных.
Разработка проектов осуществляется непосредственно на основе соответствующих материалов с необходимыми расчетами, выполненных в составе схем развития и размещения отраслей народного хозяйства и отраслей промышленности, а также схем развития и размещения производительных сил по экономическим районам и союзным республикам.
Проекты на строительство наиболее крупных и важных предприятий, зданий и сооружений утверждаются Советом Министров СССР по представлению министерств и ведомств СССР и советов министров союзных республик.
Такие проекты проходят экспертизу в Госстрое СССР, Государственном комитете СССР по науке и технике и Государственном комитете СССР по ценам.
Проекты на строительство предприятий, зданий и сооружений (кроме проектов, утверждаемых Советом Министров СССР) подвергаются экспертизе и утверждаются:
по стройкам сметной стоимостью на полное развитие 3 млн. руб. и выше министерствами и ведомствами СССР (по всем входящим в их систему стройкам), а также советами министров союзных республик (экспертиза проектов осуществляется госстроями союзных республик);
по стройкам сметной стоимостью на полное развитие менее 3 млн. руб. - в порядке, устанавливаемом министерством (ведомством СССР или советом министров союзной республики).
2.12. Заказчик проекта согласовывает с генеральной подрядной строительно-монтажной организацией раздел проекта по организации строительства объекта, а также сметы, составленные по рабочим чертежам.
Генеральная подрядная строительно-монтажная организация рассматривает с привлечением субподрядных организаций указанные материалы проекта и сметы и представляет заказчику замечания в срок не более 45 дней со дня получения материалов. При неполучении замечаний в этот срок проектно-сметная документация считается согласованной и может быть утверждена заказчиком.
Конструктивные решения зданий и сооружений и сводный сметный расчет стоимости строительства представляются заказчиком подрядной организации на заключение.
По проектам предприятий и сооружений, включенным в план капитального строительства и утвержденным министерствами и ведомствами СССР и советами министров союзных республик, изменения проектных решений, связанных с увеличением мощности и пересмотром номенклатуры продукции, должны согласовываться с Госпланом СССР и Госстроем СССР, а также с генеральной подрядной организацией (в части организации строительства и изменения смет, составленным по рабочим чертежам).
2.13. На основе
постановления ЦК КПСС и Совета Министров СССР от 30 марта 1981 г. N 312 разрабатываются и утверждаются:
Госстроем СССР инструкция о составе, порядке разработки и согласования проектов и смет на строительство предприятий, зданий и сооружений;
Госстроем СССР, Госпланом СССР и Стройбанком СССР указания о порядке составления и согласования проектов организации строительства и проектов производства работ.
ФИНАНСИРОВАНИЕ И РАСЧЕТЫ ЗА ВЫПОЛНЕННЫЕ РАБОТЫ
2.14. Финансирование государственных капитальных вложений по стройкам производственного назначения осуществляется Стройбанком СССР и Госбанком СССР непрерывно, на основе титульных списков на весь период строительства, в пределах сумм, предусмотренных в утвержденной смете. При перевыполнении плана капитального строительства в данном году финансирование указанных строек осуществляется за счет кредита, выдаваемого в соответствии с планом кредитования.
2.15. В финансовых планах строительно-монтажных организаций предусматривается покрытие плановых затрат и авансовое расходование фондов материального поощрения в части, не покрываемой балансовой прибылью, за счет экономии от снижения себестоимости строительно-монтажных работ и плановых накоплений в незавершенном производстве.
2.16. Расчеты между заказчиком и подрядчиком должны производиться за полностью законченные строительством и сданные в эксплуатацию предприятия, пусковые комплексы, очереди и объекты, подготовленные к выпуску продукции и оказанию услуг, по сметной стоимости товарной строительной продукции.
2.17. Расчеты между заказчиками и подрядными организациями за выполненные строительно-монтажные работы производятся учреждениями Стройбанка СССР на основании договоров, заключенных в соответствии с
Правилами о договорах подряда на капитальное строительство, утвержденными в установленном порядке.
Осуществление подрядными организациями строительно-монтажных работ и финансирование этих работ при отсутствии договора запрещается.
ОБЕСПЕЧЕНИЕ МАТЕРИАЛЬНО-ТЕХНИЧЕСКИМИ РЕСУРСАМИ
2.18. Стройки, включенные в государственный план капитального строительства, должны обеспечиваться материалами в порядке комплексного снабжения через территориальные органы материально-технического снабжения (Госснаб СССР) по заказам строительно-монтажных организаций в соответствии с их потребностью, определяемой проектами и сметами.
2.19. Капитальное строительство (реконструкция) обеспечивается материально-техническими ресурсами, поставка которых предусмотрена в
постановлении Совета Министров СССР от 28 сентября 1970 г. N 810:
министерствами, ведомствами и другими организациями заказчика: технологическим, энергетическим, электротехническим, общезаводским, нестандартизированным и подъемно-транспортным оборудованием и аппаратурой, а также деталями, изделиями и материалами, поставка которых предусмотрена заказчиком в указанном
постановлении;
министерствами, ведомствами и другими организациями - генеральными подрядчиками: строительными, лесными, теплоизоляционными, отделочными и вспомогательными материалами, санитарно-техническими, крепежными и электроустановочными изделиями, а также прокатом черных металлов, трубами, строительными конструкциями и другими материалами, деталями, изделиями, поставка которых предусмотрена генеральным подрядчиком тем же
постановлением, а также материалами и изделиями, не вошедшими в перечень, приведенный в предыдущем абзаце.
2.20. Министерство монтажных и специальных строительных работ СССР и другие министерства, ведомства и организации обеспечивают осуществляемые ими по договорам субподряда с министерствами, ведомствами и организациями - генеральными подрядчиками работы, предусмотренные в плане экономического и социального развития СССР, по монтажу технологического оборудования, трубопроводов, металлических конструкций и других работ их профиля, - метизами (кроме метизов из нержавеющих и других специальных сплавов и цветных металлов, поставляемых заказчиком), электроустановочными изделиями и другими материалами и изделиями, номенклатура которых предусмотрена в
постановлении Совета Министров СССР от 28 сентября 1970 г. N 810.
2.21. Министерство монтажных и специальных работ СССР обеспечивает осуществляемое им по договорам субподряда с министерствами, ведомствами и другими организациями - генеральными подрядчиками работы, предусмотренные в плане экономического и социального развития СССР, металлическими конструкциями, изготовляемыми министерством по установленному Госпланом СССР плану, вентиляционными воздуховодами, монтажными, санитарно-техническими и электромонтажными заготовками и деталями трубопроводов.
2.22. Капитальное строительство (реконструкция), осуществляемое по прямым договорам, обеспечивается заказчиком всеми видами материалов, изделий и оборудования.
2.23. Порядок обеспечения материалами, изделиями и оборудованием капитального строительства (реконструкции), осуществляемого хозяйственным способом, определяется министерствами и ведомствами СССР и советами министров союзных республик.
2.24. Порядок комплектования через союзглавкомплекты, где заказчиком оборудования выступает непосредственно строящееся или реконструируемое предприятие, а также правовые отношения сторон при комплектовании определяются в соответствии с требованиями
постановления Совета Министров СССР от 9 июля 1966 г. N 517 и распоряжениями Госснаба СССР.
2.25. Комплектная поставка технологического оборудования, технологических линий, установок, средств механизации и автоматизации, управления и контроля, имея в виду совокупность оборудования, других изделий и устройств, позволяющих обеспечить получение конечного продукта для заданного технологического процесса, осуществляется в соответствии с Положением, утвержденным Госснабом СССР, Госпланом СССР, Госкомцен СССР 27 декабря 1979 г. N 86/208/819.
2.26. Организационно-структурные формы и функции, порядок организации и деятельности трестов комплектации, их взаимоотношения со строительно-монтажными трестами, предприятиями и трестами промышленности стройиндустрии, территориальными органами Госснаба СССР и заводами-поставщиками, планирующими и вышестоящими органами управления определяются "Рекомендациями по организации и порядку оплаты комплектных поставок строительных конструкций и деталей" Госстроя СССР, Госснаба СССР, Стройбанка СССР, согласованными с Минфином СССР.
ВЗАИМООТНОШЕНИЯ ЗАКАЗЧИКОВ И ПОДРЯДЧИКОВ
2.27. Взаимоотношения заказчиков и подрядчиков регулируются "
Правилами о договорах подряда на капитальное строительство", которые определяют порядок заключения и исполнения договоров подряда на капитальное строительство, права, обязанности и ответственность заказчиков и подрядчиков по капитальному строительству и имеют целью обеспечить более эффективное использование капитальных вложений, выполнение государственного плана капитального строительства и ускорение ввода в действие производственных мощностей и основных фондов.
Госстрою СССР предоставлены права издавать совместно с Госпланом СССР, Стройбанком СССР и Госбанком СССР обязательные для министерств и ведомств, исполкомов Советов народных депутатов, предприятий, организаций и учреждений указания и разъяснения о порядке применения
Правил о договорах подряда на капитальное строительство.
2.28. Подрядчик обязан по договору подряда на капитальное строительство своими силами и средствами построить предусмотренный планом объект в соответствии с утвержденной проектно-сметной документацией и в установленный срок обеспечить надлежащее качество строительно-монтажных работ, произвести опробование и испытание смонтированного им оборудования, своевременно устранить недоделки и дефекты, выявленные в процессе приемки строительно-монтажных работ, сдать заказчику законченный строительством объект (предприятие, его отдельные очереди, пусковые комплексы, здание, сооружение) и обеспечить ввод в действие в установленном порядке производственных мощностей и объектов.
2.29. Заказчик обязан:
предоставить подрядчику строительную площадку, передать ему утвержденную проектно-сметную документацию, обеспечить своевременное финансирование строительства в соответствии с объемами строительно-монтажных работ, предусмотренными титульным списком стройки по годам строительства, принять законченные строительством объекты и оплатить их;
провести комплексное опробование оборудования (вхолостую и на рабочих режимах) с участием проектных, подрядных строительных и монтажных организаций, а при необходимости и заводов-изготовителей оборудования, а также произвести наладку технологических процессов и обеспечить своевременный ввод в действие производственных мощностей и объектов;
осуществлять контроль и технический надзор за соответствием объема, стоимости и качества выполняемых работ проектам и сметам. Он вправе в любое время проверять ход и качество строительно-монтажных работ, а также качество используемых материалов, не вмешиваясь при этом в оперативно-хозяйственную деятельность подрядчика.
2.30. Внесение изменений в объемы работ, предусмотренные договорами подряда на капитальное строительство или дополнительным соглашением к генеральному договору подряда, может быть произведено до 15 марта текущего года и только в случае изменения министерствами и ведомствами СССР и советами министров союзных республик утвержденных годовых планов капитальных вложений и подрядных строительно-монтажных работ по стройкам и объектам в связи с итогами выполнения плана предшествующего года.
2.31. Невыполнение обязательств по договору подряда на капитальное строительство является нарушением государственной дисциплины и влечет за собой имущественную ответственность подрядчика и заказчика, допустивших это нарушение.
2.32. Руководители и другие должностные лица подрядных строительных и монтажных организаций и предприятий, организаций и учреждений-заказчиков несут установленную действующим законодательством ответственность за невыполнение обязательств по договору подряда.
2.33. Правила о договорах подряда на капитальное строительство предусматривают:
порядок и сроки заключения договоров подряда на капитальное строительство (реконструкцию);
обеспечение строительства материалами и оборудованием;
услуги сторон;
условия производства работ;
сдачу и приемку законченных строительством объектов и выполненных строительно-монтажных работ. Платежи и расчеты;
имущественную ответственность;
формы типовых генерального и годового договоров подряда на капитальное строительство, а также типового дополнительного соглашения к генеральному договору подряда на капитальное строительство.
ВЗАИМООТНОШЕНИЯ ОРГАНИЗАЦИЙ - ГЕНЕРАЛЬНЫХ ПОДРЯДЧИКОВ
С СУБПОДРЯДНЫМИ ОРГАНИЗАЦИЯМИ
2.34. Взаимоотношения организаций - генеральных подрядчиков с субподрядными организациями регулируются Положением о взаимоотношениях организаций - генеральных подрядчиков с субподрядными организациями, устанавливающим права, обязанности и ответственность при заключении и исполнении договоров субподряда на выполнение отдельных видов и комплексов монтажных и иных специальных строительных работ, включенных в план капитального строительства (реконструкции), и титульные списки и имеет целью обеспечить выполнение государственного плана капитального строительства (реконструкции) и ускорение ввода в действие производственных мощностей и основных фондов.
Выполнение субподрядчиком монтажных и иных специальных строительных работ и финансирование этих работ при отсутствии договора субподряда запрещается.
2.35. При заключении и выполнении договоров субподряда стороны руководствуются
Правилами о договорах подряда на капитальное строительство,
Правилами финансирования строительства,
Положением о взаимоотношениях организаций-генподрядчиков с субподрядными организациями и другими действующими законодательными документами.
В соответствии с Правилами выполнение обязанностей заказчика по договорам субподряда возлагается на генподрядчика, а обязанностей подрядчика на субподрядчика.
2.36. Субподрядчик обязан по договору субподряда своими силами и средствами выполнить предусмотренные планом монтажные и иные специальные строительные работы в соответствии с утвержденной проектно-сметной документацией и в установленный срок, обеспечить надлежащее качество этих работ, произвести индивидуальное опробование и испытание смонтированного им оборудования и систем, своевременно устранить недоделки и дефекты в произведенных работах, выявленные в процессе приемки законченных субподрядчиком работ.
Субподрядчик наравне с генподрядчиком несет ответственность за своевременное создание производственных мощностей и объектов и сдачу их заказчику для проведения комплексного опробования оборудования и начала выпуска продукции.
Субподрядчик участвует в проводимом заказчиком комплексном опробовании смонтированного субподрядчиком оборудования.
2.37. Генподрядчик при составлении заключений, согласовании смет и проектной документации на строительство (реконструкцию) привлекает организацию субподрядчика, выделенную министерством (ведомством), которая с участием других организаций этого министерства (ведомства) рассматривает сметы и проектную документацию на работы, поручаемые указанным организациям, в 20-дневный срок, а по особо крупным зданиям и сооружениям - в 35-дневный срок.
2.38. В случае производственной необходимости стороны вправе в пределах общей стоимости монтажных и иных специальных строительных работ по договору субподряда или дополнительному соглашению к нему изменить объем выполняемых субподрядчиком работ по объектам, предусмотренным этим договором субподряда или дополнительным соглашением.
2.39. Невыполнение обязательств по договору субподряда является нарушением государственной дисциплины и влечет за собой имущественную ответственность субподрядчика и генподрядчика, допустивших это нарушение.
Руководители и другие должностные лица субподрядных и генподрядных организаций несут установленную действующим законодательством ответственность за невыполнение обязательств по договору субподряда.
2.40. Генподрядчик обязан:
обеспечить строительную готовность объекта, конструкций и отдельных видов работ для производства субподрядчиками последующих монтажных и иных специальных строительных работ, передать им утвержденную проектно-сметную документацию в части, относящейся к их работе, обеспечить своевременное финансирование работ в соответствии с объемами, предусмотренными титульными списками стройки по годам строительства, принять законченные работы и оплатить их;
координировать работу всех субподрядчиков, участвующих в строительстве;
составлять с участием субподрядчиков и утверждать по согласованию с ними графики производства работ, обязательные для всех организаций, участвующих в строительстве;
осуществлять контроль за соответствием объема, стоимости и качества выполняемых субподрядчиками работ проектам и сметам. Генподрядчик вправе в любое время проверять ход и качество монтажных и иных специальных строительных работ, а также качество используемых материалов, не вмешиваясь при этом в оперативно-хозяйственную деятельность субподрядчика.
2.41. Субподрядчик обязан:
участвовать в рассмотрении внутрипостроечного титульного списка, составлении генподрядчиком проекта договора подряда на капитальное строительство с заказчиком в части определения сроков и условий производства монтажных и иных специальных строительных работ и поставки заказчиком оборудования и материалов;
участвовать в определении и согласовании стоимости поручаемых ему этапов или комплексов работ, предусматриваемых в сметной документации;
разрабатывать на основе графиков производства работ годовые, квартальные и месячные планы работ по согласованным с генподрядчиком срокам начала и окончания строительства;
участвовать в разработке графиков поставки оборудования, металлоконструкций, сборного железобетона и других изделий и материалов, увязанных со сроками строительства и графиками производства работ; обеспечить готовность выполняемых им монтажных и иных специальных работ для производства последующих работ генподрядчиком или другим субподрядчиком.
2.42. Положение предусматривает:
порядок и сроки заключения договоров субподряда;
обеспечение монтажных и иных специальных строительных работ материалами и оборудованием;
услуги сторон;
условия производства работ;
технику безопасности;
сдачу и приемку выполненных монтажных и иных специальных строительных работ. Платежи и расчеты;
имущественную ответственность.
ПРИЕМКА В ЭКСПЛУАТАЦИЮ ЗАКОНЧЕННЫХ СТРОИТЕЛЬСТВОМ
(РЕКОНСТРУКЦИЕЙ) ОБЪЕКТОВ
2.43. Основные положения по приемке законченных строительством (реконструкцией) промышленных предприятий, зданий и сооружений содержатся в
постановлении Совета Министров СССР от 23/I 1981 г. N 105, в котором установлены:
требования к принимаемому объекту;
порядок назначения рабочих и государственных приемочных комиссий, их состав, права и обязанности;
порядок приемки рабочими комиссиями в эксплуатацию вспомогательных и обслуживающих зданий и сооружений;
ответственность заказчика, проектных, научно-исследовательских и строительно-монтажных организаций, участвующих в создании производственных мощностей;
порядок оформления приемки объекта в эксплуатацию.
2.44. Приемка в эксплуатацию законченных строительством предприятий, зданий и сооружений регламентируется соответствующей главой СНиП.
СТИМУЛИРОВАНИЕ РАБОТНИКОВ СТРОИТЕЛЬСТВА (РЕКОНСТРУКЦИИ)
2.45. Оценка хозяйственной деятельности строительно-монтажных организаций, а также их экономическое стимулирование производятся по результатам выполнения заданий по вводу в действие производственных мощностей и объектов, товарной строительной продукции, росту производительности труда и прибыли.
2.46. Для работников строительно-монтажных и проектных организаций, а также производственных объединений (предприятий) - заказчиков, введено премирование за выполнение работ по техническому перевооружению действующих предприятий в размерах и порядке, установленных для премирования работников при осуществлении реконструкции предприятий.
Средства на премирование за техническое перевооружение и реконструкцию должны предусматриваться в сметах на эти работы и не могут быть использованы на другие цели.
2.47. Строительно-монтажные организации, в плане которых объем работ по техническому перевооружению и реконструкции действующих предприятий составляет 50% и более, по оплате труда руководящих работников относить на группу выше, в строительно-монтажных организациях первой группы повышать должностные оклады работников на 10 - 15% согласно разъяснению Госкомтруда СССР и ВЦСПС от 29 ноября 1979 г.
2.48. Премии за ввод в действие в срок объектов строительства (реконструкции) выплачиваются при условии выполнения по введенному в действие объекту строительства (реконструкции) работ в полном объеме в соответствии с проектом и техническими условиями в пределах и при соблюдении сметной стоимости строительства (реконструкции) по данным заказчика, а также начала выпуска на установленном оборудовании продукции, предусмотренной проектом (пусковым комплексом) согласно
Положению, утвержденному Госкомтрудом СССР, Госстроем СССР и ВЦСПС 11 сентября 1979 г.
2.49. Премии выплачиваются с учетом оценки качества строительства (реконструкции), указанной в акте государственной приемочной комиссии. При вводе в действие объекта строительства (реконструкции) с оценкой "отлично" размер премии увеличивается на 10%, с оценкой "хорошо" премии выплачиваются в размерах согласно
п. 2.48, с оценкой "удовлетворительно" размер премии снижается на 20%.
2.50. При сокращении подрядными организациями сроков ввода в действие производственных мощностей против утвержденных норм генеральный подрядчик получает от заказчика средства в размере 50% предусмотренной проектом прибыли за период, на который сокращен срок строительства, но не более 0,5% сметной стоимости строительно-монтажных работ за каждый месяц сокращения срока строительства. Указанные средства направляются в фонд экономического стимулирования организаций, участвующих в строительстве.
2.51. При премировании за выполнение заданий по вводу в действие производственных мощностей и объектов следует руководствоваться
Положением.
2.52. Усредненный размер премий за своевременный ввод в действие объектов в процентах от сметной стоимости работ приведен в
табл. 1.
Отрасли промышленности | Новое строительство | Реконструкция и техническое перевооружение |
1. | Черная и цветная металлургия | 3,1 | 3,4 |
2. | Топливная | 2,9 | 3,1 |
3. | Химическая | 2,7 | 3,1 |
4. | Судостроительная | 2,7 | 3,1 |
5. | Радиотехническая и электронная | 2,9 | 3,3 |
6. | Электротехническая | 2,4 | 2,8 |
7. | Машиностроение | 2,6 | 3,0 |
8. | Промышленность строительных конструкций | 2,9 | 3,3 |
9. | Собственная база строительно-монтажных организаций | 2,2 | 2,5 |
10. | Лесная и деревообрабатывающая | 2,2 | 2,5 |
11. | Целлюлозно-бумажная | 2,5 | 2,9 |
12. | Легкая | 3,5 | 4,1 |
13. | Пищевая, мясо-молочная, рыбная и мукомольно-крупяная | 3,5 | 4,1 |
14. | Микробиологическая | 3,2 | 3,7 |
Примечание. Приведенные величины являются усредненными по отраслям. Для начисления премий следует руководствоваться
Положением о премировании работников за ввод в действие производственных мощностей и объектов строительства, в котором величины коэффициентов дифференцированы по объектам.
ОБЩЕСОЮЗНЫЕ НОРМАТИВНЫЕ ДОКУМЕНТЫ
ПО СТРОИТЕЛЬСТВУ (РЕКОНСТРУКЦИИ)
2.53. При осуществлении реконструкции промышленных предприятий, зданий и сооружений следует руководствоваться нормативными документами - строительными нормами и правилами (СНиП), строительными нормами (СН), ведомственными строительными нормами (ВСН), техническими условиями (ТУ), едиными нормами и расценками (ЕНиР), едиными районными единичными расценками (ЕРЕР), инструкциями, указаниями и др., включенными в "Перечень действующих Общесоюзных нормативных документов по строительству и государственных стандартов, утвержденных Госстроем СССР", ежегодно переиздаваемый.
2.54. Все изменения нормативных документов и дополнения к ним публикуются в ежемесячном журнале Бюллетень строительной техники Госстроя СССР.
3. ОРГАНИЗАЦИЯ РЕКОНСТРУКЦИИ ПРОМЫШЛЕННЫХ ПРЕДПРИЯТИЙ
ОБЩИЕ ВОПРОСЫ
3.1. При решении вопросов организации реконструкции следует пользоваться:
главой
СНиП по Организации строительного производства,
Инструкцией по разработке проектов организации строительства и проектов производства работ,
Инструкцией по разработке проектов и смет для промышленного строительства и Руководством по единой системе подготовки строительного производства.
Одним из наиболее важных и сложных вопросов организации реконструкции является увязка деятельности предприятия по выпуску продукции с проведением работ по реконструкции. Принципы, которые должны быть положены в основу решения этой задачи, изложены в
пп. 1.9 -
1.25 данного Руководства. Один из них состоит в совмещении работы предприятия с работами по реконструкции.
В зависимости от вида совмещения различают варианты:
полное совмещение, когда в пределах одних и тех же участков цеха одновременно выполняются процессы по выпуску продукции и работы по реконструкции;
частичное совмещение, когда на одних участках цеха продолжается работа предприятия, на других ведутся работы по реконструкции или эти два вида деятельности протекают в разные смены;
без совмещения, когда работа цеха на период работ по реконструкции останавливается.
Проведение работ по одному из перечисленных вариантов зависит главным образом от технологии реконструируемого предприятия.
В практике реконструкции часто сочетаются три перечисленные варианта. В документах по организации реконструкции должно быть указано для каждого вида работ и периода их выполнения, по какому из вариантов они должны выполняться.
3.2. Организация реконструкции должна предусматривать три этапа:
подготовку организационно-технологической документации;
расстановку строительно-монтажных организаций, подразделений, бригад по объектам, предоставление им фронта работ и обеспечение требующимися ресурсами;
управление реконструкцией - контроль за правильностью ведения работ, увязку работ с деятельностью предприятия.
3.3. Работы по реконструкции могут выполняться поточным или узловым методом. При узловом методе в пределах узлов возможна поточная организация работ.
Как при поточном, так и при узловом методе необходимо на реконструируемом предприятии работы выполнять непрерывно и по возможности (после периода развертывания) мало изменяющимся контингентом рабочих.
ДОКУМЕНТЫ ПО ОРГАНИЗАЦИИ РЕКОНСТРУКЦИИ
И ПОСЛЕДОВАТЕЛЬНОСТЬ ИХ РАЗРАБОТКИ И СОГЛАСОВАНИЯ
3.4. Перечень основных документов по организации реконструкции, их содержание, порядок разработки, согласования и утверждения определен
Инструкцией по разработке проектов организации строительства и проектов производства работ. При этом должна быть учтена изложенная далее специфика.
В данном Руководстве рассматриваются основные документы в составе рабочего проекта - при одностадийном проектировании и проекта и рабочей документации - при двухстадийном проектировании. К ним относятся проект организации реконструкции ПОС(р) и проект производства работ ППР(р).
Состав документации по организации реконструкции с указанием задач, решаемых на различных стадиях проектирования, приведен в
табл. 2.
Вид документации, этапы проектирования | Исполнитель |
Задание на проектирование реконструкции | Заказчик |
Материалы предпроектных обследований | Заказчик, генпроектировщик, специализированные проектные организации (при необходимости), генподрядчик, субподрядчики (при необходимости) |
Проект организации строительства ПОС(р) в составе проекта (рабочего проекта): | Генпроектировщик, специализированные проектные организации (при необходимости) |
календарный план реконструкции | Генпроектировщик |
строительный генеральный план | " |
организационно-технологические схемы реконструкции существующих цехов или возведения новых зданий и сооружений взамен сносимых | " |
ведомости объемов работ по объектам, узлам, пусковым комплексам и периодам реконструкции | Генпроектировщик |
график потребности в строительных конструкциях, изделиях, деталях и оборудовании по объектам реконструкции | " |
графики потребности в основных строительных машинах по всем объектам в целом | " |
графики потребности в трудовых ресурсах | " |
решения по выполнению сложных работ | " |
пояснительная записка | " |
Проект производства работ ППР(р): | Оргтехстрои, строительно-монтажные организации, проектные организации |
календарные планы производства работ по объектам, узлам, зданиям | То же |
строительные генеральные планы по отдельным объектам и видам работ | " |
графики поступления на объекты (узлы) строительных конструкций, деталей, материалов и оборудования | Оргтехстрои, строительно-монтажные организации |
графики потребности в рабочих кадрах по объектам (узлам) | Оргтехстрои, строительно-монтажные организации |
проекты сложных устройств | Проектные организации |
графики потребности в строительных машинах и механизмах | Оргтехстрой, строительно-монтажные организации |
технологические карты и схемы организации работ | То же |
3.5. Состав исходных данных для разработки проекта организации реконструкции ПОС
(р) установлен в
Инструкции по разработке проектов организации строительства и проектов производства работ. Наряду с ними должны использоваться материалы предпроектных обследований.
Кроме того, заказчик должен представить проектной организации следующие данные (если они не вошли в материалы предпроектных обследований):
о составе этапов реконструкции предприятия, возможной последовательности работ, продолжительности остановки отдельных производств (цехов) на период выполнения строительно-монтажных работ;
об объеме выпуска продукции каждым реконструируемым производством, цехом на период реконструкции;
о последовательности разборки или переноски инженерных коммуникаций и продуктопроводов, местах подключения временных сетей водоснабжения, энергоснабжения и др.;
о предоставлении строительно-монтажным организациям подъемно-транспортных средств (мостовых кранов, мотовозов, электрокар и др.);
перечень зданий, сооружений и помещений, которые могут быть использованы строительными организациями в период производства работ по реконструкции;
об условиях организации перевозок строительных грузов и передвижения строительной техники по территории предприятия;
об условиях производства строительно-монтажных работ, ограничения при их выполнении (монтажа строительных конструкций, оборудования, бетонных работ, разборки зданий, сооружений, огневых работ и др.).
3.6. При разработке проекта производства работ по реконструкции ППР
(р) дополнительно к сведениям, указанным в
п. 3.5, заказчик должен представить подрядной строительной организации (если их нет в материалах предпроектных обследований) данные:
о составе цехов, узлов, подузлов, участков, на которые может быть расчленен реконструируемый объект;
о режиме выполнения строительно-монтажных работ в действующих цехах (количество смен, сроки и продолжительность остановок отдельных цехов, участков, технологических линий или агрегатов);
о местах подключения потребителей энергии и др.;
о местах складирования строительных материалов, конструкций и оборудования, зоне действия и ограничениях в работе строительных машин, а также условиях размещения на территории объектов временного строительного хозяйства (бытовых помещений, площадок укрупнительной сборки конструкций, мест ревизии, укрупнительной сборки и складирования демонтированного оборудования, а также производства огневых работ).
3.7. Проект производства работ по реконструкции состоит из нескольких разделов, относящихся ко всем основным видам работ. Содержание этих разделов приведено в
гл. 4,
11,
13,
14 данного Руководства.
3.8. В документах ПОС(р) и ППР(р) (ведомостях объемов работ, календарных графиках) должны быть указаны условия выполнения работ (в стесненных, обычных условиях, в действующих цехах). Также должны быть обозначены доостановочные периоды, периоды остановки или "выполнение работ без остановки производства".
3.9. Последовательность разработки и порядок согласования проектно-сметной документации (включая организацию реконструкции) приведены в
табл. 3.
Продолжительность разработки проектов (рабочих проектов) и рабочей документации (включая раздел "Организация строительства") определяется в соответствии с действующими нормами продолжительности проектирования.
Решения по организации реконструкции, принимаемые в составе проекта (рабочего проекта), согласовываются на стадии предпроектных обследований при подготовке задания на проектирование, а также в ходе проектирования. Окончательное согласование оформляется протоколом, приведенным в
прил. 4.
3.10. Проекты производства работ по реконструкции отдельных промышленных объектов или выполнению отдельных видов работ разрабатываются подрядной строительной организацией или оргтехстроями и специализированными институтами, согласовываются с генподрядчиком и дирекцией предприятия.
Согласованию подлежат методы производства, сроки начала и окончания работ, их увязка с работой предприятия, порядок складирования строительных материалов и конструкций, места размещения и зоны работы строительных машин, охраны окружающей среды, предоставление услуг предприятием подрядчикам, обеспечение безопасности и другие вопросы, связанные с выполнением работ на действующем предприятии.
3.11. Пример согласования документов ППР
(р) на работы подготовительного периода при реконструкции предприятия приведен в
прил. 5, а пример согласования проекта производства работ на реконструкцию действующих цехов ППР
(р) - в
прил. 6.
ОРГАНИЗАЦИЯ РЕКОНСТРУКЦИИ ПРОМЫШЛЕННЫХ ПРЕДПРИЯТИЙ
И ОБЪЕКТОВ ПОТОЧНЫМ МЕТОДОМ
3.12. Основным принципом организации реконструкции поточным методом является обеспечение непрерывного выполнения строительных и монтажных работ в короткие сроки при наибольшем совмещении их по времени и в пространстве, путем рационального разделения фронта работ на отдельные объекты, участки, планомерного перемещения бригад и технических средств к местам работ, обеспеченных всеми необходимыми ресурсами.
Поточный метод в условиях реконструкции применяется главным образом при работах в зданиях, сооружениях значительной протяженности с повторяющимися процессами на отдельных участках.
3.13. При реконструкции, как и при новом строительстве, различают частные, специализированные, объектные и комплексные потоки.
Частный поток предназначен для выполнения простейших процессов на захватках, например земляные работы, связанные с усилением фундаментов, монтаж арматуры и опалубки, бетонирование усиливаемых фундаментов.
Специализированный поток - совокупность частных потоков, предназначенных для выполнения отдельных видов работ или возведения конструктивных элементов на объектах или участках (например, усиление фундаментов, замена покрытия, прокладка кабелей и т.п.).
Объектный поток - совокупность специализированных потоков, организуемых на объектах с одинаковыми технологией и организацией строительного производства, когда объекты объединены общей последовательностью их реконструкции.
Комплексный поток - совокупность разновидных объектных потоков, выполняющих реконструкцию комплекса объектов, например пускового комплекса промышленного предприятия.
По характеру ритмичности потоки, занятые реконструкцией, в большей части случаев бывают неритмичными. Неритмичные потоки характеризуются неодинаковыми продолжительностями выполнения каждой отдельной бригадой (звеном) работ на участках.
По продолжительности работы потоки на реконструкцию могут быть краткосрочными, выполняющими работы на отдельных зданиях, сооружениях или группах зданий, и долгосрочными, функционирующими длительное время и охватывающими программу работ, выполняемых строительно-монтажной организацией в течение одного года или двух лет.
3.14. Потоки при реконструкции характеризуются пространственными, технологическими и временными параметрами по аналогии с новым строительством.
3.15. При проектировании поточной организации реконструкции необходимо учитывать ограничения, связанные с продолжением функционирования реконструируемого производства. С этой целью в составе ПОС(р) и ППР(р) должна быть предусмотрена увязка всех процессов по реконструкции с продолжением работы предприятия.
При реконструкции очередей или пусковых комплексов рекомендуется выделять следующие объектные потоки: здания и сооружения основного производственного назначения, объекты вспомогательного и обслуживающего назначения, специальные сооружения, внутриплощадочные дороги, коммуникации (раздельно по их видам), благоустройство территории.
3.16. Организация поточного выполнения работ проводится по следующим этапам:
определение очередности реконструкции цехов (производств), зданий, сооружений;
разбивка реконструируемых объектов, зданий, сооружений на участки и захватки;
расчленение объемов работ на процессы для комплектования потоков;
комплектование потоков (назначение численного состава звеньев, бригад, средств механизации, приспособлений, оснастки, инвентаря);
подготовка графиков потока.
3.17. Очередность реконструкции цехов, производств, зданий и сооружений устанавливается дирекцией предприятия из соображений наименьшего сокращения объема выпускаемой продукции. При необходимости оценки различных вариантов очередности должны быть выполнены расчеты по рекомендациям
пп. 3.38 -
3.62. Если уменьшение выпуска продукции не может быть восполнено организационно-технологической перестройкой предприятия (
п. 1.11 Руководства), должно быть получено согласование министерства на проведение реконструкции с уменьшением выпуска продукции.
3.18. При разбивке цехов, зданий и сооружений на участки и захватки должны быть учтены следующие условия.
Размеры участков и захваток должны быть достаточными для размещения на них с учетом требующейся безопасности выполнения работ звеньев и бригад (с их техникой), входящих в поток.
При увеличении размеров участков увеличивается продолжительность выполнения работ на них и продолжительность остановки производства на участках.
Если в ходе реконструкции выполняются работы по замене элементов каркаса здания (подкрановых балок, ферм и балок покрытий, колонн), необходимо, чтобы участок представлял часть здания с элементами, обеспечивающими его пространственную жесткость.
При разделении здания на участки необходимо всесторонне учитывать интересы действующего производства (сохранение транспортных и других коммуникаций, возможность установки отгораживающих перегородок, защиту от проникания холодного воздуха, пыли, сохранение материальных ценностей и др.).
3.19. Для формирования специализированных потоков объемы работ по реконструкции должны быть разделены на процессы в соответствии с установившейся профессиональной структурой бригад. В качестве примера можно привести следующее членение внутрицеховых работ:
демонтаж технологического оборудования;
разборка конструкций (перегородок, стен, полов, фундаментов оборудования, покрытий и др.);
земляные работы, связанные с перекладкой внутрицеховых коммуникаций и переустройством фундаментов;
демонтаж и монтаж строительных конструкций (балок, ферм, подкрановых балок, колонн и др.);
бетонные работы по усилению конструкций и переустройству фундаментов;
монтаж технологического оборудования;
заключительные процессы (устройство полов, отделочные работы и др.).
3.20. Численный состав бригад N в потоках определяется общепринятыми методами с учетом особенностей реконструкции по формуле

(1)
где V - объем работы в физических единицах;
Hвр - норма времени в чел.-ч на единицу работы, принимаемая по ЕНиР;
K1 - повышающий коэффициент к нормам времени для работ, выполняемых в условиях реконструкции, принимаемый по Общей части ЕНиР;
t - число часов работы в смену на рассматриваемой работе;
n - время, отводимое по календарному графику для выполнения рассматриваемого вида работ, смен;
K2 - коэффициент, учитывающий перевыполнение норм выработки рабочими бригад.
Графики потоков при реконструкции строятся с учетом ряда особенностей. На рис. 2 - 4 приведены примеры графиков потоков при выполнении внутрицеховых работ.
Рис. 2. График потока при реконструкции цеха
с частичной остановкой производства (поочередная остановка
производства на реконструируемых участках). Цифры 2, 3
означают количество смен работы производства
и на строительно-монтажных работах
I - VI - специализированные потоки
Рис. 3. График потока при реконструкции цеха с частичной
остановкой производства (уменьшение числа смен работы
в период реконструкции участков цеха)
I - VI - специализированные потоки;
1 - 3 - количество смен работы
Рис. 4. График потока при реконструкции цеха с полной
остановкой производства на период реконструкции
I - VI - специализированные потоки;
1, 2, 3 - количество смен работы
3.21. Первой особенностью составления графиков потока в условиях реконструкции является отличие объемов работ на различных участках. Выравнивание ритмов потоков на различных участках может быть осуществлено изменением в ходе работ численного состава частных и специализированных потоков за счет перестановки рабочих из одних звеньев и бригад в другие. Для этого необходимо, чтобы они владели в большей мере, чем при новом строительстве, смежными профессиями.
В условиях реконструкции необходимо, чтобы работы выполнялись укрупненными бригадами, работающими на принципах подряда и хозяйственного расчета, заинтересованными в конечных результатах.
3.22. Вторая особенность графиков состоит в том, что на них должна быть показана увязка работ по реконструкции с работами действующего предприятия, должно быть отражено, как проводятся работы (без остановки, с частичной остановкой, с полной остановкой), когда и где начинаются и заканчиваются остановки производства.
На графиках потоков по реконструкции должно быть указано количество смен работы производства и строительно-монтажных организаций до начала реконструкции, во время ее и по окончании.
3.23. Третья особенность поточной организации реконструкции состоит в необходимости организовать совместную работу бригад разной подчиненности. Так, например, в общий объектный поток внутрицеховых работ входят: специализированный поток по демонтажу оборудования, состоящий чаще всего из рабочих предприятия, несколько потоков от генподрядчика (разборка конструкций, переустройство фундаментов, демонтаж и монтаж конструкций, усиление конструкций), поток по монтажу оборудования, наиболее часто состоящий из монтажников Минмонтажспецстроя СССР.
Эта особенность требует тщательной организационной подготовки, четко организованного оперативного управления и что наиболее сложно - создание общей материальной заинтересованности рабочих разной подчиненности.
На
рис. 2 изображен график потока по реконструкции цеха, проводимой по участкам. Производство в цехе предусмотрено останавливать поочередно по участкам. При проектировании данного потока введено ограничение - в период реконструкции производство в цехе не может быть остановлено более чем на двух участках из четырех. В период перед реконструкцией, для создания запаса изделий на период частичной остановки, производство работает в три смены. После окончания реконструкции на участках, до ее полного окончания работа также ведется в три смены.
Наклон линий на графике потока, определяющий скорость его движения, зависит от объемов работ на участках и численного состава бригад.
3.24. Продолжительность реконструкции объекта для разных случаев может быть определена путем построения графиков. Однако в практике проектирования потоков продолжительность работ на объекте задается заранее из календарного плана ПОС(р), она и должна быть принята за основу при построении графика потока или расчете его параметров.
3.25. Для случая, изображенного на графике
рис. 2, между продолжительностью реконструкции
Tр и другими параметрами потока имеется зависимость

(2)
где

- период развертывания потока на первом участке, дн.;

- продолжительность выполнения заключительной работы на участке
i, дн.;
m - число участков.
В свою очередь

(3)
| | ИС МЕГАНОРМ: примечание. Обозначения даны в соответствии с официальным текстом документа. | |
где

- величина организационно-технологического перерыва между смежными работами потока, дн.;
n - количество работ, равное числу потоков на
рис. 2,
n = 6.
Tр = 71,5 дн.
3.26. Так как величина
Tр для объектов определена в ПОС
(р), при разработке графиков потока определяются требующиеся величины

и

для конкретных рассматриваемых условий и объемов работ с учетом обеспечения нормального проведения процессов реконструкции. При этом имеет большое значение правильное назначение величин организационно-технологических перерывов между процессами, выполняемыми различными специализированными потоками. Они должны быть минимальными, так как определяют продолжительность остановки производства, но достаточными для производительной и безопасной работы бригад.
Величины этих перерывов должны каждый раз определяться для конкретных условий с учетом объемов работ и других факторов.
Процессы, выполняемые различными потоками, в особенности в период остановки производства, должны всемерно ускоряться и сближаться один с другим, даже если при этом происходит их некоторое удорожание. При организации выполнения работ по реконструкции необходимо учитывать, что каждый лишний день остановки производственных фондов предприятия стоимостью 1 млн. руб. приносит ущерб народному хозяйству 500 - 600 руб.
3.27. График для случая реконструкции цеха с полной остановкой производства, когда работы ведутся одновременно на всех участках, приведен на
рис. 4:

(4)
3.28. Графики комплексных потоков в условиях реконструкции мало отличаются от составляемых при новом строительстве. Отличие состоит в том, что на них должно быть отражено начало и конец полных и частичных остановок производств с уточнением разновидности частичных остановок (по участкам или с уменьшением числа смен).
3.29. Кроме объектных и комплексных графиков потока в условиях реконструкции разрабатываются декадные, недельные, суточные и почасовые графики. Основными задачами при их составлении являются уточнения заданий бригадам на более короткий срок и увязка работ по реконструкции с функционированием производства, в особенности в случаях использования для работ по реконструкции мостовых кранов предприятий, мотовозов, электрокар и других технических средств, обслуживающих одновременно и реконструкцию, и производство.
УЗЛОВОЙ МЕТОД ОРГАНИЗАЦИИ РЕКОНСТРУКЦИИ
3.30. Узловой метод применяется при реконструкции крупных предприятий и сложных объектов. Степень сложности объектов принимается в соответствии с
Инструкцией по разработке проектов организации строительства и проектов производства работ.
Сущность узлового метода в условиях реконструкции заключается в членении объекта или комплекса объектов на обособленные части - узлы, готовность которых после завершения реконструкции позволяет выпускать предусмотренную продукцию.
Для узлового метода организации реконструкции характерна концентрация трудовых и материально-технических ресурсов для сокращения продолжительности работ на узлах.
3.31. При реконструкции крупных предприятий и сложных объектов, как и в условиях их нового строительства, различают технологические, строительные и общеплощадочные узлы.
При увязке во времени работ, выполняемых на технологических, строительных и общеплощадочных узлах, необходимо учитывать технологические взаимосвязи между узлами.
В связи с этим при проектировании организации реконструкции должны быть учтены все работы на части переустраиваемого предприятия (на различных узлах), выполнение которых требуется для ввода в эксплуатацию и начала выпуска продукции реконструируемым цехом (производством). Так, например, для выпуска продукции после реконструкции литейного корпуса станкостроительного завода
(рис. 5) необходимо до окончания работ по реконструкции на строительном узле
5 и технологических узлах
18 -
20 или одновременно с ними завершение строительства и реконструкции зданий и сооружений общеплощадочных узлов
23 и
25.
Рис. 5. Схематический план реконструируемого
станкостроительного завода с разбивкой комплекса на узлы
3.32. Пример формирования узлов приведен на
рис. 5 применительно к реконструкции станкостроительного завода. Состав строительных, технологических, общеплощадочных узлов и подузлов приведен в
табл. 4.
Узлы и подузлы, их обозначение на рис. 5 | Узлы и подузлы, их обозначения на рис. 5 |
СТРОИТЕЛЬНЫЕ 1 - механический корпус N 1; 2 - механический корпус N 2; 3 - механический корпус N 3: 3-1 - реконструируемая часть; 3-2 - пристройка; 4 - кузнечно-заготовительный корпус: 4-1 - реконструируемая часть; 4-2 - пристройка; 5 - литейный корпус: 5-1 - реконструируемая часть; 5-2 - пристройка; 6 - инструментальный корпус. ТЕХНОЛОГИЧЕСКИЕ 7 - сборочный цех; 8 - отделение окраски и упаковки изделий; 9 - склад готовой продукции; 10 - механические цехи: 10-1 - цех базовых деталей; 10-2 - цех валов, шестеренок, шпинделей; | 11 - термическое отделение; 13 - механические цехи: 13-1 - корпусных деталей, планок, реек, клинов; 13-2 - втулок и мелких корпусов; 14 - гальваническое и термическое отделения; 15 - экспериментальное и ремонтно-механическое отделения; 16 - прессовый участок и участок раскроя; 17 - участок предварительной термообработки; 18 - шихтовое отделение; 19 - подготовительное отделение; 20 - литейное отделение; 21 - инструментальный цех. ОБЩЕПЛОЩАДОЧНЫЕ 22 - инженерно-лабораторный корпус; 23 - железнодорожные пути; 24 - подготовительные работы; 25 - водоснабжение и канализация |
3.33. Формирование узлов начинают с определения границ технологических узлов. После этого определяют строительные узлы, в состав которых включают здания, сооружения производственного назначения или части зданий, сооружений. В пределах строительного узла выполняются строительные работы, завершение которых позволит начать механомонтажные работы. При этом в строительном узле должно быть целое число технологических узлов.
В состав общеплощадочных узлов включаются здания и сооружения вспомогательного и обслуживающего назначения, а также инженерные коммуникации, необходимые для функционирования узлов основного производственного назначения.
3.34. Для организации строительно-монтажных работ по узлам, имеющим сложные объемно-планировочные, конструктивные решения и технологические схемы промышленного производства при больших объемах работ, узлы разделяются на подузлы.
3.35. Состав, содержание, порядок разработки и согласования документов по организации реконструкции узловым методом аналогичны приведенным в
пп. 3.4 -
3.11 настоящего Руководства с той разницей, что они разрабатываются по каждому узлу.
Дополнительно при узловом методе должны разрабатываться документы по формированию узлов. Исходными данными при этом являются: генеральный план предприятия, технологическая и строительная часть проекта, состав и объемы работ, данные о мощности и специализации строительно-монтажных организаций.
3.36. В составе документов ПОС(р) разрабатываемых с применением узлового метода организации реконструкции, должны быть:
строительный генеральный план с разбивкой зданий и сооружений на узлы;
ведомости объемов работ по каждому узлу с указанием условий их выполнения;
организационно-технологические схемы реконструкции зданий и сооружений с учетом взаимоувязки узлов и указаниями о методах производства сложных работ;
календарный план реконструкции пускового комплекса или предприятия, в котором устанавливаются очередность, сроки и продолжительность реконструкции узлов и остановок производств предприятия, сменность работы производств в период реконструкции;
графики потребности в трудовых, материальных ресурсах и средствах механизации;
пояснительная записка.
3.37. В составе ППР(р) должны быть следующие документы:
календарные планы выполнения работ по реконструкции по узлам и подузлам, в которых устанавливаются последовательность и сроки выполнения работ и определяется потребность в трудовых ресурсах;
строительные генеральные планы по узлам и для различных видов работ (при необходимости) с нанесением постоянных зданий и сооружений, инженерных сетей, расположения средств механизации, временных зданий и сооружений, используемых для проведения реконструкции;
технологические карты и схемы для сложных работ, в которых определяются способы и условия их выполнения в увязке с действующим производством с учетом стесненности и других факторов.
При увязке работ по узлам необходимо предусматривать равномерное использование трудовых и технических ресурсов.
ОЦЕНКА ЭКОНОМИЧЕСКОЙ ЭФФЕКТИВНОСТИ РЕШЕНИЙ ПО ОРГАНИЗАЦИИ
РЕКОНСТРУКЦИИ ПРОМЫШЛЕННЫХ ПРЕДПРИЯТИЙ
3.38. При реконструкции больших и сложных промышленных предприятий министерствам (ведомствам)-заказчикам рекомендуется разрабатывать с разрешения Госстроя СССР варианты отдельных решений в составе проектов организации реконструкции - ПОС
(р) и проектов производства работ - ППР
(р), о чем следует указывать в заданиях на проектирование.
Оптимальный вариант организации реконструкции и производства работ в этом случае рекомендуется выбирать в соответствии с излагаемой методикой.
3.39. Целью оценки экономической эффективности проектных решений в проектах организации реконструкции и проектах производства работ при реконструкции является выбор экономически обоснованного варианта.
3.40. В соответствии с
Инструкцией по определению экономической эффективности капитальных вложений в строительстве экономическое обоснование решений по организации реконструкции основывается на:
определении сравнительной экономической эффективности вариантов организационных решений;
соблюдении условий сопоставимости оцениваемых решений;
соблюдении народнохозяйственного подхода;
учете фактора времени.
3.41. Выбор варианта организации реконструкции и производства работ осуществляется по минимуму народнохозяйственных потерь за весь период реконструкции.
3.42. Приведение разновременных затрат и эффектов к базисному году - году окончания реконструкции, производится с помощью коэффициента дисконтирования B:
B = (1 + Eн.п)t, (5)
где Eн.п - нормативный коэффициент приведения;
t - период времени приведения в годах.
3.43. Так как реконструкция действующих предприятий всегда направлена на внедрение современных технологических процессов, более совершенного оборудования и основывается на применении новых технических решений, при расчетах народнохозяйственных потерь нормативный коэффициент эффективности капитальных вложений
Eн и норматив приведения разновременных затрат
Eн.п принимаются в соответствии с
Инструкцией по определению экономической эффективности использования в строительстве новой техники, изобретений и рационализаторских предложений.
3.44. Решения ПОС(р) и ППР(р) оказывают существенное влияние на эффективность капитальных вложений, выделяемых на обновление действующих основных фондов, на эффективность деятельности самого предприятия в период реконструкции, на условия производства строительно-монтажных работ, на эффективность деятельности строительных организаций, занятых осуществлением реконструкции.
Поэтому оценка эффективности организационных решений, основываясь на соблюдении народнохозяйственного подхода, учитывает интересы и заказчика, и подрядчика.
3.45. В отличие от действующей
Инструкции по разработке ПОС и ППР, рекомендующей оценивать эффективность организационных решений путем сравнения приведенных затрат в отрасли "Строительство", при реконструкции действующих предприятий эффективность вариантов определяется на уровне народного хозяйства.
3.46. В качестве критерия оценки сравнительной эффективности организационных решений при разработке ПОС(р) принимается величина суммарных потерь за весь период проведения работ по реконструкции, учитывающих нарастающим итогом за период реконструкции затраты и эффекты с оценкой их изменения во времени.
3.47. Показатель сравнительной эффективности организационных решений отражает:
рациональность распределения капитальных вложений, выделяемых на реконструкцию действующего производства;
изменение мощности в различные периоды реконструкции;
рациональность использования производственных фондов строительных организаций, ведущих реконструкцию;
сокращение длительности периода реконструкции.
3.48. Потери по вариантам организации реконструкции Пj определяются по формуле
Пj = Пj1 + Пj2 - Эj, (6)
где Пj1 - условные потери от отвлечения капитальных вложений в период реконструкции;
Пj2 - потери в результате остановки действующих производственных фондов в период реконструкции;
Эj - эффект от изменения мощности в период реконструкции - следствие постепенного прироста выпуска продукции и сокращения периода реконструкции;
j - номер варианта, j = 1, 2, ..., m.
3.49. Условные потери от отвлечения капитальных вложений в период реконструкции складываются из недополученной прибыли вследствие омертвления средств в процессе реконструкции, отвлечения производственных фондов строительных организаций и дополнительных капитальных вложений на поддержание производственной мощности в период реконструкции.
При осуществлении реконструкции в одну очередь условные потери от отвлечения капитальных вложений приводятся к сроку, соответствующему варианту с большей продолжительностью, а при реконструкции в две и более очередей, если срок реконструкции каждой очереди превышает один год, приведение осуществляется в два этапа - сначала к моменту окончания реконструкции соответствующей очереди, а затем - к максимальному сроку окончания реконструкции.

(7)
где i - номер реконструируемой очереди, i = 1, 2, ..., n;
Kjit - капитальные вложения в реконструкцию i-той очереди в t-том году при j-том варианте организации реконструкции;

- стоимость производственных фондов строительных организаций, занятых в
t-том году на реконструкции
i-той очереди, при
j-том варианте организации реконструкции;

- дополнительные капитальные вложения на поддержание мощности в период реконструкции
i-той очереди в
t-том году при
j-том варианте организации реконструкции;
, 
- соответственно сроки начала и окончания реконструкции
i-той очереди при
j-том варианте организации;

- срок окончания всех работ при
j-том варианте организации реконструкции;
Eн - нормативный коэффициент эффективности капитальных вложений, равный 0,15;
B1 - коэффициент приведения разновременных затрат к сроку окончания i-той очереди при j-том варианте организации реконструкции:

(8)
где Eн.п - нормативный коэффициент приведения, равный 0,1;
B2 - коэффициент приведения разновременных затрат к сроку, соответствующему варианту с большей продолжительностью:

(9)
3.50. Потери от остановки действующих фондов реконструируемой очереди или предприятия в целом Пj2 представляют собой недополученную прибыль в размере нормативной отдачи. Приведение потерь осуществляется к максимальному сроку окончания реконструкции

(10)
где

- стоимость основных фондов
i-той очереди при
j-том варианте организации реконструкции, останавливаемых на время реконструкции;
B3 - коэффициент приведения затрат к сроку окончания реконструкции:

(11)
3.51. Эффект от изменения мощности предприятия (постепенного прироста выпуска продукции) в период реконструкции и сокращения периода реконструкции Эj представляет собой дополнительную прибыль в размере нормативной отдачи. Приведение эффекта осуществляется к максимальному сроку окончания реконструкции

(12)
где

- стоимость введенных после реконструкции основных фондов
i-той очереди при
j-том варианте организации реконструкции;

- коэффициент, учитывающий возможность реализации досрочно выпущенной продукции.
Коэффициент

устанавливается в каждом конкретном случае по согласованию с заказчиком и может принимать значения 0 или 1 соответственно при отсутствии или наличии возможности полной реализации продукции вводимой очереди;
B4 - коэффициент приведения эффекта к сроку окончания реконструкции:

(13)
3.52. В общем виде показатель сравнительной эффективности вариантов организации реконструкции имеет вид

(14)
3.53. При реконструкции крупных и сложных предприятий и объектов, для которых в задании на проектирование предусматривается разработка нескольких вариантов с целью выбора оптимальных решений, в процессе формирования вариантов организации в составе ПОС(р) рассматриваются несколько технологически допустимых методов проведения реконструкции.
3.54. Различным методам проведения реконструкции соответствует своя модификация показателя сравнительной эффективности организации реконструкции. В рамках одного метода реконструкции могут варьироваться количество очередей, последовательность проведения реконструкции отдельных производств (объектов), степень совмещения и интенсивность выполнения работ на отдельных объектах, что соответственно изменяет распределение капитальных вложений по годам реконструкции, сроки остановки действующих фондов, прирост мощности в период реконструкции и общую продолжительность реконструкции.
На
рис. 6 представлены схемы приведения разновременных затрат и эффектов при разных методах реконструкции предприятия.
Рис. 6. Схема приведения разных методов
реконструкции предприятия
I метод (а) - реконструкция в одну очередь с полной остановкой действующего производства:

(15)
II метод (б) - реконструкция в одну очередь без остановки - без снижения производственной мощности предприятия:

(16)
III метод (в) - реконструкция в несколько очередей с остановкой действующего производства реконструируемой очереди (с частичным снижением мощности):

(17)
IV метод (г) - реконструкция в несколько очередей без остановки действующего производства - без снижения мощности предприятия:

(18)
На
рис. 6 стрелками указан порядок приведения разновременных затрат и эффектов: сплошной линией показано приведение капитальных затрат, а пунктирной - потерь от остановки действующих фондов и эффекта от их ввода после реконструкции.
3.55. При обосновании вариантов решений ППР(р) в качестве критерия выбора принимаются приведенные затраты, соизмеряющие текущие и капитальные затраты в сфере строительного производства и учитывающие дополнительные издержки заказчика (предприятия) и подрядчика (строительной организации) в период реконструкции, а также эффекты от сокращения продолжительности реконструкции.
3.56. В общем случае при любых видах обновления основных фондов промышленных объектов (цехов, технологических линий), приведенные затраты по вариантам организации строительного производства могут быть рассчитаны по формуле

(19)
где Cz,t - сметная себестоимость СМР по варианту организации строительного производства z в t-том году реконструкции;

- капитальные вложения в основные производственные фонды по варианту организации
z в
t-том году реконструкции;

- капитальные вложения в оборотные материальные средства по варианту организации
z в
t-том году реконструкции;

- дополнительные издержки предприятия по варианту организации
z в
t-том году реконструкции;

- дополнительные издержки, возникающие в сфере строительного производства по варианту организации
z в
t-том году реконструкции;
T - продолжительность реконструкции;
t - порядковый год реконструкции, t = 1, ..., T;

- экономия условно-постоянных расходов при сокращении продолжительности реконструкции объектов;

- экономический эффект от функционирования объектов за период досрочной их реконструкции.
3.57. При проведении реконструкции последовательно по отдельным объектам и участкам дополнительные издержки, возникающие на предприятии, определяются по формуле

(20)
где ait - часть t-того года, в течение которой ведутся СМР на объекте или участке i (берется по календарному плану, ait <= 1);

- сумма годовых амортизационных отчислений от стоимости останавливаемого оборудования, объекта или участка
i;

- стоимость
k-того технологического оборудования и сооружений на объекте или участке
i;

- норма амортизационных отчислений
k-того оборудования на объекте или участке
i в долях единицы;

- сумма доплат по заработной плате рабочих останавливаемого в период реконструкции объекта или участка
i;
Сц - сумма условно-постоянной части годовых цеховых расходов, принимаемая по данным предприятия;
Со - сумма годовых общезаводских расходов, принимаемая по данным предприятия;

- относительное снижение мощности предприятия в период реконструкции объекта или участка
i;
Мдр, Мр - мощности предприятия соответственно до и в период реконструкции.
3.58. Если реконструкция объектов предприятия (цехов, технологических линий) проводится с полной остановкой основного производства, дополнительные издержки предприятия в период проведения реконструкции вычисляют аналогично
формуле (20), с той лишь разницей, что составляющие потерь определяются по всему объекту в целом:

(21)
Дополнительные затраты при переносе оборудования реконструируемого цеха на новую или свободную площадь либо на временные производственные площади должны отразиться на себестоимости продукции и соответственно издержках предприятия.
3.59. Дополнительные издержки в сфере строительного производства определяются в зависимости от условий выполнения работ по формуле

(22)
где H - норматив накладных расходов;
| | ИС МЕГАНОРМ: примечание. В официальном тексте документа, видимо, допущена опечатка: пункт [13] отсутствует. | |

- коэффициент к заработной плате и стоимости эксплуатации машин по варианту
z (принимается по ЕНиР, общая часть) [13];

- удельные веса основной заработной платы и стоимости эксплуатации машин в сметной себестоимости строительно-монтажных работ, устанавливаемые на основании объектных смет.
3.60. В
формулах (19) и
(22) сметная себестоимость строительно-монтажных работ
Cz,t определяется путем суммирования себестоимости работ, выполняемых в
t-том году, в соответствии с рассматриваемым вариантом календарного плана. Капитальные вложения в основные производственные фонды по вариантам организации реконструкции определяются по формуле

(23)
где Фz,g,t - балансовая (инвентарно-расчетная) стоимость g-той машины;
TМz,g,t - число дней работы на объекте g-той машины;
TГg - число дней работы g-той машины в году.
Капитальные вложения в оборотные средства строительных организаций в t-том году реконструкции определяют по формуле

(24)
где

- норматив оборотных материальных средств строительной организации.
3.61. Эффект от уменьшения размера условно-постоянных расходов строительной организации

в результате сокращения продолжительности реконструкции объектов предприятия определяется по формуле

(25)
где Hу - размер условно-постоянных расходов;
Tz, Tэ - продолжительности соответственно z-того и эталонного вариантов организации реконструкции, год.
Условно-постоянная часть расходов определяется в соответствии с
п. 2.18 Инструкции по определению экономической эффективности использования в строительстве новой техники, изобретений и рационализаторских предложений.
3.62. Экономический эффект от функционирования объектов за период досрочной их реконструкции определяется по формуле

(26)
где Eн - нормативный коэффициент сравнительной эффективности капитальных вложений;
Ф - сметная стоимость досрочно вводимых фондов предприятия, тыс. руб.
ОРГАНИЗАЦИЯ УПРАВЛЕНИЯ РЕКОНСТРУКЦИЕЙ
3.63. Управление предприятием (в том числе строительно-монтажной организацией) осуществляется на основе принципа единоначалия его руководителем (директором, управляющим, начальником) и по установленному распределению обязанностей - другими должностными лицами предприятия.
3.64. Целесообразно до начала реконструкции издание совместных приказов руководства предприятия и строительно-монтажной организации, с указанием в них фамилий ответственных руководителей работ по реконструкции от заказчика (предприятия) и подрядных организаций, по объектам в целом и их отдельным участкам, а также сроков и порядка:
освобождения и передачи исполнителям работ оборудования, коммуникаций, узлов, площадок, участков, зданий, подлежащих реконструкции или временному использованию с указанием ответственных исполнителей этих работ;
переноса железнодорожных путей, автомобильных дорог, линий электропередач, связи, пара, воды, кислорода, воздуха, газа и др.;
передачи подрядным организациям складских помещений и площадок внутри и вне действующих цехов и зданий, мест разгрузки и укрупнительной сборки нового и складирования демонтируемого оборудования;
обеспечения всех площадок энергоресурсами (электроэнергией, водой, паром, воздухом, кислородом и др.) и телефонной связью;
использования и обслуживания мостовых кранов в действующих цехах для демонтажа и монтажа оборудования;
создания безопасных условий работы строителей и монтажников при работающем оборудовании с указанием ответственных лиц за технику безопасности на каждом участке, зоне, цехе;
организации бытовых условий строителей и монтажников, в том числе гардеробов, душевых, столовых, буфетов, медпунктов и др., обеспечение перевозки рабочих, имеющимся у завода транспортом;
передачи (по возможности) персонала цеха на время реконструкции в строительные и монтажные организации, производящие работы по реконструкции;
разработки специальных мероприятий на участках, представляющих опасность взрыва, пожара, загазованности, химических отравлений и др.
3.65. Организация строительного производства в условиях реконструкции крупных промышленных предприятий, в которой участвуют многие строительно-монтажные и проектные организации, подразделения и службы заказчика, требует четкой координации их действий.
С этой целью, не нарушая принципа единоначалия, на таких стройках целесообразно создавать координационные центры - оперативные штабы реконструкции.
3.66. В отличие от нового строительства, координация действий участвующих в реконструкции организаций усложняется из-за непрекращающейся работы самого предприятия по выпуску продукции. Это должно учитываться при формировании оперативного штаба реконструкции.
3.67. Задачами оперативного штаба реконструкции являются:
контроль за выполнением графиков работ и внесение в них при необходимости изменений с учетом возникших непредвиденных работ и ситуаций;
увязка деятельности организаций и подразделений участников реконструкции и принятие решений по возникшим затруднениям (предоставление фронта работ, обеспечение материалами, деталями, конструкциями, оборудованием и т.п.);
установление конкретных сроков остановок производства в отдельных цехах, технологических линиях и агрегатах;
рассмотрение технических, технологических и организационных вопросов, возникающих в процессе реконструкции, и принятие по ним решений;
подготовка справок о выполнении планов и заданий подразделениями, участвующими в реконструкции, для подведения итогов социалистического соревнования.
3.68. Оперативные штабы реконструкции следует создавать по решению министерств заказчика и подрядчика и совместным их приказом назначать руководителей штабов и их заместителей, которыми могут быть генеральные директора производственных или строительно-монтажных объединений, директора заводов или управляющие строительно-монтажными трестами и соответствующие им главные инженеры.
При сложной реконструкции промышленного предприятия, сосредоточенной главным образом внутри действующих цехов, руководителем оперативного штаба целесообразно назначать от руководства производственного объединения (предприятия), заместителем руководителя штаба в этом случае должен быть представлен от строительно-монтажного объединения (треста).
3.69. Назначать руководителями оперативных штабов ответственных работников министерств (начальников и главных инженеров главков, заместителей министров) рекомендуется только в исключительных случаях (крайне сжатые сроки реконструкции, когда требуется особо активное участие министерств в оказании помощи реконструируемому предприятию, когда в реконструкции участвует несколько министерств и др.).
3.70. В оперативной работе штаб использует по согласованию с генподрядчиком и заказчиком аппарат и службы последних, имея в виду привлечение для временной работы в штабе минимального числа лиц (3 - 5 чел.), в обязанности которых должны входить:
сбор и обобщение информации о выполнении планов строительно-монтажных работ и других заданий за истекший период (неделя, сутки), а также других данных, получаемых от аппарата и служб заказчика, генподрядчика и субподрядных организаций;
подготовка на основе полученной информации соответствующих предложений;
оформление принимаемых решений на оперативных совещаниях.
3.71. Принятие на оперативных совещаниях штаба решения являются обязательными для всех исполнителей.
Порядок проведения и сроки оперативных совещаний штабов устанавливает руководитель штаба с учетом ограниченности времени для их проведения.
3.72. Для подготовки решений по техническим, технологическим и организационным вопросам, возникшим в процессе реконструкции, оперативный штаб поручает группе специалистов от заказчика и строительно-монтажных организаций рассмотреть поставленный на совещании вопрос и подготовить решение по нему с жестким сроком исполнения.
3.73. Работа оперативного штаба реконструкции завершается подготовкой предложений о порядке приемки в эксплуатацию законченного реконструкцией предприятия в действие; о проведении комплексного опробования оборудования; о номенклатуре и количестве актов рабочих комиссий и др.
Руководителя оперативного штаба реконструкции целесообразно включать в состав государственных приемочных комиссий.
ОРГАНИЗАЦИЯ МАТЕРИАЛЬНО-ТЕХНИЧЕСКОГО ОБЕСПЕЧЕНИЯ
В УСЛОВИЯХ РЕКОНСТРУКЦИИ
3.74. План материально-технического обеспечения реконструируемых объектов составляется исходя из календарных планов работ по реконструкции с учетом опережающей поставки материалов, конструкций, деталей и оборудования в объеме, предусмотренном проектами и сметами.
При составлении и реализации плана следует предусматривать образование на складах запасов материально-технических ресурсов, обеспечивающих бесперебойную работу строительно-монтажных организаций.
Номенклатура и объем ресурсов определяется расчетами в каждом конкретном случае реконструкции. При этом к моменту остановки производства (очереди, цеха, технологической линии, установки) целесообразно создавать на строительной площадке стопроцентное наличие всех ресурсов, необходимых для выполнения в кратчайший срок всех намеченных на остановочный период работ.
Планом обеспечения объектов реконструкции материально-техническими ресурсами кроме материалов, деталей, конструкций и оборудования должно предусматриваться также предоставление строительных машин, механизмов, оснастки, приспособлений, инструментов и инвентаря.
3.75. Организация обеспечения материально-техническими ресурсами реконструируемых предприятий (объектов) существенно не отличается от организации обеспечения нового строительства.
Комплектная поставка ресурсов осуществляется следующими поставщиками:
внешними предприятиями-поставщиками (оборудование);
базами территориальных органов Госснаба СССР;
предприятиями промышленности строительных конструкций (стройиндустрия);
базами управления производственно-технологической комплектации строительно-монтажных объединений (трестов);
предприятиями местной промышленности.
3.76. В отличие от нового строительства в отдельных случаях в обеспечении материально-техническими ресурсами реконструируемых предприятий (объектов) может участвовать предприятие-заказчик, что должно найти отражение в особых условиях к договору подряда на реконструкцию.
3.77. По каждому источнику поступления на основании плана материально-технического обеспечения должен составляться и согласовываться транспортно-комплектовочный график с указанием номенклатуры материалов, конструкций, деталей и оборудования, их количества, сроков поступления на строительную площадку, видов транспорта.
3.78. Места хранения материально-технических ресурсов в зависимости от их объема и номенклатуры указываются на стройгенплане реконструкции, а виды, типы и размеры складских помещений и открытых площадок - в проектах организации реконструкции.
3.79. Основной документацией по комплектованию материально-техническими ресурсами для реконструкции является унифицированная нормативно-технологическая документация (УНТД) по комплектации, в состав которой входят:
карточки реквизитов;
схемы образования технологических комплектов;
комплектовочно-технологические карты;
сводная комплектовочно-технологическая карта;
транспортно-комплектовочные графики.
При составлении УНТД рекомендуется пользоваться Инструкцией по разработке унифицированной нормативно-технологической документации по комплектации при подготовке производства работ для объектов промышленного и гражданского строительства Минпромстроя СССР.
3.80. Комплектование реконструируемых предприятий (объектов) оборудованием является составной частью материально-технического снабжения реконструкции. В нем участвуют министерства-заказчики, проектные организации, планирующие органы, дирекции реконструируемых предприятий, организации Госснаба СССР (Главкомплекты), предприятия-изготовители.
Комплектование оборудованием производится на основании проектно-сметной документации, в соответствии с которой составляются заказные спецификации.
На основании заказных спецификаций и графиков монтажа оборудования с учетом неустановленного оборудования и сроков изготовления составляются комплектовочные ведомости на весь период реконструкции (с разбивкой по годам) и заключаются соответствующие договора.
Технологические линии, установки и агрегаты реконструируемых объектов должны поставляться машиностроительными министерствами комплектно.
3.81. При заключении договора на поставку оборудования следует учитывать требования монтажной технологии и предусматривать максимально возможную для данных конкретных условий заводскую готовность оборудования. Для подготовки договоров на поставку оборудования (технологических линий, установок и агрегатов) в части определения его комплектности, дополнительных технических требований по заводской готовности и последовательности поставки заказчику рекомендуется привлекать представителей монтажных организаций.
При поставке негабаритного оборудования в отдельных случаях может быть предусмотрена контрольная сборка, выполняемая на предприятии-изготовителе в присутствии представителей заказчика и монтажной организации.
Если по условиям монтажа невозможно установить оборудование (или его отдельные части) крупными блоками, заказчик (по предложению монтажной организации) должен оговорить с предприятием-изготовителем поставку оборудования сборными единицами, отличными от технических условий на поставку.
Новое оборудование должно поставляться в соответствии с действующими ТУ и условиями договора и не должно требовать разборки при монтаже.
3.82. Передача и приемка оборудования в монтаж в условиях реконструкции производится применительно к требованиям главы
СНиП "Технологическое оборудование. Основные положения".
Оборудование и трубопроводы, подлежащие демонтажу, должны быть разделены на подлежащие ремонту и восстановлению или на списание.
Демонтированное оборудование, подлежащее ревизии, ремонту и восстановлению, направляется в ремонтно-механические цехи заказчика. До отправки из ремонтного цеха в монтажную зону оборудование агрегируется заказчиком в узлы и блоки и испытывается, о чем составляется акт.
4. ПОДГОТОВИТЕЛЬНЫЕ РАБОТЫ
ЗАДАЧИ И СОСТАВ ПОДГОТОВИТЕЛЬНЫХ РАБОТ
4.1. Основными задачами подготовительных работ в условиях реконструкции являются:
создание необходимых условий для выполнения основных работ;
обеспечение сочетания эксплуатационной деятельности предприятия с выполнением работ по реконструкции;
всемерное сокращение продолжительности периода остановки производств;
создание безопасных условий выполнения работ.
4.2. Подготовительные работы должны выполняться в соответствии с разработанным разделом ППР(р) "Производство подготовительных работ". Этот раздел разрабатывается генеральным подрядчиком, согласовывается с заказчиком, субподрядными организациями, а также при необходимости с органами исполкомов Советов народных депутатов и другими заинтересованными организациями.
По отдельным видам специфических подготовительных работ вопросы их организации и технологии разрабатываются субподрядными строительными или монтажными организациями, согласовываются с генподрядчиком и заказчиком.
4.3. Исходными данными для разработки организации и технологии подготовительных работ являются:
материалы предпроектных обследований реконструируемого объекта;
задание на проектирование реконструкции объекта;
проектные материалы по реконструкции, включая ПОС(р).
4.4. По организации и технологии подготовительных работ в ППР(р) должны быть решены следующие вопросы.
На стройгенплане указываются места выполнения подготовительных работ, расположение временных зданий, сооружений, коммуникаций, складов, стоянок машин, временных ограждений и др.
На графиках проведения работ указываются места их выполнения (цех, пролет и т.д.), исполнитель (генподрядчик, заказчик, субподрядчик), количество смен работы в сутки. Приводятся также согласованные графики использования внутрицехового транспорта.
На графиках поставки материалов, деталей, конструкций, оборудования, работы машин, потребности в рабочих кадрах решаются вопросы по аналогии с новым строительством. Использование рабочих кадров предприятия показывается на графике.
На технологических схемах подготовительных работ должна быть отражена специфика выполнения подготовительных работ в действующих цехах, около действующих агрегатов, установок, коммуникаций, меры их предохранения.
По устройству временных (не стандартизированных) ограждений, защитных настилов, покрытий, завес, оснастки, приспособлений и др. в ППР(р) должны разрабатываться рабочие чертежи на их изготовление.
В пояснительной записке наряду с другими вопросами должны быть приведены мероприятия по охране окружающей среды, технике безопасности.
4.5. Предметом согласования по организации и технологии подготовительных работ с заказчиком являются: объемы, сроки, методы выполнения, исполнители (генподрядчики, субподрядчики, заказчики), мероприятия по охране окружающей среды и обеспечению безопасности.
4.6. Подготовительные работы разделяются на следующие разновидности по месту их выполнения:
внеплощадочные, выполняемые за пределами территории предприятия;
внутриплощадочные - на территории предприятия.
Внутриплощадочные в свою очередь разделяются на:
общеплощадочные, относящиеся к реконструкции всего предприятия в целом;
внутрицеховые;
внецеховые, относящиеся к реконструкции цеха.
4.7. Для последующего рассмотрения подготовительные работы разделены на следующие группы:
снос и перенос зданий, сооружений, путей;
отключение, перенос коммуникаций, демонтаж оборудования;
сохранение элементов благоустройства;
прокладка коммуникаций, устройство складов, площадок, въездов;
перенос производств во временные здания и сооружения;
установка и монтаж временных зданий, сооружений;
устройство и установка временных ограждений и покрытий.
СНОС И ПЕРЕНОС ЗДАНИЙ, СООРУЖЕНИЙ И ПУТЕЙ
4.8. Снос зданий и сооружений выполняется путем их разборки на части или обрушения с применением взрывов. Эти вопросы рассмотрены соответственно в
гл. 5 и
14.
4.9. В условиях реконструкции с целью уменьшения перерывов в функционировании может быть целесообразной передвижка зданий и сооружений без их разборки. Из практики реконструкции известны случаи передвижки доменных и мартеновских печей массой до 9000 т, кирпичных бескаркасных и с железобетонным или стальным каркасом зданий массой до 25 000 т, высотой до 40 м, размером в плане 20 x 100 м, элеваторов высотой до 30 м, водонапорных и радиобашен высотой до 60 м. Расстояние передвижки практически не ограничивается. Направление передвижки может быть прямолинейным, криволинейным, при необходимости в двух и более направлениях.
Экономическая целесообразность передвижки в каждом случае должна определяться расчетом с учетом эффекта от сокращения перерыва в функционировании.
4.10. В комплекс работ по передвижке зданий и сооружений входят:
подготовка здания или сооружения к передвижке;
устройство путей передвижки;
установка тяговых и толкающих приспособлений;
передвижение;
установка на новый фундамент.
4.11. Подготовка здания или сооружения к передвижке включает устройство на всех несущих стенах штраб, заводку в них стальных балок и монтаж тяг, предохраняющих здания от трещин, вызываемых возможными перекосами, отключение коммуникаций.
4.12. Пути передвижения изображены на
рис. 7. Они состоят из слоя выровненного и уплотненного щебня, шпал (чаще всего длиной 135 см), рельсов и катков.
Рис. 7. Схема опирания передвигаемого здания
на рандбалки и устройства путей
1 - стена передвигаемого здания; 2 - рандбалка в штрабе;
3 - заделка из цементно-песчаного раствора; 4 - уплотненный
грунт; 5 - слой щебня; 6 - шпалы; 7 - рельсы;
8 - стальные катки
Количество ниток рельсов и катков назначается по расчету из условия, чтобы нагрузка на одно пересечение катка с рельсом типа Iа (Р43) не превышала величин, указанных в
табл. 5.
Вид катка | Толщина стенки, мм | Диаметр катка, мм | Нагрузка, т |
Сплошного сечения | - | 144 | 15 |
То же | - | 120 | 13 |
Из бесшовных труб | 13,5 | 102 | 8 |
Из газовых труб | 5 | 75 | 1,5 |
4.13. Для отрыва передвигаемых зданий от фундаментов рекомендуется использовать домкраты. Характеристики некоторых из них приведены в
табл. 6.
Характеристика | Тип домкрата |
ДГ-50 | ДГ-100 | ДГ-200 | "Перпетуум" | Т-57 | Т-58 | Т-58Р "Перпетуум" | ДГ-100-2 | ДГ-200-2 |
Грузоподъемность, т | 50 | 100 | 200 | 200 | 100 | 200 | 200 | 100 | 200 |
Высота подъема груза, мм | 155 | 155 | 155 | 225 | 165 | 230 | 230 | 100 и 150 | 150 и 210 |
Собственная масса без жидкости, кг | 70 | 175 | 320 | 750 | 172 | 280 | 786 | 55 | 110 |
4.14. В качестве средств тяги для передвижки зданий используются лебедки с полиспастами. Величину тягового усилия при ориентировочных расчетах для горизонтальных участков можно принимать равной 5% массы здания или сооружения.
4.15. По окончании надвижки ходовые балки путем переопирания передвигаемых зданий и сооружений на новый фундамент могут быть освобождены для повторного использования. Здание (сооружение) подключается к постоянным коммуникациям.
4.16. Состав работ по переносу железнодорожных путей и автомобильных дорог зависит от цели, с которой они переносятся. При временном переносе устраиваются временные объездные дороги, а на оставляемых путях укладываются настилы и делаются засыпки, предохраняющие их от повреждения гусеничным транспортом и других воздействий.
Если пути после реконструкции использоваться не будут, они должны быть полностью разобраны, все пригодные материалы вывезены для дальнейшего использования.
ОТКЛЮЧЕНИЕ, ПЕРЕНОС КОММУНИКАЦИЙ, ДЕМОНТАЖ ОБОРУДОВАНИЯ
4.17. Все коммуникации на действующем предприятии перед началом работ по реконструкции и во время их выполнения отключаются только по указаниям и силами эксплуатационного персонала предприятия.
Большое значение имеет обеспечение безопасности работы строителей и монтажников на отключенных коммуникациях в тех случаях, когда их случайное включение может привести к несчастным случаям.
С этой целью они должны быть отглушены или же доступ к рубильникам, пультам, выключателям, задвижкам и другим устройствам в таких случаях должен быть закрыт.
4.18. Перенос коммуникаций и демонтаж оборудования должны проводиться согласно рекомендациям, изложенным в
гл. 11,
13.
СОХРАНЕНИЕ ЭЛЕМЕНТОВ БЛАГОУСТРОЙСТВА
4.19. К подготовительным работам относятся мероприятия по сохранению элементов благоустройства: деревьев, кустов, посевов трав, покрытий тротуаров, пешеходных дорожек и др. С этой целью в ППР(р) должны быть предусмотрены: порядок движения транспорта и строительных машин, расположение и передвижение машин в рабочих зонах, расположение строительных материалов, конструкций, оборудования и др., пересадка деревьев и кустов, их ограждение перед началом работ, сохранение растительного грунта, меры предохранения тротуаров, пешеходных дорожек и т.д.
4.20. Порядок движения транспорта должен предусматривать:
определение постоянных дорог, по которым разрешается езда транспорта строителей и монтажников и отдельно проезд машин с гусеничной ходовой частью;
установление направлений движения по временным путям;
обозначение подъездов к зданиям реконструируемых цехов, мест стоянки транспортных средств и строительных машин;
категорическое запрещение езды по не отведенным для этой цели маршрутам;
издание приказа о порядке движения транспорта и строительных машин по территории реконструируемого предприятия с приложением к нему схем, доведение приказа до личного состава.
4.21. Машинисты строительных машин должны строго выполнять указания ППР(р) о схемах движения машин в рабочих зонах по дорогам, о их расположении на рабочих местах и вне рабочих мест.
4.22. Строительные материалы, детали, конструкции, оборудование, оснастка, приспособления должны располагаться в местах, отведенных ПОС(р) или ППР(р). Не следует для этих целей использовать тротуары, пешеходные дорожки, площадки у мест отдыха.
4.23. Деревья, расположенные вблизи рабочих зон, должны сохраняться путем соответствующей организации строительных процессов. Если они могут подвергаться повреждениям, должны устраиваться необходимые ограждения. Ограждения должны быть установлены на удалении от стволов на 0,3 - 0,5 м и закреплены без использования стволов.
Пересадка деревьев должна предусматриваться в крайних случаях. Следует учитывать, что она возможна только в зимнее время вместе с комом замерзшего грунта.
Кусты пересаживаются весной и осенью.
4.24. В состав подготовительных работ входят мероприятия по сохранению растительного грунта. При переносе коммуникаций, устройстве временных дорог, установке инвентарных зданий, подготовке складов материалов, конструкций, площадок укрупнительной сборки, стоянок строительных машин и других работах на местности требуется срезать, обваловывать и сохранять растительный грунт. Подробно эти работы изложены в
п. 13.14.
4.25. Для сохранения покрытий тротуаров и пешеходных дорожек должно предусматриваться:
запрещение езды всех видов транспорта и строительных машин по ним;
в случаях необходимости переезда транспортных средств и строительных машин через указанные покрытия должны быть оборудованы специальные переезды;
в случаях неизбежного повреждения названных покрытий в ходе реконструкции, в проектах и сметах должны быть предусмотрены работы по восстановлению этих покрытий.
ПРОКЛАДКА ВРЕМЕННЫХ КОММУНИКАЦИЙ, УСТРОЙСТВО
ВРЕМЕННЫХ СКЛАДОВ, ПЛОЩАДОК, ВЪЕЗДОВ
4.26. Временные коммуникации систем, обеспечивающих нужды реконструкции электроэнергией, паром, теплом, сжатым воздухом, газом, связью, канализацией и др., прокладываются в зависимости от местных условий по поверхности земли, столбам или стойкам, стенам зданий или путем заглубления на небольшую глубину. При этом должны быть использованы существующие эстакады, опоры и т.п.
При пересечении рельсовых путей на одном уровне они укладываются в промежутках между шпалами в трубах-футлярах. Не следует допускать вырубания покрытий постоянных дорог для данных целей. Временные коммуникации должны прокладываться над ними по столбам или под ними в проколотых трубах-футлярах.
4.27. При решении вопросов временных коммуникаций следует руководствоваться нормативными документами: главой
СНиП по проектированию водоснабжения, наружных сетей и сооружений, главой
СНиП по производству работ по канализации и теплоснабжению, наружным сетям и сооружениям, Указаниями по проектированию электрического освещения строительных площадок и Инструкцией по прокладке кабелей напряжением до 110 кВ.
4.28. Потребность во временных автомобильных дорогах может быть удовлетворена одним из следующих путей:
заблаговременным строительством постоянных дорог (без верхнего слоя покрытия);
укладкой временного покрытия из железобетонных плит;
устройством временной дороги со щебеночным покрытием с обязательной ее разборкой и отвозкой материалов по окончании работ;
устройством грунтовой дороги в благоприятных климатических условиях и в летнее время с обязательным предварительным срезанием и сохранением слоя растительного грунта.
4.29. В местах пересечения временными дорогами железнодорожных путей действующего предприятия должны быть оборудованы переезды, предохраняющие рельсовый путь от повреждений.
Во всех случаях переезды оснащаются общепринятыми знаками, а при необходимости - шлагбаумами.
4.30. При устройстве временных дорог со сборным покрытием из железобетонных плит их следует укладывать на уплотненное песчаное основание, отсыпанное по выровненному и хорошо уплотненному грунту.
4.31. При использовании существующих дорог предприятия для целей реконструкции необходимо проверить их на допустимость провоза грузов для реконструкции в соответствии с
п. 8.27 данного Руководства. Проверка делается по высотным габаритам проездов, их ширине и величине радиусов поворота.
4.32. При решении вопроса о создании временных дорог для целей реконструкции необходимо в зависимости от технологических процессов в цехах предприятия учитывать допустимость образования пыли.
4.33. При проектировании и строительстве временных железных и автомобильных дорог необходимо руководствоваться главами СНиП
по проектированию автомобильных дорог и по производству работ при строительстве железных и автомобильных дорог.
4.34. Для временных закрытых складов рекомендуется использовать в первую очередь помещения реконструируемого предприятия. При отсутствии таких возможностей следует использовать инвентарные здания, фургоны и т.п.
Открытые склады материалов и деталей, конструкции, площадки укрупнительной сборки должны располагаться в зонах монтажных кранов. При отсутствии такой возможности - на свободном участке территории предприятия. Когда и это невозможно - на территории вблизи предприятия, отведенной местными органами для данной цели. При этом должна быть установлена возможность транспортирования укрупненных деталей к монтажной зоне.
4.35. Для ряда строительно-монтажных работ требуется создавать въезды для транспорта в боковых или торцевых стенах реконструируемых пролетов, а также проемов в покрытиях, перекрытиях и боковых стенах одно- и многоэтажных зданий. Проемы создаются путем снятия навесных панелей, плит покрытий, разборки кирпичной кладки, способами, изложенными в
гл. 5. В зимних условиях проемы должны быть оборудованы быстро сдвигающимися завесами, створками, щитами и т.п. Эти подвижные ограждения должны быть оборудованы уплотняющими устройствами, чтобы предохранять помещения от снежных заносов.
ПЕРЕНОС ПРОИЗВОДСТВ ВО ВРЕМЕННЫЕ ЗДАНИЯ И СООРУЖЕНИЯ
4.36. С целью сохранения на период реконструкции объема выпускаемой предприятием продукции в некоторых случаях может быть целесообразен перенос части производственных процессов во временные здания, сооружения. Возможность такого переноса устанавливается дирекцией реконструируемого предприятия с учетом специфики технологических процессов производства.
Бывают случаи, когда данная задача решается путем двойного переноса: вспомогательного производства во временные здания, основного - в помещения вспомогательного.
Основными общими требованиями к временным зданиям рассматриваемого назначения являются:
возможность обеспечивать требующиеся для производства условия;
инвентарность, позволяющая многократно использовать их на нескольких предприятиях;
транспортабельность, быстрота сборки, разборки.
4.37. В качестве конструктивных решений таких зданий могут быть сборно-разборные панельные здания с легкими каркасами и мягкими покрытиями или пневматические. При выборе сборно-разборных зданий для переносимых производств следует учитывать технологию переносимого производства, климатические условия и конструктивные характеристики зданий.
Характеристики некоторых сборно-разборных зданий производственного назначения, пригодных для рассматриваемых целей, приведены в
табл. 7. Проекты разработаны СКВ ВНИИмонтажспецстроя Минмонтажспецстроя СССР, изготовитель - завод монтажных заготовок и металлических конструкций г. Георгиу-Деж.
Шифр или номер проекта | Характеристика |
420-09-16, И-1 | Утепленное здание размером 12 x 6 x 3 м, площадью 70,4 м2. Конструкция панельная, каркас панелей стальной. Срок службы 10 лет, оборачиваемость 5 раз |
С-1601-1 | Неутепленное здание размером 36 x 12 x 4,2 м, площадью 425 м2. Конструкция панельная, каркас панелей стальной. Отпускная стоимость 11,9 тыс. руб. Срок службы 15 лет, оборачиваемость 5 раз |
С-1579, И-1 | Утепленное здание размером 36 x 12 x 4,2 м, площадью 426 м2. Конструкция панельная, каркас панелей стальной. Отпускная стоимость 20,8 тыс. руб. Срок службы 20 лет, оборачиваемость 5 раз |
31096 | Утепленное здание размером 57 x 12 x 6 м, площадью 675 м2. Конструкция панельная, каркас панелей стальной, фундаменты столбчатые железобетонные Сметная стоимость 46 тыс. руб. Срок службы 20 лет, оборачиваемость 5 раз |
31097 | Утепленное здание размером 75 x 18 x 6 м, площадью 1345 м2. Конструкция панельная, каркас панелей стальной, фундаменты столбчатые железобетонные. Здание оборудуется мостовыми кранами грузоподъемностью 5 т. Сметная стоимость 73,5 тыс. руб. Срок службы 20 лет, оборачиваемость 5 раз |
4.38. Для временного использования могут применяться пневматические сооружения. Основные положения по их проектированию, монтажу и эксплуатации изложены во Временной инструкции по проектированию, монтажу и эксплуатации воздухоопорных пневматических сооружений. Пневматические сооружения имеют следующие разновидности (см.
рис. 8 и
9):
воздухоопорные с избыточным давлением, поддерживаемым непосредственно в эксплуатируемом пространстве;
пневмокаркасные, имеющие пневмоарки, пневмобалки, пневмопанели, двухслойные пневмосводы с замкнутыми полостями, внутри которых поддерживается избыточное давление;
комбинированные - сочетающие жесткий, мягкий или пневматический каркас с надуваемой или ненадуваемой оболочкой.
Рис. 8. Схема пневматического сооружения
1 - оболочка; 2 - шлюз; 3, 4 - вентиляторы;
5 - воздухоподогреватель; 6 - огнезадерживающий
клапан; 7 - пульт управления; 8 - дизель-генератор;
9 - помещение вентиляторной
Рис. 9. Конструктивные схемы пневмосооружений
а - многослойная воздухоопорная оболочка;
б - пневмокаркасное сооружение; 1 - пневмоарка;
2 - пневмопрогон; 3 - ограждающая оболочка; 4 - опорный
элемент; 5 - компрессор; в и г - комбинированные
сооружения, работающие как воздухоопорное (в)
и как тентовое (г)
4.39. Для рассматриваемых целей наиболее пригодны пневматические сооружения цилиндрической формы. Унифицированные сооружения имеют пролеты 12, 18 и 24 м. Оболочки для сооружений этих размеров составляются из 15 типов элементов, соединяемых с помощью монтажных швов. Путем комбинирования элементов можно изменять форму сооружений и их площадь.
4.40. Нижние края оболочек пневматических сооружений закрепляются на поверхности грунта или на краю стены. Конструкция закрепления кроме заанкеривания должна обеспечивать воздухонепроницаемость сопряжений.
4.41. Монтаж пневматических сооружений включает следующие процессы и операции:
разбивка осей сооружения, мест установки анкеров, монтажа каркаса шлюзов;
установка анкеров;
монтаж каркасов шлюзов, навешивание дверей или ворот;
раскладка элементов оболочек, соединение их;
крепление силового пояса оболочки к анкерам;
установка вентиляторов, присоединение переходников, воздуховодов, наполнение оболочки воздухом;
герметизация оболочки по контуру.
4.42. Для обеспечения пневматических сооружений сжатым воздухом используются вентиляторы серии ЦЧ-70 N 2, 4, 5, 6, 7. Для обслуживания пневмокаркасных сооружений используются компрессоры.
Пневматическое сооружение принимается в эксплуатацию тогда, когда его вентиляторы создают указанное для данного сооружения избыточное давление.
4.43. Элементы пневмосооружений перевозятся в жестких контейнерах или в мягкой упаковке с помощью общепринятых транспортных средств. Для строповки оболочек при подъеме их кранами должны применяться мягкие стропы, изготавливаемые на заводах-изготовителях оболочек.
4.44. Показатели транспортабельности и трудоемкости монтажа пневматических сооружений приведены в
табл. 8. Другие технико-экономические показатели приведены в
табл. 9. При включении в состав сооружений отопительных установок их стоимость увеличивается по сравнению со стоимостью оболочки, приведенной в
табл. 9, у малых сооружений (до 100 м
2) на 70%, у сооружений с площадью 1500 м
2 и более на 20%. Если в пневмосооружении устанавливается каркас, требующийся для въезда и выезда крупногабаритных машин, сооружение удорожается ориентировочно на 100%. При укладке мягкого пола из полотнищ стоимость сооружения увеличивается на 15 - 20%. Затраты на монтаж оцениваются в 10 - 15% основной стоимости комплекта. Срок службы пневматических сооружений с применением армированных полимерных материалов и прорезиненных тканей составляет около 10 лет. При правильном обращении в процессе монтажа, демонтажа, транспортирования и эксплуатации оборачиваемость может быть 20-кратная и более. Образовавшиеся на оболочках повреждения могут легко устраняться путем заклеивания.
Показатели | Сооружения воздухоопорного типа | Пневматические сооружения других типов с каркасами из |
ПС-5 | АС-11 | К-1 | Д-1 | Н-1 | Б-1 | Б-2 | УПС-12 | УПС-16 | металлических конструкций | пневмоарок низкого давления КПС-12т |
УПС-16Т | ПС-5 | АС-11 |
Полезная площадь, м2 | 335 | 480 | 435 | 330 | 545 | 750 | 1116 | 430 | 456 | 456 | 335 | 480 | 257 |
Количество транспортных мест | 8 | 5 | 5 | 4 | 8 | 8 | 8 | 6 | 6 | 12 | 18 | 12 | 4 |
Масса комплекта (брутто), т | 3,1 | 5 | 3,5 | 2,1 | 3,5 | 7,4 | 8,5 | 3,2 | 2,2 | 6 | 4,9 | 10 | 1,8 |
Трудоемкость монтажа, чел.-ч | 100 | 120 | 50 | 40 | 80 | 150 | 200 | 70 | 50 | 100 | 220 | 270 | 60 |
Потребное количество автомобилей ЗИЛ-130 | 2 | 2 | 2 | 1 | 3 | | | 2 | 2 | 5 | 6 | 5 | 2 |
--------------------------------
<*> Полуприцеп с тягачом ЗИЛ-130В.
Марка пневмосооружения | Размеры, м | Полезная площадь, м2 | Кубатура, м3 | Общая стоимость, руб. | Удельная стоимость, руб./м3 |
УПС-16-01 | 32 x 16 x 8 | 456 | 2680 | 15 677 | 34 - 43 |
УПС-16-02 | 32 x 16 x 8 | 456 | 2680 | 13 096 | 28 - 72 |
УПС-12 | (24 + 12)12 x 6 | 400 | 1810 | 12 651 | 31 - 64 |
УПС-8 | 16 x 8 x 4 | 114 | 335 | 3 714 | 32 - 58 |
4.45. Сборно-разборные, каркасные и пневматические сооружения могут использоваться не только для перевода в них реконструируемых производств, но также и для различных временных нужд строительно-монтажных организаций в условиях реконструкции.
ИСПОЛЬЗОВАНИЕ ИНВЕНТАРНЫХ ЗДАНИЙ ДЛЯ НУЖД РЕКОНСТРУКЦИИ
4.46. Инвентарные здания, требующиеся для нужд реконструкции, имеют двоякое назначение: производственное и непроизводственное (бытовое, хозяйственное, управленческое и др.).
4.47. Общий подход при решении задачи о временных зданиях - всемерное использование возможностей реконструируемого предприятия. Перечень зданий, сооружений и помещений, передаваемых предприятием подрядчикам, согласовывается во время предпроектных обследований и прилагается к договору.
4.48. Требующиеся в ряде случаев для реконструкции специальные бетонные и растворные смеси должны приготавливаться в передвижных смесительных установках, смонтированных на автоходу или на прицепах.
4.49. При проектировании оснащения объектов реконструкции инвентарными зданиями рекомендуется пользоваться следующей литературой.
| | ИС МЕГАНОРМ: примечание. Постановлением Госстроя СССР от 30.01.1986 N 11 с 01.01.1987 введен в действие ГОСТ 22853-86. | |
ГОСТ 22853-77 "Здания инвентарные. Общие технические требования";
Перечень проектов инвентарных зданий, применяемых в строительстве (М., Стройиздат, 1975);
Перечень типовых проектов инвентарных зданий. Строительный каталог. Ч. 2 (М., Стройиздат, 1972);
Наборы инвентарных зданий и помещений для строительных и монтажных организаций (М., Стройиздат, 1978).
4.50. Предприятия строительной индустрии нашей страны изготавливают следующие инвентарные здания.
Производственного назначения
Мастерские: ремонтно-механическая, механосборочная, санитарно-техническая, электротехническая, монтажная КИП и автоматики, столярно-плотничная, арматурная, кровельно-изоляционная, подготовки отделочных материалов, технического обслуживания и текущего ремонта строительных машин. Прочие производственные здания: гараж, котельная, электростанция, насосная станция и др.
Склады
Материально-технические и технологического оборудования. Отапливаемые и неотапливаемые, с рампой и без рампы. Кладовые: инструментальные, материальные. Раздаточные газовых смесей.
Служебные здания
Конторы: начальника строительства, участка, производителя работ, мастера. Диспетчерские. Помещения для проведения занятий и общественно-массовых мероприятий, табельные - проходные.
Санитарно-бытовые помещения
Гардеробные, помещения для обогрева (защиты от солнечной радиации) и кратковременного отдыха рабочих, душевые, умывальные, сушилки, помещения для стирки (химчистки) и ремонта рабочей одежды (обуви), туалеты, столовые (буфеты), помещения для размещения специальных санитарно-бытовых установок и устройств, здравпункты.
4.51. Места установки временных зданий и сооружений определяются на строительном генеральном плане по согласованию с дирекцией реконструируемого предприятия.
ВРЕМЕННЫЕ ОГРАЖДЕНИЯ И ПОКРЫТИЯ
4.52. В условиях реконструкции применяются следующие виды временных ограждений и покрытий:
защитные - для предотвращения доступа посторонних лиц на территорию с опасными производственными факторами;
сигнальные - предупреждающие о границах участков и территории с опасностями;
ограждения, предохраняющие рабочих от падения с высоты.
Перечисленные ограждения должны соответствовать требованиям
ГОСТ 23407-78 "Ограждения инвентарные строительных площадок и участков производства строительно-монтажных работ. Технические условия", а при их изготовлении и приемке следует пользоваться Строительным каталогом, ч. 2, разд. 8. Средства вспомогательного назначения.
Кроме перечисленных применяются следующие ограждения:
временные стенки и перегородки для разделения мест работ по реконструкции и участков действующего производства;
защитные настилы, предохраняющие от падения предметов и материалов с высоты в помещения, где продолжает функционировать производство;
временные покрытия для защиты от атмосферных осадков и холода производственных помещений на участках, где с них снято покрытие;
завесы, закрывающие проемы в стенах, созданные для временного въезда в помещения цехов;
другие ограждения и легкие укрытия (для защиты от ослепления при электросварочных работах в цехах с действующим производством, для предохранения от теплового облучения в горячих цехах, для предохранения стекол от разбивания при взрывных работах и для укрытия оборудования от загрязнения и др.).
4.53. Временные стенки и перегородки проектируются и изготовляются для конкретных условий использования в зависимости от размеров ограждаемых участков и специфических условий работы (необходимость уплотнения для предохранения от пыли, сохранения тепла в ограждаемых помещениях, выполнения функций охраны материальных ценностей, пожаробезопасность и др.).
При различных условиях работы они должны удовлетворять нескольким общим требованиям:
инвентарность, позволяющая многократное использование;
быстрота сборки, установки, закрепления;
малая масса, компактность при перевозках обычным транспортом;
использование не дефицитных, но достаточно долговечных материалов;
пожарная безопасность при применении.
4.54. Рекомендации по устройству защитных настилов и временных покрытий изложены в
п. 5.20 данного Руководства.
4.55. Завесы для закрытия проемов в стенах должны изготовляться в каждом конкретном случае в зависимости от размеров проемов, вида производства, времени года и других условий. Рекомендуется для этой цели использовать брезент, армированные тканью полимерные материалы и др. Необходимо учитывать воздействие ветра на монтируемые завесы и оснащать их необходимыми расчалками, а иногда и элементами жесткости.
4.56. Ограждения для других целей, перечисленные в
п. 4.52 должны быть также по возможности инвентарными, пригодными для использования не на одном предприятии. Для этого они должны быть также легкими, достаточно долговечными и транспортабельными.
5. РАЗБОРКА ЗДАНИЙ, СООРУЖЕНИЙ, КОНСТРУКЦИЙ
ОБЩИЕ ВОПРОСЫ ОРГАНИЗАЦИИ И ТЕХНОЛОГИИ
5.1. В процессе реконструкции предприятий работы по разборке иногда имеют значительные объемы. Особенности их выполнения на действующих производствах и трудности механизации требуют тщательной инженерной проработки вопросов их организации и технологии.
5.2. На работы по разборке зданий и сооружений должны быть разработаны в установленном порядке проекты производства работ. Они разрабатываются строительной организацией - исполнителем работ по разборке, согласовываются с дирекцией реконструируемого предприятия и утверждаются генеральной подрядной организацией.
В случаях выполнения сложных работ по разборке зданий и сооружений для разработки ППР(р) на эти работы могут привлекаться тресты оргтехстрой или специализированные проектные институты.
Комплекс работ по разборке разделяется на две части: подготовка к разборке; собственно разборка, включающая вывоз материала.
5.3. Подготовка к разборке включает:
обследование зданий, сооружений и конструкций, подлежащих разборке;
изучение и согласование условий выполнения работ;
проектирование технологии выполнения работ;
отключение и демонтаж сетей, расположенных в разбираемых зданиях и на конструкциях;
устройство временных ограждений для предохранения помещений действующих производств от пыли, мусора, загрязнения;
подготовку подъездных путей;
доставку и монтаж лесов, подмостей, лотков, мусоропроводов, бункеров и другого оборудования для разборки и отгрузки материалов;
доставку и монтаж грузоподъемного оборудования;
подготовку оснастки для временного закрепления конструкций в ходе разборки.
5.4. Собственно разборка включает:
отделение деталей конструкций одна от другой;
снятие разделенных конструкций, осмотр, сортировка, укладка в штабеля;
разрушение, разрыхление монолитных каменных и бетонных конструкций;
отделение материалов, пригодных для повторного использования;
отгрузку и транспортирование материалов от разборки к местам их использования или отвала.
5.5. Обследование зданий, сооружений и конструкций проводится с целью установить в ходе проектирования:
объемы работ по разборке;
способы производства работ;
способы усиления конструкций, оставляемых для дальнейшей эксплуатации;
пригодность конструкций и материалов для их использования после разборки.
Результаты обследования заносятся в ведомость, форма которой приведена в
прил. 7.
5.6. Для уточнения мест расположения конструкций к ведомости прилагается план с обозначением осей здания и разрезы, а в колонке 5 делается ссылка на план.
5.7. К материалам обследования кроме упомянутых документов, относится пояснительная записка, в которую заносятся данные, не вошедшие в ведомость, а именно:
вид соединения конструкций между собой;
наличие связей, обеспечивающих устойчивость здания (сооружения);
материал стен, скрепление их с каркасом, способ передачи нагрузки от стен на каркас;
наличие на элементах каркаса инженерных коммуникаций, технологического оборудования, способ их крепления на каркасе. К материалам обследования прилагается также план территории предприятия с нанесенными на него разбираемыми и прилегающими зданиями, подземными и надземными инженерными сетями, дорогами, насаждениями и др.
5.8. До начала проектирования разборки должна быть подготовлена справка, согласованная с дирекцией реконструируемого предприятия, об условиях выполнения работ по разборке, а также всех последующих работ. В ней должны содержаться следующие основные данные:
время начала и окончания работ;
общие условия выполнения работ (с остановкой, без остановки, с частичной остановкой работы предприятия), сроки остановки; режим работы строительно-монтажных организаций (без ограничений или только в третью смену, в выходные и праздничные дни и другие варианты);
необходимость устройства временных сооружений (стенок, потолков, завес, шатров и др.);
необходимость устройства временных сетей;
необходимость проведения других мероприятий по предохранению действующего предприятия от пыли, атмосферных осадков, загрязнения и других воздействий;
необходимость соблюдения мер безопасности по предохранению от взрывов, пожаров, поражений электрическим током, других опасных и вредных воздействий;
возможность применения различных способов разборки.
РАЗРАБОТКА ППР(р) НА РАЗБОРКУ ЗДАНИЙ, СООРУЖЕНИЙ
5.9. Проектирование организации и технологии работ по разборке должно проводиться с учетом следующих требований:
минимальные сроки работ;
наибольшее использование материалов от разборки;
предохранение действующих производств от влияния факторов, возникающих при разборке;
создание наиболее благоприятных условий для выполнения работ после разборки;
обеспечение безопасных условий работы как при разборке, так и в действующих цехах, прилегающих к местам разборки.
5.10. Исходными материалами для разработки ППР(р) на разборку являются:
утвержденный проект (рабочий проект) на реконструкцию предприятия;
проект организации реконструкции предприятия ПОС(р);
проектные материалы на разбираемые здания (если они сохранились);
ведомость обследования разбираемых зданий, сооружений;
данные об оснащенности машинами и механизмами строительной организации;
справка согласования сроков и условий выполнения работ с дирекцией реконструируемого предприятия;
справка согласования с местными государственными органами, если в ходе работ будут использоваться территории за пределами предприятия, а также проводиться взрывные и другие работы, оказывающие влияние на окружающую среду.
5.11. Основными документами по организации и технологии работ по разборке зданий и сооружений являются следующие:
планы расположения разбираемых зданий (сооружений) с их осями и размерами, с изображением прилегающих зданий, сооружений, дорог, площадок, территорий с их размерами (в случаях необходимости и отметками), с указанием расстояний, определяющих их положение, с обозначением разбираемых частей зданий (сооружений), расположения лесов, подмостей, ограждений, средств механизации, бункеров, лотков, мусоропроводов, временных дорог, светильников временного освещения, емкостей для отгрузки материалов от разборки, штабелей материалов, остающихся для повторного использования и др.;
поперечные и продольные разрезы зданий, сооружений с размерами конструкций, отметками рабочих мест и характерных точек зданий, с изображением лесов, подмостей, мест их крепления и другого оборудования, относящегося к разборке;
схемы технологических процессов разборки зданий, сооружений, конструкций с указанием способов разборки, подмащивания, расположения средств механизации, оборудования;
решения по защите действующего производства от проникания пыли, от атмосферных осадков, включающие конструкции временных стенок, завес, укрытий от осадков, настилов, предохраняющих от падения кусков материалов, искр при применении огневой резки, сварки и др.;
схемы последовательности разборки, зданий, сооружений;
способы временного закрепления конструкций, устойчивость которых уменьшается в ходе демонтажа или разборки;
способы строповки конструкций в ходе их демонтажа;
спецификации демонтируемых конструктивных деталей,
прил. 8;
схемы установки средств подмащивания и их крепления;
схемы установки ограждений или чертежи для устройства нетиповых ограждений, стенок, шатров, завес, диафрагм и т.п.;
схемы установки предупредительных знаков, если их обозначение на плане недостаточно;
решение об освещении рабочих мест;
графики выполнения работ по разборке с данными о составах бригад, звеньев, комплектов машин;
таблицы потребности в машинах, транспорте, оборудовании, инвентаре и инструментах, с приведением в необходимых случаях технических характеристик машин и чертежей на нестандартизированное оборудование;
указания по производству работ;
указания по технике безопасности и охране труда.
5.12. В ППР(р) на разборку зданий, сооружений должна быть установлена последовательность демонтажа конструктивных элементов. При этом возникающие в элементах нагрузки не должны превышать эксплуатационных. При превышении должны использоваться элементы временного усиления.
В процессе демонтажа должна обеспечиваться достаточная устойчивость остающихся элементов и частей зданий (сооружений). При надобности для этой цели следует использовать устройства для временного закрепления (оттяжки, расчалки, распорки, подкосы, кондукторы).
На
рис. 10 приведен пример последовательности демонтажа покрытия сборного здания.
Рис. 10. Пример последовательности демонтажа покрытия цеха
5.13. В ППР(р) на разборку должны быть решения о разукрупнении конструкций в процессе демонтажа (металлических блоков покрытий, фонарных блоков и др.), а также о разукрупнении составных ферм и балок. Решения о разукрупнении принимаются в зависимости от следующих факторов:
размеров и масс демонтируемых конструкций;
грузоподъемности кранов;
стесненности мест демонтажа;
условий последующего использования элементов;
условия их транспортирования после демонтажа.
При разборке должны применяться способы, зависящие от последующего использования деталей, конструкций и оборудования с целью предохранения от повреждений и порчи. Все пригодные материалы, детали и конструкции должны быть сохранены и переданы заказчику.
Для установления выхода полезного материала, получаемого от разборки зданий, следует руководствоваться нормами
СН 436 выхода материалов, получаемых от разборки зданий.
Фундаменты стен, колонн и оборудования, а также подвалы и тоннели от разобранных зданий, когда они не препятствуют проведению других работ по реконструкции и последующей эксплуатации предприятия, разборке и удалению не подлежат.
5.14. Сметные нормы на разборку зданий, сооружений и конструкций приводятся в главе СНиП "Работы по реконструкции промышленных зданий и сооружений" и сборниках дополнений к сметным нормам.
СПОСОБЫ РАЗБОРКИ ЗДАНИЙ И СООРУЖЕНИЙ
5.15. Способы разборки зданий и сооружений принимаются в зависимости от их конструктивных решений, материалов, размеров с учетом воздействия на действующие вблизи производства и окружающую среду.
Наиболее часто выполняются следующие работы по разборке:
разборка покрытий со снятием ферм и балок;
разборка покрытия без снятия ферм и балок;
демонтаж подкрановых балок;
снятие панелей стен;
разборка кирпичных стен;
разборка фундаментов колонн и оборудования;
разборка конструкций тоннелей, подвалов, каналов, колодцев.
5.16. Перед началом разборки должно быть выполнено следующее:
установлены или смонтированы все требующиеся конструкции и устройства для предохранения действующего производства от пыли, атмосферных осадков, падения кусков разбираемого материала, искр при применении огневых методов и электросварки (защитные стенки, шатровые укрытия, защитные настилы и др.);
перенесены на новые места геодезические знаки, расположенные на разбираемых зданиях. Перенос осуществляется по указанию ОКС (УКС) предприятия, силами предприятия или по его поручению геодезистами строительной организации;
при необходимости, когда разборка ведется с остановкой производства, цеховое оборудование силами предприятия укрывается брезентом или другими материалами;
подготовлены средства механизации и оборудование для отгрузки и транспортирования материалов от разборки. Из действующих цехов материалы от разборки должны удаляться немедленно.
5.17. При разборке покрытий из железобетонных плит предварительно по их периметру разрезается слой кровельного материала, вырубается стяжка, отеплитель и заделка в швах. У закладных частей места стыков расчищаются для срезания сварных швов. После освобождения плит от ферм и балок они снимаются вместе с утепляющим и кровельным слоями. Строповка осуществляется через пробиваемые отверстия, в обхват, или же с помощью специальных траверс.
5.18. При покрытиях из мелких железобетонных плит, уложенных по прогонам, необходимо предварительно снять кровельный и утепляющий слои с укладкой их в контейнеры, затем снять плиты с укладкой их на покрытии в пакеты по 4 - 5 шт. и после этого краном погружать в транспортные средства. Также снимаются элементы покрытий из стальных штампованных кровельных листов.
5.19. Разборка покрытий одноэтажных зданий, когда производство в разбираемом здании останавливается, может осуществляться с помощью самоходных стреловых монтажных кранов, передвигающихся по оси пролета или специальных кранов, смонтированных на мостовых кранах.
5.20. При разборке покрытий при их замене без остановки производства работы ведутся на отдельных участках. При этом разборка обязательно совмещается с монтажом новых конструкций. Краны в этом случае могут располагаться с наружной стороны пролета или на покрытии здания. Если фермы оставляются без замены, для обеспечения безопасности работающих в цехе и предохранения оборудования по нижним поясам ферм укладывается сплошной настил из щитов по прогонам из спаренных 50-мм досок, установленных на ребро. При расстоянии между фермами более 6 м вместо деревянных прогонов применяются легкие металлические шпренгельные балки. Для предохранения от возгорания при применении сварки или резки по щитам укладываются листы из стали или асбеста.
Для работы требуется, как минимум, комплект щитов и прогонов на два шага ферм.
Для предохранения действующего производства от дождя должны предусматриваться быстро собираемые тенты, состоящие из плоских каркасов с натянутым водонепроницаемым материалом. Тенты, кроме дождливой погоды, устанавливаются на время перерывов в работах. На смонтированных участках покрытий, где не уложен кровельный материал, во время дождей, а также на время перерывов в работе, укладывается брезентовое укрытие с пригружением его от воздействия ветра.
Атмосферная вода с тентов и брезентовых укрытий должна отводиться к водоприемным воронкам.
Работы по смене покрытий над действующими цехами должны планироваться на теплое время года. Снятые плиты укомплектовываются в пакеты, перемещаемые краном по мере перемещения фронта работ.
5.21. При разборке панельных стен перед снятием панелей в них предварительно должны пробиваться отверстия для строповки. При высоте стен до 12 м пользуются вышками, а при большей высоте подвесными люльками. Перед срезанием газовыми или керосиновыми резаками панели с помощью стропов берутся на крюк крана. Самоходные или башенные краны передвигаются вдоль разбираемой стены. С их помощью переставляются вышки и люльки.
Для повторного использования плит их края должны быть очищены от раствора.
5.22. Подкрановые балки могут сниматься одним из следующих способов:
при работах с остановкой производства и смене покрытия, включая фермы и балки, кранами, перемещающимися внутри цеха;
при невозможности передвижения крана внутри цеха с помощью лебедок и блоков, укрепленных на фермах.
Во втором случае лебедки должны быть предварительно с помощью мостового крана доставлены и установлены у мест демонтажа.
Возможность приложения к узлам ферм данной временной нагрузки должна быть проверена путем расчета проектным институтом в составе ПОС(р) или ППР(р). При необходимости временного усиления ферм решение этого вопроса принимается и выдается также проектным институтом.
5.23. При демонтаже металлических колонн необходимо их предварительно освободить от анкерного крепления на фундаментах. Для этого с помощью отбойных молотков вырубается бетон у пяты колонны, колонна берется на крюк крана или закрепляется на стальных канатах лебедок, с помощью которых и подающей стрелы будет осуществляться ее опускание, срезаются анкерные болты.
5.24. Железобетонные колонны, когда они пригодны для повторного использования, должны сниматься целиком. Для этого освобожденная от других конструкций колонна берется на крюк крана, бетонная заделка в стакане фундамента вырубается со всех сторон на всю глубину. Если процесс вырубания бетона в заделке сложен и длителен, колонна на этот период закрепляется расчалками.
Если колонны после их демонтажа будут использоваться не на всю длину, допускается их срубание выше уровня фундамента. В этом случае колонна после снятия с нее всех нагрузок подрубается так, чтобы были обнажены для перерезания все арматурные стержни, но при этом оставалась не подрубленная часть бетона, составляющая 30 - 35% площади поперечного сечения. После взятия на крюк крана подрубается оставленная часть бетона и перерезаются арматурные стержни.
5.25. В проектах производства работ на разборку всех зданий, сооружений и конструкций должны указываться места вырубания бетона, ширина, глубина вырубок, линии перерезания арматурных стержней, исходя из минимальных объемов этих работ, а также с учетом последовательности выполнения операций.
5.26. При разборке горизонтально расположенных конструкций в некоторых случаях требуется предварительная установка под ними временных опор. В качестве этих опор могут использоваться деревянные стойки, снизу подкрепляемые парой обратных деревянных клиньев. Для устойчивости стойки должны раскрепляться раскосами. Строповка частей конструкций должна быть выполнена до окончания их отделения.
Отделенные части конструкций должны сразу же погружаться в транспортные средства. Оставлять их на временных опорах недопустимо.
5.27. Многоэтажные кирпичные здания могут, в зависимости от увязки работ по реконструкции с работой производства, разбираться по отдельным секциям на всю высоту или поэтажно на всю длину здания.
5.28. Для разборки зданий и сооружений могут быть использованы самоходные стреловые, а также башенные краны. Во втором случае расположение подкрановых путей должно учитывать использование кранов в период монтажа новых конструкций взамен сносимых.
Для отвозки материалов от разборки используется автомобильный транспорт общего назначения, а при необходимости специализированные средства - панелевозы, фермовозы, балковозы, трайлеры, прицепы-роспуски.
5.29. По характеру воздействия на материал разбираемых конструкций различают следующие способы разборки: механические; взрывные; термические; комбинированные; ручные.
5.30. Механические способы являются наиболее распространенными. Они имеют следующие разновидности:
разборка конструкций путем их деления на куски;
валка частей зданий и сооружений после их подрубания;
валка стен зданий с помощью молотов, навешенных на кранах - экскаваторах;
разрезание железобетонных конструкций на части с помощью механических алмазных дисков.
5.31. Способ механической разборки основан на использовании ручного механизированного инструмента, поэтому он трудоемок, физически труден, малопроизводителен и применяется в случаях невозможности применения других способов.
Применение этого способа, кроме того, связано с образованием пыли, что требует проведения мероприятий по уменьшению пылеобразования и распространения пыли на действующем производстве.
При механических способах разборки применяются следующие механизированные инструменты:
отбойные пневматические молотки, характеристики которых приведены в
табл. 10;
молотки ручные электрические ИЭ-4211 с энергией удара 0,25 Дж, частотой ударов 1080 в мин, потребляемая мощность 1,05 кВт, ток трехфазный, напряжение 220 В, масса без кабеля и наконечника 21 кг;
ломы пневматические ИП-4604 с энергией удара 0,9 Дж, частотой ударов 780 мин, расходом сжатого воздуха 1,8 м3/мин, рабочее давление 0,5 МПа, масса лома без наконечника 18 кг;
бетоноломы ИП-4602 (С-3586) с энергией удара 0,8 Дж, частотой ударов 850 в мин, расходом сжатого воздуха 1,6 м3/мин, рабочее давление 0,5 МПа, масса 16,7 кг.
Характеристики | Марки |
МО-8П | МО-9П | МО-10П | МО-6М |
Рабочее давление, МПа | 0,5 | 0,5 | 0,5 | 0,5 |
Энергия удара, Дж | 0,3 | 0,37 | 0,45 | 0,38 |
Число ударов в 1 мин | 1600 | 1400 | 1200 | 1500 |
Расход воздуха, м3/мин | 1,25 | 1,25 | 1,25 | 1,5 |
Масса, кг | 8 | 9 | 10 | 6,5 |
5.32. Для обеспечения энергией механизированного пневматического инструмента необходимо использовать стационарные компрессорные установки и воздухораспределительные сети реконструируемого предприятия. При отсутствии такой возможности используются передвижные компрессоры.
5.33. Способ механической валки применяется главным образом при разборке кирпичных стен. Сущность способа состоит в предварительном подрубании стены со стороны валки с последующим обрушением тягой трактора.
Последовательность операций при способе валки следующая: закрепление тягового каната на стене, подрубание стены в нижней части, прорубание в стенах сквозных вертикальных щелей для отделения обрушаемых частей стены от каркаса и от других частей стены, валка стены трактором с помощью тягового каната.
5.34. Места и глубина подрубания стен и труб определяются в ППР(р) на разборку в зависимости от толщины стены с учетом полного исключения ее самопроизвольного обрушения в ходе работы. Ориентировочно она составляет 1/4 часть толщины. Для подрубания используются дисковые режущие машины или отбойные молотки. Ширина борозды составляет около 100 - 150 мм.
5.35. Для валки стен используются тракторы с тяговыми усилиями на крюке от 5 т и более. Трактор располагается на расстоянии, вдвое превышающем высоту обрушаемой стены. При обрушении стен стальной канат диаметром 19 - 27 мм должен охватывать петлей обрушаемую часть стены на 20 - 30 см выше подруба и перепускаться через верхний край стены
(рис. 11).
Рис. 11. Схема запасовки каната при валке стены трактором
1 - стена; 2 - вырубка в стене; 3 - охватывающая
петля; 4 - крюк крана; 5 - подкладка из досок;
6 - тяговая ветвь к трактору
Около ребер стены для избежания повреждений каната подкладываются доски.
При невозможности движения трактора по линии направления валки из-за стесненности, его усилие передается через блок, надежно закрепленный с помощью заглубленного, завинчиваемого или поверхностного якоря. В стесненных условиях расстояние от обрушаемой стены до близрасположенных зданий, сооружений должно быть не менее удвоенной высоты обрушаемой стены или другой конструкции, включая высоту, на которой она расположена. Окна нижних этажей зданий, расположенных вблизи от обрушаемых стен должны закрываться деревянными щитами.
5.36. Валка кирпичных стен с помощью молотов, навешенных на кранах-экскаваторах, применяется в случаях, когда допускается обрушение стен внутрь помещений, а также при наличии возможности установки экскаватора возле стены. Для этой цели используются экскаваторы с вместимостью ковша от 0,65 м3 и более, масса молота 1 - 3 т.
5.37. Взрывные способы разборки зданий сооружений и конструкций разделяются на две разновидности:
взрывание с помощью взрывчатых веществ (ВВ), они изложены в
гл. 14 данного Руководства;
электрогидравлическое взрывание.
Вторая разновидность применяется для разрушения массивных бетонных и железобетонных конструкций.
Сущность электрогидравлического взрывания состоит в пробуривании в разрушаемом массиве шпуров диаметром 40 - 50 мм, глубиной 0,5 - 0,8 м, заливке скважин водой, установке в них электровзрывателей, подаче к взрывателям от специальной передвижной установки электрического импульса в виде постоянного тока высокого напряжения 12 - 15 кВ. Электрический разряд вызывает высокое давление воды в скважинах, под действием которых бетонный массив раскалывается на куски, размеры которых определяются линиями расположения шпуров. Положительным моментом данного взрывания является почти полное отсутствие разлета осколков при взрыве. Более подробно способ электрогидравлического взрывания изложен в книге Прохоркина С.Ф. "Технология и организация строительно-монтажных работ в условиях реконструкции промышленных предприятий" (Л., Стройиздат, 1967).
5.38. Термические способы разрушения железобетонных конструкций основаны на использовании высокотемпературного пламени или электрической дуги для разрезания железобетонной конструкции на куски. В практике строительства и реконструкции применялись следующие виды резки: с помощью кислородного копья; электродуговая резка; с помощью реактивной струи; электроплазменная резка.
Перечисленные способы используются в большей мере для образования отверстий в бетонных и железобетонных конструкциях.
При всех способах разборки зданий и сооружений должны приниматься меры для уменьшения образования пыли. С этой целью при разборке и при сбрасывании, погрузках, перегрузках пылящие материалы должны увлажняться. Сбрасывание с высоты материалов от разборки допускается только по закрытым трубам - временным мусоропроводам.
СРЕДСТВА ПОДМАЩИВАНИЯ ДЛЯ РАЗБОРКИ ЗДАНИЙ И СООРУЖЕНИЙ
5.39. Основными средствами подмащивания при разборке являются передвижные вышки и люльки. Более редко используются леса и подмости.
Общие требования, предъявляемые к средствам подмащивания при разборке: мобильность, минимальная масса, надежность, удобства работы.
В рабочей зоне вышки передвигаются на собственном ходу (смонтированные на автомобильном шасси и имеющие электропривод ходовой части) или вручную по катальным (деревянным или металлическим) ходам.
Характеристики некоторых вышек, применяемых при разборке зданий, сооружений и других работах, приведены в
табл. 11.
Марка вышки | Способ передвижения и краткая характеристика | Грузоподъемность, кг | Высота подъема, м | Вылет стрелы, м | Габариты в транспортном положении, м | Масса, кг | Разработчик |
ВС-18-МС | На автомобиле ГАЗ-52 | 250 | 18 | 8 | 9,1 x 2,3 x 3,17 | 5470 | Рижский опытный завод "Спецстальконструкция" Минстрой ЛатвССР, проект ВС-18-МС |
ВС-22-МС | На автомобиле ЗИЛ-130 | 250 | 22 | 9,7 | 11,18 x 2,5 x 3,35 | 8120 | То же, проект ВС-22-МС |
Ш2СВ-18 | Самоходная, на пневматиках, с электроприводом | 150 | 16,2 | 9 | 9,4 x 2,4 x 2,8 | 7500 | КБ Ленинградского электромеханического завода Минэнерго СССР, проект Ш2СВ-18 |
ВТК-12 | Ручное передвижение по твердому покрытию или настилу, колеса рояльного типа, телескопическая | 200 | 12 | - | 5 x 1,12 x 2,8 | 870 | ВКТП Монтажстроймеханизация Минмонтажспецстроя СССР, проект ВТК-12 |
Вышка высотой до 10 м | Ручное передвижение на колесах рояльного типа, состоит из секций | 2000 | 8,5 | - | 3,06 x 3,06 x 3 | 940 | ЦНИИОМТП Госстроя СССР, проект 3241.10.000 |
Вышка высотой до 4 м | То же | 2000 | 4 | - | 3,06 x 3,06 x 3 | 590 | То же, проект 3241.11.000 |
5.40. Работы по разборке на высоте с наружной стороны зданий могут выполняться с люлек, подвешиваемых на консолях. Характеристики некоторых люлек приведены в
табл. 12.
Марка люльки | Краткая характеристика | Грузоподъемность, кг | Мощность электродвигателя лебедки, кВт | Скорость подъема, м/мин | Габариты, м | Масса, кг | Разработчик |
ЛОС-100-120 | Каркас из труб, три обрезиненных катка, один из них поворотный, для одного рабочего | 120 | 0,8 x 2 | 5,5 | 3,5 x 1,34 x 2,52 | 165 | СКВ Мосстроя, проект 3349 |
ЛЭ-100-300 | Металлический каркас, шесть катков, две лебедки, для двух рабочих | 300 | 0,8 x 2 | 5,5 | 4,43 x 0,93 x 1,81 | 405 | То же, проект 3850 |
ЛСМ-32-120 | Металлический каркас, три катка, для одного рабочего | 120 | 0,8 | 16 | 0,85 x 0,8 x 2,44 | 90 | То же, проект 3373 |
5.41. Канаты люлек рассчитываются на нагрузки с девятикратным запасом прочности.
При применении для подъема люлек лебедок, устанавливаемых на земле, они должны пригружаться прочно закрепленным на раме лебедки балластом с массой, вдвое превышающей рабочую нагрузку.
Ответственными деталями при использовании люлек являются консоли. СКБ Мосстроя разработаны консоли с противовесами (черт. N 2728.10) и консоли с переменным вылетом (черт. N 3877.10). В Мосжилуправлении имеются конструкции консолей для подвески люлек ЛЭ-100-300 и ЛОС-100-120.
5.42. При использовании вышек и люлек для выполнения работ по разборке, при которых возникают горизонтальные усилия, например при работе с отбойными молотками, рабочие площадки вышек и люлек должны быть скреплены со стенами горизонтальными креплениями через проемы или путем заанкеривания в стенах.
5.43. В случаях когда работы по разборке не могут быть выполнены с помощью вышек и люлек, используются передвижные подмости или леса. При этом следует учитывать, что это более дорогой способ подмащивания, более подробные сведения о средствах подмащивания изложены в книге ЦНИИОМТП "Унифицированные средства подмащивания в строительстве" (М., Стройиздат, 1979).
МЕРОПРИЯТИЯ ПО БЕЗОПАСНОСТИ РАБОТ
5.44. До начала работ территория, на которой должна производиться разборка здания (сооружения), должна быть ограждена. Доступ лиц, не имеющих отношения к разборке, прекращается. В пределах опасной зоны должны быть установлены знаки, предупреждающие об опасности.
Ограждения должны соответствовать государственным стандартам
(ГОСТ 23407-78). Данные об ограждениях приведены в
гл. 4 данного Руководства.
5.45. Работы по разборке должны вестись под непосредственным руководством (в зависимости от сложности и опасности) мастера или производителя работ. Рабочие перед началом работ должны быть проинструктированы в установленном порядке.
5.46. Если в ходе работ обнаруживается, что состояние конструкций здания (сооружения) не соответствует данным обследования или при их выполнении по другим причинам создается аварийное положение, разборка должна быть приостановлена до принятия нового решения.
5.47. Перед началом работ по разборке все элементы энергосистемы должны быть отключены, сняты, оборудование демонтировано и вывезено. Администрация завода или цеха должна выдать строительной организации, выполняющей разборку, документ об отключении электроэнергии, газопроводов, паропроводов, водопроводов, воздухопроводов, а также всех систем связи, автоматизированного и дистанционного управления и других коммуникаций с заключением о разрешении производить разборку с указанием конструкций, осей и других данных, характеризующих их положение.
5.48. При демонтаже колонн, когда они берутся на крюк крана для того, чтобы в пяте или вблизи от нее освободить колонну путем перерезания анкерных болтов или арматурных стержней, блок головки стрелы крана должен находиться строго на одной вертикали с колонной.
5.49. При валке стен и труб не допускается нарушать последовательность выполнения операций, приведенную в
п. 5.33. Подрубание стены труб должно осуществляться под руководством мастера. При этом особому контролю подлежит глубина прорезания или подрубания. Нельзя превышать величины, указанные в проекте.
5.50. При обрушении кирпичных и других стен молотами, навешенными на экскаваторы, не разрешается наносить удары с поворотом стрелы во избежание аварий.
5.51. При разделении конструкций зданий, сооружений на части нельзя применять резание металла и бетона кислородным пламенем в местах загрязнения материалов маслом, так как при взаимодействии кислородного пламени со смазочными маслами происходит взрыв.
5.52. При использовании вышек и люлек должны строго соблюдаться правила, изложенные в главе
СНиП "Техника безопасности в строительстве".
ПРОЕКТИРОВАНИЕ ОРГАНИЗАЦИИ ЗЕМЛЯНЫХ РАБОТ
6.1. При проектировании организации земляных работ в условиях реконструкции, кроме рекомендаций данной главы, следует пользоваться главами СНиП "Земляные сооружения" и "Основания и фундаменты".
6.2. Земляные работы в условиях реконструкции имеют следующие особенности:
стесненные условия их выполнения в цехах с действующим производством и на территории предприятия, занятой зданиями, сооружениями, коммуникациями;
отрывка котлованов производится вблизи существующих фундаментов на глубину, превышающую отметку заложения фундаментов;
необходимость отрывки котлованов в насыпных грунтах, содержащих включения твердых предметов (кирпича, железобетона, сцементировавшегося шлака, кусков металла и др.);
необходимость разборки во многих случаях до начала земляных работ покрытий дорог, площадок, полов;
достаточное уплотнение грунта в обратных засыпках котлованов и траншей, так как в скором времени над засыпками укладываются покрытия полов, дорог, и др.;
пролегание большого количества коммуникаций различного назначения в местах отрывки котлованов и траншей;
большое число ограничений в технологии земляных работ (невозможность применения машин с двигателями внутреннего сгорания на внутрицеховых работах, динамических методов воздействия на грунт вблизи коммуникаций, применения искусственного водопонижения и др.);
отсутствие (во многих случаях) мест для временного хранения грунта, разработанного в котлованах и траншеях;
относительно больший объем работ, выполняемых вручную из-за стесненности, наличия большого количества коммуникаций, трудности применения средств механизации.
6.3. В составе ППР(р) должен быть разработан раздел "Производство земляных работ", его основными вопросами и документами являются:
стройгенплан, на котором обозначаются места выполнения земляных работ, пересекающие их или расположенные на них коммуникации, геодезические знаки, пути движения землевозного транспорта, места стоянок машин для земляных работ, установки временных инвентарных зданий для подразделений земляных работ и др.;
объемы земляных работ с указанием их вида, места выполнения;
графики выполнения работ с указанием числа смен работы и условий выполнения (с остановкой, без остановки и т.д.);
графики работы машин;
технологические схемы выполнения всех основных работ с уточнением состава комплектов машин, бригад рабочих и др.;
конструкции приспособлений, оснастки, вспомогательных устройств, требующихся для выполнения работ;
указания по контролю качества (на каких этапах, что контролируется, какими методами, с помощью каких приборов, какие требования предъявляются, какие составляются документы);
указания по технике безопасности (не только для рабочих, занятых на реконструкции, но и для рабочих реконструируемого предприятия);
мероприятия по охране окружающей среды (предохранение производств от пыли, загрязнения автомобильных дорог, пешеходных дорожек, сохранение деревьев, кустов, посевов трав, растительного грунта, других элементов благоустройства и т.п.).
6.4. Исходными данными при решении вопросов организации и технологии земляных работ являются:
конструктивные и планировочные решения по реконструкции предприятия, здания, сооружения;
ПОС(р) для данного предприятия;
материалы предпроектных обследований реконструируемого предприятия;
материалы дополнительных обследований, проведенных в период разработки ППР(р);
решения по проведению земляных работ при реконструкции в сложных условиях, разработанные проектной организацией.
6.5. К сложным условиям выполнения земляных работ при реконструкции относятся:
работы, в ходе которых возникает необходимость понижать уровень грунтовой воды так, чтобы кривая депрессии оказалась ниже уровня подошв фундаментов зданий и оборудования. Допустимость понижения в этих случаях должна быть определена проектной организацией;
отрывка котлованов вблизи фундаментов зданий и оборудования ниже подошв существующих фундаментов, несущих нагрузки. Проектная организация в этих случаях должна принять решения о мероприятиях, предотвращающих просадки фундаментов, деформации зданий, сооружений, оборудования, а также о способах крепления стен котлованов;
отрывка котлованов по периметру фундаментов при увеличении их размеров, когда создаются условия для выпирания грунта из-под подошвы и возникновения просадок. Проектная организация должна разработать рекомендации, при которых выпирание грунта будет исключено;
отрывка котлованов большой глубины (3 - 4 м и более) с вертикальными стенками. Проектная организация должна подготовить решения по конструкциям креплений, включая анкерные устройства, способы погружения шпунта с учетом расположенных вблизи фундаментов;
закрепление грунта под подошвами фундаментов и в откосах котлованов. Специализированная проектная организация должна подготовить рекомендации о способах закрепления, требующемся оборудовании и других вопросах технологии.
ПОДГОТОВКА К ВЫПОЛНЕНИЮ ЗЕМЛЯНЫХ РАБОТ.
КРЕПЛЕНИЕ СТЕНОК ВЫРАБОТОК
6.6. При подготовке к производству земляных работ должно быть выполнено следующее:
выявлено, уточнено и обозначено на местности положение всех коммуникаций, проходящих в зоне работ и вблизи от нее, при этом могут быть использованы средства, перечисленные в
табл. 19;
установлено положение геодезических знаков, требующихся для проведения работ. В необходимых случаях должны быть установлены временные реперы;
подготовлены и подвезены все материалы и приспособления, требующиеся для выполнения работ (крепления стен выработок, предохранения вскрываемых коммуникаций, мостики с перилами для установки на пешеходных дорожках, лестницы для спуска в траншеи, материалы для обносок);
снят и обвалован растительный грунт (при внецеховых работах) со всей площади работ, включая временные дороги и места временной укладки материалов;
разобраны конструкции, подлежащие сносу на местах разработки выемок;
разобраны покрытия полов, дорог, площадок и т.п.
6.7. Разборка покрытия полов, дорог, площадок должна выполняться с учетом следующих требований:
при разборке внутри цехов и при наружных работах вблизи зданий, сооружений не следует применять ударных способов, вызывающих распространение колебаний в грунте (экскаваторы с шар- и клинами-молотами);
разборка покрытий должна проводиться в виде полос правильной формы с ровными краями и с размерами, позволяющими уложить по окончании работ временное или постоянное покрытие из целого числа железобетонных плит, специально подготовленных для этой цели. Для этого разбираемое покрытие должно до его снятия разрезаться с помощью баровых машин (асфальтобетонное), дискофрезерных машин с абразивными (бетонное) или алмазными кругами (железобетонное).
6.8. В условиях реконструкции в связи со стесненностью

часть котлованов и траншей отрывается с вертикальными стенками. В целях сокращения времени, затрачиваемого на работы на площадках, все конструкции креплений должны быть инвентарными. Технико-экономические показатели некоторых наиболее распространенных видов креплений приведены в
табл. 13.
Разновидность креплений | Единица измерения | Затраты |
труда, чел.-ч | общая стоимость, руб. | заработная плата, руб. |
Крепление стенок траншей шириной до 2 м щитами из досок в: | | | | |
устойчивых грунтах | 1 м3 грунта | 0,29 - 0,33 | 0,21 - 0,23 | 0,13 - 0,14 |
неустойчивых грунтах | То же | 0,38 - 0,44 | 0,25 - 0,28 | 0,17 - 0,19 |
Крепление котлованов и траншей шириной более 2 м и глубиной до 3 м щитами из досок в: | | | | |
устойчивых грунтах | 1 м2 стенки | 0,25 - 0,59 | 0,4 - 0,87 | 0,11 - 0,25 |
неустойчивых грунтах | То же | 0,44 - 0,96 | 0,61 - 0,89 | 0,14 - 0,43 |
То же, глубиной более 3 м | " | 1,24 | 0,66 | 0,33 |
Шпунтовое деревянное крепление | " | 2,97 | 9 | 1,32 |
6.9. Кроме креплений, перечисленных в
табл. 13, в условиях реконструкции могут также применяться крепления из металлического шпунта с распорными рамами или анкерами,
пп. 6.11 -
6.16 Руководства.
Когда объем работ, выполняемых в траншее, мал, например, сварка стыков плетей стальных трубопроводов в устойчивых грунтах, работы могут выполняться с применением местного инвентарного переставного крепления. Оно представляет собой пространственный каркас, сваренный из труб диаметром 38 - 50 мм. Ширина каркаса зависит от ширины траншеи, длина равна 5 - 6 м. Каркас с наружных сторон имеет дощатые стенки, он переставляется с помощью автокрана.
6.10. Широко применяется в условиях реконструкции крепление стенок из стального шпунта. При этом необходимо учесть, что применение вибропогружения вблизи от фундаментов во многих случаях приводит к осадкам фундаментов и деформациям каркасов зданий. Допустимость применения вибропогружения стального шпунта и железобетонных свай (безопасные расстояния от фундаментов) должна решаться специализированной проектной организацией в зависимости от параметров вибропогружателей и других конкретных условий в каждом отдельном случае. Шпунт следует погружать в таких случаях способами, не вызывающими колебаний в грунте (вдавливание и др.).
6.11. В условиях реконструкции отрываются котлованы глубиной 4 - 5 м и более. Для восприятия горизонтальных сил, действующих на стенки шпунтовых ограждений, требуется устанавливать распорные конструкции, применять якоря или использовать их сочетание
(рис. 12).
Рис. 12. Крепление котлована с помощью распорных рам
и грунтовых анкеров
1 - стена из стального шпунта; 2 - распорная рама;
3 - распорка (труба); 4 - грунтовый анкер; 5 - тяга анкера
В некоторых случаях в качестве якорей могут быть использованы фундаменты колонн, расположенные на удалении от границ котлована.
6.12. Расчет и конструирование якорей (их размеры, удаление, сечение распорок, тяг, крепление их к фундаментам, требующееся усилие натяжения тяг, способы натяжения) должны быть решены проектной организацией.
6.13. Якоря подготавливаются в начале отрывки котлована, на этой же стадии следует натягивать тяги, проложенные от якорей к рамам ограждения. Величина усилия натяжения должна определяться проектной организацией и быть равной 1,2 величины усилия от давления грунта, действующего на соответствующую стенку.
6.14. При отрывке котлована, когда достигнут уровень, на котором устанавливаются элементы усиления стенки ограждения, монтируются предусмотренные проектом рамы, с помощью гидродомкратов, оснащенных манометрами, выполняется натяжение и тяги закрепляются на балках. Усилие натяжения контролируется по манометру. Затем монтируются распорки.
6.15. При конструировании сооружений, располагаемых в котлованах, разрабатываемых с использованием распорных элементов, изображенных на
рис. 12, необходимо предусматривать, что распорные элементы должны находиться в котловане до тех пор, пока горизонтальные усилия, действующие на грунт, не будут переданы на стенки возведенного сооружения.
В таких случаях пространство между стенкой ограждения котлована и стеной возведенного сооружения должно заполняться не грунтом, а тощей бетонной смесью пластичной консистенции. С целью экономии бетонной смеси объем этого пространства должен быть минимальным.
6.16. Для крепления стенок котлованов при расположении фундаментов близко от них используются буронабивные сваи, бетонируемые без извлечения обсадных труб. При глубине котлованов 5 - 6 м и более буронабивные сваи в некоторых случаях, когда нет возможности устанавливать анкерные крепления, предусматривается устанавливать в два ряда. Это очень дорогой способ крепления стенок котлованов, связанный с расходом дефицитного материала - стальных труб. Он может быть рекомендован в исключительных случаях.
6.17. В случаях когда анкеры, требующиеся для усиления стенок, ограждающих котлован, негде располагать, так как прилегающая площадь занята технологическими процессами соседнего пролета цеха возможно устройство анкеров с помощью камуфлетных взрывов. Сущность этого способа изображена на
рис. 13 и
14.
Рис. 13. Крепление стены котлована
с помощью грунтовых анкеров
1 - ось колонн существующего цеха; 2 - буронабивные сваи
подпорной стенки; 3 - направляющий каркас для бурения
скважин; 4 - обсадная труба
Рис. 14. Детали крепления стены с помощью грунтового анкера
1 -
4 - см.
рис. 13;
5 - прижимная балка;
6 - упор
балки; 7 - металлическая прокладка; 8 - опора домкрата;
9 - гидродомкрат; 10 - гайка; 11 - шайба анкера;
12 - полость, заполненная бетоном; 13 - тяга анкера
Из начатого отрывкой котлована, по краю которого были установлены буронабивные сваи, с помощью переставного направляющего каркаса и обсадных труб 162 мм пробуривались наклоненные к горизонту под углом 15 - 20° скважины в сторону соседнего пролета на длину 14 - 15 м.
После частичного извлечения (на 1 - 1,2 м) обсадных труб в скважину вводился заряд взрывчатого вещества (0,8 - 1 кг). Скважина заливалась водой, проводился взрыв.
В образовавшуюся камуфлетную полость вводился стальной стержень с диаметром, установленным расчетом, с шайбой диаметром 100 мм и шланг для нагнетания бетонной смеси на мелком щебне. По мере нагнетания обсадная труба и шланг извлекались.
После набора бетоном 70% прочности с помощью гидродомкратов проводилось предварительное натяжение анкера до усилия на 30% больше расчетного, затем нагрузка сбрасывалась ступенями по 100 кН (10 тс). На втором этапе натяжение повторялось до расчетной величины усилия, тяга фиксировалась гайкой и контргайкой.
Описанная технология сложна, затраты при этом также велики, она может применяться при отсутствии других способов. В практике работы треста Челябметаллургстрой она позволила сэкономить несколько десятков тонн стальных труб, так как по проекту предусматривалось устройство стенки из двух рядов буронабивных свай со стальными трубами.
РАЗРАБОТКА ВЫЕМОК
6.18. В условиях реконструкции вновь возводимые фундаменты, а также основания заглубленных сооружений (подвалов, тоннелей, каналов, отстойников, колодцев и др.) могут располагаться ниже подошв ранее возведенных фундаментов и в непосредственной близости от них. Если разность отметок фундаментов

и расстояние между их крайними точками
a не удовлетворяют условию

(27)
где

- угол сдвига, величина которого зависит в свою очередь от значения угла внутреннего трения, удельного сцепления грунта и среднего давления на грунт под подошвой вышерасположенного фундамента, необходимо при отрывке котлована применять специальные способы, как, например:
предварительное вывешивание (переопирание) фундамента вместе с опирающимися на него конструкциями на временные опоры;
предварительное до отрывки котлована переопирание фундамента на буронабивные сваи;
использование опускной крепи, в которую заключается фундамент, расположенный около котлована, см.
пп. 6.27 -
6.29 настоящего Руководства;
применение ограждения из стального шпунта, железобетонных вдавливаемых или буронабивных свай с установкой распорных конструкций, грунтовых анкерных и других креплений.
Перечисленные способы изложены в
пп. 6.23 -
6.29 данной главы.
6.19. В стесненных условиях, когда грунт, разрабатываемый в котлованах и траншеях, нельзя оставлять у мест разработки, он должен погружаться в транспортные средства и отвозиться к месту обратной засыпки других выемок, где к этому времени должны быть закончены предшествующие работы.
Не следует допускать вывозки грунта на выброс, так как в этом случае стоимость обратной засыпки удорожается в несколько раз.
6.20. Некоторую особенность земляных работ при реконструкции представляет отрывка котлованов относительно малых размеров при значительной глубине (4 - 5 м и более), когда на дно выемки нельзя устанавливать землеройные машины. В этих случаях разработку следует осуществлять экскаваторами с грейферными ковшами или же пневмогрузчиками, применяющимися для проходки вертикальных стволов шахт. Пневмогрузчики могут подвешиваться на мостовых кранах или на специальных конструкциях, опираемых на фермы покрытия здания. При работе пневмогрузчиков грунт из выработки удаляется бадьями с помощью кранов.
При использовании пневмогрузчиков должны соблюдаться требования главы
СНиП по технике безопасности в строительстве,
гл. 16 настоящего Руководства и правила безопасности, относящиеся к проходке вертикальных стволов шахт.
6.21. При отрывке котлованов по периметру фундаментов, в случаях их уширения, должны предприниматься меры, предотвращающие выдавливание грунта из-под подошв фундаментов. Рекомендации по этому вопросу изложены в
п. 10.5 настоящего Руководства.
6.22. При отрывке котлованов в случаях, названных в
п. 6.18, должно вестись ежедневное геодезическое наблюдение (с помощью нивелиров) за осадками всех фундаментов, расположенных вблизи от разрабатываемого котлована. При наличии даже незначительных осадок работы должны быть немедленно приостановлены и приняты меры по предотвращению дальнейших осадок.
Все работы (отрывка котлованов и последующие процессы) должны проводиться в наиболее короткие сроки. Чем дольше проводятся работы, тем больше вероятность появления осадок близкорасположенных фундаментов.
ВЫВЕШИВАНИЕ ФУНДАМЕНТОВ ПЕРЕД ОТРЫВКОЙ КОТЛОВАНОВ
6.23. Способ вывешивания существующего фундамента с последующей подбетонкой рассматривается на примере фундамента под оборудование с отметкой заложения минус 2,5 м и массой 15 т (вместе с находящимся на нем оборудованием). Вывешивание фундамента вызвано необходимостью сооружения фундамента под оборудование или маслоподвала с отметкой заложения минус 6 м, располагаемого в непосредственной близости от существующего фундамента (расстояние между проектируемым фундаментом и новым 600 мм). Грунт основания - глина естественной влажности. Существо способа изображено на
рис. 15 и
16.
Рис. 15. Вывешивание фундамента под оборудование. Общий вид
1 - существующий фундамент, подлежащий вывешиванию;
2 - габариты технологического оборудования;
3 - проектируемый фундамент на отметке - 6000;
4 - технологическое оборудование; 5 - подбетонка;
6 - домкраты; 7 - подкладки (опоры)
Рис. 16. Вывешивание фундамента под оборудование.
Производство работ
а - проектное положение металлических балок; б - подводка
металлических балок под вывешиваемый фундамент; в - первый
этап бетонирования подбетонки; г - второй этап подбетонки;
1 - сборные железобетонные плиты или деревянные шпалы;
2 - металлические балки; 3 - ручная лебедка;
4 - технологическое оборудование; 5 - вывешенный фундамент;
6 - приемный бункер; 7 - виброжелоб; 8 - окно в опалубке;
9 - крепление стенок котлована
Последовательность работ по вывешиванию фундамента следующая:
разрабатывается грунт до отметки минус 2,5 м со всех сторон фундамента механизированным способом (экскаватором с ковшом вместимостью 0,25 м3), с минимальным объемом работ вручную, с погрузкой в поворотные бадьи, которые мостовыми кранами разгружаются в транспортные средства;
вручную отрываются площадки, на которые укладываются опорные подушки (железобетонные плиты или пакеты деревянных шпал), служащие опорами для металлических балок;
под углами нижней поверхности фундамента отрываются площадки и укладываются железобетонные плиты или деревянные пакеты, с достаточной площадью опирания на грунт и на них, под фундамент устанавливаются с помощью домкратов временные подкладки из дерева или бетона так, что нагрузка от фундамента временно передается через подкладки на грунт;
под фундаментом с обеих его сторон вручную прокапываются траншеи сечением, достаточным для установки в них гильз, сваренных из листовой стали толщиной 1,5 - 2 мм, через которые с помощью лебедки последовательно протаскиваются металлические балки; концы балок подклиниваются на опорах металлическими клиньями;
после передачи нагрузки от фундамента на все балки подкладки убираются и приступают к разработке грунта под фундаментом с креплением стенок котлована;
после разработки грунта до проектной отметки минус 5,50 м устанавливается опалубка и производится подбетонка;
после набора прочности бетона опалубка и крепление стенок котлована убираются, металлические балки извлекаются из гильз, сами гильзы заполняются бетонной смесью. Параллельно с этими работами производится отрывка котлована под проектируемый фундамент под оборудование или маслоподвал.
Весь цикл подбетонки фундамента при двухсменной работе имеет продолжительность 9 - 12 сут.
Размеры опорных подушек под концы балок и домкраты должны быть определены расчетом с учетом несущей способности грунта и гарантировать от просадок. Расчетом должны определяться число и сечение балок и расстояние между центрами опорных подушек, гарантирующим отсутствие деформации (прогиба) балок.
6.24. Способ вывешивания фундаментов применяется и для более сложных условий. Так, например, для условий реконструкции стана "140 N 2" трубопрокатного цеха Т-1 Первоуральского новотрубного завода в числе вариантов рассматривался способ вывешивания фундаментов колонн (отметки минус 2,2 м) в связи с запроектированной подземной частью близ располагаемого на отметке минус 8,0 - 9,0 м нового сооружения.
6.25. Наряду с приведенным способом вывешивания фундаментов, может применяться способ переопирания фундамента на буронабивные сваи с помощью железобетонной обоймы, см.
п. 10.7.
6.26. В ходе реконструкции промышленных цехов иногда возникает необходимость полной разгрузки фундамента путем вывешивания колонн. Это достигается несколькими способами с помощью:
шпренгельной системы связей;
клина-хомута с передачей нагрузки на временные поддерживающие устройства;
поддерживающей системы ножничного типа.
ПРИМЕНЕНИЕ ЖЕЛЕЗОБЕТОННОЙ РУБАШКИ
ПРИ ОТРЫВКЕ КОТЛОВАНА ВБЛИЗИ ФУНДАМЕНТА
6.27. Устройство железобетонной рубашки для массива грунта фундамента, погружаемой по методу опускного колодца, имеет целью создать условия для отрывки котлована вблизи фундаментов.
Различие между опускным колодцем и железобетонной рубашкой заключается в том, что грунт в опускном колодце разрабатывается внутри его, а в случае железобетонной рубашки - снаружи. Устройство железобетонной рубашки, изображенное на
рис. 17, целесообразно рассмотреть на конкретном примере, в котором заданы размеры подошвы фундамента 3 x 3 м, отметка заложения фундамента минус 2,5 м; высота от пола до нижнего пояса фермы 9,6 м, грунт основания суглинистый естественной влажности. До начала работ с целью уменьшения нагрузки на фундамент следует ограничить зону действия кранов и очистить кровлю от пылевидных производственных выбросов, а в зимнее время и от снеговой нагрузки.
Рис. 17. Устройство железобетонной рубашки
у фундаментов колонны
а - первый этап бетонирования железобетонной рубашки
до отметки 1000; б - проектное положение железобетонной
рубашки; 1 - железобетонная колонна; 2 - железобетонная
рубашка; 3 - массив грунта
Последовательность устройства железобетонной рубашки такова:
после вскрытия бетонного пола производится отрывка котлована до отметки минус 1,50 м; для обнаружения граней нижней ступени фундамента по ее углам отрываются шурфы;
на тщательно спланированном дне котлована монтируется стальной нож железобетонной рубашки, его размеры принимаются с учетом зазора 100 мм между внутренними стенами рубашки и гранями нижней ступени фундамента;
монтируется арматурный каркас рубашки, опалубка, производится бетонирование. Для избежания зависания рубашки, которое трудно устранимо, рекомендуется монтировать арматуру, опалубку и бетонировать рубашку поярусно (в рассматриваемом случае в два яруса). Опускание рубашки также должно вестись поярусно.
Для ускорения твердения бетона следует проводить меры, изложенные в
пп. 7.37 -
7.41.
Для временного увеличения массы рубашки ее пригружают.
6.28. Опускание рубашки следует производить равномерно, разрабатывая и удаляя грунт со всех ее сторон, при опускании рубашки следует контролировать вертикальность ее граней. Опускание рубашки следует производить в присутствии мастера.
Толщина стенок рубашки определяется расчетом с учетом глубины опускания и размеров в плане. Целесообразно применять сборные рубашки из отдельных элементов, соединяемых на месте сваркой. Применение сборных рубашек позволяет ускорять процесс их погружения.
6.29. При рассматриваемом методе защиты фундамента не исключается возможность некоторой его осадки, величина которой должна контролироваться геодезическими инструментами. После стабилизации осадки она должна быть компенсирована путем укладки на головке и консолях колонны стальных подкладок под фермы и подкрановые балки. Вариант защиты фундаментов с помощью железобетонных рубашек был разработан для условий реконструкции цеха Т-1 Первоуральского новотрубного завода.
ОБРАТНАЯ ЗАСЫПКА КОТЛОВАНОВ И ТРАНШЕЙ. УПЛОТНЕНИЕ ГРУНТА
6.30. Обратная засыпка котлованов и траншей в условиях реконструкции в наиболее общем случае включает доставку грунта, отсыпку его, разравнивание и уплотнение. В отличие от нового строительства грунт для обратной засыпки во многих случаях находится не у места его засыпки, а на удалении от него. При этом средства транспортирования грунта во многих случаях не могут приближаться к месту засыпки. В этих случаях грунт должен перевозиться в съемных емкостях (бадьях и др.), доставляемых к месту разгрузки мостовыми или другими кранами.
6.31. Разравнивание грунта в различных условиях стесненности должно выполняться с помощью соответствующих средств механизации (экскаваторов, механических скребков и др.). При этом толщина отсыпаемых слоев должна соответствовать уплотняющей способности средств уплотнения.
6.32. Засыпка траншей и котлованов должна выполняться сразу после устройства фундаментов, возведения заглубленной части сооружения или прокладки коммуникаций.
6.33. Требования к плотности грунта в обратных засыпках дифференцируются в зависимости от вида покрытия или конструкции, которые укладываются на уплотненную засыпку, от разновидности грунта, от глубины расположения слоев обратных засыпок. Критерием плотности принимается величина
Kу коэффициента уплотнения

(28)
| | ИС МЕГАНОРМ: примечание. Обозначения даны в соответствии с официальным текстом документа. | |
где

- требуемая плотность (объемная масса скелета грунта), г/см
3;

- максимальная плотность грунта, полученная в приборе стандартного уплотнения, г/см
3.
6.34. В действующей инструктивно-нормативной литературе не содержится указаний о величинах
Kу. В связи с этим, рекомендуется пользоваться значениями
Kу, предложенными в ведомственных технических правилах
(табл. 14).
Разновидности грунтов | Значения Kу при видах обратных засыпок |
под покрытиями полов, автодорог, площадок и т.п. | в местах, где покрытие не укладывается |
верхние слои в зоне промерзания | слои ниже зоны промерзания |
Песчано-гравийный, песчано-пылеватый, супесчаный, супесчаный мелкий | 0,95 - 0,98 | 0,95 | 0,9 |
Пылеватый, суглинисто-пылеватый, суглинистый, тяжелый суглинистый | 0,98 - 1 | 0,96 | 0,9 |
Глинистый | 0,98 - 1 | 0,98 | 0,9 |
6.35. Грунт в обратных засыпках должен быть уплотнен до получения в каждом из уплотняемых слоев такой плотности

, которая удовлетворяет условию

(29)
Величина

определяется в соответствии с указаниями ГОСТ 5182-78.
При обратной засыпке наружных траншей, над которыми покрытие не укладывается, когда
Kу < 1, обратная засыпка должна возвышаться над прилегающей поверхностью земли на величину

, ориентировочно определяемую

(30)
где H - глубина траншеи, м.
Верхняя часть обратной засыпки должна при этом состоять из растительного грунта установленной в проекте толщины.
6.36. Режим работы уплотняющих машин определяется путем проведения предварительного опытного уплотнения, в ходе которого устанавливается толщина отсыпаемых слоев, продолжительность работы уплотняющей машины на одной позиции или число ударов по одному месту.
6.37. Техническими средствами для уплотнения грунта в условиях реконструкции являются:
виброплиты самопередвигающиеся массой 150, 200, 270, 500, 700, 1100 и 1400 кг;
трамбовки электрические массой 28, 80 и 160 кг;
вибротрамбовки, подвешиваемые к крану или экскаватору, массой 2600 кг.
Трамбующие плиты, подвешиваемые на экскаваторах с массой 2 т и более, могут применяться только на удалении от зданий, сооружений и коммуникаций. Допустимость их применения, включая и режим работы, в случае необходимости должна быть определена проектной организацией.
ОБЩИЕ ВОПРОСЫ
7.1. Данная глава Руководства составлена к главе
СНиП "Бетонные и железобетонные конструкции монолитные. Правила производства и приемки работ".
7.2. При разработке ППР
(р) на бетонные работы в условиях реконструкции, а также при их выполнении кроме указанной главы СНиП и данной главы следует пользоваться: руководствами по применению опалубки для монолитных железобетонных конструкций, по производству арматурных и бетонных работ, по применению бетонов с противоморозными добавками, по производству бетонных работ в зимних условиях, условиях Сибири, Дальнего Востока и Крайнего Севера и в условиях сухого жаркого климата, разработанными ЦНИИОМТП и НИИЖБ Госстроя СССР.
7.3. Бетонные работы, выполняемые в условиях реконструкции, имеют следующие особенности:
стесненность мест производства работ, часто осложняющаяся расположенным вблизи действующим оборудованием предприятия;
большое разнообразие единичных объемов работ от нескольких тысяч кубических метров при устройстве фундаментов под оборудование до крайне малых объемов, при усилении колонн и других конструкций;
необходимость во многих случаях совмещать бетонные работы с работой предприятия, предоставляющего фронт работ в третьи смены или в кратковременные "окна" в первые и вторые смены;
часто встречающаяся недоступность мест бетонирования для подъезда общепринятого бетоновозного транспорта, необходимость в связи с этим транспортирования бетонной смеси мостовыми кранами, электрокарами и другими средствами;
необходимость усиления ранее находившихся в эксплуатации конструкций;
частое применение бетонных смесей со специальными свойствами;
более широкое, по сравнению с новым строительством, применение способов и средств для ускорения процесса набора прочности бетона;
повышенные требования к чистоте рабочих мест при бетонировании в действующих цехах;
необходимость обеспечивать в более короткие сроки начало работ по монтажу оборудования после окончания бетонных работ.
7.4. Приготовление бетонной смеси для целей реконструкции может осуществляться:
на заводах товарного бетона;
на заводах полустационарного типа или бетонных узлах, расположенных на территории реконструируемого предприятия или вблизи от него;
в бетоносмесительных установках, располагаемых вблизи от места бетонирования (специальные бетонные смеси на мелком щебне, требующиеся для усиления конструкций, с повышенной подвижностью, на специальных цементах и др.);
в автобетономешалках, получающих смесь сухих материалов на заводах или пунктах дозировки и загрузки (при больших расстояниях, когда время транспортирования велико).
Место получения или приготовления бетонной смеси устанавливается в зависимости от режима выполнения бетонных работ на реконструируемом предприятии. При выполнении работ в третьи смены, в выходные и праздничные дни, а также при использовании бетононасосов должна быть получена гарантия на поставку смеси от бетонного завода или же должно быть организовано приготовление бетонной смеси силами строительной организации.
7.5. Выполнение арматурных работ в условиях реконструкции мало отличается от нового строительства. Некоторая специфика, связанная с сопряжением арматуры усиливающей части конструкций с арматурой усиливаемой части, изложена в
п. 7.32.
7.6. Главной особенностью опалубочных работ в условиях реконструкции является использование заранее подготовленных элементов. С целью уменьшения затрат труда на площадках не следует допускать их изготовление на месте. Решения но конструкциям опалубок должны приниматься с учетом:
размеров и конфигурации бетонируемой или усиливаемой конструкции;
технико-экономических показателей изготовления и эксплуатации различных опалубок;
наличия материалов в строительной организации.
7.7. В условиях реконструкции в ряде случаев технологически оправдывает себя опалубка из железобетонных элементов заводского изготовления. Эти элементы могут быть плоскими или иметь Г-образное поперечное сечение
(рис. 18). Применение данной разновидности опалубки позволяет до бетонирования засыпать и уплотнить грунт в пазухах котлованов и приближать бетоновозный транспорт и другие технические средства к месту бетонирования. Для сохранения размеров фундамента и положения железобетонных элементов внутри бетонируемого пространства перед обратной засыпкой пазух и уплотнением грунта устанавливаются распорные рамы, которые демонтируются по мере бетонирования.
Рис. 18. Опалубка фундамента
под оборудование из железобетона
а - из элементов Г-образного сечения; б - из плоских плит;
1 - Г-образные элементы; 2 - распорные рамы;
3 - плоские плиты
При применении опалубки из железобетонных элементов в то же время необходимо учитывать, что стоимость 1 м3 железобетонных элементов опалубки в 1,7 - 2 раза дороже 1 м3 монолитного железобетонного фундамента.
ТРАНСПОРТИРОВАНИЕ И ПОДАЧА БЕТОННОЙ СМЕСИ
7.8. Наиболее распространенными в условиях реконструкции являются следующие средства транспортирования бетонной смеси.
По дорогам общего пользования: автосамосвалы общего назначения; бортовые автомашины с бадьями, бункерами; автобетономешалки.
По внутризаводским дорогам: автосамосвалы, бортовые автомашины; технологический внутризаводской и узкоколейный железнодорожный транспорт с бадьями и бункерами.
7.9. При решении вопросов о выборе транспорта для перевозки бетонной смеси в ПОС(р) и ППР(р) необходимо учитывать, что продолжительность транспортирования tт должна быть:
tт <= tн.с - tу, (31)
где tн.с - время до начала схватывания цемента, на котором приготовлена бетонная смесь, определяемое по данным лаборатории бетонного завода (ориентировочно для обычных цементов можно принимать равным 45 мин);
tу - время, требующееся на укладку, уплотнение бетонной смеси, включая время ожидания начала работ (при работах в действующих цехах).
Средства транспортирования бетонной смеси должны позволять выгружать бетонную смесь непосредственно в бетонируемую конструкцию или перегружать в другую емкость, с помощью которой смесь подается к месту бетонирования. Особое значение это имеет при усилении конструкций, когда бетонная смесь должна загружаться в узкое пространство между опалубкой и усиливаемой конструкцией, например при усилении колонн.
При проектировании бетоновозного транспорта и способов подачи бетонной смеси следует предусматривать минимальное количество перегрузок бетонной смеси, имея в виду, что при каждой перегрузке ее потери составляют около 0,5%. Следует также учитывать, что все перегрузки бетонной смеси должны выполняться без применения ручного труда.
При транспортировании бетонной смеси бортовыми автомашинами должны использоваться бадьи и бункера с исправными уплотняющими устройствами у выпускных отверстий, полностью исключающими утечку жидкого материала из бетонной смеси. Данное требование имеет особое важное значение в случаях, когда перечисленные емкости в ходе бетонных работ перемещаются над оборудованием реконструируемого предприятия.
7.10. Подача бетонной смеси к местам бетонирования в условиях реконструкции имеет значительные особенности. Они связаны с невозможностью во многих случаях подъезда бетоновозного транспорта к местам бетонирования, с невозможностью установки кранов для подачи бетонной смеси в опрокидных бункерах, с ограничениями в применении транспортных средств с двигателями внутреннего сгорания внутри цехов.
7.11. В условиях реконструкции могут применяться следующие основные способы подачи бетонной смеси к бетонируемым конструкциям:
непосредственная выгрузка из автосамосвалов;
с помощью башенных или самоходных стреловых кранов в поворотных бункерах;
в бункерах и бадьях, перемещаемых технологическими мостовыми кранами;
в бункерах и бадьях с помощью автопогрузчиков и электрокар;
с помощью мото- и электротележек с опрокидывающимися кузовами;
с помощью бетоноукладчиков и конвейеров;
бетононасосами.
7.12. Подача из автосамосвалов и с помощью башенных и самоходных стреловых кранов, широко распространенная в новом строительстве, пояснений не требует.
При использовании мостовых технологических кранов для подачи бетонной смеси следует учитывать:
возможность их использования только, когда они не заняты работами в действующем цехе;
необходимость предохранения оборудования цехов, их территории от загрязнения жидкими материалами, которые могут вытекать из бадей или бункеров во время их переноса над оборудованием цеха. С этой целью перед началом движения мостового крана бадьи и бункера должны быть очищены от прилипших к ним частиц бетонной смеси, а у выпускных отверстий на них должны прикрепляться чехлы из брезента, резинотканевого материала для предохранения от вытекания бетонной смеси.
7.13. При бетонировании мелких конструкций при усилении колонн бетонная смесь должна подаваться в контейнерах малого объема (40 - 50 л). Контейнеры заполняются из перегрузочных бункеров, из автобетономешалок, из бетоносмесительных установок, с помощью электрокар или автопогрузчиков устанавливаются на платформу, перемещаемую мостовым краном к месту бетонирования. Из контейнеров бетонная смесь перегружается в бетонируемую конструкцию с помощью автопогрузчиков или электрокар, а также лебедок и блоков, закрепленных на фермах (балках) покрытия.
7.14. В случаях когда бетонируемая конструкция расположена в пролете, не оснащенном мостовым краном, но рядом с пролетом, имеющим мостовой кран, бетонная смесь из бункера с помощью мостового крана разгружается в приемное устройство бетоноукладчика или ленточного конвейера, расположенного в зоне действия мостового крана. Бетоноукладчик передает смесь в соседний пролет.
7.15. Наиболее распространенные способы транспортирования и подачи бетонной смеси приведены на
рис. 19. Способы
А и
Б пояснений не требуют.
Рис. 19. Варианты процессов транспортирования
и подачи бетонной смеси к месту бетонирования
в условиях реконструкции
Способ
В находит применение при выполнении работ в многоэтажных зданиях. Сущность его показана на
рис. 20.
Рис. 20. Схема технологического процесса перегрузки
бетонной смеси из автосамосвала в неповоротные бункера,
транспортируемые внутрицеховым транспортом
1 - эстакада для въезда автосамосвалов;
2 - приемное устройство; 3 - перегрузочный лоток
с затвором; 4 - приямок для установки бункера;
5 - мостовой кран, транспортирующий бункер
Рис. 21. Подача бетонной смеси при выполнении работ
в многоэтажном здании
1 - самоходный стреловой кран; 2 - поворотный бункер
с бетонной смесью; 3 - приемный бункер; 4 - раздаточное
устройство; 5 - мототележка; 6 - бетононасос; 7 - бетоновод
При способе
Г бетонная смесь, доставленная автосамосвалами, с помощью эстакады и перегрузочного устройства (см.
рис. 20) перегружается в емкости для внутрицехового транспортирования. При наличии мостового крана в цехе бункера с его помощью транспортируются к месту укладки. При его отсутствии бетонная смесь загружается в более мелкие емкости, соответствующие грузоподъемности имеющихся автопогрузчиков, электрокар и других средств (способ
Д).
В случаях реконструкции многоэтажных зданий, когда средствами вертикального транспорта являются подъемники, и потребность в бетонной смеси мала, смесь может подаваться к месту укладки в ручных тележках, загружаемых из раздаточного устройства с перегрузочной эстакадой. Место перегрузки и раздачи располагается вне здания вблизи от подъемника. Тележки устанавливаются на платформу подъемника и поднимаются на этажи (способ Е).
При объемах работ от нескольких сот кубических метров и более бетонная смесь может подаваться с помощью бетононасосов. При этом необходимо обеспечивать их безостановочную трехсменную работу (способ Ж).
7.16. В условиях реконструкции могут применяться бетононасосы с подачей 10, 20, 40 м3/ч с диаметрами бетоноводов 150, 180, 283 мм. Загрузка бетононасосов осуществляется с эстакады или путем размещения его в котловане.
При использовании бетононасосов рекомендуется:
организовать их непрерывное обслуживание квалифицированными механиками;
избегать использования бетонных смесей со щебнем из мягких пород, используя по возможности щебень с менее остроугольной формой;
избегать поворотов бетоновода под углом 90°, в особенности в вертикальной плоскости;
при расстоянии транспортирования бетонной смеси автосамосвалами более 3 км перед загрузкой в бетононасос смесь должна дополнительно перемешиваться;
бетонная смесь должна быть с В/Ц = 0,45 - 0,65 и осадкой конуса 4 - 10 см; расход цемента должен быть не менее 270 кг/м3;
положительное влияние на работу бетононасосов оказывает применение пластифицирующих добавок СДБ или ССБ 0,15 - 0,20% сухого вещества;
необходимо строго соблюдать режим пуска (на пусковой смеси) и окончания (переход на воду с использованием банника).
При проектировании применения бетононасосов, а также в процессе их эксплуатации, необходимо выполнять рекомендации Руководства по укладке бетонной смеси бетононасосными установками (М., Стройиздат, 1978).
Рис. 19 не исчерпывает всех возможных способов транспортирования и подачи бетонной смеси.
Так, например, возможно использование технологического железнодорожного транспорта для перевозки бетонной смеси по территории предприятия, подачи бетонной смеси башенными или самоходными стреловыми кранами, через монтажные проемы в покрытиях и другие способы.
Условия реконструкции весьма разнообразны, это требует творческого подхода при решении вопросов организации и технологии бетонных работ.
УКЛАДКА И УПЛОТНЕНИЕ БЕТОННОЙ СМЕСИ. УХОД ЗА БЕТОНОМ
7.17. При бетонировании вновь возводимых конструкций укладка и уплотнение бетонной смеси выполняются в соответствии с указаниями главы
СНиП "Бетонные и железобетонные конструкции монолитные. Правила производства и приемки работ".
7.18. Укладка бетонной смеси в массивные конструкции не отличается от аналогичной операции при новом строительстве. При усилении конструкций применяются способы, изложенные в
пп. 7.34 -
7.36.
7.19. Бетонная смесь при работах по реконструкции уплотняется как и при новом строительстве с помощью вибраторов. При усилении колонн, когда вибраторы не могут вводиться в бетонируемое пространство, они прикрепляются или приставляются снаружи.
7.20. Мероприятия по уходу за бетоном в условиях реконструкции должны обеспечить решение двух основных задач:
создание необходимых влажностных условий для набора прочности забетонированными и усиливаемыми конструкциями;
предохранение свежеуложенного бетона от механических повреждений.
Решение обеих задач при реконструкции представляет большую сложность по сравнению с новым строительством по следующим причинам:
бетонная смесь во многих случаях укладывается тонкими слоями, легко отдающими содержащуюся в ней влагу (усиление колонн, перекрытий, полов, устройство набетонок на покрытиях дорог, площадок);
нахождение забетонированных и усиливаемых конструкций в условиях высоких температур действующих цехов с значительными скоростями движения воздуха от систем вентиляции;
более интенсивное движение людей и средств транспорта при работе на действующем производстве.
7.21. Содержание во влажном состоянии забетонированных и усиливаемых конструкций имеет целью предохранение уложенной бетонной смеси и затвердевающего бетона от потери воды, введенной при затворении, путем создания и поддержания влажной среды, прилегающей к конструкциям в течение 7 - 10 сут. Потеря даже 10 - 15% воды из незащищенных слоев конструкций ведет к снижению прочности, понижению морозостойкости, повышению коррозии арматуры конструкций, в особенности работающей в среде с агрессивными примесями.
Поэтому содержание во влажном состоянии забетонированных конструкций должно начинаться немедленно вслед за бетонированием и продолжаться непрерывно в течение 7 - 10 сут.
7.22. Характер мероприятий по увлажнению конструкций зависит от их вида и среды, в которой они находятся.
7.23. При усилении колонн их опалубка не должна сниматься до окончания увлажнения. К головке колонны должна быть подведена труба или шланг с регулирующим краном и устройством, обеспечивающим непрерывное увлажнение колонны со всех сторон. У пяты колонны вода собирается и отводится в канализацию.
7.24. При бетонировании полов, площадок, дорог, сразу после разравнивания и отделки поверхности на нее укладывается пленочный материал в виде рулонов или тентов. Через 3 - 4 ч пленочный материал снимается и набрасывается слой песка 3 - 4 см, который путем разбрызгивания воды содержится круглосуточно (7 - 10 сут) во влажном состоянии. По истечении этого срока увлажнение может быть прекращено, но при возможности песок оставляется еще на 8 - 10 дней.
7.25. Для предохранения свежеуложенного бетона от механических повреждений (в особенности при бетонировании и усилении полов, дорог, площадок) все участки работ следует оградить леерами, установить предупреждающие знаки: "Не входить, не въезжать - свежеуложенный бетон". Знаки и ограждения должны быть видимы в дневное и ночное время.
7.26. При выполнении бетонных работ в горячих цехах, а также в условиях сухого жаркого климата, как в вопросах ухода, а также и других процессах бетонных работ следует пользоваться Руководством по производству бетонных работ в условиях сухого жаркого климата.
7.27. Вопросы ухода за бетоном и защиты его от воздействия отрицательных температур, изложены в руководствах, упомянутых в
п. 7.2.
ОСОБЕННОСТИ БЕТОННЫХ РАБОТ ПРИ УСИЛЕНИИ
ЖЕЛЕЗОБЕТОННЫХ КОНСТРУКЦИЙ
7.28. В условиях реконструкции встречается необходимость усиления фундаментов колонн и оборудования, колонн, монолитных перекрытий, балок и ригелей.
При усилении железобетонных конструкций должны быть выполнены следующие процессы и операции: подготовка бетона усиливаемой конструкции, монтаж арматуры усиливающей части, установка опалубки и бетонирование усиливаемой части.
7.29. Прочность и надежность усиления конструкций зависят от ряда факторов, главными из которых являются: температура усиливаемого бетона, качество очистки его поверхности, шероховатость, качество бетонной смеси, способы ее укладки, уплотнения и ухода за бетоном.
7.30. При усилении конструкций, находившихся при отрицательных температурах, поверхности усиливаемых конструкций должны быть очищены от наледей, снега, а сами конструкции отогреты до положительных температур. Обогрев должен выполняться с помощью калориферов, электронагревательных и других приборов или сжатым воздухом от близко расположенных передвижных компрессоров. При этом необходимо использовать тепляки, кожухи и другие ограждающие устройства.
7.31. Поверхность старого бетона в местах его усиления должна быть очищена от загрязнения грунтом, маслом, от слоев окраски. Для улучшения сцепления ей должна быть придана шероховатость.
Поврежденные трещинами, разрушенные по другим причинам слои бетона должны быть вырублены. В некоторых случаях, предусмотренных проектом, на сопрягаемых поверхностях прорубаются борозды, на вертикальных гранях ступеней фундаментов путем подрубания создаются наклоны.
Для выполнения перечисленных операций должны применяться механизированные инструменты с электрическим или пневматическим приводом.
Для улучшения сцепления нового бетона со старым может быть предусмотрена предварительная обработка поверхности усиливаемой конструкции эпоксидным составом.
С той же целью перед бетонированием усиливаемых конструкций, когда поверхность не обрабатывается эпоксидным составом, за 15 - 20 мин до бетонирования ее рекомендуется смачивать водой.
7.32. Арматура усиливающей части должна быть скреплена со старой арматурой с помощью коротышей, отгибов и других деталей. При конструировании арматурных каркасов усиления должны быть предусмотрены детали, обеспечивающие необходимую толщину защитного слоя.
При скреплении каркаса усиления колонн со старым каркасом не следует подрубать сечение колонны на одном уровне более чем в одном углу.
Сопряжение каркаса усиления фундамента со старым фундаментом может быть выполнено с помощью стальных анкеров, вставленных на цементно-песчаном растворе или эпоксидном клее в пробуренные (просверленные) шпуры. Количество анкеров, их длина, диаметр, заглубление устанавливаются проектом.
7.33. При бетонировании усилений фундаментов в проекте должны быть предусмотрены мероприятия предотвращающие выпучивание грунта из-под подошвы в результате отрывки котлована.
Бетонировать усиления фундаментов рекомендуется без перерывов. При неизбежности устройства рабочих швов перед перерывом в незатвердевшую бетонную смесь должны быть заглублены арматурные стержни длиной 600 - 700 мм, диаметром 10 - 12 мм. Заглубляются они на половину длины. Продолжать работы разрешается по достижении бетоном 50% расчетной прочности.
7.34. При усилении колонн способ подачи бетонной смеси принимается в зависимости от размеров сечения усиливающей части. Когда толщина усиления 10 см и больше, бетонную смесь подают в верхнюю часть опалубки. Возможно нагнетание пластифицированной бетонной смеси в нижнюю часть опалубки с помощью бетононасосов или других нагнетателей.
При усилении колонн многоэтажных зданий в некоторых случаях может оказаться целесообразной подача бетонной смеси через отверстия, пробиваемые в перекрытиях.
При малых толщинах усиления бетонная смесь подается через боковые отверстия, располагаемые через 1,5 - 2 м по высоте и перекрываемые по мере заполнения бетонируемого пространства.
7.35. При усилении балок перекрытий, ригелей и плит монолитных перекрытий бетонная смесь подается через отверстия, пробиваемые в перекрытиях или же путем нагнетания через отверстия в опалубке.
Отверстия, пробиваемые в перекрытиях, должны использоваться для крепления арматурных каркасов усиления.
7.36. Усиление балок и ригелей можно осуществить путем торкретирования способом, описанным в
п. 10.13.
ИНТЕНСИФИКАЦИЯ НАБОРА ПРОЧНОСТИ БЕТОНА
7.37. В условиях реконструкции промышленных предприятий с целью уменьшения периода времени между бетонированием конструкций и монтажом оборудования как в зимних, так и в летних условиях следует применять различные способы ускорения твердения бетона.
Способы ускорения твердения бетона назначаются в зависимости от вида бетонируемых конструкций, наличия энергетических мощностей (электроэнергии, пара), оборудования для обогрева, технико-экономических показателей различных способов, а также с обязательным учетом безопасного производства работ в условиях действующего производства.
При проектировании мероприятий по ускорению твердения бетона, а также при их проведении, следует пользоваться руководствами
(п. 7.2), в которых изложена технология выполнения работ и методика определения технико-экономических показателей различных способов.
7.38. В условиях реконструкции для тепловой обработки бетона рекомендуются следующие способы:
при бетонировании фундаментов под колонны и оборудование, свайных ростверков, фундаментных плит, конструкций подвалов, тоннелей, колонн, стен при их толщине более 0,3 м - обогрев в греющей опалубке или периферийный электропрогрев в деревянной опалубке с закрепленными на ней полосовыми электродами;
при бетонировании полов, днищ, покрытий площадок, междуэтажных перекрытий, набетонок - обогрев с применением термоактивных гибких покрытий (матов) или периферийный электропрогрев с применением полосовых электродов, закрепленных на деревянных накладных щитах или на деревянной подвесной опалубке;
при усилении колонн - периферийный прогрев с подключением арматурного каркаса усиления к нулевой фазе, а металлической опалубки или пластинчатых (или полосовых) электродов, укрепленных на деревянной опалубке, - к одной из фаз понижающего трансформатора;
при небольших объемах работ - электропрогрев с помощью стержневых электродов, устанавливаемых (забиваемых) в свежеуложенный бетон;
при замоноличивании стыков могут применяться греющие провода, устанавливаемые в полости стыка, греющая опалубка, стержневые или полосовые электроды.
7.39. Для питания при электротермообработке следует использовать многоступенчатые понижающие трансформаторы, например ТМОБ-63, КТП-ОБ-63, ТСПК-20А, а также передвижные автоматизированные установки на основе понижающих трансформаторов. Применение в условиях реконструкции для данной цели сетевого напряжения не допускается.
При отсутствии электрических мощностей интенсификация твердения может осуществляться путем использования пара, подаваемого под брезент или легкие переносные колпаки, которыми укрывают забетонированные конструкции. При этом необходимо предусмотреть отвод конденсата.
Обогрев может осуществляться также с помощью горячего воздуха, получаемого от теплогенераторов, работающих на жидком топливе, а также с помощью газовых горелок инфракрасного излучения, работающих на газе из сети или из баллонов.
7.40. Путем интенсификации твердения бетона в течение 0,5 - 1,5 сут может быть получена прочность 40 - 75% проектной. При необходимости достижения бетоном в течение 1 - 1,5 сут 100%-ной проектной прочности следует повысить марку бетона на одну ступень.
7.41. При электротермообработке бетона необходимо обеспечить строгое соблюдение правил электробезопасности.
ПРИМЕНЕНИЕ СБОРНО-МОНОЛИТНЫХ КОНСТРУКЦИЙ
7.42. С целью сокращения периода времени между бетонированием конструкций и началом монтажа оборудования на них в условиях реконструкции рекомендуется применять сборно-монолитные конструкции. Наиболее эффективна эта рекомендация при возведении фундаментов под оборудование.
7.43. Сборно-монолитный фундамент под оборудование возводится путем предварительной установки заранее изготовленных железобетонных элементов и заполнения остального пространства монолитным бетоном.
Вскоре после окончания бетонирования (через 2 - 3 дня) можно устанавливать детали оборудования, опирая их на вставленные в массив сборные элементы.
При изготовлении сборных элементов в них закладываются анкерные болты, требующиеся для закрепления оборудования.
7.44. При проектировании сборно-монолитных фундаментов должно быть предусмотрено, чтобы при приложении нагрузки на отдельные сборные опоры фундамента не происходило их просадок, нарушающих сцепление сборных частей с еще не набравшей прочность монолитной частью фундамента. С этой целью их можно устанавливать на бетонные плиты.
7.45. Технология возведения сборно-монолитных фундаментов требует высокой культуры производства, тщательности выполнения процессов. Так, например, требуется до начала бетонирования очень точно установить и надежно зафиксировать сборные опоры с анкерными болтами относительно границ фундамента и относительно друг друга в соответствии с расположением болтов на раме или станине оборудования.
Один из примеров сборно-монолитного фундамента изображен на
рис. 22.
Рис. 22. Сборно-монолитный фундамент под оборудование
1 - бетонная подготовка; 2 - Г-образные элементы опалубки;
3 - железобетонные элементы с анкерными болтами;
4 - анкерные болты
7.46. Для того чтобы легче было исправлять дефекты на полах, уложенных над обратными засыпками пазух котлованов, после происшедших осадок, они могут устраиваться сборными из плит заводского изготовления. Размеры этих плит назначаются в зависимости от величины площадки, для которой они предназначены, а также от нагрузок, которые будут на них воздействовать. Рекомендуется также учитывать возможность их укладки и перекладки с помощью средств малой механизации. На остальной части площади полы могут быть монолитными.
7.47. Применение сборных полов не исключает требований об уплотнении грунта в обратных засыпках, приведенных в
пп. 6.33 -
6.35 данного Руководства.
ОБРАБОТКА БЕТОНА МЕХАНИЗИРОВАННЫМ ИНСТРУМЕНТОМ
7.48. В условиях реконструкции при проведении бетонных работ целесообразно применение алмазного и твердосплавного механизированного инструмента. С его помощью можно выполнять следующие операции:
резание - для создания в стенах и перекрытиях проемов, отверстий, борозд на стенах, деформационных швов, а также для разборки конструкций;
сверление бетона - для создания отверстий для анкерных болтов, прокладки различных коммуникаций и других целей;
фрезерование - для снятия разрушенных и поврежденных слоев, создания направленного рельефа для стока воды, придания шероховатости и др.;
шлифование - при устройстве и наращивании бетонных полов и т.п.
Использование алмазного и твердосплавного механизированного инструмента позволяет в 1,5 - 2 раза повысить производительность труда и в 2 - 3 раза снизить стоимость выполнения работ по сравнению с другими способами.
7.49. Машины и механизированный инструмент для механической обработки принимаются с учетом физико-механических свойств бетона, крупных и мелких заполнителей, а также арматуры.
При выборе средств механизации с алмазными режущими органами рекомендуется пользоваться книгой Б.В. Жадановского "Механическая обработка бетона и железобетона алмазным инструментом" (М., Стройиздат, 1981).
Необходимо учитывать, что твердосплавный инструмент пригоден только для сверления и бурения отверстий в неармированном бетоне и кирпичной кладке.
7.50. Технические характеристики некоторых машин для резания и фрезерования бетона и железобетона приведены в
табл. 15.
Марка машины | Организация-разработчик | Глубина резания, фрезерования, мм | Двигатель привода режущего круга | Мощность, кВт | Привод подачи | Габариты, мм | Масса, кг |
Для резания |
ДС-115 | Минстройдормаш | 80 | Дизельный | 37 | Гидравлический | - | 2150 |
ДС-136 | " | 80 | Карбюраторный | 22 | Механический | 1470 x 990 x 1140 | 588 |
ДС-133 | " | 80 | Дизельный | 37 | " | 2250 x 1560 x 1185 | 1400 |
ДС-506А | " | 80 | Электродвигатель | 20 | Ручной | 2755 x 215 x 680 | - |
ДС-510 | " | 80 | Дизельный | 27 | Механический | 2400 x 1340 x 1250 | 180 |
КРНША | Минтрансстрой | 80 | Электродвигатель | 7,5 | " | 6200 x 10 500 x 3100 | 710 |
КР-905 | НИИнеруд | 250 | Электродвигатель | 7,5 | Механический | 2090 x 990 x 935 | 400 |
НШ-1628 | ЦНИИОМТП | 160 | Гидравлический | - | Гидравлический | 1450 x 700 x 600 | В том числе рабочего органа 65 |
Для фрезерования |
СМ-835 | ЦНИИОМТП | 20 | Электродвигатель | 2,8 | Ручной | 990 x 495 x 900 | 70 |
СМ-205 | Минтяжстрой УССР | 20 | Электродвигатель | 7,5 | " | 1240 x 575 x 1015 | 220 |
7.51. Технологический процесс резания бетона и железобетона включает следующие операции:
подготовку алмазных кругов (промывку керосином, очистку наждачной бумагой для удаления коррозии, протирку ветошью, проверку на отсутствие трещин, раковин, проверку плоскостности, вскрытие алмазных зерен путем резания абразивного материала;
разметку мест резания, установку машины;
резание бетона.
7.52. С помощью алмазных сверл в железобетоне можно просверливать отверстия диаметром от 6 до 200 мм, глубиной до 450 мм.
При выборе станков для сверления предпочтение следует отдавать тем, которые имеют регулируемую скорость вращения, устанавливаемую в зависимости от прочности просверливаемого бетона в диапазоне 2 - 4 м/с на режущей кромке.
7.53. Характеристики некоторых станков для сверления бетона и железобетона приведены в
табл. 16.
Марка | Диаметр отверстий, мм | Глубина сверления, мм | Частота вращения шпинделя, об/мин | Высота сверления от уровня пола, мм | Наименьшее расстояние от стены до оси сверления, мм | Рабочее напряжение, В | Габариты, мм | Масса, кг |
1 | 2 | 3 | 4 | 5 | 6 | 7 | 8 | 9 |
ИЗ-1801 | 50 - 125 | До 300 | 700 - 1300 | 250 - 1025 | 80 | 380 | 1440 x 510 x 1120 | 140 |
ИЗ-1805 | 80 - 160 | До 380 | 600 | 250 - 1025 | 80 | 380 | 1850 x 710 x 1600 | 130 (с принадлежностями 200) |
АС-200 | 80 - 200 | До 450 | - | - | - | 380 | 1230 x 460 x 1320 | 150 |
МС-50М | 20 - 50 | До 270 | 2900 | - | - | 36 | 780 x 400 x 140 | 10 |
Р-540М | 50 - 160 | 400 | 2880 1440 | - | - | 220/380 | 975 x 590 x 1550 | 176 |
КР-690 | 50 - 160 | 450 | 2880 1440 | - | - | 220/380 | 1250 x 600 x 1355 | 180 |
Р-587 | 25 - 60 | 380 | 3000 | - | - | 220/380 | 525 x 525 x 1350 | 48 |
АСБ-1 | 25 - 160 | 300 - 900 | 1430 | - | - | 220/380 | 980 x 600 | 136 |
7.54. Технологический процесс сверления бетона и железобетона включает следующие операции:
подготовку к работе (разбивку мест сверления, подводку воды для охлаждения, электроэнергии, сжатого воздуха, осмотр исправности сверла, обнажения алмазных зерен у новых сверл);
сверление отверстий (включение подачи воды, включение вращения, регулирование скорости вращения и подачи сверла).
7.55. В ходе сверления извлекать сверло следует только при вращении и без прекращения подачи воды. Если подача воды прекратилась, сверло без остановки вращения должно быть извлечено и остановлено. После перерезания арматурного стержня сверло извлекается на поверхность, останавливается вращение, извлекается керн вместе с перерезанным стержнем.
При глухом сверлении выбуренные керны откалываются у корня с помощью металлических клиньев и извлекаются специальными щипцами.
7.56. Фрезерование бетона следует проводить по заранее установленным маякам. Без маяков допускается фрезерование бетона на проездах, наружных площадках и на полах малых помещений с площадью до 50 м2. К механической фразе должна подводиться охлаждающая вода из сети или передвижной емкости. Желательно добавление поверхностно-активных веществ. Подготовка к работе включает установку маяков, проверку качества алмазных фрез, обнажение алмазного слоя. При прекращении подачи воды фрезерование должно прекращаться. Остановка фрезы допускается после ее поднятия.
7.57. Алмазное шлифование включает выполнение следующих операций:
подготовку к шлифованию (установку маяков, очистку поверхности от мусора, подводку электроэнергии, воды, очистку от смазки шлифовальных кругов, вскрытие алмазного слоя);
шлифование, включающее удаление шлама.
7.58. Места проведения работ с алмазным инструментом должны быть ограждены для исключения доступа посторонних лиц.
При просверливании бетона в междуэтажных перекрытиях на нижерасположенных этажах должны проводиться мероприятия, предохраняющие от падения высверливаемых кернов.
ОРГАНИЗАЦИЯ БЕТОННЫХ РАБОТ
7.59. Для организации бетонных работ в условиях реконструкции должен быть разработан раздел ППР(р) "Производство бетонных работ". Исходными данными для его разработки в дополнение к используемым при новом строительстве являются:
данные о режимах выполнения работ в действующих цехах (без остановки, с остановкой, с частичной остановкой производства, с указанием времени остановки производства, количестве смен работы в сутки и др.);
сведения об использовании ресурсов предприятия (вне и внутрицехового транспорта, электроэнергии, воды) с указанием мест возможного подключения;
сведения об источниках получения бетонной смеси;
другие сведения, отражающие специфику местных условий.
7.60. В документах раздела ППР(р) "Производство бетонных работ" кроме вопросов, решаемых при новом строительстве, должны содержаться указания по увязке бетонных работ с работой действующего предприятия, о месте приготовления, способах транспортирования бетонной смеси, ее подачи, уплотнения, уходе за бетоном, о методах регулирования составов бригад и звеньев при неравномерном распределении объемов бетонных работ по участкам (захваткам), о способах контроля качества, специфическим требованиям по безопасности и др.
7.61. Графики выполнения бетонных работ составляются двух видов по формам, приведенным в
прил. 9 и
10. Как видно из приложений, составляются два вида графиков: на работы по всему реконструируемому предприятию и на работы в каждом из цехов. Разбивка цехов на участки осуществляется для проведения всех видов работ при решении общих вопросов проектирования организации строительства. Сроки выполнения работ в отдельных цехах должны быть приняты из ПОС
(р), разработанного для предприятия в целом.
7.62. На строительном генеральном плане кроме всех существующих зданий и коммуникаций изображаются:
места выполнения бетонных работ (бетонирование вновь создаваемых конструкций, усиление ранее имевшихся конструкций);
пути подвоза, места складирования и укрупнения арматурных каркасов и опалубки;
пути подвоза бетонной смеси;
места и средства перегрузки бетонной смеси в средства подачи ее к местам бетонирования;
расположение средств для подачи бетонной смеси к местам бетонирования;
места подключения и временные коммуникации для подводки электроэнергии, воды, пара;
расстановка средств временного освещения мест работ и расположение питающих их линий.
7.63. Ведомость объемов бетонных работ составляется по форме, приведенной в
прил. 11, данные для ее составления принимаются из рабочего проекта и ПОС
(р).
7.64. Схемы комплексной механизации бетонных работ являются основным документом для организации данного процесса.
Основными вопросами, решаемыми в них, являются:
определение состава операций, входящих в рассматриваемый процесс;
требующиеся затраты труда для выполнения операций;
перечень оборудования, приспособлений, требующихся для выполнения процессов;
технико-экономические показатели выполнения процессов;
схемы рабочих мест при выполнении работ.
При подготовке комплексных схем механизации бетонных работ в условиях реконструкции промышленных предприятий, для выяснения их содержания могут быть использованы схемы, подготовленные ЦНИИОМТП для нового строительства.
7.65. Графики потребности в рабочих кадрах, строительных машинах, оборудовании и оснастке составляются так же, как и при новом строительстве.
7.66. Для упорядочения мероприятий по контролю качества бетонных работ в ходе реконструкции составляется план контрольных мероприятий по форме
прил. 12.
7.67. Мероприятия по охране труда и технике безопасности разрабатываются в соответствии с главой
СНиП по "Технике безопасности в строительстве" и рекомендациями
гл. 16 данного Руководства.
8. ДЕМОНТАЖ И МОНТАЖ СТРОИТЕЛЬНЫХ КОНСТРУКЦИЙ
ОБЩИЕ ВОПРОСЫ
8.1. Данная глава Руководства разработана к главам СНиП
Бетонные и железобетонные конструкции сборные. Правила производства и приемки работ;
Металлические конструкции. Правила производства и приемки работ, а также к инструкциям по монтажу стальных конструкций промышленных зданий и сооружений и по составлению проектов производства работ по монтажу стальных и сборных железобетонных конструкций.
8.2. Проектировать производство монтажных работ в условиях реконструкции, а также выполнять их следует в соответствии с перечисленными нормативными документами и рекомендациями данной главы с учетом особенностей их выполнения.
8.3. Монтажные работы в условиях реконструкции кроме общих особенностей, приведенных в
пп. 1.26 -
1.30 данного Руководства, имеют следующую специфику:
необходимость выполнения перед монтажом демонтажных работ;
ограниченная доступность монтажных зон;
ограниченная возможность крупноблочного монтажа;
мелкосерийность, разнотипность, разновесность монтируемых конструкций, требующие частой переоснастки кранов и вызывающие ухудшение их использования по грузоподъемности и по времени;
ограниченность размеров зон складирования и площадок укрупнительной сборки;
необходимость выборочной замены конструкций;
частая перестановка монтажных механизмов;
ограничения зон действия кранов;
повышенная сосредоточенность монтажных механизмов.
8.4. На успешность монтажа в условиях реконструкции существенно влияет правильный учет технологических требований монтажных организаций, предъявляемых к конструктивным решениям. Главные из них следующие:
наибольшая возможная степень укрупнения с учетом возможностей транспортирования и подачи к месту установки;
выполнение наибольшего объема сварочных работ в нижнем положении;
разработка наряду с основными конструктивными решениями проектов вспомогательных устройств, требующихся для монтажа.
8.5. К вспомогательным устройствам, используемым в процессе монтажа, которые должны разрабатываться в проектных организациях, относятся:
эстакады и пути для прохода монтажных кранов и подпорные стенки;
эстакады и пути для сборки и надвижки сооружений и подачи конструкций;
эстакады для установки монтажных кранов над технологическим оборудованием;
опорные конструкции для снятия нагрузок;
опоры под нагрузки более 5 т;
усиление тоннелей, подземных коммуникаций, подвалов, перекрытий;
конструкции для подвешивания существующих частей зданий и сооружений при изменении шага колонн и в других случаях;
конструкция защиты оборудования, коммуникаций, рабочих мест;
другие объекты и сооружения, предусматриваемые в ПОС(р).
Кроме того, проектная организация должна выполнить расчет конструкций зданий и сооружений на монтажные нагрузки, а также подготовить указания по их усилению на время монтажа.
8.6. Для проектирования раздела ППР(р) "Монтажные работы" используются следующие исходные данные:
объемы работ по зданиям и сооружениям, принимаемые из ПОС(р) с разбивкой их в необходимых случаях по участкам;
сроки выполнения работ по зданиям и сооружениям или узлам, принимаемые из ПОС(р);
условия выполнения работ (без остановки, с частичной остановкой, с остановкой и др.);
необходимость ограждения мест работ;
условия размещения и использования монтажных кранов (внутри цехов, с наружной стороны, на покрытиях), согласованные с заказчиком;
возможность использования мостовых кранов для монтажных работ, согласованная с заказчиком;
возможность использования транспорта предприятия для подвоза монтируемых конструкций и деталей;
возможность размещения складов конструкций, деталей, площадок для укрупнительной сборки.
8.7. Проект производства монтажных работ при реконструкции разрабатывают в том же составе, как на новое строительство с учетом следующих особенностей.
На строительном генеральном плане и технологических схемах дополнительно необходимо обозначать:
существующие в пределах монтажной зоны инженерные коммуникации (действующие и отключенные);
маршруты транспортирования строительных конструкций по территории действующего предприятия и внутри цехов, монтажные проемы, маршруты движения рабочих в монтажную зону, к временным зданиям и пунктам бытового обслуживания;
внутризаводские и внутрицеховые транспортные и грузоподъемные средства предприятия, предоставляемые монтажным организациям для производства работ;
зоны повышенной опасности при производстве монтажных работ;
подземные и надземные сооружения (фундаменты под оборудование, тоннели, подвалы, установленное технологическое оборудование и др.), которые находятся в зоне монтажа во время производства работ.
В технологических картах и схемах монтажа необходимо:
разрабатывать средства защиты технологического оборудования и инженерных коммуникаций от всех видов воздействия при производстве работ;
устанавливать требования по охране труда, пожаро- и взрывобезопасности, при необходимости разрабатывать решения по выполнению охранных мероприятий.
8.8. При реконструкции цехов без остановки или с частичной остановкой производства необходимо дополнительно разрабатывать меры, обеспечивающие совместную эффективную работу реконструируемого цеха и монтажной организации. При разработке таких мер следует устанавливать:
необходимость устройства и конструктивные решения ограждений, отделяющих монтажную зону от действующего производства;
необходимость ограничения зон действия мостовых кранов и других перемещающихся грузоподъемных и транспортных средств реконструируемого цеха и режим их работы в зоне производства монтажных работ;
график использования предоставляемых монтажным организациям грузоподъемных и транспортных средств предприятия;
график эксплуатации внутризаводских железнодорожных путей, используемых для доставки конструкций в монтажную зону;
сроки остановки отдельных агрегатов или технологических линий реконструируемого цеха;
другие рекомендации, учитывающие конкретные условия производства монтажных работ и работы реконструируемого цеха.
8.9. В графике производства монтажных работ необходимо определять этапы, объемы и сроки раздельно для доостановочного и остановочного периодов. В зависимости от вида реконструкции и режима работы предприятия (действующее производство, частично остановленное, полностью остановленное) назначается режим производства монтажных работ непрерывный или с перерывами.
Непрерывный режим устанавливается при монтаже каркасов пристраиваемых пролетов, при монтаже пролетов взамен сносимых, когда с площади монтажной зоны вынесены действующие подъездные пути предприятия, при производстве внутрицеховых монтажных работ, осуществляемых с полной остановкой цеха.
Режим с перерывами устанавливается при монтаже каркасов пристраиваемых пролетов или взамен сносимых, когда в пределах монтажной зоны имеются действующие подъездные пути предприятия и инженерные коммуникации, а также при производстве внутрицеховых работ с частичной остановкой цеха.
Режим с перерывами устанавливается также при выполнении внутрицеховых монтажных работ без остановки цеха или с непродолжительной частичной остановкой производства на отдельных участках цеха, а также при выполнении монтажных работ в зонах повышенной опасности. В этом случае монтажные работы на заданном участке должны быть доведены до полной готовности в минимальный, технологически возможный промежуток времени. Организация работ при этом требует особо тщательной предварительной подготовки, создания резерва материальных ресурсов, четкого взаимодействия с другими строительно-монтажными организациями и службами эксплуатации предприятия.
8.10. В ППР(р) должны быть также разработаны:
кондукторы и стенды для укрупнительной сборки и сварки конструкций;
кондукторы и стенды для общей сборки;
стеллажи для хранения конструкций;
траверсы для подъема крупногабаритных и сложных конструкций;
специальное грузоподъемное оборудование;
опоры под нагрузки менее 5 т;
другое нестандартизированное оборудование и приспособления.
8.11. Проекты производства монтажных работ должны согласовываться с генподрядчиком и дирекцией реконструируемого предприятия.
ПОДГОТОВКА К ВЫПОЛНЕНИЮ МОНТАЖНЫХ РАБОТ
8.12. До начала работ по монтажу конструкций реконструируемых цехов в зависимости от конкретной ситуации должны быть выполнены:
перенос за пределы монтажной зоны всех действующих надземных коммуникаций и технологического оборудования. В случае невозможности переноса последние должны быть надежно защищены от возможного повреждения во время монтажных работ. Воздушные ЛЭП следует заменить на подземные кабельные, над технологическим оборудованием, трубопроводами следует устроить защитные настилы;
устройство при необходимости временных ограждений, отделяющих монтажную зону от действующего производства;
устройство монтажных проемов и проездов в реконструируемом цехе;
оборудование звуковой сигнализации на действующих железнодорожных путях, проходящих вблизи и через монтажную зону, и устройство при необходимости переездов;
обесточено оборудование цеха, находящееся в зоне производства работ;
закрыты из действующих цехов все выходы в опасную зону;
подготовлены средства защиты рабочих и механизмов монтажных организаций от вредного воздействия производственной среды действующего предприятия.
8.13. Монтаж конструкций может осуществляться при различной степени готовности подземных сооружений (фундаментов под технологическое оборудование, каналов, тоннелей, подвалов). В случаях когда нагрузки от монтажных кранов будут передаваться на существующие подземные сооружения, схему установки кранов, трассы их передвижения и конструкции устройств, обеспечивающих передвижение и работу кранов, необходимо разрабатывать в ППР(р).
Конструкции устройств для передвижения кранов через препятствия должны быть прочными и устойчивыми при действии нагрузок, передаваемых кранами, простыми при изготовлении и разборке и должны позволять рационально использовать материалы после разборки. Выбор и разработку указанных устройств должна производить организация, разрабатывающая проект производства работ с учетом следующих рекомендаций:
пазухи фундаментов и других подземных сооружений следует засыпать материалами, исключающими возможность их просадок (уплотненный до естественной плотности грунт, песок, заливаемый водой в процессе засыпки и уплотнения);
при установке монтажных кранов и складирования конструкций на бровках земляных выработок на расстояниях, менее допускаемых (см. гл.
СНиП по технике безопасности в строительстве), необходимо обеспечивать необрушаемость стенок выработок путем их укрепления временными подпорными стенами из шпунта или других материалов. Конструкцию крепления обосновывают расчетом;
приямки фундаментов, лотки каналов заполняют шпальными клетками, сборными блоками;
по поверхности фундаментов укладывают шпалы;
при большой глубине приямков, а также в разрывах между подземными сооружениями, когда их засыпка по каким-либо причинам невозможна, устраивают эстакады или клетки из шпал;
при передаче монтажных нагрузок на стеновые конструкции подземных сооружений и конструкции перекрытий их необходимо укреплять по расчету.
8.14. Конструкции временных ограждений, отделяющих монтажную зону от действующего производства, должны быть при необходимости инвентарными и обеспечивать простоту их монтажа и демонтажа в условиях действующего цеха. Необходимость устройства временных стен и перегородок устанавливает проектная организация, она же разрабатывает рабочие чертежи. Рекомендуется стены и перегородки выполнять из профилированного настила или асбестоцементных листов, навешиваемых на металлический каркас.
Защитные укрытия технологического оборудования и действующих трубопроводов должны выполняться сборно-разборными, устанавливаться участками и обеспечивать возможность многократного использования.
8.15. При формировании бригад для реконструкции следует подбирать монтажников, владеющих смежными профессиями (электросварщика, моториста-лебедчика, резчика по металлу, такелажника, плотника и др.).
Для руководства работами должны назначаться дипломированные инженеры (техники) со стажем работы не менее 2 - 3 лет, имеющие опыт работ по реконструкции.
8.16. При монтаже стальных конструкций применяются пневмоколесные, гусеничные, железнодорожные, башенные, козловые, мостовые, самоподъемные краны. При соответствующем технико-экономическом обосновании могут использоваться вертолеты и другие воздушные монтажно-транспортные средства (вертостаты и др.).
ЗАМЕНА СТРОИТЕЛЬНЫХ КОНСТРУКЦИЙ
8.17. Замену конструкций покрытия следует производить монтажными кранами, расположенными в пролетах и за пределами здания. При невозможности проезда крана со стреловым оборудованием последнее следует завозить отдельно и монтировать в пролете с помощью мостовых кранов или других механизмов.
Для подъема стрелы в рабочее положение или для начала работы крана при необходимости следует сделать проем в покрытии.
При невозможности установки самоходного крана в пролете покрытие заменяют мостостреловым краном, который переводят на электропитание через кабель.
8.18. При отсутствии мостового крана или невозможности его применения покрытие можно заменять крышевым краном, передвигающимся по ездовым балкам, уложенным на верхние пояса ферм и перекладываемым по ходу работ крышевым краном
(рис. 23), или кабельным краном.
Рис. 23. Замена конструкций покрытия
с помощью крышевого крана
1 - крышевой кран; 2 - ездовые балки
В зданиях, где реконструкцией предусмотрено увеличение высоты, замену покрытия следует производить с помощью мостовых кранов или кранов-балок, установленных в надстроенной части здания.
8.19. Демонтировать и заменять подкрановые балки под покрытием следует целиком или частями с помощью самоходных монтажных кранов. При этом рекомендуется применять краны, оснащенные телескопическим стреловым оборудованием. Если масса балки превышает грузоподъемность крана при требуемом вылете стрелы, но не более максимальной грузоподъемности крана, рекомендуется производить предварительное расчаливание стрелы.
При невозможности использования монтажных кранов работы выполняются с помощью стрел, мачт, шевров или полиспастов, закрепленных за оголовки колонн или в узлах ферм, способных воспринимать монтажные нагрузки.
В цехах с действующим производством, а также в местах, недоступных для стреловых кранов, работы по замене подкрановых балок производятся с помощью лебедок. В комплект входят лебедки, работающие на подъем, и лебедка, осуществляющая оттяжку балки
(рис. 24).
Рис. 24. Замена подкрановых балок лебедками
1 - проектное положение подкрановых балок;
2 - положение балок после демонтажа; 3 - грузовой блок;
4 - страховочный трос; 5 - оттяжка; 6 - отводной блок;
7 - грузовая лебедка; 8 - ограждение зоны работ
8.20. Перед заменой подкрановых балок мостовые краны удаляют из опасной зоны и выставляют временные упоры, а при необходимости ставят временные связи между колоннами для восприятия тормозных усилий от мостовых кранов.
8.21. Замену колонн внутри существующего цеха производят с предварительным вывешиванием конструкций покрытия. Вывешивание покрытия может быть осуществлено путем установки временных стоек-опор под усиленные узлы стропильных ферм и поддомкрачивания их до образования зазора между опорными узлами стропильной фермы и колонны. При производстве работ в цехах с остановленным производством и возможностью прохода крана в монтажную зону замену колонн следует осуществлять самоходным стреловым краном со стрелой, оборудованной вильчатым оголовником. В цехах с действующим производством работы производятся с помощью лебедок и такелажных приспособлений. При замене металлических колонн рекомендуется применение опорных шарниров
(рис. 25). Опорный шарнир обеспечивает устойчивость колонны за счет жесткого закрепления его к телу колонны и фундаменту.
Рис. 25. Замена металлических колонн
с помощью опорного шарнира
1 - временная опора; 2 - монтируемая колонна; 3 - опорный
шарнир; 4 - домкратное устройство; 5 - падающая стрела;
6 - анкерный болт; 7 - опорная плита под колонну
Увеличение шага колонн ("выбивка колонн"), как правило, производится путем установки предусмотренных проектом поддерживающих рам или балок с последующим переопиранием на них верхних частей колонн и вырезанием (выбивкой) нижних частей.
8.22. Замена стропильных ферм и конструкций покрытия в цехах с остановленным производством и малой внутренней стесненностью производится обычными методами передвижения самоходных стреловых кранов внутри пролета. При производстве работ в пролетах с большой внутренней стесненностью применяют башенные или самоходные стреловые краны с башенно-стреловым оборудованием, установленные с наружной стороны цеха. При большой внутренней стесненности демонтажно-монтажные работы могут быть выполнены мостостреловыми и кабельными кранами.
Работы в цехах с частично остановленным производством следует проводить совмещенным методом, при котором фронт демонтажно-монтажных работ ограничивают двумя-тремя шагами стропильных ферм. Для защиты действующего технологического оборудования на мостовом кране устраивают деревянный защитный настил. Мостовой кран устанавливают под монтажной зоной и перемещают вслед за перемещением фронта работ.
Выборочную замену конструкций покрытия на отдельных небольших участках, значительно удаленных от наружных сторон цеха, при соответствующем экономическом обосновании можно производить с помощью вертолетов.
В
табл. 17 приведены технико-экономические показатели некоторых вертолетов, используемых при монтажных работах.
Тип вертолета | Грузоподъемность на внешней подвеске, т | Стоимость одного летного часа, руб. | Норма гарантированного налета, ч |
май - октябрь | другие месяцы |
Ми-2 | 0,8 | 280 | 60 | 40 |
Ка-26 | 1 | 280 | 60 | 40 |
Ми-4 | 1,3 | 450 | 60 | 40 |
Ми-8 | 3 | 1090 | 60 | 40 |
Ми-6 | 8 | 2200 | 50 | 40 |
Ми-10к | 11 | 2200 | 50 | 40 |
Примечание. Оплата по тарифам за летний час производится за фактический налет часов, но не ниже гарантийных норм налета. Недолет часов до гарантийной нормы оплачивается в размере 60%.
8.23. Если новое покрытие устанавливается на более высокой отметке, чем подлежащее демонтажу (нижний пояс новой стропильной фермы расположен выше верхнего пояса старой), может быть использован способ, при котором вначале монтируют новое покрытие. Демонтаж старого осуществляют после полного завершения монтажных работ на захватке с помощью оборудования, подвешиваемого к нижнему поясу вновь смонтированных ферм. Демонтаж производят во время кратковременных остановок производства, при этом может быть использован мостовой кран. Если демонтированные при этом конструкции укладываются на настил мостового крана, их снятие осуществляют самоходным стреловым краном или лебедками.
8.24. Замену фонарей в крайних пролетах выполняют с помощью самоходных стреловых кранов с башенно-стреловым оснащением, установленных с наружной стороны цеха. В средних пролетах работы целесообразно выполнять с помощью кабельных кранов и специальных кранов, устанавливаемых на покрытии цеха. В практике реконструкции применяются стреловые и козловые крышевые краны. Наибольший эффект достигается от применения монтажного комплекта из двух крышевых кранов. В этом случае первым краном демонтируют конструкции фонаря, а вторым, перемещающимся за первым с разрывом в три шага стропильных ферм, производят монтаж. Для доставки конструкций в зону монтажа используют грузовые тележки, перемещаемые по путям, уложенным по покрытию цеха. Подъем конструкций на покрытие и погрузку на грузовую тележку производят стреловым краном, установленным в торце пролета. Использование мостового крана, оборудованного настилом, в качестве защитного экрана позволяет осуществить весь комплекс работ по замене конструкций без остановки действующего производства.
8.25. Демонтаж и монтаж конструкций встроенных помещений, рабочих площадок, подземных сооружений во всех случаях целесообразно производить мостовыми кранами.
Для демонтажа и монтажа внутрицеховых перегородок рекомендуется использование монтажных кранов с телескопической стрелой. В недоступных для подхода крана местах перегородки монтируют с помощью лебедок.
ОРГАНИЗАЦИЯ МОНТАЖНЫХ РАБОТ
8.26. Основными вопросами организации монтажа на действующих предприятиях являются:
организация транспортирования, складирования и укрупнительной сборки конструкций;
выбор схемы расстановки и движения монтажных кранов;
выбор метода и последовательности монтажа пролетов реконструируемого цеха;
комплектование специализированного потока по монтажу конструкций;
определение экономической эффективности возможных вариантов организации работ.
8.27. Для доставки конструкций используют общепринятые транспортные средства. При этом необходимо находить решения, при которых конструкции доставляются непосредственно в монтажную зону.
Для внутризаводских автомобильных дорог должна быть предварительно установлена возможность проезда транспортных средств по намеченному маршруту с учетом габаритов конструкций и имеющихся по пути следования ограничений как по высоте, так и в местах поворотов. Ориентировочную проверку возможности транспортирования длинномерных конструкций, перевозимых седельными тягачами с полуприцепами, с учетом ограничений в местах поворотов можно производить по графикам вписываемости автотранспортных средств в прямоугольный проезд (
рис. 26 и
27). Если точка с координатами, соответствующими габариту (по ширине) входящей (по направлению движения) в проезд дороги (
Bвх) и выходящей (
Bвых), нанесенная на график, оказывается выше кривой вписываемости соответствующего транспортного средства, то проезд удовлетворяет требуемым условиям. При наличии в площади проезда сооружений (опоры ЛЭП, опоры эстакад и др.) проезд подлежит проверке на проходимость.
Рис. 26. Вписываемость в прямоугольный проезд
седельных тягачей с полуприцепами
а - КамАЗ; б - МАЗ; 1 - с полуприцепом 6 м; 2 - то же, 12 м;
3 - то же, 18 м; 4 - то же, 24 м; 5 - внешняя габаритная
кривая тягача
Рис. 27. Вписываемость в прямоугольный проезд
седельных тягачей с полуприцепами
в - КрАЗ-255В; г - ЗИЛ-130В; 1 - с полуприцепом 6 м;
2 - то же, 12 м; 3 - то же, 18 м; 4 - то же, 24 м;
5 - внешняя габаритная кривая тягача
Если трассы подъездных дорог проходят над или в непосредственной близости от существующих подземных сооружений (тоннелей, подвалов, колодцев и др.), организация, разрабатывающая ППР(р), должна проверить способность восприятия ими транспортных и монтажных нагрузок и при необходимости выдать решения по их усилению. Для транспортных средств устанавливают предельно допустимые скорости движения. Зоны ограничения скорости, места стоянки и разворотов необходимо отмечать общепринятыми дорожными знаками, хорошо видимыми в любое время суток.
На пересечениях временных и постоянных автомобильных и железных дорог необходимо устраивать охраняемые (регулируемые) переезды.
Меры по организации и увязке работы внутризаводского и внутрипостроечного транспорта разрабатывает и осуществляет администрация предприятия.
8.28. Склады для хранения конструкций должны создаваться с соблюдением действующих нормативов. Размеры площадей складов следует ограничивать за счет применения монтажа конструкций с транспортных средств.
Целесообразность организации центрального склада устанавливают исходя из объема работ и характера внешней и внутренней стесненности реконструируемого цеха, определяющих возможность приобъектного складирования конструкций. Размещение складов на территории предприятия согласовывается с администрацией предприятия.
При возможности складирования конструкций в зоне реконструируемого цеха следует устраивать приобъектный склад. Если приобъектный склад расположен у действующего железнодорожного пути, погрузочно-разгрузочные работы необходимо производить специально выделенным для этих целей краном. Подачу платформ под разгрузку следует производить по графику, согласованному с администрацией предприятия.
Штабеля и отдельные конструкции следует располагать так, чтобы они не закрывали доступ к смотровым устройствам действующих заводских сетей. Складирование конструкций, в том числе временное, на автомобильных дорогах, железнодорожных и крановых путях не допускается. Располагать складируемые конструкции возле бровок траншей и котлованов допускается только на расстоянии, определяемом расчетом откосов на устойчивость, но не менее 1 м. При складировании конструкций на обратных засыпках должны быть приняты меры, исключающие возможность обрушения штабелей. При складировании на существующих фундаментах под технологическое оборудование, а также на подземных сооружениях они должны быть проверены расчетом на восприятие дополнительных нагрузок. Равновысотность мест опирания в этих случаях достигается выкладкой клеток из шпал или металлических балок.
8.29. В зависимости от характера наружной и внутренней стесненности с учетом условий выполнения монтажных работ (без остановки, с остановкой) решаются важные вопросы организации монтажных работ - расположение монтажных кранов, а также подъездных автомобильных и железнодорожных путей. На
рис. 28 и
30 изображены возможные варианты расположения кранов и подъездных путей при реконструкции промышленных зданий.
Рис. 28. Возможные варианты установки кранов
при реконструкции пролетов
а, б, в - башенные или самоходные краны;
г - установщик мостового типа и кран; д - козловый кран;
е - кабельный кран; ж - кран на покрытии
Рис. 29. Возможные варианты прокладки подъездных автодорог
при реконструкции пролетов
Рис. 30. Возможные варианты прокладки подъездных
железнодорожных путей при реконструкции пролетов
8.30. Схемы организации и методы производства работ должны выбираться на основании сопоставления показателей экономической эффективности вариантов выполнения заданных объемов работ в установленные сроки. Возможные варианты организации работ определяются в зависимости от типа реконструируемых пролетов, характера их внешней и внутренней стесненности с учетом расположения коммуникаций внутри и вне пролетов.
Виды стесненности реконструируемых зданий приведены на
рис. 1. В зависимости от характера стесненности решаются следующие вопросы:
последовательность выполнения работ (с обязательным учетом интересов действующего производства);
выбор типа крана (самоходный стреловой, башенный, козловый, кабельный, установленный на покрытии или на мостовом кране, и др.) или комплекта кранов;
выбор мест установки кранов, направления их движения, ограничения поворотов их стрел;
расположение автомобильных и железнодорожных подъездных путей, по которым подвозятся монтируемые конструкции;
определение мест укрупнительной сборки конструкции перед монтажом, если она выполняется в зоне монтажа.
8.31. В условиях реконструкции чаще других применяется комплексный метод монтажа, при котором монтажный кран, расположенный в одной секции (при движении внутри пролета) или возле секции (при движении вне пролета), выполняет все работы в пределах этой секции. Для замоноличивания стыков колонн с фундаментами в этом случае должны применяться различные способы ускорения твердения бетона.
При сплошной замене элементов каркаса на большой длине при возможности расположения кранов снаружи пролета, а также при отсутствии внутренней стесненности работы могут вестись раздельным методом.
8.32. Очередность выполнения монтажных работ при реконструкции многопролетных зданий может быть последовательная, параллельная, ступенчатая
(рис. 31). Принятие одной из них зависит от возможности предоставления для монтажа фронта работ в одном или нескольких пролетах, от мощности монтажной организации, от установленной продолжительности монтажа, от условий выполнения работ (без остановки, с остановкой), от возможности движения кранов внутри пролета и других конкретных условий.
Рис. 31. Очередность выполнения монтажных работ
при реконструкции многопролетных зданий
1 - последовательная; 2 - параллельная; 3 - ступенчатая
8.33. При монтаже конструкций в условиях остановленного и действующего производства необходимо выделять для монтажных работ отдельные участки или пролеты, максимально совмещать демонтажные и монтажные работы, организовать работу по скользящему графику, запрещать работы мостовых кранов и транспортных средств в пределах опасной зоны, вывести персонал предприятия за пределы опасной зоны, защитить оборудование и инженерные коммуникации.
Для демонтажа и монтажа конструкций целесообразно использовать остановки технологического оборудования на ремонты, а также свободные смены и выходные дни.
8.34. Монтаж покрытий зданий, в которых реконструкцией предусмотрено увеличение высоты, можно производить способом надвижки блоков по накаточным путям, входящим в состав конструкций здания.
При этом способе у торца здания сначала наращивают с помощью самоходного монтажного крана первые четыре колонны, на которые устанавливают подстропильные балки каркаса с рельсами. На рельсовые пути устанавливают полноповоротный кран, который, передвигаясь, наращивает колонны впереди себя и монтирует балки с путями. При этом конструкции колонн и балок подают на самоходной тележке, также передвигающейся по рельсовым путям
(рис. 32).
Рис. 32. Схема монтажа колонн и балок с рельсами
1 - тележка для подачи балок и колонн; 2 - полноповоротный
кран на тележке; 3 - монтируемая балка с рельсами, входящая
в состав нового покрытия; 4 - наращенная часть колонн;
5 - существующее покрытие
После устройства путей по всей длине пролета, полноповоротный кран и самоходную тележку демонтируют.
Блоки покрытия собирают самоходными кранами на сборочных стендах или на накаточных путях, расположенных в торце здания, и надвигают отдельными или несколькими блоками в проектное положение. Посадка блока производится домкратами при убранных тележках. Сборку блоков можно выполнять конвейерным способом.
Монтаж покрытий способом надвижки блоков можно производить также по временным накаточным путям, установленным между колоннами на уровне опорной части ферм. В этом случае накаточные пути по окончании работ подлежат демонтажу.
8.35. Если проектом реконструкции предусмотрено опирание стропильных ферм на подстропильные, то работы необходимо выполнять в последовательности: усиление колонн, монтаж из отдельных укрупненных элементов подстропильных ферм со встраиванием верхушек удаляемых колонн, демонтаж подкрановых балок, срезание встроенных верхушек колонн, удаление стволов колонн, монтаж новых подкрановых балок.
Если стропильные фермы предусмотрено опирать на подкрановые балки, то работы следует выполнять в такой последовательности: усиление или замена колонн, демонтаж покрановых балок, монтаж новых подкрановых балок, опирание верхушек колонн на новые подкрановые балки, удаление стволов колонн.
8.36. Монтажные работы в условиях реконструкции следует выполнять поточным методом.
Специализированный поток монтажных работ при раздельном методе в наиболее общем случае может состоять из следующих частных потоков:
N 1 - монтаж колонн со связями, подкрановых балок, подстропильных ферм;
N 2 - монтаж стропильных ферм со связями, фонарных ферм, их переплетов, панелей покрытий;
N 3 - монтаж стеновых ограждений и переплетов в них.
При комплексном методе монтажа работы ведутся по секциям, вместо потоков N 1 и 2 образуется один поток.
При конвейерном и стендовом методах монтажа поток N 1 занят монтажом колонн со связями, подкрановых балок, подстропильных ферм, поток N 2 - сборкой блоков, поток N 3 - установкой блоков, поток N 4 - монтажом стеновых ограждений и переплетов в них.
8.37. Процессы, выполняемые частными потоками, должны по времени совмещаться. Количество одновременно работающих кранов принимается в зависимости от величины фронта работ и составляет 1 - 5, включая и занятые на укрупнительной сборке.
8.38. Местом укрупнительной сборки монтируемых конструкций, а также усиления и восстановления демонтированных и повторно используемых конструкций, принимается зона монтажа, приобъектная или центральная площадка. При этом учитывается возможность транспортирования по территории предприятия укрупненных конструкций, возможность укрупнения в зоне монтажа или на приобъектной площадке, а также сложность операций, выполняемых при укрупнении.
8.39. При сложных работах по укрупнению, усилению и восстановлению конструкций и при значительных объемах для их выполнения может быть сформирован самостоятельный частный поток.
8.40. Для организации поточного производства монтажных работ реконструируемое здание разбивают на захватки. Размер захваток назначается исходя из следующих условий:
часть цеха, являющаяся захваткой, должна иметь пространственную устойчивость;
разрыв между зонами работ монтажных кранов, входящих в поток, а также между зонами монтажных и смежных работ должен быть минимальным, но достаточным для безопасного их выполнения.
Очередность работы по захваткам устанавливают в соответствии с назначенными сроками предоставления участков цеха под монтажно-демонтажные работы, в увязке с общей последовательностью работ. Монтаж должен выполняться так, чтобы смонтированная часть цеха не увеличивала стесненность других участков, где предстоит монтаж.
8.41. Типы монтажных кранов при реконструкции зданий принимаются по тем же параметрам, что и для объектов нового строительства, но с учетом следующих особенностей:
ограничения в приближении кранов к месту монтажа;
трудностей маневрирования кранов в стесненных условиях;
ограничения углов поворота стрел;
необходимости проносить монтируемые конструкции над существующими сооружениями;
необходимости работы кранов внутри реконструируемых цехов;
ограничения видимости крановщиком мест монтажа;
трудностей в установлении оптимальных мест стоянок кранов;
остановок и перерывов, связанных с производственной деятельностью предприятия.
Для монтажа конструкций реконструируемых зданий используются в основном самоходные стреловые и башенные краны. Для замены покрытий реконструируемых цехов находят применение кабельные краны и специальные краны, устанавливаемые на покрытиях. Замену конструкций внутри цехов производят с помощью самоходных стреловых кранов, а в особо стесненных условиях с помощью лебедок.
Монтажные краны, выбранные по техническим характеристикам, должны быть проверены на возможность их использования с учетом изложенных особенностей их эксплуатации. Проверке подлежат: возможность доставки крана и установки его на объекте; достаточность пространственных габаритов для выполнения краном требующихся операций; возможность прохода крана к местам предполагаемых стоянок и др.
В результате проверок устанавливается необходимость введения ограничений на работу монтажного крана или же выбора другого типа крана, удовлетворяющего условиям конкретной обстановки.
В технологических картах на производство работ в стесненных условиях необходимо устанавливать технологическую последовательность операций, выполняемых крановщиком, с учетом обеспечения безопасности работ.
8.42. Оценка эффективности принимаемых организационных и технологических решений по монтажу и демонтажу должна проводиться в соответствии с рекомендациями
пп. 3.38 -
3.54 данного Руководства.
ТЕХНИКА БЕЗОПАСНОСТИ ПРИ ДЕМОНТАЖЕ И МОНТАЖЕ КОНСТРУКЦИЙ
8.43. При производстве работ в условиях реконструкции следует руководствоваться главой
СНиП по "Технике безопасности в строительстве" и
гл. 16 настоящего Руководства, а также соответствующей Инструкцией Минмонтажспецстроя СССР.
Во всех случаях строительно-монтажная организация до начала работ по реконструкции должна разработать, согласовать с заказчиком и при необходимости утвердить в вышестоящей инстанции указания по технике безопасности.
8.44. Все опасные работы по демонтажу и монтажу в условиях реконструкции следует выполнять по наряду-допуску.
8.45. Работы, связанные с монтажом и демонтажем, должны производиться преимущественно в дневное время суток и при достаточном освещении в ночное время. При установке двух и более кранов на одном участке зоны их действия ограничиваются, чтобы не допустить их опасного сближения. Площадки на месте установки кранов должны быть горизонтальными с достаточно уплотненным грунтом. На слабых грунтах укладываются подкрановые щиты или шпальный настил.
8.46. Движение рабочих по территории, где проводятся монтажные работы, осуществляется согласно разработанным стройгенпланам, а по территории предприятия - с соблюдением
правил уличного движения.
На период производства работ определяются границы опасных зон, которые должны быть ограждены с обязательной установкой предупредительных знаков. В случаях, когда установка ограждений нецелесообразна, выставляются сигнальщики.
8.47. При освоении строительных площадок необходимо обеспечить достаточную освещенность рабочих мест. Для работ, связанных с монтажом конструкций, нормативная освещенность должна составлять не менее 30 лк.
8.48. До начала производства работ должны быть выявлены источники производственных вредностей (тепловые излучения, выделение токсичных газов, паров, пыли, шума, вибрации и т.д.) и приняты меры по устранению выделений вредностей или уменьшению их выделения до величин, допустимых действующими санитарными нормами.
8.49. Обеспечение безвредных условий труда достигается: при тепловых излучениях - установкой отражающих экранов или водяных завес; при выделениях газов, паров и пыли - установкой воздушных завес, местных отсосов, приточных насадок.
В случае кратковременного пребывания рабочих в местах, где выделяются вредные газы, пары и пыль, а в отдельных случаях при невозможности снизить концентрацию вредностей до требования санитарных норм (по согласованию с санитарной инспекцией) работы должны производиться с применением индивидуальных защитных средств.
8.50. При работах по реконструкции внутри цеха во избежание его загазованности необходимо работать кранами с электрическими двигателями.
8.51. При производстве монтажных работ в действующих цехах подрядная организация должна предусмотреть максимально возможный объем укрупнения конструкций вне монтажной зоны.
8.52. При демонтаже конструкции должны быть приняты меры против внезапного обрушения элементов и обеспечена устойчивость остающихся элементов. Одновременно разбирать конструкции в двух и более ярусах по одной вертикали запрещается. На захватке, где производятся работы по демонтажу конструкций, находиться людям на нижележащих этажах разрешается только при наличии защитных перекрытий, предусмотренных в проекте реконструкции.
8.53. Демонтируемые элементы следует складировать в устойчивом положении.
8.54. Использование конструктивных элементов зданий и сооружений, а также оборудования и трубопроводов в качестве постоянных или временных опор, а также для приложения монтажных нагрузок разрешается только, когда это предусмотрено в ППР(р), проверено расчетом прочности этих конструкций, согласовано с проектной организацией и получено разрешение заказчика.
8.55. При монтаже или демонтаже конструкций несколькими кранами во избежание неравномерности их загрузки следует применять балансирные траверсы. Возможность использования несущих конструкций каркаса для закрепления, опирания грузоподъемных устройств проверяется расчетом и подлежит согласованию с администрацией предприятия и генеральным проектировщиком.
При монтаже конструкций двумя или несколькими кранами работы ведутся в соответствии с технологическими картами, где указываются схемы строповки и перемещения грузов, с обязательным указанием последовательности выполнения операций, положения грузов, конкретные требования к подготовке, содержанию подкранового пути и др.
8.56. При использовании на монтаже кранов с расчаленной стрелой уклон площадки в месте установки монтажного крана не должен превышать 0°30', выход грузового полиспаста из плоскости подвеса стрелы не допускается. Перед началом работы краны (с расчаленной стрелой, со стрелами, соединенными ригелем со стрелой, опирающейся на А-образный шевр) должны выдерживаться под нагрузкой в течение времени, необходимого для проверки всех нагруженных систем.
В зданиях цехов, в которых работают грузоподъемные механизмы, дверные проемы для прохода людей и въездные ворота должны оборудоваться световой сигнализацией, предупреждающей о нахождении механизма вблизи них.
8.57. Если по технологическим условиям длинномерные конструкции должны подаваться краном в наклонном положении и угол наклона при этом превышает 15°, на грузе должны закрепляться временные упоры (сваркой, болтами), препятствующие соскальзыванию каната.
8.58. В процессе подъема, установки или демонтажа строительных конструкций монтажными кранами при отсутствии прямой видимости крановщиком места посадки конструкции, а также вертолетами для организации надежной связи между монтажниками, стропальщиками и крановщиком (летчиком-монтажником) следует применять переносные радиостанции.
8.59. Все сварочные работы при монтаже и демонтаже конструкций на действующих предприятиях должны проводиться в соответствии с имеющейся на данном предприятии Инструкцией по проведению огневых работ.
9. СПЕЦИАЛЬНЫЕ РАБОТЫ ПО УСИЛЕНИЮ, ДЕМОНТАЖУ И МОНТАЖУ
МЕТАЛЛИЧЕСКИХ КОНСТРУКЦИЙ
УСИЛЕНИЕ МЕТАЛЛИЧЕСКИХ КОНСТРУКЦИЙ В ДЕЙСТВУЮЩИХ
И ОСТАНОВЛЕННЫХ ЦЕХАХ
9.1. Работы по усилению металлических конструкций рекомендуется производить одним из двух методов: без демонтажа усиливаемых конструкций со снятием или без снятия нагрузки и с демонтажем усиливаемых конструкций. Методы усиления определяет проектная организация, разрабатывающая проект реконструкции.
9.2. Проект усиления металлических конструкций должен удовлетворять следующим основным требованиям:
обеспечивать устойчивость здания, его частей или отдельных конструктивных элементов на всех стадиях усиления, предусматривая в необходимых случаях разработку конкретных мероприятий по обеспечению устойчивости (снятие постоянных или временных нагрузок, установка постоянных или временных связей и т.п.);
элементы усиления должны быть максимальной заводской готовности, по возможности легкими и удобными для перемещения, с деталями для их фиксации и временного скрепления с усиливаемыми конструкциями;
узлы соединений должны быть доступны для крепления и контроля качества;
в проекте должны быть решения о порядке и очередности производства работ по усилению сооружения в целом, его конструктивных элементов или отдельных позиций в элементах;
проект должен рекомендовать технологию выполнения сварочных работ при усилении сварных швов, порядка сварки отдельных элементов и очередность наложения швов с учетом особенностей работы центрально и внецентренно сжатых и растянутых элементов, а также элементов, работающих на изгиб и кручение, с максимально возможным одновременным усилением конструктивных элементов, конструкций и их узлов;
в проекте необходимо определять условия проведения работ по усилению (без остановки действующего производства, с его частичной или полной остановкой);
должны содержаться данные о размерах зон воздействия на каркас здания эксплуатационных нагрузок, предусматриваться максимально возможное снятие нагрузок с усиливаемых конструкций и узлов, учитываться временные монтажные нагрузки, действующие на усиливаемые и рядом расположенные конструкции от монтажных механизмов, грузозахватных устройств и приспособлений, подмостей и защитных настилов, а также от монтажников;
необходимо предусматривать максимальное использование технологического грузоподъемного и транспортного оборудования при производстве работ по усилению.
9.3. Для достижения оптимальных решений по усилению элементов и узлов конструктивное проектирование следует увязать с разработкой технологии производства этих работ в конкретных условиях.
9.4. Усиление сварных швов следует выполнять по специально разработанной технологии с учетом требований данного Руководства.
При выполнении угловых сварных швов усиления под нагрузкой необходимо соблюдать следующие условия:
усиливать сварные швы следует в первую очередь в узлах нижнего пояса, в последнюю очередь - в узлах верхнего пояса;
при наплавке дополнительных слоев сварных швов во избежание перегрева металла необходимо применять электроды диаметром не более 4 мм, не допуская одновременного выполнения сварных швов, сходящихся в узлах конструкций. Высота наплавленного слоя шва за один проход не должна превышать 2 мм;
начинать наплавку усиливающего слоя следует в местах дефектов (подрезов, наплывов, кратеров и др.);
работы по усилению сварных швов должны выполнять только высококвалифицированные сварщики.
Рядом с выполненными швами на каждом усиливаемом элементе сварщики обязаны ставить присвоенный им номер или условный знак.
9.5. При усилении болтовых соединений замену болтов в узле следует выполнять поочередно, не допуская одновременного снятия двух и более болтов.
Сборку элементов усиления и их подгонку к усиливаемым конструкциям необходимо производить с помощью стяжных и фиксирующих приспособлений, струбцин и электроприхваток.
При значительном объеме работ по усилению на одном конструктивном элементе и незначительных затратах на его снятие работы следует выполнять с демонтажем элементов.
9.6. Усиление элементов колонн в условиях действующего производства следует выполнять после снятия действующих на колонны временных, а при необходимости, и постоянных нагрузок или разгрузки усиливаемой части путем введения временных элементов, воспринимающих нагрузку (стойки, подвески, подкосы и т.п.), если это предусмотрено в проекте усиления.
Действующие на узлы нагрузки следует передавать на временные стойки и подкосы, опирающиеся на нижерасположенные конструкции или перекрытия, способные воспринимать данную нагрузку, или на пол цеха.
При усилении колонн и подкрановых балок зданий, оборудованных мостовыми кранами, в условиях действующего производства необходимо предусматривать установку на подкрановых путях тупиковых упоров и отключение троллей с обеих сторон усиливаемой колонны.
Работы по усилению элементов колонн необходимо выполнять с инвентарных, а при необходимости - с индивидуально спроектированных навесных или приставных подмостей.
9.7. Усиление подкрановых балок следует производить с рабочих настилов, подвешенных к самим балкам, или подмостей, закрепленных к колоннам.
Элементы усиления следует подавать в зону монтажа заранее внутрицеховыми грузоподъемными и транспортными средствами или автотранспортом.
Подъем элементов усиления к местам установки следует выполнять монтажными самоходными кранами или другими грузоподъемными механизмами при наличии проездов и площадок для их установки.
При отсутствии проездов и площадок подъем элементов следует производить с помощью ручных или электрических лебедок и монтажных блоков, закрепляемых, если это предусмотрено проектом, за вышерасположенные конструкции каркаса здания.
9.8. Усиление конструкций покрытия необходимо производить только после снятия с него временных нагрузок (снега, технологической пыли, подвесного транспорта и т.д.), а также постоянных нагрузок (ограждающих конструкции кровли), если это предусмотрено в проекте усиления.
Работы по усилению стропильных и подстропильных ферм, связей и прогонов кровли в условиях действующего или остановленного производства необходимо выполнять с рабочих настилов, подвешенных к узлам ферм
(рис. 33) или с мостовых кранов, оборудованных монтажными рабочими настилами
(рис. 34).
Рис. 33. Подвесной рабочий настил при усилении кровли
1 - настил из досок или профилированных листов;
2 - подвеска; 3 - крышевой кран; 4 - пути крышевого крана;
5 - переносная стремянка
Рис. 34. Схема обстройки мостового крана при усилении кровли
1 - мостовой кран; 2 - тележка мостового крана;
3 - рабочий настил; 4 - переносная стремянка;
5 - съемные перила
Подавать конструкции к рабочим местам следует в зависимости от условий самоходными кранами, крышевыми кранами или же с помощью лебедок, блоков и т.п.
9.9. При использовании мостовых кранов в качестве передвижных подмостей троллеи питания кранов необходимо отключить, а электропитание кранов осуществлять через кабель.
Складирование конструкций усиления на подмостях мостовых кранов и катучих подмостях допускается в пределах, не превышающих нагрузок, установленных расчетом.
9.10. Во всех случаях усиления металлических конструкций особое внимание следует обращать на устойчивость как усиливаемых, так и близрасположенных конструкций.
Исполнительная документация на усиление конструкций должна быть составлена в соответствии с главой
СНиП "Металлические конструкции. Правила производства и приемки работ".
ПОДЪЕМ МЕТАЛЛОКОНСТРУКЦИЙ В СЛУЧАЯХ ОСАДКИ ФУНДАМЕНТОВ
9.11. Проектная организация на основании акта технического освидетельствования должна установить метод подъема и обосновать его техническим и экономическим расчетом.
9.12. При разработке проекта восстановления конструкций методом подъема должны быть выполнены следующие основные требования:
обеспечена устойчивость здания, его частей и отдельных конструкций на всех стадиях подъема, а в необходимых случаях разработаны конкретные мероприятия, обеспечивающие устойчивость;
учтено воздействие поднимаемых конструкций на смежные конструкции или части зданий;
предусмотрено в необходимых случаях усиление поднимаемых и рядом расположенных конструкций;
разработаны технологические решения о способах и очередности подъема конструкций и частей здания;
определены условия проведения работ по подъему конструкций (без остановки действующего производства или с частичной или полной остановкой на время подъема, закрепления и усиления конструкций);
предусмотрено максимально возможное снятие нагрузок, действующих на поднимаемые конструкции, при производстве работ;
учтены дополнительные усилия, действующие на поднимаемые и рядом расположенные конструкции;
приложены данные о грунтовых условиях в зонах выполнения работ.
9.13. При проектировании подъема зданий, сооружений и конструкций рекомендуется рассматривать два способа: подъем целиком или отдельными конструктивными элементами.
Увеличение длины анкерных болтов, вызванное осадкой фундаментов, следует производить путем их удлинения сваркой с накладными или соединительными муфтами.
Конструктивное проектирование подъема необходимо увязывать с разработкой технологии производства этих работ.
Процесс подъема конструкций следует предусматривать ступенями с постоянным контролем состояния конструкций и их устойчивости.
По мере подъема в опорных узлах необходимо устанавливать заранее подготовленные прокладки.
Контролировать высоту подъема конструкций необходимо с помощью геодезических инструментов. При наличии подкрановых путей контроль следует выполнять по уровню головки рельса.
Выполнять работы по подъему конструкций рекомендуется только после освобождения поднимаемых конструкций от временных, а также при необходимости и от постоянных нагрузок.
В зданиях, оборудованных мостовыми кранами, троллеи в пределах опасной зоны должны быть отключены, а на границе опасной зоны установлены упоры.
9.14. Колонны перед подъемом необходимо освобождать от стенового заполнения или примыкающих панелей.
Начинать подъем колонн следует только после освобождения опорных узлов (башмаков) от бетона и ликвидации сцепления опорных плит с фундаментом.
Подъем колонн с подкрановыми путями, фермами, покрытиями и другими конструкциями рекомендуется выполнять с помощью гидравлических домкратов, опирающихся на фундаменты колонн, шпальные клетки или специальный фундамент и грузовых траверс, закрепляемых к колоннам в их нижней части.
При наличии в зоне фундамента поднимаемой колонны слабых грунтов или каналов, подземных коммуникаций и невозможности установки домкратов на фундамент поднимаемой колонны подъем следует производить при помощи гидравлических домкратов и монтажных опор или порталов, закрепляемых к колонне в верхней ее части и опирающихся на фундаменты соседних колонн (оборудования) или на временные опоры (шпальные клетки и др.) за пределами зоны слабых грунтов, в местах отсутствия каналов и подземных коммуникаций.
Подъем колонн с фермами и покрытиями может быть выполнен с помощью полиспастов, закрепляемых за колонну в нижней ее части, и порталов, устанавливаемых на специальные фундаменты или шпальные клетки. Для обеспечения устойчивости колонн во время подъема их следует расчаливать.
По окончании подъема конструкций на проектную отметку необходимо выполнить работы по передаче нагрузок от поднятых конструкций на фундамент и работы по закреплению колонн.
9.15. Подъем ферм покрытия с последующей посадкой их на реконструированные оголовки колонн следует выполнять с помощью гидравлических домкратов, электромеханических подъемников и временных опор, которые можно устанавливать на монтажные площадки
(рис. 35), опираемые на подкрановые балки, мостовые краны, монтажные площадки, закрепляемые к оголовкам колонн, на специальные фундаменты или шпальные клетки.
Рис. 35. Схема подъема стропильных ферм
а - с монтажных площадок, опирающихся на подкрановые балки;
б - с опиранием на мостовой кран; в - с монтажных площадок,
опирающихся на колонну; г - с опиранием на монтажные опоры;
1 - монтажная площадка; 2 - домкрат; 3 - рабочий настил;
4 - монтажная опора
Фермы крайних рядов здания можно поднимать кранами.
При передаче нагрузок от монтажных площадок на колонны необходимо дополнительно предусматривать в ППР(р) мероприятия, обеспечивающие устойчивость колонны (установку временных связей или расчалок).
Домкраты и временные опоры следует опирать только на существующие или вновь создаваемые узлы ферм, исключая возможность повреждения элементов ферм в месте опирания.
9.16. При подъеме подкрановых балок стыковые узлы рельсов должны быть разъединены, а крепления рельсов ослаблены.
Подъем подкрановых балок средних рядов целесообразно осуществлять блоками - две подкрановые балки, связи, тормозной настил и рельсы.
При подъеме подкрановых балок с посадкой их на реконструированные консоли колонн необходимо использовать: монтажные краны, полиспасты, закрепляемые за оголовки колонн, узлы стропильных или подстропильных ферм, подвесные кран-балки и тельферы, мостовые краны вышерасположенных ярусов.
9.17. При подъеме конструкций с помощью гидравлических домкратов между корпусом домкрата и опорной пятой выдвижного поршня необходимо устанавливать набор прокладок.
Принятый метод подъема должен обеспечивать удобство обработки и свободный доступ к местам узлов опирания (фундаментам).
Нагрузки от поднятых конструкций необходимо передавать на восстановленные проектные узлы опирания (фундаменты) плавно, до полного опирания конструкций по всей плоскости опор.
Снимать монтажную оснастку следует только после обследования поднятых конструкций и их проектного закрепления.
ДЕМОНТАЖ ДОМЕННЫХ И МАРТЕНОВСКИХ ПЕЧЕЙ,
РЕЗЕРВУАРОВ, ГАЗГОЛЬДЕРОВ
9.18. Демонтаж конструкций доменных печей следует производить с помощью башенных и самоходных в башенно-стреловом исполнении кранов большой грузоподъемности, монтажных балок, имеющихся на доменной печи, и полиспастов.
Монтажные краны следует устанавливать так, чтобы с одной стоянки можно было демонтировать наибольшее количество конструкций с учетом последующих работ по монтажу.
9.19. Перед демонтажем кожухов доменной печи, воздухонагревателей, пылеуловителя и трубопроводов должна быть разобрана и удалена футеровка (поярусно или полностью). Трубопроводы, когда это целесообразно, могут демонтироваться вместе с футеровкой, при этом предусматриваются меры против падения элементов футеровки. При определении массы демонтируемых элементов следует учитывать футеровку, скопления пыли, нашлакования и др.
Демонтировать кожух следует царгами или отдельными элементами по ярусам сверху вниз.
Расчленять демонтируемые конструкции на блоки следует газопламенной резкой, предварительно очистив участки резания от футеровки.
9.20. Демонтаж конструкций доменной печи следует производить в последовательности: литейный двор и поддоменник, нисходящий газопровод грязного газа, наклонный мост, монтажные балки, газоотводы, конструкции, опирающиеся на копер, сам копер, колошниковые площадки, кожух шахты, площадки и колонны шахты (с использованием площадки для демонтажа кожуха), кольцевая труба, колонны горна, кожух горна.
9.21. Демонтировать футеровочные плиты и холодильники следует одновременно с разборкой огнеупорной кладки. Конструкции лифтов следует демонтировать по мере демонтажа конструкций доменной печи и воздухонагревателей.
9.22. Демонтаж мартеновских печей производят с помощью самоходных монтажных кранов, установленных в разливочном пролете, полиспастов, мачт или мостовых кранов в последовательности: часть рабочей площадки, мешающая демонтажным работам, каркас печи с подовыми балками, шлаковики и регенераторы.
До начала демонтажа конструкций футеровка печи должна быть разобрана и удалена.
9.23. Демонтаж конструкций вертикальных резервуаров следует начинать с покрытия. Перед снятием кровли стенки резервуара следует расчалить. Покрытие, имеющее центральную опору, демонтируют диаметрально расположенными секторами, не имеющее центральной опоры - одним элементом или секторами с устройством временной опоры.
После снятия покрытия резервуара производится демонтаж конструкций стенок поярусно, сверху вниз. Расчалки переставляются по мере демонтажа для обеспечения устойчивости оставшейся части резервуара. Демонтировать резервуары можно также способом, обратным методу подращивания.
Демонтаж конструкций резервуаров с плавающей крышей начинают со стенки. Крышу демонтируют в последнюю очередь.
9.24. Газгольдеры демонтируют в последовательности: колокол, телескоп и резервуар. Колокол демонтируют как вертикальный резервуар без центральной стойки, перед демонтажем покрытия колокола следует снять пригрузы.
9.25. Горизонтальные цилиндрические резервуары и газгольдеры следует демонтировать царгами, обечайками, предварительно приняв меры, предупреждающие потерю устойчивости (временные опоры, внутренние диафрагмы около мест расчленения).
ДЕМОНТАЖ ГАЛЕРЕЙ, ТРУБ, МАЧТОВЫХ И БАШЕННЫХ СООРУЖЕНИЙ
9.26. Пролеты галерей следует демонтировать в направлении от подвижной опоры к неподвижной, в противоположном случае необходимо принять меры, обеспечивающие устойчивость галерей.
Конструкции в пролете галереи демонтируют в последовательности: ограждающие конструкции покрытия, стеновое ограждение, балки и связи по верхнему поясу, за исключением элементов, обеспечивающих устойчивость ферм, конструкции перекрытия, балки и связи по нижнему поясу и оставшиеся элементы по верхнему поясу, фермы.
Если в процессе демонтажа устойчивость отдельно стоящих ферм обеспечена недостаточно, последние необходимо расчалить. При невозможности снимать фермы целиком необходимо установить временные плоскостные или пространственные опоры, фермы в местах опирания на временные опоры во избежание потери устойчивости необходимо закрепить на опорах подкосами.
9.27. Мачты следует демонтировать самоподъемными кранами в последовательности, обратной монтажу, с обязательной установкой временных оттяжек.
Опорный ярус временных оттяжек устанавливается на весь период демонтажа.
При наличии опорных изоляторов последние должны быть заменены временной жесткой опорой.
9.28. Для демонтажа башен, труб и башен для труб следует применять самоподъемные краны, для их верхних частей можно применять вертолеты, для нижних - самоходные стреловые краны (пневмоколесные и гусеничные).
Для демонтажа башен и башен для труб (при раздельном демонтаже) можно, кроме того, применять подвесные краны, для демонтажа башен для труб - приставные краны, труб в башнях - полиспасты.
Конструкции должны быть проверены проектировщиками реконструкции на монтажные нагрузки, при необходимости элементы мачт, башен и труб должны быть усилены.
МОНТАЖ ДОМЕННЫХ ПЕЧЕЙ И СООРУЖЕНИЙ БАШЕННОГО ТИПА
9.29. Монтаж доменных печей при реконструкции следует производить крупными блоками одним из трех способов: надвижки
(рис. 36), эстакадным
(рис. 37) или сборки в проектном положении.
Рис. 36. Схема монтажа доменной печи и пылеуловителя
способом надвижки
1 - демонтируемая печь; 2 - печь, собираемая перед
надвижкой; 3 - стенд укрупнительной сборки; 4 - монтажный
кран; 5 - накаточные пути; 6 - демонтируемый пылеуловитель;
7 - пылеуловитель, собираемый перед надвижкой
Рис. 37. Эстакадный способ монтажа доменной печи
1 - доменная печь; 2 - блок воздухонагревателей;
3 - крановая эстакада; 4 - монтажный кран; 5 - чугуновозные
и шлаковозные пути; 6 - площадка укрупнения конструкций;
7 - козловый кран; 8 - бункерная эстакада
9.30. При способе надвижки собранную в стороне с оборудованием и офутерованную доменную печь на специальной платформе из стальных балок надвигают по накаточным путям на фундамент.
При монтаже накаточных путей на участке от места сборки печи до проектного положения отметка уровня путей должна быть выдержана по отметке путей под сборочной платформой (с учетом осадки их под длительной нагрузкой).
При сборке доменной печи на платформе, в период приближения массы печи к максимальному значению, необходимо произвести сдвижку блока для предохранения слябов и катков от смятия.
Перед надвижкой доменной печи накаточные пути необходимо очистить скребками и сжатым воздухом. После передвижки доменной печи на 100 мм произвести тщательный осмотр накаточного пути, и, в случае необходимости, очистку повторить. Первоначальный сдвиг доменной печи следует производить при натянутых полиспастах (гидравлическими домкратами) с последующим включением в работу лебедок.
Для предотвращения смещения печи с проектных осей платформа должна быть оборудована боковыми направляющими.
После надвижки и выверки доменной печи между крайними катками опирания платформы необходимо установить полосы для предотвращения сдвига платформы.
При накатке доменной печи необходимо постоянно контролировать ее вертикальность с помощью геодезического инструмента.
9.31. При эстакадном способе для установки монтажных кранов или подачи конструкций применяют специальные эстакады. При этом доменную печь собирают в проектном положении или монтируют с надвижкой.
Эстакадный способ не препятствует производству работы по нулевому циклу и эксплуатации чугуновозных и шлаковозных путей.
9.32. Сборка доменной печи в проектном положении возможна при наличии свободной площадки вблизи печи, не требует сооружения накаточных путей или эстакады, но значительно увеличивает продолжительность реконструкции.
9.33. Воздухонагреватели следует монтировать до остановки доменной печи, поочередно исключая их из работы, или соорудив блок воздухонагревателей на свободной площади за пределами доменной печи.
В последнем случае доменную печь переключают на работу с новыми воздухонагревателями, а старые демонтируют до остановки печи. При этом освобождаются площади около печи для размещения кранов, стендов для сборки и сварки блоков доменной печи.
9.34. Каркас мартеновской печи следует монтировать преимущественно способом надвижки без остановки других печей.
Собранный на свободном месте в разливочном пролете каркас печи подают двумя мостовыми кранами на накаточные пути или накатывают сначала вдоль, а затем поперек пролета. Учитывая незначительные зазоры между колоннами и выступающими частями печи, к низу подовых балок следует приваривать направляющие планки. К началу надвижки каркаса мартеновской печи должны быть смонтированы регенераторы и шлаковики крупными блоками, собираемыми за пределами цеха и подаваемыми по железнодорожным путям.
9.35. При реконструкции мачт и сооружений башенного типа выполняются работы по увеличению их высоты, смене антенн, смене труб, устройству новых площадок с помощью полиспастов, монтажных мачт, самоподъемных и подвесных кранов, вертолетов. Монтаж вертолетом следует выполнять пространственными блоками массой до 10 т, наводку и опускание их производить по специальным направляющим - "ловушкам"
(рис. 38), которые обеспечивают устойчивость и фиксируют блоки в проектном положении. Сразу после расстроповки блок необходимо закрепить в проектном положении.
Рис. 38. Схема приспособлений типа "ловушка"
для вертолетного монтажа
1 - "ловушка"; 2 - монтируемая антенна; 3 - конструкция
башни; 4 - временная распорка; 5 - рабочая площадка
10. УСИЛЕНИЕ БЕТОННЫХ И ЖЕЛЕЗОБЕТОННЫХ КОНСТРУКЦИЙ
ОБЩИЕ ВОПРОСЫ
10.1. В практике реконструкции промышленных зданий и сооружений часто возникает необходимость усиления конструкций и их отдельных элементов. Усиление конструкций требует значительно меньше затрат, чем замена их новыми, но связано с выполнением сложных строительных процессов. Усиление конструкций можно производить без остановки производства (эксплуатации цеха) или при кратковременных остановках. Усиливать можно фундаменты, колонны, балки, ригели и плиты перекрытий. Железобетонные подкрановые балки обычно не усиливают, а заменяют другими. Железобетонные фермы, находящиеся в аварийном состоянии, в зависимости от их состояния снимают и заменяют новыми (чаще металлическими) или ремонтируют. Наиболее сложными являются работы по усилению фундаментов, балок, ригелей; менее сложны работы по усилению колонн и плит перекрытий. Решения по усилению конструкций или их замене должны быть обоснованы проектом, имея в виду затраты и потери с учетом остановки производства. Во многих случаях усиление конструкций является единственно правильным решением. Рабочие чертежи на усиление конструкций, разрабатываемые проектными организациями, должны содержать все необходимые детали, включая решения по производству работ согласно
Инструкции по разработке проектов и смет для промышленного строительства и проектов производства работ.
10.2. Усиление конструкций относится к числу сложных, ответственных и опасных работ, поэтому они должны производиться под личным руководством мастера или производителя работ. Работы по усилению железобетонных конструкций должны выполняться с исключительной тщательностью и соблюдением всех правил техники безопасности. Бетон, не имеющий прочности, удаляют полностью до глубины, где он не выкрошивается и не издает глухого звука при постукивании молотком. В местах приварки дополнительной арматуры удаляют защитный слой бетона и обнажают продольные стержни существующей арматуры до половины их сечения. Сцепление нового бетона со старым обеспечивается достаточно надежно, если поверхность старого бетона подготовлена правильно (см.
пп. 7.28 -
7.31). Далее приводится краткое списание наиболее часто встречающихся случаев усиления железобетонных конструкций.
УСИЛЕНИЕ ФУНДАМЕНТОВ
10.3. В процессе реконструкции промышленных цехов иногда возникает необходимость усиления фундаментов под колонны, вследствие увеличения нагрузки на них при изменении грузоподъемности мостовых кранов или шага колонн в средних рядах цеха. Возможно сочетание обеих причин. В некоторых случаях основания фундаментов допускают увеличение крановых нагрузок без их усиления. Эта возможность устанавливается проектной организацией, сами же фундаменты всегда имеют некоторый запас прочности.
Грузоподъемность новых кранов по сравнению с ранее действовавшими отличается, как правило, незначительно и увеличивает нагрузку на фундамент немного (до 10 - 15%). При изменении шага средних рядов колонн, как правило, требуется усиление колонн, замена подкрановых балок и установка подстропильных ферм. В этом случае нагрузка на фундаменты колонн возрастает (примерно в два раза), что требует безусловного их усиления.
Усиление фундаментов может осуществляться тремя путями: за счет уширения их подошв, передачи нагрузки от них на сваи и при благоприятных условиях увеличения несущей способности грунта основания силикатизацией или другими способами.
Главными вопросами, требующими решения при проектировании усиления фундаментов способом их уширения, являются возможность применения этого способа с учетом водонасыщенности грунта; необходимость пригрузки грунта на отметке подошвы фундамента с целью локализации явления выпирания грунта из-под подошвы фундамента.
Рис. 39. Уширение фундаментов колонн
а - на отметке подошвы фундамента; б - опорная
железобетонная рама ниже подошвы фундамента; 1 - колонна;
2 - виброжелоб; 3 - приемный бункер; 4 - ограждение места
производства работ; 5 - бетонный пол с подготовкой;
6 - насечка боковых граней со скосом внутрь; 7 - арматура
усиления фундамента; 8 - деревянный подвижной шпунт,
опускаемый с отметки - 1000 по мере отрывки котлована;
9 - усиливаемый фундамент; 10 - арматура опорной
железобетонной рамы
Размеры подошвы фундаментов, м | Увеличенная площадь фундамента, м2, при ширине прироста на стороны, м | Возможное увеличение нагрузки на фундамент, %, при ширине прироста на стороны, м |
0,2 | 0,3 | 0,4 | 0,2 | 0,3 | 0,4 |
2 x 2 | 4,84 | 5,29 | 5,76 | 21 | 32 | 44 |
2,5 x 2,5 | 7,29 | 7,84 | 8,41 | 17 | 24 | 35 |
3 x 3 | 10,24 | 10,89 | 11,56 | 14 | 21 | 28 |
3,5 x 3,5 | 13,69 | 14,44 | 15,21 | 12 | 18 | 24 |
4 x 4 | 17,64 | 18,49 | 19,36 | 10 | 16 | 21 |
Применение способа уширения фундаментов ограничивается наличием грунтовых вод на уровне подошвы и выше нее. В условиях действующих цехов к понижению грунтовых вод всеми способами следует проявлять большую осторожность. Поэтому при проектировании усиления (уширения) фундаментов, как и вообще при реконструкции подземных сооружений действующих цехов, решение о допустимости понижения уровня грунтовых вод должно приниматься проектной организацией на основании соответствующих обследований. В проекте должны быть указаны способы водопонижения.
Перед началом работ по уширению фундаментов должны быть проведены следующие мероприятия:
кровля в четырех прилегающих к колонне секциях должна быть очищена от пылевидных производственных выбросов, а в зимнее время и от снега;
действие мостовых кранов, кран-балок и другого подвесного транспорта должно быть прекращено с целью снятия временных нагрузок на колонны усиливаемых фундаментов;
зона производства работ должна быть ограждена инвентарными щитами.
Последовательность работ по уширению фундаментов в сухих грунтах, без пригрузки со снятием нагрузки на колонну следующая:
отрывается грунт со всех сторон фундамента до отметки подошвы, крутизна откосов принимается предельно допустимая для данного грунта. При необходимости устанавливается вертикальное крепление стенок котлована, ширина котлована с одной стороны на уровне подошвы принимается до 1 м;
после отрывки котлована до проектной отметки (подошвы фундамента) производится очистка и насечка боковых граней фундамента (со скосом внутрь), втрамбовывание щебня в грунт, монтаж арматуры и щитовой опалубки, бетонирование (
рис. 39,
а).
10.4. На
рис. 39,
б изображена схема второго варианта уширения фундамента. Применение этого варианта возможно в грунтах, способных выдерживать откосы в выемках, близкие к вертикальным.
10.5. Производство работ по уширению фундаментов под колонны усложняется, если, согласно проекту, из-за грунтовых условий требуется пригрузка грунта близ подошвы фундаментов. В этом случае метод производства работ принимается последовательный с разбивкой на очереди по сторонам:
с первой стороны выбирается грунт на полную глубину, делается насечка, производится зачистка грунта на уровне подошвы фундамента с втрамбовыванием щебня в грунт, на дно котлована вплотную к фундаменту устанавливаются пригрузочные элементы с необходимой (по расчету) общей массой;
последовательно выполняются перечисленные операции на второй и третьей сторонах фундамента;
на четвертой стороне выполняется весь цикл работ по усилению: отрывка котлована, насечка поверхностей бетона, армирование (с оставлением выпусков), бетонирование, выдерживание бетона (до 50% проектной прочности), установка ограждающих щитов от попадания грунтов в пространство у соседних сторон при засыпке пазухи, засыпается пазуха с трамбованием грунта.
На первой, второй и третьей сторонах поочередно и последовательно повторяется весь цикл работ после предварительного снятия пригрузочных элементов на той стороне фундамента, на которой производятся работы.
В ходе перечисленных операций осуществляется стыковка арматуры с выпусками, оставленными на соседних сторонах. Нельзя начинать работы на соседней стороне, не выполнив весь цикл работ на предыдущей. Способ уширения фундаментов с пригрузкой увеличивает продолжительность работ, однако гарантирует от осадок фундаментов во время производства работ. Пригрузочные элементы должны быть заранее изготовлены из бетона и выдержаны. Их сечения целесообразно рекомендовать равными 0,5 x 0,5 с высотой 1 и 1,5 м и 0,75 x 0,75 с высотой 2 м, что будет соответствовать их массе от 0,55 до 2,5 т. Элементы должны иметь в верхней их части утопленные в бетон петли для строповки, что необходимо для их установки одного на другой. По окончании работ они могут быть использованы в качестве пригруза лебедок, других механизмов или уложены в массивные бетонные конструкции.
10.6. Порядок работ по уширению фундамента с пригрузкой грунта по второму варианту (
рис. 39,
б) с опорной железобетонной рамой существенно не отличается от описанного. В этом случае также нельзя приступать к работам на соседней стороне, не выполнив всего цикла работ на предыдущей. Состав работ не требует пояснений, он понятен из
рис. 39.
10.7. Способы усиления фундаментов, при которых существующие фундаменты обжимаются железобетонными обоймами, опирающимися на заранее выполненные буронабивные свайные опоры (часто по одной свае по четырем углам фундамента), применяются при значительно возрастающих нагрузках (при увеличении шага колонн) или в условиях водонасыщенных грунтов. Охватывающие железобетонные обоймы иногда с включением в их конструкцию металлических балок можно располагать на разных уровнях по высоте фундамента. При свайных вариантах усиления фундаментов используются, как правило, набивные сваи, в ряде случаев могут применяться и другие типы свай, например, винтовые стальные, заполняемые бетоном. При длине завинчиваемых свай до 6 м диаметр труб достаточно принять равным 15 - 20 см, а диаметр лопасти 35 - 45 см. Завинчивать эти сваи можно малогабаритными станками, которые могут быть изготовлены в обычных механических мастерских.
10.8. При реконструкции промышленных предприятий (дореволюционной постройки и построенных в первые пятилетки) появляется необходимость реконструкции кирпичных зданий разной этажности, в которых требуется усиление и заглубление существующих ленточных фундаментов, а в отдельных случаях и полная их замена из-за разрушения агрессивными подземными водами. Материалы ленточных фундаментов - бутовая или кирпичная кладка, бутобетон и др. Для их реконструкции применяется преимущественно бетон и железобетон. Иногда при реконструкции ленточного фундамента его заменяют столбчатой конструкцией с подведением железобетонных рандбалок. Общим организационным принципом для всех случаев реконструкции ленточных фундаментов является усиление (углубление, замена) их по участкам, длина которых устанавливается в зависимости от типа и вида их реконструкции, состояния фундамента и других местных условий.
УСИЛЕНИЕ ЖЕЛЕЗОБЕТОННЫХ КОЛОНН
10.9. Усиление железобетонных колонн осуществляется при резком увеличении нагрузок на них, что обычно бывает в случаях увеличения шага колонн в средних рядах цеха.
При изменении грузоподъемности кранов во многих случаях усиления колонн не требуется, вследствие имеющихся в них запасов прочности. Оставление колонн при новой крановой нагрузке без усиления должно быть обосновано в проекте реконструкции с учетом нарастания прочности бетона сверх проектной с течением времени, а также с учетом коррозии бетона, если она имела место. Типовым решением усиления колонн является устройство обоймы (железобетонной рубашки) толщиной 50 - 120 мм. Аналогично уширению фундаментов обойма дает большой эффект в отношении прироста площади сечения колонны. Так, например, при сечении колонны 500 x 500 мм и толщине обоймы 100 мм площадь сечения увеличивается в два раза, что резко увеличивает ее несущую способность.
До начала основных работ по устройству обоймы следует подготовить щиты опалубки, арматурные каркасы, хомуты, скобы для приварки арматуры усиления к стержням колонны; подготовить площадку у места работ; доставить к месту работ и установить инвентарные подмости (передвижные вышки и т.д.).
Последовательность работ по устройству обоймы такова:
на колонне через 500 - 800 мм по высоте путем вырубания бетона обнажаются арматурные стержни, к ним при помощи скоб привариваются арматурные каркасы обоймы (
рис. 40,
а);
производится очистка, насечка и промывка граней колонны;
устанавливается щитовая опалубка;
производится бетонирование.
Рис. 40. Усиление колонн обоймами
а - железобетонной; б - металлической сплошной;
в - металлической прерывистой; 1 - арматура усиления;
2 - тело колонны; 3 - скоба (хомут) для приварки арматуры
усиления к существующей арматуре; 4 - существующая арматура;
5 - уголковый металл; 6 - металлические планки
Бетонирование обоймы можно производить путем наращивания опалубки по мере бетонирования или после монтажа опалубки на всю высоту через окна в ней, заделывая их по мере бетонирования. Бетон следует применять пластичной консистенции с крупностью щебня не более 1/3 толщины обоймы.
10.10. Если устройство четырехсторонней обоймы оказывается затруднительным (у температурных швов, в пристенных колоннах и др.), то колонны усиливают с одной, двух или трех сторон (в соответствии с проектом).
10.11. В некоторых случаях возможно усиление колонн с помощью предварительно напряженных хомутов. Различают два варианта усиления.
При первом варианте (
рис. 40,
б) к ребрам колонны плотно прижимают на всю высоту колонны стойки из уголков
5 с приваренными к ним одним концом металлическими планками
6. Стойки-ребра стягивают по всей высоте колонны временными металлическими хомутами (
рис. 40,
в). Хомуты следует устанавливать так, чтобы стягивались ребра граней
I и
III и
II -
IV через одну.
После установки временных хомутов начинают нагревать металлические планки 6, находящиеся в одном уровне, до температуры 100 - 120 °C и приваривать их в нагретом состоянии к уголкам 5. Нагревание и приварку концов планок следует выполнять также попарно по граням I - III и II - IV.
После приварки планок временные хомуты снимают. Остывание планок создает напряженную металлическую обойму (колонна заключается в металлический корсет).
10.12. Второй вариант (см.
рис. 40,
в) отличается от первого тем, что стойки-ребра устанавливаются не сплошные (на всю высоту колонны), а прерывисто (как обручи на бочках).
Технология усиления аналогична применяемой при первом варианте.
В рабочих чертежах должны быть указаны сортамент применяемого металла; шаг привариваемых планок; последовательность приварки свободных концов планок на одном уровне (по колонне от середины по направлению вверх и вниз или в ином порядке); шаг установки временных хомутов.
Оба способа применяются при относительно небольших усилениях колонн.
УСИЛЕНИЕ БАЛОК И РИГЕЛЕЙ
10.13. Усиление балок и ригелей междуэтажных перекрытий производится по двум вариантам
(рис. 41).
Рис. 41. Усиление балок и ригелей с помощью
а - коротышей; б - хомутов; 1 - существующая арматура балки;
2 - арматура усиления; 3 - коротыши; 4 - хомуты подвески
арматуры усиления. Размеры А и Б устанавливаются проектом
При усилении балок и ригелей по первому варианту (
рис. 41,
а) арматурные продольные стержни усиления приваривают к арматурным стержням балки через коротыши, шаг, диаметр и длина которых указываются в рабочих чертежах. Защитный слой снизу балки должен быть полностью снят. Бетонирование производят методом торкретирования с установкой опалубки с нижней и одной боковой стороны.
10.14. При усилении по второму варианту (
рис. 41,
б) обнажают вырубанием нижнюю арматуру балки (ригеля) с шагом, указанным в рабочем чертеже проекта, и к ней при помощи хомутов приваривают арматуру усиления. После этого устанавливают опалубку, в большинстве случаев подвешивая ее к арматуре балки и производят бетонирование. Перед армированием и установкой опалубки следует произвести очистку, насечку бетона и промывку поверхностей. Бетонирование рекомендуется производить с применением агрегата "Пневмобетон" или торкретированием с нижней и одной боковой опалубкой. Можно также применять для бетонирования прямоточный диафрагмовый растворонасос агрегата "Пневмобетон", который применяется при заполнении узких пространств стыков сборных железобетонных конструкций.
10.15. В некоторых случаях целесообразно применение способа усиления железобетонных балок с помощью металлических балок. Этот способ основан на создании предварительного напряжения в металлической балке, подвешенной снизу к железобетонной на металлических хомутах по концам.
Для проведения работ по вводу элементов усиления в одновременную работу железобетонной и металлической балок разработано специальное захватно-натяжное устройство. Принципиальная схема ввода элементов усиления в одновременную работу приведена на
рис. 42. Устройство состоит из захватного приспособления с площадкой, на которой установлен малогабаритный гидравлический домкрат с максимальным усилием 30 т·с. Процесс ввода балок в совместную работу заключается в следующем. На металлическую балку усиления навешивается захватно-натяжное устройство с гидродомкратом, которое посредством гибкого шланга высокого давления подключается к маслонасосной станции НСР-400. Устройство навешивается на нижнюю полку двутавровой балки усиления посередине пролета и фиксируется в нужном положении при помощи стяжной шпильки с гайками. После этого устанавливаются стойки-упоры. Затем, при помощи маслонасосной станции и гидродомкрата создается распор между железобетонной и металлической балками. Величина распора доводится до расчетной и контролируется по манометру. По достижении заданного распорного усилия в гидродомкрате поддерживается постоянное давление. Во избежание потерь давления за счет обмятия на упорных устройствах балок усиления необходимо производить периодическое подкачивание насосом, следя за показаниями манометра.

Рис. 42. Усиление железобетонной балки
с помощью металлической
1 - железобетонная балка; 2 - металлическая балка;
3 - захватно-натяжное устройство; 4 - шланг высокого
давления; 5 - маслонасосная станция; 6 - хомуты подвески
балки усиления; 7 - металлические прокладки; 8 - манометр
Перед вводом балки усиления в напряженное состояние должна быть произведена тщательная тарировка гидродомкрата с манометром.
При создании распорного усилия металлическая балка получает прогиб, который колеблется в различных случаях от 6 до 20 мм. В образовавшийся зазор между железобетонной и металлической балками устанавливаются металлические прокладки размером 150 x 300 мм и толщиной от 2 до 15 мм. По окончании расклинивания балок давление в гидродомкрате понижается, снимаются упоры и захватно-натяжное устройство. Металлические прокладки сваркой прихватываются к металлической балке.
Работа должна выполняться в соответствии с рабочим чертежом, в котором указываются конструкция и крепление хомутов, на которых подвешивается металлическая балка усиления; размеры профиля двутавровой балки усиления (по стандарту); набор металлических прокладок (толщина прокладок и их число); расчетное усилие изгиба балки (по манометру).
Описанный метод усиления железобетонных балок удобен на объектах, где при реконструкции невозможна остановка производства или должна быть сокращена до минимума продолжительность остановочного периода.
10.16. Усиление плит перекрытий не отличается сложностью организации строительного процесса, его основные положения изложены в
п. 7.35.
УСТРОЙСТВО ПРОЕМОВ БОЛЬШИХ РАЗМЕРОВ В КИРПИЧНЫХ СТЕНАХ
10.17. При реконструкции часто возникает необходимость устройства проемов больших размеров в кирпичных стенах.
Наиболее ответственной операцией при этом является предварительная установка над проемом балок, состоящих из двух швеллеров или двутавров, соответствующего профиля, стягиваемых между собой болтами; один из швеллеров (двутавров) длиннее другого на 400 мм (по 200 мм на каждый конец).
10.18. В кирпичной стене пробивается горизонтальная борозда высотой, равной высоте швеллера (двутавра) плюс 40 - 50 мм, глубиной, равной ширине его полки.
Швеллер устанавливается в борозде строго горизонтально и укрепляется в стене болтами, пропущенными через отверстия по концам швеллера (двутавра). Вслед за этим зазор между верхней полкой швеллера (двутавра) заполняется жестким цементно-песчаным раствором. После набора прочности раствором в том же порядке устанавливается швеллер (двутавр) с другой стороны стены, стягивается болтами с первым, и верхний зазор также заполняется раствором. Под концы спаренной балки подводятся стальные пластины толщиной 10 мм, к которым привариваются концы швеллеров (двутавров). Под эти пластины (опоры балок) также подбивается цементно-песчаный раствор. После набора прочности раствора можно разбирать кирпичную кладку под балкой и выполнять последующие работы в проеме в зависимости от его назначения (ворота, монтажный проем и др.).
11. ДЕМОНТАЖ И МОНТАЖ ТЕХНОЛОГИЧЕСКОГО, ЭЛЕКТРОТЕХНИЧЕСКОГО
И ДРУГОГО ОБОРУДОВАНИЯ
ОБЩИЕ РЕКОМЕНДАЦИИ
11.1. Демонтажные и монтажные работы на реконструируемых объектах должны выполняться по проектной документации с надписью заказчика "К производству работ" и утвержденному в установленном порядке проекту производства работ.
Демонтаж и монтаж технологического оборудования и технологических трубопроводов должны осуществляться в соответствии с главами III части СНиП "
Технологическое оборудование. Основные положения", электротехнического оборудования и коммуникаций - "Электротехнические устройства", систем вентиляции и кондиционирования воздуха - "
Санитарно-техническое оборудование зданий и сооружений", а также с действующими инструкциями Минмонтажспецстроя СССР, предприятий (заводов) - изготовителей оборудования и с учетом рекомендаций настоящего Руководства.
11.2. В состав ППР
(р) кроме материалов, предусмотренных "
Инструкцией по разработке проектов организации строительства и проектов производства работ", должны входить: схема вывозки демонтированного и доставки нового оборудования с указанием мест их складирования и необходимых транспортных средств; схема расстановки щитов для подсоединения механизированного инструмента; указания по использованию демонтируемого оборудования (дальнейшее использование на данном объекте, на другом предприятии, разборка на запасные детали или сдача в металлолом); указания по временному демонтажу (с последующей установкой) отдельных элементов строительных конструкций, а также по использованию существующих конструкций при монтаже оборудования; схемы демонтажа и монтажа и транспортирования оборудования и конструкций; перечень работ, подлежащих выполнению всеми участниками реконструкции (заказчиком, генподрядчиком и монтажными организациями) в доостановочный период; специальные указания по технике безопасности, включая основные действующие на предприятиях правила по технике безопасности.
11.3. Схемы демонтажа, монтажа и транспортирования следует составлять только для сложного оборудования, конструкций по решению главного инженера монтажной организации.
На схемах демонтажа и монтажа указывается последовательность выполнения отдельных операций, способы обеспечения устойчивого положения остающихся частей демонтируемого и блоков устанавливаемого оборудования (конструкций), объем укрупнительной сборки и методы установки оборудования (конструкций) в проектное положение, а также даются указания по технике безопасности.
На схемах монтажа и транспортирования указывают начальное, конечное, а при необходимости - промежуточное положение оборудования, такелажных и транспортных средств и минимально допустимые размеры приближения к неподвижным предметам (элементам зданий, сооружений, оборудования и пр.).
В пояснения к схемам монтажа, демонтажа рекомендуется включать: описание необходимой строительной готовности объекта (что должно сооружаться до начала монтажных работ и что после завершения его отдельных этапов); описание монтажной готовности объекта (какое оборудование должно быть временно демонтировано или временно отключено и т.д.); описание готовности оборудования к установке в проектное положение (степень укрупнения, предварительной обвязки, теплоизоляции, футеровки и др.); способы и средства разрушения бетона подливки и отрыва оборудования от фундамента.
11.4. В указания по технике безопасности, приводимые на схемах монтажа (демонтажа), следует включать описание границ опасной зоны и перечень лиц (с указанием должностей), которым разрешено находиться в опасной зоне; схему расстановки монтажников во время подъемов в стесненных условиях; порядок подачи команд и обмена сигналами между исполнителями работ; способы и средства контроля за усилиями в такелажной оснастке при демонтаже оборудования; схемы расстановки предупредительных знаков и ограждений.
11.5. К работам по демонтажу и монтажу оборудования и коммуникаций можно приступать только после завершения подготовительных работ, установленных согласованным графиком, при наличии на объекте (складах заказчика) оборудования, конструкций, материалов и других изделий в количестве, необходимом для нормального выполнения монтажных работ, а также при выполнении мероприятий по технике безопасности, охране труда, противопожарной безопасности и производственной санитарии, предусмотренных нормами, правилами и особыми условиями демонтажа и монтажа.
11.6. Демонтажные и монтажные работы по реконструкции объекта следует выполнять в остановочный период - круглосуточно, а в доостановочный период - в две смены. Соответственно должны планироваться объемы строительно-монтажных работ и поставка материальных ресурсов.
11.7. Подготовка к монтажу оборудования, выполненная в доостановочный период, охватывает комплекс работ, предусмотренных ПОС(р) и ППР(р).
В процессе подготовки к монтажу должны быть обеспечены: прокладка внешних магистральных и разводящих сетей и установка подключающих устройств для подачи электроэнергии, воды, пара, кислорода, горючих и инертных газов, необходимых для производства монтажных работ; оборудование объектов распределительными щитами и разводкой для подключения механизированного инструмента и выполнения газосварочных работ; перекрытие инвентарными щитами подземных коммуникаций в местах провоза тяжеловесного оборудования и передвижения самоходных кранов; выполнение других работ и мероприятий, предусмотренных ПОС(р) и ППР(р).
Исполнители перечисленных работ определяются в ППР(р) и особых условиях к договору.
Монтажные и специализированные организации в подготовительный период осуществляют мероприятия, возложенные на них графиками работ.
11.8. В доостановочный период должны быть выполнены на реконструируемом объекте фундаменты, постаменты и другие строительные конструкции вне зоны действующего оборудования и на них смонтировано оборудование, трубопроводы и обслуживающие конструкции, не затрудняющие проведения демонтажных и монтажных работ на объекте в остановочный период;
во время остановки оборудования на плановые ремонты произведены строительные и другие работы (по согласованному перечню) для подготовки к демонтажу и монтажу оборудования;
проведена комплектация реконструируемого объекта оборудованием, трубопроводами, обслуживающими конструкциями и другими монтажными заготовками, изделиями и материалами;
подготовлены необходимые механизмы, приспособления, ручные машины и инструменты (в том числе измерительные), а также организовано инструментальное хозяйство;
сооружены ограждения и защитные навесы, предусмотренные ППР(р) и согласованными мероприятиями;
подготовлены рабочие и инженерно-технический персонал необходимых специальностей и квалификации, ознакомлены со стоящими перед ними задачами, проектом производства работ, разработанными заказчиком совместно с заинтересованными организациями инструкциями по выполнению работ в условиях действующего предприятия и прошедшие необходимый инструктаж и проверку знаний;
выполнены работы по укрупнительной сборке оборудования. При наличии технической возможности (транспортирования в собранном виде к месту установки) оборудование следует агрегировать совместно с коммуникациями, опорными и обслуживающими конструкциями и первичными приборами контроля, автоматики и управления, а сосуды и аппаратуру испытать и изолировать. Укрупнительную сборку и агрегирование оборудования рекомендуется поручать бригадам, которые будут монтировать это оборудование;
изготовлены, собраны вместе с арматурой, очищены и проверены узлы и секции технологических трубопроводов, проведена при необходимости их теплоизоляция и футеровка, изготовлены необходимые монтажные заготовки;
монтажные и другие работники обеспечены (при необходимости) средствами индивидуальной защиты (респираторы, противогазы и др.).
11.9. Выполнение демонтажных, монтажных и специальных строительных работ, как правило, должно поручаться комплексным хозрасчетным бригадам.
11.10. Одним из основных мероприятий по сокращению сроков монтажных и демонтажных работ является специализация звеньев на выполнение работ по монтажу отдельных видов оборудования или отдельных операций, сочетающаяся с совмещением профессий.
Сварочные работы, при их значительных объемах, рекомендуется выполнять специализированными сварочными участками.
11.11. Рекомендуется прикреплять эксплуатационный персонал (помощников мастеров, слесарей) к монтажникам для ускорения освоения ими нового оборудования.
11.12. Пользование действующими сетями сжатого воздуха, кислорода, ацетилена, природного газа и т.п. для проведения монтажных работ должно быть согласовано с руководством предприятия-заказчика, а подключение должно производиться заказчиком, либо подрядной организацией под руководством ответственного представителя заказчика.
11.13. Для сокращения времени остановки производства рекомендуется использовать при реконструкции объектов метод надвижки блока, собранного в доостановочный период на близко расположенной площадке (доменной печи, пылеуловителя и другого оборудования).
11.14. На согласованных с заказчиком объектах реконструкции с небольшим объемом работ по монтажу оборудования, отдаленных от производственных баз монтажных организаций, монтажные работы должны выполняться комплексными бригадами, оснащенными передвижными мастерскими, необходимыми механизмами и средствами механизации.
К началу работ на таких объектах должны быть доставлены и складированы в соответствии с ПОС(р) и ППР(р) все оборудование, конструкции, коммуникации и материалы.
11.15. При незначительных объемах и несложных строительных работах монтаж оборудования целесообразно выполнять по прямым договорам заказчиков (предприятий) с монтажными организациями. В этом случае строительные работы следует выполнять силами строительно-ремонтной службы предприятия.
ДЕМОНТАЖНЫЕ И МОНТАЖНЫЕ РАБОТЫ
11.16. Выполнение монтажных (демонтажных) работ в действующих цехах, а также в особо опасных зонах и местах (в сосудах, колодцах, вблизи высоковольтных линий и т.п.), должно осуществляться только при наличии наряда-допуска, выданного администрацией предприятия
(гл. 16).
11.17. Производство строительно-монтажных работ в местах расположения действующих подземных инженерных коммуникаций (электрокабелей и кабелей связи, газопроводов и т.п.) и их вскрытие допускается при наличии разрешения организации, эксплуатирующей эти коммуникации. Границы и оси коммуникаций на местности должны быть обозначены заметными знаками.
11.18. При выполнении строительно-монтажных работ по реконструкции действующих предприятий необходимо обеспечить сохранность линий и контура заземления.
11.19. При демонтаже и монтаже оборудования, конструкций и коммуникаций реконструируемых объектов следует применять методы и такелажные средства, требующие минимальной площади для их размещения и закрепления; мостовые краны (если они имеются на реконструируемом объекте); башенные и портальные краны, передвигающиеся вне здания реконструируемого объекта; самоходные краны, преимущественно с телескопическими стрелами (при возможности их перемещения по площадке); гидроподъемники (при монтаже вертикальных аппаратов и конструкций, устанавливаемых на отметках, близких к нулевым).
Мачтовые подъемники применяют для монтажа тяжеловесного оборудования только в случаях, когда такелажные работы не могут быть выполнены перечисленными выше механизмами.
Для крупноблочного монтажа оборудования в зданиях, оборудованных мостовыми кранами недостаточной грузоподъемности, следует применять методы временного повышения их грузоподъемности, либо спаривать существующие краны.
В технически обоснованных случаях для выполнения монтажных работ мостовыми кранами, кроме действующих кранов, на период строительства могут быть смонтированы инвентарные краны необходимой грузоподъемности, что должно быть предусмотрено ППР(р).
Использование существующих мостовых кранов, как правило, осуществляется рядом организаций, выполняющих строительно-монтажные работы по реконструкции объектов, в связи с чем эти краны должны работать круглосуточно по разработанному почасовому графику.
Краны должны быть обеспечены эксплуатационным персоналом, включая дежурных слесарей на все смены.
11.20. Для работ на комплексных установках следует использовать башенные и козловые краны, а также самоходные краны с башенно-стреловым оборудованием. При необходимости их грузоподъемность должна быть временно повышена.
11.21. При монтаже оборудования в цехах с помощью мачт должна быть огорожена опасная зона радиусом не менее высоты мачты.
При расположении вант вблизи действующих трубопроводов заказчиком должны быть приняты меры по освобождению их от продукта, а при невозможности такого освобождения им должны быть выделены ответственные дежурные для совместного принятия экстренных мер в случае обрыва вант и нанесения повреждений трубопроводам и аппаратам, заполненным продуктом.
11.22. При использовании на работах по демонтажу и монтажу такелажных средств (мачтовых и гидроподъемников, порталов) рекомендуется применять надземные (целесообразно инвентарные) якори.
11.23. При проведении грузоподъемных работ во взрыво- и пожароопасных помещениях необходимо принять дополнительные меры по обеспечению безопасности. Конструкция захватывающих устройств и строповочных приспособлений должны исключать образование искр при строповке и подъеме. Не допускаются перемещения грузов волоком, в том числе с применением подкладных листов.
11.24. В условиях действующего производства демонтаж и монтаж оборудования, трубопроводов и конструкций должен производиться в последовательности и в сроки, не нарушающие работу действующего оборудования.
11.25. При производстве сложных демонтажных и монтажных работ рекомендуется участие авторского надзора от организации, разработавшей ППР(р). Степень сложности демонтажных и монтажных работ определяется главным инженером монтажной организации.
11.26. Категорически запрещается выполнение каких-либо работ подрядчиком по устным заявлениям персонала заказчика.
11.27. Выполнение работ по эскизам и схемам персонала предприятия-заказчика без утверждения их ответственными представителями заказчика не допускается.
11.28. При реконструкции с остановкой отдельных технологических линий или части оборудования необходимо: установить пути перемещения демонтированного и монтируемого оборудования (если они не определены в ППР(р)); в особо сложных условиях рекомендуется проводить пробное перемещение макета, при помощи которого уточняется пространственная траектория подъема (опускания) груза. В тех местах, где груз перемещается в непосредственной близости от оборудования, трубопроводов и элементов зданий и сооружений, необходимо устанавливать ограничители, выполненные в виде щитов, стоек, сеток и других защитных конструкций, исключающих возможность касания; определить действующее оборудование, подлежащее временной остановке на период перемещения демонтируемого и монтируемого оборудования; организовать круглосуточную диспетчерскую связь, а также работу транспорта для доставки материалов, конструкций и оборудования.
11.29. Недемонтируемое оборудование, остающееся в монтажной зоне, должно быть обесточено и отключено от действующих коммуникаций. В тех случаях, когда действующие коммуникации (трубопроводы, электрокабели и др.), находящиеся в пределах монтажной зоны, не могут быть отключены, их необходимо ограждать защитными кожухами или сетками.
11.30. Демонтаж технологического оборудования может проводиться путем снятия с фундамента (чистого пола) полностью собранных единиц или с частичной разборкой оборудования на блоки или узлы. Демонтированное оборудование немедленно перемещается в отведенное место согласно ППР(р).
Демонтаж полностью собранных единиц оборудования производится при наличии возможности его подъема в собранном виде и перемещения внутри производственного помещения к монтажным проемам и погрузки на транспортные средства.
Частичная разборка оборудования на блоки или узлы при демонтаже производится в случае невозможности его подъема и перемещения в собранном виде. Степень разборки устанавливается в зависимости от местных условий.
Последовательность выполнения рабочих операций при демонтаже, как правило, производится в порядке, обратном порядку монтажа. В случаях их дальнейшего использования при демонтаже отдельные узлы оборудования должны быть замаркированы и уложены на временных стеллажах.
Транспортирование демонтированного оборудования в пределах цехов производится, как правило, имеющимися мостовыми кранами, а за пределами цехов - автомобильным, тракторным или железнодорожным транспортом.
При демонтаже оборудования в первую очередь должны выполняться работы, не требующие огневой резки. К огневым работам можно приступать только после проверки выполнения заказчиком работ по подготовке оборудования к демонтажу, в том числе к огневой резке (в случаях необходимости).
При реконструкции с остановкой отдельных участков (цехов) демонтаж оборудования следует производить одновременно несколькими бригадами на различных участках цеха, равноудаленных от монтажного проема, предназначенного для эвакуации демонтированного оборудования.
11.31. При демонтаже оборудования, работающего под давлением, болтовые и прочие соединения ослабляют после проверки отсутствия избыточного давления в аппарате.
Подъем демонтируемого оборудования или его узлов кранами или такелажными средствами производится только после того, как сняты все крепежные элементы и отсоединены трубопроводы. Если резьбовые соединения нельзя разобрать, крепления необходимо срезать, пользуясь ножовкой или газовой резкой. Нельзя приступать к снятию оборудования, если оно чем-либо удерживается.
11.32. До демонтажа оборудования и конструкций, установленных на железобетонных (бетонных) фундаментах, необходимо убедиться в том, что гайки фундаментных болтов сняты, а оборудование не связано с фундаментом подливкой. Перед демонтажем оборудование должно быть приподнято над фундаментом (при помощи домкратов или клиньев).
Отрывать оборудование от фундамента при помощи кранов или такелажных средств не допускается.
11.33. При выполнении работ по демонтажу оборудования, масса которого неизвестна, следует применять динамометры или другие устройства, позволяющие определять массу поднимаемого груза или усилия в стальных канатах кранов и такелажных средств.
В начале подъема производятся короткие включения грузоподъемного механизма, при этом необходимо следить, чтобы не было перекосов и заеданий поднимаемого груза.
11.34. В ходе демонтажных работ должно быть организовано непрерывное наблюдение за устойчивостью остающихся узлов, деталей и частей оборудования. После демонтажа оборудования, трубопроводов и конструкций следует убедиться в обеспечении устойчивости оставшихся недемонтированных элементов.
11.35. При подъеме грузов в действующих цехах, когда визуальные сигналы могут не дойти до исполнителей, рекомендуется пользоваться двусторонней телефонной или радиотелефонной связью.
11.36. Монтаж оборудования, конструкций и коммуникаций рекомендуется проводить "с колес". Их комплектацию, складирование и хранение следует осуществлять вне площадки реконструкции (на производственных базах монтажных организаций или в специально отведенных местах). Мелкие изделия рекомендуется доставлять к месту монтажа в контейнерах укомплектованными.
11.37. Оборудование, устанавливаемое на опорных металлоконструкциях, рекомендуется собирать предварительно с последующей установкой самоходными кранами одним блоком, вместе с опорными конструкциями.
11.38. При монтаже оборудования рекомендуется применять стыковку конструкций на высокопрочных болтах, а подъем мостовых кранов - с помощью монтажных балок.
11.39. Выверку оборудования с применением оптико-геодезического и лазерного методов на железобетонных и бетонных фундаментах (основаниях) при наличии технической возможности следует осуществлять без остающихся металлических прокладок, с использованием регулировочных винтов или инвентарных приспособлений, что должно быть предусмотрено проектной документацией.
Выверку возможно также производить на специальных шайбах, устанавливаемых на фундаментных болтах под опорной частью оборудования.
11.40. Закрепление оборудования на железобетонных (бетонных) фундаментах или основаниях рекомендуется осуществлять болтами, устанавливаемыми в высверленные отверстия в фундаментах.
11.41. При использовании существующих фундаментов под вновь устанавливаемое оборудование целесообразно применение переходных рам. Такие рамы следует изготавливать на ремонтных базах (подсобных предприятиях) заказчика по снятой исполнительной схеме расположения фундаментных болтов и отверстий под болты вновь устанавливаемого оборудования.
11.42. При установке значительного количества однотипного оборудования (например, в текстильной промышленности) монтаж его следует осуществлять методом объектного потока.
ДЕМОНТАЖ И МОНТАЖ ТРУБОПРОВОДОВ
11.43. При демонтаже участков трубопровода прилегающие части должны быть надежно укреплены.
Демонтируемая часть трубопровода перед разборкой фланцевых соединений или обрезкой должна быть застроплена. Разбирая трубопровод, необходимо принять меры против возможного резкого сдвига демонтируемых частей.
11.44. Трубопроводы следует монтировать из заранее изготовленных узлов и секций, при этом в состав узлов, как правило, должна входить трубопроводная арматура.
При раздельном монтаже крупной трубопроводной арматуры она должна поставляться с закрепленными патрубками и установленными в соответствии с проектом прокладками и крепежом.
11.45. Монтаж межцеховых трубопроводов рекомендуется выполнять вместе со строительными конструкциями (пролетными строениями), а пакеты трубопроводов, прокладываемых внутри зданий, вместе с конструкциями, на которых они закреплены.
11.46. До начала монтажа трубопроводов должно быть проверено по проекту наличие и расположение штуцеров оборудования.
11.47. Врезка смонтированных трубопроводов в действующие должна выполняться эксплуатационным персоналом.
11.48. При необходимости выполнения промывки или травления систем смазки и других трубопроводов эти операции должны выполняться в период пусконаладочных работ, предшествующих комплексному опробованию при смонтированных системах, по замкнутому контуру.
11.49. Смену прокладок, замену арматуры, приварку отводов и другие работы, связанные с нарушением плотности трубопроводов, следует производить только после отключения запорной арматуры с установкой заглушек на реконструируемом участке, а также должной очистки от транспортируемого продукта. Подготовка трубопроводов к реконструкции должна осуществляться эксплуатационным персоналом.
11.50. Работы по демонтажу и реконструкции трубопроводов в действующих цехах могут производиться только по наряду-допуску под наблюдением ответственных представителей предприятия.
ИСПЫТАНИЕ СМОНТИРОВАННОГО ОБОРУДОВАНИЯ И ТРУБОПРОВОДОВ
И ПОДКЛЮЧЕНИЕ К ДЕЙСТВУЮЩИМ СЕТЯМ
11.51. Пусконаладочные работы рекомендуется выполнять параллельно с производством монтажных работ.
11.52. В период завершения монтажных работ на объекте (или его отдельной части) рекомендуется монтирующей организации создавать комиссию по приемке работ от монтажных бригад под председательством одного из руководящих работников монтажного управления.
На комиссию возлагается проверка выполнения монтажных работ в соответствии с проектной документацией и техническими условиями, ликвидация недоделок, а также определение готовности объекта к проведению индивидуальных испытаний оборудования и коммуникаций и передаче их на комплексное опробование.
11.53. Индивидуальное испытание смонтированного при реконструкции технологического оборудования должно производиться так же, как при новом строительстве, в соответствии с указаниями соответствующих глав СНиП, правил Госгортехнадзора СССР и Госгазинспекции, ведомственными инструкциями и указаниями предприятий - изготовителей оборудования.
11.54. Индивидуальные испытания отдельных механизмов (машин) должны проводиться по мере окончания их монтажа. При неготовности постоянных источников питания (постоянных подстанций, маслоподвалов и др.) опробование должно осуществляться с помощью временных (желательно инвентарных) устройств.
11.55. Перед испытанием необходимо ознакомить участвующих с порядком проведения этих работ, а также с мерами безопасности; предупредить заранее работающих на смежных участках (в том числе эксплуатационный персонал) о времени начала и проведения испытания; закрыть доступ посторонним лицам в зону испытаний; установить при необходимости аварийную сигнализацию.
11.56. Установка и снятие каких-либо перемычек между монтируемым и действующим оборудованием, а также любые временные подключения к действующим сетям (электрическим, паровым, технологическим, водяным и др.) производятся только после согласования с заказчиком (в письменной форме).
11.57. Работы по подключению нового оборудования к действующим сетям и агрегатам, по отключению монтируемого оборудования, по комплексному опробованию и переводу оборудования на рабочий режим в соответствии с регламентами и инструкциями предприятия производятся эксплуатационным персоналом в присутствии ответственного представителя монтирующей организации или по его официальному разрешению.
11.58. Включение оборудования в постоянную эксплуатацию допускается только после закрытия наряда-допуска и оформления актов по формам, предусмотренным главой
СНиП "Приемка в эксплуатацию законченных строительством предприятий, зданий и сооружений. Основные положения".
ЭЛЕКТРОМОНТАЖНЫЕ РАБОТЫ
11.59. Подготовка, организация и управление электромонтажными работами должны осуществляться по строительным узлам и монтажно-технологическим зонам.
11.60. Для сокращения периода остановки реконструируемого объекта в доостановочный период должны быть выполнены максимально возможный объем работ по заготовке, комплектации и укрупнению конструкций, а также подготовка электрооборудования к монтажу (выполнены необходимые пусконаладочные работы).
11.61. Электромонтажные работы, как правило, должны опережать работы по монтажу технологического оборудования с тем, чтобы обеспечить возможность своевременного выполнения его индивидуального испытания.
МОНТАЖ (ДЕМОНТАЖ) СИСТЕМ ВЕНТИЛЯЦИИ И КОНДИЦИОНИРОВАНИЯ
ВОЗДУХА, ВНУТРЕННИХ САНИТАРНО-ТЕХНИЧЕСКИХ СИСТЕМ
11.62. Рекомендации распространяются на демонтаж и монтаж систем отопления, внутренних водопроводных, канализационных и водосточных сетей, систем вентиляции и кондиционирования воздуха.
Производство внутренних санитарно-технических и вентиляционных работ должно осуществляться применительно к требованиям главы
СНиП "Правила производства и приемки работ. Санитарно-техническое оборудование зданий и сооружений" и соответствующих инструкций и указаний Минмонтажспецстроя СССР.
11.63. Производство работ по переоборудованию вентиляционных устройств действующих взрывоопасных производств разрешается в нерабочие дни после очистки воздуховодов и вентиляционного оборудования от взрывоогнеопасных отложений.
11.64. Приемка в эксплуатацию санитарно-технического оборудования зданий и сооружений должна производиться в соответствии с главой III части
СНиП "Санитарно-техническое оборудование зданий и сооружений".
ДОПОЛНИТЕЛЬНЫЕ ТРЕБОВАНИЯ К ПРОЕКТНОЙ ДОКУМЕНТАЦИИ
11.65. В ходе предпроектного обследования в дополнение к
п. 1.32 следует установить: объем работ по ревизии и ремонту оборудования, трубопроводов и кабельной сети, используемых в процессе реконструкции предприятия (объекта); необходимость устройства обводов трубопроводов, кабельных и воздушных электролиний, проходящих через реконструируемые цехи и обеспечивающие другие (нереконструируемые) объекты.
| | ИС МЕГАНОРМ: примечание. Постановлением Госстандарта России от 28.08.1998 N 338 с 01.01.1999 введен в действие ГОСТ 13109-97. | |
11.66. При обследовании электротехнической части рекомендуется: выявить фактические нагрузки на трансформаторах, распределительных пунктах, кабелях и щитах; составить действующие схемы высоковольтного и низковольтного электроснабжения; проверить соответствие качества электрической энергии по ГОСТ 13109-67; проверить соответствие степени огнестойкости несущих строительных конструкций электротехнических помещений действующим пожарным нормам; определить величины удельного сопротивления грунта и схемы сети заземления в зоне реконструкции.
11.67. При разработке проектно-сметной документации должны: учитываться особенности
пп. 1.26 -
1.30 реконструкции, увеличивающие продолжительность монтажа и влияющие на производительность труда при монтажных работах; разрабатываться организационные мероприятия (ПОС
(р)) и приниматься проектные решения, снижающие отрицательное влияние этих особенностей.
11.68. Технология выполнения отдельных операций монтажа оборудования, обслуживающих конструкций, трубопроводов и кабельной сети на реконструируемых объектах, как правило, не отличается от технологии их на новых объектах.
11.69. Проектно-сметная документация предприятий (объектов) должна разрабатываться и выдаваться комплектно, согласно разбивке реконструируемого предприятия на узлы.
11.70. Проектно-сметная документация кроме предусмотренной в
Инструкции по разработке проектов и смет для промышленного строительства и в
Инструкции по разработке проектов организации строительства и проектов производства работ должна содержать: ведомости демонтированного оборудования, трубопроводов, конструкций, электрокабелей и других изделий, подлежащих использованию при реконструкции, передаче другим организациям, списанию полностью или с указанием об использовании отдельных деталей; перечень существующих фундаментов под оборудование, подлежащих использованию при реконструкции, а при необходимости чертежи на их переделку (усиление), включая изготовление переходных рам; указания способов освобождения демонтируемого оборудования, трубопроводов и конструкций от связей с фундаментами и несущими конструкциями, а также по способам временного закрепления оборудования, трубопроводов и конструкций, связи которых нарушаются.
11.71. При разработке проектов для ускорения монтажа рекомендуется: технологические линии, установки и агрегаты для объектов реконструкции проектировать, как правило, в виде блоков, включающих оборудование, обвязочные трубопроводы, опорные и обслуживающие конструкции; применять электрооборудование с бесфундаментной установкой (комплектные трансформаторные подстанции и тиристорные преобразователи, объемные посты управления, индустриальные электротехнические помещения и др.); применять, как правило, нормализованные изделия, выпускаемые предприятиями Минмонтажспецстроя СССР (детали трубопроводов, резервуарные заготовки, магистральные, распределительные, троллейные и осветительные шинопроводы, универсальные конструктивные элементы в погонажном исполнении, короба, лотки и др.); проектировать установку оборудования и обслуживающих конструкций на общих основаниях (фундаментах или железобетонных плитах), а их закрепление осуществлять в необходимых случаях болтами в сверленых отверстиях; применять в действующих взрыво- и пожароопасных производствах монтажные соединения на обычных и высокопрочных болтах (взамен сварки).
11.72. Проект организации реконструкции ПОС(р) в части монтажных работ, разрабатываемый, как правило, специализированными проектными монтажными организациями по заданию генпроектировщика и подлежащий согласованию с заказчиком и подрядчиком должен содержать: категории производств, расположенных на территории реконструируемого предприятия по взрывной, взрывопожарной и пожарной опасности; перечень и технические характеристики эксплуатационных грузоподъемных механизмов (краны), используемых при демонтаже и монтаже оборудования и трубопроводов; места площадок складирования демонтированных оборудования, трубопроводов и конструкций; очередность и порядок совмещения эксплуатации предприятия с выполнением монтажных работ с указанием цехов и участков, которые на время производства монтажных работ останавливаются; порядок и способы защиты действующего оборудования при производстве демонтажных и монтажных работ; сложные схемы демонтажа; состав работ подготовительного периода; перечень действующих коммуникаций (воды, пара, сжатого воздуха, кислорода и др.), которые могут быть использованы при реконструкции с указанием мест подключения к ним временных трубопроводов; сведения о возможности использования ремонтных и других служб заказчика; перечень работ, выполняемых в условиях, на которые распространяются удорожающие факторы (работа в условиях действующего оборудования, стесненные условия, работа на высоте, в загазованной среде, при повышенной температуре и др.).
ДОПОЛНИТЕЛЬНЫЕ ТРЕБОВАНИЯ К ЗАКАЗЧИКУ
11.73. В особые условия к договору подряда на монтаж оборудования и трубопроводов реконструируемых объектов в обязательства заказчика рекомендуется включать подготовку к демонтажу оборудования и трубопроводов - опорожнение, отключение заглушками, очистку, промывку, продувку, проверку выполнения указанных операций по оборудованию и трубопроводам; дегазацию и нейтрализацию поверхностей оборудования, обслуживающих конструкций и трубопроводов; передачу подрядчикам в согласованные сроки разрешений на выполнение огневых (сварочных) работ в цехах; обеспечение услугами ремонтно-механических цехов и газоспасательных станций; выполнение необходимых химических анализов в лабораториях предприятия; доврачебную и врачебную помощь строительно-монтажным рабочим и ИТР в здравпунктах и поликлиниках предприятий (при достаточной пропускной способности); обеспечение (при наличии) требующимися средствами индивидуальной защиты при работе в газоопасной среде.
12. СПЕЦИАЛЬНЫЕ СТРОИТЕЛЬНЫЕ РАБОТЫ
ОБМУРОВОЧНЫЕ РАБОТЫ
12.2. До начала обмуровочных работ необходимо отключить тепловой агрегат от действующих агрегатов, воздухо- и газопроводов, воздухогазоподогревателей, установив на них металлические заглушки, а также от сетей электро-, тепло- и водоснабжения.
Все газопроводы должны быть продуты последовательно паром и воздухом.
Перед разборкой кладки и демонтажем металлоконструкций и гарнитуры теплового агрегата необходимо обследовать его состояние, составить акт и на его основе разработать проект производства работ ППР(р) по демонтажу агрегата, определяющий меры предупреждения внезапных обрушений и устанавливающий последовательность и безопасность выполнения работ.
При охлаждении водой перед разборкой горячей кладки поливку водой из шланга следует вести, разбрызгивая воду тонкой струей, чтобы избежать ожогов паром.
Перед началом работ необходимо ознакомить рабочих и инженерно-технических работников с указанным ППР(р) и проинструктировать их о безопасных мерах разборки.
12.3. Разборка должна производиться под постоянным руководством производителя работ или мастера.
Элементы агрегата, угрожающие обрушением, должны быть укреплены или удалены до начала разборки агрегата.
Заменяемую кладку разрешается разбирать только после принятия мер, обеспечивающих устойчивость остающихся конструкций и кладки.
Запрещается разборка сооружения одновременно на нескольких ярусах по высоте.
Зашлакованная и изношенная кладка удаляется путем вырубания отбойными молотками, в трудноподдающихся разборке местах применяют мелкие взрывы.
Во всех случаях разборку металлоконструкций, гарнитуры, кладки следует вести с учетом их возможного повторного использования.
12.4. Для сокращения сроков проведения работ по реконструкции рекомендуется организовать монтаж тепловых агрегатов отдельными укрупненными узлами или полностью собранными агрегатами, заготовленными заблаговременно на стороне и по возможности зафутерованными.
12.5. При реконструкции следует стремиться к максимально возможному восстановлению оставшейся изношенной части кладки методом торкретирования. Торкрет-бетоны могут быть применены для ремонта футеровки при толщине всех наносимых слоев до 250 мм. Технология торкретных работ, рекомендуемые составы торкрет-бетона, уход за ним, продолжительность выдерживания и контроль качества должны быть изложены в рабочих чертежах проекта.
ТЕПЛОИЗОЛЯЦИОННЫЕ РАБОТЫ
12.6. Настоящее Руководство распространяется на организацию и технологию работ при выполнении тепловой изоляции оборудования, резервуаров, трубопроводов, газоходов и воздуховодов.
Теплоизоляционные работы должны выполняться в соответствии с требованиями главы III части
СНиП "Кровли, гидроизоляция, пароизоляция и теплоизоляция".
12.7. Работы по демонтажу тепловой изоляции разрешается выполнять при отключении оборудования, трубопроводов, воздуховодов и газоходов от действующих агрегатов и технологических линий с полным освобождением их от теплохладоносителя, а также при отключении сетей электро-, тепло,- газо- и водоснабжения от их источников с установкой в необходимых случаях заглушек.
К работам по демонтажу изоляции разрешается приступать при наличии справки-разрешения о готовности оборудования и трубопроводов для безопасного производства работ, выдаваемой монтажной организации заказчиком или генподрядчиком.
Работы по демонтажу изоляции следует производить, начиная с верхних отметок в направлении сверху вниз, с обеспечением мер, исключающих попадание остатков материалов на действующее оборудование.
12.8. Технические решения по обеспечению безопасного и производительного труда изолировщиков при выполнении реконструкции без остановки предприятия или с остановкой отдельных цехов, технологических линий в цехах должны предусматривать применение специальных устройств и приспособлений, обеспечивающих как безопасность обслуживающего персонала предприятия и сохранность действующего оборудования технологических линий, так и безопасность рабочих, занятых на работах по демонтажу и монтажу изоляции оборудования и трубопроводов. К таким устройствам относятся защитные навесы, ограждения, вентиляционные установки и др.
Ограждению подлежат рабочие зоны изолировщиков или зоны обслуживания технологических линий, а также проезды и проходы внутри цехов или на территории установок.
Защитные навесы применяются в случаях, когда теплоизоляционные работы выполняются над зоной обслуживания технологических линий и устанавливаются над оборудованием этих линий.
Вентиляционные установки устраиваются в рабочей зоне изолировщиков и предназначены для отсоса пылевидных частиц материалов для избежания попадания их на оборудование действующих технологических линий.
АНТИКОРРОЗИОННЫЕ РАБОТЫ
12.9. Настоящие рекомендации распространяются на организацию работ по защите от коррозии металлических, бетонных и кирпичных строительных конструкций и сооружений, а также технологического оборудования и имеют в виду устройство химически стойких покрытий, предохраняющих защищаемые поверхности от коррозии, возникающей под воздействием почвенных вод, жидких и твердых агрессивных сред, технологических газов и паров химических производств разных отраслей при различных температурно-влажностных условиях.
Все виды работ по защите от коррозии следует проводить в соответствии с требованиями и указаниями следующих нормативных документов: главы III части СНиП "Защита строительных конструкций и сооружений от коррозии", ГОСТ 12.3.016-79 "Антикоррозионные работы при строительстве. Техника безопасности", "
Правил устройства электрооборудования" (ПУЭ); Инструкции по производству электромонтажных работ во взрывоопасных помещениях и на наружных установках Минмонтажспецстроя СССР.
По гуммировочным работам дополнительно следует руководствоваться Сборником инструкций по защите от воздействия высокоагрессивных сред Минмонтажспецстроя СССР и Руководящими техническими материалами (РТМ) по защитным гуммированным покрытиям НИИ резиновой промышленности.
Защита от коррозии строительных конструкций должна осуществляться по проектам (чертежи марки АК), разработанным в соответствии с требованиями главы II части
СНиП "Защита строительных конструкций от коррозии", ГОСТ 9.101-78 "Единая система защиты от коррозии и старения" и соответствующих технологических инструкций Минмонтажспецстроя СССР.
12.10. Производство антикоррозионных работ в условиях реконструкции выполняется только при наличии ППР(р), составленного с учетом особенностей выполнения работ на действующем предприятии.
Схемы организации работ по защите от коррозии составляются в ППР(р) для каждого цеха, сооружения, установки, аппарата (группы аппаратов) и газоходов.
В ППР(р) должны быть предусмотрены преимущественно индустриальные способы производства работ. Защиту от коррозии аппаратов колонного типа, малогабаритных аппаратов, газоходов, стволов и конструкций несущих каркасов высотных труб следует осуществлять на земле до их установки в проектное положение. На местах их стыков антикоррозийное покрытие наносится по указаниям проекта в зависимости от их размеров и вида покрытия.
Технические решения в ППР(р) по технике безопасности при выполнении антикоррозионных работ, при реконструкции без остановки предприятия или с остановкой отдельных цехов, технологических линий, установок в цехах, должны предусматривать специальные устройства и приспособления, обеспечивающие безопасность обслуживающего персонала предприятия, сохранность действующего оборудования, безопасность рабочих, занятых при выполнении работ по монтажу, демонтажу и защите от коррозии.
К таким устройствам и приспособлениям относятся ограждения, защитные навесы, вентиляционные установки и электроустановки во взрывобезопасном исполнении и другие решения по охране труда.
12.11. Работы по снятию защитного покрытия следует производить, начиная с верхних отметок в направлении сверху вниз с обеспечением мер, исключающих попадание остатков материалов на действующее оборудование.
12.12. До начала работ по защите от коррозии (в том числе и ремонтных) в условиях реконструкции предприятия специализированной монтажной организации должен быть выдан наряд-допуск.
12.13. Приемку оборудования и строительных конструкций под нанесение защитных покрытий следует осуществлять по главе III части СНиП "Защита строительных конструкций и сооружений от коррозии", а ремонт защитных покрытий - по сборнику соответствующих инструкций Минмонтажспецстроя СССР.
12.14. При выполнении окрасочных и других работ по защите от коррозии объектов реконструкции на действующих предприятиях обязательно соблюдение следующих условий:
должна быть обеспечена огнестойкость помещения и его изоляция от смежных;
выполнение окрасочных работ должно производиться в смены, когда другие работы в цехе не производятся;
во время работы и по окончании ее помещения должны проветриваться. Забор чистого приточного воздуха снаружи должен производиться на высоте не менее 2 м от уровня земли в местах наименьшего его загрязнения;
обязательно выключать во время окрасочных работ все виды оборудования, вызывающие искрообразование (наждачные точила, электрические подъемные устройства и т.п.);
запрещается пребывание на участках окрашивания работников, не связанных с производственными процессами;
участки окрашивания должны обеспечиваться необходимыми средствами огнетушения;
рабочие должны быть обеспечены средствами индивидуальной защиты;
в окрасочном отделении при окрашивании должно одновременно находиться не менее двух человек;
конструкции вентиляторов и регулирующих устройств должны быть выполнены во взрывобезопасном исполнении.
12.15. При выполнении гуммировочных работ необходимо все работы в цехе приостановить; в радиусе 25 м от места ведения работ все электрооборудование, выполненное в обычном исполнении, обесточить; все вновь устанавливаемое электрооборудование, а также и другое оборудование в металлическом исполнении, включая леса, заземлить, а заземляющие шины проверить на сопротивление токорастеканию, которое не должно превышать 4 Ом; бригада гуммировщиков должна состоять не менее чем из трех человек, из них один страхующий; всех рабочих (в том числе и в подготовительном отделении) обеспечить средствами индивидуальной защиты, а также газоанализаторами.
12.16. Временные отделения для раскроя и дублирования резины должны быть расположены в помещениях, отвечающих требованиям помещений категории А по главе II части
СНиП "Производственные здания промышленных предприятий".
13. ПЕРЕКЛАДКА ИНЖЕНЕРНЫХ КОММУНИКАЦИЙ
ОБЩИЕ ВОПРОСЫ
13.2. Прокладываемые при реконструкции коммуникации разделяются на три группы: расположенные вне территории предприятия, соединяющие сети предприятия с магистральными линиями; расположенные на территории предприятия; разводки внутри цехов и помещений, перекладываемые наиболее часто в связи с заменой технологического оборудования.
При проектировании организации перекладки коммуникаций перечисленных групп необходима следующая увязка и согласование:
первой группы - кроме дирекции предприятия требуется согласование с исполкомами местных Советов народных депутатов;
второй группы - увязка с внецеховой деятельностью предприятия (движение транспорта, предохранение других коммуникаций, зеленых насаждений и др.), согласование с дирекцией;
третьей группы - увязка перекладки с работами в цехах вблизи действующего оборудования, обеспечение безопасности, оформление при необходимости нарядов-допусков, согласование с руководством цехов.
13.3. Перекладка коммуникаций при реконструкции производится в следующих случаях: при их несоответствии увеличиваемой при реконструкции мощности предприятия; при изменении трасс в связи с расширением старых или постройкой новых корпусов; для освобождения территории работ.
13.4. При организации перекладки коммуникаций в условиях реконструкции, кроме особенностей выполнения всех видов работ, перечисленных в
п. 1.26 -
1.30 Руководства, должны быть учтены следующие условия: большое количество пересечений вновь прокладываемыми линиями ранее проложенных коммуникаций; необходимость более широкого применения закрытых способов прокладки; необходимость устройства в ряде случаев временных переездов для автомашин и железнодорожного подвижного состава; необходимость во многих случаях переключения действующих коммуникаций без перерывов в их функционировании.
РАЗДЕЛ ППР(р) "ПЕРЕКЛАДКА ИНЖЕНЕРНЫХ КОММУНИКАЦИЙ"
13.5. В составе данного раздела должны быть разработаны следующие документы: стройгенплан, графики выполнения работ и завоза материалов, технологические схемы производства работ, решения по предохранению от повреждений пересекаемых коммуникаций, конструкции временных переездов, указания по технике безопасности, контролю качества, пояснения и расчеты, обосновывающие принятые решения.
13.6. Исходными данными при разработке ППР(р) являются: проект перекладки сетей, ПОС(р), материалы предпроектных обследований, согласования сроков и способов выполнения работ с заказчиком, генподрядчиком и местными органами (при работах вне территории предприятия).
13.7. Особо важное значение для данного вида работ имеет нанесение на стройгенплане всех ранее проложенных коммуникаций. На этом документе должна быть указана очередность выполнения работ, пути движения транспорта, подвозящего материалы для коммуникаций, места укладки грунта для обратной засыпки, ширина полос, с которых срезается растительный грунт, места его хранения, переезды для авто- и железнодорожного транспорта, мостики через траншеи для пешеходов, места хранения материалов, стоянки машин, линии временного освещения и др.
Для участков, где выполняются сложные работы (переходы под или над автомобильными и железными дорогами, раскопка траншей вблизи фундаментов зданий и оборудования и др.), разрабатываются детализированные стройгенпланы в масштабе 1:200 с изображением расположения машин, оборудования, материалов и т.п.
13.8. Графики выполнения работ и завоза материалов составляются на основании ПОС(р). Сроки выполнения работ на отдельных участках согласовываются с заказчиком и генподрядчиком. Общая последовательность выполнения работ на наружных и внутренних заглубленных коммуникациях должна назначаться с учетом опережения строительно-монтажных работ и монтажа оборудования.
Прокладка внутренних настенных и расположенных в межферменных пространствах коммуникаций выполняется по мере готовности соответствующих конструкций.
В графиках выполнения работ должны быть указаны сроки испытаний участков прокладываемых линий. Рекомендуется, с целью более быстрой обратной засыпки траншей, проводить эти испытания на участках меньшей, чем при новом строительстве, протяженности.
13.9. Материалы, детали, конструкции, оборудование для коммуникаций должны завозиться на объект с расчетом обеспечения бесперебойной работы. Доставка их к местам укладки осуществляется по мере монтажа.
13.10. Технологические схемы являются важным организационным документом, в них должны быть отражены расположение средств механизации, материалов, деталей, конструкций на рабочих местах; способы опускания, сопряжения, заделки, засыпки, уплотнения грунта, конструкции, приспособления, оснастки, составы звеньев и др.
При решении некоторых технологических (строительных) вопросов, например, отрывка траншей вблизи от фундаментов, должно быть получено указание проектной организации.
При решении вопросов технологии рекомендуется пользоваться типовыми технологическими картами.
13.11. По вопросам контроля качества необходимо указать на каком этапе, какие контрольные мероприятия должны проводиться, какие применяются методы, аппаратура, какие документы составляются.
13.12. При решении вопросов техники безопасности следует руководствоваться главой
СНиП "Техника безопасности в строительстве", указаниями
главы 16 данного Руководства. В ППР
(р) должны быть даны рекомендации при каких работах возле действующих коммуникаций на данном предприятии исполнителям должны выдаваться наряды-допуски, а должностные лица должны присутствовать на местах выполнения опасных и ответственных работ.
ПОДГОТОВКА К ПРОКЛАДКЕ КОММУНИКАЦИЙ
13.13. К подготовительным мероприятиям относятся разбивка и закрепление трасс с установкой в необходимых случаях реперов; снятие и обвалование растительного грунта; обозначение на трассе всех пересекающихся коммуникаций; защита пересекающихся коммуникаций от повреждений.
13.14. Разбивка и закрепление трасс выполняется как при новом строительстве. Растительный грунт должен срезаться на всей ширине полосы, в пределах которой будут перемещаться средства механизации, участвующие в перекладке коммуникаций. Толщина срезаемого слоя 12 - 15 см. Для срезания используются самоходные грейдеры, которые последовательными проходами одновременно перемещают грунт на одну из сторон от траншеи
(рис. 43).
Рис. 43. Схема расположения грунта и рабочих мест
при прокладке коммуникаций
1 - растительный грунт; 2 - минеральный грунт;
3 - полоса расположения материалов и средств механизации
13.15. Для обозначения на трассе пересекающих коммуникаций предварительно на местности уточняется их положение. Уточнение может быть выполнено одним из следующих способов: по смотровым колодцам с помощью вех и реек; с помощью аппаратуры (средства для уточнения трасс подземных коммуникаций приведены в
табл. 19); путем отрывки траншей (шурфов).
Наименование приборов | Марка | Обнаруживаемые коммуникации | Глубина заложения коммуникаций, м, до | Возможные отклонения от истинного положения коммуникаций, см |
Трассоискатель | ИСК-1 | Кабели и трубопроводы | 1,5 | +/- (10 + 20) |
ВТР-IV | Трубопроводы | 1,5 | +/- (10 + 20) |
ИП-12-2М | Кабели и трубопроводы | 2 | +/- (10 + 20) |
ВТР-V | Трубопроводы | 2 | +/- (20 + 30) |
Кабелеискатели | КИ-2 | Линии связи | 2 | +/- (20 + 30) |
КИ-3 | То же | 2,5 | +/- (30 + 40) |
ИПКТ | Кабели и трубопроводы | 3,5 | +/- (30 + 50) |
Металлоискатели | МТКИ | Металлические коммуникации | 2,5 | +/- (30 + 50) |
13.16. Пересекаемая действующая коммуникация должна быть предохранена от повреждений одним из способов, рекомендуемых в
пп. 13.17 -
13.19.
ПРЕДОХРАНЕНИЕ ДЕЙСТВУЮЩИХ КОММУНИКАЦИЙ
ПРИ ПЕРЕСЕЧЕНИИ ИХ ТРАСС
13.17. Все коммуникации реконструируемого предприятия, пересекающие трассы вновь прокладываемых сетей, должны быть нанесены на генплан. До начала работ положение их должно быть уточнено на местности с помощью промеров, приборов или путем отрывки шурфов и обозначено приколками, столбиками, не нарушаемыми при отрывке траншей.
13.18. Отрывка траншей в местах их пересечения коммуникациями должна выполняться с соблюдением указаний глав III части СНиП
"Техника безопасности в строительстве" и "Земляные сооружения". В особо ответственных случаях на работы должен быть выдан наряд-допуск.
13.19. Действующие коммуникации, вскрываемые при отрывке пересекающих их траншей, должны быть защищены от механических повреждений, связанных с выполнением работ на всех их этапах, а также от охлаждения и замерзания в холодное время года.
Проект защиты должен быть разработан в составе документов ППР(р).
На
рис. 44 изображены некоторые из решений по защите вскрываемых коммуникаций от механических повреждений.
Рис. 44. Защита вскрываемых коммуникаций
от механических повреждений
а - газопроводов, бесканальных теплосетей, других стальных
трубопроводов всех диаметров; б - кабелей; в - каналов
и канальных теплосетей при диаметре до 400 мм;
г - водопровода и канализации из чугунных, асбестоцементных
и железобетонных труб диам. до 600 мм, длиной 4 - 6 м;
д - то же, при диам. до 700 мм и длине 3 - 5 м; 1 - скрутки
из стальной проволоки диам. 5 мм; 2 - дощатый короб;
3 - кабель; 4 - подтоварник диам. до 14 мм; 5 - доски 25 мм;
6 - двутавр N 16; 7 - стальной канат диам. 28 мм;
8 - двутавр N 10; 9 - брус 14 x 14 см; 10 - обкладка
из реек 25 мм; 11 - стальной канат 14 мм
ОТКРЫТАЯ ПРОКЛАДКА КОММУНИКАЦИЙ
13.20. При проектировании трасс перекладываемых коммуникаций не следует намечать их расположение в непосредственной близости от ранее проложенных; при несоблюдении этой рекомендации возникают дополнительные ручные земляные работы.
13.21. Открытая прокладка труб под автомобильными дорогами может быть выполнена одним из следующих способов:
закрытия движения на дороге и переносом его на временно объездной путь;
переноса движения на одну из половин проезжей части;
устройства временного переездного моста.
Первый способ в нестесненных условиях наиболее рационален, он пояснений не требует.
Второй способ требует предварительного проведения мер безопасности. Место, где разбирается покрытие и отрывается траншея, должно быть ограждено, с обеих сторон на установленных правилами дорожного движения расстояниях должны быть установлены общепринятые предупреждающие знаки, в ночное время опасное место оборудуют предупреждающими сигналами.
При третьем способе на месте отрывки траншеи на автодороге предварительно устраивают временный переездной мост. Один из вариантов конструкции такого моста изображен на
рис. 45. Временный переездной мост состоит из звеньев шириной 2 - 2,5 м, изготовленных из двутавровых балок с деревянным настилом. К концам звеньев крепятся деревянные въездные панели.
Рис. 45. Временный мост для автомобильной дороги
1 - продольные двутавровые балки; 2 - поперечные балки;
3 - деревянные скошенные прогоны; 4 - настил; 5 - брусья;
6 - скрепляющие детали; 7 - дорожное покрытие
13.22. При этом способе на дороге также должны быть установлены предупреждающие знаки об устройстве временного моста.
13.23. Открытая прокладка коммуникаций под железной дорогой может быть осуществлена без перерыва в ее эксплуатации на период устройства временного моста или этот перерыв может быть минимальным. Существует несколько вариантов конструкций таких мостов, один из них - мост из рельсовых пакетов - изображен на
рис. 46.
Рис. 46. Усиление железнодорожного пути над траншеей
с помощью рельсовых пакетов
1 - путевой рельс; 2 - рельсовый пакет; 3 - хомут;
4 - скобы; 5 - деревянный упор; 6 - крепление траншей;
7 - опорные шпалы
При этой конструкции под действующий путь укладываются дополнительные шпалы и пакеты из рельсов, скрепляемые со шпалами с помощью хомутов. Рельсовые пакеты должны быть рассчитаны на восприятие эксплуатационных нагрузок. После устройства временного моста под путем отрывается траншея с закреплением ее стенок, прокладывается футляр из труб, траншея засыпается с тщательным уплотнением грунта. Затем в футляр укладываются трубы.
При другом варианте под шпалы действующего пути подводятся металлические балки, опираемые на дополнительно подведенные шпалы. После скрепления шпал пути с балками с помощью хомутов приступают к отрывке траншеи.
13.24. Прокладку надземных коммуникаций, расположенных на опорах или эстакадах, когда не допускается перерыв в работе заменяемых линий, выполняют путем наращивания опор или эстакад по высоте.
ПРОКЛАДКА КОММУНИКАЦИЙ ЗАКРЫТЫМИ СПОСОБАМИ
13.25. Закрытыми способами можно прокладывать трубопроводы и кабели под автомобильными и железными дорогами, под другими коммуникациями, а также под зданиями.
Закрытые способы прокладки нельзя применять в грунтах, где имеются каменистые включения, в насыпных грунтах, содержащих твердые предметы (камни, бетон, куски металла, крупные куски дерева и др.). При проведении работ в водонасыщенных грунтах требуется предварительное водопонижение.
Основными закрытыми способами являются: продавливание, прокалывание, горизонтальное бурение и пневмопробивка.
13.26. Схема технологического процесса продавливания и прокалывания изображена на
рис. 47. Последовательность выполнения работ такова: после разбивки оси закрытого перехода отрываются рабочий и приемный котлованы; закрепляется передняя стенка рабочего котлована, а у задней его стены монтируется упорная плита; укладываются направляющие устройства и монтируется оборудование для продавливания (прокалывания); продавливается футляр с периодической или непрерывной выборкой грунта и наращиванием длины футляра; подготавливается рабочий трубопровод и протягивается (проталкивается) через футляр; герметизируется трубопровод в футляре с установкой сальников, если они предусмотрены; трубопровод присоединяется к магистрали, монтируются колодцы (если они предусмотрены), разбирается крепление, засыпается котлован.
Рис. 47. Схема технологического процесса прокладки
коммуникаций методом продавливания (прокалывания)
1 - рабочий котлован; 2 - приемный котлован; 3 - упорная
плита; 4 - домкрат; 5 - насос; 6 - соединительные трубки;
7 - труба-вставка; 8 - подкладки; 9 - направляющие балки;
10 - приямок для сварки звеньев; 11 - приямок для сбора
и откачки воды; 12 - крепление стенок котлована;
13 - продавливаемый футляр
13.27. Способом продавливания можно прокладывать футляры диаметром до 1720 мм при их длине до 60 м. При этом способе на переднем конусе футляра укрепляется кольцевой нож. Грунт из футляра удаляется механизированным способом. При диаметрах 820 - 920 мм и более возможно удаление грунта вручную.
В
табл. 20 приведены характеристики некоторых установок для продавливания стальных футляров.
Характеристики | Установка |
СКГ Главмосстроя | ПУ-2 | "Запорожье" |
Диаметр футляра, мм | 920 | 1220, 1420 | 325 - 1420 |
Наибольшая длина прокладки, м | 60 | 60 | 70 |
Скорость прокладки, м/смена | До 18 | До 8,5 | 20 |
Мощность установки, кВт | 51,5 | 45 | 25 |
Общая масса комплекта оборудования, т | 13 | 13,6 | 12 |
Изготовитель (разработчик) | Главмосстрой | ЦНИИПодземмаш | - |
13.28. Величины усилий, требующихся для продавливания, можно определять по графикам
(рис. 48).
Рис. 48. График для определения усилий, требующихся
для продавливания стальных футляров (пунктирная
линия - для песчаных грунтов, сплошная - для глинистых)
а - при разработке грунта через 2 м; б - при разработке
грунта на линии кромки ножа
Характеристики гидродомкратов, применяющихся при продавливании и прокалывании, приведены в
табл. 21.
Характеристики | Гидродомкрат |
ГД-170/1150 | ГД-170/1600 | ГД-500/600 |
Усилие, кН, при ходе: | | | |
прямом | 1700 | 1700 | 5000 |
обратном | 880 | 490 | - |
Ход штока, мм | 1150 | 1600 | 600 |
Масса, кг | 547 | 1070 | 990 |
13.29. Технологический процесс прокалывания отличается от продавливания лишь тем, что на переднем конце прокалывающего футляра укрепляется стальной конус, раздвигающий грунт в стороны. Сопротивление при прокалывании больше чем при продавливании, поэтому оно применяется при малых диаметрах футляров (до 420 мм).
Имеется две разновидности установок для прокалывания: статического принципа действия с использованием гидродомкратов и динамического действия, при которых используются вибромолоты.
Величины усилий, требующиеся для прокалывания статическим методом, могут быть определены по графику
(рис. 49).
Рис. 49. График для определения усилий при прокладке
футляров прокалыванием (пунктирная линия - для песчаных
грунтов, сплошная - для глинистых)
13.30. При горизонтальном бурении скважин в рабочем котловане монтируются буровая установка и футляр, продвигаемый одновременно с бурением вслед за буровой головкой. Диаметр бурения на 50 - 70 мм больше диаметра прокладываемого футляра. При небольшой длине перехода футляр может быть сварен заранее целиком, при большой длине он удлиняется по мере его продвижения. Разбуренный грунт перемещается внутри кожуха шнеком. Режущая головка в устойчивых грунтах опережает передний край футляра на 40 - 50 мм, в неустойчивых - она удаляется на 400 - 500 мм вглубь кожуха.
Технические характеристики некоторых установок горизонтального бурения приведены в
табл. 22.
Характеристики | Установка |
УГБ-4 | УГБ-5 | УГБ-2 | ГБ-1421 | ГБ-1621 |
Диаметр футляра, мм | 325, 426 | 630, 720 | 1220 | 1220 | 1720 |
Длина прокладки, м | До 60 | 40 - 60 | До 40 | До 50 | До 60 |
Мощность двигателя, кВт | 29 | 40,5; 44 | 40,5; 44 | 51,5 | 49 |
Скорость бурения, м/ч | 1,8 - 19 | 1,8 - 18 | 1,8 - 18,5 | 1,5 - 12,7 | 1,37 |
Масса установки с оборудованием, т | 12,9 | 18,5 | 12 | 16 | 44,8 |
13.31. Пневмопробивка применяется для создания в устойчивых грунтах горизонтальных, вертикальных и наклонных сквозных и глухих скважин диаметром до 400 мм.
Пневмопробойники приводятся в действие сжатым воздухом от компрессоров.
Технические характеристики некоторых пневмопробойников приведены в
табл. 23.
Характеристика | Пневмопробойники |
ИП-4601А | ИП-4603 |
Диаметр скважины, мм | 135 - 250 | 130 - 200 |
Длина скважины, м | 50 | 50 |
Скорость проходки, м/ч | 6 - 60 | 1 - 40 |
Масса, кг | 80 | 90 |
Примечание. Для получения больших диаметров скважин пневмопробойники укомплектовываются набором расширителей.
13.32. Для протягивания (проталкивания) сборных (керамических, асбоцементных и др.) трубопроводов через футляры применяются различные вспомогательные устройства (подкладные рамы) из круглой, уголковой стали, полозья и др.
К подкладным рамам крепится тяговый канат для присоединения к лебедке или другому средству тяги.
Для предохранения изоляции трубопровода от повреждений при протягивании он должен быть обложен деревянными рейками, скрепленными проволочными скрутками.
14. ПРИМЕНЕНИЕ ВЗРЫВНЫХ МЕТОДОВ В УСЛОВИЯХ РЕКОНСТРУКЦИИ
ОБЩИЕ ВОПРОСЫ
14.1. При проектировании организации взрывных работ в условиях реконструкции, а также при их проведении, наряду с данными и соответствующими нормативными документами следует руководствоваться Едиными правилами безопасности при взрывных работах, Техническими правилами ведения взрывных работ на дневной поверхности, Нормативным справочником по буровзрывным работам, Руководством по укрытиям, предотвращающим или снижающим дальность разлета осколков при производстве взрывов в стесненных условиях и Техническими правилами ведения взрывных работ в энергетическом строительстве.
14.2. В условиях реконструкции взрывные работы могут выполняться для следующих целей: обрушение зданий и сооружений на их основание; обрушение сооружений в заданном направлении; дробление фундаментов и других конструкций из бетона и железобетона; образование камуфлетных полостей для уширения буронабивных свай и грунтовых анкеров.
14.3. Работы, связанные с применением взрывных методов, должны быть организованы и выполняться на основании раздела ППР(р) "Производство буровзрывных работ", составленного по предварительно подготовленному техническому заданию.
14.4. Задание на проектирование производства взрывных работ подготавливается генподрядной строительной организацией совместно с организацией - исполнителем взрывных работ и согласовывается с заказчиком. Оно должно содержать следующие данные: характер и объемы взрывных работ; сроки их выполнения; материалы обследования конструкций и мест выполнения работ; сведения о способах разработки взорванной массы; сведения о наличии буровых машин, механизмов, источниках получения электроэнергии, сжатого воздуха и др.; условия проведения взрывных работ, влияющие на способы их выполнения, определяющие меры сохранения близрасположенных объектов и конструкций, а также состав мероприятий по технике безопасности; сведения об имеющихся в наличии взрывчатых материалах, средствах взрывания, местах их получения и хранения.
К заданию прикладываются ситуационный план (стройгенплан) в масштабе 1:1000 до 1:2000, представляемый генподрядчиком; схема подземных и воздушных инженерных коммуникаций, расположенных в зоне проведения взрывных работ, представляемая генподрядчиком; конструктивные чертежи объектов, где будут проводиться работы в масштабе 1:200, представляемые генподрядчиком; дополнительные сведения об условиях выполнения работ (необходимость защиты зданий, сооружений, конструкций, оборудования от действия взрывов, наличие грунтовых вод, блуждающих токов и др.).
Сведения подготавливаются генподрядчиком, заказчиком и исполнителем работ.
14.5. Раздел ППР(р) "Производство взрывных работ" разрабатывается подрядной специализированной организацией - исполнителем этих работ или по ее заданию специализированной проектной организацией.
В его состав входят следующие материалы:
а) общие сведения об объекте:
расположение объекта работ и близрасположенных зданий, сооружений, расстояния до них;
наличие бурового оборудования, ремонтных мастерских, компрессорного хозяйства, электроэнергии;
наличие складов взрывчатых материалов, расстояние до них или места их возможного расположения;
климатические и другие условия проведения работ;
б) объемы работ и их характеристики:
объемы работ;
характеристика конструкций и материалов (марки бетона и характеристика кирпичной кладки, наличие арматуры и других металлических элементов в них, расположение стержней, наличие пустот в кладке и др.);
в) обоснование принимаемых решений (сравнение вариантов по объему работ, расходу ВВ, затратам труда, стоимости выполнения работ и др.);
г) расположение зарядов, расчет их величины, определение способов взрывания, разработка взрывных сетей, их расчет, указания по монтажу;
д) организация работ:
должностные лица, руководящие работами;
режим и способы буровых и взрывных работ, время их выполнения, состав бригад;
доставка взрывчатых материалов, хранение их на месте выполнения работ;
способы разборки и удаления взорванной массы;
е) меры безопасности:
согласование проекта производства взрывных работ с дирекцией предприятия, а также с организациями, в ведении которых находятся проходящие вблизи от мест выполнения работ железные дороги, ЛЭП, трубопроводы, телефонные, телеграфные и другие коммуникации;
определение расчетами радиусов опасных зон по разлету осколков для людей, механизмов, оборудования и конструкций;
определение расчетами опасных зон по сейсмическому воздействию и действию ударной волны на конструкции, сооружения и оборудование;
разработка мер по предохранению от разлета осколков и действия воздушной ударной волны (укрытий, временных стенок, щитов и др.);
назначение числа и расстановка постов оцепления, системы оповещения, порядка вывода людей за пределы опасных зон, отвода механизмов, установки шлагбаумов, расположения предупредительных сигналов и др.;
дополнительные меры безопасности в зонах возможного возникновения блуждающих токов и токов наведения;
другие меры безопасности, учитывающие конкретные местные условия выполнения работ.
Решения по мерам безопасности приводятся в пояснительной записке, а также изображаются на ситуационном плане или наносятся на специально подготавливаемые схемы;
ж) расчет затрат труда, материалов, потребность в машинах, механизмах, оборудовании и оснастке;
з) технико-экономические показатели;
и) графики выполнения работ, данные о составах бригад, звеньев и их оснащенности.
К разделу проекта "Производство взрывных работ" прилагается также протокол технического совещания, на котором он рассматривался.
БУРЕНИЕ ШПУРОВ И СКВАЖИН
14.6. Бурение шпуров производится легкими и средними бурильными молотками, а также пневмо- и электросверлами и буровыми машинами. Диаметр шпуров от 30 до 80 мм.
14.7. Сжатый воздух для бурения следует получать от стационарных установок предприятий, а при отсутствии такой возможности - от передвижных компрессорных установок. Объем буровых работ при обрушении зданий и сооружений, а также при дроблении фундаментов определяется по данным соответствующего справочника.
14.8. Бурение скважин в бетоне и скальном грунте производится буровыми машинами на гусеничном ходу или смонтированными на автомашинах, оснащенными пневмоударниками. Для бурения в мерзлых грунтах используются машины на базе тракторов, оборудованные шнеками. Диаметр скважин в бетоне 80 - 110 мм, в мерзлом грунте до 500 мм и более.
ОБРУШЕНИЕ ЗДАНИЙ И СООРУЖЕНИЙ
14.9. Здания и сооружения могут обрушаться на их основание или в заданном направлении. В заданном направлении обрушаются сооружения со значительной высотой (дымовые трубы, башни и т.п.). Обрушение может быть выполнено мгновенным взрыванием или мгновенным в сочетании с короткозамедленным или же замедленным взрыванием.
14.10. Обрушение зданий и сооружений производят за один прием или же за несколько приемов частями. Частями обрушаются здания со сплошными стенами, делящими их внутри на секции. В этих случаях обрушаемая часть отделяется от оставляемой путем подрубания продольных стен вблизи от места их пересечения с поперечными стенами.
14.11. Когда обрушаемое здание связано с другим, не подлежащим обрушению, перед взрыванием они должны быть разъединены щелью, образованной с помощью взрыва или путем вырубания. Щель располагается на расстоянии не менее 1 м от сохраняемого здания.
При проектировании обрушения зданий взрывным методом используются следующие данные: уточненные планы зданий с замерами толщины стен, размеров проемов, расположением столбов, колонн, металлических связей, а также дымоходов, каналов; прочностные характеристики материалов зданий и сооружений; расположение в зоне обрушения зданий, сооружений, транспортных путей, ЛЭП, линий связи, других надземных и подземных коммуникаций, подлежащих сохранению.
14.12. Дата и часы взрывания для обрушения конструкций должны быть согласованы со всеми заинтересованными организациями и местными органами.
14.13. Расположение зарядов, их величины, способы взрывания и другие вопросы технологии взрывных работ должны решаться в ППР
(р) согласно указаниям технических правил и справочников, перечисленных в
п. 14.1.
14.14. При обрушении зданий на основание высота развала ориентировочно составляет около одной трети, а ширина - около половины высоты здания.
14.15. Направленное обрушение применяется в случаях, когда сносимое сооружение находится среди других сооружений, зданий, коммуникаций, не подлежащих сносу. В этих случаях определяется сектор допустимых направлений валки и обрушение осуществляется по биссектрисе этого сектора.
Сущность направленного обрушения состоит в образовании подбоя не по всему сечению, а только со стороны направленного обрушения.
Направленному обрушению подлежат сооружения или их части при высоте, которая в четыре раза и более превышает размер горизонтального сечения на уровне подбоя, измеряемого в направлении оси валки.
14.16. При необходимости точного соблюдения направления обрушения (при величине сектора валки менее 90°) вместо крайних шпуров, располагаемых около целика, рекомендуется в стене обрушаемой трубы (башни) пробивать проемы на высоту, равную расстоянию между верхними и нижними зарядами, с шириной, требующейся для удобства их пробивки, но не более 1 м. Эти проемы могут быть образованы путем сквозного их обуривания шпурами с минимально возможным по условиям бурения шагом шпуров.
Для точного соблюдения направления обрушения может также применяться сочетание взрывания с тягой электролебедки с помощью стального каната, прикрепляемого выше средней части трубы. На удаленном от трубы конце каната для контроля за натяжением устанавливается динамометр. Взрывная машинка включается в момент, когда натяжение достигнет расчетной величины.
14.17. Количество зарядов, их величина и размещение при обрушении зданий и сооружений определяют согласно техническим правилам и справочникам (см.
п. 14.1).
ДРОБЛЕНИЕ БЕТОННЫХ И ЖЕЛЕЗОБЕТОННЫХ ФУНДАМЕНТОВ
14.18. Дробление фундаментов может проводиться внутри цехов или же на открытой территории предприятия.
В зависимости от способа разборки взорванной массы различают полное дробление (для разборки бульдозерами или экскаваторами) и дробление на транспортабельные куски для их погрузки кранами.
При дроблении фундаментов заряды, как правило, размещают в шпурах. При больших размерах дробимых массивов с разрешения Госгортехнадзора допускается расположение зарядов в скважинах.
14.19. Для принятия решений по дроблению фундаментов путем обследования и изучения документов должны быть установлены следующие данные: конструкция и размеры фундаментов, подлежащих дроблению; характеристика материала (марка бетона, количество арматурных стержней, диаметр, марка стали, расположение стержней); наличие каналов, камер, пустот в разрушаемом массиве, их расположение; данные о средствах механизации для разборки взорванного материала, требования к крупности кусков; план расположения конструкций, зданий, сооружений и коммуникаций, подлежащих защите при взрывании; наличие остекленных ограждений вблизи места работ.
14.20. Перед дроблением фундаменты должны быть освобождены от грунтовой засыпки до уровня, где расположены нижние точки зарядов.
Дробление фундаментов может осуществляться на всю высоту вертикальными зарядами или же послойно. Во втором случае заряды могут быть как вертикальными, так и горизонтальными.
При размещении шпуров следует учитывать расположение арматурных стержней в фундаменте.
14.21. Расположение, масса зарядов, последовательность взрывания должны назначаться в соответствии с правилами (см.
п. 14.1).
УСТРОЙСТВО КАМУФЛЕТНЫХ СВАЙ И ЯКОРЕЙ
14.22. Камуфлетные сваи и якори образуют в пластичных (глинистых) грунтах. Величина заряда для образования камуфлетной полости определяется по техническим правилам и справочнику (см.
п. 14.1).
Последовательность устройства свай с камуфлетным уширением следующая.
Пробуривают скважину диаметром на 30 - 50 мм больше диаметра сваи, в нее погружают обсадную трубу с укрепленной на ее верхнем срезе воронкой. В скважину на шнуре опускают заряд с проводами, засыпают небольшим количеством мелкого грунта для заполнения зазоров между зарядом и стенками скважины. Через воронку скважину заполняют бетонной смесью до появления ее в воронке. Провода от заряда подсоединяют к магистрали, работающие удаляются на безопасное расстояние и производят взрыв. Пустоту от провалившейся бетонной смеси заполняют новой ее порцией и извлекают обсадную трубу.
В скважину с бетонной смесью при необходимости может быть вибропогружением установлена железобетонная свая.
14.23. Камуфлетные бетонные якори образуются путем устройства камуфлетной полости, установки в ней анкера, передающего нагрузку на якорь, и последующего заполнения ее бетонной смесью. Подобные якоря используются для укрепления подпорных стен, погружения опускных крепей, монтажа оборудования и других целей. Глубина заглубления, размеры полости и анкера определяются проектом.
Камуфлетные бетонные якори могут устраиваться путем установки анкера через скважину, в которой предусмотрено размещение заряда для образования камуфлетной полости. Величина заряда для образования камуфлетной полости определяется по справочнику
(п. 14.1). Уточнение необходимой массы производят на основании опытных взрывов. Наиболее безопасно бескапсюльное взрывание заряда с помощью ДШ.
14.24. Технология устройства бетонного камуфлетного якоря изложена в
п. 6.17.
ПРЕДОХРАНИТЕЛЬНЫЕ МЕРОПРИЯТИЯ ПРИ ПРОВЕДЕНИИ ВЗРЫВНЫХ РАБОТ
14.25. При проведении взрывных работ в условиях реконструкции следует предусматривать предохранительные мероприятия от сейсмических воздействий, действия воздушной ударной волны, разлета кусков взорванного материала и возникновения газов.
14.26. Сейсмически опасные зоны должны быть определены расчетами.
При взрывании около промышленного здания и сооружения величину предельно допустимого сосредоточенного заряда, кг, на расстоянии от 1 до 25 м можно определить по формуле

(32)
где Rс - наименьшее расстояние от заряда до фундамента здания, м.
При ведении взрывных работ на расстоянии от 2 до 25 м от действующих подземных трубопроводов допустимые безопасные расстояния Rс можно определить по следующим формулам.
До магистральных стальных трубопроводов

(33)
где K1 - коэффициент, учитывающий грунтовые условия, для скального и плотного мерзлого грунта 8,6, для мерзлого водонасыщенного грунта 12,9, для талого грунта под слоем мерзлоты 4,1;
KP - коэффициент, учитывающий внутреннее избыточное давление Pи в трубопроводе;
где P - нормативное давление в трубопроводе;
Q - масса одновременно взрываемого заряда ВВ, кг;
D,

- соответственно внутренний диаметр и толщина стенки трубопровода, см.
До внутризаводских стальных трубопроводов

(34)
где K2 - коэффициент, учитывающий грунтовые условия (для скального и плотного мерзлого грунта 0,65, для мерзлого водонасыщенного грунта 0,90, для талого грунта под слоем мерзлоты 0,42).
До подземных секционных трубопроводов

(35)
где K3 - коэффициент, учитывающий грунтовые условия для скального и плотного мерзлого грунта 3,5, для мерзлого водонасыщенного грунта 7, для талого грунта под слоем мерзлоты 2,5;
K4 - коэффициент, учитывающий конструктивные особенности подземного секционного трубопровода (для асбестоцементных, чугунных и керамических трубопроводов 1, для железобетонных 1,5).
При короткозамедленном взрывании можно в формулах (
32 -
34) за расчетный принять заряд в одной группе с интервалом замедления не менее 50 мс. Суммарный заряд при этом ограничивается.
14.27. Когда центр взрыва находится на удалении 50 и более метров, расстояние от него, на котором колебания грунта, вызываемые взрывом сосредоточенного заряда ВВ, становятся безопасными для зданий и сооружений, определяют по формуле

(36)
где Kс - коэффициент, зависящий от свойств грунта в основании охраняемого сооружения (для скальных плотных 3, для скальных нарушенных 5, для галечниковых и щебенистых 7, для песчаных 8, для глинистых 9, для насыпных и почвенных 15, для водонасыщенных и торфяников 20, при размещении заряда в воде величину следует увеличивать в 1,5 - 2 раза);
Q - общая масса заряда, кг;

- коэффициент, зависящий от показателя действия взрыва,
n.
Приведенный расчет пригоден для зданий обычного типа, находящихся в удовлетворительном состоянии. При наличии в зданиях повреждений (трещины в стенах и т.п.), а также при многократных взрывах безопасные расстояния должны быть увеличены не менее чем в два раза.
14.28. Сейсмически безопасные величины сосредоточенных зарядов Qб, кг, для сложных инженерных сооружений определяются по формуле

(37)
где
Uкр - допустимая критическая скорость колебания, см/с, определяемая в зависимости от типа зданий, сооружений по данным
табл. 24;

- коэффициент, зависящий от условий взрывания и положения охраняемого объекта, значения коэффициента

приведены ниже:
Дробление конструкций на поверхности земли .............. 1
Взрыв в подземных условиях .............................. 1,5 - 3
Взрыв на выброс ......................................... 1,5 - 2
Взрыв на рыхление при одной обнаженной поверхности ...... 0,7 - 0,8
Для точек внутри (а не на поверхности) массива значения

удваиваются.
При оконтуривании объектов щелью, образованной предварительным взрывом или другим способом, значение

утраивается;

- показатель, зависящий от расстояния до охраняемого объекта. В ближней зоне (для объектов, расположенных на поверхности массива при расстояниях менее 100 диаметров заряда)

; в дальней зоне (для объектов, расположенных на больших расстояниях)

;
Kг - коэффициент, зависящий от геологических условий, его значения приведены ниже:
Категория трещиноватости | I | II | III | IV | V |
Kг | 500 | 300 | 200 | 100 | 50 |
R - расстояние до объекта, м.
Тип сооружения (объекта) | Критическая скорость Vкр, см/с, при воздействии |
многократном | однократном |
Промышленные здания, транспортные эстакады | 5 | 10 |
Одноэтажные каркасные промышленные здания, малосвязанные породы в основании сооружений | 10 | 20 |
Примечание. Ввиду большого разнообразия геологических условий принятые значения критических скоростей подлежат уточнению в ходе работ.
14.29. Радиусы зон поражающего действия воздушной взрывной волны при взрыве открытых зарядов, заглубленных на свою высоту определяются по методике Правил безопасности (см.
п. 14.1).
Наиболее опасны по действию воздушной волны наружные заряды и инициирующая сеть из ДШ. Для уменьшения их опасного действия необходимо делать надежную наружную забойку или присыпать слоем земли, песка или снега.
Радиусы опасных зон по разлету отдельных кусков взорванного грунта даются в Правилах безопасности (см.
п. 14.1).
14.30. При взрывании фундаментов и других горизонтально расположенных конструкций внутри помещений и вблизи зданий, сооружений и оборудования для предохранения от разлета осколков и действия воздушной ударной волны применяются защитные устройства (укрытия).
Общие требования, предъявляемые к укрытиям, следующие: инвентарность, позволяющая их многократное использование; возможность быстрого перемещения в рабочей зоне; транспортабельность; универсальность, позволяющая использовать укрытия при разрушении фундаментов, других конструкций, а также при рыхлении замерзшего грунта; возможность расположения пригруза.
14.31. В наиболее общем случае укрытие состоит из следующих частей: каркаса, приспособленного для передвижения волоком, обшивки из листовой стали толщиной 20 мм, образующей площадку для размещения пригруза и имеющей петли для прикрепления стропов. В качестве пригруза используются бетонные блоки или мешки с песком.
Общая масса укрытия q, т, при его установке над поверхностью взрываемого фундамента или другой конструкции определяется по формуле

(38)
где Q - общая масса заряда, кг;
h - глубина шпура, м;
Z - величина воздушного промежутка между укрытием и взрываемой конструкцией, м;
R - заданный радиус разлета осколков, м.
14.32. Для защиты от разлета осколков при обрушении зданий должны проводиться следующие мероприятия:
все проемы подбиваемого этажа должны быть изнутри наглухо забиты деревянными щитами из досок толщиной не менее 20 мм или закрыты металлическими сетками с диаметром проволоки не менее 2 мм, или же заложены мешками с песком;
с наружной стороны обрушаемых зданий и сооружений для задержания осколков и снижения интенсивности воздушной ударной волны могут устанавливаться деревянные щиты из досок толщиной 50 мм, которые должны перекрывать ожидаемую границу подбивки стены (колонны) не менее чем на 0,5 м. Щиты поверху и понизу скрепляют между собой проволокой диаметром 2 - 3 мм, так, чтобы они образовали одно целое защитное укрытие. Для этой же цели могут быть использованы защитные устройства из проволочных сеток, закрепленных на стойках, стенки из мешков с песком, деревянные заборы.
14.33. Окна охраняемых зданий, расположенных в зоне разлета и развала осколков, должны предохраняться деревянными щитами, временными стенками из досок, мешков с песком, а также путем их открывания на время взрыва, временного расстекления и другими способами.
14.34. Для уменьшения сейсмического воздействия при падении обрушаемых конструкций могут быть предварительно подготовлены песчаные подушки, а также клетки, сложенные из нескольких рядов бревен.
14.35. Для снижения дальности разлета кусков взрываемого материала и интенсивности ударной воздушной волны также рекомендуется размещение зарядов в нижней части шпуров или скважин, а также максимально возможное рассредоточение зарядов во взрываемом массиве; применение плотной забойки и короткозамедленного взрывания для ограничения разлета в определенном направлении.
14.36. Для уменьшения вероятности проникания в помещения ядовитых газов через взрываемый массив следует применять ВВ с кислородным балансом, близким к нулю; повышать интенсивность уборки взорванной массы с целью улучшения и ускорения вентиляции массива.
14.37. При разработке мероприятий по безопасному ведению взрывных работ следует руководствоваться Техническими правилами (см.
п. 14.1).
ПРЕДОХРАНЕНИЕ ОТ ВОЗДЕЙСТВИЯ БЛУЖДАЮЩИХ ТОКОВ
ПРИ ЭЛЕКТРИЧЕСКОМ ВЗРЫВАНИИ ЗАРЯДОВ
14.38. В условиях реконструкции большое значение имеет предохранение от произвольного взрывания зарядов с электродетонаторами (ЭД) от воздействия блуждающих токов.
Источниками возникновения блуждающих, посторонних токов на предприятиях являются токоведущие рельсовые пути контактного электротранспорта, утечки из электрических сетей, электростатические заряды, индуктивное влияние силовых сетей, грозовые разряды.
Для предохранения от произвольного взрывания зарядов при электрическом способе взрывания при наличии блуждающих токов и токов наведения в условиях реконструкции следует применять электродетонаторы пониженной чувствительности с импульсом воспламенения 0,8 - 3 А2 и безопасным током 0,15 - 0,18 А.
Для электровзрывания в условиях, когда возможно воздействие грозовых разрядов и ударов молнии, следует применять ЭД весьма низкой чувствительности (грозоупорные) с импульсом воспламенения 1100 - 2500 А2 и безопасным током 5 А.
В электровзрывных сетях могут возникать опасные токи в случаях проведения работ вблизи мощных радиовещательных или телевизионных станций. Предельные безопасные расстояния от радиопередатчиков до электровзрывных сетей приведены в
табл. 25.
ЭД | Сопротивление мостика накаливания, Ом | Требуемая минимальная мощность воспламенения ЭД, Вт | Требуемая минимальная высокочастотная мощность воспламенения, Вт | Безопасное расстояние, м, от передатчика мощностью 100 кВт с учетом коэффициента запаса 2,5 |
Нормальной чувствительности | 1,5 | 0,05 | 0,44 | 112,5 |
Пониженной чувствительности | 0,54 0,2 - 0,3 | 0,11 0,23 | 2,5 5,5 | 57,5 30 |
Грозоупорные | 0,04 | 0,64 | 200 | 17,5 |
Безопасность электровзрывания повышается при расположении проводов взрывной сети возможно ближе к земле и прокладке магистральных проводов возможно ближе друг к другу и использовании стальных проводов вместо медных.
Влияние электромагнитных излучений может быть уменьшено, если при горизонтальной поляризации (УКВ и короткие волны) провода сети располагать в направлении источника электромагнитных излучений (радиостанции), а при вертикальной поляризации (длинные и средние волны) - в перпендикулярном направлении.
14.39. Располагая электровзрывную сеть непосредственно на земле можно свести к минимуму электрическое влияние высоковольтных сетей на электровзрывные сети.
Электровзрывную сеть можно располагать на любом расстоянии от линии электропередач напряжением 35 кВ при применении ЭД нормальной чувствительности и напряжением до 500 кВ при применении ЭД пониженной чувствительности, если площадь контура взрывной сети, приходящейся на один ЭД, составит не более 4 м2.
Представляют опасность кабельные сети, имеющие сравнительно небольшое сопротивление и способные к накоплению энергии (емкостного тока). По этой причине перед подключением электровзрывной сети к кабелю следует замыкать противоположные концы кабеля, производить разрядку жил кабеля на землю после отключения от питающих сетей.
14.40. Магистральные провода следует располагать ближе друг к другу, так как в случае возможного нарушения изоляции магистральных проводов в каких-либо точках разность потенциалов будет тем больше, чем больше расстояние между этими точками.
Следует обязательно применять специальные гильзы (зажимы) для соединения двух проводов при монтаже сети, а также закорачивать магистральные провода.
14.41. Перед производством взрывов проверяется насколько параметры смонтированной электровзрывной сети соответствуют расчетным. При обнаружении отклонений фактических сопротивлений сети из ЭД более чем на 10% и сопротивления изоляции от расчетных величин производится проверка сети и устранение нарушений изоляции.
14.42. Мощные разряды атмосферного электричества способны возбудить в замкнутом контуре индуктивный ток, достаточный для взрыва электродетонаторов. При приближении грозы, если до ее прихода произвести взрыв не представляется возможным, взрывная сеть должна быть разомкнута, а концы проводов надежно изолированы.
15. ОСОБЕННОСТИ ОРГАНИЗАЦИИ РЕКОНСТРУКЦИИ ПРЕДПРИЯТИЙ
РАЗЛИЧНЫХ ОТРАСЛЕЙ ПРОМЫШЛЕННОСТИ
ОБЩИЕ НАПРАВЛЕНИЯ РЕКОНСТРУКЦИИ ПРЕДПРИЯТИЙ РАЗЛИЧНЫХ
ОТРАСЛЕЙ, ВЫДВИГАЕМЫЕ НАУЧНО-ТЕХНИЧЕСКИМ ПРОГРЕССОМ
15.1. К основным направлениям реконструкции предприятий различных отраслей, связанным с научно-техническим прогрессом, относятся внедрение новых технологических процессов; повышение уровня механизации и автоматизации производства; увеличение единичных мощностей оборудования, агрегатов, установок, аппаратов; улучшение условий труда; повышение пожаро- и взрывобезопасности производств; устранение или уменьшение вредных воздействий на окружающую среду; использование вторичных ресурсов, переход на безотходное производство; улучшение социально-бытовых условий работников предприятий.
Достижение целей, вытекающих из перечисленных направлений, при проведении реконструкции возможно путем осуществления мероприятий и выполнения работ, перечисленных далее.
15.2. Внедрение новых технологических процессов в зависимости от конкретных условий возможно путем замены оборудования на существующих площадях при незначительных объемах строительно-монтажных работ; замены оборудования с изменением объемно-планировочных, конструктивных решений и незначительным увеличением производственных площадей; сноса ранее эксплуатировавшихся зданий и сооружений, строительства новых зданий и сооружений, размещения в них нового технологического оборудования.
15.3. Повышение уровня механизации и автоматизации возможно за счет замены станочного оборудования автоматизированными линиями; замены устаревшего станочного оборудования новыми станками с

уровнем механизации и автоматизации; установки дополнительного станочного оборудования; использования роботов для обслуживания станков, агрегатов, установок.
Основными строительно-монтажными работами при этом являются переустройство фундаментов, перекладка коммуникаций, монтаж оборудования, в некоторых случаях перепланировка помещений, усиление или замена несущих конструкций.
15.4. Повышение единичных мощностей оборудования часто связано с изменением его габаритов, масс, нагрузок на мостовые краны.
При увеличении габаритов и масс оборудования требуются значительные изменения в объемно-планировочных и конструктивных решениях: увеличение длины, ширины и высоты пролетов, шага колонн, нагрузок на подкрановые балки; пристройка, удлинение пролетов, замена, наращивание, усиление колонн, удаление колонн с разборкой или без разборки покрытий, усиление или замена подкрановых балок, фундаментов колонн, расширение или замена фундаментов под оборудование.
Кроме перечисленных изменений требуются переустройство существующих или строительство новых подвалов, тоннелей, колодцев и т.п., перекладка коммуникаций и др.
15.5. Улучшение условий труда может быть достигнуто путем: модернизации или замены оборудования, выделяющего вредности; дооснащения производства системами удаления вредностей и обеспечения кондиционированным воздухом.
Во втором случае часто требуются пристройки или надстройки к зданиям для размещения оборудования названных систем, а также прокладка коммуникаций, входящих в эти системы.
К улучшению условий труда относится также переустройство помещений бытового назначения (гардеробов, душевых, комнат отдыха, столовых, медпунктов и др.).
15.6. Повышение пожаро- и взрывобезопасности производства может быть достигнуто путями, используемыми при улучшении условий труда. Отличие состоит в том, что для повышения пожаро- и взрывобезопасности в ряде случаев можно обойтись не установками кондиционирования воздуха, а более простыми вентиляционными устройствами: системами автоматического контроля и регулирования состояния среды, а также пожаротушения.
15.7. Устранение или уменьшение вредных воздействий на окружающую среду может быть достигнуто одним из следующих путей:
дооснащением основного производства и энергетического хозяйства системами или оборудованием очистки отходящих газов;
переустройством существующих или строительством новых очистных сооружений для сточных вод, станций перекачки и коммуникаций, заменой оборудования основных и вспомогательных производств с проведением мероприятий, приведенных в
пп. 15.2 -
15.4.
15.8. Задача использования вторичных ресурсов и перехода на безотходное производство решается путем перестройки производства с указанной целью и для налаживания выпуска дополнительной продукции. При этом в зависимости от конкретных условий возможны следующие варианты: дооснащение основного и вспомогательного производства для налаживания выпуска дополнительной продукции; частичная замена оборудования для решения той же задачи; расширение производства с той же целью.
Во всех перечисленных случаях требуется переустройство транспортного, энергетического, складского хозяйства в связи с перестройкой производства.
15.9. Улучшение социально-бытовых условий на предприятии - важнейшая задача, связанная с деятельностью производства. Наряду с обновлением производства должно происходить улучшение социальных условий: реконструкция и расширение жилого фонда, детских учреждений, профилакториев, санаториев (предприятий), домов культуры, загородных баз отдыха и др.
ЧЕРНАЯ МЕТАЛЛУРГИЯ
15.10. Особенностью металлургических предприятий, влияющей на организацию их реконструкции, является большое число зданий и сооружений (до 50) с различными, в ряде случаев сложными конструктивно-планировочными решениями. К ним относятся:
закрытые одноэтажные здания цехов, выполняемые преимущественно в металлических конструкциях с тяжелыми мостовыми кранами (грузоподъемностью до 600 т в сталеплавильных цехах) с пролетами до 36 м и шагом наружных колонн 12 м и внутренних до 36 м; здания большой протяженности до 1200 - 1500 м с площадью 250 - 300 тыс. м2 высотой до нижнего пояса ферм 10,8 - 19,8 м (прокатные цехи); фундаменты под оборудование - массивные железобетонные монолитные сложного очертания с расположенными в их теле пустотами (нишами, отверстиями и т.п.), с большим числом анкерных болтов для крепления оборудования; размеры фундаментов под оборудование в плане до 50 x 90 м с глубиной заложения 2,5 - 13,5 м (наиболее распространенная глубина 3 - 8 м в прокатных цехах);
галереи и эстакады большой протяженности (500 м и более) с различными материалами конструкций (сталь, железобетон);
тоннели железобетонные, проходные для прокладки в них трубопроводов различного назначения;
опускные железобетонные колодцы диаметром 20 м и более с глубиной опускания до 40 м (вагоноопрокидыватели, ямы окалины в прокатных цехах, насосные станции и др.);
железобетонные силосы диаметром 10 м и более и высотой до 40 м для хранения угля, выполняемые в скользящей опалубке;
железобетонные охладительные бассейны, градирни, отстойники, сгустители, дымовые трубы;
теплоэлектростанции, насосные, воздуходувные и газокомпрессорные станции;
развитая внутризаводская железнодорожная сеть, которую следует рассматривать, как крупную сортировочную станцию с парками прибытия и отправления, с обгонными и тупиковыми путями и с многочисленными съездами;
подземная сеть водоснабжения и канализации, кабельная электросеть;
различные вспомогательные и обслуживающие объекты (ремонтные цехи, лаборатории, бытовые).
При организации реконструкции металлургических предприятий эта особенность требует наличия рабочих многих профессий с высокой квалификацией.
15.11. Большие объемы строительно-монтажных работ (бетонных, железобетонных, монтажа металлоконструкций и оборудования, огнеупорных и др.) составляют вторую особенность реконструкции предприятий черной металлургии.
Так, например, при реконструкции кислородно-конверторного цеха на Ново-Тагильском металлургическом заводе в связи с переходом на 160-тонные конверторы в 1978 - 1979 гг. было уложено монолитного бетона и железобетона 68 тыс. м3, смонтировано сборного железобетона 29 тыс. м3, металлоконструкций 20,5 тыс. т.
На реконструированном трубоэлектросварочном стане "1220" Челябинского трубопрокатного завода демонтировано 2200 т оборудования и 400 точек густой и жидкой смазки и смонтировано 4034 т оборудования, 1214 т трубопроводов, 177 т обслуживающих металлических конструкций, 425 точек густой и жидкой смазки.
На реконструкции доменной печи Челябинского металлургического завода с увеличением ее полезного объема с 930 м3 до 1719 м3 демонтировано 11 860 т металлоконструкций и 3500 т оборудования и смонтировано 18 000 т металлоконструкций, 7000 т оборудования и 380 км трубопроводов различных диаметров.
15.12. Вследствие значительных объемов строительных материалов, конструкций демонтированного и монтируемого оборудования, а также стесненности территории металлургических предприятий, создаются трудности в определении мест их складирования, которые должны быть указаны на стройгенплане.
15.13. Одной из особенностей организации реконструкции металлургических предприятий является необходимость перевозки по территории предприятия различных строительных материалов и конструкций одновременно с интенсивной перевозкой по железнодорожным путям производственных грузов, в том числе горячего металла. Это создает трудности при проведении реконструкций. Наиболее целесообразным в этих условиях является автомобильный транспорт, а также прицепы-тяжеловозы с мощными колесными тягачами. Железнодорожный транспорт применяется для перевозки тяжелого оборудования с заездом в цех или постановкой вагонов на специальные тупиковые пути.
При формировании графиков перевозки строительных материалов конструкций и оборудования следует учитывать в графиках задержки транспортных средств строительных организаций на переездах железнодорожных путей.
Временные автодороги проектируются с участием заказчика, они не должны, как правило, пересекать "горячих путей" (чугуно-шлакоотвозных). Автодороги должны быть оборудованы надежными переездами и шлагбаумами. При необходимости на опасных переездах движение регулируется сигнальщиками.
15.14. При реконструкции металлургических объектов, в особенности прокатных цехов, часто приходится сооружать массивные фундаменты под оборудование и технические подвалы на более глубоких отметках, чем отметки заложения фундаментов колонн существующего здания. Так, например, подвал насосной станции чистой воды в реконструированном цехе Т-1 на Первоуральском трубопрокатном заводе имеет отметку заложения 8,1 м, а отметки фундаментов под колоннами 2,2 м. Это создает большие трудности в организации строительства, а при водоносных грунтах требует сложных технических решений.
15.15. Монтаж технологического оборудования, приборов и средств автоматики имеет свои особенности. Главная из них - большое разнообразие применяемого оборудования, приборов и автоматики - от тяжелого доменного оборудования (колосниковое устройство с чашей, распределительным механизмом, штангой, большим и малым конусами) до тончайших электронных систем, необходимых для управления технологическими процессами производства. В отличие от нового строительства трудности в организации и технологии монтажных работ связаны со стесненностью. Так, например, реконструируемая доменная печь стеснена со всех сторон, укрупнительная сборка проводится на крайне ограниченной по размерам площадке, в непосредственной близости от действующих железнодорожных "горячих" путей.
Монтаж и наладка автоматики, как правило, производятся при действующем технологическом оборудовании без его остановки или с кратковременной остановкой.
15.16. Основные рекомендации по монтажу технологического оборудования металлургических производств состоят в следующем.
По агломерационным цехам:
реконструкцию тракта подачи шихты, кокса, складов для хранения и усреднения материалов, вагоноопрокидывателей и конвейерных трактов в отделениях распределения материалов рекомендуется производить в доостановочный период, совмещая эти работы с капитальным ремонтом агрегатов, или производить замену отдельных агрегатов без остановки агломерационной машины;
приводы агломерационных машин и охладителей агломерата собираются и монтируются одним узлом;
укрупнение и замену узлов агломерационных машин, грохотов, охладителей агломерата рекомендуется производить в зоне действия мостового крана;
замену всех укрытий и уплотнений конвейеров, грохотов, дробилок следует производить по графикам ремонта из заранее заготовленных элементов.
По коксовым батареям:
реконструкция коксовых батарей состоит в полной разборке огнеупорной кладки и оставлении (или расширении) железобетонной плиты-основания, на которой возводится новая огнеупорная кладка, как правило, с увеличением габаритных размеров камер коксования (объем до 41,6 м3);
монтаж оборудования и оснастки при реконструкции коксовых батарей выполняется так же, как на новых коксовых батареях;
в соответствии с Положением о всесоюзной коксохимической станции Минчермета СССР последняя участвует в контроле качества строительно-монтажных и пусконаладочных работ коксохимических объектов.
По доменным печам:
в зависимости от наличия стесненности площадки вблизи фундамента под печь принимается способ надвижки печи в целом со смонтированным основным оборудованием и футеровкой или эстакадный способ монтажа отдельными блоками. Оба эти способа изложены в
гл. 9.
Реконструкция доменных цехов может производиться без замены самой печи с целью:
увеличения количества, давления и температуры поступающего воздуха, что связано с заменой или увеличением числа воздухонагревателей и воздуходувок;
установки дополнительных леток для выдачи чугуна;
замены вагона-весов на конвейерную подачу шихты;
замены устаревших агрегатов;
улучшения условий работы в цехе;
установки новых агрегатов по защите атмосферы от выброса вредных газов;
установки станций по переработке и очистке стоков.
Выполнение указанных работ должно совмещаться с капитальным ремонтом.
До остановки печи на реконструкцию рекомендуется произвести при необходимости перенос и строительство временных или постоянных железнодорожных путей для отвозки чугуна и шлака; строительство временных и обводных газопроводов, промпроводок, линий электроснабжения, имея в виду отключение постоянных источников снабжения; сооружение всех новых объектов, зданий, фундаментов и монтаж всех агрегатов, не связанных с работой печи.
В доостановочный период рекомендуется произвести сварку, сборку и окраску всех конструкций доменной печи, подлежащих замене.
Сборка производится на монтажной площадке в максимально укрупненные блоки, совместно с оборудованием и трубопроводами охлаждения печи, исходя из грузоподъемности башенного или другого крана, монтирующего печь.
Замену воздухонагревателей рекомендуется производить в доостановочный период по одному при работе печи с уменьшенным числом воздухонагревателей.
Новый пылеуловитель рекомендуется собирать и подготавливать к установке целиком с последующей надвижкой его на место (после сноса старого пылеуловителя).
Окончательная выверка отсекающего клапана и работа лебедок производится на фундаментах.
Трубопроводы должны собираться предварительно и устанавливаться на свои опоры вместе с арматурой (окрашенными и изолированными), с обслуживающими площадками.
Загрузочные устройства доменных печей рекомендуется собирать в ремонтно-механических цехах заказчика и после проверки всех зазоров блоками доставлять в монтажную зону.
Установка загрузочного устройства печи может производиться башенным краном (блоками, не превышающими грузоподъемность крана); монтажной тележкой.
Сборку фурменных приборов рекомендуется производить на литейном дворе с помощью мостового или автомобильного крана. Подача фурменных приборов к месту монтажа производится с помощью кольцевого монорельса, установленного вокруг фурменной зоны печи (временно или постоянно).
Реконструкция бункерной эстакады производится в доостановочный период (поочередно группами бункеров) путем сокращения числа работающих бункеров и связанных с ними агрегатов.
Работа внутри печи в несколько ярусов разрешается при наличии соответствующих перекрытий.
Для подъема груза и людей параллельно с монтажом металлоконструкций печи рекомендуется устанавливать грузопассажирский лифт.
По сталеплавильным цехам:
реконструкция сталеплавильных цехов производится для увеличения мощности сталеплавильных агрегатов, для повышения производительности труда работающих, а также улучшения качества выпускаемого металла;
в кислородно-конверторных цехах при реконструкции производят замену конверторов на более мощные, увеличивают число конверторов в цехе, устанавливают новые котлы-утилизаторы, реконструируют агрегаты по очистке отходящих газов;
в электросталеплавильных цехах устанавливают более производительные электропечи, производят реконструкцию шихтовых отделений;
в сталеплавильных цехах разливку стали в изложницы заменяют установками непрерывной разливки стали. На многих заводах реконструкции подвергаются известковые цехи с установкой дополнительных агрегатов;
наиболее сложные работы по реконструкции производятся в мартеновских цехах, где печи заменяются на конверторы;
при увеличении числа работающих агрегатов или их замене сборка новых агрегатов в блоки должна производиться при помощи действующих в цехе мостовых кранов, а конверторы после их сварки полностью собираются на монтажной тележке и надвигаются к месту установки;
сборка котлов-утилизаторов в блоки мостовым краном должна производиться в зоне работы крана;
установку непрерывной разливки стали (УНРС) рекомендуется собирать в блоки и подготавливать к монтажу на ремонтных стендах до остановки цеха. После завершения монтажа необходимо отрегулировать систему охлаждения;
монтаж установки непрерывной разливки стали вертикального и радиального типа рекомендуется производить мостовыми кранами;
при наличии "мертвой зоны" при монтаже стенда для поворота ковшей рекомендуется пользоваться гидравлическими траверсами ВНИИМетмаша;
испытание, наладку всех агрегатов установки непрерывной разливки рекомендуется произвести при работающем в цехе, постепенно включая в работу все агрегаты.
По прокатным цехам:
реконструкция прокатных цехов проводится в разных объемах и имеет целью:
демонтаж устаревших станов с установкой нового современного оборудования;
установку более мощных клетей на блюминге, заготовительном стане, а также дополнительных клетей на черновой и чистовой группах станов горячей прокатки;
замену устаревшего или установку дополнительного оборудования на линии стана (рольгангов, ножниц, холодильников, моталок, агрегатов зачистки металла, передачи металла, слитковозов и других его агрегатов);
реконструкцию существующих агрегатов или установку дополнительных печей, колодцев для нагрева или охлаждения металла;
модернизацию линии клетей для получения качественного металла;
замену мостовых кранов.
В состав комплекса при реконструкции прокатных станов входят станции гидравлики, смазки и маслоподвалы, кислотное хозяйство, насосные станции воды, очистные сооружения, установки получения азота, водорода и другие сооружения.
Период реконструкции отдельных узлов стана и другого оборудования комплекса должен быть, как правило, совмещен с капитальным ремонтом оборудования комплекса.
При значительном объеме работ по реконструкции для уменьшения периода остановки рекомендуется разбить все работы на несколько технологических узлов и проводить реконструкцию в несколько очередей, т.е. проводить по узловому методу, с дополнительным укрупнением агрегатов, собранных на специальных площадках, вблизи фундаментов в блоки.
Оборудование маслоподвалов и насосных станций рекомендуется собирать и монтировать блоками, включающими трубопроводы и арматуру.
Сборка и укрупнение основного оборудования стана, в том числе клетей, должны проводиться в зоне действия мостовых кранов цеха до его монтажа на фундаменте.
Кабины мостовых кранов следует оборудовать радиостанциями для двухсторонней радиосвязи с монтажными бригадами.
ХИМИЧЕСКАЯ, НЕФТЕПЕРЕРАБАТЫВАЮЩАЯ, НЕФТЕХИМИЧЕСКАЯ,
КОКСОХИМИЧЕСКАЯ И ГАЗОВАЯ ПРОМЫШЛЕННОСТЬ
15.17. Конструктивно-планировочные решения строительной части объектов названных отраслей весьма разнообразны.
Наряду с открытыми установками оборудования, монтируемого на фундаментах или этажерках, установки, требующие закрытых помещений, размещаются в одноэтажных и многоэтажных зданиях, преимущественно смешанной каркасной конструкции (из металла, сборного и монолитного железобетона) со стеновым заполнением из кирпича или со стенами из навесных панелей.
Одноэтажные одно- или многопролетные здания используются при горизонтальных технологических процессах (производство шин, резинотехнических изделий, минеральных удобрений). Такие здания имеют различные по размерам производственные площади, крановые или бескрановые пролеты 12, 18, 24 и 30 м с шагом колонн 6 - 12 м и средней высотой цехов 6 - 12 м.
При вертикально-горизонтальных схемах технологического процесса (производства нефтехимии, пластмасс, лакокрасок) строятся многоэтажные здания с пролетами 6 и 9 м, шагом колонн 6 м с унифицированной высотой этажей 3,6; 4,3; 6 и 7,2 м. Конструкция многоэтажных зданий - чаще всего каркасная, выполняемая в сборном железобетоне со сборными плитами перекрытий. Имеются также каркасы, выполненные в монолитном железобетоне в случаях, когда унифицированные пролеты, высота этажей и шаг колонн не соответствуют габаритам технологического оборудования. Однако такое исключение встречается не часто.
У одно- и многоэтажных зданий имеются и бескаркасные конструкции с несущими кирпичными стенами и железобетонными (монолитными или сборными) перекрытиями, которые в некоторых случаях состоят из металлических балок, перекрываемых рифленым металлическим листом.
Для открытых установок некоторых видов оборудования, главным образом нестандартизированного, и для его обслуживания применяются открытые каркасы (без стенового заполнения), так называемые "этажерки", выполняемые из железобетона или чаще из металла.
Во взрывоопасных производствах (органического синтеза, нефтегазопереработки) предусматриваются легкосбрасываемые кровли из асбестоцементных, алюминиевых или стальных (профилированных) листов с эффективным легким утеплителем.
Весьма разнообразны конструкции полов - от кислотостойких керамических до неискрящих из бетонов с известковым песком и мраморным заполнителем во взрывоопасных производствах. В особо чистых производствах применяются бесшовные непылящие полы наливного типа из составов на основе поливинилацетатной эмульсии или иных синтетических материалов.
В производственных зданиях рассматриваемых отраслей отсутствуют подвалы и каналы, поскольку их наличие связано с большой пожаро- и взрывоопасностью перерабатываемых и образующихся жидкостей и газов.
Различные трубопроводы (в том числе для транспортирования полупродуктов и продуктов) укладываются на эстакадах с высокими опорами, обеспечивающими проезд транспортных средств и мобильных кранов (с опущенными стрелами).
На участках территорий, где не предусматривается движение транспортных средств, трубопроводы укладываются на низких опорах. Различие в укладке трубопроводов должно учитываться при составлении ПОС(р) и ППР(р).
15.18. Характерными особенностями предприятий рассматриваемых отраслей являются также:
больший удельный вес активной части, производственных фондов по сравнению с другими отраслями тяжелой промышленности, что предопределяет характер работ при реконструкции, состоящих в основном из демонтажа и монтажа оборудования;
широкая кооперация в производстве полупродуктов между предприятиями, что создает возможность обеспечивать в необходимых случаях потребность предприятия полупродуктами с других предприятий на время остановки производства на реконструируемом предприятии; остановка производства на одном предприятии влияет на деятельность других;
наличие токсичных, взрыво- и пожароопасных производств, усложняющих строительно-монтажные работы, в особенности демонтаж и монтаж оборудования;
сложная очистка сточных вод и обезвреживание выделяемых газов, значительно увеличивающих объем строительно-монтажных работ при реконструкции предприятий, в особенности построенных до начала шестидесятых годов;
наличие загазованности на предприятиях и в цехах, требующей проведения мер по ее снижению до допустимой концентрации;
ограниченная численность рабочих, занятых на основном производстве (выпуске продукции), а вследствие этого недостаточная возможность обеспечивать бытовыми помещениями строительных рабочих в период реконструкции предприятия, что следует учитывать при составлении ПОС(р), имея в виду использование инвентарных зданий бытового и другого вспомогательного назначения.
15.19. Перечисленные особенности определяют организацию реконструкции и выбор методов производства работ:
реконструкция предприятий, как правило, производится без остановки производства (выдачи конечной продукции), однако с частичной остановкой (не более 2 мес) отдельных производств по выпуску полупродуктов на время частичной остановки. Чтобы не снижать выпуска конечной продукции, недостаток полупродукта компенсируется создаваемым запасом или поступлением с других предприятий. Полная остановка предприятия по выпуску конечной продукции встречается относительно редко и имеет место главным образом на производствах чистых и особо чистых продуктов (органические химические реактивы и др.);
на некоторых предприятиях (нефтеперерабатывающие заводы) загазованность достигает таких размеров, при которых невозможно производство огневых работ. При отсутствии других способов проведения монтажных работ реконструкцию в этих случаях следует производить с остановкой производства на данном участке и в сжатые сроки;
агрессивная среда (сырье, полупродукты, продукты и выделяемые ими газы) оказывает значительное влияние на строительные конструкции, трубопроводы и оборудование некоторых производств (сернокислотное и др.), что требует более частых ремонтов (в том числе капитальных), чем в других отраслях промышленности. В этих случаях реконструкцию целесообразно совмещать с ремонтами;
при относительно малых объемах общестроительных работ по сравнению с монтажными реконструкцию предприятия целесообразно производить по прямым договорам заказчиков с монтажными организациями. Производство строительных работ в этих случаях должно осуществляться ремонтно-строительными службами предприятий;
реконструкцию аппаратов колонного типа (изменение числа и конструкции тарелок и др.) рекомендуется выполнять силами заказчика, как правило, без демонтажа аппаратов;
после выполнения работ по демонтажу оборудования и трубопроводов, произведенных силами предприятия или по договору с монтажной организацией, эксплуатационный персонал (в том числе ремонтный) следует привлекать в качестве ответственных представителей заказчика или в составе монтажных бригад.
15.20. Перед монтажом оборудования (сосудов, аппаратов, арматуры и трубопроводов), подлежащего использованию при реконструкции, оно должно быть отревизовано силами заказчика или, согласно особым условиям к договору, монтажной организацией. Особое внимание следует обращать на отсутствие коррозии, а используемые теплообменные аппараты до передачи в монтаж должны быть очищены от отложений, проверены и испытаны на прочность и плотность.
15.21. При повторном использовании находившегося в эксплуатации оборудования, емкостей и трубопроводов следует обращать внимание на их подготовку (очистку) персоналом заказчика к монтажу, которая состоит из ряда операций, приводимых далее.
Оборудование аппаратов и трубопроводов очищается водой, растворами поверхностно активных веществ и щелочей, пропариванием паром, а также продувкой воздухом и инертными газами. В зависимости от состава удаляемых веществ применяют нейтрализацию или дегазацию. Качество очистки определяют анализами. Очистка считается законченной, если после двукратного анализа проб воздуха окажется, что содержание паров или газов вредных веществ, в том числе взрывоопасных, внутри аппарата ниже предельно допустимых концентраций.
При освобождении и промывке оборудования и трубопроводов следует обращать особое внимание на очистку застойных зон, газовых мешков, тупиковых участков трубопроводов, перекошенных днищ аппаратов, тарелок ректификационных колонн, а также арматуры. Во всех этих участках могут оставаться опасные вещества как во время их освобождения, так и при промывке. Для избежания этих опасностей применяются временное удаление отдельных деталей или узлов трубопроводов, вакуумные отсосы, открытие люков, крышек и лазов, заблаговременное устройство дополнительных штуцеров, проведение промывок в циркуляционном контуре с применением струйных аппаратов и барботажа воздухом и паром.
15.22. Трубопроводы, емкости и аппараты отключаются заказчиком от действующих систем заглушками независимо от наличия запорных устройств, что делается для предотвращения случайного открытия запорного устройства. Заглушки обязательно снабжают хвостовиком для того, чтобы не забыть снять их по окончании работ. Установку и снятие заглушек должны производить под руководством и при участии ответственного лица предприятия-заказчика, номера заглушек следует заносить в специальный журнал.
Все удаляемые из аппаратуры продукты и промывочные воды сбрасываются заказчиком либо в заранее освобожденные и подготовленные емкости, либо в очистные сооружения. Порядок сброса должен быть определен специальной инструкцией. Продувочные газы выбрасывают в атмосферу через стояки (воздушки). Выброс продувочных газов в помещении и слив промывочных вод на полы цехов и площадок категорически запрещается.
Для циркуляционных промывок рекомендуется применять передвижные инвентарные насосы, циркуляционные установки, моечные ванны и гидромониторы с поворотной головкой, перемещающейся по высоте аппарата.
Подготовку к реконструкции оборудования взрывоопасного производства заказчику следует начинать с продувки аппаратов и трубопроводов инертным газом, а затем воздухом, после чего необходимо вскрыть (начиная с верхних) люки, лазы и крышки для проведения чистки и промывки.
Аппараты и трубопроводы, в которых находились легковоспламеняющиеся жидкости, после продувки инертным газом промывают водой и только после этого приступают к продувке воздухом.
В процессе продувки следует проводить систематическое наблюдение за всеми участками аппарата и особенно тупиковых трубопроводов. В верхних частях аппаратов, емкостей, в тупиковых участках трубопроводов во избежание скопления газов рекомендуется заранее вваривать штуцера для присоединения продувочных линий.
К плану проведения подготовительных работ к реконструкции должна быть приложена схема продувочных линий, на которой следует отметить последовательность проведения продувочных работ и указывать направление движения газов.
ЦЕЛЛЮЛОЗНО-БУМАЖНАЯ ПРОМЫШЛЕННОСТЬ
15.23. На организацию реконструкции предприятий целлюлозно-бумажной промышленности оказывают влияние следующие факторы: особенности планировки территории предприятий; специфические объемно-планировочные решения; особенности размещения технологического оборудования; наличие больших выделений газов и агрессивных жидкостей.
15.24. На территории предприятий целлюлозно-бумажной промышленности, наряду с производственными зданиями, значительные площади заняты зданиями и сооружениями энергетического хозяйства, различными складами (сырья, коры, древесных отходов, известкового камня и др.), железнодорожными путями и автомобильными дорогами и очистными сооружениями, площадками для накопления и переработки отходов. Под зданиями и сооружениями занято около 15% площади территории.
На предприятиях данной отрасли имеется большое количество эстакад и галерей значительной протяженности для лесотасок, кабель-конвейеров, трубопроводов.
15.25. Для бумажных и картонных фабрик с горизонтальной схемой технологического процесса наиболее характерны двухэтажные здания длиной в зависимости от размеров машин от 200 до 500 м с высотой 18 - 20 м, а в зоне варочных аппаратов до 60 м.

часть технологического оборудования целлюлозно-бумажной промышленности (баковое хозяйство, вращающиеся печи, отдельные башни и др.) размещается на открытых площадках.
Технологическое оборудование внутри зданий, как правило, размещается на самостоятельных фундаментах или встроенных этажерках.
15.26. Основным конструктивным типом зданий целлюлозно-бумажной промышленности являются каркасные здания с навесными панельными стенами. Перекрытия - монолитные и сборные железобетонные из ребристых плит. Конструкции покрытий - сборные железобетонные и металлические. Для установки технологического оборудования, монтируемого в пределах нескольких этажей, широко применяются нетиповые железобетонные или стальные конструкции.
Во многих зданиях имеется сложная и разветвленная сеть подпольных каналов для стока агрессивных проливов с пола, что ограничивает возможности использования строительных машин.
15.27. Производство целлюлозы и бумаги связано с большими выделениями газов и агрессивных жидкостей. Наиболее существенны выделения сероводорода и хлора (группа А и Б по агрессивности), что следует учитывать при разработке ППР(р).
Основные цехи предприятий целлюлозно-бумажной промышленности (промывной, очистный, отбельный, размольно-подготовительный), а также зоны картоно- и бумагоделательных машин оборудуются мостовыми кранами грузоподъемностью 5 - 30 т, для монтажа и замены деталей оборудования, а также съема рулонов бумаги и картона с наката. В ряде случаев возможно использование этих кранов для проведения работ по реконструкции.
15.28. Реконструкция предприятий целлюлозно-бумажной промышленности часто сопровождается расширением площадей зданий основного производственного назначения - строительством новых корпусов с установкой в них машин

мощности. В этих случаях остановка производства на период реконструкции не требуется.
Однако в случаях замены существующего устаревшего технологического оборудования на более производительное реконструкция ведется с частичной остановкой производства. Это становится возможным при вводе в эксплуатацию новых технологических линий, смонтированных в новых корпусах или в пристройках к существующим зданиям, и последующего переоборудования старых цехов.
Реконструкция с частичной остановкой возможна также при последовательной замене отдельных агрегатов (варочных аппаратов, промывных фильтров, отдельных башен), поскольку они обычно резервируются.
15.29. Обновление предприятий целлюлозно-бумажной промышленности связано с выполнением различных строительно-монтажных работ. В связи с большим объемом монолитных конструкций одним из основных видов работ являются бетонные. Из монолитного железобетона сооружаются вертикальные и горизонтальные мешальные бассейны, фундаменты под технологическое оборудование, конструкции перекрытий. Это накладывает определенные ограничения на последовательность и длительность проведения работ. Поскольку продолжительность остановки производства, как правило, чрезвычайно мала, эти работы необходимо планировать в доостановочный период.
В перечень остальных видов работ, характерных для реконструкции целлюлозно-бумажных предприятий, входят земляные работы в стесненных условиях, разборка существующих фундаментов под технологическое оборудование, замена несущих и ограждающих конструкций вследствие их коррозии, изоляционные работы, а также весь комплекс работ по демонтажу и монтажу технологического оборудования, трубопроводов, выполняемый, как правило, по отдельным элементам.
15.30. Для предприятий целлюлозно-бумажной промышленности характерны также особенности, рассмотренные в
пп. 15.17 -
15.22 для предприятий химической промышленности.
МАШИНОСТРОЕНИЕ
15.31. Цехи машиностроительных предприятий в настоящее время размещаются преимущественно в одноэтажных корпусах с различными по величине производственной площадью, высотой помещений, грузоподъемностью мостовых кранов, числом пролетов и разнообразием конструктивно-планировочных решений. Данные об основных характеристиках производственных зданий машиностроительной промышленности приведены в
табл. 26.
Отрасли | Производственная площадь корпуса, тыс. м2 | Высота корпуса, м | Грузоподъемность мостовых кранов, т |
Тяжелое и транспортное машиностроение | 30 - 330 | 10 - 40 | | 10 - 50; |
50 - 250; |
250 - 600 |
Электротехническое машиностроение | 40 - 100 | 15 - 50 (средняя 20) | | 10 - 50; |
50 - 250; |
250 - 320 |
Станкостроение | 50 - 200 | 12,6 | | 30 |
Инструментальные цехи | 20 - 95 | 12,6 | | 2 - 3; |
5 - 10 |
Автомобилестроение | 50 - 480 | 7,2 - 12,8 | | 3 - 10; |
10 - 30 |
Тракторостроение и сельскохозяйственное машиностроение | 30 - 100 | 15 | | 30 |
Машиностроение для легкой и пищевой промышленности | 30 - 40 | 10 | | 50 |
Строительное, дорожное и коммунальное машиностроение | 30 - 130 | 8,4 - 14,4 | | 10 - 50 |
Машиностроение для животноводства и кормоприготовления | 30 - 180 | 15 - 20 | | 5 - 10 - 40 |
15.32. Здания машиностроительных предприятий, в большей части каркасные, смешанной конструкции (колонны из сборного железобетона, фермы металлические). Каркасы зданий, выполненные полностью в сборном железобетоне (колонны и фермы) встречаются реже, а выполненные полностью в металлоконструкциях - редко (главным образом в кузнечных цехах). Бескаркасные здания с наружными несущими кирпичными стенами имеют ограниченное распространение в машиностроении.
Наиболее распространенная ширина пролета 18 - 24 м, максимальная - 30 - 36, минимальная - 12 м, шаг колонн 6 - 12 м. Подкрановые балки при длине 6 м и грузоподъемности кранов до 20 т - железобетонные, при большей грузоподъемности - металлические.
15.33. Цехи, в которых осуществляются тепловыделяющие процессы (кузнечные, литейные, термические, сварочные и др.), не имеют систем отопления. В остальных цехах они имеются. Некоторые цехи оборудованы системами кондиционирования воздуха. Кроме трубопроводов перечисленных систем, во многих цехах проложены магистральные и раздаточные трубы горячего и холодного водоснабжения, пара, газа, сжатого воздуха, эмульсии и др. Во многих цехах машиностроительных предприятий под полами размещены каналы и тоннели для коммуникаций, удаления стружки и др.
15.34. Технологическое оборудование предприятий машиностроения в зависимости от его назначения, массы, режима работы устанавливается на индивидуальных фундаментах (кузнечные молоты, штамповочные прессы, ковочные машины, ножницы для резки массивных металлических деталей, карусельные и другие тяжелые станки) или на общую железобетонную плиту (легкие станки, автоматические линии). Некоторое оборудование устанавливается без анкерного крепления.
15.35. Переустройство машиностроительных предприятий часто осуществляется путем технического перевооружения.
15.36. При реконструкции предприятий машиностроения, в связи с обновлением оборудования, возможны все варианты работ на зданиях и сооружениях, перечисленные в
пп. 15.1 -
15.9 данного Руководства. Выполнение работ должно осуществляться по возможности без остановки работы предприятий. В случаях неизбежности остановок необходимо реконструируемое производство по возможности переносить во временные здания и сооружения.
15.37. Специфической особенностью строительных конструктивных решений предприятий машиностроения является относительно небольшая глубина заложения фундаментов под индивидуальное оборудование, а также технических подвалов (3 - 4 м).
15.38. В зданиях предприятий машиностроения часто в межферменных пространствах монтируются различные коммуникации. Это положение осложняет организацию и технологию смены покрытий в цехах с действующим производством. Коммуникации в этом случае должны быть заменены временными.
При замене покрытий на протяженных участках положительный эффект может быть получен путем применения блочного метода монтажа. Блоки конструируются, изготавливаются и монтируются вместе с расположенными в них коммуникациями.
15.39. При монтаже оборудования и коммуникаций имеются следующие особенности:
относительно большой объем работ составляет перекладка коммуникаций (приточно-вытяжной вентиляции, разводок электропитания, эмульсопроводов);
демонтаж и монтаж оборудования целесообразно проводить в периоды технологических остановок предприятия, а также в смены, когда производство не работает;
демонтаж и монтаж станочного оборудования целесообразно выполнять силами эксплуатационного персонала предприятия с привлечением при необходимости представителей заводов - изготовителей станков;
при недостаточной грузоподъемности внутрицехового транспорта (мостовых кранов и др.) для монтажа станочного и другого оборудования рекомендуется использовать самоходные краны с телескопическими стрелами.
ЛЕГКАЯ ПРОМЫШЛЕННОСТЬ
15.40. Реконструкция предприятий легкой промышленности (в том числе текстильной) проводится по двум направлениям: техническое перевооружение; реконструкция существующих зданий с полной или частичной заменой оборудования. Техническое перевооружение осуществляется в основном на предприятиях, построенных в 1966 - 1980 гг.
Реконструкция ранее построенных предприятий включает значительные объемы строительно-монтажных работ.
Во многих случаях реконструкция предприятий легкой промышленности связана с их расширением.
15.41. При проектировании организации реконструкции следует иметь в виду, что предприятия текстильной промышленности размещаются в нескольких одноэтажных корпусах или одном сблокированном корпусе. Такое размещение текстильных предприятий характеризуется высокой плотностью застройки (от 70 до 90%) и накладывает определенные ограничения на решения стройгенплана.
Предприятия обувной, швейной, трикотажной промышленности, как правило, размещаются в многоэтажных зданиях, площадь застройки таких предприятий колеблется от 40 до 60%.
15.42. Основным типом зданий современных прядильных и ткацких фабрик является бесфонарный одноэтажный сблокированный корпус шириной 144 - 216 м с производственной площадью 80 - 100 тыс. м2 с сеткой колонн 18 x 12 м и высотой от пола до подвесного потолка 4,8 - 6 м с железобетонными (18 м) фермами, уложенными на сборные железобетонные колонны, с плитами покрытий (12 м) и стеновыми навесными панелями. Межферменное пространство в таких корпусах используется для размещения в них внутрицеховых коммуникаций (кондиционирование воздуха и др.). Мостовые краны отсутствуют. Стены глухие без оконных проемов, освещение искусственное.
Прядильные и ткацкие корпуса, а также многоэтажные здания для других производств легкой промышленности, построенные в дореволюционное время и до 1940 г., имеют несущие кирпичные стены и металлические фермы.
Для предприятий обувной, швейной и трикотажной промышленности в настоящее время строятся многоэтажные здания, ширина которых достигает 24 м с сеткой колонн 6 x 6 м и стандартной высотой этажей 4,8 м. Конструкции зданий выполняются в сборном железобетоне. Стеновое заполнение - кирпич или панельные плиты.
15.43. Реконструкция предприятий легкой промышленности, как правило, производится с частичной остановкой производства, в отдельных случаях без остановки.
При реконструкции следует обращать особое внимание на сохранение (создание) нормальных условий для действующей части производства, а именно: немедленная уборка отходов строительного производства с увлажнением материалов, образующих пыль; устройство пыленепроницаемых перегородок, изолирующих участки, отведенные для реконструкции от действующей части цеха; создание, при необходимости, дополнительной приточно-вытяжной вентиляции с целью предотвращения проникания пыли и др. Разработка указанных мероприятий является неотъемлемой частью рабочих чертежей проекта реконструкции и проекта производства работ ППР(р) в зависимости от их сложности.
15.44. На прядильных и отделочных фабриках, а также некоторых производствах обувной промышленности, связанных с выделением пыли и газов, могут образовываться пожароопасные смеси. Это должно учитываться при проведении огневых работ на объекте.
15.45. В практике реконструкции предприятий легкой промышленности, построенных до 1930 г., широко развито строительство новых цехов взамен сносимых, физически и морально устаревших. Это приводит к некоторым ограничениям в последовательности строительно-монтажных работ и увеличивает продолжительность реконструкции.
15.46. При реконструкции легкой промышленности демонтаж технологического оборудования, как правило, выполняется силами заказчика, с привлечением в необходимых случаях монтажной организации. При этом демонтаж оборудования целесообразно производить в собранном виде.
Такой способ рекомендуется применять при демонтаже конденсаторов станций управления, чесальных и основовязальных машин, ткацких станков (челночных эксцентриковых, гидравлических, пневморапирных, с малогабаритными прокладчиками утка), швейных и обувных машин.
При невозможности перемещения демонтированного оборудования в собранном виде производится его частичная разборка.
Так демонтируются разрыхлители, наклонные очистители, смесители, трепальные, ленточные, пневмопрядильные машины, мотальные автоматы, шлифовальные машины, ткацкие станки челночные кареточные, кругловязальные и плосковязальные машины и автоматы.
15.47. Монтаж оборудования на реконструируемых объектах легкой промышленности не содержит особенностей и выполняется в соответствии с рекомендациями, изложенными в
гл. 11.
15.48. Однородность многих видов оборудования (ткацкие станки, швейные и обувные машины и т.п.) создает условия для широкого применения поточных методов реконструкции.
ПИЩЕВАЯ И МЯСО-МОЛОЧНАЯ ПРОМЫШЛЕННОСТЬ
15.49. Многие предприятия пищевой и мясо-молочной промышленности (сахарной, винодельческой, консервной, частично мясной) имеют сезонный характер производства продолжительностью 1 - 2 квартала. Реконструкция таких предприятий производится в межсезонный период, когда производство не работает. Для эффективного использования времени между сезонной работой предприятий для их реконструкции особо важное значение имеет подготовка к реконструкции. До начала основного периода реконструкции (к моменту окончания сезонной работы предприятия) должна быть выполнена комплектация строительных конструкций, а также оборудования, аппаратуры и приборов. Специальная остановка на реконструкцию предприятий с сезонным производством не рекомендуется. Остальные предприятия (производства) реконструируются также без остановки производства или с частичной остановкой с принятием мер, обеспечивающих соблюдение санитарных требований, предъявляемых к производствам отрасли.
15.50. Часть предприятий пищевой и мясо-молочной промышленности (некоторые цехи мясопереработки, молочные и молочно-консервные, масло-сыродельные) размещаются в одноэтажных зданиях с сеткой колонн 12 x 6 м. Большая же часть предприятий отрасли размещается в многоэтажных зданиях с сеткой колонн 6 x 6 м. Здания из сборного, реже из монолитного, железобетона. Стены в большей части случаев кирпичные, реже из навесных панелей. Планировка характеризуется размещением в секциях цехов, разделенных внутренними перегородками (мясо-, пищекомбинаты, молочно-консервные и сыродельные заводы). В этом случае реконструкция осуществляется участками, выделенными указанными перегородками.
Второй принцип планировки "зальный", требующий специальных мероприятий по изоляции реконструируемой зоны от эксплуатируемой части цеха на период реконструкции. При этом проходы в зону реконструкции должны быть расположены так, чтобы исключить возможность захода рабочих (строителей) в зону действующего предприятия. Устройство пыленепроницаемых перегородок должно быть предусмотрено проектно-сметной документацией.
15.51. Монтаж технологического оборудования в реконструируемых объектах следует производить с учетом рекомендаций, изложенных в
гл. 11.
При производстве работ по реконструкции на предприятиях пищевой промышленности, оснащенных действующими аммиачными холодильными установками, необходимо проявлять особую осторожность, чтобы избежать прорыва аммиака из системы. Перед началом работ при частичной или полной реконструкции холодильных установок необходимо кроме принятия общих мер по технике безопасности силами заказчика произвести отсос хладагента или слив хладоносителя из (перекрытых запорной арматурой) отдельных участков холодильной установки, подлежащих демонтажу, реконструкции техническими средствами действующего предприятия.
15.52. Проекты организации строительства и производства работ для объектов, на которых реконструкция проводится одновременно с выпуском продукции, следует согласовывать с органами Госсаннадзора.
16. ТЕХНИКА БЕЗОПАСНОСТИ В УСЛОВИЯХ РЕКОНСТРУКЦИИ
ОБЩИЕ МЕРОПРИЯТИЯ ПО ОБЕСПЕЧЕНИЮ БЕЗОПАСНОСТИ
СТРОИТЕЛЬНО-МОНТАЖНЫХ РАБОТ
16.1. Настоящая глава Руководства разработана к главе
СНиП "Техника безопасности в строительстве".
При разработке и проведении мероприятий по технике безопасности необходимо кроме названной главы СНиП руководствоваться требованиями:
стандартов безопасности труда;
санитарно-гигиенических норм и правил Минздрава СССР;
правил техники безопасности Госгортехнадзора СССР, Госэнергонадзора Минэнерго СССР;
правил пожарной безопасности при производстве строительно-монтажных работ ГУПО МВД СССР;
других правил техники безопасности, утвержденных в установленном порядке органами государственного надзора или соответствующими министерствами и ведомствами СССР по согласованию с Госстроем СССР.
16.2. В случае введения новых приемов работ, применения новых материалов, видов машин, оборудования, механизмов, инструментов и приспособлений, по которым требования безопасного производства работ не предусмотрены в СНиП и других нормах и правилах, перечисленных в
п. 16.1 настоящего Руководства, следует, впредь до издания по этим вопросам норм и правил техники безопасности, выполнять требования инструкций по технике безопасности, разработанных организациями, внедряющими указанные средства и приемы работ.
Инструкции по технике безопасности утверждаются главным инженером вышестоящей организации.
16.3. В настоящей главе приведены общие требования по технике безопасности строительного производства в условиях реконструкции действующих предприятий. Требования по безопасности, связанные с выполнением отдельных видов работ, изложены в
гл. 5,
8.
16.4. Одна из главных особенностей организации мероприятий по технике безопасности в условиях реконструкции состоит в необходимости проведения их по двум направлениям:
по предохранению рабочих и ИТР строительно-монтажных организаций от опасностей, связанных с действующим производством (эксплуатации цеха), а рабочих и ИТР действующего производства от опасностей, связанных с работой строительно-монтажных организаций. Ответственность за подготовку мероприятий, обеспечивающих безопасность труда всех работающих в цехе и их соблюдение, в равной степени несут руководители строительно-монтажных организаций и действующего предприятия.
16.5. Мероприятия по технике безопасности при производстве строительно-монтажных работ в условиях реконструкции промышленных предприятий разрабатываются в составе ПОС(р) и ППР(р). Ответственными за разработку мероприятий по отдельным видам работ являются организации, участвующие в реконструкции (подрядчики и заказчики).
Разработанные мероприятия согласовываются с руководителями цехов и производств, на территории которых будут проводиться работы. Общее руководство разработкой мероприятий и контроль за их выполнением в части ведения строительно-монтажных работ осуществляет генеральная подрядная строительная организация, а по цеховым мероприятиям - дирекция предприятия. Весь комплекс мероприятий утверждается главным инженером генподрядной строительно-монтажной организации и главным инженером реконструируемого предприятия.
16.6. Перед началом работ по реконструкции предприятия все участвующие в реконструкции (ИТР и рабочие) строительно-монтажных организаций должны пройти инструктаж в отделе техники безопасности предприятия о правилах безопасности на территории предприятия и ознакомиться с правилами внутреннего распорядка предприятия. Инструктаж регистрируется в специальном журнале, форма которого приведена в главе
СНиП "Техника безопасности в строительстве".
16.7. Работники строительно-монтажных организаций, имеющие пропуска на действующее предприятие, должны находиться только на тех объектах и рабочих местах, которые предусмотрены планом работ. Запрещается самовольный вход работников строительно-монтажных организаций в действующие цехи.
16.8. В случаях возникновения в ходе работ по реконструкции непредвиденных ситуаций (обнаружения газа и других вредностей, аварийное состояние конструкций, аварии на действующих трубопроводах), создающих опасности для работающих, работы должны быть приостановлены до получения указаний по устранению опасностей, а линии электропитания немедленно обесточены и двигатели внутреннего сгорания выключены.
Прекращение работ оформляется актом (с участием исполнителей работ и представителей реконструируемого предприятия).
При необходимости для принятия решений по устранению аварийного состояния приглашаются специалисты-эксперты.
16.9. Перед началом работ на территории действующего цеха ответственный представитель генеральной подрядной организации и начальник цеха оформляют акт-допуск, форма которого приведена в главе "Техника безопасности в строительстве".
При оформлении акта-допуска рекомендуется участие субподрядных организаций. Отметка о выполнении мероприятий, намеченных в акте-допуске, заносится в акт-допуск (на его обороте) лицами, его подписавшими.
16.10. Перед началом работ в местах, где имеется или может возникнуть производственная опасность вне связи с характером выполняемых работ, перед их выполнением рабочим должен быть выдан письменный наряд-допуск (форма приведена в главе
СНиП "Техника безопасности в строительстве"), определяющий безопасные условия работ с указанием в нем опасных зон и необходимых мероприятий по технике безопасности. Наряд-допуск выдается на срок, необходимый для выполнения данного объема работ.
В случае изменения условий производства работ наряд-допуск аннулируется и перед возобновлением работ выдается новый.
Наряд-допуск подписывается ответственным лицом строительно-монтажной организации и ответственным представителем предприятия. При этом ответственность за полноту и обеспечение указанных в наряде-допуске мер безопасности несут руководители действующего предприятия и строительно-монтажной организации.
Выдачу наряда-допуска следует регистрировать в журнале
(прил. 13). Наряд-допуск аннулируется и выдается новый в случае, если принятые меры безопасности оказались недостаточными или изменился объем и характер работ.
16.11. Степень опасности работ устанавливается главным инженером строительно-монтажной организации.
К таким работам относятся:
работа строительных машин (экскаваторов, кранов и др.) внутри цехов, вблизи неизолированных токопроводов, находящихся под током (троллеи, шины и др.);
монтажные и демонтажные работы внутри действующих электроподстанций;
выполнение работ в загазованных помещениях, закрытых емкостях, требующие понижения содержания газа в воздушной среде до допустимых норм путем установки приточно-вытяжной вентиляции;
работы в помещениях со взрыво- и взрывопожароопасной средой;
проведение работ в помещениях с пылевыделяющими производствами (цементные, мукомольные и др.), требующими устройства вентиляции, аспирации, дополнительного освещения и проведения других мероприятий;
выполнение работ в действующих горячих цехах металлургических предприятий вблизи от расплавленного и остывающего металла;
производство работ в действующих цехах с интенсивной работой внутрицехового транспорта (мостовых кранов и др.);
проведение работ в зданиях, сооружениях и конструкциях, находящимся в аварийном состоянии с выполнением работ по специальной программе;
при выполнении работ в других условиях, где имеется или может возникнуть опасность, связанная с эксплуатацией цеха или выполнением специальных работ.
16.12. Перед работой по наряду-допуску рабочие строительно-монтажной организации должны быть проинструктированы на рабочем месте о мерах безопасности. Инструктаж проводится при одновременном участии ответственных руководителей строительно-монтажной организации и действующего цеха предприятия. Должностной уровень инструктирующих лиц должен быть не ниже начальника участка строительно-монтажного (монтажного) управления и заместителя начальника цеха.
16.13. При составлении акта-допуска и наряда-допуска, а также при инструктаже главное внимание должно быть обращено на выявление опасностей, которые имеются на действующем производстве и могут воздействовать на работников, осуществляющих реконструкцию.
16.14. При проведении работ по реконструкции в действующих цехах начальник цеха или его заместитель при участии представителя строительно-монтажной организации должен проинструктировать всех работающих в цехе ИТР и рабочих цеха о соблюдении мероприятий по безопасности, связанных с выполнением строительно-монтажных работ в цехе.
16.15. В случаях проведения работ по реконструкции на действующих предприятиях, когда в опасных зонах проведения строительно-монтажных работ и вблизи этих зон возможно передвижение работников реконструируемого производства, в ППР
(р) должно быть обращено особое внимание на комплекс мероприятий по ограждению и обозначению на местности опасных зон. Ограничения и предупреждающие знаки должны быть эффективными как в дневное, так и в ночное время. Места прохода людей, находящиеся вблизи от опасных зон, должны быть отгорожены, обозначены (для дневного и ночного времени) и в необходимых случаях оборудованы защитными устройствами (козырьками и т.п.). При решении вопросов об ограждениях следует руководствоваться
ГОСТ 23407-78 "Ограждения инвентарные строительных площадок и участков производства строительно-монтажных работ".
16.16. При выполнении работ на действующем предприятии рабочие и ИТР строительно-монтажных организаций должны проходить медицинские осмотры в порядке, установленном для работников данного предприятия.
Рабочие и инженерно-технические работники, занятые во время реконструкции на работах с вредными и опасными условиями, должны проходить медицинский осмотр в порядке и сроки, установленные Минздравом СССР. На них должны распространяться меры по охране труда и промсанитарии, одинаковые с эксплуатационным персоналом цеха.
При выполнении строительно-монтажных работ на территории или в цехах действующего предприятия контроль за соблюдением санитарно-гигиенических норм должен осуществляться в порядке, установленном для данного предприятия. Рабочие, назначенные на работу по наряду-допуску, заявившие о своем заболевании или, по мнению окружающих, заболевшие, к работе не допускаются и отправляются на врачебный пункт или в поликлинику.
16.17. В случае предоставления заказчиком изолированной площадки для производства работ по реконструкции (новый объект на предприятии, пристраиваемый пролет к цеху, полностью остановленный производством отдельный пролет или цех) при одновременной работе на реконструируемом предприятии нескольких субподрядных организаций мероприятия по безопасности труда должны проводиться в соответствии с "Положением о взаимоотношениях организаций - генеральных подрядчиков с субподрядными организациями", утвержденным Госстроем СССР и Госпланом СССР, предусматривающим:
принятие генподрядчиком мер общего характера по технике безопасности (устройство ограждений, защитных козырьков и сеток, ограждений отверстий и люков в перекрытиях, дополнительное освещение, обеспечение плакатами и т.п.) при одновременном производстве работ генподрядчиком и субподрядчиком (субподрядчиками). Несоблюдение генподрядчиком этих условий не снимает ответственности с субподрядчика за допущенные им нарушения безопасности условий работ и возможные в связи с этим несчастные случаи;
обеспечение субподрядчиком безопасных условий при производстве монтажных и иных специальных строительных работ, соблюдение действующих правил техники безопасности, противопожарных мероприятий и законодательство по охране труда;
принятие субподрядчиком всех мер по технике безопасности при выполнении им работ вне строительной площадки или на обособленном участке.
16.18. При производстве строительно-монтажных работ на действующем предприятии, в случае невозможности изолировать строительную площадку, заказчик, согласно "
Правилам о договорах подряда на капитальное строительство", обязан предоставить подрядчику фронт работ и осуществить за свой счет мероприятия общего характера по технике безопасности; установку специальных защитных устройств при производстве строительно-монтажных работ близ взрывоопасных аппаратов, электрооборудования, проводок под напряжением и т.д.
16.19. Отключение электроэнергии, оборудования и трубопроводов производится заказчиком (цехом) до начала работ в соответствии с графиком или по требованию руководства строительно-монтажной организации. Отметка об отключении заносится в акт-допуск ответственным представителем заказчика (цеха) с указанием времени (день, час, минута) отключения электроэнергии и очистки трубопроводов.
16.20. В помещениях, относящихся к категории пожаро-, взрывоопасных, допускается проводить работы только с разрешения ответственного представителя заказчика, согласованного с пожарной охраной и газоспасательной станцией.
Огневые работы на территории и в цехах действующего предприятия следует производить в полном соответствии с инструкцией по организации проведения огневых работ на действующем предприятии, утвержденной в установленном порядке.
16.21. При выполнении работ в загазованном помещении (с предельно допустимой концентрацией газа) и в местах, расположенных ниже уровня земли или пола (подвалы, колодцы, траншеи и др.) необходимо ежедневно перед началом работ производить анализ воздушной среды. Работа в загазованной воздушной среде должна производиться в присутствии газоспасателя.
Работы во взрывоопасных помещениях и помещениях с агрессивными и вредными веществами рекомендуется выполнять в дневное время.
16.22. В связи с необходимостью обеспечить нормальную работу предприятия и повышенные требования по технике безопасности на реконструируемых объектах без их остановки, надзор за выполнением строительно-монтажных работ со стороны линейного персонала подрядных организаций должен быть усилен.
ДОПОЛНИТЕЛЬНЫЕ МЕРОПРИЯТИЯ ПО ОБЕСПЕЧЕНИЮ БЕЗОПАСНОСТИ
ПРИ ПРОВЕДЕНИИ МОНТАЖНЫХ И СПЕЦИАЛЬНЫХ СТРОИТЕЛЬНЫХ РАБОТ
16.23. К началу работ по монтажу (демонтажу) на действующем предприятии его администрация должна представить генподрядной или монтажной организации письменные сообщения:
о полной подготовке производства к выполнению монтажных работ, в том числе об освобождении заказчиком всех трубопроводов, аппаратов и прочего оборудования от продуктов и полупродуктов производства и об их обезвреживании;
о назначении руководством предприятия лица из ИТР (с указанием фамилии, инициалов и должности), ответственного за организацию и соблюдение всех мер, обеспечивающих безопасность выполнения монтажных работ;
о назначении лиц (с указанием фамилии, инициалов и должности) для проведения регулярного инструктажа на рабочих местах рабочих и ИТР монтажной организации по соблюдению правил санитарии, техники безопасности и противопожарной охраны.
16.24. В ППР(р) или технологических картах на демонтаж оборудования и трубопроводов должна быть указана последовательность демонтажа, обеспечивающая устойчивость остающихся узлов и частей оборудования и трубопроводов и исключающая их падение либо потерю устойчивости. Должно быть также указано место складирования отдельных деталей и узлов демонтируемого оборудования, трубопроводов, материалов и других изделий.
Запрещается одновременная разборка оборудования, трубопроводов, конструкций в двух и более ярусах одной вертикали.
16.25. В зависимости от объема огневых работ рекомендуется составление "Плана огневых работ" на весь период их проведения, в котором следует изложить все мероприятия, обеспечивающие безопасность огневых работ. План должен быть разработан совместно администрацией цеха, руководством генподрядной и субподрядной организаций и согласован с пожарной охраной и газоспасательной станцией предприятия.
План утверждается главным инженером предприятия или заместителем главного инженера по производству или начальником производства.
Наличие указанного плана не исключает выдачу разрешения на производство огневых работ.
В соответствии с "Типовой инструкцией по организации безопасного проведения огневых работ на взрывоопасных и взрывопожароопасных объектах", утвержденной Госгортехнадзором СССР, разрешение выдается начальником цеха (заместителем начальника производства) на одну смену. При этом, если намеченные работы не закончены в установленный срок, то разрешение может быть продлено начальником цеха (зам. начальника по производству), но не более чем на одну смену.
При проведении реконструкции с полной остановкой производства разрешение выдается на весь срок реконструкции.
Перед проведением огневых работ должна быть произведена подготовка рабочего места. Во взрыво- и пожароопасных производствах в процессе подготовки к огневым работам аппараты и машины должны быть остановлены и освобождены от взрывоопасных веществ. Должны быть проведены работы по устранению взрывоопасных концентраций в аппаратуре, трубопроводах и воздушной среде производственного помещения.
Для предупреждения взрывов паров и газов, а также легковоспламеняющихся жидкостей рекомендуется все свободные емкости, сопряженные с реконструируемым объектом, заполнять водой, инертным газом или паром с непрерывной их подпиткой.
В отдельных случаях с разрешения руководства предприятия-заказчика допускается проведение огневых работ без прекращения технологического процесса в отделении или цехе при условии, что это не создает угрозы взрыва или пожара и не противоречит правилам техники безопасности и технологическому регламенту основного производства.
В этом случае в течение всего времени огневых работ эксплуатационный персонал должен принимать необходимые меры для недопущения выделения пыли и газов в атмосферу цеха или разлива горючих жидкостей в помещениях цеха: вскрытия люков, крышек и лазов аппаратов, перегрузки и слива продуктов, загрузки аппаратов через открытые люки и других операций, способствующих повышению загазованности и запыленности мест производства огневых работ.
Для проведения монтажных работ в пожаро- и взрывоопасных условиях должен применяться специальный ручной инструмент, не дающий искр, или ручные пневматические машины с обеспечением отсутствия искр от рабочего органа.
В случае возникновения пожара лица, занятые на проведении огневых работ, обязаны немедленно вызвать пожарную команду и одновременно принять меры к локализации и ликвидации очага загорания или пожара имеющимися средствами пожаротушения.
Ответственный представитель заказчика (начальник цеха или его заместитель) может подписать "Разрешение на проведение огневых работ" только после выполнения всех мероприятий, обеспечивающих безопасное их проведение.
16.26. При выполнении работ в действующих цехах с применением грузоподъемных кранов или других подъемных механизмов и машин ответственный представитель монтажной организации обязан получить специальное разрешение от ответственного представителя заказчика на использование указанных машин и механизмов; в наряде-допуске должны быть указаны фамилии крановщиков и такелажников.
16.27. При монтаже оборудования в цехах с помощью мачт, стреловых самоходных кранов или других такелажных устройств должна быть огорожена опасная зона радиусом не менее высоты мачты (длины стрелы).
16.28. Работы внутри находившихся в эксплуатации емкостей, аппаратов, газоходов, колодцев и каналов (далее называются емкости) должны производиться только по наряду-допуску.
На работы внутри емкостей с загазованностью в пределах допустимой концентрации, а также на работы внутри их по защите от коррозии или другие работы, при производстве которых выделяется газ, необходимо назначать звенья в составе не менее трех человек (из них двое страхующих), обученных обращению с газозащитными приборами, методами оказания первой помощи и снабженных индивидуальными защитными средствами.
При производстве антикоррозионных работ, а также других работ, при которых происходит выделение газа (в недопустимых объемах) в закрытых емкостях рабочие должны работать в противогазах с принудительной подачей воздуха, предварительно очищенного в специальных фильтрах или с выкидными шлангами в зону свежего воздуха.
Для проветривания замкнутых или полузамкнутых пространств должны быть установлены вентиляторы переносного типа с воздуховодами или шлангами.
При длине шлангов 10 м и более должна осуществляться принудительная подача воздуха (например, противогаз ПШ-2, но с установкой его электродвигателя вне цеха или в помещении с нормальной средой).
О всех замеченных при производстве работ внутри емкостей помещений опасностях (выделение газов, возгорание жидкости) работающие должны немедленно сообщить ответственному руководителю работ. В случае аварии работа должна быть немедленно прекращена, люди удалены и вызваны газоспасатели и пожарные.
Осмотр и внутреннюю реконструкцию закрытых емкостей разрешается поручать исполнителям только мужского пола, не моложе 18 лет, прошедшим специальное медицинское обследование.
На участках, прилегающих к емкостям, внутри которых производятся огневые работы, должны быть сосредоточены первичные средства пожаротушения, скомплектованные по указанию пожарной охраны.
16.29. Организация безопасного ведения электромонтажных работ на реконструируемых объектах осуществляется путем выполнения мер и требований, изложенных в: главах III части СНиП
"Техника безопасности в строительстве" и "Электротехнические устройства", "
Правилах техники безопасности при эксплуатации электроустановок потребителей" Минэнерго, Госэнергонадзора; "Правилах техники безопасности при электромонтажных и наладочных работах", Минэнерго, Минмонтажспецстроя; инструкциях по безопасности работ в электроустановках, разработанных на основании перечисленных нормативных документов, отражающих особые условия (местные) реконструируемого предприятия и утвержденных в установленном порядке.
Работы по присоединению и подключению, согласно проекту (отсоединению и отключению) всех вновь смонтированных (после реконструкции) электроустановок, кабельных сетей и линий электропередачи к действующим электроустановкам и электросетям должны выполняться эксплуатационным персоналом электроустановок после полного окончания электромонтажных работ.
При необходимости устранения недоделок и выявленных дефектов электроустановка должна быть обесточена путем снятия шлейфов, шин, спусков к оборудованию или отсоединения питающих кабелей.
Установка и снятие каких-либо перемычек между монтируемым и действующим оборудованием, а также любые временные подключения к действующим схемам (электрическим, паровым, технологическим, водным и др.) могут производиться только при письменном согласовании монтажной организации с заказчиком.
Работникам электромонтажных организаций запрещается производить работы в действующих электроустановках без снятия напряжения или вблизи их, а также приближаться с инструментом, оснасткой или механизмом к открытым токоведущим частям на опасное расстояние.
Как исключение, допускается производство работ в действующих электроустановках только по письменному разрешению начальника или главного инженера электромонтажной организации и наряда-допуска, выданного эксплуатирующей организацией.
При выполнении работ с полным снятием напряжения или вдали от токоведущих частей, когда эти токоведущие части ограждены от проникновения персонала электромонтажной организации, наряд выдается на имя производителя работ электромонтажной организации.
При частичном снятии напряжения и при отсутствии ограждения, исключающего доступ к токоведущим частям, находящимся под напряжением, работа выполняется под постоянным надзором наблюдающего от эксплуатирующей организации, и наряд выдается на имя наблюдающего.
Запрещается производить работы на смонтированном и переданном под наладку электрооборудовании (электроустановке) без разрешения руководителя наладочных работ.
При необходимости производства работ по устранению недоделок и дефектов на оборудовании в электроустановках и на коммуникациях, переданных в наладку, они передаются монтажному персоналу отсоединенными и с обязательным письменным оформлением.
При передаче установки монтажному персоналу принятие мер, исключающих поступление продукта и подачу напряжения на установку (отключение, установка заглушек, разборка схемы, заземление, отсоединение шин, спусков и кабелей, вывешивание плакатов и т.п.), входит в обязанности эксплуатационного персонала.
Не допускается использовать находящиеся в стадии монтажа электрические сети, распределительные устройства, щиты, панели и их отдельные ответвления и присоединения в качестве временных электрических сетей и установок для обслуживания строительных и монтажных работ, а также других объектов заказчика.
В отдельных случаях, при наличии письменного разрешения руководства электромонтажного управления, разрешается временное использование законченных монтажом, но не принятых в эксплуатацию электрических сетей, распределительных устройств и др. для обслуживания строительно-монтажных работ или нужд заказчика.
16.30. Пневматическое испытание оборудования и трубопроводов на прочность внутри действующих цехов, а также на эстакадах, в каналах и лотках, где уложены трубопроводы, находящиеся в работе, не разрешается.
16.31. Контроль за соблюдением правил поведения персонала монтажной организации на территории действующего предприятия и за соблюдением им правил техники безопасности при выполнении монтажных, огневых и других работ осуществляется инженерно-техническими работниками монтажной организации, а при выполнении работ в непосредственной близости от действующего оборудования - заказчика.
ПРИМЕРЫ НАИМЕНОВАНИЯ ОБЪЕКТОВ ТЕХНИЧЕСКОГО ПЕРЕВООРУЖЕНИЯ
И РЕКОНСТРУКЦИИ
Техническое перевооружение ____________________________________________
станкостроительного завода
Техническое перевооружение прядильного цеха ___________________________
______________________________ текстильной фабрики.
Реконструкция _________________________________________________________
тракторного завода с расширением __________________________________________
_____________________________________________________________________ цехов
Реконструкция _________________________________________________________
______________________________________________________________________ цеха
__________________________________________________ завода с увеличением его
площади ___________________________________________________________________
Реконструкция тарного цеха ____________________________________________
____________________________________________________________________ завода
Реконструкция инженерно-лабораторного корпуса _________________________
____________________________________________________________________ завода
ТЕХНИЧЕСКОГО СОСТОЯНИЯ КОНСТРУКЦИЙ ЗДАНИЙ, СООРУЖЕНИЙ,
КОММУНИКАЦИЙ, ОБОРУДОВАНИЯ РЕКОНСТРУИРУЕМОГО ЦЕХА,
ЗДАНИЯ, СООРУЖЕНИЯ
Наименование цеха (здания, сооружения), конструкций, коммуникаций, оборудования, их размеры (характеристики) | Единица измерения | Количество | | Год установки | Техническое состояние, заключение об использовании |
| | | | | |
МАТЕРИАЛОВ, ПОЛУЧАЕМЫХ ОТ РАЗБОРКИ ЗДАНИЯ (СООРУЖЕНИЯ)
Наименование материала | Единица измерения | Количество | Рекомендации по использованию |
| | | |
ПРОТОКОЛ СОГЛАСОВАНИЯ ПРОЕКТА
ОРГАНИЗАЦИИ РЕКОНСТРУКЦИИ
___________________________________________________________________________
(наименование объекта)
___________________________________________________________________________
(место выполнения работ)
1. Сроки, очередность и последовательность реконструкции предприятия
___________________________________________________________________________
2. Распределение объемов работ по периодам реконструкции __________________
___________________________________________________________________________
3. Сроки разработки проектно-сметной документации
___________________________________________________________________________
4. Перечень работ и сроки подготовки территории и объектов к реконструкции
___________________________________________________________________________
5. Размещение на генеральном плане временных зданий и сооружений,
коммуникаций, складов, дорог, строительных машин и т.п.
___________________________________________________________________________
6. Ведомость объемов работ_______________________________
7. Потребность в строительных конструкциях, изделиях, деталях,
полуфабрикатах, оборудовании ___________________________________________
8. Потребность в основных строительных машинах ____________________________
9. Потребность в рабочих кадрах по профессиям _____________________________
освобождение зданий, подлежащих сносу; передача разрешения на перенос
с площадки сооружений и коммуникаций; передача разрешений
на использование зданий и сооружений заказчика (бытовых помещений,
мастерских и подсобных производств), культурно-бытовое обслуживание
работников; условия складирования строительных материалов, сменность,
сроки остановок, оценка стесненности и сложности условий выполнения
работ.
ЗАКАЗЧИК __________________________________________________________________
ПРОЕКТНАЯ ОРГАНИЗАЦИЯ _____________________________________________________
СОГЛАСОВАНО:
Гл. инженер объединения (треста) генподрядчик
Главные инженеры основных
субподрядных организаций
(по рекомендации генподрядчика)
Примечание к протоколу. В
п. 10 может быть сделана ссылка на материалы
предпроектных обследований.
ПРИМЕР СОГЛАСОВАНИЯ ДОКУМЕНТОВ ППР(р) НА РАБОТЫ
ПОДГОТОВИТЕЛЬНОГО ПЕРИОДА ПРИ РЕКОНСТРУКЦИИ ПРЕДПРИЯТИЯ
Документы | Исполнитель | Предмет согласования | Согласовывающая организация |
Проекты разборки существующих зданий и сооружений | Генеральный подрядчик | Использование материалов от разборки. Схемы транспортирования строительных материалов и движения машин; условия работы строительных машин. Применение взрывных методов обрушения стен, труб, предотвращение пыления и т.д. Сроки выполнения работ. Мероприятия по безопасности | Дирекция предприятия-заказчика. Управление (трест) механизации. Органы исполкомов Советов народных депутатов (при необходимости) |
Проекты перекладки инженерных сетей | Специализированные субподрядные организации | Способы и сроки выполнения работ. График отключения и подключения сетей | Дирекция предприятия-заказчика. Органы государственного надзора. Органы исполкомов Советов народных депутатов (при работах вне территории) |
Проекты устройства временных дорог и проездов | Генеральный подрядчик | Сроки выполнения отдельных видов работ. Транспортные схемы, сроки и продолжительность закрытия отдельных внутризаводских магистралей и т.д. | Дирекция предприятия-заказчика. Органы Госавтоинспекции и исполкомов Советов народных депутатов (при работах вне территории) |
Проект строительства временных зданий и сооружений (в т.ч. прокладка инженерных сетей) | То же | Места размещения временных зданий и сооружений; помещения, используемые на время работ, подключение временных инженерных сетей водоснабжения, электро-, пароснабжения и т.п. | Дирекция предприятия-заказчика |
План размещения площадок для складирования материалов, укрупнительной сборки, ревизии оборудования | " | Места складирования материалов, конструкций и технологического оборудования (включая расположенные вне территории предприятия) | Дирекция предприятия-заказчика. Органы надзора исполкомов Советов народных депутатов (при расположении вне территории) |
ПРИМЕР СОГЛАСОВАНИЯ ПРОЕКТА ПРОИЗВОДСТВА РАБОТ
НА РЕКОНСТРУКЦИЮ ДЕЙСТВУЮЩИХ ЦЕХОВ ППР(р)
Документы | Исполнитель | Состав документации | Вопросы, требующие детального рассмотрения | Согласование ППР(р) |
предмет согласования | с кем согласовывается |
Календарный план производства работ | Генеральный подрядчик и субподрядные специализированные организации | График работ. Ведомости объемов работ и потребности в машино-сменах. Графики движения рабочих, работы строительных машин, поступления строительных конструкций, материалов и оборудования | Сроки выполнения работ. Очередность реконструкции участков цеха. Увязка работы бригад с работой цеха. Использование мостовых кранов предприятия на время производства работ. Использование рабочих предприятия | Сроки предоставления фронта работ, освобождение площадей и мест работы. Сроки поставки оборудования. Число рабочих, выделяемых предприятием | Дирекция предприятия. Субподрядные строительные организации |
Стройгенплан | То же | Объектный стройгенплан. Расчет потребности в воде, электроэнергии и других ресурсах. Расчет потребности в объектных складах, площадках укрупнительной сборки конструкций, ревизии оборудования и т.п. Расчет потребности в бытовых и административных зданиях. Схема организации перевозок строительных материалов и конструкций | Места доставки строительных машин, складирования материалов, организация площадок и т.п. Состав, местонахождение помещений, используемых во время реконструкции цеха. Места подключения сетей временного электроснабжения, водоснабжения и т.п., их трассировка | Сроки передачи подрядчику зданий и сооружений для использования на время реконструкции. Оформление разрешения на врезку сетей в действующие коммуникации предприятия. Обеспечение безопасности производства работ в действующем цехе. Порядок использования и обустройства дорог, переездов и других сооружений. Организация дорожного движения у объектов реконструкции | Дирекция предприятия. Подразделение ГАИ, обслуживающее территорию предприятия |
Технологические карты на: | | | | | |
разборку конструкций | Генеральный подрядчик или специализированная субподрядная организация | Ведомость обследования зданий и сооружений, подлежащих разборке, ситуационный план участка, стройгенплан, график производства работ, схемы выполнения работ и способы крепления конструкций, мероприятия по безопасному ведению работ | Способы разборки и методы крепления конструкций, отключение сетей водопровода, электроснабжения, транспортные схемы отвозки строительного мусора, защита окружающих цехов и сооружений, схемы работы машин, ограждения территорий | Сроки и методы проведения работ, мероприятия по защите действующего оборудования и других цехов от пыли, взрывной волны, падающих обломков и т.п. Методы обеспечения нормального протекания производственного процесса на предприятии, мероприятия по безопасности | Дирекция предприятия |
усиление конструкций | Генеральный подрядчик или генпроектировщик | Календарный график, стройгенплан, схемы организации и методы производства работ, графики работы машин и механизмов, пояснительная записка | Способы поддержания вышерасположенных конструкций, транспортные схемы подачи материалов, места складирования материалов, схемы работы строительных машин | Сроки и методы производства работ, освобождение отдельных частей здания на время производства работ, способы защиты технологического оборудования, расположенного под усиливаемыми конструкциями, мероприятия по безопасности | Дирекция предприятия |
общестроительные работы (земляные, бетонные, монтаж и т.д.) | Генеральный подрядчик | Календарные графики, стройгенплан, схемы организации работ, график завоза строительных материалов, конструкций и работы строительных машин | Схемы транспортирования строительных материалов и вывозки мусора, места складирования материалов, схемы работы механизмов | Сроки выполнения работ, очередность освобождения участков цеха, методы выполнения работ, мероприятия по безопасности | То же |
специализированные работы (электромонтажные, санитарно-технические, монтаж технологического оборудования и т.д.) | Соответствующие специализированные субподрядные организации, специализированные проектные организации (разработчики) ППР(р) | Графики производства работ, поставки оборудования и завоза материалов, стройгенплан, схемы производства работ, краткая пояснительная записка | Транспортные схемы подачи оборудования и завоза материалов, места складирования материалов, ревизии технологического оборудования и подготовки его под монтаж, способы выполнения монтажных работ | Сроки выполнения работ и поставки оборудования, места подключения сетей, условия выполнения специальных работ, очередность представления фронта работ, мероприятия по безопасности | Дирекция предприятия, генподрядная строительная организация |
ВЕДОМОСТЬ ОБСЛЕДОВАНИЯ ЗДАНИЯ (СООРУЖЕНИЯ, КОНСТРУКЦИИ),
ПОДЛЕЖАЩЕГО РАЗБОРКЕ
Краткая характеристика: а) количество этажей _______
б) каркасное, бескаркасное (подчеркнуть)
в) наличие подвалов, технологических тоннелей
N п.п. | Дата обследования | Этаж | Наименование конструкции | Место расположения конструкции | Характеристика конструкции (материал) | Размер, мм | Состояние конструкции (наличие дефектов-повреждений, трещин отклонений от вертикали и пр.) | Объем работы по разборке | Количество материала, пригодного для повторного использования | Количество и места вскрытий при обследовании | Наличие инженерных сетей, сопрягающихся с конструкцией (какие) |
единица измерения | количество |
| | | | | | | | | | | | |
Подписи:
Представитель УКСа (ОКСа) предприятия-заказчика
Представитель цеха
Представитель подрядной организации
СПЕЦИФИКАЦИЯ КОНСТРУКТИВНЫХ ЭЛЕМЕНТОВ РАЗБИРАЕМОГО
ЗДАНИЯ (СООРУЖЕНИЯ)
___________________________________________________________________________
(наименование здания, сооружения)
его размеры (при сложном очертании приводится схема) ______________________
_____________, краткая конструктивная характеристика ______________________
___________________________________________________________________________
N п.п. | Наименование элементов, эскиз с размерами | Материал | Количество | Масса элементов, т |
одного | всех |
| | | | | |
ГРАФИК ВЫПОЛНЕНИЯ БЕТОННЫХ РАБОТ
ПРИ РЕКОНСТРУКЦИИ _________________________ ЗАВОДА
Наименование цеха | Объем работ | Трудоемкость, чел.-дн. | Потребные машины | Продолжительность работы, дни | Количество смен | Число рабочих в смену | Состав бригады | График работ, мес, недели |
единица измерения | количество | наименование | количество маш.-см. |
| | | | | | | | | | |
ГРАФИК ВЫПОЛНЕНИЯ БЕТОННЫХ РАБОТ
ПРИ РЕКОНСТРУКЦИИ _________________________ ЦЕХА
Наименование участков и работ | Объем работ | Трудоемкость, чел.-дн. | Потребные машины | Продолжительность работы, дни | Количество смен | Число рабочих в смену | Состав бригады | График работ мес, дни |
единица измерения | количество | наименование | количество маш.-см. |
Участок N 1 | | | | | | | | | | |
Бетонирование новых фундаментов Усиление фундаментов. Усиление колонн Бетонирование полов | | | | | | | | | | |
Участок N 2 | | | | | | | | | | |
и т.д. | | | | | | | | | | |
ВЕДОМОСТЬ ОБЪЕМОВ БЕТОННЫХ РАБОТ
ПО РЕКОНСТРУКЦИИ _________________________ ЦЕХА
Наименование работ | Единица измерения | Участок N | Всего |
1 | 2 | 3 | 4 |
1. Бетонирование новых фундаментов: | | | | | | |
монтаж арматурных каркасов и закладных деталей | | | | | | |
монтаж опалубки | | | | | | |
укладка и уплотнение бетонной смеси | | | | | | |
уход за бетоном (7 - 10 сут) | | | | | | |
демонтаж опалубки | | | | | | |
2. Усиление фундаментов: | | | | | | |
подрубание сопрягаемых поверхностей бетона | | | | | | |
очистка сопрягаемых поверхностей | | | | | | |
и т.д. | | | | | | |
ПЛАН МЕРОПРИЯТИЙ ПО КОНТРОЛЮ
КАЧЕСТВА БЕТОННЫХ РАБОТ ПРИ РЕКОНСТРУКЦИИ
Что контролируется | На какой стадии работ | Метод контроля | Требования к качеству | Каким документом оформляется |
Пример заполнения |
Выполнение арматурных работ | Перед бетонированием | Визуальный и измерением | Соответствие проекту марки стали, диаметров, количества и расположения стержней | Акт на скрытые работы с участием представителей заказчика |
Выполнение опалубочных работ | То же | То же | Соответствие проекту размеров, положения опалубки, ее закрепления | Запись в журнале бетонных работ |
Качество бетонной смеси | " | По документам бетонного завода | Вид и марка цемента, марка и крупность щебня | То же |
Качество ухода за бетоном | В течение 7 - 8 дней после бетонирования | Влажный режим - осмотрами | Постоянный влажный режим | Запись в журнале контроля, участие заказчика |
Качество уплотнения бетонной смеси | После снятия опалубки | Осмотр | Не должно быть раковин | Запись в журнале или акт на скрытые работы с участием заказчика при засыпаемых конструкциях |
ЖУРНАЛ УЧЕТА ВЫДАЧИ НАРЯДОВ-ДОПУСКОВ
НА ПРАВО ПРОИЗВОДСТВА ОПАСНЫХ И СОВМЕЩЕННЫХ РАБОТ
в ____________________________________
(наименование организации)
N наряда-допуска и дата выдачи | Наименование работ | Кому выдан наряд-допуск (должность, ф. и. о.) | Сроки выполнения работ |
начала | окончания | фактического окончания |
| | | | | |
Продолжение прил. 13
N наряда-допуска и дата выдачи | Наряд-допуск продлен на срок (указать дату) | Должность, ф. и. о., подпись | Ответственный исполнитель работ | Продлившего наряд-допуск |
выдавшего наряд-допуск | ответственного руководителя |
| | | | | |