Главная // Актуальные документы // РуководствоСПРАВКА
Источник публикации
М.: Стройиздат, 1970
Примечание к документу
Взамен Инструкции по расчету стальных форм, Госстройиздат, 1963.
Название документа
"Руководство по расчету и проектированию стальных форм"
"Руководство по расчету и проектированию стальных форм"
ПО РАСЧЕТУ И ПРОЕКТИРОВАНИЮ СТАЛЬНЫХ ФОРМ
Руководство содержит основные положения расчета и рационального конструирования стальных форм для производства сборного железобетона, а также вспомогательный расчетный материал, включая примеры. Руководство является нормативным документом, предназначенным для специалистов проектных институтов и конструкторских бюро, занимающихся проектированием форм, а также для инженерно-технических работников заводов, изготовляющих и эксплуатирующих формы.
Руководство рекомендовано к изданию Госстроем СССР. С его опубликованием утрачивает силу "Инструкция по расчету стальных форм" (Госстройиздат, 1963).
В промышленности сборного железобетона формы являются основным и самым массовым технологическим оборудованием, которым в значительной степени определяются качество железобетонных изделий и технико-экономические показатели производства.
Практически в формах изготовляется весь сборный железобетон (только станы непрерывного проката и бетонирующие комбайны позволяют выпускать изделия без опалубки). Основные технологические методы изготовления железобетонных изделий - агрегатно-поточный, конвейерный, кассетный и стендовый характеризуются бетонированием изделий в формах.
В СССР применяются в основном стальные формы. Удельный вес форм в затратах стали на технологическое оборудование заводов сборного железобетона доходит до 60 - 70%. Суммарный парк форм по стране определяется в 750 - 850 тыс. т, что составляет примерно 650 - 700 тыс. единиц оборудования. Эти цифры не включают около 200 тыс. форм, которые не используются в производстве из-за отсутствия заказов на отдельные виды изделий, изменения номенклатуры изделий или по другим причинам. На изготовление новых форм, ремонт и замену износившихся форм по самым скромным подсчетам ежегодно расходуется свыше 250 тыс. т стали.
Высокая металлоемкость форм, большой масштаб их применения, зависимость от форм характеристик изделий почти по всем важнейшим показателям - эти и другие столь же важные обстоятельства требуют особого внимания к вопросам правильного проектирования стальных форм. Немаловажным фактором является и то, что форма - весьма специфическая конструкция как по характеру прилагаемых к ней воздействий, так и по условиям работы. В совокупности все это потребовало разработки методики расчета форм и выявления принципов рационального их конструирования.
В Руководстве освещены общие вопросы проектирования форм, а также основные положения статического расчета, даны формулы для расчета как форм в целом, так и их элементов и деталей, приведены основы динамического расчета форм. В главах по конструированию приведены основные принципы рационального проектирования, на основе которых должны разрабатываться конкретные решения. В 12 приложениях к расчетной части Руководства содержится вспомогательный материал в виде формул, таблиц, графиков и соответствующих к ним пояснений, а также примеры расчета.
Руководство, являясь основным рабочим документом по расчету и проектированию форм, естественно, не охватывает полностью вопросы взаимодействия формы и забетонированного в ней изделия (изделий) при разных технологических переделах: формовании, тепловлажностной обработке бетона, передаче предварительного напряжения с арматуры на бетон, распалубливании. Поскольку эти взаимодействия весьма существенно сказываются на качестве железобетонных изделий по многим важнейшим показателям, при проектировании формы им нужно уделять пристальное внимание. В принимаемом решении формы и при назначении толщины листов, образующих рабочие поверхности поддона и бортов, по возможности, должна найти отражение и планируемая оборачиваемость формы.
Руководство разработано в лаборатории совершенствования заводской технологии железобетона (руководитель лаборатории инж. А.А. Фоломеев) канд. техн. наук Г.С. Митником. Отдельные разделы и главы подготовлены им совместно с инж. В.Е. Карамзиным
(глава 5) и канд. техн. наук Т.В. Юриной
(раздел К главы 6).
Приложение XI составлено канд. техн. наук И.Е. Блехманом. При подготовке
глав 11 -
14 использованы работы канд. техн. наук И.Е. Блехмана (ЦНИИОМТП), инженеров А.М. Желтякова (КБ по железобетону Госстроя РСФСР), Л.А. Либермана (Гипростроммаш), кандидатов техн. наук Э.Г. Ратца (ВНИИЖелезобетон), Т.В. Юриной (трест Оргтехстрой Главзападуралстроя).
Замечания по содержанию Руководства просьба направлять в НИИЖБ по адресу: Москва, Ж-389, 2-я Институтская, 6.
Дирекция НИИЖБ
Нагрузки и силы
N - сила натяжения арматуры изделия;
g - сплошная равномерная нагрузка от собственного веса формы;
p - то же, от веса свежеуложенной бетонной смеси;
q - то же, суммарная (q = g + p);
Q - суммарная вертикальная нагрузка (Q = ql);
p1 - интенсивность вертикального давления от вибрируемой бетонной смеси и пригрузочного (штампующего, прессующего) устройства;

- боковое давление от вибрируемой бетонной смеси и пригрузочного (штампующего, прессующего) устройства;
P - сила предварительного напряжения формы;
P1 - усилие, возникающее в стержнях (тягах) предварительно напряженной формы при приложении силы натяжения арматуры изделия и сплошной равномерной нагрузки от веса свежеуложенной бетонной смеси.
Геометрические характеристики
b - ширина формы;
l - длина формы;
a - расстояние между опорами по длине;
c - длина консоли формы;

- отношение длины консоли к расстоянию между опорами

;
h - высота борта, высота слоя бетона;

- толщина обшивки;
b1 - размер ячейки обшивки по ширине поддона;
a1 - то же, по длине;
F - приведенная площадь поперечного сечения формы;
J - приведенный момент инерции сечения;
r - радиус инерции сечения;
Jк - момент инерции при свободном кручении;
Fт - площадь стержней или тяг, создающих предварительное напряжение формы или разгружающих ее от изгибающего момента;
eс - расстояние от центральной плоскости формы до верхней грани обшивки поддона;
e - эксцентриситет приложения силы натяжения арматуры изделия относительно центральной плоскости формы;
e' - расстояние от центральной плоскости до центра тяжести стержней или тяг, создающих предварительное напряжение формы или разгружающих ее от изгибающего момента;
e1 - смещение центральной плоскости вверх относительно оси напряженной арматуры или оси шарниров вниз относительно центральной плоскости (в форме с качающимися упорами), исключающее вертикальную деформацию формы;
Fа - площадь предварительно напряженной арматуры изделия.
Характеристики материалов
R - расчетное сопротивление стали;
Rн - нормативное сопротивление стали стержней (тяг), создающих предварительное напряжение формы;
E - модуль упругости материала формы;
G - модуль сдвига;
Eа - модуль упругости арматуры;
Eт - модуль упругости стержней или тяг, создающих предварительное напряжение формы или разгружающих ее от изгибающего момента;

- объемный вес бетона.
Деформации
y - деформация формы (элемента формы) от расчетных нагрузок;
[y] - допускаемый прогиб формы;
[yв] - то же, выгиб;

- продольное сближение формы на уровне оси напряженной арматуры;

- допускаемая величина продольного сближения;
yд - прогиб формы при диагональном опирании;
[yд] - допускаемый прогиб формы при диагональном опирании;
y1 - прогиб обшивки от расчетной нагрузки;
[y1] - допускаемый прогиб обшивки;

- прогиб борта от расчетной нагрузки;

- допускаемый прогиб борта.
Допуски и отклонения размеров

- допуск на линейный размер изделия;

- то же, формы;

и

- соответственно положительное и отрицательное допускаемое отклонение размера изделия;

и

- то же, формы;

- отклонение размера по ширине или по длине формы за счет зазоров в шарнирных сопряжениях, податливости подкосов или стяжек, удерживающих борта, а также податливости замковых соединений;

- увеличение зазоров в шарнирных и замковых соединениях в процессе эксплуатации формы;

- отклонение размера изделия в связи с деформативностью (усадкой и ползучестью) бетона;

- укорочение изделия при передаче предварительного напряжения с арматуры на бетон;

- изменение размера на уровне верха изделия от поворота торцового сечения при внецентренном приложении силы натяжения арматуры;

- то же, на уровне низа изделия;

- то же, по всей высоте изделия;

- отклонение размера изделия по ширине и длине от расплыва (осадки) бетона при немедленном распалубливании;
bи и lи - проектный размер изделия по ширине и длине;
bф и lф - то же, формы;
hи - проектный размер изделия по высоте;
hф - то же, формы;

- допускаемая неплоскостность поддона;

- приращение высоты изделия за счет производственных факторов, в том числе и бетонирования "с верхом", или уменьшение высоты вследствие расплыва (осадки) бетона при немедленном распалубливании.
Размерность
Сила - в кГ.
Линейные размеры - в см.
НАЗНАЧЕНИЕ И ОБЛАСТЬ ПРИМЕНЕНИЯ
1.1. Руководство предназначено для использования при расчете и конструировании стальных форм, в которых изготовляются железобетонные изделия с предварительно напряженной и обычной ненапряженной арматурой. Запроектированные формы должны отвечать действующим ГОСТ и (или) ТУ на отдельные виды форм.
1.2. Руководство разработано применительно к формам, эксплуатируемым по основным технологическим схемам производства - агрегатно-поточной, конвейерной, стендовой, а также на установках типа двух- и трехъярусных конвейеров и т.п.
1.3. Руководством охвачены расчет и проектирование форм для изделий различных размеров и сечений, в том числе плитных (плиты и панели плоские, многопустотные, ребристые, стеновые панели, элементы сборных оболочек, дорожные плиты и т.п.), балочных (балки, фермы, ригели), линейных (сваи, опоры и т.п.), массивных (блоки стен, фундаментов и т.п.). Основные положения по расчету и проектированию, содержащиеся в Руководстве, могут быть использованы при разработке форм для изделий специального назначения (труб, тюбингов, шпал и т.п.).
1.4. Основными положениями Руководства можно пользоваться также при расчете форм из неметаллических материалов - деревянных, деревометаллических, железобетонных, стеклопластиковых и др.
1.5. Руководство не распространяется на механизированные кассетные установки, служащие для изготовления панелей в вертикальном положении, а также на поворотные формы в части используемых в них гидравлических или механических приводов.
1.6. В Руководстве не рассматриваются механизмы для плавного спуска натяжения, в том числе и внутренние упоры, поворот которых обеспечивается специальными устройствами.
1.7. Расчетные формулы разработаны применительно к формам, в которых изготовляются изделия с предварительно напряженной арматурой. При расчете форм для изделий с обычной ненапряженной арматурой сила натяжения арматуры принимается равной нулю.
КОНСТРУКТИВНЫЕ И РАСЧЕТНЫЕ СХЕМЫ ФОРМ
2.1. Конструктивная и расчетная схемы не связываются с видом, размерами и назначением железобетонных изделий; они определяются только принципиальным решением формы и характером силового воздействия на нее.
2.2. Под конструктивной понимается схема формы, из которой видны основные элементы, ее составляющие, и способ соединения их друг с другом. Расчетной схемой устанавливаются нагрузки, воспринимаемые формой, места их приложения и характер опирания формы на рабочих постах.
2.3. Форма в самом общем случае состоит из основного силового элемента-поддона и ограждающих элементов-бортов и вкладышей. Поддоны подразделяются на плоские, в которых несущие балки расположены под изделием, и с несущими балками в пределах высоты изделия. В поддонах второго типа несущие балки размещаются или в габарите изделия (формы для ребристых изделий), или вне изделия (формы для плоских и линейных изделий).
2.4. Отдельные части (элементы) формы соединяются друг с другом с помощью различных устройств, обеспечивающих быструю сборку и разборку формы. Помимо этого, форма оснащается деталями и устройствами для ее транспортирования, закрепления предварительно напряженной арматуры, фиксации формы на рабочих постах и т.п.
2.5 Формы подразделяются на неразборные, частично разборные и разборные. Неразборная форма выполняется как один конструктивный элемент, в частично и полностью разборной форме различают поддон, борта и вкладыши. Принципы расчета и конструирования каждого из этих элементов приведены в отдельных главах.
2.6. Технология изготовления железобетонных изделий и оборудование, установленное на технологической линии, диктуют конструктивное решение формы в части деталей и устройств для перемещения формы, для обеспечения передачи на форму вибрационных воздействий, для ускоренного прогрева бетона и пр. Решение бортов и способ их крепления к поддону также определяются технологическими факторами и прежде всего сроками распалубливания. При немедленном после формования распалубливании форма состоит из одного поддона, а бортоснастка является или частью формовочной машины или инвентарным оборудованием формовочного поста.
2.7. Формы различаются в зависимости от армирования изготовляемых в них изделий (напряженной или ненапряженной арматурой) и способа (места) фиксации арматуры в напряженном состоянии
(схема 1). Если предварительно напряженная арматура закрепляется на упорах формы, она конструируется и рассчитывается на воздействия от силы натяжения арматуры; когда же арматура закрепляется на упорах стенда, форма по расчетной схеме не отличается от конструкций, предназначенных для изготовления изделий с обычной ненапряженной арматурой.
2.8. Форма, воспринимающая силу натяжения арматуры, выполняется по обычной конструктивной схеме или с особым конструктивным решением, благодаря которому обеспечивается снижение деформаций от продольной и поперечной нагрузок (см.
схему 1).
Примечание. Формой с обычной конструктивной схемой или, что то же, формой обычного типа называется конструкция, которая не имеет устройств для снижения ее деформативности от силы натяжения арматуры и которая прогибается при приложении как поперечных, так и продольных нагрузок. Все формы для изделий с обычной ненапряженной арматурой относятся к этому типу форм.
2.9. В форме с обычной конструктивной схемой уменьшение деформаций достигается полным или частичным совмещением центральной плоскости
<1> с осью напряженной арматуры
<2>; в такой форме расчетная схема зависит от наличия эксцентриситета, с которым действует сила натяжения арматуры, и его знака.
--------------------------------
<1> Центральной называется горизонтальная плоскость, проходящая через центры тяжести поперечных сечений формы; в симметричной форме она совпадает с главной центральной плоскостью сечений.
<2> Здесь и далее подразумевается ось равнодействующей сил в напряженной арматуре.
В отдельных случаях в форме с несимметричным сечением или при изготовлении в узкой форме изделий с несимметричным армированием необходимо также обеспечить полное или частичное совмещение вертикальной плоскости, проходящей через центр тяжести поперечного сечения формы, с осью напряженной арматуры.
2.10. В формах специальной конструкции момент от внецентренного приложения силы натяжения арматуры устраняется различными конструктивными приемами: постановкой внизу напряженных тяг, использованием системы с качающимися упорами, пригружением неподвижной формы (заливкой части сечения бетонной смесью или постановкой сбоку или снизу бетонных блоков), передачей на борта всей или части продольной нагрузки.
2.11. Форма, предназначенная для изготовления изделий с оттянутой арматурой, когда она дополняется устройствами для оттяжки, рассматривается как специальная конструкция.
2.12. Конструкция формы определяет ее расчетную схему. В форме специальной конструкции обеспечивается преобразование приложенных воздействий, и поэтому расчетная схема получается более сложной
(схема 2).
2.13. Формы в зависимости от отношения размеров в плане подразделяются на узкие

, рассчитываемые по балочной схеме, и на широкие

, рассматриваемые как пластина. Основное количество форм относится к узким.
2.14. Особую группу по конструктивной и расчетной схеме составляют формы рамного типа, обычно предназначенные для изготовления предварительно напряженных решетчатых конструкций - ферм, решетчатых балок и т.п. Форма такого типа повторяет очертание изделия, и ее расчет выполняется как статически неопределимой системы.
2.15. Существенные отличия имеют формы с низким поддоном. Так называется поддон с небольшой высотой в пределах габарита изделия; пониженная часть поддона выполняется из одного листа или из листа, подкрепленного прокатной сталью (уголками или швеллерами мелкого сортамента).
РАСЧЕТ ТОЧНОСТИ ФОРМ
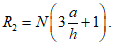
3.1. Точность изготовления формы определяется допусками на ее внутренние размеры по ширине, длине и высоте, а также на положение и размеры кессонов, вкладышей и других деталей. Допуски по ширине, длине и высоте формы могут соответствовать разным классам точности, поэтому требования к точности изготовления надо всегда связывать с конкретными размерами формы.
3.2. Расчет производится с целью установления требуемого класса точности изготовления формы по основным размерам, определения внутренних проектных размеров формы и допускаемой деформации бортов и поддона. Эти параметры взаимно связаны между собой.
3.3. Исходными данными для расчета форм по точности являются допускаемые отклонения по длине, ширине и толщине (высоте) изделий, для которых проектируется форма, вид изделий и характер их армирования, принимаемая технология изготовления изделий и конструктивное решение формы. Допускаемые отклонения на размеры изделий устанавливаются ГОСТ 13015-67 "Изделия железобетонные и бетонные. Общие технические требования" или ГОСТ (ТУ) на отдельные виды изделий.
3.4. Для обеспечения требуемой точности изготовления изделий по ширине и длине допуск на соответствующий размер формы устанавливается из выражения

(3.1)
где

- принимается в зависимости от допусков на сопряжения деталей шарниров, замков и других устройств, удерживающих борта в проектном положении;

- принимается по опыту эксплуатации форм; обычно

;

- подсчитывается в соответствии с указаниями, приведенными в
приложении I;

- на первом этапе расчета принимается равным

, но не более 2 - 3
мм.
Для формы, в которой изготовляются изделия с обычной ненапряженной арматурой, а также в тех случаях, когда деформация при обжатии не учитывается в расчете (при l <= 6 м, при малой интенсивности обжатия и т.п.), допуск подсчитывается по выражению

(3.1')
при неразборной форме

(3.1")
3.5. По величине

, подсчитанной из
выражений (3.1) -
(3.1"), в
табл. 1 приложения I для соответствующего интервала проектных размеров находится ближайшее табличное значение допуска, принимаемое за расчетное, и тем самым устанавливается класс точности для данного размера.
3.6. По допуску устанавливаются допускаемые отклонения. В форме рекомендуется принимать симметричные отклонения, имея в виду, что при ее сборке и сварке вероятность увеличения и уменьшения проектного размера одинакова.
3.7. Допускаемая деформация борта подсчитывается по допуску, принятому по
табл. 1 приложения I. В самом общем случае эта деформация равна:

(3.2)
При отсутствии предварительного напряжения и в тех случаях, когда деформация при обжатии не учитывается в расчете

(3.2')
при неразборной форме

(3.2")
3.8. Проектный размер формы по ширине и длине подсчитывается соответственно по разности:

(3.3)
где

(3.4)
или

(3.5)

- определяется по опытным данным или по
табл. 2 приложения I;

,

и

- подсчитываются по указаниям, приведенным в
приложении I;
Величину
c можно подсчитывать из любого выражения; обычно, если размерами
bи и
lи не определяются площадки опирания,
c вычисляется по
выражению (3.5).
3.10. Допуск по высоте формы определяется из выражения

(3.6)
в котором на первой стадии расчета принимают

.
Примечание. При определении допуска на форму по высоте учитывается неплоскостность поддона, полученная при изготовлении и не связанная с возможной разностью отметок опор.
3.11. По величине

, подсчитанной по
выражению (3.6), в
табл. 1 приложения I для соответствующего интервала проектных размеров находится ближайшее табличное значение допуска, принимаемое за расчетное, и тем самым устанавливается класс точности для высоты формы.
3.12. Допускаемый прогиб или выгиб поддона подсчитывается по допуску, принятому по
табл. 1 приложения I, из формулы

(3.7)
где

принимается в соответствии с указанием, приведенным в
п. 6 приложения I.
3.13. Проектный размер формы по высоте подсчитывается по разности
где, когда поддон прогибается,

(3.9)
В
выражении (3.9) величина

принимается по опытным данным, знак плюс - при бетонировании "с верхом".
В том случае, если при приложении расчетной нагрузки поддон выгибается, c подсчитывается из выражения

(3.9')
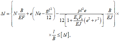
ОСНОВНЫЕ ПОЛОЖЕНИЯ СТАТИЧЕСКОГО РАСЧЕТА ФОРМ
4.1. Расчет формы ведется по второму предельному состоянию - по деформациям (перемещениям) с проверкой принятой конструкции на устойчивость (первое предельное состояние). Проверка по прочности выполняется в исключительных случаях, когда приведенный эксцентриситет m1 > 20 (см. СНиП II-В.3-62 "Стальные конструкции. Нормы проектирования").
Формы для изделий с обычной арматурой рассчитываются только по деформациям.
Примечание. Расчет отдельных узлов и деталей формы ведется по прочности; в случае необходимости производится их проверка по деформациям.
4.2. Для формы ограничения устанавливаются по поперечной (в вертикальной и горизонтальной плоскостях) и продольной деформациям, а также по деформации при диагональном опирании. Последнее ограничение, естественно, не относится к неподвижным формам, если они установлены на выверенные по горизонтали опоры.
Поперечная (вертикальная) деформация формы обусловливает искривление железобетонных изделий в их плоскости (при изготовлении изделий в рабочем положении) или из плоскости (при изготовлении балок и ферм в горизонтальном положении). Поперечная (горизонтальная) деформация формы, также приводящая к искривлению изделий, возникает при приложении силы натяжения арматуры с эксцентриситетом относительно центральной вертикальной оси.
Ограничение продольной деформации связано с проявлением потерь предварительного напряжения в арматурных элементах в тех случаях, когда не производится одновременное натяжение всей арматуры, а при последовательном спуске натяжения - с ухудшением на приопорных участках сцепления арматуры с бетоном.
Деформация формы при ее опирании на две опоры, расположенные по концам диагонали, т.е. при диагональном опирании, с чем приходится сталкиваться при разных отметках опорных площадок, при разной длине строп, при невыверенных рельсовых путях и т.п., является причиной выпуска изделий с заметной неплоскостностью граней.
4.3. Деформации формы при приложении расчетных нагрузок - поперечная и продольная, а также при диагональном опирании - не должны превышать допускаемых величин, т.е. необходимо обеспечивать неравенства:
y <= [y];
yд <= [yд].
4.4. Допускаемый прогиб (выгиб) формы устанавливается расчетом точности (см.
главу 3) в зависимости от вида и размеров изделий, технологии их изготовления и конструкции формы.
При выполнении предварительных расчетов разрешается допускаемый прогиб (выгиб) формы принимать как часть записанного в ГОСТ или ТУ на изделия допуска на искривление граней, но не более половины его величины.
4.5. Допускаемое продольное перемещение формы, подсчитываемое на уровне оси напряженной арматуры, принимается равным:
Разрешается увеличивать

до 0,0006
l, если предусматривается групповое натяжение и групповой отпуск одновременно всей арматуры, а условия эксплуатации форм являются благоприятными (форма неподвижная, отсутствуют интенсивные вибрационные воздействия на нее и т.п.).
4.6. Допускаемый прогиб при диагональном опирании формы устанавливается в зависимости от вида и назначения изделия и характера его сопряжения со смежными элементами. Рекомендуется эту величину принимать не более допуска на изделие по неплоскостности (см. ГОСТ 13015-67 "Бетонные и железобетонные изделия. Общие технические требования").
Примечание. С допускаемым прогибом сравнивается максимальная деформация, которая при диагональном опирании отмечается на свободном (неопертом) углу.
4.7. Когда при транспортировании формы ее захват производится балансирующимися (уравновешивающимися) траверсами, а на рабочих постах и при штабелировании обеспечивается разность отметок опор

, меньшая

, диагональное опирание исключается.
В этих случаях подсчет прогиба свободного угла при диагональном опирании производится для сравнения с разностью отметок опор

, а также для выявления степени перераспределения опорных реакций.
При

реакции опор, расположенных на одной диагонали, равны:

(4.1)
и по второй диагонали

(4.2)
4.8. Проверка формы на устойчивость производится в соответствии с указаниями СНиП II-В.3-62 "Стальные конструкции. Нормы проектирования" как для внецентренно сжатых элементов. Учитывая отклонения арматурных элементов от проектного положения и разброс в силе их натяжения, расчетный эксцентриситет принимается равным:
при центральном по расчету приложении силы N

(4.3)
где n - число рядов арматуры;
ri - расстояние i-го ряда до оси напряженной арматуры по вертикали;
при приложении силы N с эксцентриситетом e

(4.4)
Примечания: 1. Знак минус перед y принимается, когда деформация формы приводит к уменьшению эксцентриситета e.
2. При нечетном n средний ряд арматуры не учитывается.
4.9. В неподвижных формах, в которых продольная сила не вызывает вертикальной деформации, проверка на устойчивость в этой плоскости выполняется как для центрально сжатых элементов.
4.10. Расчетная длина формы при определении критической силы вне зависимости от положения опор принимается равной расстоянию между наружными гранями упоров или между устройствами, с помощью которых арматура фиксируется в напряженном состоянии.
4.11. Устойчивость формы проверяется по продольной силе, которая равна или больше расчетной величины
N (в зависимости от конструкции формы). Значения продольной силы, вводимой в расчет, для разных типов форм приведены в соответствующих параграфах
главы 6.
В формах, для которых реальна опасность потери устойчивости, рекомендуется при определении продольной силы учитывать значение горизонтальной составляющей усилия в наклонных стропах. В этих случаях требования по эксплуатации формы должны содержать пункт с указанием расчетного угла наклона строп, уменьшение которого недопустимо.
4.12. Допускаемая деформация бортов устанавливается расчетом точности формы (см.
главу 3) в зависимости от вида и размеров изделия, а также конструкции сопряжения бортов с поддоном.
При выполнении предварительных расчетов разрешается допускаемый прогиб борта на уровне его верха принимать равным половине допускаемого положительного отклонения по ширине изделия, записанного в соответствующем ГОСТе или ТУ.
4.13. Борт, на который частично или полностью передается сила натяжения арматуры, проверяется на устойчивость. Критическая сила определяется с учетом характера соединения борта с поддоном (см.
главу 8).
4.14. По деформации рассчитываются также размеры ячейки обшивки поддона и бортов. Они принимаются такими, чтобы прогиб ячейки обшивки, ограниченной несущими элементами каркаса, или грани (при пространственной конфигурации обшивки) не превышал допускаемой величины, определяемой требованиями к поверхности изделия. При отсутствии указаний разрешается допускать прогиб, равный
1/
500 меньшей стороны ячейки или грани, но не более 1
мм.
4.15. Определение общей деформации ведется по силовой части формы - поддону. При вычислении продольной деформации не учитываются борта, крепящиеся к поддону на шарнирах; при таком креплении обычно не включаются в расчетное сечение низкие борта форм для плитных изделий и при определении вертикальной деформации. В формах с высокими бортами и в узких формах прогиб (выгиб) рекомендуется вычислять по приведенной жесткости, включающей сечение бортов и определяющейся по указаниям
приложения III.
4.16. Расчетная площадь поддона устанавливается по площади продольных элементов его несущего каркаса и приведенной с помощью редукционного коэффициента площади обшивки. Редукционный коэффициент

, который позволяет установить полезную ширину обшивки, учитываемую при расчете, определяется по графику на
рис. 4.1 в зависимости от отношения длины формы к шагу продольных балок.
Рис. 4.1. График для определения редукционного коэффициента
4.17. Если поддон выполнен с перекрестной (диагональной) внутренней решеткой, его геометрические характеристики подсчитываются по фактической площади балок (швеллеров, уголков и т.п.), пересекаемых поперечным сечением не под прямым углом.
Примечание. При расположении раскосов решетки под углом 45° их площадь вводится с коэффициентом 1,43.
4.18. Деформации формы подсчитываются по расчетной жесткости B, меньшей EJ, которой учитывается увеличение прогиба (выгиба) вследствие совместного действия продольной и поперечной нагрузок. Расчетная жесткость равна:

(4.5)
где
S - продольная сжимающая сила; выражения
B для форм разных типов приведены в
главе 6.
4.19. В форме с переменной по длине жесткостью поперечного сечения расчетная величина B подсчитывается по формуле

(4.5')
где
EJпр - приведенная жесткость, зависящая от характера изменения жесткости по длине и вида нагрузки. Она вычисляется в соответствии с указаниями
главы 7.
Примечание. Переменная по длине жесткость формы может не учитываться, если EJпр отличается от EJ менее чем на 5%.
4.20. Определение прогиба формы при диагональном опирании ведется по расчетной жесткости
которая колеблется в значительных пределах в зависимости от сечения поддона и его конструкции (см.
приложение IV).
4.21. Формы обычно опираются на четыре точки (опорные площадки, подъемные скобы, кронштейны стоек в камере пропаривания и т.п.). В узких формах (см.
п. 2.13) при расчете точечное опирание заменяется линейным по ширине, и форма рассчитывается по балочной схеме; широкая форма рассматривается как упругая пластина, опертая в четырех точках.
При диагональном опирании при любом отношении длины формы к ее ширине принимаются точечные опоры; такими же они принимаются при опирании формы на три опоры, расположенные в вершинах равнобедренного треугольника (см.
приложение V).
НАГРУЗКИ
5.1. Форма в процессе изготовления в ней изделия подвергается различным воздействиям, статическим и динамическим, которые различаются по виду, характеру приложения, времени и интенсивности действия в зависимости от назначения формы и технологической схемы производства. Нагрузки на форму условно объединяются в три группы:
статические нагрузки;
давление от вибрируемой бетонной смеси;
технологические воздействия.
5.2. Статические нагрузки подразделяются на поперечные и продольные.
Поперечные нагрузки:
сплошная равномерная нагрузка от собственного веса формы;
сплошная равномерная нагрузка от веса бетонной смеси;
вертикальная составляющая силы натяжения оттянутой арматуры, если в форме предусмотрены устройства (тяжи, штыри), фиксирующие изменения направления этой арматуры;
давление от пара, подаваемого в замкнутые полости бортов и поддона.
Продольные нагрузки:
сила натяжения прямолинейной арматуры;
горизонтальная составляющая силы натяжения оттянутой арматуры;
усилия в тягах (стержнях) форм специальной конструкции (предварительно напряженных, с качающимися упорами и т.п.);
горизонтальная составляющая усилий в стропах, возникающих при подъеме и транспортировании формы.
5.3. Расчет по деформации ведется по нормативным нагрузкам. Расчетные значения нагрузок принимаются только при проверке форм на устойчивость и отдельных ее элементов и деталей по прочности. Коэффициенты перегрузки указаны в
пп. 5.4 -
5.8.
5.4. Собственный вес формы подсчитывается по
приложению XI или принимается по аналогии с известными конструкциями форм такого же типа. Коэффициент перегрузки к собственному весу принимается равным 1,1.
Примечания: 1. Неравномерность веса формы по длине, связанная с ее очертанием и конструктивным решением, обычно не учитывается.
2. Веса продольных и торцовых бортов приводятся к сплошной равномерной нагрузке.
5.5. Вес бетонной смеси следует принимать по объему бетона, показанному на чертеже изделия. К нему добавляется вес арматуры, указанный там же. Учитывая возможность отклонения размеров изделия в

сторону и завышения объемного веса легкого бетона, коэффициент перегрузки устанавливается 1,2.
Примечание. Разрешается подсчет вести по объемному весу железобетона, принимая вес арматуры 100 кг/м3 в изделиях из тяжелого и легкого бетонов и 50 кг/м3 из ячеистого бетона.
5.6. Перегрузки, возникающие при перемещении формы краном или по конвейеру (в результате ударов и неровностей пути), учитываются коэффициентом 1,5, вводимым к собственному весу формы и весу бетонной смеси, если их сумма меньше 2,5
т, и коэффициентом 1,3 при большем суммарном весе. Этот коэффициент учитывается только при расчете отдельных деталей формы (подъемных петель, осей колес и т.п.).
5.7. Сила натяжения арматурного элемента (стержня, пряди, проволоки) принимается по контролируемому значению, указываемому на чертеже. Равнодействующая сил натяжения и эксцентриситет ее приложения подсчитываются по всей арматуре (нижней и верхней). Коэффициент перегрузки, учитываемый только при проверке устойчивости формы, равен 1,1. При расчете деталей, непосредственно воспринимающих силу натяжения арматурного элемента (элементов), расчетное значение этой силы принимается с учетом возможного перенапряжения арматуры при неодновременном ее натяжении, при тепловой обработке бетона, а также при последовательной передаче напряжения с арматурных элементов на бетон.
5.8. При оттянутой арматуре равнодействующая сил натяжения подсчитывается с учетом горизонтальной составляющей сил в этой арматуре; вертикальная составляющая тех же сил дополняет поперечные нагрузки на форму. Расчет по деформациям ведется по нормативным значениям этих нагрузок, а расчет деталей, обеспечивающих изменение направления арматуры, - по расчетным значениям при коэффициенте перегрузки 1,2.
5.9. Наружная обшивка бортов (поддона) в форме с паровыми полостями рассчитывается на избыточное давление 0,2 - 0,7 ат (в зависимости от возможного превышения давления в паровой сети). При установке на пароподводящей линии устройств, ограничивающих давление в сети, расчет обшивки ведется по 0,2 ат.
Б. Давление от вибрируемой бетонной смеси
5.10. Давление от бетонной смеси при ее свободном колебании, а также при наличии пригрузочного щита, штампа или другого формующего оборудования учитывается при расчете бортов и обшивки поддона. Его величина зависит от способа возбуждения колебаний бетонной смеси и применяемого оборудования. При расчете деталей, непосредственно воспринимающих это давление, коэффициент перегрузки принимается равным единице.
5.11. При станковом вибрировании и жестком креплении формы к виброплощадке (виброблокам) давление подсчитывается по формулам:
на единицу длины борта
на единицу площади поддона

(5.2)
где
k1 - коэффициент геометрии, принимаемый по
табл. 5.1 по отношению ширины формы
b к высоте
h;
A - амплитуда колебаний виброплощадки в см.
--------------------------------
<*> При частоте колебаний виброплощадки, отличающейся от
n = 3000
кол/мин, в
формулы (5.1) -
(5.6) вместо множителя
A·10
2 вводится множитель

, где

- угловая частота вынужденных колебаний, а
g - ускорение силы тяжести.
<**> При
n = 4500
кол/мин разрешается расчет вести по приближенному значению
kу = 1,2, а при
n > 4500
кол/мин допускается принимать
kу = 1.
Таблица 5.1
b/h | При определении давления на | b/h | При определении давления на |
борт | поддон | борт | поддон |
<= 0,25 | 0,3 | 0,2 | 1,25 | 0,55 | 0,4 |
0,5 | 0,4 | 0,25 | 1,5 | 0,65 | 0,55 |
0,75 | 0,45 | 0,3 | 1,75 | 0,8 | 0,75 |
1 | 0,5 | 0,35 | >= 2 | 1 | 1 |
Примечание. В форме для изделий с наружными ребрами по длине (ширине) b - средняя ширина ребра; в форме для многопустотных панелей b - расчетная ширина, определяемая делением площади сечения бетона от наружной грани до оси пустоты на высоту панели.
Таблица 5.2
Значения коэффициента kу при свободном вибрировании
h в мм | Амплитуда колебаний площадки A в мм |
0,3 | 0,5 | 0,7 |
150 | 2,4 | 2,1 | 1,7 |
300 | 2,5 | 2,3 | 2 |
500 | 1,6 | 1,45 | 1,3 |
Примечание. При h >= 600 мм допускается принимать kу = 1.
5.12. При уплотнении бетонной смеси на виброплощадке с применением инерционного пригруза давление подсчитывается по формулам:
на единицу длины борта

(5.3)
на единицу площади поддона

(5.4)
где
k1 - коэффициент, принимаемый по
табл. 5.1;
qг - инерционный пригруз (на единицу площади).
Таблица 5.3
Значения коэффициента kу при инерционном пригрузе
h в мм | qг в кГ/см2 | Амплитуда колебаний площадки A в мм |
0,3 | 0,5 | 0,7 |
150 | 0,03 | 2,1 | 3,8 | 3,9 |
0,05 | 0,7 | 2,7 | 2,7 |
0,1 | 0,4 | 1 | 1,5 |
300 | 0,03 | 0,3 | 1 | 0,9 |
0,05 | 0,2 | 0,5 | 0,75 |
0,1 | 0,1 | 0,3 | 0,5 |
5.13. При уплотнении бетонной смеси на виброплощадке с применением безынерционного пригруза давление подсчитывается по формулам:
на единицу длины борта

(5.5)
на единицу площади поддона

(5.6)
где
k1 - коэффициент, принимаемый по
табл. 5.1;
qг - безынерционный пригруз (на единицу площади).
Таблица 5.4
Значения коэффициента kу при безынерционном пригрузе
h в мм | qг в кГ/см2 | Амплитуда колебаний площадки A в мм |
0,3 | 0,5 | 0,7 |
150 | 0,1 | 1,9 | 1,8 | 1,8 |
0,3 | 1,6 | 1,4 | 1,3 |
0,6 | 1,4 | 1,3 | 1,2 |
300 | 0,1 | 4,85 | 3,2 | 2,7 |
0,3 | 3,3 | 2,4 | 2,4 |
0,6 | 1,8 | 1,9 | 2,2 |
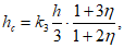
5.14. Уровень приложения давления

определяется эпюрой бокового давления. При свободном колебании бетонной смеси расстояние до этого уровня от низа борта

(5.7)
где k3 - определяется геометрией формы.
При
k3 = 1,3, а при большем отношении

можно принять
k3 = 1.
5.15. При уплотнении бетонной смеси с применением инерционного пригруза уровень приложения давления


(5.8)
Таблица 5.5
Значения коэффициента k3 при инерционном пригрузе
h в мм | Пригруз qг в кГ/см2 |
0,03 | 0,05 | 0,1 |
150 | 1,15 | 1,1 | 1,05 |
300 | 0,8 | 0,9 | 1 |
5.16. При уплотнении бетонной смеси с применением безынерционного пригруза уровень приложения давления


(5.9)
где
k1 - коэффициент, принимаемый по
табл. 5.1;
5.17. При внутреннем вибрировании бетонной смеси приведенное погонное давление на единицу длины борта определяется в зависимости от количества одновременно работающих вибраторов, опущенных вдоль борта, по приближенной формуле

(5.10)
в которой отношение

принимается равным единице при всех значениях
h >
hв.
M - кинетический момент вибратора;

- угловая частота его колебаний;
F = dhв - площадь диаметрального сечения наконечника;
d - диаметр наконечника;
hв - рабочая его длина;

- размерный коэффициент
сек2/см, вычисляемый из выражения
где

;
здесь n - число одновременно работающих вибраторов (у одного борта);
R - радиус действия вибратора;
l - расчетная длина борта (расстояние между точками закрепления борта по длине).
Таблица 5.6
h/hв | >= 1 | 0,8 | 0,6 | 0,4 |
k4 | 2 | 1,8 | 1,6 | 1,4 |
Значения

при
R = 50
см приведены в
табл. 5.7.
Таблица 5.7
Значения коэффициента 
l в см | n |
1 | 2 | 3 | 4 | 5 | 6 |
200 | 0,5 | 1 | - | - | - | - |
400 | 0,25 | 0,5 | 0,75 | 1 | - | - |
600 | 0,17 | 0,33 | 0,5 | 0,67 | 0,83 | 1 |
800 | 0,125 | 0,25 | 0,375 | 0,5 | 0,625 | 0,75 |
1 000 | 0,1 | 0,2 | 0,3 | 0,4 | 0,5 | 0,6 |
1 200 | 0,08 | 0,17 | 0,25 | 0,33 | 0,42 | 0,5 |
Примечание. Значения коэффициента

увеличены в 10
6 раз.
5.18. Когда неизвестны типы внутренних вибраторов, которые будут использованы для уплотнения бетонной смеси в проектируемой форме, разрешается принимать в расчете вибратор с
M = 0,5
кГ·см,
n = 10 000
кол/мин 
и
F = 380
см2 (
hв = 50
см). При таких параметрах вибратора
формула (5.10) преобразуется к виду:

(5.10')
5.19. В высоких бортах, расчленяемых для расчета на отдельные полосы (см.
п. 8.9), давление на каждую полосу подсчитывается по формуле

(5.10")
где h - высота полосы;
hi - высота слоя бетона над нижним сечением рассматриваемой полосы;
5.20. Давление на обшивку поддона от уплотняемой внутренним вибратором бетонной смеси

(5.11)
где в первом приближении разрешается принимать k5 = 0,3·10-3.
При параметрах вибратора, указанных в
п. 5.18,

(5.11')
5.21. При внутреннем вибрировании уровень приложения давления

от низа борта подсчитывается по формуле
hc = k6h,
Таблица 5.8
h/hв | >= 1 | 0,8 | 0,6 | 0,4 |
k6 | 0,33 | 0,39 | 0,43 | 0,46 |
В. Технологические воздействия
5.22. Воздействия, не перечисленные в
разделах А и
Б, условно называются технологическими. Они включают разного рода динамические нагрузки, передаваемые на элементы, узлы и детали формы в процессе формования и определяемые характером вибрации и типом применяемого для возбуждения колебаний оборудования; температурные воздействия, зависящие от режима тепловлажностной обработки бетона, вида изделия и конструкции формы; усилия, передаваемые на борта при распалубливании изделия, устанавливаемые способом выполнения этой операции и применяемым инструментом или механизмом и т.п.
5.23. В зависимости от технологической схемы производства, конструктивного решения формы, а также от вида и назначения изделий и предъявляемых к ним требований нужно вести расчет на те или иные воздействия. В каждом конкретном случае расчетные воздействия определяются на основании тщательного анализа работы формы на всех технологических переделах.
5.24. Параметры воздействия, в тех случаях когда это необходимо для расчета формы или отдельных ее элементов, узлов и деталей, вычисляются по фактической схеме работы формы (элемента формы). Обычно в связи со сложностью выявления технологических воздействий на форму, можно удовлетвориться приближенной расчетной схемой.
РАСЧЕТ ФОРМ РАЗНЫХ ТИПОВ
6.1. Расчет формы производится в соответствии с основными положениями главы 4 на нагрузки, перечисленные в
главе 5.
6.2. Расчетом формы определяется общая ее деформативность - поперечная, продольная и при диагональном опирании, а также в необходимых случаях достаточная ее устойчивость.
Этот расчет дополняется расчетом бортов (см.
главу 8) и отдельных элементов и деталей форм (см.
главу 9).
6.3. Расчетные формулы для передвижных форм предусматривают четырехточечное и диагональное опирание; расчет неподвижных форм предусматривает одну схему опирания.
6.4 При установке формы на три опоры, расположенные в вершинах равнобедренного треугольника, определение деформаций ведется по указаниям
приложения V.
А. Расчет формы обычного типа
6.5. Форма обычного типа, у которой центральная плоскость расположена ниже оси напряженной арматуры и расчетная схема которой приведена на
рис. 6.1, должна удовлетворять неравенствам:

(6.1)

(6.2)

(6.3)
В этих выражениях:

(6.4)
Рис. 6.1. Расчетные схема и сечения формы обычного типа
а - расчетная схема; б - расчетное симметричное сечение
при симметричном приложении силы натяжения арматуры; в - то
же, при несимметричном приложении силы натяжения арматуры;
г - расчетное несимметричное сечение
А - точка приложения силы N; Ц - центр тяжести поперечного
сечения
При учете переменной по длине жесткости формы в
формулу (6.4) вместо
EJ подставляется
EJпр (см.
главу 7).
6.6. При точке приложения силы натяжения арматуры, смещенной относительно центральной вертикальной оси (
рис. 6.1,
в) и при несимметричном сечении поддона (
рис. 6.1,
г) может потребоваться подсчет прогиба формы в горизонтальной плоскости. В этих случаях прогиб определяется по формулам:

(6.5)

(6.6)
где ex - эксцентриситет приложения силы N относительно центральной вертикальной оси;
Jy - момент инерции силовой части формы относительно вертикальной оси.
6.7. Если сила натяжения арматуры приложена с эксцентриситетом относительно центральной вертикальной оси (см.
п. 6.6), в
формулу (6.2), по которой определяется сближение упоров по оси напряженной арматуры, под квадратные скобки вводится дополнительный член
Знак плюс принимается, когда момент Nex приводит к сближению упоров по оси напряженной арматуры; в противном случае дополнительный член вводится со знаком минус.
6.8. Сечение, подобранное из условий удовлетворения
неравенств (6.1) -
(6.3), проверяется на устойчивость в соответствии с указаниями в
п. 4.8. Продольная сила принимается равной расчетному значению
N.
6.9. Подбор сечения силовой части формы выполняется при принятых конструктивной схеме, шаге и характере расположения несущих балок. Общему расчету формы предшествует определение размеров ячейки обшивки поддона (см.
главу 9), а в тех случаях, когда борт или борта учитываются при определении деформации формы, то и расчет бортов (см.
главу 8).
6.10. Требуемое сечение силовой части формы определяется методом подбора; при этом сечение сначала проверяется по
формуле (6.1) и, если сечение характеризуется малой жесткостью на кручение, по
формуле (6.3). При удовлетворительных результатах подсчетов и при отсутствии необоснованных запасов по жесткостям проводится подсчет сечения по
формуле (6.2) и проверка формы на устойчивость.
6.11. При расчете форм для изделий с обычной ненапряженной арматурой, а также в тех случаях, когда арматура не фиксируется в напряженном состоянии на упорах формы, принятое сечение должно проверяться только по
неравенствам (6.1) и
(6.3). При удовлетворительных результатах сечение считается подобранным, и на этом завершается общий расчет формы.
Б. Расчет формы, выгибаемой при натяжении арматуры
6.12. Форма, у которой центральная плоскость расположена выше оси напряженной арматуры и расчетная схема которой приведена на
рис. 6.2, должна удовлетворять неравенствам:

(6.7)

(6.8)
Рис. 6.2. Расчетная схема формы, выгибаемой при натяжении
арматуры
Расчетная жесткость
B, как и для формы обычного типа, определяется по
формуле (6.4), а коэффициенты

и

принимаются по
приложению II.
Примечание. Если вес бетонной смеси значительно превосходит вес формы, а также при повышенных требованиях к точности расчета следует в
формуле (6.7) вместо
q подставить
6.13. Форма, выгибаемая при натяжении арматуры, отличается от формы обычного типа разными знаками деформаций от силы N и вертикальной нагрузки. Как следствие, при одинаковых нагрузках и одном и том же эксцентриситете приложения силы N, действующей по разные стороны от центральной плоскости, форма рассматриваемого типа будет характеризоваться меньшей, чем форма обычного типа, поперечной и продольной деформациями.
6.14. Расчет формы, выгибаемой при натяжении арматуры, производится с учетом тех же факторов и в той же последовательности, что и формы обычного типа (см.
пп. 6.9 -
6.11).
В. Расчет форм с подобранным положением центральной плоскости
6.15. Полное или частичное (с заданным эксцентриситетом) совмещение центральной плоскости с осью напряженной арматуры исключает поперечную деформацию от силы N или дополнительно еще и от вертикальной нагрузки. В зависимости от характера совмещения рассматриваются две расчетные схемы.
Форма с центральной плоскостью, совмещенной с осью напряженной арматуры
6.16. Форма рассматриваемого типа (
рис. 6.3,
а) должна удовлетворять неравенствам:

(6.9)

(6.10)
Рис. 6.3. Расчетные схемы формы с подобранным положением
центральной плоскости
а - при совмещении центральной плоскости с осью напряженной
арматуры; б - при смещении центральной плоскости вверх
на заданную величину
Проверка формы на устойчивость выполняется в обычном порядке (см.
п. 4.8).
6.17. Если совмещение оси напряженной арматуры обеспечивается только относительно центральной горизонтальной оси, прогиб формы в горизонтальной плоскости (если есть необходимость в его определении) должен подсчитываться по
формуле (6.5), а

определяется с учетом слагаемого по
п. 6.7.
6.18. Сечение формы подбирается методом попыток. Для облегчения этой операции в
приложении X приведены соответствующие указания.
Форма с центральной плоскостью, смещенной относительно оси напряженной арматуры на заданную величину
6.19. Форма, в которой центральная плоскость смещена относительно оси напряженной арматуры на величину, исключающую ее поперечную деформацию (
y = 0), и расчетная схема которой представлена на
рис. 6.3,
б, должна удовлетворять
неравенствам (6.10) и
(6.3).
Проверка формы на устойчивость выполняется в обычном порядке (см.
п. 4.8).
6.20. Величина смещения центральной плоскости, обеспечивающая отсутствие поперечного прогиба формы, определяется по формуле
где

- принимается по
таблице приложения II.
6.21. Подбор сечения формы производится так же, как и формы с совмещенными центральной плоскостью и осью напряженной арматуры (см.
п. 6.18).
Г. Расчет неподвижных форм
6.22. Неподвижные формы отличаются от передвижных форм соответствующего типа только схемой опирания: часто расположенные опоры рассматриваются как сплошное основание. Они наряду с передвижными формами подразделяются на три типа в зависимости от положения центральной плоскости относительно оси напряженной арматуры.
6.23. Деформация в горизонтальной плоскости считается не зависящей от схемы опирания, и ее составляющие для неподвижных форм определяются так же, как и для передвижных: по
формуле (6.5) подсчитывается прогиб, а по
п. 6.7 определяется дополнительное слагаемое, которое вводится в формулы, оценивающие сближение упоров.
Форма с центральной плоскостью, расположенной ниже оси напряженной арматуры
6.24. Форма, расчетная схема которой приведена на
рис. 6.4,
а, должна удовлетворять неравенствам:

(6.11)

(6.12)
Рис. 6.4. Расчетные схемы неподвижных форм
а - с центральной плоскостью, расположенной ниже оси
напряженной арматуры; б - то же, выше оси
напряженной арматуры
Если величину сближения упоров не требуется определять с большой точностью, в
формуле (6.12) разрешается в фигурных скобках не учитывать третий член.
6.25. При

деформация
y = 0, и сближение упоров по оси напряженной арматурой определяется по
формуле (6.10); если к тому же

, проверка устойчивости производится как для центрально сжатого элемента.
Примечание. Если значение
y по
формуле (6.11) получается со знаком минус, то это означает, что в форме нет поперечной деформации.
6.26. В тех случаях когда нужно исключить поперечное перемещение формы от силы
N, а приведенная вертикальная нагрузка
qпр не обеспечивает выполнения этого требования, переходят к пригруженной форме (см.
п. 2.10). Дополнительная вертикальная нагрузка на единицу длины формы подсчитывается из выражения
Форма с центральной плоскостью, расположенной выше оси напряженной арматуры
6.27. Форма, расчетная схема которой приведена на
рис. 6.4,
б, должна удовлетворять неравенствам:

(6.13)

(6.14)
где

Если величину сближения упоров не требуется определять с большой точностью, в
формуле (6.14) разрешается в фигурных скобках не учитывать третий член.
6.28. При

деформация
y = 0, и сближение упоров по оси напряженной арматуры определяется по
формуле (6.10); если к тому же

, проверка устойчивости производится как для центрально сжатого элемента.
Примечание. Если значение
y по
формуле (6.13) получается со знаком плюс, то это означает, что в форме нет поперечной деформации.
6.29. В тех случаях когда нужно исключить поперечное перемещение формы от силы
N, а приведенная вертикальная нагрузка
qпр не обеспечивает выполнения этого требования, переходят к пригруженной форме (см.
п. 2.10). Дополнительная вертикальная нагрузка на единицу длины формы подсчитывается из выражения
Форма с подобранным положением центральной плоскости
6.30. В форме с центральной плоскостью, совмещенной с осью напряженной арматуры (см.
рис. 6.3,
а), поперечная деформация отсутствует, а сближение упоров на уровне оси напряженной арматуры подсчитывается по
формуле (6.10).
6.31. Смещение центральной плоскости относительно оси напряженной арматуры в некоторых границах вверх или вниз не меняет расчетной схемы формы. Предельные смещения равны:
вверх
и вниз
Таким образом, расположение центральной плоскости на среднем от оси напряженной арматуры участке высотой

обеспечивает рациональную схему формы, у которой
y = 0, а

получает минимальное значение.
Д. Расчет предварительно напряженных форм
6.32. Предварительно напряженные формы различаются в зависимости от характера рабочей поверхности при формовании. Формы с горизонтальной и прогнутой при формовании рабочей поверхностью поддона, имея одинаковую расчетную схему
(рис. 6.5), рассчитываются по разным формулам.
Рис. 6.5. Расчетная схема предварительно напряженной формы
Форма с горизонтальной при формовании рабочей поверхностью поддона
6.33. Форма, в которой поперечная деформация равна нулю, должна удовлетворять неравенствам:

(6.15)

(6.3)
где

- принимается по
таблице приложения II;
Проверка формы на устойчивость ведется как внецентренно сжатого элемента по продольной силе, равной N + P + P1.
6.34. При принятом сечении формы минимальная площадь тяг, создающих предварительное напряжение формы, определяется по приближенной формуле

(6.16)
Площадь
Fт рекомендуется принимать несколько большей, чем величина по
формуле (6.16), так как увеличение
Fт приводит к уменьшению деформации формы от расчетных нагрузок.
6.35. По принятой площади тяг подсчитывается усилие, возникающее в них от силы натяжения арматуры изделия и веса свежеуложенной бетонной смеси, по формуле

(6.17)
где

;

- принимается по
таблице приложения II.
6.36. Расчетный момент, создаваемый внешними нагрузками и усилием в тягах, равен:

(6.18)
где

- принимается по
таблице приложения II, а сила предварительного напряжения тяг определяется из формулы

(6.19)
По силе
P проверяется принятая по
формуле (6.16) площадь тяг, напряжение в которых от суммарной силы
P +
P1 не рекомендуется допускать более 0,8
Rн.
Форма с прогнутой при формовании рабочей поверхностью поддона
6.37. Форма, у которой поперечная деформация равна заданной величине y <= [y], должна удовлетворять неравенству

(6.20)

(6.21)

- принимается по
таблице приложения II.
Проверка формы на устойчивость ведется как внецентренно сжатого элемента, по продольной силе, равной N + P + P1.
6.38. При принятом сечении формы минимальная площадь тяг, создающих предварительное напряжение формы, определяется по приближенной формуле

(6.22)
Площадь
Fт рекомендуется принимать несколько большей, чем величина по
формуле (6.22), так как увеличение
Fт приводит к уменьшению деформации формы от расчетных нагрузок.
6.39. Усилие
P1, возникающее в тягах от силы натяжения арматуры изделия и веса свежеуложенной бетонной смеси, вычисляется по
формуле (6.17), а расчетный момент
Mр - по
формуле (6.18).
6.40. Сила предварительного напряжения тяг, при которой прогиб формы не превышает [y], подсчитывается из выражения

(6.23)
По силе
P проверяется принятая по
формуле (6.22) площадь тяг, напряжение в которых от суммарной силы
P +
P1 не рекомендуется допускать более 0,8
Rн.
Е. Расчет форм с качающимися упорами
6.41. В формах рассматриваемого типа может быть осуществлена разгрузка только от момента, создаваемого силой натяжения арматуры изделия, а также от всей расчетной нагрузки.
Форма, разгруженная от изгибающего момента, создаваемого силой натяжения арматуры
6.42. Форма, расчетная схема которой приведена на
рис. 6.6,
а, должна удовлетворять неравенствам:

(6.24)

(6.25)
Рис. 6.6. Расчетные схемы форм с качающимися упорами
а - при осях шарниров, совмещенных с центральной плоскостью;
б - то же, смещенных вниз относительно центральной плоскости
Здесь

- принимается по
таблице приложения II.
Проверка формы на устойчивость ведется как внецентренно сжатого элемента по силе

.
6.43. Минимальная площадь тяг, принимаемых из Ст.3, определяется по формуле

(6.26)
где

- напряжение в тягах, которое рекомендуется принимать не более 1000
кГ/см2.
Форма, полностью разгруженная от изгибающего момента
6.44. Форма, расчетная схема которой приведена на
рис. 6.6,
б и в которой поперечная деформация равна нулю, должна удовлетворять неравенству

(6.27)
Проверка формы на устойчивость ведется как внецентренно сжатого элемента по силе

.
6.45. Смещение оси шарниров, обеспечивающее полную разгрузку формы от изгибающего момента, определяется из выражения

(6.28)
где

- принимается по
таблице приложения II.
6.46. Широкая форма (см.
пп. 2.13 и
4.21), в которой изготовляются изделия с арматурой, предварительно напряженной в одном направлении, рассчитывается по формуле для узкой формы соответствующего типа, только в формуле для
y вместо коэффициента

вводится коэффициент

.
6.47. Коэффициент

, которым учитывается работа поддона в двух направлениях при опирании его в четырех точках, подсчитывается по приближенным
формулам (6.29) или
(6.30) в зависимости от положения опор.
При опирании поддона на точки, смещенные в одном направлении к середине (
рис. 6.7,
а), коэффициент

равен:

(6.29)
где
Bx и By - жесткости сечений, перпендикулярных соответственно осям x и y.
Рис. 6.7. Расчетные схемы широких форм
а - при натяжении арматуры в одном направлении;
б - то же, в двух направлениях
Таблица 6.1
Значения коэффициентов
и 
| 0,5 | 0,6 | 0,7 | 0,8 | 0,9 | 1,0 | 1,1 | 1,2 |
| 0,2288 | 0,1195 | 0,0713 | 0,0481 | 0,0355 | 0,0282 | 0,0237 | 0,0208 |
| 0,0062 | 0,0096 | 0,0131 | 0,0166 | 0,02 | 0,0233 | 0,0265 | 0,0296 |
| 1,3 | 1,4 | 1,5 | 1,6 | 1,7 | 1,8 | 1,9 | 2,0 |
| 0,0189 | 0,0174 | 0,0166 | 0,0159 | 0,0154 | 0,015 | 0,0146 | 0,0143 |
| 0,0327 | 0,0357 | 0,0387 | 0,0416 | 0,0445 | 0,0474 | 0,0502 | 0,0531 |
Примечание. Коэффициент

подсчитывается по

, коэффициент

- по

.
Таблица 6.2
Значения коэффициента 
| 0 | 0,05 | 0,1 | 0,15 | 0,2 | 0,25 | 0,3 | 0,35 | 0,4 |
| 0 | 0,0019 | 0,0033 | 0,0039 | 0,0036 | 0,0021 | -0,0012 | -0,0062 | -0,0088 |
Примечание. Коэффициент

вводится в формулу для

со своим знаком.
При опирании широкого поддона по краям

коэффициент

определяется из выражения

(6.30)
6.48. В широком поддоне, на который передается сила натяжения арматуры в двух направлениях (
рис. 6.7,
б), сближение упоров по каждому направлению можно определять по формулам для узкой формы соответствующего типа, подставляя в них значения с индексами
x и
y и погонную вертикальную нагрузку.
Прогиб такого поддона, если он не разгружен от изгибающего момента (обычная конструкция), равен:

(6.31)
З. Расчет формы с низким поддоном
6.49. При низком поддоне (см.
п. 2.15) деформация определяется суммированием общего прогиба формы, подсчитываемого по
пп. А -
В, и поперечного прогиба поддона.
В форме с шарнирным (обычно с запорным устройством) креплением поддона к бортам (
рис. 6.8,
а) при вычислении геометрических характеристик сечения площадь поддона вводится с редукционным коэффициентом, принимаемым по графику на
рис. 4.1, но не более

; при глухом (жестком) креплении поддона к наружным несущим элементам (
рис. 6.8,
б) ограничение по величине коэффициента

не вводится.
Рис. 6.8. Сечения формы с низким поддоном
а - форма с шарнирным креплением поддона с бортом;
б - форма с жестким креплением поддона с бортом;
в - форма с несущим элементом в середине;
1 - поддон; 2 - борт; 3 - основной несущий элемент
При несущем элементе внутри формы (
рис. 6.8,
в) вычисление геометрических характеристик ведется с учетом всей площади поддона.
6.50. Прогиб в середине поддона, который суммируется с общим прогибом формы, при наружном расположении несущих элементов подсчитывается как для пластины по формуле

(6.32)
где

- коэффициент, принимаемый по
табл. 6.3 в зависимости от характера сопряжения поддона с боковыми элементами;
b - ширина (меньшая сторона) поддона;
D - цилиндрическая жесткость.
Таблица 6.3
Значения коэффициента 
Закрепление поддона | Коэффициент  при b/l, равном |
0,5 | 0,6 | 0,7 | 0,8 | 0,9 | 1,0 |
Шарнирное | 0,0101 | 0,0087 | 0,0073 | 0,006 | 0,005 | 0,0041 |
Жесткое | 0,0064 | 0,0056 | 0,0049 | 0,0042 | 0,0036 | 0,003 |
Примечание. При

(при шарнирном креплении) и

(при жестком креплении).
Цилиндрическая жесткость при поддоне из одного листа
где

- толщина листа;
при листе, усиленном поперечными балочками,
D = EJ,
где J - приведенный к единице длины момент инерции сечения поддона.
6.51. В форме с несущим элементом посередине (см.
рис. 6.8,
в), если опоры расположены в пределах этого элемента, общая деформация складывается с деформацией консольного участка, подсчитываемой по формуле

(6.33)
где a - длина консоли;
g - вес борта на единицу длины.
И. Расчет формы при оттянутой арматуре
6.52. В форме, на упорах которой в напряженном состоянии закреплена оттянутая арматура, возникает дополнительная поперечная нагрузка, численно равная вертикальной составляющей силы натяжения этой арматуры; продольная же нагрузка действует в нескольких уровнях по высоте. Дополнительная вертикальная нагрузка приложена в тяжах (тягах) или осях, обеспечивающих изменение направления арматуры, вверх и по торцовым сечениям вниз
(рис. 6.9).
Рис. 6.9. Схемы формы при оттянутой арматуре изделия
а - схема приложения усилий от силы натяжения прямолинейной
и оттянутой арматуры; б - расчетная схема
Горизонтальная составляющая силы натяжения оттянутой арматуры
а вертикальная составляющая
Здесь Nот - сила натяжения оттянутой арматуры;

- угол, под которым оттянута арматура (считая от горизонтали).
6.53. Расчет при оттянутой арматуре проводится по формулам для форм соответствующего типа, в которые вводится слагаемое от дополнительной вертикальной нагрузки, а вместо N и e соответственно принимаются
и
В этих выражениях

- равнодействующая сил натяжения в оттянутых арматурных элементах.
При нескольких элементах, оттянутых под разными углами или закрепленных на опорах в разных уровнях, горизонтальные составляющие сил подсчитываются отдельно, и в выражения для N0 и e0 они вводятся под знаком суммы и со своими эксцентриситетами.
6.54. Определение прогиба формы при оттянутой арматуре ведется по формулам для
y (
пп. А -
З), к которым добавляется член

(6.34)
где

- принимается по
табл. 1 приложения IX в зависимости от

и

.
При определении сближения упоров на уровне приложения равнодействующей сил в прямолинейной и оттянутой арматуре в соответствующую формулу для

вводится дополнительный член

(6.35)
где

- принимается по
табл. 1 приложения IX в зависимости от

и

.
6.55. Форму рамного типа, схема которой показана на
рис. 6.10, разрешается рассчитывать, как плоскую стержневую систему.
Примечание. Пространственная работа формы, вызванная смещенным положением центральных осей поясов и решетки относительно друг друга по вертикали, несущественно влияет на величину расчетных усилий в элементах.
Рис. 6.10. Примеры расчетных схем и сечений рамных форм
а - плоская расчетная схема и сечение формы для изготовления
безраскосных ферм скатной и плоской кровли; б - то же,
для раскосных ферм скатной кровли; 1 - нижний пояс;
2 - верхний пояс; 3 - средний пояс; 4 - стойка; 5 - раскос
6.56. Расчет многократно статически неопределимой системы, к которой приводится форма, можно вести по стандартным программам, подготовленным для расчета рам на электронно-вычислительных машинах (ЭВМ) разных типов, на единичное загружение продольной силой (по оси нижнего пояса) и моментом, действующим в плоскости рамы.
6.57. Для возможности выполнения статического расчета предварительно задаются:
сечением, площадью и моментом инерции нижнего пояса - площадь определяется из выражения
а сечение подбирается таким, чтобы в заданных габаритах и при принятой площади моменты инерции относительно горизонтальной и вертикальной осей были максимальными;
сечением, площадью и моментом инерции верхнего пояса - площадь принимается как часть площади нижнего пояса
Fв.п ~= 0,5 - 0,6Fн.п,
а сечение подбирается таким, чтобы моменты инерции относительно осей были возможно

;
сечением элементов решетки (стоек, раскосов, среднего пояса) по конструктивным соображениям;
жесткостью торцового узла, равной бесконечности, с соответствующим конструктивным обеспечением его высокой жесткости.
6.58. По определенным статическим расчетом усилиям в элементах (единичные усилия умножаются соответственно на N и M = Ney, где ey - эксцентриситет приложения силы N относительно центра тяжести сечения нижнего пояса) проверяются площади сечения элементов, напряжения в которых не должны превышать 1000 - 1200 кГ/см2.
6.59. С тем чтобы максимально уменьшить деформацию формы из плоскости, положение центров тяжести поясов, деформируемых самостоятельно, корректируется таким образом, чтобы прогиб от вертикальной нагрузки компенсировался выгибом от внецентренного приложения силы натяжения арматуры. Эксцентриситет, с которым действует сила Nп в каждом поясе, подсчитывается по формуле
где

- принимается по
таблице приложения II;
qп - вертикальная нагрузка, воспринимаемая поясом.
Вертикальную нагрузку qп допускается принимать: для нижнего пояса - собственный вес пояса, половина веса решетки формы, 2/3 веса бетона; для верхнего пояса - собственный вес пояса, половина веса решетки, 1/3 веса бетона.
Примечание. Для выполнения более точных подсчетов следует распределение весов между поясами устанавливать по фактической схеме формы.
6.60. Если соответствующим подбором сечения не удается полностью ликвидировать прогиб или выгиб пояса, то деформация пояса подсчитывается по
формуле (6.7), в которую вводятся
Nп,
qп и
Деформация формы в таких случаях устанавливается по прогибу (выгибу) самого деформативного пояса, если пояса деформируются в одну сторону, или по сумме деформаций поясов, если знаки деформаций в поясах различны.
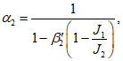
РАСЧЕТ ФОРМ С ПЕРЕМЕННОЙ ЖЕСТКОСТЬЮ ПОПЕРЕЧНОГО СЕЧЕНИЯ
7.1. При расчете формы, в которой момент инерции поперечного сечения меняется по длине, расчетная жесткость
B [см.
формулу (4.5')] подсчитывается по приведенной жесткости

(7.1)
где

- коэффициент приведения, принимающий разные значения в зависимости от характера загружения формы;
J1 - момент инерции основного сечения.
7.2. Когда определяется деформация от силы натяжения арматуры

(7.2)
где e1 и e2 - эксцентриситеты приложения силы натяжения относительно центра тяжести в сечении с моментом инерции соответственно J1 и J2;

- коэффициент, зависящий от характера изменения момента инерции по длине; его значения приведены в
табл. 1 приложения VI.
Эксцентриситеты
e1 и
e2 в
формулу (7.2) вводятся со своим знаком.
7.3. При определении деформации от сплошной вертикальной нагрузки

(7.3)
где

- коэффициент, зависящий от характера изменения момента инерции по длине и схемы опирания.
7.4. Если опоры формы расположены по краям,
где

- коэффициент, зависящий от характера изменения момента инерции по длине и принимаемый по
табл. 1 приложения VI.
При расположении опор со смещением к середине

подсчитывается по
формулам (1) -
(3), приведенным в п. 2 приложения VI.
7.5. Когда характер изменения момента инерции по длине формы носит сложный характер и не соответствует элементарным схемам, изображенным в
табл. 1 приложения VI, более сложная схема расчленяется на простые, соответствующие
схемам 1 -
3, и для каждой такой схемы вычисляют коэффициенты

и

. Коэффициенты приведения для балки со сложным характером изменения момента инерции по длине подсчитываются по формулам:

(7.4)

(7.5)
7.6. Для формы, у которой момент инерции поперечного сечения меняется с постоянным шагом, нет необходимости в разбивке расчетной схемы на элементарные. В этом случае коэффициенты приведения подсчитываются по
формулам (7.2) и
(7.3), в которые вводятся коэффициенты

и

, зависящие в этом случае от количества участков с пониженной (повышенной) жесткостью.
Коэффициент

, равно как и коэффициент

, принимается по
табл. 2 приложения VI; коэффициент

при смещенном положении опор подсчитывается по
формуле (1), которая дана в п. 2 приложения VI.
7.7. В форме при двух значениях моментов инерции поперечного сечения приведенная площадь подсчитывается по формуле

(7.6)
где
F1 и
F2 - площадь поперечного сечения с моментом инерции соответственно
J1 и
J2;

;

- суммарная длина участков с моментом инерции
J2.
7.8. В форме, имеющей более чем две различные площади поперечного сечения, приведенная площадь равна:

(7.6
')
РАСЧЕТ БОРТОВ ФОРМЫ
8.1. Расчет борта сводится к определению его прогиба на уровне верха в середине расчетного пролета (расстояния между бортами второго направления или стяжками и подкосами, установленными по длине борта). Прогиб подсчитывается от расчетного горизонтального давления

, и он не должен превышать допускаемой величины, определяемой расчетом точности формы (см.
главу 3).
Борта, на которые частично или полностью передается сила натяжения арматуры, дополнительно проверяются на устойчивость.
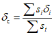
8.2. Расчетная схема борта принимается в зависимости от способа его крепления к поддону, профиля борта (открытого или замкнутого) и высоты. Крепление борта подразделяется на жесткое (сваркой, на болтах и т.п.) и шарнирное с запорным устройством и без него. Борта относятся к низким при h <= 500 мм и при большей высоте - к высоким.
8.3. При жестком креплении борта (
рис. 8.1,
а) выделяется расчетная полоса, равная расстоянию между ребрами жесткости. Деформация на уровне верхней грани борта подсчитывается как для консоли, загруженной давлением

. Расчетное неравенство имеет вид:

(8.1)
где

- давление на длине расчетной полосы;
r - расстояние от точки приложения давления до низа борта;
J1 - момент инерции расчетной полосы, включая и ребро жесткости.
Рис. 8.1. Расчетные схемы борта
а - при жестком креплении к поддону; б - при креплении
с помощью запорной оси; 1 - борт; 2 - поддон;
3 - ось шарнира; 4 - запорная ось
8.4. При закреплении борта на шарнирах с помощью устройств, при которых кручение можно не учитывать (
рис. 8.1,
б), расчет также ведется по консольной схеме. Расчетная полоса определяется расстоянием между шарнирами; для этой полосы подсчитывается момент инерции в пределах высоты борта (
J1) и сечения шарнирной скобы (
J2). В рассматриваемом случае деформация на уровне верхней грани борта должна удовлетворять условию

(8.2)
где

- давление на длине расчетной полосы;

;

.
В выражениях для

и


и

,
где r - расстояние от точки приложения давления до запорной оси;
h1 - то же, от низа борта.
Значения коэффициентов

и

приведены в
табл. 2 приложения IX.
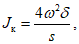
8.5. При низких бортах замкнутого профиля и шарнирном креплении с поддоном, при котором возникают деформации изгиба и кручения (
рис. 8.2,
а), должно удовлетворяться неравенство

(8.3)
l - расчетный пролет борта;
r - эксцентриситет приложения силы

относительно оси шарниров;
h1 - расстояние от оси шарниров до низа борта;
Jк - момент инерции сечения при свободном кручении (см.
п. 8.6).
Рис. 8.2. Расчетные схемы борта при шарнирном креплении
к поддону
а - борт замкнутого профиля; б - борт открытого профиля;
1 - борт; 2 - поддон; 3 - ось шарнира
Таблица 8.1
Значения коэффициентов
и 
Количество закреплений по длине | | |
По краям (на бортах противоположного направления) | 0,128 | 0,013 |
При одной промежуточной опоре (стяжке, подкосе) посередине | 0,0514 | 0,0052 |
При двух промежуточных опорах, делящих длину на три равных пролета | 0,0671 | 0,0068 |
При трех и более промежуточных опорах, делящих длину на равные части | 0,0622 | 0,0063 |
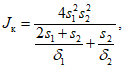
8.6. Момент инерции при свободном кручении борта замкнутого профиля подсчитывается по формулам, приведенным в
приложении VII. Момент
Jк вводится в
формулу (8.3) полной величиной только при сплошной приварке листов; при прерывистых швах значение
Jк умножают на понижающий коэффициент, равный:
k = 0,85 при отношении длины швов к длине борта

и
k = 0,9 при

.
8.7. При низких бортах открытого профиля и шарнирном креплении с поддоном (
рис. 8.2,
б) должно удовлетворяться неравенство

(8.4)

- секториальный момент инерции относительно оси шарниров.
8.8. Уточненное значение прогиба по
формулам (8.3) и
(8.4) с учетом влияния собственного веса борта можно получить, если в эти формулы ввести приведенное плечо

(8.5)
где g - вес борта на единицу длины;
a - эксцентриситет приложения g относительно оси шарниров.
Знак минус принимается, когда момент, создаваемый весом борта, имеет знак, обратный знаку момента от горизонтального давления.
Уточненный расчет проводится при тяжелых бортах и сравнительно больших значениях эксцентриситета a.
8.9. При бортах сложного сечения большой высоты (
h > 500
мм), а также при малом расстоянии между опорами (стяжками, подкосами) разрешается не учитывать кручение и деформации определять приближенным способом, при котором борт разбивается по высоте на расчетные полосы и на них передается соответствующая часть бокового давления
(рис. 8.3). Нижняя расчетная полоса, к которой приложена максимальная нагрузка, работает с пролетом, равным расстоянию между шарнирами; верхняя - с пролетом, равным расстоянию между стяжками или бортами другого направления; промежуточные - как неразрезные балки с опорами в местах расположения вертикальных ребер жесткости.
Примечания: 1. При приторцовке бортов и надежных конструкциях замков разрешается учитывать частичное защемление по краям.
2. На каждой расчетной полосе давление считается приложенным в середине ее высоты.
Рис. 8.3. Схема разбивки высокого борта на расчетные полосы
8.10. При передаче на борта, соединенные с поддоном на шарнирах, частично или полностью силы натяжения арматуры, деформация на уровне верха борта определяется по соответствующей формуле, в которую вводится вместо

приведенная нагрузка, приближенно равная:

(8.6)
где

- эксцентриситет приложения силы
N относительно вертикальной оси, проходящей через центр изгиба сечения;

- коэффициент, зависящий от числа опираний борта [

- при опирании по краям;

- при наличии одной или более стяжек (подкосов) по длине].
Знак минус перед вторым членом выражения принимается, когда точка приложения силы N находится между двумя вертикальными плоскостями, проходящими через центр тяжести и центр изгиба сечения.
8.11. В бортах, воспринимающих силу натяжения арматуры, при шарнирном креплении к поддону возможна только изгибно-крутильная форма потери устойчивости. Значение критической силы при прямоугольном или приводимом для расчета к прямоугольному сечению замкнутом борте подсчитывается по формуле

(8.7)
где Jx, Jy и Fб - соответственно центральные моменты инерции и площадь сечения борта;
Jк - момент инерции при свободном кручении, подсчитываемый по
приложению VII;
ex и ey - эксцентриситеты приложения силы N относительно осей y и x.
8.12. Значение критической силы при открытом сечении борта подсчитывается по формуле

(8.8)
где Ux и Uy - геометрические характеристики, приближенные значения которых равны:
Fi - элементарные площади, на которые разбивается сечение борта;
xi и yi - расстояние центра тяжести площадей Fi до соответствующих осей.
8.13. Значение критической силы колеблется в больших пределах в зависимости от положения оси шарниров относительно центра изгиба сечения борта. Соответственно, выбирая положения оси, можно резко увеличить
Nкр. Продольная сила, прикладываемая к борту, должна быть в два раза меньше
Nкр по
формулам (8.7) и
(8.8).
8.14. При приближенном расчете борта (см.
п. 8.9) также производится проверка устойчивости, если на верхнюю расчетную полосу передается часть натяжения арматуры. В этом случае величину критической силы можно определять по формуле

(8.9)
n - число промежуточных опор (стяжек, подкосов);
l - длина борта.
Таблица 8.2
Значения коэффициента 
n | 1 | 2 | 3 | 4 | 5 | 6 | 7 |
| 2,5 | 1,5 | 1,3 | 1,22 | 1,13 | 1,1 | 1,07 |
Продольная сила, прикладываемая к борту, должна быть примерно в два раза меньше
Nкр по
формуле (8.9).
8.15. Бортовая оснастка, которая состоит из отдельных элементов, входящих в состав формовочной машины или являющихся принадлежностью поста формования, рассчитывается исходя из тех же положений, что и борта формы, с учетом фактической схемы их закрепления.
8.16. Съемная бортоснастка, выполняемая в виде жесткой прямоугольной рамы
(рис. 8.4), рассчитывается по давлению

, которое считается приложенным по центральным осям продольных и поперечных элементов рамы.
Рис. 8.4. Расчетная схема съемной рамной бортоснастки
Расчетный прогиб в середине пролета, если отсутствуют промежуточные крепления, равен:
по длине

(8.10)
где
J1 - момент инерции сечения продольного элемента рамы относительно вертикальной оси;
по ширине

(8.11)
где
J2 - момент инерции сечения поперечного элемента рамы относительно вертикальной оси.
Коэффициенты

и

, подсчитанные по

и

, приведены в
табл. 3 приложения IX.
Примечание. Деформация yв со знаком минус указывает, что поперечный элемент рамы изгибается внутрь изделия.
8.17. При расчете петель или устройств, обеспечивающих съем бортоснастки, принимается удельное усилие сдвига 0,15 кГ/см2.
РАСЧЕТ ЭЛЕМЕНТОВ И ДЕТАЛЕЙ ФОРМ
9.1. В форме расчетными являются элементы и детали, на которые передается внешняя нагрузка или в которых возникают реактивные усилия. Их расчет ведется по общим правилам, как металлических конструкций (обшивка, вкладыши) или машиностроительных деталей. Отдельные расчетные положения приведены в
пп. 9.2 -
9.27.
А. Расчет обшивки поддона и бортов
9.2. При расчете обшивки исходят из необходимости ограничить местную ее деформацию в пределах ячейки или грани (при пространственной конфигурации обшивки) величиной, указанной в
п. 4.14.
9.3. Прогиб ячейки (грани) обшивки поддона подсчитывается от вертикальной нагрузки, создаваемой вибрируемой бетонной смесью и пригрузом, штампом или другим формовочным оборудованием. Учитывается также, что на обшивку, помимо поперечной нагрузки, действует продольная сила, создающая в обшивке сжимающие напряжения.
Расчетная формула

(9.1)
где
p1 - давление на единицу площади поддона, определяемое по формулам
главы 5;
k1 - коэффициент, принимаемый по
табл. 9.1 в зависимости от отношения
a1/
b1;
a1 и b1 - соответственно длина и ширина ячейки (грани).
Таблица 9.1
Граничные условия | Отношение a1/b1 |
1 | 1,2 | 1,4 | 1,6 | 1,8 | 2 | 3 |
Полное защемление | 0,0166 -------- 0,0138 | 0,0229 -------- 0,0191 | 0,0272 -------- 0,0227 | 0,0301 -------- 0,0251 | 0,032 -------- 0,0267 | 0,0331 -------- 0,0276 | 0,0335 -------- 0,0279 |
Частичное защемление | 0,0349 -------- 0,0291 | 0,0485 -------- 0,0404 | 0,06 -------- 0,0499 | 0,0695 -------- 0,0579 | 0,077 -------- 0,0642 | 0,083 -------- 0,0691 | 0,097 -------- 0,0808 |
Примечание. Значения в числителе принимаются при сжатой силами натяжения арматуры обшивке; значения в знаменателе - при расчете обшивки несилового поддона или борта.
9.4. При треугольных ячейках обшивки поддона (в конструкциях с перекрестной балочной решеткой) в
формулу (9.1) вводится
b1 - основание равнобедренного треугольника, а
k1 принимается по
табл. 4 приложения IX в зависимости от отношения
b1/
h1, где
h1 - высота треугольника.
9.5. Прогиб обшивки борта подсчитывается для самой загруженной ячейки по формуле

при
a1 >=
b1 (9.2)
или

при
a1 <
b1. (9.2
')
В этих формулах:
a1 и b1 - соответственно горизонтальный и вертикальный размеры ячейки;

- среднее давление на единицу площади обшивки;

определяется по формулам
главы 5;
k1 - коэффициент, принимаемый по
табл. 9.1 в зависимости от отношения
a1/
b1;
k2 - коэффициент, зависящий от количества ячеек по высоте борта и от эпюры давления;
k2 = 1 - при одной ячейке по высоте, а также при любом числе ячеек, если эпюра давления прямоугольная;

- при треугольной или трапецеидальной эпюре давления.
Примечание. При малом отношении ширины поддона к высоте борта

и при применении пригруза любого типа можно условно считать эпюру давления прямоугольной.
9.6. Вкладыши в виде отдельных конструктивных элементов, извлекаемых обычно сразу после формования, рассчитываются на те же нагрузки, что и борта; при этом учитывается фактический характер их закрепления на поддоне.
9.7. Сечения элементов каркаса вкладыша, у которого имеются промежуточные подкрепления, расположенные достаточно часто, принимаются по конструктивным соображениям, и в них рассчитываются только ячейка обшивки по формулам, приведенным в
разделе А.
9.8. Подъемные петли вкладышей, извлекаемых сразу после формования, должны рассчитываться, исходя из удельных усилий сдвига относительно свежеотформованной смеси 0,15 кГ/см2 и отрыва 0,25 кГ/см2. При устройствах, исключающих силы вакуумного сцепления, разрешается удельное усилие отрыва принимать таким же, как и для сдвига.
В. Расчет замков и шарниров
9.9. Замки, соединяющие борта форм и шарниры рассчитываются на давление, которое передается на борт от вибрируемой бетонной смеси и пригруза, штампа или другого формовочного оборудования, и на воздействие инерционной силы, возникающей при колебаниях борта. В зависимости от способа вибрационного уплотнения бетонной смеси и конструкции замка отдельные его детали рассчитываются или только на давление, или только на инерционную силу, или на суммарное усилие.
9.10. Нагрузка на детали замков, воспринимающие горизонтальное давление, когда борта крепятся на шарнирах, определяется по формуле

(9.3)
где
r и
r' - расстояние от оси шарниров соответственно до точки приложения равнодействующей давления и до оси замка (
рис. 9.1,
а).
Рис. 9.1. Схемы для определения расчетных нагрузок на замки
а - при низком борте; б - при высоком борте;
О - ось шарниров
При расположении двух замков по высоте давления на их детали равны (
рис. 9.1,
б):

(9.3
')

(9.3
")
9.11. При низких бортах, жестко скрепленных с поддоном, нагрузка на замки от этих бортов не передается, а при свободном закреплении бортов на замках или на замках и фиксаторах, не препятствующих их изгибу и кручению,

(9.4)
При двух и более замках по высоте борта разрешается принимать

(9.4
')
где n - количество замков по высоте борта;
l - длина борта или при установленных верхних стяжках расстояние между ними.
В тех же условиях, но при наличии фиксаторов, препятствующих только изгибу борта, давление на замки можно принимать по
формулам (9.3) -
(9.3"), в которые подставляются расстояния до низа борта.
9.12. Воздействие инерционной силы, которая возникает при колебании борта формы, установленной на виброплощадке, приближенно можно подсчитывать по формуле
где g - вес борта на единицу длины;
A - амплитуда колебаний виброплощадки;
m - количество шарниров по длине борта.
--------------------------------
<*> При частоте колебаний виброплощадки
n > < 3000 в
мин значение
Qз нужно умножить на коэффициент приведения

.
9.13. Детали замка, воспринимающие горизонтальное давление и инерционное воздействие, рассчитываются на усилие

(9.6)
9.14. При соединении борта с поддоном на шарнирах
(рис. 9.2) усилие, по которому подсчитываются диаметр оси шарниров и толщина щек, допускается определять по приближенной формуле

(9.7)
где

(9.8)
и
Примечания: 1. В выражении для

не учитывается разница в величинах давлений в отдельных шарнирах.
2. При
m = 2 в выражении для

вместо
m - 1 подставляется
m.
--------------------------------
<*> При частоте колебаний виброплощадки
n > < 3000 в
мин Qш нужно умножить на коэффициент приведения

.
Рис. 9.2. Схема для определения расчетных нагрузок на шарнир
О - ось шарнира
Г. Расчет подъемных скоб и выносных опор
9.15. Сечение подъемной скобы определяется по расчетной нагрузке Qс, которая принимается в зависимости от схемы опирания формы. При подъеме формы стропами за четыре скобы, расположенные в вершинах прямоугольника, расчетная нагрузка равна
где
kд - динамический коэффициент, принимаемый по указаниям
п. 5.6.
Примечание. В тех случаях, когда форма предназначается для использования на конкретной технологической линии, оснащенной балансирующей траверсой или таким подъемным оборудованием, при котором передача нагрузки на две точки невозможна, а в других условиях применение формы исключается, допустимо скобы рассчитывать на вдвое меньшую нагрузку.
9.16. При подъеме формы стропами за три скобы, расположенные в вершинах равнобедренного треугольника, расчетная нагрузка может приниматься по формуле
9.17. Подъемные скобы, если подъем формы производится пауком с четырьмя (тремя) стропами, должны рассчитываться также на горизонтальное усилие, определяемое по формуле

(9.11)
h - проекция наклонной стропы на вертикаль;

;
k0 - коэффициент, зависящий от схемы опирания формы (при четырехточечном опирании k0 = 1, при опирании на три точки k0 = 0,7).
Если при проектировании формы величина h неизвестна, разрешается принимать угол наклона стропы 45°, и в этом случае

(9.11
')
9.18. Выносные опоры, которыми оборудуются формы, эксплуатируемые на технологических линиях с вертикальными камерами пропаривания, с пакетировщиками, а в отдельных случаях и с обычными ямными камерами, рассчитываются на ту же нагрузку, что и подъемные скобы, и по тем же формулам (в зависимости от схемы расстановки опор).
9.19. При пакетировании форм выносные опоры рассчитываются на суммарную вертикальную нагрузку от всего пакета, а динамический коэффициент принимается равным единице:
Q0 = knQ, (9.12)
где k = 0,5 - при четырех опорах, расположенных в вершинах прямоугольника;
k = 0,4 - при трех опорах, расположенных в вершинах равнобедренного треугольника;
n - количество форм в пакете.
9.20. В случаях когда при диагональном опирании перемещение поддона в местах расположения выносных опор больше, чем возможная разность отметок опорных площадок

, разрешается выносные опоры рассчитывать на нагрузку

(9.13)
9.21. Швы, которыми скобы и опоры привариваются к поддону, обычно рассчитываются на изгиб и срез, и их длина и толщина находятся по формуле

(9.14)
где

рекомендуется принимать не более 1100
кГ/см2 (при электродах не ниже типа Э42).
Д. Расчет упоров и захватов
9.22. Детали формы, непосредственно воспринимающие силу натяжения арматуры, подсчитываются по расчетному значению силы
N (см.
п. 5.7) и моменту
M, создаваемому этой силой относительно расчетного сечения.
Примечание. При неодновременном отпуске арматурных элементов, сопровождаемом обычно перенапряжением элементов, освобождаемых в последнюю очередь, может потребоваться увеличение расчетной силы N до значения, определяемого разрывным усилием арматурного элемента (с учетом его ослабления временными анкерами-головками, приваренными коротышами и т.п.).
9.23. Расчетное сечение упора (штыря), непосредственно закрепляемого на поддоне, совпадает с уровнем его заделки
(рис. 9.3). Расчетные напряжения в этом сечении должны удовлетворять неравенству

(9.15)
где

- предел прочности материала;
n - коэффициент запаса.
Рис. 9.3. Расчетные схемы упоров (штырей)
а и б - при креплении к поддону на сварке; в - то же,
на болтах; г - при установке штыря во втулку (стакан)
Коэффициент запаса принимается в зависимости от фактических условий работы упора (штыря), но не менее 2,5 - 3 (меньшее значение берут при

; большее - при

; здесь

- фактический или условный предел текучести стали).
9.24. Сварные швы, которыми упоры привариваются к поддону, рассчитываются по
формуле (9.14), в которую вводится поперечная сила
N, если швы работают на срез, и момент, равный произведению этой силы на расстояние от точки ее приложения до расчетного сечения упора (см.
рис. 9.3).
Напряжения в швах ограничиваются величиной

(при электродах не ниже типа Э42), если особые условия эксплуатации не требуют снижения допускаемого напряжения.
9.25. При упорах (штырях), закрепляемых на болтах, дополнительно рассчитывается сечение болтов по срезывающему усилию N и растягивающему усилию

(9.16)
где
a' - расстояние от точки приложения силы
N до плоскости среза болтов (см.
рис. 9.3,
в);
b - расстояние между болтами в плоскости действия момента от силы N.
Сечение болтов подбирается по расчетным напряжениям, определяемым по
формуле (9.15).
9.26. При расчете выдвигаемых штырей дополнительно подсчитывается давление на стенки стаканов и на поддерживающие их балки. Результирующие реактивные давления можно принимать равными (см.
рис. 9.3,
г):

(9.17)

(9.17
')
9.27. В захвате, показанном на
рис. 9.4, расчетными являются сечения
I-I,
II-II,
III-III. Сечения
I-I и
III-III рассчитывают по поперечной силе

и моменту

, сечение
II-
II - по продольной силе

и моменту

.
Рис. 9.4. Расчетная схема захвата
Тяга рассчитывается по силе N, которая считается приложенной с эксцентриситетом
где

- разность между номинальным диаметром арматурного элемента и отверстием, в которое он устанавливается.
ОСНОВЫ ДИНАМИЧЕСКОГО РАСЧЕТА ФОРМ <1>
--------------------------------
<1> В связи с небольшим объемом исследований по динамике форм в главе приводятся только общие положения и ограниченное число конкретных решений.
10.1. Динамический расчет проводится с целью предварительной эксплуатационной оценки формы как по качеству уплотнения бетонной смеси, так и по выносливости соединений и деталей при вибрационном воздействии.
10.2. Первая из этих задач требует определения частот собственных колебаний формы в целом и отдельных ее элементов, форм главных колебаний и амплитуд вынужденных колебаний; вторая задача связана с усталостной прочностью сварных соединений и материала, из которого выполнены детали и элементы формы.
10.3. Динамический расчет принимается в зависимости от характера вибрационных воздействий на форму, который определяется способом возбуждения колебаний бетонной смеси и применяемым оборудованием. Различают:
внутреннее вибрирование, при котором колебания от вибратора передаются непосредственно на бетонную смесь;
поверхностное вибрирование с передачей колебаний на форму только через бетонную смесь или через бетонную смесь и борта;
наружное вибрирование, создаваемое навесными вибраторами, установленными на бортах формы;
поршневое вибрирование, при котором вибраторы крепятся к поддону, отделенному от бортов, так что колебания всей бетонной смеси происходят только в результате вибрации поддона;
станковое вибрирование с использованием виброплощадок, создающих вертикальные колебания (направленные, круговые, ударно-вибрационные и т.д.);
продольно горизонтальное (резонансное) вибрирование, которое разработано в двух вариантах: с непосредственным креплением вибратора в торце формы, установленной на гибкие или катучие опоры, и с применением виброплощадки, вызывающей горизонтально направленные колебания.
Вибрационное воздействие на форму во многих случаях сочетается со сравнительно небольшим давлением (инерционный и безынерционный пригруз) или со значительным давлением (штампование, прессование и т.д.).
10.4. При внутреннем вибрировании динамический расчет можно не проводить, так как при таком способе уплотнения бетонной смеси интенсивность вибрационных воздействий незначительна и ограничивается малым объемом бетона. При всех остальных способах уплотнения бетонной смеси выполнение специальных расчетов на динамику весьма желательно.
10.5. Форма, установленная на виброплощадку безрамного типа и жестко прикрепленная к отдельным блокам, характеризуется сложным колебательным движением, которое можно расчленить на изгибные колебания как балки конечной жесткости, лежащей на упругом безынерционном основании, и на перемещения абсолютно жесткого тела, закрепленного на пружинах.
Примечание. Приведенные в
пп. 10.6 -
10.12 решения не распространяются на формы, длина которых заметно (более чем на 2
м) превышает расстояние между крайними виброблоками.
10.6. Частоты собственных изгибных колебаний формы вычисляются по формулам:
колебания первого тона

(10.1)
колебания высших тонов

(10.2)
В этих формулах:
C - суммарная жесткость пружин всех виброблоков, на которые установлена форма;

;

, где
n = 1, 3, 5...;
m - расчетная масса на единицу длины;
где Gк - вес вибрируемых частей виброплощадки;
Gф - вес формы;
Gб - вес бетона.
Примечания: 1. В форме для изделий с обычной ненапряженной арматурой вычисление частоты колебаний первого тона производится по B = EJ.
2. В большинстве случаев достаточно ограничиться вычислением частоты первого тона.
10.7. Если частота собственных колебаний формы первого или высшего тона близка к частоте вынужденных колебаний, создаваемой виброплощадкой, возможно проявление резонанса. Степень приближения к резонансу характеризуется коэффициентом динамичности

(10.3)
где

- частота вынужденных колебаний;

- частота собственных колебаний.
При

необходимо изменить жесткость формы или ее вес.
10.8. Амплитуда изгибных колебаний по краям формы определяется по формулам:
колебания первого тона

(10.4)
где

- подсчитывается по частоте собственных колебаний

;
P - суммарная возмущающая сила, равная произведению возмущающей силы одного вибратора на число вибраторов во всех блоках;
колебания третьего тона

(10.4
')
где

- подсчитывается по частоте собственных колебаний

;
колебания пятого тона

(10.4
")
где

- подсчитывается по частоте собственных колебаний

.
10.9. Амплитуда изгибных колебаний для каждого тона в любой точке по длине формы определяется по формуле

(10.5)
где n = 1, 3, 5...;

- ордината изогнутой оси балки, соответствующая
n-й форме колебания в точке
i; принимается по
табл. 10.1.
Таблица 10.1
x --- l | 0 | 0,05 | 0,1 | 0,15 | 0,2 | 0,25 |
f1 | 1 | 0,767 | 0,537 | 0,313 | 0,097 | -0,099 |
f3 | 1 | 0,454 | -0,056 | -0,441 | -0,642 | -0,622 |
f5 | 1 | 0,155 | -0,482 | -0,649 | -0,304 | 0,277 |
Продолжение табл. 10.1
x --- l | 0,3 | 0,35 | 0,4 | 0,45 | 0,5 |
f1 | -0,272 | -0,413 | -0,52 | -0,585 | -0,07 |
f3 | -0,396 | -0,045 | 0,328 | 0,601 | 0,712 |
f5 | 0,675 | 0,625 | 0,1 | -0,45 | -0,7 |
10.10. Амплитуда изгибных колебаний по первым трем формам равна:
по краям

(10.6)
в любой точке по длине

(10.7)
Примечание. При суммировании перемещений, соответствующих разным формам колебаний, нужно учитывать разницу в моментах времени, в которые каждое отдельное перемещение достигает наибольшей величины.
10.11. Перемещение формы как абсолютно жесткого тела, колеблющегося на пружинах суммарной жесткости C, определяется по формуле

(10.8)
где

.
10.12. При известных амплитудах изгибных колебаний формы и ее перемещениях как твердого тела полная амплитуда равна:
по краям

(10.9)
в любой точке по длине

(10.10)
Знак плюс принимается при совпадении фаз колебаний, знак минус - при сдвиге фаз на

.
Учитывая знаки перемещений, можно подсчитать предельные (максимальные и минимальные) значения амплитуд. Если предельные амплитуды по длине формы отличаются незначительно, это свидетельствует о достаточной жесткости формы.
10.13. При других способах возбуждения колебаний бетонной смеси определение частот собственных колебаний, форм главных колебаний и амплитуд вынужденных колебаний следует проводить на основе имеющихся решений в динамике упругих систем.
10.14. Собственная частота колебаний ячейки обшивки поддона, рассматриваемая как жестко защемленная пластина, определяется по формуле

(10.11)
где
a и
b -

и меньшая стороны ячейки;

и

- объемный вес соответственно стали и бетона;
h - высота бетона.
10.15. Амплитуда колебаний ячейки обшивки поддона подсчитывается по формуле

(10.12)
где
A - полная амплитуда колебаний формы в месте расположения ячейки (см.
п. 10.12);

- подсчитывается по
формуле (10.3) по собственной частоте ячейки обшивки.
Примечание. При существенно различных амплитудах колебаний по длине формы может потребоваться определение yn для нескольких ячеек, расположенных на разном расстоянии от середины.
10.16. Собственная частота колебаний ячейки обшивки борта при наружном вибрировании определяется с учетом массы бетонной смеси, которая примыкает к обшивке и вовлекается в работу вместе с ней.
В расчет вводится масса
Таблица 10.2
Значения коэффициента 
b --- a | Пластина | b --- a | Пластина |
свободно опертая на контуре | жестко заделанная на контуре | свободно опертая на контуре | жестко заделанная на контуре |
0 | 0,78 | 0,7 | 0,6 | 0,51 | 0,41 |
0,1 | 0,76 | 0,68 | 0,7 | 0,47 | 0,39 |
0,2 | 0,71 | 0,61 | 0,8 | 0,45 | 0,37 |
0,3 | 0,65 | 0,5 | 0,9 | 0,43 | 0,35 |
0,4 | 0,61 | 0,45 | 1 | 0,42 | 0,33 |
0,5 | 0,55 | 0,43 | | | |
10.17. При наружном вибрировании приближенный расчет ячейки борта можно вести по тем же формулам, что и расчет ячейки поддона (см.
пп. 10.14 и
10.15), только в соответствующих формулах принимается масса с присоединенной бетонной смесью и амплитуда колебаний борта в месте расположения рассчитываемой ячейки.
ОСНОВНЫЕ ПРИНЦИПЫ КОНСТРУИРОВАНИЯ ФОРМ
11.1. Конструирование формы для заданного изделия или изделий должно вестись применительно к конкретной технологии и с учетом параметров машин и установок, в сочетании с которыми будет эксплуатироваться форма.
11.2. При проработке конструктивного решения формы (с учетом принятой технологии) принимается вариант, обеспечивающий выпуск изделий требуемого качества, в том числе и по точности изготовления, при минимальном весе
<1> и наименьших затратах на изготовление самой формы и ее эксплуатацию.
--------------------------------
<1> Для снижения веса формы рекомендуется в бортах и в поддоне вместо прокатных профилей широко применять холоднотянутые профили, и в первую очередь сортамента, выпускаемого промышленностью.
11.3. Оптимальный вариант - обычно форма, в которой обеспечена минимальная деформативность от расчетных нагрузок и в максимально возможной степени ее неразборность.
11.4. Минимальная деформативность формы достигается правильным выбором конструктивной схемы и рациональным размещением материала по сечениям, благодаря чему при принятых весе и габаритах повышается жесткость формы на изгиб и кручение.
11.5. В силовой форме, воспринимающей силу натяжения арматуры, основным способом снижения ее деформативности является совмещение центра тяжести сечения с точкой приложения силы натяжения арматуры, т.е. создание конструкции центрально сжатой или сжатой с небольшим эксцентриситетом.
Если создать форму с подобранным центром тяжести поперечного сечения не представляется возможным, следует максимально уменьшить эксцентриситет приложения силы натяжения арматуры относительно центра тяжести сечения.
Примечание. Это требование не распространяется на форму, в которой искусственно создается выгиб от силы натяжения арматуры, чтобы компенсировать прогиб от вертикальной нагрузки.
11.6. Формы рекомендуется проектировать по возможности неразборными. Если из-за конфигурации изделия нельзя обеспечить его извлечение из неразборной формы, необходимо стремиться к частично разборной конструкции с минимальным количеством отделяемых (откидываемых, отодвигаемых и т.д.) элементов (
рис. 11.1 и
11.2).
Рис. 11.1. Поперечные сечения форм для плитных изделий
(силовая часть условно заштрихована)
а - неразборная форма; б - частично разборная с одним
отодвижным бортом; в - то же, с одним откидным бортом;
г - разборная с двумя откидными бортами; д - то же,
с уменьшенной высотой откидных бортов
(с поднятыми шарнирами)
Рис. 11.2. Поперечные сечения форм для балочных изделий
(силовая часть условно заштрихована)
а - неразборная форма; б - частично разборная форма с одним
откидным бортом; в - то же, со съемным бортом; г - разборная
форма с двумя откидными бортами; д и е - то же,
с уменьшенной высотой откидных бортов
(с поднятыми шарнирами)
Применение формы со всеми откидывающимися (съемными, отодвижными и т.д.) бортами допустимо только при сложном очертании всех боковых граней изделия. При изделиях такой конфигурации особенно рекомендуется немедленное распалубливание, если оно не влечет за собой нарушение геометрии граней. Немедленное распалубливание позволяет вместо сложной разборной формы эксплуатировать простые поддоны.
11.7. Во многих случаях рационально проектировать форму частично разборной с извлекаемыми (сдвигаемыми, отодвигаемыми и т.д.) вкладышами
(рис. 11.3) или с упругими бортами
(рис. 11.4).
Примечание. В форме последнего типа борта, обшивка которых составляет одно целое с обшивкой поддона, отогнуты на угол, меньший проектного, и они приводятся в рабочее положение с помощью винтов или эксцентриковых устройств. Распалубливание изделия обеспечивается благодаря упругости листов обшивки при вывинчивании винтов или при повороте эксцентриков.
Рис. 11.3. Поперечные сечения частично разборных форм
с извлекаемыми сразу после формования вкладышами
(силовая часть условно заштрихована)
а - при простом очертании боковых граней изделий; б - то же,
при сложном очертании; в - для решетчатых изделий (типа
ферм, решетчатых балок, двухветвевых колонн и т.п.); точкой
с осями условно показано перемещение вкладышей
перпендикулярно плоскости рисунка
Рис. 11.4. Поперечные сечения форм с упругими элементами
(силовая часть условно заштрихована)
а - форма с одним упругим бортом; б - форма с двумя упругими
бортами; пунктиром показаны борта в отжатом положении
11.8. Групповые формы, если их нельзя выполнить неразборными, должны всегда проектироваться частично разборными с глухими разделительными элементами или, наоборот, с глухими наружными бортами и съемными разделительными вкладышами
(рис. 11.5).
Рис. 11.5. Поперечные сечения групповых форм (силовая часть
условно заштрихована)
а - неразборная форма; б и в - частично разборная форма
с глухим разделительным элементом и откидными бортами;
г - то же, с отодвижными бортами; д - то же,
с извлекаемыми вкладышами
11.9. Особенно целесообразны силовые полностью и частично неразборные формы с извлекаемыми вкладышами, поскольку в таких формах обычно удается совместить центр тяжести сечения с точкой приложения силы натяжения арматуры.
11.10. Для извлечения съемной бортоснастки и вкладышей разных размеров и очертаний вверх сразу после формования уклоны граней должны быть не менее

, где
h - высота грани. Для извлечения изделий из неразборной формы не рекомендуются уклоны менее

; при наличии побудителей движения в виде специальных механических или гидравлических устройств уклоны могут быть уменьшены до
(рис. 11.6).
Примечание. В отдельных случаях, в частности, при наличии полимерных покрытий по рабочим поверхностям можно допускать уклоны менее указанных.
Рис. 11.6. Рекомендуемые уклоны рабочих граней формы
а - для извлечения бортовой оснастки и вкладышей сразу
после формования; б - для извлечения изделия из неразборной
формы; в - то же, с побудителем движения; г - для извлечения
изделия с уширенным сечением внизу; д - для свободного
перемещения изделия с торцовыми и поперечными ребрами
при отпуске арматуры
11.11. Форма с одним жестко скрепленным с поддоном бортом может применяться для изделий с уширениями внизу, если наклонная грань образует с горизонталью угол, равный или больший 50° (
рис. 11.6,
г). Для таких изделий рациональна и форма с двумя глухими бортами в сочетании с извлекаемым вверх или вдоль изделия вкладышем.
Форма для изделий с уширениями вверху и внизу должна выполняться с одним глухим бортом или с двумя глухими бортами, но с вкладышем, извлекаемым вдоль изделия или отодвигаемым в наружную сторону.
11.12. В рамных формах, которые проектируются как частично разборные (с удаляемыми вкладышами), нижний пояс выполняется замкнутого профиля, равно как и элементы решетки, непосредственно примыкающие к жесткому торцовому узлу. Остальные элементы можно принимать и открытого профиля, при этом в верхнем поясе отбортовка горизонтальных листов обязательна.
11.13. В форме для предварительно напряженных изделий с поперечными ребрами или для изделий с местными изменениями поперечного сечения при уклоне боковых (поперечных) граней менее 45° устройства, исключающие заклинивание изделий или образование в них трещин при отпуске арматуры, не предусматриваются (
рис. 11.6,
д); при больших углах они могут потребоваться.
11.14. Детали, фиксирующие удаляемые сразу после формования борта и вкладыши, всегда должны крепиться к этим бортам и вкладышам; в поддоне же необходимо предусматривать соответствующие отверстия или замки, не выходящие на рабочую поверхность поддона (для удобства его чистки и смазки).
11.15. В форме, в которой производится тепловлажностная обработка изделий, необходимо по возможности обеспечить свободное взаимное перемещение изделия и формы, возникающее из-за разных скоростей нагрева и охлаждения бетона и стали, при подъеме и понижении температуры.
Если конфигурация изделия ограничивает его свободное температурное перемещение в форме и при принятых режимах тепловлажностной обработки не исключено появление трещин в бетоне, следует форму проектировать так, чтобы можно было провести частичное распалубливание изделия на участках возможного образования трещин (извлечением отдельных вставок в бортах, удалением вкладышей и т.п.).
Примечание. Установка в форме упругих прокладок для компенсации температурных удлинений не рекомендуется.
11.16. С целью снижения вредного влияния температурных деформаций силовой формы на трещиностойкость изделия и сцепление предварительно напряженной арматуры с бетоном следует исключить или уменьшить изгиб формы при подъеме и понижении температуры, что в наибольшей степени обеспечивается в форме с подобранным положением центра тяжести.
11.17. При откидывающихся бортах оси шарниров должны так располагаться, чтобы при распалубке был обеспечен свободный поворот бортов и исключено повреждение изделий. При бортах, установленных на поддон, оси шарниров всегда должны располагаться вне габарита поддона (
рис. 11.7,
а и
б) и, кроме того, при наличии в борте наклонной грани вверху - и в зоне, ограниченной перпендикуляром к нижней точке этой наклонной грани (
рис. 11.7,
в и
г). При примыкании прямоугольного борта к поддону оси шарниров можно располагать в любом месте (
рис. 11.7,
д), а при наличии наклонных граней внизу и вверху - в зоне, ограниченной перпендикулярами к нижним точкам наклонных граней (
рис. 11.7,
е -
з).
Примечание. Если оси шарниров располагаются между поддоном и вертикальной осью, проходящей через центр тяжести сечения борта, необходимо предусмотреть конструктивные мероприятия против самопроизвольного откидывания борта.
Рис. 11.7. Зоны размещения оси шарниров
а - при расположении над поддоном борта с плоской рабочей
гранью; б - г - то же, борта сложного очертания;
д - при примыкании к поддону борта с плоской рабочей
гранью; е - з - то же, борта сложного очертания
11.18. Для уменьшения крутящего момента, вызывающего деформацию борта, при любом профиле борта необходимо оси шарниров располагать возможно ближе к борту по вертикали. При бортах открытого профиля рекомендуется оси шарниров размещать как можно дальше от борта по горизонтали, благодаря чему увеличивается секториальная жесткость профиля относительно оси шарниров.
Примечание. Смещение оси шарниров по горизонтали приводит к увеличению усилия, требуемого для открывания борта.
11.19. Шарниры обычно устанавливаются с шагом примерно 1,5 м. Более частая установка шарниров нежелательна из-за трудностей с обеспечением их соосности, увеличения усилия на распалубку и обычно более быстрой разработки соединений. В форме сравнительно небольших размеров рационально располагать с каждой стороны по два шарнира.
11.20. При необходимости обеспечения плотного прилегания бортов к поддону следует предусматривать упругие (резиновые) прокладки, прикрепляемые к борту или поддону (в зависимости от конструктивного решения сопряжения этих элементов).
11.21. Устройства для фиксации арматуры в напряженном состоянии (упоры, штыри, захватные тяги и т.п.) должны устанавливаться строго в проектном положении. Их разрешается крепить только к достаточно жестким элементам конструкции, в которых не возникают заметные деформации при натяжении арматуры.
При электротермическом натяжении арматуры расстояния между наружными гранями упоров должны выдерживаться в соответствии с "Инструкцией по технологии предварительного напряжения стержневой, проволочной и прядевой арматуры железобетонных конструкций электротермическим и электротермомеханическим способами" (Госстройиздат, 1962).
11.22. Количество опор в форме и их расположение принимаются такими, чтобы при перемещении и установке на рабочих постах деформации формы были минимальными. Четырехточечное опирание обычно принимают для большинства форм длиной до 12 м включительно; при

длинах возможно применение шести и более опор.
Примечание. При шести и более опорах желательно применение балансирующих траверс.
11.23. Поскольку при четырех опорах возможно как четырехточечное, так и диагональное опирание, во многих случаях рациональнее останавливаться на схеме с расположением опор в вершинах равнобедренного треугольника. В первую очередь такая схема рекомендуется для форм с малой жесткостью на кручение. Выбор варианта опирания устанавливается сравнением вертикальных деформаций, определяемых по формулам
главы 6 и
приложения V.
Примечание. При подъеме формы за три точки должны применяться особо надежно действующие захватные устройства.
11.24. При четырех опорах принимается смещенное до

положение опор, благодаря чему уменьшаются деформации изгиба и кручения. При трехточечном опирании, когда опоры совпадают с вершинами равнобедренного треугольника, расположение двух опор по краям или с некоторым смещением к середине обусловливается соотношением жесткостей формы на изгиб и кручение.
11.25. Для снижения суммарного искривления формы (после приложения расчетных нагрузок) рекомендуется начальную кривизну формы назначать в зависимости от направления момента от силы натяжения арматуры. Если момент вызывает прогиб формы, должен приниматься начальный выгиб, и наоборот. При центральном приложении силы, учитывая, что от вертикальной нагрузки форма всегда прогибается, также рационально назначать начальный выгиб.
Допускаемая величина начального искривления формы (прогиб или выгиб) устанавливается расчетом точности формы (см.
главу 3).
11.26. При конструировании формы должны строго обеспечиваться требования действующих МРТУ 7-15-66 "Формы стальные сварные для изготовления бетонных и железобетонных изделий", ГОСТ 12505-67 "Формы стальные для изготовления железобетонных панелей наружных стен жилых и общественных зданий", а также ТУ на отдельные виды форм. Эти требования, касающиеся, в частности, выбора марок стали, выполнения сварочных работ, мест наложения швов и т.п., в Руководстве не повторяются.
КОНСТРУИРОВАНИЕ ПОДДОНОВ
12.1. Поддоны подразделяются на плоские с несущими балками, расположенными ниже горизонтальной обшивки
(рис. 12.1), и сложного очертания, отдельные элементы которых размещаются в пределах высоты изделия
(рис. 12.2).
Примечание. Поддон с небольшими уступами (впадинами) на рабочей поверхности относится к плоским.
Рис. 12.1. Поперечные контуры плоских поддонов
а - для линейных изделий; б - для плит и настилов;
в - для изделий с небольшими местными изменениями профиля;
г - то же, по всей длине
Рис. 12.2. Поперечные контуры поддонов сложного очертания
а - швеллерного типа; б - пилообразного; в и г - уголкового;
д и е - таврового; ж - и - по форме изделия
12.2. В плоских поддонах невозможно исключить деформации изгиба; в поддонах сложного очертания обычно легко получить сечение с подобранным центром тяжести, т.е. обеспечить центральное или с небольшим эксцентриситетом сжатие конструкции и благодаря этому минимальную ее деформативность.
В формах для изделий с предварительно напряженной арматурой рекомендуется там, где это возможно, поддоны проектировать с несущими балками, расположенными в пределах высоты изделия.
12.3. Плоские поддоны состоят из верхней обшивки и балочной клетки. В качестве балок преимущественно применяются одиночные швеллеры, устанавливаемые стенкой наружу (
рис. 12.3,
а). В отдельных случаях устанавливаются коробчатые балки из швеллеров. Для повышения жесткости поддона на изгиб и кручение и при контактном (через поддон) прогреве бетона предусматривается вторая нижняя обшивка (
рис. 12.3,
б). Толщина верхней обшивки принимается 6 - 10
мм в зависимости от назначения изделий и предъявляемых к ним требований; нижняя обшивка - обычно из 4-
мм стали.
Рис. 12.3. Сечения плоского поддона
а - открытое; б - замкнутое
12.4. Конструктивное решение поддона в части профиля (открытое или замкнутое) и схемы балочной клетки принимается в зависимости от требований к форме по допускаемой неплоскостности и по технологическим соображениям, а высота и количество балок устанавливается общим расчетом формы.
Схема балочной клетки должна быть увязана с расположением опор в форме (подъемных петель, колес, выносных опор и т.п.), а также со схемой размещения блоков виброплощадки, пружинных или жестких опор на посту формования.
Примечание. При назначении толщины обшивки по конструктивным соображениям балки обычно расставляются с шагом 500 - 700 мм.
12.5. Поддон открытого профиля (без нижней обшивки) с внутренними продольными и поперечными балками (
рис. 12.4,
а), характеризуемый малой жесткостью на кручение, проходит по расчету только при небольших размерах передвижной формы; размеры неподвижной формы с поддоном такой конструкции не ограничиваются.
Примечание. Некоторое повышение жесткости на кручение поддона рассматриваемого типа может быть обеспечено уменьшением шага поперечных балок.
12.4. Схемы балочной решетки поддона
а - прямоугольная; б - перекрестная; в и г - прямоугольная
частично замкнутая (второй обшивкой снизу); 1 - балка
продольная; 2 - то же, поперечная; 3 - то же, диагональная;
4 - нижняя обшивка на длине d
12.6. В поддоне открытого профиля для повышения его жесткости на кручение рекомендуется диагональное расположение балок (
рис. 12.4,
б). Диагональное расположение балок является наиболее эффективным приемом повышения жесткости поддона на кручение, поскольку высокая жесткость достигается только рациональной схемой балочной решетки и практически не влечет за собой увеличения веса поддона.
Примечание. Устройство нижней перекрестной решетки из уголков обычно N 5 - 7,5 (между продольными и поперечными балками), которая также достаточно эффективна, рекомендуется в основном для усиления эксплуатируемых поддонов.
12.7. Если по каким-либо соображениям диагональное расположение балок неприемлемо, с той же целью рекомендуется установка коробчатых балок или замыкание профиля нижней обшивкой на части длины.
Первый из этих вариантов предусматривает выполнение коробчатыми наружных продольных балок и двух поперечных в сечениях с опорными устройствами (подъемными скобами, колесами и т.п.). Если жесткость такого поддона на кручение оказывается еще недостаточной, коробчатыми проектируют и торцовые балки.
Примечание. Постановка коробчатых балок сверх указанного малоэффективна.
12.8. Частичное замыкание профиля производится двумя листами, привариваемыми обычно по краям (
рис. 12.4,
б); ширина листов обшивки принимается по расчету.
Допускается некоторое смещение листов нижней обшивки к середине с тем, чтобы перекрыть места расположения опорных устройств (
рис. 12.4,
г).
При частичном замыкании профиля толщина нижнего листа обычно принимается 4 мм, реже до 6 мм. Больший эффект от увеличения толщины листа достигается в сравнительно низких и широких поддонах.
12.9. В поддоне замкнутого профиля жесткость на кручение не зависит от схемы балочной решетки, и поэтому в нем принимается более простое прямоугольное расположение балок. К тому же жесткости на изгиб и особенно на кручение в малой степени определяются количеством балок; это позволяет в замкнутом поддоне рекомендовать шаг балок не меньший, чем это необходимо по расчету ячейки обшивки.
12.10. В поддонах сложного очертания (см.
рис. 12.2) высота и профиль основных несущих элементов подбираются такими, чтобы была обеспечена требуемая степень совмещения центра тяжести всего сечения с точкой приложения силы натяжения арматуры. Наружные несущие элементы проектируются открытого и замкнутого профиля
(рис. 12.5); с тем чтобы уменьшить их кручение при передаче нагрузки на форму, рекомендуется преимущественно применять замкнутые профили.
Рис. 12.5. Фрагменты сечения поддона сложного очертания
а - с несущими балками открытого профиля и одинарной
обшивкой; б - то же, с двойной обшивкой; в - с несущими
балками замкнутого профиля и одинарной обшивкой; г - то же,
с двойной обшивкой
| | ИС МЕГАНОРМ: примечание. В официальном тексте документа, видимо, допущена опечатка: пункт 3 в главе 6 отсутствует. | |
12.11. Высота пониженной части поддона сложного очертания принимается не менее 90 - 100
мм, чтобы ее поперечный прогиб существенно не сказывался на общей деформации формы (см. п. 3
главы 6).
Для увеличения жесткости поддона сложного очертания на кручение в его пониженной части рекомендуется диагональное расположение балок или частичное замыкание профиля, а в торцах - приварка по всей высоте жестких замыкающих элементов.
Примечание. Нижняя обшивка в пониженной части поддона снижает центр тяжести сечения, что во многих случаях нежелательно.
12.12. В поддонах для ребристых изделий (см.
рис. 12.2,
и) требуемое совмещение центра тяжести сечения с точкой приложения силы натяжения арматуры (полное или частичное) обеспечивается наиболее просто. Используя пространство под кессонами и варьируя уровень расположения и площади отдельных продольных элементов, в таких поддонах можно без увеличения веса добиться нужных результатов.
12.13. Кессоны в поддонах для ребристых изделий изготовляются преимущественно из гнутой стали толщиной 5 - 6
мм. С целью включения в работу большей части обшивки необходимо предусмотреть достаточно частое подкрепление ее ребрами
(рис. 12.6); расстояние между ребрами порядка 400 - 500
мм.
| | ИС МЕГАНОРМ: примечание. В официальном тексте документа, видимо, допущена опечатка: имеется в виду рис. 12.6, а не 2.6. | |
2.6. Варианты подкрепления обшивки в формах
для ребристых изделий
а - полосами; б - уголками; в - таврами
12.14. Достаточная жесткость на кручение поддонов для ребристых изделий достигается устройством в нижней зоне перекрестной решетки из уголков. Обычно такую решетку располагают между главными продольными балками.
12.15. Неразборные формы для группового изготовления простых линейных изделий рекомендуется конструировать из гнутых по очертанию изделий листов толщиной 5 - 6
мм; стыки отдельных формообразующих элементов должны располагаться вне контура изделия
(рис. 12.7).
Примечание. Групповые формы с пилообразным профилем поперечного сечения (см.
рис. 12.7) обладают повышенной жесткостью на кручение, и в них обычно не требуется предусматривать перекрестную решетку из балок.
Рис. 12.7. Принципиальные решения групповых неразборных форм
а - из гнутых элементов простого очертания;
б - то же, сложного очертания
КОНСТРУИРОВАНИЕ БОРТОВ
13.1. Борта могут быть элементами формы, или формовочной машины, или инвентарным оборудованием формовочного поста. Последние два варианта возможны только при немедленном (сразу после формования) распалубливании изделия.
13.2. Борта по способу крепления к поддону или к машине подразделяются на жестко закрепленные (глухие), откидывающиеся (на шарнирах), отодвижные, съемные, раскрывающиеся и т.п.; по профилю - на открытые и замкнутые; по высоте - на низкие (h <= 500 мм) и высокие.
13.3. Принципы рационального конструирования примерно одинаковы как для бортов форм, так и бортов, удаляемых сразу после формования. Общие рекомендации, приведенные в
пп. 13.4 -
13.16, могут быть использованы и для проектирования отдельной бортоснастки.
13.4. Борта должны обладать высокой жесткостью на изгиб из своей плоскости и на кручение вокруг оси шарниров или своей нижней грани (при отсутствии шарниров). Необходимая жесткость борта обеспечивается выбором соответствующего профиля и рациональным размещением материала по сечению.
13.5. Замыкание профиля борта является наиболее эффективным способом повышения его жесткости как на изгиб, так и на кручение. Поэтому в формах преимущественно рекомендуются борта замкнутого профиля; борта открытого профиля могут найти применение в формах небольших размеров.
13.6. Деформация борта принятого профиля определяется способом его закрепления к поддону. При глухом креплении к поддону она будет наименьшей, а при свободной установке борта на поддоне - наибольшей. При всех других способах закрепления борта по деформативности занимают промежуточное положение.
13.7. С тем чтобы понизить деформативность длинного борта с определенным шагом устанавливают подкосы или стяжки; причем стяжки ставят только в особых случаях, поскольку они мешают бетонированию и заглаживанию верхней грани изделия.
13.8. Низкие борта замкнутого профиля рекомендуется изготовлять из двух элементов: плоского или гнутого листа (по очертанию боковой грани изделия) и гнутой скобы, с помощью которой образуется замкнутый контур
(рис. 13.1). Оба элемента соединяются прерывистой или сплошной сваркой; сплошная приварка листов ведет к заметным сварочным деформациям, и поэтому она рекомендуется только тогда, когда замкнутое пространство используется в качестве паровой полости.
Примечание. При прерывистых швах жесткость борта на кручение снижается на 10 - 15%.
Рис. 13.1. Низкие борта замкнутого профиля при шарнирном
креплении к поддону
а - с совмещенными ребрами жесткости и шарнира; б - то же,
с раздельными; 1 - ребро жесткости (диафрагма); 2 - ребро
шарнира; 3 - электрозаклепка
13.9. Замкнутые борта рационально проектировать возможно более широкими (насколько это допустимо по технологическим и конструктивным соображениям), поскольку сравнительно небольшое увеличение веса борта приводит к заметному возрастанию его жесткости на изгиб и кручение.
Для увеличения жесткости борта на изгиб и кручение также рекомендуется сечение его выполнять максимально полным (прямоугольным), допуская только небольшой скос верхней грани (для более легкой ее очистки от бетона).
13.10. Толщина листа, образующего рабочую поверхность борта, принимается 6 - 10
мм в зависимости от требуемой точности изготовления изделия; если предусматривается строжка рабочей поверхности борта, дается соответствующий припуск на обработку. Толщина гнутой скобы обычно не превышает 8
мм.
Примечание. Увеличение толщины листов, из которых составляется замкнутый профиль, существенно не сказывается на повышении жесткости борта, поэтому большие толщины листов должны обосновываться эксплуатационными требованиями.
13.11. Диафрагмы в бортах замкнутого профиля допускается располагать с шагом до 1,5 м; более частое расположение диафрагм не приводит к заметному повышению жесткости борта. Диафрагмы должны крепиться ко всем четырем сторонам борта сварными швами и электрозаклепками, для чего в необходимых случаях в диафрагмах нужно предусматривать отбортовку с одного края.
Примечание. В бортах, прикрепляемых к поддону на шарнирах, диафрагмы следует устанавливать в тех же сечениях, в которых располагаются шарниры.
13.12. Низкие борта открытого профиля рекомендуется проектировать максимально несимметричного сечения, при котором векториальная жесткость борта относительно оси шарниров достигает наибольшего значения и, как следствие, уменьшается прогиб борта.
13.13. Открытый профиль борта обычно выполняется из плоского или гнутого листа, образующего рабочую поверхность, верхнего гнутого или прокатного неравнобокого уголка и нижнего уголка или полосы (
рис. 13.2,
а и
б).
Рис. 13.2. Низкие борта открытого профиля при шарнирном
креплении к поддону
а - с верхним гнутым уголком и нижней полосой;
б - с прокатными верхним и нижним уголками; в - из швеллера
и уголка (профиль из прокатной стали)
При простых боковых гранях изделий и достаточно больших допускаемых отклонениях изделия по высоте, соизмеримых с допусками на прокат, борт можно принимать из швеллера и верхнего уголка (
рис. 13.2,
в).
13.14. Верхний уголок, гнутый или прокатный, желательно проектировать с развитой горизонтальной полкой, насколько это допустимо по технологическим и конструктивным соображениям; вертикальную полку уголка также рекомендуется принимать достаточно большой (не менее 50 мм).
Нижний уголок или полосу следует ограничивать в размерах величиной, которая необходима для исключения заметных местных деформаций нижней части борта на участках между шарнирами.
13.15. Толщина листа, образующего рабочую поверхность борта, принимается такой же, как и в бортах замкнутого профиля (см.
п. 13.10). Толщина верхнего уголка принимается обычно 8
мм, реже больше; для нижнего элемента используется прокатный уголок или полоса толщиной 6 - 8
мм.
13.16. Ребра жесткости в бортах открытого профиля устраиваются с шагом 1,2 - 1,5
м, и они обычно ставятся в тех же сечениях, что и шарниры. Рационально ребро жесткости и проушину шарнира выполнять в виде одной детали.
13.17. Положение оси шарниров по вертикали и горизонтали принимается по указаниям
пп. 11.17 -
11.18.
13.18. Высокий борт обычно проектируют из обшивки, повторяющей очертание боковых граней изделий, и горизонтальных балок уголкового сечения, устанавливаемых по высоте с шагом 400 - 600
мм (в зависимости от конфигурации изделия); через 1 - 1,5
м ставятся вертикальные ребра жесткости (
рис. 13.3,
а).
Рис. 13.3. Высокие борта при шарнирном креплении к поддону
а - с одинарной обшивкой; б - с двойной обшивкой
Для повышения жесткости борта и при создании паровой полости предусматривается вторая (наружная) обшивка (
рис. 13.3,
б).
13.19. В высоком борте обшивку принимают из листовой стали толщиной 6 - 8 мм; толщина наружной обшивки обычно 4 мм. Горизонтальные ребра также рекомендуется принимать из гнутого уголка толщиной 6 - 8 мм; в отдельных случаях допустимо устанавливать прокатные уголки с минимальными для данного номера уголка толщинами. Вертикальные ребра жесткости устраивают из листовой стали толщиной 8 - 10 мм.
13.20. Для самопроизвольной очистки при вибрации борта от бетона, попавшего на него при заполнении формы, рекомендуется верхнюю грань борта проектировать с уклоном в наружную сторону (от его рабочей поверхности).
КОНСТРУИРОВАНИЕ ЭЛЕМЕНТОВ И ДЕТАЛЕЙ ФОРМ
А. Конструирование вкладышей
14.1. Очертание вкладышей в плане и их высота обусловливаются назначением и конфигурацией изделия. Рабочие поверхности вкладыша должны выполняться с минимальным количеством швов и с заданными уклонами (см.
п. 11.10).
14.2. Несущий каркас вкладыша рекомендуется располагать вверху и на расстоянии 30 - 50 мм от низа, чтобы вкладыш опирался только на кромки вертикальных листов (с целью уменьшения подъемной силы от бетона, заплывающего под вкладыш).
14.3. Для более легкого удаления вкладыша и обеспечения многократного его использования (при одном вкладыше или комплекте на все формы) обшивка обычно принимается большей толщины, чем это необходимо по расчету.
В тех случаях когда жесткая фиксация вкладыша не предусматривается и его проектное положение обеспечивается коническими втулками, входящими в отверстия в поддоне, повышение толщины обшивки увеличивает вес вкладыша, благодаря чему может быть исключено вертикальное и горизонтальное его смещение при вибрационном уплотнении бетонной смеси.
14.4. Увеличение веса вкладыша, когда это необходимо, рекомендуется обеспечивать также заливкой бетоном части или всего объема элемента. Бетон не должен доходить до низа вкладыша на 30 - 50 мм.
Примечание. При вибрационном воздействии желательно предусматривать конструктивное армирование бетона заливки.
14.5. Для подъема во вкладыше предусматривается две или три петли (в зависимости от его очертания в плане). Петли рекомендуется размещать так, чтобы они не выступали над верхней гранью вкладыша и не препятствовали заглаживанию бетона.
Б. Конструирование деталей
14.6. Замки должны обеспечивать плотное примыкание бортов друг к другу и исключать самопроизвольное ослабление соединения при вибрационном воздействии на форму; к ним предъявляются требования простоты, надежности и удобства в работе. Для установки в формах рекомендуются проверенные практикой замки по отраслевым нормалям (например, Гипростроммаша).
14.7. К деталям шарнирных соединений бортов с поддоном предъявляются повышенные требования по износостойкости, прочности и жесткости, поэтому оси и втулки должны выполняться из термически обработанной стали с повышенными механическими характеристиками. Шарниры также рекомендуется принимать по отраслевым нормалям.
14.8. Подъемные скобы следует крепить к поддону. Тип применяемой скобы, выполняемой из толстолистовой или круглой стали, зависит от веса, размеров и конструкции формы.
При любом решении скоба должна привариваться к поддону сплошным нормальным или усиленным швом или врезаться в несущую балку поддона.
Желательно опорный узел в месте расположения скобы решать так, чтобы усилия от скобы передавались не только на продольную, но и на поперечную балку.
14.9. Выносные опоры нужно так конструировать, чтобы максимально уменьшить их деформации, а также деформации элементов поддона, к которым они крепятся. С этой целью в опоре следует устанавливать необходимое число ребер жесткости, а также предусматривать в зоне опоры дополнительное раскрепление наружной продольной и поперечных балок (для более равномерной передачи нагрузки с опоры на несущую конструкцию поддона).
Особое внимание следует уделять конструкции выносных опор в формах, устанавливаемых в пакеты.
14.10. Конструктивное решение упоров (штырей) и захватов зависит от схемы армирования изделия, вида арматуры, способа натяжения и пр. Во всех случаях упоры и захваты должны выполняться из стали с повышенными механическими характеристиками. Сталь, идущая на изготовление деталей, закрепляемых на сварке, должна к тому же хорошо свариваться.
Примечание. При назначении размеров упоров и захватов следует учитывать габариты зажимов и домкратов, если они упираются (устанавливаются) в них.
14.11. Учитывая многократную повторяемость циклов работы, разъемные резьбовые соединения в деталях формы (замках, тягах упоров и т.п.), рекомендуется конструировать с наиболее стойким (против случайных повреждений) профилем резьбы - трапецеидальным или круглым. Параметры резьбы следует принимать в зависимости от назначения деталей и усилий, передаваемых на эти соединения.
Примечание. С целью защиты резьбы в гайках и втулках не рекомендуется доводить нарезку до торцов.
14.12. Детали, обеспечивающие вращение, поворот или подвижку отдельных узлов или элементов формы (оси, винты, эксцентрики и т.п.), должны быть прикрыты (защищены) от попадания на них бетона или цементного клея.
14.13. Детали форм, фиксирующие положение закладных деталей изделий, желательно по возможности конструировать быстроразъемными и без резьбовых соединений. Должна быть предусмотрена возможность удаления до начала тепловлажностной обработки фиксаторов, препятствующих свободному перемещению бетона относительно формы.
МАТЕРИАЛЫ К РАСЧЕТУ ТОЧНОСТИ ФОРМЫ
1. Допуски линейных размеров формы в зависимости от класса ее изготовления приведены в
табл. 1.
Таблица 1
Допуски линейных размеров в мм
Интервалы проектных размеров | Величины допусков при классах точности |
5 | 6 | 7 | 8 | 9 | 10 | 11 | 12 |
До 1 500 | 0,9 | 1 | 2 | 4 | 6 | 10 | 14 | 22 |
Свыше 1 500 до 2 500 | 1,2 | 2 | 3 | 5 | 8 | 12 | 20 | 30 |
" 2 500 " 4 500 | 1,5 | 3 | 4 | 6 | 10 | 16 | 24 | 38 |
" 4 500 " 9 000 | 2,3 | 4 | 6 | 9 | 14 | 22 | 36 | 56 |
" 9 000 " 15 000 | 3,4 | 5 | 9 | 14 | 22 | 34 | 54 | 86 |
" 15 000 " 21 000 | 4 | 6 | 10 | 16 | 26 | 40 | 64 | 100 |
" 21 000 " 27 000 | 4,6 | 7 | 11 | 18 | 28 | 46 | 72 | - |
" 27 000 " 33 000 | 5 | 8 | 13 | 20 | 32 | 50 | - | - |
Примечание. Если размеры элемента менее 1 500 мм, допуски устанавливаются по интервалу проектных размеров до 1 500 мм.
2. Коэффициент
kд, которым учитывается изменение линейного размера изделия в зависимости от усадки и ползучести бетона, принимается по
табл. 2.
Таблица 2
Усредненные значения коэффициента kд для тяжелого бетона
Железобетон с арматурой | Твердение бетона |
в естественных условиях | с тепловой обработкой |
Ненапряженной | 20·10-5 | 15·10-5 |
Предварительно напряженной | 50·10-5 | 35·10-5 |
3. Укорочение изделия и его искривление при обжатии бетона предварительно напряженной арматурой, обычно смещенной относительно центра тяжести, подсчитывается по силе N0, которая принимается с учетом всех потерь напряжений в арматуре (см. СНиП II-В.1-62 "Бетонные и железобетонные конструкции. Нормы проектирования").
Примечание. При отсутствии данных о расчетных величинах потерь разрешается их принимать равными 1500 кГ/см2.
4. Укорочение изделия за счет обжатия равно (
рис. 1,
а):

(1)
где Eб - модуль упругости бетона;
Fб - площадь поперечного сечения изделия.
Рис. 1. Схема деформирования изделия при передаче усилий
предварительного напряжения с арматуры на бетон
а - при центральном обжатии; б - при внецентренном обжатии
5. Изменение линейного размера по высоте изделия за счет внецентренного приложения силы N0 подсчитывается по углу поворота опорного сечения, определяемого выражением

(2)
где f - начальный выгиб изделия, вычисляемый по жесткости при кратковременном действии нагрузки (см. СНиП II-В.1-62).
Увеличение размера изделия поверху у каждого торца в этом случае равно (
рис. 1,
б):

(3)
а уменьшение размера понизу составляет

(4)
По всей высоте изделия изменение линейного размера за счет поворота одного торца

(5)
6. Допуск на неплоскостность поддона
<1> связан с технологическими возможностями предприятия-изготовителя форм. При всех условиях этот допуск следует принимать минимальным, учитывая, что искривления поверхности поддона возникают и при его деформации от нагрузки и расположения опор на разных отметках.
--------------------------------
<1> Неплоскостность поддона определяется как расстояние между двумя параллельными плоскостями, между которыми вписывается рабочая поверхность поддона.
ЗНАЧЕНИЯ КОЭФФИЦИЕНТОВ, ЗАВИСЯЩИХ ОТ РАСПОЛОЖЕНИЯ ОПОР
ПО ДЛИНЕ ФОРМЫ
В формулы
главы 6 входят коэффициенты, зависящие от

. Коэффициент

при всех значениях

, кроме оговоренных особо, определяется из выражения
При

при

Остальные коэффициенты при всех значениях

равны:
Коэффициенты вводятся в формулы
главы 6 со своим знаком. Знаки при коэффициенте

соответствуют: плюс - прогибу формы, минус - выгибу. Знак коэффициента

показывает: плюс - поворот крайнего правого сечения формы против часовой стрелки; минус - по часовой стрелке.
Значения коэффициентов

,

и

для

приведены в таблице.
Значения коэффициентов
,
и 
| 0 | 0,05 | 0,1 | 0,15 | |
| 0,013 | 0,0149 | 0,0163 | 0,017 | |
| 0,0835 | 0,0747 | 0,0651 | 0,0547 | |
| 0,104 | 0,0985 | 0,0905 | 0,0805 | |
| 0,2 | 0,25 | 0,3 | 0,35 | 0,4 |
| 0,0167 | 0,0151 | 0,0121 | 0,0074 | 0,003 |
| 0,0435 | 0,0314 | 0,0184 | 0,0047 | -0,0099 |
| 0,0682 | 0,0537 | 0,0378 | 0,0205 | 0,0074 |
ФОРМУЛЫ ДЛЯ ВЫЧИСЛЕНИЯ ПРИВЕДЕННОЙ ЖЕСТКОСТИ ФОРМЫ
ПРИ ШАРНИРНОМ КРЕПЛЕНИИ БОРТОВ К ПОДДОНУ
1. Приведенной жесткостью учитывается совместная работа поддона и шарнирно скрепленных с ним бортов после проявления начальных (в пределах люфтов и неплотностей шарнирных сопряжений) деформаций поддона.
Примечание. Совместная работа поддона и бортов обеспечивается при числе шарниров с каждой стороны три и более.
2. По приведенной жесткости ведется определение поперечной деформации формы в случаях, указанных в
п. 4.15.
3. В форме при внецентренном приложении силы натяжения арматуры приведенная жесткость подсчитывается по формуле
где J1 и J2 - моменты инерции поперечного сечения соответственно без бортов и с бортами;
e1 и e2 - эксцентриситеты приложения силы N относительно центра тяжести сечения соответственно без бортов и с бортами;

- зазор в шарнирных сопряжениях за счет допусков и износа.
4. При определении прогиба от силы натяжения арматуры по приведенной жесткости прогиб от поперечной нагрузки подсчитывается по жесткости EJ2.
5. При центральном приложении силы N приведенная жесткость принимается по формуле
6. Если

, что устанавливается расчетом, при определении поперечной деформации формы борта в расчет не вводятся.
ПАРАМЕТРЫ ДЛЯ РАСЧЕТА ФОРМЫ ПРИ ДИАГОНАЛЬНОМ ОПИРАНИИ
1. Расчетная жесткость C
1. Расчетная жесткость при свободном кручении определяется по формуле
где Jк - истинный или приведенный момент инерции при свободном кручении сечения поддона.
2. Момент инерции при свободном кручении поперечного сечения поддона открытого профиля (
рис. 1,
а) равен:

(2)
где

- момент инерции при свободном кручении балки, принимаемый по
табл. 1;
n - количество продольных балок;
b - ширина плоской обшивки или развернутая ширина обшивки сложного очертания.
Рис. 1. План (снизу) и сечение поддона
а - открытого профиля; б - частично замкнутого профиля
при расположении замкнутого участка по краям; в - то же,
при расположении замкнутого участка с некоторым смещением
к середине; г - с коробчатыми балками
Таблица 1
Значения момента инерции при свободном кручении балки в см4
Профиль | N профиля или высота в см |
эскиз | толщина в мм | 5 | 6,5 | 8 | 10 | 12 | 14 | 14а | 16 | 16а | 18 | 18а | 20 | 20а | 22 | 22а | 24 | 24а |
| - | 1,001 | 1,245 | 1,545 | 1,963 | 2,518 | 3,187 | 4,003 | 3,965 | 4,925 | 4,865 | 5,983 | 5,898 | 7,361 | 7,481 | 9,35 | 9,6 | 11,85 |
| - | - | - | - | 2,179 | 2,78 | 3,484 | - | 4,358 | - | 5,428 | 6,315 | 6,733 | 7,767 | 8,326 | 9,524 | 10,93 | 12,71 |
| 6 | 0,36 | 0,468 | 0,576 | 0,72 | 0,864 | 1,008 | - | 1,152 | - | 1,296 | - | 1,44 | - | 1,584 | - | 1,728 | - |
8 | 0,854 | 1,11 | 1,366 | 1,771 | 2,084 | 2,39 | - | 2,731 | - | 3,073 | - | 3,414 | - | 3,755 | - | 4,097 | - |
10 | 1,667 | 2,166 | 2,666 | 3,333 | 4 | 4,667 | - | 5,333 | - | 5,999 | - | 6,666 | - | 7,333 | - | 7,999 | - |
12 | 2,88 | 3,744 | 4,608 | 5,76 | 6,912 | 8,068 | - | 9,216 | - | 10,368 | - | 11,52 | - | 12,672 | - | 13,824 | - |
| | ИС МЕГАНОРМ: примечание. Постановлением Госстандарта СССР от 27.09.1989 N 2939 с 01.07.1990 введен в действие ГОСТ 8240-89. | |
| | ИС МЕГАНОРМ: примечание. Постановлением Госстандарта СССР от 27.09.1989 N 2940 с 01.07.1990 введен в действие ГОСТ 8239-89. | |
Примечание. Швеллеры по ГОСТ 8240-56* и двутавровые балки по ГОСТ 8239-56*.
При балках разных профилей или высоты подсчет момента инерции при свободном кручении ведется по формуле

(2
')
где индекс i относится к каждому типу балок.
Если к тому же по ширине меняется толщина обшивки, то

(2
")
где bi - ширина отдельных участков поддона;

- соответствующая им толщина обшивки.
3. В поддоне с частично замкнутым профилем (
рис. 1,
б и
в) момент инерции при свободном кручении подсчитывается по
формулам (2) -
(2").
4. В форме с коробчатыми балками (
рис. 1,
г и
2) приведенный момент инерции при свободном кручении определяется из выражения
в котором
Jк вычисляется по
формулам (2) -
(2") по
n - количеству продольных швеллеров.
Рис. 2. Значения коэффициента эффективности
k
при различных схемах расположения коробчатых балок.
Коробчатые балки показаны толстой линией
Приближенные значения коэффициента эффективности
k, учитывающего повышение жесткости на кручение поддона при наличии коробчатых балок, приведены на
рис. 2.
5. Момент инерции при свободном кручении поперечного сечения поддона замкнутого профиля при сложном его очертании определяется из выражения

(3)
где

- площадь, ограниченная средней линией;

- средняя толщина элементов;

- приведенный периметр средней линии;

- толщина
i-го элемента сечения.
При одинаковой толщине всех элементов

(3
')
где s - периметр средней линии.
6. Момент инерции при свободном кручении поперечного сечения плоского поддона замкнутого профиля (
рис. 3,
а) при разных толщинах верхней и нижней обшивки определяется из выражения

(4)
где s1 и s2 - ширина и высота профиля (в осях);

и

- соответствующие им толщины листа;

- толщина нижнего листа.
Рис. 3. План (снизу) и сечение поддона
а - замкнутого профиля; б - с одинарной перекрестной
решеткой из швеллеров; в - с двойной перекрестной решеткой
из уголков
При одинаковой толщине верхнего и нижнего листа

(4
')
а при одинаковой толщине всех элементов

(4
")
7. Приведенный момент инерции при свободном кручении поддона с перекрестной решеткой (
рис. 3,
б и
в) определяется по
формуле (4), в которую вводится приведенная толщина нижнего листа

(5)
где
Fр - приведенная площадь раскосов, определяемая по указаниям
п. 8;
b' - расстояние между точками приварки раскосов по ширине;
d - расстояние по длине между точками закрепления раскосов, пересекающихся на продольной оси поддона;

- угол наклона раскосов к поперечному сечению.
8. Приведенная площадь
Fр принимается по площади всех раскосов, пересекаемых плоскостью, перпендикулярной продольной оси поддона (предполагается, что плоскость проводится вне узлов пересечения раскосов). При раскосах из швеллеров, привариваемых к верхнему листу, в расчет вводится площадь полки швеллера, принимаемая как половина площади сечения за вычетом площади стенки. При раскосах из уголков, также привариваемых к верхнему листу кромкой полки (см.
рис. 3,
в), в расчет вводится 60% площади сечения уголка.
Примечание. Когда перекрестные раскосы из уголков N 5 - 7,5 дополняют решетку из продольных и поперечных балок и привариваются внизу, в расчет вводится вся площадь сечения уголка.
9. При сложном очертании поддона, когда все балки расположены под обшивкой (
рис. 4,
а), момент инерции при свободном кручении подсчитывается так же, как и для плоского поддона соответствующего профиля и конструкции. Тот же подход сохраняется и при расположении части элементов поддона выше обшивки, если профиль поддона полностью замкнут (
рис. 4,
б).
Рис. 4. Типы поддонов сложного очертания
а - поддон с балками, расположенными под обшивкой;
б - поддон с крайними балками над обшивкой полностью
замкнутого профиля; в - то же, полностью открытого профиля;
г - то же, с замкнутыми наружными балками; д - то же,
с замкнутым сечением в пределах пониженной части поддона;
е - то же, полностью открытого профиля с центральной
разделительной перегородкой
10. В поддоне сложного очертания открытого профиля с открытыми же наружными балками (
рис. 4,
в) вычисление
Jк ведется по приближенной формуле

(6)
где

- момент инерции при свободном кручении всего сечения;

- то же, сечения без элементов, расположенных выше обшивки.
11. В поддоне сложного очертания открытого профиля, но с замкнутыми наружными балками (
рис. 4,
г), вычисление
Jк ведется по
формуле (6),

и

для которой определяются без учета листов, замыкающих наружные балки. Полученная величина
Jк умножается на эмпирический коэффициент
kэ, приближенное значение которого определяется по отношению ширины пониженной части поддона
bп к ширине наружной балки
bб: при
kэ = 10, при
kэ = 7 и при
kэ = 5.
12. В поддоне сложного очертания с наружными балками открытого профиля, но с двойной обшивкой в пределах пониженной части поддона (
рис. 4,
д), определение
Jк разрешается вести по замкнутому профилю, пренебрегая влиянием элементов, расположенных выше рабочей обшивки. Тот же подход сохраняется и при поддонах с перекрестной решеткой в пределах пониженной части поддона.
13. В поддоне сложного очертания с наружными балками, расположенными выше обшивки, если они скреплены жесткими торцами,
Jк, вычисленное по
формуле (6) или по указаниям
п. 12, в
формулу (1) при балках открытого профиля вводится с коэффициентом 2, а при балках замкнутого профиля
Jк, определенное по указаниям
п. 11, в
формулу (1) вводится с коэффициентом 3.
14. Узкие разделительные перегородки, приваренные к плоской обшивке поддона сложного очертания (
рис. 4,
в), незначительно увеличивают жесткость поддона на кручение. При наружных балках замкнутого профиля их можно вообще не учитывать, а при наружных балках открытого профиля
Jк также подсчитывается без учета этих перегородок, но полученная по
формуле (6) величина умножается на эмпирический коэффициент, больший единицы. Он зависит от отношения ширины пониженной части поддона
bп к ширине перегородки
bпер: при
kэ = 1,5 и при
kэ = 1,3.
15. В поддоне сложного очертания с разделительными перегородками эффект от постановки жестких торцов еще выше, чем в других случаях. Поэтому для такого поддона коэффициенты, приведенные в
п. 13, увеличиваются на 25%.
2. Коэффициент 
16. Коэффициент

, вводимый в формулу для определения прогиба свободного угла при диагональном опирании, принимает разные значения в зависимости от профиля и конструкции поддона, а также от положения опор по длине.
17. Для поддона открытого профиля
при


(7)
при


(7
')
где

;

;
C - расчетная жесткость при свободном кручении по
формуле (1);

- момент инерции при свободном кручении продольного сечения поддона, подсчитываемый по
формулам (2) -
(2');

- коэффициент, принимаемый по
табл. 2 в зависимости от

или

, если
b >
a;
K - коэффициент, принимаемый по графику на
рис. 5 по

.
Таблица 2
Значения коэффициентов
,
и 
| |  при | | | |  при | |
a > b | b > a | a > b | b > a |
0,2 | 0,1857 | 1,25 | 0,05 | 0,16 | 0,65 | 0,0782 | 0,3846 | 0,1625 | 0,124 |
0,25 | 0,1518 | 1 | 0,0625 | 0,1536 | 0,7 | 0,0761 | 0,3571 | 0,175 | 0,12 |
0,3 | 0,1298 | 0,8333 | 0,075 | 0,1511 | 0,75 | 0,0745 | 0,3333 | 0,1875 | 0,118 |
0,35 | 0,1145 | 0,7143 | 0,0875 | 0,1436 | 0,8 | 0,0732 | 0,3125 | 0,2 | 0,1162 |
0,4 | 0,1036 | 0,625 | 0,1 | 0,1425 | 0,85 | 0,0723 | 0,2941 | 0,2125 | 0,1146 |
0,45 | 0,0954 | 0,5556 | 0,1125 | 0,1383 | 0,9 | 0,0718 | 0,2778 | 0,225 | 0,1136 |
0,5 | 0,0893 | 0,5 | 0,125 | 0,136 | 0,95 | 0,0716 | 0,2632 | 0,2375 | 0,1126 |
0,55 | 0,0847 | 0,4546 | 0,1375 | 0,1322 | 1 | 0,0714 | 0,25 | 0,25 | 0,1128 |
0,6 | 0,0809 | 0,4167 | 0,15 | 0,1278 | | | | | |
Рис. 5. График для определения коэффициента
K
18. Для поддона с частично замкнутым профилем коэффициент

определяется из выражений:
при


(8)
при


(8
')
где
k,
c и
K - определяются так же, как и в случае поддона с открытым профилем по всей длине (см.
п. 17);
l' - длина поддона между замкнутыми участками;
l' =
l - 2
d - при расположении замкнутых участков по краям (см.
рис. 1,
б);
l' =
l - 2(
d +
e) - при смещенных к середине замкнутых участках (см.
рис. 1,
в);
s - коэффициент, учитывающий эффект стесненного кручения; принимается по
табл. 3.
Таблица 3
d/l ......................... | 0 | 0,05 | 0,1 | 0,15 | 0,2 |
s ........................... | 1 | 0,75 | 0,55 | 0,4 | 0,3 |
19. Поддон замкнутого профиля характеризуется коэффициентом

, равным:
при


(9)
при


(9
')
где

;

и

- коэффициенты, принимаемые по
табл. 2 в зависимости от

или

, если
b >
a;

- коэффициент, принимаемый по
табл. 4.
Таблица 4
Значения коэффициента 
| Значения  при коэффициенте  , равном |
0 | 0,05 | 0,1 | 0,15 | 0,2 | 0,25 | 0,3 | 0,35 | 0,4 |
0,2 | 0,16 ------- 4 | 0,1636 -------- 4,0909 | 0,1667 -------- 4,1667 | 0,1692 -------- 4,2308 | 0,15 -------- 3,7498 | 0,1267 -------- 3,1667 | 0,0937 -------- 2,3437 | 0,0529 -------- 1,3235 | 0,0222 -------- 0,5556 |
0,25 | 0,1536 -------- 2,4576 | 0,1629 -------- 2,6066 | 0,16 -------- 2,56 | 0,1575 -------- 2,5206 | 0,1417 -------- 2,2674 | 0,1195 -------- 1,9114 | 0,092 -------- 1,472 | 0,0527 -------- 0,8435 | 0,0213 -------- 0,3413 |
0,3 | 0,1511 -------- 1,679 | 0,1576 -------- 1,7506 | 0,1593 -------- 1,7695 | 0,1538 -------- 1,7089 | 0,1397 -------- 1,5516 | 0,1185 -------- 1,3168 | 0,0889 -------- 1,1419 | 0,0497 -------- 0,5519 | 0,0198 -------- 0,2195 |
0,35 | 0,1437 -------- 1,1728 | 0,1514 -------- 1,2359 | 0,1524 -------- 1,2439 | 0,1457 -------- 1,1892 | 0,1329 -------- 1,0852 | 0,1132 -------- 0,924 | 0,0837 -------- 0,683 | 0,048 -------- 0,392 | 0,0181 -------- 0,1481 |
0,4 | 0,14 -------- 0,875 | 0,1455 -------- 0,9091 | 0,1458 -------- 0,9115 | 0,1404 -------- 0,8774 | 0,1286 -------- 0,8036 | 0,1083 -------- 0,6771 | 0,0812 -------- 0,5078 | 0,0471 -------- 0,2941 | 0,0181 -------- 0,1128 |
0,45 | 0,1303 -------- 0,6435 | 0,1354 -------- 0,6738 | 0,1366 -------- 0,6746 | 0,1322 -------- 0,6527 | 0,1199 -------- 0,5921 | 0,1014 -------- 0,5006 | 0,0765 -------- 0,3779 | 0,0441 -------- 0,218 | 0,0165 -------- 0,0813 |
0,5 | 0,1232 -------- 0,4928 | 0,128 -------- 0,512 | 0,1293 -------- 0,5173 | 0,1243 -------- 0,4972 | 0,1131 -------- 0,4526 | 0,096 -------- 0,384 | 0,072 -------- 0,288 | 0,0414 -------- 0,1654 | 0,016 -------- 0,064 |
0,55 | 0,115 -------- 0,3803 | 0,1202 -------- 0,3974 | 0,1212 -------- 0,4007 | 0,1159 -------- 0,3833 | 0,1058 -------- 0,3497 | 0,0899 -------- 0,2972 | 0,0669 -------- 0,2213 | 0,0389 -------- 0,1285 | 0,0147 -------- 0,0486 |
0,6 | 0,1078 -------- 0,2994 | 0,1121 -------- 0,3114 | 0,112 -------- 0,3112 | 0,1077 -------- 0,2991 | 0,0984 -------- 0,2733 | 0,083 -------- 0,2304 | 0,0625 -------- 0,1736 | 0,0359 -------- 0,0998 | 0,0136 -------- 0,0377 |
0,65 | 0,0994 -------- 0,2353 | 0,1033 -------- 0,2444 | 0,1041 -------- 0,2465 | 0,0998 -------- 0,2361 | 0,0913 -------- 0,2161 | 0,077 -------- 0,1822 | 0,058 -------- 0,1372 | 0,0334 -------- 0,0791 | 0,0126 -------- 0,0299 |
0,7 | 0,0914 -------- 0,1866 | 0,095 -------- 0,1938 | 0,0959 -------- 0,1957 | 0,0923 -------- 0,1884 | 0,084 -------- 0,1714 | 0,0708 -------- 0,1447 | 0,0531 -------- 0,1083 | 0,0307 -------- 0,0627 | 0,0118 -------- 0,0241 |
0,75 | 0,0839 -------- 0,1492 | 0,0873 -------- 0,1551 | 0,0877 -------- 0,1559 | 0,0842 -------- 0,1497 | 0,0767 -------- 0,1363 | 0,0649 -------- 0,1155 | 0,0489 -------- 0,0869 | 0,028 -------- 0,0498 | 0,0107 -------- 0,019 |
0,8 | 0,0769 -------- 0,1201 | 0,0795 -------- 0,1243 | 0,0802 -------- 0,1253 | 0,0769 -------- 0,1202 | 0,0701 -------- 0,1095 | 0,0592 -------- 0,0924 | 0,0445 -------- 0,0696 | 0,0257 -------- 0,0402 | 0,0097 -------- 0,0152 |
0,85 | 0,0698 -------- 0,0966 | 0,0725 -------- 0,1003 | 0,0729 -------- 0,1009 | 0,0703 -------- 0,0973 | 0,0641 -------- 0,0887 | 0,0539 -------- 0,0746 | 0,0405 -------- 0,056 | 0,0234 -------- 0,0395 | 0,0089 -------- 0,0123 |
0,9 | 0,0632 -------- 0,078 | 0,066 -------- 0,0815 | 0,0662 -------- 0,0818 | 0,0638 -------- 0,0788 | 0,0582 -------- 0,0718 | 0,049 -------- 0,0606 | 0,0367 -------- 0,0453 | 0,0212 -------- 0,0262 | 0,0082 -------- 0,0102 |
0,95 | 0,0572 -------- 0,0634 | 0,0596 -------- 0,0661 | 0,0598 -------- 0,0663 | 0,0576 -------- 0,0638 | 0,0525 -------- 0,0582 | 0,0443 -------- 0,0491 | 0,0332 -------- 0,0368 | 0,0193 -------- 0,0214 | 0,0074 -------- 0,0082 |
1 | 0,052 | 0,0542 | 0,0543 | 0,0523 | 0,0477 | 0,0403 | 0,0303 | 0,0174 | 0,0067 |
Примечание При a > b принимаются значения в числителе, при b > a - в знаменателе.
20. В поддоне замкнутого профиля при одинаковом шаге продольных и поперечных балок коэффициенты

и

определяются по

, а при разном шаге балок - по приведенному отношению
где

;
Bx и By - расчетные жесткости по двум взаимно перпендикулярным направлениям.
21. Для поддона с перекрестной решеткой коэффициент

при

определяется по
формуле (9), а при

этот коэффициент равен:

(10)
РАСЧЕТ ФОРМЫ ПРИ ТРЕХ ТОЧЕЧНОМ ОПИРАНИИ
1. В форме, в которой опоры расположены в вершинах равнобедренного треугольника (
рис. 1,
а и
б), вместо подсчета деформаций от вертикальных нагрузок при двух схемах опирания (см.
главу 6) прогиб формы определяется только по одной схеме.
Рис. 1. Опирание формы на три точки
а - схема опирания при расположении опор по краям;
б - то же, со смещением опор к середине; в - расчетная схема
при расположении опор по краям, г - то же, со смещением
к середине
2. При опирании на три точки максимальная деформация, как и при диагональном опирании, фиксируется на свободных (неопертых) углах, поэтому расчет сводится к определению прогиба в этих точках, и он проводится по методике, которая принята для определения прогиба свободного угла при диагональном опирании.
3. Расчетная схема формы при трехточечном опирании, когда опоры размещены по краям, включает половину поддона, которая рассматривается в условиях диагонального опирания (
рис. 1,
в). При смещенных к середине опорах расчетная длина поддона увеличивается на длину консольного участка (
рис. 1,
г).
4. Форма при трехточечной схеме опирания должна удовлетворять неравенству
где yт - прогиб свободного угла;
Q - суммарная вертикальная нагрузка на половине поддона;
C - жесткость при свободном кручении, определяемая по формулам
приложения IV;

- подсчитывается по формулам
приложения IV в зависимости от конструктивного решения поддона; входящие в них коэффициенты определяются по
b (ширина поддона) и
l/2 (половина длины поддона); также на длину
l/2 вычисляются жесткости на изгиб и кручение продольного сечения.
5. Допускаемый прогиб свободного угла [yт] устанавливается в половину допуска на изделие по неплоскостности (см. ГОСТ 13015-67 "Бетонные и железобетонные изделия. Общие технические требования").
6. Продольная деформация формы не зависит от схемы расположения опор, и она подсчитывается по формулам
главы 6.
МАТЕРИАЛЫ К РАСЧЕТУ ФОРМ С ПЕРЕМЕННОЙ ЖЕСТКОСТЬЮ
ПОПЕРЕЧНОГО СЕЧЕНИЯ
1. Значения коэффициентов
и 
1. Коэффициенты

и

, которые вводятся в формулы для вычисления приведенных коэффициентов, зависят от количества, положения и длины участков с пониженным (повышенным) моментом инерции поперечного сечения.
2. При наличии одного или двух симметричных участков с пониженным (повышенным) моментом инерции поперечного сечения коэффициенты

и

принимаются по
табл. 1.
Таблица 1
Расчетные схемы формы, опертой по краям, и значения 
(в числителе) и
(в знаменателе)
|
| |
 при  , равном |
0,1 | 0,2 | 0,3 | 0,4 | 0,5 | 0,6 | 0,7 | 0,8 | 0,9 | 1 |
0,19 -------- 0,2273 | 0,38 -------- 0,4266 | 0,51 -------- 0,5953 | 0,64 -------- 0,7322 | 0,75 -------- 0,8375 | 0,84 -------- 0,913 | 0,91 -------- 0,9617 | 0,96 -------- 0,9882 | 0,99 -------- 0,9985 | 1 --- 1 |
Примечание. При  . |
|
| |
|  при  , равном |
0,1 | 0,2 | 0,3 | 0,4 |
0,1 | 0,08 -------- 0,0368 | 0,16 -------- 0,087 | - | - |
0,2 | 0,16 -------- 0,1242 | 0,32 -------- 0,256 | 0,48 -------- 0,4032 | 0,64 -------- 0,5734 |
0,3 | 0,24 -------- 0,2422 | 0,48 -------- 0,4864 | 0,72 -------- 0,7344 | 0,96 -------- 0,9882 |
0,4 | 0,32 -------- 0,368 | 0,64 -------- 0,7322 | - | - |
Примечание. При  . |
|
| |
|  при  , равном |
0,1 | 0,2 | 0,3 | 0,4 | 0,5 | 0,6 | 0,7 | 0,8 |
0,1 | 0,0393 -------- 0,018 | 0,079 -------- 0,0431 | - | - | - | - | - | - |
0,2 | 0,079 -------- 0,0605 | 0,1556 -------- 0,1198 | 0,2299 -------- 0,1842 | 0,3012 -------- 0,2726 | - | - | - | - |
0,3 | 0,1174 -------- 0,1175 | 0,2291 -------- 0,2246 | 0,3347 -------- 0,3206 | 0,4335 -------- 0,4099 | 0,525 -------- 0,508 | 0,6083 -------- 0,6538 | - | - |
0,4 | 0,1546 -------- 0,1768 | 0,2979 -------- 0,3324 | 0,4295 -------- 0,4659 | 0,5486 -------- 0,5638 | 0,6545 -------- 0,6544 | 0,7467 -------- 0,7191 | 0,8242 -------- 0,7977 | 0,8862 -------- 0,7811 |
Примечания: 1. При  . |
3. Если характер изменения момента инерции по длине не соответствует
схемам 1 -
3, приведенным в табл. 1, расчетная схема формы, как указано в
п. 7.5, разбивается на элементарные схемы, и для каждой из таких схем вычисляются коэффициенты

и

.
4. При изменении момента инерции с постоянным шагом коэффициенты

и

определяются по
табл. 2, в которой приведены значения коэффициентов при четном количестве участков с пониженной (повышенной) жесткостью. При нечетном их числе значения коэффициентов, приведенные в таблице, интерполируются.
Таблица 2
Значения коэффициентов
(в числителе) и
(в знаменателе)
для формы с постоянным шагом изменения момента инерции
| n |
6 | 8 | 10 | 12 | 14 | 16 | 18 | 20 |
0,005 | 0,0343 -------- 0,0347 | 0,0444 -------- 0,0447 | 0,0545 -------- 0,0548 | 0,0646 -------- 0,0648 | 0,0747 -------- 0,0748 | 0,0847 -------- 0,0848 | 0,0947 -------- 0,0948 | 0,1048 -------- 0,1056 |
0,01 | 0,0686 -------- 0,0694 | 0,0889 -------- 0,0894 | 0,1091 -------- 0,1096 | 0,1292 -------- 0,1296 | 0,1493 -------- 0,1494 | 0,1694 -------- 0,1697 | 0,1895 -------- 0,1896 | 0,2095 -------- 0,2111 |
0,02 | 0,1371 -------- 0,1388 | 0,1778 -------- 0,1789 | 0,2182 -------- 0,2193 | 0,2585 -------- 0,2593 | 0,2987 -------- 0,2991 | 0,3388 -------- 0,3394 | 0,3789 -------- 0,3794 | 0,419 -------- 0,4223 |
0,03 | 0,2057 -------- 0,2082 | 0,2667 -------- 0,2683 | 0,3273 -------- 0,3289 | 0,3877 -------- 0,389 | 0,448 -------- 0,4487 | 0,5082 -------- 0,5092 | 0,5684 -------- 0,5691 | 0,6286 -------- 0,6336 |
0,04 | 0,2743 -------- 0,2776 | 0,3556 -------- 0,3578 | 0,4364 -------- 0,4387 | 0,5169 -------- 0,5189 | 0,5973 -------- 0,5984 | 0,6776 -------- 0,679 | 0,7579 -------- 0,759 | 0,8381 -------- 0,845 |
0,05 | 0,3429 -------- 0,347 | 0,4445 -------- 0,4474 | 0,5455 -------- 0,5484 | 0,6462 -------- 0,6486 | 0,7467 -------- 0,7482 | 0,8471 -------- 0,849 | 0,9472 -------- 0,949 | |
0,06 | 0,4114 -------- 0,4165 | 0,5333 -------- 0,537 | 0,6545 -------- 0,6583 | 0,7754 -------- 0,7786 | 0,896 -------- 0,8954 | |
0,07 | 0,48 -------- 0,4861 | 0,6222 -------- 0,6267 | 0,7636 -------- 0,7683 | 0,9046 -------- 0,9087 | |
0,08 | 0,5486 -------- 0,5557 | 0,7111 -------- 0,7165 | 0,8727 -------- 0,8784 | |
0,09 | 0,6171 -------- 0,6254 | 0,8 -------- 0,8064 | 0,9818 -------- 0,9887 |
0,1 | 0,6857 -------- 0,6951 | 0,8889 -------- 0,8964 | |
0,11 | 0,7543 -------- 0,7649 | 0,9778 -------- 0,9865 |
0,12 | 0,8228 -------- 0,8349 | n - число участков с моментом инерции J2. |
0,13 | 0,8914 -------- 0,9049 |
0,14 | 0,96 -------- 0,975 |
|
2. Значение коэффициента
при смещении опор к середине
5. При характере изменения момента инерции, соответствующего
схемам 1 и
2 (см. табл. 1),

(1)

(2)
В последнем случае коэффициент

получается со знаком минус, и с этим знаком он вводится в
формулу (7.3).
6. Когда смещенные опоры попадают на участок с пониженной (повышенной) жесткостью, т.е.

, то расчетную схему надо расчленить на две, и для каждой определить

по
формулам (1) и
(2).
7. При характере изменения момента инерции, соответствующего
схеме 3 (см. табл. 1),

(3)
8. В форме с моментом инерции, изменяющимся с постоянным шагом,

определяется по
формуле (1), в которую подставляются

и

по
табл. 2.
3. Влияние изменений момента инерции по длине на величину приведенной жесткости
9. Коэффициент приведения

, вычисляемый по
формуле (7.2), может быть как больше, так и меньше единицы. Знак коэффициента

зависит исключительно от произведения

; коэффициент

влияет только на величину этого снижения (повышения) жесткости.
10. Коэффициент приведения

в зависимости от произведения

меняется следующим образом: при
Если знаки эксцентриситетов
e1 и
e2 различные, вне зависимости от абсолютного значения

всегда

.
11. Коэффициент приведения

, вычисляемый по
формуле (7.3), также может быть больше или меньше единицы. Знак коэффициента

зависит исключительно от отношения

; коэффициент

влияет только на величину этого снижения (повышения) жесткости.
12. Коэффициент приведения

в зависимости от отношения

меняется следующим образом: при
13. На основании неравенств, приведенных в
пп. 10 и
12, можно прийти к выводу о возможности варьировать в определенных пределах величинами деформаций формы, меняя моменты инерции сечений и положения центров тяжести.
ФОРМУЛЫ ДЛЯ ВЫЧИСЛЕНИЯ МОМЕНТА ИНЕРЦИИ
ПРИ СВОБОДНОМ КРУЧЕНИИ БОРТА ЗАМКНУТОГО ПРОФИЛЯ
1. Момент инерции при свободном кручении борта замкнутого профиля любого очертания и при разной толщине элементов определяется по формуле (
рис. 1,
а)

(1)
где

- площадь, ограниченная средней линией;

- средняя толщина элементов;

- приведенный периметр средней линии;

- толщина
i-го элемента сечения.
Рис. 1. К определению момента инерции при свободном кручении
борта замкнутого профиля
а - борт сложного очертания; б - борт простого очертания
с разной толщиной листов; в - то же, с одинаковой толщиной
листов; пунктиром показана средняя линия сечения
При одинаковой толщине всех элементов

(2)
где s - периметр средней линии.
2. Для прямоугольного сечения или сечения, приводимого к прямоугольному, при двух разных толщинах листов (
рис. 1,
б)

(3)
а при одинаковой толщине всех листов (
рис. 1,
в)

(4)
s1 и s2 - ширина и высота сечения (в осях);

и

- соответствующие им толщины листа.
УКАЗАНИЯ ПО ОПРЕДЕЛЕНИЮ СЕКТОРИАЛЬНОГО МОМЕНТА ИНЕРЦИИ БОРТА
ОТКРЫТОГО ПРОФИЛЯ ОТНОСИТЕЛЬНО ОСИ ШАРНИРОВ
1. Приближенное значение секториального момента инерции относительно оси шарниров определяется по формуле

(1)
где

и

- моменты инерции относительно главных центральных осей
x0 и
y0;
c и d - проекции расстояния от центра изгиба (точка A) до оси шарниров (точка O) соответственно на оси x0 и y0.
2. Положение центра изгиба несимметричных профилей принимается по аналогии со значениями координат центра изгиба для разных профилей, приведенными в
табл. 1. При этом учитывается, что с повышением степени несимметричности профиля центр изгиба смещается кверху и приближается к стенке; в максимально несимметричном уголковом профиле центр изгиба располагается в точке пересечения осей стенки и полки.
Таблица 1
Координаты центра изгиба несимметричных сечений
Эскиз | Параметры сечения | Координаты точки A в см |
h | верхний уголок | | |
| 450 | 90 x 56 x 6 | 3,33 | 16,73 |
100 x 63 x 6 | 3,2 | 13,81 |
125 x 80 x 7 | 3,29 | 7,76 |
140 x 90 x 8 | 3,18 | 4,94 |
300 | 90 x 56 x 6 | 3,6 | 11 |
100 x 63 x 6 | 3,72 | 8,88 |
125 x 80 x 7 | 3,65 | 4,33 |
140 x 90 x 8 | 2,65 | 1,69 |
220 | 90 x 56 x 6 | 3,94 | 7,85 |
100 x 63 x 6 | 4,09 | 6,13 |
| 3,73 | 2,28 |
140 x 90 x 8 | 3,19 | 0,45 |
| 270 | Без уголка | 2,66 | 13,5 |
75 x 50 x 6 | 3,29 | 3,16 |
90 x 56 x 6 | 3,19 | 2,33 |
240 | Без уголка | 2,57 | 12 |
75 x 50 x 6 | 3,08 | 2,5 |
90 x 56 x 6 | 3,07 | 1,58 |
220 | Без уголка | 2,33 | 11 |
75 x 50 x 6 | 2,67 | 1,77 |
90 x 56 x 6 | 2,7 | 1,2 |
200 | Без уголка | 2,16 | 10 |
75 x 50 x 6 | 2,55 | 1,34 |
90 x 56 x 6 | 2,45 | 0,67 |
Примечание. Нижний уголок на верхнем эскизе 75 x 50 x 5 мм.
3. Центр изгиба симметричных швеллеров располагается по оси симметрии на расстоянии

(от наружной грани стенки), которое определяется из выражения

(2)
где
h,
b и

- соответственно высота, ширина и толщина листа.
Для прокатных швеллеров координаты центра изгиба приведены в
табл. 2.
Таблица 2
Координаты центра изгиба прокатных швеллеров
Эскиз | N швеллера | Координаты точки A в см |
| |
| 8 | 1,14 | 4 |
10 | 1,33 | 5 |
12 | 1,465 | 6 |
14 | 1,64 | 7 |
14а | 1,83 | 7 |
16 | 1,81 | 8 |
16а | 2,01 | 8 |
18 | 1,98 | 9 |
18а | 2,18 | 9 |
20 | 2,16 | 10 |
20а | 2,37 | 10 |
22 | 2,33 | 11 |
22а | 2,57 | 11 |
24 | 2,57 | 12 |
24а | 2,82 | 12 |
| | ИС МЕГАНОРМ: примечание. Постановлением Госстандарта СССР от 27.09.1989 N 2939 с 01.07.1990 введен в действие ГОСТ 8240-89. | |
Примечание. Швеллеры по ГОСТ 8240-56*.
4. Проекции расстояния
AO на горизонтальную и вертикальную оси (
рис. 1,
а) определяются из выражений:

(3)
Рис. 1. Схемы к определению проекций расстояния
между центром изгиба борта и осью шарниров
а - для несимметричного сечения;
б - для симметричного сечения
Для симметричных сечений
c' =
c и
d' =
d (
рис. 1,
б), и для них вычисление угла

не требуется.
5. При несимметричных профилях проекции того же расстояния на главные центральные оси равны:

(4)
где

- угол поворота главных центральных осей относительно горизонтали.
ВСПОМОГАТЕЛЬНЫЕ ТАБЛИЦЫ
Таблица 1
Значения коэффициентов
(в числителе) и
(в знаменателе)
| |
0 | 0,05 | 0,1 | 0,15 | 0,2 | 0,25 | 0,3 | 0,35 | 0,4 |
0 | 0 --- 0 | 0,0075 --------- 0,0477 | 0,0178 --------- 0,0916 | 0,0311 --------- 0,1326 | 0,0477 --------- 0,1713 | 0,0677 --------- 0,2082 | 0,0915 --------- 0,2437 | 0,1192 --------- 0,2778 | 0,1513 --------- 0,311 |
0,05 | 0,0062 --------- 0,0475 | 0,015 --------- 0,0909 | 0,0264 --------- 0,1312 | 0,0409 --------- 0,1692 | 0,0587 --------- 0,2053 | 0,0795 --------- 0,24 | 0,1048 --------- 0,2734 | 0,1338 --------- 0,3057 | 0,1671 --------- 0,3375 |
0,1 | 0,0123 --------- 0,09 | 0,0221 --------- 0,1295 | 0,0347 --------- 0,1666 | 0,0502 --------- 0,2019 | 0,069 --------- 0,2356 | 0,0913 --------- 0,2683 | 0,1173 --------- 0,3 | 0,1474 --------- 0,3309 | 0,1816 --------- 0,361 |
0,15 | 0,0182 --------- 0,1275 | 0,0289 --------- 0,1636 | 0,0424 --------- 0,1979 | 0,0589 --------- 0,2307 | 0,0786 --------- 0,2625 | 0,1018 --------- 0,2932 | 0,1288 --------- 0,3234 | 0,1597 --------- 0,3529 | 0,1949 --------- 0,3819 |
0,2 | 0,0237 --------- 0,16 | 0,0352 --------- 0,1931 | 0,0495 --------- 0,1225 | 0,0668 --------- 0,2557 | 0,0874 --------- 0,2857 | 0,1114 --------- 0,315 | 0,1391 --------- 0,3437 | 0,1709 --------- 0,372 | 0,207 --------- 0,3999 |
0,25 | 0,0287 --------- 0,1875 | 0,0409 --------- 0,2181 | 0,0558 --------- 0,2478 | 0,0738 --------- 0,2768 | 0,0951 --------- 0,3053 | 0,1198 --------- 0,3333 | 0,1482 --------- 0,3609 | 0,1807 --------- 0,3882 | 0,2174 --------- 0,4152 |
0,3 | 0,033 --------- 0,21 | 0,0458 --------- 0,2386 | 0,0613 --------- 0,2666 | 0,0799 --------- 0,2942 | 0,0102 --------- 0,3214 | 0,1269 --------- 0,3483 | 0,156 --------- 0,375 | 0,189 --------- 0,4014 | 0,2263 --------- 0,4277 |
0,35 | 0,0366 --------- 0,2275 | 0,0498 --------- 0,2545 | 0,0658 --------- 0,2812 | 0,0848 --------- 0,3077 | 0,1069 --------- 0,3339 | 0,1327 --------- 0,36 | 0,1622 --------- 0,3857 | 0,1957 --------- 0,4117 | 0,2333 --------- 0,4374 |
0,4 | 0,0393 --------- 0,24 | 0,0529 --------- 0,2658 | 0,0692 --------- 0,2916 | 0,0885 --------- 0,3172 | 0,111 --------- 0,3428 | 0,137 --------- 0,3683 | 0,1668 --------- 0,3937 | 0,2006 --------- 0,419 | 0,2386 --------- 0,4444 |
0,45 | 0,0411 --------- 0,2475 | 0,0548 --------- 0,2727 | 0,0713 --------- 0,2973 | 0,0908 --------- 0,3231 | 0,1134 --------- 0,3481 | 0,1397 --------- 0,3733 | 0,1697 --------- 0,3984 | 0,2035 --------- 0,4234 | 0,2419 --------- 0,4486 |
0,5 | 0,0417 --------- 0,25 | 0,0555 --------- 0,275 | 0,072 --------- 0,3 | 0,0915 --------- 0,325 | 0,1143 --------- 0,35 | 0,1406 --------- 0,375 | 0,1705 --------- 0,4 | 0,2047 --------- 0,425 | 0,243 --------- 0,45 |
Таблица 2
Значения коэффициентов
(в числителе) и
(в знаменателе)
| |
0,1 | 0,2 | 0,3 | 0,4 | 0,5 | 0,6 | 0,7 | 0,8 | 0,9 | 1 |
0 | 0,0048 --------- 0 | 0,0187 --------- 0 | 0,0405 --------- 0 | 0,0693 --------- 0 | 0,1042 --------- 0 | 0,1440 --------- 0 | 0,1879 --------- 0 | 0,2348 --------- 0 | 0,2836 --------- 0 | 0,3335 --------- 0 |
0,1 | 0 --------- 0,0533 | 0,0048 --------- 0,0158 | 0,0187 --------- 0,0263 | 0,0405 --------- 0,0368 | 0,0693 --------- 0,0473 | 0,1042 --------- 0,0578 | 0,144 --------- 0,0683 | 0,1879 --------- 0,0788 | 0,2348 --------- 0,0893 | 0,2836 --------- 0,0998 |
0,2 | 0,0052 --------- 0,0007 | 0 --------- 0,0227 | 0,0048 --------- 0,0447 | 0,0187 --------- 0,0667 | 0,0405 --------- 0,0887 | 0,0693 --------- 0,1107 | 0,1042 --------- 0,1327 | 0,144 --------- 0,0547 | 0,1879 --------- 0,1767 | 0,2348 --------- 0,1987 |
0,3 | 0,0213 --------- -0,015 | 0,0052 --------- 0,0195 | 0 --------- 0,054 | 0,0048 --------- 0,0885 | 0,0187 --------- 0,123 | 0,0405 --------- 0,1575 | 0,0693 --------- 0,192 | 0,1042 --------- 0,2265 | 0,144 --------- 0,261 | 0,1879 --------- 0,2955 |
0,4 | 0,0495 --------- -0,0427 | 0,0213 --------- 0,0053 | 0,0052 --------- 0,0533 | 0 --------- 0,1013 | 0,0048 --------- 0,1493 | 0,0187 --------- 0,1973 | 0,0405 --------- 0,2453 | 0,0693 --------- 0,2933 | 0,1042 --------- 0,3413 | 0,144 --------- 0,3893 |
0,5 | 0,0907 --------- -0,0833 | 0,0495 --------- -0,0208 | 0,0213 --------- 0,0417 | 0,0052 --------- 0,1042 | 0 --------- 0,1667 | 0,0048 --------- 0,2292 | 0,0187 --------- 0,2917 | 0,0405 --------- 0,3542 | 0,0693 --------- 0,4167 | 0,1042 --------- 0,4792 |
0,6 | 0,1458 --------- -0,138 | 0,0907 --------- -0,06 | 0,0495 --------- 0,018 | 0,0213 --------- 0,096 | 0,0052 --------- 0,174 | 0 --------- 0,252 | 0,0048 --------- 0,33 | 0,0187 --------- 0,408 | 0,0405 --------- 0,486 | 0,0693 --------- 0,564 |
0,7 | 0,2160 --------- -0,2076 | 0,1458 --------- -0,1131 | 0,0907 --------- -0,0186 | 0,0495 --------- 0,0759 | 0,0213 --------- 0,1704 | 0,0052 --------- 0,2649 | 0 --------- 0,3594 | 0,0048 --------- 0,4539 | 0,0187 --------- 0,5484 | 0,0405 --------- 0,6429 |
0,8 | 0,3021 --------- -0,2932 | 0,216 --------- -0,1812 | 0,1458 --------- -0,0692 | 0,0907 --------- 0,0428 | 0,0495 --------- 0,1548 | 0,0213 --------- 0,2668 | 0,0052 --------- 0,3788 | 0 --------- 0,4908 | 0,0048 --------- 0,6028 | 0,0187 --------- 0,7148 |
0,9 | 0,4052 --------- -0,3959 | 0,3021 --------- -0,2654 | 0,2160 --------- -0,1349 | 0,1458 --------- -0,0044 | 0,0907 --------- 0,1261 | 0,0495 --------- 0,2566 | 0,0213 --------- 0,3871 | 0,0052 --------- 0,5176 | 0 --------- 0,6481 | 0,0048 --------- 0,7786 |
1,0 | 0,5264 --------- -0,5165 | 0,4052 --------- -0,3665 | 0,3021 --------- -0,2165 | 0,216 --------- -0,0665 | 0,1458 --------- 0,0835 | 0,0907 --------- 0,2335 | 0,0495 --------- 0,3835 | 0,0213 --------- 0,5335 | 0,0052 --------- 0,6835 | 0 --------- 0,8335 |
Таблица 3
Значения коэффициентов
(в числителе) и
(в знаменателе)
| k |
0,4 | 0,6 | 0,8 | 1 | 1,2 | 1,4 | 1,6 | 1,8 | 2 |
0,1 | 0,0056 --------- -0,7328 | 0,0065 --------- -0,6409 | 0,0072 --------- -0,5694 | 0,0078 --------- -0,5122 | 0,0082 --------- -0,4654 | 0,0086 --------- -0,4264 | 0,0089 --------- -0,3934 | 0,0092 --------- -0,3651 | 0,0095 --------- -0,3406 |
0,2 | 0,0055 --------- -0,1757 | 0,0063 --------- -0,1534 | 0,007 --------- -0,1361 | 0,0076 --------- -0,1222 | 0,008 --------- -0,1109 | 0,0084 --------- -0,1014 | 0,0087 --------- -0,0934 | 0,009 --------- -0,0865 | 0,0094 --------- -0,0806 |
0,3 | 0,0053 --------- -0,0725 | 0,0062 --------- -0,0631 | 0,0068 --------- -0,0558 | 0,0073 --------- -0,05 | 0,0078 --------- -0,0452 | 0,0081 --------- -0,0412 | 0,0084 --------- -0,0378 | 0,0087 --------- -0,035 | 0,0089 --------- -0,0325 |
0,4 | 0,0051 --------- -0,0364 | 0,0059 --------- -0,0315 | 0,0065 --------- -0,0277 | 0,007 --------- -0,0247 | 0,0074 --------- -0,0222 | 0,0077 --------- -0,0202 | 0,008 --------- -0,0184 | 0,0082 --------- -0,0169 | 0,0084 --------- -0,0156 |
0,5 | 0,0048 --------- -0,0197 | 0,0055 --------- -0,0169 | 0,0061 --------- -0,0147 | 0,0065 --------- -0,013 | 0,0069 --------- -0,0116 | 0,0072 --------- -0,0104 | 0,0074 --------- -0,0094 | 0,0076 --------- -0,0085 | 0,0078 --------- -0,0078 |
0,6 | 0,0045 --------- -0,0106 | 0,005 -------- -0,009 | 0,0056 --------- -0,0077 | 0,0059 --------- -0,0066 | 0,0062 --------- -0,0058 | 0,0065 --------- -0,0051 | 0,0067 --------- -0,0045 | 0,0069 --------- -0,004 | 0,007 --------- -0,0036 |
0,7 | 0,0041 --------- -0,0051 | 0,0046 --------- -0,0041 | 0,005 --------- -0,0034 | 0,0053 --------- -0,0028 | 0,0055 --------- -0,0023 | 0,0057 --------- -0,0019 | 0,0059 --------- -0,0016 | 0,006 --------- -0,0013 | 0,0061 --------- -0,001 |
0,8 | 0,0037 --------- -0,0016 | 0,004 --------- -0,001 | 0,0043 --------- -0,0007 | 0,0045 --------- -0,0003 | 0,0046 --------- -0,0001 | 0,0048 --------- 0,0002 | 0,0049 --------- 0,0003 | 0,005 --------- 0,0005 | 0,0039 --------- 0,0006 |
0,9 | 0,0032 --------- 0,0009 | 0,0033 --------- 0,0011 | 0,0035 --------- 0,0012 | 0,0036 --------- 0,0014 | 0,0037 --------- 0,0015 | 0,0038 --------- 0,0016 | 0,0038 --------- 0,0017 | 0,0039 --------- 0,0017 | 0,0039 --------- 0,0018 |
Примечание. При всех значениях
k, когда

,

.
Таблица 4
Значения коэффициента k1 (при треугольной ячейке обшивки)
Граничные условия | Отношение b1/h1 |
0,5 | 0,6 | 0,7 | 0,8 | 0,9 | 1 | 1,1 | 1,2 |
Полное защемление | 0,0107 --------- 0,0089 | 0,0089 --------- 0,0074 | 0,0073 --------- 0,0061 | 0,0059 --------- 0,0049 | 0,0048 --------- 0,004 | 0,0039 --------- 0,0032 | 0,0033 --------- 0,0028 | 0,0028 --------- 0,0024 |
Частичное защемление | 0,02 --------- 0,0167 | 0,0164 --------- 0,0137 | 0,0134 --------- 0,0112 | 0,0108 --------- 0,009 | 0,0087 --------- 0,0073 | 0,0071 --------- 0,0059 | 0,0061 --------- 0,0051 | 0,0052 --------- 0,0043 |
Продолжение табл. 4
Граничные условия | Отношение b1/h1 |
1,3 | 1,4 | 1,5 | 1,6 | 1,7 | 1,8 | 1,9 | 2 |
Полное защемление | 0,0024 --------- 0,002 | 0,002 --------- 0,0017 | 0,0016 --------- 0,0014 | 0,0014 --------- 0,0011 | 0,0011 -------- 0,0009 | 0,001 --------- 0,0008 | 0,0009 --------- 0,0007 | 0,0008 --------- 0,0006 |
Частичное защемление | 0,0043 --------- 0,0036 | 0,0037 --------- 0,003 | 0,003 --------- 0,0025 | 0,0025 --------- 0,0021 | 0,0021 --------- 0,0017 | 0,0018 --------- 0,0015 | 0,0016 --------- 0,0013 | 0,0015 --------- 0,0012 |
Примечания. Значения в числителе принимаются при сжатой (силами натяжения арматуры) обшивке; значения в знаменателе - при расчете несилового поддона.
УКАЗАНИЯ ПО ПОДБОРУ СЕЧЕНИЯ ПОДДОНА С ЗАДАННЫМ ПОЛОЖЕНИЕМ
ЦЕНТРАЛЬНОЙ ПЛОСКОСТИ
1. Определение сечения поддона с заданным положением центральной плоскости рекомендуется проводить в последовательности, которая позволяет сократить затраты труда и времени на выполнение этой работы.
2. В поддоне любого типа часть сечения определяется размерами и очертанием изделия. При толщине листов, принятой в соответствии с рекомендациями Руководства, можно выделить площадь сечения поддона F1, которая является заданной.
3. Для заданной части сечения подсчитывается статический момент инерции относительно оси x, совмещенной с верхней гранью обшивки поддона, и координата центра тяжести площади F1 относительно этой оси - ec1.
4. Минимальная площадь поперечного сечения поддона определяется по приближенной формуле
где

при

;

при

;

при

.
Допускаемая величина сближения упоров устанавливается в соответствии с указанием п. 4.5.
Примечание. Если Fмин <= F1, поперечное сечение формы принимается по конструктивным соображениям.
5. В зависимости от требуемой степени совмещения центральной плоскости с осью напряженной арматуры различают поддоны двух типов. Подбор сечения поддона каждого типа ведется по разным формулам.
Поддон с центральной плоскостью, совмещенной с осью напряженной арматуры
6. Площадь
F2, принимаемая по конструктивным соображениям, и расположение элементов, составляющих эту площадь, по высоте
(рис. 1) принимаются такими, чтобы выполнялись условия:
и

(2)
где i - расстояние оси напряженной арматуры до рабочей поверхности поддона;

- координата центра тяжести площади
F2 относительно оси
x.
Рис. 1. Сечения поддонов с подобранным положением
центральной плоскости
а - поддон для изготовления ребристых изделий;
б - то же, плоских изделий; 1 - ось напряженной арматуры;
2 - центральная плоскость всего сечения; 3 - то же,
части сечения F1 (на рисунке эта площадь заштрихована);
4 - то же, части сечения F2
7. Если левая часть
равенства (2) больше правой части, центральная плоскость смещена вниз относительно оси напряженной арматуры. В этом случае, уменьшая площадь
F2 или изменяя положение ее элементов по высоте с целью снижения статического момента этой части сечения относительно оси
x, необходимо обеспечить выполнение
условия (2).
8. В отдельных случаях, когда по тем или иным причинам уменьшение площади
F2 или изменение положения элементов этой части площади невозможно (нецелесообразно), приходится увеличивать правую часть
равенства (2), для чего обычно увеличивают толщину листов в элементах площади
F1. В первую очередь

толщину назначают у листов, наиболее удаленных от оси
x.
9. Если в
равенстве (2) левая часть меньше правой, центральная плоскость смещена вверх относительно оси напряженной арматуры. В этом случае необходимо увеличить площадь
F2 или, что предпочтительнее, повысить статический момент инерции этой части сечения относительно оси
x за счет более рационального размещения элементов, составляющих площадь
F2. При выполнении
условия (2) подбор сечения формы считается завершенным.
Поддон с центральной плоскостью, смещенной относительно оси напряженной арматуры на заданную величину
10. Смещение центральной плоскости относительно оси напряженной арматуры на
e1 (рис. 2), определяемое по
п. 6.20, обеспечивается при выполнении
неравенства (1) и равенства

(3)
Рис. 2. Сечения поддонов с центральной плоскостью, смещенной
относительно оси напряженной арматуры на заданную величину
а - поддон для изготовления ребристых изделий;
б - то же, плоских изделий; 1 - ось напряженной арматуры;
2 - центральная плоскость всего сечения; 3 - то же, части
сечения F1 (на рисунке эта площадь заштрихована);
4 - то же, части сечения F2
ОПРЕДЕЛЕНИЕ ВЕРОЯТНОГО ВЕСА ФОРМЫ
1. Вероятный вес формы для изделий из тяжелого и легкого бетонов до ее проектирования может быть установлен при известных параметрах изделия и при выбранной схеме формы.
2. Вероятный вес формы находится по формуле
где

- среднее значение конструктивного показателя, определяемого по таблице;
S1 - обрамляемая формой поверхность изделия в м2;
Sп - площадь паровых рубашек в м2;
Gи - вес изделия в т;
lи, bи, hи - соответственно длина, ширина и высота изделия в положении формования в м;
N - сила натяжения арматуры в т.
Примечание. При h <= 0,75 м допускается не учитывать в квадратных скобках второе слагаемое.
3. Для групповых форм с расположением изделий по длине в формулу Gф вводится суммарная длина и значение S1, подсчитанное для всех изделий; при расположении изделий по ширине в ту же формулу вводится суммарная ширина и значение S1, также подсчитанное для всех изделий.
Средние конструктивные показатели
стальных форм
Характеристика форм | Силовые формы | Несиловые формы |
Отношения строн | Назначение | перемещаемые | неподвижные | перемещаемые | неподвижные |
| | | | | | | | 4 |
b <= 2h l > 15h | Одинарные | - | - | - | - | - | - | | - | |
b > 2h | Одинарные | | | | | | - | | | |
Групповые | - | | - | - | - | - | | | |
b <= 2h l <= 15h | Одинарные | | | | - | | | | | |
Групповые | - | | | - | | - | - | | |
--------------------------------
<*> Формы со слабо нагруженными силовыми элементами, для которых

, где

в
см.
Примечание.
1а,
2а - формы, изгибаемые силой натяжения арматуры;
1б,
2б,
1в,
2в - формы, центрально обжимаемые силой натяжения арматуры;
3а - формы с поддонами высотой менее 1/20 длины;
3б - то же, более 1/20 длины.
--------------------------------
<1> Примеры расчета форм специальных конструкций - предварительно напряженных форм и с качающимися упорами см. "Указания по усилению стальных поддонов при изготовлении предварительно напряженных железобетонных изделий" (Госстройиздат, 1959) и "
Инструкцию по расчету стальных форм" (Госстройиздат, 1963).
А. РАСЧЕТ ФОРМЫ ОБЫЧНОГО ТИПА
1. Исходные данные и нагрузки
Требуется рассчитать форму для изготовления предварительно напряженных многопустотных панелей. Размеры панели: ширина 1190+/-5 мм, длина 5860+/-5 мм, высота 220+/-5 мм. Вес панели 2100 кг. Арматура - четыре стержня диаметром 12 мм, контролируемая сила натяжения каждого стержня 4200 кг; расстояние оси напряженной арматуры от низа панели 2,7 см.
Технология изготовления панелей поточно-агрегатная. Форма для уплотнения бетонной смеси закрепляется на виброплощадке с частотой 3000 кол/мин и амплитудой A = 0,5 мм. Инерционный пригруз qг = 0,05 кГ/см2. Стойки с кронштейнами в камере пропаривания установлены на расстоянии 360 см.
Проектируется форма обычного типа с откидными бортами. Ее вес подсчитываем по
приложению XI. По таблице для данного типа формы

, а множители, входящие в расчетную формулу, равны:
S1 = (0,22·2 + 1,19)5,86 = 9,55
м2 <*>,
N = 4·4,2 = 16,8 Т.
Тогда
Нормативные значения нагрузок:
сила натяжения арматуры
N = 4·4200 = 16 800 кГ;
вес формы на единицу длины
вес панели на единицу длины
суммарная вертикальная нагрузка на единицу длины
q = 3,31 + 3,58 = 6,89 кг/см;
суммарная вертикальная нагрузка
Q = 1965 + 2100 = 4065 кг.
--------------------------------
<*> Все вычисления выполнены на логарифмической линейке.
Расчетные значения нагрузок:
сила натяжения арматуры
N = 1,1·16 800 = 18 500 кг;
суммарная вертикальная нагрузка на единицу длины
q = 1,1·3,31 + 1,2·3,58 = 7,93 кг/см;
суммарная вертикальная нагрузка
Q = 1,1·1965 + 1,2·2100 = 4680 кг.
Давление от вибрируемой бетонной смеси при приведенной ширине слоя бетона 8
см (до оси крайнего пустотообразователя) и

;
2. Расчет точности формы
Допуск на форму по ширине при

,

и

по
формуле (3.1') получается равным нулю. Отсюда следует, что этот размер нужно выдерживать по высокому классу точности. Принимаем 7-й класс

, и тогда допускаемый прогиб борта по
формуле (3.2') равен:
В связи с жестким допуском на изделие по длине допуск на форму также устанавливаем по 7-му классу точности
. Тогда, если для торцовых бортов, находящихся в более благоприятных условиях, принять
, то по
формуле (3.2')
Проектный размер формы по длине определяется аналогично, поскольку деформации от обжатия при сравнительно небольшом значении N можно не учитывать.
Проектную длину формы в соответствии с указанием
п. 3.9 оставляем равной длине изделия.
Жесткий допуск на высоту изделий

требует изготовления и монтажа бортов с высокой точностью и сильно ограничивает допускаемый прогиб формы. Принимая допуск на высоту формы по 7-му классу точности

и

находим по
формуле (3.7): [
y] = 6 - 2 - 2 = 2
мм.
Величина
c, считая

, по
формуле (3.9) равна:

и проектный размер формы по высоте устанавливается по
формуле (3.8):
hф = 220 - 4 = 216
мм.
Таким образом, внутренние размеры формы равны: bф = 1186+/-1 мм, lф = 5860+/-3 мм, hф = 216+/-1 мм.
При площади панели до 8 м2 допускаемая неплоскостность установлена в 6 мм (ГОСТ 13015-67); допускаемый прогиб свободного угла поддона при диагональном опирании ограничивается этой величиной.
3. Геометрические характеристики и расчетные жесткости поддона
Площадь поперечного сечения поддона при редукционном коэффициенте

(

см.
рис. 4.1) равна (
рис. 1,
а)
F = 4·20,7 + 122·0,8 = 82,8 + 97,6 = 180,4 см2.
а - сечение формы с бортами замкнутого профиля;
б - фрагмент сечения с бортами открытого профиля;
в - расчетная схема формы; г - план балочной клетки
поддона с продольными и поперечными балками;
д - то же, с перекрестной решеткой
Статический момент инерции относительно оси x, проходящей через центр тяжести швеллеров
Sx = 97,6(9 + 0,4) = 918 см3.
Расстояние центра тяжести сечения от оси x
Момент инерции сечения
J = 4·1090 + 82,8·5,12 + 97,6(9,4 - 5,1)2 = 8316 см4.
Момент инерции при свободном кручении поперечного сечения поддона [по
формуле (2) приложения IV]
Момент инерции при свободном кручении продольного сечения поддона, включающего 11 балок (см.
рис. 1,
г), по той же формуле
В варианте с перекрестной решеткой (
рис. 1,
д) сначала по
формуле (5) приложения IV определяется приведенная толщина нижнего листа (по
Fр = 13,6
см2 и
b' = 120 - 7·2 = 106
см)
Приведенная площадь всех раскосов определена в соответствии с указанием
п. 8 приложения IV, исходя из площади сечения швеллера N 18 (
F = 20,7
см2):
Приведенный момент инерции при свободном кручении поддона с перекрестной решеткой [по
формуле (4) приложения IV]
C = 0,8·106·40,26 = 32,2·106 кГ·см2.
C = 0,8·106·12 520 = 100,2·108 кГ·см2.
4. Определение деформаций формы
В связи с нецелесообразностью увеличения высоты поддона удовлетворяемся полученным результатом, но требуем изготовления поддона с начальным выгибом, равным
.
что составляет

.
Прогиб свободного угла при диагональном опирании, если решетка выполнена по
рис. 1,
г, определяется по
формуле (6.3), для которой предварительно вычисляются по
приложению IV:
K = 1 (по графику на
рис. 5 по

);
и
Прогиб свободного угла при диагональном опирании, если решетка выполнена по
рис. 1,
д, определяется по той же
формуле (6.3), для которой предварительно вычисляются

(по
табл. 2 по

),

;
Останавливаемся на поддоне с перекрестной решеткой, при которой обеспечивается допустимая деформация при диагональном опирании. В поддоне с такой решеткой одновременно уменьшается вес формы примерно на 100 кг, увеличивается площадь поперечного сечения на 9,5% и соответственно все остальные геометрические характеристики.
При принятой схеме расположения балок проверка деформации обшивки поддона производится по средней квадратной ячейке, для которой
a1 =
b1 = 75
см. При давлении от вибрируемой бетонной смеси
p1 = 0,22
кГ/
см2 по
формуле (9.1)
В связи с небольшим значением силы N проверка по несущей способности (устойчивости) не производится.
5. Расчет бортов
Борта рассчитываются в двух вариантах: с замкнутым и открытым профилем. Для борта замкнутого профиля, изображенного на
рис. 2,
а, момент инерции при свободном кручении определяется по
формуле (3) приложения VII:
а - борт замкнутого профиля; б - расчетное сечение борта;
в - борт открытого профиля; г - расчетное сечение борта
Если вычислять
Jк по
формуле (4), пренебрегая разной толщиной листов, то его значение будет меньше на 8,5%.
Учитывая сварку листов прерывистым швом, в расчетную формулу вводится величина
Jк = 0,85·1760 = 1500
см4, где 0,85 - понижающий коэффициент при

(см.
п. 8.6).
Расстояние от точки приложения давления

до низа борта определяется по
формуле (5.8) при
kу = 1 (по
табл. 5.5 при
h = 22
см) и
Расстояние от той же точки до оси шарниров
r = hс + h1 = 9,7 + 8 = 17,7 см.
Для борта открытого профиля, изображенного на
рис. 2,
в, координаты центра изгиба могут быть приняты по аналогии с табличными значениями. Учитывая, что постановка внизу полосы увеличивает несимметричность сечения, а

толщина вертикального листа, наоборот, приближает сечение к симметричному, принимаем координаты центра изгиба по
строке 11 табл. 1 приложения VIII:

и

.
Расчетная площадь поперечного сечения борта (
рис. 2,
г)
F = 22·0,8 + 14,1 + 8·0,6 = 17,6 + 14,1 + 4,8 = 36,5
см2.
Статический момент инерции относительно оси x1:
Sx = 17,6·11 + 14,1(22 - 2,8) + 4,8·1,3 = 470,64 см3;
статический момент инерции относительно оси y1:
Sy1 = 17,6(-0,4) + 14,1(-9,29) + 4,8(-4,8) = -161,08 см3.
Расстояние центра тяжести сечения O1
от оси x1
от оси y1
Момент инерции относительно центральной оси x
Момент инерции относительно центральной оси y
Jy = 17,6(4,41 - 0,4)2 + 227 + 14,1(9,29 - 4,41)2 +
+ 4,8(4,41 - 4,8)2 = 846,5 см4.
Центробежный момент инерции
| | ИС МЕГАНОРМ: примечание. Формула дана в соответствии с официальным текстом документа. | |
Jxy = 17,6(-1,89)4,01 + 14,1·6,31(-4,88 +
+ 4,8(-11,59)(-0,39) = -545,9 см4.
Главные центральные оси
Угол поворота главных центральных осей

,

.
Проекции расстояния
A0 на оси

и
, параллельные осям
x и
y (см.
рис. 2,
г), определяются по
формулам (3) приложения VIII:
c' = 3,7 + 7 = 10,7 см;
d' = 22 + 8 - 2,3 = 27,7 см;
Проекции того же расстояния на оси

и

параллельные главным центральным осям по
формулам (4) приложения VIII:
При известных
c и
d секториальный момент инерции сечения относительно оси шарниров

определяется по
формуле (1) приложения VIII:
Принимаем борт замкнутого профиля, который при площади поперечного сечения, на 12,6% больший, чем в борте открытого профиля, обеспечивает прогиб, в 15 раз меньший.
6. Определение нагрузок на детали формы
Давление от вибрируемой бетонной смеси на детали замков определяется по
формуле (9.3). При
r' = 25
см
Воздействие инерционной силы на детали замков при числе шарниров
m = 5 и
g = 0,4
кГ/см [по
формуле (9.5)]
Детали шарниров подсчитываются по результирующей горизонтальной и вертикальной нагрузок, для чего предварительно определяются составляющие силы;
Нагрузка, на которую рассчитываются подъемные скобы при их расположении в вершинах прямоугольника, подсчитывается по
формуле (9.10) при
kд = 1,3 (см.
п. 5.6) и
Q = 4680
кг (суммарная расчетная нагрузка):
Qс = 0,5·1,3·4680 = 3025 кг.
Расчет упора ведется по расчетному значению силы натяжения арматуры N = 18 500 кГ.
Б. РАСЧЕТ ФОРМЫ, ВЫГИБАЕМОЙ ПРИ НАТЯЖЕНИИ АРМАТУРЫ
<1>
--------------------------------
<1>
Примеры Б -
Д даны с сокращениями; в частности, в них не приведены вычисления геометрических характеристик расчетных сечений и расчет деталей. Полный расчет см.
пример А.
1. Исходные данные и нагрузки
Требуется рассчитать форму для изготовления предварительно напряженной ребристой панели покрытия. Размеры панели - ширина

, длина 11 960
+/-15 мм, высота 450
+/-5 мм. Вес панели 7000
кг. Арматура - четыре стержня диаметром 28
мм, контролируемая сила натяжения каждого стержня 30
Т; расстояние оси напряженной арматуры от низа панели 10
см.
Форма задана с откидными продольными бортами замкнутого профиля и съемными торцовыми бортами; ее вес по аналогии с существующими конструкциями принимается равным 10,8 т. Для уплотнения бетонной смеси форма закрепляется на виброплощадке с частотой 3000 кол/мин и амплитудой A = 0,6 мм. Стойки с кронштейнами в камере пропаривания установлены на расстоянии 830 см.
Нормативные значения нагрузок:
сила натяжения арматуры
N = 4·30 000 = 120 000 кГ;
вес формы на единицу длины
вес панели на единицу длины
суммарная вертикальная нагрузка на единицу длины
q = 8,1 + 5,83 = 13,93 кг/см;
суммарная вертикальная нагрузка
Q = 10 800 + 7000 = 17 800 кг.
Расчетные значения нагрузок:
сила натяжения арматуры
N = 1,1·120 000 = 132 000 кГ;
суммарная вертикальная нагрузка на единицу длины
q = 1,1·8,1 + 1,2·5,83 = 15,9 кг/см;
суммарная вертикальная нагрузка
Q = 1,1·10 800 + 1,2·7 000 = 20 300 кг.
Давление от вибрируемой бетонной смеси при средней ширине продольного ребра 12
см и

:
p1 = 0,21(1,56·0,06·102 + 1)0,0024·45 = 0,24 кГ/см2.
2. Расчет точности формы
Значения отдельных величин: для продольных бортов на шарнирах

, а для торцовых съемных бортов

и

вдвое меньше; коэффициент
kд = 35·10
-5 (
табл. 2 приложения I); выгиб панели от силы натяжения арматуры
N = 120
Т равен:
f = 3
см; площадь поперечного сечения панели
Fб = 945
см2, ее центр тяжести смещен относительно верхней грани на
a = 13
см.
Подсчитываем:
деформации панели от усадки и ползучести:
по ширине

;
по длине

;
деформацию от обжатия бетона по
формуле (1) приложения I
угол поворота торцового сечения по
формуле (2) приложения I
деформации от поворота торцового сечения по
формулам (3) -
(5) приложения I:
По
табл. 1 приложения 1 для интервала проектных размеров 2500 - 4500
мм к подсчитанной величине близко подходит допуск по 8-му классу точности (6
мм); находим по
формуле (3.2') допускаемый прогиб борта:
c = 10 - 3 - 0,9 ~= 6 мм.
bф = 2980 - 6 = 2974 мм.
Допускаемая деформация поперечного борта по
формуле (3.2), если также ориентироваться на 8-й класс точности
, равна:
c = 15 - 7 - 4,2 - 4,3 + 2·3,2 = -6 мм.
| | ИС МЕГАНОРМ: примечание. В официальном тексте документа, видимо, допущена опечатка: формула (2.3) отсутствует. Возможно, имеется в виду формула (3.3). | |
lф = 11 960 - (-6) = 11 966 мм.
Таким образом, внутренние проектные размеры формы в плане bф = 2794+/-3 мм, lф = 11 966+/-7 мм.
Допуск по высоте формы, если принять

, определяется по
формуле (3.6):
По
табл. 1 приложения I устанавливаем, что ближайший меньший размер соответствует 8-му классу точности (4
мм). Допускаемый выгиб поддона подсчитывается по допуску

и
[формула (3.7)]:
[y] = 10 - 4 - 3 = 3 мм.
Проектный размер формы по высоте
hф = 450 - 7 = 443 мм
и с учетом допускаемых отклонений
hф = 443+/-2 мм.
3. Геометрические характеристики и расчетные жесткости поддона
Основное сечение поддона (
рис. 3,
а) характеризуется:
F1 = 240
см2,
J1 = 309 150
см4,
e1 = 7,25
см.
а - основное сечение формы; б - сечение формы
по поперечному ребру изделия; в - расчетная схема
поддона; г - борт замкнутого профиля; д - расчетное
сечение борта; 1 - ось напряженной арматуры;
2 - центральная ось
В сечении поддона по поперечному ребру панели (
рис. 3,
б)
F2 = 194
см2,
J2 = 186 100
см4,
e2 = 0,35
см.
Пренебрегая разной высотой и шириной промежуточных и торцовых ребер, приводим форму к схеме балки с постоянным шагом изменения жесткости (
рис. 3,
в).
При
n = 12 и

по
табл. 2 приложения VI находим

и

.
Расчетная жесткость при определении деформации от силы N
от вертикальной нагрузки
В связи с большой высотой формы и наличием нижней перекрестной решетки из уголков ее расчет при диагональном опирании не производится и поэтому жесткость G не вычисляется.
4. Определение деформаций формы
Выгиб формы по
формуле (6.7) с учетом того, что расчетные жесткости имеют равные значения,
Сближение упоров на уровне оси напряженной арматуры по
формуле (6.8)
что составляет

.
Проверка устойчивости формы производится по СНиП II-В.3-62 "Стальные конструкции. Нормы проектирования" по расчетному эксцентриситету
eр, определяемому в соответствии с указанием
п. 4.8:
Приведенный эксцентриситет при

и

равен

. Радиус инерции сечения
. По табл. 56 СНиП II-В.3-62 по
m1 и

находится коэффициент

. Тогда предельная сжимающая сила
Nпр = 0,88·240·2100 = 440 000
кГ, что значительно больше расчетного значения силы
N = 132 000
кГ.
5. Расчет борта
Борт замкнутого профиля (
рис. 3,
г) приводится к расчетному сечению (
рис. 3,
д), для которого
Jк вычисляется по
формуле (4) приложения VII:
Листы борта приварены сплошным швом, и поэтому понижающий коэффициент по
п. 8.6 при определении расчетного значения
Jк не вводится.
Расстояние точки приложения

до низа борта при свободном колебании принимается по
формуле (5.7), в которую вводится коэффициент
k3 = 1,3;
Тогда
r = 19,5 + 7 = 26,5 см.
Уточненное значение
r определяем по
формуле (8.5) при собственном весе борта
g = 0,9
кг/
см и
e = 1,5
см <*>.
--------------------------------
<*> Как отмечено в
п. 8.8, этот расчет при заданных параметрах
g и
e можно не проводить; он дан только для ознакомления.
В. РАСЧЕТ ФОРМЫ С ПОДОБРАННЫМ ПОЛОЖЕНИЕМ
ЦЕНТРАЛЬНОЙ ПЛОСКОСТИ
1. Исходные данные и нагрузки
По условиям
примера А требуется рассчитывать форму, в которой исключена вертикальная деформация от силы
N. Принимаем частично разборную форму с несущими балками в пределах высоты изделия и рассчитываем ее при трех опорах, расположенных в вершинах треугольника.
Для того чтобы не пересчитывать поперечные нагрузки, принимаем вес формы таким же, как и в
примере А.
2. Геометрические характеристики и расчетные жесткости поддона
Сечение, подобранное в соответствии с указаниями
приложения X и изображенное на
рис. 4,
а, характеризуется:
F = 278
см2 (с учетом расположения раскосов под углом к сечению см. схему на
рис. 4,
б),
I = 21870
см4,
eс = 2,72
см.
а - сечение формы; б - схема перекрестной решетки
и расположение опор; в - расчетное сечение
для определения приведенного значения Jk
Поскольку
i = 2,7
см (см.
пример А), обеспечивается полное совмещение центральной плоскости с осью напряженной арматуры.
Момент инерции при свободном кручении подсчитывается как для замкнутого профиля, толщина нижней обшивки которого определяется по площади раскосов (см.
п. 8 приложения IV)
Fр = 2·8,78·0,6 = 10,55 см2
и по углу их наклона к сечению. При

приведенная толщина нижней обшивки по
формуле (5) приложения IV равна
Для расчетного сечения, приведенного на
рис. 4,
в
C = 0,8·106·10150 = 81,2·108 кГсм2.
3. Определение деформаций формы
Поперечная деформация формы от вертикальной нагрузки при расположении опор в вершинах треугольника (см.
рис. 4,
б) подсчитывается по указаниям
приложений IV и
V. Принимая в расчете половину длины формы, находим

и по
табл. 2 приложения IV

.
В связи с тем, что

, при определении

принимаем

(см
п. 22 приложения IV). По
формуле (10) того же приложения при

(коэффициент

также определяется по половинному значению
a)
и при

(см.
п. 4 приложения V) находим
Г. РАСЧЕТ НЕПОДВИЖНОЙ ФОРМЫ
1. Исходные данные и нагрузки
Требуется рассчитать форму для изготовления ригелей таврового сечения. Размеры ригеля: ширина 600 мм, высота 600 мм, длина 8650 мм. Вес ригеля 5400 кг. Арматура - 20 стержней диаметром 18 мм (при изготовлении ригеля под максимальную нагрузку). Контролируемая сила натяжения каждого стержня 12 500 кГ.
Технология изготовления ригелей - в силовых неподвижных формах. Уплотнение бетонной смеси осуществляется пакетом из трех вибраторов, расставленных по длине с шагом 1 м.
Форма проектируется с подобранным положением центральной плоскости. Ее вес подсчитывается по
приложению XI. По таблице для формы данного типа

, а множители, входящие в расчетную формулу, равны:
S1 = (0,22·2 + 0,57 + 2·0,15 + 2·0,38)8,65= 17,9 м2;
N = 20·12,5 = 250 Т.
Тогда
Нормативные значения нагрузок:
сила натяжения арматуры
N = 20·12 500 = 250 000 кГ;
вес формы на единицу длины
вес ригеля на единицу длины
суммарная вертикальная нагрузка на единицу длины
q = 4,81 + 6,25 = 11,06 кг/см;
суммарная вертикальная нагрузка
Q = 4160 + 5400 = 9560 кг.
Расчетные значения нагрузок:
сила натяжения арматуры
N = 1,1·250 000 = 275 000 кГ;
суммарная вертикальная нагрузка на единицу длины
q = 1,1·4,51 + 1,2·6,25 = 12,46 кг/см;
суммарная вертикальная нагрузка
Q = 1,1·4160 + 1,2·5400 = 11 050 кг.
Давление бетонной смеси, уплотняемой пакетом из трех вибраторов С-801 (
M = 0,4
кГ·см,
n = 12 500
кол/
мин,
dв = 7,6
см,
hв = 47
см), определяется по
формуле (5.10). При этом учитывается, что откидные борта ограничивают изделие сверху только на высоте 38
см (см.
рис. 5).
а - сечение формы; б - расчетная схема формы;
в - расчетная схема борта; г - расчетное сечение борта
(размеры по осям листов); А - точка приложения силы N
На единицу длины борта при

(по
табл. 5.7 при
n = 3),
k4 = 1,8 (по
табл. 5.6 при

) и
F = 7,6·47 = 357
см2, давление равно:
На единицу площади поддона при высоте изделия
h = 60
см и
k5 = 0,3·10
-3 по
формуле (5.11)
2. Подбор сечения поддона
Площадь поперечного сечения поддона формы, изображенной на
рис. 5,
а, при толщине стенки трубы 5
мм равна:
F = 2·0,8·22,4 + 0,8·57,8 + 2·21,2 +
+ 2·0,8·30 + 2·1·16 = 204,4 см2.
Статический момент инерции относительно оси x0:
Расстояние центра тяжести сечения от оси x0
Поскольку ось напряженной арматуры расположена ниже оси x0 на 13,5 см (подсчитано по чертежу изделия), центральная плоскость оказывается смещенной на 18,05 - 13,5 = 4,55 см.
Определяем максимально допустимое смещение между осью напряженной арматуры и центральной плоскостью, при котором
y = 0 (см.
п. 6.31). Расчет ведется по суммарной погонной нагрузке
q (а не по
qпр), так как геометрические параметры сечения пока не выявлены.
что меньше полученного смещения в 4,55 см.
Это значит, что центральную плоскость надо приблизить к оси напряженной арматуры. Чтобы не решать задачу методом попыток, устанавливаем предельное расстояние центральной плоскости до оси x0.
Оно равно:
Изменение положения центральной плоскости рациональнее всего осуществлять увеличением площади элементов сечения, расположенных вверху. Если увеличить площадь за счет труб, оси которых совпадают с осью
x0, можно сразу установить площадь сечения поддона, при которой обеспечивается

:
т.е. площадь сечения нужно увеличить, как минимум на 217,6 - 204,4 = 13,2 см2.
Принимаем вместо трубы с толщиной стенки 5 мм (F = 21,2 см2) трубу с толщиной стенки 7 мм (F = 29,25 см2). Увеличение площади на (29,25 - 21,2)2 = 16,1 см2 больше требуемого.
Подобранное сечение характеризуется
F = 2·0,8·22,4 + 0,8·57,8 + 2·29,25 +
+ 2·0,8·30 + 2·1·16 = 220,5 см2.
При том же

Момент инерции сечения относительно оси x
То же, относительно оси y
3. Определение деформаций формы
Для формы, центральная плоскость которой смещена относительно оси напряженной арматуры на заданную величину, y = 0.
что составляет
, но < 0,0006
l.
Учитывая благоприятные условия эксплуатации формы и то, что напряжение арматуры и передача напряжений с арматуры на бетон осуществляются одновременно, допускаем такую величину сближения упоров.
4. Проверка формы на устойчивость
Сила натяжения приложена с эксцентриситетом относительно центральной плоскости
e = 16,7 - 13,5 = 3,2 см.
Расчетный эксцентриситет по
формуле (4.4) при расположении арматуры в четыре ряда с шагом по вертикали 4
см
Вычисляем дополнительно геометрические характеристики:
момент сопротивления относительно наиболее сжатого волокна
радиус инерции сечения
По СНиП II-В.3-62 относительный эксцентриситет при

равен:
Из табл. 56 приложения 3
<*> по
m1 и

находится коэффициент

.
--------------------------------
<*> Здесь и далее ссылка на СНиП.
Из преобразованной формулы (24) определяется предельная сжимающая сила
Nпр = 0,614·220,5·2100 = 284 500 кГ,
которая больше расчетного значения силы N = 275 000 кГ приложенной к форме.
Аналогичный расчет по устойчивости в горизонтальной плоскости не проводим, поскольку
.
5. Расчет борта
Для борта замкнутого сечения, изображенного на
рис. 5,
в, момент инерции при свободном кручении определяется по
формуле (1) приложения VII. Предварительно принимается расчетное сечение борта (
рис. 5,
г) и вычисляется:
и
Учитывая сварку листов прерывистым швом, в расчетную формулу вводится величина
Jк = 0,85·5380 = 4575 см4,
где 0,85 - понижающий коэффициент при

(см.
п. 8.6).
Расстояние от точки приложения давления

до низа борта определяется по
п. 5.21 при

:
hс = 0,39·38 = 14,8 см.
Расстояние от той же точки до оси шарниров
r = hс + h1 = 14,8 + 6 = 20,8 см.
что может быть допущено.
Д. РАСЧЕТ ПОДДОНА-ВАГОНЕТКИ
1. Исходные данные и нагрузки
Требуется рассчитать поддон-вагонетку размером в плане 4600 x 7000
мм, предназначенную для изготовления широкой номенклатуры плоских напряженных плит из керамзитобетона с объемным весом
. Раскладка изделий на поддоне-вагонетке, обеспечивающая наибольшую нагрузку, - две плиты размером 2200 x 6400 x 160
мм (вес каждой плиты 3330
кг).
Форма для уплотнения бетонной смеси устанавливается на виброплощадке с частотой 3000 кол/мин и амплитудой A = 0,6 мм. Распалубливание производится сразу после формования. База вагонетки 3800 мм. По аналогии с существующими конструкциями вес поддона-вагонетки принимается равным 8600 кг.
Нормативные значения нагрузок:
вес поддона на единицу длины
вес изделия на единицу длины
суммарная вертикальная нагрузка на единицу длины
q = 12,3 + 10,4 = 22,7 кг/см;
суммарная вертикальная нагрузка
Q = 8600 + 2·3330 = 15 260 кг.
Давление от вибрируемой бетонной смеси на единицу площади поддона при
b/h > 2 по
формуле (5.2):
p1 = (1,95·0,06·102 + 1)0,0018·16 = 0,37 кГ/см2.
2. Обоснования выбора конструкции поддона
При площади каждой плиты 14 м2 допускаемая ее неплоскостность 8 мм (ГОСТ 13015-67). С учетом того, что на поддоне располагаются два изделия, длина которых меньше длины поддона примерно на 10%, при диагональном опирании может быть допущена деформация [yд] = 2·8·1,1 = 17,6 мм.
При базе 3800
мм отношение

и деформации угла поддона на 17,6
мм соответствует опускание колеса на

.
Если при прохождении поддона-вагонетки по путям конвейера, а также по путям камеры, обгонным путем и (или) рольгангом возможна разность отметок опор

, чем 12
мм, должна быть обеспечена высокая жесткость поддона на кручение; когда же гарантируется разность отметок опор в пределах до 12
мм, жесткость на кручение не является определяющим фактором.
В качестве основного варианта принимается поддон с высокой жесткостью на кручение; для сравнения в
п. 5 приведены расчетные жесткости и деформации поддона, который может эксплуатироваться только в условиях, исключающих разность отметок опор
.
3. Геометрические характеристики и расчетные жесткости поддона
Для обеспечения высокой жесткости при диагональном опирании поддон проектируется с двумя обшивками. Моменты инерции поддона, сечения которого изображены на
рис. 6 б, равны:
Jx = 98 790
см4 и
Jy = 149 880
см4. Расчетные жесткости на изгиб при продольной силе
Nx = Ny = 0 соответственно равны:
Bx = 2,1·106·98 790 = 20,8·1010 кГ·см2;
By = 2,1·106·149 880 = 31,4·1010 кГ·см2.
а - план поддона вагонетки; б - сечения поддона вагонетки
с двумя обшивками; в - то же, с одной обшивкой
Момент инерции при свободном кручении [по
формуле (4) приложения IV]
Расчетная жесткость на кручение
C = 0,8·106·305 000 = 24,4·1010 кГ·см2.
4. Определение деформаций поддона
Прогиб поддона при диагональном опирании подсчитывается по
формуле (6.3), для которой предварительно определяется коэффициент
. В этот коэффициент входят величины:

, что практически равно
[yд] = 1,76 см.
Прогиб поддона при четырехточечном опирании определяется по
формуле (6.31), в которой принимается
Nx =
Ny = 0
. Предварительно вычисляются входящие в коэффициент

величины и сам этот коэффициент [по
формуле (6.29)].
Прогиб ячейки обшивки размером примерно 670 x 670
мм вычисляется по
формуле (9.1), в которую вводится
k1 = 0,0138 (при
a1/
b1 = 1 и отсутствии сжатия от силы
N):
5. Расчетные значения поддона с одной обшивкой
Поддон, сечения которого изображены на
рис. 6,
в, весит примерно на 1500
кг меньше, т.е. его вес принимается равным 7100
кг. Соответственно
вес поддона на единицу длины
суммарная вертикальная нагрузка на единицу длины
q = 10,15 + 10,4 = 20,55 кг/см.
Моменты инерции поддона равны: Jx = 34 310 см4 и Jy = 51 790 см4. Расчетные жесткости на изгиб при продольной силе Nx = Ny = 0:
Bx = 2,1·106·34 310 = 7,2·1010 кГ·см2;
By = 2,1·106·51 790 = 10,68·1010 кГ·см2.
Момент инерции при свободном кручении [по
формуле (2) приложения IV]
Расчетная жесткость на кручение
C = 0,8·10
6·79,4 = 63,5·10
6 кГ·см2 <*>.
--------------------------------
<*> Сравнение расчетных жесткостей показывает, что при двух обшивках жесткости на изгиб возрастают примерно в 3 раза, а на кручение - в 3840 раз.
Прогиб поддона при четырехточечном опирании определяется по

, так как отношение расчетных жесткостей осталось неизменным. По той же
формуле (6.31)
При низкой жесткости поддона на кручение вычисление деформации поддона при диагональном опирании лишено смысла.