Главная // Актуальные документы // РуководствоСПРАВКА
Источник публикации
М.: Стройиздат, 1985
Примечание к документу
Название документа
"Руководство по проектированию фундаментов оборудования и сооружений подземного хозяйства прокатных и трубных цехов"
"Руководство по проектированию фундаментов оборудования и сооружений подземного хозяйства прокатных и трубных цехов"
ПО ПРОЕКТИРОВАНИЮ ФУНДАМЕНТОВ ОБОРУДОВАНИЯ И СООРУЖЕНИЙ
ПОДЗЕМНОГО ХОЗЯЙСТВА ПРОКАТНЫХ И ТРУБНЫХ ЦЕХОВ
Рекомендовано к изданию решением секции несущих конструкций Научно-технического совета ЦНИИПромзданий Госстроя СССР, Научно-технического совета Гипромеза Минчермета СССР и Ученого совета Харьковского Промстройниипроекта Госстроя СССР.
| | ИС МЕГАНОРМ: примечание. Взамен СНиП II-19-79 Постановлением Госстроя СССР от 16.10.1987 N 242 с 01.07.1988 введены в действие СНиП 2.02.05-87. | |
Разработано к главам СНиП II-19-79 "Фундаменты машин с динамическими нагрузками" и СНиП II-91-77 "Сооружения промышленных предприятий".
Содержит основные положения по проектированию сооружений подземного хозяйства прокатных и трубных цехов, материалы по компоновочным и конструктивным решениям фундаментов оборудования и подземных сооружений, нагрузкам и расчету фундаментов, защите от воздействия агрессивных сред и грунтовых вод, а также рекомендации по оформлению рабочих чертежей.
Для инженерно-технических работников проектных и строительных организаций, работников, занятых разработкой строительного задания на проектирование.
Табл. 21, ил. 99.
Руководство разработано ЦНИИПромзданий Госстроя СССР (кандидаты техн. наук Н.А. Ушакова, А.М. Туголуков, инженеры О.Л. Кузина, Е.В. Потапкин), Гипромезом Минчермета СССР (инженеры Е.Н. Булгаков, А.А. Судариков, И.М. Левит, Б.Н. Поволоцкий), Харьковским Промстройниипроектом Госстроя СССР (кандидаты техн. наук Ю.Д. Кузнецов, С.Л. Фомин, И.Я. Лучковский, И.М. Балкарей, Э.Ю. Малый, инженеры А.Н. Туровский, Д.Л. Паценкер, Л.Г. Молчанов) при участии Ленинградского Промстройпроекта Госстроя СССР (канд. техн. наук В.М. Пятецкий, инж. А.Л. Мац), Приднепровского Промстройпроекта Госстроя СССР (инженеры А.В. Гладышев, Л.Б. Скловский, М.М. Седицкая), Стальпроекта Минчермета СССР (инженеры Б.Л. Кацнельсон, А.М. Теплов), Проектхимзащиты Минмонтажспецстроя СССР (инженеры С.И. Стрекалова, С.К. Бачурина), НИИЖБ Госстроя СССР (канд. техн. наук А.Н. Стульчиков), НИИОСП им. Н.М. Герсеванова Госстроя СССР (д-р техн. наук В.А. Ильичев).
| | ИС МЕГАНОРМ: примечание. Взамен СНиП II-19-79 Постановлением Госстроя СССР от 16.10.1987 N 242 с 01.07.1988 введены в действие СНиП 2.02.05-87. | |
1.1. Руководство составлено к главам СНиП II-19-79 "Фундаменты машин с динамическими нагрузками" и СНиП II-91-77 "Сооружения промышленных предприятий" и распространяется на проектирование фундаментов под основное (рабочие и шестеренные клети, редукторы, двигатели клетей и др.) и вспомогательное (рольганги, холодильники, манипуляторы и пр.) оборудование в комплексе с сооружениями подземного хозяйства прокатных и трубных цехов.
1.2. При проектировании фундаментов под оборудование и конструкций подземного хозяйства необходимо выполнять требования соответствующих глав СНиП, государственных стандартов и других нормативных документов, регламентирующих требования по проектированию конструкций и производству строительно-монтажных работ, а также обеспечивать соответствие их конструкций технологическим требованиям, наименьшую трудоемкость и возможность производства строительно-монтажных работ в наиболее короткие сроки при минимальной материалоемкости и стоимости строительства.
1.3. Проектирование фундаментов под оборудование должно выполняться по строительному заданию, которое составляется в соответствии с ОСТ 24.010.09-79 "Задание на проектирование фундаментов для прокатного оборудования".
1.4. Классификация прокатных и трубных станов, агрегатов и отделочных линий, а также технологического оборудования приведены в
прил. 1.
2. КОМПОНОВОЧНЫЕ РЕШЕНИЯ ФУНДАМЕНТОВ
ОБОРУДОВАНИЯ И ПОДЗЕМНЫХ СООРУЖЕНИЙ
2.1. Компоновочные решения фундаментов под оборудование и функционально связанных с ними подземных сооружений могут быть следующими:
в виде массивных и облегченных фундаментов с устройством в них коммуникационных тоннелей, каналов и подземных помещений. Подземные помещения могут располагаться также в отдельно стоящих подвалах (
рис. 1,
а);
с устройством технических подвалов, располагаемых под основным и вспомогательным оборудованием или частью его, в которых предусматривается открытая разводка коммуникаций и размещение технологического оборудования и технических служб (
рис. 1,
б);
с устройством технических этажей при поднятой линии прокатки или других технологических линий (сварки, прошивки) с исключением подвальных помещений (рис. 1, в).
Рис. 1. Компоновочные решения фундаментов
оборудования и подземных сооружений
а - в виде обособленных фундаментов (массивных
или облегченных) с локально расположенными тоннелями
и подвалами; б - с устройством общего технического
подвала; в - с устройством технического этажа
при поднятой линии прокатки
2.2. Площадь технических подвалов (этажей) должна назначаться в зависимости от рационального ее использования под технологические, электрические, вентиляционные и другие помещения.
2.3. Компоновочные решения с поднятой линией прокатки рекомендуется принимать в основном для мелкосортных, среднесортных, проволочных и трубных станов, если это допускается технологическими условиями.
2.4. В зонах воздействия на пол цеха временных нагрузок с интенсивностью более 100 кПа (10 тс/м2) размещать технические подвалы не рекомендуется.
2.5. Выбор оптимального компоновочного решения должен производиться на основе сопоставления приведенных затрат, включающих сметную стоимость, эксплуатационные затраты, а также экономический эффект от ускорения сроков строительства.
2.6. Фундаменты под оборудование могут быть массивными и облегченными (стоечными или стенчатыми). При этом облегченные фундаменты могут проектироваться монолитными или сборно-монолитными.
2.7. Основное оборудование листовых, толстолистовых, рельсо-балочных, заготовочных и других тяжелых станов следует устанавливать на массивных монолитных фундаментах или на монолитных железобетонных устоях облегченных фундаментов.
2.8. Основное оборудование крупносортных и среднесортных станов следует размещать, как правило, на облегченных фундаментах с нижней и верхней монолитными плитами с устройством диафрагм жесткости в двух взаимно перпендикулярных направлениях, причем основное оборудование должно размещаться над несущими опорами (стойками или стенами).
2.9. Основное оборудование мелкосортных, проволочных, штрипсовых и других легких станов можно размещать на сборно-монолитных фундаментах облегченного типа, причем основное оборудование допускается размещать в пролетах верхней фундаментной плиты.
2.10. Вспомогательное оборудование следует размещать на облегченных фундаментах или на перекрытиях технических подвалов и этажей.
2.11. Установку рабочей и шестеренной клетей, редуктора и привода электродвигателя следует предусматривать на общем фундаменте.
2.12. Фундаменты основного оборудования заготовочных, листовых, рельсобалочных и других тяжелых станов, в целях исключения передачи вибраций на соседние участки, должны быть отделены от перекрытий подвалов (этажей) и фундаментов зданий.
2.13. Колонны и стены облегченных фундаментов рекомендуется принимать с регулярным шагом, соответствующим шагу колонн технического этажа или подвала.
2.14. В случае если трасса гидроуборки окалины требует значительного заглубления примыкающих фундаментов, допускается лоток гидросмыва окалины размещать в отдельном тоннеле, проходящем ниже подошв фундаментов.
Для уменьшения глубины заложения трассы гидроуборки окалины допускается также устройство дополнительных ям сброса окалины.
2.15. При подъеме линии проката лотки гидросмыва окалины могут подвешиваться к перекрытию технического этажа, если это допускается технологическим процессом.
2.16. Габаритные размеры маслоэмульсионных, электротехнических, сантехнических и других подвалов следует принимать унифицированными в соответствии с табл. 1 и
2.
Таблица 1
Унифицированные габаритные схемы одноэтажных подвалов | Размеры, м |
L | H | Hо |
| 6,0 7,5 | 3,6 4,8 6,0 7,2 | 3,6 4,8 6,0 7,2 |
| 6,0 | 2,8 (3,0) 4,0 (4,2) 5,2 (5,4) 6,4 (6,6) |
|
Примечания: 1. Шаг колонн в продольном направлении при временной нагрузке на пол цеха до 10·104 Па (10 тс/м2) 6 и 9 м, при временной нагрузке более 10·104 Па (10 тс/м2) - 6 м.
2. Размеры в скобках даны для подвалов с временной нагрузкой на пол цеха до 5·104 Па (5 тс/м2).
3. Размер c принимается равным 0,375 м.
Унифицированные габаритные схемы двухэтажных подвалов | Размеры, м |
L | l | H | Hв | Hн | | |
Кабельный этаж | сверху | | 6,0 | 6,0 | 8,4 | 3,3 | 5,1 | 2,5 (2,7) | 4,05 |
9,6 | 3,3 | 6,3 | 2,5 (2,7) | 5,25 |
снизу | | 6,0 | 6,0 | 8,4 | 4,5 | 3,9 | 3,7 (3,9) | 2,85 |
9,6 | 5,7 | 3,9 | 4,9 (5,1) | 2,85 |
Примечание. Размеры в скобках даны для подвалов с временной нагрузкой на пол цеха до 5·104 Па (5 тс/м2).
2.17. При расположении подвалов на участках цеха, где возможно падение пакетов и рулонов, расстояние от верха перекрытия до пола цеха (толщина грунтовой засыпки) должно быть не менее 1 м.
2.18. Внутренние габариты каналов и тоннелей, в том числе и располагаемые в теле фундаментов, следует принимать в соответствии с табл. 3.
Таблица 3
Унифицированные габариты каналов и тоннелей | Высота H, м | Ширина b, м |
0,3 | 0,6 | 0,9 | 1,2 | 1,5 | 1,8 | 2,1 | 2,4 | 3,0 |
Каналы | | 0,45 | + | + | + | | | | | | |
0,6 | + | + | + | + | | | | | |
0,9 | | | + | + | + | | | | |
1,2 | | | + | + | + | + | + | | |
1,5 | | | | | + | + | + | + | |
Тоннели | | 1,8 | | | | | + | + | + | + | + |
2,1 | | | | | + | + | + | + | + |
2,4 | | | | + | + | + | + | + |
2,7 | | | | | + | + | + | + | + |
3,0 | | | | | + | + | + | + | + |
3,3 | | | | | | + | + | + | + |
Тоннели для смыва окалины | | | | | | | + | + | + | + | + |
Примечания: 1. Минимальная высота тоннелей для смыва окалины
H определяется габаритами прохода с учетом возможной прокладки коммуникаций и конструкцией лотка смыва.
2. Знаком "+" отмечены рекомендуемые типоразмеры сечений.
При назначении габаритов тоннелей по высоте необходимо учитывать высоту подливки по продольному уклону, а также возможность установки светильников и прокладки различного рода коммуникаций, в том числе труб пожаротушения в кабельных тоннелях.
Высота проходов (в чистоте) в тоннелях должна быть не менее 1,8 м.
Высота тоннелей, предназначенных для эвакуации людей, должна быть не менее 2 м.
Тоннели для транспортировки горячих рулонов должны иметь проход не менее 1 м между стеной и конвейером.
2.19. При компоновке технических подвалов, тоннелей и технических этажей необходимо предусматривать мероприятия по эвакуации обслуживающего персонала и учитывать требования противопожарной безопасности глав СНиП по производственным зданиям промышленных предприятий, противопожарным нормам проектирования зданий и сооружений и сооружениям промышленных предприятий.
3. НАГРУЗКИ И РАСЧЕТ ФУНДАМЕНТОВ
3.1. Нагрузки в зависимости от продолжительности действия на фундаменты и на перекрытия технических этажей и подвалов подразделяются на постоянные и временные (длительные, кратковременные и особые).
3.2. К постоянным нагрузкам относятся: а) вес фундаментов и других строительных конструкций; б) вес и давление грунтов.
3.3. К временным длительным нагрузкам относятся:
а) вес стационарного технологического оборудования и технологических коммуникаций, установленных на фундаменты и перекрытия (стационарным считается оборудование, предназначенное для длительной эксплуатации на определенном месте в неподвижном положении относительно строительных конструкций);
б) вес прокатываемого или подвергающегося обработке металла и сменного оборудования, устанавливаемых на специальных площадках (штабели валков, сменные клети и т.д.);
в) вес деталей и материалов (склады, стенды) в местах систематического складирования в условиях эксплуатации;
г) давление грунтовых вод;
д) температурные воздействия.
3.4. К кратковременным нагрузкам относятся:
а) технологические нагрузки от оборудования;
б) вес людей, ремонтных материалов в зонах обслуживания и ремонта основного и вспомогательного технологического оборудования, а также нагрузки от производственных отходов и готовой продукции, временно располагаемой на свободных от оборудования участках (кроме складов);
в) нагрузки от веса временно складируемых конструкций, изделий и материалов в период монтажа и перестановки оборудования;
г) нагрузки от подвижного транспорта и подъемно-транспортного оборудования (подвесных кранов, тельферов, погрузчиков и т.п.).
3.5. К особым нагрузкам относятся:
а) нагрузки, вызываемые резкими нарушениями технологического процесса и нагрузки, возникающие при авариях (поломка шпинделей, соединительных муфт и т.п.);
б) сейсмические воздействия, определяемые с учетом требований главы СНиП по строительству в сейсмических районах;
в) воздействия от подработки, определяемые с учетом требований главы СНиП по строительству на подрабатываемых территориях.
3.6. Нагрузки и воздействия, не оговоренные в настоящем Руководстве, определяются в соответствии с требованиями стандарта СЭВ 1407-78 "Нагрузки и воздействия".
Технологические нагрузки от основного оборудования
3.7. Технологические нагрузки от основного оборудования определяются для условий работы в рабочем и аварийном режимах.
3.8. Для расчета нагрузок от основного оборудования, наименования и схемы приложения которых приведены в табл. 4, необходимо иметь сведения, перечень которых приведен в
табл. 5.
Таблица 4
Оборудование | Схема приложения нагрузок |
Горизонтальная рабочая клеть: опрокидывающий момент Mр.к; силы, возникающие при растяжении и сжатии T и при захвате прокатываемой полосы H | |
Вертикальная рабочая клеть: неуравновешенные центробежные силы ротора электродвигателя R; силы, возникающие при растяжении и сжатии T и при захвате прокатываемой полосы H | |
Шестеренная клеть: опрокидывающий момент Mш.к | |
Редуктор (комбинированный редуктор) опрокидывающий момент Mред, Mк.ред | |
Электродвигатель: опрокидывающий момент Mдв; вертикальная и горизонтальная составляющие центробежных сил ротора электродвигателя R | |
Характеристика оборудования | Обозначение | Размерность |
Номинальная мощность электродвигателя | N | кВт |
Нижняя граница регулирования оборотов возбуждения двигателя | n' | об/мин |
Масса ротора электродвигателя | mрот | кг |
Передаточное число редуктора | i | - |
Наименьшие диаметры соединительных шпинделей | d | м |
Временное сопротивление соединительных шпинделей | | Па |
Площадь поперечного сечения прокатываемой полосы | Fп | м2 |
Число одновременно прокатываемых полос | y | шт. |
Масса прокатных валков с подушками | mв.п | кг |
Масса заготовки | mз | " |
Скорость входа заготовки в клеть | vз | м/с |
3.9. Нормативные Mн (Н·м) и расчетные M (Н·м) опрокидывающие моменты в рабочем режиме от электродвигателя, редуктора шестеренной и рабочей клетей определяются по формулам:

; (1)

. (2)
Расчетный аварийный опрокидывающий момент от электродвигателя Mадв (Н·м) определяется по формуле

. (3)
Расчетные аварийные опрокидывающие моменты от редуктора, шестеренной клети, рабочей клети и комбинированного редуктора Mа (Н·м) определяются по формуле

. (4)
Коэффициенты
k1 -
k5 и
kа2 определяются по табл. 6 -
8. Коэффициент динамичности

принимается равным 2.
Таблица 6
Стан | Значения коэффициентов |
k1 | k3 | k4 | k5 |
Мелкосортный | 0,5 | 1,5 | 2,0 | 4,0 |
Среднесортный | 1,0 | 2,0 | 1,0 | 2,0 |
Крупносортный | 1,0 | 2,0 | 1,0 | 3,0 |
Заготовочный | 1,0 | 2,0 | 1,0 | 3,0 |
Листовой | 0,5 | 2,0 | 1,0 | 3,0 |
Таблица 7
Оборудование | Число пар шестерен редуктора | Значение коэффициента k2 при заклинке валка |
верхнего | нижнего |
Электродвигатель | Четное | -1 | -1 |
Нечетное | 1 | 1 |
Редуктор | Четное | 1 - i | 1 - i |
Нечетное | -1 - i | -1 - i |
Шестеренная клеть | Четное | 1,5i | 0,5i |
Нечетное | 1,5i | 0,5i |
Рабочая клеть | Четное | -0,5i | 0,5i |
Нечетное | -0,5i | 0,5i |
Комбинированный редуктор | Четное | 1 + 0,5i | -1 + 0,5i |
Нечетное | 1 - 0,5i | -1 - 0,5i |
Положительные моменты совпадают с направлением вращения нижнего рабочего валка прокатной клети.
Оборудование | Число пар шестерен редуктора | Значение коэффициента kа2 при заклинке валка |
верхнего | нижнего |
Электродвигатель | Четное | -1 | -1 |
Нечетное | +1 | +1 |
Редуктор | Четное | | |
Нечетное | | |
Шестеренная клеть | Четное | 1,5 | 0.5 |
Нечетное | 1,5 | 0.5 |
Рабочая клеть | Четное | -0,5 | +0,5 |
Нечетное | -0,5 | +0,5 |
Комбинированный редуктор | Четное | | |
Нечетное | | |
3.10. Нормативная величина горизонтальной силы
Tн (Н), возникающей при растяжении (сжатии) прокатываемой полосы в рабочем режиме, определяется по формуле
Tн = 2,4·107Fп, (5)
где Fп - максимальная площадь поперечного сечения прокатываемой полосы, м2 (при прокатке в две полосы принимается площадь одной полосы).
Коэффициент надежности по нагрузке для горизонтальной силы принимается равным 1,5 для мелкосортных и 2,0 - для среднесортных, крупносортных и заготовочных станов.
3.11. Нормативная горизонтальная сила
Pнг (Н), эквивалентная горизонтальному импульсу, возникающему при входе заготовки в клеть, определяется по
формулам (6) и
(7).
Для клетей, устанавливаемых на фундаменты, состоящие из верхней и нижней плит, соединенных стойками

, (6)
где

- круговая частота свободных горизонтальных колебаний центра масс клети, принимаемая равной 100 с
-1.
Для массивных и стенчатых фундаментов нормативная горизонтальная сила Pнг.м, Н, равна:

; (7)

, (8)
где h - расстояние от подошвы фундамента до уровня прокатки, м;

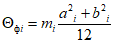
- момент инерции массы фундамента и установленного на нем оборудования относительно оси, проходящей через центр тяжести площади подошвы фундамента параллельно оси клети, кг·м
2, равный:

, (9)
где

- момент инерции
i-го объема фундамента относительно его геометрической оси, перпендикулярной оси прокатки;
mi - масса
i-го объема, кг;
hi - расстояние от оси
i-го объема до оси подошвы, м;

, (10)
где ai - ширина i-го объема; bi - высота i-го объема;

, (11)
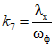
где

- собственная частота колебаний фундамента относительно оси, проходящей через центр тяжести площади подошвы фундамента параллельно клети,
с-1, определяемая по формуле

, (12)
где
Iф - момент инерции площади подошвы фундамента относительно его геометрической оси, перпендикулярной оси прокатки, м
4;

- коэффициент упругого неравномерного сжатия грунта основания, Н/м
3.
Коэффициент надежности по нагрузке принимается равным 1,8.
3.12. Нормативная величина неуравновешенной центробежной силы ротора электродвигателя
Rнэ, Н, определяется по формуле

, (13)
где

- наибольшая скорость двигателя, об/с.
Коэффициент надежности по нагрузке принимается равным 4.
3.13. Расчетная горизонтальная сила, возникающая при растяжении (сжатии) заготовки в аварийном режиме при прокатке в клетях непрерывной группы H (Н), определяется по формуле

, (14)
где

- предел текучести прокатываемой заготовки. Для участка черновой группы клетей

; для участка промежуточной группы клетей

; для участка чистовой группы клетей

;
k8 - коэффициент, учитывающий мощность привода клети и принимаемый равным 3 для черновой группы клетей мелкосортных станов и 1.5 для клетей всех других станов.
В отдельно стоящих клетях силы растяжения (сжатия) заготовки не возникают.
3.14. Нагрузки от других видов оборудования принимаются по строительному заданию завода-изготовителя.
3.15. Пример определения технологических нагрузок от оборудования приведен в
прил. 2.
Технологические нагрузки от вспомогательного оборудования
А. НАГРУЗКИ ОТ РОЛЬГАНГОВ
3.16. Основной динамической нагрузкой от рольгангов является импульсивная нагрузка, вызванная взаимодействием движущегося слитка с роликами рольганга и принимаемая в виде сосредоточенной силы, приложенной в середине длины ролика на уровне оси его вращения и перпендикулярно к ней.
3.17. Нормативная величина силы
Sн (Н), эквивалентная горизонтальному импульсу, определяется по формуле:

, (15)
где
m0 - масса заготовки, кг;
v0 - скорость движения (транспортировки) заготовки, м/с;

- коэффициент восстановления при ударе принимаемый равным 0,25.
Коэффициент надежности по нагрузке принимается равным 1,5.
Б. НАГРУЗКИ ОТ ДВИЖУЩИХСЯ ЗАГОТОВОК
3.18. Горизонтальная расчетная нагрузка Tу (Н), передаваемая на фундамент через механические упоры (амортизаторы) стационарного или подвижного типов, определяется по формуле

(16)
где
R - сила удара, Н;

- коэффициент, учитывающий условие работы конструкции и принимаемый равным 3.
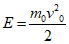
Значение R определяется по формуле

, (17)
где C - жесткость пружины, Н/м; E - энергия движущейся заготовки, Дж, равная:

; (18)
E1 - энергия, Дж, теряемая в результате удара, равная:

, (19)
где k - коэффициент, зависящий от упругопластических свойств ударяющейся заготовки (для горячего металла k = 0; для холодного - k = 0,5); m - масса деталей упора, перемещающихся во время удара, кг.
В. ВРЕМЕННЫЕ НАГРУЗКИ
3.19. Исходные данные для определения временных нагрузок на перекрытия технических подвалов и этажей задаются технологами.
Величины эквивалентных равномерно распределенных нагрузок определяются строителями на основе выданных исходных данных и принятого конструктивного решения перекрытия.
3.20. В исходных данных для определения временных нагрузок на перекрытия должны содержаться:
сведения по технологическому оборудованию, устанавливаемому на перекрытии (масса, габариты, количество и площадь опорных частей);
сведения по складируемым материалам (масса металла, огнеупоров и т.д., размеры штабелей и пирамид с указанием проходов между ними);
сведения по напольному транспорту (характеристики и количество транспортных средств).
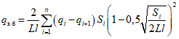
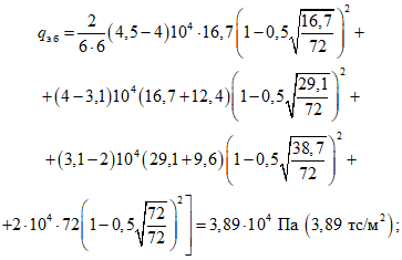
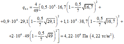
3.21. На основе исходных данных для каждого вида оборудования или складируемого материала вычисляется интенсивность распределенной нагрузки qi, Па, и соответствующая ей грузовая площадь Fi, м2.
Грузовая площадь Fi определяется габаритами оборудования в плане с учетом проходов.
Интенсивность нагрузки qi определяется как отношение веса оборудования к его грузовой площади.
По этим данным строится график (рис. 2), на котором по вертикали откладываются интенсивности нагрузок в порядке их убывания, а по горизонтали соответствующие им грузовые площади.
Рис. 2. График распределения нагрузки
от сгруппированного оборудования
Для каждого конструктивного элемента определяется предельная грузовая площадь Fпр, которая также наносится на график. Нагрузки, лежащие за пределами грузовой площади, в расчете не учитываются.
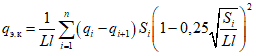
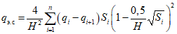
Предельная грузовая площадь для среднего и крайнего ригелей составляет соответственно 2Ll и Ll, для средней и крайней колонн - 4Ll и 2Ll, для стены - H2, где L и l поперечный и продольный шаг колонн, H - заглубление подвала (расстояние от пола подвала до пола цеха).
3.22. Эквивалентная равномерно распределенная нагрузка на плиты перекрытия определяется по фактически действующим нагрузкам с учетом их невыгоднейшего расположения.
3.23. Эквивалентная равномерно распределенная нагрузка, Па, для балок
qэ.б, колонн
qэ.к и стен подвала
qэ.с определяется с помощью графика
рис. 2 по формулам:

; (20)

; (21)

, (22)
где Si = F1 + F2 + ... + Fi; qn+1 = 0.
Пример определения временных эквивалентных нагрузок для балок, колонн и стен подвала приведен в
прил. 3.
Г. ТЕМПЕРАТУРНЫЕ ВОЗДЕЙСТВИЯ
3.24. Температурные воздействия на элементы конструкций сооружений подразделяются на повышенные (от 50 до 200° C) и высокие (свыше 200° C).
3.25. Воздействию повышенных температур подвергаются: фундаменты под загрузочные рольганги печей с передаточными шлепперами при горячем посаде металла, четырехзонные методические печи, фундаменты шлепперов у чистовой линии, фундаменты раскатных рольгангов, фундаменты подводящих и отводящих рольгангов, фундаменты пил горячей резки; на толстолистовых станах - фундаменты методических печей в зоне выдачи, фундаменты рольгангов перед и за первыми ножницами (не охлаждаемых водой), фундаменты ножниц и рольгангов холодильников пол в зоне охлаждения плит, фундаменты рольгангов перед душирующими устройствами.
При отсутствии данных о режиме нагрева указанных фундаментов расчетную температуру нагрева их поверхности следует принимать равной 200 °C.
3.26. Воздействию высоких температур подвергаются: фундаменты под питатели подходящих рольгангов, холодильники, ямы обрезков; фундаменты под рольганги на участке сталкивателя плит, шлепперов, конструкция и фундаменты печей с выкатным полом.
Расчетную температуру нагрева поверхности этой группы фундаментов следует принимать равной 350 °C.
При проектировании колодцев замедленного охлаждения проката расчетную температуру внутренней поверхности необходимо принимать равной 900 °C.
КОЭФФИЦИЕНТЫ НАДЕЖНОСТИ ПО НАГРУЗКЕ
3.27. Коэффициенты надежности по нагрузке принимаются:
а) при расчете на прочность - по табл. 9 и
пп. 3.10 -
3.12 и
3.17 настоящего Руководства;
Таблица 9
Нагрузки | Коэффициент надежности по нагрузке |
1. Собственный вес строительных конструкций | 1,1 |
2. Грунты в природном залегании | 1,1 |
3. Грунты, уплотненные в засыпке: | |
при определении давления: | |
бокового | 1,1 |
вертикального на перекрытие | 1,2 |
4. Собственный вес технологического оборудования, производственных отходов и готовой продукции | 1,2 |
5. Нагрузки от веса погрузчиков и каров | 1,2 |
6. Временные равномерно-распределенные нагрузки на перекрытии | 1,2 |
б) при расчете по деформациям - равным единице.
3.28. При расчете конструкций на воздействие усилий, возникающих при их подъеме, транспортировании и монтаже, нагрузку от собственного веса элемента следует вводить в расчет с коэффициентом динамичности, равным: при транспортировании 1,8; при подъеме и монтаже - 1,5. В этом случае коэффициент надежности по нагрузке от собственного веса элемента не вводится.
3.29. Расчет массивных фундаментов под оборудование сводится к проверке отдельных участков на прочность, а также к определению давлений, передаваемых фундаментами на грунт. Нагрузки от веса оборудования принимаются равномерно распределенными по фактической площади опирания оборудования.
3.30. Расчет облегченных фундаментов под технологическое оборудование сводится к расчету рамы или бруса на упругом основании. Все нагрузки принимаются статическими, в том числе и нагрузки от неуравновешенной центробежной силы. Расчет облегченных фундаментов на колебание не производится.
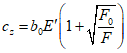
Коэффициент упругого равномерного сжатия грунта основания cz (Н/м3) следует определять по результатам испытаний.
При отсутствии экспериментальных данных значение cz для фундаментов с площадью подошвы F не более 200 м2 допускается определять по формуле

, (23)
где b0 - коэффициент, м-1, принимаемый равным: для песков 1, для супесей и суглинков - 1,2, для глин и крупнообломочных грунтов - 1,5; E' - модуль деформации грунта, Па; F - площадь подошвы фундамента, м2; F0 = 10 м2.
Для фундаментов с площадью подошвы F, превышающей 200 м2, значение коэффициента cz принимается как для фундаментов с площадью подошвы F = 200 м2.
Коэффициент упругого неравномерного сжатия грунта основания

, Н/м
3, принимается равным:

. (24)
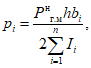
3.31. При расчете фундаментов, связанных соединительными элементами, в верхней части (железобетонными балками, плитами-перемычками и пр.), краевое давление (отпор) pi, Па, от действия горизонтальной силы для каждого i-го фундамента определяется по формуле

(25)
где
Pнг.м - нормативная горизонтальная статическая сила, эквивалентная горизонтальному импульсу, возникающему при входе заготовки в клеть, и определяемая по
формуле (7);
h - расстояние от подошвы фундамента до уровня прокатки;
bi - ширина
i-го фундамента;

- сумма моментов инерции площади подошв фундаментов, связанных соединительными элементами.
3.32. Тонкостенные конструкции (тоннели, стены подвалов и т.п.), а также плитные фундаменты рассчитываются по обычным правилам строительной механики с учетом, в необходимых случаях, работы упругого основания.
3.33. Железобетонные конструкции фундаментов, работающие в условиях воздействия повышенных и высоких температур, рассчитываются на основе "Инструкции по проектированию бетонных и железобетонных конструкций, предназначенных для работы в условиях воздействия повышенных и высоких температур" (СН 482-76). При этом величина температурного момента
Mt в характерных конструктивных элементах фундаментов, указанных в
табл. 10, определяется по формуле

, (26)
где B - жесткость сечения элемента, принимается по СН 482-76;

- температурная кривизна, вычисляемая по формуле

. (27)
N элемента | Конструкция фундамента или подземного сооружения | Характерный конструктивный элемент | Характер распределения температуры |
1 | | Балка-распорка | |
2 | | Плита фундамента под печь | |
3 | | Подпорная стена холодильника | |
4 | | Колодец замедленного охлаждения | |
5 | | Облегченный фундамент | |
6 | | Тоннель рольганга | |
Коэффициент линейной температурной деформации

принимается по табл. 14 СН 482-76, температура менее нагретой поверхности
tв - по
табл. 11 в зависимости от высоты сечения элемента
h.
Примечание. Величина температурного момента для элементов N 3 и 4 снижается на 25%.
| Температура менее нагретой поверхности tв, °C, при высоте сечения элемента h, м |
20 | 40 | 60 | 80 | 100 | 120 |
1 | - | 0,77 | 0,76 | 0,78 | 0,82 | 0,88 |
2 | 0,54 | 0,36 | 0,44 | 0,46 | 0,44 | 0,28 |
3 | 2,10 | 1,36 | 0,90 | 0,80 | 0,80 | 0,60 |
4 | 1,80 | 1,60 | 1,50 | 1,90 | 1,80 | 1,66 |
5 | 0,62 | 0,50 | 0,45 | 0,44 | 0,46 | 0,50 |
6 | 0,80 | 0,56 | 0,46 | 0,40 | 0,36 | 0,34 |
4.1. Проектная марка бетона по прочности на сжатие для монолитных фундаментов должна быть не ниже марки M 150, а для сборных - не ниже марки M 200.
4.2. Проектная марка бетона по морозостойкости должна быть не ниже Mрз 50, если по условиям, указанным в задании на проектирование, не предусмотрены более высокие требования к бетону по морозостойкости.
4.3. Конструкции подземного хозяйства, за исключением массивных фундаментов под оборудование, находящиеся в зоне технологического воздействия воды или водной эмульсии, должны выполняться из бетона повышенной водонепроницаемости марки не ниже B6, если эти конструкции не имеют специального защитного покрытия.
При воздействии на фундаменты агрессивных сред (масляной, кислотной, щелочной и др.) фундаменты следует проектировать из специальных бетонов или с защитными покрытиями согласно
разд. 11 настоящего Руководства.
4.4. Подготовку под монолитные фундаменты следует предусматривать из бетона марки M 50 толщиной 0,1 м, а в агрессивных грунтовых условиях - из слоя щебня, пропитанного битумом.
Подготовку под сборные фундаменты и другие сборные подземные конструкции следует предусматривать в виде утрамбованного в грунт щебня или в виде песчаной подготовки.
Подбетонки в местах перепадов подошв и в местах примыкания к другим конструкциям на разных уровнях необходимо проектировать из шлакобетона или бетона марки M 50.
Набетонки для создания уклонов в полах необходимо проектировать из бетона марки M 150 или цементно-песчаного раствора марки M 200.
4.5. Подливку под оборудование необходимо осуществлять бетонной смесью, цементно-песчаными или специальными растворами.
Марка бетона или раствора должна приниматься не ниже марки бетона фундамента.
Толщина слоя подливки принимается в пределах 50 - 80 мм. При толщине подливки более 100 мм из тела фундамента следует предусматривать арматурные выпуска (щетину) или использовать подливку на безусадочном цементе. При наличии на опорных поверхностях оборудования ребер зазор принимается от низа ребер.
Подливка в плане должна выступать за опорную поверхность оборудования не менее чем на 100 мм.
Размер крупного заполнителя бетонной смеси не должен превышать 20 мм.
4.6. Арматурная сталь, применяемая для армирования фундаментов и для монтажных (подъемных) петель сборных железобетонных элементов, а также фасонный, листовой и другие виды проката, применяемых для закладных деталей и стальных конструкций, должны назначаться в соответствии с требованиями главы СНиП по проектированию бетонных и железобетонных конструкций и главы СНиП по проектированию стальных конструкций. При этом должны учитываться температурные и технологические условия эксплуатации и характер действующих нагрузок и воздействий.
4.7. При воздействии на бетон высоких температур следует предусматривать устройство различных экранов (металлические обшивки, жаропрочные футеровки, облицовки из керамических плиток, огнеупоров и других материалов) или применять жаростойкие бетоны.
5. КОНСТРУКТИВНЫЕ РЕШЕНИЯ
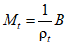
5.1. Фундаменты под оборудование, как правило, должны закладываться на естественных грунтах ненарушенного сложения. При наличии в основании фундамента слабых грунтов (торфянистых, насыпных, илистых и т.п.) слоем небольшой мощности этот слой следует заменять непросадочными заполнителями (песком, доменными структуроустойчивыми шлаками) либо заглублять фундаменты до грунтов с необходимой несущей способностью. При этом фундаменты рекомендуется заглублять в грунт естественного залегания не менее чем на 0,5 м. При мощности слоя слабых грунтов под подошвой фундамента более 2 м фундаменты рекомендуется устанавливать на столбы или стены (рис. 3). При значительной мощности слоя слабых грунтов следует принимать искусственное или свайное основание.
Рис. 3. Опирание фундамента оборудования
при слабых или насыпных грунтах
1 - фундамент; 2 - слабый (или насыпной) грунт; 3 - столбы
или стены; 4 - грунт естественного залегания (несущий)
5.2. Фундаменты под вспомогательное оборудование допускается как исключение возводить на насыпных грунтах, если эти грунты не содержат гумуса, древесных опилок и стружек, органического мусора и подобных примесей, вызывающих большие деформации грунта при сжатии.
Расчет оснований, сложенных насыпными грунтами, следует производить по главе СНиП по основаниям зданий и сооружений с учетом рекомендаций "
Руководства по устройству обратных засыпок котлованов с подготовкой оснований под технологическое оборудование и полы на просадочных грунтах", НИИОСП, 1980 г.
5.3. Глубина заложения подошвы фундамента определяется конструкцией фундамента, глубиной заложения расположенных рядом с фундаментом тоннелей, каналов, подвалов, фундаментов зданий, оборудования и др. В отдельных случаях глубина заложения подошвы фундамента определяется грунтовыми условиями площадки или условиями промерзания грунта.
5.4. Подошву фундамента рекомендуется назначать по возможности на одном уровне. В случае когда это приводит к значительному перерасходу материалов, допускается устраивать подошву фундамента на разных уровнях с перепадом отметок подошвы фундамента, кратным 300 мм.
5.5. Разность отметок заложения расположенных рядом фундаментов (
рис. 4,
а) не должна превышать величины

, определяемой по формуле

, (28)
где
a - расстояние между фундаментами в свету;

- тангенс угла сдвига;

, (29)
где

и
c1 - расчетные значения соответственно угла внутреннего трения и удельного сцепления грунта;
p - среднее давление на грунт под подошвой выше расположенного фундамента от нагрузок, принимаемых с учетом коэффициентов надежности по нагрузке и грунту, соответствующих расчету оснований по несущей способности.
Рис. 4. Расположение подошв фундаментов на разных отметках
а - фундаменты, расположенные вне зоны обрушения грунта;
б - фундаменты, расположенные в зоне обрушения грунта;
1 - фундамент под колонну здания;
2 - фундаменты оборудования; 3 - подбетонка
5.6. При близком расположении фундаментов с разными отметками, когда
условие (28) не удовлетворяется под фундаментом с более мелким заложением, необходимо предусмотреть подбетонку враспор ненарушенного грунта (
рис. 4,
б) или обратную засыпку из крупнообломочного или песчаного грунта с уплотнением.
5.7. В местах примыкания фундаментов оборудования к фундаментам здания отметки их подошв следует назначать, как правило, на одном уровне. При этом должна обеспечиваться независимая осадка этих фундаментов.
5.8. Перепады подошв железобетонных фундаментов следует выполнять, как правило, с вертикальными гранями и заполнением пазух котлованов подбетонками враспор грунту, а перепады подошв бетонных фундаментов - с уклоном (рис. 5). Уклоны стенок котлованов принимаются в соответствии с главой СНиП по земляным сооружениям.
Рис. 5. Перепады подошвы фундамента
а - с вертикальными гранями; б - с наклонными гранями;
1 - железобетонный фундамент; 2 - подготовка;
3 - подбетонка; 4 - грунт; 5 - бетонный фундамент
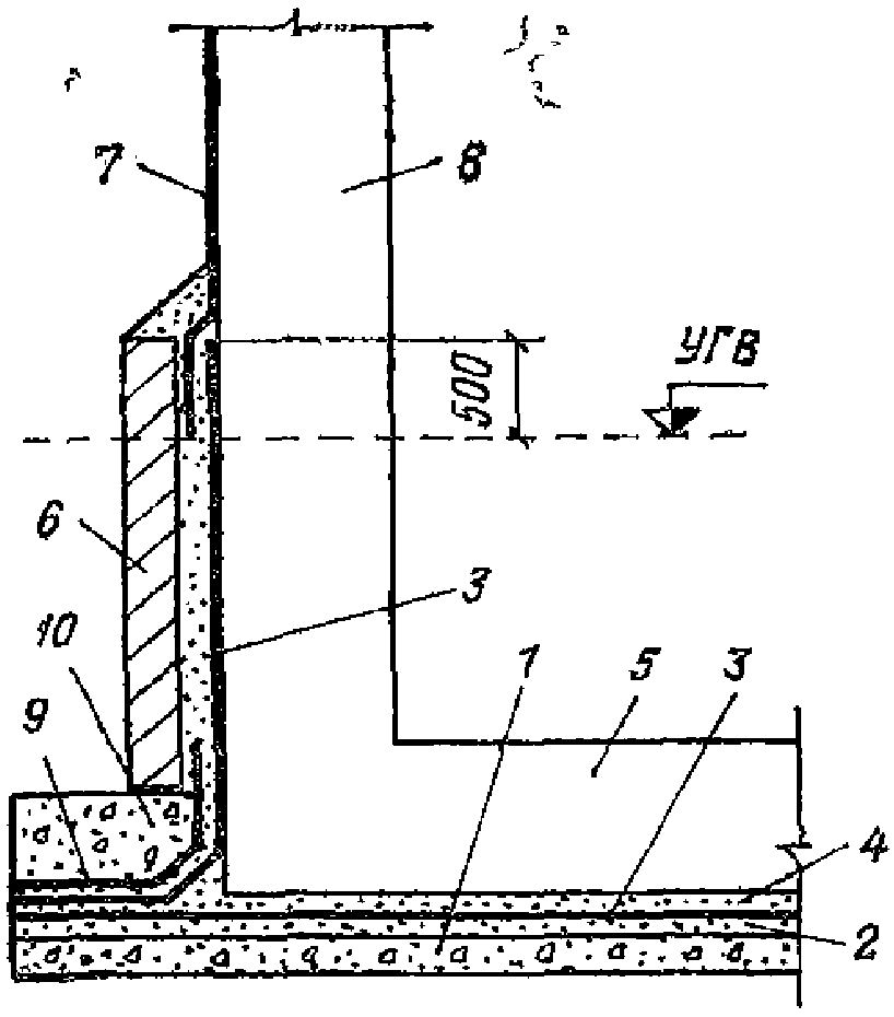
5.9. Фундаменты, располагаемые рядом с опускным колодцем, следует размещать на расстоянии
B (рис. 6), определяемом по формуле

, (30)
где

. (31)
Рис. 6. Примыкание фундаментов к опускному колодцу
5.10. Расстояние от края станины оборудования до края фундамента должно быть не менее 100 мм.
5.11. Для обеспечения прохода расстояние между оборудованием и вертикальной гранью фундамента (на высоту 2 м) должно быть не менее 0,8 м (рис. 7).
Рис. 7. Расположение оборудования
в местах выступов и у края фундаментов
5.12. Толщина днища тоннеля гидросмыва окалины, расположенного в теле фундамента, должна быть не менее 0,5 м.
5.13. Перепад отметок отдельных участков верхней части фундаментов рекомендуется принимать не менее 100 мм, а при крупногабаритных машинах - не менее 300 мм. Перепады меньше 100 мм могут выполняться за счет толщины подливки.
Размеры фундаментов в плане следует принимать кратными 100 мм.
5.14. Для отвода случайных вод в каналах и тоннелях должен быть предусмотрен продольный уклон к месту стока не менее 0,002 и поперечный - не менее 0,01. Продольный уклон лотков тоннелей гидросмыва окалины не должен превышать 0,02 - 0,04 в тех местах, где от этих уклонов зависит глубина заложения фундаментов.
Продольный уклон для кабельных тоннелей должен быть не менее 0,005.
Уклоны в лотках, каналах и тоннелях для стока воды следует выполнять за счет набетонки. Максимальная толщина набетонки не должна превышать 300 мм. При больших уклонах и значительной протяженности тоннелей гидросмыва окалины толщины набетонки принимается постоянной, а уклон создается за счет верхней поверхности днища. Нижняя поверхность днища при этом выполняется горизонтальной с уступами по вертикали (рис. 8).
Рис. 8. Тоннель гидросмыва окалины
1 - балка-распорка; 2 - лоток гидросмыва
окалины; 3 - набетонка; 4 - днище тоннеля
Поперечный уклон выполняется за счет подливки толщиной не менее 30 мм.
5.15. При решении тоннелей гидросмыва окалины из сборных элементов в продольном направлении следует предусматривать ступенчатое расположение стен тоннелей.
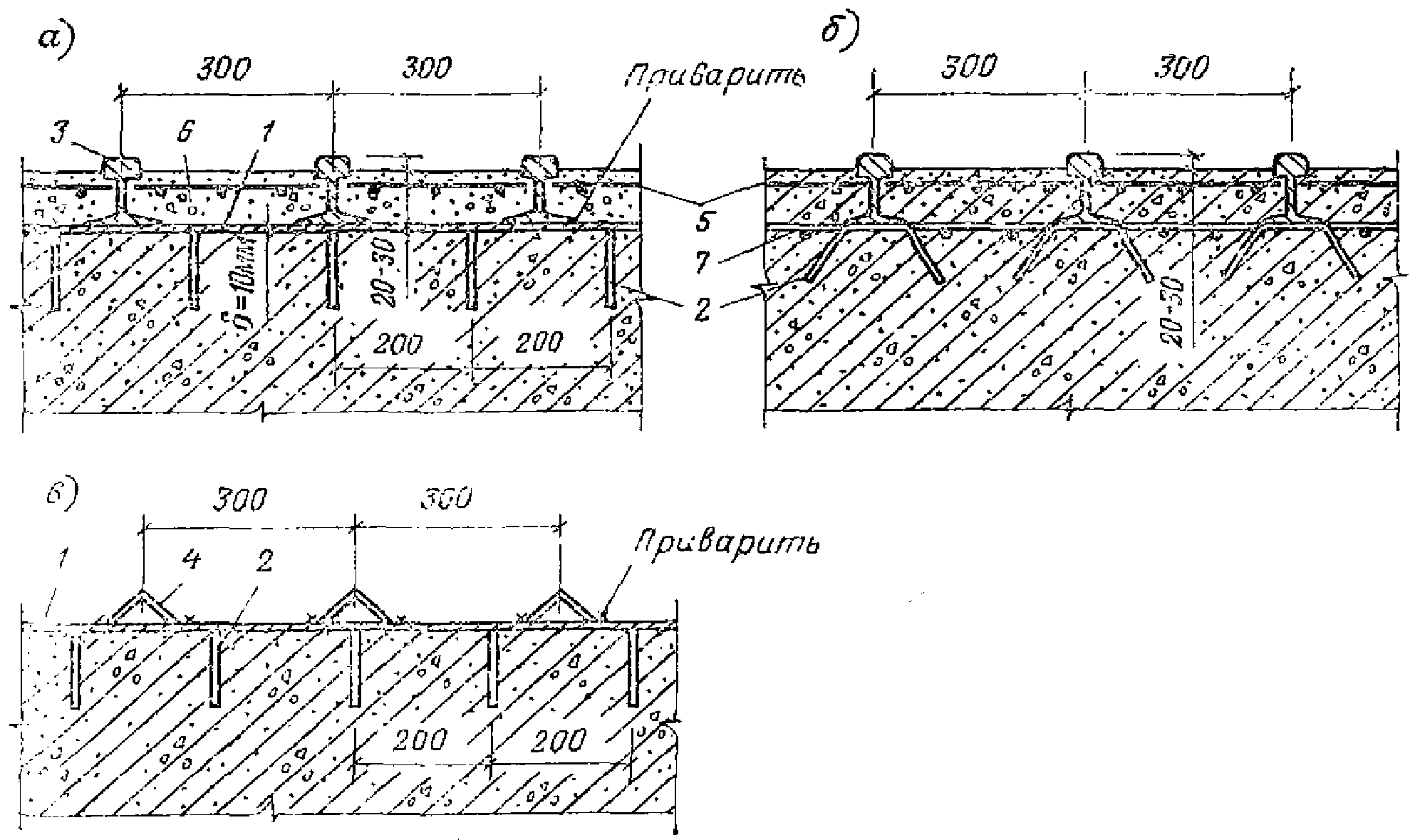
5.16. Фундаменты, разделенные на части глубокими открытыми тоннелями, следует связывать поверху железобетонными балками-распорками через 3 - 6 м (рис. 9). При глубине тоннелей более 10 - 12 м распорки рекомендуется ставить в два яруса. Расположение балок должно быть увязано с расположением оборудования.
Рис. 9. Ходовые скобы и их ограждение
а - детали установки ходовых скоб в бетоне;
б - деталь установки ограждения
В стенчатых фундаментах балки-распорки, как правило, воспринимают горизонтальное давление через условные продольные балки (усиленное местное армирование стены), предусматриваемые в стенах в уровне опирания на распорки.
5.17. Приямки для сбора воды и случайных стоков следует назначать размером в плане 0,4·0,4 м и глубиной 0,4 м, если габариты их не продиктованы особыми технологическими требованиями.
5.18. Лазы (шахты) в тоннеле должны быть размером в сечении не менее 0,9·0,9 м, а люки лазов не менее 0,8·0,8 или диаметром не менее 0,8 м. Лазы, не имеющие люков должны иметь ограждения высотой 1 м со сплошной обшивкой по низу на высоту 0,14 м.
В лазах необходимо предусматривать скобы или вертикальные лестницы. Скобы выполняются из арматуры диаметром 22 мм стали класса А-I. Расстояние между скобами по высоте принимается 0,3 м. Детали установки скоб приведены на
рис. 9,
а.
При перепаде отметок более 5 м, где расстояние от скобы или лестницы до противоположной стенки более 1 м, начиная с высоты 3 м от низа, необходимо предусматривать ограждения в виде полуколец, заделанных в бетон, с шагом 0,8 м (см.
рис. 9,
б).
5.19. Приямки и перепады в фундаментах глубиной до 0,3 м должны иметь ограждение в виде бортика высотой 0,15 м, а при глубине их более 0,3 м - перила.
5.20. В целях предотвращения попадания масла, воды и окалины в технический подвал, в перекрытии или в верхней фундаментной плите в местах прохода коммуникаций необходимо закладывать гильзы из труб, выступающих над поверхностью пола или бетона на 30 - 50 мм.
5.21. Уклон металлических лестниц следует принимать 1:1, железобетонных - 1:2.
Для прохода к одиночным рабочим местам допускается уклоны увеличивать для металлических лестниц до 2:1 и железобетонных до 1:1,5.
Ширина марша лестниц должна приниматься не менее 0,7 м.
Ширину проступи при уклоне лестниц 1:2 следует принимать 0,3 м, а при большем уклоне - не менее 0,26 м.
5.22. Лестницы, устраиваемые в массивах фундаментов, должны иметь перила и поручни по бокам. Ступени бетонных лестниц должны окаймляться металлическими уголками.
5.23. Монтажные люки в перекрытиях подвалов, используемые в период производства строительно-монтажных работ, следует перекрывать сборными плитами, устанавливаемыми в уровне всего перекрытия, поверх которых устраивается конструкция пола, как под всем перекрытием.
Эксплуатационные люки перекрываются плитами, выходящими на уровень пола цеха, верхний слой этих плит выполняется из материала покрытия пола данного участка цеха.
Эксплуатационные проемы, перекрытые сборными элементами, не должны пропускать промышленные (случайные) стоки жидкостей, а также мусор.
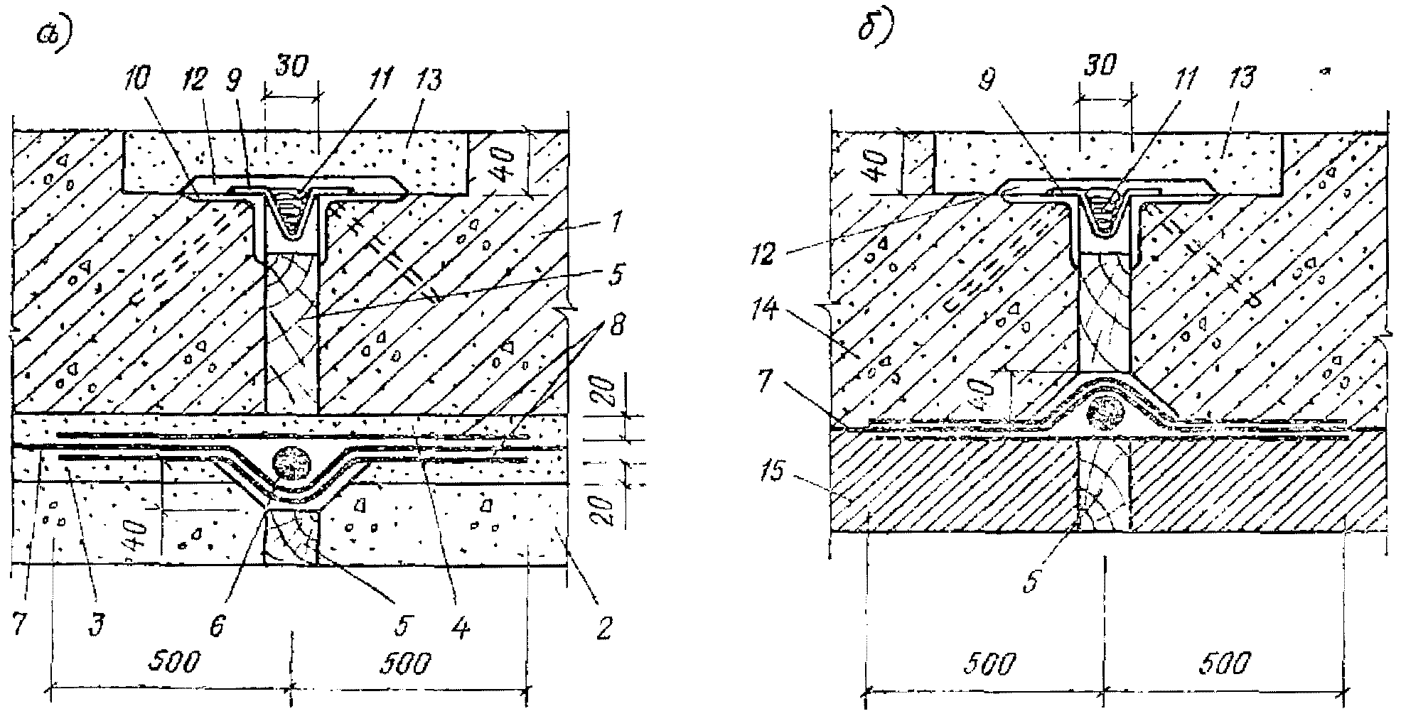
5.24. Для восприятия горизонтальных сил, вызывающих сдвиг оборудования на фундаментах, в случае когда не выполняется условие

, (32)
необходимо предусматривать устройство железобетонных упоров
(рис. 10) или стальных закладных рам
(рис. 11).
Ф - сдвигающая расчетная горизонтальная сила, Н;
G - вес оборудования, Н; 0,5 - коэффициент трения;

- сумма сил от предварительного натяжения фундаментных болтов, Н (здесь
Rар - расчетное сопротивление металла болта растяжению, Па;
Fб - площадь сечения болта по резьбе, м
2;
n - количество болтов; 0,2 - коэффициент, учитывающий величину предварительного натяжения болтов в процессе эксплуатации).
Рис. 10. Устройство железобетонных упоров
а - при действии односторонней сдвигающей силы;
б - при действии двусторонней сдвигающей силы; в - то же,
при наличии проемов в опорных станинах оборудования;
1 - армированный упор; 2 - оборудование, 3 - подливка
Рис. 11. Конструкция упора в виде стальной закладной рамы
1 - механический упор; 2 - стальная рама; 3 - упорный столик
(приваривается после монтажа оборудования); 4 - фундамент
5.25. При расчете железобетонных упоров или стальных рам силы трения, возникающие от веса оборудования и затяжки фундаментных болтов, не учитываются.
5.26. Передача горизонтальных сил от оборудования на бетон упора
(рис. 10) производится через подливку, расчетное сопротивление которой на смятие принимается равным
Rсм = 0,6Rпр, (33)
где Rпр - расчетное сопротивление бетона осевому сжатию, Па.
5.27. Участки фундаментов, подвергающиеся систематическим механическим ударным воздействиям (например, ямы для обрезков, балки-распорки и др.), следует защищать специальными стальными облицовками или предусматривать другие специальные мероприятия по защите.
5.28. Кромки фундаментов, проемов, лотков и других конструкций, подвергающиеся механическим воздействиям, должны иметь обрамление из профильной стали для предохранения бетона от разрушения.
5.29. Для предохранения фундамента под рамой кармана от разрушения (при сбрасывании в карман готовой продукции, обрезков и т.п.) рекомендуется укладывать под рамы дубовые брусья, резиновые прокладки или другие амортизирующие материалы (рис. 12), а бетон фундамента усилить арматурными сетками согласно
п. 9.6 настоящего Руководства.
Рис. 12. Способ предохранения бетона
фундаментов под рамой кармана от разрушения
1 - подливка; 2 - дубовые брусья 200 x 200 мм;
3 - арматурные сетки
5.30. Внутренние поверхности ям для окалины, приямков у ножниц и пил и другие участки, подвергающиеся ударам грейфера или бадей, должны быть защищены от разрушения рельсами, бывшими в употреблении, или уголками, привариваемыми к закладным стальным полосам, устанавливаемым горизонтально через 0,8 - 1 м по высоте (рис. 13).
Рис. 13. Способы защиты бетона от ударных воздействий
а, б - рельсами, бывшими в употреблении; в - уголками;
1 - стальная закладная полоса; 2 - анкерные стержни;
3 - рельсы; 4 - стальные уголки; 5 - арматурные сетки;
6 - мелкозернистый бетон; 7 - арматура конструкции
Приварку рельс к закладным полосам следует производить электродами типа Э-42А.
5.31. В тоннелях гидросмыва окалины для защиты обслуживающего персонала от кусков падающей окалины над проходом следует устраивать защитные козырьки и ограждения со стороны лотков (
рис. 14,
а).
Толщину стального листа для защитного козырька следует назначать 8 - 10 мм в зависимости от размера кусков падающей окалины. Вместо металлических козырьков могут быть предусмотрены бетонные выступы (рис. 14, б).
Рис. 14. Устройство ограждения в тоннеле гидросмыва окалины
а - с металлическим козырьком; б - с бетонным выступом
(козырьком); 1 - балка-распорка; 2 - защитный козырек;
3 - ограждение (перила); 4 - лоток гидросмыва окалины
5.32. Лотки гидросмыва окалины (рис. 15) необходимо проектировать из чугунных желобов, поставляемых заводом-изготовителем оборудования, или каменного литья.
Рис. 15. Пример устройства лотков гидросмыва окалины
1 - тоннель гидросмыва; 2 - лоток;
3 - набетонка; 4 - торкрет-штукатурка по насечке
Днище канала гидросмыва окалины и стены на высоту 1 м от лотка должны быть защищены от воздействия технической воды торкрет-штукатуркой. Допускается вместо торкрет-штукатурки, при соответствующем обосновании, канал гидросмыва окалины выполнять из бетона повышенной, водонепроницаемости марки не ниже B6.
Узкие и глубокие лотки для смыва окалины в плитных фундаментах (типа фундаментов нагревательных печей) целесообразно устраивать стальными, причем вертикальные листы доводятся до верха плиты (рис. 16).
Рис. 16. Стальной лоток гидросмыва
окалины в плитных фундаментах
1 - лоток гидросмыва окалины; 2 - анкер
5.33. В целях предохранения коммуникационных труб (водопроводных, вентиляционных и др.) от повреждений в местах выхода их из фундаментов оборудования в грунт, а также при проходе труб через температурные швы, необходимо предусматривать следующие защитные мероприятия:
а) для труб диаметром до 150 мм - закладывать гильзы из труб большого диаметра (
рис. 17,
а);
б) для труб диаметром 150 мм и более - устраивать "компенсирующие ниши" (
рис. 17,
б). Длина компенсирующей ниши для труб диаметром до 400 мм принимается равной 2 - 3 диаметрам трубы, а для труб диаметром свыше 400 мм - устанавливается по расчету, исходя из ожидаемой разности осадок и прочности трубы;
в) для труб разводки кабельных сетей - устраивать железобетонные или кирпичные короба (рис. 17, в), места установки которых указываются в электрической части проекта.
Рис. 17. Мероприятия по защите коммуникационных
труб в местах выхода их из фундаментов
и устройство компенсационных ниш
а - прокладка труб в гильзах; б - устройство
"компенсирующих ниш"; в - устройство специальных коробов;
1 - стальная гильза; 2 - деревянный короб;
3 - железобетонный короб; 4 - кирпичная стенка
6. ТЕМПЕРАТУРНО-УСАДОЧНЫЕ И ДЕФОРМАЦИОННЫЕ ШВЫ,
ВРЕМЕННЫЕ УСАДОЧНЫЕ И РАБОЧИЕ ШВЫ БЕТОНИРОВАНИЯ
6.1. Температурно-усадочные швы назначаются для обеспечения свободы температурных деформаций и для исключения перенапряжений в массивах фундаментов от усадочных деформаций бетона.
6.2. Температурно-усадочные швы в фундаментах устраиваются на расстоянии не более 20 м - для монолитных бетонных, 40 м - для монолитных железобетонных и 50 м - для сборно-монолитных фундаментов.
Расстояние между температурно-усадочными швами в фундаментах допускается увеличивать при соответствующем обосновании и проверке конструкций расчетом.
Температурно-усадочные швы в подвалах устраиваются на расстоянии не более 60 м для монолитных и 120 м - для сборных и сборно-монолитных конструкций.
Температурно-усадочные швы в тоннелях (за исключением тоннелей горячекатаных рулонов) должны предусматривать на расстоянии не более 120 м.
6.3. Деформационные швы назначаются для обеспечения независимой друг от друга осадки отдельных частей фундамента.
6.4. Места температурно-усадочных деформационных швов в фундаментах оборудования указываются в строительном задании или устанавливаются в строительной части проекта по согласованию с технологами.
6.5. Температурно-усадочные и деформационные швы следует располагать таким образом, чтобы они разделяли фундамент на отдельные участки, несущие не связанное между собой (валами и другими передаточными механизмами) оборудование. При гибкой связи оборудования (цепной, ременной и др.) допускается по согласованию с технологами или машиностроителями назначать температурно-усадочные и деформационные швы между связанными механизмами.
6.6. Температурно-усадочные и деформационные швы, как правило, должны совмещаться. Отличаясь по назначению, они имеют одинаковые конструктивные решения. Толщина швов принимается 30 мм, если нет специальных указаний.
6.7. При отсутствии грунтовых вод температурно-усадочные и деформационные швы в монолитных конструкциях выполняются путем прокладки между массивами бетона просмоленных досок, обернутых толем, по всей площади поперечного сечения. Со стороны помещения (тоннеля) швы заделываются просмоленной паклей (или другим герметизирующим материалом) и зачеканиваются цементным раствором (рис. 18).
Рис. 18. Устройство в фундаментах деформационных
и температурно-усадочных швов (в плане)
с прокладкой просмоленной доски
а - при отсутствии подвальных помещений;
б - с подвальными помещениями; 1 - фундамент;
2 - просмоленная доска, обернутая толем;
3 - просмоленная пакля; 4 - цементный раствор; 5 - грунт
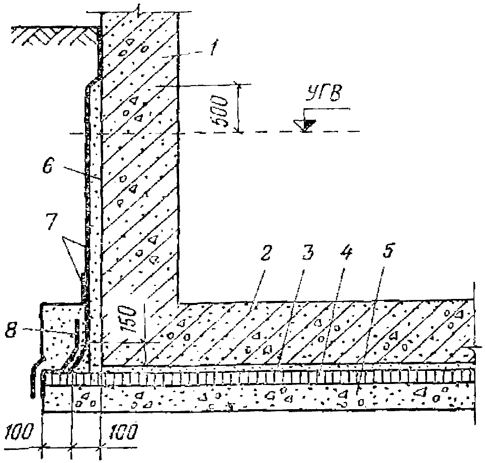
6.8. При наличии грунтовых вод, а также с целью недопущения проникания производственных вод в грунт (например, в тоннеле гидросмыва окалины), конструкции температурно-усадочных и деформационных швов должны быть водонепроницаемыми.
Пример решения водонепроницаемого шва для защиты от грунтовых вод приведен на рис. 19.
Рис. 19. Пример устройства
водонепроницаемого деформационного шва
а - для днища; б - для стен; 1 - железобетонное днище;
2 - бетонная подготовка; 3 - выравнивающая цементная стяжка;
4 - защитная цементная стяжка; 5 - просмоленная доска;
6 - гернитовый шнур на тиоколовой мастике; 7 - оклеечная
гидроизоляция (основная); 8 - стеклоткань, пропитанная
битумом;
9 - компенсатор из оцинкованной стали

(приваривается к закладным деталям водонепроницаемым швом);
10 - закладные детали; 11 - просмоленная пакля;
12 - битумная мастика (покраска); 13 - цементный раствор;
14 - железобетонная стена; 15 - прижимная стенка
6.9. В случае, если фундаменты не могут быть разделены температурно-усадочными швами на участки, указанные в
п. 6.2, для уменьшения усадочных напряжений в проекте необходимо предусматривать временные усадочные швы шириной от 0,7 до 1,2 м. В этих случаях из массива фундаментов с обеих сторон временного шва (в уровне подошвы и верхней поверхности) должна быть выпущена рабочая арматура, которую спустя 3 - 4 недели после бетонирования фундаментов необходимо соединить сваркой с помощью накладных стержней или внахлестку, а шов замонолитить бетоном той же марки, что и фундамент. Кроме того, по всей поверхности шва бетонирования должна быть установлена арматура (щетина) в соответствии с п. 6.10.
6.10. При вынужденном перерыве в бетонировании более 2 ч в фундаментах устраиваются рабочие швы бетонирования.
Для обеспечения связи ранее уложенного бетона с вновь укладываемым должна быть установлена арматура по всей сопрягаемой поверхности и произведена тщательная очистка поверхности бетона от грязи и цементной пленки с проливкой водой.
Арматура в зоне рабочего шва бетонирования устанавливается в виде стержней диаметром 12 - 16 мм, класса А-II, на расстоянии 0,4 - 0,6 м друг от друга, с заделкой в бетон на 30 диаметров в каждую сторону от рабочего шва.
6.11. Фундаменты клетей, редукторов, электродвигателей привода, ножниц (обжимных, листовых и заготовочных станов), листовых моталок необходимо возводить без устройства рабочих швов бетонирования. В фундаментах сложной конфигурации, а также если объем бетона указанных фундаментов не позволяет осуществлять непрерывное бетонирование, места расположения рабочих швов бетонирования и их конфигурация назначаются в проектах производства работ, которые должны быть согласованы с организацией, разрабатывающей чертежи фундаментов под оборудование.
7.1. Тип и конструкция фундаментных болтов назначаются организацией, проектирующей технологическое оборудование, в соответствии с
ГОСТ 24379.1-80 "Болты фундаментные. Конструкция и размеры".
7.2. Фундаментные болты, как правило, поставляются предприятиями - изготовителями технологического оборудования.
Допускается по соглашению между заказчиком и генеральным проектировщиком разработку технической документации на фундаментные болты выполнять в строительной части проекта фундаментов оборудования в соответствии со строительным заданием, где оговорены диаметры и типы болтов.
7.3. Типы и конструкции фундаментных болтов согласно
ГОСТ 24379.1-80 и их установочные параметры приведены в табл. 12.
Таблица 12
Болты | Исполнение | Схемы конструкций болтов | Диаметр болта, мм | H, не менее | C, не менее | l, не менее |
Изогнутые | 1 | | 12 - 48 | 25d (15d) | 6d | 4d |
2 | | 12 - 48 | 25d (15d) |
С анкерной плитой | 1 | | 16 - 48 | | 10d | 6d |
2 | | 56 - 90 | 15d 10d |
3 | | 100 - 140 | 15d (10d) |
Съемные | 1 | | 24 - 48 | 15d | 10d | 6d |
2 | | 56 - 125 | 30d |
3 | | 56 - 100 | 30d |
Прямые | - | | 12 - 48 | 10d | 5d | 5d |
С коническим концом | 1 | | 12 - 48 | | 7d | 7d |
2 | | 12 - 48 | 10d |
3 | | 12 - 48 | 10d |
Примечания: 1. H - глубина заделки болтов; C - расстояние между осями болтов; l - расстояние от оси болта до грани фундамента.
2. Глубина заделки болтов в фундаменты приведена для бетона марки M 150.
3. В скобках приведены параметры для конструктивных болтов.
4. В местах возможных разрушений поверхности фундамента от технологических растворов и воздействия высоких температур глубина заделки болтов, устанавливаемых в скважины готовых фундаментов, должна быть увеличена на 5 диаметров.
7.4. Фундаментные болты по условиям эксплуатации подразделяются на расчетные и конструктивные.
К расчетным относятся болты, воспринимающие нагрузки, возникающие при работе технологического оборудования; к конструктивным - болты, предусматриваемые для крепления технологического оборудования, устойчивость которого против опрокидывания или сдвига обеспечивается собственным весом оборудования.
Конструктивные болты предназначаются для рихтовки технологического оборудования во время их монтажа и для обеспечения стабильной работы оборудования во время эксплуатации, а также для предотвращения его случайного смещения.
7.5. По способу установки в фундамент болты подразделяются на устанавливаемые до бетонирования фундаментов и устанавливаемые на готовые фундаменты в колодцы или скважины.
К болтам, устанавливаемым до бетонирования фундаментов, относятся изогнутые исполнения 1, с анкерной плитой и съемные.
При установке съемных болтов в массив фундамента закладывается только анкерная арматура, а шпилька устанавливается свободно в трубе после устройства фундамента.
К болтам, устанавливаемым на готовые фундаменты, относятся изогнутые исполнения 2, прямые и с коническим концом.
Изогнутые болты исполнения 2 устанавливаются в колодцы, заранее предусмотренные в фундаментах, а прямые болты и болты с коническим концом - в скважины, просверленные в готовых фундаментах механизированным инструментом.
7.6. Болты изогнутые исполнения 1 как наиболее простые в изготовлении рекомендуется применять в случаях, когда высота фундаментов и зависит от глубины заделки болтов в бетон.
7.7. Болты изогнутые исполнения 2 применяются для крепления вспомогательного оборудования в тех случаях, когда не могут быть установлены болты в просверленные скважины.
7.8. Болты с анкерной плитой, имеющие меньшую глубину заделки в бетон по сравнению с болтами изогнутыми, рекомендуется применять в случаях, когда высота фундамента определяется глубиной заделки болтов в бетон.
7.9. Болты съемные следует применять главным образом для крепления тяжелого прокатного и электротехнического оборудования, вызывающего большие динамические нагрузки, а также в случаях, когда болты в процессе эксплуатации оборудования подлежат возможной замене.
7.10. Болты прямые закрепляются в скважинах готовых фундаментов с помощью эпоксидного или силоксанового клея или виброзачеканкой цементно-песчаной смеси.
7.11. Болты с коническим концом исполнения 1 закрепляются в скважинах разжимной втулкой.
7.12. Болты с коническим концом исполнений 2 и 3 закрепляются в скважинах цементно-песчаным раствором при вибропогружении в него шпильки болта.
Примечание. Болты с коническим концом исполнения 2 изготовляются высадкой, исполнения 3 - навинчиванием конической втулки.
7.13. Болты прямые на эпоксидном (силоксановом) клее и болты с коническим концом исполнений 2 и 3 рекомендуются к применению во всех случаях, когда это возможно по технологическим и монтажным условиям, за исключением крепления основного технологического оборудования, упоров и амортизаторов.
Болты прямые с виброзачеканкой рекомендуются к применению для крепления оборудования с незначительными динамическими нагрузками, а болты с коническим концом исполнения 1 - для оборудования без динамических нагрузок.
7.14. Марки сталей болтов, а также технические требования к болтам следует принимать по
ГОСТ 24379.0-80 "Болты фундаментные. Общие технические условия".
7.15. При расположении изогнутых болтов у края фундамента отогнутый конец болта необходимо ориентировать в сторону массива, а при расположении в углах - по их биссектрисе.
В местах, где нижние концы фундаментных болтов могут попасть в пустоты фундамента (проемы, тоннели и пр.), допускается применять гнутые болты (рис. 20). Угол изгиба к вертикали должен составлять не более 45°.
Рис. 20. Виды гнутых болтов и установка их в фундаменты
1 - оборудование; 2 - болт;
3 - бетонная подливка; 4 - фундамент
7.16. Отметки верхних торцов фундаментных болтов следует назначать кратными 10 мм.
7.17. Расчет фундаментных болтов и рекомендации по их установке приведены в "
Руководстве по креплению технологического оборудования фундаментными болтами", М., Стройиздат, 1979.
8. ЗАКЛАДНЫЕ ДЕТАЛИ И СТАЛЬНЫЕ КОНСТРУКЦИИ ФУНДАМЕНТОВ
8.1. Закладные детали, устанавливаемые в фундаментах оборудования, в зависимости от назначения могут быть расчетными и конструктивными.
К расчетным закладным деталям относятся стальные элементы, предназначенные для крепления различных строительных конструкций (балок, плит, колонн и т.п.), а также элементы для крепления технологического оборудования и коммуникаций. К конструктивным закладным деталям относятся стальные элементы для обрамления отверстий и различных выступов фундаментов, гильзы из труб для пропуска коммуникаций, а также стальные конструкции, устанавливаемые для защиты фундаментов от особых воздействий (ударов, истирания и пр.).
8.2. Стальные конструкции (стойки, кронштейны, ограждения, настилы, защитные козырьки, перила, лестницы и пр.) должны проектироваться с учетом установки их после бетонирования и крепления к закладным деталям на сварке или на болтах.
8.3. Закладные детали должны проектироваться так, чтобы они, как правило, не выступали за грань бетона.
8.4. В расчетных закладных деталях анкерные стержни следует применять из горячекатаной стали периодического профиля класса А-II или А-III. В конструктивных закладных деталях допускается применять анкеры из стали класса А-I с крюками на концах.
8.5. Анкерные стержни следует выполнять с приваркой к торцам пластин в случае, если длина анкерных стержней, приваренных втавр (для расчетных закладных деталей), принимается меньше требуемой по расчету (но не менее 15d).
Для конструктивных закладных деталей длину заделки анкерных стержней принимается равной 15d.
8.6. При проектировании необходимо максимально использовать типовые закладные детали, в том числе штампованные.
8.7. Все стальные конструкции фундаментов и выступающие части закладных деталей должны быть защищены от коррозии в соответствии с требованиями главы СНиП по защите строительных конструкций от коррозии.
| | ИС МЕГАНОРМ: примечание. Взамен ГОСТ 23279-78 Постановлением Госстроя СССР от 28.11.1984 N 194 с 01.01.1986 введен в действие ГОСТ 23279-85. | |
9.1. Фундаменты следует армировать унифицированными плоскими сварным сетками по ГОСТ 23279-78 "Сетки сварные из стержневой арматуры диаметром до 40 мм. Общие технические условия" и пространственными арматурными каркасами, собираемыми из них. При необходимости могут быть применены гнутые сетки.
9.2. Монолитные фундаменты армируются нижней арматурой, укладываемой по подошве фундаментов, и верхней арматурой, укладываемой под станины оборудования с динамическими нагрузками (клети, редукторы, электродвигатели, листовые моталки, ножницы листовых, обжимных и заготовочных станков и др.).
Нижняя и верхняя арматура укладывается в одном или двух взаимно перпендикулярных направлениях в виде плоских сварных сеток с рабочими стержнями в одном продольном направлении.
Вертикальные грани массивных фундаментов не армируются.
9.3. Нижняя арматура в фундаментах устанавливается из условия восприятия усадочных напряжений (противоусадочная арматура), а в необходимых случаях - по условиям прочности.
9.4. Необходимость установки и количество нижней (противоусадочной) арматуры в массивных фундаментах обусловливается размерами фундаментов в плане: до 20 м включительно арматура не ставится; от 20 до 30 м - устанавливается рабочая арматура диаметром 16 мм из стали класса А-II, шагом 200 мм; от 30 до 40 - устанавливается рабочая арматура диаметром 20 мм из стали класса А-II, шагом 200 мм, причем концы фундаментов длиной до 7,5 м можно армировать арматурой диаметром 16 мм из стали класса А-II.
9.5. Диаметр рабочих стержней сеток верхней арматуры в соответствии с табл. 13 устанавливается в зависимости от диаметров фундаментных болтов, предусмотренных для крепления оборудования. Шаг рабочих стержней принимается 200 мм из стали класса А-II.
Таблица 13
Диаметр болтов для крепления оборудования к фундаментам, мм | Менее 42 | 42 - 56 | 64 и более |
Диаметр рабочих стержней, мм | 12 | 16 | 20 |
9.6. Под станинами оборудования, передающими систематически действующие ударные нагрузки, следует ставить по 2 - 3 сетки из стержней диаметром 10 - 12 мм, класса А-II, шагом 100 мм в двух направлениях. Верхнюю сетку следует укладывать на расстоянии 20 - 30 мм от поверхности фундамента. Расстояние между сетками по высоте фундамента следует принимать равным 100 мм. Если оборудование с динамическими нагрузками устанавливается у края фундамента, стержни верхних сеток должны быть загнуты вниз на 15 диаметров.
9.7. В местах перепада подошвы фундамента вертикальные грани уступа фундамента не армируют. Нижняя арматура повышенной части фундамента должна заводиться в массив на 30 диаметров за линию пересечения плоскости сеток верхнего уступа с плоскостью, проведенной под углом 60° к горизонту из нижнего угла уступа. При этом общая длина заделки должна быть не более 70 диаметров рабочей арматуры (рис. 21).
Рис. 21. Армирование массивных фундаментов оборудования
1 - фундамент; 2 - оборудование; 3 - нижняя арматура
фундамента; 4 - верхняя арматура фундамента;
d - диаметр рабочей арматуры
9.8. При близком расположении станин, установленных на разных уровнях, для создания непрерывности армирования верхнюю арматуру следует укладывать внахлестку с перепуском стержней на 30 диаметров. Вертикальные грани фундамента в местах перепада его верхней части также не армируют (см.
рис. 21).
9.9. Местное армирование фундаментов оборудования следует производить на участках, ослабленных тоннелями, каналами, а также в местах систематического воздействия ударных нагрузок, лучистой теплоты и пр.
9.10. Участки фундаментов, ослабленные тоннелями, каналами и т.п., толщина которых менее 1 м и которые не требуют установки расчетной арматуры, армируются конструктивно сеткой из стержней диаметром 12 мм, класса А-II, шагом 200 мм с заделкой в основной массив на 15 диаметров. Ослабленные вертикальные участки фундамента толщиной более 1 м конструктивно не армируются, а над проемами укладывается конструктивная сетка с рабочими стержнями одного направления из стержней диаметром 12 мм, шагом 200 мм (рис. 22).
Рис. 22. Армирование ослабленных участков
массивных фундаментов
9.11. В местах воздействия лучистой теплоты поверхность массивных частей фундаментов необходимо армировать сетками с рабочей арматурой в двух взаимно перпендикулярных направлениях, шагом стержней 200 мм. Диаметр стержней определяется расчетом, но принимается не менее 12 мм, класса А-II.
9.12. Массивные консольные участки фундаментов, рассчитанные по прочности как бетонные сечения, в растянутой зоне должны иметь арматуру в количестве не менее 0,05% площади поперечного сечения консоли. Анкеровка рабочих стержней должна быть осуществлена согласно рис. 23, при этом lн принимается по главе СНиП по проектированию бетонных и железобетонных конструкций.
Рис. 23. Конструктивное армирование
массивных консольных участков
9.13. В монолитных железобетонных плитах необходимо предусматривать конструктивные мероприятия, обеспечивающие проектное положение верхней арматуры.
В плитах толщиной до 0,5 м под верхнюю арматуру (сетки) необходимо ставить поддерживающие каркасы согласно рис. 24 или предусматривать другие мероприятия, обеспечивающие проектное положение верхней арматуры.
Рис. 24. Расстановка поддерживающих каркасов
В плитах толщиной более 0,5 м при больших объемах бетонных работ допускается предусматривать поддерживающие жесткие каркасы из профильного металла.
9.14. Стены толщиной до 0,5 м необходимо армировать пространственными самонесущими каркасами, собираемыми из двух плоских сеток.
Пространственные самонесущие каркасы собираются из унифицированных сеток с рабочей арматурой в одном продольном направлении и поддерживающих каркасов, которые фиксируют сетки в рабочем положении и обеспечивают общую пространственную жесткость.
9.15. Балки-распорки в тоннеле гидросмыва окалины следует армировать по периметру сечения с установкой замкнутых хомутов. Площадь сечения всей рабочей арматуры должна быть не менее 2% расчетной площади сечения балки, если армирование балок-распорок не определяется расчетом.
9.16. Армирование железобетонных элементов, не оговоренных специально в данном разделе, а также толщина защитного слоя бетона, должны приниматься в соответствии с требованиями главы СНиП по проектированию бетонных и железобетонных конструкций.
10. ЗАЩИТА ОТ ГРУНТОВЫХ ВОД
10.1. На площадках, сложенных слабоводопроницаемыми грунтами (суглинки, супеси, пылеватые пески), следует учитывать вероятность повышения уровня грунтовых вод в период эксплуатации цехов и при проектировании предусматривать защиту от затопления грунтовыми водами всех подземных помещений.
10.2. При заглублении помещений подвалов и тоннелей ниже принятого для проектирования уровня грунтовых вод необходимо предусматривать специальные мероприятия (пластовые дренажи, гидроизоляцию, общеплощадочное водопонижение и др.) по защите от проникания грунтовых вод.
Проектирование общеплощадочного водопонижения, сложных систем пластовых дренажей должно выполняться специализированной проектной организацией (Фундаментпроект, ВИОГЕМ и др.).
10.3. Основным мероприятием по защите помещений и тоннелей от грунтовых вод является пластовый дренаж.
10.4. Пластовые дренажи рекомендуется применять для защиты заглубленных подземных помещений от грунтовых вод, когда коэффициент фильтрации грунта не более 5 м/сут (суглинки, супеси, мелкозернистые и пылеватые пески).
10.5. Пластовый дренаж (рис. 25) укладывается под всем заглубленным помещением. В трещиновато-скальных и крупнообломочных грунтах рекомендуется устраивать однослойную, а в песчаных и глинистых грунтах двухслойную песчано-гравийную постель.
Рис. 25. Пластовые дренажи
а - в трещиновато-скальных и крупнообломочных грунтах;
б - в песчаных и глинистых грунтах; 1 - защитный бетонный
слой 50 мм; 2 - толь (рубероид) - 1 слой; 3 - гравий
(крупностью 3 - 20 мм) - 150 мм (мин);
4 - песок (крупностью 0,25 - 2 мм) - 100 - 150 мм;
5 - естественный грунт основания
10.6. Для отвода воды из пластового дренажа в ливнесточную сеть к специальным станциям перекачки укладываются трубчатые линейные дрены с минимальным уклоном 0,005. Для линейных дрен рекомендуется применять железобетонные и керамические трубы, а в условиях агрессивных грунтовых вод - только керамические.
10.7. Ширина пластового дренажа в одну сторону до трубчатой дрены не должна превышать 30 м, при этом дну котлована необходимо придавать уклон в сторону дрены не менее 0,01. При малой ширине сооружения (до 5 м) возможна горизонтальная планировка.
10.8. Пристенный дренаж подземных помещений, расположенных внутри цеха, отсыпается до максимального расчетного уровня грунтовых вод из средних и крупных песков.
10.9. В случаях, когда устройство дренажей технически невозможно или экономически нецелесообразно, следует предусматривать гидроизоляцию.
10.10. Тип гидроизоляции для подземных помещений (подвалов, тоннелей, венткамер и др.) рекомендуется назначать в соответствии с табл. 14 в зависимости от допустимой влажности в помещениях.
Таблица 14
Тип гидроизоляции | Воздействие воды | Относительная влажность помещений, % |
менее 60 | 60 - 75 | св. 75 |
1. | Окрасочная битумная | Капиллярный подсос | + | + | + |
Гидростатический напор | + | - | - |
2. | Торкрет-штукатурка | Капиллярный подсос | - | - | - |
Гидростатический напор | - | | |
3. | Асфальтовая (литая штукатурка) | Капиллярный подсос | + | + | + |
Гидростатический напор | - | - | + |
4. | Оклеечная битумная | Капиллярный подсос | - | - | - |
Гидростатический напор | + | + | + |
5. | Окрасочная пластмассовая | Капиллярный подсос | + | + | + |
Гидростатический напор | - | - | + |
6. | Оклеечная пластмассовая (рулонная, листовая) | Капиллярный подсос | - | - | - |
Гидростатический напор | + | + | + |
7. | Металлическая | Капиллярный подсос | - | - | - |
Гидростатический напор | + | - | - |
Примечание. Знак "+"- рекомендуется или допускается; знак "-" - не рекомендуется или не применяется; <1> - торкретирование следует предусматривать с наружной и внутренней сторон изолируемой конструкции с устройством со стороны напора поверх торкретного слоя окрасочной гидроизоляции; <2> - торкретирование следует предусматривать только со стороны напора с устройством поверх торкретного слоя окрасочной гидроизоляции.
10.11. Перекрытия над помещениями электротехнического назначения (подвалы, тоннели и др.) должны иметь гидроизоляцию на участках с выделением технологических стоков.
10.12. Составы защитных покрытий битумной, цементной, асфальтовой и пластмассовой гидроизоляции следует назначать в соответствии с "Указаниями по проектированию гидроизоляции подземных частей зданий и сооружений" (СН 301-65*).
Конструктивные решения окрасочной и оклеечной битумной гидроизоляции и гидроизоляции с применением торкрет-штукатурки приведены на рис. 26 -
28.
Рис. 26. Окрасочная битумная гидроизоляция
1 - железобетонная конструкция; 2 - защитная цементная
стяжка 20 мм; 3 - два слоя горячего битума по холодной
битумной грунтовке; 4 - бетонная подготовка
Рис. 27. Оклеечная гидроизоляция
1 - бетонная подготовка; 2 - выравнивающая цементная стяжка
толщиной 20 мм; 3 - оклеечная гидроизоляция; 4 - защитная
цементная стяжка толщиной 20 мм; 5 - железобетонное днище;
6 - защитная стенка; 7 - два слоя горячего битума
на холодной битумной грунтовке; 8 - стена; 9 - стеклоткань,
пропитанная битумом; 10 - бетонный выравнивающий слой
Рис. 28. Гидроизоляция с применением торкрет-штукатурки
1 - железобетонная стена; 2 - железобетонное днище тоннеля
или подвала; 3 - защитный цементный слой 20 мм; 4 - литой
асфальт в два слоя общей толщиной 30 мм; 5 - бетонная
подготовка; 6 - цементная торкрет-штукатурка в два слоя
общей толщиной 25 мм; 7 - два слоя горячего битума
по холодной битумной грунтовке;
8 - слой рулонного материала на битумной мастике
10.13. Для защиты боковой оклеечной гидроизоляции от механических повреждений устраиваются защитные стенки из красного кирпича, сборных бетонных плит или асбестоцементных плоских плит, наклеиваемых на битумной мастике.
10.14. Металлическую гидроизоляцию допускается применять в следующих случаях:
при большом гидростатическом напоре, когда другие виды гидроизоляции неэффективны, но требуется обеспечить постоянную сухость помещения;
для изоляции конструкций, подвергающихся воздействию повышенных температур (выше 80 °C);
при значительных механических воздействиях;
при гидроизоляции отдельных приямков сложной формы.
В обоснованных случаях стальная гидроизоляция может вводиться в расчет железобетонных конструкций в качестве арматуры с устройством специальной анкеровки, обеспечивающей совместную работу листа с бетоном.
10.15. Металлическую гидроизоляцию надлежит выполнять в виде сплошного ограждения из стальных листов толщиной не менее 4 мм, соединяемых между собой сваркой и с изолируемой конструкцией путем заанкеривания в бетон (рис. 29). Металлическую гидроизоляцию следует устраивать по внутренней поверхности изолируемых конструкций.
Рис. 29. Металлическая гидроизоляция
1 - закладная деталь; 2 - листы металлической гидроизоляции;
3 - уголок; 4 - цементный раствор; 5 - отверстие
для нагнетания цементного раствора методом инъектирования
под давлением; 6 - стальная накладка
10.16. Гидроизоляцию на стенах подземных помещений, сооружений и фундаментов оборудования надлежит предусматривать выше максимального напорного уровня не менее чем на 0,5 м; выше этого уровня стены толщиной до 1 м, расположенные в грунте, должны быть изолированы против капиллярного подсоса влаги.
10.17. Работа по устройству гидроизоляции следует выполнять в соответствии с главой СНиП на производство и приемку кровельных и гидроизоляционных работ.
10.18. При наличии агрессивных грунтовых вод защиту фундаментов и конструкций подземного хозяйства следует выполнять в соответствии с требованиями главы СНиП по защите строительных конструкций от коррозии.
11. ЗАЩИТА ОТ ВОЗДЕЙСТВИЯ АГРЕССИВНЫХ СРЕД
11.1. Проект защиты фундаментов оборудования и сооружений подземного хозяйства от агрессивного воздействия технологических растворов должен выполняться специализированной проектной организацией.
11.2. При проектировании конструкций, подверженных воздействию агрессивных сред, необходимо учитывать требования глав II и III частей СНиП по защите строительных конструкций от коррозии.
11.3. Элементы конструкций, эксплуатируемые в условиях воздействия агрессивных сред, должны, как правило, иметь доступ для систематического осмотра и периодического возобновления антикоррозионной защиты.
11.4. Фундаменты под оборудование, находящиеся в зоне агрессивного воздействия среды, должны выступать над уровнем чистого пола, как правило, не менее чем на 0,3 м. Конфигурация фундаментов должна исключать возможность образования застойных зон и обеспечивать быстрый сток с них проливов агрессивных жидкостей. При установке емкостного оборудования форма фундаментов должна обеспечивать возможность контроля за состоянием днищ.
11.5. Отвод агрессивных паров и аэрозолей от агрегатов по подземным вентиляционным тоннелям следует выполнять в газоходах.
Для слабоагрессивных сред газоходы рекомендуется изготовлять из углеродистой стали, гуммированной химически стойкой резиной.
Для сильноагрессивных сред газоходы рекомендуется изготовлять из химически стойких конструкционных полимерных материалов (полипропилена, винипласта, бипластмасс, стеклопластика и др.).
11.6. В зоне воздействия масел и технологических смазок необходимо в первую очередь максимально сократить зону воздействия агрессивных сред за счет организации поддонов, ограждающих щитов, маслосборников, маслоотводов и др.
Защита от воздействия кислотных и щелочных сред
11.7. Защитные покрытия фундаментов под оборудование принимаются в зависимости от их конструкции и назначения с учетом характера и интенсивности агрессивного воздействия, температуры агрессивных проливов и метода их уборки, наличия механических воздействий и других условий эксплуатации.
Конструкция и защита фундаментов при наличии механических воздействий должна включать в себя непроницаемый подслой и защитную облицовку из штучных кислотоупорных материалов.
11.8. В качестве непроницаемого подслоя рекомендуется применять битумно-рубероидную изоляцию, полиизобутилен марки ПСГ, толщиной листов 2,5 мм и армированную стеклотканью лакокрасочную композицию на основе эпоксидных смол. Для защитных облицовок рекомендуется применять штучную кислотоупорную керамику и шлакоситалловые плиты. В качестве вяжущих для штучной кислотоупорной керамики могут применяться кислотоупорная силикатная замазка, замазка арзамит, портландцементный раствор и замазки на основе эпоксидных смол, а для шлакоситалловых плит - портландцементный раствор и замазка на основе эпоксидных смол.
11.9. На участках с наиболее тяжелыми условиями эксплуатации (фундаменты под ванны агрегатов, зоны установки теплообменников, насосов, мерников, лотков, приямков и каналов) в качестве непроницаемого подслоя рекомендуется применять полиизобутилен. На этих участках возможно выполнение двухслойной бронирующей футеровки из кислотоупорных штучных материалов.
В качестве вяжущего рекомендуются на участках с кислыми проливами кислотоупорная силикатная замазка, на участках с проливами щелочных растворов и промывных вод - портландцементный раствор марки M 200, на участках со смешанными проливами щелочных и кислых растворов - замазка арзамит.
11.10. В травильных отделениях трубных цехов, где на фундаменты под ванны воздействуют значительные проливы агрессивных кислых, солевых и щелочных растворов из открытых травильных и промывных ванн, для защиты рекомендуется двухслойная футеровка по подслою из полиизобутилена. Вяжущие футеровки - кислотоупорная силикатная замазка с разделкой швов верхнего слоя футеровки замазкой арзамит.
На фундаментах под насосы, теплообменники, мерники и баковую аппаратуру достаточна однослойная футеровка.
Выбор вяжущего в этом случае определяется в зависимости от характера проливов, аналогичных указанному в
п. 11.9.
11.11. При транспортировании агрессивных газов в газоходах, расположенных в тоннелях, днище и стены тоннеля на высоту 0,5 м облицовываются керамическими кислотоупорными плитками на химически стойком вяжущем по подслою из битумно-рулонной изоляции.
Стены выше 0,5 м и перекрытие окрашиваются эпоксидными материалами. Вместо указанных облицовок и подслоя может быть использован профилированный полиэтилен. Установка полиэтиленовых листов с анкерными ребрами производится до бетонирования. Стыки полиэтиленовых листов должны быть сварены методом экструзионной присадки.
11.12. В технологических тоннелях, в которых прокладываются трубопроводы с кислыми и щелочными растворами, днище и стены на высоту 0,5 м облицовываются кислотоупорной керамикой на кислотоупорной силикатной замазке с разделкой швов замазкой арзамит.
Непроницаемый подслой устраивается из битумно-рубероидной изоляции. Стены выше 0,5 м при прокладке трубопроводов по ним покрываются стеклотканью и химически стойкими лакокрасочными покрытиями. При прокладке трубопроводов по днищу стены и перекрытие окрашиваются только лакокрасочными покрытиями.
Защита от воздействия масел и технологических смазок
11.13. Защиту от воздействия минеральных масел и технологических смазок (эмульсола, эмульсий, пальмовых масел и их заменителей) следует предусматривать для фундаментов под клети, промасливающие машины, в насосно-аккумуляторных станциях, в помещениях технологических смазок, в картонных ямах, под размывателями, транспортерами и др.
11.14. Для защиты бетона фундаментов под оборудование, тоннелей, каналов и других конструкций рекомендуется применять:
облицовку листами из углеродистой стали в местах постоянных механических воздействий и большой интенсивности проливов;
облицовку из штучных керамических материалов толщиной 10 мм по подслою из стеклоткани в условиях слабых механических воздействий и большой интенсивности воздействия проливов;
окраску маслостойкими красками в условиях слабых механических воздействий и при малой интенсивности воздействия проливов;
бетон повышенной плотности при слабоагрессивной степени воздействия.
11.15. Полости в фундаментах под моталки, разматыватели, транспортеры и другие участки, эксплуатируемые в условиях большой интенсивности воздействия проливов масла и имеющих сложную конфигурацию, а также лотки и приямки, где происходит скопление проливов масла и эмульсии, следует, как правило, защищать листами из углеродистой стали. При этом вертикальные поверхности полостей облицовываются только на высоту 0,5 м, а выше - окрашиваются эпоксидными материалами.
В лотках и приямках допускается также применение облицовки из керамической плитки на эпоксидной замазке по подслою из стеклоткани.
11.16. В насосно-аккумуляторных станциях, маслоподвалах, маслотоннелях и маслоканалах следует предусматривать облицовку пола и стен на высоту 0,5 м (а для маслотоннелей и маслоканалов на высоту 0,3 м) керамическими плитками. При наличии на стенах маслотрубопроводов стены должны быть покрыты маслостойкой краской.
11.17. При выполнении маслостойких облицовок из керамических плиток в качестве вяжущего следует применять раствор на основе сульфатостойкого портландцемента.
12.1. С целью индустриализации работ и при соответствующем технико-экономическом обосновании фундаменты оборудования допускается возводить в несъемной опалубке.
Применение несъемной опалубки рекомендуется также в случаях, когда демонтаж опалубки невозможен или затруднен.
12.2. В качестве несъемной опалубки рекомендуется применять тонкостенные армоцементные или фибробетонные элементы, а также железобетонные плиты.
В обоснованных случаях допускается применение в качестве несъемной опалубки стального профилированного листа с учетом использования его в качестве внешней арматуры при совместной работе с бетоном.
12.3. Армоцементные и фибробетонные тонкостенные плиты выполняют в основном ограждающие (опалубочные) функции и не учитываются при расчете сечений конструкций.
12.4. Железобетонные плиты, используемые в качестве несъемной опалубки, рекомендуется включать в совместную работу с монолитными конструкциями.
12.5. Железобетонные плиты целесообразно применять как несъемную опалубку также в тех случаях, когда по условиям производства работ необходимо произвести обратную засыпку котлована до начала бетонных работ.
12.6. Армоцементную и фибробетонную несъемную опалубку следует проектировать в виде плоских или профильных плит, изготавливаемых из мелкозернистого бетона марки M 300.
12.7. Поверхность армоцементных плит несъемной опалубки должна быть соответствующим образом обработана, например нанесена насечка глубиной 4 - 6 мм или при изготовлении изделий сделана посыпка промытым мелким щебнем с последующим втапливанием его на половину диаметра. Плиты должны иметь выпуски из проволоки диаметром 3 - 4 мм, длиной 50 - 80 мм из расчета по одному выпуску на 0,1 - 0,15 м2 плиты.
12.8. Железобетонную несъемную опалубку следует проектировать из плоских или ребристых сборных плит, а также L-образных элементов, размеры которых зависят от проектируемых конструкций. Допускается в качестве несъемной опалубки для перекрытий под большие нагрузки применять типовые сборные железобетонные конструкции.
12.9. Поверхность железобетонной опалубки, обращенная к монолитному бетону, должна иметь насечку или "шубу" из утопленного на половину диаметра промытого щебня или из железобетонных плит должны предусматриваться арматурные выпуски (анкера).
12.10. Несъемная опалубка рассчитывается на нагрузки от свежеуложенного бетона в соответствии с главой СНиП по правилам производства и приемке работ по бетонным и железобетонным конструкциям, а также на нагрузки из условий монтажа и транспортирования.
12.11. Поверхность конструкции несъемной опалубки со стороны укладываемого бетона должна быть тщательно очищена и промыта.
12.12. Швы между железобетонными и другими элементами несъемной опалубки должны быть заделаны цементным раствором.
12.13. Для фундаментов под оборудование допускается применять в качестве несъемной опалубки унифицированные дырчатые блоки (УДБ), в тех случаях, когда они включаются в работу конструкций.
13. РЕКОНСТРУКЦИЯ ФУНДАМЕНТОВ
13.1. При реконструкции фундаментов для усиления железобетонных элементов может быть применен способ без изменения или способ с изменением первоначальной расчетной схемы.
13.2. При сохранении первоначальной расчетной схемы усиление может быть выполнено устройством обойм, наращиваний, рубашек и др.
13.3. Возможность и целесообразность усиления зависит от состояния конструкций, что должно быть установлено натурными обследованиями.
13.4. При усилении конструкций под нагрузкой необходимо установить соответствующие мероприятия и порядок выполнения работ по усилению, обеспечивающие надежность работы конструкций во время производства работ и соблюдение правил техники безопасности.
13.5. Грунты под воздействием многолетней нагрузки от фундаментов оборудования уплотняются, возрастает их несущая способность, что должно учитываться при проектировании.
13.6. Усиление основания может быть:
а) косвенным - усиление основания устройством ограждения или обойм из шпунта, набивных или забивных свай;
б) уширением подошв фундаментов;
в) закреплением грунтов методами силикатизации, цементации и др.
13.7. При усилении существующих конструкций рекомендуется широко использовать способ анкеровки арматуры в просверленных скважинах с помощью эпоксидного клея.
ОБЩИЕ СВЕДЕНИЯ О ПРОКАТНОМ ОБОРУДОВАНИИ
Таблица 1
Классификация прокатных и трубных станов по назначению
Станы, агрегаты | Размеры валков, мм | Назначение |
диаметр | длина бочки |
1. | Обжимные и заготовочные: | | | |
блюминги | 850 - 1300 | - | Обжатие слитков в блюмы |
слябинги: | 1150 - 1250 | - | Обжатие слитков в слябы |
заготовочные | 500 - 750 | - | Прокатка блюмов в заготовку сечением от 60 x 60 до 200 x 200 мм и более |
трубозаготовочные | 700 - 800 | - | Прокатка блюмов в заготовку круглого сечения диаметром от 80 до 350 мм |
2. | Сортовые: рельсобалочные и балочные | 750 - 850 - 1400 | - | Прокатка рельсов, крупных двутавров высотой до 1000 мм и других тяжелых профилей |
крупносортные | 650 - 750 | - | Прокатка крупных профилей: стали квадратной и круглой до 150 мм, балок и швеллеров высотой 240 - 300 мм и др. |
среднесортные | 350 - 500 | - | Прокатка средних профилей: стали квадратной и круглой 80 - 100 мм, балок и швеллеров высотой до 120 - 160 мм, угловых профилей от 90 x 90 до 140 x 140 мм и др. |
мелкосортные | 250 - 300 | - | Прокатка мелких профилей: стали квадратной и круглой от 8 до 30 мм, угловых профилей от 50 x 50 до 70 x 70 мм и др. |
проволочные | 250 | - | Прокатка катанки диаметром 5 - 10 мм |
штрипсовые (узкополосные) | 500 - 600 | - | Прокатка полос шириной от 65 до 500 мм и толщиной от 1,2 до 10 мм |
3. | Листовые горячей прокатки: | | | |
толстолистовые | - | 3600 - 5000 | Прокатка широких листов толщиной от 4 до 50 мм и более |
широкополосные | - | 1400 - 2500 | Прокатка рулонной полосы шириной от 600 до 2300 мм и толщиной 1,2 - 25 мм |
4. | Листовые холодной прокатки | - | 1200 - 2500 | Прокатка рулонной полосы шириной от 600 до 2300 мм и толщиной от 0,1 до 3,5 мм |
5. | Особых видов прокатки: | | | |
колесопрокатные | - | - | Прокатка колес и бандажей для железнодорожных вагонов и другое назначение |
шаропрокатные | - | - | Прокатка шаров |
для профилей переменного сечения | - | - | Прокатка различного рода переменных профилей |
6. | Трубные холодной прокатки и волочения | - | - | Прокатка труб диаметром от 4 до 450 мм. Волочение труб диаметром от 4 до 120 мм |
| Агрегаты: | | | |
7. | трубопрокатные с автоматическим, непрерывным пилигримовым, трехвалковым раскатным станами и прессовыми установками | - | - | Горячая прокатка или прессование бесшовных труб диаметром от 30 до 550 мм |
8. | трубоэлектросварочные: | | | |
непрерывные с прямым швом | | | Электросварка сформованной в валковом стане полосы в трубу диаметром 6 - 530 мм |
непрерывные со спиральным швом штучного производства | | | Электродуговая сварка спирально сформованной полосы в трубу диаметром 159 - 1420 мм Электродуговая сварка сформованной на прессах или валковых станах листов в трубу диаметром 530 - 1420 мм |
9. | трубосварочные | | | Непрерывная печная сварка труб диаметром 10 - 76 мм |
Таблица 2
Классификация агрегатов и отделочных линий
Агрегаты и отделочные линии | Назначение |
Прокатные листовые цехи | |
Агрегаты: | |
поперечной резки | Резка полос, свернутых в рулон на листы мерных длин |
продольной резки | Резка широких полос, свернутых в рулон, на узкие и меньшего размера |
травления | Травление кислотой для очистки поверхности полосы от окалины с укрупнением рулонов перед холодной прокатной или резной. |
электролитической очистки | Очистка поверхности холоднокатаных полос от загрязнений маслом, эмульсией, пылью и т.д. |
отжига | Отжиг холоднокатаной полосы для улучшения механических свойств |
горячего или электролитического цинкования полимерных покрытий | Покрытие полосы цинком (одно- или двухстороннее) |
Покрытие поверхности антикоррозионными декоративными материалами (полимерами, лаками, красками, эмалями и др.) |
упаковки | Упаковка пачек листов или рулонов (широких, узких или пакета) для защиты от атмосферного воздействия. |
профилирования | Производство холодногнутых профилей (уголков, швеллеров, профилированного настила и проч.) из листовой стали |
Прокатные сортовые цехи | |
Агрегаты: | |
отделки рельсобалочных и заготовочных станов | Отделка (зачистка абразивная, фрезерная) поверхности для удаления дефектов, правка, фрезеровка фасок, торцов, обдирка и обвязка пачек, маркировка |
зачистки | Наждачно-абразивная зачистка, острожка поверхности, иглофрезерование для обнаружения и удаления поверхностных дефектов |
Трубные цехи | |
Агрегаты: | |
электролитического цинкования муфт | Покрытие поверхности муфт цинком |
горячего цинкования труб | Покрытие поверхности труб цинком |
Линия изготовления муфт | Изготовление из труб муфт на металлорежущих станках |
Поточные линии отделки обсадных, насосно-компрессорных и бурильных труб | Отделка труб нефтяного сортамента (нарезка резьбы на концах труб, навертка муфт, гидроиспытание, приварка замков для бурильных труб, удаление грата, термическая обработка швов и др.) |
Линии окраски труб нефтяного сортамента | Покрытие наружной поверхности труб красками |
Таблица 3
Классификация технологического оборудования
Оборудование | Назначение |
1. | Рабочая клеть с валками: | |
горизонтальными | Горизонтальное обжатие металла |
вертикальными | Обжатие металла с боков |
горизонтальными и вертикальными | Горизонтальное обжатие металла и с боков |
косорасположенными | Поперечно-винтовая прокатка при производстве труб |
2. | Шестеренная клеть | Передача крутящего момента от двигателя к рабочим валкам |
3. | Редуктор | Преобразование числа оборотов вала |
4. | Ножницы: | |
с параллельными ножами гильотинные (с наклонными ножами) | Резка заготовок и сортового металла Резка листового металла |
дисковые | Продольная резка листов и ленты и обрезание боковых кромок |
летучие | Поперечная резка движущегося металла |
5. | Дисковые | Резка металла в горячем и холодном состоянии |
6. | Правильные машины: | |
роликовые обычные | Правка листов и сортового металла |
с косым расположением роликов | Правка труб и металла круглого сечения |
растяжные | Правка тонкого листа |
прессы | Правка сортового металла и труб |
7. | Машины для сматывания или свертывания проката: | |
полосового | Сматывание полос с натяжением в рулоны при холодной и горячей прокатке |
сортового | Сматывание катанки и мелкосортного металла в бунты |
8. | Машины для обвязки | Обвязка проволокой или лентой пачек проката или бунтов или труб в пакеты |
9. | Машины для упаковки | Упаковка и обвязка проката в пачки |
10. | Гидравлические прессы: | |
вертикальные | Формовка листов в трубную заготовку |
вертикальные и горизонтальные | Горячее прессование труб или сортового металла, высадка концов труб |
горизонтальные | Гидравлическое испытание труб и эспандирование |
11. | Прочее оборудование: | |
рольганги | Продольное перемещение прокатываемого металла |
манипуляторы | Перемещение полосы параллельно оси стана и для направления ее при входе и выходе из валков |
выбрасыватели | Передача трубной заготовки или труб с рольганга на решетку |
дозаторы | Поштучная передача трубной заготовки или труб с решетки на рольганг |
кантователи | Поворот заготовки относительно продольной оси |
поворотные механизмы | То же, вертикальной оси на угол до 180° |
толкатели | Перемещение заготовки толканием |
шлепперы | Перемещение прокатываемого металла перпендикулярно его оси |
холодильники | Охлаждение металла после прокатки и его передвижение по мере остывания |
упоры | Фиксированная остановка движущейся заготовки или изделия |
опрокидыватели | Опрокидывание прокатываемого металла |
укладыватели | Штабелирование прокатываемого металла |
слитковозы | Доставка слитков от печей к прокатному стану |
Примечание. К основному технологическому оборудованию относятся: рабочие и шестеренные клети, редукторы, двигатели клетей, машины для сматывания и свертывания, прессы, эспандеры,

машины, ножницы, пилы и т.п.
ПРИМЕР ОПРЕДЕЛЕНИЯ ТЕХНОЛОГИЧЕСКИХ НАГРУЗОК ОТ ОБОРУДОВАНИЯ
Исходные данные приведены в табл. 4.
Таблица 4
Исходные данные для определения нагрузок (стан "2000")
Наименование | Обозначение | Величина |
Номинальная мощность электродвигателя | N | 5000 кВт |
Нижняя граница регулирования оборотов возбуждением двигателей | n' | 375 об/мин |
Масса ротора электродвигателя | mрот | 39 000 кг |
Передаточное число редуктора | i | 22,3 |
Число пар шестерен редуктора | - | Нечетное |
Наименьшие диаметры соединительных шпинделей | d | 0,54 м |
Площадь поперечного сечения прокатываемой полосы | Fп | 0,364 м2 |
Число одновременно прокатываемых полос | y | 1 шт. |
Масса прокатных валков с подушками | mв.п | 119 000 кг |
Временное сопротивление разрыву материала шпинделя | | 7·108 Па |
Масса заготовки | mз | 35 000 кг |
Скорость входа заготовки в клеть | vз | 1,25 м/с |
Определяем нагрузки от оборудования.
Электродвигатель
Нормативный опрокидывающий момент определяем по
формуле (1)

.
Расчетный опрокидывающий момент определяем по
формуле (2)

.
Аварийный опрокидывающий момент определяем по
формуле (3)

.
| | ИС МЕГАНОРМ: примечание. В официальном тексте документа, видимо, допущена опечатка: имеется в виду формула (13), а не формула (12). | |
Нормативная величина неуравновешенной центробежной силы ротора двигателя определяем по
формуле (12)
Расчетное значение неуравновешенной центробежной силы

.
Редуктор
Нормативный опрокидывающий момент определяем по
формуле (1)

.
Расчетный опрокидывающий момент определяем по
формуле (2)

.
Аварийный опрокидывающий момент определяем по
формуле (4)

.
Шестеренная клеть
Нормативные опрокидывающие моменты определяем по
формуле (1):
при заклинке верхнего валка

;
при заклинке нижнего валка

.
Расчетные опрокидывающие моменты определяем по
формуле (2):
при заклинке верхнего валка

;
при заклинке нижнего валка

.
Аварийные опрокидывающие моменты определяем по
формуле (4):
при заклинке верхнего валка

;
при заклинке нижнего валка

.
Рабочая клеть
Нормативные опрокидывающие моменты определяем по
формуле (1):
при заклинке верхнего валка

;
при заклинке нижнего валка

.
Расчетные опрокидывающие моменты определяем по
формуле (2):
при заклинке верхнего валка

;
при заклинке нижнего валка

.
Аварийные опрокидывающие моменты определяем по
формуле (4):
при заклинке верхнего валка

;
при заклинке нижнего валка

.
Нормативная горизонтальная сила, эквивалентная горизонтальному импульсу, возникающему при входе заготовки в клеть, определяем по
формуле (7)

.
Расчетная горизонтальная сила, эквивалентная горизонтальному импульсу

.
Расчет фундамента на действие различных комбинаций нагрузок производится на ЭВМ по специальной программе.
ПРИМЕР ОПРЕДЕЛЕНИЯ ЭКВИВАЛЕНТНЫХ ВРЕМЕННЫХ НАГРУЗОК
ДЛЯ БАЛОК, КОЛОНН И СТЕН ПОДВАЛА
Конструктивная схема подвала приведена на
рис. 1 (
L = 6 м;
l = 6 м;
H = 7 м), а заданные нагрузки для балок, колонн и стен подвала даны в табл. 5.
Таблица 5
Заданные нагрузки
Оборудование | Количество, шт. | Вес 1 шт., Н | Грузовая площадь Fi, м2 | Интенсивность временной нагрузки qi, Па |
1. Валки (два ряда) | 25 | 3·104 | 16,7 | 4,5·104 |
2. Горизонтальные клети | 2 | 25·104 | 12,4 | 4,0·104 |
3. Вертикальные клети | 1 | 30·104 | 9,6 | 3,1·104 |
4. Прочее | - | - | 120 | 2,0·104 |
Рис. 1. Конструктивная схема подвала
Определяем предельные грузовые площади для стел подвалов Fспр, балок Fбпр и колонн Fкпр:
Fспр = H2 = 7·7 = 49 м2;
Fбпр = 2Ll = 2·6·6 = 72 м2;
| | ИС МЕГАНОРМ: примечание. Формула дана в соответствии с официальным текстом документа. | |
Fкпр = 4Ll = 2·6·6 = 144 м2.
Строим график распределения нагрузки от сгруппированного оборудования (рис. 2).
Рис. 2. График распределения нагрузки
от сгруппированного оборудования
По
формулам (20) -
(22) вычисляем эквивалентные нагрузки для балок, колонн и стен подвалов:
СОСТАВ И ОФОРМЛЕНИЕ РАБОЧИХ ЧЕРТЕЖЕЙ
ФУНДАМЕНТОВ ОБОРУДОВАНИЯ
1. Рабочие чертежи фундаментов оборудования и других сооружений подземного хозяйства на стадии рабочей документации или рабочего проекта <1> выполняют в соответствии с требованиями стандартов СПДС и ЕСКД.
--------------------------------
<1> В дальнейшем изложении - чертежи.
2. Допускается выделять в отдельные основные комплекты чертежи, относящиеся к одному или нескольким фундаментам или подземным сооружениям.
В этом случае в отдельный основной комплект выделяют также "общие чертежи", относящиеся к группе фундаментов.
Основные комплекты, относящиеся к одной группе фундаментов или одному участку подземного хозяйства, должны иметь общее базовое обозначение, а различаться маркой комплекта и номером марки.
Например. Фундаменты оборудования стана
200.140-КЖ11 - общие чертежи
200.140-КЖ12 - фундамент ФО-1
200.140-КЖ13 - фундамент ФО-2
и т.д.
3. Общие чертежи:
а) комплект "общих чертежей" содержит следующие чертежи: общие данные, план координационных осей, план (или сводный план) фундаментов оборудования и других сооружений подземного хозяйства. В состав "общих чертежей" могут входить также детали деформационных швов, детали гидроизоляции и т.п.;
б) общие данные:
ведомость чертежей комплекта;
ведомость комплектов;
общие указания - на основании каких заданий разработана данная группа комплектов чертежей, какой абсолютной отметке соответствует относительная отметка +/- 0,00, сведения о гидрогеологии, сведения о нагрузках (параметры грунта обратной засыпки, понижающие коэффициенты на нагрузки и проч.), указания по производству работ, по отделочным работам, мероприятия по антикоррозионной защите (при отсутствии необходимых данных на чертежах и не вошедшие в соответствующий комплект, разрабатываемый специализированной организацией), материалы для гидроизоляции и окраски и другие необходимые указания.
Не допускается повторять эти рекомендации на других листах комплектов. Не допускается описывать принятые технические решения, принятые марки бетона и стали и т.п.;
в) план координационных осей:
координационные (разбивочные) оси здания наносят тонкими штрихпунктирными линиями с длинными штрихами, а координационные оси оборудования - толстыми штрихпунктирными линиями с длинными штрихами.
Оси оборудования обозначают арабскими цифрами, причем вертикальные по плану обозначают нечетными цифрами, а горизонтальные - четными.
Последовательность обозначения вертикальных по плану осей оборудования принимают по направлению движения прокатываемого металла, а горизонтальных - снизу вверх.
Обозначение осей здания помещают в кружках диаметром 6 - 12 мм, а обозначения осей оборудования - в двойных кружках.
На осях оборудования надписывают их наименование, например, "Ось редуктора".
Для привязки координационных осей оборудования к координационным осям здания служат главные координационные оси оборудования - одна вертикальная и одна горизонтальная. Обозначение главных координационных осей оборудования помещают в двойном кружке и рамке. Привязки главных координационных осей оборудования к координационным осям здания помещают в двойной рамке.
Для удобства работы могут даваться привязки других координационных осей оборудования к координационным осям здания. Эти привязки имеют справочный (проверочный, контрольный) характер и для разбивки осей на площадке служить не могут. Справочные размеры помещаются в одинарной рамке (рис. 3).
Рис. 3. Фрагмент сводного плана разбивочных осей
1 - главная вертикальная разбивочная ось оборудования;
2 - главная горизонтальная разбивочная ось оборудования;
3 - разбивочные оси здания; 4 - разбивочные оси оборудования
Если план разрабатывается для нескольких групп оборудования, каждая из которых имеет свои главные координационные оси, каждая ось включается в цепочку привязок, связанных только с одной главной координационной осью.
План координационных осей выполняют в масштабах 1:200, 1:500 или 1:1000. Масштаб на чертеже не проставляют;
г) план фундаментов оборудования и других сооружений подземного хозяйства.
На плане толстой линией показывают контуры фундаментов оборудования, подвалов, тоннелей и других подземных сооружений с указанием их марок, тонкой линией - контуры фундаментов здания по подошве без маркировки и тонкой штрихпунктирной линией - координационные оси зданий.
Размеры и привязки не проставляют.
На чертеже помещают таблицу, в которой для каждой марки фундамента указывают обозначения чертежей, по которым закладываются вентиляционные трубы, трубы кабельной разводки и др., что закладывается в бетон, но не специфицируется в чертежах марки КЖ.
Для всего цеха выполняют сводный план фундаментов оборудования и других сооружений подземного хозяйства. Обозначения комплектов проставляют под указанием марки. Слова "См. черт." не пишут.
Над штампом дают надпись "По состоянию на -" и указывают дату.
4. Чертежи отдельных фундаментов оборудования и других сооружений подземного хозяйства.
| | ИС МЕГАНОРМ: примечание. Нумерация подпунктов дана в соответствии с официальным текстом документа. | |
в) в состав основного комплекта марки КЖ включают: общие данные; план фундаментных болтов; опалубочные чертежи (виды, разрезы, сечения); арматурные чертежи (схемы армирования, разрезы).
К основному комплекту прикладывают комплекты конструкторских документов, относящихся к нему строительных изделий - арматурных каркасов и сеток, закладных изделий и сборных элементов;
б) координирование фундаментов оборудования производится по осям оборудования, а сооружений - по осям здания;
в) на первом этаже вида (опалубочного плана), а если имеется несколько основных комплектов, то на чертеже общих данных каждого комплекта, приводят схематический план фундаментов оборудования и других сооружений подземного хозяйства с основными координационными осями здания. Данный фундамент или сооружение штрихуют или затушевывают. На всех чертежах комплекта (или комплектов) схематический план должен быть одинаковый по содержанию и размеру;
г) подливку под оборудование не показывают.
5. Фундаментные болты оборудования:
а) на видах (планах) фундаментные болты показывают точками, на разрезах показывают схематично толстой линией, шанцы не показывают, маркировку болтов не дают;
б) маркировку и координирование фундаментных болтов показывают на отдельном чертеже - плане фундаментных болтов.
На этом чертеже фундаментные болты привязывают к координационным осям оборудования, округляя привязки до 5 мм в плане и до 10 мм по высоте.
Фрагмент сводного плана разбивочных осей приведен на рис. 4.
Рис. 4. Фрагмент плана фундаментных болтов
Условное обозначение болтов в плане принимают по табл. 6.
Таблица 6
Условные обозначения фундаментных болтов
Диаметр болта, мм | Условное обозначение диаметра болта | Марка болта | Диаметр болта, мм | Условное обозначение диаметра болта | Марка болта |
заготовочная | установочная | заготовочная | установочная |
10 | | А | а, б, в, г, д, е... | 1, 2, 3, 4, 5, 6... | 30 | | Е | а, б, в, г, д, е... | 1, 2, 3, 4, 5, 6... |
12 | | Б | 36 | | Ж |
16 | | В | 42 | | И |
20 | | Г | 48 | | К |
24 | | Д | 56 | | Л |
64 | | М | 100 | | С |
72 | | Н | 110 | | Т |
80 | | П | 125 | | У |
90 | | Р | 140 | | Ф |
Фундаментные болты в плане наносят условными обозначениями и маркируют двумя буквами русского алфавита и цифрой. Например, Ав2, где прописная буква А обозначат диаметр резьбы, строчная буква в - длину и конфигурацию болта, цифровой индекс 2 - установочную марку и отметку верха болта данной марки.
На этом чертеже помещают таблицу фундаментных болтов, пример заполнения которой см. в табл. 7.
Таблица 7
Фундаментные болты
Марка фундамента | Марка болта | Диаметр болта, мм | Число болтов, шт | Отметки, мм | Длина выступающей части болта, мм | Длина болта, мм |
заготовочная | установочная | условное обозначение | верха болта | верха бетона |
ФО-3 | Да | 1 | | 24 | 8 | +50 | -150 | 200 | 1400 |
Да | 2 | | 24 | 6 | -100 | -300 | 200 | 1400 |
Жа | 1 | | 36 | 6 | -50 | -350 | 300 | 1800 |
Жа | 2 | | 36 | 6 | -150 | -450 | 300 | 1800 |
Жб | 1 | | 36 | 8 | -100 | -500 | 400 | 1900 |
| и т.д. | | | | | | | |